Главная // Актуальные документы // ГОСТ (Государственный стандарт)СПРАВКА
Источник публикации
М.: Стандартинформ, 2014
Примечание к документу
Документ утратил силу с 1 марта 2019 года в связи с изданием
Приказа Росстандарта от 02.10.2018 N 684-ст. Взамен введен в действие
ГОСТ 32028-2017.
Документ
введен в действие с 1 января 2014 года.
Название документа
"ГОСТ 32028-2012 (EN 161:2001). Межгосударственный стандарт. Клапаны автоматические отсечные для газовых горелок и аппаратов. Общие технические требования и методы испытаний"
(введен в действие Приказом Росстандарта от 06.09.2013 N 985-ст)
"ГОСТ 32028-2012 (EN 161:2001). Межгосударственный стандарт. Клапаны автоматические отсечные для газовых горелок и аппаратов. Общие технические требования и методы испытаний"
(введен в действие Приказом Росстандарта от 06.09.2013 N 985-ст)
агентства по техническому
регулированию и метрологии
от 6 сентября 2013 г. N 985-ст
МЕЖГОСУДАРСТВЕННЫЙ СТАНДАРТ
КЛАПАНЫ АВТОМАТИЧЕСКИЕ ОТСЕЧНЫЕ
ДЛЯ ГАЗОВЫХ ГОРЕЛОК И АППАРАТОВ
ОБЩИЕ ТЕХНИЧЕСКИЕ ТРЕБОВАНИЯ И МЕТОДЫ ИСПЫТАНИЙ
Automatic shut-off valves for gas burners
and gas appliances. General technical requirements
and test methods
(EN 161:2001, MOD)
ГОСТ 32028-2012
(EN 161:2001)
Дата введения
1 января 2014 года
Цели, основные принципы и порядок проведения работ по межгосударственной стандартизации установлены
ГОСТ 1.0-92 "Межгосударственная система стандартизации. Основные положения" и
ГОСТ 1.2-2009 "Межгосударственная система стандартизации. Стандарты межгосударственные, правила и рекомендации по межгосударственной стандартизации. Правила разработки, принятия, применения, обновления и отмены".
1. Подготовлен Федеральным государственным унитарным предприятием "Всероссийский научно-исследовательский институт стандартизации и сертификации в машиностроении" (ВНИИНМАШ).
2. Внесен Федеральным агентством по техническому регулированию и метрологии.
3. Принят Межгосударственным советом по стандартизации, метрологии и сертификации (Протокол от 3 декабря 2012 г. N 54-П).
За принятие стандарта проголосовали:
Краткое наименование страны по МК (ИСО 3166) 004-97 | Код страны по МК (ИСО 3166) 004-97 | Сокращенное наименование национального органа по стандартизации |
Кыргызстан | KG | Кыргызстандарт |
Россия | RU | Росстандарт |
Узбекистан | UZ | Узстандарт |
4. Настоящий проект стандарта является модифицированным по отношению к европейскому региональному стандарту EN 161:2001. Automatic shut-off valves for gas burners and gas appliances (Клапаны отсечные автоматические для газовых горелок и газовых приборов) путем изменения отдельных фраз (слов, значений показателей, ссылок), которые выделены в тексте курсивом.
Наименование настоящего стандарта приведено в соответствие с правилами, установленными в ГОСТ 1.5-2001
(подраздел 3.6).
Сведения о соответствии межгосударственных стандартов ссылочным международным стандартам приведены в
Приложении ДА.
Степень соответствия - модифицированный (MOD).
5.
Приказом Федерального агентства по техническому регулированию и метрологии от 6 сентября 2013 г. N 985-ст межгосударственный стандарт ГОСТ 32028-2012 введен в действие в качестве национального стандарта Российской Федерации с 1 января 2014 года.
6. Введен впервые.
Информация об изменениях к настоящему стандарту публикуется в ежегодном информационном указателе "Национальные стандарты", а текст изменений и поправок - в ежемесячном информационном указателе "Национальные стандарты". В случае пересмотра (замены) или отмены настоящего стандарта соответствующее уведомление будет опубликовано в ежемесячном информационном указателе "Национальные стандарты". Соответствующая информация, уведомление и тексты размещаются также в информационной системе общего пользования - на официальном сайте Федерального агентства по техническому регулированию и метрологии в сети Интернет.
Настоящий стандарт устанавливает требования к безопасности, конструкции и характеристикам автоматических отсечных клапанов (далее - клапаны), предназначенных для газовых горелок, газовых аппаратов и аппаратов подобного применения.
Стандарт определяет методы испытаний клапанов.
Стандарт распространяется на клапаны:
- с максимальным рабочим давлением до 500 кПа (5 кгс/см2) включительно, предназначенные для газовых горелок или приборов, применяющих природный газ по
ГОСТ 5542 или сжиженные углеводородные газы по
ГОСТ 20448;
- работающие от электричества;
- приводимые в действие рабочей жидкостью или воздухом, в которых управляющие клапаны для жидкости или воздуха работают от электричества;
- управления расходом газа, который осуществляется внешними электрическими сигналами дискретно или пропорционально поданному сигналу;
- с указателем закрытого положения.
Стандарт не распространяется на внешние электрические устройства, предназначенные для подачи управляющего сигнала или энергии на исполнительные механизмы.
В настоящем стандарте использованы ссылки на следующие межгосударственные стандарты:
ГОСТ 9.030-74. Единая система защиты от коррозии и старения. Резины. Методы испытаний на стойкость в ненапряженном состоянии к воздействию жидких агрессивных сред
ГОСТ 617-2006. Трубы медные и латунные круглого сечения. Технические условия
ГОСТ 3262-75. Трубы стальные водогазопроводные. Технические условия
ГОСТ 5542-87. Газы горючие природные для промышленного и коммунально-бытового назначения. Технические условия
ГОСТ 6211-81. Основные нормы взаимозаменяемости. Резьба трубная коническая
ГОСТ 6357-81. Основные нормы взаимозаменяемости. Резьба трубная цилиндрическая
ГОСТ 12815-80. Фланцы арматуры, соединительных частей и трубопроводов на P от 0,1 до 20,0 МПа (от 1 до 200 кгс/см2). Типы. Присоединительные размеры и размеры уплотнительных поверхностей
ГОСТ 12969-67. Таблички для машин и приборов. Технические требования
ГОСТ 14254-96 (МЭК 529-89). Степени защиты, обеспечиваемые оболочками (Код IP)
ГОСТ 16093-2004. Основные нормы взаимозаменяемости. Резьба метрическая. Допуски. Посадки с зазором
ГОСТ 20448-90. Газы углеводородные сжиженные топливные для коммунально-бытового потребления. Технические условия
ГОСТ 21204-97. Горелки газовые промышленные. Общие технические требования
ГОСТ 24705-2004. Основные нормы взаимозаменяемости. Резьба метрическая. Основные размеры
ГОСТ 27570.0-87 (МЭК 335-1-76). Безопасность бытовых и аналогичных электрических приборов. Общие требования и методы испытаний
ГОСТ 30805.11-2002. Совместимость технических средств электромагнитная. Радиопомехи индустриальные от промышленных, научных, медицинских и бытовых (ПНМБ) высокочастотных устройств. Нормы и методы испытаний
ГОСТ 30805.14.2-2002. Совместимость технических средств электромагнитная. Помехоустойчивость бытовых приборов, электрических инструментов и аналогичных устройств. Требования и методы испытаний
ГОСТ МЭК 730-1-95. Автоматические электрические управляющие устройства бытового и аналогичного назначения. Общие требования и методы испытаний
ГОСТ МЭК 61058-1-2002. Выключатели для электроприборов. Часть 1. Общие требования и методы испытаний.
Примечание. При пользовании настоящим стандартом целесообразно проверить действие ссылочных стандартов в информационной системе общего пользования - на официальном сайте Федерального агентства по техническому регулированию и метрологии в сети Интернет или по ежегодному информационному указателю "Национальные стандарты", который опубликован по состоянию на 1 января текущего года, и по выпускам ежемесячного информационного указателя "Национальные стандарты" за текущий год. Если ссылочный стандарт заменен (изменен), то при пользовании настоящим стандартом следует руководствоваться заменяющим (измененным) стандартом. Если ссылочный стандарт отменен без замены, то положение, в котором дана ссылка на него, применяется в части, не затрагивающей эту ссылку.
В настоящем стандарте применяют следующие термины с соответствующими определениями:
3.1. Автоматический отсечной клапан: клапан, открывающийся при включении питания и автоматически закрывающийся при прекращении подачи питания.
3.2. Клапан со ступенчатым управлением: клапан, управляющий расходом газа ступенчато.
3.3. Клапан с плавным управлением: клапан, непрерывно управляющий расходом газа между двумя предельными значениями в ответ на внешние электрические сигналы.
3.4. Запорный орган: движущаяся деталь клапана, отсекающая поток газа.
3.5. Исполнительный механизм: деталь клапана, перемещающая запорный орган.
3.6. Переключатель с указателем закрытого положения: переключатель, установленный на клапане и показывающий, что запорный орган находится в закрытом положении.
3.7. Энергия привода исполнительного механизма: энергия, необходимая исполнительному механизму для перемещения запорного органа в открытое положение.
Примечание. Энергия привода, преобразуемая внутри клапана, может иметь внешний источник (электрический, пневматический или гидравлический).
3.8. Открывающая сила: сила, необходимая для перемещения запорного органа в открытое положение.
3.9. Закрывающая сила: сила, способная закрывать клапан, независимо от значения силы, обеспеченной давлением газа.
3.10. Уплотняющая сила: сила, действующая на седло клапана, когда запорный орган находится в закрытом положении, независимо от значения силы, обеспеченной давлением газа.
3.11. Сила трения: наибольшее значение силы, необходимое для перемещения исполнительного механизма и запорного органа из открытого положения в закрытое, с учетом возвращения запорной пружины в исходное положение, независимо от значения силы, обеспеченной давлением газа.
3.12. Внешняя герметичность: герметичность внутренних полостей клапана, по которым проходит газ, относительно атмосферы.
3.13. Внутренняя герметичность: герметичность запорного органа (в закрытом положении), клапана, уплотняющего полость, по которой проходит газ, относительно другой полости или выходного отверстия клапана.
3.14. Давление на входе: давление на входе в клапан.
3.15. Давление на выходе: давление на выходе из клапана.
3.16. Максимальное рабочее давление: наибольшее давление на входе, указанное изготовителем, при котором клапан может быть работоспособен.
3.17. Минимальное рабочее давление: наименьшее давление на входе, указанное изготовителем, при котором клапан может быть работоспособен.
3.18. Давление привода исполнительного механизма: гидравлическое или пневматическое давление, подаваемое к исполнительному механизму клапана.
3.19. Перепад давления: разность между давлениями на входе и на выходе клапана.
3.20. Расход газа: объем газа, проходящий через клапан в единицу времени.
3.21. Номинальный расход воздуха: расход воздуха при перепаде давления, указанном изготовителем, приведенный к нормальным условиям.
3.22. Время открывания клапана: интервал времени между подачей энергии на клапан и достижением максимального или определенного изготовителем расхода газа.
3.23. Время закрывания клапана: интервал времени между прекращением подачи энергии на клапан и перемещением запорного органа в закрытое положение.
3.24. Время задержки: интервал времени между подачей энергии на клапан и появлением расхода газа.
3.25. Монтажное положение клапана: положение, указанное изготовителем для монтажа клапана.
3.26. Управляющий клапан: клапан, управляющий жидкостью или сжатым газом, которые подаются на исполнительный механизм.
3.27. Максимальная окружающая температура: максимальная температура окружающего воздуха, указанная изготовителем, при которой клапан может быть работоспособен.
3.28. Минимальная окружающая температура: минимальная температура окружающего воздуха, указанная изготовителем, при которой клапан может быть работоспособен.
3.29. Номинальное напряжение: напряжение, указанное изготовителем, при котором клапан может быть работоспособен.
3.30. Номинальный ток: ток, указанный изготовителем, при котором клапан может быть работоспособен.
4.1. Классы клапанов
Клапаны подразделяют на классы A, B, C, D, E и J.
Клапаны классов A, B и C - клапаны, уплотняющая сила которых не уменьшается от давления газа на входе, подразделяют согласно требованиям к уплотняющей силе
(7.8).
Клапаны класса D - клапаны, для которых не предъявляют требования к уплотняющей силе.
Клапаны класса E - клапаны, уплотняющая сила которых уменьшается давлением газа на входе, и соответствующие требованиям
7.8.
Клапаны класса J - тарельчатые клапаны, уплотняющая сила которых не уменьшается давлением газа на входе, и соответствующие требованиям
7.8.
4.2. Группы клапанов
Клапаны подразделяют на группы 1 и 2 в зависимости от изгибающих напряжений, которым следует противостоять (см.
таблицу 4).
Клапаны группы 1 - клапаны, предназначенные для применения в приборах и (или) установках, где они не подвергаются воздействию изгибающих напряжений, возникающих при монтаже трубопроводной системы (например при использовании жестких опор).
Клапаны группы 2 - клапаны, предназначенные для применения в любой ситуации, как правило, без применения опор внутри или снаружи прибора.
Примечание. Клапан, соответствующий требованиям для клапанов группы 2, должен соответствовать требованиям для клапанов группы 1.
5.1. Размеры
Размеры в миллиметрах.
5.2. Давления
Статические давления относительно атмосферного давления приведены в паскалях (Па) или килопаскалях (кПа).
5.3. Изгибающий и крутящий моменты
Изгибающий и крутящий моменты приведены в Н x м.
6. Требования к конструкции
6.1. Общие положения
6.1.1. Конструкцией, изготовлением и сборкой клапанов должно быть обеспечено их правильное функционирование при условии монтажа и эксплуатации в соответствии с инструкциями изготовителя.
6.1.2. Клапаны не должны иметь острых кромок и ребер, которые могли бы стать причиной повреждений, производственных травм при неосторожных действиях.
Внутренние и внешние поверхности деталей должны быть чистыми.
Монтаж и демонтаж клапанов должен проводиться с применением инструментов. Не должно быть открытых рукояток или рычагов управления, которые могли бы нарушить способность клапанов закрываться.
6.1.3. Отверстия для винтов, болтов и отверстия, которые используются при сборке узлов клапана или при монтаже, не должны проходить через газовые каналы.
Толщина стенки между этими отверстиями и газовыми каналами должна быть не менее 1 мм.
6.1.4. Технологические отверстия, необходимые при изготовлении корпуса клапана, соединяющие газовые каналы с окружающей средой, но не влияющие на его работу, должны быть постоянно закрыты металлическими заглушками. В этом случае допускается дополнительное применение соединительных составов.
6.1.5. Конструкция заглушек (в том числе для точек измерения и испытаний), которые могут быть демонтированы при обслуживании, регулировании или переоборудовании, должна быть такой, чтобы герметичность по
7.7 достигалась механически (например металл по металлу, О-образные кольца) без применения жидких соединительных составов, паст или лент.
Соединительные составы, применяемые для окончательной сборки, должны оставаться эффективными при нормальных условиях эксплуатации.
6.1.6. Детали, требующие демонтажа (например при сервисном обслуживании), демонтируют и повторно собирают с применением обычных инструментов. Конструкцией или маркировкой деталей должна быть обеспечена невозможность их неправильной сборки.
Метрическая резьба крепежных деталей, которые могут быть сняты во время сервисного обслуживания, - по
ГОСТ 24705, допуски на резьбу - по
ГОСТ 16093.
Винты-саморезы, формирующие резьбу и образующие при этом мелкую стружку, не должны применяться для соединения деталей, проводящих газ, или деталей, которые могут быть демонтированы во время сервисного обслуживания.
Допускается применять винты-саморезы, формирующие резьбу без образования мелкой стружки при условии, что они могут быть заменены винтами с метрической резьбой по
ГОСТ 24705.
6.1.7. Работе движущихся деталей (например мембран, сильфонов) не должны препятствовать другие детали клапана.
6.1.8. Пайка или другие процессы, в которых применяют соединительные материалы с точкой плавления ниже 450 °C, для соединения частей клапана, по которым проходит газ, не допускается, кроме случаев, когда есть дополнительное уплотнение.
6.1.9. Выключатели с указателем закрытого положения, установленные на клапан, не должны мешать его правильной работе. Регулировочные элементы клапана после регулирования должны быть опломбированы. Любое смещение выключателя и исполнительного механизма от установленного положения не должно мешать правильной работе клапана.
6.1.10. Расход газа через клапан с плавным управлением должен регулироваться в диапазоне, указанном изготовителем. Если регулирование одного расхода влияет на настройку любого другого расхода, то это должно быть указано изготовителем в инструкции по регулированию клапана. Настройку расхода газа проводят с применением инструментов, регулировочные элементы пломбируют, чтобы исключить возможность несанкционированного регулирования.
6.2. Материалы
6.2.1. Общие требования к материалам
Качество материалов, размеры и методы сборки узлов клапана должны быть такими, чтобы конструкция и рабочие характеристики обеспечивали их безопасность. Рабочие характеристики клапана не должны существенно изменяться в течение срока службы, если он смонтирован и эксплуатируется в соответствии с инструкциями изготовителя. Компоненты клапана должны быть устойчивыми к механическим, химическим и тепловым нагрузкам в течение всего срока службы клапана.
Детали корпуса, непосредственно отделяющие полости клапана, проводящие газ от окружающей среды, должны быть изготовлены из металла. Допускается изготавливать детали корпуса из неметаллических материалов при условии, что после удаления или разрушения этих деталей (кроме резиновых колец, прокладок, уплотнителей и диафрагм) утечка воздуха не превысит 30 дм3/ч при максимальном рабочем давлении при испытаниях по
8.7.2.2.
6.2.3. Запорные органы клапанов
Запорные органы клапанов с проходным сечением более 25 мм должны иметь механическую опору (например металлическую), чтобы воспринимать уплотняющую силу, или должны быть изготовлены из металла.
Это требование также распространяется на:
- клапаны с максимальным рабочим давлением более 15 кПа;
- детали, передающие закрывающее усилие.
6.2.4. Пружины, обеспечивающие закрывающее и уплотняющее усилия
Закрывающее и уплотняющее усилие должно быть обеспечено действием пружины. Конструкция пружин, обеспечивающих закрывающее и уплотняющее усилия, должна учитывать колебательные нагрузки и усталостное сопротивление. Пружины из проволоки диаметром до 2,5 мм включительно должны быть изготовлены из коррозионно-стойкого материала.
Пружины из проволоки диаметром более 2,5 мм должны быть или изготовлены из коррозионно-стойкого материала, или защищены от коррозии.
6.2.5. Стойкость к коррозии и защита поверхности
Детали клапана, контактирующие с газом или окружающей средой, в том числе пружины (кроме указанных в
6.2.4), должны быть изготовлены из коррозионно-стойких материалов или должны иметь защитное покрытие.
Защитное покрытие пружин и других перемещающихся деталей не должно повреждаться при движении.
6.2.6. Пропитывание
Пропитывание, являющееся частью производственного процесса, выполняют с применением специальных процедур (например в вакууме или под давлением с применением специальных уплотняющих материалов).
6.3. Газовые соединения
6.3.1. Общие положения
Клапаны с проходным сечением более 80 мм должны иметь фланцевые соединения по
ГОСТ 12815.
Эквивалентные размеры соединений приведены в таблице 1.
Таблица 1
Эквивалентные размеры соединений
Условный проход DN, мм | | Условный проход фланцевого соединения по ГОСТ 12815, мм | Диапазон внешних диаметров труб для компрессионных фитингов, мм |
6 | 1/8 | 6 | 2 <= 5 |
8 | 1/4 | 8 | 6 <= 8 |
10 | 3/8 | 10 | 10 <= 12 |
15 | 1/2 | 15 | 14 <= 16 |
20 | 3/4 | 20 | 18 <= 22 |
25 | 1 | 25 | 25 <= 28 |
32 | | 32 | 30 <= 32 |
40 | | 40 | 35 <= 40 |
50 | 2 | 50 | 42 <= 50 |
65 | | 65 | - |
80 | 3 | 80 | - |
100 | 4 | 100 | - |
125 | 5 | 125 | - |
150 | 6 | 150 | - |
6.3.2. Резьбовые соединения
6.3.2.1. Газовые соединения выполняют, удерживая клапан за грани на корпусе, с применением обычных инструментов, например гаечным ключом.
6.3.2.3. Если соединение выполняют с помощью муфтового соединения, муфты должны быть изготовлены вместе с клапаном или поставляться с полным комплектом деталей, если резьбы не соответствуют
ГОСТ 6357.
6.3.3. Фланцевые соединения
Если на клапанах с проходным сечением более 50 мм применяют фланцы, они должны обеспечивать соединения с фланцами по
ГОСТ 12815 для номинального давления 600 или 1600 кПа.
Если на клапанах с проходным сечением до 50 мм включительно применяют фланцы, которые не обеспечивают соединения с фланцами по
ГОСТ 12815, они должны быть оборудованы адаптерами, позволяющими выполнять соединение со стандартными фланцами и резьбами, или поставляться с полным комплектом деталей для выполнения соединений.
6.3.4. Компрессионные фитинги
Компрессионные фитинги должны соответствовать трубам внешним диаметром по
таблице 2 ГОСТ 617.
Не допускается изменять форму трубы перед выполнением соединений.
Вкладыши должны соответствовать размерам труб.
Допускается применять несимметричные вкладыши, если невозможна их неправильная установка.
6.4. Сальниковые уплотнения для движущихся деталей
Сальниковые уплотнения для запорного органа и движущихся деталей, выходящие через тело клапана в атмосферу, изготавливают из твердого, механически устойчивого материала, без остаточной деформации. Применение герметизирующих паст не допускается.
Установка сальника вручную не должна применяться для уплотнения движущихся деталей.
Примечание. Регулируемый сальник, установленный изготовителем и защищенный от дальнейшего регулирования, рассматривается как нерегулируемый.
Сильфоны не должны применяться как единственный уплотняющий элемент от влияния окружающей среды.
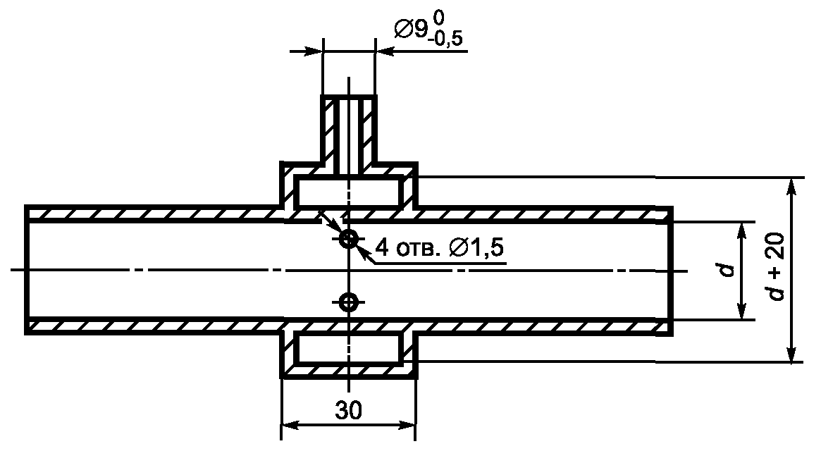
6.5. Штуцеры измерения давления
Штуцер измерения давления должен иметь внешний диаметр

и полезную длину не менее 10 мм для подсоединения шланга. Эквивалентный диаметр отверстия штуцера должен быть не более 1 мм.
6.6. Фильтры
6.6.1. Если фильтры установлены на входе в клапаны классов A, B, C, D и E, они должны иметь ячейки с максимальным размером по диагонали не более 1,5 мм, предотвращающие попадание в клапан калиброванных частиц диаметром более 1 мм.
Клапаны класса J оборудуют на входе фильтром. Максимальный размер по диагонали ячейки фильтра не должен превышать 0,28 мм, что должно предотвратить попадание в клапан калиброванных частиц диаметром более 0,2 мм.
Если на входе в клапан не установлен фильтр, инструкция по монтажу должна содержать необходимую информацию, касающуюся установки и эксплуатации фильтра, соответствующего приведенным выше требованиям, в трубе на входе в клапан для предотвращения попадания в него посторонних частиц.
6.6.2. Фильтры, установленные на клапаны проходным сечением 25 мм и более, должны быть доступными для чистки или замены без отсоединения корпуса клапана от трубопроводной системы.
6.7. Пневматические и гидравлические исполнительные механизмы
Пневматические или гидравлические приводы клапанов должны быть обеспечены защитой, гарантирующей от засорения жиклеры системы управления, не влияющей на способность клапана закрываться.
6.8. Электрическое оборудование
6.8.1. Электрическое оборудование - по
разделу 9 ГОСТ МЭК 730-1.
6.8.2. Изоляционные материалы частей, находящихся под напряжением, и неразъемных соединений - по
пункту 11.1 ГОСТ МЭК 730-1.
6.8.4. Степень защиты клапана указывает изготовитель по
ГОСТ 14254.
6.8.5. Входные отверстия должны соответствовать
пункту 11.9 ГОСТ МЭК 730-1.
6.8.6. Любая утечка по поверхности или зазорам, вызывающая опасную работу клапана, - в соответствии с
пунктами 20.1 и
20.2 ГОСТ МЭК 730-1.
6.8.7. Безопасность электронных схем - по
приложению H ГОСТ МЭК 730-1.
6.8.8. Клеммы и соединения изготовитель указывает по
разделу 10 ГОСТ МЭК 730-1.
6.8.9. Испытания на сопротивление изоляции и электрическую прочность - по
пунктам 13.1 и
13.2 ГОСТ МЭК 730-1.
Эти испытания должны быть проведены после испытания на влагостойкость по
8.12.7 настоящего стандарта.
6.8.10. Выключатели - по ГОСТ МЭК 61058-1.
Число рабочих циклов клапана - по таблице 6 ГОСТ МЭК 61058-1.
6.8.11. Выводы и заземление клапанов с электрическим штепсельным разъемом должны быть:
- одноступенчатых:
PE Заземление;
Вывод 1 N;
Вывод 2 L;
- двухступенчатых:
Вывод 4(e) Заземление;
Вывод 1 N;
Вывод 2 L, ступень 1;
Вывод 3 L, ступень 2;
- указателя закрытого положения:
Вывод 4(e) Заземление;
Вывод 1 Общий;
Вывод 2 Клапан открыт;
Вывод 3 Клапан закрыт.
6.8.12. Клапаны должны соответствовать следующим требованиям электромагнитной совместимости (ЭМС):
При помехах продолжительностью до 20 мс включительно клапан должен соответствовать функциональным требованиям
(раздел 7) настоящего стандарта и не должен оказывать какого-либо существенного влияния на расход газа. При помехах продолжительностью более 20 мс клапан должен работать безопасно.
Воздействие помех 2-го уровня не должно оказывать влияния на клапан, который должен соответствовать функциональным требованиям
(раздел 7) настоящего стандарта.
Воздействие помех 3-го уровня не должно приводить клапан к каким-либо несвойственным функциональным режимам, и клапан должен быть способен отключать поток газа.
Примечание. В зависимости от области применения клапаны должны дополнительно соответствовать следующим требованиям ЭМС по излучению:
клапаны, предназначенные для работы в бытовых приборах, - по
[1];
клапаны, предназначенные для работы в промышленных приборах, - по
[2].
6.9. Энергосберегающие схемы
Конструкция клапанов с энергосберегающими схемами должна предотвращать влияние любой неисправности в энергосберегающей схеме на закрытие клапана.
Если энергосберегающая схема была проверена по
ГОСТ МЭК 730-1, то испытание по
8.14 для анализа неисправностей не проводят.
7. Требования к характеристикам
7.1. Общие положения
Клапаны должны автоматически закрываться при прекращении подачи энергии или отсутствии энергии на приводе исполнительного механизма.
Клапаны должны правильно работать при всех комбинациях приведенных ниже условий:
- во всем диапазоне рабочих давлений;
- при температуре окружающей среды от 0 °C до 60 °C или в более широких пределах, если это указано изготовителем;
- при напряжении или токе в диапазоне от 85% до 110% номинального значения или от 85% минимального номинального значения до 110% максимального номинального значения.
Электрический управляющий клапан пневматических или гидравлических исполнительных механизмов газового клапана должен также соответствовать этим требованиям.
Закрытие клапана с пневматическим или гидравлическим приводом должно быть обеспечено в диапазоне от 85% до 110% рабочего давления исполнительного механизма или в диапазоне давлений, указанных изготовителем.
7.2. Монтажное положение
Клапаны должны правильно работать во всех монтажных положениях, указанных изготовителем.
7.3. Функциональные требования к закрытию клапана
Клапаны должны закрываться автоматически при снижении напряжения или тока на 15% ниже минимального номинального значения.
Клапаны с пневматическими или гидравлическими исполнительными механизмами должны закрываться автоматически при снижении напряжения или тока на 15% минимального номинального напряжения для управляющего клапана.
Клапаны должны закрываться автоматически при перепадах напряжения или тока между 15% минимального номинального значения и 110% максимального номинального значения.
Во всех перечисленных случаях время закрывания должно быть в соответствии с
7.6.
7.4. Закрывающая сила клапанов с уплотняющей силой, не зависящей от закрывающей силы (например шаровые, гильотинные клапаны и т.д.), должна быть:
- в 5 раз больше силы трения, если сила трения до 5 Н включительно;
- в 2,5 раза больше силы трения, но не менее 25 Н, если сила трения превышает 5 Н. Силу трения измеряют при условии отсутствия смазки.
Это требование также распространяется на дисковые клапаны с рабочим давлением 50 кПа и выше.
7.5. Время задержки и время открывания
Время задержки и время открывания должно быть:
- в пределах +/- 20% значения, указанного изготовителем, если время, указанное изготовителем, превышает 1 с;
- меньше 1 с, если время, указанное изготовителем, до 1 с включительно.
7.6.1. Время закрывания для клапанов безопасности
Время закрывания для клапанов классов A, B, C и E не должно превышать 1 с при испытании по
8.6.
Время закрывания для клапанов класса D не должно превышать значение, указанное изготовителем.
Время закрывания для клапанов класса J не должно превышать 5 с или любое меньшее значение, указанное изготовителем.
7.6.2. Время закрывания для управляющих клапанов
Время закрывания для управляющих клапанов должно быть в пределах +/- 10% значения, указанного изготовителем.
Клапаны должны быть герметичными.
Клапаны считают герметичными, если при испытании по
8.7.2.1 и
8.7.3 измеренные значения утечек воздуха не превышают приведенных в таблице 2.
Таблица 2
Максимальные значения утечек воздуха
Номинальный размер DN, мм | Максимальное значение утечки воздуха, см3/ч |
| Внешняя герметичность |
DN < 10 | 20 | 20 |
10 <= DN <= 25 | 40 | 40 |
25 < DN <= 80 | 60 | 60 |
80 < DN <= 150 | 100 | 60 |
150 < DN | 150 | 60 |
После демонтажа и повторной сборки
(6.1.5) заглушки должны оставаться герметичными.
Минимальная уплотняющая сила клапанов классов A, B и C должна зависеть от площади отверстия, перекрываемого запорным органом, и давления газа в соответствии с таблицей 3.
Таблица 3
Требования к уплотняющей силе
Класс клапана | Испытательное давление, кПа | Максимальное значение утечки воздуха |
A | 15 | |
B | 5 | То же |
C | 1 | " |
Минимальная уплотняющая сила клапанов класса E зависит от площади отверстия, перекрываемого запорным органом, и должна быть эквивалентна давлению, в 1,5 раза превышающему максимальное рабочее давление, или превышать на 15 кПа максимальное рабочее давление. Внутренняя утечка не должна превышать значений, приведенных в
таблице 2.
Минимальная уплотняющая сила клапанов класса J должна быть 1 Н на каждый метр длины уплотнения. Уплотняющую силу рассчитывают делением силы пружины при закрытом положении клапана на длину окружности отверстия, перекрываемого запорным органом, или на длину уплотнения. Усилие сжатия пружины указывает изготовитель.
Клапаны, применяющие входное давление для компенсации усилия на запорный орган, допускается относить к клапанам классов A, B или C.
Клапаны, площадь компенсации которых больше площади запорного органа, относят к клапанам класса E.
Если методы испытаний по
8.8 не соответствуют конструкции некоторых клапанов (например клапанов с компенсацией усилия от входного давления), то уплотняющую силу таких клапанов проверяют расчетом или комбинированным методом - испытанием и расчетом. Минимальную уплотняющую силу рассчитывают с применением давления, значение которого в 1,25 раза превышает значения, приведенные в
таблице 3 для клапанов конкретного класса.
7.9. Крутящий и изгибающий моменты
7.9.1. Общие положения
Конструкция клапанов должна предусматривать достаточный запас прочности, чтобы выдерживать механические нагрузки при монтаже и сервисном обслуживании. После испытаний клапана не должно быть остаточной деформации, и любые утечки не должны превышать значений для внутренней и внешней герметичности, указанных в
таблице 2.
7.9.2. Крутящий момент для клапанов групп 1 и 2 с резьбовыми соединениями
Значение крутящего момента, которым нагружают клапан при испытании по
8.9.2, - в соответствии с таблицей 4.
Таблица 4
Крутящий и изгибающий моменты
Условный проход DN <1>, мм | Крутящий момент, Н x м | Изгибающий момент, Н x м |
Группы 1 и 2 | Группа 1 | Группа 2 |
| | | |
6 | 15 | 15 | 7 | 25 |
8 | 20 | 20 | 10 | 35 |
10 | 35 | 35 | 20 | 70 |
15 | 50 | 70 | 40 | 105 |
20 | 85 | 90 | 50 | 225 |
25 | 125 | 160 | 80 | 340 |
32 | 160 | 260 | 130 | 475 |
40 | 200 | 350 | 175 | 610 |
50 | | 520 | 260 | 1100 |
65 | | 630 | 315 | 1600 |
80 | | 780 | 390 | 2400 |
100 | - | 950 | 475 | 5000 |
125 | - | 1000 | 500 | 6000 |
>= 150 | - | 1100 | 550 | 7600 |
<1> Эквивалентные размеры соединений приведены в таблице 1. <2> Не применяют для клапанов с фланцами. <3> Время проведения испытания. |
7.9.3. Крутящий момент для клапанов групп 1 и 2 с компрессионными соединениями
Значение крутящего момента, которым нагружают клапан при испытании по
8.9.3, - в соответствии с
таблицей 4.
7.9.4. Изгибающий момент для клапанов групп 1 и 2
Значение изгибающего момента, которым нагружают клапан при испытании по
8.9.4.1, - в соответствии с
таблицей 4. Клапаны группы 1 дополнительно испытывают по
8.9.4.2.
7.10. Номинальный расход
7.10.1. Если измерения проводят по
8.10, значение максимального расхода газа должно быть не менее 0,95 номинального.
7.10.2. Значения расхода газа открывания и закрывания клапанов с плавным управлением должны быть в пределах +/- 10% значений, указанных изготовителем.
7.10.3. Для клапанов со ступенчатым управлением (где применимо) изготовитель указывает максимальный расход для каждой ступени управления в процентах от расхода газа при полном открытии клапана. Для каждой ступени управления должна быть исключена возможность регулирования максимального расхода, значение которого в 1,1 раза превышает указанное значение для испытаний по
8.10.
7.10.4. Если при проведении испытаний по
8.10 расход газа увеличивается или уменьшается в ответ на внешние электрические сигналы при достижении нового значения, расход газа не должен отклоняться более чем на 20% значений, отрегулированных и указанных изготовителем для каждой конкретной точки.
7.11. Переключатели с указателем закрытого положения
Переключатель с указателем закрытого положения должен указывать на закрытое положение клапана. Переключатель должен указывать на закрывание клапана в одном из двух случаев:
- расход газа равен или меньше 10% расхода, эквивалентного полному открытию клапана, при одинаковом перепаде давления;
- запорный орган находится на расстоянии 1 мм от положения "закрыто".
7.12. Надежность
7.12.1. Эластичные материалы, контактирующие с газом
7.12.1.1. Общие положения
Эластичные материалы, контактирующие с газом (например уплотнения клапана, кольца круглого сечения, мембраны и сальники), должны быть однородными, непористыми, не содержать включений, песка, пузырьков и других дефектов поверхности, видимых невооруженным глазом.
7.12.1.2. Стойкость к смазочным материалам
Стойкость эластичных материалов к смазкам проверяют по
8.12.1.2 погружением испытуемого образца в испытательное масло СЖР-2 по
ГОСТ 9.030.
После испытания изменение массы испытуемого образца должно быть в пределах от минус 10% до плюс 15%.
7.12.1.3. Стойкость к газу
Стойкость эластичных материалов к газу проверяют по
8.12.1.3 погружением испытуемого образца в n-пентан (минимальное содержание n-пентана - 98% массы жидкого газа, оценивают газовым хроматографом).
После испытания изменение массы испытуемого образца должно быть от минус 5% до плюс 10%.
7.12.2. Маркировка
Маркировка должна быть стойкой к трению, влажности и температуре и не должна обесцвечиваться.
Стойкость маркировки проверяют испытанием по
8.12.2.
Детали или узлы, предназначенные изготовителем для замены при сервисном обслуживании, должны быть маркированы для идентификации.
7.12.3. Долговечность
Для любой настройки по
7.10.2 -
7.10.4 в пределах диапазона регулирования, указанного изготовителем, расход газа в конце испытания на долговечность по
8.12.3 должен быть в пределах +/- 10% расхода газа перед испытанием, если измерения проведены при одинаковых условиях по
8.10.
7.12.4. Стойкость к царапанью (прочность покрытия)
Поверхности, защищенные только лакокрасочным покрытием, должны выдерживать испытание царапаньем по
8.12.6 до и после испытания на влагостойкость по
8.12.7 без проникания шарика сквозь защитный слой краски до обнаженного металла.
7.12.5. Влагостойкость
Все детали клапана, в том числе с защищенными поверхностями (например окрашенные или с гальваническим покрытием), должны выдерживать испытание на влагостойкость по
8.12.7, при этом любые признаки коррозии, отслоения или вспучивания, видимые невооруженным глазом, не допускаются.
8.1. Условия испытаний
Если изготовителем не указано иное, испытания клапанов проводят сухим воздухом температурой (20 +/- 5) °C при температуре окружающей среды (20 +/- 5) °C.
Все измеренные значения расхода воздуха следует привести к стандартным условиям испытаний: температура 15 °C, давление 101,325 кПа, воздух - сухой.
8.2. Монтажное положение
Испытания клапанов проводят в монтажном положении, указанном изготовителем. Если указано несколько монтажных положений, испытания проводят в наименее благоприятном положении.
8.3. Функциональные требования к закрытию клапана
На клапан подают электроэнергию при максимальном номинальном напряжении или токе и при максимальном давлении на исполнительный механизм (при его наличии). Медленно снижают напряжение или ток до 15% минимального номинального значения. Проверяют, закрылся ли клапан.
На клапан подают электроэнергию при максимальном номинальном напряжении или токе и при максимальном давлении на исполнительный механизм (при его наличии). Повышают напряжение или увеличивают силу тока до 110% максимального номинального значения, сохраняя без каких-либо изменений давление на исполнительном механизме (при его наличии). Затем отключают подачу электроэнергии на клапан и проверяют, закрылся ли он. Для клапанов переменного тока напряжение отключают при пике волны электрического тока.
На клапан подают электроэнергию при максимальном номинальном напряжении или токе и максимальном давлении на исполнительном механизме (при его наличии). Снижают напряжение или уменьшают силу тока в пределах 15% минимального номинального значения и 85% максимального номинального значения, сохраняя давление на исполнительном механизме (при его наличии). Отключают подачу электроэнергии и проверяют, закрылся ли клапан. Испытание проводят при трех разных значениях напряжения или тока между 15% минимального номинального значения и 85% максимального номинального значения.
8.4. Закрывающая сила
Испытание проводят при условии отсутствия смазки на ходовой части.
Измеряют значение минимальной закрывающей силы при перемещении запорного органа из открытого положения в закрытое.
Снимают пружину(ы), обеспечивающую(ие) закрывающую силу клапана, и измеряют максимальную силу, необходимую для перемещения запорного органа из открытого положения в закрытое.
8.5. Время задержки и время открывания
Измеряют интервал времени между подачей электроэнергии на клапан и началом открытия запорного органа.
Измеряют интервал времени между подачей электроэнергии на клапан и достижением расхода газа, равного 80% номинального.
Перед проведением испытаний обесточенный клапан должен достигнуть теплового равновесия с окружающей средой.
Испытания проводят при:
- температуре 60 °C (или при максимальной температуре окружающей среды, если она выше), максимальном рабочем давлении, напряжении или силе тока, равных 110% максимального номинального напряжения или тока, и максимальном давлении на исполнительном механизме (при его наличии);
- температуре 0 °C (или при минимальной температуре окружающей среды, если она ниже), рабочем давлении 0,6 кПа, напряжении или силе тока, равных 85% минимального номинального напряжения или тока, и минимальном давлении на исполнительном механизме (при его наличии).
8.6. Время закрывания клапана
Измеряют интервал времени между прекращением подачи электроэнергии на клапан и моментом, когда запорный орган достигнет закрытого положения, при:
- максимальном рабочем давлении, перепаде давления, указанных изготовителем, напряжении или силе тока, равных 110% максимального номинального напряжения или тока, и максимальном давлении на исполнительном механизме (при его наличии);
- рабочем давлении 0,6 кПа, минимальном перепаде давления, указанном изготовителем, напряжении или силе тока, равных 110% максимального номинального напряжения или тока, и максимальном давлении на исполнительном механизме (при его наличии).
8.7. Герметичность
Применяют следующие методы, дающие воспроизводимые результаты:
- волюметрический метод (см.
Приложение B) - для испытательных давлений до 15 кПа включительно;
- метод падения давления (см.
Приложение C) - для испытательных давлений свыше 15 кПа. Пределы погрешности используемых приборов должны быть +/- 1 см3 и +/- 0,01 кПа.
Точность измерения значения утечек должна быть в пределах +/- 5 см3/ч.
Первоначально испытания проводят давлением 0,6 кПа, затем испытания повторяют при давлении, превышающем максимальное рабочее давление в 1,5 раза или равном 15 кПа, в зависимости от того, какое выше.
Если клапан применяют для работы с газами 3-го семейства с номинальными рабочими давлениями 11,2 или 14,8 кПа, то испытательное давление должно быть не менее 22 кПа.
Результаты, полученные методом падения давления, преобразуют в утечки по формуле, приведенной в
Приложении C.
8.7.2. Внешняя герметичность
8.7.2.1. Полностью укомплектованный клапан
Подают на вход и на выход клапана испытательное давление по
8.7.1 и измеряют значение утечки.
Пять раз демонтируют и заново устанавливают заглушки согласно инструкциям изготовителя, после чего испытание повторяют.
8.7.2.2. Клапаны после удаления неметаллических частей
Удаляют неметаллические части корпуса, отделяющие полости, проводящие газ, от окружающей среды, за исключением колец круглого сечения, сальников, прокладок и мембран. Подают на вход и на выход клапана максимальное рабочее давление и проверяют, соответствуют ли значения утечек
6.2.2.
8.7.3. Внутренняя герметичность
При закрытом положении запорного органа подают на вход клапана в указанном для газового потока направлении испытательные давления по
8.7.1 и измеряют значения утечек.
8.8.1. Клапаны классов A, B, C и E
8.8.1.1. Общие положения
К входному или выходному отверстиям клапана подсоединяют через расходомер подачу воздуха так, чтобы давление воздуха было направлено против закрывания запорного органа. Дважды включают и отключают подачу электроэнергии на клапан.
8.8.1.2. Клапаны классов A, B и C
Подают на клапан давление, увеличивая его со скоростью не более 0,1 кПа/с до конкретного значения, приведенного в
таблице 3, и измеряют значение утечки.
8.8.1.3. Клапаны класса E
Подают на клапан давление, увеличивая его со скоростью не более 0,1 кПа/с до значения, в 1,5 раза или на 15 кПа превышающего максимальное рабочее давление, в зависимости от того, какое выше, и измеряют значение утечки.
8.8.2. Клапаны класса J
Снимают пружину(ы), обеспечивающую(ие) уплотняющую силу, и измеряют силу пружины при ее сжатии до размера, соответствующего закрытому положению клапана.
8.9. Крутящий и изгибающий моменты
8.9.1. Общие положения (для резьбовых и фланцевых соединений)
Применяют трубы обыкновенной серии по
ГОСТ 3262 длиной, не менее:
40DN - для клапанов с проходным сечением до 50 мм включительно;
300 мм - для клапанов с проходным сечением более 50 мм.
В соединениях следует применять только не затвердевающие уплотняющие пасты.
Момент затяжки фланцевых болтов по
ГОСТ 12815 определяют по таблице 5.
Таблица 5
Момент затяжки фланцевых болтов
Условный проход DN, мм | 6 | 8 | 10 | 15 | 20 | 25 | 32 | 40 | 50 | 65 | 80 | 100 | 125 | >= 150 |
Момент затяжки, Н x м | 20 | 20 | 30 | 30 | 30 | 30 | 50 | 50 | 50 | 50 | 50 | 80 | 160 | 160 |
Перед проведением испытаний на кручение и изгиб клапан испытывают на внешнюю герметичность по
8.7.2 и внутреннюю герметичность по
8.7.3.
Если входное и выходное соединения не находятся на одной оси, повторяют испытания на перевернутых соединениях.
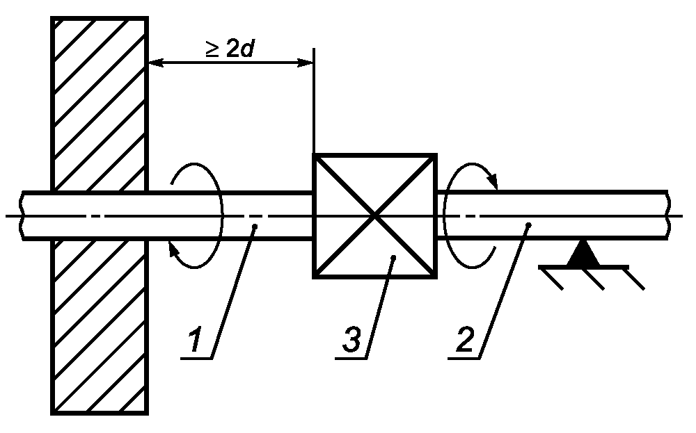
8.9.2. Испытание клапанов групп 1 и 2 с резьбовыми соединениями крутящим моментом в течение 10 с
Испытания проводят в следующей последовательности:
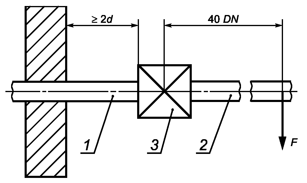
трубу 1 заворачивают в клапан крутящим моментом, не превышающим значений, приведенных в
таблице 4. Трубу 1 закрепляют на расстоянии не менее 2d от клапана (см. рисунок 1).
d - внешний диаметр трубы; 1 - первая труба;
2 - вторая труба; 3 - испытуемый клапан
Рисунок 1. Сборочный узел для испытаний
клапанов крутящим моментом
Трубу 2 заворачивают в клапан крутящим моментом, не превышающим значений, приведенных в
таблице 4. Соединения должны быть герметичными.
Опору трубы 2 выполняют так, чтобы изгибающий момент не передавался на клапан.
К трубе 2 прилагают крутящий момент в течение 10 с, постепенно повышая, но не превышая значений, приведенных в
таблице 4. Последние 10% значения крутящего момента прилагают в течение 1 мин.
Снимают крутящий момент и визуально проверяют сборочный узел на наличие деформации, затем клапан испытывают на внешнюю герметичность по
8.7.2 и внутреннюю герметичность по
8.7.3.
8.9.3. Испытание клапанов групп 1 и 2 с компрессионными соединениями крутящим моментом в течение 10 с
8.9.3.1. Типовой вкладыш компрессионных соединений
Для испытания применяют стальную трубу с новым медным вкладышем, соответствующим размеру трубы.
Корпус клапана закрепляют неподвижно и к каждой гайке трубопровода в течение 10 с прикладывают испытательный крутящий момент по
таблице 4.
Наличие деформации на клапане проверяют визуально, не принимая во внимание деформацию места установки вкладыша или сопряженных поверхностей от приложенного крутящего момента.
Затем клапан испытывают на внешнюю герметичность по
8.7.2 и внутреннюю герметичность по
8.7.3.
8.9.3.2. Конические компрессионные соединения
Применяют короткую стальную трубу с коническим концом и испытания проводят по
8.9.3.1. Деформацию места установки конуса или сопряженных поверхностей приложенного крутящего момента не учитывают.
8.9.4. Испытания изгибающим моментом
8.9.4.1. Испытания клапанов групп 1 и 2 изгибающим моментом в течение 10 с
Испытания проводят на том же клапане, что и испытания крутящим моментом; сборочный узел - в соответствии с рисунком 2.
d - внешний диаметр; 1 - первая труба;
2 - вторая труба; 3 - испытуемый клапан
Рисунок 2. Сборочный узел для испытаний
клапанов изгибающим моментом
Прилагают силу, необходимую для получения изгибающего момента для клапанов групп 1 и 2, по
таблице 4 в течение 10 с, в зависимости от массы трубы. Силу прилагают:
- на расстоянии 40DN от центра клапана - для клапанов с проходным сечением 50 мм включительно;
- на расстоянии не менее 300 мм от соединения клапана - для клапанов с проходным сечением свыше 50 мм.
Снимают приложенную нагрузку и визуально проверяют сборочный узел на наличие деформации.
Затем клапан испытывают на внешнюю герметичность по
8.7.2 и внутреннюю герметичность по
8.7.3.
8.9.4.2. Испытание клапанов группы 1 изгибающим моментом в течение 900 с
Испытания проводят на том же клапане, что и испытания крутящим моментом; сборочный узел - в соответствии с
рисунком 2.
В течение 900 с нагружают вторую трубу силой, необходимой для получения изгибающего момента для клапанов группы 1, приведенного в
таблице 4, учитывая массу трубы.
Силу прилагают:
- на расстоянии 40DN от центра клапана - для клапанов с проходным сечением до 50 мм включительно;
- на расстоянии не менее 300 мм от соединения клапана - для клапанов с проходным сечением свыше 50 мм.
Не снимая приложенного усилия, испытывают сборочный узел на внешнюю герметичность по
8.7.2 и внутреннюю герметичность по
8.7.3.
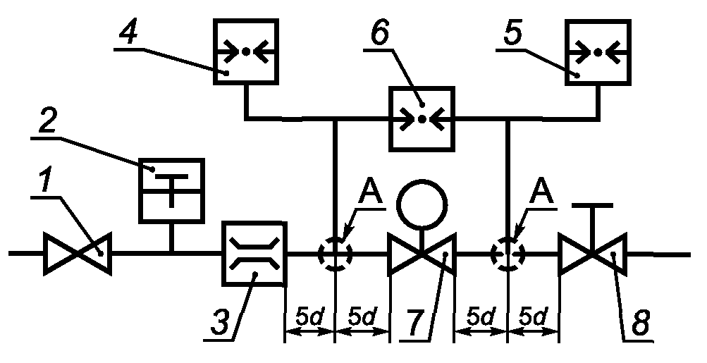
8.10.1. Аппаратура
Испытания проводят на стенде с аппаратурой в соответствии с рисунком 3.
A - деталь; d - внешний диаметр; 1 - настраиваемый
регулятор входного давления; 2 - термометр; 3 - расходомер;
4 - прибор для измерения давления на входе; 5 - прибор
для измерения давления на выходе; 6 - прибор для измерения
перепада давления; 7 - испытуемый клапан;
8 - ручной регулирующий кран
Рисунок 3. Аппаратура для проверки расхода газа
Точность измерения аппаратуры - не менее +/- 2%.
Параметры детали A - в соответствии с рисунком 4 и
таблицей 6.
Рисунок 4. Деталь A
Условный проход DN, мм | 6 | 8 | 10 | 15 | 20 | 25 | 32 | 40 | 50 | 65 | 80 | 100 | 125 | 150 |
d, мм | 6 | 9 | 13 | 16 | 22 | 28 | 35 | 41 | 52 | 67 | 82 | 106 | 131 | 159 |
8.10.2. Проведение испытаний
Подают электроэнергию на клапан и регулируют его в соответствии с инструкциями изготовителя.
Поддерживая постоянное давление на входе, регулируют расход воздуха при перепаде давления, указанном изготовителем.
8.10.3. Характеристики клапанов с плавным управлением
До и после испытания на долговечность по
8.12.3 проверяют характеристики открывания и закрывания клапана, указанные изготовителем, при номинальных напряжении и токе в соответствии с
7.10.2.
8.10.4. Приведение расхода воздуха к стандартным условиям
Для приведения измеренного расхода воздуха к стандартным условиям приведенный расход воздуха

, вычисляют по формуле

, (1)
где q - измеренное значение расхода воздуха, м3/ч;
p - испытательное давление, кПа;

- атмосферное давление, кПа;
t - температура воздуха, °C.
8.11. Переключатели с указателем закрытого положения
Дорабатывают клапан так, чтобы запорный орган мог перемещаться и останавливаться в частично открытом положении. Медленно перемещают запорный орган, пока индикатор не укажет на закрытое положение клапана. Расход воздуха через клапан проверяют в соответствии с
7.11.
8.12. Продолжительность службы
8.12.1. Эластичные материалы, контактирующие с газом
8.12.1.1. Общие положения
Испытывают законченные узлы или детали законченного узла.
8.12.1.2. Стойкость к смазочным материалам
Испытание проводят в соответствии с
ГОСТ 9.030 (метод A), продолжительность погружения в масло СЖР-2 при указанной максимальной окружающей температуре (168 +/- 2) ч.
Относительное изменение массы

, %, испытуемого образца вычисляют по формуле

, (2)
где

- масса испытуемого образца в воздухе после погружения, г;

- начальная масса испытуемого образца в воздухе, г.
8.12.1.3. Стойкость к газу
Взвешенные испытуемые образцы погружают на (72 +/- 2) ч в сосуд с жидким пентаном при температуре (23 +/- 2) °C так, чтобы они были полностью покрыты пентаном и не касались друг друга и стенок сосуда.
Затем испытуемые образцы извлекают из жидкого пентана и просушивают в печи в течение (168 +/- 2) ч при температуре (40 +/- 2) °C и атмосферном давлении.
Относительное изменение массы

, %, испытуемого образца вычисляют по формуле

, (3)
где

- масса испытуемого образца в воздухе после просушки, г;

- начальная масса испытуемого образца в воздухе, г.
До и после испытания на долговечность проводят испытания на внешнюю герметичность по
8.7.2 и внутреннюю герметичность по
8.7.3 при температуре 60 °C и 20 °C соответственно.
Клапан устанавливают в камеру с регулируемой температурой в соответствии с инструкциями изготовителя.
На клапан подают электроэнергию, которая превышает в 1,1 раза максимальное номинальное напряжение или ток при максимальной окружающей температуре, на время не менее 24 ч, независимо от расхода воздуха. Без отключения клапана медленно уменьшают напряжение или ток до 15% минимального номинального значения. Проверяют, закрылся ли клапан.
К входному отверстию подсоединяют трубопровод подачи воздуха при максимальном рабочем давлении. Максимальный номинальный расход воздуха не должен превышать 10%.
Число рабочих циклов клапана при максимальной окружающей температуре, максимальных номинальном напряжении или токе - по таблице 7, период цикла должен быть не менее указанного изготовителем. Во время каждого цикла клапан должен перемещаться из полностью открытого в полностью закрытое положение.
Таблица 7
Число рабочих циклов клапана
Номинальный размер проходного сечения DN, мм | Число рабочих циклов |
при максимальной температуре окружающей среды не менее (60 +/- 5) °C | при температуре (20 +/- 5) °C |
DN <= 25 (время открывания клапана <= 1 с, максимальное рабочее давление <= 15 кПа) | 100000 | 400000 |
DN <= 25 (время открывания клапана <= 1 с, максимальное рабочее давление > 15 кПа) | 50000 | 150000 |
DN <= 25 (время открывания клапана > 1 с) | 50000 | 150000 |
25 < DN <= 80 | 25000 | 75000 |
80 < DN <= 150 | 25000 | 25000 |
DN > 150 | 5000 | 20000 |
Во время испытания при температуре 20 °C выполняют 50% рабочих циклов при максимальных номинальном напряжении или токе и 50% - при минимальных номинальном напряжении или токе.
При окружающей температуре ниже 0 °C проводят следующее испытание на долговечность при минимальных номинальном напряжении или токе:
- выполняют 25000 циклов при температуре минус 15 °C - для клапанов с проходным сечением до 150 мм включительно. Число циклов для испытания при температуре 20 °C уменьшают до 25000;
- выполняют 5000 циклов при температуре минус 15 °C - для клапанов с проходным сечением более 150 мм. Число циклов для испытания при температуре 20 °C уменьшают до 5000.
Если клапан имеет пневматический или гидравлический исполнительный механизм, проводят испытание на долговечность при максимальном давлении исполнительного механизма.
Во время проведения испытания клапана на долговечность проверяют рабочие параметры клапана, например, фиксируют давление на выходе или расход воздуха.
Затем испытание клапана повторяют в соответствии с
8.3.
8.12.4. Испытание на долговечность переключателей с указателем закрытого положения
Испытания на долговечность переключателей с указателем закрытого положения проводят в соответствии с
8.12.3 на недоработанном клапане при максимальной индуктивной или емкостной нагрузке на переключателе, указанной изготовителем.
Во время испытания следят за тем, чтобы индикатор переключателя показывал, что клапан закрыт, когда подача электроэнергии отключена, и открыт - при подаче электроэнергии.
После испытания на долговечность проводят испытания для проверки индикации закрытого положения по
8.11.
Если переключатель не был испытан, проводят электрические испытания по ГОСТ МЭК 61058-1.
8.12.5. Расходные характеристики
8.12.5.1. Клапаны с плавным управлением
В дополнение к
8.12.3 клапан испытывают в указанной изготовителем нижней точке для открытого положения и в средней точке по направлению к закрытому положению.
8.12.5.2. Клапаны со ступенчатым управлением
В дополнение к
8.12.3 клапан испытывают, установив его при открывании и (или) закрывании в среднюю точку диапазона регулирования; испытания повторяют для каждой ступени управления.
8.12.6. Испытание царапаньем
Поверхность Б устройства для испытания царапаньем (рисунок 5) плотно прижимают к окрашенной поверхности.
1 - пружина с усилием нагрузки 10 Н; 2 - наконечник,
которым проводят испытание царапаньем
(стальной шарик диаметром 1 мм)
Рисунок 5. Устройство для испытания царапаньем
Зафиксированным стальным шариком диаметром 1 мм чертят по поверхности клапана со скоростью от 30 до 40 мм/с и с усилием контакта шарика с поверхностью клапана 10 Н. Необходимо повторить испытания царапаньем после испытания на влагостойкость.
8.12.7. Испытание на влагостойкость
Клапан на 48 ч помещают в климатическую камеру при температуре (40 +/- 2) °C и относительной влажности, превышающей 95%.
Затем клапан удаляют из климатической камеры и осматривают его невооруженным глазом на наличие признаков коррозии, отслоения или вспучивания покрытия окрашенной поверхности. Затем клапан выдерживают в течение 24 ч при температуре (20 +/- 5) °C и осматривают повторно.
8.13. Испытания электрического оборудования
При испытаниях на электромагнитную совместимость (ЭМС) технических средств по ГОСТ 30805.11, ГОСТ 30805.14.2 определяют влияние прерываний подачи напряжения и контролируют любое изменение потока воздуха через клапан при минимальном давлении на входе.
Примечание. Испытания на электромагнитную совместимость технических средств по
[1] и
[2] не проводят, если теоретическая оценка показывает, что компоненты изделия не восприимчивы к явлениям ЭМС.
8.14. Энергосберегающие схемы
На клапан с энергосберегающей схемой подают напряжение, в 1,1 раза превышающее максимальные номинальное напряжение или ток при максимальной температуре окружающей среды на время не менее 24 ч, независимо от расхода газа. Без отключения клапана медленно снижают напряжение или уменьшают силу тока до 15% минимального номинального значения. Проверяют, закрылся ли клапан.
Испытание энергосберегающих схем с электронными деталями проводят по
ГОСТ МЭК 730-1.
9. Маркировка, инструкции по монтажу и эксплуатации
9.1. Маркировка
9.1.1. На видном месте каждого клапана прикрепляют табличку по ГОСТ 12969 или наносят долговечную маркировку, которая должна содержать следующую информацию:
- знак обращения на рынке;
- наименование предприятия-изготовителя и (или) торговую марку, наименование страны происхождения продукции;
- тип газа;
- класс клапана;
- максимальное рабочее давление, кПа;
- группу клапана;
- направление потока газа (литьем или рельефной стрелкой);
- дату или год изготовления; допускается указывать в коде изделия;
- маркировку заземления (если применяется);
- давление для внешнего гидравлического или пневматического привода, кПа (если применяется).
На клапаны с электрическими исполнительными механизмами дополнительно наносят маркировку, содержащую:
- идентификацию клемм;
- характер и частоту подачи тока;
- номинальное напряжение, В, или номинальный ток, А, и его релейное напряжение, В;
- номинальную нагрузку, В x А или Вт, если нагрузка свыше 25 Вт;
- символ защиты класса II [для клапанов класса II (если применяются)].
На дополнительные электрические устройства, являющиеся неотъемлемой частью клапана, наносят ту же информацию.
9.1.2. Транспортная маркировка на таре - по
ГОСТ 14192.
9.2. Инструкции по монтажу и эксплуатации
С каждой партией изделий поставляют набор инструкций на русском языке и на государственном(ых) языке(ах) государства - члена Таможенного союза, при наличии соответствующих требований в национальном законодательстве(ах) государства(в) - члена(ов) Таможенного союза, в которое поставляются клапаны.
Инструкции должны содержать необходимую информацию, касающуюся применения, монтажа, эксплуатации и сервисного обслуживания, в частности:
- класс клапана (A, B, C, D, E или J);
- группу 1 или 2;
- номинальный расход при конкретном перепаде давления на клапане;
- электрические характеристики;
- диапазон температуры окружающей среды;
- время открывания;
- время закрывания (и максимальное время задержки, если применяется);
- монтажное(ые) положение(я);
- диапазон рабочих давлений, кПа или Па;
- газовое(ые) соединение(я);
- класс безопасности для электроники, связанной с безопасностью;
- информацию о пригодности в качестве автоматического запорного клапана для промышленных газовых горелок по
ГОСТ 21204.
9.3. Предупредительное уведомление
Предупредительное уведомление прилагают к каждой партии устройств управления. Уведомление должно содержать следующий текст: "Прочитайте инструкции перед использованием. Устройство управления должно быть установлено в соответствии с действующими правилами".
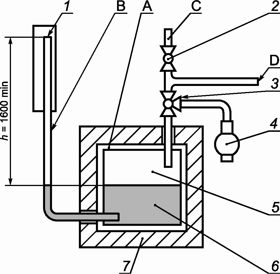
(справочное)
ИСПЫТАНИЕ НА ГЕРМЕТИЧНОСТЬ ВОЛЮМЕТРИЧЕСКИМ МЕТОДОМ
A.1. Аппарат для испытания на герметичность
Схема аппарата для испытания на герметичность приведена на рисунке A.1.
l - расстояние между уровнем воды в сосуде линии изгиба
трубки; A - вход; B - испытуемый образец; C - емкость
с водой; D - сосуд с постоянным уровнем воды;
E, K - переливные сосуды; F - регулятор; G - трубка;
H - измерительная бюретка; L - выход клапана;
1 - 5 - ручные краны
Рисунок A.1. Схема аппарата для испытаний на герметичность
волюметрическим методом
Материал аппарата - стекло. Материал кранов 1 - 5 - стекло, краны имеют пружину. В качестве рабочей жидкости используется вода.
Расстояние l между уровнем воды в сосуде с постоянным уровнем и концом измерительной трубки G регулируют так, чтобы высота столба воды соответствовала испытательному давлению.
Аппаратуру устанавливают в помещении с контролируемой температурой.
A.2. Проведение испытаний
Давление сжатого воздуха на входе после регулятора F регулируют краном 1 до испытательного.
Закрывают краны 1 - 5. Подсоединяют испытуемый образец B к испытательной аппаратуре. Выход клапана L закрывают.
Открывают кран 2; закрывают его, когда вода в сосуде с постоянным уровнем воды D начнет переливаться в сосуд E.
Открывают краны 1 и 4. Закрывают кран 1, когда измерительная бюретка H и испытуемый образец B находятся под давлением.
Открывают кран 3. Ждут примерно 15 мин, чтобы воздух в испытательной аппаратуре и испытуемом клапане достиг теплового равновесия.
Значение утечки определяют по объему воды, перетекающей из трубки G в измерительную бюретку H.
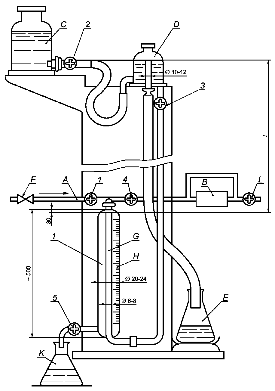
(справочное)
ИСПЫТАНИЕ НА ГЕРМЕТИЧНОСТЬ МЕТОДОМ ПАДЕНИЯ ДАВЛЕНИЯ
B.1. Аппаратура
Схема аппаратуры для испытания на герметичность приведена на рисунке B.1.
A - теплоизолированный сосуд давления; B - измерительная
трубка; C - трубка под давлением; D - соединение
с испытуемым клапаном; 1 - миллиметровая шкала;
2 - вентиль; 3 - трехходовой кран; 4 - компрессор;
5 - воздушная полость объемом 1 дм3; 6 - вода;
7 - теплоизоляция
Рисунок B.1. Схема аппарата для испытания на герметичность
методом падения давления
Аппаратура состоит из теплоизолированного сосуда давления A, заполненного водой так, чтобы объем воздуха над водой составлял 1 дм3. Стеклянную трубку B внутренним диаметром 5 мм с одним открытым наконечником помещают в сосуд A длинным концом в воду. Трубку B применяют для измерения падения давления.
Испытательное давление подают к трубке C, соединенной с воздушной полостью сосуда давления A, с которым испытуемый клапан соединяют через отвод D гибким шлангом длиной 1 м и внутренним диаметром 5 мм.
B.2. Проведение испытаний
Регулятором устанавливают значение давления воздуха в сосуде давления A через трехходовой кран 3 до испытательного. Повышение уровня воды в измерительной трубке B соответствует испытательному давлению.
Открывают трехходовой кран 3 для соединения испытуемого клапана с сосудом давления A. Ждут 10 мин, чтобы установилось тепловое равновесие. Затем ждут еще 5 мин и снимают показания падения давления непосредственно с измеряющей трубки B.
(справочное)
ПРЕОБРАЗОВАНИЕ ПАДЕНИЯ ДАВЛЕНИЯ В УТЕЧКИ
Объем утечек

, см3/ч, по падению давления вычисляют по формуле

,
| | ИС МЕГАНОРМ: примечание. Обозначения даны в соответствии с официальным текстом документа. | |
где

- сумма внутреннего объема испытуемого клапана и испытательной аппаратуры, см3;

- абсолютное давление в начале испытаний, кПа;

- абсолютное давление в конце испытаний, кПа.
Падение давления измеряют в течение 5 мин.
(справочное)
СВЕДЕНИЯ О СООТВЕТСТВИИ ССЫЛОЧНЫХ МЕЖГОСУДАРСТВЕННЫХ
СТАНДАРТОВ МЕЖДУНАРОДНЫМ И РЕГИОНАЛЬНЫМ СТАНДАРТАМ
(МЕЖДУНАРОДНЫМ ДОКУМЕНТАМ)
Таблица ДА.1
Обозначение и наименование международного стандарта | Степень соответствия | Обозначение и наименование межгосударственного стандарта |
ISO 1817:1985. Резина. Определение стойкости к воздействию жидкостей | NEQ | ГОСТ 9.030-74. Единая система защиты от коррозии и старения. Резины. Методы испытаний на стойкость в ненапряженном состоянии к воздействию жидких агрессивных сред |
ISO 274:1975. Трубы медные круглого сечения. Размеры | NEQ | ГОСТ 617-2006. Трубы медные и латунные круглого сечения общего назначения. Технические условия |
ISO 65:1985. Трубы из углеродистой стали для нарезки резьбы по ISO 7-1 | NEQ | ГОСТ 3262-75. Трубы стальные водогазопроводные. Технические условия |
EN 437:1994. Газы и давление для испытаний газовых приборов бытового назначения | NEQ | ГОСТ 5542-87. Газы горючие природные для промышленного и коммунально-бытового назначения. Технические условия |
EN 10226-1:2004. Резьбы трубные, где плотное соединение под давлением выполнено на резьбе. Часть 1. Конусообразные наружные резьбы и параллельные внутренние резьбы. Размеры, допуски и обозначение | | ГОСТ 6211-81. Основные нормы взаимозаменяемости. Резьба трубная коническая |
EN 10226-1:2004. Резьбы трубные, где плотное соединение под давлением, выполнено на резьбе. Часть 1. Конусообразные наружные резьбы и параллельные внутренние резьбы. Размеры, допуски и обозначение | NEQ | ГОСТ 6357-81. Основные нормы взаимозаменяемости. Резьба трубная цилиндрическая |
ISO 7005-2:88. Фланцы металлические. Часть 2. Фланцы из литейного чугуна | NEQ | ГОСТ 12815-80. Фланцы арматуры, соединительных частей и трубопроводов на Pу от 0,1 до 20,0 МПа (от 1 до 200 кгс/см2). Типы. Присоединительные размеры и размеры уплотнительных поверхностей |
EN 60529:92. Степени защиты, обеспечиваемой оболочками (код IP) | IDT | ГОСТ 14254-96. Степени защиты, обеспечиваемые оболочками (код IP) |
ISO 228-1:94. Резьбы трубные, не обеспечивающие герметичность соединения. Часть 1. Размеры, допуски и обозначения | NEQ | ГОСТ 16093-2004. Основные нормы взаимозаменяемости. Резьба метрическая. Допуски. Посадки с зазором |
EN 437:1994. Газы и давление для испытаний газовых приборов бытового назначения | NEQ | ГОСТ 20448-90. Газы углеводородные сжиженные топливные для коммунально-бытового потребления. Технические условия |
ISO 262:1973. Резьбы метрические ISO общего назначения. Выбор размеров для винтов, болтов и гаек | NEQ | ГОСТ 24705-2004. Основные нормы взаимозаменяемости. Резьба метрическая. Основные размеры |
IEC 60335-1:76. Приборы электрические бытового и аналогичного назначения. Безопасность. Часть 1: Общие требования | IDT | ГОСТ 27570.0-87. Безопасность бытовых и аналогичных электрических приборов. Общие требования и методы испытаний |
CISPR 11(2004). Оборудование радиочастотное промышленное, научно-исследовательское, медицинское. Характеристики электромагнитных помех. Предельные значения и методы измерения | MOD | ГОСТ 30805.11-2002. Совместимость технических средств электромагнитная. Радиопомехи индустриальные от промышленных, научных, медицинских и бытовых (ПНМБ) высокочастотных устройств. Нормы и методы испытаний |
CISPR 14-2(2001). Электромагнитная совместимость. Требования к бытовым электроприборам, электроинструментам и аналогичной электроаппаратуре. Часть 2. Стандарт на семейство изделий | MOD | ГОСТ 30805.14.2-2002. Совместимость технических средств электромагнитная. Помехоустойчивость бытовых приборов, электрических инструментов и аналогичных устройств. Требования и методы испытаний |
IEC 60730-1:1986. Устройства управления автоматические электрические бытового и аналогичного назначения. Часть 1. Общие требования | IDT | ГОСТ МЭК 730-1-95. Автоматические электрические управляющие устройства бытового и аналогичного назначения. Общие требования и методы испытаний |
IEC 61058-1:2000. Выключатели для электроприборов. Часть 1: Общие требования | IDT | ГОСТ МЭК 61058-1-2002. Выключатели для электроприборов. Часть 1. Общие требования и методы испытаний |
Примечание. В настоящей таблице использованы следующие условные обозначения степени соответствия стандартов: - IDT - идентичные стандарты; - MOD - модифицированные стандарты; - NEQ - неэквивалентные стандарты. |
| Electromagnetic compatibility - Requirements for household appliances, electric tools and similar apparatus - Part 2: Immunity - Product family standard (Электромагнитная совместимость. Требования к бытовым электроприборам, электроинструментам и аналогичной электроаппаратуре. Часть 2. Стандарт на семейство изделий) |
| Industrial, scientific and medical (ISM) radio-frequency equipment - Electromagnetic disturbance characteristics - Limits and methods of measurement (Оборудование радиочастотное промышленное, научно-исследовательское, медицинское. Характеристики электромагнитных помех. Предельные значения и методы измерения). |