Главная // Актуальные документы // ГОСТ (Государственный стандарт)СПРАВКА
Источник публикации
М.: ИПК Издательство стандартов, 2001
Примечание к документу
Отдельные положения данного документа включены в
Перечень документов в области стандартизации, в результате применения которых на добровольной основе обеспечивается соблюдение требований Федерального
закона от 22.07.2008 N 123-ФЗ "Технический регламент о требованиях пожарной безопасности" (
Приказ Росстандарта от 13.02.2023 N 318).
Отдельные положения данного документа включены в
Перечень документов в области стандартизации, в результате применения которых на добровольной основе обеспечивается соблюдение требований Федерального
закона от 22.07.2008 N 123-ФЗ "Технический регламент о требованиях пожарной безопасности" (
Приказ Росстандарта от 14.07.2020 N 1190).
Отдельные положения данного документа включены в
Перечень документов в области стандартизации, в результате применения которых на добровольной основе обеспечивается соблюдение требований Федерального
закона от 22.07.2008 N 123-ФЗ "Технический регламент о требованиях пожарной безопасности" (
Приказ Росстандарта от 03.06.2019 N 1317).
Документ включен в
Перечень документов в области стандартизации, в результате применения которых на добровольной основе обеспечивается соблюдение требований Федерального
закона от 27.12.2009 N 347-ФЗ "Технический регламент о безопасности низковольтного оборудования (
Приказ Ростехрегулирования от 14.09.2010 N 3546).
Документ включен в
Перечень национальных стандартов, содержащих правила и методы исследований (испытаний) и измерений, в том числе правила отбора образцов, необходимых для применения и исполнения Федерального
закона от 27.12.2009 N 347-ФЗ и осуществления оценки соответствия (
Распоряжение Правительства РФ от 29.07.2010 N 1284-р).
Документ был включен в
Перечень национальных стандартов, содержащих правила и методы исследований (испытаний) и измерений, в том числе правила отбора образцов, необходимые для применения и исполнения Федерального
закона от 22.07.2008 N 123-ФЗ и осуществления оценки соответствия (
Распоряжение Правительства РФ от 10.03.2009 N 304-р).
С 1 июля 2003 года до вступления в силу технических регламентов акты федеральных органов исполнительной власти в сфере технического регулирования носят рекомендательный характер и подлежат обязательному исполнению только в части, соответствующей целям, указанным в
пункте 1 статьи 46 Федерального закона от 27.12.2002 N 184-ФЗ.
Межгосударственный стандарт ГОСТ МЭК 730-1-95 введен в действие для применения в качестве нормативного документа по стандартизации Российской Федерации с 1 июля 1996 года и содержит полный аутентичный текст ГОСТ Р МЭК 730-1-94 (
Постановление Госстандарта РФ от 12.03.1996 N 164).
Документ
введен в действие с 01.01.1995.
Название документа
"ГОСТ МЭК 730-1-95/ГОСТ Р МЭК 730-1-94. Межгосударственный стандарт. Автоматические электрические управляющие устройства бытового и аналогичного назначения. Общие требования и методы испытаний"
(введен в действие Постановлением Госстандарта России от 12.03.1996 N 164)
"ГОСТ МЭК 730-1-95/ГОСТ Р МЭК 730-1-94. Межгосударственный стандарт. Автоматические электрические управляющие устройства бытового и аналогичного назначения. Общие требования и методы испытаний"
(введен в действие Постановлением Госстандарта России от 12.03.1996 N 164)
от 12 марта 1996 г. N 164
МЕЖГОСУДАРСТВЕННЫЙ СТАНДАРТ
АВТОМАТИЧЕСКИЕ ЭЛЕКТРИЧЕСКИЕ УПРАВЛЯЮЩИЕ УСТРОЙСТВА
БЫТОВОГО И АНАЛОГИЧНОГО НАЗНАЧЕНИЯ
ОБЩИЕ ТРЕБОВАНИЯ И МЕТОДЫ ИСПЫТАНИЙ
Automatic electrical controls for household
and similar use. General requirements and test methods
ГОСТ МЭК 730-1-95/ГОСТ Р МЭК 730-1-94
Дата введения
1 января 1995 года
1. РАЗРАБОТАН И ВНЕСЕН Техническим комитетом по стандартизации бытовых электроприборов ТК 19
2. ПРИНЯТ Межгосударственным советом по стандартизации, метрологии и сертификации (Протокол N 7 от 26 апреля 1995 г.)
За принятие проголосовали:
Наименование государства | Наименование национального органа по стандартизации |
Азербайджанская Республика | Азгосстандарт |
Республика Армения | Армгосстандарт |
Республика Беларусь | Госстандарт Республики Беларусь |
Республика Казахстан | Госстандарт Республики Казахстан |
Кыргызская Республика | Кыргызстандарт |
Республика Молдова | Молдовастандарт |
Российская Федерация | Госстандарт России |
Республика Таджикистан | Таджикстандарт |
Туркменистан | Главгосслужба "Туркменстандартлары" |
Республика Узбекистан | Узгосстандарт |
3. Настоящий стандарт содержит полный аутентичный текст международного стандарта МЭК 730-1-86 "Автоматические электрические управляющие устройства бытового и аналогичного назначения. Часть 1. Общие требования" с изменениями N 1 (1990), N 2 (1991), N 3 (1991)
4.
Постановлением Госстандарта России от 12 марта 1996 г. N 164 ГОСТ МЭК 730-1-95 введен в действие в качестве государственного стандарта Российской Федерации с момента принятия указанного постановления и признан имеющим одинаковую силу с ГОСТ Р МЭК 730-1-94 на территории Российской Федерации в связи с полной аутентичностью их содержания
5. ВВЕДЕН ВПЕРВЫЕ.
ГОСТ 12.2.006-87 (МЭК 65-87) Безопасность аппаратуры электронной сетевой и сходных с ней устройств, предназначенных для бытового и аналогичного применения. Общие требования и методы испытаний
ГОСТ 7399-97 Провода и шнуры на номинальное напряжение до 450/750 В. Технические условия
ГОСТ 8865-93 Системы электрической изоляции. Оценка нагревостойкости и классификация
ГОСТ 14254-96 (МЭК 529-89) Степени защиты, обеспечиваемые оболочками (Код IP)
ГОСТ 23511-79 <1> Радиопомехи индустриальные от электротехнических устройств, эксплуатируемых в жилых домах или подключаемых к их электрическим сетям. Нормы и методы измерений
--------------------------------
ГОСТ 25516-82 <2> Выключатели для электроприборов. Общие требования безопасности и методы испытаний
--------------------------------
<2> В Российской Федерации действует ГОСТ Р МЭК 60058.1-2000.
ГОСТ 27473-87 (МЭК 112-79) Материалы электроизоляционные твердые. Метод определения сравнительного и контрольного индексов трекингостойкости во влажной среде
ГОСТ 27483-87 (МЭК 695-2-1-80) Испытания на пожароопасность. Методы испытаний. Испытание нагретой проволокой
ГОСТ 27484-87 (МЭК 695-2-2-80) Испытания на пожароопасность. Методы испытаний. Испытание горелкой с игольчатым пламенем
ГОСТ 27570.0-87 (МЭК 335-1-76) Безопасность бытовых и аналогичных электрических приборов. Общие требования и методы испытаний
ГОСТ 28779-90 (МЭК 707-81) Материалы электроизоляционные твердые. Методы определения воспламеняемости под воздействием источника зажигания
ГОСТ 28896-91 (МЭК 384-1-82) Конденсаторы постоянной емкости для электронной аппаратуры. Часть 1. Общие технические условия
ГОСТ 29156-91 (МЭК 801-4-88) <3> Совместимость технических средств электромагнитная. Устойчивость к наносекундным импульсным помехам. Технические требования и методы испытаний
--------------------------------
ГОСТ 29191-91 (МЭК 801-2-91) <4> Совместимость технических средств электромагнитная. Устойчивость к электростатическим разрядам. Технические требования и методы испытаний
--------------------------------
ГОСТ 30375-95/ГОСТ Р 50008-92 <5> Совместимость технических средств электромагнитная. Устойчивость к разночастотным электромагнитным полям в полосе частот 26 - 1000 МГц. Технические требования и методы испытаний.
--------------------------------
Настоящий стандарт содержит нормы, правила и методы испытаний, общие для всех электрических управляющих устройств.
При отсутствии стандарта на устройства конкретного типа допускается распространять действие настоящего стандарта (насколько это применимо) на устройства этого конкретного типа.
Требования настоящего стандарта являются обязательными.
Номера таблиц и рисунков соответствуют приведенным в МЭК 730-1.
Требования к методам испытаний выделены курсивом.
1.1. Настоящий стандарт распространяется на автоматические электрические управляющие устройства (далее - управляющие устройства) или устройства, предназначенные для использования в, на оборудовании (или вместе с ним) бытового и аналогичного применения, включая устройства для нагрева, кондиционирования воздуха и т.п. Оборудование может использовать различные виды энергии, например электрическую, энергию газа, жидкого или твердого топлива, солнечную энергию и их комбинации.
Настоящий стандарт распространяется на автоматические электрические управляющие устройства, используемые в термоограничителях с отрицательным или положительным температурным коэффициентом, дополнительные требования для которых установлены в
Приложении J.
1.1.1. Настоящий стандарт применяется для обеспечения безопасности при эксплуатации, установления рабочего значения, времени работы и последовательности срабатывания, а также для испытаний автоматических устройств с электрическим управлением, которые используют вместе с бытовыми и аналогичными электроприборами.
Настоящий стандарт распространяется также на управляющие устройства приборов, которые входят в область распространения
ГОСТ 27570.0.
Примечание - В настоящем стандарте термин "оборудование" означает "прибор и оборудование".
Настоящий стандарт распространяется также на отдельные устройства, используемые как часть системы регулирования или устройств, которые в свою очередь составляют механически неотъемлемую часть многофункциональных управляющих устройств, имеющих неэлектрический выходной сигнал.
Автоматические электрические управляющие устройства для оборудования, не предназначенного для использования в быту, но которые, тем не менее, могут быть источником опасности для людей, являющихся неспециалистами, такие, например, как устройства, предназначенные для использования в магазинах, на предприятиях легкой промышленности и на фермах, входят в область распространения данного стандарта.
Настоящий стандарт не распространяется на автоматические электрические управляющие устройства, предназначенные исключительно для промышленных целей.
1.1.2. Настоящий стандарт распространяется на автоматические электрические управляющие устройства, включаемые механически или электрически, которые чувствительны к таким характеристикам, как температура, давление, время, влажность, освещенность, электростатическое воздействие, расход или уровень жидкости, электрический ток, напряжение или ускорение. Стандарт также распространяется на устройства со встроенными электронными частями.
1.1.3. Настоящий стандарт распространяется на пусковые реле, которые являются специфическим типом электрического автоматического управляющего устройства и применяются для включения пусковой обмотки двигателя. Эти устройства могут быть встроенными в двигатель или отдельными.
1.1.4. Настоящий стандарт распространяется на ручные управляющие устройства, когда они являются электрически и (или) механически неотъемлемой частью автоматического управляющего устройства.
Примечание - Требования к ручным выключателям, не являющимся частью автоматического устройства, содержатся в ГОСТ 25516.
1.2. Настоящий стандарт распространяется на управляющие устройства, у которых номинальное напряжение не превышает 660 В, а номинальный ток - 63 А.
1.3. Настоящий стандарт не принимает во внимание величину управления автоматического управляющего устройства, когда на нее влияет способ монтажа управляющего устройства в оборудовании. В случаях, когда величина управления значительна с точки зрения защиты потребителя или окружающей среды, она должна быть указана в стандарте на конкретное бытовое оборудование или установлена изготовителем.
1.4. Настоящий стандарт распространяется также на устройства регулирования, оборудованные электронными устройствами, требования к которым приведены в
Приложении H.
Если в тексте отсутствуют другие указания, то под терминами "напряжение" и "ток" подразумевают их среднеквадратические значения.
2.1. Определения, касающиеся номинальных характеристик напряжения, тока, частоты и мощности
2.1.1. Номинальные напряжение, ток, частота или мощность: напряжение, ток, частота или мощность, установленные изготовителем для управляющего устройства. Для трехфазного питания номинальным напряжением является линейное напряжение.
2.1.2. Диапазоны номинальных напряжения, тока, частоты или мощности: диапазоны напряжения, тока, частоты или мощности, установленные изготовителем для устройства и выраженные верхними и нижними пределами.
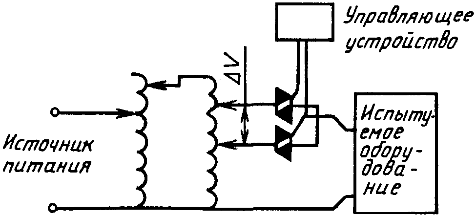
2.1.3. Рабочее напряжение: максимальное напряжение, которое может быть приложено к рассматриваемой части устройства, когда оно работает при номинальном напряжении и нормальных условиях эксплуатации или при предусмотренном повреждении.
Примечания. 1. При определении рабочего напряжения в нормальные условия эксплуатации включают такие повреждения, которые возникают в управляющем устройстве или связанной с ним нагрузке и ведут к изменению напряжения в рассматриваемой части устройства.
2. Типичным примером такого повреждения может служить повреждение в лампе накаливания, питающейся через последовательное сопротивление от высокого напряжения, проявляющееся в повышении напряжения на патроне лампы и разрыве нити накала.
3. Когда рассматривают рабочее напряжение, действие переходного напряжения на питающую сеть во внимание не принимают.
2.1.4. Сверхнизкое напряжение: номинальное напряжение, не превышающее 42 В между проводниками и между проводниками и землей, а для трехфазных цепей - не превышающее 42 В между проводниками и 24 В между проводниками и нейтралью.
2.1.5. Безопасное сверхнизкое напряжение: номинальное напряжение, не превышающее 42 В между проводниками и между проводниками и землей, а для трехфазных цепей - не превышающее 24 В между проводниками и нейтралью; при этом напряжение холостого хода не должно превышать соответственно 50 и 29 В.
Если безопасное сверхнизкое напряжение получают от сети с более высоким напряжением, то оно должно поступать через безопасный разделительный трансформатор или преобразователь с раздельными обмотками, обеспечивающий эквивалентную изоляцию.
Примечания. 1. Установленные предельные значения напряжения основаны на предположении, что безопасный разделительный трансформатор работает при номинальном напряжении.
2. В некоторых странах граничное значение безопасного сверхнизкого напряжения равно 30 В.
2.1.6. Безопасный разделительный трансформатор: трансформатор, у которого первичная обмотка отделена электрически от вторичной обмотки изоляцией, по меньшей мере эквивалентной двойной или усиленной изоляции, и который предназначен для питания цепей безопасным сверхнизким напряжением.
2.1.7. Одинаковая полярность: взаимосвязь, существующая между двумя частями, находящимися под напряжением, выражаемая в том, что соединение последних позволяет электрическому току протекать через нагрузку, а сам ток ограничен нагрузкой.
2.1.8. Полярность противоположного знака: взаимосвязь, существующая между двумя находящимися под напряжением частями, выражаемая в том, что соединение последних позволяет протекать току, значение которого ограничивается значением импеданса электрической цепи.
2.1.9. Вторичная ограничивающая изолирующая цепь: цепь, образованная посредством изолирующей вторичной обмотки трансформатора с максимальной мощностью 100 В·А и номинальным напряжением вторичной разомкнутой цепи не более 1000 В.
2.1.10. Контрольный режим: работа устройства, при которой предельную электрическую нагрузку контролируют вспомогательными средствами, такими как реле или контактор.
2.2. Определения различных типов управляющих устройств в зависимости от их применения
2.2.1. Электрическое управляющее устройство (далее - управляющее устройство): устройство, используемое в, на оборудовании (или вместе с ним) для изменения или варьирования рабочего процесса этого оборудования путем воздействия на него; при этом рабочий процесс содержит следующие фазы: включение, передача и работа. По меньшей мере одна из этих фаз должна быть осуществлена электрическим или электронным путем.
2.2.2. Ручное управляющее устройство: управляющее устройство с механическим включением, у которого фазы передачи и работы осуществляются непосредственно и без задержки.
2.2.3. Автоматическое управляющее устройство: управляющее устройство, у которого хотя бы одна из фаз осуществляется не вручную.
2.2.4. Чувствительное управляющее устройство: автоматическое управляющее устройство, которое включают с помощью элемента, настроенного на определенное указанное значение, например на значение температуры, тока, влажности, освещенности, уровня жидкости, уставки, давления или скорости и т.п.
2.2.5. Термически срабатывающее устройство: автоматическое управляющее устройство, в котором фаза передачи осуществляется в результате первичного теплового движения.
2.2.6. Терморегулятор: термочувствительное управляющее устройство с циклическим действием, предназначенное для поддержания значения температуры между двумя установленными значениями в условиях нормальной работы, которое может быть настроено потребителем.
2.2.7. Термоограничитель: термочувствительное управляющее устройство, предназначенное для поддержания значения температуры ниже или выше заданного в нормальных условиях работы, которое может быть настроено потребителем.
Примечание - Термоограничитель может быть с автоматическим или ручным включением. Он не осуществляет реверсирования во время нормального цикла работы прибора.
2.2.8. Термовыключатель: термочувствительное управляющее устройство, предназначенное для поддержания значения температуры выше или ниже заданного в ненормальных условиях работы, которое не может быть настроено потребителем.
Примечания. 1. Термовыключатель может быть с автоматическим или ручным возвратом.
2. Обычно термовыключатель производит действие типа 2.
2.2.9. Исключен.
2.2.10. Регулятор энергии: автоматическое устройство с циклическим действием, которое регулирует энергию, подаваемую на нагрузку, путем замыкания и размыкания цепи и которое может быть настроено потребителем для изменения среднего количества потребляемой энергии.
Примечание - Отношение между продолжительностью периодов замыкания цепи и временем "замыкание плюс размыкание" определяет среднюю потребляемую энергию.
2.2.11. Управляющее устройство на

основе: автоматическое управляющее устройство, в котором фазу передачи осуществляют с помощью первичного электродвигателя на

основе или электрической цепи на

основе.
2.2.12. Управляющее устройство с электрическим действием: автоматическое управляющее устройство, в котором фазу передачи осуществляют с помощью первичного электродвигателя, который управляет электрической цепью без преднамеренного значительного запаздывания.
Примечания. 1. Примером устройства такого типа может служить реле.
2. Реле с выдержкой времени может быть управляющим устройством либо с электрическим действием, либо на

основе в зависимости от соглашения между лицом, ответственным за испытания, и изготовителем.
2.2.13. Таймер: управляющее устройство на

основе, которое требует воздействия, чтобы мог состояться следующий цикл.
Примечание - В течение цикла управляющему устройству может требоваться внешний электрический или механический сигнал, чтобы это устройство сработало после паузы и продолжило цикл. Примером такого устройства может служить программное устройство.
2.2.14.

выключатель: управляющее устройство на

основе, которое автоматически начинает новый цикл после завершения предыдущего.
Примечание - Примером устройства такого типа может служить 24-часовое устройство аккумулирующего нагревателя.
2.2.15. Устройство защиты двигателя: автоматическое управляющее устройство, предназначенное для защиты обмоток электродвигателя от перегрева.
2.2.16. Устройство для тепловой защиты двигателя: автоматическое управляющее устройство, встроенное в (или на) двигатель, которое специально предназначено для защиты двигателя от чрезмерных перегревов, вызванных работой с перегрузкой или неисправностями при пуске. Ток двигателя протекает через устройство, которое чувствительно к температуре и току двигателя.
Примечание - Управляющее устройство может быть включено повторно (вручную или автоматически), если значение его температуры падает до значения температуры повторного включения.
2.2.17. Электроклапан: автоматическое управляющее устройство, в котором фаза передачи осуществляется посредством первичного электродвигателя, работа которого связана с расходом жидкости или газа.
2.2.18. Механизм с электрическим действием: автоматическое управляющее устройство, в котором фаза передачи осуществляется посредством первичного электродвигателя и в котором рабочим устройством является механическое устройство.
Примечания. 1. Примером такого устройства может служить электрическая блокировка крышки центрифуги.
2. Электрический двигатель не входит в это определение.
2.3. Определения, касающиеся функций устройства
2.3.1. Включение: первичная причина воздействия на управляющее устройство, в результате которого осуществляются фазы передачи или работы.
2.3.2. Передача: основная промежуточная фаза между фазами включения и работы, необходимая для того, чтобы управляющее устройство могло выполнять предназначенную ему функцию.
2.3.3. Работа: такое изменение в устройстве, которое меняет потребляемую мощность оборудования или его части.
2.3.4. Автоматическое действие: действие автоматического управляющего устройства, при котором фазы передачи и работы не являются результатом ручного воздействия.
2.3.5. Автоматическое действие с медленным размыканием и (или) замыканием: способ действия, при котором скорость размыкания и (или) замыкания контакта прямо пропорциональна скорости изменения величины управления или скорости движения первичного двигателя.
Примечание - Это действие может быть применено для размыкания, замыкания или обеих операций вместе.
2.3.6. Ручное действие: действие автоматического или ручного управляющего устройства, при котором фазы передачи и работы являются результатом включения, осуществляемого вручную.
2.3.7. Ручное управление: перемещение органа управления устройства, осуществляемое потребителем при помощи руки, ноги.
2.3.8. Установленное положение: положение органа управления, в которое он возвращается будучи отпущенным, если его слегка переместить.
2.3.9. Промежуточное положение: стабильное положение органа управления, смежное с установленным положением, при котором работа управляющего устройства будет неопределенной.
2.3.10. Величина управления: физическая характеристика среды, все изменения или стабильность которой имеют значение.
2.3.11. Рабочее значение: значение температуры, давления, тока и т.п., при котором чувствительное устройство воздействует на повышение или снижение величины управления.
2.3.12. Рабочее время: продолжительность или промежуток времени между любыми двумя функциями, электрическими или механическими, составляющими часть автоматического действия управляющего устройства на

основе.
2.3.13. Последовательность срабатывания: последовательность, порядок или заданная программа осуществления электрических или механических функций управляющего устройства, происходящие в результате автоматического или ручного включения управляющего устройства.
Примечание - Последовательность срабатывания включает в себя программу размыкания контактов для всех положений: установленных, промежуточных или настраиваемых изготовителем или потребителем.
2.3.14. Величина реакции: рабочее значение, рабочее время или последовательность срабатывания, которые связывают управляющее устройство с определенным оборудованием.
2.3.15. Свободное расцепление: автоматическое действие органа управления с повторным включением, сконструированного таким образом, что автоматическое действие не зависит от манипуляций или положения механизма повторного включения.
2.3.16. Ток утечки: любой ток, включая емкостные токи, который может протекать между незащищенными проводящими поверхностями устройства и землей или другими незащищенными проводящими поверхностями устройства.
2.3.17. Настройка: механически устанавливаемая часть устройства, предназначенная для выбора рабочего значения.
2.3.18. Настройка устройства изготовителем: настройка, проводимая изготовителем устройства, которая не предназначена для изменения при изготовлении оборудования, монтаже или потребителем.
2.3.19. Настройка оборудования изготовителем: настройка, проводимая изготовителем оборудования, которая не предназначена для изменения при монтаже или потребителем.
2.3.20. Настройка при монтаже: настройка, проводимая монтажником по инструкции изготовителя оборудования или устройства, которая не предназначена для изменения потребителем.
2.3.21. Настройка потребителем: выбор и установка потребителем любого рабочего значения.
2.3.22. Заданное значение регулируемой величины: значение, выбранное при настройке.
2.3.23. Регулируемое значение: множество значений внутри указанного диапазона, которые могут быть выбраны при настройке.
2.3.24. Рабочий цикл: все автоматические и ручные действия, проводимые в течение одного периода работы оборудования от запуска до остановки.
2.3.25. Цикл работы контакта: одно срабатывание и одно соответствующее размыкание контакта или одно размыкание и одно последующее замыкание контакта.
2.3.26. Рабочий дифференциал: разность между верхним и нижним значениями рабочего значения.
2.3.27. Регулируемый дифференциал: рабочий дифференциал, который может быть изменен в указанных пределах путем приведения в действие механизма, управляемого вручную.
2.3.28. Постоянный дифференциал: рабочий дифференциал, установленный изготовителем, который невозможно изменить.
2.3.29. Максимальное рабочее давление (максимальное номинальное давление): указанное изготовителем максимальное рабочее давление линии или системы, которому могут быть подвергнуты управляющее устройство или его часть.
2.4. Определения, относящиеся к отключению и прерыванию цепи
Некоторые управляющие устройства могут осуществлять разные виды отключения и прерывания цепи.
2.4.1. Отключение всех полюсов: отключение обоих питающих проводов в однофазных приборах переменного и постоянного тока одним действием; в приборах, которые подключены к более чем двум питающим проводам, это отключение одним действием относится ко всем питающим проводам, кроме провода заземления.
Примечание - Защитный провод заземления считается питающим проводником.
2.4.2. Полное отключение: разъединение контактов на всех полюсах питания, кроме заземления, осуществляемое так, чтобы обеспечить эквивалентность основной изоляции между питающей сетью и частями, которые предназначены для разъединения.
Примечания. 1. Сюда относятся требования к габаритным размерам и электрической прочности.
2. Если число полюсов на управляющем устройстве равно числу питающих полюсов прибора, с которым оно соединено, полный разрыв происходит при отключении всех полюсов.
2.4.3. Микроотключение: разъединение контактов, по меньшей мере одного полюса питания, таким образом, чтобы обеспечить функциональную безопасность.
Примечания. 1. Сюда относятся требования, касающиеся электрической прочности зазора между контактами, но не касающиеся размеров.
2. Микроотключением достигается такое состояние, при котором для нечувствительных управляющих устройств функция, управляемая разрывом, безопасна, а для чувствительных управляющих устройств она безопасна в пределах величины управления, указанной в
позиции 36 таблицы 7.2.
2.4.4. Микропрерывание: прерывание цепи путем разъема контактов циклическим или нециклическим действием, которое не приводит к отключению всех полюсов или микроотключению.
Примечание - Для зазора между контактами не установлены требования, касающиеся электрической прочности или размеров.
2.4.5. Положение "ВЫКЛ": положение, которое очевидным способом или с помощью указателя определяет полное отключение или микроотключение.
2.5. Определения, касающиеся типов управляющих устройств в соответствии с их конструкцией
2.5.1. Неотъемлемое управляющее устройство: управляющее устройство, работа которого зависит от правильного монтажа и закрепления в оборудовании и которое может быть испытано только вместе с соответствующей частью этого оборудования.
Примечания. 1. Оборудование может использовать электричество, газ, жидкое или твердое топливо или их сочетания.
2. Неотъемлемым управляющим устройством является также устройство, которое служит составной частью другого, более сложного управляющего устройства (электрического или неэлектрического).
2.5.2. Встроенное управляющее устройство: управляющее устройство, предназначенное для встраивания в (или на) оборудование, но которое может быть испытано отдельно.
Примечания. 1. То, что встроенное управляющее устройство можно испытывать отдельно, не означает, что его нельзя испытывать в оборудовании, как указано в
4.3.1.1.
2. Оборудование может использовать электричество, газ, твердое и жидкое топливо или их сочетания.
3. Встроенным управляющим устройством является также устройство, предназначенное для встраивания в (или на) более сложное управляющее устройство (электрическое или неэлектрическое).
2.5.3. Управляющее устройство, встроенное в гибкий кабель: устройство с отдельным корпусом, которое связано с оборудованием и источником питания с помощью гибких кабелей, вилок или приборных розеток и которое предназначено для управления вручную.
2.5.4. Отдельно стоящее управляющее устройство: устройство, встроенное в гибкий кабель и предназначенное для размещения на столе или на полу. Его можно приводить в действие рукой или ногой оператора.
2.5.5. Управляющее устройство с независимым монтажом: устройство, предназначенное для постоянного соединения с фиксированной электропроводкой вне управляемого оборудования.
Устройство может быть предназначено для:
- монтажа на поверхности, например на стене;
- монтажа заподлицо, например в пустом пространстве в стене; в этом случае монтаж устройства должен быть осуществлен спереди;
- монтажа на панели, например на (или в) панели управления, если монтаж может быть осуществлен с задней стороны.
2.5.6. Устройство, управляемое натяжением шнура: устройство, предназначенное для монтажа на (или в) оборудовании и приводимое в действие путем натяжения шнура.
2.5.11. Двухступенчатое возбуждение: два независимых последовательных перемещения органа управления.
2.6. Определение типов автоматического действия управляющих устройств в соответствии с процедурой испытаний
2.6.1. Действие типа 1: автоматическое действие, для которого производственный допуск и отклонение рабочего значения, рабочего времени или последовательности срабатывания не были выявлены изготовителем и которое проверяют в соответствии с требованиями настоящего стандарта.
Примечание - Действие типа 1 делится на подклассы в соответствии с
6.4.
2.6.2. Действие типа 2: автоматическое действие, для которого производственный допуск и отклонение рабочего значения, рабочего времени или последовательности срабатывания заявлены изготовителем и проверены в соответствии с требованиями настоящего стандарта.
Примечание - Действие типа 2 делится на подклассы в соответствии с
6.4.
2.7. Определения, касающиеся защиты от поражения электрическим током
2.7.1. Часть, находящаяся под напряжением: проводящая часть, прикасание к которой может вызвать значительное поражение электрическим током.
2.7.2. Управляющее устройство класса 0: устройство, в котором защита от поражения электрическим током обеспечивается основной изоляцией. Это значит, что отсутствуют средства для присоединения доступных токопроводящих частей, при их наличии, к защитному проводу стационарной проводки установки; в случае повреждения основной изоляции защита обеспечивается только окружающей средой.
Примечания. 1. Управляющее устройство класса 0 имеет либо кожух из изоляционного материала, который образует часть или всю основную изоляцию, либо металлический кожух, отделенный от токоведущих частей основной изоляцией. Если устройство с кожухом из изоляционного материала имеет средства для заземления внутренних частей, его рассматривают как устройство класса 0I или I. Устройства класса 0 могут иметь части с двойной или усиленной изоляцией либо части, питающиеся безопасным сверхнизким напряжением.
2. В некоторых странах устройства класса 0 не применяют.
3. Зажим заземления допускается только для обеспечения непрерывности или для функциональных (в отличие от защитных) целей.
2.7.3. Управляющее устройство класса 0I: устройство, помещенное в гибкий кабель, имеющее, по крайней мере повсюду, основную изоляцию и устройство заземления, но оснащенное несъемным гибким кабелем без провода заземления и штепсельной вилкой без контакта заземления, которая не может быть введена в розетку с контактом заземления.
Примечания. 1. Устройства класса 0I могут иметь части с двойной или усиленной изоляцией или части, работающие при безопасном сверхнизком напряжении.
2. В некоторых странах устройства класса 0I не применяют.
2.7.4. Управляющее устройство класса I: устройство, в котором защита от поражения электрическим током обеспечивается как основной изоляцией, так и дополнительными мерами безопасности, при которых доступные токопроводящие части соединены с защитным проводом заземления стационарной проводки так, что доступные токопроводящие части не могут оказаться под напряжением в случае повреждения основной изоляции.
Примечания. 1. Дополнительной мерой служит защитный провод, являющийся частью гибкого шнура или кабеля. Если устройства, сконструированные как устройства класса I, оснащены гибким кабелем с двумя проводами при условии, что этот кабель оснащен соединителем, который не может быть введен в розетку с контактом заземления, защита его эквивалентна защите устройства класса 0; однако обеспечение заземления оборудования во всех других отношениях должно полностью соответствовать требованиям для класса I.
2. Устройства класса I могут иметь части с двойной изоляцией или части, питаемые безопасным сверхнизким напряжением.
2.7.5. Управляющее устройство класса II: устройство, в котором защита от поражения электрическим током обеспечивается как основной изоляцией, так и дополнительными мерами безопасности, такими как двойная или усиленная изоляция. Эти меры не включают в себя средства защитного заземления и не зависят от условий установки. Такое устройство может принадлежать к одному из следующих типов.
Примечание - Устройства класса II могут иметь части, работающие при безопасном сверхнизком напряжении.
2.7.5.1. Управляющее устройство класса II с изолирующим кожухом: устройство, имеющее прочный и практически сплошной кожух из изоляционного материала, который покрывает все металлические части, за исключением мелких деталей, таких как заводские таблички, винты и заклепки, которые изолированы от токоведущих частей изоляцией, по крайней мере эквивалентной усиленной изоляции. Такое устройство называют управляющим устройством класса II с изолирующим кожухом.
2.7.5.2. Управляющее устройство класса II с металлическим кожухом: устройство, имеющее практически сплошное металлическое покрытие, в котором повсюду применена двойная или усиленная изоляция.
2.7.5.3. Управляющее устройство класса II с комбинированным (изолирующим и металлическим) кожухом: устройство, которое сочетает в себе оба типа устройств, описанных в
2.7.5.1 и
2.7.5.2.
Примечание - Кожух устройства класса II, полностью изготовленный из изоляционного материала, может образовать часть или всю дополнительную или усиленную изоляцию. Устройство с двойной и (или) усиленной изоляцией повсюду, имеющее устройство или контакт заземления, рассматривается как устройство класса 0I или I.
2.7.6. Управляющее устройство класса III: устройство, в котором защита от поражения электрическим током обеспечивается питанием безопасным сверхнизким напряжением и в котором не возникает напряжение большее, чем безопасное сверхнизкое.
Примечание - Устройство заземления допускается применять исключительно для обеспечения непрерывности или для функциональных (в отличие от защитных) целей.
2.7.7. Съемная часть: часть, снимаемая без применения инструмента, когда устройство смонтировано как при нормальном пользовании.
2.7.8. Доступная часть или доступная поверхность: часть или поверхность устройства, к которым можно прикоснуться с помощью испытательного пальца, приведенного на
рисунке 2, когда устройство смонтировано как при нормальном пользовании, и после удаления всех съемных частей.
Примечание - Требования для безвинтового закрепления доступных частей не установлены.
2.7.9. Рабочая изоляция: изоляция между находящимися под напряжением с разными потенциалами частями, которая необходима для правильной работы управляющего устройства или управляемого им оборудования (L-L).
Примечание - В 2.7.9 -
2.7.12 используются следующие обозначения:
L - часть, находящаяся под напряжением;
A - доступная часть (проводящая или изолирующая поверхность);
I - промежуточная часть.
2.7.10. Основная изоляция: изоляция токоведущих частей, обеспечивающая основную защиту от поражения электрическим током (L-A или L-I). Основная изоляция включает в себя изоляцию между частями, находящимися под напряжением, и:
- промежуточными токопроводящими частями или металлической фольгой, покрывающей изолирующие промежуточные поверхности (для класса II);
- доступными токопроводящими частями (для классов 0, 0I, I);
- токопроводящими частями, соединенными с доступными токопроводящими частями (для классов 0, 0I, I);
- металлической фольгой, покрывающей доступные изолирующие поверхности (для класса 0).
2.7.11. Дополнительная изоляция: независимая изоляция, дополняющая основную изоляцию и предназначенная для защиты от поражения электрическим током в случае повреждения основной изоляции (I-A). Эта изоляция включает в себя изоляцию между токопроводящими частями или металлической фольгой, покрывающей промежуточные изолирующие поверхности, и:
- доступными токопроводящими частями (для класса II);
- токопроводящими частями, соединенными с доступными токопроводящими частями (для класса II);
- металлической фольгой, покрывающей доступные изолирующие поверхности (для класса II).
2.7.12. Усиленная изоляция: единая система изоляции токоведущих частей, которая в условиях, предусмотренных настоящим стандартом, обеспечивает степень защиты от поражения электрическим током, эквивалентную двойной изоляции [L-(I)-А]. Эта изоляция включает в себя изоляцию между частями, находящимися под напряжением, и:
- доступными токопроводящими частями (для класса II);
- токопроводящими частями, соединенными с доступными токопроводящими частями (для класса II);
- металлической фольгой, покрывающей доступные изолирующие поверхности (для класса II).
Примечание - Термин "единая система изоляции" не означает, что изоляция должна быть однородной. Она может состоять из нескольких слоев, которые не могут быть испытаны отдельно как дополнительная или основная изоляция.
2.7.13. Двойная изоляция: изоляция, состоящая из основной и дополнительной изоляции (для класса II).
2.8. Определения, касающиеся комплектующих изделий управляющих устройств
2.8.1. Чувствительный элемент: часть управляющего устройства, предназначенная для восприятия воздействующей величины, ответом на которое является действие чувствительного управляющего устройства.
2.8.2. Выключающая головка: управляющее устройство, кроме чувствительного элемента.
Примечание - Если конструкция устройства не позволяет делать различие между чувствительным элементом и выключающей головкой, то все устройство называют чувствительным элементом.
2.8.3. Орган управления: часть, которую перемещают вручную посредством оттягивания, нажатия или поворота, для того чтобы вызвать начало работы управляющего устройства или для его настройки потребителем.
Примечание - Из определения исключают любое приспособление, такое как регулирующий винт, используемый для настройки устройства изготовителем, если это приспособление соответствующим образом заблокировано от последующего перемещения или если оно требует применения инструмента или настройки изготовителем.
2.8.4. Средство управления: любая часть, которая связывает орган управления с механизмом управляющего устройства.
2.8.5. Шнур натяжения: гибкий орган управления, который необходимо натянуть для включения устройства.
2.8.6. Первичный двигатель: любое устройство, обеспечивающее создание механической энергии, необходимой для выполнения автоматическим устройством функции передачи; таким устройством является электрическое устройство, электроклапан, механизм с электрическим действием или

управляющее устройство.
Примечание - Это может быть механизм, накапливающий механическую энергию (например рабочая часовая пружина), электромагнитное устройство (например шаговый соленоид), электротермическое устройство (например нагревающий элемент регулятора энергии) или любой другой источник механической энергии.
2.8.7. Муфта (сцепление): механическое устройство, с помощью которого орган управления приводит в действие или останавливает рабочий орган.
2.8.8. Чехол или покрышка: часть, доступная тогда, когда устройство смонтировано в соответствии с условиями нормальной эксплуатации, которая может быть снята только с помощью инструмента. Однако снятие этой части не требует применения специального инструмента.
2.8.9. Часть (или комплектующее изделие), закрепленная безвинтовым способом: доступная часть (или комплектующее изделие), которая после фиксации, установки, монтажа или сборки в (или на) оборудовании или другом комплектующем изделии, или на специально подготовленном суппорте удерживается на месте с помощью определенных средств без применения винтов. Разборка или съем может требовать использования инструмента, который прикладывают непосредственно к этой части (или комплектующему изделию) или используют для получения доступа к средствам крепления.
Примечания. 1. Требования для безвинтового крепления доступных частей не установлены.
2. В качестве частей, которые не рассматривают как части (комплектующие изделия), закрепленные безвинтовым способом, можно назвать:
- части комплектующих изделий, фиксируемые с помощью заклепок;
- плоские втычные соединители;
- безвинтовые зажимы;
- стандартные вилки и штепсельные розетки;
- стандартные приборные соединители, даже если они имеют дополнительные замковые устройства, предотвращающие разъединение одним действием;
- заземляемые лампы с байонетным патроном;
- конструкции с вращающимся наконечником;
- конструкции с фиксацией трением.
2.9. Определения, касающиеся различных типов зажимов и соединений, используемых в управляющих устройствах
2.9.1. Колонковый зажим: зажим с отверстием или углублением, предназначенным для приема проводника, который затем зажимается ножкой одного или нескольких винтов. Давление сжатия осуществляется либо непосредственно ножкой винта, либо через промежуточный зажимной орган, давление на который передается от ножки винта
(рисунок 11).
2.9.2. Винтовой зажим: зажим, в котором проводник зажимается под головкой винта. Давление сжатия может осуществляться либо непосредственно головкой винта, либо посредством промежуточной части, например шайбы, зажимной пластины, либо устройством, предотвращающим растрепывание проводника
(рисунок 10).
2.9.3. Болтовой зажим: зажим, в котором проводник зажимается под гайкой. Давление сжатия может осуществляться либо непосредственно болтом соответствующей конфигурации, либо посредством промежуточной части, например зажимной пластиной, либо устройством, предотвращающим растрепывание проводника
(рисунок 10).
2.9.4. Безвинтовой зажим: зажим, в котором соединение проводника осуществляется прямо или косвенно зажимными элементами, такими как пружины, клинья, эксцентрики, конусы и т.п.
Примечание - Не считаются безвинтовыми зажимы:
- требующие предварительной фиксации специальных устройств на проводниках, например лепестковых соединителей;
- требующие обмотки проводника;
- обеспечивающие прямой контакт с проводниками с помощью кромок или головок, предназначенных для пробивания изоляции.
2.9.5. Плоский втычной соединитель: конструкция, состоящая из лепестка и розетки, позволяющая соединять токопроводящую жилу или проводник с управляющим устройством, другой жилой или проводником.
2.9.6. Розетка: охватывающая часть плоского втычного соединителя, предназначенная для фиксации на токопроводящей жиле или проводнике
(рисунок 16).
2.9.7. Лепесток: охватываемая часть плоского втычного соединителя
(рисунок 15).
2.9.8. Проводниковый лепесток: пластина, неподвижно закрепленная на токопроводящей жиле или проводнике.
2.9.9. Лепесток, являющийся частью устройства: пластина, неподвижно закрепленная на управляющем устройстве, или неотъемлемая его часть.
2.9.10. Наконечник: часть, позволяющая соединять проводник с управляющим устройством так, что его замена требует применения специального инструмента, специального метода или специальной подготовки конца проводника.
Примечание - Сварка требует применения специального оборудования. Электросварка - специальный процесс. Закрепление наконечника на проводнике рассматривают как специальную подготовку конца.
2.9.11. Соединение сваркой: способ соединения, при котором проводник фиксируют механически, а непрерывность цепи обеспечивают сваркой.
2.9.12. Седловой зажим: зажим, в котором проводник зажат "седлом" с помощью двух или более винтов или гаек
(рисунок 13a).
2.9.13. Проходной зажим: винтовой или болтовой зажим, предназначенный для зажатия кабельного наконечника или пластины с помощью винта или гайки
(рисунок 13b).
2.9.14. Колпачковый зажим: зажим, в котором проводник прижимают к основанию прорези в резьбе болта гайкой. Проводник прижимают к основанию с помощью шайбы соответствующей формы, помещенной под гайкой, посредством центрального выступа, если гайка представляет собой колпачок, или с помощью других таких же эффективных способов передачи давления гайки на жилу внутри прорези
(рисунок 12).
2.10. Определения, касающиеся способов соединения с устройствами
2.10.1. Наружный проводник: гибкий кабель, шнур, токопроводящая жила или проводник, часть которого выступает наружу из управляющего устройства, встроенного в шнур, из управляющего устройства с независимым монтажом или из оборудования, в (или на) котором установлено управляющее устройство.
Примечание - Такой проводник может быть либо питающим, либо функциональным, либо промежуточным шнуром между различными частями оборудования, либо может быть частью фиксированной проводки.
2.10.2. Фиксированная проводка: любой наружный проводник, который неподвижно закреплен на здании так, что при нормальном использовании маловероятно натяжение проводника в точке его ввода в оборудование или управляющее устройство.
Примечание - Такое закрепление на здании можно осуществить, например, либо поместив проводник в канал для скрытой электропроводки, либо замуровав кабель в стене, либо фиксируя соответствующим образом кабели или шнуры на стенах и других поверхностях и т.п.
2.10.3. Внутренний проводник: кабель, гибкий шнур, токопроводящая жила или проводник, не являющийся ни наружным, ни встроенным проводником.
Примечание - Примером такого проводника является проводник, размещенный внутри оборудования и служащий для внешнего соединения управляющего устройства с оборудованием.
2.10.4. Встроенный проводник: проводник, который находится внутри управляющего устройства или который используют для постоянного соединения зажимов или концов управляющего устройства.
2.10.5. Съемный шнур: гибкий наружный шнур, который соединен с управляющим устройством или оборудованием с помощью приборного ввода или штепсельной вилки и розетки.
2.10.6. Несъемный шнур: гибкий наружный проводник, который крепят к управляющему устройству.
2.10.6.1. Крепление типа X: способ крепления, при котором шнур питания может быть легко заменен.
2.10.6.2. Крепление типа M: способ крепления, при котором шнур может быть легко заменен без применения специальных инструментов специальным шнуром, например шнуром с формованным защитным устройством или со специально подготовленными концами.
Примечание - Этот способ крепления неприменим, если шнур можно заменить стандартным шнуром во время профилактического ремонта, если это не допускается стандартом на конкретное устройство.
2.10.6.3. Крепление типа Y: способ крепления, при котором шнур может быть заменен только с помощью специального инструмента, имеющегося только у изготовителя или его представителя. Этот способ крепления может быть использован либо со стандартным, либо со специальным шнуром.
2.10.6.4. Крепление типа Z: способ крепления, при котором гибкий кабель или шнур не может быть заменен без разрушения или повреждения управляющего устройства.
2.10.7. Гибкий вывод: провод или провода, предназначенные для соединения управляющего устройства с оборудованием, имеющие один конец, прочно закрепленный на устройстве изготовителем.
2.11. Определения, касающиеся характеристик устройств с действием типа 2
2.11.1. Производственное отклонение: максимальная разность рабочего значения, рабочего времени или последовательности срабатывания, заявленная изготовителем для любых двух управляющих устройств в представленной документации на устройство конкретного типа на основании результатов испытаний, проведенных по одной и той же методике при приемке этого устройства.
Примечание - Разность может быть отнесена к абсолютной величине, если это допускается соответствующим пунктом
раздела 15.
2.11.2. Отклонение: максимальное изменение рабочего значения, рабочего времени или последовательности срабатывания для любого образца, которое может быть получено в результате испытаний, проведенных по настоящему стандарту.
Примечание - Максимальное изменение может быть отнесено к абсолютной величине или объединено с производственным отклонением, если это допускается соответствующим пунктом
раздела 15.
2.12. Определения, касающиеся требований к путям утечки тока и воздушным зазорам
2.12.1. Воздушный зазор: кратчайшее расстояние между двумя токопроводящими частями или между токопроводящей частью и металлической фольгой, прижатой к поверхности из изоляционного материала, измеренное по воздуху.
2.12.2. Путь утечки тока (далее - путь утечки): кратчайшее расстояние между двумя токопроводящими частями или между токопроводящей частью и металлической фольгой, прижатой к поверхности из изоляционного материала, измеренное по поверхности изоляционного материала.
2.12.3. Герметичное состояние: состояние, при котором рассматриваемое расстояние располагается внутри плотно запечатанного кожуха, в котором создан вакуум или пространство заполнено инертным газом.
Примечание - В 2.12.3 -
2.12.8 загрязнения внутреннего характера, например отложения на проводниках, образующиеся вследствие испарения контактов, в расчет не принимают, так как это учитывают при проведении испытаний по
разделу 17.
2.12.4. Инкапсулированное состояние: состояние, при котором рассматриваемое расстояние эффективно защищено от проникания влаги или пыли посредством опечатывания, склеивания стыков полимерного или аналогичного материала, либо с помощью формованного или помещенного в капсулу кожуха.
2.12.5. Чистая среда: среда, в которой рассматриваемое расстояние не подвергается загрязнению.
Примечание - Примером может служить коробка с хорошо пригнанной крышкой, когда не требуется оснащать крышку уплотнением или опечатывать ее.
2.12.6. Нормально загрязненная среда: среда, в которой рассматриваемое расстояние подвергается воздействию атмосферы жилых помещений и в которой пыль вызывает незначительные отложения нетокопроводящего вещества.
2.12.7. Сильнозагрязненная среда: среда, в которой рассматриваемое расстояние подвергается отложению пыли в количестве, превышающем соответствующее отложение в нормально загрязненной среде, в особенности если пыль содержит незначительное количество токопроводящих веществ.
2.12.8. Загрязненная и влажная среда: среда, в которой рассматриваемое расстояние подвергается воздействию влаги и токопроводящей пыли.
Примечание - Примером является управляющее устройство внутри стиральной машины, где находятся детергент и конденсат.
2.13. Разные определения
2.13.1. Описание типичного представителя: маркировка, нанесенная на управляющее устройство, позволяющая изготовителю заменить изделие на полностью аналогичное по электрическим, механическим, функциональным характеристикам и габаритным размерам.
2.13.2. Инструмент: отвертка, монета или любой другой предмет, который может быть использован для завинчивания гайки, винта или подобных крепежных средств.
2.13.3. Специальный инструмент: инструмент, наличие которого в доме маловероятно, например ключ для утопленных винтов с шестигранной головкой. Монеты, отвертки и гаечные ключи, используемые для отвинчивания гаек с квадратной или шестигранной головкой, не считают специальным инструментом.
2.13.4. Нормальная эксплуатация: использование управляющего устройства или связанного с ним оборудования, для которого оно предназначено, способом, указанным изготовителем.
Примечания. 1. Нормальная эксплуатация учитывает условия перегрузки или ненормальной работы, определенные стандартом на оборудование.
2. Нормальная эксплуатация исключает операции для поддержания устройства или оборудования в хорошем состоянии, если эти операции выполняет потребитель в соответствии с инструкцией изготовителя.
2.13.5. Техническое обслуживание потребителем: периодические операции, необходимые для поддержания управляющего устройства или оборудования в хорошем состоянии, которые осуществляют в соответствии с подробными инструкциями изготовителя.
2.13.6. Сервис-обслуживание: операции, позволяющие поддерживать управляющее устройство в хорошем состоянии, исполнение которых должно быть доверено специалисту, работающему, например в мастерской или на других предприятиях электрической службы или сервис-обслуживания. Такое обслуживание включает в себя замену гибкого кабеля, термозвена и т.д.
2.13.7. Сервис-обслуживание изготовителем: операции, которые могут быть выполнены только изготовителем или его квалифицированным представителем. Эти операции могут потребовать специального оборудования и инструментов и включают в себя настройку, проводимую изготовителем.
2.14. Определения, касающиеся изготовителя и потребителя
2.14.1. Изготовитель управляющего устройства: собственно изготовитель устройства.
2.14.2. Изготовитель оборудования: собственно изготовитель оборудования, в, на котором или вместе с которым используется управляющее устройство.
2.14.3. Монтажник: квалифицированное лицо, производящее установку управляющего устройства и, при необходимости, связанного с ним оборудования.
2.14.4. Потребитель: лицо, использующее управляющее устройство в соответствии с документацией (обслуживание потребителем) в течение его нормального срока службы. Потребителя не считают специалистом.
2.15. Определения, относящиеся к терморезисторам
Управляющие устройства должны быть сконструированы так, чтобы даже в случае их небрежного использования, которое возможно при нормальной эксплуатации, люди и окружающая среда не могли быть подвергнуты опасности.
Проверку осуществляют путем проведения необходимых испытаний по настоящему стандарту, а также соответствующих испытаний для устройства конкретного типа.
4. Общие положения, относящиеся к испытаниям
Испытания, проводимые в соответствии с настоящим стандартом, являются типовыми.
4.1.1. При отсутствии других указаний испытания проводят на образцах в состоянии поставки, смонтированных в положении, указанном изготовителем. В случае необходимости образцы устанавливают в наиболее неблагоприятное положение.
4.1.2. Если на результаты испытаний влияет температура окружающей среды, то температуру помещения, в котором проводят испытания, поддерживают в пределах (20 +/- 2) °C, в сомнительных случаях температуру помещения поддерживают в пределах (23 +/- 2) °C, если не указано иное.
4.1.3. Органы управления устанавливают в наиболее неблагоприятное положение, промежуточное положение или положение, настраиваемое потребителем, при условии, что нет других указаний.
4.1.4. Если нет других указаний, испытания проводят в порядке следования разделов настоящего стандарта.
4.1.5. Во время испытаний по настоящему стандарту, кроме испытаний при высокой скорости по 17.12 и 17.13, при желании, для включения управляющего устройства можно использовать соответствующее испытательное оборудование.
4.1.6. При испытаниях по настоящему стандарту, кроме испытаний по 17.12, для включения управляющего устройства можно использовать привод, если орган управления не представлен изготовителем.
4.1.7. Скорости изменения температуры, указанные в 7.2 и используемые в разделе 17 (
,
,
и
), следует поддерживать в пределах +/- 12 °C/ч.
Для других управляемых характеристик максимальную и (или) минимальную скорость измерения, указываемую в декларации согласно таблице 7.2, позиция 37, и используемую в разделе 17 (
,
,
и
), следует поддерживать с допуском, указанным в стандарте на конкретное устройство.
4.1.8. Используемые при испытаниях инструменты или средства измерений должны быть выбраны так, чтобы они не оказывали заметного влияния на измеряемые величины.
4.2. Требования к образцам
4.2.1. Один образец испытывают по разделам 5 - 11 и 18 - 23. Комплект из трех образцов подвергают испытаниям по другим разделам.
Примечания. 1. Если один из образцов не выдержал испытаний по
разделам 12 -
17, то испытание, в котором выявлено несоответствие, и все предшествующие ему, которые могут оказать влияние на результат этого испытания, повторяют на новой партии образцов, идентичных образцам первого комплекта, из которых все должны выдержать повторные испытания.
2. Изготовитель может представить одновременно с первым комплектом образцов для испытаний один или несколько комплектов для использования в случае, когда образец первого комплекта не будет удовлетворять требованиям испытаний. В этом случае ответственный за испытания без дополнительного согласования может немедленно приступить к испытаниям дополнительного комплекта образцов, и изделие следует браковать только тогда, когда вновь выявлено несоответствие. Если дополнительные комплекты образцов не представлены одновременно с первым комплектом, то несоответствие одного образца может повлечь за собой браковку изделия.
3. В некоторых странах используют только один образец для испытаний по
разделам 12 -
17, и этот образец должен соответствовать требованиям испытаний.
4.2.2. Исключен.
4.2.3. Для некоторых разрушающих испытаний по настоящему стандарту могут потребоваться дополнительные образцы.
4.2.4. Управляющие устройства, соответствующие требованиям стандартов на конкретные устройства, испытывают отдельно по каждому стандарту.
Примечание - По согласованию между изготовителем и ответственным за испытания требования, общие для более чем одного стандарта на конкретные устройства, проверяют всего лишь раз, при условии, что общие испытания не могут повлиять на результаты испытаний по стандартам на конкретные устройства.
4.3. Инструкции
4.3.1. О представлении на испытания
4.3.1.1. Управляющие устройства, представленные на испытания с оборудованием (или в нем), можно испытывать с оборудованием (или в нем) - в этом случае их классифицируют в соответствии с указанной в декларации удельной нагрузкой; или отдельно - в этом случае их можно классифицировать либо по указанной в декларации удельной нагрузке, либо по активной и индуктивной нагрузкам, либо только по активной нагрузке. В одном из двух последних случаев ток, протекающий в соответствующей цепи, когда оборудование работает при нормальной нагрузке, считают номинальным током этой цепи.
4.3.1.2. Для представленных на испытания управляющих устройств, находятся ли они в, на оборудовании или с ним, вся информация, соответствующая 7.2, может быть получена проверкой и измерениями, осуществляемыми на представленном оборудовании.
4.3.1.3. Встроенные управляющие устройства классифицируют по заявленной удельной нагрузке и испытывают в оборудовании или в той его части, для которой они предназначены.
4.3.1.4. Управляющие устройства, которые представлены без оборудования, испытывают отдельно.
4.3.1.5. Управляющие устройства, предназначенные для применения с несъемными гибкими шнурами, испытывают с соответствующим подключенным шнуром.
4.3.2. О номинальных характеристиках
4.3.2.1. Управляющие устройства, предназначенные только для переменного тока, испытывают переменным током при номинальной частоте, если она заявлена; устройства, предназначенные только для постоянного тока, испытывают постоянным током; устройства, которые могут работать как на постоянном, так и на переменном токе, испытывают при самом неблагоприятном режиме питания.
4.3.2.2. Управляющие устройства, предназначенные только для переменного тока, для которых не заявлена номинальная частота, испытывают при 50 или 60 Гц в зависимости от того, что более неблагоприятно. Управляющие устройства, имеющие заявленную номинальную частоту в диапазоне, отличном от 50 или 60 Гц, испытывают при частоте, наиболее неблагоприятной в маркированном или заявленном диапазоне.
4.3.2.3. При испытаниях управляющих устройств, предназначенных только для постоянного тока, учитывают возможное влияние полярности на работу устройства.
4.3.2.4. Если управляющее устройство имеет различные номинальные характеристики при работе на постоянном или переменном токе, для испытаний по разделам 12, 13, 14 и 17 используют два комплекта образцов: один - для испытаний на переменном токе, другой - для испытаний на постоянном токе.
Примечание - По решению ответственного за испытания число проводимых испытаний может быть уменьшено, но должны быть проверены различные номинальные характеристики.
4.3.2.5. Если нет других указаний, управляющие устройства, для которых заявлены один или несколько диапазонов напряжения, испытывают при наиболее неблагоприятном в заявленном диапазоне напряжений и значение этого напряжения умножают на коэффициент, указанный в соответствующем разделе (см. 4.3.2.7).
4.3.2.6. Для управляющих устройств, для которых заявлены или маркированы более одного значения напряжения или тока, испытания по разделу 17 проводят на разных комплектах образцов для каждой комбинации номинального напряжения и тока.
Примечание - Испытателем может быть сокращено количество испытаний.
4.3.2.7. Для управляющих устройств, для которых заявлен диапазон напряжений, испытания проводят на одном комплекте образцов при каждом граничном значении диапазона при условии, что разница между границами диапазона не превышает 10% среднего значения диапазона, в противном случае испытания проводят на единственном комплекте образцов при верхнем значении диапазона напряжений.
4.3.2.8. Управляющие устройства, предназначенные для работы от специального источника, испытывают вместе с источником.
4.3.3. О защите от поражения электрическим током
4.3.3.1. Если в управляющих устройствах классов 0, 0I или I, как и в управляющих устройствах, предназначенных для оборудования классов 0, 0I или I, некоторые части имеют двойную или усиленную изоляцию, эти части испытывают в соответствии с требованиями для устройств класса II.
4.3.3.2. В любом управляющем устройстве класса I, как и в любом управляющем устройстве, используемом в оборудовании класса I, незаземленные доступные металлические изолирующие поверхности должны быть изолированы в соответствии с требованиями для управляющего устройства класса II.
4.3.3.3. Если в управляющем устройстве классов 0, 0I, I или II, как и в управляющем устройстве, предназначенном для оборудования классов 0, 0I, I или II, отдельные компоненты должны питаться безопасным сверхнизким напряжением, эти компоненты должны быть испытаны в соответствии с требованиями для управляющих устройств класса III.
4.3.4. Для вариантов, предусмотренных изготовителем
4.3.4.1. Управляющие устройства, которые не являются идентичными, но которые можно в процессе производства комплектовать разными компонентами, что приводит к различным рабочему значению, рабочему времени или последовательности срабатывания, в соответствии с настоящим стандартом рассматривают как однородную партию. Обычно испытания управляющих устройств в наиболее жестких условиях эксплуатации считают достаточными. Однако лицо, ответственное за проведение испытаний, может потребовать дополнительные образцы, настроенные на другие значения функций, если можно доказать, что эти значения необходимы для подтверждения результатов испытания всей партии.
4.3.4.2. В таких случаях особое внимание должно быть обращено на возможность изменения производственного допуска и отклонения рабочего значения, рабочего времени или последовательности срабатывания, а для чувствительных управляющих устройств - максимум и минимум приемлемых значений увеличения и уменьшения соответствующего управляющего воздействия, которые могут быть применены в различных частях диапазона функций.
4.3.5.1. Многоцелевое управляющее устройство в соответствии с требованиями 6.3 испытывают отдельно для каждой функции. Во время испытаний какой-либо одной функции
управления и первичные двигатели, применяемые для других целей, поддерживают постоянными при наиболее строгих значении и положении внутри заявленного(ых) диапазона(ов) функций.
4.3.5.2. Управляющие устройства, которые конкретно не указаны в разделе 17, испытывают по методике, согласованной между изготовителем и лицом, ответственным за проведение испытаний, разработанной так, чтобы проверить рабочее значение, рабочее время и последовательность срабатывания.
4.3.5.3. Любое управляющее устройство, имеющее функцию, которая не классифицирована в 6.3, может быть испытано по настоящему стандарту, кроме раздела 17. Программа испытаний по разделу 17 должна быть основана, по возможности, на области распространения этого раздела и согласована между изготовителем и лицом, ответственным за проведение испытаний.
5.1. Максимальное номинальное напряжение
Максимальное номинальное напряжение равно 660 В.
5.2. Максимальный номинальный ток
Максимальный номинальный ток равен 63 А.
5.3. Соответствие
Соответствие 5.1 и 5.2 осуществляют при проверке требований по разделу 7.
Управляющие устройства классифицируют:
6.1. В соответствии с родом тока
6.1.1. Устройства только для переменного тока.
Примечания. 1. Устройства только для переменного тока могут быть использованы в цепи постоянного тока при условии, что ток не превышает более чем на 10% номинального переменного или на 0,1 А в зависимости от того, что меньше.
2. Могут потребоваться дополнительные испытания для определения номинального значения постоянного тока.
6.1.2. Устройства только для постоянного тока.
6.1.3. Устройства для переменного и постоянного тока.
6.1.4. Устройства для специальных источников и многоканального питания.
6.2. В соответствии с типом нагрузки, характерной для каждой цепи управления
Примечание - Управляющее устройство с несколькими цепями не обязательно должно иметь одинаковую классификацию для каждой цепи.
6.2.1. Цепи с активной нагрузкой, у которых коэффициент мощности не ниже 0,95.
Примечание - Такие цепи можно использовать с индуктивными нагрузками при условии, что коэффициент мощности не ниже 0,8 и индуктивная нагрузка не превысит 60% номинального тока при активной нагрузке. Эти цепи также можно использовать с другими реактивными нагрузками, не превышающими 10 В·А, при условии, что реактивный ток не превышает 5% номинального активного тока.
6.2.2. Цепи с активной или индуктивной нагрузкой, у которых коэффициент мощности не ниже 0,6, или со смешанной нагрузкой (активной и индуктивной).
Примечания. 1. Примером является цепь тепловентилятора, которая включает в себя одновременно нагревательный элемент и двигатель.
2. Цепи, предназначенные только для индуктивных нагрузок, могут либо входить в этот класс, если заявлено, что активная нагрузка равна индуктивной, либо быть классифицированы как цепи для особо заявленных нагрузок.
6.2.3. Цепи с особо заявленными нагрузками.
Примечание - Примерами являются цепи для ламп с вольфрамовой нитью накала или люминесцентных ламп, высокоиндуктивные нагрузки с коэффициентом мощности ниже 0,6, емкостные нагрузки и контакты, предназначенные только для работы без нагрузки.
6.2.4. Цепи с током менее 20 мА.
Примечание - Примером являются цепи управления неоновыми индикаторными и другими сигнальными лампами.
6.2.5. Цепи с двигателями переменного тока, у которых характеристики нагрузок определяют по декларации изготовителя.
6.2.6. Цепи со вспомогательной нагрузкой.
6.3. В соответствии с функциями
Управляющее устройство можно классифицировать по многим функциям, и в этом случае его называют многофункциональным управляющим устройством:
Примечание - Любое ручное действие автоматического управляющего устройства или отдельное ручное действие, являющееся неотъемлемой частью автоматического управляющего устройства, не классифицируют в соответствии с этим пунктом.
6.3.2. Термоограничитель.
6.3.3. Термовыключатель.
6.3.5. Регулятор энергии.
6.3.6. Таймер.
6.3.7.

выключатель.
6.3.8. Ручное управляющее устройство.
6.3.9. Чувствительное устройство (иное, чем устройства, указанные в
6.3.1 -
6.3.4).
6.3.10. Управляющее устройство электрического действия.
6.3.11. Устройство защиты двигателя.
6.3.11.1. Термическое устройство защиты двигателя.
6.3.12. Электроклапан.
6.3.13. Механизм с электрическим действием.
6.4. В соответствии с особенностями автоматического действия
6.4.1. Действие типа 1.
6.4.3. Действия типа 1 и действия типа 2 классифицируют также в соответствии с одной или несколькими следующими особенностями конструкции и работы:
Примечания. 1. Эту дополнительную классификацию применяют тогда, когда есть соответствующие указания, а все соответствующие испытания закончены.
2. Действие, включающее в себя более одной особенности, можно классифицировать посредством комбинации соответствующих букв, например действие типа 1CL или 2AE.
3. Ручные действия этим пунктом не классифицируют.
6.4.3.1. Полное отключение при работе (тип 1A или 2A).
6.4.3.2. Микроотключение при работе (тип 1B или 2B).
6.4.3.3. Микропрерывание при работе (тип 1C или 2C).
6.4.3.4. Механизм со свободным расцеплением, который не может быть сразу же отключен повторно, если возникло повреждение (тип 1D или 2D).
6.4.3.5. Механизм со свободным расцеплением, не мешающий размыканию или поддержанию в замкнутом состоянии контактов при возобновлении повреждения (тип 1E или 2E).
Примечание - Примером является устройство, чувствительное к электрическому току, которое должно или может быть сразу же вновь включено для определения, что повреждение от сверхтока еще присутствует.
6.4.3.6. Действие, которое не может быть повторно включено иначе, чем с помощью инструмента (тип 1F или 2F).
6.4.3.7. Действие, которое не предназначено для повторного включения при электрической нагрузке (тип 1G или 2G).
6.4.3.8. Механизм со свободным расцеплением, в котором нельзя помешать размыканию контактов и который может быть автоматически перестроен в положение "замкнуто" после восстановления безопасных рабочих условий, если орган повторного включения поддерживают в положении "повторное включение" (тип 1H или 2H).
6.4.3.9. Механизм со свободным расцеплением, в котором нельзя помешать размыканию контактов и для которого работа управляющего устройства в качестве автоматического устройства повторного включения не допускается, если орган повторного включения поддерживают в положении "повторное включение" или "включение" (тип 1J или 2J).
6.4.3.10. Чувствительные действия, когда не происходит увеличения рабочего значения из-за разрыва чувствительного элемента или компонентов, соединяющих чувствительный элемент с выключающей головкой (тип 1K или 2K).
6.4.3.11. Действие, которое не требует дополнительного наружного источника энергии или электропитания для данной операции (тип 1L или 2L).
6.4.3.12. Действие, осуществляемое после заявленного периода износа (тип 1M или 2M).
6.5. В соответствии со степенью защиты устройства и загрязняющей средой
6.5.1. В соответствии со степенью защиты, обеспечиваемой кожухом, от проникания твердых веществ и пыли по
ГОСТ 14254: 1Р0X, 1Р2X, 1Р4X, 1Р5X, 1Р6X.
6.5.2. В соответствии со степенью защиты, обеспечиваемой кожухом, от вредных воздействий в результате проникания воды по
ГОСТ 14254: 1РX0, 1РX1, 1РX3, 1РX4, 1РX5, 1РX7.
Примечания. 1. Устройство, предназначенное для использования в определенной среде, можно использовать в другой среде при условии, что оборудование будет оснащено соответствующей дополнительной защитой.
2. Предпочтительные сочетания степеней защиты в соответствии с
6.5.1 и
6.5.2:
Первая цифра | Вторая цифра |
Защита от проникания посторонних тел | Защита от проникания воды |
| 0 | 1 | 2 | 3 | 4 | 5 | 6 | 7 |
0 | IP00 | | | | | | | |
1 | | | | | | | | |
2 | IP20 | IP21 | | | | | | |
3 | | | | | | | | |
4 | | IP41 | | IP43 | IP44 | | | |
5 | | | | | IP54 | IP55 | | |
6 | | | | | | IP65 | | IP67 |
6.5.3. В зависимости от вида загрязняющей среды, в которой управляющее устройство пригодно без дополнительной защиты:
- управляющее устройство для использования в чистой среде;
- управляющее устройство для использования в нормально загрязненной среде;
- управляющее устройство для использования в сильнозагрязненной среде;
- управляющее устройство для использования в загрязненной и влажной среде.
Примечания. 1. Управляющее устройство, предназначенное для использования в определенной среде, может быть использовано в менее загрязненной среде.
2. Управляющее устройство может быть использовано в более загрязненной среде, чем та, для которой оно предназначено, если соответствующая защита обеспечивается оборудованием, крышкой или кожухом.
3. Внутри управляющего устройства, предназначенного для использования в определенной среде, могут быть предусмотрены дополнительные покрытия или уплотнения для того, чтобы для внутренних комплектующих изделий можно было применять значения путей утечки и воздушных зазоров, соответствующие их защите. Так, внутри управляющего устройства, предназначенного для использования в сильнозагрязненной среде, некоторые комплектующие изделия могут находиться в нормально загрязненной среде при наличии соответствующей крышки, а другие компоненты могут быть в чистой среде при наличии уплотнения или капсулы.
6.6. В соответствии со способом соединения:
6.6.1. Устройство, оснащенное, по меньшей мере, одним зажимом, предназначенным для соединения с фиксированной проводкой.
Примечание - В некоторых странах допускается применять тонкие проволочные выводы.
6.6.2. Устройство, оснащенное, по меньшей мере, одним зажимом, предназначенным для присоединения гибкого шнура.
Примечание - Управляющее устройство можно классифицировать одновременно по
6.6.1 и 6.6.2.
6.6.3. Устройство без зажимов, предназначенных только для присоединения встроенных или внутренних проводников.
6.7. В соответствии с предельной температурой окружающей среды для головки управления
6.7.1. Устройство, у которого головка управления предназначена для работы при температуре окружающей среды от 0

до 55 °C

.
6.7.2. Устройство, у которого головка управления предназначена для работы при температуре окружающей среды с

иной, чем 55 °C, но не ниже 30 °C или с

ниже 0 °C, или при обеих температурах.
Примечания. 1. Предпочтительные значения

30, 55, 70, 85, 105, 125 и 150 °C. Предпочтительные значения

0, минус 10, минус 20, минус 30 и минус 40 °C
2. Допускается использовать значения температуры, отличающиеся от указанных.
6.8. В соответствии с защитой от поражения электрическим током
6.8.1. Встроенные управляющие устройства.
Примечание - Встроенные управляющие устройства отдельно не классифицируют, а их класс определяют классом оборудования, в которое они встроены.
6.8.2. Управляющие устройства, встроенные в:
6.8.2.1. Оборудование класса 0;
6.8.2.2. Оборудование класса 0I;
6.8.2.3. Оборудование класса I;
6.8.2.4. Оборудование класса II;
6.8.2.5. Оборудование класса III.
Примечание - Определения оборудования классов 0, 0I, I, II, III приведены в
ГОСТ 27570.0. Управляющие устройства, предназначенные для встраивания в оборудование конкретного класса, можно использовать в оборудовании другого класса при условии, что будут приняты соответствующие меры при их монтаже.
6.8.3. Управляющие устройства, встроенные в гибкий кабель, автономные управляющие устройства или управляющие устройства с независимым монтажом:
6.8.3.1. Класса 0;
6.8.3.2. Класса 0I;
6.8.3.3. Класса I;
6.8.3.5. Класса III.
6.9. В соответствии с типом размыкания или прерывания цепи
6.9.1. С полным размыканием;
6.9.2. С микроотключением;
6.9.3. С микропрерыванием.
Примечания. 1. В стандартах на конкретное оборудование может содержаться требование полного отключения, другие стандарты могут допускать полное отключение или микроотключение, а отдельные - только микропрерывание.
2. Различные действия одного и того же устройства могут выражаться различными типами отключения или прерывания.
6.10. В соответствии с числом коммутационных циклов (M) для каждого ручного действия
Предпочтительными значениями являются:
6.10.1. 100000 циклов;
6.10.2. 30000 циклов;
6.10.3. 10000 циклов;
6.10.4. 6000 циклов;
6.10.5. 3000 циклов <1>;
6.10.6. 300 циклов <1>;
6.10.7. 30 циклов <1>.
--------------------------------
<1> Эти значения используют только для управления определенным типом оборудования, а также в устройствах для регулирования напряжения на ответвлении цепи, устройствах для определения положения "зима-лето" для водонагревателей и в тех случаях, когда это позволяет стандарт на конкретное оборудование.
Примечания. 1. Для устройств с несколькими ручными операциями различное значение может быть заявлено для каждой операции.
2. Если устройство имеет более одного положения "ВЫКЛ", считают, что каждое перемещение положения "ВЫКЛ" составляет коммутационный цикл.
6.11. В соответствии с числом автоматических циклов (A) для каждой автоматической операции
Предпочтительными значениями являются:
6.11.1. 300000 циклов;
6.11.2. 200000 циклов;
6.11.3. 100000 циклов;
6.11.4. 30000 циклов;
6.11.5. 20000 циклов;
6.11.6. 10000 циклов;
6.11.7. 6000 циклов;
6.11.8. 3000 циклов <1>;
6.11.9. 1000 циклов <1>;
6.11.10 300 циклов <2>;
6.11.11. 30 циклов <2>, <4>;
6.11.12. 1 цикл <3>.
--------------------------------
<1> Неприменимо для терморегуляторов и других устройств с быстрым циклическим действием.
<2> Применимо только при ручном повторном включении.
<3> Применимо только для действий, требующих замены элемента после каждой операции.
<4> Может быть повторно включено только во время обслуживания изготовителем.
Примечание - Для устройств с несколькими автоматическими действиями для каждого действия может быть заявлено различное значение.
6.12. В соответствии с температурными ограничениями для монтажной поверхности управляющего устройства
6.12.1. Устройство для монтажа на поверхности, температура которой не должна превышать более чем на 20 °C температуру окружающей среды по
6.7.
6.12.2. Устройство для монтажа на поверхности, температура которой более чем на 20 °C превышает температуру окружающей среды по
6.7.
Примечание - Примером является управляющее устройство, устанавливаемое на компрессоре холодильника, где температура монтажной поверхности может составлять 150 °C, тогда как чувствительный элемент находится при температуре минус 10 °C, а температура окружающей среды - только 30 °C.
6.13. В соответствии с контрольным индексом трекингостойкости (КИТ) используемого изоляционного материала
6.13.1. Материал с КИТ св. 125 до 175 включ.;
6.13.2. Материал с КИТ св. 175 до 250 включ.;
6.13.3. Материал с КИТ св. 250 до 700 включ.;
6.13.4. Материал с КИТ св. 700.
Примечание - В конструкции устройства могут быть использованы материалы, имеющие разный КИТ (см.
ГОСТ 27473).
6.14. В соответствии с периодом электрических воздействий на изолирующие части, служащие для поддержания токоведущих частей или находящихся между ними, и на заземленные металлические части
6.14.1. Краткий период.
6.14.2. Долгий период.
Примечание - Период электрических воздействий считают длительным, если управляющее устройство применяют в оборудовании продолжительного использования, а также в оборудовании, в котором управляющее устройство располагается со стороны источника питания, если маловероятно отключение оборудования от источника питания путем удаления вилки или срабатывания управляющего устройства, обеспечивающего полное отключение.
6.15. В соответствии с конструкцией
6.15.1. Управляющее устройство, являющееся составной частью прибора.
6.15.2. Встроенное управляющее устройство.
6.15.3. Управляющее устройство, помещенное в гибкий кабель.
6.15.3.1. Отдельное управляющее устройство.
6.15.4. Управляющее устройство с независимым монтажом для:
6.15.4.1. Монтажа на поверхности;
6.15.4.2. Утопленного монтажа;
6.15.4.3. Монтажа на рабочей панели.
6.16. В соответствии с характеристиками старения (у) оборудования, в котором или с которым должно работать управляющее устройство
6.16.1. 60000 ч;
6.16.2. 30000 ч;
6.16.3. 10000 ч;
6.16.4. 3000 ч;
6.16.5. 300 ч;
6.16.6. 15 ч.
Примечание - Управляющие устройства, которые работают во время испытаний на нагрев или износостойкость по стандарту на оборудование, не классифицируют в соответствии с настоящим пунктом.
7.1. Общие требования
Изготовители устройств должны обеспечивать информацию, подтверждающую:
- возможность выбора подходящего устройства;
- возможность монтажа и использования устройства, позволяющую достигнуть соответствия требованиям настоящего стандарта;
- возможность проведения соответствующих испытаний для подтверждения соответствия требованиям настоящего стандарта.
7.2. Методы подачи информации
7.2.1. Для подачи информации используют один и более методов. Информация, необходимая непосредственно для устройства, и соответствующий способ подачи этой информации - по таблице 7.2.
Примечание - Таблица 7.2 не является необходимой формой для взаимосвязи между изготовителем и испытательной организацией.
Информация | Раздел или пункт настоящего стандарта | Метод подачи информации |
1. Наименование изготовителя или торговая марка <2> | - | С |
2. Описание типичного представителя <1>, <2> | | С |
3. Номинальное напряжение или номинальный диапазон напряжений | | С |
4. Род тока, если устройство не предназначено для постоянного и переменного тока или если одно и то же положение устройства соответствует постоянному и переменному току | | С |
5. Частота, если она отличается от частоты 50; 60 Гц | | С |
6. Цель устройства | | Д |
6а. Конструкция устройства и является ли оно электронным | | Д |
7. Тип нагрузки, контролируемый каждой цепью <7> | | С |
8 - 14. Исключены | | |
15. Степень защиты, обеспечиваемая корпусом <8> | | С |
16. Исключен | | |
17. Какие зажимы пригодны для подключения наружных проводников, пригодны ли они для подключения фазных или нейтральных проводников или для обоих случаев | | С |
18. Какие зажимы, предназначенные для наружных проводников, могут быть применены в более широком диапазоне размеров проводников, чем указано в таблице пункта 10.1.4 | | Д |
19. Для безвинтовых зажимов - метод присоединения и рассоединения <9> | | Д |
20. Подробное описание любых специальных проводников, которые предназначены для подключения к зажимам для внутренних проводов | | Д |
21. Максимальная температура зажимов для внутренних проводов, если она выше 85 °C | | Х |
22. Температурные пределы для корпуса выключателя, если Tmin ниже 0 °C или Tmax больше 55 °C | | С |
23. Температурные пределы монтажных поверхностей (Ts) | | С |
24. Классификация устройства по степени защиты от поражения электрическим током | | Х |
25. Для устройств класса II - символ конструкции класса II | | С |
26. Количество циклов срабатывания (M) для каждого ручного действия | | Х |
27. Количество автоматических циклов (A) для каждого автоматического действия | | Х |
28. Срок службы (у) для устройств с действием типа 1M или 2M | | Х |
29. Тип отключения или прерывания каждой цепи | | Х |
30. Сравнительный индекс трекингостойкости используемых изоляционных материалов | | Х |
31. Способ монтажа устройства <5> | | Д |
31а. Способ заземления устройства | | Д |
32. Способ присоединения несъемных шнуров <6> | | Д |
33. Условия транспортирования устройства | | Х |
34. Подробное описание любых ограничений рабочей температуры | | Д |
35. Продолжительность воздействия электрического напряжения на изоляционные части | | Х |
36. Предел регулирования всех чувствительных элементов, через которые гарантируется микроотключение | | Х |
37. Минимальная и (или) максимальная скорости изменения регулируемой величины или минимальная и (или) максимальная скорости циклов для чувствительных устройств <4> | | Х |
38. Величины корректирования значений срабатывания для чувствительных устройств, которые необходимы для настройки или которые могут понадобиться при испытаниях | | Х |
39. Действие типа 1 или 2 | | Д |
40. Дополнительные особенности действия типа 1 или 2 | | Д |
41. Производственные допуски и условия испытаний, соответствующие допуску | | Х |
| | Х |
43. Характеристики возврата в исходное положение для действия "отключение" <3> | | Д |
44. Если устройство предназначено для удержания в руке или для оборудования, удерживаемого в руке | | Х |
45. Любые ограничения в количестве или распределении плоских соединителей, которые могут быть присоединены | | Д |
46. Последовательность срабатывания для устройств с более чем одной цепью, если это важно | | Д |
47. Размер любого чувствительного элемента | | Д |
48. Рабочее значение (или значения) или рабочее время | | Д |
49. Контроль условий загрязнения | | Д |
50. Устройство, предназначенное для поставки исключительно с оборудованием изготовителя | | Х |
51. Категории тепло-, огнестойкости | | Х |
| | |
| | |
<1> Тип должен быть обозначен таким образом, что когда он полностью расшифрован, изготовитель устройства может предложить замену, которая полностью равноценна оригиналу по электрическим, механическим, размерным и функциональным характеристикам. Он может включать в себя целый ряд типов с другой маркировкой, например номинальным напряжением или окружающей температурой, которые в совокупности обеспечивают соответствие этому единственному типу устройства. <3> Изготовителем может быть декларировано время, до истечения которого (или удельная характеристика количества срабатываний, сверх которой) ручное повторное включение не должно быть произведено. <4>  - минимальная скорость подъема;  - минимальная скорость падения. Скорости изменения (  и  ) регулируемой величины соответствуют условиям нормальной эксплуатации;  - максимальная скорость подъема (только для действия типа 2);  - максимальная скорость падения (только для действия типа 2). Для целей испытаний значения  и  должны быть указаны, но они должны быть не ниже, чем установленные стандартом на конкретное устройство для действий типов 1 и (или) 2. Значения  и  нужны только для целей испытаний, и вместо них может быть указана максимальная скорость цикла. Скорости изменения величин в соответствии с настоящим стандартом указывают в единицах согласно таблице. Таблица |
| Регулируемая величина | Единица скорости изменения | Регулируемая величина | Единица скорости изменения | |
Давление | Па/с | Уровень жидкости | мм/с |
Температура | °C/ч | Ток | А/с |
Положение | мм/с | Влажность | %/с |
Освещенность | лк/с | Расход воздуха | м3/с2 |
Скорость | мм/с2 | | |
<5> Если для устройств, монтируемых независимо, необходимо при установке или эксплуатации соблюдать специальные меры предосторожности, это должно быть подробно описано в инструкции, прилагаемой к устройству. Специальные меры предосторожности могут быть необходимы, например для утопленных отдельно монтируемых устройств. Чтобы быть уверенным, что после встраивания будут выполнены условия, соответствующие требованиям настоящего стандарта, в инструкцию должна быть включена следующая информация: - размеры пространства, необходимые для устройства; - размеры и размещение средств для поддержания и закрепления устройства внутри этого пространства; - минимальные зазоры между различными частями устройства и окружающими частями оборудования; - минимальные размеры вентиляционных отверстий и их правильное размещение; - подключение устройства к питанию и промежуточные присоединения отдельных комплектующих, при их наличии. Если провода питания устройства могут контактировать с частями клеммной колодки и отсека для проводов питания и если эти части в условиях нормальной эксплуатации имеют значения температуры, превышающие значения, указанные в таблице 14.1, в инструкции также должно быть указано, что устройство необходимо подключать проводами, имеющими соответствующую T-маркировку (см. примечание 1 к таблице 14.1). <6> Встроенные в шнур питания, свободно стоящие и независимо монтируемые устройства, присоединяемые несъемным шнуром с креплением типа Z или Y, должны иметь документацию (Д), содержащую одно из следующих положений в зависимости от применимости: "Шнур питания настоящего устройства не может быть заменен; если шнур питания поврежден, устройство должно быть выброшено" (Z) или "Шнур питания настоящего устройства может быть заменен только изготовителем или его представителем в органе сервис-обслуживания" (Y). <7> Для устройств, имеющих более одной цепи, - ток в каждой цепи и ток, подходящий к каждому зажиму. Если они отличаются один от другого, то должно быть ясно указано, к какой цепи или к какому зажиму относится информация. Для цепей с резистивной и индуктивной нагрузками номинальный ток в амперах или номинальную нагрузку в вольт-амперах и коэффициент мощности указывают согласно таблице 17.2. <8> Требования к маркировке (С) не применяют к устройствам или их частям, классифицированным как IР00, IP10, IP20, IP30 и IP40. |
Маркировка (С) - информация, которую приводят непосредственно на самом устройстве, за исключением тех случаев, когда устройство представляет собой составной узел. В этих случаях указанная маркировка может быть нанесена на соседнюю часть оборудования при условии, что маркировка относится к устройству регулирования.
Примечание - Информация, предусмотренная маркировкой (С), может быть включена в документацию (Д).
Документация (Д) - информация, которая должна быть предоставлена потребителю или установщику устройства и должна содержать четкие инструкции. Каждое устройство должно быть снабжено такими инструкциями. Инструкции и другие тексты, требуемые по настоящему стандарту, должны быть изложены на официальном(ых) языке(ах) страны, в которую поставляют устройство.
Для устройств, предназначенных для поставки исключительно с конкретным оборудованием изготовителя, листок инструкций может быть заменен листовкой, описанием, чертежом и т.п. Нет необходимости к каждому из этих устройств прикладывать документ.
Декларация (Х) - информация, которую дают для согласующих испытательных организаций; форма представления этой информации должна быть согласована изготовителем и испытательной организацией. Она может быть представлена, например в виде маркировки на устройстве, описания или рисунка или, в случае когда устройство находится в, на определенном оборудовании или вместе с ним, эту информацию определяют измерением или осмотром представленного оборудования.
Примечание - Информация, которая определена декларацией (Х), должна быть также представлена изготовителем к соответствующему оборудованию.
7.2.2. Информация, определенная маркировкой (С) или документацией (Д), также должна быть представлена в испытательную организацию по согласованной форме, если испытательная организация ее требует.
7.2.3. Для устройств, поставляемых в, на конкретном оборудовании или вместе с ним, информация, относящаяся к документации (Д), должна быть включена в декларацию (Х).
7.2.4. Для составных устройств, являющихся частью более сложного устройства, маркировка, касающаяся этого составного устройства, может быть включена в маркировку более сложного устройства.
7.2.5. Требования к документации (Д) считают выполненными, если эта информация содержится в маркировке (С).
7.2.5.1. Требования к декларации (Х) считают выполненными, если эта информация содержится или в документации (Д), или в маркировке (С).
7.2.6. Для составных устройств вся информация должна быть приведена в декларации (Х), кроме указанного в
7.4. Если иное не записано в стандарте на конкретное устройство, для встроенных устройств в маркировке необходимо указывать только наименование изготовителя или торговую марку и специальный ссылочный тип устройства, если вся остальная информация, требуемая маркировкой, содержится в документации (Д). Для встроенных устройств требования под
позицией 50 таблицы 7.2 установлены в
7.2.1 при описании документации (Д).
7.2.7. Для устройств, которые не являются ни составными, ни встроенными, когда недостаток пространства не позволяет обеспечить требуемую четкость всей маркировки, в маркировке указывают только наименование изготовителя (или торговую марку) и тип устройства. Другую необходимую информацию приводят в документации (Д).
7.2.8. Допускается вводить дополнительную информацию или маркировку при условии, что это не вызывает путаницы.
7.2.9. В маркировке используют следующие условные обозначения:
А - ампер;
В - вольт;
Вт - ватт;
В·А - вольт-ампер;
~ - переменный ток;
3 ~ - переменный трехфазный ток;
3N ~ - переменный трехфазный ток с нейтралью;

- постоянный ток;

- конструкция класса II;
... T - предельная окружающая температура головки выключателя (букве T предшествует значение со знаком минус, соответствующее нижней температуре, если она меньше 0 °C, или за буквой T следует значение верхней температуры, если она больше 55 °C);

А - номинальный ток соответствующей плавкой вставки в амперах;
Гц - герц;

- зажим заземления.
Для указания степени защиты от влаги, обеспечиваемой кожухом, используют символы по
6.5.
Примечания. 1. Информация о номинальном токе и номинальном напряжении может быть дана только цифрами, цифры для номинального тока располагают перед или над цифрами для номинального напряжения и отделяют от них чертой. Для цепей, состоящих из резистивной или индуктивной нагрузки, значение номинального тока для индуктивной нагрузки размещают в скобках сразу же за значением номинального тока для резистивной нагрузки. Символ рода тока помещают вслед за значениями тока и напряжения.
Ток, напряжение и род тока могут быть представлены следующим образом:
16(3) А 250 V ~ или 16(3)/250 ~ или

.
2. Пример информации о предельных температурах для устройства:
- 20T 30 (от минус 20 до плюс 30 °C);
T 85 (от 0 до 85 °C).
3. Информация, касающаяся удельных нагрузок, может быть дана ссылками на рисунки или типы, например:
"Электродвигатель, рисунок N... часть листа N... создает...:" или "5 x 80 Вт флуоресцентная".
7.3.1. Символ конструкции класса II используют только для устройств, которые классифицированы согласно
6.8.3.4.
7.3.2. Размеры символа конструкции класса II должны быть такими, чтобы длина стороны наружного квадрата в два раза превышала длину стороны внутреннего квадрата.
7.3.2.1. Длина стороны наружного квадрата не должна быть меньше 5 мм; если наибольший размер устройства 15 мм и менее, то размеры символа можно уменьшить, но длина стороны наружного квадрата не должна быть менее 3 мм.
7.4. Дополнительные требования к маркировке
7.4.1. Вся требуемая маркировка должна быть расположена на основной части устройства, но может быть размещена на несъемных частях.
Маркировка должна быть легко различима и долговечна.
Соответствие проверяют осмотром и испытаниями по Приложению A.
7.4.2. Зажимы устройства, предназначенные для подключения питающих проводов, должны быть обозначены стрелками, направленными к зажимам, если способ подключения к сети питания является важным или очевидным.
Соответствие проверяют осмотром.
7.4.3. Зажимы, предназначенные исключительно для нейтрального наружного провода, обозначают буквой "N".
7.4.3.1. Зажимы заземления для наружных заземляющих проводов и зажимы для непрерывности заземления устройств классов II и III должны быть обозначены символом заземления.
7.4.3.2. Все другие зажимы должны быть идентифицированы соответствующим образом, чтобы были очевидны их назначение и электрическая схема устройства. Стрелку, букву "N" и символ заземления используют только так, как указано выше.
Соответствие требованиям проверяют осмотром.
Примечание - В некоторых странах для зажимов, указанных в
7.4.2 - 7.4.3.2, требуется дополнительная или альтернативная маркировка.
7.4.4. Настройка устройств
Устройства, предназначенные для настройки потребителем или изготовителем оборудования в процессе установки, должны иметь указатели направления для увеличения или уменьшения соответствующего значения.
Примечание - Знаки "+" и "-" считают достаточными.
Устройства, предназначенные для настройки изготовителем оборудования или монтажником, следует комплектовать документацией (Д), в которой описан соответствующий способ настройки.
7.4.5. Требования к маркировке частей, выходящих из строя при срабатывании
Части, выходящие из строя при срабатывании в процессе нормальной эксплуатации управляющего устройства и подлежащие замене, должны иметь маркировку, облегчающую их идентификацию по каталогу даже после их срабатывания, если они не предназначены для замены только во время операций по техническому обслуживанию, осуществляемых изготовителем.
8. Защита от поражения электрическим током
8.1.1. Управляющие устройства должны быть сконструированы так, чтобы была обеспечена достаточная защита от контакта с токоведущими частями в любом неблагоприятном положении, когда устройство работает в условиях нормальной эксплуатации и после удаления всех съемных частей. Во время установки и удаления ламп защита от случайного контакта с частями патрона лампы, находящимися под напряжением, также должна быть обеспечена.
Примечания. 1. Если иное не указано, части, подключенные к источнику безопасного сверхнизкого напряжения, не превышающего 24 В, не считают токоведущими частями.
2. В некоторых странах части, соединенные с источником безопасного сверхнизкого напряжения, не превышающего 30 В, не считают токоведущими частями.
8.1.2. Для управляющих устройств класса II и устройств, предназначенных для оборудования класса II, это требование применяют также для любого случайного контакта с металлическими частями, отделенными от токоведущих частей только основной изоляцией.
8.1.3. Изолирующие свойства лака, эмали, бумаги, ткани, оксидной пленки на металлических частях, электроизоляционных бус и заливочных масс не следует рассматривать как обеспечивающие защиту от случайного контакта с токоведущими частями.
Примечание - Самозатвердевающие смолы опасности не представляют.
8.1.4. Для управляющих устройств класса II и устройств, предназначенных для оборудования класса II, которые при нормальной эксплуатации подключают к газовым или водным магистралям, любая металлическая часть, имеющая токопроводящий контакт с газовыми трубами или находящаяся в контакте с водой системы водоснабжения, должна быть отделена от токоведущих частей двойной или усиленной изоляцией.
8.1.5. Управляющие устройства класса II и устройства для оборудования класса II, которые предназначены для постоянного подключения к фиксированной проводке, должны быть спроектированы так, чтобы степень защиты от поражения электрическим током не зависела от установки управляющего устройства.
Примечание - Защита от поражения электрическим током управляющих устройств класса II с независимым монтажом может быть нарушена, например при установке металлического шланга или кабелей с металлической оболочкой.
8.1.6. Для встроенных устройств или устройств, являющихся неотъемлемой частью оборудования, требования 8.1.9 - 8.1.9.5 применяют только для частей, доступных испытательному пальцу во время монтажа устройства в любом положении, соответствующем инструкции изготовителя, и когда все съемные детали удалены.
8.1.7. Для встроенных в шнур и свободно стоящих управляющих устройств испытания по 8.1.9 - 8.1.9.5 проводят с гибкими шнурами наименьшего или наибольшего сечения в соответствии с 10.1.4 в зависимости от того, что более неблагоприятно. Все съемные части удаляют, а крышки на шарнирах, которые могут быть открыты без применения инструмента, открывают.
8.1.8. Для управляющих устройств с независимым монтажом испытание проводят в положении, когда устройство смонтировано как в условиях нормальной эксплуатации и оснащено кабелем с наименьшим или наибольшим сечением по 10.1.4 в зависимости от того, что более неблагоприятно, или с жесткой, складываемой или гибкой трубой. Съемные части удаляют, а крышки на шарнирах, которые могут быть открыты без применения инструмента, открывают.
8.1.9. Соответствие требованиям 8.1.1 - 8.1.8 проверяют осмотром и следующими испытаниями.
Испытательный палец (рисунок 2) прикладывают без усилия во всевозможных положениях. Отверстия, которые не позволяют ввести палец, испытывают с помощью жесткого испытательного пальца таких же размеров, который прикладывают с усилием 20 Н; если палец входит в отверстие, испытание повторяют, но палец (рисунок 2), в случае необходимости, проталкивают в отверстие. Если жесткий испытательный палец не проходит в отверстие, усилие увеличивают до 30 Н. Если защитная оболочка в этом месте смещается или отверстие деформируется таким образом, что испытательный палец (рисунок 2) может без труда войти в него, испытание с этим пальцем повторяют. Для определения контакта используют индикатор.
Примечание - Для обнаружения контакта рекомендуется применять лампу и напряжение не менее 40 В.
8.1.9.1. Стандартный испытательный палец должен быть сконструирован так, чтобы каждая из соединенных деталей могла поворачиваться на 90° относительно оси пальца только в одном направлении.
8.1.9.2. Отверстия в изолирующих материалах и незаземленных металлических деталях контролируют, кроме того, с помощью испытательного стержня (рисунок 1), прикладываемого без заметного усилия во всевозможных положениях.
8.1.9.3. Не должно быть возможности касания стандартным испытательным пальцем или испытательным стержнем оголенных токоведущих частей.
8.1.9.4. Для устройств, имеющих части с двойной изоляцией, не должно быть касания испытательным пальцем металлических частей, отделенных от токоведущих частей только двойной изоляцией.
8.1.9.5. Если в устройстве имеется часть, которую необходимо удалить при нормальной эксплуатации или во время технического осмотра, осуществляемого потребителем, и если на ней нет предупреждающей надписи: "Выключить перед удалением", эту часть рассматривают как съемную, даже если удалять ее следует с помощью инструмента. Если на части устройства есть указанная надпись, то после удаления такой части можно касаться испытательным пальцем других частей, отделенных от токоведущих основной изоляцией.
8.1.11. Между цепями класса III и цепями, подсоединенными к сети или земле, изоляция, являющаяся внешней по отношению к изолирующему трансформатору безопасности, должна соответствовать требованиям к изоляции класса II.
Примечание - В отдельных случаях, когда цепь не обязательно должна быть цепью класса III, требования для класса II могут быть неприменимы к изоляции между цепью класса III и землей.
8.2. Органы и средства управления
8.2.1. Орган управления не должен находиться под напряжением.
8.2.2. Средства управления не должны находиться под напряжением, если только они не оснащены изолированным и закрепленным соответствующим образом органом управления или если они не станут доступными, когда орган управления будет удален.
Соответствие требованию проверяют осмотром или испытаниями по 8.1.
Примечание - Считают, что изолированный орган управления закреплен соответствующим образом, когда его можно удалить, только сломав, разбив или серьезно повредив.
8.2.3. Для управляющих устройств, кроме устройств класса III, или предназначенных для оборудования, кроме оборудования класса III, ручки и другие органы управления, которые держат в руках при нормальной эксплуатации, должны быть изготовлены из изоляционного материала или соответствующим образом покрыты изоляционным материалом. Если указанные органы управления изготовлены из металла, их доступные части должны быть отделены от привода управления или средств крепления дополнительной изоляцией, если эти средства могут случайно оказаться под напряжением вследствие повреждения изоляции.
Соответствие требованию проверяют осмотром.
Примечания. 1. В некоторых странах для управляющих устройств, соединяемых с фиксированной проводкой, или управляющих устройств для стационарного оборудования указанное требование не применяют при условии, что эти части соединены с зажимом заземления или контактом или что они отделены от токоведущих частей заземленными металлическими частями.
2. В некоторых странах при условии, что не все токоведущие части защищены в соответствии с
8.4, ручки, кнопки и т.п. органы управления должны быть размещены таким образом, чтобы их включение можно было осуществить только снаружи кожуха устройства.
8.3. Конденсаторы
8.3.1. Для встроенных в шнур управляющих устройств или устройств с независимым монтажом класса II конденсаторы не должны быть соединены с доступными металлическими частями. Для управляющих устройств, предназначенных для оборудования класса II, конденсаторы не должны быть соединены с металлическими частями, контактирующими с доступными металлическими частями, когда устройство смонтировано в соответствии с указаниями изготовителя. Металлические покрытия конденсаторов должны быть отделены дополнительной изоляцией от доступных металлических частей и металлических частей, которые могут контактировать с доступными металлическими частями во время монтажа устройства в соответствии с декларацией изготовителя.
Соответствие требованию проверяют осмотром и испытаниями, установленными для дополнительной изоляции по разделам 13 и 20.
8.3.2. Управляющие устройства, предназначенные для присоединения к цепи питания с помощью вилки, должны быть сконструированы так, чтобы при нормальной эксплуатации не было опасности поражения электрическим током от заряженных конденсаторов в случае контакта со штырями вилки.
Соответствие требованию проверяют испытаниями по 8.3.2.1 - 8.3.2.4, которые проводят 10 раз.
8.3.2.1. Устройство работает при номинальном напряжении или при верхнем пределе номинального напряжения.
8.3.2.2. Орган управления, при его наличии, устанавливают в положение "ВЫКЛ", если оно имеется, а устройство отключают от источника питания, извлекая вилку из розетки.
8.3.2.3. В течение 1 с после отключения измеряют напряжение между штырями вилки.
8.3.2.4. Напряжение не должно превышать 34 В. Это испытание проводят только в случае, когда емкость конденсатора превышает 0,1 мкФ.
8.4. Крышки и неизолированные токоведущие части или части повышенного риска
Управляющие устройства, у которых крышка или пластина изготовлена из неметаллического материала, должны быть сконструированы так, чтобы крепежные болты этой крышки (пластины) не были доступными при условии, что они не заземлены или не отделены от токоведущих частей двойной или усиленной изоляцией, или что они недоступны после монтажа в оборудовании.
Соответствие требованию проверяют осмотром.
Примечание - В некоторых странах приняты следующие требования:
1. Размещение токоведущих частей и положение крышки должны быть такими, чтобы при открытии или замене крышки был маловероятным риск поражения электрическим током.
2. Токоведущие и опасные подвижные части должны быть расположены, защищены или закрыты так, чтобы была сведена к минимуму опасность для потребителя при замене ламп, электронных трубок или предохранителей, смазывании частей и других аналогичных операциях.
9.1. Общие требования
9.1.1. Доступные металлические части встроенных в шнур, свободно стоящих управляющих устройств и устройств с независимым монтажом классов 0I и I, которые могут оказаться под напряжением в случае повреждения изоляции, должны быть надежно соединены с зажимом заземления или с зажимом, помещенным внутри устройства, или с контактом заземления ввода.
Примечание - Части, отделенные от токоведущих частей двойной или усиленной изоляцией или металлическими частями, соединенными с зажимом заземления или контактом заземления, не считают частями, способными оказаться под напряжением в случае повреждения изоляции.
9.1.2. Доступные металлические части встроенных управляющих устройств и устройств, являющихся неотъемлемой частью оборудования, которые предназначены для оборудования классов 0I и I и которые могут оказаться под напряжением в случае повреждения изоляции, должны иметь средство для заземления.
Примечание - Встроенные управляющие устройства и устройства, являющиеся неотъемлемой частью оборудования, могут быть заземлены с помощью их фиксирующих элементов при условии, что контакт осуществляется между чистыми металлическими поверхностями. Это применимо также, например к управляющим устройствам, имеющим металлические чувствительные элементы, которые надежно соединены с металлическими частями оборудования, если изготовитель предусмотрел этот метод заземления в декларации.
9.1.3. Зажимы заземления, соединения и контакты заземления не должны быть электрически соединены с любым нулевым зажимом.
Соответствие требованиям 9.1.1 - 9.1.3 проверяют осмотром.
9.2. Управляющие устройства классов II и III не должны иметь никаких средств для заземления.
Соответствие требованию проверяют осмотром.
Примечание - Если необходимо соединить заземленные части оборудования или системы через устройство, являющееся конструкцией класса II или III, такое присоединение, включая зажимы и соединения, допускается, если все части заземления отделены от токоведущих частей или доступных поверхностей двойной или усиленной изоляцией.
9.3. Соразмерность заземляющих соединений
9.3.1. Общие требования
Соединения между заземляющим зажимом, заземляющим соединением или заземляющим контактом и, кроме того, частями, присоединяемыми к ним, должны иметь низкое сопротивление.
Соответствие требованию проверяют следующим испытанием.
Ток, превышающий номинальный в 1,5 раза, но не ниже 25 А, который получают от источника питания переменного тока с напряжением холостого хода не более 12 В, пропускают от зажима заземления, соединения или контакта заземления через каждую из доступных металлических частей последовательно.
Измеряют падение напряжения между зажимом заземления, соединения или контакта заземления и проверяемой частью, а сопротивление рассчитывают по значениям электрического тока и падения напряжения. Сопротивление не должно превышать 0,1 Ом.
Примечания. 1. Необходимо следить за тем, чтобы контактное сопротивление между концом измерительного щупа и испытуемой металлической частью не влияло на результат измерения.
2. В сопротивление входит сопротивление любого встроенного проводника; сопротивление любого наружного или внутреннего проводника исключают.
9.3.2. Фиксированная проводка и крепление типов X и M
Зажимы заземления для соединения фиксированной проводки или несъемных шнуров с креплениями типов X и M должны удовлетворять требованиям
10.1.
9.3.3. Наружные провода
Заземление наружных проводов не следует осуществлять с помощью безвинтовых зажимов.
9.3.4. Размеры доступных заземляющих зажимов
Доступные при нормальной эксплуатации зажимы заземления допускают присоединение проводников с номинальным сечением от 2,5 до 6 мм2 и не допускают разъединения их без помощи инструмента.
9.3.5. Размеры недоступных зажимов заземления
Недоступные при нормальной эксплуатации зажимы заземления для наружных проводов должны иметь сечение, равное сечению, которое требуется для соответствующих зажимов, или превышающее его.
9.3.6. Блокировка зажимов заземления
Зажимные органы зажимов заземления для наружных проводов должны быть эффективно защищены от случайного ослабления.
Соответствие требованиям 9.3.2 - 9.3.6 проверяют осмотром, испытанием вручную и соответствующими испытаниями по 10.1.
Примечание - В общем случае конструкции, используемые для токоведущих зажимов, обеспечивают достаточную эффективность для удовлетворения требований защиты от случайного ослабления, если отсутствуют избыточные вибрации и изменения температуры. Если зажим подвержен воздействию избыточной вибрации или изменениям температуры, могут быть применены специальные средства, например достаточно эластичная зажимающая пластина, которую нельзя снять случайно при использовании колонковых зажимов.
9.4. Стойкость к коррозии
Все части зажима заземления должны быть стойкими к коррозии в результате контакта между этими частями и медью заземляющего провода и любым другим металлом, контактирующим с этими частями.
Корпус зажима заземления должен быть изготовлен из латуни или другого сплава или металла, не менее стойкого к коррозии, если он не является частью металлической арматуры или кожуха. В этом случае любой винт или гайка должны быть из латуни, плакированной стали или другого сплава или металла, удовлетворяющего требованиям
раздела 22, или другого металла, не менее стойкого к коррозии.
9.4.2. Арматура или покрытия из алюминия
Если корпус зажима заземления составляет неотъемлемую часть арматуры или покрытия из алюминия или его сплавов, необходимо принять меры для устранения опасности коррозии в результате контакта между алюминием или его сплавами и медью.
Соответствие требованиям 9.4, 9.4.1 и 9.4.2 проверяют осмотром, а в случае сомнения - анализом материалов и их покрытий.
Примечание - Защита от коррозии может быть обеспечена плакировкой или аналогичным процессом.
9.5.1. Съемные части
Если съемная часть управляющего устройства имеет заземление, то при установке съемной части заземление осуществляют прежде, чем будут сделаны токоведущие соединения, и, наоборот, во время удаления съемной части токоведущие соединения следует отсоединить до отключения заземления.
Соответствие требованию проверяют осмотром.
Примечание - В некоторых странах требование 9.5.1 не применяют.
9.5.2. Встроенное управляющее устройство
Если встроенное управляющее устройство можно отсоединить от заземления после его монтажа в оборудовании для проведения испытаний, настройки или обслуживания, осуществляемых в то время, как оборудование находится под напряжением, оно должно быть оснащено соединением или проводом заземления такого типа, чтобы не было необходимости снимать его с устройства для проведения этих испытаний, настройки или обслуживания.
Соответствие требованию проверяют осмотром.
Примечания. 1. Например, это может быть отнесено к управляющим термочувствительным устройствам или устройствам для размораживания холодильников.
2. В некоторых странах требование
9.5.2 не применяют.
10.1. Зажимы и соединения для наружных медных проводов
Примечание - Требования для алюминиевых проводов не установлены.
10.1.1. Зажимы для фиксированной проводки и для несъемных гибких шнуров с креплениями типа X или M, за исключением указанных в
10.1.3, должны быть такими, чтобы соединения можно было выполнять с помощью винтов, гаек или других подобных средств, не требующих применения специальных инструментов для присоединения или разъединения.
10.1.1.1. Зажимы или соединения для несъемных гибких шнуров с креплениями типа Y или Z требуют применения специального инструмента для присоединения или разъединения, при этом они должны соответствовать требованиям для зажимов и соединений внутренних проводов.
Соответствие требованию проверяют осмотром и испытаниями.
Примечания. 1. Безвинтовые зажимы относятся к категории "подобных средств".
2. Плоские втычные зажимы рассматриваются как требующие применения специального инструмента для эффективного обжима.
3. В некоторых странах соединение "косичкой" или перекинутым токоведущим проводником для соединения с фиксированной проводкой допускается при условии, что провода имеют длину не менее 150 мм. Такие соединения не считают зажимами.
10.1.2. Винты и гайки для зажима наружных проводов должны иметь метрическую резьбу ИСО или резьбу, подобную ИСО. Они не должны служить для крепления других элементов, за исключением внутренних проводов, если эти провода расположены так, что не могут смещаться при подсоединении внешних проводов.
Соответствие требованию проверяют осмотром.
Примечания. 1. Временно резьбу типов SI, BA и унифицированную резьбу считают подобными метрической резьбе ИСО.
2. Проверку эквивалентности резьбы изучают. До ее принятия значения крутящего момента, прикладываемого к резьбовым соединениям с резьбой иного типа, чем резьба ИСО, SI, BA и унифицированная резьба, должны быть увеличены на 20%.
10.1.3. Паяные, сварные, обжимные и аналогичные соединения
Паяные, сварные, обжимные и аналогичные соединения не следует использовать для соединения несъемных кабелей с креплениями типа X или M, если их применение не допускается стандартом на соответствующее оборудование. Если такие соединения применяют для наружных проводов, они также должны соответствовать требованиям
10.2.2 и
10.2.3.
Соответствие требованию проверяют осмотром.
Примечание - Стандарты на оборудование не ограничивают применение таких соединений.
10.1.4. К зажимам для фиксированной проводки или для несъемных гибких кабелей с креплениями типа X или M следует подключать провода, номинальное сечение которых указано в таблице 10.1.4.
Ток, протекающий через зажим, А | Номинальное сечение <1>, мм 2 |
провода для гибких кабелей | провода для фиксированной проводки |
| 0,5 - 1 | 1 - 1,5 |
Св. 6 до 10 включ. | 0,75 - 1,5 | 1 - 2,5 |
" 10 " 16 " | 1 - 2,5 | 1,5 - 4 |
" 16 " 25 " | 1,5 - 4 | 2,5 - 6 |
" 25 " 32 " | 2,5 - 6 | 4 - 10 |
" 32 " 40 " | 4 - 10 | 6 - 16 |
" 40 " 63 " | 6 - 16 | 10 - 25 |
<1> В некоторых странах применяют другие значения. <2> Номинальные сечения, установленные настоящим стандартом, не применяют к зажимам цепебезопасного сверхнизкого напряжения, в которых ток не превышает 3 А. |
Соответствие требованию проверяют осмотром, измерениями и соединением проводов с наибольшим и наименьшим сечением, установленным стандартом или заявленным изготовителем.
10.1.4.1. Если зажим предусмотрен для других размеров проводов для фиксированной проводки или гибких шнуров, чем представленные в
таблице 10.1.4, то это указывают в декларации изготовителя.
10.1.5. Зажимы для фиксированной проводки или несъемных шнуров с креплением типа X или M должны быть закреплены так, чтобы при затягивании или ослаблении зажимающих приспособлений зажим не ослаблялся, внутренние провода не подвергались натяжению, а пути утечки и воздушные зазоры не уменьшались ниже установленных в
разделе 20.
10.1.5.1. Соответствие требованию проверяют осмотром, измерениями, проводимыми после десяти операций по зажиму и ослаблению провода наибольшего сечения, указанного в таблице 10.1.4; при этом при каждом ослаблении провод перемещают. Для резьбовых соединений крутящий момент, прикладываемый к зажиму, должен быть равен указанному в таблице 19.1 либо на соответствующем рисунке (рисунки 10 - 13) в зависимости от того, что больше.
Во время испытания зажимы не должны ослабляться и иметь таких повреждений, как разрыв винта или повреждение шлица на головке, повреждение резьбы, шайбы, скобы или других частей, что будет препятствовать дальнейшему использованию зажима.
Примечания. 1. Требование не означает, что зажим должен быть сконструирован так, чтобы вращение или перемещение было невозможно, при условии, что это смещение не повлияет на соответствие другим требованиям настоящего стандарта.
2. Чтобы избежать ослабления зажимов, можно использовать два крепежных винта, один винт в углублении или крепление любым другим способом.
3. Покрытие заливочной массой, смолами считается приемлемым способом для предотвращения ослабления зажима, если:
это покрытие не подвергают механическим воздействиям при соединении и разъединении провода или при эксплуатации оборудования и характеристики наполнителя не ухудшаются под воздействием температуры, до которой может нагреться зажим в наиболее неблагоприятных условиях, указанных в настоящем стандарте.
10.1.6. Зажимы для фиксированной проводки или для несъемных шнуров с креплениями типа X или M должны быть сконструированы так, чтобы жила провода была зажата между двумя металлическими поверхностями с достаточным контактным давлением и без чрезмерного повреждения провода, за исключением того, что для безвинтовых зажимов, предназначенных для цепей, в которых ток не превышает 2 А, одна из зажимающих поверхностей может быть неметаллической.
Соответствие требованию проверяют осмотром зажима и проводов после испытания по 10.1.5.
Примечание - Чрезмерно поврежденными считают провода, если на них видны зазубрины или неглубокие вмятины.
10.1.7. Зажимы для фиксированной проводки или несъемных шнуров с креплениями типа X не требуют специальной подготовки проводов для правильного присоединения.
10.1.7.1. Крепления типа X могут также предусматривать другие способы присоединения, если они соответствуют настоящему требованию, даже если в процессе производства изготовителем использован другой способ присоединения. В этом случае первично примененный способ должен удовлетворять требованиям к зажимам и соединениям для внутренних проводов.
Соответствие требованию проверяют осмотром.
Примечание - Термин "специальная подготовка провода" подразумевает спайку его жил, использование наконечников, изготовление петли и т.п., но не придание формы проводу перед его вводом в зажим или скручивание жил для укрепления конца провода.
10.1.8. Зажимы для фиксированной проводки и несъемных шнуров с креплениями типа X и M должны быть сконструированы или расположены так, чтобы ни провода, ни жилы провода не могли выскользнуть при затягивании винтов или гаек или других подобных средств.
10.1.8.1. Соответствие требованию проверяют следующим испытанием.
10.1.8.2. Зажимы оснащают проводами в соответствии с требованиями таблицы 10.1.8. Жилы проводов для фиксированной проводки выпрямляют прежде, чем их вводят в зажимы.
Таблица 10.1.8
Ток, А, протекающий в зажиме | Число жил и номинальный диаметр, мм, каждой жилы провода |
проводов для гибких шнуров | проводов для фиксированной проводки | для гибких шнуров | для фиксированной проводки |
0 - 6 | - | 32 x 0,20 | - |
6 - 10 | 0 - 6 | 40 x 0,25 | 7 x 0,52 |
10 - 16 | 6 - 10 | 50 x 0,25 | 7 x 0,67 |
16 - 25 | 10 - 16 | 56 x 0,30 | 7 x 0,85 |
25 - 32 | 16 - 25 | 84 x 0,30 | 7 x 1,04 |
- | 25 - 32 | 94 x 0,30 | 7 x 1,35 |
32 - 40 | 32 - 40 | 80 x 0,40 | 7 x 1,70 |
40 - 63 | 40 - 63 | 126 x 0,40 | 7 x 2,14 |
10.1.8.3. Провода гибких кабелей и шнуров закручивают из расчета один полный оборот на 20 мм. Провод вводят в зажим на минимальную длину, указанную в стандарте, или, если длина не указана, до того, пока он не выйдет с другой стороны зажима. Провод вводят в положении, в котором существует наибольшая вероятность выскальзывания, и зажимают, прилагая крутящий момент, равный 2/3 значения, определенного в таблице пункта 19.1.
10.1.8.4. Для гибких шнуров испытание повторяют с новым проводом, скрученным как первый, но в обратном направлении. После испытания ни одна проволочка провода не должна выскользнуть в промежуток между средством крепления и удерживающим устройством.
10.1.9. Зажимы должны быть сконструированы так, чтобы провод был зажат соответствующим образом.
10.1.9.1. Соответствие требованию проверяют следующим испытанием.
Зажимы оснащают проводами с наибольшим и наименьшим сечением, определенным в 10.1.4 для фиксированной проводки или гибких шнуров соответственно, или с наиболее неблагоприятным сечением, после чего винты затягивают крутящим моментом, равным 2/3 момента, определенного в 19.1. Затем каждый провод подвергают натяжению, значение которого установлено в таблице 10.1.9. Натяжение длится в течение 1 мин без рывков в направлении оси провода.
Таблица 10.1.9
Номинальный ток зажима, А | Сила натяжения, Н, зажимов для проводов |
для гибких шнуров | для фиксированной проводки |
До 3 включ. | | |
Св. 3 до 6 включ. | 30 | 30 |
" 6 " 10 " | 30 | 50 |
" 10 " 16 " | 50 | 50 |
" 16 " 25 " | 50 | 60 |
" 25 " 32 " | 60 | 80 |
" 32 " 40 " | 90 | 90 |
" 40 " 63 " | 100 | 100 |
<1> Применимы только для цепей безопасного сверхнизкого напряжения или для другого использования, когда характеристики проводов не нормируют. |
10.1.9.2. Обычно усилие прикладывают непосредственно к проводу рядом с точкой ввода его в зажим. Однако, если провод удерживают дополнительным устройством, обжатым или зажатым на проводе или вокруг его изоляции и расположенным не далее чем на 30 мм от точки ввода провода в зажим, усилие прикладывают к этому устройству, а не у зажима.
10.1.9.3. Во время испытания провод не должен заметно переместиться в зажиме.
10.1.10. Зажимы должны быть сконструированы так, чтобы при нормальной эксплуатации они не нагревались до высокой температуры, способной разрушить изолирующую колодку или изоляцию зажатых проводов.
Соответствие требованию проверяют испытаниями на нагрев по разделу 14.
10.1.11. Зажимы должны быть расположены так, чтобы каждый из проводов внутри оболочки фиксированной проводки или гибкого шнура заканчивался в непосредственной близости от других проводов, находящихся в этой же оболочке, кроме случаев, когда это технически нецелесообразно.
Соответствие требованию проверяют осмотром.
10.1.12. Зажимы для несъемных шнуров с креплениями типа X или M должны быть расположены или закрыты так, чтобы если одна из жил выскользнет после соединения проводов, не возникла опасность случайного контакта между токоведущими и доступными металлическими частями, и для устройств класса II или предназначенных для оборудования класса II - между токоведущими и металлическими частями, отделенными от доступных металлических частей только дополнительной изоляцией. Такая выскользнувшая жила не должна замыкать накоротко части устройства, обеспечивающие полное отключение или микроотключение.
Соответствие требованию проверяют осмотром и следующим испытанием.
Конец многопроволочной жилы с номинальным сечением, равным минимальному сечению, определенному для испытаний по 10.1.4, освобождают от изоляционного покрытия на длину 8 мм. Одну жилу провода оставляют свободной, а другие жилы вводят в зажим и зажимают. Свободную жилу сгибают во всевозможных направлениях, но без резких изгибов вокруг ограничивающей втулки и не задирая назад изоляцию.
Свободная жила провода, присоединенного к токоведущему зажиму, не должна касаться любой доступной металлической части или, для устройства класса II или предназначенного для оборудования класса II, - любой металлической части, отделенной от доступных металлических частей только дополнительной изоляцией.
Свободная жила провода, присоединенного к зажиму заземления, не должна касаться любой токоведущей части.
Свободная жила провода, присоединенного к токоведущему зажиму, не должна стать доступной и не должна замыкать накоротко части устройства, обеспечивающие полное отключение или микроотключение.
10.1.13. Зажимы должны быть сконструированы так, чтобы непрерывность цепи не поддерживалась путем давления, передаваемого через изоляционный материал, кроме керамики, или другой изоляционный материал с аналогичными характеристиками, если любая усадка или деформация не компенсируется эластичностью металлических частей.
Соответствие требованию проверяют осмотром зажимов до и после испытания образцов по разделу 17.
Примечание - Пригодность материала оценивают по стабильности размеров в температурном диапазоне, для которого предусмотрено устройство.
10.1.14. Винты и другие резьбовые части зажимов должны быть изготовлены из металла.
Соответствие требованию проверяют осмотром.
Примечание - В некоторых странах при использовании винтов для проводов диаметром 2,5 мм и менее соединение осуществляют скобами или потайными винтами на клеммной пластинке с загнутыми ушками или аналогичными приспособлениями для удержания провода в определенном положении. Толщина клеммной пластинки 1,27 мм (0,050 дюйма) для провода размером более 1,6 мм и 0,76 мм минимум (0,030 дюйма) для провода размером 1,6 мм и менее. Зажимные винты должны быть не менее унифицированного калибра, но винт калибра может быть использован для присоединения провода размером 1,29 или 1,02 мм, или, в отдельных случаях, размером 1,6 мм.
10.1.15. Зажимы колонкового и колпачкового типов должны позволять вводить провод достаточной длины так, чтобы выходя за края отверстия, он не мог выпасть.
Проверку осуществляют для колонковых зажимов путем измерения размера "g" (рисунок 11), а для колпачковых зажимов - проверкой минимального расстояния, определенного на рисунке 12.
10.2. Зажимы и соединения для внутренних проводов
10.2.1. Зажимы и соединения должны обеспечивать присоединение проводов с номинальными сечениями, указанными в таблице 10.2.1.
Ток, протекающий через зажим или соединение, А | Минимальное номинальное сечение провода <1>, мм 2 |
До 3 включ. | |
Св. 3 до 6 включ. | 0,75 |
" 6 " 10 " | 1,0 |
" 10 " 16 " | 1,5 |
" 16 " 25 " | 2,5 |
" 25 " 32 " | 4,0 |
" 32 " 40 " | 6,0 |
" 40 " 63 " | 10,0 |
<1> В некоторых странах применяют провода других размеров. <2> Минимум не установлен, но изготовитель должен указать сечение, которое необходимо использовать для испытаний. |
Примечание - Требования
10.2.1 не применяют:
- к зажимам устройств, в которых не используют указанные в настоящем стандарте провода без специальной подготовки;
- к зажимам, которые по конструкции и назначению не могут использовать указанные в настоящем стандарте провода;
- к зажимам, которые специально сконструированы для применения проводов с различными сечениями и которые предназначены исключительно для определенного типа оборудования, как например терморегулятор, размещенный в ткани электроодеяла.
10.2.1.1. Соответствие требованию проверяют осмотром и монтажом проводов с сечениями, указанными в таблице 10.2.1.
10.2.2. Зажимы и соединения должны соответствовать выполняемым функциям. Паяные и опрессованные соединения должны быть достаточно прочными и выдерживать нагрузки, которым они могут подвергаться при нормальной эксплуатации.
Соответствие требованию проверяют осмотром.
10.2.3. Если используют паяные соединения, провод должен быть расположен или закреплен так, чтобы удержание его в определенном положении зависело не только от пайки, если перегородка не выполнена так, что пути утечки и воздушные зазоры между токоведущими и другими металлическими частями не могут уменьшиться до 50% значений, определенных в
20.1, когда провод отойдет от паяного соединения.
Соответствие требованию проверяют осмотром.
Примечания. 1. Обычно подвеску провода перед пайкой рассматривают как средство для удержания на месте провода при условии, что отверстие, через которое вводят провод, не будет чрезмерно большим и что провод не является частью плоского двойного мишурного шнура.
2. Подобным средством считают другие методы удержания провода на месте, такие как зажим краев паяного лепестка.
10.2.4. Плоские втычные соединители
10.2.4.1. Пластинчатые лепестки, составляющие часть управляющего устройства, должны соответствовать требованиям к размерам по
рисункам 14 и
15.
Соответствие требованию проверяют измерениями.
Примечания. 1. Лепестки с иными размерами допускается применять при условии, что разница в размерах и форме будет достаточной, чтобы сделать невозможным соединение с приемником, установленное настоящим стандартом по
рисунку 16.
2. Допускается применять лепестки, обеспечивающие ориентацию частей электрического соединения соответственно их полярности
(рисунок 16).
3. В некоторых странах используют другие размеры.
10.2.4.2. Значение температуры лепестков, составляющих неотъемлемую часть управляющего устройства, при нормальной эксплуатации не должно превышать значений, указанных в таблице 10.2.4.2.
В градусах Цельсия
Медь и медные сплавы | Сталь (нержавеющая или никелированная) |
чистые или луженые | посеребренные или никелированные |
140 | 200 | 300 |
Соответствие требованию проверяют измерением температур, достигнутых при испытании по разделу 14.
Примечания. 1. Материалы и покрытия, отличающиеся от указанных в
таблице 10.2.4.2, могут быть использованы при условии, что их электрические и механические характеристики не ниже характеристик материалов, указанных в
таблице 10.2.4.2, в частности касающихся стойкости к коррозии и механической прочности.
2. Указанные температуры соответствуют непрерывному режиму. Допускаются температуры более повышенные, например при чрезмерном, но временном нагревании термочувствительного управляющего устройства.
10.2.4.3. Лепестки, составляющие неотъемлемую часть устройства, должны иметь достаточную прочность для того, чтобы при введении и снятии приемной части не наблюдалось повреждений устройства, нарушающих соответствие настоящему стандарту.
Соответствие требованию проверяют путем прикладывания без рывков осевых сил, указанных в таблице 10.2.4.3. Эти силы не должны вызывать заметных перемещений или повреждений лепестков.
Таблица 10.2.4.3
Размер лепестка, мм | Сила сжатия <1>, Н | Сила натяжения <1>, Н |
2,8 | 50 | 40 |
4,8 | 60 | 50 |
6,3 | 80 | 70 |
9,5 | 100 | 100 |
<1> Значения, указанные в таблице, являются допустимыми максимальными значениями для ввода (вывода) приемной части в лепесток (из лепестка). |
10.2.4.4. Лепестки, составляющие неотъемлемую часть устройства, должны быть в достаточной степени просторными, чтобы можно было поместить соответствующие приемные части.
Соответствие требованию проверяют путем помещения приемной части на каждое ушко, если иное не указано в 7.2. Такое размещение не должно вызывать повреждений лепестка и прилегающих частей. Кроме того, значения путей утечки и воздушных зазоров не должны быть ниже значений, указанных в разделе 20.
10.3. Зажимы и соединения для проводов, являющихся неотъемлемой частью конструкции
Примечание - В
разделе 10 не установлены требования к конструкции или размерам зажимов и соединений для таких проводов, но к ним применимы требования других разделов настоящего стандарта.
11. Требования к конструкции
11.1. Материалы
11.1.1. Изоляционные материалы с пропиткой
Дерево, хлопок, шелк, обычную бумагу и аналогичные волокнистые материалы не следует использовать в качестве изоляционных материалов, если они не пропитаны.
Соответствие требованию проверяют осмотром.
Примечание - Изоляционный материал считают пропитанным, когда соответствующее изолирующее вещество заполняет промежутки между волокнами материала.
11.1.2. Токонесущие части
Если для токонесущих частей, кроме резьбовых частей зажимов, использована латунь, сплав должен содержать не менее 50% меди; если изделие изготовлено литьем или вырезано из болванки, изготовленной из проката, сплав должен содержать не менее 58% меди.
Соответствие требованию проверяют осмотром и анализом материалов.
11.1.3. Несъемные шнуры
11.1.3.1. Несъемные шнуры управляющих устройств класса I должны иметь желто-зеленую изоляцию провода, который соединен с зажимом заземления или концом устройства, или контактом заземления приборного ввода или штепсельного разъема, при его наличии.
11.1.3.2. Провод, изоляция которого имеет желто-зеленую окраску, должен быть соединен только с зажимами или соединениями заземления.
Соответствие требованиям 11.1.3.1 и 11.1.3.2 проверяют осмотром.
11.2. Защита от поражения электрическим током
11.2.1. Двойная изоляция
Для управляющих устройств с двойной изоляцией конструкция должна быть такой, чтобы основную и дополнительную изоляцию можно было испытать отдельно, если невозможно проверить их свойства иным способом.
11.2.1.1. Если возможно испытать отдельно основную и дополнительную изоляцию или проверить их свойства иным способом, изоляцию считают усиленной.
Соответствие требованию проверяют осмотром и испытаниями.
Примечание - Использование образцов, прошедших специальную подготовку, или образцов изоляционных частей рассматривают как приемлемый способ.
11.2.2. Нарушение двойной или усиленной изоляции
Управляющие устройства класса II и устройства, предназначенные для оборудования класса II, должны быть сконструированы так, чтобы значения путей утечки и воздушных зазоров по дополнительной или усиленной изоляции не могли быть уменьшены вследствие износа относительно значений, указанных в
разделе 20. Они должны быть сконструированы так, чтобы если провода, винты, гайки, шайбы, пружины, плоские втычные зажимы или аналогичные части ослабляются и выпадают, при нормальной эксплуатации эти части не могли быть перемещены в положение, при котором значения путей утечки и воздушных зазоров по дополнительной или усиленной изоляции будут уменьшены на 50% относительно значений, указанных в
разделе 20.
11.2.2.1. Следующие конструкции считают удовлетворяющими требованиям 11.2.2:
- части с двумя независимыми креплениями;
- части, закрепленные с помощью винтов или гаек с блокирующими шайбами, при условии, что не будет необходимости удалять эти винты или гайки во время обслуживания потребителем или квалифицированным специалистом;
- короткие жесткие проводники, если они остаются на месте, когда винт зажима ослаблен;
- пружины и пружинные части, которые не ослабляются и не выпадают во время испытаний по разделам 17 и 18.
11.2.2.2. Для других конструкций, включая следующие, соответствие требованию 11.2.2 проверяют осмотром, измерениями и испытаниями вручную;
- паяные соединения проводов (если они не закреплены дополнительно на расстоянии от паяного соединения независимо от пайки);
- провода, соединенные с зажимами (при условии, что дополнительное крепление на расстоянии от зажима не предусмотрено). Это дополнительное крепление должно, в случае мишурных проводов, зажимать не только провод, но и изоляцию.
11.2.3. Провода, являющиеся неотъемлемой частью устройства
11.2.3.1. Такие провода должны быть настолько жесткими, хорошо закрепленными и так изолированными, чтобы при нормальной эксплуатации значения путей утечки и воздушных зазоров не могли быть уменьшены относительно значений, указанных в
разделе 20.
11.2.3.2. Изоляция, при ее наличии, должна быть такой, чтобы она не могла быть повреждена во время монтажа или при нормальной эксплуатации.
Соответствие требованиям 11.2.3.1 и 11.2.3.2 проверяют осмотром, измерением и испытанием вручную.
Примечание - Проводник считают неизолированным, если его изоляция, по крайней мере электрически, неэквивалентна изоляции кабелей и шнуров, отвечающих требованиям соответствующих стандартов, или если она не выдержала испытание на электрическую прочность напряжением, приложенным между проводом и металлической фольгой, обернутой вокруг его изоляции, в условиях, указанных в
разделе 13.
11.2.4. Оболочки гибких шнуров
Внутри управляющего устройства оболочку (чехол) гибкого кабеля или шнура можно использовать как дополнительную изоляцию только в том случае, когда она не подвергается механическим или избыточным тепловым воздействиям, и если ее изоляционные свойства не хуже свойств, установленных для оболочек в
ГОСТ 7399.
Соответствие требованию проверяют осмотром, а в случае необходимости - испытанием оболочек и шнуров по ГОСТ 7399.
11.3. Возбуждение и работа
11.3.1. Полное отключение
Управляющие устройства, в которых на отдельных позициях осуществляется полное отключение, должны быть сконструированы так, чтобы в указанных положениях размыкание контактов было обеспечено на всех полюсах питания, кроме полюса "земля", со значениями, соответствующими значениям по
разделу 20. Размыкание контактов может производиться автоматически или вручную, но любое предшествующее автоматическое действие не должно стать причиной того, что значение межконтактного расстояния уменьшится относительно определенного минимального значения.
Если размыкание предназначено для отключения на всех полюсах, контакты всех полюсов питания должны сработать одновременно.
Соответствие требованию проверяют осмотром и испытаниями по разделам 13 и 20, если эти испытания необходимы.
Управляющие устройства, в которых на отдельных позициях осуществляется микроотключение, должны быть сконструированы так, чтобы в указанных положениях размыкание контактов было обеспечено, по крайней мере, для одного полюса питания и при этом были удовлетворены требования к значению воздушного зазора. Размыкание контактов может производиться автоматически или вручную, но любое последующее изменение величины управления в пределах, установленных в
таблице 7.2 (позиция 36), или температуры головки управления в установленных пределах не должно вызывать срабатывания, которое уменьшает межконтактное расстояние настолько, что это не соответствует требованиям
раздела 13.
Соответствие требованию проверяют осмотром, а в случае необходимости - испытаниями по разделу 13, проводимыми в установленных температурных пределах.
11.3.3. Кнопки повторного включения
Кнопки повторного включения управляющих устройств должны быть расположены или защищены так, чтобы их повторное случайное включение было маловероятно.
Соответствие требованию проверяют осмотром.
Примечание - Не следует, например, использовать кнопки повторного включения, установленные в таком положении, при котором они могут быть включены при прижатии устройства к стене или случайном нажатии стенок ячейки, в которой установлено устройство.
11.3.4. Настройка, осуществляемая изготовителем
Органы, предназначенные для настройки управляющего устройства изготовителем, должны быть закреплены так, чтобы не было случайного смещения после настройки.
Соответствие требованию проверяют осмотром.
11.3.5. Контакты. Общие положения
Контакты с номинальным постоянным током более 0,1 А, которыми можно управлять, должны быть сконструированы так, чтобы скорость сближения и разъединения поверхностей контактов не зависела от скорости изменения величины управления.
Соответствие требованию проверяют осмотром.
Примечание - Требование не применяют к контактам, которые исключены в соответствии с
11.3.7.
11.3.6. Контакты для полного отключения и микроотключения
Контакты, осуществляющие полное отключение или микроотключение, с номинальным постоянным током не более 0,1 А или рассчитанные на переменный ток, и которыми можно управлять, должны быть сконструированы так, чтобы они могли оставаться неподвижными только в открытом или закрытом положении.
Соответствие требованию проверяют осмотром, а для закрытого положения - применением требований к температуре по разделу 14, и для открытого положения - применением требований к микроотключению по разделу 13. Однако, когда орган управления может занимать промежуточное положение рядом с установленным положением для полного отключения, проводят испытания, относящиеся к полному отключению по разделам 13 и 20.
11.3.7. Требования
11.3.6 и
11.3.7 не распространяются на контакты, если осмотр показывает, что они не могут работать под нагрузкой или не предназначены для работы под нагрузкой, а также на контакты, которые не образуют дуги в условиях нормального пользования.
11.3.7.1. Соответствие требованию проверяют осмотром, а в случае необходимости - испытанием по 11.3.7.2.
11.3.7.2. Постоянное напряжение, равное рабочему максимальному напряжению, прикладывают к контактам, соединенным последовательно с таким резистором, что будет достигнут ток, протекающий при нормальной эксплуатации. Не должно быть возможности поддерживать электрическую дугу путем медленного размыкания контактов.
11.3.8. Неподвижное положение контактов
В любом неподвижном положении органа управления контакты должны находиться либо в предусмотренном открытом положении, либо в закрытом положении, либо в положении, которое не представляет никакой опасности внутри устройства или оборудования.
Соответствие требованию проверяют осмотром.
Примечание - Термин "неподвижное положение органа управления" включает в себя любое указанное, промежуточное или настроенное потребителем положение.
11.3.9. Управляющие устройства со шнуром натяжения должны быть сконструированы так, чтобы после того, как шнур отпущен, а устройство возбуждено, соответствующие части механизма возвращались в положение, при котором немедленно происходит следующее движение в соответствии с циклом управления.
Соответствие требованию проверяют осмотром и следующим испытанием.
Примечания. 1. Управляющие устройства со шнуром натяжения следует переводить из указанного положения в другое путем равномерного натяжения шнура вертикальной силой не более 45 Н или силой не более 70 Н, направленной под углом 45°, и отпусканием шнура; управляющее устройство должно быть смонтировано в любом из заявленных положений.
2. Силы для управления устройствами с помощью иного средства, чем шнур натяжения, не установлены. Такие требования могут быть приведены в стандартах на конкретное оборудование.
11.4. Действия
11.4.1. Комбинированные действия
Устройство с несколькими действиями, одно из которых предназначено для срабатывания при неисправности другого(их) действия(ий), должно быть сконструировано так, чтобы это действие оставалось работоспособным после повреждения любой уникальной части всякого другого действия.
Соответствие требованию проверяют осмотром, а в случае необходимости - испытаниями, проводимыми после имитации неработоспособности всех других действий.
11.4.2. Настройка изготовителем
Действие типа 2, для которого предусмотрена настройка изготовителем его рабочего значения, рабочего времени и последовательности срабатывания, должно быть таким, чтобы можно было легко определить, была ли начальная настройка впоследствии изменена или нет.
Соответствие требованию проверяют осмотром.
Любое действие типа 2 должно быть таким, чтобы производственный допуск и отклонение его рабочего значения, рабочего времени и последовательности срабатывания находились в границах, установленных в таблице 7.2 (
позиции 41 и
42).
Соответствие требованию проверяют испытаниями по разделам 15 - 17.
11.4.4. Действие типа 1A или 2A
Действие типа 1A или 2A должно удовлетворять требованиям к электрической прочности и значениям воздушных зазоров, установленным для условий полного отключения.
Соответствие требованию проверяют испытаниями по разделу 13 и оценкой соответствия требованиям раздела 20.
11.4.5. Действие типа 1B или 2B
Действие типа 1B или 2B должно удовлетворять требованиям к электрической прочности, установленным для микроотключения.
Соответствие требованию проверяют испытанием по разделу 13 и оценкой соответствия требованиям раздела 20.
11.4.6. Действие типа 1C или 2C
Действие типа 1C или 2C должно быть таким, чтобы цепь разрывалась микропрерыванием.
Соответствие требованию проверяют оценкой соответствия требованиям раздела 20.
11.4.7. Действие типа 1D или 2D должно быть таким, чтобы отключению не мешал любой механизм повторного включения и чтобы после отключения нельзя было замкнуть цепь даже временно, если существуют условия, приводящие к превышению допустимых значений параметров или повреждению прибора.
Соответствие требованию проверяют осмотром и испытанием.
11.4.8. Действие типа 1E или 2E
Действие типа 1E или 2E должно быть таким, чтобы отключению не мешал любой механизм повторного включения и чтобы контакты не могли быть разомкнутыми или замкнутыми, если существуют условия, приводящие к превышению допустимых значений параметров или повреждению прибора.
Соответствие требованию проверяют осмотром и испытанием.
11.4.9. Действие типа 1F или 2F
Действие типа 1F или 2F должно быть таким, чтобы после монтажа управляющего устройства в соответствии с инструкцией изготовителя оно не могло быть повторно включено без применения инструмента.
Соответствие требованию проверяют осмотром и испытанием.
Примечание - Требование считают удовлетворенным, если монтаж в аппарате таков, что доступ к управляющему устройству возможен только с помощью инструмента.
11.4.10. Действие типа 1G или 2G
Действие типа 1G или 2G должно быть таким, чтобы устройство можно было включить повторно после того, как оно сработало (даже преднамеренно) в условиях электрической нагрузки.
Соответствие требованию проверяют осмотром и путем повторного включения устройства при номинальных значениях напряжения и тока.
11.4.11. Действие типа 1H или 2H
Действие типа 1H или 2H должно быть таким, чтобы не мешать размыканию контактов и чтобы контакты, находящиеся в замкнутом положении, автоматически возвратились в исходное положение, если средство повторного включения поддерживают в положении повторного включения. Управляющее устройство не должно автоматически повторно включаться при температуре выше минус 35 °C, когда механизм повторного включения находится в нормальном положении.
Соответствие требованию проверяют осмотром и испытанием.
11.4.12. Действие типа 1J или 2J
Действие типа 1J или 2J должно быть таким, чтобы не мешать размыканию контактов и чтобы не допустить действия управляющего устройства в качестве автоматического устройства повторного включения, если средство повторного включения поддерживают в положении повторного включения. Управляющее устройство не должно автоматически повторно включаться при температуре выше минус 35 °C.
Соответствие требованию проверяют осмотром и испытанием.
11.4.13. Действие типа 1K или 2K
Действие типа 1K или 2K должно быть таким, чтобы в случае разрушения чувствительного элемента или любой другой части между чувствительным элементом и управляющей головкой заявленное отключение осуществлялось прежде, чем будут превышены установленные величина управления, рабочее время или последовательность срабатывания.
Метод проверки не установлен.
11.4.14. Действие типа 1L или 2L
Действие типа 1L или 2L должно быть таким, чтобы в случае неисправности в электропитании устройство выполняло предусмотренную функцию независимо от применения любого вспомогательного источника энергии или сети питания.
Соответствие требованию проверяют осмотром.
Примечание - Рессору или простой груз с прямым действием не считают источником энергии.
11.4.15. Действие типа 1M или 2M
Действие типа 1M или 2M должно быть таким, чтобы устройство функционировало предусмотренным образом после установленной процедуры старения.
Соответствие требованию проверяют испытанием по 17.6.
Дренажные отверстия, при их наличии, должны иметь площадь сечения от 20 до 40 мм2 при минимальной глубине 3 мм.
Соответствие требованию проверяют осмотром.
Примечания. 1. Дополнительные требования к влагостойкости содержатся в
разделе 12.
2. Устройства, классифицированные как IPX7, могут иметь средства для открытия дренажных отверстий.
3. В некоторых странах предъявляют дополнительные требования к отверстиям в корпусах, используемым для дренажа, монтажа комплектующих изделий или чистки вокруг шкал, кнопок, рычагов, ручек, капиллярных трубок и т.п.
11.5.1. Встроенные в шнур, свободно стоящие и с независимым монтажом управляющие устройства, кроме устройств, имеющих степень защиты IP00 по
6.5, должны быть сконструированы так, чтобы они могли выдерживать испытания по
ГОСТ 14254.
11.5.2. Устройства, являющиеся неотъемлемой частью оборудования, и встроенные управляющие устройства должны быть сконструированы так, чтобы при их установке в оборудовании определенным способом оборудование выдерживало соответствующее испытание.
11.5.3. Дренажные отверстия должны иметь минимальное сечение 20 мм2, а ширину и глубину - не менее 3 мм.
Соответствие требованиям 11.5.1 - 11.5.3 проверяют осмотром и испытаниями по ГОСТ 14254.
Примечания. 1. Дополнительные требования к влагостойкости рассмотрены в
разделе 12.
2. Управляющие устройства, классифицированные как IPX7, могут быть оснащены приспособлением для открытия дренажного отверстия.
11.6. Монтаж управляющих устройств
11.6.1. Управляющие устройства должны быть сконструированы так, чтобы их монтаж в соответствии с методами, заявленными изготовителем, не нарушал соответствия требованиям настоящего стандарта.
11.6.2. Заявленные методы монтажа должны быть такими, чтобы устройство не могло вращаться или перемещаться и быть извлечено из оборудования без применения инструмента, если такое перемещение или демонтаж могут нарушить соответствие требованиям настоящего стандарта. Если полный или частичный демонтаж необходим для работы устройства, требования
разделов 8,
13,
20 должны быть удовлетворены до и после такого демонтажа.
Соответствие требованиям 11.6.1 и 11.6.2 проверяют осмотром и испытанием вручную.
Примечание - Считают, что устройства, кроме устройств с вращательным действием, которые крепят с помощью гайки и одной втулки, концентрически установленной относительно средств управления, будут удовлетворять настоящему требованию при условии, что для закручивания гайки необходим инструмент и что рассматриваемые части имеют достаточную механическую прочность. Встроенное управляющее устройство, которое крепят безвинтовым способом, рассматривают как удовлетворяющее требованию, если оно может быть извлечено из оборудования только с помощью инструмента.
11.6.3. Монтаж независимых управляющих устройств
11.6.3.1. Устройства с независимым монтажом, кроме предназначенных для монтажа на пульте управления, должны быть оснащены:
- стандартным кожухом;
- распределительной коробкой, если необходима специальная коробка, или пригодны для монтажа на плоской поверхности.
11.6.3.2. Если необходима специальная распределительная коробка, ее следует поставлять вместе с устройством.
11.6.3.3. Независимо монтируемые устройства для монтажа на поверхности, используемые для скрытой установки (скрытая проводка), не имеющие выходной коробки, должны иметь соответствующие отверстия на тыльной стороне, облегчающие монтаж и присоединение к зажимам.
11.6.3.4. Независимо монтируемые устройства для монтажа на поверхности, используемые с открытой проводкой, должны иметь вводы для кабеля или трубопровода, выталкиватель или сальник, позволяющие присоединять соответствующие типы кабелей и трубопроводов.
11.6.3.5. Независимо монтируемые устройства для монтажа на поверхности или основания для таких устройств должны быть сконструированы так, чтобы зажимы для внешних проводов были доступны и могли быть использованы после закрепления соответствующим образом устройства (или основания) на своей подставке и удаления крышки (или устройства).
11.6.3.6. В устройствах, предназначенных для монтажа на выходном блоке (коробке) и аналогичном ограждении оборудования, зажимы проводов, другие токоведущие части и острые углы заземленных и незаземленных металлических частей должны быть расположены или защищены так, чтобы они не напрягали провода в коробке или аналогичном приспособлении при установке управляющего устройства.
11.6.3.7. Если зажимы находятся с тыльной стороны, они должны быть расположены в углублении или быть защищены плотно пригнанной перегородкой или изоляционным материалом, или аналогичным способом, предотвращающим контакт с проводами, размещенными в коробке.
Соответствие требованиям 11.6.3.1 - 11.6.3.7 проверяют осмотром.
Зажимы, которые не выступают за плоскость переднего края коробки, считают приемлемыми.
Ограждения, примыкающие к зажимам и выступающие не менее чем на 6,5 мм над зажимами перед проводами, при наличии соответствующей перегородки между полюсами механизмов, считают приемлемыми.
11.7.1.1. Гибкие шнуры встроенных в шнур и отдельно стоящих управляющих устройств должны выдерживать изгибы, возможные при нормальной эксплуатации. Если для удовлетворения настоящего требования использовано защитное устройство шнура, оно не должно быть неотъемлемой частью гибкого шнура, присоединенного креплением типа X.
11.7.1.2. Соответствие требованию проверяют следующим испытанием управляющего устройства, оснащенного шнуром или разными шнурами, которые можно использовать в соответствии с проектом.
11.7.1.2.1. Устройство монтируют в испытательном аппарате, представленном на рисунке 9. Ось качания выбрана таким образом, чтобы груз, который крепят на шнуре, и сам шнур могли бы иметь минимальное боковое смещение во время испытания. Управляющие устройства с плоским шнуром устанавливают так, чтобы главная ось сечения шнура была параллельна оси колебания. Гибкий шнур, проходящий через входное отверстие, нагружают грузом массой 1 кг. Через каждую проводящую жилу пропускают ток, равный току при работе устройства с номинальным напряжением; напряжение между жилами должно быть равно максимальному номинальному напряжению. Качающийся элемент перемещается на 90° (45° в каждую сторону от вертикали с частотой 60 изгибов в минуту). Количество изгибов (движений на 90°) равно 5000.
11.7.1.2.2. После этого испытания устройство не должно иметь повреждений в пределах требований настоящего стандарта. Во время испытаний не должно происходить ни прерывания тока, ни короткого замыкания между отдельными проводами, а поврежденные жилы не должны пробить изоляцию шнура. Возникает короткое замыкание между отдельными проводами, если значение тока возрастает до удвоенного значения тока испытания.
11.7.1.2.3. Допускается повреждение не более 10% жил в любом проводнике.
11.7.2. Устройства крепления шнура
11.7.2.1. Управляющие устройства, кроме составляющих неотъемлемую часть оборудования и встроенных управляющих устройств, предназначенные для соединения с помощью гибких шнуров, должны быть оснащены устройством крепления шнура, защищающим провода от натяжения и скручивания в месте соединения с зажимами, а их покрытия от истирания. Предусмотренный метод защиты от натяжения и скручивания должен быть очевидным.
11.7.2.2. Устройства крепления шнура для управляющих устройств класса II должны быть изготовлены из изоляционного материала или, если они изготовлены из металла, то должны быть изолированы от доступных металлических частей или металлической фольги на доступных металлических поверхностях изоляцией, соответствующей требованиям для дополнительной изоляции.
11.7.2.3. Устройства крепления для встроенных управляющих устройств, кроме устройств класса II, должны быть изготовлены из изоляционного материала или оснащены изоляционным покрытием, если повреждение шнура может сделать доступные металлические части токоведущими. Такое изоляционное покрытие, при его наличии, должно быть закреплено на устройстве крепления шнура при условии, что оно не является втулкой - частью устройства защиты шнура, предусмотренного для удовлетворения требований
11.7.1.
11.7.2.4. Устройства защиты шнура должны быть сконструированы так, чтобы:
- шнур не мог контактировать с зажимными винтами устройства защиты, если эти винты являются доступными металлическими частями;
- шнур не зажимался металлическим винтом, опирающимся непосредственно на шнур;
- для креплений типов X и M, по меньшей мере, одна его часть была надежно закреплена на управляющем устройстве;
- для креплений типов X и M замена шнура не требовала применения специального инструмента;
- для крепления типа X они были пригодны для различных гибких шнуров, которые могут быть присоединены;
- для крепления типа X они были сконструированы и расположены так, чтобы замена гибкого шнура могла быть легко осуществлена.
11.7.2.5. Для креплений, кроме крепления типа Z, не должны быть применены такие способы, как завязывание шнура узлом или обертывание концов бечевкой.
11.7.2.6. Уплотненные кабельные вводы не следует использовать в качестве устройства крепления шнура для встроенных в шнур управляющих устройств с креплениями типа X, если они не позволяют присоединять шнуры всех типов и размеров по
10.1.4.
11.7.2.7. Винты, при их наличии, с которыми необходимо манипулировать при замене шнура, не должны служить для крепления других элементов, за исключением тех случаев, когда, если их забыли или неправильно заменили, устройство неработоспособно или явно некомплектно, или если элемент, предназначенный для крепления этими винтами, не может быть снят без использования инструмента во время замены шнура.
11.7.2.8. Соответствие требованиям 11.7.2.1 - 11.7.2.7 проверяют осмотром и испытаниями по 11.7.2.9 - 11.7.2.15.
11.7.2.9. Управляющее устройство оснащают гибким шнуром, а провода вводят в зажимы; винты зажимов, при их наличии, затягивают настолько, чтобы провода не могли легко смещаться. Устройство защиты шнура используют установленным способом, к винтам прикладывают крутящий момент, равный 2/3 момента, указанного в 19.1.
11.7.2.10. После такой подготовки не допускается проталкивать шнур внутрь устройства до такой степени, что это может вызвать повреждение или смещение шнура настолько, что нарушится соответствие требованиям настоящего стандарта.
11.7.2.11. Затем шнур подвергают натяжению, значение которого и число натяжений указаны в таблице 11.7.2. Натяжение проводят в наиболее неблагоприятном направлении без рывков; каждое натяжение должно длиться 1 с.
Тип устройства | Натяжение, Н | | Число натяжений |
Свободно стоящее: | | | |
до 1 кг включ. | 30 | 0,1 | 25 |
св. 1 до 4 кг включ. | 60 | 0,25 | 25 |
св. 4 кг | 100 | 0,35 | 25 |
Встроенное в шнур (кроме свободно стоящего) | 90 | 0,25 | 100 |
<1> Стандарты на конкретное оборудование могут устанавливать другие значения. |
11.7.2.12. Непосредственно после этого шнур подвергают в течение 1 мин воздействию крутящего момента, значение которого указано в таблице 11.7.2.
11.7.2.13. Для крепления типа X испытание проводят сначала с наиболее легким из допустимых типов гибким шнуром с наименьшей площадью поперечного сечения, указанной в 10.1.4, а затем с кабелем ближайшего более тяжелого типа с наибольшей установленной площадью поперечного сечения. Для крепления типов M, Y и Z используют только заявленный или прикрепленный шнур.
11.7.2.14. Во время испытаний шнур не должен быть поврежден. После испытаний не должно быть продольного смещения шнура более чем на 2 мм, провода не должны быть смещены в зажимах более чем на 1 мм и не должно быть видимого натяжения соединения. Значения путей утечки и воздушных зазоров не должны быть меньше указанных в разделе 20.
11.7.2.15. Для измерения продольного смещения перед началом испытаний на шнуре, находящемся в натянутом состоянии на расстоянии около 20 мм от устройства крепления, делают отметку. После испытаний измеряют смещение отметки на шнуре, находящемся в натянутом состоянии, относительно устройства крепления шнура.
11.8. Размеры несъемных шнуров
11.8.1. Несъемные шнуры должны быть не легче, чем обычный прочный гибкий шнур с оболочкой из резины (тип ПРС по
ГОСТ 7399) или обычный гибкий шнур с полихлорвиниловой оболочкой (типы ПВС и ПВСП по
ГОСТ 7399), за исключением тех случаев, когда использование более легкого шнура допускается стандартом на конкретное оборудование.
Соответствие требованию проверяют осмотром.
11.8.2. Управляющие устройства с несъемными шнурами должны иметь шнуры, у которых сечение проводов не менее указанного в таблице 11.8.2.
Таблица 11.8.2
Ток в соответствующей цепи, А | Номинальная площадь поперечного сечения <1>, мм 2 |
| 0,75 |
Св. 6 до 10 включ. | 1,0 |
" 10 " 16 " | 1,5 |
" 16 " 25 " | 2,5 |
" 25 " 32 " | 4,0 |
" 32 " 40 " | 6,0 |
" 40 " 63 " | 10,0 |
<1> В некоторых странах применяют другие сечения провода. <2> Допускаются сечения менее 0,75 мм 2 только для устройств класса III или если это установлено в стандарте на конкретное оборудование. |
Соответствие требованию проверяют осмотром.
11.8.3. В управляющих устройствах отсек для размещения гибких шнуров должен быть достаточным для того, чтобы можно было легко вводить и соединять шнуры, а крышки, при их наличии, могли быть установлены без риска повреждения проводов или их изоляции. Должна быть возможность проверять правильность монтажа шнура до установки крышки.
Соответствие требованию проверяют осмотром и присоединением шнуров с сечением, наибольшим из указанных в таблице 10.1.4.
11.9. Вводные отверстия
11.9.1. Вводы для наружных гибких шнуров должны быть так сконструированы и иметь такую форму или быть оснащены втулками, чтобы покрытие шнура не повреждалось при вводе.
11.9.1.1. Вводы трубопроводов и их арматуры и отверстия для сброса в независимо монтируемых устройствах управления должны быть сконструированы так, чтобы введение трубопровода не нарушало защиту от поражения электрическим током или не снижало значений путей утечки и воздушных зазоров менее указанных в
разделе 20.
Соответствие требованию проверяют осмотром.
11.9.2. При отсутствии втулки вводное отверстие должно быть из изоляционного материала.
11.9.3. Если вводное отверстие оснащено втулкой, она должна быть из изоляционного материала и:
- иметь такую форму, которая не повредит шнур;
- закреплена так надежно, чтобы:
не могла быть снята без инструмента;
не была неотъемлемой частью шнура, если использовано крепление типа X.
11.9.4. Вводная втулка не должна быть резиновой, за исключением случаев, когда применяют крепление типов M, Y или Z для устройств классов 0, 0I и I, в которых допускается применение резины, и когда втулка составляет единое целое с резиновой оболочкой шнура.
Соответствие требованиям 11.9.1 - 11.9.4 проверяют осмотром и испытанием вручную.
11.9.5. Кожухи независимо монтируемых управляющих устройств, предназначенных для постоянного подключения к фиксированной проводке, должны иметь вводы для кабеля, трубопровода, выталкиватели или сальники, позволяющие присоединять соответствующий трубопровод, кабель или шнур.
11.10. Приборные вводы и приборные вилки
11.10.1. Приборные вводы и приборные вилки, предназначенные для промежуточных соединений с оборудованием, осуществляемых потребителем управляющих устройств, должны быть сконструированы так, чтобы их взаимное сочленение или соединение с розеточными частями приборного ввода или приборной вилки, предназначенными для установления связи с другими системами, было маловероятным, если такое сочленение представляет опасность для людей или окружающей среды или приводит к повреждению оборудования.
Соответствие требованию проверяют осмотром.
11.10.2. Встроенные в шнур управляющие устройства, оснащенные приборным вводом или розеточной частью соединителя, должны иметь такие номинальные характеристики или должны быть защищены таким образом, чтобы не могли возникнуть непреднамеренные перегрузки устройства, розеточных частей соединителя или приборного ввода при нормальной эксплуатации.
Соответствие требованию проверяют осмотром.
11.10.3. Устройства с вилками, ножевыми контактами и другими средствами соединения (сопряжения), предназначенными для введения в закрепленные розетки, должны отвечать требованиям, предъявляемым к соответствующим системам соединителей.
Соответствие требованию проверяют осмотром и испытаниями, установленными для соответствующих систем.
11.11. Требования, которые следует выполнять при монтаже и операциях, связанных с уходом и ремонтом
11.11.1. Крышки и их крепление
11.11.1.1. Для управляющих устройств, кроме являющихся неотъемлемой частью оборудования, удаление крышки или закрывающей пластины, предусмотренное во время монтажа или при уходе, осуществляемых потребителем, и при ремонте устройства или оборудования, не должно изменять начальную настройку, если это может нарушить соответствие требованиям настоящего стандарта.
11.11.1.2. Крепление этих крышек должно быть таким, чтобы они не могли быть смещены или неправильно установлены, если это может нарушить соответствие требованиям настоящего стандарта. Крепление крышек, предусмотренных для снятия при монтаже, не должно служить креплением других частей, кроме органов управления или сальников.
Соответствие требованиям 11.11.1.1 и 11.11.1.2 проверяют осмотром.
Примечания. 1. В некоторых странах безвинтовое крепление крышки, снятие которой открывает доступ к оголенным токоведущим частям и которую можно снять без использования инструмента, подвергают следующему испытанию. Крышка, которую можно снять одной рукой, не должна отделяться, когда на нее действуют сжимающей силой 60 Н, приложенной в любых двух точках, отстоящих не более чем на 125 мм; это расстояние измеряют с помощью ленты, натянутой над частью поверхности крышки, которую можно накрыть ладонью руки. Испытание проводят до и после десяти снятий и установок крышки.
Крышка не должна отделяться под действием прямого натяжения силой 60 Н. Для этого испытания крышку захватывают в двух удобных противоположных точках. Испытание проводят до и после десяти снятий и установок крышки.
Крышка должна выдержать удары 1,35 Н·м на всех доступных поверхностях (один удар на поверхность) без смещения и повреждения внутренних частей устройства, без остановки работы из-за испытания. Радиус шарика, используемого для испытания, должен быть не менее 25,4 мм.
2. В некоторых странах непрерывность цепей заземления для крышек, закрепленных безвинтовым способом, должна соответствовать требованиям
9.3 и
9.5.
11.11.2. Способы крепления крышки
Крепежные винты крышек и закрывающих пластин, которые извлекают во время монтажа и для ухода или ремонта, осуществляемых потребителем или техником, не должны быть свободно удаляемыми.
Соответствие требованию проверяют осмотром.
Примечание - Требование считают выполненным, если такие винты оснащены стягивающими шайбами из картона или аналогичного материала.
11.11.3. Орган управления
11.11.3.1. Монтаж и удаление органа управления управляющего устройства заявленным способом не должны вызывать повреждений устройства.
11.11.3.2. Если максимальная и минимальная установки, указанные изготовителем или потребителем для действия типа 2, ограничены механическими средствами, связанными с органом управления, то такой орган управления не следует заменять без помощи инструмента.
11.11.3.3. Если орган управления устройства с действием типа 1 имеет положение "ВЫКЛ" или орган управления устройства с действием типа 2 используют для указания состояния устройства, не должно быть возможности закрепить этот орган в неправильном положении.
Соответствие требованиям 11.11.3.1 - 11.11.3.3 проверяют осмотром, а для органов управления, которые не требуют применения инструмента для демонтажа, - испытанием по 18.9.
Примечание - Стандарты на конкретное оборудование могут требовать, чтобы орган управления, который используют для указания состояния устройства, был неработоспособным, если он установлен в неправильном положении.
11.11.4. Части, которые являются дополнительной или усиленной изоляцией
Части управляющих устройств, которые являются дополнительной или усиленной изоляцией и которые могут быть забыты во время повторной сборки устройства при уходе или ремонте, осуществляемом потребителем или техником, должны быть закреплены так, чтобы их невозможно было установить в неправильном положении. Без этих частей управляющее устройство будет неработоспособно или явно некомплектно.
Соответствие требованию проверяют осмотром.
Примечание - Покрытие металлического кожуха лаком или аналогичным материалом, легко соскабливаемым, не считают соответствующим требованиям настоящего пункта.
11.11.5. Сальники, используемые в качестве дополнительной изоляции
Сальники, используемые в качестве дополнительной изоляции, на проводах, являющихся неотъемлемой частью устройства, следует поддерживать в соответствующем положении надежными средствами.
Соответствие требованию проверяют осмотром и испытанием вручную.
Примечание - Сальник считают надежно закрепленным, если его можно снять, только разрезав или сломав.
11.11.6. Шнуры натяжения
Шнур натяжения должен быть изолирован от токоведущих частей и управляющее устройство должно быть сконструировано так, что было возможно установить или заменить шнур натяжения, не делая доступными токоведущие части.
Соответствие требованию проверяют осмотром.
11.11.7. Изолирующие прокладки
Изолирующие прокладки, разделительные перегородки и аналогичные элементы должны иметь соответствующую механическую прочность и быть надежно закреплены.
Соответствие требованию проверяют осмотром.
12.1. Защита от проникания воды и пыли
12.1.1. Устройства, смонтированные и используемые указанным способом, должны иметь степень защиты от проникания воды и пыли, соответствующую их IP классификации.
12.1.2. Соответствие требованию проверяют, прежде подготовив управляющее устройство способом, указанным в 12.1.3 - 12.1.6, соответствующими испытаниями по ГОСТ 14254. Сразу же после этих испытаний устройство должно выдержать испытания на электрическую прочность по 13.2, а осмотр должен показать, что вода, которая могла бы проникнуть в устройство, не может служить причиной нарушения соответствия настоящему стандарту: на изоляции не должно быть следов воды, которые могут повлечь за собой уменьшение значений путей утечки и воздушных зазоров ниже указанных в разделе 20.
12.1.3. Управляющие устройства выдерживают 24 ч в испытательном помещении с нормальными атмосферными условиями перед проведением соответствующего испытания.
12.1.4. Управляющие устройства со съемными гибкими шнурами оснащают соответствующим приборным вводом и шнуром; управляющие устройства с несъемными гибкими шнурами, с креплениями типа X оснащают соответствующими проводами с наименьшим сечением, указанным в 10.1.4. Управляющие устройства с несъемными гибкими шнурами, с креплениями типов M, Y или Z испытывают со шнурами, заявленными в инструкциях изготовителя или представленными вместе с образцами.
12.1.5. Съемные части снимают и подвергают, в случае необходимости, соответствующим испытаниям одновременно с основной частью.
12.1.6. Герметичные кольца уплотненного кабельного ввода и другие средства, позволяющие обеспечить герметичность, подвергают старению в атмосфере, которая имеет состав и давление окружающего воздуха, путем свободного подвешивания в сушильном шкафу с горячим воздухом, обновляемым посредством естественной тяги. В шкафу их выдерживают в течение 10 дней (240 ч) при температуре (70 +/- 2) °C.
Примечание - В некоторых странах предъявляют дополнительные требования к прокладкам, сальникам и заливочным массам, используемым для закрепления прокладок на корпусе или крышке устройств, которые устанавливают в местах, подвергаемых воздействию дождя, и эксплуатируют при температуре 60 °C и ниже.
12.1.6.1. Исключен.
12.1.6.2. Непосредственно после такой обработки образцы уплотнительных колец извлекают из шкафа и выдерживают в течение 16 ч в затененном месте при температуре окружающего воздуха перед установкой на место. Затем кольца кабельного ввода затягивают крутящим моментом, равным 2/3 момента, указанного в таблице 19.1.
12.2. Защита от влаги
12.2.1. Управляющие устройства должны быть устойчивы к действию влаги, которая может быть в условиях нормальной эксплуатации.
12.2.2. Соответствие требованию проверяют испытаниями, проводимыми в последовательности, указанной в 12.2.3, после влажной обработки по 12.2.5 - 12.2.9.
12.2.3. Для управляющих устройств, встроенных в гибкий шнур, свободно стоящих устройств и устройств с независимым монтажом испытание по 13.1, за которым следует испытание по 13.2, осуществляют сразу же после влажной обработки. Для встраиваемых устройств и устройств, являющихся неотъемлемой частью оборудования, испытание по 13.2 проводят сразу же после влажной обработки. Эти испытания должны быть проведены так, чтобы на поверхности образцов не конденсировалась влага.
12.2.4. Управляющее устройство не должно иметь никаких повреждений, которые бы нарушили соответствие требованиям настоящего стандарта.
12.2.5. Вводы проводов, при их наличии, дренажные отверстия оставляют открытыми. Если управляющее устройство, классифицированное как IPX7, имеет дренажное отверстие, последнее открывают.
12.2.6. Съемные части снимают и подвергают испытанию, в случае необходимости, вместе с основной частью.
12.2.7. Перед тем как поместить образец в камеру влажности, его выдерживают при температуре от t до (t + 4) °C. Затем образец выдерживают в камере влажности в течение:
- двух дней (48 ч) - для управляющих устройств со степенью защиты IPX0;
- семи дней (148 ч) - для всех остальных управляющих устройств.
12.2.8. Влажную обработку проводят в камере влажности, где воздух имеет относительную влажность от 91% до 95%. Температуру воздуха в любом месте, где находятся образцы, поддерживают с точностью до 1 °C для выбранного значения t от 20 до 30 °C.
12.2.9. После влажной обработки проводят испытания по разделу 13 в камере влажности или в помещении, где устройства выдерживали для доведения их температуры до выбранной, после повторной сборки всех съемных частей.
Примечания. 1. Чтобы довести температуру образца до определенной температуры, следует, в большинстве случаев, выдержать его при этой температуре 4 ч до начала испытания.
2. Относительная влажность от 91% до 95% может быть получена путем помещения в камеру влажности насыщенного раствора сульфата натрия

или нитрата калия

, имеющего достаточно большую поверхность контакта с воздухом. Нужно следить за тем, чтобы образец не подвергался воздействию конденсации или других агентов из солевого раствора или иной части испытательного устройства, оказывающих вредное влияние.
3. Условия, которые необходимо поддерживать в камере влажности, требуют постоянной циркуляции воздуха внутри камеры и, в общем случае, использования теплоизоляции.
12.3. Для устройств, монтируемых в шнуре, и свободно стоящих устройств один образец подвергают испытаниям по 12.3.1 -
12.3.7 перед проведением других испытаний по
разделу 12.
Устройства класса III не подвергают испытаниям по 12.3.1 -
12.3.7.
12.3.1. Устройство подключают к цепи питания с напряжением, равным 1,06 номинального. Испытание проводят при максимальном номинальном токе и максимальной температуре окружающей среды, указанной в декларации.
12.3.2. Измеряют ток утечки между частями, указанными в 13.3.1; измерения проводят в соответствии с настоящим пунктом и 13.3.1.
12.3.3. Измерительные цепи для устройств представлены:
- для однофазных управляющих устройств с номинальным напряжением, не превышающим 250 В, или трехфазных устройств, используемых как однофазные, - на рисунке 25 (для класса II) и на рисунке 26 (для других классов);
- для однофазных управляющих устройств с номинальным напряжением более 250 В или для трехфазных устройств, которые не могут быть использованы как однофазные, - на рисунке 27 (для класса II) и рисунке 28 (для других классов);
- для двухфазных управляющих устройств с номинальным напряжением, не превышающим 250 В, кроме устройств класса II, - на рисунках 29 и 30 (в зависимости от употребления).
Устройства для однофазного оборудования, номинальное напряжение которого превышает 250 В, должны быть присоединены к двухфазным проводам; оставшийся фазный провод не используют.
12.3.4. При измерении все цепи устройства должны быть замкнуты. Однако при испытаниях устройств по рисункам 26, 29 и 30 токи утечки проверяют как при включенном, так и при выключенном выключателе
.
Допускается контакты замыкать накоротко при имитации замкнутой цепи.
12.3.5. Измерительная цепь должна иметь полное сопротивление (1750 +/- 250) Ом и быть шунтирована конденсатором так, чтобы постоянная времени цепи составляла (225 +/- 15) мкс.
12.3.6. Погрешность измерительной цепи не должна превышать 5% при токе утечки 0,75 мА, а точность цепи должна быть в пределах 5% для всех частот в диапазоне 20 Гц - 5 кГц.
12.3.7. Значение максимального тока утечки после стабилизации температуры устройства не должно превышать значений, указанных в 13.3.4.
13. Сопротивление изоляции и электрическая прочность
13.1. Сопротивление изоляции
Встроенные в шнур, отдельно стоящие и с независимым монтажом управляющие устройства должны иметь достаточное сопротивление изоляции.
13.1.1. Соответствие требованию проверяют испытаниями по 13.1.2 - 13.1.4. Испытания проводят, если это указано в разделе 12.
13.1.2. При измерении усиленной или дополнительной изоляции частей, кроме металлических, каждую соответствующую поверхность изоляции покрывают металлической фольгой, чтобы иметь электрод для испытаний.
13.1.3. Сопротивление изоляции измеряют напряжением постоянного тока порядка 500 В через 1 мин после его приложения.
13.1.4. Сопротивление изоляции не должно быть меньше указанного в таблице 13.1.
Таблица 13.1
Испытуемая изоляция | Сопротивление изоляции, МОм |
Рабочая | - |
Основная | 2 |
Дополнительная | 5 |
Усиленная | 7 |
13.2. Управляющие устройства должны иметь достаточную электрическую прочность.
13.2.1. Соответствие требованиям проверяют испытаниями по 13.2.2 - 13.2.4. Испытания проводят, если это указано в разделах 12 и 17.
13.2.2. При измерении усиленной или дополнительной изоляции частей, кроме металлических, каждую соответствующую поверхность изоляции покрывают металлической фольгой для того, чтобы иметь электрод для испытаний.
13.2.3. К изоляции прикладывают в течение 1 мин напряжение практически синусоидальной формы частотой 50 или 60 Гц. Значения испытательного напряжения и точки его приложения должны соответствовать указанным в таблице 13.2.
Изоляция или отключение при испытаниях <5>, <9> | Испытательное напряжение для рабочих напряжений <10>, В |
до 50 включ. | св. 50 до 130 включ. | св. 130 до 250 включ. | св. 250 до 440 включ. | св. 440 |
Рабочая изоляция | 500 | 1000 | 1250 | 1250 | 2000 |
| 500 | 1000 | 1250 | 1250 | 2500 |
| - | 1500 | 2500 | 2500 | 3000 |
| | 2500 | 3750 | 3750 | 5000 |
Через полное отключение цепи <4> | 500 | 1000 | 1500 | 2000 | 2500 |
Через микроотключение <4> | 120 | 260 | 500 | 880 | 1320 |
Через микропрерывание <2> | - | - | - | - | - |
<1> Неприменимо к классу III. <2> Не устанавливают требований к электрической прочности для микропрерывания, так как считают достаточным соответствие требованиям разделов 15 - 17. Для управляющего устройства, у которого микроотключение происходит при одном положении органа управления, а микропрерывание - при другом, также не устанавливают требований к электрической прочности для положения микропрерывания. <3> При испытаниях основной, дополнительной и усиленной изоляции все токоведущие части должны быть соединены вместе, а максимальное число контактов должно быть в замкнутом положении. <4> В случае полного отключения и микроотключения контакты размыкают автоматически или вручную и испытывают сразу после размыкания, чтобы убедиться, что межконтактное расстояние и поддерживающая изоляция достаточны. Для термочувствительных управляющих устройств следует представлять образцы, настроенные специально для размыкания при температуре от 15 до 20 °C, чтобы эти испытания можно было проводить при температуре окружающей среды сразу же после извлечения из камеры влажности. <5> Специальные комплектующие изделия, способные помешать проведению этого испытания, такие как электронные части, неоновые лампы, катушки и обмотки, отключают от одного полюса или шунтируют в соответствии с испытуемой изоляцией. Конденсаторы должны быть шунтированы, за исключением испытаний рабочей изоляции, когда один полюс отключают. Результаты испытаний по разделам 15 - 17 считают удовлетворительными, если это неприменимо. <6> Любую металлическую деталь, контактирующую с доступной металлической частью, считают доступной. <7> Для испытания усиленной или дополнительной изоляции металлическую фольгу накладывают так, чтобы вся заливочная масса, при ее наличии, была испытана. <8> Для управляющих устройств, имеющих как усиленную, так и двойную изоляцию, следует принять особые меры предосторожности для того, чтобы напряжение, прикладываемое к усиленной изоляции, не повредило основной и дополнительный изоляционные материалы, которые составляют двойную изоляцию. <9> Для управляющих устройств классов I и 0I и управляющих устройств, предназначенных для оборудования класса I, необходимо следить за тем, чтобы расстояние между металлической фольгой и доступными металлическими частями было достаточным. Это позволит избежать перегрузки изоляции между токоведущими и заземленными металлическими частями. <10> Трансформатор высокого напряжения, используемый для этого испытания, должен быть сконструирован так, чтобы, когда выводные зажимы замкнуты накоротко после настройки напряжения на выходе до испытательного, выходной ток составил не менее 200 мА. У реле максимального тока не должно происходить биения контактов при выходном токе менее 100 мА. Эффективное значение испытательного напряжения измеряют с относительной погрешностью не более +/- 3%. |
13.2.4. Первоначально прикладывают не более половины испытательного напряжения, значение которого затем быстро повышают до полного. Во время испытания не должно быть пробоя электрического разряда. Разряды, при которых не происходит падения напряжения, не учитывают.
13.3. Для управляющих устройств, монтируемых в шнуре и свободно стоящих, после испытаний по
13.1 или
13.2, в зависимости от применимости, образец, который был испытан по
12.3, должен быть испытан по
13.3.1 -
13.3.4.
Устройства класса III этим испытаниям не подвергают.
13.3.1. Испытательное напряжение постоянного тока для устройств, предназначенных только для постоянного тока, и испытательное напряжение переменного тока для других устройств прикладывают между всеми частями, находящимися под напряжением, и:
- доступными металлическими частями;
- металлической фольгой размерами не более 20 x 10 см, контактирующей с доступными поверхностями из изоляционного материала, соединенными вместе.
Измерения проводят так, чтобы можно было последовательно испытать все доступные поверхности.
Если поверхность меньше чем 20 x 10 см, металлическая фольга должна иметь размеры, равные размерам измеряемой поверхности.
Фольга не должна оставаться на месте долго, чтобы не влиять на температуру устройства.
Если устройство оснащено штырем или проводом заземления, провод заземления должен быть отключен от источника питания.
13.3.2. Испытательное напряжение составляет:
1,06 номинального напряжения или 1,06 верхнего предела диапазона номинальных напряжений для устройств, предназначенных только для постоянного тока, для однофазных устройств и для трехфазных устройств, которые могут быть использованы как однофазные, если номинальное напряжение или верхний предел диапазона номинальных напряжений не превышает 250 В;
1,06 номинального напряжения или 1,06 верхнего предела диапазона номинальных напряжений, разделенного на
, - для других устройств.
13.3.3. Ток утечки измеряют в течение 5 с после приложения испытательного напряжения.
13.3.4. Значения тока утечки к доступным металлическим частям и металлической фольге не должны превышать, мА:
- для устройств классов 0, 0I - 0,5;
- для устройств класса I - 0,75;
- для устройств класса II - 0,25.
Примечание - В некоторых странах для устройств, использующих напряжение питания 250 В или ниже, применяют следующие значения, мА:
- для устройств классов 0, 0I и I - 0,5;
- для устройств класса II - 0,25.
| | Применение на добровольной основе раздела 14 обеспечивает соблюдение требований Федерального закона от 22.07.2008 N 123-ФЗ "Технический регламент о требованиях пожарной безопасности" (Приказ Росстандарта от 16.04.2014 N 474). | |
| | Применение на добровольной основе раздела 14 обеспечивает соблюдение требований Федерального закона от 22.07.2008 N 123-ФЗ "Технический регламент о требованиях пожарной безопасности" (Приказ Ростехрегулирования от 30.04.2009 N 1573). | |
14.1. Управляющие устройства и их опоры не должны нагреваться до температур, превышающих допустимые, при нормальной эксплуатации.
14.1.1. Соответствие требованию проверяют испытаниями по 14.2 - 14.7.
Примечание - В некоторых странах для отдельных встроенных устройств, устройств, составляющих неотъемлемую часть оборудования, вместо испытаний по
14.2 -
14.7 проводят испытания по
17.7 и
17.8 при максимальных рабочих значениях, указанных в декларации.
14.1.2. Во время испытаний значение температуры не должно превышать значений, установленных в таблице 14.1, а управляющие устройства не должны претерпевать изменений, нарушающих соответствие требованиям настоящего стандарта и, в частности, разделов 8, 13 и 20.
Части | Максимальная допустимая температура, °C |
Штыри приборных вводов и устройств с контактными штырями <1>: | |
для очень горячих условий | 155 |
для горячих условий | 120 |
для холодных условий | 65 |
Обмотки <8>, <9>, <10>, <11> и пластины сердечника, находящиеся в контакте с ними, если изоляция обмоток состоит из: | |
материала класса A | 100 (90) |
материала класса E | 115 (105) |
материала класса B | 120 (110) |
материала класса F | 140 |
материала класса H | 165 |
Зажимы и соединения для наружных проводников <1>, <7> | 85 |
Иные зажимы и соединения <1>, <2> | |
Изоляция проводников из резины или полихлорвинила <1>: | |
если подвержены изгибу или изгиб возможен | 60 |
если изгиб не происходит или невозможен | 75 |
если маркирована температура или известна номинальная температура | Указанное значение |
Оболочка кабеля <12>, используемая как дополнительная изоляция | 60 |
Резина, кроме синтетической, используемая для уплотняющих колец или других частей, повреждение которых может нарушить соответствие требованиям настоящего стандарта: | |
когда она используется в качестве дополнительной или усиленной изоляции | 65 |
в других случаях | 75 |
Материалы, используемые для изоляции, иные, чем материалы, используемые для проводов <3>, <5>, <12>: | |
пропитанные или лакированные ткань, бумага, картон | 95 |
слоистые материалы, связанные: | |
меламинформальдегидными, фенолформальдегидными или фенолфурфуральными смолами | 110 (200) |
смолой на основе мочевины-формальдегида | 90 (175) |
формованные материалы <3>: | |
фенолформальдегид с целлюлозным наполнителем | 110 (200) |
фенолформальдегид с минеральным наполнителем | 125 (225) |
меламинформальдегид | 100 (175) |
мочевина-формальдегид | 90 (175) |
полиэстер, усиленный стекловолокном | 135 |
Чистая слюда и плотно спеченные керамические материалы, когда они используются в качестве дополнительной или усиленной изоляции | 425 |
Другие термопластичные и термостойкие материалы <4> | |
Все доступные поверхности ручек, кнопок, рукояток и других аналогичных средств, используемых при включении устройства: | |
металлические | 60 |
фарфоровые или стеклянные | 70 |
формованные, резиновые или деревянные | 85 |
Древесина в общем | 90 |
Матовые поддерживающие поверхности из фанеры | 85 |
Токоведущие части из меди или латуни <1> | 230 |
Токоведущие части из стали <1> | 400 |
Другие токоведущие части <1>, <6> | - |
<1> Для этих частей испытание по настоящему разделу повторяют после испытаний по разделу 17. В некоторых странах это испытание не применяют. <2> Измеренная температура не должна превышать 85 °C при условии, что более высокое значение не было заявлено изготовителем. <3> Значения в скобках применяют к частям материала, используемым для органов управления, в том числе рукояток, кнопок, ручек и других аналогичных средств, которые контактируют с горячими металлическими поверхностями, но недоступны. <4> Максимальные допустимые температуры не должны быть выше температур безопасности для данных материалов. Эти температуры должны быть зарегистрированы для целей раздела 21. <5> Если металлическая часть контактирует с частью из изоляционного материала, предполагают, что температура изоляционного материала в точке контакта такая же, как и температура металлической части. <6> Максимальные допустимые температуры не должны быть выше температур безопасности для данных материалов. <7> Для управляющих устройств, испытываемых в оборудовании (или на нем), проверяют только температуру зажимов для фиксированных проводов, поскольку такое оборудование не поставляют с наружными проводами. Для оборудования, оснащенного зажимами иными, чем зажимы для фиксированных проводов, определяют температуру изоляции наружных проводов вместо температуры зажимов. В некоторых странах максимальная допустимая температура составляет 75 °C. Допускаются более высокие температуры, если для устройства применяют наружные провода с маркировкой T. Примеры материалов класса A: пропитанный хлопок, натуральный шелк, искусственный шелк и бумага; эмали олеосмоляные или на основе полиамидных смол. Примеры материалов класса B: стекловолокно, меламинформальдегидные и фенолформальдегидные смолы. Примеры материалов класса E: формовочные смолы с целлюлозным наполнителем, слоистые лакированные хлопок и бумага, связанные меламинформальдегидными, фенолформальдегидными или фенолфурфуральными смолами; полиэстеровые смолы сетчатой структуры; триацетатцеллюлозные пленки; терефталатполиэтиленовые пленки; ткани, пропитанные лаком на основе терефталатполиэтилена, связанные маслами на основе алкидных модифицированных лаками смол. Испытания на ускоренное старение и, кроме того, испытания на совместимость требуются для изоляционных систем класса B и более высоких классов. Для закрытых двигателей, использующих материалы классов A, E и B, температура может быть увеличена на 5 °C. Полностью закрытый двигатель - двигатель, сконструированный так, что движение воздуха между наружной и внутренней стенками кожуха исключено, но, тем не менее, кожух недостаточно закрытый, чтобы считать его герметичным. <9> Учитывая, что значение температуры обмоток универсальных двигателей, реле, соленоидов и т.п. обычно ниже среднего значения в доступных точках для термоэлементов, значения без скобок применяют, когда используется метод сопротивления, а значения в скобках - когда используются термопары. Для обмоток вибропреобразователей и двигателей переменного тока значения без скобок применяют в обоих случаях. <10> Значение превышения температуры медной обмотки рассчитывают по формуле  , где  - превышение температуры;  - сопротивление обмотки в начале испытания;  - сопротивление обмотки в конце испытания;  - рабочая температура окружающей среды в начале испытания, соответствующая настройке на  ;  - рабочая температура окружающей среды в конце испытания. В начале испытания температура обмотки должна быть равна  . Рекомендуется определять сопротивление обмоток в конце испытания, измеряя сопротивление как можно быстрее после размыкания цепи, а затем через короткие промежутки времени так, чтобы можно было построить кривую изменения сопротивления во времени для определения сопротивления в момент размыкания цепи. Максимальную достигаемую температуру получают, прибавляя значение  к вычисленному значению превышения температуры. <11> В некоторых странах для малых синхронных двигателей и т.п. не устанавливают предельную температуру. Считают, что изоляция удовлетворительна, если она после испытаний по разделу 17 соответствует требованиям к электрической прочности по разделу 13. <12> Указанные значения температуры, которые зависят от используемых материалов, могут быть превышены, если опыт показывает, что использованные материалы имеют особые теплостойкие характеристики. |
14.2. Зажимы и соединения, предназначенные для подключения наружных проводов иных, чем провода несъемных шнуров с креплениями типов M, Y или Z, оснащают проводами с промежуточным сечением, соответствующим типу провода, и номинальными характеристиками по 10.1.4.
14.2.1. Для креплений типов M, Y или Z при испытании используют шнур, заявленный изготовителем или приложенный к управляющему устройству.
14.2.2. Если зажим сконструирован так, что может быть использован как для гибких шнуров, так и для фиксированной проводки, испытания проводят с соответствующим гибким шнуром.
14.2.3. Зажимы, не предназначенные для присоединения наружных проводов, должны быть оснащены проводами с минимальным сечением, установленным в 10.2.1, или специальными проводами, если они заявлены в соответствии с 7.2.
14.3. Встроенные в шнур управляющие устройства устанавливают или закрепляют на поверхности фанеры, окрашенной в черный матовый цвет.
14.3.1. Управляющие устройства с независимым монтажом устанавливают как при нормальной эксплуатации.
14.4. Управляющие устройства должны быть соединены с источником питания, у которого напряжение имеет наиболее неблагоприятное значение в диапазоне 0,94 - 1,06 номинального. На цепи, которые нечувствительны к напряжению, можно подавать более низкое напряжение (но не ниже 10%
и с такой нагрузкой, чтобы проходящий через них электрический ток соответствовал наиболее неблагоприятному току в диапазоне 0,94 - 1,06 номинального).
Примечание - В некоторых странах испытание проводят при напряжениях, указанных в
17.2.3.1 и
17.2.3.2.
14.4.1. Цепи и контакты, которые не предназначены для наружных нагрузок, должны быть установлены изготовителем.
14.4.2. Органы управления помещают в наиболее неблагоприятное положение.
14.4.3. Контакты, которые первоначально должны быть замкнуты при испытаниях, замыкают при номинальных токе и напряжении цепи.
14.4.3.1. Для термочувствительных управляющих устройств чувствительный элемент нагревают или охлаждают до температуры, которая отличается на (5 +/- 1) °C от рабочей температуры, измеренной в соответствии с требованиями настоящего раздела так, чтобы контакты были замкнуты.
14.4.3.2. Для всех других чувствительных устройств чувствительный элемент должен находиться в таких условиях, чтобы контакты были замкнуты, но как можно ближе к точке размыкания.
14.4.3.3. Следует повышать или понижать, в зависимости от случая, действующее значение, чтобы контакты сработали, а затем довести величину управления до требуемого уровня.
14.4.3.4. Для других автоматических управляющих устройств следует выбирать наиболее напряженные испытания или часть испытаний.
14.4.4. Если управляющее устройство начинает работать при испытании, оно должно быть возвращено в исходное положение так, чтобы контакты оставались замкнутыми.
14.4.4.1. Если возврат в исходное положение для замыкания контактов трудновыполним, испытание останавливают. Определяют новое рабочее значение и испытание проводят при этом значении.
14.5. Управляющие устройства испытывают в соответствующей нагревающей и (или) охлаждающей аппаратуре, позволяющей воспроизводить условия, установленные в 14.5.1 и 14.5.2.
За исключением устройств, поставляемых с приборами (или в них), испытания проводят в условиях, предусматривающих защиту от пыли. Допускается естественная конвекция.
14.5.1. Температуру управляющей головки поддерживают между
и
или
в зависимости от того, что больше. Температуру монтажных поверхностей поддерживают от
до
или
в зависимости от того, что больше, если
отличается от
.
14.5.2. Встроенные в шнур управляющие устройства, управляющие устройства с независимым монтажом и те части встроенных устройств или устройств, являющихся неотъемлемой частью оборудования, которые доступны, когда устройство смонтировано в положении для нормального пользования, выдерживают при температуре от 15 до 30 °C; полученные при этом значения температуры корректируют в соответствии со значением температуры окружающей среды 25 °C.
14.6. Значения температуры, указанные в 14.5.1 и 14.5.2, должны быть достигнуты в течение 1 ч.
14.6.1. Электрические и температурные условия поддерживают в течение 4 ч или в течение 1 ч после достижения установившегося состояния в зависимости от того, какое время короче.
14.6.2. Для управляющих устройств кратковременного или повторно-кратковременного режима работы в четырехчасовой период должны входить паузы, установленные в соответствии с 7.2.
14.7. Температура среды, в которой находится головка управления, и величина управления, которой подвергают чувствительный элемент, должны быть измерены как можно ближе к центру пространства камеры, занятой образцами, на расстоянии около 50 мм от управляющего устройства.
14.7.1. Температура частей и поверхностей, указанных в таблице 14.1, должна быть определена с помощью тонкопроволочных термопар или других аналогичных средств, выбранных и расположенных так, чтобы свести к минимуму их влияние на температуру испытуемой части.
14.7.2. Термоэлементы, используемые для определения температуры поддерживающих поверхностей, закрепляют на задней поверхности зачерненных медных или латунных дисков диаметром 15 мм и толщиной 1 мм, встроенных заподлицо с поверхностью. По мере возможности, положение управляющего устройства выбирают таким, чтобы части, способные достигать наиболее высоких температур, находились в контакте с дисками.
14.7.3. При определении температуры органов управления, в том числе ручек, кнопок, рукояток и других аналогичных средств, во внимание принимают все захватываемые руками при нормальной эксплуатации части, а для частей из неметаллического материала - части, контактирующие с горячими металлическими поверхностями.
14.7.4. Температуру электроизоляции, кроме температуры обмоток, определяют на поверхности изоляции, в местах, где повреждение может вызвать:
- короткое замыкание;
- опасность возникновения пожара;
- нарушение защиты от поражения электрическим током;
- контакт между частями, находящимися под напряжением, и доступными металлическими частями;
- перекрытие изоляции;
- уменьшение путей утечки и воздушных зазоров ниже установленных в разделе 20.
14.8. Исключен.
15. Производственный допуск и отклонение
15.1. Части управляющих устройств, которые выполняют действие типа 2, должны иметь определенную стабильность производства в отношении заявленных рабочих значений, рабочего времени и последовательности срабатывания.
Примечание - В некоторых странах производственный допуск и отклонение выражают в виде отдельных допусков к декларируемым рабочим значениям. Для отдельных устройств с действием типа 2 установлены значения производственного допуска и отклонения. Соответствие проверяют, используя определенную аппаратуру, путем измерения рабочих значений и сравнения их с декларируемыми.
15.2. Соответствие требованию проверяют соответствующими испытаниями по настоящему разделу.
15.3. Для управляющих устройств, которые при нормальной работе полностью или частично разрушаются, испытания по соответствующим пунктам раздела 17 считают достаточными.
15.4. Для управляющих устройств, работа которых зависит от способа монтажа на оборудовании (или в нем), производственный допуск и отклонение должны быть заявлены отдельно в виде относительных величин. Производственный допуск следует выражать в виде диапазона или разброса (например 10 °C), а отклонение - в виде изменения величин (например +/- 10 или +5 ... 0 °C).
15.5. Стабильность определяют следующим образом
15.5.1. Испытательная аппаратура должна быть такой, чтобы управляющее устройство можно было монтировать так, как заявлено изготовителем.
15.5.2. Нормальная работа чувствительных управляющих устройств должна обеспечивать управление испытательной аппаратурой.
15.5.3. Точная схема испытательной аппаратуры не является определяющей, так как она предназначена для представления сравнительных величин, а не ответных. Однако нужно, чтобы она как можно точнее моделировала условия обслуживания.
15.5.4. Испытание осуществляют при следующих условиях
и
при условии, что другие величины не были заявлены согласно таблице 7.2, позиция 41.
Работу устройства следует осуществлять с помощью любого подходящего устройства с током не более 0,05 А.
15.5.5. Для чувствительных управляющих устройств скорость изменения величины управления может быть любой при условии, что конкретное значение не заявлено согласно таблице 7.2, позиция 37.
15.5.6. Рабочее значение, рабочее время или последовательность срабатывания должны быть установлены для каждого образца. Между двумя любыми образцами полученная разница значений не должна превышать заявленный производственный допуск.
15.5.7. Полученные значения также используют как опорные для каждого образца во время повторения соответствующих испытаний по разделу 16 и испытаний на износ по разделу 17 для того, чтобы облегчить определение отклонения.
15.6. Для управляющих устройств, работа которых не зависит от способа монтажа на (или в) оборудовании (например таймеры; токочувствительные устройства; устройства, чувствительные к напряжению; регуляторы энергии или электрические устройства, срабатывающие при падении тока), стабильность свойств определяют следующим образом.
15.6.1. Производственный допуск и (или) отклонение могут быть выражены в виде абсолютной величины. В этом случае может быть указана единственная комбинация для производственного допуска и отклонения.
15.6.2. Соответствующие рабочее значение, рабочее время или последовательность срабатывания должны быть первоначально измерены для всех образцов и находиться в пределах, установленных изготовителем.
15.6.3. Испытательный аппарат должен моделировать наиболее строгие, установленные изготовителем, условия нормальной эксплуатации.
15.6.4. Если значение отклонения было заявлено отдельно согласно таблице 7.2, позиция 42, значения, измеренные для каждого образца, должны быть зафиксированы и быть опорными величинами при повторении испытаний после испытаний климатических по разделу 16 и на износ по разделу 17, чтобы облегчить определение отклонения.
16. Климатические воздействия
16.1. Управляющие устройства, чувствительные к окружающей температуре, давлению или освещенности, должны быть устойчивы к воздействию указанных факторов в пределах, возможных при транспортировании и хранении.
| | ИС МЕГАНОРМ: примечание. В официальном тексте документа, видимо, допущена опечатка: пункты 16.3 и 16.4 отсутствуют, Возможно, имеются в виду пункты 16.2.3 и 16.2.4. | |
16.1.1. Соответствие требованию проверяют испытаниями по 16.2, 16.3 и 16.4, выдерживая образец в условиях, идентичных установленным изготовителем условиям транспортирования. При отсутствии таких условий устройство испытывают, установив орган управления в наиболее неблагоприятное положение.
16.2. Климатическое температурное воздействие
16.2.1. Температурное воздействие проверяют следующим образом.
Устройство необходимо выдержать при температуре минус (10 +/- 2) °C в течение 24 ч.
Затем устройство выдерживают при температуре (60 +/- 5) °C в течение 4 ч.
Примечание - В некоторых странах могут быть применены другие значения температуры и времени.
16.2.2. В течение испытаний устройство не включают в сеть.
16.2.3. После каждого испытания устройство, имеющее орган управления или другие средства управления, следует регулировать для обеспечения типа отключения, установленного изготовителем, что определяют, насколько это возможно, без разборки устройства. Это испытание проводят при нормальной температуре окружающей среды. Перед включением устройство выдерживают при комнатной температуре 8 ч.
16.2.4. Кроме того, для управляющего устройства с действием типа 2 соответствующее испытание по разделу 15 следует повторять после каждого из вышеупомянутых испытаний. Для одного и того же образца разница между значениями, полученными во время испытания по разделу 15, не должна превышать отклонение, установленное в соответствии с таблицей 7.2, позиция 42.
17.1. Общие требования
Управляющие устройства, включая устройства, поставленные в оборудовании или вместе с ним, должны выдерживать механические, электрические и температурные воздействия, возможные при нормальной эксплуатации.
| | ИС МЕГАНОРМ: примечание. Нумерация пунктов дана в соответствии с официальным текстом документа. | |
17.1.2. Управляющие устройства с действием типа 2 должны работать так, чтобы любое рабочее значение, рабочее время или последовательность срабатывания не превышали установленное значение отклонения.
| | ИС МЕГАНОРМ: примечание. В официальном тексте документа, видимо, допущена опечатка: пункт 17.1.1 отсутствует. | |
17.1.2.1. Соответствие требованиям 17.1.1 и 17.1.2 проверяют испытаниями по 17.1.3 в соответствии с требованиями 17.16.
17.1.3. Условия и последовательность испытаний
17.1.3.1. Устанавливают последовательность испытаний:
- испытание на старение в соответствии с 17.6 (это испытание применяют только к действиям типа 1M или 2M);
- ускоренное испытание на перенапряжение для автоматического действия в соответствии с 17.7 (в некоторых странах заменяют испытанием на перегрузку);
- ускоренное испытание автоматического действия в соответствии с 17.8;
- испытание автоматического действия при малой скорости в соответствии с 17.9 (это испытание применимо только к автоматическим действиям с медленным замыканием и размыканием);
- ускоренное испытание на перенапряжение для ручного действия в соответствии с 17.10 (в некоторых странах заменяют испытанием на перегрузку);
- испытание ручного действия при малой скорости в соответствии с 17.11;
- ускоренное испытание ручного действия в соответствии с 17.12 (это испытание применимо только к многополярным действиям и там, где при работе возникает переключение полюсов);
- ускоренное испытание ручного действия в соответствии с 17.13.
17.1.3.2. При испытаниях электрические, температурные и механические условия должны быть такими, как условия, установленные в 17.2, 17.3 и 17.4. Общие требования к испытаниям даны в 17.6 - 17.14. Особые требования даны в стандартах на конкретные устройства.
17.1.3.3. Для ручного действия, составляющего часть автоматического, требования определены в пункте для соответствующего автоматического действия. Однако там, где такие испытания не установлены, к ручным действиям применимы требования 17.10 - 17.13.
17.1.3.4. После указанных испытаний образцы должны соответствовать требованиям 17.14, если в стандартах на конкретные устройства не определено иное.
17.2. Электрические условия испытаний
17.2.1. Каждая цепь управляющего устройства должна быть нагружена в соответствии с номинальными значениями параметров, установленными изготовителем. Цепи и контакты, которые не предназначены для внешнего нагружения, включают при указанных нагрузках. Некоторые переключающие схемы могут предусматривать испытания каждой части, если этого требует изготовитель, например, когда номинальные значения параметров одной части переключающей схемы зависят от тока, протекающего в другой части.
17.2.2. В странах, в которых проводят испытание на перенапряжение, электрические нагрузки определяют по таблице 17.2-1 при номинальном напряжении
, затем это напряжение увеличивают до
для проведения испытания на перенапряжение по 17.7 и 17.10.
Таблица 17.2-1
Электрические условия для испытаний
(таблицу применяют в странах, в которых
проводят испытание на перенапряжение)
Тип цепи | Операция | Электрическая цепь |
переменного тока | постоянного тока |
В | А | Коэффициент <3> мощности (+/- 0,05) | В | А |  константа (+/- 1 мс) |
С активной нагрузкой | Замыкание и размыкание | VR | IR | 0,95 | VR | IR | Неиндуктивная |
С активной или индуктивной нагрузкой | | VR | 6,0IX или IR, если его арифметическое значение больше | 0,6 0,95 | VR | 2,5IX или IR, если его арифметическое значение больше | 7,5 |
Размыкание | VR | IX или IR, если его арифметическое значение больше | 0,95 | VR | IX или IR, если его арифметическое значение больше | Неиндуктивная |
С особо заявленными нагрузками | Замыкание и размыкание | VR | В соответствии с нагрузкой | VR | В соответствии с нагрузкой |
С током менее 20 мА | Замыкание и размыкание | VR | 20 мА | 0,95 | VR | 20 мА | Неиндуктивная |
С двигателями переменного тока | Замыкание и размыкание | VR | В соответствии с декларацией | VR | В соответствии с декларацией |
Со вспомогательной нагрузкой | | VR | 10 В·А --------- VR | 0,35 | VR | |
Размыкание | VR | 10 В·А --------- VR | 0,95 | VR |
<1> Установленное настоящим стандартом замыкание контакта поддерживают от 50 до 100 мс перед его размыканием дополнительным выключателем. В любом испытании по настоящему разделу, если размыкание контакта происходит в течение 2 с после его замыкания, условия, установленные для замыкания, также используют и для размыкания. <2> Значения не установлены. <3> Резисторы и катушки индуктивности не соединяют параллельно, исключая использование наружной катушки индуктивности, в случае чего резистор, потребляющий около 1% всего тока, протекающего через катушку индуктивности, соединяют параллельно с ней. Катушки индуктивности с железным сердечником могут быть использованы в том случае, когда применяют практически синусоидальный ток. Для трехфазных испытаний применяют катушки индуктивности с трехфазным сердечником. |
17.2.3. В странах, в которых проводят испытание на перегрузку, электрические нагрузки определяют по таблицам 17.2-2 и 17.2-3. Управляющее устройство испытывают на перегрузку на одном полюсе при одновременном переключении или производя сбрасывание тока при нормальной нагрузке.
Таблица 17.2-2
Электрические условия для испытаний по
17.7 и
17.10
(таблицу применяют в странах, в которых
проводят испытания на перегрузку)
Тип цепи | Операция | Электрическая цепь |
переменного тока | постоянного тока |
В | А | Коэффициент мощности | В | А |
С активной нагрузкой | Замыкание и размыкание | VT | 1,5IR | 1,0 | VT | 1,5IR |
С индуктивной нагрузкой (иная, чем посредством двигателя) | Замыкание и размыкание | VT | 1,5IX | 0,75 - 0,8 | VT | 1,5IX |
С двигателями переменного тока | Замыкание и размыкание | VT | 6Im или в соответствии с декларацией | 0,4 - 0,5 или в соответствии с декларацией | VT | 10Im или в соответствии с декларацией |
Со вспомогательной нагрузкой | Замыкание | 1,1 | 11 В·А/VT | 0,35 максимума или в соответствии с декларацией | В соответствии с декларацией |
Размыкание | 1,1 | 1,1 В·А/VT или в соответствии с декларацией |
Таблица 17.2-3
Электрические условия для испытаний по
17.8,
17.9,
в которых проводят испытания на перегрузку)
Тип цепи | Операция | Электрическая цепь |
переменного тока | постоянного тока |
В | А | Коэффициент мощности | В | А |
С активной нагрузкой | Замыкание и размыкание | VT | IR | 1,0 | VT | IR |
С индуктивной нагрузкой (иная, чем посредством двигателя) | Замыкание и размыкание | VT | IX | 0,75 - 0,8 | VT | IX |
С двигателями переменного тока | Замыкание и размыкание | VT | Im или определяется нагрузкой | 0,75 - 0,8 или в соответствии с декларацией | VT | Im |
Со вспомогательной нагрузкой | Замыкание | VT | 10 В·А/VT | 0,35 максимума или в соответствии с декларацией | В соответствии с декларацией |
Размыкание | VT | В·А/VT или в соответствии с декларацией |

- номинальное напряжение,

- номинальный ток в случае цепи с двигателем переменного тока;

- номинальный ток в случае цепи с активной нагрузкой;

- номинальный ток в случае цепи с индуктивной нагрузкой.
Примечания. 1. Контрольная нагрузка, используемая при испытаниях, состоит из электромагнита, представляющего собой магнитную регулируемую катушку. При номинальных значениях напряжения и мощности определяют ток. Испытательный ток равен этому нормальному току, для переменного тока коэффициент мощности должен составлять 0,35 или ниже, а пиковое значение тока равно 10 значениям нормального тока. Испытательный контактор должен быть свободным при работе, т.е. он не должен быть заблокирован ни в открытом, ни в закрытом положении.
2. Номинальный переменный ток контрольного режима может быть определен для устройства, регулирующего работу двигателя переменного тока, при следующих условиях:
при испытании на перегрузку устройство должно срабатывать и отключаться в течение 50 циклов с частотой 6 циклов в минуту, при этом значение тока должно быть эквивалентным шести значениям тока при полной нагрузке и коэффициенте мощности 0,5 или ниже и
пиковое значение тока при контрольном режиме работы (10 значений нормального тока) не должно быть более 67% значения тока при испытаниях на перегрузку, описанных выше.
17.2.3.1. В некоторых странах, в которых проводят испытание на перегрузку, испытательное напряжение
составляет:
120 В для управляющих устройств с номинальным напряжением от 110 до 120 В;
240 В для управляющих устройств с номинальным напряжением от 220 до 240 В;
277 В для управляющих устройств с номинальным напряжением от 254 до 277 В;
480 В для управляющих устройств с номинальным напряжением от 440 до 480 В;
600 В для управляющих устройств с номинальным напряжением от 550 до 600 В.
17.2.3.2. Если номинальное напряжение управляющего устройства не находится внутри указанных диапазонов, его испытывают при своем номинальном напряжении.
17.2.4. В некоторых странах, использующих распределительные сети с заземленной нейтралью, корпус должен быть соединен предохранителем на 3 А с защитным проводом схемы, а для других систем корпус соединяют через такой же предохранитель с токоведущим полюсом, у которого вероятность пробоя на землю наименьшая.
17.2.5. Для действий типа 1G или 2G и других ненагружаемых действий используют дополнительные выключатели для того, чтобы подтвердить, что предусмотренная работа моделируется при испытаниях.
17.3. Температурные условия испытаний
17.3.1. Следующие условия применимы для всех частей управляющего устройства, кроме термочувствительного элемента:
- части, доступные, когда устройство установлено в соответствии с инструкцией изготовителя, должны находиться при нормальной температуре окружающей среды (см. 4.1);
- температуру монтажной поверхности устройства поддерживают от
до
или
в зависимости от того, какое значение больше. Температуру управляющей головки поддерживают от
до
или
в зависимости от того, какое значение больше.
Если
ниже 0 °C, дополнительные испытания следует проводить при температуре головки управления, поддерживаемой между
и
.
17.3.2. Для испытаний по 17.8 и 17.13 значения температуры по 17.3.1 применимы для второй половины каждого испытания. Для первой половины температуру головки управления поддерживают на уровне комнатной температуры.
Дополнительные образцы необходимы, если испытания проводят при двух значениях температуры (
и
).
17.4. Ручные и механические условия испытаний
17.4.1. Для всех ручных действий каждый цикл управления должен состоять из такого движения органа управления, чтобы управляющее устройство занимало последовательно все положения, соответствующие этому действию, а затем возвращалось в начальное положение, за исключением случая, когда для управляющего устройства предусмотрено несколько положений "ВЫКЛ", в этом случае каждое ручное действие должно включать в себя движение из одного положения "ВЫКЛ" в следующее положение "ВЫКЛ".
17.4.2. Орган управления перемещают при следующих скоростях:
- для испытаний с малой скоростью:
(9 +/- 1) град/с для вращательных движений,
(5 +/- 0,5) мм/с для прямолинейных движений;
- для испытаний с большой скоростью:
орган управления включают вручную как можно быстрее. Если управляющее устройство представлено без органа управления, то испытательная организация должна использовать любое подходящее средство управления при проведении указанного испытания;
- для испытания на ускорение:
(45 +/- 5) град/с для вращательных движений,
(25 +/- 2,5) мм/с для прямолинейных движений.
17.4.3. При испытаниях с малой скоростью по 17.4.2:
нужно следить за тем, чтобы испытательное устройство приводилось в действие непосредственно органом управления без значительного зазора между испытательным устройством и органом управления.
17.4.4. При испытаниях с большой скоростью по 17.4.2:
- нужно следить за тем, чтобы испытательное устройство позволяло свободное перемещение органа управления, не препятствующее нормальной работе механизма;
- для устройств, в которых движения органа управления ограничены:
между каждым изменением направления должна быть пауза не менее 2 с;
крутящий момент (для управляющих устройств с вращательным движением) или силу (для иных устройств) следует прикладывать в конце каждого движения для проверки прочности ограничителя. Крутящий момент должен быть в 5 раз больше нормального рабочего вращения или 1,0 Н·м в зависимости от того, какое значение меньше, но не менее 0,2 Н·м. Прикладываемая сила должна быть в 5 раз больше нормальной силы управления или 45 Н в зависимости от того, что меньше, но не менее 9 Н. Если нормальная сила управления превышает 45 Н или если нормальный момент управления превышает 1,0 Н·м, значения применяемого крутящего момента или силы должны быть равны нормальным рабочим значениям;
- для вращательных управляющих устройств, у которых движение не ограничено в обоих направлениях, 3/4 числа циклов управления в каждом испытании должны осуществляться по ходу часовой стрелки, а остальные циклы - в обратном направлении;
- для управляющих устройств с одним рабочим направлением испытание следует осуществлять в рекомендуемом направлении при условии, что вышеупомянутые крутящие моменты не позволяют поворачивать орган управления в обратном направлении.
17.4.5. При этих испытаниях дополнительную смазку не применяют.
17.5. Требования, касающиеся электрической прочности
17.5.1. После всех испытаний по настоящему разделу применяют требования 13.2, но образцы не подвергают влажной обработке перед приложением испытательного напряжения. Значения испытательного напряжения должны составлять 75% соответствующих значений, указанных в 13.2.
Примечание - В некоторых странах применяют требование, согласно которому напряжение должно быть равно указанному в
13.2.
17.6. Испытание на старение
17.6.1. При этом испытании чувствительный элемент поддерживают при величине управления, которая была определена и использована в разделе 14. Другие части следует поддерживать в условиях, указанных в 17.3. Устройство электрически нагружают, как описано в 17.2 для соответствующих условий отключения. Продолжительность испытания - (100 +/- 0,02y) ч, где y - величина, заявленная в соответствии с 7.2. Это испытание применяют к устройствам с действием типа 1M или 2M.
17.6.2. Если при этом испытании проверяемое действие срабатывает, значение величины управления увеличивают или уменьшают таким образом, чтобы вызвать обратное действие, а затем возвращаются к значению этой величины, отличающемуся на значение "x" от первоначального значения, чтобы облегчить возобновление испытания. Эту операцию можно повторять столько раз, сколько необходимо для того, чтобы закончить испытание, или до тех пор, пока границы отклонения, заявленного в соответствии с 7.2, не будут превышены во время повторения соответствующей процедуры по разделу 15. Значение "x" приводят в стандартах на конкретное устройство.
Примечание - В некоторых странах испытание на старение не проводят.
17.7. Испытание автоматического действия на перенапряжение (или, в некоторых странах, на перегрузку) при ускорении
17.7.2. Температурные условия - по 17.3.
17.7.3. Рабочий метод и скорость работы:
- для действий типа 1 скорость работы и рабочий метод должны быть согласованы между лицом, ответственным за испытания, и изготовителем;
- для действий типа 2 рабочий метод обусловлен конструкцией устройства. Для чувствительных действий типа 2 допускается ускорение срабатывания или ускорение до максимальной номинальной частоты, установленной в соответствии с 7.2, или так, чтобы скорость изменения действующего значения не превысила значений
или
, указанных в 7.2.
Примечание - Примером рабочего метода является замена капилляра гидравлической системы пневматическим устройством или подключение первичного двигателя, имеющего различные скорости.
17.7.4. Для чувствительных действий типа 2 переход к каждому рабочему циклу должен совершаться в пределах, заявленных в соответствии с 7.2.
17.7.5. Для чувствительного действия, основанного на величине управления, можно увеличить скорость изменения величины управления, а для других действий типа 1 можно замедлить первичный двигатель между циклами, если это заметно не повлияет на результаты испытаний.
17.7.6. Число автоматических циклов при проведении настоящего испытания должно или составлять 1/10 значения, установленного в соответствии с 7.2, или 200 в зависимости от того, что меньше.
17.7.7. При испытании органы управления устанавливают в наиболее неблагоприятное положение.
Примечание - В странах, в которых проводят испытание на перегрузку, число циклов ограничивают 50.
17.8. Испытание автоматического действия
17.8.1. Электрические условия - по 17.2.
17.8.2. Температурные условия - по 17.3.
17.8.3. Рабочий метод и скорость работы - аналогично испытаниям по 17.7.3.
17.8.4. Число автоматических циклов [за исключением автоматических действий с медленным замыканием и (или) размыканием] должно быть таким, как установлено согласно 7.2, минус количество циклов при испытании по 17.7. При настоящем испытании органы управления должны находиться в наиболее неблагоприятном положении. При испытании неисправность любого комплектующего изделия, выполняющего действие типа 1, которая является незначительной для требований испытания и которая возникает из-за ускорения испытания, не должна стать причиной брака при условии, что комплектующее изделие можно отремонтировать, заменить, или когда испытание может быть продолжено иным способом, а число автоматических циклов, установленное в 17.8.4, может быть выполнено.
17.8.4.1. Для автоматических действий с медленным замыканием и размыканием число автоматических циклов, установленных в 17.8.4, выполняемых при настоящем испытании, ограничивают 75%. Остальные 25% числа циклов осуществляют при испытании по 17.9.
Примечание - В некоторых странах указывают определенное число циклов для действий типа 2 и некоторых действий типа 1.
17.9. Испытание автоматического действия при малой скорости
17.9.1. Автоматические действия с медленным замыканием и размыканием испытывают, проводя 25% числа циклов, оставшихся после проведения испытаний по 17.8.
17.9.2. Электрические и температурные условия - по 17.2 и 17.3.
17.9.3. Рабочий метод заключается или в изменении воздействия на чувствительный элемент, или воздействии на первичный двигатель. Для чувствительных устройств скорости изменения величины управления
и
соответствуют заявленным в 7.2. Для чувствительного устройства допускается увеличение скорости изменения величины управления, а для автоматического устройства, управляемого первичным двигателем, - увеличение времени между двумя операциями при условии, что это заметно не повлияет на результаты. Для чувствительных устройств переход к каждой операции должен совершаться при значениях величины управления, находящихся между значениями, заявленными в соответствии с 7.2. В течение испытания для действия типа 2 необходимы постоянное наблюдение и регистрация рабочего значения, рабочего времени и последовательности срабатывания.
17.9.3.1. Такое наблюдение рекомендуется и при испытании устройств других типов для обеспечения одинаковой последовательности.
17.9.4. Если только размыкание или только замыкание является медленным действием, то по соглашению между лицом, ответственным за проведение испытания, и изготовителем допускается ускорение остальных действий, при оценке которых следует руководствоваться требованиями 17.8.
17.10. Испытание ручного действия на перенапряжение (или, в некоторых странах, на перегрузку) при ускорении
17.10.1. Электрические условия - по 17.2.
17.10.2. Температурные условия - по 17.3.
17.10.3. Рабочий метод - аналогично указанному в 17.4 для испытания при ускорении. Число циклов включения должно составлять 1/10 числа циклов, заявленного в соответствии с 7.2 или 100 в зависимости от того, что меньше. При испытании чувствительные элементы поддерживают при соответствующих значениях величины управления, а первичные двигатели настраивают так, чтобы возбуждение способствовало осуществлению соответствующего действия.
17.10.4. В некоторых странах, в которых проводят испытание на перегрузку, число циклов ограничивают 50.
17.11. Испытание ручного действия при низкой скорости
17.11.1. Электрические условия - по 17.2.
17.11.2. Температурные условия - по 17.3.
17.11.3. Рабочий метод - по 17.4 для испытания при низкой скорости.
17.11.4. Число циклов управления должно быть равно 1/10 числа циклов, заявленного в соответствии с 7.2, или 100 в зависимости от того, что меньше. При испытании чувствительные элементы поддерживают при соответствующих значениях величины управления, а первичные двигатели настраивают таким образом, чтобы возбуждение способствовало осуществлению соответствующего действия.
17.12. Испытание ручного действия при высокой скорости
Примечание - Испытание применяют исключительно для многополярных действий и только тогда, когда в течение этого действия происходит переключение полюсов.
17.12.1. Электрические условия - по 17.2.
17.12.2. Температурные условия - по 17.3.
17.12.3. Рабочий метод - по 17.4 для испытаний при высокой скорости.
17.12.4. Число циклов управления - 100. При испытании чувствительные элементы поддерживают при соответствующих значениях величины управления, а первичные двигатели настраивают так, чтобы возбуждение способствовало осуществлению соответствующего действия.
17.12.5. В некоторых странах, в которых проводят испытание на перегрузку, число циклов ограничивают 50.
17.13. Испытание ручного действия при ускорении
17.13.1. Электрические условия - по 17.2.
17.13.2. Температурные условия - по 17.3.
17.13.3. Рабочий метод - по 17.4 для испытания при ускорении.
17.13.4. Число циклов управления равно числу, заявленному в соответствии с 7.2, минус число циклов, осуществленных во время испытаний по 17.10, 17.11 и 17.12.
При испытании чувствительные элементы поддерживают при соответствующих значениях величины управления, а первичные двигатели настраивают так, чтобы возбуждение способствовало осуществлению соответствующего действия.
17.13.5. При испытании неисправность компонента, выполняющего действие типа 1, которую можно считать незначительной для требований испытания, не должна стать причиной брака при условии, что поврежденный компонент можно отремонтировать или заменить, или когда испытание может быть продолжено иным способом, а число циклов, предусмотренное для испытания, может быть выполнено.
17.14. Критерии соответствия
Управляющее устройство, подвергнутое соответствующим испытаниям по 17.6 - 17.13 с учетом требований, установленных в стандартах на конкретное устройство, считают пригодным, если:
- все автоматические и ручные действия выполнены предусмотренным способом в соответствии с требованиями настоящего стандарта;
- выполнены требования раздела 14, касающиеся пунктов, указанных в примечании 1 к таблице 14.1 (т.е. зажимов, токоведущих частей, поверхностей опор). В некоторых странах это требование не применяют;
- выполнены требования 17.5;
- для действий типа 2 - при повторении испытания по разделу 15 рабочее значение, рабочее время и последовательность срабатывания находятся в соответствии с декларацией или внутри диапазона отклонения, или внутри объединенного диапазона отклонения и производственного допуска;
- можно произвести размыкание цепи, заявленное для каждого ручного действия;
- нет очевидного указания на то, что происходило временное нарушение между токоведущими частями и заземленными металлическими поверхностями, доступными металлическими частями или органами управления.
17.15. Исключен.
17.16. Испытание устройств, предназначенных для специального применения
Испытание проводят по стандартам на конкретное устройство.
18. Механическая прочность
18.1. Общие требования
18.1.1. Управляющие устройства должны быть сконструированы так, чтобы могли выдержать механические нагрузки, возникающие при нормальной эксплуатации.
18.1.2. Органы управления управляющих устройств класса I или II, или устройств, предназначенных для оборудования класса I или II, должны иметь соответствующую механическую прочность или быть защищенными так, чтобы в случае поломки органа управления сохранялась защита от поражения электрическим током.
18.1.3. Встроенные и являющиеся неотъемлемой частью оборудования управляющие устройства не испытывают по
18.2, так как их сопротивление ударам будет проверено по стандартам на оборудование.
| | ИС МЕГАНОРМ: примечание. В официальном тексте документа, видимо, допущена опечатка: пункт 19.8 отсутствует. | |
18.1.4. Соответствие требованию проверяют испытаниями по 19.2 - 19.8, последовательно осуществляемыми на одном образце.
18.1.5. После соответствующих испытаний управляющее устройство не должно иметь никаких повреждений, которые бы нарушили соответствие требованиям настоящего стандарта, в частности разделов 8, 13 и 20. Не должно быть ослабления изоляционных прокладок, перегородок и т.п.
Удаление и замена съемных и других наружных частей, таких как крышки, не должны вызывать их повреждения или повреждения их изоляционных покрытий.
После этого испытания управляющее устройство должно быть работоспособно во всех положениях, которые соответствуют полному отключению или микроотключению.
В случае сомнения дополнительную и усиленную изоляции подвергают испытанию на электрическую прочность по разделу 18.
Осыпание краски, мелкие углубления, которые не приводят к снижению значений путей утечки или воздушных зазоров ниже значений, установленных в разделе 20, и мелкие царапины, которые не влияют на защиту от поражения электрическим током или от влаги, во внимание не принимают. Невидимые невооруженным глазом трещины, в том числе поверхностные, в материалах, формованных из армированных волокон и аналогичных, в расчет не принимают. Если декоративное покрытие дублировано внутренним корпусом, повреждение декоративного покрытия не принимают во внимание, если внутренний корпус выдерживает испытание после снятия декоративного покрытия.
18.1.6. Примечание - В некоторых странах применяют требование: если резьба для ввода металлической трубки нарезана по всей длине отверстия в стенке кожуха или использована аналогичная конструкция, то не должно быть острых кромок и менее трех и не более пяти полных витков резьбы в металле, а конструкция устройства должна быть такой, чтобы соответствующая втулка для трубки могла быть свободно установлена.
18.1.6.1. Примечание - В некоторых странах применяют требование: если резьба для ввода металлической трубки нарезана не по всей длине отверстия в станке кожуха, втулка трубки или аналогичная деталь должны иметь не менее 3 - 1/2 полных витков в металле до соприкосновения с трубкой, а вводное отверстие должно быть гладким, хорошо закругленным, с внутренним диаметром примерно таким же, как соответствующий размер жесткой трубки, которую используют для защиты проводов, аналогичной стандартной втулке.
18.1.6.2. Примечание - В некоторых странах применяют требование: резьба в корпусе для жесткой металлической трубки должна иметь не менее пяти полных витков для крепления трубки.
Соответствие требованиям
18.1.6,
18.1.6.1 и 18.1.6.2 проверяют осмотром.
18.1.6.3. Примечание - В некоторых странах применяют требование: трубная втулка или ниппель, закрепляемые путем обжима, ковки и т.п. способом, должны выдержать без растяжения следующее испытание:
- растягивающую силу в 890 Н прикладывают в течение 5 мин. При проведении настоящего испытания устройство поддерживают жесткой трубкой соответствующим образом, а к опоре прикрепляют груз массой 90,8 кг;
- устройство должно быть жестко закреплено с помощью иных средств, чем трубная гарнитура. Изгибающий момент в 0,67 Н·м прикладывают к трубке в течение 5 мин в правую сторону относительно оси, а плечо измеряют от стенки корпуса, в котором установлена втулка, до точки приложения изгибающего момента;
- крутящий момент в 67,8 Н·м прикладывают к трубке в течение 5 мин в направлении завинчивания соединения, а плечо измеряют от центра трубки.
Испытание может привести к искривлению кожуха. Такое искривление не считают повреждением.
18.2. Сопротивление ударам
18.2.1. Встроенные в шнур, свободно стоящие и независимо монтируемые управляющие устройства, за исключением указанных в 18.4, проверяют путем нанесения ударов по образцу с помощью устройства по ГОСТ 27570.0, приложение 1.
18.2.2. Все поверхности, доступные, когда устройство смонтировано как при нормальной эксплуатации, испытывают с помощью ударного устройства.
18.2.3. Управляющее устройство неподвижно устанавливают, прислонив к квадратному вертикальному фанерному листу с длиной стороны 175 мм и толщиной 8 мм (никакой металлической подкладки с задней стороны быть не должно), который установлен на жесткой раме, прикрепленной к кирпичной, цементной, бетонной или аналогичной стене.
18.2.4. Удары наносят по всем доступным поверхностям, включая органы управления, под любыми углами; испытательное устройство при этом должно быть настроено так, чтобы энергия удара составляла (0,5 +/- 0,04) Н·м.
18.2.4.1. Управляющие устройства, которые приводят в действие ногой, испытывают при энергии удара (1,0 +/- 0,05) Н·м.
18.2.5. Все поверхности подвергают трем ударам в каждой точке, которая может оказаться уязвимой.
18.2.5.1. Результаты проведения каждой серии из трех ударов не должны оказывать влияния на результаты проведения последующих серий ударов.
18.2.5.2. Если возникает сомнение в том, что повреждение получено в результате проведения предыдущей серии ударов, это повреждение не принимают во внимание, а серию из трех ударов, которая повлекла за собой возникновение повреждения, проводят в этом же месте на новом образце, который должен выдержать испытание.
18.2.6. Сигнальные лампочки и их колпаки подвергают испытанию только тогда, когда они выступают относительно кожуха более чем на 10 мм, или если площадь их поверхности превышает 4 см2, при условии, что они не являются частью органа управления; в противном случае их испытывают так же, как органы управления.
18.3. Исключен.
18.4. Альтернатива проверки сопротивления удару
В некоторых странах минимальные размеры металлического листа или металлического покрытия, указанные в таблицах 18.4-1 и 18.4-2, рассматривают как удовлетворяющие требованиям 18.2 и установленные настоящим стандартом испытания не проводят.
Без поддерживающей рамы <1> | С поддерживающей рамой или эквивалентным упором <1> | Минимальная толщина, дюйм (мм) |
Максимальная ширина <2>, дюйм (см) | Максимальная длина <3>, дюйм (см) | Максимальная ширина <2>, дюйм (см) | Максимальная длина <3>, дюйм (см) | Без покрытия | С металлическим покрытием |
4,0 (10,2) | Не ограничена | 6,25 (15,9) | Не ограничена | | |
4,75 (12,1) | 5,75 (14,6) | 6,75 (17,1) | 8,25(21,0) | | |
6,0 (15,2) | Не ограничена | 9,5 (24,1) | Не ограничена | | |
7,0 (17,8) | 8,75 (22,2) | 10,0 (25,4) | 12,5 (31,8) | | |
8,0 (20,3) | Не ограничена | 12,0 (30,5) | Не ограничена | 0,032 (0,81) | 0,034 (0,86) |
9,0 (22,9) | 11,5 (29,2) | 13,0 (33,0) | 16,0 (40,6) | | |
12,5 (31,8) | Не ограничена | 19,5 (49,5) | Не ограничена | 0,042 (1,07) | 0,045 (1,14) |
14,0 (35,6) | 18,0 (45,7) | 21,0 (53,3) | 25,0 (63,5) | | |
18,0 (45,7) | Не ограничена | 27,0 (68,6) | Не ограничена | 0,053 (1,35) | 0,056 (1,42) |
20,0 (50,8) | 25,0 (63,5) | 29,0 (73,7) | 36,0 (91,4) | | |
22,0 (55,9) | Не ограничена | 33,0 (83,8) | Не ограничена | 0,060 (1,52) | 0,063 (1,60) |
25,0 (63,5) | 31,0 (78,7) | 35,0 (88,9) | 43,0 (109,2) | | |
25,0 (63,5) | Не ограничена | 39,0 (99,1) | Не ограничена | 0,067 (1,70) | 0,070 (1,78) |
29,0 (73,7) | 36,0 (91,4) | 41,0 (104,1) | 51,0 (129,5) | | |
33,0 (83,8) | Не ограничена | 51,0 (129,5) | Не ограничена | 0,080 (2,03) | 0,084 (2,13) |
38,0 (96,5) | 47,0 (119,4) | 54,0 (137,2) | 66,0 (167,6) | | |
42,0 (106,7) | Не ограничена | 64,0 (162,6) | Не ограничена | 0,093 (2,36) | 0,097 (2,46) |
47,0 (119,4) | 59,0 (149,9) | 68,0 (172,7) | 84,0 (213,4) | | |
52,0 (132,1) | Не ограничена | 80,0 (203,2) | Не ограничена | 0,108 (2,74) | 0,111 (2,82) |
60,0 (152,4) | 74,0 (188,0) | 84,0 (213,4) | 103,0 (261,6) | | |
63,0 (160,0) | Не ограничена | 97,0 (246,4) | Не ограничена | 0,123 (3,12) | 0,126 (3,20) |
73,0 (185,4) | 90,0 (228,6) | 103,0 (261,6) | 127,0 (322,6) | | |
<1> При ссылке на таблицы 18.4-1 и 18.4-2 поддерживающая рама должна представлять собой конструкцию из уголков или швеллеров или фальцованную жесткую прочно прикрепленную секцию металлических листов, которая имеет примерно те же внешние размеры, что и кожух, и обладает достаточным сопротивлением к изгибающим моментам, которым она может быть подвергнута через поверхность кожуха, когда кожух искривлен. Конструкция, рассматриваемая как имеющая эквивалентную прочность, может быть изготовлена как одно целое путем жесткого закрепления на раме из уголков или швеллеров. Конструкциями без поддерживающей рамы считают: a) обычный лист с формованными фланцами или краями, b) обычный гофрированный или упрочненный лист, c) слабо закрепленный на раме, например пружинными зажимами, кожух. <2> Ширина - наименьший размер прямоугольного металлического листа, являющегося составной частью кожуха. Прилегающие поверхности кожуха могут иметь общие упоры и могут быть изготовлены из простого листа. <3> Термин "Не ограничена" применяют только в том случае, если край поверхности представляет собой окантованный не менее чем на 12,7 мм торец или если он закреплен на прилегающих поверхностях, которые не снимают при нормальной эксплуатации. <4> Стальной лист для кожуха, предназначенного для эксплуатации вне помещения, должен иметь толщину не менее 1/2 дюйма (0,86 мм), если он не покрыт ничем. |
Таблица 18.4-2
Размеры металлического листа для алюминиевых,
медных или латунных кожухов
Без поддерживающей рамы <1> | С поддерживающей рамой или эквивалентным креплением <1> |
Максимальная ширина <2>, дюйм (см) | Максимальная длина <3>, дюйм (см) | Максимальная ширина <2>, дюйм (см) | Максимальная длина <3>, дюйм (см) | Минимальная толщина, дюйм (мм) |
3,0 (7,6) | Не ограничена | 7,0 (17,8) | Не ограничена | |
3,5 (8,9) | 4,0 (10,2) | 8,5 (21,6) | 9,5 (24,1) | |
4,0 (10,2) | Не ограничена | 10,0 (25,4) | Не ограничена | 0,029 (0,74) |
5,0 (12,7) | 6,0 (15,2) | 10,5 (26,7) | 13,5 (34,3) | |
6,0 (15,2) | Не ограничена | 14,0 (35,6) | Не ограничена | 0,036 (0,91) |
6,5 (16,5) | 8,0 (20,3) | 15,0 (38,1) | 18,0 (45,7) | |
8,0 (20,3) | Не ограничена | 19,0 (48,3) | Не ограничена | 0,045 (1,14) |
9,5 (24,1) | 11,5 (29,2) | 21,0 (53,3) | 25,0 (63,5) | |
12,0 (30,5) | Не ограничена | 28,0 (71,1) | Не ограничена | 0,058 (1,47) |
14,0 (35,6) | 16,0 (40,6) | 30,0 (76,2) | 37,0 (94,0) | |
18,0 (45,7) | Не ограничена | 42,0 (106,7) | Не ограничена | 0,075 (1,91) |
20,0 (50,8) | 25,0 (63,4) | 45,0 (114,3) | 55,0 (139,7) | |
25,0 (63,5) | Не ограничена | 60,0 (152,4) | Не ограничена | 0,095 (2,41) |
29,0 (73,7) | 36,0 (91,4) | 64,0 (162,6) | 70,0 (198,1) | |
37,0 (94,0) | Не ограничена | 87,0 (221,0) | Не ограничена | 0,122 (3,10) |
42,0 (106,7) | 53,0 (134,6) | 93,0 (236,2) | 114,0 (289,6) | |
52,0 (132,1) | Не ограничена | 123,0 (312,4) | Не ограничена | 0,153 (3,89) |
60,0 (152,4) | 74,0 (188,0) | 130,0 (330,2) | 160,0 (406,4) | |
<1> При ссылке на таблицы 18.4-1 и 18.4-2 поддерживающая рама должна представлять собой конструкцию из уголков или швеллеров или фальцованную жесткую прочно прикрепленную секцию из металлических листов, которая имеет примерно те же внешние размеры, что и кожух, и обладает достаточным сопротивлением к изгибающим моментам, которым она может быть подвергнута через поверхность кожуха, когда кожух искривлен. Конструкция, рассматриваемая как имеющая эквивалентную прочность, может быть изготовлена как одно целое путем жесткого закрепления на раме из уголков или швеллеров. Конструкциями без поддерживающей рамы считают: a) обычный лист с формованными краями или фланцами; b) обычный гофрированный или упрочненный лист; c) слабо закрепленный, например пружинными зажимами, кожух. <2> Ширина - наименьший размер прямоугольного металлического листа, являющегося составной частью кожуха. Прилегающие поверхности кожуха могут иметь общие упоры и могут быть изготовлены из простого листа. <3> Термин "Не ограничена" применяют только в том случае, когда край поверхности представляет собой окантованный не менее чем на 1/2 дюйма (12,7 мм) торец или когда он закреплен на прилегающих поверхностях, которые не снимают при нормальной эксплуатации. <4> Алюминиевые медные или латунные листы для кожуха, предназначенного для наружного использования (под действием дождя или защищенные от него), должны иметь толщину не менее 0,029 дюйма (0,74 мм). |
18.4.1. Детали, полученные литьем, должны иметь толщину стенки не менее 3 мм, а в местах расположения резьбовых отверстий - не менее 6 мм; однако в деталях, полученных литьем в форму, толщина стенки может быть не менее 1,6 мм для поверхности, площадь которой составляет не более 150 см2, и не менее 2,4 мм - для больших площадей.
18.5. Свободно стоящие управляющие устройства
18.5.1. Свободно стоящие управляющие устройства дополнительно испытывают по 18.5.2 и
18.5.3 с использованием устройства, представленного на
рисунке 4.
18.5.2. Двухметровый гибкий шнур самого легкого типа, установленного в 10.1.4, должен быть соединен с входными зажимами и закреплен соответствующим образом. Управляющие устройства, предназначенные для использования с гибким шнуром, также присоединяют к выходным зажимам двухметровым шнуром самого легкого из предназначенных типов, подключают и располагают в соответствии с рисунком 4.
Образец для испытаний кладут на поверхность из стекла, как показано на рисунке 4, а гибкий шнур подвергают нарастающему натяжению, значение которого не превышает указанное в таблице 11.7.2. Образец как можно медленнее перемещают по стеклянной поверхности до тех пор, пока он не упадет на бетонный пол, покрытый деревянным настилом.
Высота размещения стеклянной поверхности над полом - 0,5 м. Размеры бетонного основания и деревянного настила должны быть достаточными для того, чтобы управляющее устройство оставалось на нем после падения.
Испытание повторяют три раза.
18.5.3. После испытаний образец должен соответствовать требованиям 18.1.5.
18.6. Встроенные в шнур управляющие устройства
18.6.1. Встроенные в шнур управляющие устройства, за исключением свободно стоящих, кроме того, подвергают испытанию во вращающемся барабане (рисунок 5). Ширина барабана должна быть не менее 200 мм и достаточной для свободного падения устройства, оснащенного шнурами, как установлено в 18.6.2.
18.6.2. Управляющие устройства с несъемными шнурами, имеющие крепления типа X, оснащают гибким шнуром или шнуром с наименьшим сечением, значение которого указано в 10.1.4, со свободной длиной около 50 мм. Зажимы затягивают крутящим моментом, равным 2/3 крутящего момента, указанного в 19.1. Устройства с несъемными шнурами с креплениями типов M, Y или Z, следует испытывать со шнуром(ами), заявленным(ми) или представленным(ми) вместе с образцами, при этом шнур(ы) должен(ны) быть обрезан(ны) настолько, чтобы они выходили из устройства на 50 мм.
18.6.3. Образец сбрасывают с высоты 50 см на стальную пластину толщиной 3 мм, при этом число падений должно составлять:
1000, если масса устройства без шнура не превышает 100 г;
500, если масса устройства без шнура более 100, но не более 200 г.
18.6.4. Встроенные в шнур управляющие устройства, у которых масса превышает 200 г, не подвергают испытанию во вращающемся барабане, но подвергают испытанию по 18.5.
18.6.5. Скорость вращения барабана составляет 5 оборотов в минуту, что соответствует 10 падениям в минуту.
18.6.6. После испытания устройство должно соответствовать требованиям 18.1.5. Особое внимание уделяют соединениям гибкого(их) шнура(ов).
18.7. Управляющие устройства со шнуром натяжения
18.7.1. Управляющие устройства со шнуром натяжения, кроме того, испытывают по 18.7.2 и 18.7.3.
18.7.2. Устройство монтируют в соответствии с декларацией изготовителя, шнур подвергают непрерывному натяжению без рывков в течение 1 мин в направлении нормальной эксплуатации, затем в течение 1 мин - в наиболее неблагоприятном направлении, но с отклонением не более 45° от нормального.
18.7.3. Применяемые значения натяжения приведены в таблице 18.7.
Номинальный ток, А | Натяжение, Н |
Нормальное направление | Наиболее неблагоприятное направление |
До 4 включ. | 50 | 25 |
Св. 4 | 100 | 50 |
18.7.4. После испытания устройство оценивают по 18.1.5.
18.8. Управляющие устройства, включаемые ногой
18.8.1. Управляющие устройства, включаемые ногой, подвергают следующему дополнительному испытанию.
18.8.2. Устройство подвергают воздействию натяжения, прикладываемого с помощью круглой пластины из стали диаметром 50 мм. Натяжение увеличивают постепенно от 250 до 750 Н в течение 1 мин; затем его поддерживают на этом уровне в течение 1 мин.
18.8.3. Управляющее устройство, оснащенное соответствующим гибким шнуром, помещают на горизонтальную стальную опору. Натяжение прикладывают три раза, придавая образцу каждый раз другое положение из наиболее неблагоприятных.
18.8.4. После испытания управляющее устройство должно соответствовать требованиям 8.1.5.
18.9. Органы управления и средства управления
18.9.1. Управляющие устройства, оснащенные или предназначенные для оснащения органами управления, должны быть подвергнуты следующему испытанию:
сначала осевое растягивающее натяжение прикладывают в течение 1 мин, пытаясь вытащить орган управления.
Если форма устройства такова, что применение осевого растягивающего натяжения невозможно при нормальной эксплуатации, то испытание не проводят.
Если орган управления имеет такую форму, что применение растягивающего осевого натяжения маловероятно при нормальной эксплуатации, натяжение при испытании составляет 15 Н.
Если форма такова, что применение осевого растягивающего натяжения вероятно при нормальной эксплуатации, натяжение при испытании составляет 30 Н.
Затем прикладывают осевое натяжение в 30 Н в течение 1 мин ко всем органам управления.
18.9.2. Испытания управляющего устройства, предназначенного для работы с органом управления, но представленного на испытания без этого органа, или устройства с легкоудаляемым органом управления проводят, прикладывая к средствам управления растягивающее и сжимающее натяжения в 30 Н.
Примечание - Применение наполнителей и аналогичных материалов, кроме самозатвердевающих смол, не считают удовлетворительным для предотвращения ослабления.
18.9.3. Во время и после каждого из этих испытаний устройство не должно быть повреждено, а орган управления не должен двигаться так, чтобы нарушилось соответствие настоящему стандарту.
19. Резьбовые части и соединения
19.1. Резьбовые части, перемещаемые во время монтажа и технического обслуживания
19.1.1. Резьбовые части, электрические или иные, которые развинчивают при монтаже и техническом обслуживании управляющего устройства, должны выдерживать механические воздействия, возможные при нормальной эксплуатации.
Примечание - К резьбовым частям, развинчиваемым при монтаже или техническом обслуживании управляющего устройства, относят винты зажимов, винты устройств крепления шнура, монтажные и крепежные винты и гайки, обжимные кольца и крепежные винты закрывающих пластин.
19.1.2. Эти части должны быть легко сняты и заменены, если у них полностью стерлась резьба.
Примечание - Конструкции, которые ограничивают полную замену резьбовой части, считают соответствующими настоящему требованию.
19.1.3. Эти части должны иметь метрическую резьбу ИСО или аналогичную.
Примечание - Временно резьбу SI, BA и унифицированную резьбу рассматривают как равную метрической резьбе ИСО. Проверку эквивалентности резьб изучают. До завершения работ все значения крутящего момента, применяемого к резьбе, кроме указанных резьб, должны быть увеличены на 20%.
19.1.4. Если такая часть представляет собой винт и если этот винт может быть элементом другой части, она не должна быть нарезного типа. Она может быть формованного (прессованного) типа. Для резьбы такого типа требования не установлены.
19.1.5. Эти винты могут быть с крупной резьбой (листовой металл) при оснащении соответствующими средствами, предотвращающими их ослабление.
Примечание - Подходящее средство, предотвращающее ослабление винтов с крупной резьбой, содержит пружинную гайку или аналогичную упругую деталь, или резьбу из эластичного материала.
19.1.6. Такие резьбовые части не должны быть из неметаллического материала, если их замена металлической деталью таких же размеров может нарушить соответствие требованиям
разделов 13 и
20.
19.1.7. Эти винты не должны быть из мягкого металла или металла, склонного к ползучести, такого как цинк или алюминий.
19.1.8. Винты, входящие в резьбы из неметаллического материала, должны иметь форму, обеспечивающую правильный ввод винта в соответствующую часть.
Примечание - Требование, касающееся правильного ввода металлического винта в резьбу из неметаллического материала, считают выполненным, если предотвращена опасность перекоса, например с помощью направляющей на винте или углубления в резьбе гайки, которой крепится соответствующая часть, или путем использования винта, у которого удалены начальные витки.
19.1.9. Такие резьбовые части, если их используют во встроенных в шнур управляющих устройствах, передают контактное давление, и если они имеют диаметр менее 3 мм, должны завинчиваться в металл. Если резьбовые части изготовлены из неметаллического материала, они должны иметь номинальный диаметр не менее 3 мм и их не следует использовать для любого электрического соединения.
19.1.10. Соответствие требованиям 19.1.1 - 19.1.9 проверяют осмотром и испытаниями по 19.1.11 - 19.1.15.
19.1.11. Резьбовые части завинчивают и развинчивают:
10 раз - для винтов, которые завинчивают в неметаллический материал;
5 раз - для гаек и других винтов.
19.1.12. Винты, которые завинчивают в резьбу из неметаллического материала, каждый раз полностью вывинчивают и завинчивают снова. Для испытания винтов и гаек для электрических зажимов в зажим помещают провод с наибольшим сечением, установленным в 10.1.4, или с наименьшим сечением, установленным в 10.2.1.
19.1.13. Форма отвертки должна соответствовать головке испытуемого винта.
19.1.14. Провод перемещают после каждого раскручивания части с винтовой резьбой. При испытании не должно быть никакого повреждения, которое могло бы повлиять на последующее использование резьбовой части, например такого, как поломка винта или повреждение головки или гаек.
19.1.15. Испытание проводят с помощью соответствующей отвертки или гаечного ключа, прикладывая плавно без рывков крутящий момент согласно таблице 19.1.
Номинальный диаметр резьбы, мм | Крутящий момент, Н·м |
I | II | III |
До 1,7 включ. | 0,1 | 0,2 | 0,3 |
Св. 1,7 до 2,2 включ. | 0,15 | 0,3 | 0,3 |
" 2,2 " 2,8 " | 0,2 | 0,4 | 0,4 |
" 2,8 " 3,0 " | 0,25 | 0,5 | 0,2 |
" 3,0 " 3,2 " | 0,3 | 0,6 | 0,6 |
" 3,2 " 3,6 " | 0,4 | 0,8 | 0,6 |
" 3,6 " 4,1 " | 0,7 | 1,2 | 0,6 |
" 4,1 " 4,7 " | 0,8 | 1,8 | 0,9 |
| 0,8 | 2,0 | 1,0 |
| - | 2,5 | 1,25 |
Графа I - для металлических винтов без головки, которые не выступают из отверстия, или если ограничен доступ отвертки к основному диаметру винта. Графа II - для других металлических винтов и гаек: - с цилиндрической головкой и с выемкой для специального инструмента, в котором размеры крестообразного пересечения превышают наружный диаметр резьбы; - с головкой, имеющей шлиц или крестообразную прорезь длиной, которая превосходит в 1,5 раза наружный диаметр резьбы; - для металлических винтов с шестиугольной головкой, у которой размер между плоскостями превосходит наружный диаметр резьбы. Графа III - для других винтов из неметаллического материала. |
<1> Гайки и обжимные кольца диаметром более 4,7 мм, которые используют для монтажа с простой втулкой, испытывают, прикладывая крутящий момент в 1,8 Н·м. |
19.2. Токоведущие соединения
19.2.1. Токоведущие соединения, которые не нарушают во время монтажа или технического обслуживания и эффективность и безопасность которых зависит от давления винта, резьбовой части, заклепки или аналогичного элемента, должны выдерживать механические, температурные и электрические воздействия при нормальной эксплуатации.
19.2.2. Токоведущие соединения, которые также могут быть подвергнуты вращению при нормальной эксплуатации (это соединения, имеющие части, неотъемлемые от винтовых зажимов и т.п. или жестко соединенные с ними), должны быть заблокированы от любых перемещений, которые могут нарушить соответствие требованиям
разделов 13 и
20.
Примечания. 1. Требование, касающееся блокировки от перемещений, не означает, что токоведущее соединение должно быть сконструировано так, чтобы были предотвращены вращение и перемещение, при условии, что любое движение соответствующим образом ограничено и не приведет к несоответствию требованиям настоящего стандарта.
2. Соединения, выполненные одним винтом, гайкой или аналогичным способом, считают достаточными, если части защищены от движений механическим взаимодействием между собой или благодаря использованию пружинных шайб и т.п.
3. Требование считают выполненным, если соединение осуществлено посредством заклепки с некруглой ножкой или с ножкой, имеющей форму, соответствующую форме отверстий в токоведущих частях. Соединения, осуществленные с помощью нескольких винтов или заклепок, удовлетворяют этому требованию.
4. Допускается использовать заливочные массы, если эти части соединены так, что не подвержены натяжениям при нормальной эксплуатации.
19.2.3. Токоведущие соединения должны быть сконструированы так, чтобы контактное давление не передавалось через неметаллические материалы, кроме керамических и других неметаллических материалов с эквивалентными характеристиками, если возможное сжатие или деформация неметаллического материала не компенсированы достаточной эластичностью металлических частей.
Примечание - Использование неметаллического материала рассматривают как средство, способствующее стабильности размеров при температуре применения управляющих устройств.
19.2.4. В указанных токоведущих соединениях не следует использовать винты с крупной резьбой, за исключением случаев, когда эти винты непосредственно сжимают токоведущие части одну с другой и имеют соответствующее блокирующее устройство.
19.2.4.1. Винты с крупной резьбой могут быть использованы для обеспечения непрерывности заземления при условии, что для каждого соединения будет использовано не менее двух винтов.
Примечание - В некоторых странах для обеспечения непрерывности заземления допускается использовать один винт, если в зацепление входят не менее двух полных витков. Если используют два винта, в каждом из них в зацепление должно входить не менее одного полного витка.
19.2.5. В токоведущих соединениях могут быть использованы самонарезающие винты, если у этих винтов стандартная полная резьба.
19.2.5.1. Самонарезающие винты можно использовать для обеспечения непрерывности заземления при условии, что для каждого соединения будет использовано по меньшей мере два винта.
Примечание - В некоторых странах для обеспечения непрерывности заземления допускается использование одного винта, если в зацепление входят менее двух полных витков. Если используют два винта, в каждом из них в зацепление должно входить не менее одного полного витка.
19.2.6. В токоведущих соединениях, нормальное функционирование которых зависит от давления, оказываемого на находящиеся в контакте части, все поверхности должны обладать стойкостью к коррозии не меньшей, чем у латуни. Это требование не применяют к элементам, основные характеристики которых могут быть нарушены присутствием покрытия, вредного для их функционирования, таким как биметаллические пластины, которые, если их не защитить покрытием, прижимаются к частям, имеющим соответствующую стойкость к коррозии. Определенную стойкость к коррозии можно получить путем плакировки или аналогичного процесса.
19.2.7. Соответствие требованиям 19.2.1 - 19.2.6 проверяют осмотром. Кроме того, соответствие требованиям 19.2.3 и 19.2.6 проверяют осмотром эластичных металлических частей после проведения испытаний по разделу 17.
20. Пути утечки, воздушные зазоры и расстояния по изоляции
20.1. Значения путей утечки, воздушных зазоров и расстояний по изоляции не должны быть ниже соответствующих значений, указанных в таблице 20.1 или, для некоторых стран, в
таблицах 20.3-1 -
20.3-4.
Таблица 20.1
Значения путей утечки (П) и воздушных зазоров (В)
| Размеры, мм, соответствующие рабочему напряжению <2>, В | Расстояние по изоляции для всех рабочих напряжений <8>, мм |
| св. 50 до 130 включ. | св. 130 до 250 включ. | св. 250 |
П | В | П | В | П | В | П | В |
| | | | | | | | | |
Герметичное состояние | | | - | - | - | - | - | - | - |
Инкапсулированное состояние | | | | | | | | | |
(КИТ >= 700) | 0,4 | 0,4 | 0,8 | 0,8 | 1,3 | 1,3 | 1,7 | 1,7 | - |
Инкапсулированное состояние | | | | | | | | | |
(КИТ <= 699) | 0,45 | 0,4 | 1,4 | 0,8 | 2,0 | 1,3 | 2,0 | 1,7 | - |
Чистая среда | 0,5 | 0,5 | 1,5 | 1,0 | 2,0 | 1,5 | 2,0 | 2,0 | - |
Нормально загрязненная среда | 2,0 | 1,5 | 2,5 | 1,5 | 3,0 | 2,0 | 4,0 | 3,0 | - |
Сильнозагрязненная среда | 3,0 | 1,5 | 3,5 | 2,5 | 4,5 | 3,0 | 6,0 | 4,5 | - |
Загрязненная и влажная среда <9> | - | - | - | - | - | - | - | - | - |
| | | | | | | | | |
Чистая среда | 0,5 | 0,5 | 2,0 | 1,5 | 2,0 | 2,0 | 2,0 | 2,0 | - |
Нормально загрязненная среда | 2,0 | 1,5 | 3,0 | 2,5 | 4,0 | 3,0 | 4,0 | 3,0 | - |
Сильнозагрязненная среда | 3,0 | 2,5 | 4,5 | 3,5 | 6,0 | 4,0 | 6,0 | 4,5 | - |
Загрязненная и влажная среда <9> | - | - | - | - | - | - | - | - | - |
| | | | | | | | | |
Чистая среда | 2,0 | 1,5 | 3,0 | 1,5 | 5,0 | 4,0 | 5,0 | 4,0 | 2,0 |
Нормально загрязненная среда | 3,0 | 2,5 | 6,0 | 2,5 | 8,0 | 6,0 | 8,0 | 6,0 | 2,0 |
Сильнозагрязненная среда | - | - | - | - | - | - | - | - | 2,0 |
Загрязненная и влажная среда <9> | - | - | - | - | - | - | - | - | 2,0 |
| | | | | | | | | |
Чистая среда | 2,0 | 1,5 | 2,0 | 3,0 | 3,0 | 3,0 | 3,0 | 3,0 | 1,0 |
Нормально загрязненная среда | 2,0 | 1,5 | 3,0 | 3,0 | 4,0 | 4,0 | 4,0 | 4,0 | 1,0 |
Сильнозагрязненная среда | - | - | - | | | | | | |
Загрязненная и влажная среда <9> | - | - | - | | | | | | |
Вдоль полного отключения цепи <5> | | | | | | | | | |
Чистая среда | 3,0 | 3,0 | 3,0 | 3,0 | 3,0 | 3,0 | 3,0 | 3,0 | - |
Нормально загрязненная среда | 3,0 | 3,0 | 3,0 | 3,0 | 3,0 | 3,0 | 4,0 | 3,0 | - |
Сильнозагрязненная среда | 3,0 | 3,0 | 3,0 | 3,5 | 4,5 | 3,0 | 6,0 | 4,5 | - |
Загрязненная и влажная среда <9> | - | - | - | - | - | - | - | - | - |
Вдоль микроотключения цепи <5>, <6> | | | | | | | | | |
Чистая среда | 0,5 | 0,5 | 1,2 | 1,0 | 2,0 | 1,5 | 2,0 | 2,0 | - |
Нормально загрязненная среда | 2,0 | 0,5 | 2,5 | 1,5 | 3,0 | 2,0 | 4,0 | 3,0 | - |
Сильнозагрязненная среда | 3,0 | 1,5 | 3,5 | 2,5 | 4,5 | 3,0 | 6,0 | 4,5 | - |
Загрязненная и влажная среда <9> | - | - | - | - | - | - | - | - | - |
Вдоль микропрерывания | Нет иных требований, чем те, которые применяют к зажимам и соединениям, т.е. таких же, как и для рабочей изоляции |
<1> Указанные значения применимы к цепям, которые работают при безопасном сверхнизком напряжении. Значение для рабочей изоляции применяют ко всем классам изоляции. <2> Если рабочее напряжение, указанное для путей утечки и воздушных зазоров, иных чем для рабочей изоляции, ниже номинального напряжения устройства, рабочее напряжение считают равным номинальному. <3> Устройства для оборудования класса II не следует использовать в сильнозагрязненной и влажной среде без дополнительной защиты, обеспечивающей, по меньшей мере, условия нормально загрязненной среды. <4> Для устройств с внутренними цепями, сопротивление которых достаточно для того, чтобы аварийный ток никогда не превышал 0,25 А, если какой-нибудь путь утечки или воздушный зазор этих цепей замкнут накоротко, значения, определенные для среды, иной чем сильнозагрязненная или сильнозагрязненная влажная, могут быть уменьшены до: 0,5 мм для рабочих напряжений до 130 В включ.; 1,0 мм для рабочих напряжений св. 130 до 250 В включ.; 2,0 мм для рабочих напряжений св. 250 В. <5> Если контактный орган изготовлен из такого же материала и сконструирован как сам контактный узел, считают, что он является неотъемлемой частью контактного узла. Считают, что в устройствах с двойным отключением пути утечки и воздушные зазоры между разъединяемыми частями устройства составляют сумму расстояний для каждой части двойного отключения. Для полного отключения каждая часть двойного отключения должна составлять 1/3 требуемого расстояния. <6> Указанные воздушные зазоры не применяют ни при размыкании контактов к межконтактному расстоянию, ни к тем токоведущим частям, при которых воздушные зазоры измеряются при движении контактов; для таких зазоров нет определенного значения. Для зазоров, иных чем между зажимами и соединениями, указанные значения могут быть уменьшены до значения, которое ниже значения межконтактного расстояния, при условии, что эти межконтактные расстояния не будут уменьшены при перемещении соответствующих частей и будут, по меньшей мере, равны: 0,5 мм для рабочих напряжений до 250 В включ.; 1,0 мм для рабочих напряжений св. 250 до 380 В включ.; 2,0 мм для рабочих напряжений св. 380 В. <7> Для двойной изоляции, если одна из двух изоляций удовлетворяет требованиям для усиленной изоляции, требования для второй изоляции не применяют. <8> Требуемое расстояние не обязательно следует измерять только через твердый изоляционный материал; оно может состоять из одной или нескольких толщин твердого изоляционного материала плюс один или несколько воздушных промежутков. <9> Значения не установлены. <10> Если токоведущая часть является проводом, покрытым слоем лака или эмали, который удовлетворяет требованиям ГОСТ 12.2.006, расстояние может быть уменьшено на 50% для рабочей или основной изоляции и на 25% - для усиленной изоляции. <11> Для рабочей изоляции значение любого воздушного зазора или пути утечки, проходящего через изоляционный материал, имеющий КИТ >= 175, может быть ниже указанного при условии, что в управляющем устройстве отсутствует дефект (с точки зрения настоящего стандарта), снижающий безопасность оборудования, в которое встроено управляющее устройство или неотъемлемой частью которого оно является, если эти пути утечки и воздушные зазоры по очереди замыкать накоротко. <12> Пути утечки и воздушные зазоры между зажимами для наружных проводов фиксированной проводки и между этими зажимами, кроме зажимов заземления, и прилегающими металлическими частями должны быть не менее: 6,0 мм для номинальных напряжений не более 250 В; 8,0 мм для номинальных напряжений св. 250 до 380 В включ.; 9,5 мм для номинальных напряжений св. 380 В. |
20.1.1.1. Для управляющих устройств с приборным вводом измерения проводят два раза: с введенным соответствующим соединителем или вилкой и без соединителя или вилки.
20.1.1.2. Для зажимов, предназначенных для присоединения наружных проводов, измерения проводят два раза: с проводами наибольшего сечения по 10.1.4 и без проводов.
20.1.1.3. Для зажимов, предназначенных для присоединения внутренних проводов, первое измерение проводят с проводами наименьшего сечения по 10.2.1, а второе - без проводов.
20.1.2. Подвижные части помещают в наиболее неблагоприятное положение; гайки и другие резьбовые части, винты с некруглой головкой устанавливают в наиболее неблагоприятное положение; съемные части удаляют.
20.1.3. Управляющее устройство монтируют или размещают в одном из положений, указанных изготовителем; когда измеряют воздушные зазоры между частями, находящимися под напряжением, и доступными металлическими частями, одну из резьбовых частей, упомянутых в 19.1, затягивают как можно сильнее; в этих условиях значения воздушных зазоров не должны быть ниже 50% значения, указанного в соответствующей таблице.
20.1.4. Расстояния через щели и отверстия на поверхностях изоляционного материала измеряют относительно механической фольги, плотно прижатой к поверхности. Фольгу вталкивают в углы и аналогичные места с помощью стандартного испытательного пальца (рисунок 2), но не вдавливают в отверстия.
20.1.5. Стандартный испытательный палец вводят в отверстия, как установлено в 8.1. Значение расстояния по изоляции между токоведущими частями и металлической фольгой не должно быть ниже указанных значений.
20.1.6. В случае необходимости при измерении усилие прикладывают к любой точке оголенных токоведущих частей, доступных перед установкой управляющего устройства, и к наружным частям поверхностей, доступных после монтажа, в направлении уменьшения путей утечки, воздушных зазоров и расстояний по изоляции.
20.1.6.1. Усилие прикладывают посредством стандартного испытательного пальца, а значение этого усилия составляет:
2 Н - для оголенных токоведущих частей;
30 Н - для доступных поверхностей.
20.1.7. При измерении путей утечки для любого паза, ширина которого менее 1/3 требуемого воздушного зазора или 1 мм в зависимости от того, что меньше, определяющим является только значение его ширины. Не принимают в расчет при определении общего зазора воздушный зазор менее 1/3 требуемого или 1 мм (в соответствии с наименьшим из этих двух значений).
20.1.8. Определенные стандартом значения не применяют к путям утечки и воздушным зазорам между токоведущими частями с одинаковой полярностью, но которые приобретают различный потенциал под действием импеданса, намеренно включенного в цепь. Значения путей утечки и воздушных зазоров должны удовлетворять требованиям 20.2.
Примечание - Примером такого намеренного включения импеданса может быть биметаллический чувствительный элемент, соединенный последовательно с нагрузкой.
20.2. Пути утечки и воздушные зазоры между токоведущими частями с одинаковой полярностью, но в работе достигающими различного потенциала, не должны стать причиной возникновения электрических напряжений, превышающих:
100 В/мм - для путей утечки;
200 В/мм - для воздушных зазоров.
20.2.1. Эти промежутки должны быть, не менее:
0,5 мм - для путей утечки;
0,25 мм - для воздушных зазоров.
20.2.2. Эти размеры неприменимы, если короткое замыкание рассматриваемого пути утечки или воздушного зазора не влечет никакого повреждения, которое бы нарушило соответствие требованиям настоящего стандарта. Одновременно производят только одно короткое замыкание.
20.2.3. Соответствие требованию проверяют осмотром и измерением.
Примечание - Концы практически плоских биметаллических пластин считают частями, неспособными перемещаться одна относительно другой.
20.3. В некоторых странах требования, примечания и
таблицы 20.3 применяют вместо требований, примечаний и
таблиц 20.1.
20.3.1. Значения путей утечки и воздушных зазоров не должны быть ниже указанных в одной из следующих таблиц: 20.3-1 -
20.3-4.
Примечание - В стандартах на конкретное устройство должно быть указано, какую таблицу следует применять.
Таблица 20.3-1
Пути утечки (П) и воздушные зазоры (В)
| Размеры, мм, соответствующие рабочему напряжению <1>, <5>, <9>, <12>, В | Расстояние по изоляции для всех рабочих напряжений <8>, мм |
| св. 50 до 150 включ. | св. 150 до 300 включ. | св. 300 до 440 включ. |
П | В | П | В | П | В | П | В |
Чистая среда | 1,6 | 1,6 | 1,6 | 1,6 | 1,6 | 1,6 | 6,4 | 6,4 | - |
Нормально загрязненная среда | 1,6 | 1,6 | 1,6 | 1,6 | 1,6 | 1,6 | 6,4 | 6,4 | - |
Чистая среда | 1,6 | 1,6 | 1,6 | 1,6 | 1,6 | 1,6 | 6,4 | 6,4 | - |
Нормально загрязненная среда | 1,6 | 1,6 | 1,6 | 1,6 | 1,6 | 1,6 | 6,4 | 6,4 | - |
Дополнительная изоляция <3>Чистая среда | | | | | | | | | |
Нормально загрязненная среда | | | | | | | | | |
Вдоль полного отключения цепи <3>Чистая среда | | | | | | | | | |
Нормально загрязненная среда | | | | | | | | | |
Чистая среда | | | | | | | | | |
Нормально загрязненная среда | | | | | | | | | |
| | | | | | | | | |
Таблица 20.3-2
Пути утечки (П) и воздушные зазоры (В)
| Размеры, мм, соответствующие рабочему напряжению <1>, <5>, <9>, <12>, В |
до 50 включ. | св. 50 до 150 включ. | св. 150 до 300 включ. | св. 300 до 450 включ. | св. 450 до 660 включ. |
П | В | П | В | П | В | П | В | П | В |
Рабочая изоляция при мощности, В·А: | | | | | | | | | | |
св. 2000 | 6,4 | 3,2 | 6,4 | 3,2 | 9,5 | 6,4 | 12,7 | 9,5 | 12,7 | 9,5 |
св. 0 до 2000 включ. <13> | 3,2 | 1,6 | 3,2 | 1,6 | 3,2 | 1,6 | 9,5 | 4,8 | 9,5 | 4,8 |
| 6,4 | 3,2 | 6,4 | 3,2 | 6,4 | 3,2 | - | - | - | - |
| 6,4 | 3,2 | 6,4 | 3,2 | 6,4 | 3,2 | 6,4 | 6,4 | 6,4 | 6,4 |
Основная изоляция при мощности, В·А: | | | | | | | | | | |
св. 0 до 2000 включ. <13> | 6,4 | 3,2 | 6,4 | 3,2 | 9,5 | 6,4 | 12,7 | 9,5 | 12,7 | 9,5 |
| 3,2 | 1,6 | 3,2 | 1,6 | 3,2 | 1,6 | 9,5 | 4,8 | 9,5 | 4,8 |
| 6,4 | 3,2 | 6,4 | 3,2 | 6,4 | 3,2 | - | - | - | - |
Дополнительная <3> изоляция | | | | | | | | | | |
| | | | | | | | | | |
|
|
Между любой частью, находящейся под напряжением, и кожухом, включая арматуру, при мощности, В·А: св. 0 до 2000 включ. | 12,7 6,4 | 12,7 6,4 | 12,7 6,4 | 12,7 6,4 | 12,7 6,4 | 12,7 6,4 | 12,7 12,7 | 12,7 12,7 | 12,7 12,7 | 12,7 12,7 |
Между зажимами для фиксированного крепления и между зажимом и заземленной металлической частью, исключая кожух | 6,4 | 6,4 | 6,4 | 6,4 | 9,5 | 6,4 | 12,7 | 9,5 | 12,7 | 9,5 |
Пути утечки и воздушные зазоры для безопасного
сверхнизкого напряжения при передаваемой мощности
максимум 100 В·А, мм
Место измерения | От 0 до 30 В включ. |
Пути утечки | Воздушные зазоры |
Рабочая изоляция | 0,8 | 0,8 |
Основная изоляция | 0,8 | 0,8 |
Дополнительная изоляция <3> | | |
| | |
Вдоль микроотключения цепи <2>, <8> | 0,8 | 0,8 |
Вдоль микропрерывания цепи <2>, <8> | 0,8 | 0,8 |
Между любой подключенной к источнику питания частью и кожухом <4> | 3,2 | 3,2 |
Между зажимом для фиксированной проводки и кожухом или нейтральной металлической частью, которая может быть заземлена после установки | 6,4 | 6,4 |
Между зажимами для фиксированной проводки | 6,4 | 6,4 |
Пути утечки (П) и воздушные зазоры (В)
для изолированных ограничивающих вторичных цепей,
при передаваемой мощности максимум 100 В·А, мм
Место измерения | До 600 В включ. | Св. 600 до 1000 В включ. |
П | В | П | В |
Рабочая изоляция | 1,6 | 1,6 | 4,8 | 4,8 |
Основная изоляция | 1,6 | 1,6 | 4,8 | 4,8 |
Дополнительная изоляция <3> | | | | |
| | | | |
Между подключенной к источнику питания неизолированной частью и видимой, не подключенной к источнику изолированной металлической частью | 6,4 | 3,2 | 9,5 | 6,4 |
Вдоль микроотключения цепи <2>, <8> | 1,6 | 1,6 | 4,8 | 4,8 |
Вдоль микропрерывания цепи <2>, <8> | 1,6 | 1,6 | 4,8 | 4,8 |
Между любой подключенной к источнику питания частью и кожухом, в том числе арматурой <4> | 6,4 | 6,4 | 12,7 | 12,7 |
<1> Для изоляции иной, чем рабочая, если рабочее напряжение через пути утечки и воздушные зазоры ниже номинального напряжения управляющего устройства, рабочее напряжение считают равным номинальному. <2> Если материал, из которого изготовлен контактный орган, и его конструкция аналогичны материалу и конструкции контакта, контактный орган рассматривают как составную часть контакта. <3> Значения не установлены. <4> Пути утечки и воздушные зазоры не применяют к металлическому кожуху для управляющих устройств, предназначенных для установки внутри оборудования. <5> Для управляющих устройств с действием типа 1 пути утечки и воздушный зазор между зажимами для соединения с фиксированными проводами противоположных полярностей и между такими зажимами и заземленной или доступной металлической частью, не находящейся под напряжением, не должны быть меньше 6,4 мм, если выступающие жилы могут явиться причиной короткого замыкания или заземления. <6> Таблицу применяют для управляющих устройств с действием типа 2, работающих при безопасном сверхнизком напряжении, если короткое замыкание в таком устройстве может вызвать опасную работу управляемого оборудования. <7> Пути утечки и воздушный зазор в противоположных сторонах выключающего механизма будут соответственно 1,6 и 0,8 мм. Это не относится к точкам контакта и указанным исключениям, касающимся безопасного сверхнизкого напряжения и изоляционных ограничивающих вторичных цепей. <8> Эти значения не применяют для точек контакта. <9> Для управляющих устройств с действием типа 2 пути утечки и воздушный зазор между зажимами для соединения с фиксированными проводами, независимо от полярности, и между таким зажимом и не подключенной к источнику питания металлической частью (включая кожух), которая может быть заземлена при установке устройства, должны быть 6,4 мм или более, если это установлено в таблицах 20.3. <10> Таблицу применяют для управляющих устройств с действием типа 2, используемых в изолированных ограничивающих вторичных цепях, если короткое замыкание между частями, независимо от полярности, не вызовет опасной работы управляемого оборудования. Эти значения применяют только к пространству между элементами рассматриваемой цепи или между этими элементами и не подключенными к источнику питания металлическими частями. Никакие уменьшения пространства для других цепей оборудования не признаются. Если короткое замыкание между соответствующими частями вызывает опасную работу, применяют только нормальные значения. Для управляющих устройств с действием типа 1 в изолированных ограничивающих вторичных цепях пути утечки и воздушные зазоры не определены между токоведущими неизолированными частями с противоположной полярностью и между этими частями и не подключенной к источнику питания металлической частью, которая может быть заземлена при обслуживании. Вместо значения путей утечки и воздушных зазоров используют удовлетворительный результат, полученный при испытании на электрическую прочность по разделу 13 и на износостойкость по разделу 17. <11> Для рабочих напряжений ниже или равных 300 В пути утечки и воздушные зазоры могут быть сведены к 1,2 мм только в закрытых точках (таких, как конструкция винт - гайка изолированного зажима в металлической части). <12> Таблицу не применяют для безопасного сверхнизкого напряжения. <13> Применяют для управляющих устройств промышленного назначения, таких как устройства для бойлерных и электропечей для ферм, или устройств для наружного применения, включая управляющие устройства для вентиляторов, насосов или турбин; а также применяют к системам с нагревом сопротивлением; к таймерам, электроклапанам, соленоидам, пусковым обмоткам микрокомпрессоров и т.п. Исключается управление мотор-компрессором, устройствами, ограничивающими температуру, давление и т.п., или устройствами, подверженными конденсации или воздействию воды при размораживании, как это может случиться внутри холодильной или морозильной камеры или снаружи системы кондиционирования. <14> Применяют для управляющих устройств холодильных установок и систем безопасности, включая терморегуляторы с блокировкой для самоочищающихся печей. <15> Применяют для управляющих устройств водонагревателей, включая устройства ограничения температуры воды. |
20.3.3. Минимальные размеры, взятые из
таблиц 20.3, следует выдерживать как при изготовлении, так и в течение всего срока эксплуатации оборудования.
20.3.4. Для цепей с безопасным сверхнизким напряжением управляющие устройства с действием типа 2, классифицированные по
6.4.2, должны иметь промежутки, указанные в
таблице 20.3-3, если короткое замыкание между частями может вызвать опасную работу управляемого оборудования. В других случаях требования к промежуткам не устанавливают.
Примечание - Для управляющих устройств с действием типа 1 в цепях с безопасным сверхнизким напряжением пути утечки и воздушные зазоры между неизолированными токоведущими частями с противоположной полярностью и между такими частями и не подключенной к источнику питания металлической частью, которая может быть заземлена во время работы, не устанавливают.
20.3.5. Для изолированных ограничивающих вторичных цепей управляющие устройства с действием типа 2, классифицированные по
6.4.2, могут иметь пути утечки и воздушные зазоры ниже установленных в
таблицах 20.3-1 и
20.3-2, но не ниже установленных в
таблице 20.3-4, если короткое замыкание запутавшихся частей без учета полярности не вызовет опасной работы управляемого оборудования. Эти значения применимы только между элементами, составляющими соответствующую цепь, или между этими элементами и не подключенной к источнику питания металлической частью. Не допускается никакого уменьшения значений в других цепях оборудования.
20.3.5.1. Для управляющих устройств с действием типа 1 в изолированных ограничивающих вторичных цепях пути утечки и воздушные зазоры между неизолированными токоведущими частями с противоположной полярностью и между этими частями и не подключенной к источнику питания металлической частью, которая может быть заземлена во время обслуживания, не ограничивают. Вместо требований к путям утечки и воздушным зазорам применяют результаты испытаний на электрическую прочность по
разделу 13 и испытаний на износостойкость по
разделу 17.
20.3.6. Соответствие требованиям проверяют осмотром и измерениями. Измеренные расстояния должны быть не менее указанных в таблицах 20.3.
Примечание - В этом разделе не принимают во внимание изменения размеров, вызванные применением различных технологий изготовления или систем контроля продукции, так как каждое возможное изменение будет зависеть от многих факторов и будет отличаться одно от другого.
20.3.7. Для управляющих устройств с приборным вводом или приборной вилкой измерения проводят дважды: с введенным соединителем и без него.
20.3.7.1. Для управляющих устройств, у которых один или несколько зажимов предназначены для соединения наружных проводов, измерения проводят дважды: с проводами наибольшего сечения, определенного в 10.1.4, и без проводов.
20.3.8. Подвижные части помещают в наиболее неблагоприятное положение; гайки, части с резьбой и винты с некруглой головкой зажимают в наиболее неблагоприятном положении.
20.3.9. Если устройство монтируют или размещают в одном из положений, установленных изготовителем, воздушные зазоры между токоведущими и доступными металлическими частями также измеряют в положении, когда одна из упомянутых в 10.1 частей с резьбой выкручена до максимума; в этих условиях значения воздушных зазоров не должны быть ниже 50% значения, указанного в соответствующей таблице.
20.3.10. Расстояния через щели или отверстия на доступных поверхностях из изолирующего материала измеряют до металлической фольги, прижатой к доступным поверхностям. Фольгу вталкивают в углы и аналогичные места стандартным испытательным пальцем (рисунок 2), но не вдавливают в отверстия.
20.3.11. Стандартный испытательный палец вводят в щели, как указано в 8.1; расстояние по изоляции между токоведущими частями и металлической фольгой должно быть не менее установленного.
20.3.12. При необходимости, во время измерения прикладывают усилие к любой точке оголенных промежуточных соединений токоведущих частей, которая доступна испытательному пальцу во время монтажа или подключения управляющего устройства, и снаружи любой доступной поверхности в направлении уменьшения путей утечки и воздушных зазоров. Усилие прикладывают посредством испытательного пальца, значение этого усилия составляет:
2 Н - для оголенных проводов;
30 Н - для доступных металлических и доступных неметаллических поверхностей.
20.3.12.1. Указанные значения не применяют к путям утечки и воздушным зазорам для токоведущих частей в цепи, шунтированной резистором, последовательно включенным в питающую цепь в качестве ограничителя напряжения и тока таким образом, что эту цепь не считают ни цепью низкого напряжения, ни вторичной изолированной цепью.
20.3.13. Пути утечки и воздушные зазоры на зажимах электропроводки для наружных проводов измеряют, оснащая соответствующими проводами и присоединяя к зажимам как при нормальной эксплуатации; их значения должны быть не ниже значений, установленных в таблицах 20.3.
20.3.14. Если кожух из-за его размеров, формы или материала не считают достаточно жестким для того, чтобы гарантировать минимальные отклонения, может возникнуть необходимость в увеличении путей утечки и воздушных зазоров.
Примечание - В настоящем стандарте кожух рассматривают как неотъемлемую часть управляющего устройства.
20.3.15. За исключением указанного в
20.3.16, пути утечки и воздушные зазоры в таких комплектующих изделиях, как щелчковый выключатель, патрон электролампы, электродвигатель или часовой двигатель, устанавливают в стандартах на соответствующие комплектующие изделия.
20.3.15.1. Пути утечки и воздушные зазоры, отделяющие одно комплектующее изделие от другого или от кожуха, равно как и пути утечки и воздушные зазоры между зажимами электропроводки, устанавливают в соответствии с требованиями настоящего раздела.
20.3.15.2. Промежутки от сетевого предохранителя и держателя предохранителя должны быть измерены при установленном предохранителе, имеющем максимальные стандартные размеры, и эти расстояния не должны быть ниже установленных в
таблице 20.3-2 для строки "св. 2000 (В·А)".
20.3.16. В выключателе, таком как щелчковый, являющемся частью управляющего устройства с действием типа 2, пути утечки и воздушные зазоры должны соответствовать требованиям настоящего раздела.
20.3.17. Если изоляция обеспечена разделительной перегородкой или прокладкой, то их толщина должна быть не менее 0,71 мм. Разделительная изоляционная перегородка или прокладка в воздухе или в масле при значении воздушного зазора, равном не менее половины требуемого, могут иметь толщину не менее 0,33 мм при условии, что разделительная изоляционная перегородка или прокладка изготовлены из соответствующего изоляционного материала, влагостойкого, с достаточной механической прочностью, закреплены и размещены так, что не могут быть повреждены при работе оборудования, в частности при образовании электрической дуги.
20.3.18. Изоляционная перегородка или прокладка, являющиеся единственным разделителем между токоведущими и заземленными частями или между токоведущими частями с противоположной полярностью, должны быть из материала, используемого для монтажа неизолированных токоведущих частей, и иметь толщину не менее 0,71 мм. В противном случае разделительную перегородку следует использовать совместно с воздушным зазором, равным 0,8 мм.
Примечание - Можно использовать изоляцию меньшей толщины, чем указана в
20.3.17 и
20.3.18, если она подходит для применения в данном случае и безопасность равна безопасности, обеспечиваемой при применении толщины, указанной в
20.3.17.
20.3.19. При проверке путей утечки и воздушных зазоров по настоящему стандарту эмалированные провода считают токоведущими неизолированными частями.
20.3.20. Тип изоляции, если она требуется в пространстве между обмоткой магнитных катушек и другими неизолированными токоведущими частями и заземленными металлическими частями, может быть отличным от типа, требуемого в
20.3.18. Тип и толщина изоляции в точках пересечения изоляции токоведущих проводов, как и изоляции под зажимами катушки, прикрепленными к обмотке, могут не соответствовать требованиям
20.3.18 при условии, что катушка выдержит испытание на электрическую прочность между ее концами после разрыва внутреннего провода в том месте, где он проникает в слой, или испытание на противоположные полярности. Применение испытательного потенциала должно быть согласовано с требованиями
раздела 13.
20.3.21. Все неизолированные токоведущие части, присоединенные к различным цепям, должны быть отделены друг от друга промежутками в соответствии с требованиями для частей противоположной полярности; проверку проводят в соответствии с требованиями для самого высокого напряжения.
20.3.21.1. Монтажное пространство любой цепи должно быть изолировано или отделено перегородкой от монтажного пространства, внутренней проводки и оголенных токоведущих частей любой другой цепи с другим напряжением.
20.3.21.2. Изоляция одного монтажного пространства от другого и от оголенных токоведущих частей устройства, присоединенных к различным цепям, может быть осуществлена путем такого размещения отверстий в кожухе для различных проводов относительно зажимов или других оголенных токоведущих частей, которые позволят избежать смешивания проводов или частей различных цепей.
20.3.21.3. Для проверки соответствия устройства требованиям 20.3.21.1 проводка должна быть осуществлена как при обслуживании; при этом каждый провод внутри кожуха должен быть ослаблен настолько, насколько возможно, но не более, чем в среднем надо, чтобы уложить требуемую часть провода в отсек для проводки.
20.3.21.4. Если устройство имеет несколько отверстий, причем их количество превышает необходимый минимум, проводка должна быть осуществлена последовательно всеми возможными способами, чтобы проверить, могут ли провода, которые введены с другой стороны по отношению к зажимам, к которым они должны быть присоединены, войти в контакт с изолированными проводами или оголенными токоведущими частями, включенными в другую цепь.
20.3.21.5. Если число отверстий в кожухе не превышает необходимое число для правильной проводки устройства и если каждое отверстие находится напротив колодки зажимов, считают, что провода, которые входят в каждое отверстие, будут присоединены к зажимам напротив отверстия.
20.3.22. Для того чтобы проверить, что характеристики устройства будут не более 2000 В·А относительно промежутков, указанных в
таблицах 20.3, потребляемая мощность (в вольт-амперах) устройства должна быть суммирована с потребляемой мощностью (в вольт-амперах) управляемого оборудования. Следовательно, сумма потребляемых мощностей и характеристик его включения составляет величину, которую используют для проверки того, что номинальная характеристика находится внутри предела в 2000 В·А.
20.3.22.1. Для многополярного или многоходового устройства вольт-амперную характеристику определяют суммой максимальной потребляемой мощности устройства и максимальной нагрузки, одновременно контролируемой в какой-то момент.
20.3.22.2. На щитах со многими составными элементами промежутки между элементами и одним из элементов и кожухом или другими неизолированными не подключенными к источнику питания металлическими частями, кроме монтажной поверхности элементов, должны быть основаны на максимальном напряжении и сумме характеристик (в вольт-амперах) щита управления, а не на характеристиках каждого составного элемента. Промежутки внутри одного элемента, такого как реле или температурное управляющее устройство (включая расстояние от токоведущей части до монтажной поверхности, кроме кожуха), определяют на основе ограничений для индивидуального компонента в вольт-амперах.
20.3.23. Разделение цепей
Примечание - Изолированные провода различных цепей внутри устройства, если они не оснащены изоляцией, которая пригодна для самого высокого предполагаемого напряжения, должны быть разделены перегородками или другим способом, но, в любом случае, отделены от неизолированных токоведущих частей, подключаемых к различным цепям.
Разделение изолированных проводов следует проводить с помощью хомутов, распределителей или аналогичными средствами, обеспечивающими отделение от изолированных или неизолированных частей различных цепей.
| | Применение на добровольной основе раздела 21 обеспечивает соблюдение требований Федерального закона от 22.07.2008 N 123-ФЗ "Технический регламент о требованиях пожарной безопасности" (Приказ Росстандарта от 16.04.2014 N 474). | |
| | Применение на добровольной основе раздела 21 обеспечивает соблюдение требований Федерального закона от 22.07.2008 N 123-ФЗ "Технический регламент о требованиях пожарной безопасности" (Приказ Ростехрегулирования от 30.04.2009 N 1573). | |
21. Теплостойкость, огнестойкость и стойкость к образованию токоведущих мостиков
21.1. Общие требования
Все неметаллические части управляющего устройства должны быть стойки к теплу, огню и образованию токоведущих мостиков.
Соответствие требованию проверяют по 21.2, за исключением независимо монтируемых устройств, которые испытывают по 21.3.
21.2. Устройства, встроенные в шнур
Указанная ниже последовательность должна соответствовать расположению неметаллической части и приведенной в декларации категории.
Примечание - Указания, касающиеся категорий, даны в
Приложении F.
21.2.1. Для частей, которые доступны после того, как устройство смонтировано соответствующим образом, и искривление которых может привести к нарушению безопасности устройства, проводят испытание давлением шарика по 21.2.5, за которым следует:
- или испытание горизонтальным пламенем по пункту G1 Приложения G;
- или (при отсутствии специальных образцов, которые необходимы согласно указанному пункту, или при отсутствии очевидности, что материал выдерживает испытание, или если специальные образцы не выдержали испытание) испытание раскаленной проволокой по пункту G2 Приложения G при температуре 550 °C.
21.2.2. Для частей, удерживающих в определенном положении токоведущие части, кроме электрических соединений, проводят испытание давлением шарика по 21.2.6, за которым следует:
- или испытание горизонтальным пламенем по пункту G1 Приложения G;
- или (при отсутствии специальных образцов, которые необходимы согласно указанному пункту, или при отсутствии очевидности, что материал выдерживает испытание, или если специальные образцы не выдержали испытание) испытание раскаленной проволокой по пункту G2 Приложения G при температуре 550 °C.
21.2.3. Для частей, которые поддерживают в определенном положении электрические соединения, испытание проводят в соответствии с указанными категориями устройств.
Категория A:
испытание давлением шарика по 21.2.6, за которым следует:
- или испытание горизонтальным пламенем по пункту G1 Приложения G;
- или (при отсутствии образцов, которые необходимы согласно указанному пункту, или если специальные образцы не выдержали испытание, или при отсутствии очевидности, что материал выдерживает испытание) испытание раскаленной проволокой по пункту G2 Приложения G при температуре 550 °C.
Категория B:
испытание давлением шарика по 21.2.6, за которым следует:
- или испытание горизонтальным пламенем по пункту G1 Приложения G;
- или (при отсутствии специальных образцов, которые необходимы согласно указанному пункту, или при отсутствии очевидности, что материал выдерживает испытание, или если специальные образцы не выдерживают испытание) испытание раскаленной проволокой по пункту G1 Приложения G при температуре 550 °C.
Кроме того, все другие неметаллические части, образующие часть устройства и расположенные в пределах 50 мм от частей, поддерживающих токоведущие части, должны выдержать испытание игольчатым пламенем по пункту G3 Приложения G.
Категория C:
испытание давлением шарика по 21.2.6, за которым следует испытание раскаленной проволокой по пункту G2 Приложения G при температуре 750 °C.
Категория D:
испытание давлением шарика по 21.2.6, за которым следует испытание раскаленной проволокой по пункту G2 Приложения G при температуре 850 °C.
21.2.4. Для всех других частей (кроме декоративных украшений, кнопок и других частей, настолько небольших, что они не могут быть испытаны раскаленной проволокой, и, следовательно, возгорание которых маловероятно, для которых не требуется проводить никаких испытаний):
- или испытание горизонтальным пламенем по пункту G1 Приложения G;
- или (при отсутствии специальных образцов, которые необходимы согласно указанному пункту, или при отсутствии очевидности, что материал выдерживает испытание, или если специальные образцы не выдерживают испытание) испытание раскаленной проволокой по пункту G2 Приложения G при температуре 550 °C.
Примечание - Если иное не указано в стандарте на конкретное устройство, диафрагмы, прокладки, уплотнительные кольца сальников не подвергают испытанию по настоящему пункту.
21.2.5. Первое испытание давлением шарика
Испытание давлением шарика проводят с помощью устройства, приведенного на рисунке 6.
Предварительно части, подвергаемые испытанию, выдерживают в течение 24 ч в атмосфере, имеющей температуру от 15 до 35 °C и относительную влажность от 45% до 75%.
Поверхность части, подвергаемой испытанию, размещают горизонтально и давят на нее силой 20 В с помощью стального шарика диаметром 5 мм. Толщина образца должна быть не менее 2,5 мм; при необходимости укладывают два или более слоев части, подвергаемой испытанию.
Испытания проводят в термокамере при наибольшей из температур:
на (20 +/- 2) °C [(15 +/- 2) °C - для устройств, предназначенных для встраивания в приборы, входящие в область распространения ГОСТ 27570.0] больше максимальной температуры, измеренной при испытаниях по разделу 14;
(75 +/- 2) °C;
при температуре в соответствии с декларацией.
Перед началом испытаний подставка и шарик должны иметь указанную температуру.
Через 1 ч шарик извлекают из образца, образец охлаждают приблизительно до температуры помещения путем погружения его на 10 с в холодную воду. Диаметр отпечатка шарика не должен превышать 2 мм.
Примечание - Испытание не проводят на частях, изготовленных из керамических материалов.
21.2.6. Второе испытание давлением шарика
Испытание проводят по 21.2.5, но температура в термокамере должна составлять
, где
равно большему из значений:
100 °C, если
составляет 30 °C и выше, но не превышает 55 °C;
125 °C для устройств, предназначенных для встраивания в приборы, входящие в область распространения ГОСТ 27570.0 (за исключением встраиваемых в шнуры), и для других устройств, когда
составляет 55 °C и более, но не превышает 85 °C;
, если
и более;
на 20 °C больше максимальной температуры, достигнутой при испытаниях по разделу 14, если при этом получают более высокое значение температуры.
Примечание - Испытание не проводят на частях, изготовленных из керамических материалов.
21.2.7. Стойкость к образованию токоведущих мостиков
Все неметаллические части, для которых определены пути утечки между токоведущими частями различной полярности, между токоведущими частями и заземленными металлическими частями и между токоведущими частями и доступными поверхностями (если это требуется по разделу 20), должны быть стойкими к образованию токоведущих мостиков в соответствии с декларацией.
Примечание - Требования даны в стандартах на конкретное устройство или оборудование.
Устройства, предназначенные для работы при сверхнизком напряжении, не подвергают испытанию на стойкость к образованию токоведущих мостиков.
Примечание - Внутри устройства различные части могут иметь различные значения КИТ в соответствии с микроусловиями окружающей среды.
Соответствие требованию проверяют испытаниями по пункту G4 Приложения G, проводимыми при следующих напряжениях, В:
100;
175;
250;
400;
600.
Примечание - Для целей настоящего испытания близость искрящихся контактов не рассматривают как фактор, повышающий осаждение наружного проводящего материала, как это считают при испытаниях по
разделу 17, за которыми следует испытание на электрическую прочность по
разделу 13, а считают достаточным определение воздействия осаждения внутри устройства.
21.3. Независимо монтируемые устройства управления
21.3.1. Предварительное кондиционирование
Предварительное кондиционирование устройств проводят в термокамере перед проведением испытаний по
21.3.2 -
21.3.5 следующим образом:
- если не указаны пределы температуры 1 x 24 ч при (80 +/- 2) °C, при этом цепь включающей части и приводной механизм не подключают, а съемные крышки удаляют;
- если указанные пределы температуры не превышают 85 °C 1 x 24 ч при (80 +/- 2) °C при отсоединенных цепях включающей части и приводном механизме и без крышек и 6 x 24 ч при

- с крышками и присоединенной цепью выключающей части и приводным механизмом;
- если указанные пределы температуры превышают 85 °C 6 x 24 ч при

с крышками и присоединенной цепью включающей части и приводным механизмом.
21.3.2. Изоляционные части, поддерживающие части, находящиеся под напряжением, должны соответствовать требованиям к категории B или D.
21.3.3. Доступные неметаллические части должны соответствовать требованиям
21.2.1.
21.3.4. Другие неметаллические части должны соответствовать требованиям
21.2.4.
21.3.5. Независимо монтируемые устройства должны соответствовать требованиям
21.2.7.
| | ИС МЕГАНОРМ: примечание. В официальном тексте документа, видимо, допущена опечатка: пункт 17.1.1 отсутствует. | |
21.4. Управляющие устройства, в которых применены трубчатые ртутные выключатели, предназначенные для подключения к рабочим силовым цепям, как это указано в
2.1.3, должны выполнять соответствующие действия при испытании их последовательно соединенными со стандартным, невосстанавливаемым предохранителем при напряжении постоянного тока, указанном для испытаний по 17.1.1, за исключением того, что может быть использован переменный ток с неиндуктивной нагрузкой, если устройство предназначено только для переменного тока. Номинальные характеристики предохранителя и мощность испытательной цепи - по таблице 21.4.
Таблица 21.4
Условия короткого замыкания ртутного выключателя
Напряжение испытательной цепи, В | Максимальное значение параметров | Переключаемый конденсатор, ток, А | Минимальное значение тока, А, для предохранителя <1>, <2> |
0 - 125 | 126 - 250 | 251 - 660 |
0 - 250 | 2000 В·А | 1000 | 20 | 15 | - |
0 - 250 | 30 А | 3500 | 30 | 30 | - |
0 - 250 | 63 А | 5000 | 70 | 70 | - |
251 - 660 | 63 А | 5000 | - | - | 30 |
<1> Минимальное значение для предохранителя должно быть, по крайней мере, равно току включения или ближайшему стандартному значению, не превышающему четырех значений тока двигателя при полной нагрузке, в амперах, но в любом случае не менее указанного. <2> Для целей настоящего испытания номинальный ток предохранителя составляет 15, 20, 25, 30, 40, 45, 50, 60, 70, 80, 90, 100, 110, 125, 150, 200, 225, 250 А. Допускается применять предохранители с промежуточными номинальными значениями. |
Корпус и другие незащищенные части заземляют, а вокруг всех отверстий в кожухе размещают вату.
Не должно быть возгорания ваты или изоляции проводов, появления пламени или расплавленного металла, за исключением ртути, из футляров для выключателя. Провода, присоединенные к устройству, за исключением трубчатых выводов, не должны быть повреждены. Последовательные срабатывания проводят, чередуя замыкание ртутного выключателя накоротко или замыкание цепи ртутного выключателя любым выключающим устройством.
Не допускается срабатывание выключателя после испытаний.
22.1. Сопротивление ржавлению
22.1.1. Части из черных металлов, включая крышки и кожухи, коррозия которых может нарушить соответствие требованиям настоящего стандарта, должны быть защищены от коррозии.
22.1.2. Это требование не распространяется на термочувствительные элементы и другие части, на функциональные характеристики которых защитное покрытие оказывает неблагоприятное влияние.
22.1.3. Соответствие требованию проверяют следующим испытанием.
22.1.4. Контролируемые части выдерживают в течение 14 дней в атмосфере с относительной влажностью от 93% до 97% и температурой (40 +/- 2) °C.
22.1.5. После высушивания в течение 10 мин в сушильном шкафу при температуре (100 +/- 5) °C на поверхности частей не должно быть признаков коррозии, способной повлиять на соответствие требованиям разделов 8, 13 и 20.
22.1.6. Не принимают во внимание следы ржавчины на кромках и желтоватый налет, исчезающий после протирания.
Примечания. 1. Эмалированные, гальванические, оцинкованные, плакированные и эквивалентные по защитным свойствам покрытия частей считают соответствующими требованиям.
2. Для небольших спиральных пружин и т.п. частей, подвергающихся трению, слой смазки может служить достаточной защитой от ржавчины. Такие части подвергают испытанию только тогда, когда возникает сомнение в эффективности слоя смазки; испытание проводят без предварительного снятия смазки.
23. Подавление радиопомех
Комплектующие изделия, используемые для подавления радиопомех, не должны снижать безопасности управляющего устройства или управляемого им оборудования.
Соответствие требованию проверяют испытаниями по настоящему стандарту.
Примечание - Соответствие требованиям ГОСТ 23511 в большинстве случаев свидетельствует о том, что устройство имеет необходимую степень подавления радиопомех.
24. Комплектующие изделия
24.1. Преобразователи, предназначенные для обеспечения питания от цепей безопасного сверхнизкого напряжения, должны быть безопасного изолированного типа и соответствовать требованиям Приложения C настоящего стандарта.
24.1.1. Для управляющих устройств, в состав которых входит трансформатор в качестве источника питания безопасным сверхнизким напряжением внешних цепей, проводят испытание выходного сигнала при питании первичной обмотки полным номинальным напряжением по
17.2.2,
17.2.3.1 и
17.2.3.2.
При любых безъемкостных условиях (от ненагруженного состояния до короткого замыкания любых или всех вторичных низковольтных зажимов аппаратуры) и без нарушения внутренних соединений значения выходного напряжения вторичной обмотки не должны превышать указанных в
2.1.5.
Выходная мощность вторичной обмотки на зажимах, подключаемых к внешней цепи, не должна превышать 100 В·А, а выходной ток - 8 А после работы в течение 1 мин с шунтированной защитой от сверхтока, при ее наличии.
24.2. Не указанные в
24.1 комплектующие изделия проверяют при испытаниях по настоящему стандарту.
| | ИС МЕГАНОРМ: примечание. Нумерация пунктов дана в соответствии с официальным текстом документа. | |
24.2.2. Однако для комплектующих изделий, которые удовлетворяют требованиям безопасности, установленным соответствующими стандартами, испытания сокращают; при этом:
1) определяют применение комплектующего изделия внутри управляющего устройства, чтобы удостовериться, что условия его применения вошли в те границы, в пределах которых оно было одобрено ранее;
2) проводят испытание в соответствии с требованиями настоящего стандарта в условиях, которые не были проверены при испытаниях комплектующего изделия ранее на соответствие требованиям безопасности, установленным стандартом для этого комплектующего изделия.
| | Применение на добровольной основе раздела 25 обеспечивает соблюдение требований Федерального закона от 22.07.2008 N 123-ФЗ "Технический регламент о требованиях пожарной безопасности" (Приказ Росстандарта от 16.04.2014 N 474). | |
| | Применение на добровольной основе раздела 25 обеспечивает соблюдение требований Федерального закона от 22.07.2008 N 123-ФЗ "Технический регламент о требованиях пожарной безопасности" (Приказ Ростехрегулирования от 30.04.2009 N 1573). | |
26. Работа в условиях помех в сети, при магнитных и электромагнитных возмущениях
| | Применение на добровольной основе раздела 27 обеспечивает соблюдение требований Федерального закона от 22.07.2008 N 123-ФЗ "Технический регламент о требованиях пожарной безопасности" (Приказ Росстандарта от 16.04.2014 N 474). | |
| | Применение на добровольной основе раздела 27 обеспечивает соблюдение требований Федерального закона от 22.07.2008 N 123-ФЗ "Технический регламент о требованиях пожарной безопасности" (Приказ Ростехрегулирования от 30.04.2009 N 1573). | |
27.2. Испытание на перегорание
Устройства, оснащенные электромагнитами, должны выдержать блокирование перемещения управляющего механизма.
Соответствие требованию проверяют испытаниями по 27.2.1 и 27.2.2.
Примечание - Для реле и контакторов соответствие требованию устанавливают после испытаний по
разделу 17.
27.2.1. Управляющий механизм блокируют на неподключенном к питанию устройстве. Затем устройство включают при номинальной частоте и номинальном напряжении согласно
17.2.2,
17.2.3.1 и
17.2.3.2.
Продолжительность испытания - 7 ч или до тех пор, пока внутреннее защитное устройство, при его наличии, не сработает, или пока не произойдет прогорание, в зависимости от того, что произойдет раньше.
27.2.2. После окончания испытаний устройство считают удовлетворяющим требованиям, если:
- пламя или расплавленный металл не распространились и нет очевидного повреждения устройства, нарушающего соответствие требованиям настоящего стандарта;
- выполнены требования
13.2.
Примечание - После испытаний не требуется, чтобы устройство было работоспособным.
27.3. Испытание при повышенном и пониженном напряжении
Устройства, оснащенные электромагнитом, должны работать при любом напряжении от 0,85 до 1,1 номинального напряжения.
Соответствие требованию проверяют следующим испытанием при максимальных и минимальных заявленных условиях; при этом только устройства, для которых
ниже 0 °C, испытывают при
.
Устройство подвергают испытанию при
до достижения теплового равновесия, а затем сразу же проводят испытание до срабатывания при
и номинальном напряжении.
Затем устройство испытывают при
до достижения теплового равновесия и сразу же испытывают до срабатывания при
.
28. Руководство по применению электронного отключения
Рисунок 1. Испытательный стержень
Допуски: на угловые размеры: -10; на линейные размеры: менее 25 мм: -0,05, более 25 мм: +/- 0,2.
Материал испытательного пальца - например жаропрочная сталь.
Оба сочленения пальца могут быть согнуты под углом, град:

, но в одном и том же направлении.
Применение штыря и паза является лишь одним из решений для ограничения угла сгибания до 90°. Поэтому размеры и допуски для этих деталей на рисунке не указаны.
Рисунок 2 <1>. Стандартный испытательный палец
--------------------------------
<1> Рисунок 3 исключен.
| | ИС МЕГАНОРМ: примечание. В официальном тексте документа, видимо, допущена опечатка: пункт 12.7.2 отсутствует. Возможно, имеется в виду таблица в пункте 18.7.3. | |
1 - выходной гибкий кабель; 2 - образец;
3 - входной гибкий кабель; 4 - натяжение
6 - твердая древесина (толщина 23 мм);
7 - бетон (толщина 250 мм)
Рисунок 4. Испытание на удар отдельно стоящих
управляющих устройств
1 - автоматический счетчик падений, останавливающий
вращение после определенного числа оборотов;
2 - стенка толщиной 19 мм или другой подходящий вариант;
3 - приводной клиновидный ремень или другой подходящий
вариант; 4 - облицовка из материала с низким коэффициентом
трения; 5 - окна для наблюдения (могут быть съемными);
6 - стенка толщиной 19 мм или другой подходящий вариант,
может быть съемной; 7 - барабан, вращающийся по часовой
стрелке; 8 - поверхность падения из стали толщиной 3 мм;
9 - центральная точка пересечения осей
Рисунок 5. Вращающийся барабан
1 - сферическая часть; 2 - образец
Рисунок 6 <*>. Устройство для вдавливания шарика
--------------------------------
<*> Рисунок 7 исключен.
1 - полоса из мягкой стали; 2 - направляющая;
3 - подвижный груз; 4 - образец; 5 - латунные шайбы;
6 - крючок для подвески груза; 7 - твердый белый
полировочный войлок; 8 - гайка "барашек"
Рисунок 8. Устройство для проверки стойкости
маркировки к истиранию
1 - образец; 2 - устройство для крепления образца;
3 - ось качания; 4 - хорошо закругленные углы;
5 - направляющая; 6 - форма отверстия в направляющей;
7 - груз
Рисунок 9. Качающийся элемент устройства испытания на изгиб
A - несъемная часть; B - шайба или прижимная пластина;
C - устройство, предохраняющее проводник от выскальзывания;
D - пространство для проводника; E - штифт
Рисунок 10. Винтовые и болтовые зажимы, лист 1
Размеры в миллиметрах
Ток, А, проходящий через зажим | Минимальный диаметр пространства для провода D | Максимальный зазор для поддерживающих провод частей e | Минимальный крутящий момент, Н·м |
для гибкого провода | для жесткого провода | Винт с прорезью | Другие винты |
Один винт | Два винта | Один винт | Два винта |
0 - 6 | 0 - 6 | 1,4 | 1,0 | 0,4 | - | 0,4 | - |
6 - 10 | 0 - 6 | 1,7 | 1,0 | 0,5 | - | 0,5 | - |
10 - 16 | 6 - 10 | 2,0 | 1,5 | 0,8 | - | 0,8 | - |
16 - 25 | 10 - 16 | 2,7 | 1,5 | 1,2 | 0,5 | 1,2 | 0,5 |
25 - 32 | 16 - 25 | 3,6 | 1,5 | 2,0 | 1,2 | 2,0 | 1,2 |
- | 25 - 32 | 4,3 | 2,0 | 2,0 | 1,2 | 2,0 | 1,2 |
32 - 40 | 32 - 40 | 5,5 | 2,0 | 2,0 | 1,2 | 2,0 | 1,2 |
40 - 63 | 40 - 63 | 7,0 | 2,0 | 2,5 | 2,0 | 3,0 | 2,0 |
Примечание - Часть, удерживающая проводник на месте, может быть изготовлена из изоляционного материала при условии, что она не принимает участия в передаче контактного давления.
Рисунок не предназначен для применения при конструировании, за исключением тех случаев, когда указаны размеры.
Рисунок 10. Винтовые и болтовые зажимы, лист 2
Рисунок 11. Колонковые зажимы, лист 1
Размеры в миллиметрах
Ток, А, проходящий через зажим | Минимальный диаметр пространства для провода D | Максимальный зазор между поддерживающими частями e | Минимальное расстояние между зажимным винтом и концом полностью введенного провода | Минимальный крутящий момент, Н·м |
для гибкого провода | для фиксированного провода | Винт без головки | Винт с прорезью | Другие винты |
Один винт | Два винта | Один винт | Два винта | Один винт | Два винта | Один винт | Два винта |
0 - 10 | 0 - 6 | 2,5 | 0,5 | 1,5 | 1,5 | 0,2 | 0,2 | 0,4 | 0,4 | 0,4 | 0,4 |
10 - 16 | 6 - 10 | 3,0 | 0,5 | 1,5 | 1,5 | 0,25 | 0,2 | 0,5 | 0,4 | 0,5 | 0,4 |
16 - 25 | 10 - 16 | 3,6 | 0,5 | 1,8 | 1,5 | 0,4 | 0,2 | 0,8 | 0,4 | 0,8 | 0,4 |
25 - 32 | 16 - 25 | 4,0 | 0,6 | 1,8 | 1,5 | 0,4 | 0,25 | 0,8 | 0,5 | 0,8 | 0,5 |
- | 25 - 32 | 4,5 | 1,0 | 2,0 | 1,5 | 0,7 | 0,25 | 1,2 | 0,5 | 1,2 | 0,5 |
32 - 40 | 32 - 40 | 5,5 | 1,3 | 2,5 | 2,0 | 0,8 | 0,7 | 2,0 | 1,2 | 2,0 | 1,2 |
40 - 63 | 40 - 63 | 7,0 | 1,5 | 3,0 | 2,0 | 1,2 | 0,7 | 2,5 | 1,2 | 3,0 | 1,2 |
Примечания. 1. Часть зажима, содержащая резьбовое соединение, и часть, к которой прижимают провод, могут быть отдельными частями, как в случае с подвесным держателем.
2. Форма пространства для провода не обязательно такая, как показано на рисунке, при условии, что в него можно вписать окружность с диаметром, равным минимальному значению D.
3. Минимальное расстояние между винтом и концом полностью введенного провода относится только к зажимам, в которых провод не может пройти насквозь через отверстие.
4. Рисунок не предназначен для применения при конструировании, за исключением тех случаев, когда указаны размеры.
Рисунок 11. Колонковые зажимы, лист 2
A - закрепленная часть; D - пространство для провода
Дно пространства для провода должно быть слегка закруглено таким образом, чтобы обеспечить надежное соединение.
Размеры в миллиметрах
Номер зажима | Минимальный диаметр пространства для провода <1> | Минимальное расстояние между закрепленной частью и концом полностью введенного провода |
0 | 1,4 | 1,5 |
1 | 1,7 | 1,5 |
2 | 2,0 | 1,5 |
3 | 2,7 | 1,8 |
4 | 3,6 | 1,8 |
5 | 4,3 | 2,0 |
6 | 5,0 | 2,5 |
7 | 7,0 | 3,0 |
8 | 8,5 | 4,0 |
<1> Значение крутящего момента равно значению, определенному в таблице 19.1. |
Рисунок 12. Колпачковые зажимы
A - прокладка; B - закрепленная часть; C - штифт;
D - пространство для провода
Рисунок 13a. Зажимы с прижимной планкой
A - блокирующее устройство; B - наконечник или перемычка;
E - закрепленная часть; F - штифт
Рисунок 13b. Зажимы под наконечник
Рисунок 14. Ответная часть зажима (лепесток), лист 1
Размеры в миллиметрах
| Тип соединителя |
2,8 | 4,8 | 6,3 | 9,5 |
| 7,7 | 6,9 | 8,6 | 14,0 |
| 7,0 | 6,2 | 7,9 | 12,0 |
| 3,0 | 5,2 | 6,7 | 8,2 |
l4 | 1,0 +/- 0,2 | 2,5 +/- 0,025 | 3,2 +/- 0,3 | 4,2 +/- 0,3 |
l5 (max) | 0,7 | 1,2 | 1,3 | 1,7 |
l6 (max) | 0,7 | 1,2 | 1,3 | 1,7 |
b1 (отверстие) | | | | |
b1 (прорезь) | | | | |
b2 | 2,8 +/- 0,1 | 4,75 +/- 0,1 | | |
| 2,0 | 2,0 | 2,5 | 2,5 |
| 0,5 +/- 0,025 | 0,8 +/- 0,03 | 0,8 +/- 0,03 | 1,2 +/- 0,03 |
| 0,8 | 1,2 | 1,2 | 1,7 |
k | - | | | |
x | - | 1,0 +/- 0,2 | 1,0 +/- 0,2 | 1,4 +/- 0,2 |
| +0,03 0 | +0,03 0 | +0,03 0 | +0,03 0 |
<1> Для обеспечения достаточного зазора для приемной части, оснащенной трубкой, может возникнуть необходимость увеличить этот размер на 0,5 мм, чтобы быть уверенным, что зажим применен правильно. <2> Длина прорези ( l1 - l4) должна быть, по меньшей мере, равна ее ширине ( b1). <3> Эти допуски выбраны с целью обеспечить возможность применения в качестве части винтового зажима. <4> В области двойной штриховки толщина не должна превышать верхнюю установленную границу для толщины материала. <5> Допуск по плоскостности +/- 0,03 мм применяют к толщине измеряемого материала. <6> Этот размер применяют только к поднятой стороне; на другой стороне допуск по плоскостности применяют по всей ширине лепестка. <7> Этот допуск по плоскостности применяют к поверхности, которая показана двойной штриховкой; эта поверхность не должна иметь выступов или заусенцев, но пустоты и отверстия допустимы, если остальные размерные требования выполняются. |
Рисунок 14. Ответная часть зажима (лепесток), лист 2
Примечания. 1. Лепестки могут состоять из более чем одного слоя материала при условии, что полученная таким образом пластина будет соответствовать требованиям настоящего рисунка.
2. Требования, касающиеся заусенцев и выступов, не установлены.
3. Рисунок не предназначен для применения при конструировании, за исключением тех случаев, когда указаны размеры.
Рисунок 14. Ответная часть зажима (лепесток), лист 3
Рисунок 15. Ответная часть (лепесток)
для нереверсивных соединений
Размеры в миллиметрах
Размер | Тип соединителя |
2,8 | 4,5 | 6,3 | 9,5 |
b (max) | 4 | 6 | 8 | 12,5 |
e (max) | 12 | 12 | 15 | 20 |
| 1 | 2 | 2,5 | 3,2 |
l (max) | 18 | 18 | 22 | 27 |
s (min) | 4,5 | 5 | 6 | 10 |
x (min) <2> | - | 0,9 | 1,2 | 1,7 |
y (max) | 0,5 | 0,5 | 0,5 | 1,0 |
z (max) | 1,5 | 1,5 | 2,0 | 2,0 |
<1> Максимальное отклонение относительно центральной линии лопасти лепестка. <2> Применимо только к зажимам для нереверсивных соединений. |
Примечания. 1. Указанные размеры применяют для обжатых соединений.
2. Размеры для приемной части с трубкой и для зажимов с предварительно изолированной втулкой не установлены.
3. Рисунок не предназначен для применения при конструировании, за исключением тех случаев, когда указаны размеры.
Рисунок 16. Приемная часть лепесткового зажима

- расстояние между токоведущими и другими металлическими
частями, включая доступные изолированные металлические
части;

- расстояние между токоведущими частями, которые
должны быть изолированы одна от другой (различная
к таблице 20.1);

- расстояние между токоведущими
частями, разъединение которых происходит при срабатывании
управляющего устройства (одинаковая полярность);
a - расстояние при полном отключении; b - это расстояние
не определяют между зажимами для стационарной проводки;

- расстояние между токоведущими частями и металлическим
кожухом закрытого управляющего устройства (эти расстояния
не относятся к камерам, рамам или другим неотъемлемым
средствам крепления управляющего устройства, которое
предназначено для монтажа внутри кожуха управляемого
ими оборудования);

- расстояние между токоведущими
частями, расположенными в углублениях между отдельными
управляющими устройствами и монтажной поверхностью.
Это расстояние может быть уменьшено, если предусмотрены
соответствующие уплотнения или перегородки;
1 - металлический кожух; 2 - изолирующая прокладка;
3 - неотъемлемая металлическая часть, которая служит
для монтажа устройства; 4 - монтажная поверхность;
5 - изолированная металлическая часть, не подключенная
к источнику питания; 6 - токоведущая часть;
7 - изоляционный материал
Рисунок 17 <*>. Измерение путей утечки и воздушных зазоров
--------------------------------
<*> Рисунки 18 - 24 исключены.
A и B - измеряемые поверхности
Рисунок 25. Схема измерения тока утечки при рабочей
температуре для однофазных устройств класса II
Рисунок 26. Схема измерения тока утечки
при рабочей температуре для однофазных устройств,
кроме устройств класса II
A и B - измеряемые поверхности
Рисунок 27. Схема измерения тока утечки при рабочей
температуре для трехфазных устройств класса II
Рисунок 28. Схема измерения тока утечки
при рабочей температуре для трехфазных устройств,
кроме устройств класса II
Рисунок 29. Схема измерения тока утечки
при рабочей температуре для однофазных устройств,
кроме устройств класса II
Рисунок 30. Схема измерения тока утечки
при рабочей температуре для двухфазного подключения
устройства к трехпроводному питанию с заземленной
нейтралью, кроме устройств класса II
(обязательное)
СТОЙКОСТЬ МАРКИРОВКИ К ИСТИРАНИЮ
A.1. Маркировка на управляющих устройствах должна быть стойкой к истиранию с точки зрения безопасности и с учетом данной ниже классификации.
A.1.1. Маркировка, не являющаяся обязательной согласно настоящему стандарту.
A.1.2. Обязательная маркировка по настоящему стандарту, но недоступная для потребителя после монтажа или установки устройства в оборудовании.
Эта маркировка должна быть достаточно стойкой к механическим воздействиям в заводских цехах, где производят управляющие устройства, после окончательной проверки, при упаковке, при транспортировании к изготовителю оборудования, а также при монтаже или установке. Маркировка должна оставаться четкой, если ее подвергают воздействию паров или других вредных веществ.
A.1.3. Обязательная маркировка по настоящему стандарту и доступная для потребителя после монтажа или размещения управляющего устройства в оборудовании в условиях нормальной эксплуатации.
Кроме сопротивляемости механическим воздействиям и воздействиям вредных веществ, упомянутых в
A.1.2, эта маркировка должна оставаться четкой в условиях воздействия трения и других воздействий, возможных при нормальной эксплуатации оборудования. Обозначения на кнопках и клавишах должны быть стойкими к постоянным воздействиям оператора. Другая маркировка должна сопротивляться протиранию, полировке и т.п.
Основная часть этого устройства представляет собой диск из белого полировочного войлока (фетра) диаметром 65 мм и толщиной 7,5 мм. Диск заблокирован от вращения и совершает возвратно-поступательные движения по поверхности испытуемого образца с длиной хода 20 мм; силу прижима диска к образцу регулируют соответствующим образом. При испытании диск совершает 12 ходов туда и обратно (т.е. 12 оборотов эксцентрика), осуществляемых приблизительно за 15 с.
Во время испытания несущую поверхность диска покрывают белой абсорбирующей хлопчатобумажной тканью, ворсистой частью наружу.
Для испытания используют следующие растворители:
- жидкое нейтральное моющее средство, полученное путем смешивания алкилсульфоната бензола и неионного моющего средства;
- бензин (алифатический гексановый растворитель с максимальным содержанием ароматических веществ 0,1% по объему, значением каури-бутанола 29, начальной точкой кипения около 65 °C, точкой испарения около 69 °C и удельным весом около 0,68 г/см3);
- воду.
A.2. Соответствие требованиям к маркировке, входящей в классификацию A.1.2, проверяют следующими испытаниями.
A.2.1. Маркировку в течение 4 ч подвергают действию моющего средства, нанесенного каплями на маркированную поверхность.
В конце указанного периода "ореолы" моющего средства смывают тонкораспыленной струей воды при температуре (40 +/- 5) °C или легко протирают влажной тряпкой.
A.2.2. Образец просушивают до полного высыхания при температуре окружающей среды (25 +/- 5) °C.
A.2.3. Обработанный таким способом образец подвергают испытанию с помощью устройства, показанного на рисунке 8, используя сухую ткань и груз массой 250 г.
A.2.4. Затем образец подвергают испытанию на протирание, используя ткань, пропитанную водой, и груз массой 250 г.
A.2.5. Если форма или размещение маркировки не позволяют проводить отбеливание или протирание с помощью устройства (например, если маркировка находится в углублении), испытания по A.2.3 и A.2.4 не проводят.
A.2.6. После такой обработки маркировка должна оставаться четкой.
A.3. Соответствие требованиям к маркировкам, входящим в классификацию A.1.3, проверяют следующими испытаниями.
A.3.1. Маркировку подвергают испытанию на протирание сухой чистой тканью, осуществляемому с помощью устройства (рисунок 8) с грузом массой 750 г.
A.3.2. Затем маркировку протирают тканью, увлажненной водой; масса груза 750 г.
A.3.3. Маркировку в течение 4 ч подвергают воздействию моющего средства, нанесенного каплями на маркированную поверхность. В конце указанного периода "ореолы" моющего средства снимают тонкораспыленной струей теплой воды [температура воды (40 +/- 5) °C] или легко протирают влажной тряпкой.
A.3.4. После высыхания обработанной таким образом поверхности маркировку подвергают испытанию на протирание тканью, смоченной моющим средством; масса груза 750 г.
A.3.5. После стряхивания остатков моющего средства испытание на протирание повторяют с тканью, пропитанной бензином; масса груза 750 г.
A.3.6. Для испытаний по A.3.1 и A.3.5 толщина диска может быть уменьшена, начиная с 7,5 мм, чтобы получить доступ к проверяемой маркировке. Минимальная толщина диска - 2,5 мм, массу груза при этом уменьшают прямо пропорционально уменьшению толщины для сохранения постоянного давления.
A.3.7. После этих испытаний маркировка должна оставаться четкой.
(обязательное)
ИЗМЕРЕНИЕ ПУТЕЙ УТЕЧКИ И ВОЗДУШНЫХ ЗАЗОРОВ
При измерении и расчете путей утечки и воздушных зазоров предполагают следующие допущения (при этом D - требуемый воздушный зазор для рассматриваемых расстояний):
- паз может иметь параллельные, сходящиеся или расходящиеся боковые стенки;
- паз с расходящимися боковыми стенками рассматривают как воздушный зазор в том случае, когда его минимальная ширина превышает D/12, глубина превышает D/2 и ширина у дна превышает D/3 (пример 8);
- любой угол с внутренним углом менее 80° считают шунтированным изолирующей деталью шириной до D/3 или 1 мм (в зависимости от того, что меньше), помещенной в самое неблагоприятное положение (пример 3);
- если расстояние между верхними кромками паза не менее D/3 или 1 мм (в зависимости от того, что меньше), считают, что путь утечки проходит по контуру паза, за исключением случая, указанного в предыдущем образце (пример 2);
- для частей, подвижных относительно друг друга, пути утечки и воздушные зазоры измеряют в наиболее неблагоприятном положении;
- рассчитанный путь утечки никогда не бывает меньше измеренного воздушного зазора;
- воздушный зазор шириной менее D/3 или 1 мм (выбирают меньшее значение) не учитывают при расчете суммарного воздушного зазора;
- если имеются вставные перегородки, пути утечки измеряют через соединение, за исключением случаев, когда части склеены или спаяны так, что попадание влаги или пыли в месте соединения маловероятно.
В примерах (1 - 10) применены следующие обозначения:
....... - путь утечки;
─────── - воздушный зазор.
X = D/3 или 1 мм, выбирают меньшее значение.
Условие: Рассматриваемый путь включает в себя паз любой глубины, шириной менее X.
Правило: Путь утечки и воздушный зазор - это расстояние по "прицельной прямой". Воздушным зазором считают длину "прицельной прямой".
Условие: Рассматриваемый путь включает в себя паз любой глубины, шириной X и более.
Правило: Воздушным зазором считают длину "прицельной прямой". Путь утечки проходит по контуру паза.
Условие: Рассматриваемый путь включает в себя V-образный паз с внутренним углом менее 80° и шириной X и более.
Правило: Путь утечки проходит по профилю паза, но "замыкает накоротко" паз в том месте, где его ширина становится равной X. Воздушный зазор - это длина "прицельной прямой".
Пример 4
Условие: Рассматриваемый путь включает в себя ребро.
Правило: Воздушным зазором считают кратчайшее расстояние по воздуху через вершину ребра. Путь утечки проходит по контуру ребра.
Пример 5
Условие: Рассматриваемый путь включает в себя несклеенное соединение с пазами шириной менее X с каждой стороны.
Правило: Путем утечки и воздушным зазором считают длину "прицельной прямой".
Пример 6
Условие: Рассматриваемый путь включает в себя несклеенное соединение с пазами шириной X и более.
Правило: Воздушным зазором считают длину "прицельной прямой". Путь утечки проходит по контурам пазов.
Пример 7
Условие: Рассматриваемый путь включает в себя несклеенное соединение с пазом на одной стороне шириной менее X и с пазом на другой стороне шириной X и более.
Правило: Воздушный зазор и путь утечки измеряют, как указано на рисунке.
Условие: Рассматриваемый путь включает в себя паз с расходящимися внутренними стенками, глубиной D/2 или более, шириной в самом узком месте более D/12 и шириной у дна D/3 или более.
Правило: Воздушным зазором считают длину "прицельной прямой". Путь утечки проходит по контуру паза. Правило применимо также к внутренним углам, если они менее 80°.
Пример 9
Зазор между головкой винта и стенкой впадины слишком мал и не принимается во внимание.
Зазор между головкой винта и стенкой впадины достаточно велик и принимается во внимание.
(обязательное)
ВАТА, ИСПОЛЬЗУЕМАЯ ДЛЯ ИСПЫТАНИЯ РТУТНОГО ВЫКЛЮЧАТЕЛЯ
C.1. Классификация
Нестерильная.
C.2. Общие требования
Гигроскопическая вата должна быть изготовлена из древесного волокна, отбеленного, свободного от липких примесей и жиров.
C.3. Длина волокна
Не менее 60% волокон по массе должны иметь длину, по крайней мере, 12 мм; не более 10% по массе могут быть длиной 6 мм и менее.
C.4. Гигроскопичность
Образец ваты полностью погружают в воду на 10 с. Образец должен удерживать не менее чем 24 части массы воды.
C.5. Кислотность и щелочность
Влага в вате должна быть нейтральной.
C.6. Горючий остаток
Горючий остаток должен составлять не более 0,2%.
C.7. Растворимый в воде материал
Должен составлять не более 0,2% остатка.
C.8. Жиры
Не должно быть следов голубого, зеленого или коричневого цвета в любом растворе, а осадок не должен превышать 0,7%.
C.9. Красители
Не должно быть очевидного голубого или зеленого оттенка. Допускается незначительный желтый оттенок.
C.10. Другие посторонние вещества
В навеске, взятой для определения длины волокон, не должно быть жирных пятен или металлических частиц.
(обязательное)
Схема цепи для измерения тока утечки - по ГОСТ 27570.0,
приложение G.
(справочное)
КАТЕГОРИИ ТЕПЛО- И ОГНЕСТОЙКОСТИ
F.1. Настоящее описание категорий тепло- и огнестойкости основано на
ГОСТ 27570.0 и дано только для информации. Требования к тепло- и огнестойкости приведены в стандартах на конкретное оборудование.
F.2. Устройства категории A рассчитаны на номинальный ток менее 0,5 А или предназначены для применения в ручных приборах с номинальным током менее 0,5 А, или в приборах, у которых выключатель удерживают во включенном состоянии рукой или непрерывно нагружают рукой.
F.3. Устройства категории B предназначены для применения как взаимоисключающие для устройств категорий C и D.
F.4. Устройства категории C предназначены для применения в приборах, которые работают под надзором и рассчитаны на номинальный ток более 0,5 А.
F.5. Устройства категории D предназначены для применения в приборах, которые работают без надзора и рассчитаны на номинальный ток более 0,5 А.
Части из изоляционных материалов, удерживающие
соединения в определенном положении
┌──────────────────────────┐
│Испытание давлением шарика│
└────────────┬─────────────┘
│
V
┌─────────────────────────────────────────────┐
│ │
V V
┌────────────────────────┐ ┌────────────────────────────────┐
│Испытание горизонтальным│ или │Испытание раскаленной проволокой│
│ пламенем │ │ при температуре 550 °C │
└───────────┬────────────┘ └────────────────┬───────────────┘
│ │
└─────────────────────┬───────────────────────┘
│
V
┌──────────────────┬───────────────────────┬───────────────────┐
│ │ │ │
│ V V V
│ ┌─────────────────────┐ ┌─────────────────────┐ ┌────────────┐
│ │Испытание раскаленной│ │Испытание раскаленной│ │ Испытание │
│ │ проволокой │ │ проволокой │ │ игольчатым │
│ │ при температуре │ │ при температуре │ │ пламенем │
│ │ 750 °C │ │ 850 °C │ └──────┬─────┘
│ └──────────┬──────────┘ └──────────┬──────────┘ │
│ │ │ │
V V V V
Категория A Категория C Категория D Категория B
(обязательное)
ИСПЫТАНИЯ НА ТЕПЛО- И ОГНЕСТОЙКОСТЬ
G.1. Испытание на возгорание
Испытание проводят на специально подготовленных образцах толщиной (3 +/- 0,2) мм в соответствии с ГОСТ 28779.
Для целей настоящего испытания используют метод FH (ПГ); максимальная скорость горения 40 мм/мин.
Если один образец из партии не выдерживает испытания, испытание повторяют на другой партии из пяти образцов, которые должны выдержать испытание.
Если более одного образца не выдерживает испытание, материал бракуют.
G.2. Испытание раскаленной проволокой
Испытанию, если возможно, подвергают устройство в целом. Если невозможно, снимают с устройства необходимую часть и испытание проводят по ГОСТ 27483 со следующими изменениями.
В случае, когда горящие или раскаленные частицы, отделяемые от целого устройства, могут попасть непосредственно вниз на наружную поверхность, испытание проводят, располагая на расстоянии (200 +/- 5) мм ниже места, где конец раскаленной петли входит в образец, белую сосновую доску толщиной около 10 мм, покрытую одним слоем папиросной (тонкой оберточной) бумаги.
G.3. Испытание игольчатым пламенем
Испытание проводят по
ГОСТ 27484 со следующими изменениями.
В случае, когда горящие или раскаленные частицы, отделяемые от целого устройства, могут попасть непосредственно вниз на наружную поверхность образца, испытание проводят, располагая на расстоянии (200 +/- 5) мм ниже места, которое подвергают воздействию пламенем, белую сосновую доску толщиной около 10 мм, покрытую одним слоем папиросной (тонкой оберточной) бумаги. Если образец представляет собой устройство в целом, то само устройство устанавливают в нормальном рабочем положении на сосновой доске, покрытой одним слоем папиросной бумаги, или монтируют над ней. До начала испытаний доску подвергают кондиционированию по методике, указанной в разделе 6 для образцов.
Продолжительность воздействия пламенем горелки на образец
принимают равной (30 +/- 1) с.
Слова "случайного воздействия внешнего источника зажигания" не применяют.
Вслед за словами "сгибать трубку горелки" изложить в новой редакции:
"В начале испытания пламя прикладывают таким образом, чтобы кончик пламени контактировал с поверхностью образца. Во время воздействия пламени горелку не перемещают. Сразу же по истечении указанного времени пламя отводят от образца. Пример расположения горелки при испытании приведен на чертеже 1".
8.5. Испытанию подвергают один образец. Если он не выдержит испытания, испытание повторяют на двух дополнительных образцах, которые должны выдержать испытание.
Если используют лист папиросной бумаги, то он не должен загореться, не должно быть подплавления сосновой доски, незначительное изменение цвета доски во внимание не принимается.
G.4. Проверка контрольного индекса стойкости к образованию токоведущих мостиков
Испытание проводят по
ГОСТ 27473 со следующими изменениями.
Раздел 3.
Слова "Толщина образца должна быть не менее 3 мм; ее записывают в протоколе испытаний" не применяют.
Кроме того,
примечания 2 и
3 также неприменимы при проверке контрольного индекса стойкости к образованию токоведущих мостиков по
пункту 6.3.
Дополнительный абзац.
При испытании по пункту 6.1 значение напряжения выбирают по пункту 30.5.
(обязательное)
ТРЕБОВАНИЯ К ЭЛЕКТРОННЫМ УПРАВЛЯЮЩИМ УСТРОЙСТВАМ
В настоящем приложении даны дополнения для изменения соответствующих разделов настоящего стандарта.
H.2. Определения
H.2.4. Определения, относящиеся к отключению и прерыванию цепи
Примечание - Определения, относящиеся к отключению электронных цепей, и соответствующие требования не установлены.
3. Электронные устройства не оснащают таким разъединением.
3. Электронные устройства не оснащают таким разъединением.
2. Электронные устройства не оснащают таким разъединением.
Дополнительное определение:
H.2.4.6. Электронное отключение - не повторяющееся периодически прерывание цепи с помощью электронного устройства, применяемое для функционального отключения и осуществляемое иным способом, чем образование воздушного зазора, и удовлетворяющее электрическим требованиям не менее чем для одного полюса.
Примечания. 1. Электронное отключение гарантирует, что для всех нечувствительных управляющих устройств функция, контролируемая разрываемой цепью, является безопасной, а для всех чувствительных управляющих устройств контролируемая функция является безопасной в пределах заявленного значения регулирования
(таблица 7.2, позиция 36).
2. Отключение может быть автоматическим или осуществляемым вручную.
3. В отдельных устройствах могут быть отключаемые цепи более чем одного вида.
4. В некоторых случаях электронное отключение не может быть применено. См.
H.28.
H.2.5. Определение типов управляющих устройств в соответствии с их конструкцией
Дополнительные определения:
H.2.5.7. Электронное регулирующее устройство
Электронное регулирующее устройство - регулятор, в составе которого имеется не менее одного электронного устройства.
Электронное устройство - устройство, которое создает динамическую неустойчивость электронов.
Примечание - Основные функции и конструкция основаны на полупроводниковых устройствах, вакуумных трубках и газоразрядной технике.
Электронный узел - группа компонентов, из которых по крайней мере один является электронным устройством, но в котором каждая отдельная часть может быть заменена без повреждения всего узла.
Примечание - Примером является группа компонентов, смонтированных на печатной плате.
Интегральная цепь - электронное устройство, размещенное внутри полупроводникового материала, а взаимосвязь осуществляется по или вдоль поверхности этого материала.
Примечание - Обычно полупроводниковый материал закрыт герметичной капсулой определенной формы.
H.2.7. Определения, касающиеся защиты от поражения электрическим током
Дополнительные определения:
Защитный импеданс - импеданс, расположенный между частями, находящимися под напряжением, и доступными токопроводящими частями, имеющий такие характеристики, что при нормальной эксплуатации и при возможном повреждении оборудования значение тока ограничено безопасным значением.
H.4. Общие положения, относящиеся к испытаниям
H.4.1. Условия испытаний:
Электронные регуляторы испытывают по H.25 и H.26, причем эти испытания проводят перед испытаниями по разделу 21.
Дополнительные пункты:
H.4.1.9. Электронные регуляторы испытывают как электрические, если иное не указано.
H.4.1.10. Когда последовательно проводят несколько испытаний электронных регуляторов, необходимо следить за тем, чтобы на результат каждого последующего испытания не влияли неблагоприятные результаты предыдущего испытания образца, если только нет специальных указаний в настоящем стандарте. Можно заменить образец или его части или использовать дополнительный образец, при необходимости.
Примечание - Количество образцов должно быть минимальным, установленным анализом соответствующих принципиальных схем.
H.4.1.11. Кроме испытаний по разделу 26, при проведении всех остальных испытаний необходимо следить за тем, чтобы в сети питания не возникали помехи от внешних источников, которые могли бы повлиять на результаты испытаний электронных регуляторов.
H.6. Классификация
H.6.4. В соответствии с особенностями автоматического действия
H.6.4.3. Дополнительный пункт:
H.6.4.3.13. Срабатывание, осуществляемое электронным отключением (типы 1.Y и 2.Y).
H.7. Информация
Информация | Раздел или пункт настоящего стандарта | Метод подачи информации |
| | |
36. Пределы регулирования для любого чувствительного элемента, осуществляющего надежное микроотключение или электронное отключение | | Х |
Дополнительные позиции | | |
H.52. Минимальные параметры любого теплогасителя (теплорассеивателя) (например теплового слива), не поставляемого с электронным устройством, но необходимого для его нормальной работы | | Д |
H.53. Тип выходной волны, если ее форма отличается от синусоидальной | | Х |
H.54. Описание формы волны тока утечки, возникающего при повреждении основной изоляции | | Х |
H.55. Параметры электронных устройств или других компонентов цепи, повреждение которых считают маловероятным (см. абзац 1 пункта 27.1.3.1) | | Х |
H.56. Тип выходной волны (волн), возникающей (возникающих) при повреждении электронного устройства или других компонентов цепи (см. перечисление d пункта H.27.1.3) | | Х |
H.57. Влияние на регулируемую выходную мощность (мощности) после повреждения компонента электронной цепи, если она соответствует перечислению пункта H.27.1.3 | | Х |
H.58a. Для являющихся неотъемлемой частью и встроенных электронных управляющих устройств при наличии любой защиты от сетевых помех, магнитных и электромагнитных возмущений, которые проверяют по H.26, должно быть установлено влияние на выходную мощность устройства и его функции всех повреждений, вводимых при каждом испытании | | Х |
H.58b. Для других электронных устройств, кроме неотъемлемых и встроенных, влияние на выходную мощность устройства и его функции повреждений, вводимых при испытании по разделу H.26 | | Х |
H.59. Любое комплектующее изделие, на которое возлагают электронное отключение и которое производит операцию в соответствии с требованиями примечания 14 к таблице 13.2 | | Х |
H.60. Категория (устойчивость к перенапряжению) | | Х |
H.8. Защита от поражения электрическим током
H.8.1. Общие требования
Дополнительные пункты
H.8.1.10. Доступные части не считают частями, находящимися под напряжением, если они отделены от сети питания защитным импедансом.
H.8.1.10.1. Если использован защитный импеданс, ток между частью или частями и каждым полюсом источника питания не должен превышать 0,7 мА (пик) переменного тока или 2 мА постоянного тока:
- для частот, превышающих 1 кГц, предел в 0,7 мА (пик) умножают на частоту в килогерцах, при этом он не должен превышать 70 мА (пик);
- для напряжений более 42,4 В (пик) и до 450 В (пик) включительно емкость не должна превышать 0,1 мкФ;
- для напряжений более 450 В (пик) и до 15 кВ (пик) произведение емкости в микрофарадах на потенциал в вольтах не должно превышать 45 мкКл;
- для напряжений более 15 кВ (пик) произведение емкости в микрофарадах на квадрат потенциала в вольтах не должно превышать 350 мкДж.
Соответствие требованию проверяют измерением.
Напряжение и ток измеряют между каждой доступной частью (или любой комбинацией таких частей) и каждым полюсом источника питания.
Измерительная цепь должна иметь общее сопротивление (1750 +/- 250) Ом и должна быть шунтирована конденсатором так, чтобы постоянная времени цепи составляла (225 +/- 15) мкс.
Примечание - Детально измерительная цепь описана в
Приложении E.
Точность измерительной цепи составляет 5% для всех частот от 20 Гц до 5 кГц. Для частот более 5 кГц необходимо использовать другой метод.
H.11. Требования к конструкции
H.11.2. Защита от поражения электрическим током
Дополнительные пункты:
H.11.2.5. Защитный импеданс должен состоять из двух и более сопротивлений, соединенных последовательно и предназначенных исключительно для целей защиты. Он должен содержать компоненты, в которых вероятность изменения сопротивления в течение срока службы можно не принимать во внимание. Последовательная цепь сопротивлений должна быть подключена между токоведущими и доступными частями и не должна содержать электронных устройств или быть подключенной к таким устройствам.
Сопротивления, используемые для защитного импеданса, должны быть резисторами, в которых возможность короткого замыкания незначительна, например изготовленными из оксидной пленки, металлической пленки, углеродной пленки и одного слоя проволочного сопротивления, имеющего такое покрытие, в котором будет исключено перемещение витков в случае, если виток разомкнется.
Соответствие проверяют:
1) коротким замыканием и размыканием каждого импеданса по очереди;
2) созданием повреждения любой другой части цепи, которая может вызвать максимальный ток утечки при двух неповрежденных защитных импедансах, например повреждением любого компонента цепи, срабатыванием защитного устройства или отключением одного полюса питания.
| | ИС МЕГАНОРМ: примечание. В официальном тексте документа, видимо, допущена опечатка: пункт H.8.1.6 отсутствует. | |
При этих условиях оборудование должно соответствовать требованиям H.8.1.6.
H.11.4. Действия
Дополнительные пункты:
H.11.4.16. Действия типов 1.Y и 2.Y должны срабатывать, производя электронное отключение.
Соответствие требованию проверяют испытаниями по настоящему пункту.
H.11.4.16.1. Испытания проводят на устройстве, подключенном к заявленной максимальной нагрузке, при номинальном напряжении и температуре, равной

.
H.11.4.16.2. Ток, проходящий через электронное отключение, не должен превышать 5 мА или 10% номинального тока в зависимости от того, что меньше.
H.13. Сопротивление изоляции и электрическая прочность
H.13.2. Электрическая прочность
Изоляция или отключение при испытаниях | Испытательное напряжение для рабочих напряжений, В |
до 50 включ. | св. 50 до 130 включ. | св. 130 до 250 включ. | св. 250 до 440 включ. | св. 400 |
Вдоль электронного отключения <14> | 120 | 260 | 500 | 880 | 1320 |
<11> При проведении испытаний необходимо следить за тем, чтобы не было перегрузки компонентов электронных регуляторов.
<12> Для доступных частей, защищенных импедансом, испытания проводят с отключенными компонентами, среднюю точку двух импедансов считают промежуточной металлической частью.
<13> Рабочую изоляцию на печатной плате, подвергающуюся напряжению до 50 В в нормальных условиях эксплуатации, не испытывают по настоящему разделу.
<14> Сначала узел, производящий отключение, отсоединяют от цепи. При необходимости подают мощность, чтобы узел произвел отключение. Затем испытательное напряжение прикладывают к зажимам узла, которые несут токовую нагрузку.
H.17. Износостойкость
H.17.1. Общие требования
Дополнительные пункты:
H.17.1.4. Электронные регулирующие устройства с действием типа 1 не подвергают никаким испытаниям на износостойкость, если нет необходимости в проведении испытаний на износостойкость связанных с ними комплектующих изделий, например с ручным действием, реле и т.п.
H.17.1.4.1. Электронные регулирующие (контролирующие) устройства с действием типа 2 не подвергают испытанию на износостойкость, а проводят термоциклическое испытание по H.17.1.4.2. Это испытание может быть объединено с испытанием любого связанного с этим испытанием компонента, например с ручным действием, реле и т.п., если это возможно.
H.17.1.4.2. Термоциклическое испытание
Целью настоящего испытания является определение цикличности срабатывания компонентов электронной цепи в диапазоне предельных температур, возможных в условиях нормальной эксплуатации, при которых происходит колебание температуры окружающей среды и (или) монтажной поверхности, колебание напряжения питания или переход от рабочих условий к нерабочим и наоборот.
При необходимости это должно быть подробно изложено в стандартах на конкретные устройства.
Основные условия следующие:
a) продолжительность.
14 дней или любая другая продолжительность, указанная в стандарте на конкретное устройство, если она больше.
Для устройств с электронным отключением (типы 1.Y и 2.Y) - 14 дней или время, необходимое для осуществления заявленного количества циклов (
позиции 26 и
27 таблицы 7.2), в зависимости от того, в каком случае продолжительность испытания больше;
b) электрические условия.
Устройство следует нагружать в соответствии с положениями, декларируемыми изготовителем; затем напряжение увеличивают до
, но в течение 30 мин каждого 24-часового периода испытаний напряжение уменьшают до
. Изменение напряжения не должно совпадать с изменением температуры. Каждый 24-часовой период должен включать в себя также не менее одного периода продолжительностью 30 с, в течение которого напряжение питания выключено;
c) температурные условия.
Температура окружающей среды и (или) температура монтажной поверхности изменяется от
до
так, чтобы температура срабатывания компонентов электронной схемы колебалась в указанных пределах. Скорость изменения температуры окружающей среды и (или) монтажной поверхности должна быть 1 °C в минуту, а экстремальную температуру поддерживают в течение примерно 1 ч;
d) скорость срабатывания.
Во время испытания устройство должно работать в соответствии с его технической характеристикой при самой высокой скорости, достигая максимум шести срабатываний в минуту, подвергая компоненты необходимой цикличности в допустимых температурных пределах.
Если технические характеристики, в частности скорость регулирования, могут быть изменены потребителем, время испытаний делят на три периода: один - на максимальной уставке, второй - на минимальной уставке, третий - на средней уставке.
Для устройства с электронным отключением (типы 1.Y и 2.Y) в испытание также входит проведение заявленного количества операций от состояния проводимости до непроводимости и наоборот.
H.17.14. Критерии соответствия
"После испытаний по H.17.6 - H.17.13 и H.17.1.4 с изменениями, приведенными в стандарте на конкретное устройство, устройство считают соответствующим его требованиям, если:"
Ввести дополнительный критерий:
"для устройств с электронным отключением (типы 1.Y и 2.Y) должны быть выполнены требования
H.11.4.16".
H.18. Механическая прочность
H.18.1. Общие требования
Для устройств с электронным отключением (типы 1.Y и 2.Y) должны быть выполнены требования
H.11.4.16.
H.20. Пути утечки, воздушные зазоры и расстояния по изоляции
H.20.1. Дополнительные пункты
H.20.1.9.1. Пути утечки, воздушные зазоры и расстояния по изоляции между токоведущими частями, электрически соединенными с сетью питания, и доступными поверхностями или частями должны соответствовать требованиям
20.1.
H.20.1.9.2. Пути утечки, воздушные зазоры и расстояния по изоляции между токоведущими частями и частями, работающими при безопасном сверхнизком напряжении (SELV), должны соответствовать требованиям
20.1 для двойной или усиленной изоляции, если они не являются путем, пролегающим по заземленному металлу.
H.20.1.9.3. Пути утечки, воздушные зазоры и расстояния по изоляции должны соответствовать:
- вдоль защитного импеданса - требованиям к двойной или усиленной изоляции по
20.1;
- вдоль каждого отдельного компонента защитного импеданса - требованиям к дополнительной изоляции по
20.1.
H.20.1.9.4. Пути утечки и воздушные зазоры по рабочей изоляции должны соответствовать требованиям
20.1, кроме следующего:
H.20.1.9.4.1. Для путей утечки и воздушных зазоров на печатных платах, образуемых рабочей изоляцией для всех категорий загрязнения (кроме оседания грязи или мокрой грязи), имеющей максимальное рабочее напряжение вдоль пути утечки или воздушного зазора 50 В, минимальный размер должен составлять 0,2 мм при условии, что максимальный импульс напряжения вдоль этого расстояния составляет 800 В.
H.20.1.9.4.2. Для рабочей изоляции любые пути утечки и воздушные зазоры вдоль изоляционного материала с контрольным индексом трекингостойкости (КИТ) 175 и более могут быть уменьшены по сравнению с требуемыми при условии, что устройство соответствует требованиям
H.27.1.3 при последовательном закорачивании указанных путей утечки и воздушных зазоров.
H.20.1.9.4.3. Для рабочей изоляции (включая изоляцию между токоведущими частями, которые становятся частями различной полярности из-за действия электронного устройства) требования к путям утечки между частями электронных устройств, электронных узлов, резисторов и конденсаторов не устанавливают при условии, что регулирующее устройство полностью соответствует требованиям
H.27.1.3 при последовательном закорачивании указанных путей утечки и воздушных зазоров.
H.21. Теплостойкость, огнестойкость и стойкость к образованию токоведущих мостиков
H.21.2.6. Второе испытание давлением шарика
"температура, достигаемая при испытании по
H.27.1.3, если она больше приведенной в настоящем пункте".
H.25. Нормальная эксплуатация
Форма выходной волны электронного регулятора должна соответствовать указанной в декларации.
Форму выходной волны регулятора определяют при всех условиях нормальной работы, она должна быть синусоидальной или соответствовать декларируемой в таблице 7.2, позиция H.53.
Заявленные изготовителем отклонения для комплектующих изделий должны быть проверены с точки зрения их влияния на правильное проведение операции электронного отключения (типы 1.Y и 2.Y).
Примечание - Введение указанного требования находится на рассмотрении.
Предполагается рассмотреть влияние на изменение параметров комплектующих изделий, используемых при электронном отключении, различий в национальных правилах, устанавливающих значения коммутируемых нагрузок. Будут оценивать только те параметры, на которые влияют различия в национальных правилах. Кроме того, необходимо будет рассмотреть вопросы: 1) разнообразие заявляемых отклонений для одного и того же комплектующего изделия в различных каталогах; 2) можно ли это требование проверить при типовых испытаниях или при испытаниях, проводимых изготовителем продукции.
H.26. Работа в условиях помех в сети, магнитных и электромагнитных возмущений
H.26.1. Электронные устройства должны быть сконструированы так, чтобы выдерживать воздействие сетевых помех, магнитных и электромагнитных возмущений, возможных при нормальной эксплуатации.
H.26.2. Соответствие требованию проверяют испытаниями по H.26.4 - H.26.12.
Для каждого испытания используют отдельный образец.
Примечание - Применимость каждого испытания к конкретному устройству можно определить по стандарту на конкретное устройство или указаниям изготовителя, относящимся к использованию устройства.
Оценка применимости должна содержать ответы на следующие вопросы:
- будет ли устройство подвергаться конкретному типу помех при использовании;
- будет ли ответное действие устройства на определенный вид помех влиять на безопасность его применения.
H.26.3. После каждого испытания образец должен соответствовать требованиям
H.26.13.
H.26.4. Проверка влияния сигнала напряжения в силовой питающей цепи
Примечание - Требования к влиянию на управляемую выходную мощность сигнала напряжения в силовой питающей цепи и методика проверки этого влияния не установлены.
H.26.5. Проверка влияния падения напряжения и кратковременного прерывания подачи напряжения в силовой питающей цепи
H.26.5.1. Цель испытания - определение области применения.
Примечание - Целью настоящего испытания является подтверждение невосприимчивости оборудования к падению напряжения и кратковременным прерываниям напряжения. Падение и прерывание напряжения имитируют путем повреждения в LV-, MV-, HV-цепях (короткое замыкание или заземление); в частности, падение или прерывание напряжения осуществляют путем медленного переключения выключателя в течение 0,5 с.
H.26.5.2. Характеристики испытательного напряжения
Сначала устройство должно работать при нормальном напряжении, а затем его подвергают падению или прерыванию напряжения по H.26.5.4.
H.26.5.3. Испытуемое оборудование (испытуемый генератор)
Схема возможного устройства приведена на рисунке H.26.5.
Рисунок H.26.5
H.26.5.4. Уровень жесткости условий
Следует применять, как минимум, значения, указанные в таблице:
Сигнал напряжения | Значение напряжения V, % | Продолжительность |
Падение напряжения | 30 | 0,5 с |
60 | 0,5 с |
Прерывание напряжения | 100 | 1 цикл синусоиды |
0,5 с |
60,0 с |
Примечание - В тех случаях, когда промежуточные значения прерывания напряжения могут нарушать безопасность самого устройства или выходной сигнал для устройств типа 2, в стандарте на конкретные устройства могут быть даны напряжения для других точек в интервале от 1 цикла до 60 с.
H.26.5.5. Замечания к процедуре испытания
Примечание - В случае трехфазного оборудования может оказаться необходимым имитировать падение напряжения или на трех фазах одновременно, или на одной или двух фазах.
H.26.5.6. Испытания при снижении напряжения
Устройство испытывают при мощности, возрастающей при повышении напряжения от 20% до 100%

со скоростью 40%

в секунду.
Испытание повторяют 10 раз.
Затем устройство испытывают при мощности, убывающей при снижении напряжения от 100% до 20%

со скоростью 40%

в секунду. Испытание повторяют 5 раз.
H.26.6. Проверка влияния разбаланса напряжения
H.26.6.1. Цель испытания - определение области применения.
Настоящее испытание применимо только к трехфазному оборудованию.
Примечание - Целью настоящего испытания является изучение влияния разбаланса в трехфазной системе напряжения на чувствительность оборудования к такому виду помех, как например:
- перегрев вращающейся машины переменного тока;
- возникновение нехарактеристических гармоник в электронном силовом преобразователе.
Степень разбаланса определяют коэффициенты разбаланса

:

,
где

- отрицательная часть гармоники;

- положительная часть гармоники.
H.26.6.2. Характеристики испытательного напряжения
Частота трехфазного напряжения, подаваемого на устройство, должна быть согласована с коэффициентами разбаланса.
Примечание - Для получения точного результата напряжение должно состоять из очень малого количества гармоник.
H.26.6.3. Испытательное оборудование (испытательный генератор)
Испытательная установка должна состоять из трех однофазных автотрансформаторов, мощность которых регулируется отдельно, или аналогичного оборудования.
H.26.6.4. Уровень жесткости условий
Испытание должно быть проведено при коэффициенте разбаланса 2%.
H.26.7. Проверка влияния постоянного тока в цепях переменного тока
Примечание - Требования к методам испытаний не установлены.
H.26.8. Испытание при пульсации напряжения 1,2/50 мкс и пульсации тока 8/20 мкс
H.26.8.1. Цель испытания - определение области применения.
Настоящее испытание применимо ко всем устройствам. Ему подвергают зажимы силового питания, а в специальных случаях - зажимы устройства.
Примечания. 1. Цель настоящего испытания - подтверждение невосприимчивости оборудования к неуправляемым переходным процессам, обусловленным различными явлениями, к которым относятся:
- эффект включения в силовой цепи (например включение батареи конденсаторов);
- повреждение в силовой цепи;
- дуговой разряд.
2. Подъем напряжения оказывает различное действие в зависимости от соотношения полного сопротивления источника и устройства:
- приводит к пульсации напряжения, если полное сопротивление устройства больше относительно источника;
- приводит к пульсации тока, если устройство имеет относительно низкое полное сопротивление.
3. Такой режим может быть установлен на входной цепи, защищенной устройством подавления сверхнапряжения: пока последнее не разорвет цепь, полное входное напряжение будет высоким. Когда устройство разомкнется, полное входное напряжение станет очень низким. Испытание следует проводить близко к такому режиму, и поэтому испытательный генератор должен обеспечивать пульсацию напряжения при высоком полном сопротивлении и пульсацию тока при низком сопротивлении (гибридный генератор).
H.26.8.2. Характеристики волны
При проведении испытаний должны быть выдержаны следующие параметры:
- генератор разомкнут - пульсация напряжения 1,2/50 мкс (рисунок H.26.8.1);
Рисунок H.26.8.1. Форма волны при разомкнутой цепи
Рисунок H.26.8.2. Форма волны тока разряда
Примечание - В зависимости от полного сопротивления устройства, которое может изменяться в процессе испытания, действительная форма волны напряжения или тока может значительно отличаться от волны с вышеуказанными характеристиками.
H.26.2.3. Испытательное оборудование (испытательный генератор)
Испытательный генератор должен обеспечивать как пульсацию напряжения, так и пульсацию тока определенных формы и значения в зависимости от полного сопротивления управляющего устройства.
Примечание - На рисунке H.26.8.3 представлена схема такого "гибридного" генератора.
Рисунок H.26.8.3. Схема "гибридного" генератора
H.26.8.4. Уровень жесткости условий
Таблица H.26.8.4
Максимальные напряжения
Номинальное напряжение (макс), В | |
I | II | III |
кВ | кА | кВ | кА | кВ | кА |
100 | 0,5 | 0,25 | 0,8 | 0,4 | 1,5 | 0,75 |
300 | 1,0 | 0,5 | 1,6 | 0,8 | 2,5 | 1,25 |
600 | 2,0 | 1,0 | 3,0 | 1,5 | 5,0 | 2,5 |
<1> кВ - для разомкнутой цепи; кА - для короткозамкнутой цепи. <2> Изготовитель в декларации должен указать одну из категорий, которые определяют следующим образом: Категория III. К этой категории обычно относят управляющие устройства, предназначенные для подключения к фиксированной проводке или для встраивания в оборудование, предназначенное для постоянного подключения к фиксированной проводке, если устройство или оборудование не оснащены средствами для подавления переходных напряжений; в последнем случае устройство может быть отнесено к более низкой категории. Категория II. К этой категории обычно относят устройства, подключаемые за соединением "вилка-розетка", или встраиваемые в оборудование, подключаемое за соединением "вилка-розетка". Устройства, предназначенные для постоянного подключения к фиксированной проводке, могут быть также отнесены к этой категории, если в устройстве или оборудовании имеются средства подавления переходного напряжения, такие как средства, ограничивающие напряжение на линейных зажимах или зазоры между проводящими частями. Если контакты устройства сконструированы так, что допускают коммутирование переходного напряжения и выдерживают ток, то они могут обеспечить соответствующее подавление. Например устройства для бытовых приборов. Категория I. К этой категории обычно относят устройства, подключаемые за оборудованием категории II и содержащие, например низковольтные электронные логические системы, изолированные ограничивающие вторичные цепи, цепи с безопасным сверхнизким напряжением и цепи на вторичной стороне трансформатора. <3> В устройствах за частью более низкой категории может следовать часть более высокой(их) категории(ий), если имеются соответствующие средства, регулирующие переходные сверхнапряжения. |
H.26.8.5. Процедура испытания
Управляющее устройство должно быть подключено к соответствующему источнику питания, работающему при номинальном напряжении, имеющему генератор импульсов, соединенный параллельно с зажимами.
Устройство подвергают воздействию пяти импульсов каждой полярности (+, -), подаваемых между любыми наружными проводами и нейтралью, и, если применимо, между наружными проводами с интервалом не менее 60 с.
H.26.9. Испытание на воздействие частых неустановившихся всплесков
Испытание проводят по ГОСТ 29156.
1) Для сигнальных и управляющих зажимов используют значение 0,5 кВ.
2) Для зажимов силового питания используют следующие значения:
VR max, В | Категория |
I кВ | II кВ | III кВ |
100 | 0,5 | 1 | 1 |
300 | 1 | 2 | 2 |
600 | 2 | 2 | 4 |
H.26.10. Испытание на воздействие ударной волны
Примечание - Настоящее испытание является альтернативой испытанию по
H.26.9.
H.26.10.1. Цель испытания - определение области применения.
Примечание - Целью настоящего испытания является определение невосприимчивости оборудования к колебательным процессам (ударной волне), которые возникают в кабеле LV-цепей в жилых или производственных помещениях. Это испытание дополняет испытание на воздействие 1,2/50 мкс колебаний, которое оценивает неустановившиеся процессы в цепях вне помещения (воздушные линии). Энергия, связанная с "ударными волнами", гораздо меньше, чем энергия, связанная с колебаниями; с другой стороны, эти волны могут вызвать нежелательные явления в устройстве при перемене полярности.
H.26.10.2. Характеристика волны
Форма испытательной волны должна состоять из импульса со скоростью роста 0,5 мкс, за которым следует колебание с частотой 100 кГц с таким коэффициентом затухания, при котором каждый последующий пик составляет 60% предыдущего. См. рисунок H.26.10.1.
Рисунок H.26.10.1. Характеристики ударной волны
(напряжение разомкнутой цепи)
H.26.10.3. Испытательное оборудование (испытательный генератор)
Импульсный генератор, используемый в настоящем испытании, приведен на рисунке H.26.10.2.
1 - испытуемый участок
Рисунок H.26.10.2. Схема генератора ударных волн
0,5 мкс/100 кГц
H.26.10.4. Уровни жесткости условий
Таблица H.26.10.4
Номинальное напряжение (макс), В | |
I | II | III |
кВ | R1 | кВ | R1 | кВ | R1 |
100 | 0,5 | 25 | 0,8 | 25 | 1,5 | 2,5 |
300 | 1,0 | 25 | 1,6 | 25 | 2,5 | 2,5 |
600 | 2,0 | 25 | 1,6 | 25 | 2,5 | 2,5 |
|
H.26.10.5. Испытания
R1 = 2,5 Ом обеспечит пиковое значение тока короткого замыкания 500 А;
R1 = 25 Ом обеспечит ток короткого замыкания 200 А.
H.26.11. Испытание на воздействие электростатического разряда
Настоящее испытание проводят в соответствии с ГОСТ 29191.
H.26.12. Испытание на воздействие излучения электромагнитного поля
H.26.12.1. Настоящее испытание проводят по ГОСТ 30375.
H.26.12.2. Цель испытания
Цель испытания - определение невосприимчивости отдельного оборудования или системы к электромагнитным полям, генерируемым передающим устройством или другим устройством, непрерывно излучающим электромагнитные волны. Невосприимчивость оборудования к излучению от ручных радиопередатчиков важна, но здесь подразумеваются другие источники электромагнитных излучений, такие как стационарные радио- и телепередатчики, перевозимые радиопередатчики и различные промышленные источники электромагнитных излучений или пульсаций.
Испытанию подвергают оборудование, используемое в LV-распределительных цепях и на электростанциях. Испытание может быть также проведено на оборудовании, предназначенном для промышленных целей и для LV-цепей в отдельном оборудовании.
Для того чтобы получить сравнимые результаты, испытание следует проводить в лабораторных условиях.
H.26.12.3. Характеристики электромагнитного поля
До начала испытаний в испытательной камере должно быть создано однородное поле, имеющее необходимую частоту и напряженность (необходимо избегать стоячих волн и отражения).
Диапазон частот:
от 10 МГц до 1 ГГц.
H.26.12.4. Испытательное оборудование (испытательный генератор)
Испытательное оборудование должно состоять из следующих частей:
- камеры, создающей однородное поле;
- источника сигналов с усилителем;
- антенны;
- измерительного устройства.
Примечание - Рекомендации для испытательной камеры для частот ниже 30 МГц не установлены.
Для частот более 30 МГц существует несколько типов испытательных камер, для настоящего стандарта рекомендуются следующие:
- камера, обитая изнутри полосами, - для аппаратуры небольших размеров. Она состоит из двух параллельных стенок, закрывающих пространство размерами 80 x 80 x 80 см. Эту камеру используют для аппаратуры размерами не более 25 x 25 x 25 см;
- экранированная комната или заглушенная камера, которые должны быть необходимого размера (для больших устройств).
Сигнал должен перекрывать указанный диапазон частот. Генератор испытательного сигнала должен иметь режим "девиация частоты".
H.26.12.5. Жесткость уровня напряженности поля для частот:
10 кГц - 27 МГц - не установлена;
27 - 500 МГц - 3 В/м;
500 МГц - 1 ГГц - 3 В/м;
более 1 ГГц - не установлена.
Примечания. 1. Значения для частот более 1 ГГц применяют к микроволновым приборам для приготовления пищи.
2. Значения для частот от 10 кГц до 30 МГц применяют к индукционному нагревательному оборудованию.
H.26.12.6. Замечания к испытаниям
Примечание - При испытаниях необходимо отмечать тип и степень модуляции возникающих радиочастот.
H.26.13. Оценка соответствия
H.26.13.2. Кроме того, устройство должно отвечать
Примечания. 1. Соответствие второму альтернативному требованию
H.26.13.2 может сделать устройство в отдельных случаях неприемлемым.
2. В стандартах на конкретное устройство могут быть даны ограничения допустимых влияний на выходной сигнал для определенных видов устройств или выполняемых функций.
H.27. Ненормальная работа
H.27.1. Электронные устройства регулирования следует оценивать для определения влияния повреждения или неправильного функционирования компонентов цепи.
Комплектующие изделия, которые оказались поврежденными в результате накопления напряжений, при необходимости заменяют.
Примечание - Механические комплектующие изделия, такие как выключатели, реле и трансформаторы, не оценивают.
При испытании по настоящему пункту к устройствам с электронным отключением (типы 1.Y и 2.Y) применимы все повреждения, указанные в
приложении 14 к таблице 13.2.
H.27.1.1. Повреждения, указанные в
H.27.1.4, не применяют к цепям или частям цепей, в которых одновременно выполняются следующие условия:
- электронная цепь является маломощной;
- защита от поражения электрическим током, возникновения пожара, механической опасности или опасного неправильного срабатывания в других частях устройства не зависит от правильного функционирования электрической цепи.
Маломощную цепь определяют по рисунку H.27.1.1.
D - точка, наиболее удаленная от источника питания,
в которой мощность, подаваемая на внешнюю нагрузку,
превышает 15 Вт; A и B - точки, ближайшие к источнику
питания, где максимальная мощность, подаваемая
на внешнюю нагрузку, не превышает 15 Вт.
Это маломощные точки
Точки A и B по отдельности соединены накоротко с точкой C.
применимости, создают на каждом из участков в отдельности
Рисунок H.27.1.1. Пример электронной цепи
с маломощными точками
Устройство работает при номинальном напряжении или при верхнем пределе диапазона номинальных напряжений; переменное сопротивление, настроенное на максимальное значение, подключают между исследуемой точкой и противоположным полюсом источника питания.
Затем сопротивление уменьшают до тех пор, пока мощность, потребляемая сопротивлением, не достигнет максимума. Любая точка, ближайшая к источнику питания, в которой максимальная мощность, подаваемая на сопротивление, не превышает 15 Вт к концу пятой секунды (или 50 Вт только для изолированных вторичных цепей трансформатора как отдельных, так и в комбинации к концу 60 с), называется маломощной точкой. Часть цепи, расположенную по отношению к источнику за маломощной точкой, считают маломощной цепью.
Измерения проводят только от одного полюса источника питания, предпочитая тот, который дает наименьшее число маломощных точек.
Примечание - При определении маломощных точек рекомендуется начать с точек, ближайших к источнику питания.
Мощность, потребляемую переменным сопротивлением, измеряют подходящим методом, например с помощью ваттметра.
H.27.1.2. Регулирующее устройство работает при следующих условиях:
a) наиболее неблагоприятном напряжении от 0,9 до 1,1 номинального;
b) погружении - в соответствии с типом нагрузки в пределах декларируемых или измеренных параметров, создающей наиболее плохой эффект;
c) температуре окружающей среды (20 +/- 5) °C, если нет обоснованной необходимости [например как в перечислении b) пункта H.27.1.3] для проведения испытания при другой температуре в декларируемых изготовителем пределах;
d) подключении к электросети, имеющей такой предохранитель, срабатывание которого не влияет на результат испытаний;
e) установке любого органа управления в наиболее неблагоприятное положение.
H.27.1.3. Создают или имитируют наиболее жесткие условия для оцененных совокупных повреждений по H.27.1.4 (но одновременно имитируют только одно повреждение) для тех электронных комплектующих изделий или других компонентов цепи, которые считают поврежденными при следующих условиях:
для компонентов, соответствующих требованиям раздела 14 ГОСТ 12.2.006, устройства проверяют по перечислениям a), c), d), f) и g) настоящего пункта;
для компонентов, не соответствующих требованиям раздела 14 ГОСТ 12.2.006, устройства проверяют по перечислениям a) - d) настоящего пункта.
a) На устройстве не должны появляться пламя, горячий металл или пластик и не должно быть взрыва.
Для регулирующих устройств, встроенных в шнур, и независимо монтируемых устройств соответствие проверяют следующим испытанием.
Кожух с регулирующим устройством внутри оборачивают папиросной бумагой. Устройство работает до достижения установившегося режима или в течение 1 ч в зависимости от того, что произойдет раньше. Не должно быть возгорания бумаги. Внутри кожуха отдельные части могут периодически раскаляться или периодически допускается появление дыма или пламени.
Примечание - В некоторых странах вместо папиросной бумаги используют марлю.
Регулирующие устройства, встроенные или составляющие неотъемлемую часть прибора, следует проверять по методике, указанной выше для отдельных или встроенных устройств, или эти устройства должны быть классифицированы как требующие дополнительной защиты и т.п. в приборе или оборудовании.
b) Температура дополнительной и усиленной изоляции не должна быть более 1,5 значений, указанных в разделе 14, за исключением термопластических материалов.
Не нормирована предельная температура для дополнительной или усиленной изоляции из термопластических материалов; но эту температуру необходимо определить для целей раздела 21.
c) Любые изменения выходной регулируемой величины должны соответствовать значениям, декларируемым по таблице 7.2, позиция H.57.
d) Устройство должно соответствовать требованиям разделов 8 и 13.
e) Не должно быть никаких повреждений различных частей устройства, которые могут привести к нарушению соответствия требованиям раздела 20.
f) Предохранитель в сети, внешний по отношению к испытуемому устройству и ссылка на который дана в перечислении d) пункта H.27.1.2, не должен перегорать, если также не сработает внутреннее защитное устройство, которое доступно только при использовании инструмента.
Считают, что без внутреннего защитного устройства можно обойтись, если образец соответствует следующим требованиям после замены предохранителя в сети:
- изложенным в разделе 20 для путей утечки и воздушных зазоров от активных частей до поверхностей устройства, которые доступны в процессе монтажа в соответствии с его назначением.
H.27.1.3.1. Указания, относящиеся к испытаниям по
H.27.1.3
Следует избегать ненужных испытаний; все усилия должны быть приняты для того, чтобы оценить условия, которые, вероятно, могут привести к несоответствию требованиям настоящего пункта. Такая оценка должна включать в себя изучение принципиальной схемы и имитацию соответствующих условий повреждения с целью проверить, могут ли указанные условия возникнуть.
Комплектующие изделия и электронные устройства, сконструированные так, что короткое замыкание выводов считается невозможным, не закорачивают. Примером могут служить резисторы, типы которых описаны в H.11.2.5, и электронные устройства, имеющие внутренние проводники, которые срабатывают как плавкий предохранитель при повреждении полупроводникового узла. Другие условия повреждения, которые изготовитель считает невозможными, должны быть оценены во всех сопричастных частях, чтобы подтвердить законность мнения изготовителя.
Печатные схемы, на которых выявлены признаки ухудшения при испытаниях, считают склонными к повреждению.
Конденсаторы, соответствующие требованиям ГОСТ 28896 и используемые только для подавления радиопомех, не замыкают и не размыкают.
H.27.1.4. Условия повреждения электронных схем
1) рассоединение цепи на любом выводе;
2) закорачивание любых двух выводов компонента;
3) для интегральных цепей и других электронных устройств, имеющих более двух выводов, размыкание и (или) закорачивание любых комбинаций выводов.
Количество испытаний для интегральных цепей может сделать интегральную схему непригодной для проверки всех соответствующих условий повреждений или оценки возможных повреждений путем изучения принципиальной схемы цепи.
Поэтому первоначально допускается детально проанализировать все возможные механические, температурные и электрические повреждения, которые могут возникнуть в самом устройстве или на его выходе из-за неправильного срабатывания (отказа) электронных устройств или других компонентов цепи отдельно или в любой комбинации.
Если любое из этих повреждений может привести к нарушению соответствия устройства требованиям настоящего пункта, то необходимо проверить, не является(ются) ли это(и) повреждение(я) следствием повреждения интегральной схемы;
4) влияние любого электронного устройства с волной полного типа, такого как симметричный триодный тиристор, переходящий в условия полуволны, контролируемые или не контролируемые (тиристор или диод, соответственно);
5) короткое замыкание любых путей утечки, не соответствующих нормам раздела 20;
6) короткое замыкание маломощной цепи путем соединения маломощной точки с тем полюсом питания, от которого производили измерение.
H.27.1.5. Если нагрузка включает в себя двигатель (см.
6.2.2 или
6.2.5) и повреждение или неправильное срабатывание компонента электронной цепи является причиной изменения формы волны питания регулируемого двигателя, то устройство должно быть подвергнуто следующим испытаниям:
1) нагрузку настраивают при условиях нормальной формы волны на шестикратную номинальную нагрузку или блокируют ротор в соответствии с указаниями изготовителя;
2) затем вводят условия повреждения;
H.27.4. Устройства с электронным отключением (типы 1.Y и 2.Y) должны выдерживать ненормальные условия перенапряжения, которые могут возникнуть.
Соответствие требованию проверяют следующим испытанием.
H.27.4.1. Устройство нагружают по
17.2 и подвергают воздействию напряжения

в течение 5 с, если устройство оснащено электронным отключением.
H.27.4.2. В процессе и после испытания устройство должно осуществлять электронное отключение в соответствии с
H.11.4.16.2.
H.28. Руководство по применению электронного отключения
H.28.1. Основные особенности твердотельных выключающих устройств
H.28.1.1. Примечание - Твердотельные выключающие устройства имеют три главных отличия от своих электромеханических прототипов:
a) после электронного отключения через цепи, контролируемые этими устройствами, продолжает протекать небольшой ток;
b) они более чувствительны к сетевым возмущениям;
c) устройства обладают соответствующей стойкостью в экстремальных температурных пределах, установленных для этих устройств.
H.28.2. Применение твердотельных выключающих устройств
H.28.2.1. Примечания. 1. При использовании электронного отключения может создаться ситуация, когда при работе на пульсирующем напряжении будет проходить только 1/2 цикла частоты питания. Если полная изоляция от сети может быть достигнута при полном отключении, такие устройства могут быть применены в отдельных случаях, даже когда работа на 1/2 цикла является нежелательной.
2. Для бытовых приборов выключение даже на 1/2 цикла волны напряжения питания обычно можно не принимать во внимание. Это несущественно для нагревательных приборов и для большинства электромеханических приборов.
3. Однако для электромеханических приборов, где возможен контакт потребителя с опасными движущимися частями или с частями, которые могут оказаться под напряжением как при нормальном пользовании, так и при обслуживании, осуществляемом потребителем (например чистке), необходимо требовать наличия дополнительных средств защиты или не допускать применения таких устройств. Примерами приборов, для которых не подходит электронное отключение, являются отдельные типы кухонных машин, в которых возможен доступ к движущимся частям или частям, находящимся под напряжением.
ВНИМАНИЕ! Для отдельных приборов с управляющим механизмом подача на контролируемую нагрузку только 1/2 цикла частоты может вызвать вращение двигателя. Также может включиться соленоид.
H.28.2.2. Примечание - Если нагрузкой является высокоомное сопротивление, такое как катушка реле или соленоида, необходимо особое внимание обращать на то, чтобы после электронного отключения ток, проходящий через устройство, был настолько мал, насколько необходимо для полной гарантии отключения нагрузки.
(обязательное)
ТРЕБОВАНИЯ К УПРАВЛЯЮЩИМ УСТРОЙСТВАМ С ТЕРМОРЕЗИСТОРАМИ
Настоящее приложение дополняет или изменяет соответствующие разделы настоящего стандарта.
J.1. Область распространения
"Настоящее приложение применяют к управляющим устройствам с терморезисторами из керамического или полимерного полупроводникового материала.
Примечание - Требования для устройств с терморезисторами из других материалов не установлены.
Настоящий стандарт устанавливает требования к безопасности, рабочей температуре и испытаниям управляющих устройств с терморезисторами как встраиваемыми, так и дистанционными.
Примечание - Терморезисторы могут быть использованы как:
1) контрольные (управляющие) элементы;
2) самоуправляемые нагреватели и т.п. в режиме самонагрева;
3) чувствительные элементы.
В стандартах на конкретные устройства могут быть установлены дополнительные требования к терморезисторам, используемым в качестве законченного управляющего устройства".
J.2. Определения
Дополнительные определения:
J.2.15. Определения, относящиеся к терморезисторам
J.2.15.1. Терморезистор: термочувствительный полупроводниковый резистор, у которого, по крайней мере, на части характеристики "сопротивление/температура" (R/T) наблюдается значительное нелинейное изменение электрического сопротивления при изменении температуры.
Примечание - Температура может изменяться или при протекании тока через терморезистор, или в результате изменения окружающих условий, или при возникновении обеих ситуаций.
Терморезисторы не считают электронными устройствами (см.
Приложение H).
J.2.15.2. PTC-терморезистор: терморезистор, у которого при повышении температуры возрастает сопротивление на всей используемой части R/T-характеристики.
Примечания. 1. Как вторичный эффект в PTC-терморезисторах происходит снижение сопротивления при воздействии напряжения.
2. Обычно в PTC-терморезисторах используемой частью R/T-характеристики является часть, в которой происходит ступенчатое увеличение сопротивления в определенных температурных пределах; ниже этого предела сопротивление изменяется незначительно и постепенно, и аналогично - выше этого предела. В отдельных PTC-терморезисторах R/T-характеристика может иметь отрицательный наклон в последней части, идущей за ступенчатым и следующим постепенным незначительным увеличением сопротивления.
J.2.15.3. NTC-терморезистор: терморезистор, у которого при повышении температуры снижается сопротивление на всей используемой части R/T-характеристики.
J.2.15.4. Терморезисторный управляющий элемент: PTC- или NTC-терморезистор, который непосредственно управляет нагрузкой, будучи подключенным последовательно с ней.
J.2.15.5. Саморегулируемый нагреватель: PTC-терморезистор, который не имеет дополнительных температурных ограничений и который используют как нагревательный элемент благодаря явлению самонагрева.
Примечание - Обычно саморегулируемый нагреватель выполняет действие типа 2.
J.2.15.6. Терморезисторный чувствительный элемент: PTC- или NTC-терморезистор, используемый в качестве детектора и не несущий никакой токовой нагрузки.
J.4. Общие замечания, относящиеся к испытаниям
J.4.3.5. По функциям
J.4.3.5.4. Управляющие устройства с действием типа 1, использующие терморезисторы в качестве термочувствительного элемента, в котором явление самонагрева можно не принимать в расчет, не подвергают испытаниям, установленным для терморезисторов.
J.6. Классификация
J.6.4. В соответствии с особенностями автоматического действия
В соответствии с настоящим стандартом PTC-терморезисторы, используемые как управляющие устройства или как чувствительные элементы, действующие как выключатели (высокое сопротивление), и NTC-терморезисторы, не производящие выключающего действия (высокое сопротивление), считают узлами, выполняющими микропрерывание.
J.6.15. В соответствии с конструкцией
J.6.15.5 - устройства, использующие PTC- и NTC-терморезисторы.
J.6.17. В соответствии с применением терморезистора:
J.6.17.1 - в качестве контролирующего (управляющего) элемента;
J.6.17.2 - в качестве саморегулируемого нагревателя;
J.6.17.3 - в качестве чувствительного элемента.
J.7. Информация
Информация | Раздел или пункт настоящего стандарта | Метод подачи информации |
61. В соответствии с применением терморезистора | | Х |
62. R/T-характеристики <9> | | Х |
63. Отклонение R/T-характеристики <10> | | Х |
| | Х |
| | Х Х |
Дополнительные сноски: <9> R/T-характеристики должны быть представлены в виде графика, таблицы или указания рабочих точек и содержать значения установленного отклонения. <10> Дополнительно может быть указано среднее значение количества циклов для испытаний по J.17.18.2. |
J.12. Влагостойкость
J.12.2. Защита от влаги
Для устройств с действием типа 2, использующих терморезисторы, до и после испытаний проводят R/T-измерения, при этом R/T-характеристики и их отклонения должны находиться в установленных пределах.
Примечание - Измерения должны быть проведены сразу же после испытания, чтобы избежать воздействия окружающей среды.
J.15. Производственный допуск и отклонение
J.17.17. Последовательность испытаний:
a) для устройств с действием типа 1, использующих терморезисторы:
- испытание при повышенном токе (NTC) - J.17.18.6;
b) для устройств с действием типа 2, использующих терморезисторы:
1) проведение R/T-измерений до и после каждого из следующих испытаний:
- циклическая работа на холоде, осуществляемая электрическим путем, - J.17.18.4;
2) испытания устройств с действием типа 1, использующих терморезисторы.
J.17.17.1. После испытаний по J.17.18.1 - J.17.18.4 характеристики устройства не должны ухудшиться, а устройство должно функционировать в соответствии с руководством по эксплуатации.
Примечание - Повреждение других частей устройства в процессе испытаний по
J.17.18.2 -
J.17.18.3 во внимание не принимают.
J.17.17.2. После испытаний по J.17.18.5 и J.17.18.6 соответствие устройства требованиям разделов 8 и 13 не должно быть нарушено. В процессе и после испытаний не должны появляться пламя или выделяться частицы.
Если не указано иное, устройство не оснащают силовым двигателем и не возбуждают при испытаниях по разделу J.17. Испытания в полном объеме проводят на трех образцах, но испытания по J.17.18.3.1 и J.17.18.3.2 могут быть проведены одновременно на отдельных образцах.
Примечание - Испытаниям по
J.17.18.2 -
J.17.18.4 допускается подвергать отдельный терморезистор, помещенный в футляр, изготовленный из материала, примененного в устройстве, или смонтированный в таком футляре, или подключенный к нему.
J.17.18.1. Способ измерения R/T
Примечание - Используемый способ измерения (см.
таблицу 7.2, позиция 65) должен включать в себя анализ влияния самонагрева, теплорассеяния и напряжения, которые могут исказить кривую R/T.
J.17.18.2. Длительная циклическая работа
Терморезисторы должны проработать определенное количество циклов в соответствии с инструкцией изготовителя (таблица 7.2, позиция 64) во всем используемом диапазоне R/T-кривой.
Примечания. 1. Обычно в этот диапазон включают постепенное изменение сопротивления при более низкой температуре и границы температур, в которых происходит ступенчатое изменение сопротивления.
2. Циклическую работу саморегулируемых нагревателей и терморезисторов, используемых в качестве собственно управляющих элементов, осуществляют электрическим путем при максимальном номинальном напряжении и под нагрузкой.
3. Циклическую работу терморезисторов, используемых в качестве чувствительных элементов, осуществляют термическим путем при максимальных номинальных электрических условиях.
J.17.18.3. Температурные условия
J.17.18.3.1. Терморезисторы, работающие в режиме без выключений
Устройство подвергают кондиционированию в невозбужденном состоянии в печи с циркуляцией воздуха в течение 1000 ч при температуре более низкой, чем минимальное значение температуры, при котором происходит ступенчатое изменение сопротивления.
Примечание - Это испытание неприменимо для устройств, использующих терморезистор в качестве саморегулируемого нагревателя.
J.17.18.3.2. Терморезистор, работающий в режиме выключателя
Устройство кондиционируют в невозбужденном состоянии в печи с циркуляцией воздуха в течение 1000 ч при температуре на 30 °C выше границ, в которых происходит ступенчатое изменение сопротивления.
J.17.18.4. Циклическая работа на холоде, осуществляемая электрическим путем
Устройство помещают в камеру при 0 °C или
в зависимости от того, какая температура ниже, и выдерживают, пока все изделие не примет эту температуру. Затем терморезистор должен совершить 1000 циклов при установленных максимальных номинальных электрических условиях во всем значимом диапазоне R/T-кривой.
Примечание - Метод испытаний не установлен.
J.17.18.5. Тепловой пробой
Терморезистор возбуждают и включают в работу при максимальных номинальных условиях до достижения термической стабилизации. Затем напряжение постепенно увеличивают до тех пор, пока не произойдет пробой, или пока оно не достигнет удвоенного рабочего напряжения терморезистора; в этих случаях испытание может быть прекращено.
Примечание - Напряжение увеличивают ступенчато; повышение на 0,1 рабочего напряжения терморезистора каждые 2 мин считают приемлемой скоростью роста.
J.17.18.6. Испытание при повышенном токе
Настоящее испытание применяют к устройствам с NTC-терморезисторами, используемыми как управляющие элементы.
Терморезисторы должны работать при заявленных максимальных номинальных электрических условиях до достижения термической стабилизации. Затем ток, проходящий через элемент, постепенно увеличивают, пока он не достигнет 1,5 максимального рабочего тока терморезистора.
Примечание - Приемлемой скоростью роста тока считают ступенчатое повышение на 0,1 максимального рабочего тока терморезистора каждые 4 мин.
J.20. Пути утечки, воздушные зазоры и расстояния по изоляции
Дополнение
Примечание - В соответствии с настоящим стандартом выступающую поверхность терморезисторного элемента между электродами не считают проводником.