Главная // Актуальные документы // ГОСТ (Государственный стандарт)СПРАВКА
Источник публикации
В данном виде документ опубликован не был.
Первоначальный текст документа опубликован в издании
М.: Стандартинформ, 2015.
Информацию о публикации документов, создающих данную редакцию, см. в справке к этим документам.
Примечание к документу
Текст данного документа приведен с учетом
поправки, опубликованной в "ИУС", N 5, 2016;
поправки, опубликованной в "ИУС", N 12, 2021.
Название документа
"ГОСТ 23747-2015. Межгосударственный стандарт. Блоки дверные из алюминиевых сплавов. Общие технические условия"
(введен в действие Приказом Росстандарта от 12.12.2014 N 2037-ст)
(ред. от 11.08.2020)
"ГОСТ 23747-2015. Межгосударственный стандарт. Блоки дверные из алюминиевых сплавов. Общие технические условия"
(введен в действие Приказом Росстандарта от 12.12.2014 N 2037-ст)
(ред. от 11.08.2020)
агентства по техническому
регулированию и метрологии
от 12 декабря 2014 г. N 2037-ст
МЕЖГОСУДАРСТВЕННЫЙ СТАНДАРТ
БЛОКИ ДВЕРНЫЕ ИЗ АЛЮМИНИЕВЫХ СПЛАВОВ
ОБЩИЕ ТЕХНИЧЕСКИЕ УСЛОВИЯ
Door blocks of aluminium profiles. Specifications
(EN 14351-1:2006, NEQ)
(EN 1191:2012, NEQ)
(EN 1192:1999, NEQ)
ГОСТ 23747-2015
| | Список изменяющих документов Приказом Росстандарта от 11.08.2020 N 491-ст) | |
МКС 91.060.50
Дата введения
1 июля 2015 года
Цели, основные принципы и основной порядок проведения работ по межгосударственной стандартизации установлены
ГОСТ 1.0-92 "Межгосударственная система стандартизации. Основные положения" и
ГОСТ 1.2-2009 "Межгосударственная система стандартизации. Стандарты межгосударственные, правила и рекомендации по межгосударственной стандартизации. Правила разработки, принятия, применения, обновления и отмены".
1. Разработан Частным учреждением - Центр по сертификации оконной и дверной техники (ЦС ОДТ).
2. Внесен Техническим комитетом по стандартизации ТК 465 "Строительство".
3. Принят Межгосударственным советом по стандартизации, метрологии и сертификации (Протокол от 27 марта 2015 N 76-П).
За принятие проголосовали:
Краткое наименование страны по МК (ИСО 3166) 004-97 | Код страны по МК (ИСО 3166) 004-97 | Сокращенное наименование национального органа по стандартизации |
Армения | AM | Минэкономики Республики Армения |
Киргизия | KG | Кыргызстандарт |
Молдова | MD | Молдова-Стандарт |
Россия | RU | Росстандарт |
Таджикистан | TJ | Таджикстандарт |
Туркмения | TM | Главгосслужба "Туркменстандартлары" |
Узбекистан | UZ | Узстандарт |
4.
Приказом Федерального агентства по техническому регулированию и метрологии от 12 декабря 2014 г. N 2037-ст межгосударственный стандарт ГОСТ 23747-2015 введен в действие в качестве национального стандарта Российской Федерации с 1 июля 2015 г.
5. В настоящем стандарте учтены основные нормативные положения следующих европейских региональных стандартов:
EN 14351-1:2006+A1:2010 Windows and doors. Product standard, performance characteristics - Windows and external pedestrian doorsets without resistance to fire and/or smoke leakage characteristics (Окна и двери. Стандарт на продукцию, технические характеристики. Часть 1. Окна и наружные наземные дверные проемы без характеристик огнестойкости и/или дымопропускаемости)
EN 1191:2012 Windows and doors - Resistance to repeated opening and closing - Test method (Окна, двери. Сопротивление повторному открыванию и закрыванию. Метод испытания)
EN 1192:1999 Doors - Classification of strength requirements (Двери. Классификация по требованиям к механической прочности).
Перевод с английского языка (en).
Степень соответствия - неэквивалентная (NEQ).
Информация об изменениях к настоящему стандарту публикуется в ежегодном информационном указателе "Национальные стандарты", а текст изменений и поправок - в ежемесячном информационном указателе "Национальные стандарты". В случае пересмотра (замены) или отмены настоящего стандарта соответствующее уведомление будет опубликовано в ежемесячном информационном указателе "Национальные стандарты". Соответствующая информация, уведомление и тексты размещаются также в информационной системе общего пользования - на официальном сайте Федерального агентства по техническому регулированию и метрологии в сети Интернет
Настоящий стандарт распространяется на дверные блоки из алюминиевых профилей с полотнами рамочной конструкции (далее - дверные блоки) для зданий и сооружений различного назначения.
Область применения конкретных видов дверных блоков устанавливают в зависимости от условий эксплуатации в соответствии с действующими строительными нормами и правилами с учетом требований настоящего стандарта.
Настоящий стандарт не распространяется на балконные дверные блоки, а также на дверные блоки специального назначения в части дополнительных требований к пожарной безопасности и др.
Настоящий стандарт может быть применен для целей сертификации изделий.
В настоящем стандарте приведены нормативные ссылки на следующие межгосударственные стандарты:
ГОСТ 9.301-86 Единая система защиты от коррозии и старения. Покрытия металлические и неметаллические неорганические. Общие требования
ГОСТ 15.309-98 Система разработки и постановки продукции на производство. Испытания и приемка выпускаемой продукции. Основные положения
(ссылка введена
Изменением N 1, введенным в действие Приказом Росстандарта от 11.08.2020 N 491-ст)
(в ред.
Изменения N 1, введенного в действие Приказом Росстандарта от 11.08.2020 N 491-ст)
--------------------------------
<*> Сноска исключена с 01.01.2021. -
Изменение N 1, введенное в действие Приказом Росстандарта от 11.08.2020 N 491-ст.
ГОСТ 166-89 (ИСО 3599-76) Штангенциркули. Технические условия
ГОСТ 427-75 Линейки измерительные металлические. Технические условия
ГОСТ 538-2014 Изделия замочные и скобяные. Общие технические условия
ГОСТ 5089-2011 Замки, защелки, механизмы цилиндровые. Технические условия
ГОСТ 7502-98 Рулетки измерительные металлические. Технические условия
(в ред.
Изменения N 1, введенного в действие Приказом Росстандарта от 11.08.2020 N 491-ст)
--------------------------------
(сноска введена
Изменением N 1, введенным в действие Приказом Росстандарта от 11.08.2020 N 491-ст)
(ссылка введена
Изменением N 1, введенным в действие Приказом Росстандарта от 11.08.2020 N 491-ст)
ГОСТ 22233-2018 Профили прессованные из алюминиевых сплавов для ограждающих конструкций. Технические условия
(в ред.
Изменения N 1, введенного в действие Приказом Росстандарта от 11.08.2020 N 491-ст)
(ссылка введена
Изменением N 1, введенным в действие Приказом Росстандарта от 11.08.2020 N 491-ст)
(в ред.
Изменения N 1, введенного в действие Приказом Росстандарта от 11.08.2020 N 491-ст)
ГОСТ 26433.0-85 Система обеспечения точности геометрических параметров в строительстве. Правила выполнения измерений. Общие положения
ГОСТ 26433.1-89 Система обеспечения точности геометрических параметров в строительстве. Правила выполнения измерений. Элементы заводского изготовления
ГОСТ 26602.1-99 Блоки оконные и дверные. Методы определения сопротивления теплопередаче
ГОСТ 26602.2-99 Блоки оконные и дверные. Методы определения воздухо- и водопроницаемости
(в ред.
Изменения N 1, введенного в действие Приказом Росстандарта от 11.08.2020 N 491-ст)
--------------------------------
<*> Сноска исключена с 01.01.2021. -
Изменение N 1, введенное в действие Приказом Росстандарта от 11.08.2020 N 491-ст.
ГОСТ 30673-2013 Профили поливинилхлоридные для оконных и дверных блоков. Технические условия
(ссылка введена
Изменением N 1, введенным в действие Приказом Росстандарта от 11.08.2020 N 491-ст)
(в ред.
Изменения N 1, введенного в действие Приказом Росстандарта от 11.08.2020 N 491-ст)
--------------------------------
<**> Сноска исключена с 01.01.2021. -
Изменение N 1, введенное в действие Приказом Росстандарта от 11.08.2020 N 491-ст.
ГОСТ 30777-2012 Устройства поворотные, откидные, поворотно-откидные, раздвижные для оконных и балконных дверных блоков. Технические условия
ГОСТ 30778-2001 Прокладки уплотняющие из эластомерных материалов для оконных и дверных блоков. Технические условия
(в ред.
Изменения N 1, введенного в действие Приказом Росстандарта от 11.08.2020 N 491-ст)
--------------------------------
<***> Сноска исключена с 01.01.2021. -
Изменение N 1, введенное в действие Приказом Росстандарта от 11.08.2020 N 491-ст.
ГОСТ 30971-2012 Швы монтажные узлов примыкания оконных блоков к стеновым проемам. Общие технические условия
ГОСТ 31471-2011 Устройства экстренного открывания дверей эвакуационных и аварийных выходов. Технические условия.
Примечание. При пользовании настоящим стандартом целесообразно проверить действие ссылочных стандартов в информационной системе общего пользования - на официальном сайте Федерального агентства по техническому регулированию и метрологии в сети Интернет или по ежегодному информационному указателю "Национальные стандарты", который опубликован по состоянию на 1 января текущего года, и по выпускам ежемесячного информационного указателя "Национальные стандарты" за текущий год. Если ссылочный стандарт заменен (изменен), то при пользовании настоящим стандартом следует руководствоваться заменяющим (измененным) стандартом. Если ссылочный стандарт отменен без замены, то положение, в котором дана ссылка на него, применяется в части, не затрагивающей эту ссылку.
3. Классификация и условные обозначения
3.1. Изделия классифицируют по следующим основным признакам:
- назначение (классификационный признак N 1);
- вид заполнения дверных полотен (классификационный признак N 2);
- вариант конструктивного решения (классификационный признак N 3);
- вид отделки профилей (классификационный признак N 4);
- способ открывания (классификационный признак N 5).
3.1.1. По назначению (N 1) дверные блоки подразделяют на следующие группы:
- А - наружные входные в здания и сооружения;
- Б - внутренние, предназначенные для эксплуатации внутри здания, в том числе входные с лестничных клеток, в раздвижных и складных конструкциях перегородок, террас и других архитектурных решениях.
3.1.2. По виду заполнения дверных полотен (N 2) дверные блоки подразделяют:
- на остекленные (с заполнением стеклопакетами или различными видами листовых стекол: узорчатыми, закаленными, многослойными, армированными и);
- глухие (с заполнением панелями или другими непрозрачными материалами);
- комбинированные (со светопрозрачным заполнением верхней части и глухим заполнением нижней части полотна).
3.1.3. По варианту конструктивного решения (N 3) дверные блоки подразделяют:
- на однопольные (левого и правого открывания);
- двупольные с горизонтальным импостом;
- взломоустойчивые;
- с фрамугой (открывающейся или не открывающейся);
- с порогом (с креплением на механических связях);
- без порога, с замкнутой рамочной коробкой.
3.1.4. По виду отделки профилей (N 4) дверные блоки подразделяют на дверные блоки:
- окрашенные лакокрасочными или порошковыми эмалями;
- с анодно-окисными защитно-декоративными покрытиями.
3.1.5. По способу открывания (N 5) дверные блоки подразделяют:
- на распашные;
- маятниковые (карусельные с вращением вокруг собственной оси);
- раздвижные;
- складные.
3.2. Для дверных блоков принимают следующие обозначения:
- назначение изделия:
ДАН - дверной блок из алюминиевых профилей наружный (группа А),
ДАВ - дверной блок из алюминиевых профилей внутренний (группа Б);
- вид заполнения дверного полотна:
Г - глухое,
О - остекленное,
Км - комбинированное;
- варианты конструктивного решения:
П - с порогом,
Бпр - без порога,
Ф - с фрамугой,
Оп - однопольные,
Дв - двупольные,
Двз - взломоустойчивые,
Л - левого открывания,
Пр - правого открывания;
- способы открывания дверей:
Р - распашная,
Ма - маятниковая,
Рз - раздвижная,
Ск - складная.
Примечание. Допускается за обозначением дверного блока по назначению дополнительно вводить буквенное обозначение, уточняющее их назначение: К - квартирные (для входа в квартиру), Т - тамбурные, У - усиленные и др.
3.3. Условное обозначение дверных блоков должно включать в себя размеры по высоте и ширине в миллиметрах.
Примечание. Допускается в обозначение размеров вводить размер ширины коробки в миллиметрах.
3.4. Для дверных блоков принимают следующую структуру условного обозначения.
1 | 2 | 3 | 4 | 5 | 6 | 7 |
Назначение | Вариант заполнения дверного полотна | Вариант конструктивного решения | Способ открывания | Размер, мм | Обозначение стандарта | Дополнительные сведения (если необходимо) |
Пример условного обозначения наружного дверного блока из алюминиевого профиля, комбинированного, однопольного, правого исполнения, без порога, распашного высотой 2100 мм, шириной 900 мм:
ДАН Км Оп Пр Бпр Р 2100 x 900, ГОСТ 23747-2015
(в ред.
Изменения N 1, введенного в действие Приказом Росстандарта от 11.08.2020 N 491-ст)
Условное обозначение дверных блоков допускается дополнять данными о классах прочности по сопротивлению динамическим и другим нагрузкам.
При оформлении договора (заказа) на изготовление (поставку) индивидуальных изделий рекомендуется указывать вариант конструктивного решения, включая описание конструкции профилей и заполнения дверного полотна, чертеж с указанием схемы открывания, типа дверных приборов, а также требования к внешнему виду и другие требования по согласованию изготовителя с заказчиком.
4. Технические требования
4.1. Дверные блоки должны соответствовать требованиям настоящего стандарта, образцу-эталону и изготовляться по конструкторской и технологической документации предприятия-изготовителя.
4.2. Требования к конструкции
4.2.1. Дверные блоки представляют собой одинарную конструкцию из рамочных элементов, собираемых из алюминиевых профилей по
ГОСТ 22233 на угловых крепежных деталях с применением винтовых соединений или двухкомпонентного клея с последующей опрессовкой. Возможно применение комбинированного способа крепления или других способов сборки угловых соединений, по прочности соответствующих требованиям, приведенным в
таблице 3.
Конструкция дверных блоков может быть с порогом и без порога. Пороги имеют сплошной контур в нижнем горизонтальном сечении и крепятся с помощью механических связей.
4.2.2. Пороги изготовляют из алюминиевых профилей с коррозионно-стойким покрытием.
(в ред.
Изменения N 1, введенного в действие Приказом Росстандарта от 11.08.2020 N 491-ст)
4.2.3. Высота порога не должна являться препятствием для безбарьерного прохода. Рекомендуемая высота порога - не более 20 мм.
4.2.4. Дверные блоки, установленные на путях эвакуации, могут быть одно- и двупольными, распашными, с обязательным открыванием по ходу эвакуации.
Для беспрепятственного покидания зданий и помещений дверные блоки должны быть укомплектованы устройствами экстренного открывания дверей "Антипаника" по
ГОСТ 31471. Не рекомендуется дверные блоки для путей эвакуации комплектовать стационарными порогами.
(в ред.
Изменения N 1, введенного в действие Приказом Росстандарта от 11.08.2020 N 491-ст)
4.2.5. Раздвижные и складные дверные блоки могут быть внутренними группы Б и наружными группы А (например в частном домостроении в качестве дверей зимних садов, террас и в других архитектурных решениях). Маятниковые дверные блоки группы А рекомендуются для установки в качестве входных для зданий с большой проходимостью людей. Указанные конструкции дверных блоков могут быть полностью застекленными или с глухой непрозрачной частью. Требования к данному типу дверей, учитывая специфику их конструкции и ограниченную область применения, устанавливают в заказе либо в нормативных документах на конкретный тип дверей. Раздвижные и складные функции дверных блоков обеспечивают соответствующие устройства по
ГОСТ 30777.
(в ред.
Изменения N 1, введенного в действие Приказом Росстандарта от 11.08.2020 N 491-ст)
4.2.6. Дверные блоки группы А могут быть выполнены во взломоустойчивом варианте с применением многоригельной взломоустойчивой системы запирания с замками 4-го класса по
ГОСТ 5089.
4.2.7. Конструкция наружных дверных блоков должна включать в себя систему функциональных отверстий для осушения полости между кромками стеклопакета (филенки) и фальцами профилей.
4.2.8. Дверные блоки должны быть безопасными в эксплуатации и обслуживании. Условия безопасности применения изделий различных конструкций устанавливают в проектной документации (например, дверные блоки, применяемые в детских учреждениях, должны быть остеклены закаленным, многослойным или другими видами безопасных стекол).
Дверные блоки группы А должны быть рассчитаны на эксплуатационные нагрузки в соответствии с действующим
сводом правил [1].
4.2.9. Монтаж изделий следует проводить с учетом требований
ГОСТ 30971.
Общие требования к монтажу изделий приведены в
Приложении А.
4.3. Размеры и предельные отклонения
4.3.1. Номинальные габаритные размеры и архитектурные рисунки дверных блоков устанавливают в проектной рабочей документации (заказе, договоре).
Номинальные размеры узлов изделий, сечений профилей, комбинаций профилей устанавливают в технической документации на их изготовление.
4.3.2. Рекомендуемые размеры дверных полотен по ширине 900 мм, по высоте 2300 мм. Масса дверных блоков не должна превышать 120 кг. Применение изделий с полотнами большей массы и размеров следует подтверждать расчетами прочности. Наибольшие размеры полотен дверных блоков в зависимости от моментов сопротивления сечения профилей, схемы открывания, типов применяемых петель, расчетных ветровых нагрузок (для дверей группы А), массы элементов остекления должны быть приведены в конструкторской документации предприятия-изготовителя.
4.3.3. Предельные отклонения номинальных габаритных размеров дверных блоков не должны превышать +2,0; -1,0 мм.
4.3.4. Предельные отклонения номинальных размеров элементов дверных блоков, зазоров под наплавом, размеров расположения дверных приборов и петель не должны превышать значений, приведенных в таблице 1.
Таблица 1
Предельные отклонения
В миллиметрах
Номинальные размеры | Предельные отклонения |
Внутренний размер коробок | Наружный размер полотен | Зазор под наплавом | Размеры расположения дверных приборов, петель и другие размеры |
До 1000 включ. | +/- 1,0 | -1,0 | +1,0 | +/- 1,5 |
Св. 1000 до 2000 включ. | +2,0 -1,0 | +/- 1,0 | +1,0 -0,5 |
Св. 2000 | +2,0 -1,0 | +1,0 -2,0 | +1,5 -0,5 |
Примечания: 1. Значения предельных отклонений установлены для температурного интервала проведения измерения 16 °C - 24 °C. |
(в ред. Изменения N 1, введенного в действие Приказом Росстандарта от 11.08.2020 N 491-ст) |
2. Значения предельных отклонений размеров зазоров под наплавом приведены для закрытых полотен с установленными уплотняющими прокладками. |
Разность длин диагоналей прямоугольных полотен площадью 1,5 м2 и менее не должна превышать 2,0 мм, площадью свыше 1,5 м2 - 3,0 мм.
4.3.5. Перепад лицевых поверхностей в угловых и Т-образных соединениях смежных деталей коробок и полотен не должен превышать 1,0 мм. Зазоры в местах угловых и Т-образных соединений профилей не должны превышать 0,5 мм.
4.3.6. Провисание полотен в собранном дверном блоке с порогом не должно превышать 1,5 мм на высоту полотна дверного блока.
4.3.7. Предельное отклонение номинального размера расстояния между наплавами смежных закрытых полотен (полотен и фрамуг) не должно превышать 1,5 мм на 1 м длины притвора.
4.3.8. Предельное отклонение от прямолинейности кромок деталей рамочных элементов не должно превышать 1,0 мм на 1 м длины применяемого профиля.
4.4. Характеристики
4.4.1. Основные эксплуатационные характеристики дверных блоков приведены в таблице 2.
Таблица 2
Эксплуатационные характеристики дверных блоков
Наименование показателя | Значение показателя | Примечание |
Приведенное сопротивление теплопередаче полотен дверных блоков из комбинированных и утепленных профилей, м2·°C/Вт, не менее | 0,5 | Для групп А, Б (кроме маятниковых) |
(в ред. Изменения N 1, введенного в действие Приказом Росстандарта от 11.08.2020 N 491-ст) |
Звукоизоляция, дБА, не менее | 26 | То же |
Воздухопроницаемость при  , м 3/(ч·м 2), не более | 17 | Для группы А |
(в ред. Изменения N 1, введенного в действие Приказом Росстандарта от 11.08.2020 N 491-ст) |
Безотказность, циклы открывания-закрывания, не менее: | | |
- для распашных блоков | 500000 | Для группы А |
- маятниковых (карусельных) дверных блоков | 1000000 | То же |
- дверных блоков группы Б, не менее | 250000 | - |
- входных в помещения внутри зданий, в том числе входных в квартиры, офисы | 100000 | Для группы Б |
- межкомнатных распашных | 20000 | То же |
- раздвижных | 20000 | " |
- складных | 20000 | " |
Примечания: 1. Значения приведенного сопротивления теплопередаче являются справочными. В необходимых случаях данный показатель подтверждают расчетами или лабораторными испытаниями. Для дверных блоков из полых профилей сопротивление теплопередаче допускается не определять. 2. Для наружных дверных блоков в качестве показателя водопроницаемости может быть установлен предел водонепроницаемости по ГОСТ 26602.2. 3 Приведенное сопротивление теплопередаче определяется: в группе А - для всех дверей, кроме маятниковых; в группе Б - для входных дверей с лестничных клеток. |
(примечание 3 введено Изменением N 1, введенным в действие Приказом Росстандарта от 11.08.2020 N 491-ст) |
4.4.2. Для дверных блоков группы А устанавливают стойкость к воздействию ветровых нагрузок в соответствии с
[1].
Ветровая нагрузка должна включать в себя следующие параметры:
- изменение давления от 400 до 1800 Па;
- изменение величины прогиба брусков от 1/150 до 1/300 длины бруска.
4.4.3. Дверные блоки должны быть стойкими к воздействию статических нагрузок. Статические нагрузки и прочность угловых соединений при испытаниях по
схеме А (см. рисунок 2) приведены в таблице 3.
(в ред.
Изменения N 1, введенного в действие Приказом Росстандарта от 11.08.2020 N 491-ст)
При испытаниях по
схеме Б угловые соединения должны выдерживать воздействие нагрузки, увеличенной в два раза.
(в ред.
Изменения N 1, введенного в действие Приказом Росстандарта от 11.08.2020 N 491-ст)
Таблица 3
Прочность угловых соединений и статические нагрузки
Приказом Росстандарта от 11.08.2020 N 491-ст)
Группа дверного блока | Прочность угловых соединений полотен (коробок), Н, не менее | Статическая нагрузка в плоскости полотна (кроме раздвижных и маятниковых дверей), Н, не менее |
А | 1200 | 1200 |
Б | 1000 | 1000 |
Примечание. Прочность угловых соединений коробок устанавливают на 30% ниже, чем полотен. Прочность угловых соединений должна соответствовать установленной в настоящей таблице независимо от способов соединения, указанных в 4.2.1. |
(в ред. Изменения N 1, введенного в действие Приказом Росстандарта от 11.08.2020 N 491-ст) |
(в ред.
Изменения N 1, введенного в действие Приказом Росстандарта от 11.08.2020 N 491-ст)
4.4.4. Дверные блоки должны выдерживать эксплуатационные динамические нагрузки при открывании (имитация удара об откос) и при закрывании ударом о посторонний предмет в притворе, создаваемые свободно падающим грузом (твердым телом), приведенные в таблице 4.
Таблица 4
Динамические нагрузки, создаваемые свободно падающим грузом
Группа дверного блока | Высота падения груза, м | Масса груза, кг |
А, Б | 0,8 | 20 |
4.4.5. Дверные блоки при определении прочности (надежности) крепления конструкции в проемах и крепления (фиксации) заполнения полотна должны выдерживать ударные нагрузки, создаваемые грузом (неупругим мягким телом), приведенные в таблице 5. Испытанию подвергают дверные полотна с двух сторон.
Таблица 5
Ударные нагрузки, создаваемые грузом
(неупругим мягким телом)
Группа дверного блока | Масса груза, кг | Энергия удара, Дж |
А | 30 | 180 |
Б (распашные) | 30 | 120 |
Б (раздвижные, складные) | 30 | 60 |
4.4.6. Дверные блоки при определении стойкости конструкции и материала полотна к пробиванию должны выдерживать ударные нагрузки, создаваемые грузом (твердым телом), приведенные в таблице 6.
Таблица 6
Ударные нагрузки, создаваемые грузом (твердым телом)
Группа дверного блока | Масса груза, кг | Энергия удара, Дж |
А | 2 | 8 |
Б (распашные) | 2 | 5 |
Б (раздвижные, складные) | 2 | 3 |
Примечание. Энергию удара рассчитывают по формуле где M - масса груза, g - ускорение свободного падения, l - высота падения груза. |
4.4.7. Статическая нагрузка, действующая на элементы передвижения (ролики, роллеты, шарниры и т.д.) раздвижных дверей, должна быть не более 1000 Н.
4.4.8. Статическая нагрузка, действующая на верхний угол (90°) сложенных полотен складных дверных блоков, должна быть не более 1000 Н.
4.4.9. Взломоустойчивые дверные блоки групп А и Б должны выдерживать статические нагрузки в плоскости створки не менее 1300 Н и нагрузки от удара неупругим мягким телом не менее 250 Дж.
4.4.10. Эксплуатационные показатели дверных блоков конкретного назначения рекомендуется устанавливать в проектной рабочей документации на строительство (реконструкцию, ремонт) зданий и подтверждать результатами испытаний в испытательных центрах, аккредитованных на право их проведения.
4.4.11. Усилие, прикладываемое к полотну дверных блоков групп А и Б при закрывании до требуемого сжатия уплотняющих прокладок, не должно превышать 75 Н. Усилие, требуемое для открывания дверного полотна, не должно превышать 50 Н (эргономические требования).
Примечание. При оценке усилий открывания и закрывания следует иметь в виду, что при испытании дверей группы А не учитывались такие факторы, как разность давлений воздуха между помещениями или внезапная ветровая нагрузка, а также наличие встроенных запирающих устройств и устройств закрывания дверей (доводчиков). Указанные факторы могут приводить к более высоким нагрузкам открывания и закрывания. Необходимо учитывать также, что для дверных блоков, предназначенных для прохода людей с ограниченными возможностями, усилие открывания должно быть не более 2,5 Н.
4.4.12. Внешний вид дверных блоков: цвет, глянец, допустимые дефекты поверхности алюминиевых профилей (риски, царапины, усадочные раковины и др.) должен соответствовать образцам-эталонам, утвержденным руководителем предприятия-изготовителя.
Различие в цвете, глянце и дефекты поверхности, видимые невооруженным глазом с расстояния 1,0 м при освещении не менее 300 лк, не допускаются.
(в ред.
Изменения N 1, введенного в действие Приказом Росстандарта от 11.08.2020 N 491-ст)
Примечание - Образец-эталон - образец продукции (покрытия, материала, обработанной продукции), предназначенный для сравнения с ним единиц продукции при изготовлении, приемке и поставке.
(примечание введено
Изменением N 1, введенным в действие Приказом Росстандарта от 11.08.2020 N 491-ст)
4.4.13. Материалы и комплектующие детали, применяемые для изготовления дверных блоков, должны соответствовать требованиям стандартов, технических условий, технических свидетельств, утвержденных в установленном порядке.
4.5. Требования к алюминиевым профилям
4.5.1. Для изготовления изделий применяют профили из алюминиевых сплавов по
ГОСТ 22233.
Алюминиевые профили могут быть сплошными, полыми, комбинированными и заполненными вспененными материалами.
(в ред.
Изменения N 1, введенного в действие Приказом Росстандарта от 11.08.2020 N 491-ст)
4.5.2. Применяемые в комбинированных профилях термоизоляционные вставки должны изготовляться из стеклонаполненного полиамида по
ГОСТ 31014.
Термоизоляционные вставки могут быть заполнены жесткими вспененными пенопластами (например, пенополиуретаном) или другими теплоизоляционными материалами.
4.5.3. Соединение термоизоляционной вставки с алюминиевым профилем должно быть прочным, стойким к климатическим воздействиям и соответствовать
ГОСТ 22233.
4.5.4. Дверные блоки (включая входные в здания), предназначенные для эксплуатации в отапливаемых помещениях, должны изготовляться из комбинированных профилей.
(в ред.
Изменения N 1, введенного в действие Приказом Росстандарта от 11.08.2020 N 491-ст)
4.5.5. Толщина слоя анодно-окисного, лакокрасочного или порошкового полимерного покрытия должна быть не менее установленной в
ГОСТ 22233.
(п. 4.5.5 в ред.
Изменения N 1, введенного в действие Приказом Росстандарта от 11.08.2020 N 491-ст)
4.5.6. Внешний вид покрытия должен соответствовать
ГОСТ 9.301.
4.6. Требования к заполнению дверных полотен и уплотняющим прокладкам
4.6.1. Непрозрачное заполнение полотен дверных блоков (филенки) рекомендуется изготовлять из трехслойных панелей, состоящих из пластиковых или алюминиевых облицовочных листов с заполнением утеплителем или однослойных панелей из вспененного жесткого поливинилхлорида. Толщина облицовочных листов должна быть не менее 15 мм.
В качестве филенок полотен, предназначенных для межкомнатных дверных блоков, допускается использование листовых, рулонных или плиточных облицовочных материалов.
4.6.2. Конструктивные решения узлов крепления деталей заполнения полотен запирающихся дверей должны исключать возможность их демонтажа с наружной стороны.
4.6.3. В качестве светопрозрачного заполнения полотен рекомендуется применять следующие виды упрочненных стекол: закаленное стекло по
ГОСТ 30698, многослойное стекло по
ГОСТ 30826, армированное стекло и стекло с противоосколочными пленками по нормативным документам, стеклопакеты по
ГОСТ 24866, листовое стекло по
ГОСТ 111, а также специальные виды стекол по нормативным документам (узорчатые, тонированные и др.).
Виды применяемых стекол следует устанавливать в рабочей документации на строительство (реконструкцию, ремонт) зданий и сооружений. Применение неупрочненных стекол размерами по высоте более 1250 мм, по ширине более 650 мм и толщиной менее 4 мм не допускается.
4.6.4. Для повышения архитектурной выразительности и упрочнения конструкции в рамки дверных полотен устанавливают шпросы (горбыльковые переплеты). Допускается применение стеклопакетов с внутренней декоративной рамкой или установка на клею декоративных раскладок по наружным поверхностям заполнения полотен.
4.6.5. Глубина защемления стеклопакета (стекла) или филенки в фальцах профилей, а также глубина защемления штапиками рекомендуются в пределах 14 - 18 мм.
4.6.6. Стеклопакеты (стекла) устанавливают в фальц створки или коробки на подкладках, исключающих касание кромок стеклопакета (стекла) внутренних поверхностей фальцев профилей.
В зависимости от функционального назначения подкладки подразделяют на базовые, опорные и дистанционные.
Базовые подкладки применяют для выравнивания скосов фальца и устанавливают под опорными и дистанционными подкладками. Ширина базовых подкладок должна быть равна ширине фальца, а длина - не менее длины опорных и дистанционных подкладок. Опорные и дистанционные подкладки могут совмещать функции базовых.
Опорные подкладки применяют для обеспечения оптимальных условий переноса массы стеклопакета на конструкцию дверного блока, дистанционные подкладки - для обеспечения номинальных размеров зазора между кромкой стеклопакета и фальцем створки.
Длина опорных и дистанционных подкладок должна быть от 80 до 100 мм, ширина - не менее чем на 2 мм больше толщины стеклопакета.
Расстояние от подкладок до углов должно быть 50 - 80 мм.
Требования к установке непрозрачного заполнения полотен (филенок) устанавливают в технической документации изготовителя с учетом массы и конструкции дверного блока.
4.6.7. Подкладки изготовляют из жестких атмосферостойких полимерных материалов. Рекомендуемое значение твердости опорных подкладок 75 - 90 ед. по Шору А.
4.6.8. Способы установки и (или) конструкция подкладок должны исключать возможность их смещения во время транспортирования и эксплуатации дверных блоков.
4.6.9. Конструкция подкладок не должна препятствовать циркуляции воздуха над внутренней поверхностью фальца остекления.
4.6.10. Основные схемы расположения опорных и дистанционных подкладок при монтаже стеклопакетов в зависимости от способа открывания дверных блоков приведены на
рисунке 1. На любой стороне стеклопакета рекомендуется устанавливать не более двух опорных подкладок. Перекос подкладок при установке не допускается. В изделиях с усиленными запирающими приборами рекомендуется установка дополнительных дистанционных подкладок в местах запирания.
Дверной блок с распашным открыванием
Неоткрывающийся элемент дверного блока
Дверные блоки с распашным открыванием
при сложном заполнении полотна

- опорные подкладки;

- дистанционные подкладки;

- дверная петля
Рисунок 1. Схемы расположения опорных
и дистанционных подкладок при монтаже стеклопакетов
и возможные варианты расположения петель
4.6.11. Уплотнение притворов полотен и установку заполнения полотен проводят с помощью уплотняющих прокладок из эластомерных материалов по
ГОСТ 30778 или другим нормативным документам.
4.6.12. Уплотняющие прокладки для наружных дверных блоков должны быть стойкими к климатическим и атмосферным воздействиям.
4.6.13. Прилегание уплотняющих прокладок должно быть плотным, препятствующим проникновению воды.
4.6.14. Число контуров уплотняющих прокладок в притворах дверных блоков и требования к их установке по периметру притвора устанавливают в технической документации изготовителя в зависимости от назначения и конструкции дверных блоков. Для дверных блоков групп А и Б рекомендуется не менее двух контуров уплотнения.
Угловые перегибы и сварные стыки уплотняющих прокладок для стеклопакетов (стекол) не должны иметь выступов (выпираний), вызывающих сосредоточенные нагрузки на стеклопакеты (стекла).
4.7. Требования к дверным приборам
4.7.1. При изготовлении дверных блоков применяют дверные приборы и петли, специально предназначенные для применения в дверных системах из алюминиевых профилей.
Тип, число, расположение и способ крепления запирающих приборов и петель устанавливают в рабочей документации с учетом размера и массы открывающихся элементов дверных блоков, а также условий их эксплуатации. Возможные варианты расположения петель приведены на
рисунке 1. Полотна дверных блоков рекомендуется навешивать на две петли. Наружные дверные блоки рекомендуется оснащать многоригельными замками с запиранием не менее чем в трех точках.
Примечание. Применение более двух петель должно быть рекомендовано производителями петель, при этом третья петля не должна устанавливаться в зоне замка.
При применении скрытых петель во входных дверях в здания необходимо проводить дополнительные испытания по определению сопротивления теплопередаче для исключения промерзания в зоне петель.
4.7.2. Наружные и входные в квартиру дверные блоки рекомендуется комплектовать замками не ниже 3-го класса по
ГОСТ 5089. Взломоустойчивые дверные блоки должны комплектоваться взломоустойчивыми запирающими приборами по
ГОСТ 31462, замками 4-го класса по
ГОСТ 5089.
В зависимости от назначения дверных блоков в проектной документации, а также при оформлении заказов следует предусматривать комплектацию изделий доводчиками (устройствами закрывания дверей), ограничителями угла открывания (упорами), глазками и т.д.
4.7.3. В наружных и входных в квартиру дверных блоках рекомендуется применять петли, регулируемые в трех плоскостях.
4.7.4. Запирающие приборы должны обеспечивать надежное запирание открывающихся элементов дверных блоков. Открывание и закрывание должно происходить легко, плавно, без заеданий.
4.7.5. Конструкции запирающих приборов и петель должны обеспечивать плотный и равномерный обжим прокладок по всему контуру уплотнения в притворах.
4.7.6. Дверные приборы, петли и крепежные детали должны соответствовать требованиям
ГОСТ 538 и иметь защитно-декоративное (или защитное) покрытие по нормативным документам. Для комплектации дверных блоков групп А и Б покрытие приборов должно быть стойким к коррозии и соответствовать
ГОСТ 538.
4.8. Комплектность, маркировка и упаковка
4.8.1. Комплектность дверных блоков при их поставке потребителю должна соответствовать требованиям, установленным в заказе.
Комплект дверного блока может включать в себя доборные, соединительные и другие профили различного назначения по
ГОСТ 22233, а также замки, защелки, доводчики (устройства закрывания дверей) и другие дверные приборы. Комплект ключей от замков должен передаваться заказчику в запечатанном виде под роспись заказчика (покупателя). Комплектующие профили, части запирающих приборов, выступающие за плоскость изделия, допускается поставлять не смонтированными, в комплекте с изделиями. По согласованию изготовителя с потребителем допускается отдельное транспортирование стеклопакетов (стекол).
(в ред.
Изменения N 1, введенного в действие Приказом Росстандарта от 11.08.2020 N 491-ст)
Изделия полной заводской готовности должны иметь установленные приборы, стеклопакеты, панели заполнения, уплотнительные прокладки и защитную пленку на лицевых поверхностях главных профилей.
4.8.2. В комплект поставки должны входить документ о качестве (паспорт) и инструкция по эксплуатации дверных блоков, содержащая рекомендации по монтажу.
4.8.3. Каждый дверной блок маркируют на нелицевой стороне водостойким маркером или этикеткой с указанием наименования предприятия-изготовителя, вида дверного блока, даты его изготовления и (или) номера заказа, знака (штампа), подтверждающего приемку изделия техническим контролем. По согласованию изготовителя с потребителем допускается наносить маркировку изделия на защитную пленку.
4.8.4. Входящие в состав дверного блока главные профили, дверные приборы, замочные изделия и стеклопакеты должны быть маркированы в соответствии с нормативным документом на эту продукцию.
4.8.5. Упаковка изделий должна обеспечивать их сохранность при хранении, погрузочно-разгрузочных работах и транспортировании.
Рекомендуется упаковывать изделия в полиэтиленовую пленку по
ГОСТ 10354.
4.8.6. Не установленные на изделия приборы или части приборов должны быть упакованы в полиэтиленовую пленку по
ГОСТ 10354 или в другой упаковочный материал, обеспечивающий их сохранность, прочно перевязаны и поставлены комплектно с изделиями.
4.8.7. В случае отдельного транспортирования стеклопакетов требования к их упаковке устанавливают по
ГОСТ 24866.
4.8.8. Открывающиеся полотна изделий перед упаковкой должны быть закрыты на все запирающие приборы.
5.1. Дверные блоки должны быть приняты службой технического контроля предприятия-изготовителя по результатам проверки на соответствие требованиям настоящего стандарта, а также условиям, определенным в договоре на изготовление и поставку изделий.
Дверные блоки принимают партиями. При приемке на предприятии-изготовителе за партию принимают число изделий, изготовленных в пределах одной смены и оформленных одним документом о качестве (паспортом).
5.2. Требования к качеству дверных блоков, установленные в настоящем стандарте, подтверждают:
- входным контролем материалов и комплектующих деталей;
- операционным производственным контролем;
- приемочным контролем готовых изделий;
- контрольными приемо-сдаточными испытаниями партии изделий, проводимыми службой качества предприятия-изготовителя;
- периодическими и сертификационными испытаниями в независимых испытательных центрах;
- квалификационными испытаниями.
5.3. Порядок проведения входного контроля качества материалов и комплектующих деталей устанавливают в технической документации с учетом требований нормативных документов на эти материалы и комплектующие детали.
Порядок проведения операционного производственного контроля качества на рабочих местах устанавливают в технологической документации предприятия-изготовителя в соответствии с требованиями настоящего стандарта.
В случае если предприятие-изготовитель комплектует дверные блоки комплектующими деталями собственного изготовления, они должны быть приняты и испытаны в соответствии с требованиями нормативных документов на эти детали.
5.4. Приемо-сдаточные и периодические испытания готовых дверных блоков проводят в соответствии с
ГОСТ 15.309. Периодичность и объем испытаний установлены в таблице 7.
(в ред.
Изменения N 1, введенного в действие Приказом Росстандарта от 11.08.2020 N 491-ст)
Таблица 7
Показатели, контролируемые
при приемо-сдаточных и периодических испытаниях
Приказом Росстандарта от 11.08.2020 N 491-ст)
Наименование показателя | Требования (пункт) | Метод испытания (пункт) | | Периодичность испытания |
I | II |
Внешний вид | | | + | + | Для вида испытания I - сплошной контроль. Для вида испытания II - один раз в смену |
Предельное отклонение размеров зазоров под наплавом | | | + | + | То же |
Перепад лицевых поверхностей в соединениях смежных профилей коробок и полотен, провисание полотен, предельное отклонение номинального размера между наплавами | | | - | + | " |
(в ред. Изменения N 1, введенного в действие Приказом Росстандарта от 11.08.2020 N 491-ст) |
Наличие и места расположения отверстий | | | + | - | " |
Работа петель и запирающих устройств | | | + | + | Для вида испытания I - сплошной контроль. Для вида испытания II - один раз в смену |
Комплектность, маркировка, упаковка | | | + | + | То же |
Предельные отклонения номинальных габаритных размеров дверных блоков, предельные отклонения контролируемых номинальных размеров элементов дверных блоков <**>, разность длин диагоналей и прямолинейность кромок | | | - | + | " |
Прочность (несущая способность) угловых соединений | | | - | + | Для вида испытания II - один раз в неделю |
(в ред. Изменения N 1, введенного в действие Приказом Росстандарта от 11.08.2020 N 491-ст) |
Стойкость к воздействию статических нагрузок | | | - | - | Один раз в три года |
Стойкость к воздействию эксплуатационных динамических нагрузок | | | - | - | То же |
Стойкость к воздействию ударных нагрузок | | | - | - | " |
Безотказность | | | - | - | Один раз в три года |
Эргономические требования | | | - | - | То же |
Приведенное сопротивление теплопередаче для входных дверей в здание | | | - | - | При постановке на производство и при изменении конструкции, замене материалов изготовления |
Воздухо- и водопроницаемость | | | - | - | То же |
Звукоизоляция | | | - | - | " |
Устойчивость к взлому | | | - | - | При постановке на производство и при изменении конструкции, замене материалов для изготовления |
Стойкость к воздействию ветровых нагрузок | | | - | - | То же |
<*> Вид испытания I - приемо-сдаточные испытания; вид испытания II - периодические испытания. |
(в ред. Изменения N 1, введенного в действие Приказом Росстандарта от 11.08.2020 N 491-ст) |
<**> Контролируемые номинальные размеры для вида испытания II устанавливают в технологической документации. |
(в ред.
Изменения N 1, введенного в действие Приказом Росстандарта от 11.08.2020 N 491-ст)
Готовые дверные блоки, прошедшие приемочный контроль, маркируют. Изделия, не прошедшие приемочного контроля хотя бы по одному показателю, бракуют.
5.5. Каждая партия дверных блоков проходит контрольные приемо-сдаточные испытания, проводимые службой контроля качества предприятия-изготовителя. Перечень контролируемых показателей и периодичность контроля приведены в
таблице 7.
Для проведения испытаний от партии дверных блоков методом случайного отбора выбирают образцы дверных блоков в количестве 3% объема партии, но не менее 3 шт.
В случае отрицательного результата испытаний хотя бы по одному показателю хотя бы на одном образце проводят повторную проверку качества изделий на удвоенном числе образцов по показателю, имевшему отрицательный результат испытаний.
При повторном обнаружении несоответствия показателя установленным требованиям хотя бы на одном образце контролируемую и последующую партии изделий подвергают сплошному контролю (разбраковке). При положительном результате сплошного контроля возвращаются к установленному порядку контрольных приемо-сдаточных испытаний.
В случае отрицательного результата испытаний по показателю прочности угловых соединений проводят повторные испытания на удвоенном числе образцов. При неудовлетворительном результате повторных испытаний партию бракуют, а производство изделий останавливают до устранения причины брака.
(в ред.
Изменения N 1, введенного в действие Приказом Росстандарта от 11.08.2020 N 491-ст)
5.6. Периодические испытания по определению эксплуатационных показателей, указанных в
4.4.1 -
4.4.9, проводят при внесении изменений в конструкцию дверных блоков или технологию их изготовления, но не реже одного раза в период, установленный в
таблице 7, а также при сертификации изделий (в части показателей, предусмотренных методиками сертификации). Сертификационные испытания проводят в объеме периодических испытаний.
Квалификационные испытания дверных блоков проводят по всем показателям при постановке продукции на производство. Испытания проводят в испытательных центрах, аккредитованных на право их проведения.
5.7. Потребитель имеет право проводить контрольную проверку качества дверных блоков, соблюдая при этом порядок отбора образцов и методы испытаний, приведенные в настоящем стандарте.
При приемке изделий потребителем партией считают число изделий, отгружаемых по конкретному заказу, но не более 500 шт., оформленных одним документом о качестве (паспортом).
5.8. При приемке дверных блоков потребителем рекомендуется использовать одноступенчатый план контроля качества изделий, приведенный в таблице 8.
Таблица 8
Одноступенчатый план контроля качества изделий
Объем партии, шт. | Объем выборки, шт. | Приемочное число |
Малозначительные дефекты | Критические и значительные дефекты |
1 - 12 | Сплошной контроль | 3 | 0 |
13 - 25 | 5 | 3 | 0 |
26 - 50 | 8 | 4 | 0 |
51 - 90 | 12 | 5 | 0 |
91 - 150 | 18 | 7 | 1 |
Св. 150 | 26 | 10 | 2 |
Примечание. К значительным и критическим дефектам относят: дефекты, ведущие к потере эксплуатационных характеристик, неустранимые без замены части изделия (поломка профиля или дверных приборов, треснувший стеклопакет и др.), превышение предельных отклонений размеров более чем в 1,5 раза от установленных в НД, разукомплектованность изделий. К малозначительным дефектам относят устранимые дефекты: незначительные повреждения поверхности, неотрегулированные дверные приборы и петли, превышение предельных отклонений размеров менее чем в 1,5 раза по сравнению с установленными в нормативных документах. |
По договоренности сторон приемку дверных блоков потребителем допускается проводить на складе изготовителя, на складе потребителя или в ином, оговоренном в договоре на поставку, месте.
5.9. Каждая партия дверных блоков должна сопровождаться документом о качестве (паспортом).
5.10. Приемка дверных блоков потребителем не освобождает изготовителя от ответственности при обнаружении скрытых дефектов, приведших к нарушению эксплуатационных характеристик изделий в течение гарантийного срока.
6.1. Методы испытаний, применяемые при входном и производственном операционном контроле качества дверных блоков, устанавливают в технической документации предприятия-изготовителя.
6.2. Методы испытаний при приемочном контроле и методы определения показателей качества при контрольных приемо-сдаточных испытаниях
6.2.1. Геометрические размеры дверных блоков, а также прямолинейность кромок определяют с использованием методов, установленных
ГОСТ 26433.0 и
ГОСТ 26433.1.
Прямолинейность кромок определяют путем приложения поверочной линейки по
ГОСТ 8026 или строительного уровня с допуском плоскостности не менее 9-й степени точности по
ГОСТ 9416 к испытуемой детали и замером наибольшего зазора с помощью щупов по нормативным документам.
Номинальные размеры элементов изделий, разность длин диагоналей и другие размеры определяют с помощью рулетки по
ГОСТ 7502, штангенциркуля по
ГОСТ 166, щупов по нормативным документам.
Измерения линейных размеров следует проводить при температуре воздуха и поверхности изделий (20 +/- 4) °C. В случае необходимости проведения измерений при других температурах (наружные дверные блоки) следует учитывать температурное изменение линейных размеров профилей.
6.2.2. Размер зазоров под наплавом проверяют с помощью набора щупов по нормативным документам или металлической линейки по
ГОСТ 427.
6.2.3. Провисание полотен и перепад лицевых поверхностей в соединениях смежных профилей коробок и полотен определяют щупом как расстояние от ребра металлической линейки по
ГОСТ 427, приложенной к верхней сопрягаемой поверхности, до нижней поверхности.
6.2.4. Внешний вид дверных блоков оценивают визуально путем сравнения с образцами-эталонами, утвержденными руководителем предприятия-изготовителя, при освещении не менее 300 лк.
6.2.5. Правильность установки уплотняющих прокладок, наличие и расположение подкладок, функциональных отверстий, дверных приборов, крепежных и других деталей, цвет и отсутствие трещин в соединениях, наличие защитной пленки, маркировку и упаковку проверяют визуально.
(в ред.
Изменения N 1, введенного в действие Приказом Росстандарта от 11.08.2020 N 491-ст)
Для определения плотности прилегания уплотняющих прокладок сравнивают размеры зазоров в притворах и степень сжатия прокладок, которая должна быть не менее 1/5 высоты необжатой прокладки. Измерения проводят штангенциркулем.
Плотность прилегания уплотняющих прокладок при приемо-сдаточных испытаниях при закрытых полотнах допускается определять по наличию непрерывного следа, оставленного красящим веществом (например, цветным мелом), предварительно нанесенным на поверхность прокладок и легко удаляемым после проведения испытаний. При периодических испытаниях данный показатель определяют по значению воздухо- и водопроницаемости.
6.2.6. Определение прочности (несущей способности) угловых соединений
(в ред.
Изменения N 1, введенного в действие Приказом Росстандарта от 11.08.2020 N 491-ст)
Для определения прочности (несущей способности) угловых соединений применяют схемы приложения нагрузок, приведенные на
рисунке 2.
(в ред.
Изменения N 1, введенного в действие Приказом Росстандарта от 11.08.2020 N 491-ст)
1 - опора; 2 - упор (для схемы Б - каретки);
3 - образец; 4 - точка приложения нагрузки P;
5 - съемные хомуты крепления
Рисунок 2. Схемы приложения нагрузок при определении
прочности угловых соединений
Приказом Росстандарта от 11.08.2020 N 491-ст)
- значения нагрузок принимают по
4.4.3, метод контроля - неразрушающий, выдержка под нагрузкой - не менее 5 мин;
- результат испытания признают удовлетворительным, если каждый образец выдержал нагрузку без превышения допустимого угла раскрытия и разрушений.
(в ред.
Изменения N 1, введенного в действие Приказом Росстандарта от 11.08.2020 N 491-ст)
6.2.7. Работу дверных приборов проверяют пятикратным открыванием и закрыванием створчатых элементов дверного блока. В случае обнаружения отклонений в работе дверных приборов проводят их наладку и повторную проверку.
6.3. Методы определения показателей качества при периодических испытаниях
6.3.1. Прочность (несущую способность) угловых соединений определяют по
6.2.6.
(в ред.
Изменения N 1, введенного в действие Приказом Росстандарта от 11.08.2020 N 491-ст)
При проведении испытаний допускается применять другие схемы нагрузок и испытательного оборудования. При этом методы испытаний, включая обработку результатов, должны быть коррелированы с методом испытаний по
6.2.6.
6.3.2. Приведенное сопротивление теплопередаче определяют по
ГОСТ 26602.1.
6.3.3. Воздухо- и водопроницаемость определяют по
ГОСТ 26602.2.
(в ред.
Изменения N 1, введенного в действие Приказом Росстандарта от 11.08.2020 N 491-ст)
Испытания по определению стойкости дверных блоков к воздействию динамических нагрузок имитируют следующие виды нагрузок, возникающих при резком открывании или закрывании дверного полотна:
- при условии нахождения в нижнем притворе постороннего предмета (изделия должны выдерживать столкновение с посторонним предметом, вызванное воздействием динамической нагрузки, приложенной в месте расположения ручки и направленной в сторону закрывания полотна);
- при условии резкого контакта дверного полотна с откосом дверного проема, например при сквозняке (изделия должны выдерживать столкновение с откосом, вызванное воздействием динамической нагрузки, приложенной в месте расположения ручки и направленной в сторону открывания полотна).
Испытание по определению стойкости к удару неупругим мягким телом (по
4.4.5) проводят трехразовым ударом неупругим мягким телом (например, грушей) диаметром нижней части (300 +/- 5) мм и массой (30 +/- 0,5) кг в центральную зону образца. После проведения испытаний остаточная деформация не должна превышать 2 мм.
Испытания на стойкость к удару твердым телом (по
4.4.6) массой 2 кг проводят трехразовым ударом в центр двери и, при необходимости, в угловые зоны. Среднее значение диаметра повреждения от удара не должно превышать 2,0 мм, глубины - 1,5 мм. После проведения испытаний дверные блоки должны сохранить работоспособность.
6.3.6. Показатели безотказности, а также эргономические показатели определяют по
ГОСТ 30777, другим нормативным документам и методикам испытательных лабораторий.
6.3.8. Стойкость к воздействию ветровой нагрузки определяют в соответствии с
[1] и по методикам испытательных лабораторий с учетом того, что входные двери в здания находятся на первых этажах. Значение давления принимают с учетом расчетных эксплуатационных ветровых нагрузок на здания. Рекомендуемый диапазон изменения давления от 400 до 2000 Па. При этом изменение значения прогиба брусков должно составлять от 1/150 до 1/300 длины бруска. После окончания испытаний все элементы дверного блока не должны иметь разрушений, оставаться плотно закрытыми (все запирающие элементы должны находиться в зацеплении).
(в ред.
Изменения N 1, введенного в действие Приказом Росстандарта от 11.08.2020 N 491-ст)
Примечание. Допускаются разрушение и замена стекла, стеклопакета.
6.3.9. Устойчивость к взлому определяют по времени, затраченному на взлом. В зависимости от класса устойчивости к взлому время, затраченное на взлом, должно быть от 5 до 30 мин по
ГОСТ 31462.
6.3.10. Стойкость к коррозии металлических деталей дверных блоков, профилей, запирающих приборов определяют по
ГОСТ 538,
ГОСТ 22233 и нормативным документам на конкретные изделия.
(в ред.
Изменения N 1, введенного в действие Приказом Росстандарта от 11.08.2020 N 491-ст)
7. Транспортирование и хранение
7.1. Изделия транспортируют всеми видами транспорта в соответствии с правилами перевозок грузов, действующими на транспорте конкретного вида.
7.2. При транспортировании изделия должны быть установлены вертикально, по направлению движения транспорта.
7.3. Изделия должны храниться в крытых сухих помещениях в вертикальном положении под углом 10° - 15° на деревянных подкладках, рассортированными по типам и размерам.
Между изделиями должны быть проложены прокладки одинаковой толщины.
7.4. Открывающиеся полотна дверных блоков перед транспортированием должны быть закрыты на все запирающие приборы.
8.1. Предприятие-изготовитель гарантирует соответствие дверных блоков требованиям настоящего стандарта при условии соблюдения потребителем правил транспортирования, хранения, монтажа, эксплуатации, а также области применения, установленной в нормативных документах и проектной документации.
8.2. Гарантийный срок дверных блоков устанавливают в договоре на поставку, но не менее трех лет со дня отгрузки изделий изготовителем.
(рекомендуемое)
ОБЩИЕ ТРЕБОВАНИЯ К МОНТАЖУ ИЗДЕЛИЙ
А.1. Требования к монтажу изделий устанавливают в проектной рабочей документации на объекты строительства (реконструкции, ремонта) с учетом принятых в проекте вариантов исполнения узлов примыкания изделий к стенам, рассчитанных на заданные климатические, эксплуатационные и другие нагрузки. Наружные изделия рекомендуется устанавливать с учетом требований
ГОСТ 30971.
А.2. Монтаж изделий должен осуществляться специализированными строительными фирмами. Окончание монтажных работ должно подтверждаться актом сдачи-приемки, включающим в себя гарантийные обязательства производителя работ.
А.3. По требованию потребителя (заказчика) изготовитель (поставщик) изделий должен предоставлять ему типовую инструкцию по монтажу дверных блоков из алюминиевых профилей, утвержденную руководителем предприятия-изготовителя и содержащую:
- чертежи (схемы) типовых монтажных узлов примыкания;
- перечень применяемых материалов (с учетом их совместимости и температурных режимов применения);
- последовательность технологических операций по монтажу дверных блоков.
А.4. При проектировании и исполнении узлов примыкания должны выполняться следующие условия:
- заделка монтажных зазоров между наружными изделиями и откосами проемов стеновых конструкций должна быть по всему периметру дверного блока плотной, герметичной, рассчитанной на выдерживание климатических нагрузок снаружи и условий эксплуатации внутри помещений;
- конструкция узлов примыкания наружных изделий (включая расположение дверного блока по глубине проема) должна препятствовать образованию мостиков холода (тепловых мостиков), приводящих к образованию конденсата на внутренних поверхностях дверных проемов;
- эксплуатационные характеристики конструкций узлов примыкания должны отвечать требованиям, установленным в строительных нормах и правилах.
А.5. При выборе заполнения монтажных зазоров следует учитывать температурные изменения габаритных размеров изделий.
В качестве крепежных элементов для монтажа изделий следует применять:
- строительные дюбели;
- монтажные шурупы;
- специальные монтажные системы (например, с регулируемыми монтажными опорами).
Не допускается использование для крепления изделий герметиков, клеев, пеноутеплителей, а также строительных гвоздей.
А.6. Дверные блоки следует устанавливать по уровню и отвесу. Отклонение от вертикали и горизонтали профилей коробок смонтированных изделий не должно превышать 1,5 мм на 1 м длины, но не более 3 мм на высоту изделия. При этом, если противоположные профили отклонены в разные стороны ("скручивание" коробки), их суммарное отклонение от нормали не должно превышать 3 мм.
Дверной блок устанавливают в подготовленный дверной проем симметрично относительно центральной вертикали проема. Стена проема, предназначенная для крепления профиля коробки с петлями, является базовой при установке дверной коробки.
Верхний и боковые монтажные зазоры принимают, как правило, в пределах 8 - 12 мм (для внутренних дверей). Зазоры в нижнем узле примыкания принимают в зависимости от наличия (или отсутствия) порога и назначения дверного блока.
А.7. Расстояние между крепежными элементами при монтаже наружных и усиленных изделий не должно превышать 500 мм, а в других случаях - не более 700 мм
(рисунок А.1).

- точки крепления к стене
Рисунок А.1. Пример расположения крепежных деталей
при монтаже дверного блока с замкнутой коробкой
А.8. Для заполнения монтажных зазоров (швов) дверных блоков применяют силиконовые герметики, предварительно сжатые уплотнительные ленты ПСУЛ (компрессионные ленты), изолирующие пенополиуретановые шнуры, пеноутеплители, минеральную вату и другие материалы, имеющие гигиеническое заключение и обеспечивающие требуемые эксплуатационные показатели швов. Пеноутеплители не должны иметь битумосодержащих добавок и увеличивать свой объем после завершения монтажных работ.
Закраска швов не рекомендуется.
(рекомендуемое)
ПРИМЕР ПАСПОРТА ДВЕРНОГО БЛОКА
Приказом Росстандарта от 11.08.2020 N 491-ст)
____________________________________________________________________ (наименование предприятия-изготовителя) ____________________________________________________________________ (адрес, телефон, факс предприятия-изготовителя) Паспорт (документ о качестве) наружного дверного блока из алюминиевых профилей, ГОСТ 23747-2015 а) вид дверного блока - наружная тамбурная дверь; б) вид заполнения дверного полотна - глухое; в) конструкция коробки - с порогом; г) способ открывания, число полотен - левое, однопольный; д) габаритные размеры: высота 2300 мм, ширина 970 мм, ширина профиля коробки 70 мм Условное обозначение Сертификат соответствия ______________________________________ N Комплектность а) конструкция заполнения полотна - трехслойная панель с утеплителем толщиной 16 мм; б) дверные петли - три накладные петли; в) запирающие приборы - многоригельный замок с пятью точками запирания; г) число контуров уплотняющих прокладок - 2 контура; д) дополнительные сведения. В комплект поставки изделия входят: фалевая ручка замка (2 шт.), дверной глазок, доводчик (дверной закрыватель), ограничитель угла открывания, инструкция по эксплуатации Основные технические характеристики, подтвержденные испытаниями Приведенное сопротивление теплопередаче - Воздухопроницаемость при Безотказность, циклы открывания-закрывания - Гарантийный срок - 3 года Номер партии - Номер заказа/позиция в заказе - Приемщик ОТК ____________ Дата изготовления "__" ____________ 20__ г. (подпись) |
(рекомендуемое)
СХЕМЫ ПРИЛОЖЕНИЯ НАГРУЗОК
Рисунок В.1. Двери с распашным и складным
(качающимся) полотном
Приказом Росстандарта от 11.08.2020 N 491-ст)
Рисунок В.2. Схема проведения испытания на сопротивление
статической нагрузке, действующей в плоскости полотна
S - центр удара груза; h - высота падения груза;
B - ширина двери; 1 - дверное полотно; 2 - коробка
с порогом; 3 - неупругое мягкое тело (груз)
массой 30 кг; 4 - коробка без порога
Рисунок В.3. Схема проведения испытания
на сопротивление удару мягким неупругим телом
(грузом) в направлении закрывания дверного полотна
1 - прижим; 2 - запирающий прижим или ограничитель;
3 - гибкий трос; 4 - неупругое мягкое тело (груз)
массой 30 кг; 5 - съемный крюк; h - высота падения груза
Рисунок В.4 - Схема проведения испытания на сопротивление
удару неупругим мягким телом (грузом) в направлении
открывания дверного полотна
Приказом Росстандарта от 11.08.2020 N 491-ст)
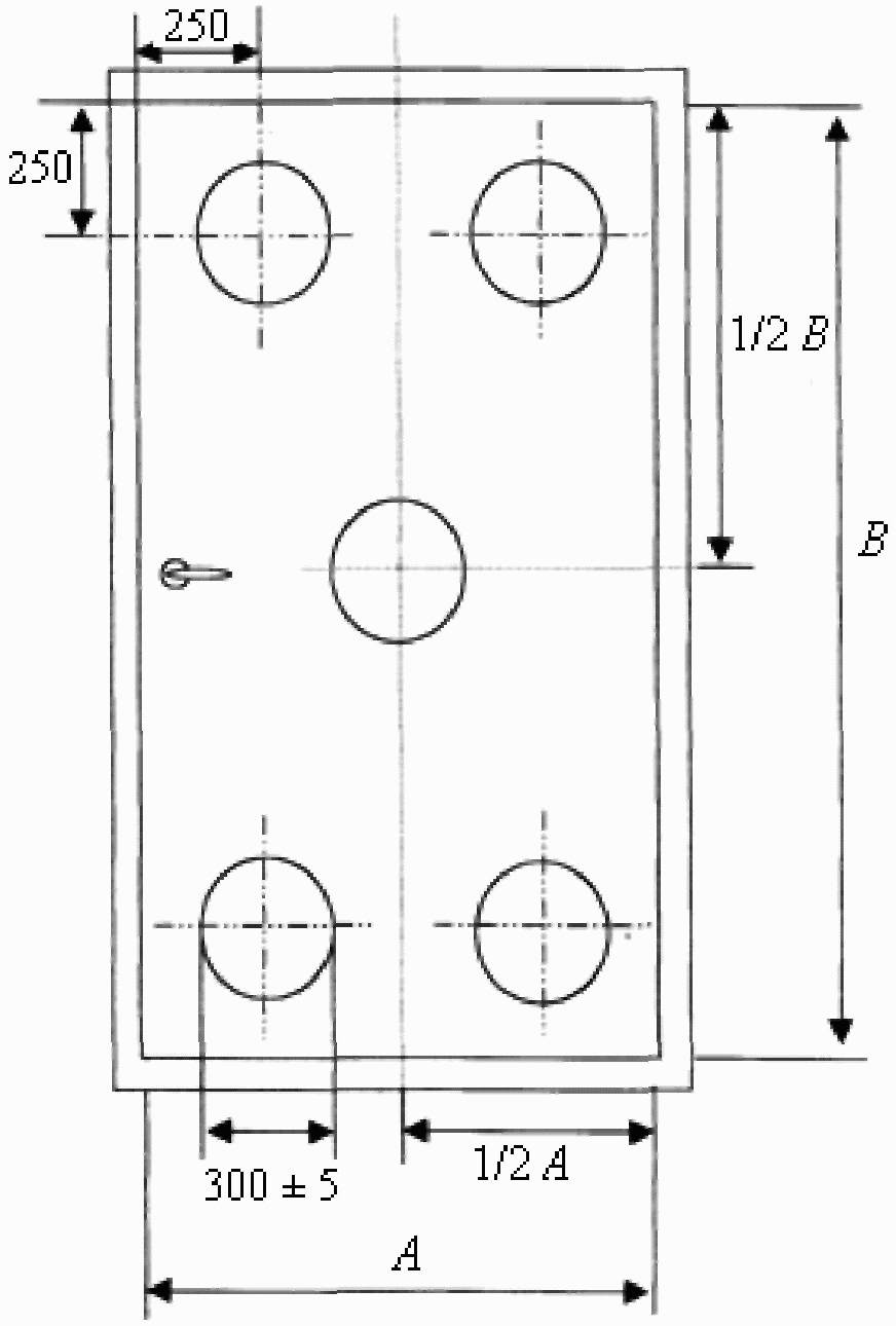
Рисунок В.5. Пример расположения точек
нанесения ударов на однопольном дверном блоке
Рисунок В.6. Схема проведения испытаний
по определению усилия закрывания дверей
Рисунок В.7. Схема проведения испытаний
динамической нагрузкой, действующей
в сторону закрывания дверного полотна
Приказом Росстандарта от 11.08.2020 N 491-ст)