Главная // Актуальные документы // ГОСТ Р (Государственный стандарт)СПРАВКА
Источник публикации
М.: Стандартинформ, 2016
Примечание к документу
Документ
введен в действие с 01.01.2017.
Взамен ГОСТ Р ИСО 7176-23-2009, ГОСТ Р ИСО 7176-24-2009.
Название документа
"ГОСТ Р ИСО 7176-28-2015. Национальный стандарт Российской Федерации. Кресла-коляски. Часть 28. Требования и методы испытаний устройств для преодоления лестниц"
(утв. и введен в действие Приказом Росстандарта от 28.10.2015 N 2178-ст)
"ГОСТ Р ИСО 7176-28-2015. Национальный стандарт Российской Федерации. Кресла-коляски. Часть 28. Требования и методы испытаний устройств для преодоления лестниц"
(утв. и введен в действие Приказом Росстандарта от 28.10.2015 N 2178-ст)
Утвержден и введен в действие
агентства по техническому
регулированию и метрологии
от 28 октября 2015 г. N 2178-ст
НАЦИОНАЛЬНЫЙ СТАНДАРТ РОССИЙСКОЙ ФЕДЕРАЦИИ
КРЕСЛА-КОЛЯСКИ
ЧАСТЬ 28
ТРЕБОВАНИЯ
И МЕТОДЫ ИСПЫТАНИЙ УСТРОЙСТВ ДЛЯ ПРЕОДОЛЕНИЯ ЛЕСТНИЦ
Wheelchairs. Part 28. Requirements and test methods
for user-operated stair-climbing devices
ISO 7176-28:2012
(IDT)
ГОСТ Р ИСО 7176-28-2015
Дата введения
1 января 2017 года
1 ПОДГОТОВЛЕН Региональной общественной организацией инвалидов "Центр гуманитарных программ" (РОИ "Центр гуманитарных программ") и Федеральным государственным унитарным предприятием "Российский научно-технический центр информации по стандартизации, метрологии и оценке соответствия" (ФГУП "СТАНДАРТИНФОРМ") на основе собственного перевода на русский язык англоязычной версии стандарта, указанного в пункте 4
2 ВНЕСЕН Техническим комитетом по стандартизации ТК 381 "Технические средства для инвалидов"
3 УТВЕРЖДЕН И ВВЕДЕН В ДЕЙСТВИЕ
Приказом Федерального агентства по техническому регулированию и метрологии от 28 октября 2015 г. N 2178-ст
4 Настоящий стандарт идентичен международному стандарту ИСО 7176-28:2012 "Кресла-коляски. Часть 28. Требования и методы испытаний устройств для преодоления лестниц" (ISO 7176-28:2012 "Wheelchairs - Part 28: Requirements and test methods for user-operated stair-climbing devices", IDT).
При применении настоящего стандарта рекомендуется использовать вместо ссылочных международных стандартов соответствующие им национальные стандарты Российской Федерации, сведения о которых приведены в дополнительном
приложении ДА
5 ВЗАМЕН ГОСТ Р ИСО 7176-23-2009, ГОСТ Р ИСО 7176-24-2009
Правила применения настоящего стандарта установлены в ГОСТ Р 1.0-2012
(раздел 8). Информация об изменениях к настоящему стандарту публикуется в ежегодном (по состоянию на 1 января текущего года) информационном указателе "Национальные стандарты", а официальный текст изменений и поправок - в ежемесячном информационном указателе "Национальные стандарты". В случае пересмотра (замены) или отмены настоящего стандарта соответствующее уведомление будет опубликовано в ближайшем выпуске ежемесячного информационного указателя "Национальные стандарты". Соответствующая информация, уведомление и тексты размещаются также в информационной системе общего пользования - на официальном сайте Федерального агентства по техническому регулированию и метрологии в сети Интернет (www.gost.ru)
Предисловие к ИСО 7176-28:2012
Международная организация по стандартизации (ИСО) является всемирной федерацией национальных организаций по стандартизации (комитетов - членов ИСО). Разработку международных стандартов обычно осуществляют Технические комитеты ИСО. Каждый комитет-член, заинтересованный в деятельности, для которой был создан Технический комитет, имеет право быть представленным в этом комитете. Международные правительственные и неправительственные организации, имеющие связи с ИСО, также принимают участие в работах. ИСО тесно взаимодействует с Международной электротехнической комиссией (МЭК) по всем вопросам стандартизации электротехники.
Международные стандарты разрабатывают в соответствии с правилами Директив ИСО/МЭК, часть 2.
Основной задачей Технических комитетов является подготовка международных стандартов. Проекты международных стандартов, одобренные Техническим комитетом, направляются членам этого комитета на голосование. Для их публикации в качестве международного стандарта требуется одобрение не менее 75% проголосовавших членов комитета.
Следует обратить внимание на возможность наличия в настоящем стандарте некоторых элементов, которые могут быть объектом патентного права. ИСО не несет ответственности за идентификацию некоторых или всех таких патентных прав.
ИСО 7176-9 подготовлен Техническим комитетом ИСО/ТК 173 "Вспомогательные средства для лиц с ограничениями жизнедеятельности", подкомитет ПК 1 "Кресла-коляски".
Настоящий стандарт подлежит применению с даты публикации. Настоящий стандарт заменяет ИСО 7176-23 и ИСО 7176-24. Однако ИСО 7176-23 и ИСО 7176-24 остаются в силе в течение двухлетнего переходного периода, чтобы предоставить изготовителям и организациям, проводящим испытания, возможность перестроить их производственные линии и процедуры измерения и испытания.
Международный стандарт 7176 состоит из следующих частей под общим наименованием "Кресла-коляски":
- часть 1. Определение статической устойчивости кресел-колясок;
- часть 2. Определение динамической устойчивости кресел-колясок с электроприводом;
- часть 3. Определение эффективности тормозов кресел-колясок;
- часть 4. Определение запаса хода кресел-колясок с электроприводом и скутеров путем измерения расхода энергии;
- часть 5. Определение размеров, массы и площади для маневрирования кресел-колясок;
- часть 6. Определение максимальной скорости, ускорения и замедления кресел-колясок с электроприводом;
- часть 7. Измерение размеров сиденья и колеса кресел-колясок;
- часть 8. Требования и методы испытаний на статическую, ударную и усталостную прочность кресел-колясок;
- часть 9. Климатические испытания кресел-колясок с электроприводом;
- часть 10. Определение способности кресел-колясок с электроприводом преодолевать препятствия при подъеме;
- часть 11. Испытательные манекены;
- часть 13. Определение коэффициента трения испытательных поверхностей;
- часть 14. Электросистемы и системы управления кресел-колясок с электроприводом и скутеров. Требования и методы испытаний;
- часть 15. Требования к документации и маркировке для обеспечения доступности информации;
- часть 16. Стойкость к возгоранию элементов кресла-коляски с мягкой обивкой. Требования и методы испытаний;
- часть 19. Колесные передвижные устройства, используемые в качестве сидений в автомобилях;
- часть 21. Требования и методы испытаний для обеспечения электромагнитной совместимости кресел-колясок с электроприводом и скутеров и зарядных батарей;
- часть 22. Правила установки;
- часть 23. Требования и методы испытаний устройств для преодоления лестничных ступеней, управляемых сопровождающим лицом;
- часть 24. Требования и методы испытаний устройств для преодоления лестничных ступеней, управляемых пользователем;
- часть 25. Батареи и зарядные устройства для кресел-колясок с электроприводом. Требования и методы испытаний;
- часть 26. Словарь;
- часть 28. Требования и методы испытаний устройств для преодоления лестничных ступеней.
Следующие два технических отчета также доступны:
- ИСО/TO 13570-1 Кресла-коляски. Часть 1. Рекомендации по применению стандартов серии ИСО 7176 на кресла-коляски;
- ИСО/TR 13570-2 Кресла-коляски. Часть 2. Типичные значения и рекомендуемые пределы размеров, массы и маневрирования пространства, как определено в ИСО 7176-5 <1>.
--------------------------------
<1> В процессе подготовки.
Настоящий стандарт написан в ответ на требования общей терминологии в области устройств для преодоления лестниц, чтобы предоставить средства оценки важных элементов безопасности и ввести средства для качественной и количественной оценки работы устройств для преодоления лестниц при различных условиях и окружающей среде, встречающихся в процессе их функционирования. Это позволит пользователям и изготовителям сравнивать относящуюся к делу безопасность и сервисные проблемы всех функций и характеристик данных устройств для преодоления лестниц.
Испытания, определенные в настоящем стандарте, используют для сбора сравнительной информации о факторах, относящихся к безопасности и функционированию устройства для преодоления лестниц в режиме преодоления лестниц и режиме преодоления, и режиме перемещения по лестничным площадкам, а также в режиме передвижения. Испытания включают в себя определения пригодных к функционированию условий окружающей среды для каждого устройства для преодоления лестниц и установления разных критериев функционирования в режиме преодоления для функционирования на лестницах и на поверхностях передвижения.
Настоящий стандарт определяет испытания для "базовой конфигурации" устройства для преодоления лестниц. Так как некоторые устройства для преодоления лестниц имеют регулируемые компоненты и/или альтернативные части, могут потребоваться испытания в различных конфигурациях для определения соответствия данных изменений настоящему стандарту.
Другие части ИСО 7176 могут быть применимы к устройствам для преодоления лестниц, которые также могут быть использованы как кресла-коляски. Все технические аспекты, которые относятся к креслам-коляскам и охвачены ИСО 7176, адаптированы, модифицированы и расширены для разнообразных требований различных рабочих режимов устройства для преодоления лестниц.
Настоящий стандарт распространяется на устройства для преодоления лестниц с креслами и устройства для преодоления лестниц, перемещающие кресло-коляску, когда устройство для преодоления лестниц поднимается вверх по лестнице задним ходом с пользователем, обращенным лицом вниз лестницы, и спускается вниз по лестнице передним ходом с пользователем, также обращенным лицом вниз лестницы.
Настоящий стандарт применим к устройствам для преодоления лестниц, которые предназначены для транспортирования взрослых, и тех, которые предназначены для транспортирования детей. Стандарт не применим к устройствам для преодоления лестниц, которые предназначены для управления детьми в качестве пользователя или сопровождающего.
Настоящий стандарт определяет требования и методы испытания устройств для преодоления лестниц с электроприводом. Стандарт не применим к устройствам для преодоления лестниц с ручным приводом.
Примечание 1 - Некоторые разделы настоящего стандарта могут быть использованы для испытания устройств для преодоления лестниц с ручным приводом.
Настоящий стандарт определяет испытания для демонстрации способности устройства для преодоления лестниц функционировать безопасно на лестнице с углом наклона 35°, или выше, если это заявлено изготовителем. Настоящий стандарт также включает эргономические требования, требования к маркировке и раскрытию информации.
Примечание 2 - Когда устройство для преодоления лестниц испытывают в режиме передвижения, как определено в настоящем стандарте, устройство нет необходимости испытывать во второй раз для тех же аспектов, как кресло-коляска.
Примечание 3 - Некоторые требования применимы только для определенного диапазона номинальной нагрузки.
В настоящем стандарте использованы нормативные ссылки на следующие стандарты. Для датированных ссылок применяют только указанные издания. Для недатированных ссылок применяют самые последние издания (включая любые изменения и поправки).
ИСО 3880-1 Конструкция зданий. Лестницы. Часть 1. Словарь (ISO 3880-1, Building construction - Stairs - Vocabulary)
ИСО 7176-1 Кресла-коляски. Часть 1. Определение статической устойчивости (ISO 7176-1, Wheelchairs - Part 1: Determination of static stability)
ИСО 7176-2 Кресла-коляски. Часть 2. Определение динамической устойчивости кресел-колясок с электроприводом системы (ISO 7176-2, Wheelchairs - Part 2: Determination of dynamic stability of electric wheelchairs)
ИСО 7176-3 Кресла-коляски. Часть 3. Определение эффективности действия тормозной системы (ISO 7176-3, Wheelchairs - Part 3: Determination of effectiveness of brakes)
ИСО 7176-4 Кресла-коляски. Часть 4. Определение запаса хода кресел-колясок с электроприводом и скутеров путем измерения расхода энергии (ISO 7176-4, Wheelchairs - Part 4: Energy consumption of electric wheelchairs and scooters for determination of theoretical distance range)
ИСО 7176-5 Кресла-коляски. Часть 5. Методы определения габаритных размеров (ISO 7176-5, Wheelchairs - Part 5: Determination of dimensions, mass and manoeuvring space)
ИСО 7176-6:2001 Кресла-коляски. Часть 6. Определение максимальной скорости, ускорения и торможения кресел-колясок с электроприводом (ISO 7176-6, Wheelchairs - Part 6: Determination of maximum speed, acceleration and deceleration of electric wheelchairs)
ИСО 7176-7:1998 Кресла-коляски. Часть 7. Метод измерения параметров и размеров сиденья и колеса (ISO 7176-7, Wheelchairs - Part 7: Measurement of seating and wheel dimensions)
ИСО 7176-8 Кресла-коляски. Часть 8. Технические требования и методы испытаний на статическую, ударную и усталостную прочность (ISO 7176-8, Wheelchairs - Part 8: Requirements and test methods for static, impact and fatigue strengths)
ИСО 7176-9 Кресла-коляски. Часть 9. Климатические испытания кресел-колясок с электроприводом (ISO 7176-9, Wheelchairs - Part 9: Climatic tests for electric wheelchairs)
ИСО 7176-10 Кресла-коляски. Часть 10. Методы испытаний для определения возможности преодолевать препятствия (ISO 7176-10, Wheelchairs - Part 10: Determination of obstacle-climbing ability of electrically powered wheelchairs)
ИСО 7176-11 Кресла-коляски. Часть 11. Испытательные манекены (ISO 7176-11, Wheelchairs - Part 11: Test dummies)
ИСО 7176-13 Кресла-коляски. Часть 13. Методы испытаний для определения коэффициента трения испытательной поверхности (ISO 7176-13, Wheelchairs - Part 13: Determination of coeffcient of friction of test surfaces)
ИСО 7176-14 Кресла-коляски. Часть 14. Электросистемы и системы управления кресел-колясок с электроприводом. Требования и методы испытаний (ISO 7176-14, Wheelchairs - Part 14: Power and control systems for electrically powered wheelchairs and scooters - Requirements and test methods)
ИСО 7176-15 Кресла-коляски. Часть 15. Требования к документации и маркировке для обеспечения доступности информации (ISO 7176-15, Wheelchairs - Part 15: Requirements for information disclosure, documentation and labelling)
ИСО 7176-16 Кресла-коляски. Часть 16. Стойкость к возгоранию элементов кресла-коляски с мягкой обивкой. Требования и методы испытаний (ISO 7176-16, Wheelchairs - Part 16: Resistance to ignition of upholstered parts - Requirements and test methods)
ИСО 7176-19 Кресла-коляски. Часть 19. Колесные мобильные устройства для применения в качестве сиденья в автомобилях (ISO 7176-19, Wheelchairs - Part 19: Wheeled mobility devices for use as seats in motor vehicles)
ИСО 7176-21:2009 Кресла-коляски. Часть 21. Требования и методы испытаний для обеспечения электромагнитной совместимости кресел-колясок с электроприводом (ISO 7176-21:2009, Wheelchairs - Part 21: Requirements and test methods for electromagnetic compatibility of electrically powered wheelchairs and scooters, and battery chargers)
ИСО 7176-22 Кресла-коляски. Часть 22. Правила установки (ISO 7176-22, Wheelchairs - Part 22: Set-up procedures)
ИСО 7176-26 Кресла-коляски. Часть 26. Словарь (ISO 7176-26, Wheelchairs - Part 26: Vocabulary)
ИСО 14971 Изделия медицинские. Применение менеджмента риска к медицинским изделиям (ISO 14971, Medical devices - Application of risk management to medical devices)
В настоящем стандарте применены термины и определения по ИСО 3880-1, ИСО 7176-5, ИСО 7176-7, ИСО 7176-15, ИСО 7176-26, а также следующие термины с соответствующими определениями.
Примечание - В настоящем стандарте применены некоторые термины по ИСО 3880-1, которые определены относительно горизонтальных лестниц. Так как в настоящем стандарте эти термины применены для испытательных лестниц, которые могут быть наклонены, термины в настоящем разделе определены заново.
3.1 исполнительный механизм (actuator): Часть механизма преодоления, которая предназначена для перемещения груза устройства для преодоления лестниц по лестнице во время подъема или спуска.
Примечание - Исполнительным механизмом может быть транспортер, колесо, нога, палец или другие части. В кластерах исполнительные механизмы носят название кулачки.
3.2 угол отклонения (angle of recline): Отклонение назад устройства для преодоления лестниц, стабилизируемого вручную при преодолении лестниц.
3.3 сопровождающий (assistant): лицо, которое управляет устройством для преодоления лестниц, но не перемещается устройством для преодоления лестниц.
3.4 устройство для преодоления лестниц, управляемое сопровождающим (assistant-operated stair-climbing device): Устройство для преодоления лестниц, предназначенное для управления сопровождающим (3.3).
3.5 кулачок (cam): Исполнительный механизм
(3.1) кластера
(3.8).
Примечание - Если кулачок представляет собой колесо, он может свободно вращаться, иметь функцию однонаправленного свободного колеса, быть временно заторможенным или приведенным в движение. Если кулачок представляет собой эксцентрик, он обычно имеет кривую или спиральную форму с изменяющимся диаметром. Некоторые кулачки могут состоять из шарнирной опоры или "башмака".
3.6 преодоление (climbing): Подъем или спуск по лестнице.
3.7 механизм преодоления (climbing mechanism): Часть устройства для преодоления лестниц, которое обеспечивает способность преодолевать лестницы.
3.8 кластер (cluster): Тип ступенчатого механизма преодоления
(3.49), в котором кулачки поворачиваются вокруг общей оси.
Примечание 1 - Для уточнения и примеров см. рисунки 1 и
2.
Примечание 2 - Обычно число кулачков в кластере варьируется от 2 до 5. Во время преодоления каждый кулачок может выполнять функцию нижнего исполнительного механизма и верхнего исполнительного механизма, когда кластер поворачивается.
1 - общая ось; 2 - кулачок (колесо); 3 - траектория самых
нижних точек кулачков относительно общей оси
Рисунок 1 - Детали кластера
Рисунок 2 - Примеры кластеров
3.9 непрерывный механизм преодоления (continuous climbing mechanism): Тип механизма преодоления, который простирается по нескольким ступеням и перемещается вдоль их линии наклона в непрерывном режиме.
Пример - Механизм преодоления, который имеет почти плоское основание при виде сбоку, такое, как беговая дорожка или ступенчатые рейки. На рисунке 3 показаны наиболее общие типы.
a) Неразделенная дорожка
b) Разделенная дорожка
c) Ступенчатые рейки
1 - общая длина площади контакта со ступенями непрерывного
механизма преодоления; 2 - длина секции площади контакта
со ступенями одной секции разделенного непрерывного
механизма преодоления
Рисунок 3 - Непрерывный механизм преодоления
3.10 перемещение (crawling): Движение по лестничным площадкам.
Примечание - Любые средства, обеспечиваемые устройством для преодоления лестниц для движения по лестничным площадкам, рассматривают как средства перемещения, включая ручной привод, электропривод. Использование механизма преодоления для движения по лестничным площадкам также рассматривают как средство перемещения.
3.11 прямое рабочее усилие (direct operating force): Усилие, прикладываемое оператором
(3.33) вручную между устройством для преодоления лестниц и его окружением, чтобы осуществлять управление в соответствии с инструкциями изготовителя.
Пример - Силовое воздействие на толкающие ручки устройства для преодоления лестниц или перила лестницы.
Примечание - Силы, обусловленные воздействием массы устройства для преодоления лестниц, испытуемого кресла-коляски и пользователя, не являются прямым рабочим усилием.
3.12 крепление (docking): Присоединение (кресла-коляски) к устройству для преодоления лестниц, перемещающему кресло-коляску.
3.13 привод (driving): Использование устройства для преодоления лестниц для обеспечения подвижности на колесах на поверхности передвижения.
Примечание - Некоторые устройства для преодоления лестниц с креслом и некоторые устройства для преодоления лестниц, перемещающие кресло-коляску, включают такие функции кресла-коляски.
3.14 поверхность передвижения (driving surface): поверхность, на которой кресло-коляска обычно приводится в движение при нормальном использовании.
Пример - уровень пола, наклонный пол, гладкий пол, настил, покрытый ковром пол, стыковые накладки, порог, тротуар, бордюр, небольшие препятствия, неровная поверхность.
3.15 динамически контролируемое устройство для преодоления лестниц (dynamically controlled stair-climbing device): Устройство для преодоления лестниц, стабилизируемое вручную
(3.26), которое в режиме преодоления управляет работой его механизма преодоления, реагируя на изменения прямых рабочих усилий
(3.11) и/или в перемещении центра массы пользователя, и/или изменения в точках контакта между устройством для преодоления лестниц и поверхностью, которая его удерживает.
3.16 бордюрный стопор (edge stop): Устройство, предназначенное для остановки движения вперед устройства для преодоления лестниц, когда оно находится на верхней лестничной площадке и приближается к оковке верхней ступени.
3.17 неблагоприятная установка при испытании (exaggerated test set-up): Конфигурация устройства для преодоления лестниц при испытании, которая имитирует предсказуемое неблагоприятное распределение массы пользователя и любых дополнительных масс.
3.18 пальцевой привод (finger drive): Тип ступенчатого механизма преодоления, в котором нижний исполнительный механизм закрепляется на устройстве для преодоления лестниц, а верхний исполнительный механизм подвижен относительно устройства для преодоления лестниц.
Примечание - Пальцевой привод известен, где нижним исполнительным механизмом является колесо, а верхним исполнительным механизмом является палец. Самая нижняя точка пальца двигается вдоль овальной траектории. Каждый исполнительный механизм выполняет свою функцию как нижний или верхний исполнительный механизм. См. рисунок 4.
1 - нижний исполнительный механизм (колесо); 2 - верхний
исполнительный механизм (палец); 3 - траектория самой нижней
точки пальца относительно механизма преодоления
Рисунок 4 - Пример пальцевого привода
3.19 передняя вертикальная плоскость (front vertical plane): Вертикальная плоскость, перпендикулярная к горизонтальной составляющей направления движения вперед и касательная к самой передней точке механизма преодоления, когда устройство для преодоления лестниц находится в режиме преодоления и располагается на лестнице с углом наклона (35 +/- 5)°. См. рисунок 5.
1 - передняя вертикальная плоскость
(3.19); 2 - задняя
вертикальная плоскость
(3.35); 3 - боковая вертикальная
Рисунок 5 - Базовые плоскости
3.20 ширина ступени (going): Расстояние между оковкой ступени и оковкой следующей более высокой ступени, измеренное перпендикулярно к оковке измеряемой ступени и параллельно ее проступи.
Примечание - Адаптировано из ИСО 3880-1.
См. рисунок 6.
1 - горизонтальная испытательная плоскость; 2 - оковка
измеряемой ступени; 3 - оковка следующей более высокой
ступени; 4 - оковка следующей более низкой ступени;
5 - линия наклона; 6 - ширина ступени
(3.20); 7 - угол
Рисунок 6 - Измерение ширины ступени, угла наклона и высоты
ступени (пример с наклоненной лестницей)
3.21 опасная ситуация (hazardous situation): Обстоятельства, при которых люди или животные подвергаются воздействию одного или более потенциального(ых) источника(ов) физического повреждения или нанесения вреда здоровью, или имущество или окружающая среда подвергаются воздействию одного или более потенциального(ых) источника(ов) повреждения.
Примечание - Это включает опрокидывание, скольжение, падение, сдавливание, удержание или любую другую ситуацию, которая реально является обоснованной.
3.22 наименее устойчивая конфигурация (least stable configuration): Установка устройства для преодоления лестниц, которая дает наименьшую устойчивость в направлении испытания.
3.23 наименее устойчивая позиция (least stable position): Размещение устройства для преодоления лестниц на испытательной поверхности или лестнице, которое дает наименьшую устойчивость в направлении испытания.
3.24 расположение в определенном месте (locating): Размещение (устройства для преодоления лестниц) на лестнице так, что там, где пролет
(3.42) имеет нечетное число ступеней, особой ступенью является средняя ступень пролета, или где пролет имеет четное число ступеней, особой ступенью является ступень сразу ниже середины пролета.
3.25 нижний исполнительный механизм (lower actuator): Исполнительный механизм ступенчатого механизма преодоления, который располагается ниже верхнего исполнительного механизма, когда оба исполнительных механизма находятся в контакте с двумя соседними ступенями.
3.26 устройство для преодоления лестниц, стабилизируемое вручную (manually stabilized stair-climbing device): Устройство для преодоления лестниц, которое стабилизируют приложением прямых рабочих усилий
(3.11) во время преодоления.
Примечание - Устройство для преодоления лестниц, которое является самоустанавливающимся в режиме привода, может быть устройством для преодоления лестниц, стабилизируемым вручную в режиме преодоления.
3.27 средняя скорость преодоления (mean climbing speed): Средняя скорость устройства для преодоления лестниц в процессе преодоления лестницы.
Примечание - Средняя скорость преодоления измеряется числом ступеней в минуту.
3.28 минимальный внутренний радиус лестницы (minimum inner stair radius): Минимальное расстояние между центральной осью винтовой испытательной лестницы и любой частью устройства для преодоления лестниц во время всего процесса преодоления.
3.29 минимальный внешний радиус лестницы (minimum outer stair radius): Максимальное расстояние между центральной осью винтовой испытательной лестницы и любой частью устройства для преодоления лестниц во время всего процесса преодоления.
3.30 пользователь (occupant): Лицо, которое транспортируют в устройстве для преодоления лестниц.
3.31 устройство для преодоления лестниц, управляемое пользователем (occupant-operated stair-climbing device): Устройство для преодоления лестниц, которое предназначено для управления пользователем.
3.32 управляющий пользователь (operating occupant): Пользователь
(3.30), управляющий устройством для преодоления лестниц.
3.33 оператор (operator): Сопровождающий или управляющий пользователь.
3.34 наклон (pitch): Угол между линией наклона и плоскостью, параллельной проступи ступеней.
Примечание 1 - Проступь горизонтальна, когда лестница не наклонена.
Примечание 2 - Адаптировано из ИСО 3880-1.
3.35 задняя вертикальная плоскость (rear vertical plane): Вертикальная плоскость, перпендикулярная к горизонтальной составляющей направления движения вперед и касательная к самой задней точке механизма преодоления, когда устройство для преодоления лестниц находится в режиме преодоления и располагается на лестнице с углом наклона (35 +/- 5)°.
3.36 отклоненное положение (reclined position): Положение устройства для преодоления лестниц, предназначенное для маневрирования на лестнице.
3.37 высота ступени (rise): Расстояние между оковкой ступени и оковкой следующей нижней ступени, измеренное перпендикулярно ее проступи.
Примечание - Адаптировано из ИСО 3880-1.
3.38 самоустанавливающееся устройство для преодоления лестниц (self-standing stair-climbing device): Устройство для преодоления лестниц, которое статически устойчиво, когда находится на горизонтальной поверхности, лестнице или лестничной площадке, когда подвергается только воздействию силы тяжести.
3.39 плечевая точка (shoulder point): Одна из двух точек приложения прямых рабочих усилий
(3.11), прикладываемых управляющим пользователем.
Примечание - Плечевые точки размещают на расстоянии (600 +/- 50) мм выше пересечения базовой плоскости сиденья и базовой плоскостью спинки при измерении параллельно базовой плоскости спинки, на расстоянии (140 +/- 50) мм впереди от базовой плоскости спинки при измерении перпендикулярно к ней, и на расстоянии (200 +/- 50) мм в каждую сторону от плоскости, разделяющей пополам систему опоры тела. См. рисунок 7.
1 - плечевая точка; 2 - базовая плоскость сидения;
3 - базовая плоскость спинки
Рисунок 7 - Размещение плечевых точек
3.40 боковая вертикальная плоскость (side vertical plane): Вертикальная плоскость, параллельная горизонтальной составляющей направления движения вперед и касательная к самой боковой точке устройства для преодоления лестниц, когда оно находится в режиме преодоления и располагается на лестнице с углом наклона (35 +/- 5)°. См.
рисунок 5.
3.41 угол отклонения (skew angle): Угол отклонения между вертикальной плоскостью, проходящей через линию наклона лестницы и продольной осью устройства для преодоления лестниц.
3.42 пролет (span): Набор ступеней, имеющих проступь, с которыми механизм преодоления находится в контакте, совместно с любыми ступенями между ними.
3.43 лестница (stair): Последовательность площадок (ступеней или лестничных площадок), которые позволяют проходить пешком на другие уровни.
Примечание - Адаптировано из ИСО 3880-1.
3.44 устройство для преодоления лестниц с креслом (stair-climbing chair): Устройство для преодоления лестниц, которое включает систему поддержки тела пользователя.
3.45 устройство для преодоления лестниц (stair-climbing device): Устройство, предназначенное для перемещения человека или кресла-коляски с пользователем путем преодоления лестницы вверх или вниз, но которое не крепится к ступеням.
Примечание - Иерархическая система для классификации различных типов устройств для преодоления лестниц приведена в
приложении A.
3.46 устройство для преодоления лестниц, перемещающее кресло-коляску (stair-climbing wheelchair carrier): Устройство для преодоления лестниц, которое перемещает кресло-коляску с пользователем.
3.47 лестничный индикатор (stair indicator): Средства, используемые для оценки угла наклона и/или размера ступеней.
3.48 ступень (step): Часть лестницы, включающая проступь, на которой размещается стопа для перемещения вверх или вниз.
Примечание - Адаптировано из ИСО 3880-1.
3.49 ступенчатый механизм преодоления (stepwise climbing mechanism): Тип механизма преодоления, который осуществляет преодоление, используя циклическое действие для каждой ступени.
Примеры - Пальцевые приводы (3.18), кластеры (3.8), двухтактные ступенчатые механизмы (3.52) или трехтактные ступенчатые механизмы (3.50).
c) Двухтактный ступенчатый механизм
(3.52)
d) Трехтактный ступенчатый механизм
(3.50)
Рисунок 8 - Примеры ступенчатых механизмов преодоления
3.50 трехтактный ступенчатый механизм (three-stroke stepping mechanism): Тип ступенчатого механизма преодоления, в котором исполнительные механизмы перемещаются относительно рамы и выполняют три такта для преодоления одной ступени.
Примечание - В трехтактных ступенчатых механизмах нижний исполнительный механизм представляет собой опору, а верхний исполнительный механизм представляет собой колесо. Каждый исполнительный механизм функционирует в процессе работы как нижний/верхний исполнительный механизм.
См. рисунок 9.
1 - корпус механизма преодоления; 2 - нижний исполнительный
механизм (опора); 3 - верхний исполнительный механизм
(колесо); 4 - траектория самой нижней точки верхнего
исполнительного механизма (второй такт); 5 - положение
верхнего исполнительного механизма во время первого такта;
6 - траектория самой нижней точки нижнего исполнительного
механизма (первый такт)
Рисунок 9 - Пример трехтактного механизма преодоления
3.51 проступь (tread): Верхняя поверхность ступени.
Примечание - Адаптировано из ИСО 3880-1.
3.52 двухтактный ступенчатый механизм (two-stroke stepping mechanism): Тип ступенчатого механизма преодоления, в котором исполнительные механизмы перемещаются относительно рамы и выполняют два такта для преодоления одной ступени.
Примечание - В двухтактных ступенчатых механизмах оба исполнительных механизма представляют собой колеса. Каждый исполнительный механизм функционирует в процессе работы как нижний/верхний исполнительный механизм.
См. рисунок 10.
1 - корпус механизма преодоления; 2 - нижний исполнительный
механизм (колесо); 3 - верхний исполнительный механизм
(колесо); 4 - траектория самой нижней точки верхнего
исполнительного механизма (первый такт)
Рисунок 10 - Пример двухтактного механизма преодоления
3.53 верхний исполнительный механизм (upper actuator): Исполнительный механизм ступенчатого механизма преодоления, который находится выше нижнего исполнительного механизма, когда оба исполнительных механизма находятся в контакте с двумя соседними ступенями.
3.54 вертикальное положение (upright position): Положение устройства для преодоления лестниц, предназначенное для маневрирования на поверхности передвижения.
3.55 (U-образная лестница (U-shaped stairs): Две лестницы под углом 180° друг к другу и соединенные промежуточной лестничной площадкой.
3.56 винтовая лестница (winding stairs): Лестница, встроенная в спиральную конструкцию.
4. Применение ссылочных стандартов
4.1. Использование устройства для преодоления лестниц в режиме передвижения
Там, где устройство для преодоления лестниц имеет режим передвижения, следующие стандарты применимы к устройству для преодоления лестниц относительно использования в режиме передвижения:
- ИСО 7176-1;
- ИСО 7176-2;
- ИСО 7176-3;
- ИСО 7176-4;
- ИСО 7176-5;
- ИСО 7176-6;
- ИСО 7176-7;
- ИСО 7176-8 (с изменениями, как предусмотрено в
5.8.2);
- ИСО 7176-9;
- ИСО 7176-10;
- ИСО 7176-14;
- ИСО 7176-15;
- ИСО 7176-16;
- ИСО 7176-19;
- ИСО 7176-21.
В дополнение к информации, определенной в
разделе 20 и отчетах об испытаниях в этих стандартах серии ИСО 7176, следующее должно быть предоставлено, где применимо:
a) любая инструкция изготовителя по использованию, которая была проигнорирована, с объяснением причины;
b) любые испытания, которые не могли быть выполнены, с объяснением причины.
4.2. Использование устройства для преодоления лестниц в других рабочих режимах
Настоящий стандарт также применим к устройству для преодоления лестниц, когда его используют в рабочих режимах, отличных от режима передвижения.
В дополнение к информации, представленной в
разделе 20, и отчетам об испытаниях по настоящему стандарту, следующее должно быть предоставлено, где применимо:
a) конфигурация устройства для преодоления лестниц во время испытаний;
b) любые наблюдения, относящиеся к испытанию;
c) любые испытания, которые не могли быть выполнены, с объяснением причины.
Требования настоящего стандарта применимы ко всем устройствам для преодоления лестниц, за исключением тех, где заявлено иное. Риск управления, как определено в ИСО 14971, должен быть осуществлен для устройства для преодоления лестниц.
5.2.1 Общие положения
Устройство для преодоления лестниц не может всегда гарантированно приближаться к лестнице или располагаться на ней строго по прямой линии. Все устройства для преодоления лестниц должны быть способны работать безопасно с некоторой степенью отклонения от заданного положения относительно лестницы, на которой их используют.
5.2.2 Требования
Когда устройство для преодоления лестниц испытывают, как определено в
разделе 9, используя угол отклонения

или угол отклонения, требуемый изготовителем, выбирая больший из этих углов, оно должно достигнуть оценки, по крайней мере, 2 балла, как определено в
таблице 3, или корректируя свой угол отклонения автоматически, или продолжая преодоление, не доводя до опасной ситуации.
5.3. Эффективность тормозов
Когда устройство для преодоления лестниц испытывают, как определено в
разделе 10, ни одно из следующих состояний не должно произойти:
- отказ тормозов;
- опасная потеря силы сцепления или неустойчивость;
- любые другие опасные ситуации.
Устройства для преодоления лестниц, стабилизируемые вручную, не должны требовать каких-либо других рабочих усилий, кроме как усилия стабилизации вручную, чтобы оставаться стационарно на лестнице. Самоустанавливающиеся устройства для преодоления лестниц не должны требовать рабочих усилий, чтобы оставаться стационарно на лестнице.
5.4. Статическая устойчивость
5.4.1 Статическая устойчивость на поверхности перемещения. Режим преодоления
Когда устройство для преодоления лестниц испытывают, как определено в
11.2.2.2, минимальное рабочее значение должно составлять 7° при движении вперед и вбок, и 5° при движении назад. Если изготовитель заявляет, что устройство для преодоления лестниц способно преодолевать наклонные лестничные площадки, то минимальное рабочее значение должно быть на 7° больше, чем заявленный угол наклона при движении вперед и вбок, и на 5° больше, чем заявленный угол наклона при движении назад.
Примечание - Определенные значения углов являются пределом безопасности для соответствующих направлений.
5.4.2 Статическая устойчивость на поверхности перемещения - Режим перемещения
Когда устройство для преодоления лестниц имеет режим перемещения, который отделен от режима преодоления и от режима передвижения, когда его испытывают, как определено в
11.2.2.3, минимальное рабочее значение должно составлять 7° при движении вперед и вбок и 5° при движении назад. Если изготовитель заявляет, что устройство для преодоления лестниц способно преодолевать наклонные лестничные площадки, то минимальное рабочее значение должно быть на 7° больше, чем заявленный угол наклона при движении вперед и вбок, и на 5° больше, чем заявленный угол наклона при движении назад.
Примечание - Определенные значения углов являются пределом безопасности для соответствующих направлений.
5.4.3 Статическая устойчивость на лестнице
5.4.3.1 Направление движения вниз
Если устройство для преодоления лестниц является самоустанавливающимся, то минимальное рабочее значение для статической устойчивости на лестнице при направлении движения вниз должно быть равно 7°. Если изготовитель заявляет, что устройство для преодоления лестниц способно преодолевать лестницы с углом наклона более 35°, минимальное рабочее значение должно быть на 28° меньше, чем заявленный угол.
Примечание - Угол 7° является пределом безопасности.
Пример - Если изготовитель заявляет угол 40°, минимальное рабочее значение должно быть 12°.
Когда устройство для преодоления лестниц испытывают, как определено в
11.2.3.2, используя минимальное рабочее значение, то
- оно не должно терять контакт с любой ступенью, с которой оно изначально имело контакт,
- оно не должно осуществлять контакт с любой ступенью, с которой оно изначально не имело контакта, и
- никакой опасной ситуации не должно возникать.
5.4.3.2 Направление движения вверх
Если устройство для преодоления лестниц является самоустанавливающимся, то минимальное рабочее значение для статической устойчивости на лестнице при направлении движения вверх должно быть равно 7°.
Примечание - Угол 7° является пределом безопасности.
Когда устройство для преодоления лестниц испытывают, как определено в
11.2.3.3, используя минимальное рабочее значение, то:
- оно не должно терять контакт с любой ступенью, с которой оно изначально имело контакт;
- оно не должно осуществлять контакт с любой ступенью, с которой оно изначально не имело контакта, и
- никакой опасной ситуации не должно возникать.
5.5. Динамическая устойчивость
Если устройство для преодоления лестниц является самоустанавливающимся, когда его испытывают, как определено
12.2, оно должно достигнуть оценки 2 балла или более, как определено в
таблице 3.
5.6. Прямые рабочие усилия
Если оператору необходимо приложить прямое рабочее усилие во время работы устройства для преодоления лестниц, включая маневрирование на поверхности перемещения или лестничной площадке, преодоление лестницы и переход между лестницей и лестничной площадкой, когда его испытывают, как определено в
разделе 13, прямые рабочие усилия не должны превышать следующие значения для:
- комбинации одной кисти и одной руки оператора - 120 Н;
- комбинации двух кистей и двух рук оператора - 240 Н;
- комбинации тела и руки (рук) оператора - 400 Н.
Примечание 1 - Методы испытания по определению значений прямых рабочих усилий для устройств для преодоления лестниц, стабилизируемых вручную, находились на рассмотрении во время написания настоящего стандарта.
Примечание 2 - Рекомендации по пространству легкого доступа оператора приведены в
приложении B.
5.7. Безопасность перемещения по ступеням
Когда устройство для преодоления лестниц испытывают, как определено в
разделе 14, оно должно достигнуть оценки 2 балла или более, как определено в
таблице 4.
5.8. Статическая, ударная и усталостная прочность
Если изготовитель заявляет, что устройство для преодоления лестниц превышает требования прочности, определенные в настоящем стандарте, изменяют испытания, чтобы проверить заявленное.
Примеры - Увеличенная статическая нагрузка, увеличенный угол испытательного отвеса, увеличенное число циклов, увеличенная высота настила, увеличенная высота перепада.
5.8.1 Статическая прочность
Устройство для преодоления лестниц должно отвечать действующим требованиям статической прочности, определенным в ИСО 7176-8. Устройство для преодоления лестниц также должно отвечать действующим требованиям статической прочности, определенным в ИСО 7176-8, когда его испытывают, как определено в
15.3.
5.8.2 Усталостная прочность. Передвижение
Если устройство для преодоления лестниц имеет режим передвижения, ИСО 7176-8 применим, когда устройство для преодоления лестниц используют в режиме передвижения, с изменениями, как определено в таблице 1.
Таблица 1
Тип устройства для преодоления лестниц | ИСО 7176-8 (барабанное испытание), цикл | ИСО 7176-8 (испытание на падение), цикл |
Устройство для преодоления лестниц с режимом передвижения | 133000 | 4440 |
5.8.3 Усталостная прочность. Преодоление
Устройство для преодоления лестниц должно отвечать требованиям прочности, определенным в ИСО 7176-8, при испытании как определено в
15.4, используя число ступеней, указанных в таблице 2.
Таблица 2
Число ступеней для испытания
Тип устройства для преодоления лестниц | Число ступеней (испытания на усталостную прочность) |
Устройство для преодоления лестниц без режима передвижения | 150000 |
Устройство для преодоления лестниц с режимом передвижения | 50000 |
5.8.4 Усталостная прочность стояночного тормоза
Если устройство для преодоления лестниц имеет стояночный тормоз, управляемый вручную, применяют положения по ИСО 7176-3, относящиеся к усталостной прочности стояночного тормоза.
5.9. Климатические испытания
Если устройство для преодоления лестниц имеет режим перемещения (движения по лестничной площадке), который отделен от режима преодоления и режима передвижения, когда его испытывают, как определено в
16.2.2, оно должно продолжать функционировать в соответствии со спецификацией изготовителя.
Когда устройство для преодоления лестниц испытывают, как определено в
16.2.3, оно должно продолжать функционировать в соответствии со спецификацией изготовителя.
5.10. Стойкость к возгоранию
Устройство для преодоления лестниц должно отвечать требованиям, определенным в ИСО 7176-16.
5.11. Электромагнитная совместимость
Устройство для преодоления лестниц должно отвечать требованиям, определенным в 7176-21, когда его испытывают, как определено в
разделе 17.
5.12. Безопасная работа, когда батарея становится разряженной
Когда устройство для преодоления лестниц испытывают, как определено в
разделе 18, никакие опасные ситуации не должны иметь место.
Рекомендуется, чтобы устройство для преодоления лестниц было обеспечено индикатором, который информировал бы о минимальном уровне зарядки батареи и следуя такой индикации - о том, что она имеет достаточную зарядку для подъема или спуска, по крайней мере, на 20 ступеней.
5.13. Оборудование для обеспечения безопасности
5.13.1 Общие положения
Устройство для преодоления лестниц должно отвечать требованиям, определенным в ИСО 7176-14.
В дополнение к этому устройство для преодоления лестниц должно быть оснащено оборудованием для обеспечения безопасности, определенным в
5.12 и
5.13.
Примечание - Рекомендации по дополнительным позициям оборудования для обеспечения безопасности (передняя опора тела, индикатор лестницы и подголовник) приведены в
приложении C.
5.13.2 Аварийная система
Устройство для преодоления лестниц должно быть оборудовано аварийной системой. Средства приведения в действие аварийной системы должны быть легко доступны оператору.
Когда устройство для преодоления лестниц испытывают, как определено в
19.2.1, приведение в действие аварийной системы в процессе преодоления должно привести к полной остановке устройства для преодоления лестниц, в которой оно должно оставаться.
Когда устройство для преодоления лестниц испытывают, как определено в
19.2.1, после приведения в действие аварийной системы выключение устройства для преодоления лестниц и последующее его включение снова не должно отключать аварийную систему.
Когда устройство для преодоления лестниц испытывают, как определено в
19.2.1, отключение аварийной системы должно требовать набора, по крайней мере, двух отдельных рабочих действий. Метод отключения аварийной системы должен быть определен в инструкции изготовителя по применению.
Примечание - Средства приведения в действие аварийной системы и ее отключения не обязательно должны быть отдельными выключателями, хотя должны включать средства, предотвращающие случайное включение аварийной системы. Аварийные системы, которые могут быть дезактивированы или отключены при разрешении аварийной ситуации, должны позволить устройству для преодоления лестниц спуститься с лестницы.
5.13.3 Ограничения на выход из режима преодоления
Если устройство для преодоления лестниц имеет рабочие режимы, отличные от режима преодоления, когда его испытывают, как определено в
19.2.2, не должно быть возможности для выхода из режима преодоления или изменения рабочего режима на другой, отличный от режима преодоления, пока оно находится на лестнице, если только в инструкции изготовителя по применению не заявлено, что это предназначено.
Если устройство для преодоления лестниц предназначено для демонтирования для облегчения транспортирования:
- любой компонент, который имеет массу более 10 кг, должен быть обеспечен подходящими устройствами для перемещения (например, ручками); или
- в инструкции для пользователя должны быть указаны места, за которые компонент может быть безопасно поднят, и/или приведен способ обращения при сборке.
Примечание - Соответствие проверяют осмотром.
6. Оборудование для испытаний
6.1 Прямая испытательная лестница, состоящая из восьми ступеней, каждая высотой (180 +/- 5) мм. Общий наклон должен быть

(см. рисунок 11). Ступени должны быть пронумерованы от самой нижней ступени доверху. Подступенок должен закрывать переднюю сторону каждой ступени. Все оковки ступеней должны находиться в пределах области, находящейся между двумя воображаемыми параллельными плоскостями на расстоянии 10 мм и скошены под общим углом наклона лестницы.
1 - 8 - номера ступеней; 9 - высота ступени; 10 - наклон;
11 - перила лестницы; 12 - вертикальное расстояние
между перилами и оковкой ступени; 13 - верхняя лестничная
площадка; 14 - перила верхней лестничной площадки
Рисунок 11 - Прямая испытательная лестница с верхней
лестничной площадкой
Оковки ступеней должны быть выполнены из твердого материала, быть гладкими и радиусом закругления (8 +/- 1) мм. Поверхность каждой ступени должна быть ровной, когда прямая испытательная лестница расположена на горизонтальной испытательной плоскости
(6.4) и должна иметь коэффициент трения, соответствующий ИСО 7176-13. Ступени должны быть достаточно широкими, чтобы разместить испытуемое устройство для преодоления лестниц, включая пользователя, испытуемое кресло-коляску (если используют) и сопровождающего (если присутствует).
Примечание - Рекомендуются ступени, которые, по крайней мере, на 500 мм шире, чем устройство для преодоления лестниц.
Прямая испытательная лестница должна быть приспособлена к наклону по направлению вниз и вверх с помощью подъемного механизма
(6.10).
Прямая испытательная лестница должна быть приспособлена к подсоединению к верхней лестничной площадке. Когда прямая испытательная лестница расположена на горизонтальной испытательной плоскости, испытательная плоскость представляет собой нижнюю лестничную площадку.
По крайней мере, одни перила должны быть установлены на испытательной лестнице. Каждые перила должны быть способны выдерживать силы, прикладываемые к ним, должны иметь круглый профиль захвата диаметром (35 +/- 5) мм и иметь вертикальное расстояние до оковки ступени (900 +/- 25) мм, когда лестница расположена на горизонтальной испытательной плоскости.
Прямая испытательная лестница должна быть сконструирована и закреплена так, чтобы любое движение или отклонение испытательной лестницы существенно не влияло на результаты испытания.
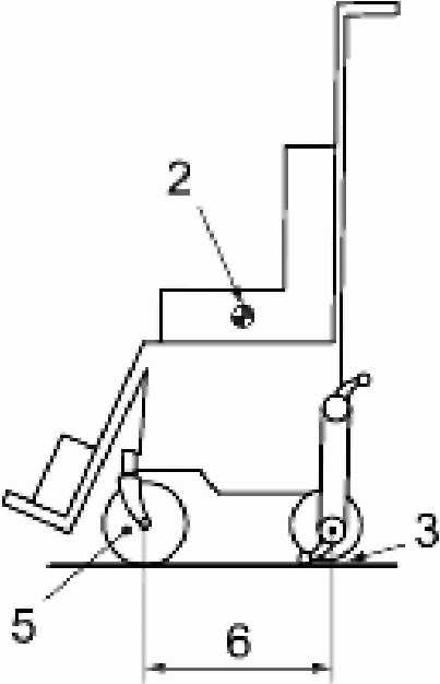
6.2 Винтовая испытательная лестница, состоящая из восьми ступеней, каждая высотой (180 +/- 5) мм. Угол закручивания между последующими ступенями должен быть (19 +/- 0,5)°. Оковки ступеней должны быть расположены по касательной к воображаемому цилиндру радиусом (75 +/- 20) мм, соосному с центральной осью лестниц. Ширина каждой ступени должна быть (257 +/- 10) мм при измерении перпендикулярно к оковке ступени в точке, отстоящей от центральной оси лестницы на расстоянии (760 +/- 10) мм, измеренном параллельно оковке ступени. Внутренний радиус лестниц должен быть (310 +/- 10) мм. Ступени должны быть пронумерованы от самой нижней ступени доверху. Подступенок должен закрывать переднюю сторону каждой ступени (см. рисунок 12).
1 - 8 - номера ступеней; 9 - высота ступени; 10 - угол
закручивания; 11 - воображаемый цилиндр, соосный
с центральной осью лестницы; 12 - центральная ось лестницы;
13 - ширина ступени; 14 - расстояние от центральной оси
лестницы для измерения ширины ступени; 15 - внутренний
радиус лестницы
Рисунок 12 - Винтовая испытательная лестница
Оковки ступеней должны быть выполнены из твердого материала, быть гладкими и скругленными радиусом (8 +/- 1) мм. Поверхность каждой ступени должна быть ровной, когда винтовая испытательная лестница расположена на горизонтальной испытательной плоскости
(6.4), и должна иметь коэффициент трения, соответствующий ИСО 7176-13. Ступени должны быть достаточно широкими, чтобы разместить испытуемое устройство для преодоления лестниц, включая пользователя, испытуемое кресло-коляску (если используют) и сопровождающего (если присутствует).
Примечание - Рекомендуются ступени, которые, по крайней мере, на 500 мм шире, чем устройство для преодоления лестниц.
Винтовая испытательная лестница должна быть приспособлена к подсоединению к верхней лестничной площадке. Когда винтовая испытательная лестница расположена на горизонтальной испытательной плоскости, испытательная плоскость представляет собой нижнюю лестничную площадку.
Если необходимо проводить испытание или в целях обеспечения безопасности персонала, проводящего испытание, по крайней мере, одни перила должны быть установлены на испытательной лестнице. Каждые перила, если используют, должны быть способны выдерживать силы, прикладываемые к ним, должны иметь круглый профиль захвата диаметром (35 +/- 5) мм и иметь вертикальное расстояние до оковки ступени (900 +/- 25) мм.
Винтовая испытательная лестница должна быть сконструирована и закреплена так, чтобы любое движение или отклонение испытательной лестницы существенно не влияло на результаты испытания.
6.3 Верхняя лестничная площадка, состоящая из ровной платформы высотой, равной высоте верхних ступеней прямой испытательной лестницы
(6.1) и винтовой испытательной лестницы
(6.2), с допуском +/- 5 мм. Верхняя поверхность должна иметь коэффициент трения, соответствующий стандарту ИСО 7176-13. Лестничная площадка должна быть способна надежно состыковываться с прямой испытательной лестницей или винтовой испытательной лестницей. Перила должны быть установлены на верхней лестничной площадке. Каждые перила должны быть способны выдерживать силы, прикладываемые к ним, должны иметь круглый профиль захвата диаметром (35 +/- 5) мм и иметь вертикальное расстояние до верхней поверхности (900 +/- 25) мм (см.
рисунок 11).
6.4 Горизонтальная испытательная плоскость, жесткая и достаточного размера для размещения устройства для преодоления лестниц, прямой испытательной лестницы, винтовой испытательной лестницы и/или верхней лестничной площадки, как требуется во время проведения испытания. Плоскость должна быть ровной, так чтобы вся поверхность лежала бы между двумя воображаемыми горизонтальными плоскостями, разнесенными на 5 мм, при отклонении в любом направлении на 1000 мм и разнесенными на 25 мм, при отклонении в любом направлении на 6000 мм. Поверхность плоскости должна иметь коэффициент трения, соответствующий стандарту ИСО 7176-13.
6.5 Регулируемые барьеры, способные обнаруживать максимальные отклонения и/или рабочие области устройства для преодоления лестниц на каждой ступени прямой испытательной лестницы
(6.1) и винтовой испытательной лестницы
(6.2), на верхней лестничной площадке
(6.3) и на горизонтальной испытательной плоскости
(6.4). Поверхность обнаружения каждого барьера должна быть равной и вертикальной и перпендикулярной к оковке ступени, когда барьер размещается на ступени.
Примечание - Регулируемые барьеры могут быть физическими плоскостями, световыми или любыми другими подходящими средствами для обнаружения максимального отклонения устройства для преодоления лестниц.
6.6 Испытуемое кресло-коляска, тип или модель, рекомендуемое для транспортирования в устройстве для преодоления лестниц, перемещающем кресло-коляску, изготовителем устройства кресла-коляски для преодоления лестниц, перемещающем кресло-коляску. Если изготовитель рекомендует несколько кресел-колясок, должно быть использовано наиболее тяжелое кресло-коляска. При отсутствии рекомендаций относительно выбора кресла-коляски должен быть использован имитатор кресла-коляски, соответствующий
приложению D.
6.7 Испытательный манекен, соответствующий ИСО 7176-11.
6.8 Средства измерения потребления энергии, как определено в ИСО 7176-4.
6.9 Средства для измерения времени (например, секундомер) с точностью 0,1 с.
6.10 Подъемный механизм, способный поднимать прямые испытательные лестницы
(6.1), так чтобы они могли быть наклонены вниз [см.
рисунок 13 a)] и вверх [см.
рисунок 13 b)] и способный поднимать суммарную массу прямой испытательной лестницы и загруженного устройства для преодоления лестниц.
Рисунок 13 - Пример подъемного механизма с наклоненной
испытательной лестницей
6.11 Средства измерения линейных размеров (например рулетка) способные измерять до 500 мм с точностью +/- 1 мм и от 500 до 5000 мм с точностью +/- 10 мм.
6.12 Барьер с перилами шириной (400 +/- 10) мм и минимальной высотой 1000 мм, предназначенный для установки сбоку, заподлицо с оковкой ступени под номером 1 прямой испытательной лестницы (см.
рисунок J.1).
Примечание - Барьер с перилами предназначен представлять внутренние перила на промежуточной лестничной площадке U-образной лестницы.
6.13 Устройство ускорения, способное прикладывать силу (100 +/- 10) Н в направлении вперед по горизонтали, чтобы толкать или тянуть устройство для преодоления лестниц через всю верхнюю лестничную площадку.
Примечание - Примеры устройств ускорения показаны на
рисунках 21 и
22.
6.14 Прибор для измерения давления в шинах, способный измерять давление в шинах до 6 бар с точностью +/- 0,2 бар.
6.15 Устройство крепления манекена, способное фиксировать испытательный манекен, как определено для каждой процедуры испытания без деформирования устройства для преодоления лестниц или испытуемого кресла-коляски.
6.16 Заменитель сумки (например, рюкзак), прикрепленный к устройству для преодоления лестниц для достижения неблагоприятной установки при испытании. Заменитель сумки должен иметь наибольшую массу и размеры, рекомендованные для объектов, перевозимых на устройстве для преодоления лестниц, в инструкциях изготовителя для применения. В случае отсутствия рекомендаций заменитель сумки должен иметь массу (7 +/- 0,25) кг и должен быть размещен в пределах пространства размерами (35 x 20 x 42) см.
6.17 Ограничитель пространства для сопровождающего, жесткая рама или поверхность длиной (640 +/- 10) мм и шириной (560 +/- 10) мм или на (200 +/- 10) мм более, чем расстояние между средними точками толкающих ручек испытуемого устройства для преодоления лестниц, большее из них. Два угла имеют радиусы скругления по (200 +/- 10) мм, как показано на рисунке 14.
устройства для преодоления лестниц
Рисунок 14 - Пример ограничителя пространства
для сопровождающего
Ограничитель пространства должен иметь возможность крепления к толкающим ручкам устройства для преодоления лестниц, так чтобы кромка, противоположная к скругленным углам, проходила через средние точки толкающих ручек.
Пример - Рама, сделанная из дерева или стальной проволоки.
Примечание - Ограничитель пространства для сопровождающего предназначен для имитации пространства, которое занимает сопровождающий при выполнении испытаний согласно
приложению J.
6.18 Эскалаторная испытательная машина, если необходимо для проведения альтернативного метода испытания, определенного в
приложении F, для испытания на усталостную прочность устройства для преодоления лестниц в режиме преодоления.
6.19 Рукоятка, жесткая штанга или пруток для крепления между толкающими ручками устройства для преодоления лестниц с целью приложения испытательной силы к его средним точкам.
6.20 Средства измерения силы, способные измерять силу до 200 Н с точностью +/- 3%.
7. Подготовка устройства для преодоления лестниц
для испытания
Перед проведением любого из испытаний, определенных в ИСО 7176, подготавливают устройство для преодоления лестниц, как описано в 7.2 -
7.10, если иное не определено для особого испытания. Регистрируют любые отклонения от условий настоящего раздела и причины отклонения.
Оборудуют и формируют устройство для преодоления лестниц для преодоления в соответствии с инструкциями изготовителя.
Если устройство для преодоления лестниц может быть поставлено с антиопрокидывателем и/или с устройством преодоления бордюров, эти устройства должны быть использованы.
Удаляют все свободные подушки.
Регистрируют оборудование, приспособленное для испытуемого устройства для преодоления лестниц.
Устанавливают любые регулируемые размеры устройства для преодоления лестниц на исходные установочные значения, определенные в ИСО 7176-22.
В случае устройства для преодоления лестниц, стабилизируемого вручную, регулируют угол отклонения в соответствии с инструкциями изготовителя.
Регистрируют отрегулированные размеры испытуемого устройства для преодоления лестниц.
Батареи с риском утечки во время испытания могут быть заменены на эквивалентные герметичные батареи или на другие объекты, имеющие аналогичную массу, размер и расположение центра тяжести, как требуется для проведения каждого испытания.
При использовании батарей их заряжают, по крайней мере, до 75% их номинальной емкости.
Если устройство для преодоления лестниц имеет пневматические шины, их накачивают до давления, рекомендованного изготовителем устройства для преодоления лестниц. Если указан диапазон давления, накачивают шины до наибольшего давления в диапазоне. При отсутствии рекомендаций накачивают шины до наибольшего давления, рекомендованного изготовителем шин.
Включает устройство для преодоления лестниц.
7.7.1 Общие положения
Установка скорости зависит от вида испытания. Выбирают установку скорости, как определено в 7.7.2 или
7.7.3.
7.7.2 Номинальная испытательная скорость
Если метод испытания определяет, что используют номинальную испытательную скорость, устройство для преодоления лестниц настраивают на наибольшую скорость для требуемого рабочего режима, которая соответствует инструкции изготовителя по применению.
7.7.3 Максимальная испытательная скорость
Если метод испытания определяет, что используют максимальную испытательную скорость:
a) когда скорость не зависит от прямых рабочих усилий, настраивают устройство для преодоления лестниц на максимальную скорость для требуемого рабочего режима, которую устройство для преодоления лестниц может достигнуть; или
b) когда скорость зависит от прямых рабочих усилий, управляют устройством для преодоления лестниц со скоростью, которая на 20% больше номинальной испытательной скорости требуемого рабочего режима (см.
7.7.2).
Примечание - Превышение скорости на 20% составляет предел для предусматриваемых изменений скорости при управлении вручную.
7.8. Загрузка устройств для преодоления лестниц
7.8.1 Загрузка устройства для преодоления лестниц с креслом
a) Где испытательный манекен
(6.7) определен для использования при особом испытании, выбирают манекен соответствующей массы и размещают его в устройстве для преодоления лестниц в соответствии с ИСО 7176-22. Если диапазон масс, определенных в ИСО 7176-11, не включает манекен с особой массой, выбирают наиболее близкую меньшую массу.
b) Где особый метод испытания требует, чтобы манекен был прикреплен к системе опоры тела, используют устройство крепления манекена
(6.15).
c) Где особый метод испытания позволяет использовать человека в качестве испытателя вместо испытательного манекена, испытателя размещают в устройстве для преодоления лестниц в соответствии с ИСО 7176-22. Если масса человека в качестве испытателя меньше массы применимого испытательного манекена, добавляют массу так, чтобы общая масса и положение центра тяжести массы находились как можно ближе к массе и центру тяжести манекена.
d) Регистрируют массу испытательного манекена или человека в качестве испытателя в отчете об испытаниях.
Предупреждение - Проведение испытаний с человеком в качестве испытателя может быть опасным. Необходимо принять соответствующие меры предосторожности для защиты персонала, проводящего испытания.
7.8.2 Загрузка устройства для преодоления лестниц, перемещающего кресло-коляску
Выбирают комбинацию кресла-коляски и испытательного манекена
(6.7), которая удовлетворяет следующему:
a) кресло-коляска является одним из тех, которые определены для использования с устройством для преодоления лестниц, или, где кресло-коляска не определено, используют имитатор кресла-коляски, как определено в
приложении D;
b) комбинация массы манекена и массы кресла-коляски равна максимальной номинальной нагрузке устройства для преодоления лестниц +/- 5 кг;
c) соотношение массы манекена к массе кресла-коляски является наибольшим в пределах тех комбинаций, которые могут быть выбраны;
d) масса манекена находится в пределах диапазона масс пользователя, определенных для кресла-коляски.
Если диапазон масс манекенов, определенный в ИСО 7176-11, не включает испытательный манекен, который допускает комбинации массы манекена и массы кресла-коляски в пределах допуска, определенного выше в
перечислении b), выбирают наиболее близкую меньшую объединенную массу.
Соблюдают инструкции, данные в ИСО 7176-22 для монтажа испытательного манекена в кресле-коляске.
Если данное испытание требует, чтобы испытательный манекен был прикреплен к системе опоры тела, используют крепление манекена
(6.15).
Где особый метод испытания позволяет использовать человека в качестве испытателя вместо испытательного манекена, сажают испытателя в кресло-коляску в соответствии с ИСО 7176-22. Если масса человека в качестве испытателя меньше массы применимого испытательного манекена, добавляют массу так, что общая масса и размещение центра тяжести массы находятся как можно ближе к массе и центру тяжести манекена.
Регистрируют тип и массу испытуемого кресла-коляски, и массу испытательного манекена или человека в качестве испытателя в отчете по испытанию.
Состыковывают загруженное испытательное кресло-коляску с устройством для преодоления лестниц, перемещающим кресло-коляску, и формируют устройство для преодоления лестниц для соответствующего рабочего режима в соответствии с инструкциями изготовителя по применению.
Где удобно для целей проведения испытания, испытуемое кресло-коляска может быть состыковано с устройством для преодоления лестниц, перемещающим кресло-коляску, перед загружением испытательного манекена в кресло-коляску.
Проведение испытаний с человеком в качестве испытателя может быть опасным. Необходимо принять соответствующие меры предосторожности для защиты персонала, проводящего испытания.
7.9. Адаптация системы опоры тела
Если угол между механизмом преодоления и системой опоры тела (устройства для преодоления лестниц или транспортируемого кресла-коляски) должен быть адаптирован вручную при движении между поверхностями перемещения и лестницей (например, наклоненный к наклону назад на лестнице, и наклоненный к наклону вперед на поверхностях перемещения или лестничных площадках), выполняют испытания с системой опоры тела, наклоненной вперед, на поверхностях перемещения или лестничных площадках, и наклоненной назад, на лестнице.
Если система опоры тела может поворачиваться вокруг вертикальной оси лицом, более чем в одном направлении, настраивают ее на положение, обращенное лицом вперед.
7.10. Неблагоприятная установка при испытании
7.10.1 Общие положения
Где метод испытания определяет, что используют неблагоприятную установку при испытании, следуют инструкциям, представленным ниже.
Размещают заменитель сумки
(6.16) сверху верхней поверхности конструкции сиденья (например, перекрытия) испытательного манекена. Центр массы заменителя сумки должен быть размещен не далее 10 мм от плоскости симметрии манекена (чтобы общий центр массы не смещался ни вправо, ни влево) и на (280 +/- 10) мм впереди шарниров манекена, при измерении параллельно его конструкции сиденья.
Если инструкции изготовителя по применению определяют одну или более позиций для переноса сумки, размещают заменитель сумки
(6.16) в наиболее удаленной задней позиции в соответствии с инструкциями.
Иначе говоря, подвешивают заменитель сумки от опоры спины (устройства для преодоления лестниц с креслом или транспортируемого кресла-коляски) в наиболее удобном месте (например, толкающие ручки или верх опоры спины) так, чтобы центр его массы находился на расстоянии (300 +/- 20) мм ниже точки крепления и на расстоянии не более 10 мм от плоскости симметрии испытательного манекена.
Температура окружающей среды должна быть (20 +/- 5) °C и относительная влажность должна быть от 30% до 85% RH.
Способность устройства для преодоления лестниц приспосабливаться к неровностям лестницы оценивают путем выполнения серии функциональных испытаний устройства для преодоления лестниц в наборе режимов преодоления при угле отклонения к прямой испытательной лестнице.
Предупреждение - Данные испытания могут быть опасными. Важно, чтобы соответствующие меры предосторожности (например, ограничители, которые удерживали бы устройство для преодоления лестниц в случае его падения) были предприняты для защиты персонала, проводящего испытания.
Примечание - Данное испытание применяют ко всем устройствам для преодоления лестниц.
Соединяют прямую испытательную лестницу с верхней лестничной площадкой и размещают их на горизонтальной испытательной плоскости.
Загружают устройство для преодоления лестниц испытуемым креслом-коляской (где применимо) и соответствующим испытательным манекеном или человеком в качестве испытателя, как описано в
7.8.
Настраивают устройство для преодоления лестниц на режим преодоления и конфигурируют его для преодоления лестницы в соответствии с инструкциями изготовителя по применению.
Проводят следующие испытания при максимальной скорости
(7.7.3) и применяют все скоростные команды в процессе всей последовательности испытания, даже при переходе между лестницей и лестничными площадками. Если инструкции изготовителя по применению дают четкое предупреждение не использовать максимальную скорость при переходе между лестницей и лестничной площадкой, тогда следуют инструкциям изготовителя.
Если в инструкции изготовителя по применению устройства для преодоления лестниц, управляемого пользователем, не заявлено, что управляющий пользователь должен привести в действие прямые рабочие усилия
(3.11) при преодолении лестницы или совершая переход между лестницей и лестничной площадкой, проводят испытание без приложения усилия к любым перилам.
a) Размещают устройство для преодоления лестниц на нижней лестничной площадке под углом отклонения, равном

, если в инструкции изготовителя по применению не заявлено, что устройство для преодоления лестниц способно приспосабливаться к

углу отклонения, в этом случае размещают устройство для преодоления лестниц на нижней лестничной площадке под

углом отклонения с допуском

, который находится в соответствии с инструкциями изготовителя по применению.
b) Дают устройству для преодоления лестниц преодолеть лестницу с нижней лестничной площадки до верхней лестничной площадки в соответствии с инструкцией изготовителя по применению и определяют баллы в соответствии с
таблицей 3 (см.
9.3).
d) Повторяют процедуру по
перечислениям a) -
c) при том же угле отклонения, но с устройством для преодоления лестниц, размещенном на верхней лестничной площадке, и спускающимся вниз по лестнице к нижней лестничной площадке в соответствии с инструкцией изготовителя по применению.
e) Определяют и регистрируют в отчете об испытаниях наименьшее количество баллов, полученных при испытании.
Оценивают результаты испытания на угол отклонения в соответствии с таблицей 3.
Таблица 3
Система количественной оценки результатов при испытаниях
на угол отклонения и испытаниях на динамическую устойчивость
Наблюдаемая реакция | Оценка, балл |
Никаких отклонений, нормальное функционирование | Все исполнительные механизмы остаются в контакте с испытательной поверхностью <a>, <b>, и преодоление лестницы соответствует инструкции изготовителя по применению, необходимое прямое рабочее усилие соответствует инструкции изготовителя по применению | 5 |
Незначительное отклонение, нормальное функционирование | Один исполнительный механизм приподнимается и возвращается снова на испытательную поверхность <a>, <b>, не вызывая никакого видимого отклонения устройства для преодоления лестниц, и преодоление лестницы соответствует инструкции изготовителя по применению, необходимое прямое рабочее усилие соответствует инструкции изготовителя по применению | 4 |
Кратковременное отклонение, необходимость умеренного увеличения прямого рабочего усилия | Все исполнительные механизмы с одного конца <c> устройства для преодоления лестниц приподнимаются и возвращаются снова на испытательную поверхность <a>, <b>. Ни одна другая часть устройства для преодоления лестниц не контактирует с испытательной поверхностью или преодоление лестницы соответствует инструкции изготовителя по применению, необходимое прямое рабочее усилие умеренно превышает усилие при нормальном использовании, преодоление лестницы не прерывается | 3 |
Кратковременное отклонение с другим контактом, необходимость умеренного увеличения прямого рабочего усилия с другим контактом | Все исполнительные механизмы с одного конца <c> устройства для преодоления лестниц приподнимаются и возвращаются снова на испытательную поверхность <a>, <b>. Часть устройства для преодоления лестниц, не исполнительный механизм, контактирует с испытательной поверхностью, или преодоление лестницы соответствует инструкции изготовителя по применению, необходимое прямое рабочее усилие умеренно превышает усилие для нормального использования, часть устройства для преодоления лестниц, не исполнительный механизм, контактирует с испытательной поверхностью, и преодоление лестницы не прерывается | 2 |
Частичное отклонение, необходимость значительного увеличения прямого рабочего усилия | Все исполнительные механизмы с одного конца <c> устройства для преодоления лестниц отрываются от испытательной поверхности <a>, <b> и устройство для преодоления лестниц останавливается, опираясь на часть устройства для преодоления лестниц, в которую не входит исполнительный механизм, отклонившись не более чем на 10° от первоначального положения, или необходимое прямое рабочее усилие значительно превышает усилие для нормального использования, преодоление лестницы прерывается | 1 |
Полное отклонение, невозможность завершения испытания | Отклонение устройства для преодоления лестниц более 10° от его первоначального положения (если оно не остановлено с помощью устройства ограничения или персонала, проводящего испытания), или испытание невозможно завершить | 0 |
<a> Испытательной поверхностью может быть горизонтальная испытательная плоскость, прямая испытательная лестница или нижняя или верхняя лестничная площадка, если применимо. <b> Исключая преднамеренный подъем исполнительных механизмов из-за способа преодоления, используемого устройством для преодоления лестниц. <c> Передний конец, задний конец, левая сторона или правая сторона устройства для преодоления лестниц. |
В дополнение к информации, установленной в
разделе 20, отчет об испытаниях должен включать следующую информацию:
a) заявление, отвечает ли устройство для преодоления лестниц требованиям
5.2;
b) конфигурацию устройства для преодоления лестниц во время испытания;
c) угол отклонения, используемый при испытании;
d) наименьшее количество баллов (см.
9.2), оцененных в соответствии с
таблицей 3;
e) любые опасные ситуации, которые произошли при испытаниях;
f) любые инструкции изготовителя по применению, которые были проигнорированы с объяснением причины;
g) любые особые испытания, которые не могли быть выполнены с объяснением причины;
h) любые другие наблюдения, относящиеся к испытаниям.
10. Эффективность тормозов
Эффективность тормозов оценивают, подвергая устройство для преодоления лестниц ряду испытаний, относящихся к тормозам, и измеряя тормозной путь, в дополнение к наблюдению за поведением устройства для преодоления лестниц во время каждого испытания.
Примечание - Данное испытание является расширением и адаптацией ИСО 7176-3.
10.2.1 Общие положения
Примечание - Эти испытания применимы ко всем устройствам для преодоления лестниц.
Загружают устройство для преодоления лестниц испытуемым креслом-коляской (где применимо) и соответствующим испытательным манекеном или человеком в качестве испытателя, как описано в
7.8.
Предупреждение - Эти испытания могут быть опасными. Важно, чтобы соответствующие меры предосторожности (например, ограничители, которые удерживали бы устройство для преодоления лестниц в случае его падения) были предприняты для защиты персонала, проводящего испытания.
10.2.2 Испытание на поверхности передвижения
Проводят испытание на эффективность тормозов для стояночных тормозов в соответствии с ИСО 7176-3 с устройством для преодоления лестниц в режиме преодоления. Испытывают устройство для преодоления лестниц, стабилизируемое вручную, в вертикальном положении.
Если устройство для преодоления лестниц имеет режим перемещения по лестничной площадке, который отделен от режима преодоления и режима передвижения, повторяют испытание стояночного тормоза в режиме перемещения по лестничной площадке. Где предусмотрено, что устройство для преодоления лестниц может быть толкаемым по поверхности передвижения, повторяют испытание стояночного тормоза с устройством для преодоления лестниц, переконфигурированным для этой деятельности.
10.2.3 Испытание на лестнице
10.2.3.1 Общие положения
Проводят испытания, используя прямую испытательную лестницу, с устройством для преодоления лестниц в режиме преодоления и в конфигурации для преодоления лестницы в соответствии с инструкциями изготовителя по применению.
10.2.3.2 Испытание тормозов при движении вниз
a) Располагают устройство для преодоления лестниц на прямой испытательной лестнице, так чтобы самая нижняя точка механизма преодоления, предназначенная для контакта с лестницей, находилась в контакте со ступенью под номером 2.
b) Наносят отметку на корпус устройства для преодоления лестниц в его положении, соответствующем оковке ступени под номером 3.
c) Дают возможность устройству для преодоления лестниц подняться медленно вверх по лестнице до размещения на ступени под номером 7.
d) Дают устройству для преодоления лестниц возможность спуститься вниз по лестнице с максимальной испытательной скоростью.
e) Начинают торможение в нормальном режиме в соответствии с инструкциями изготовителя по применению, когда отметка достигнет оковки ступени под номером 3.
Примечание - Веревка параллельная лестнице, которая становится натянутой, когда отметка достигает оковки ступени, может быть использована как для включения торможения, так и для облегчения измерения тормозного пути.
f) Приводят в действие тормоз(а) в режиме максимальной эффективности и поддерживают его (их) в таком состоянии до полной остановки устройства для преодоления лестниц. Измеряют тормозной путь, то есть расстояние между положением отметки, когда торможение началось, и положением отметки после остановки, мм, с допуском +/- 25 мм.
g) Без приложения каких-либо рабочих усилий, кроме как усилия стабилизации вручную, если необходимо, наблюдают за устройством для преодоления лестниц в течение одной минуты. Регистрируют, остается ли устройство для преодоления лестниц устойчивым.
h) Повторяют испытание еще два раза.
i) Вычисляют и регистрируют средний тормозной путь при спуске с лестницы, вместе с любыми другими наблюдениями, относящимися к испытанию, такими как поведение при торможении, потеря устойчивости, скольжение и отказ тормозов и любые другие опасные ситуации.
Примечание 2 - Тормозной путь при спуске с лестницы необходим для испытаний на динамическую устойчивость по
12.2.6.
10.2.3.3 Испытание тормозов при движении вверх
a) Располагают устройство для преодоления лестниц на прямой испытательной лестнице, так чтобы самая верхняя точка механизма преодоления, предназначенная для контакта с лестницей, находилась в контакте со ступенью под номером 7.
b) Наносят отметку на корпус устройства для преодоления лестниц в его положении, которое соответствует оковке ступени под номером 6.
c) Дают устройству для преодоления лестниц возможность спуститься медленно вниз по лестнице до размещения на ступени под номером 2.
d) Дают возможность устройству для преодоления лестниц подняться вверх по лестнице с максимальной испытательной скоростью.
e) Начинают торможение в нормальном режиме в соответствии с инструкциями изготовителя по применению, когда отметка достигнет оковки ступени под номером 6.
Примечание 1 - Веревка параллельная лестнице, которая становится натянутой, когда отметка достигает оковки ступени, может быть использована как для включения торможения, так и для облегчения измерения тормозного пути.
f) Приводят в действие тормоз(а) в режиме максимальной эффективности и поддерживают его (их) в таком состоянии до полной остановки устройства для преодоления лестниц. Измеряют тормозной путь, то есть расстояние между положением отметки, когда торможение началось, и положением отметки после остановки, мм, с допуском +/- 25 мм.
g) Без приложения каких-либо рабочих усилий, кроме как усилия стабилизации вручную, если необходимо, наблюдают за устройством для преодоления лестниц в течение одной минуты. Регистрируют, остается ли устройство для преодоления лестниц устойчивым.
h) Повторяют испытание еще два раза.
i) Вычисляют и регистрируют средний тормозной путь при подъеме вверх по лестнице, вместе с любыми другими наблюдениями, относящимися к испытанию, такими как поведение при торможении, потеря устойчивости, скольжение и отказ тормозов и любые другие опасные ситуации.
Примечание 2 - Тормозной путь при подъеме вверх по лестнице необходим для испытаний на динамическую устойчивость по
12.2.7.
10.2.3.4 Эффективность повторного полного применения тормозов
Приводят в действие тормоза для испытания, заставляя устройство для преодоления лестниц подниматься вверх и спускаться вниз по прямой испытательной лестнице так быстро, насколько возможно, следующим образом:
a) с устройством для преодоления лестниц, размещенном на ступени под номером 7, заставляют его спускаться вниз по лестнице с максимальным ускорением до достижения максимальной испытательной скорости, и затем заставляют тормоз(а) довести его до полной остановки при минимальном расстоянии, так чтобы оно расположилось на ступени под номером 2;
b) с устройством для преодоления лестниц, размещенном на ступени под номером 2, заставляют его подняться вверх по лестнице с максимальным ускорением до достижения максимальной испытательной скорости, и затем заставляют тормоз(а) довести его до полной остановки при минимальном расстоянии, так чтобы оно расположилось на ступени под номером 7;
c) повторяют процедуры по
перечислениям a) и b) пять раз последовательно без пауз.
Немедленно, следуя этому условию, выполняют испытание на торможение, определенное в
10.2.3.2.
Вычисляют и регистрируют, имеются ли какие-либо различия между этим испытанием и результатами, полученными при первом испытании на торможение при движении вниз
(10.2.3.2).
10.3. Отчет об испытаниях
В дополнение к информации, установленной в
разделе 20, отчет об испытаниях должен включать следующую информацию:
a) заявление, отвечает ли устройство для преодоления лестниц требованиям
5.3;
b) конфигурацию устройства для преодоления лестниц во время испытания;
c) описание испытанного(ых) стояночного(ых) тормоза(ов), включая метод работы, такой как управление пальцем/рукой/стопой, и ручной ли он, электрический, автоматический и т.п.;
d) если подготовка кресла-коляски требовала измерения рабочих усилий для торможения, как определено в ИСО 7176-3, указывают приложенное усилие, Н, требуемое для управления тормозами во время испытаний;
e) результаты испытаний стояночных тормозов, как определено в
10.2.2;
f) результаты испытаний рабочих тормозов, как определено в
10.2.3;
g) любые опасные ситуации, которые произошли во время испытания;
h) любые инструкции изготовителя по применению, которые были проигнорированы, с объяснением причины;
i) любые особые испытания, которые не могли быть выполнены, с объяснением причины;
j) любые другие наблюдения, относящиеся к испытаниям.
11. Статическая устойчивость
Статическую устойчивость устройства для преодоления лестниц оценивают, подвергая его ряду испытаний на устойчивость на поверхности передвижения и на лестнице, и наблюдая за его работой.
Примечание - Данное испытание является расширением и адаптацией ИСО 7176-1.
11.2.1 Общие положения
Загружают устройство для преодоления лестниц испытательным креслом-коляской (где применимо) и соответствующим испытательным манекеном, как описано в
7.8, но не используют человека в качестве испытателя.
Проводят испытания, приведенные в
11.2.2 и
11.2.3, с выключенным устройством для преодоления лестниц, если инструкции изготовителя по применению не требуют оставить электропитание включенным, когда устройство для преодоления лестниц находится в устойчивом положении. В этом случае, регистрируют это в отчете об испытаниях.
Предупреждение - Эти испытания могут быть опасными. Важно, чтобы соответствующие меры предосторожности (например, ограничители, которые удерживали бы устройство для преодоления лестниц в случае его падения) были предприняты для защиты персонала, проводящего испытания.
11.2.2 Статическая устойчивость на поверхности передвижения
11.2.2.1 Общие положения
Проводят испытания на статическую устойчивость на поверхности передвижения в соответствии с ИСО 7176-1, с изменениями, приведенными в
11.2.2.2 и
11.2.2.3.
Испытывают устройство для преодоления лестниц, стабилизируемое вручную в вертикальном положении.
Если угол между механизмом преодоления и системой опоры тела (устройства для преодоления лестниц или транспортируемого кресла-коляски) должен быть адаптирован вручную при движении между поверхностями передвижения и лестницей, проводят испытания дважды с устройством для преодоления лестниц, установленном при обоих экстремальных углах.
Если устройство для преодоления лестниц, стабилизируемое вручную, не может быть сконфигурировано ни в одно из этих положений, когда оно применимо в рабочем режиме, испытание для этой особой комбинации позиций и рабочего режима не проводят. Регистрируют это в отчете об испытаниях.
11.2.2.2 Режим преодоления
Примечание 1 - Данное испытание применимо для всех устройств для преодоления лестниц.
Проводят испытания на статическую устойчивость в направлениях движения вперед, назад и вбок, как определено в ИСО 7176-1, с устройством для преодоления лестниц в режиме преодоления. Размещают устройство для преодоления лестниц на испытательной плоскости в его наименее устойчивой конфигурации относительно направления испытания для каждого испытания (см.
E.1) и в его наименее устойчивом положении относительно направления испытания для каждого испытания (см.
E.2). Используют неблагоприятную установку при испытании относительно направления испытания для каждого испытания, как описано в
7.10.
Примечание 2 - Для испытания в направлении движения вбок используют неблагоприятную установку при испытании в направлении движения вперед.
11.2.2.3 Режим перемещения по лестничной площадке
Примечание 1 - Испытание применимо к устройству для преодоления лестниц, которое имеет режим перемещения, который отделен от режима преодоления и режима передвижения.
Проводят испытания на статическую устойчивость в направлениях движения вперед, назад и вбок, как определено в ИСО 7176-1, с устройством для преодоления лестниц в режиме перемещения. Размещают устройство для преодоления лестниц на испытательной плоскости в его наименее устойчивой конфигурации относительно направления испытания для каждого испытания (см.
E.1) и в его наименее устойчивом положении испытания относительно направления испытания для каждого испытания (см.
E.2). Используют неблагоприятную установку при испытании относительно направления испытания для каждого испытания, как описано в
7.10.
Примечание 2 - Для испытания в направлении движения вбок используют неблагоприятную установку при испытании в направлении движения вперед.
11.2.3 Статическая устойчивость на лестнице
11.2.3.1 Общие положения
Примечание - Испытания, данные в
11.2.3, применимы к самоустанавливающимся устройствам для преодоления лестниц.
Размещают прямую испытательную лестницу
(6.1) на горизонтальной испытательной плоскости
(6.4). Используют подъемный механизм
(6.10), чтобы наклонить прямую испытательную лестницу.
Проводят испытания на статическую устойчивость по
11.2.3.2 и
11.2.3.3 с устройством для преодоления лестниц в режиме преодоления.
11.2.3.2 Наклон лестницы вниз
Устанавливают устройство для преодоления лестниц в наименее устойчивую конфигурацию при движении вперед (см.
E.1.2) и используют неблагоприятную установку при испытании при движении вперед (см.
7.10.2).
Устанавливают устройство для преодоления лестниц в наименее устойчивое положение при движении вниз на ступень 4 в соответствии с
E.2.4.
Отмечают ступени, с которыми устройство для преодоления лестниц находилось первоначально в контакте до наклона лестницы.
Наклоняют прямую испытательную лестницу вниз на угол

относительно горизонтали, или, если в инструкции изготовителя по применению заявлено, что устройство для преодоления лестниц способно преодолевать лестницы с углом наклона более 35°, наклоняют прямую испытательную лестницу на угол, который на

больше заявленного угла [см.
рисунок 15 a)].
1 - испытательная лестница, наклоненная вперед; 2 - угол
наклона вперед испытательной лестницы; 3 - провисающая
веревка, ограничивающая перевертывание; 4 - ступень
под номером 4, действующая как ось наклона; 5 - ступень выше
ступени под номером 4, на которой обнаружена потеря
контакта; 6 - ступень ниже ступени под номером 4, на которой
обнаружен контакт; 7 - испытательная лестница, наклоненная
назад; 8 - угол наклона назад испытательной лестницы;
9 - ступень ниже ступени под номером 4, на которой
обнаружена потеря контакта; 10 - ступень выше ступени
под номером 4, на которой обнаружен контакт
Рисунок 15 - Пример испытаний на статическую устойчивость
на лестнице
Определяют, выполнены ли требования и регистрируют результат в отчете об испытании.
11.2.3.3 Наклон лестницы вверх
Устанавливают устройство для преодоления лестниц в наименее устойчивую конфигурацию при движении назад (см.
E.1.3) и используют неблагоприятную установку при испытании при движении назад (см.
7.10.3).
Устанавливают устройство для преодоления лестниц в наименее устойчивое положение при движении вверх на ступень под номером 4 в соответствии с
E.2.5.
Отмечают ступени, с которыми устройство для преодоления лестниц находилось первоначально в контакте до наклона лестницы.
Наклоняют прямую испытательную лестницу вверх на угол

относительно горизонтали [см.
рисунок 15 b)].
Определяют, выполнены ли требования и регистрируют результаты в отчете об испытании.
11.3. Отчет об испытаниях
В дополнение к информации, определенной в
разделе 20, отчет об испытаниях должен включить следующую информацию:
a) заявление, отвечает ли устройство для преодоления лестниц требованиям
5.4;
b) конфигурацию устройства для преодоления лестниц во время испытаний;
d) угол, на который прямая испытательная лестница была наклонена при испытаниях по
11.2.3.2 и
11.2.3.3;
e) любую дополнительную информацию, требуемую для отчета об испытаниях согласно ИСО 7176-1;
f) любую опасную ситуацию, которая произошла при испытаниях;
g) любые инструкции изготовителя по применению, которые были проигнорированы, с объяснением причины;
h) любые особые испытания, которые не могли быть выполнены, с объяснением причины;
i) любые другие наблюдения, относящиеся к испытаниям.
12. Динамическая устойчивость
Динамическую устойчивость устройства для преодоления лестниц оценивают, подвергая его ряду испытаний на устойчивость для каждой его функции движения и оценивая полученные результаты.
Примечание 1 - Данное испытание является расширением и адаптацией ИСО 7176-2.
Примечание 2 - Динамическую стабильность испытывают при условиях, которые могут уменьшать стабильность. Такие условия часто неожиданно встречаются при нормальном использовании устройства для преодоления лестниц.
12.2.1 Общие положения
Примечание 1 - Данные испытания применимы только к самоустанавливающимся устройствам для преодоления лестниц.
Подсоединяют прямую испытательную лестницу к верхней лестничной площадке и располагают их на горизонтальной испытательной плоскости.
Проводят испытания с устройством для преодоления лестниц в режиме преодоления.
Загружают устройство для преодоления лестниц испытательным креслом-коляской (где применимо) и соответствующим испытательным манекеном или человеком в качестве испытателя, как описано в
7.8.
Проводят испытания без использования перил, если в инструкции изготовителя по использованию не заявлено, что управляющий пользователь должен прикладывать прямые рабочие усилия при преодолении лестницы или выполняя переход между лестницей и лестничной площадкой.
Примечание 2 - Для некоторых испытаний необходимо определение тормозного пути при спуске с лестницы и подъеме на лестницу (см.
10.2.3.2 и
10.2.3.3).
Проводят все испытания на максимальной испытательной скорости (см.
7.7.3). Поддерживают команду полной скорости на протяжении всей последовательности испытания, даже выполняя переход между лестницей и лестничной площадкой, за исключением следующего случая. Если инструкция изготовителя по применению дает четкое предупреждение не использовать максимальную скорость, выполняя переход между лестницей и лестничной площадкой, тогда следуют инструкции изготовителя по применению.
На каждом этапе испытания определяют и регистрируют точки, в которых встречались опасные ситуации.
Примечание 3 - Видеорегистрация может быть полезна для анализов результатов.
Оценивают количество баллов для каждого испытания в соответствии с
таблицей 3 (см.
9.3) немедленно после выполнения каждого испытания.
Испытания, приведенные в
12.2, могут быть выполнены в любом порядке.
Предупреждение - Эти испытания могут быть опасными. Важно, чтобы соответствующие меры предосторожности (например, ограничители, которые удерживали бы устройство для преодоления лестниц в случае его падения) были предприняты для защиты персонала, проводящего испытания.
12.2.2 Испытание при переходе на верхнюю лестничную площадку при движении вверх
a) Устанавливают устройство для преодоления лестниц в наименее устойчивую конфигурацию при движении вперед (см.
E.1.2) и используют неблагоприятную установку при испытании при движении вперед, как описано в
7.10.2.
b) Размещают устройство для преодоления лестниц на ступени под номером 3.
c) Дают устройству для преодоления лестниц возможность подняться вверх по лестнице и перейти через верхний переход, пока оно не разместится полностью на верхней лестничной площадке. Выполняют эту процедуру за один прием без перерыва.
d) Повторяют процедуру испытания еще два раза и оценивают результаты в соответствии с
таблицей 3 (см.
9.3). Регистрируют наименьшее полученное число баллов в отчете об испытании.
e) Устанавливают устройство для преодоления лестниц в наименее устойчивую конфигурацию при движении назад (см.
E.1.3) и используют неблагоприятную установку при испытании при движении назад, как описано в
7.10.3. Затем повторяют процедуру по
перечислениям b) -
d).
12.2.3 Испытание при переходе с верхней лестничной площадки при движении вниз
a) Устанавливают устройство для преодоления лестниц в наименее устойчивую конфигурацию при движении вперед (см.
E.1.2) и используют неблагоприятную установку при испытании при движении вперед, как описано в
7.10.2.
b) Размещают устройство для преодоления лестниц на верхней лестничной площадке, перпендикулярно и обращенное лицом к оковке ступени под номером 8.
c) Дают устройству для преодоления лестниц возможность перейти верхний переход и спуститься вниз по лестнице, пока оно не разместится на ступени под номером 3. Выполняют эту процедуру за один прием без перерыва.
d) Повторяют процедуру испытания еще два раза и оценивают результаты в соответствии с
таблицей 3 (см.
9.3). Регистрируют наименьшее полученное число баллов в отчете об испытании.
e) Устанавливают устройство для преодоления лестниц в наименее устойчивую конфигурацию при движении назад (см.
E.1.3) и используют неблагоприятную установку при испытании при движении назад, как описано в
7.10.3. Затем повторяют процедуру по
перечислениям b) -
d).
12.2.4 Испытание при переходе с нижней лестничной площадки при движении вверх
a) Устанавливают устройство для преодоления лестниц в наименее устойчивую конфигурацию при движении вперед (см.
E.1.2) и используют неблагоприятную установку при испытании при движении вперед, как описано в
7.10.2.
b) Размещают устройство для преодоления лестниц на горизонтальной испытательной плоскости, перпендикулярно и обращенное лицом в сторону, противоположную оковке ступени под номером 1.
c) Дают устройству для преодоления лестниц возможность перейти нижний переход и подняться вверх по лестнице, пока оно не разместится на ступени под номером 5. Выполняют эту процедуру за один прием без перерыва.
d) Повторяют процедуру испытания еще два раза и оценивают результаты в соответствии с
таблицей 3 (см.
9.3). Регистрируют наименьшее полученное число баллов в отчете об испытании.
e) Устанавливают устройство для преодоления лестниц в наименее устойчивую конфигурацию при движении назад (см.
E.1.3) и используют неблагоприятную установку при испытании при движении назад, как описано в
7.10.3. Затем повторяют процедуру по
перечислениям b) - d).
12.2.5 Испытание при переходе на нижнюю лестничную площадку при движении вниз
a) Устанавливают устройство для преодоления лестниц в наименее устойчивую конфигурацию при движении вперед (см.
E.1.2) и используют неблагоприятную установку при испытании при движении вперед, как описано в
7.10.2.
b) Размещают устройство для преодоления лестниц на ступени под номером 5.
c) Дают устройству для преодоления лестниц возможность спуститься вниз по лестнице и перейти через нижний переход, пока оно не разместится полностью на горизонтальной испытательной плоскости. Выполняют эту процедуру за один прием без перерыва.
d) Повторяют процедуру испытания еще два раза и оценивают результаты в соответствии с
таблицей 3 (см.
9.3). Регистрируют наименьшее полученное число баллов в отчете по испытанию.
e) Устанавливают устройство для преодоления лестниц в наименее устойчивую конфигурацию при движении назад (см.
E.1.3) и используют неблагоприятную установку при испытании при движении назад, как описано в
7.10.3. Затем повторяют процедуру по
перечислениям b) -
d).
12.2.6 Динамическая устойчивость при торможении при движении по лестнице вниз
a) Устанавливают устройство для преодоления лестниц в наименее устойчивую конфигурацию при движении вперед (см.
E.1.2) и используют неблагоприятную установку при испытании при движении вперед, как описано в
7.10.2.
b) Устанавливают устройство для преодоления лестниц в наименее устойчивое положение при движении вниз на ступень под номером 4, в соответствии с
E.2.4.
c) Дают устройству для преодоления лестниц возможность подняться медленно вверх по лестнице, пока оно не переместится на расстояние, равное тормозному пути при движении вниз

(см.
10.2.3.2). Делают отметку на корпусе устройства для преодоления лестниц в месте, соответствующем выступу ступени под номером 5.
d) Дают устройству для преодоления лестниц возможность подняться медленно вверх по лестнице, пока оно не разместится на ступени под номером 7.
e) Дают устройству для преодоления лестниц возможность спуститься вниз по лестнице при максимальной испытательной скорости.
f) Начинают торможение нормальными средствами в соответствии с инструкциями изготовителя по применению, когда отметка достигнет выступа ступени под номером 5.
Примечание - Веревка, параллельная лестнице, которая становится натянутой, когда отметка достигает оковки, может быть использована для включения торможения.
g) Включают тормоз (тормоза) на максимальную эффективность и удерживают их в действии, пока устройство для преодоления лестниц полностью не остановится.
h) Повторяют процедуру испытания еще два раза и оценивают результаты в соответствии с
таблицей 3 (см.
9.3). Регистрируют наименьшее полученное число баллов в отчете об испытаниях.
i) Повторяют процедуру по
перечислениям b) - h), но, когда отметка достигает оковки ступени под номером 5, начинают торможение, подавая команду для максимальной скорости в противоположном направлении.
j) Повторяют процедуру по
перечислениям b) - h), но вместо включения тормозов активизируют аварийную систему, когда отметка достигнет оковки ступени под номером 5.
k) Повторяют процедуру по
перечислениям b) -
h), но вместо включения тормозов выключают устройство для преодоления лестниц, когда отметка достигнет оковки ступени под номером 5.
l) Устанавливают устройство для преодоления лестниц в наименее устойчивую конфигурацию при движении назад (см.
E.1.3) и, используя неблагоприятную установку при испытании при движении назад (см.
7.10.3), повторяют процедуру по
перечислениям b) - k).
m) Определяют и регистрируют процедуру торможения, которая дала наименьшую динамическую устойчивость.
12.2.7 Динамическая устойчивость при торможении при движении по лестнице вверх
a) Устанавливают устройство для преодоления лестниц в наименее устойчивую конфигурацию при движении назад (см.
E.1.3) и используют неблагоприятную установку при испытании при движении назад (см.
7.10.3).
b) Устанавливают устройство для преодоления лестниц в наименее устойчивое положение при движении вверх на ступень под номером 4 в соответствии с
E.2.5.
c) Дают устройству для преодоления лестниц возможность спуститься медленно вниз по лестнице, пока оно не переместится на расстояние, равное тормозному пути при движении вверх

(см.
10.2.3.3). Делают отметку на корпусе устройства для преодоления лестниц в месте, соответствующем оковке ступени под номером 3.
d) Дают устройству для преодоления лестниц возможность спуститься медленно вниз по лестнице, пока оно не разместится на ступени под номером 2.
e) Дают устройству для преодоления лестниц возможность подняться вверх по лестнице при максимальной испытательной скорости.
f) Начинают торможение нормальными средствами в соответствии с инструкциями изготовителя по применению, когда отметка достигнет оковки ступени под номером 3.
Примечание - Веревка, параллельная лестнице, которая становится натянутой, когда отметка достигает оковки, может быть использована для включения торможения.
g) Включают тормоз (тормоза) на максимальную эффективность и удерживают их в действии, пока устройство для преодоления лестниц полностью не остановится.
h) Повторяют процедуру испытания еще два раза и оценивают результаты в соответствии с
таблицей 3 (см.
9.3). Регистрируют наименьшее полученное число баллов в отчете об испытании.
i) Повторяют процедуру по
перечислениям b) - h), но, когда отметка достигает оковки ступени под номером 5, начинают торможение, подавая команду для максимальной скорости в противоположном направлении.
j) Повторяют процедуру по
перечислениям b) - h), но вместо включения тормозов активизируют аварийную систему, когда отметка достигнет оковки ступени под номером 3.
k) Повторяют процедуру по
перечислениям b) -
h), но вместо включения тормозов выключают устройство для преодоления лестниц, когда отметка достигнет оковки ступени под номером 3.
l) Устанавливают устройство для преодоления лестниц в наименее устойчивую конфигурацию при движении вперед (смотри
E.1.2) и, используя неблагоприятную установку при испытании при движении вперед (см.
7.10.2), повторяют процедуру по
перечислениям b) - k).
m) Определяют и регистрируют процедуру торможения, которая дает наименьшую динамическую устойчивость.
12.3. Отчет об испытаниях
В дополнение к информации, определенной в
разделе 20, отчет об испытаниях должен включать следующую информацию:
a) заявление, отвечает ли устройство для преодоления лестниц требованиям
5.5;
b) конфигурацию устройства для преодоления лестниц во время испытаний;
c) результаты испытания в соответствии с
12.2;
d) наименьшее количество баллов (см.
12.2), оцененных в соответствии с
таблицей 3 (см.
9.3);
e) любую опасную ситуацию, которая произошла при испытаниях;
f) любые инструкции изготовителя по применению, которые были проигнорированы, с объяснением причины;
g) любые особые испытания, которые не могли быть выполнены, с объяснением причины;
h) любые другие наблюдения, относящиеся к испытаниям.
13. Прямые рабочие усилия
Прямые рабочие усилия, требуемые для управления устройством для преодоления лестниц, оценивают, подвергая его ряду испытаний на поверхности передвижения и на лестнице и определяя прямые рабочие усилия, которые оператор должен прикладывать.
Эти испытания применимы к устройству для преодоления лестниц, где оператор прикладывает прямые рабочие усилия для управления устройством для преодоления лестниц, включая маневрирование на поверхности передвижения или лестничных площадках, преодолевая лестницы и выполняя переход между лестницей и лестничной площадкой.
13.2.1 Общие положения
Загружают устройство для преодоления лестниц испытательным креслом-коляской (где применимо) и соответствующим испытательным манекеном или человеком в качестве испытателя, как описано в
7.8.
Не используют неблагоприятную установку при испытании.
Если иное не определено в особых испытаниях, выполняют испытания, когда устройство для преодоления лестниц находится в движении при номинальной испытательной скорости (см.
7.7.2).
13.2.2 Подготовка для испытания устройств для преодоления лестниц, управляемых сопровождающим
Если устройство для преодоления лестниц не имеет горизонтальной рукоятки, прикрепляют рукоятку (см.
6.19) между толкающими ручками. Обеспечивают средство приложения силы в средней точке рукоятки и средства измерения прикладываемой силы (см.
6.20).
Где прямые рабочие усилия для изменения угла между системой опоры спины (устройства для преодоления лестниц или транспортируемого кресла-коляски) и механизмом преодоления не прикладывают к толкающим ручкам или рукоятке, обеспечивают средство приложения силы и средства измерения, как необходимо.
13.2.3 Подготовка для испытания устройств для преодоления лестниц, управляемых пользователем
Обеспечивают средствами измерения силы, прикладываемой к плечевой точке.
Предупреждение - Эти испытания могут быть опасными. Важно, чтобы соответствующие меры предосторожности (например, ограничители, которые удерживали бы устройство для преодоления лестниц в случае его падения) были предприняты для защиты персонала, проводящего испытания.
13.3. Методы испытания устройств для преодоления лестниц, управляемых сопровождающим
13.3.1 Самоустанавливающиеся устройства для преодоления лестниц
Если инструкции изготовителя по применению рекомендуют, что для маневрирования устройством для преодоления лестниц на поверхности передвижения сопровождающий прикладывает силу к толкающим ручкам для подъема одного конца устройства для преодоления лестниц, выполняют следующее испытание.
Если угол между механизмом преодоления и системой опоры тела (устройства для преодоления лестниц или транспортируемого кресла-коляски) должен быть адаптирован вручную при движении между поверхностями передвижения и лестницей, проводят испытание дважды с устройством для преодоления лестниц, установленным при обоих экстремальных углах.
a) Устанавливают загруженное устройство для преодоления лестниц в его наименее устойчивую конфигурацию при движении вперед (см.
E.1.2).
b) Размещают загруженное устройство для преодоления лестниц на горизонтальной испытательной поверхности.
c) Прикладывают усилие к рукоятке в соответствии с инструкцией изготовителя по применению для наклона устройства для преодоления лестниц.
d) Измеряют и регистрируют, с точностью +/- 10 Н, минимальную силу, требуемую для выполнения маневра (см.
рисунок 16).
e) Повторяют процедуру по перечислениям c) и d) для каждого способа наклона, определенного в инструкции изготовителя по применению.
f) Устанавливают загруженное устройство для преодоления лестниц в его наименее устойчивую конфигурацию при движении назад (см.
E.1.3) и повторяют процедуру по перечислениям c) - e).
g) Регистрируют наибольшие усилия, отмеченные во время испытаний.
--------------------------------
<a> Прямое рабочее усилие, прикладываемое для подъема заднего конца механизма преодоления.
<b> Прямое рабочее усилие, прикладываемое для подъема переднего конца механизма преодоления.
1 - передняя точка опоры; 2 - задняя точка опоры
Рисунок 16 - Прямые рабочие усилия для подъема
13.3.1.2 Рулевое управление
Если инструкции изготовителя по применению рекомендуют, что для управления устройством для преодоления лестниц при его перемещении по лестничной площадке сопровождающий прикладывает боковое усилие к толкающим ручкам, выполняют следующее испытание.
Если угол между механизмом преодоления и системой опоры тела (устройства для преодоления лестниц или транспортируемого кресла-коляски) должен быть адаптирован вручную при движении между поверхностями передвижения и лестницей, проводят испытание дважды с устройством для преодоления лестниц, установленным при обоих экстремальных углах.
a) Устанавливают загруженное устройство для преодоления лестниц в его наименее устойчивую конфигурацию при движении вперед (см.
E.1.2).
b) Размещают загруженное устройство для преодоления лестниц на горизонтальной испытательной поверхности.
c) Дают загруженному устройству для преодоления лестниц возможность перемещаться по лестничной площадке вперед. Прикладывают усилие к рукоятке в соответствии с инструкцией изготовителя по применению, для разворота устройства для преодоления лестниц на угол 180° в пространстве между двумя концентрическими окружностями радиусами 150 мм и 1200 мм (см.
рисунок 17).
d) Измеряют и регистрируют с точностью +/- 10 Н минимальную силу, требуемую для выполнения маневра.
e) Устанавливают загруженное устройство для преодоления лестниц в его наименее устойчивую конфигурацию при движении назад (см.
E.1.3) и повторяют процедуру по
перечислениям c) и d).
f) Регистрируют наибольшие усилия, отмеченные во время испытаний.
--------------------------------
<a> Прямое рабочее усилие для управления движением устройства для преодоления лестниц.
<b> Направление перемещения.
1 - окружность радиусом 150 мм; 2 - окружность радиусом
1200 мм
Рисунок 17 - Прямое рабочее усилие для управления движением
(вид сверху)
13.3.1.3 Адаптирование угла наклона системы опоры тела
Если инструкции изготовителя по использованию рекомендуют, что прямые рабочие усилия должны быть приложены сопровождающим, для того, чтобы изменить угол между системой опоры тела (устройства для преодоления лестниц или транспортируемого кресла-коляски) и механизмом преодоления, проводят следующее испытание.
a) Устанавливают загруженное устройство для преодоления лестниц в его наименее устойчивую конфигурацию при движении вперед (см.
E.1.2).
b) Размещают загруженное устройство для преодоления лестниц на горизонтальной испытательной поверхности.
c) Прикладывают усилие в соответствии с инструкцией изготовителя по применению, чтобы повернуть загруженную систему опоры тела из наклона вперед к наклону назад.
d) Измеряют и регистрируют с точностью +/- 10 Н минимальную силу, требуемую для выполнения маневра (см.
рисунок 18).
e) Повторяют процедуру по перечислениям c) и d), но с поворотом загруженной системы опоры тела из наклона назад к наклону вперед (см.
рисунок 18).
f) Устанавливают загруженное устройство для преодоления лестниц в его наименее устойчивую конфигурацию при движении назад (см.
E.1.3) и повторяют процедуру по
перечислениям c) - e).
g) Регистрируют наибольшие усилия, отмеченные во время испытаний.
--------------------------------
<a> Прямое рабочее усилие, прикладываемое для поворота из наклона вперед к наклону назад.
<b> Прямое рабочее усилие, прикладываемое для поворота из наклона назад к наклону вперед.
1 - ось поворота
Рисунок 18 - Прямые рабочие усилия, прикладываемые
для адаптации угла наклона системы опоры тела
13.3.1.4 Переходы между лестницей и верхней лестничной площадкой
Если инструкции изготовителя по применению рекомендуют, что прямые рабочие усилия должны быть приложены сопровождающим для того, чтобы осуществить переход между лестницей и верхней лестничной площадкой, проводят следующее испытание.
a) Устанавливают загруженное устройство для преодоления лестниц в его наименее устойчивую конфигурацию при движении вперед (см.
E.1.2).
b) Подсоединяют прямую испытательную лестницу к верхней лестничной площадке и размещают их на горизонтальной испытательной поверхности.
c) Размещают загруженное устройство для преодоления лестниц на прямой испытательной лестнице в соответствии с инструкцией изготовителя по применению.
d) Дают устройству для преодоления лестниц возможность подняться вверх по лестнице до достижения точки перехода (см.
рисунок 19).
e) Определяют направление приложения усилия, которое минимизирует прямое рабочее усилие, требуемое, чтобы заставить устройство для преодоления лестниц выполнить переход на верхнюю лестничную площадку, и затем, приложив минимальное усилие в установленном направлении, сделать этот переход.
f) Измеряют и регистрируют с точностью +/- 10 Н минимальную силу, требуемую для выполнения перехода.
g) Устанавливают загруженное устройство для преодоления лестниц в его наименее устойчивую конфигурацию при движении назад (см.
E.1.3) и повторяют процедуру по
перечислениям c) - f).
h) Повторяют процедуру по
перечислениям c) - g), но выполняя переход с верхней лестничной площадки на лестницу.
i) Регистрируют наибольшие усилия, отмеченные во время испытаний.
--------------------------------
<a> Прямое рабочее усилие, прикладываемое, чтобы выполнить переход с лестницы на верхнюю лестничную площадку.
<b> Прямое рабочее усилие, прикладываемое, чтобы выполнить переход с верхней лестничной площадки на лестницу.
1 - точка поворота
Рисунок 19 - Прямые рабочие усилия при переходе
между лестницей и верхней лестничной площадкой
13.3.1.5 Оценка результатов испытания
Определяют и регистрируют наибольшие прямые усилия, зарегистрированные в
13.3.1.1 -
13.3.1.4.
13.3.2 Устройства для преодоления лестниц, стабилизируемые вручную
Методы испытания для устройств для преодоления лестниц, стабилизируемых вручную, находились на рассмотрении во время написания настоящего стандарта.
13.4. Методы испытания устройств для преодоления лестниц, управляемых пользователем
13.4.1 Переходы между лестницей и верхней лестничной площадкой
Если инструкции изготовителя по применению рекомендуют, что прямые рабочие усилия должны быть приложены пользователем, для того, чтобы осуществить переход между лестницей и верхней лестничной площадкой, проводят следующее испытание.
a) Устанавливают загруженное устройство для преодоления лестниц в его наименее устойчивую конфигурацию при движении вперед (см.
E.1.2).
b) Подсоединяют прямую испытательную лестницу к верхней лестничной площадке и размещают их на горизонтальной испытательной поверхности.
c) Размещают загруженное устройство для преодоления лестниц на прямой испытательной лестнице в соответствии с инструкцией изготовителя по применению.
d) Дают устройству для преодоления лестниц возможность подняться вверх по лестнице до достижения точки перехода (см.
рисунок 20).
e) Прикладывают усилие к плечевой точке, параллельно линии наклона, чтобы заставить устройство для преодоления лестниц выполнить переход на верхнюю лестничную площадку.
f) Измеряют и регистрируют с точностью +/- 10 Н минимальную силу, требуемую для выполнения перехода.
g) Устанавливают загруженное устройство для преодоления лестниц в его наименее устойчивую конфигурацию при движении назад (см.
E.1.3) и повторяют процедуру по
перечислениям c) - f).
h) Повторяют процедуру по
перечислениям c) - g), но выполняя переход с верхней лестничной площадки на лестницу.
i) Регистрируют наибольшие усилия, отмеченные во время испытаний.
j) Вычисляют теоретически прямое рабочее усилие путем умножения силы, определенной в перечислении i), на 1,2. Регистрируют с наиближайшим множителем к 10 Н теоретическое прямое рабочее усилие.
Примечание - Коэффициент умножения соответствует углу 34° между линией наклона и представленным направлением приложения силы к ручке управляющим пользователем.
--------------------------------
<a> Прямое рабочее усилие, прикладываемое, чтобы выполнить переход с лестницы на верхнюю лестничную площадку.
<b> Прямое рабочее усилие, прикладываемое, чтобы выполнить переход с верхней лестничной площадки на лестницу.
1 - точка поворота; 2 - плечевая точка
Рисунок 20 - Силы, позволяющие выполнить переход
между лестницей и верхней лестничной площадкой
После завершения всех испытаний по
13.3 и
13.4, которые применимы к устройству для преодоления лестниц, проверяют записи по испытанию, чтобы определить, отвечает ли устройство для преодоления лестниц требованиям
5.6.
13.6. Отчет об испытаниях
В дополнение к информации, определенной в
разделе 20, отчет об испытаниях должен включать следующую информацию:
a) заявление, отвечает ли устройство для преодоления лестниц требованиям
5.6;
b) конфигурацию устройства для преодоления лестниц во время испытаний;
c) максимальное прямое рабочее усилие для устройства для преодоления лестниц;
d) любую опасную ситуацию, которая произошла при испытаниях;
e) любые инструкции изготовителя по применению, которые были проигнорированы, с объяснением причины;
f) любые особые испытания, которые не могли быть выполнены, с объяснением причины;
g) любые другие наблюдения, относящиеся к испытаниям.
14. Безопасность перехода на ступень
Безопасность перехода на ступень устройства для преодоления лестниц оценивают при испытании, которое моделирует его приближение к самой верхней ступени лестничного марша с целью спуска, и наблюдении за его реакцией.
Примечание 1 - Данное испытание применимо ко всем устройствам для преодоления лестниц.
Подсоединяют прямую испытательную лестницу к верхней лестничной площадке и размещают их на горизонтальной испытательной поверхности.
Примечание 2 - Так как весь марш испытательной лестницы не нужен для данного испытания, для персонала, проводящего испытание, может оказаться легче и безопаснее проводить испытание, используя верхнюю лестничную площадку, подсоединенную к маршу, как минимум, из двух ступеней с размерами, определенными для прямой испытательной лестницы.
Загружают устройство для преодоления лестниц испытуемым креслом-коляской (где применимо) и соответствующим испытательным манекеном, как описано в
7.8, но не используют человека в качестве испытателя.
Не используют неблагоприятную установку при испытании.
Если угол между механизмом преодоления и системой опоры тела (устройства для преодоления лестниц или транспортируемого кресла-коляски) должен быть адаптирован вручную при перемещении между поверхностями передвижения и лестницей, проводят испытание дважды с устройством для преодоления лестниц, установленным при обоих экстремальных углах.
Предупреждение - Эти испытания могут быть опасными. Важно, чтобы соответствующие меры предосторожности (например, ограничители, которые удерживали бы устройство для преодоления лестниц в случае его падения) были предприняты для защиты персонала, проводящего испытания.
a) Устанавливают загруженное устройство для преодоления лестниц в его наименее устойчивую конфигурацию при движении назад (смотри
E.1.3).
b) Размещают загруженное устройство для преодоления лестниц на верхней лестничной площадке.
c) Включают устройство для преодоления лестниц. Не используют устройство управления
d) Устанавливают устройство для преодоления лестниц в режим преодоления.
e) Если устройство для преодоления лестниц имеет бордюрный стопор, который может быть дезактивирован, убедитесь, что он не дезактивирован.
Примечание - Когда устройство для преодоления лестниц находится в его наименее устойчивой конфигурации при движении назад, оно находится в более устойчивой конфигурации для испытания при движении вперед.
f) Где возможно, устанавливают механизм преодоления так, что только исполнительные механизмы, которые позволяют свободное перемещение вперед (например, незаблокированные колеса), находятся в контакте с верхней лестничной площадкой и никакие исполнительные механизмы, которые предотвращают свободное перемещение вперед (например, заблокированные колеса или посты) не затрудняют или не препятствуют устройству для преодоления лестниц двигаться вперед.
Если механизм преодоления не имеет исполнительных механизмов, которые позволяют свободное перемещение вперед (например, он имеет гусеницы), устанавливают устройство для преодоления лестниц в конфигурацию, которая с наибольшей вероятностью минимизирует сопротивление устройству для преодоления лестниц при его движении вперед. Регистрируют конфигурацию устройства для преодоления лестниц.
g) Если устройство для преодоления лестниц стабилизировано вручную, удерживают его в этой наклонной рабочей позиции для преодоления лестницы в соответствии с инструкцией изготовителя по использованию. Следят за тем, чтобы свести к минимуму влияние усилия стабилизации вручную на результат испытания.
h) Располагают устройство для преодоления лестниц на верхней лестничной площадке перпендикулярно и обращенное лицом к оковке самой верхней ступени с расстоянием (100 +/- 10) мм между оковкой и самой передней точкой контакта механизма преодоления с верхней лестничной площадкой. Игнорируют любые точки контакта для частей, которые не несут нагрузку. Не применяют нормальные тормоза для передвижения, преодоления или перемещения на поверхностях передвижения, лестнице или лестничной площадке. Вместо этого используют подходящие средства (например, веревку) для сохранения устройства для преодоления лестниц в положении.
i) Прикрепляют устройство ускорения (см.
6.13) к подходящей точке устройства для преодоления лестниц как можно ближе к поверхности лестничной площадки - так, чтобы устройство для преодоления лестниц могло тащиться или толкаться горизонтально вперед силой (100 +/- 10) Н с плавным ускорением (см. рисунки 21 и
22).
1 - начальное расстояние (100 +/- 10) мм; 2 - самая передняя
точка контакта; 3 - устройство ускорения (пример)
Рисунок 21 - Испытание безопасности перехода на ступень
устройства для преодоления лестниц, стабилизируемого вручную
1 - начальное расстояние (100 +/- 10) мм; 2 - самая передняя
точка контакта; 3 - устройство ускорения (пример)
Рисунок 22 - Испытание безопасности перехода на ступень
самоустанавливающихся устройств для преодоления лестниц
j) Отпускают средства, удерживающие устройство для преодоления лестниц в его начальном положении. В случае устройства для преодоления лестниц, стабилизируемого вручную, продолжают удерживать его наклонное рабочее положение без какого-либо противодействия или помощи движения вперед.
k) Наблюдают за поведением устройства для преодоления лестниц во время испытания и регистрируют:
- осуществлялось ли поведение устройства для преодоления лестниц в соответствии с инструкцией изготовителя по применению;
- случалась ли какая-либо опасная ситуация;
- двигалось ли устройство для преодоления лестниц вперед по лестничной площадке;
- поднимался ли какой-либо исполнительный механизм вверх над верхней лестничной площадкой;
- удерживал ли какой-либо бордюрный стопор устройство для преодоления лестниц на верхней лестничной площадке;
- пересекло ли устройство для преодоления лестниц оковку лестницы;
- наклонялось ли устройство для преодоления лестниц на угол более 3° из-за подъема исполнительного механизма над испытательной поверхностью, и затем возвращалось ли немедленно назад;
- осуществила ли контакт с испытательной поверхностью какая-либо часть устройства для преодоления лестниц, которая изначально не контактировала с ней;
- спустилось ли вниз устройство для преодоления лестниц с помощью его механизма преодоления;
- спустилось ли вниз устройство для преодоления лестниц на скорости большей, чем номинальная испытательная скорость;
- скользило ли устройство для преодоления лестниц вниз без функционирования его механизма преодоления;
- остановилось ли устройство для преодоления лестниц на первой ступени ниже лестничной площадки;
- наклонялось ли устройство для преодоления лестниц в любом направлении, достигая, по крайней мере, 10° от его начальной ориентации;
- испытание не могло быть завершено, как предназначено.
l) Оценивают число баллов в соответствии с
таблицей 4 (см.
14.4) немедленно после каждого испытания.
m) Повторяют процедуру по
перечислениям a) - l) с устройством для преодоления лестниц в его режиме свободно вращающихся колес или в режиме толкания (если применимо).
n) Повторяют процедуру по
перечислениям a) - l) с устройством для преодоления лестниц в его режиме перемещения (если применимо).
o) Повторяют процедуру по
перечислениям a) - l) с устройством для преодоления лестниц в его режиме передвижения (если применимо).
p) Если устройство для преодоления лестниц имеет бордюрный стопор, который может быть дезактивирован, повторяют процедуру по
перечислениям a) - o) с дезактивированным бордюрным стопором.
q) Повторяют процедуру по
перечислениям a) - p), но с активированной аварийной системой.
r) Повторяют процедуру по
перечислениям a) - p), но с выключенным устройством для преодоления лестниц.
s) Определяют и регистрируют наименьшее полученное число баллов из всех испытаний по
перечислениям a) - r).
Результаты испытания безопасности перехода на ступень следует оценивать в соответствии с
таблицей 4.
Таблица 4
Система количественной оценки результатов испытания
безопасности перехода на ступень
Наблюдаемая реакция | Оценка, балл |
Нет перемещения | Поведение устройства для преодоления лестниц происходит в соответствии с инструкцией изготовителя по применению без возникновения какой-либо опасной ситуации, и устройство для преодоления лестниц не смещается вперед и не наклоняется | 5 |
Останавливается перед оковкой ступени | Поведение устройства для преодоления лестниц происходит в соответствии с инструкцией изготовителя по применению без возникновения какой-либо опасной ситуации, и устройство для преодоления лестниц останавливается на верхней лестничной площадке перед пересечением оковки ступени, и устройство для преодоления лестниц не наклоняется на угол более 3° из-за подъема исполнительного механизма над испытательной поверхностью без возвращения назад немедленно, и никакая часть устройства для преодоления лестниц, которая изначально не контактировала с испытательной поверхностью, не вошла в контакт с ней | 4 |
Одна безопасная ступень | Поведение устройства для преодоления лестниц происходит в соответствии с инструкцией изготовителя по применению без возникновения какой-либо опасной ситуации, и устройство для преодоления лестниц спускается вниз с помощью своего механизма преодоления и останавливается на первой ступени ниже лестничной площадки | 3 |
Под управлением | Устройство для преодоления лестниц спускается вниз с помощью своего механизма преодоления, не останавливается и продолжает спускаться вниз: - без превышения номинальной испытательной скорости, и - без возникновения какой-либо опасной ситуации, или устройство для преодоления лестниц скользит вниз без функционирования его механизма преодоления, останавливается на первой ступени ниже лестничной площадки без возникновения какой-либо опасной ситуации | 2 |
Без управления | Устройство для преодоления лестниц пересекает оковку ступени, не останавливается и продолжает двигаться вниз, или: - превышая номинальную испытательную скорость, или - с возникновением опасной ситуации | 1 |
Наклон или незавершение | Устройство для преодоления лестниц наклоняется в любом направлении, останавливаясь, по крайней мере, на 10 ° от его начальной ориентации, или испытание не могло быть закончено | 0 |
14.5. Отчет об испытаниях
В дополнение к информации, определенной в
разделе 20, отчет об испытаниях должен включать следующую информацию:
a) заявление, отвечает ли устройство для преодоления лестниц требованиям
5.7;
b) конфигурацию устройства для преодоления лестниц во время испытаний;
c) результаты испытания в соответствии с
14.3;
d) наименьшее количество баллов (см.
14.3), оцененных в соответствии с
таблицей 4 (см.
14.4);
e) любую опасную ситуацию, которая имела место во время испытания;
f) любые инструкции изготовителя по применению, которые были проигнорированы, с объяснением причины;
g) любые особые испытания, которые не могли быть выполнены, с объяснением причины;
h) любые другие наблюдения, относящиеся к испытаниям.
15. Статическая, ударная и усталостная прочность
Устройство для преодоления лестниц подвергают серии испытаний на статическую, ударную и усталостную прочность и оценивают его работу.
В зависимости от конструкции устройства для преодоления лестниц может оказаться невозможным проведение всех испытаний настоящего раздела, в этом случае пропущенные испытания и причина(ы) должны быть отмечены в отчете об испытаниях.
Не используют неблагоприятную установку при испытании.
Проводят испытания на прочность в следующей последовательности:
a) испытания на статическую прочность в соответствии с ИСО 7176-8;
b) дополнительные испытания на статическую прочность в соответствии с
15.3;
c) испытания на ударную прочность в соответствии с ИСО 7176-8;
d) усталостная прочность - передвижение в соответствии с ИСО 7176-8 и изменениями, как определено в
таблице 1;
e) усталостная прочность - преодоление в соответствии с
15.4;
f) испытания на усталость стояночных тормозов в соответствии с ИСО 7176-3.
Предупреждение - Эти испытания могут быть опасными. Важно, чтобы соответствующие меры предосторожности (например, ограничители, которые удерживали бы устройство для преодоления лестниц в случае его падения) были предприняты для защиты персонала, проводящего испытания.
15.3. Дополнительные испытания на статическую прочность
15.3.1 Испытание на статическую прочность систем стыковки
Данное испытание применимо только к устройствам для преодоления лестниц, перемещающим кресло-коляску.
Используют горизонтальную испытательную поверхность.
Состыковывают устройство для преодоления лестниц с испытуемым креслом-коляской в соответствии с инструкцией изготовителя по применению.
Примечание - Испытуемое кресло-коляска может быть пристыковано к устройству для преодоления лестниц или наоборот.
Устанавливают устройство для преодоления лестниц в режим преодоления и в конфигурацию для преодоления лестниц в соответствии с инструкцией изготовителя по применению.
Устанавливают настройку скорости на нуль.
Если или в инструкции изготовителя по применению устройства для преодоления лестниц, или для испытуемого кресла-коляски заявлено, что сиденье или спинка испытуемого кресла-коляски могут быть наклонены, или что испытуемое кресло-коляска может быть расположено более чем в одном положении или угле наклона на устройстве для преодоления лестниц (например, повернутые с наклоном вперед или назад), выбирают положение или угол наклона, которые дают минимальный угол наклона плоскости сиденья и/или спинки.
Загружают испытательное кресло-коляску соответствующим испытательным манекеном, как описано в
7.8, но не используют человека в качестве испытателя.
Размещают загруженное устройство для преодоления лестниц на горизонтальной испытательной поверхности в положении, которое оно бы приняло на лестничной площадке до или после преодоления в соответствии с инструкцией изготовителя по применению.
Устанавливают средства для ограничения устройства для преодоления лестниц от перемещения или наклона во время испытания. Фиксируют ограничители как можно ближе к устройству для преодоления лестниц, перемещающему кресло-коляску, но не в точках состыковки. Следят за тем, чтобы устранить любую дополнительную нагрузку, которая увеличивала бы или уменьшала испытательную нагрузку, описанную ниже.
Устанавливают средства для приложения нагрузки так, чтобы:
- испытательная сила действовала вертикально вниз +/- 10° (в начале испытания);
- испытательная сила действовала на верхнюю поверхность конструкции сиденья (колени) манекена, на половине ширины манекена (+/- 25 мм) и (280 +/- 25) мм впереди шарнира манекена, если измерять параллельно конструкции сиденья манекена.
Медленно увеличивают нагрузку до достижения приложенной силой F значения, Н, заданного формулой
F = 0,5g(mD + mTW),
где g - гравитационная константа, равная 9,81 м/с2;
mD - масса соответствующего манекена, кг;
mTW - масса испытуемого кресла-коляски, кг.
Если в инструкции изготовителя по применению заявлено, что устройство для преодоления лестниц способно противостоять силе, которая превышает силу F, прикладывают заявленную силу.
Удерживают нагрузку в течение от 5 до 10 с и затем снимают нагрузку.
Регистрируют любые трещины, поломки или большие деформации и любые компоненты, требующие подтягивания, регулировки и замены.
15.3.2 Испытание на статическую прочность толкающих ручек сопровождающего
15.3.2.1 Общие положения
Примечание - Испытания по 15.3.2 применимы к устройствам для преодоления лестниц, управляемых сопровождающим.
Загружают устройство для преодоления лестниц испытуемым креслом-коляской (где применимо) и подходящим испытательным манекеном, как описано в
7.8, но не используют человека в качестве испытателя. Устанавливают настройку скорости на нуль.
Прикладывают нагрузку к каждой толкающей ручке по очереди. Не испытывают части, которые не являются частями устройства для преодоления лестниц (такие, как рукоятки и т.д.) испытуемого кресла-коляски.
Регистрируют любые трещины, поломки или большие деформации и любые компоненты, требующие подтягивания, регулировки и замены в результате испытания.
15.3.2.2 Силы, направленные вверх
15.3.2.2.1 Самоустанавливающиеся устройства для преодоления лестниц
a) Если угол между механизмом преодоления и системой опоры тела (устройства для преодоления лестниц или транспортируемого кресла-коляски) требует ручной адаптации при движении между поверхностью перемещения и лестницей, проводят испытание с системой опоры тела, наклоненной назад.
b) Размещают загруженное устройство для преодоления лестниц на испытательной поверхности.
c) Устанавливают устройство для преодоления лестниц в его наименее устойчивую конфигурацию при движении назад (см.
E.1.3).
d) Если положение механизма преодоления может быть отрегулировано оператором, регулируют его так, чтобы точки контакта с землей находились в их наиболее переднем положении.
e) Устанавливают средства, препятствующие движению устройства для преодоления лестниц вперед или назад.
f) Устанавливают средства, препятствующие любой части устройства для преодоления лестниц подниматься выше 25 мм над испытательной поверхностью при приложении испытательной силы.
g) Прикрепляют эти ограничители к устройству для преодоления лестниц в местах, которые не влияют на результат испытания (например, вдали от толкающих ручек).
h) Прикладывают испытательную силу:
- к середине ручки;
- вертикально вверх +/- 5°.
Примечание - На
рисунке 23 представлена рекомендуемая установка для испытания.
i) Медленно увеличивают испытательную силу до тех пор, пока устройство для преодоления лестниц только начнет подниматься над испытательной плоскостью.
j) Измеряют и регистрируют силу как F0.
k) Продолжают увеличивать силу до достижения значения F, где F = (1,5 +/- 0,1) x F0.
l) Удерживают силу F в период времени от 5 и 10 с.
m) Снимают силу.
n) Повторяют процедуру по
перечислениям h) - m) для каждой толкающей ручки (если применимо).
15.3.2.2.2 Устройства для преодоления лестниц, стабилизируемые вручную
a) Размещают загруженное устройство для преодоления лестниц на прямой испытательной лестнице в конфигурации, которую оно имело бы, располагаясь на лестнице при движении назад, в случае, когда сопровождающий должен был бы оставить устройство для преодоления лестниц без внимания при аварийной ситуации, в соответствии с инструкцией изготовителя.
Примечание 1 - В нормальной обстановке сопровождающий никогда не должен оставлять устройство для преодоления лестниц без внимания на лестнице. Однако в аварийной обстановке может оказаться необходимым сделать это. Важно, чтобы толкающие ручки были способны выдержать силы, возникающие в этих ситуациях.
Примечание 2 - На
рисунке 24 представлена рекомендуемая установка для испытания.
1 - ограничитель; F - сила
Рисунок 23 - Приложение направленной вверх силы к ручкам
самоустанавливающегося устройства для преодоления лестниц
1 - ограничитель; F - сила
Рисунок 24 - Приложение нагрузки, направленной вверх,
к ручкам устройства для преодоления лестниц,
стабилизируемого вручную
15.3.2.3 Силы, направленные назад
a) Размещают загруженное устройство для преодоления лестниц на горизонтальной испытательной поверхности в его вертикальном положении.
b) Устанавливают устройство для преодоления лестниц в его наименее устойчивую конфигурацию при движении вперед (см.
E.1.2).
c) Если положение механизма преодоления может быть отрегулировано оператором, регулируют его так, чтобы точки контакта с землей находились в их наиболее заднем положении.
e) Прикладывают испытательную силу:
- к середине ручки;
- горизонтально назад +/- 5°.
Примечание - На рисунках 25 и
26 представлены рекомендуемые установки для испытания самоустанавливающихся устройств для преодоления лестниц и устройств для преодоления лестниц, стабилизируемых вручную.
1 - ограничитель; F - сила
Рисунок 25 - Приложение направленной назад силы к ручкам
самоустанавливающегося устройства для преодоления лестниц
1 - ограничитель; F - сила
Рисунок 26 - Приложение направленной назад силы к ручкам
устройства для преодоления лестниц, стабилизируемого вручную
15.3.2.4 Силы, направленные вбок
a) Размещают загруженное устройство для преодоления лестниц на горизонтальной испытательной поверхности в его вертикальном положении.
b) Устанавливают устройство для преодоления лестниц в его наименее устойчивую конфигурацию при движении вперед (см.
E.1.2).
d) Прикладывают испытательную силу:
- к середине ручки;
- горизонтально, направленную влево +/- 5°.
Примечание - На
рисунке 27 представлена рекомендуемая установка для испытания.
f) Повторяют процедуру по
перечислениям a) -
e) с испытательной силой, приложенной вправо.
1 - ограничитель; F - сила
Рисунок 27 - Приложение направленной вбок силы к ручкам
устройства для преодоления лестниц
15.4. Усталостная прочность. Преодоление
15.4.1 Общие положения
Примечание - Данное испытание применимо ко всем устройствам для преодоления лестниц.
Загружают устройство для преодоления лестниц испытуемым креслом-коляской (где применимо) и подходящим испытательным манекеном или человеком в качестве испытателя, как описано в
7.8.
Если изготовитель не определил скорость преодоления, выполняют испытание при скорости, как можно ближе к скорости, равной 20 ступеней в минуту.
15.4.2 Установка для испытания
15.4.2.1 Общие положения
Выполняют испытания на усталостную прочность таким образом, чтобы не вызвать перегрев, как было согласовано между испытательной лабораторией и изготовителем устройства для преодоления лестниц. Если такое соглашение практически невыполнимо, выполняют испытания в следующих пределах.
Максимальное время преодоления перед остановкой для охлаждения - 10 мин.
Максимальный рабочий цикл - 15%.
Выполняют испытания на усталостную прочность с использованием одной из двух альтернативных установок для испытания: используя строительную лестницу (15.4.2.2) или испытательную машину
(15.4.2.3).
Примечание - Преодоление может быть выполнено вверх и/или вниз по лестнице.
15.4.2.2 Установка для испытания, использующая строительную лестницу
Устанавливают устройство для преодоления лестниц в режим преодоления.
Дают возможность устройству для преодоления лестниц подняться и/или спуститься по лестнице в соответствии с инструкцией изготовителя по применению.
Строительная лестница должна быть прямой и иметь высоту ступени (180 +/- 5) мм. Общий угол наклона должен быть (35 +/- 5)°. Число ступеней должно быть достаточным для проведения испытания и позволить каждой циркулирующей, вращающейся или двигающейся возвратно-поступательно части механизма преодоления завершить, по крайней мере, один рабочий цикл.
Вспомогательный источник питания для устройства для преодоления лестниц может быть использован для данного испытания или, альтернативно, может быть сделано обеспечение для зарядки или замены батарей во время испытания.
Периодически проверяют положение испытуемого кресла-коляски (если используют) и испытательного манекена или человека в качестве испытателя и корректируют их, если необходимо.
Выполняют испытание до отказа устройства для преодоления лестниц или пока не будет достигнуто требуемое число циклов, определенное в
таблице 2.
Регистрируют любые трещины, поломки или большие деформации и любые компоненты, требующие подтягивания, регулировки или замены.
15.4.2.3 Установка для испытания, использующая испытательную машину
Испытывают устройство для преодоления лестниц, используя испытательную машину, которая воспроизводит кинематику функционирования во время нормального использования и не прикладывает усилия, которые существенно отличаются от усилий, прикладываемых при нормальной работе.
Примечание 1 - Траектория точек приложения рабочих усилий может колебаться волнообразно.
Примечание 2 - Эластичное соединение может быть подходящим для контроля рабочих усилий.
Примечание 3 - Пример рабочей машины описывается в
приложении F.
После завершения каждого испытания по 15.2 по
перечислениям a) -
f), проверяют устройство для преодоления лестниц для определения, отвечает ли оно требованиям
5.8.
Контролируют записи испытаний, чтобы установить, были ли какие-либо части подрегулированы, подтянуты или заменены более одного раза.
Испытывают все системы с электроприводом устройств для преодоления лестниц для установления, работали ли они в соответствии с инструкцией изготовителя по применению.
Испытывают все прикрепленные части для установления, могут ли они быть прикреплены и откреплены в соответствии с инструкцией изготовителя по применению.
Если какие-либо требования по
5.8 не выполнены, устройство для преодоления лестниц не прошло испытание.
15.6. Отчет об испытаниях
В дополнение к информации, определенной в
разделе 20, отчет об испытаниях должен включать следующую информацию:
a) заявление, отвечает ли устройство для преодоления лестниц требованиям
5.8;
b) заявление, отвечает ли устройство для преодоления лестниц любым требованиям, заявленным изготовителем, которые расширяют требования по
5.8;
c) конфигурацию устройства для преодоления лестниц во время испытаний;
d) описание любых отказов, выявленных при оценке испытаний по
15.5, и в конфигурации устройства для преодоления лестниц во время испытаний;
e) любую опасную ситуацию, которая имела место во время испытания;
f) любые инструкции изготовителя по применению, которые были проигнорированы, с объяснением причины;
g) любые особые испытания, которые не могли быть выполнены, с объяснением причины;
h) любые другие наблюдения, относящиеся к испытаниям.
16. Климатические испытания
Климатическую защищенность устройства для преодоления лестниц оценивают, подвергая его климатическим испытаниям, определенным в ИСО 7176-9, и затем оценивая его работоспособность посредством функциональной проверки, соответствующей устройству для преодоления лестниц.
16.2.1 Общие положения
Подвергая устройство для преодоления лестниц воздействию условий окружающей среды, не загружают устройство для преодоления лестниц испытуемым креслом-коляской, испытательным манекеном или человеком в качестве испытателя. Не используют неблагоприятную установку при испытании. Устанавливают настройки скорости на нуль.
Для функциональной проверки загружают устройство для преодоления лестниц испытуемым креслом-коляской (где применимо) и соответствующим испытательным манекеном или человеком в качестве испытателя, как описано в
пункте 7.8.
Проводят функциональную проверку до того, как устройство для преодоления лестниц будет подвержено воздействию условий окружающей среды, и в конце каждого особого испытания.
Предупреждение - Эти испытания могут быть опасными. Важно, чтобы соответствующие меры предосторожности (например, ограничители, которые удерживали бы устройство для преодоления лестниц в случае его падения) были предприняты для защиты персонала, проводящего испытания.
16.2.2 Климатические испытания на поверхности передвижения
Если устройство для преодоления лестниц имеет режим перемещения, который отделен от режима преодоления и режима передвижения, испытывают устройство для преодоления лестниц в его режиме перемещения в соответствии с ИСО 7176-9.
16.2.3 Климатические испытания на лестнице
Примечание - Испытание применимо ко всем устройствам для преодоления лестниц.
Испытывают устройство для преодоления лестниц в соответствии с ИСО 7176-9 со следующими изменениями и дополнениями.
16.2.3.1 Воздействие условий испытания
Подвергают устройство для преодоления лестниц воздействию условий окружающей среды, как определено в ИСО 7176-9.
Выключают устройство для преодоления лестниц на время воздействия.
16.2.3.2 Функциональная проверка
Подсоединяют прямую испытательную лестницу к верхней лестничной площадке и размещают их на горизонтальной испытательной поверхности. Проводят функциональную проверку при номинальной испытательной скорости (см.
7.7.2).
Устанавливают устройство для преодоления лестниц в рабочий режим для приближения и преодоления лестницы в соответствии с инструкцией изготовителя по применению.
Размещают загруженное устройство для преодоления лестниц на нижней лестничной площадке на расстоянии не менее 200 мм перед первой ступенью.
Дают устройству для преодоления лестниц возможность переместиться к лестнице, подняться вверх, по крайней мере, на четыре ступени, полностью остановиться, затем продолжить подниматься вверх до верхней лестничной площадки, переместиться по ней, по крайней мере, еще на 200 мм и остановиться.
Дают устройству для преодоления лестниц возможность переместиться обратно к лестнице, спуститься вниз, по крайней мере, на четыре ступеньки, полностью остановиться, затем продолжить спускаться вниз до нижней лестничной площадки, переместиться по ней, по крайней мере, еще на 200 мм и остановиться.
16.3. Отчет об испытаниях
В дополнение к информации, определенной в
разделе 20, отчет об испытаниях должен включать следующую информацию:
a) заявление, отвечает ли устройство для преодоления лестниц требованиям
5.9;
b) конфигурацию устройства для преодоления лестниц во время испытаний;
c) любые функциональные изменения в устройстве для преодоления лестниц после испытания;
d) любые очевидные повреждения устройства для преодоления лестниц после испытания;
e) любую опасную ситуацию, которая произошла при испытаниях;
f) любые инструкции изготовителя по применению, которые были проигнорированы, с объяснением причины;
g) любые особые испытания, которые не могли быть выполнены, с объяснением причины;
h) любые другие наблюдения, относящиеся к испытаниям.
17. Электромагнитная совместимость
Электромагнитную совместимость (ЭМС) устройства для преодоления лестниц оценивают, подвергая его испытанию на электромагнитную совместимость по ИСО 7176-21 с определенными изменениями и дополнениями, и наблюдая за его работоспособностью относительно требований ИСО 7176-21.
17.2.1 Общие положения
Примечание - Испытание применимо ко всем устройствам для преодоления лестниц.
Не используют неблагоприятную установку при испытании.
Предупреждение - Эти испытания могут быть опасными. Важно, чтобы соответствующие меры предосторожности (например, ограничители, которые удерживали бы устройство для преодоления лестниц в случае его падения) были предприняты для защиты персонала, проводящего испытания.
17.2.2 ЭМС на поверхностях передвижения и лестничных площадках
Испытывают устройство для преодоления лестниц в соответствии с ИСО 7176-21, с устройством для преодоления лестниц, установленным в каждый рабочий режим функционирования с электроприводом, который не является режимом перемещения, но предназначен для работы на поверхностях передвижения и/или лестничных площадках. Для целей настоящего испытания механизм, который двигает устройство для преодоления лестниц, рассматривают как аналог приводных колес в ИСО 7176-21.
17.2.3 ЭМС на лестницах
Испытывают устройство для преодоления лестниц в соответствии с ИСО 7176-21 со следующими изменениями.
a) Устанавливают устройство для преодоления лестниц в режим преодоления и конфигурацию для преодоления лестницы в соответствии с инструкцией изготовителя по применению.
b) Заменяют определения базовых плоскостей, приведенные в ИСО 7176-21, на определения, приведенные в
3.19,
3.35 и
3.40.
c) Проверяют функциональные требования в соответствии с функциональной проверкой, как определено в
16.2.3.2 настоящего стандарта, скорее, чем по ИСО 7176-9.
d) Конструируют систему опоры так, чтобы устройство для преодоления лестниц удерживалось на лестнице с углом наклона (30 +/- 5)°.
Примечание 1 - Если нет возможности удерживать устройство для преодоления лестниц за его низ, оно может быть подвешено сверху.
e) Заменяют средство измерения скорости колеса на средство измерения скорости механизма преодоления, которое:
1) способно измерять скорость каждого механизма преодоления с точностью 5%;
2) способно вычислять среднее изменение скорости и дифференциальное изменение скорости, если механизмы преодоления могут быть приведены в движение независимо, исходя из измеренной скорости механизмов преодоления, в соответствии с формулами по ИСО 7176-21 для среднего изменения скорости колеса и дифференциального изменения скорости колеса;
3) имеет постоянную времени, не превышающую 0,1 с;
4) не вводит какую-либо проводимость между устройством для преодоления лестниц и поверхностью земли;
5) не создает и не восприимчиво к электромагнитным полям, измеренным или генерируемым во время испытания.
f) Вместо того, чтобы оборудовать устройство для преодоления лестниц в соответствии с ИСО 7176-21:2009, 7.1, подготавливают его, как определено в
разделе 7 настоящего стандарта, но не оснащают его испытуемым креслом-коляской и испытательным манекеном. Для функциональной проверки загружают устройство для преодоления лестниц испытуемым креслом-коляской (где применимо) и соответствующим испытательным манекеном или человеком в качестве испытателя, как описано в
пункте 7.8. Если устройство для преодоления лестниц должно наклоняться во время испытания, оснащают его герметичными аккумуляторными батареями.
Примечание 2 - Если невозможно обеспечить работу механизма преодоления, когда он не находится в контакте с лестницей, механизм преодоления устройства для преодоления лестниц может быть удержан на системе поддержки (подходящей для испытания на ЭМС) так, как если бы он находился на лестнице и испытывался бы в режиме преодоления в неподвижном состоянии. Если инструкция изготовителя по применению определяет весовое требование к системе поддержки тела, загружают ее массой, которая оказывает минимальное влияние на результаты испытания.
17.3. Отчет об испытаниях
В дополнение к информации, определенной в
разделе 20, отчет об испытаниях должен включать следующую информацию:
a) заявление, отвечает ли устройство для преодоления лестниц требованиям
5.11;
b) конфигурацию устройства для преодоления лестниц во время испытаний;
c) любую опасную ситуацию, которая произошла при испытаниях;
d) любые инструкции изготовителя по применению, которые были проигнорированы, с объяснением причины;
e) любые особые испытания, которые не могли быть выполнены, с объяснением причины;
f) любые другие наблюдения, относящиеся к испытаниям.
18. Безопасная работа, когда батарея становится разряженной
Разряжают комплект батарей, приводя в движение устройство для преодоления лестниц до его полной остановки или, альтернативно, подсоединяя внешнюю нагрузку, отрегулированную на потребление тока, не превышающее 5-часовой разрядки, когда напряжение комплекта батарей упадет до минимального уровня, определенного для 5-часовой разрядки. Заряжают комплект батарей до уровня зарядки, достаточного для завершения, по крайней мере, одного полного цикла подъема и спуска, как определено в 18.2.
Пример - Если зарядка устройства для преодоления лестниц в течение 5 минут позволяет ему завершить более одного цикла подъема и спуска, как определено в 18.2, это будет достаточной зарядкой.
Устанавливают устройство для преодоления лестниц в рабочий режим для приближения и преодоления лестницы в соответствии с инструкцией изготовителя по применению.
Подсоединяют прямую испытательную лестницу к верхней лестничной площадке и размещают их на горизонтальной испытательной поверхности.
Проводят функциональную проверку при номинальной испытательной скорости (см.
7.7.2).
Размещают устройство для преодоления лестниц перед испытательной лестницей.
Приводят в движение устройство для преодоления лестниц для подъема вверх по лестнице и перехода на верхнюю лестничную площадку.
Приводят в движение устройство для преодоления лестниц для спуска вниз по лестнице и перехода на нижнюю лестничную площадку.
Повторяют движение вверх и вниз по лестнице до тех пор, пока устройство для преодоления лестниц не сможет больше двигаться.
Выключают устройство для преодоления лестниц. Ожидают в течение трех минут и затем его включают снова.
Повторяют движение вверх и вниз по лестнице до тех пор, пока устройство для преодоления лестниц не сможет больше двигаться после времени ожидания.
Регистрируют, произошла ли какая-нибудь опасная ситуация при испытаниях.
18.3. Отчет об испытаниях
В дополнение к информации, определенной в
разделе 20, отчет об испытаниях должен включать следующую информацию:
a) заявление, отвечает ли устройство для преодоления лестниц требованиям
5.12;
b) конфигурацию устройства для преодоления лестниц во время испытаний;
c) любую опасную ситуацию, которая произошла при испытаниях;
d) любые инструкции изготовителя по применению, которые были проигнорированы, с объяснением причины;
e) любые особые испытания, которые не могли быть выполнены, с объяснением причины;
f) любые другие наблюдения, относящиеся к испытаниям.
19. Оборудование для обеспечения безопасности
Эффективность оборудования для обеспечения безопасности, приспособленного к устройству для преодоления лестниц, оценивают, подвергая устройство для преодоления лестниц функциональным испытаниям на испытательной лестнице и оценивая его характеристики.
Предупреждение - Эти испытания могут быть опасными. Важно, чтобы соответствующие меры предосторожности (например, ограничители, которые удерживали бы устройство для преодоления лестниц в случае его падения) были предприняты для защиты персонала, проводящего испытания.
Примечание - Данное испытание применимо ко всем устройствам для преодоления лестниц.
Подтверждают, что инструкции изготовителя по применению включают инструкции по применению аварийной системы, и что они определяют, по крайней мере, два отдельных рабочих действия для дезактивации системы.
Подсоединяют прямую испытательную лестницу к верхней лестничной площадке и размещают их на горизонтальной испытательной поверхности.
Загружают устройство для преодоления лестниц испытуемым креслом-коляской (где применимо) и испытательным манекеном или человеком в качестве испытателя, как описано в
7.8. Не используют неблагоприятную установку при испытании.
Устанавливают устройство для преодоления лестниц в режим преодоления.
Размещают устройство для преодоления лестниц на верхней лестничной площадке и устанавливают в его наименее устойчивую конфигурацию при движении назад (см.
E.1.3).
Примечание 1 - Когда устройство для преодоления лестниц находится в его наименее устойчивой конфигурации при движении назад, оно находится в более устойчивой конфигурации для испытания при движении вперед.
Дают возможность устройству для преодоления лестниц спуститься вниз по лестнице при номинальной скорости, как определено в
7.7.2.
Активизируют аварийную систему, когда механизм преодоления войдет в контакт со ступенью под номером 4. Наблюдают, остановилось ли устройство для преодоления лестниц.
Если устройство для преодоления лестниц не остановилось, завершают испытание и регистрируют результаты и наблюдения за испытанием.
Если устройство для преодоления лестниц остановилось, пытаются дать ему возможность совершить преодоление лестницы как при движении вверх, так и вниз, с использованием его собственной энергии после отсутствия действий оператора, после какого-либо одиночного действия оператора и после какой-либо комбинации действий оператора, исключая комбинацию отдельных действий оператора, которые определены инструкцией изготовителя по применению для дезактивации аварийной системы (см.
21.4, перечисление g). Наблюдают, остается ли устройство для преодоления лестниц в том же положении.
Если устройство для преодоления лестниц двигается, завершают испытание и регистрируют результат и наблюдения за испытанием.
Если устройство для преодоления лестниц не двигается, выключают устройство для преодоления лестниц и ожидают в течение, по крайней мере, 10 секунд. Включают его снова и пытаются дать возможность устройству для преодоления лестниц совершить преодоление лестницы как при движении вверх, так и вниз, с использованием его собственной энергии, после какого-либо одиночного действия оператора и после какой-либо комбинации действий оператора, исключая комбинацию отдельных действий оператора, которые определены инструкцией изготовителя по применению для дезактивации (см.
21.4, перечисление g). Наблюдают, остается ли устройство для преодоления лестниц в его том же положении.
Если устройство для преодоления лестниц двигается, завершают испытание и регистрируют результаты и наблюдения за испытанием.
Если устройство для преодоления лестниц не двигается, дезактивируют аварийную систему в соответствии с инструкцией изготовителя по применению. Затем дают возможность устройству для преодоления лестниц совершить преодоление лестницы как при движении вверх, так и вниз, по крайней мере, еще на три ступени. Наблюдают за каким-либо анормальным поведением устройства.
Повторяют эти испытания после установки устройства для преодоления лестниц в его наименее устойчивую конфигурацию при движении вперед (см.
E.1.2) и дают возможность устройству для преодоления лестниц совершить преодоление лестницы вверх после старта с нижней лестничной площадки.
Примечание 2 - Когда устройство для преодоления лестниц находится в его наименее устойчивой конфигурации при движении вперед, оно находится в более устойчивой конфигурации для испытания при движении назад.
19.2.2 Ограничение выхода из режима преодоления
Предупреждение - Эти испытания могут быть опасными. Важно, чтобы соответствующие меры предосторожности (например, ограничители, которые удерживали бы устройство для преодоления лестниц в случае его падения) были предприняты для защиты персонала, проводящего испытания.
Примечание - Данное испытание применимо к устройствам для преодоления лестниц, которые имеют рабочие режимы в дополнение к режиму преодоления, если не заявлено в инструкции изготовителя по применению, что существующий режим преодоления или переход на рабочий режим, отличный от режима преодоления, когда устройство для преодоления лестниц находится на лестнице, является назначенным или разрешенным.
Подсоединяют прямую испытательную лестницу к верхней лестничной площадке и размещают их на горизонтальной испытательной поверхности. Не используют неблагоприятную установку при испытании.
Загружают устройство для преодоления лестниц испытуемым креслом-коляской (где применимо) и соответствующим испытательным манекеном или человеком в качестве испытателя, как описано в
пункте 7.8.
Устанавливают устройство для преодоления лестниц в режим преодоления и конфигурацию для преодоления лестницы в соответствии с инструкцией изготовителя по использованию.
Проводят испытание при номинальной испытательной скорости, как описано в
7.7.2, следующим образом.
a) Размещают устройство для преодоления лестниц на верхней лестничной площадке, дают ему возможность спуститься вниз по лестнице до ступени под номером 4 и остановиться. Пытаются выйти из режима преодоления. Если возможно выйти из режима преодоления, пытаются дать возможность устройству для преодоления лестниц совершить преодоление лестницы как при движении вверх, так и вниз в каком-либо рабочем режиме, отличном от режима преодоления.
b) Повторяют процедуру по перечислению a), но после того, как устройство для преодоления лестниц остановилось на лестнице, пытаются напрямую установить рабочий режим, отличный от режима преодоления, без выхода из первоначального режима преодоления. Если возможно установить какой-либо рабочий режим, отличный от режима преодоления, пытаются дать возможность устройству для преодоления лестниц совершить преодоление лестницы как при движении вверх, так и вниз в новом режиме.
c) Повторяют процедуру по
перечислению a), но после того, как устройство для преодоления лестниц остановилось на лестнице, активизируют аварийную систему. Дезактивируют аварийную систему и пытаются установить какой-либо рабочий режим, отличный от режима преодоления. Если возможно установить какой-либо рабочий режим, отличный от режима преодоления, пытаются дать возможность устройству для преодоления лестниц совершить преодоление лестницы как при движении вверх, так и вниз в новом режиме.
d) Повторяют процедуру по
перечислению a), но после того, как устройство для преодоления лестниц остановилось на лестнице, выключают устройство для преодоления лестниц. Ожидают в течение, по крайней мере, 10 секунд и включают его снова. Если устройство для преодоления лестниц не находится больше в режиме преодоления или если возможно установить какой-либо рабочий режим, отличный от режима преодоления, пытаются дать возможность устройству для преодоления лестниц совершить преодоление лестницы как при движении вверх, так и вниз в новом режиме.
e) Повторяют процедуру по
перечислению a), но продолжают давать возможность устройству для преодоления лестниц спуститься вниз по прямой испытательной лестнице без остановки на ступень под номером 4. Когда устройство для преодоления лестниц достигает ступени под номером 4, поддерживая команду устройства управления о номинальной испытательной скорости, пытаются выйти из режима преодоления. Если возможно выйти из режима преодоления лестницы, пытаются дать возможность устройству для преодоления лестниц совершить преодоление лестницы как при движении вверх, так и вниз в любом рабочем режиме, отличном от режима преодоления.
f) Повторяют процедуру по
перечислению a), но продолжают давать устройству для преодоления лестниц возможность спускаться вниз по прямой испытательной лестнице без остановки на ступени под номером 4. Когда устройство для преодоления лестниц достигает ступень под номером 4, поддерживая команду устройства управления о номинальной испытательной скорости, пытаются напрямую установить рабочий режим, отличный от режима преодоления, без выхода из первоначального режима преодоления. Если возможно установить какой-либо рабочий режим, отличный от режима преодоления, пытаются дать возможность устройству для преодоления лестниц совершить преодоление лестницы как при движении вверх, так и вниз в новом режиме.
g) Если аварийная система может быть активирована пользователем, который перемещается в устройстве для преодоления лестниц, или сопровождающим, который управляет устройством для преодоления лестниц, повторяют процедуру по
перечислению a), но продолжают давать возможность устройству для преодоления лестниц спускаться вниз по прямой испытательной лестнице без остановки на ступени 4. Когда устройство для преодоления лестниц достигает ступени под номером 4, поддерживая команду устройства управления о номинальной испытательной скорости, активируют аварийную систему. Пытаются дать возможность устройству для преодоления лестниц совершить преодоление лестницы как при движении вверх, так и вниз в каком-либо рабочем режиме. Дезактивируют аварийную систему и пытаются установить какой-либо рабочий режим, отличный от режима преодоления. Пытаются дать возможность устройству для преодоления лестниц совершить преодоление лестницы как при движении вверх, так и вниз в любом рабочем режиме, отличном от режима преодоления.
h) Повторяют процедуру по
перечислению a), но продолжают давать устройству для преодоления лестниц возможность спуститься вниз по прямой испытательной лестнице без остановки на ступени 4. Когда устройство для преодоления лестниц достигает ступени под номером 4, поддерживая команду устройства управления о номинальной испытательной скорости, выключают устройство для преодоления лестниц. Ожидают в течение, по крайней мере, 10 секунд и включают его снова. Пытаются дать устройству для преодоления лестниц возможность совершить преодоление лестницы как при движении вверх, так и вниз в любом рабочем режиме, отличном от режима преодоления.
i) Повторяют процедуру по
перечислениям a) - h), но давая возможность устройству для преодоления лестниц подняться вверх по прямой испытательной лестнице после начала движения с нижней лестничной площадки.
19.3. Отчет об испытаниях
В дополнение к информации, определенной в
разделе 20, отчет об испытаниях должен включать следующую информацию:
a) заявление, отвечает ли устройство для преодоления лестниц требованиям
5.13;
b) конфигурацию устройства для преодоления лестниц во время испытаний;
c) результаты каждого испытания;
d) любую опасную ситуацию, которая произошла при испытаниях;
e) любые инструкции изготовителя по использованию, которые были игнорированы, с объяснением причины;
f) любые особые испытания, которые не могли быть выполнены, с объяснением причины;
g) любые другие наблюдения, относящиеся к испытаниям;
h) заявление, отвечает ли устройство для преодоления лестниц требованиям
5.12;
i) конфигурацию устройства для преодоления лестниц во время испытаний;
j) любую опасную ситуацию, которая произошла при испытаниях;
k) любые инструкции изготовителя по применению, которые были проигнорированы, с объяснением причины;
l) любые особые испытания, которые не могли быть выполнены, с объяснением причины;
m) любые другие наблюдения, относящиеся к испытаниям.
20. Общий отчет об испытаниях
В дополнение к конкретным данным, зарегистрированным при каждом испытании (
разделы 4,
9 -
19, приложения от
H -
J), отчет об испытаниях должен содержать следующую информацию:
a) заявление, что испытания были проведены в соответствии с ИСО 7176-28;
b) наименование и адрес организации, проводившей испытания;
c) наименование и адрес изготовителя устройства для преодоления лестниц;
d) дату составления отчета об испытаниях;
e) тип устройства для преодоления лестниц и любой серийный номер, и номер партии (включая его классификацию в соответствии с
приложением A);
f) классификацию устройства для преодоления лестниц, как определено в ИСО 7176-21;
g) эффективную ширину сиденья устройства для преодоления лестниц, используемого для испытаний (см.
7.3);
h) оборудование и регулировки испытываемого устройства для преодоления лестниц при испытании (см.
7.2 и
7.3);
i) фирменное наименование, модель и массу испытуемого кресла-коляски (если используют);
j) массу испытательного манекена или, если используют пользователя в качестве испытателя, массу пользователя с любыми дополнительными грузами;
k) детали подготовки устройства для преодоления лестниц, как определено в
разделе 7, включая оборудование и регулировки, и любые отклонения от инструкций, с объяснением причины;
l) номинальную емкость, имя изготовителя, наименование продукта, код и другие виды идентификации батарей, которыми оснащено устройство для преодоления лестниц во время испытания;
n) фотографию испытуемого устройства для преодоления лестниц.
21. Маркировка и документация
Документация изготовителя и маркировка должны соответствовать требованиям ИСО 7176-15.
Устройство для преодоления лестниц должно иметь постоянную и легко различимую маркировку. Маркировка должна включать следующее:
a) максимальную номинальную нагрузку, кг, в следующих вариантах:
- для устройств для преодоления лестниц с креслом максимальную массу пользователя;
- для устройств для преодоления лестниц, перемещающих кресло-коляску, максимальную массу общей нагрузки (масса транспортируемого кресла-коляски плюс масса пользователя);
b) заявление о том, что, прежде чем использовать устройство для преодоления лестниц, важно, чтобы оператор прошел обучение у квалифицированного инструктора.
Спецификация изготовителя должна предоставлять следующую информацию:
a) наименование модели устройства для преодоления лестниц, включая ее классификацию, как определено в
приложении A;
b) заявление о соответствии настоящему стандарту, основанное на том, что назначенное использование продукта раскрыто в инструкции изготовителя по применению и другой документации изготовителя;
c) габаритную длину, габаритную ширину, ширину разворота (если применимо), ширину реверсирования (если применимо), полученные из ИСО 7176-5 (см.
раздел 4);
d) минимальную ширину лестницы для прямых лестниц (см.
приложение J);
e) минимальную длину лестничной площадки и ширину для U-образных лестниц (см.
приложение J);
f) минимальный внешний радиус лестницы для винтовой лестницы, если применимо (см.
приложение J);
g) минимальный внешний радиус лестницы для винтовой лестницы, если применимо (см.
приложение J);
h) общую массу пустого устройства для преодоления лестниц, кг;
i) массу наиболее тяжелого узла устройства для преодоления лестниц, когда узел снимают без использования инструментов с целью транспортировки или складирования, кг;
j) для устройств для преодоления лестниц, перемещающих кресло-коляску, рекомендуемый тип(ы) или модель(и) кресла-коляски, предназначенного для перемещения;
k) максимальную номинальную нагрузку, кг, в следующих вариантах:
- для устройств для преодоления лестниц с креслом максимальная масса пользователя;
- для устройств для преодоления лестниц, перемещающих кресло-коляску, максимальная масса общей нагрузки (масса транспортируемого кресла-коляски плюс масса пользователя);
l) заявление, предназначено ли устройство для преодоления лестниц для использования на винтовой лестнице;
m) максимальный наклон лестницы, °, который может быть безопасно преодолен;
n) любые ограничения, относящиеся к допустимому размеру высоты и/или ширины ступеней лестницы, и любые ограничения, относящиеся к поверхности ступеней, например ворсистые ковры;
o) максимальный допустимый наклон верхней и нижней лестничной площадок;
p) максимальную скорость преодоления лестниц, ступеней в минуту, для подъема и спуска соответственно, как определено в соответствии с
приложением H;
q) где применимо, максимальную скорость передвижения по поверхности передвижения, м/с, как определено в соответствии с ИСО 7176-6 (см.
раздел 4);
r) теоретическое число ступеней при движении вверх и число ступеней при движении вниз, которое устройство для преодоления лестниц способно преодолеть с одной подзарядкой батареи, как определено в соответствии с
приложением I;
s) теоретический диапазон расстояний, которые устройство для преодоления лестниц способно преодолеть на поверхности передвижения, как определено в соответствии с ИСО 7176-4 (см.
раздел 4);
t) наибольшие прямые рабочие усилия, измеренные, как определено в
13.3.1.5 или
13.4.1, прикладываемые к типу устройства для преодоления лестниц, Н.
Где применимо, в дополнение изготовитель должен раскрыть в спецификации способом и в последовательности, определенной в ИСО 7176-15, информацию, полученную при испытаниях в режиме передвижения (см.
4.1), и любых других рабочих режимах (см.
4.2).
21.4. Инструкция по применению
Инструкция по применению должна предоставлять информацию, содержащуюся в
21.3 и следующую:
a) серийный номер и номер партии индивидуального устройства для преодоления лестниц;
b) указание, что важно, чтобы оператор был обучен квалифицированным инструктором перед использованием устройства для преодоления лестниц;
c) заявление о том, что использование устройства для преодоления лестниц может повлечь за собой более высокий уровень риска и требует большей подготовленности оператора, чем при использовании кресла-коляски;
d) предупреждение о том, что любое использование устройства для преодоления лестниц опасно, если оператор не знаком или не соблюдает инструкции изготовителя по применению;
e) заявление о том, что испытания на устойчивость были проведены с использованием испытательных манекенов и (где применимо) стандартных испытуемых кресел-колясок, и характеристика устойчивости может варьироваться в ситуациях реальной жизни;
f) если устройство для преодоления лестниц предназначено для демонтажа для более легкой транспортировки и компоненты массой более 10 кг не снабжены подходящими устройствами для обращения, инструкция по применению должна указывать места, за которые компоненты могут быть безопасно подняты, и/или дать способ обращения в процессе сборки;
g) пояснение по применению аварийной системы и набору, по крайней мере, двух отдельных действий оператора, необходимых для ее выключения;
h) описание функционирования элементов контроля, доступных оператору, и безопасного включения изменения их настроек;
i) инструкции, необходимые для технического обслуживания и ремонта;
j) инструкции по установке, зарядке и замене батареи;
k) тип батареи, номинальное напряжение и номинальная емкость;
l) если устройство для преодоления лестниц оборудовано передней опорой тела, инструкцию по применению передней опоры тела (см.
приложение C);
m) если устройство для преодоления лестниц имеет подголовник и угол опоры спинки более 25°, когда устройство для преодоления лестниц применяют по назначению, инструкцию по применению подголовника.
(обязательное)
ТИПЫ УСТРОЙСТВ ДЛЯ ПРЕОДОЛЕНИЯ ЛЕСТНИЦ
С ТИПИЧНЫМИ ПРЕДСТАВИТЕЛЯМИ
Таблица A.1 показывает систему, которую используют для классификации устройств для преодоления лестниц. Устройство для преодоления лестниц может быть отнесено к одному или нескольким классам.
Таблица A.1
Классификация устройств для преодоления лестниц
Устройство для преодоления лестниц, управляемое сопровождающим | Устройство для преодоления лестниц, управляемое пользователем |
Самоустанавливающееся | Стабилизируемое вручную | Самоустанавливающееся | Стабилизируемое вручную |
Устройство для преодоления лестниц с креслом | Устройство для преодоления лестниц, перемещающее кресло-коляску | Устройство для преодоления лестниц с креслом | Устройство для преодоления лестниц, перемещающее кресло-коляску | Устройство для преодоления лестниц с креслом | Устройство для преодоления лестниц, перемещающее кресло-коляску | Устройство для преодоления лестниц с креслом | Устройство для преодоления лестниц, перемещающее кресло-коляску |
Тип A | Тип B | Тип C | Тип D | Тип E | Тип F | Тип G | Тип H |
| | | | | | | В настоящее время представитель неизвестен |
Важным вопросом при описании устройства для преодоления лестниц является его способность преодолевать только прямые лестницы или как прямые, так и винтовые лестницы.
Другой важный вопрос: имеет ли или нет устройство для преодоления лестниц режим передвижения (на момент публикации некоторые модели устройств для преодоления лестниц типа A, C, E и G имеют режим передвижения).
Рисунок A.1 - Представитель типичного самоустанавливающегося
устройства для преодоления лестниц с креслом, управляемого
сопровождающим (тип A)
Рисунок A.2 - Представитель типичного самоустанавливающегося
устройства для преодоления лестниц, перемещающего
кресло-коляску, управляемого сопровождающим (тип B)
Рисунок A.3 - Представители типичных устройств
для преодоления лестниц с креслом, стабилизируемых вручную,
управляемых сопровождающими (тип C)
Рисунок A.4 - Представители типичных устройств
для преодоления лестниц, перемещающих кресло-коляску,
стабилизируемых вручную, управляемых сопровождающими (тип D)
Рисунок A.5 - Представители типичных самоустанавливающихся
устройств для преодоления лестниц с креслом, управляемых
пользователями (тип E)
Рисунок A.6 - Представитель типичного самоустанавливающегося
устройства для преодоления лестниц, перемещающего
кресло-коляску, управляемого пользователем (тип F)
Рисунок A.7 - Представитель типичного устройства
для преодоления лестниц с креслом, стабилизируемого вручную,
управляемого пользователем (тип G)
(обязательное)
ПРОСТРАНСТВО ЛЕГКОГО ДОСТУПА ДЛЯ ОПЕРАТОРА
Средства для управления должны быть в пределах легкого доступа для операторов в соответствии со следующими границами:
- для сопровождающего на поверхностях передвижения, как показано на
рисунке B.1;
- для сопровождающего на лестнице, как показано на
рисунке B.2;
- для управления пользователем, как показано на
рисунке B.3.
--------------------------------
<a> Пространство доступа для сопровождающего на поверхностях передвижения.
1 - самая задняя верхняя точка толкающих ручек
Рисунок B.1 - Пространство доступа для сопровождающего
на поверхностях передвижения
--------------------------------
<a> Расстояние по вертикали.
<b> Пространство доступа для сопровождающего на лестнице.
1 - самая задняя верхняя точка толкающих ручек
Рисунок B.2 - Пространство доступа для сопровождающего
на лестнице
--------------------------------
<a> Базовая плоскость сиденья.
<b> Базовая плоскость спинки.
<c> Линия пересечения базовой плоскости сиденья и базовой плоскости спинки.
<d> Пространство доступа для управляющего пользователя.
Рисунок B.3 - Пространство доступа
для управляющего пользователя
(обязательное)
РЕКОМЕНДУЕМОЕ ОБОРУДОВАНИЕ ДЛЯ ОБЕСПЕЧЕНИЯ БЕЗОПАСНОСТИ
C.1 Общие положения
Изготовители устройств для преодоления лестниц должны оснащать устройства для преодоления лестниц соответствующим оборудованием для обеспечения безопасности. В настоящем приложении приведены рекомендации по наиболее общим типам оборудования для обеспечения безопасности устройств для преодоления лестниц и их функций и характеристик.
C.2 Передняя опора тела
Устройство для преодоления лестниц должно быть оборудовано передней опорой тела, способной ограничить чрезмерные перемещения пользователя во время преодоления лестниц.
Примечание - Передняя опора тела не должна быть использована как ограничитель для пользователя при аварии, как, например, в автомобилях.
C.3 Подголовник
Если при использовании устройства для преодоления лестниц угол опоры спины более 25°, устройство для преодоления лестниц должно иметь средства для крепления подголовника.
Если устройство для преодоления лестниц имеет средства для крепления подголовника, совместимые подголовники, подходящие для пользователей различных размеров тела, должны быть предоставлены изготовителем. Размер "высота подголовника над сиденьем" (см. ИСО 7176-7) должен находиться в диапазоне от 600 до 860 мм для устройств для преодоления лестниц для взрослых и в диапазоне от 420 до 760 мм для детских устройств для преодоления лестниц.
C.4 Лестничный индикатор
Устройство для преодоления лестниц должно быть оснащено лестничным индикатором.
Лестничный индикатор может быть или устройством, прикрепленным к устройству для преодоления лестниц, или ручным вспомогательным оборудованием, используемым оператором при приближении к лестнице с неизвестным наклоном и/или необычным размером ступеней.
(обязательное)
Имитатор кресла-коляски используют только, если в инструкции изготовителя по применению не определен конкретный тип или модель кресла-коляски для использования с устройством для преодоления лестниц.
Габаритные размеры имитатора кресла-коляски определяют в соответствии с ИСО 7176-5; размеры сиденья и колеса в настоящем приложении имеют наименования и измеряются, как определено в ИСО 7176-7.
Имитатор кресла-коляски
<1> должен:
a) быть оснащен надежными четырьмя колесами, приводиться в действие за счет ручного приводного обода и иметь задние приводные колеса;
b) иметь общую массу (15 +/- 5) кг;
c) иметь центр тяжести, размещенный в (450 +/- 50) мм над поверхностью и в (150 +/- 50) мм впереди задних осей;
d) иметь раму, которая обеспечивает подходящую стыковку или точки крепления для устройства для преодоления лестниц;
e) иметь габаритную ширину (580 +/- 40) мм;
f) иметь габаритную длину (1120 +/- 60) мм;
g) иметь эффективную ширину сиденья (450 +/- 50) мм, эффективную глубину сиденья (450 +/- 50) мм и угол наклона плоскости сиденья (4 +/- 2)°;
h) иметь высоту поверхности сиденья над передним краем (520 +/- 40) мм;
i) иметь ширину спинки (430 +/- 50) мм, высоту спинки (420 +/- 50) мм и угол наклона спинки (10 +/- 2)°;
j) иметь длину подножки (450 +/- 40) мм;
k) иметь длину опоры стопы (150 +/- 40) мм;
l) иметь угол наклона опоры стопы (90 +/- 5)°;
m) иметь угол наклона подножки к поверхности сиденья (97 +/- 5)°;
n) иметь высоту подлокотника (200 +/- 40) мм;
o) иметь диаметр ручного приводного обода (530 +/- 40) мм;
p) иметь диаметр колеса маневрирования (610 +/- 25) мм;
q) иметь горизонтальное положение оси ведущего колеса (20 +/- 25) мм.
Примечание - Горизонтальное положение оси ведущего колеса и вертикальное положение оси ведущего колеса определены в ИСО 7176-7. Эти размеры определяют положение колес маневрирования относительно системы опоры тела;
r) иметь вертикальное положение оси ведущего колеса (184 +/- 25) мм;
s) иметь диаметр самоориентирующегося колеса (175 +/- 75) мм.
--------------------------------
<1> Meyra Service 3.600, Ortopedia Universal 9083, Otto Bock Start Basic, Sunrise Medical Breezy 200 и Vermeiren Standard 28TII могут быть использованы как имитаторы кресла-коляски при условии, что размеры, масса и положение центра тяжести выбраны, установлены и настроены в соответствии с характеристиками, приведенными в настоящем приложении. Эта информация приведена для удобства пользователей настоящего документа и не является одобрением ИСО названных изделий.
(обязательное)
НАИМЕНЕЕ УСТОЙЧИВАЯ КОНФИГУРАЦИЯ И НАИМЕНЕЕ
УСТОЙЧИВОЕ ПОЛОЖЕНИЕ
E.1 Наименее устойчивая конфигурация
E.1.1 Общие положения
Устанавливают устройство для преодоления лестниц в наименее устойчивую конфигурацию для направления, в котором испытание должно быть проведено, в соответствии со следующими инструкциями.
Примечание - Наименее устойчивая конфигурация при движении вперед может быть использована для обеспечения наименее устойчивой конфигурации при движении вбок.
Устанавливают регулируемые части, колеса и механизмы преодоления в наименее устойчивую конфигурацию для определения передней устойчивости в соответствии с таблицей E.1.
Таблица E.1
Регулировки для наименьшей передней устойчивости
Регулируемые компоненты | Регулировка для наименьшей передней устойчивости |
Положение состыкованного кресла-коляски (если используется), продольное | Вперед |
Положение состыкованного кресла-коляски (если используется), угол наклона | Наклоненное вперед |
Положение сиденья, продольное | Вперед |
Положение сиденья, вертикальное | Вверх |
Положение сиденья, угол наклона | Наклон вперед |
Положение опоры спины, продольный сдвиг | Вперед |
Положение опоры спины, угол наклона | Наклон вперед |
Положение поднимающейся подножки | Вверх |
Угол отклонения | Рекомендуемый минимум |
Устанавливают регулируемые части, колеса и механизмы преодоления в наименее устойчивую конфигурацию для определения задней устойчивости в соответствии с таблицей E.2.
Таблица E.2
Регулировки для наименьшей задней устойчивости
Регулируемые компоненты | Регулировки для наименьшей задней устойчивости |
Положение состыкованного кресла-коляски (если используется), продольное | Назад |
Положение состыкованного кресла-коляски (если используется), угол наклона | Наклоненное назад |
Положение сиденья, продольное | Назад |
Положение сиденья, вертикальное | Вверх |
Положение сиденья, угол наклона | Наклон назад |
Положение опоры спины, продольный сдвиг | Назад |
Положение опоры спины, угол наклона | Наклон назад |
Положение поднимающейся подножки | Вниз |
Угол отклонения | Рекомендуемый максимум |
E.2 Наименее устойчивое положение
E.2.1 Общие положения
Устанавливают устройство для преодоления лестниц в наименее устойчивое положение в направлении, требуемом для проведения испытания, в соответствии со следующими примерами.
E.2.2 На поверхности передвижения. Движение вперед
На
рисунке E.1 представлены примеры устройств для преодоления лестниц, размещенных на испытательной поверхности таким образом, вероятно, чтобы реализовать наименее устойчивое положение при движении вперед. В этих примерах:
a) центр массы находится как можно выше над самой передней точкой контакта;
b) центр массы выдвинут как можно больше вперед, но в то же время, оставаясь позади самой передней точки контакта;
c) механизм преодоления установлен таким образом, что самая передняя точка контакта находится как можно больше сдвинутой назад относительно устройства для преодоления лестниц, но, все же позволяя устройству для преодоления лестниц наклоняться вперед на угол (3 +/- 1)°.
Примечание 1 - Когда устройство для преодоления лестниц устанавливают в наименее устойчивое положение, некоторые части механизма преодоления могут находиться очень близко к испытательной поверхности, но не быть в контакте с ней. Для некоторых испытаний важно обращать внимание, находятся ли эти части в контакте с испытательной поверхностью или нет;
d) где переднее колесо является самоориентирующимся колесом или поворотным колесом, оно повернуто назад;
e) механизм преодоления установлен таким образом, что задний конец устройства для преодоления лестниц находится как можно выше.
Примечание 2 - Другие практические детали показаны на
рисунке E.1.
a) Гусеницы на кронштейнах
b) Кластеры на кронштейнах
c) Пальцевой привод
d) Задний кластер
e) Двухтактный механизм преодоления
f) Трехтактный механизм преодоления
g) Динамически контролируемое устройство
для преодоления лестниц
1 - положение и конфигурация механизма преодоления,
настроенного, если возможно, для обеспечения наиболее
переднего и верхнего положения центра массы; 2 - центр
массы; 3 - пространство между передним механизмом
преодоления и испытательной поверхностью, позволяющее
устройству для преодоления лестниц наклоняться вперед
на угол (3 +/- 1)°; 4 - задний механизм преодоления,
установленный так, что устройство для преодоления лестниц
находится как можно выше; 5 - переднее самоориентирующееся
колесо или поворотное колесо повернуто назад; 6 - расстояние
между колесом и механизмом преодоления, настроенное, если
возможно, для обеспечения наиболее переднего и верхнего
положения центра массы; 7 - расстояние между кулачками,
настроенное, если возможно, для обеспечения наиболее
переднего и верхнего положения центра массы
Рисунок E.1 - Примеры наименее устойчивого положения
при движении вперед на поверхности передвижения
E.2.3 На поверхности передвижения. Движение назад
На
рисунке E.2 представлены примеры устройств для преодоления лестниц, размещенных на испытательной поверхности таким образом, вероятно, чтобы реализовать наименее устойчивое положение при движении назад. В этих примерах:
a) центр массы находится как можно выше над самой задней точкой контакта;
b) центр массы выдвинут как можно больше назад, но в то же время оставаясь впереди самой задней точки контакта;
c) механизм преодоления установлен таким образом, что самая задняя точка контакта находится как можно больше сдвинутой вперед относительно устройства для преодоления лестниц, но, все же позволяя устройству для преодоления лестниц наклоняться назад на угол (3 +/- 1)°.
Примечание 1 - Когда устройство для преодоления лестниц устанавливают в наименее устойчивое положение, некоторые части механизма преодоления могут находиться очень близко к испытательной поверхности, но не быть в контакте с ней. Для некоторых испытаний важно обращать внимание, находятся ли эти части в контакте с испытательной поверхностью или нет;
d) где переднее колесо является самоориентирующимся колесом или поворотным колесом, оно повернуто назад;
e) механизм преодоления установлен таким образом, что передний конец устройства для преодоления лестниц находится, как можно выше.
Примечание 2 - Другие практические детали показаны на
рисунке E.2.
a) Гусеницы на кронштейнах
b) Кластеры на кронштейнах
c) Пальцевой привод
d) Задний кластер
e) Двухтактный механизм преодоления
f) Трехтактный механизм преодоления
g) Динамически контролируемое устройство
для преодоления лестниц
1 - положение и конфигурация механизма преодоления,
настроенного, если возможно, для обеспечения наиболее
заднего и верхнего положения центра массы; 2 - центр массы;
3 - пространство между задним механизмом преодоления
и испытательной поверхностью, позволяющее устройству
для преодоления лестниц наклоняться назад на угол
(3 +/- 1)°; 4 - передний механизм преодоления, установленный
так, что устройство для преодоления лестниц находится
как можно выше; 5 - переднее самоориентирующееся колесо
или поворотное колесо повернуто назад; 6 - расстояние
между колесом и механизмом преодоления, настроенное,
если возможно, для обеспечения наиболее заднего и верхнего
положения центра массы; 7 - расстояние между кулачками,
настроенное, если возможно, для обеспечения наиболее
заднего и верхнего положения центра массы
Рисунок E.2 - Примеры наименее устойчивого положения
при движении назад на поверхности передвижения
E.2.4 На лестнице. Движение вниз
Размещают устройство для преодоления лестниц на прямой испытательной лестнице так, что самая нижняя точка механизма преодоления, предназначенная для контакта с лестницей, находится в контакте с обозначенной ступенью.
Если устройство для преодоления лестниц имеет непрерывный механизм преодоления с зубцами, которые находятся в контакте с лестницей (например, на гусеничном ходу), убеждаются, что оковка обозначенной ступени находится в пределах зазора между двумя зубцами, где верхний зубец находится в контакте с проступью.
Примечание 1 - Обычно некоторое раскачивание, сотрясение, подъем или кручение устройства для преодоления лестницы может помочь в позиционировании зубцов.
На
рисунке E.3 представлены примеры устройств для преодоления лестниц, размещенных на прямой испытательной лестнице таким образом, вероятно, чтобы реализовать наименее устойчивое положение при движении вниз. В этих примерах:
a) центр массы находится как можно выше над самой передней точкой контакта;
b) центр массы выдвинут как можно больше вперед, но в то же время, оставаясь позади самой передней точки контакта;
c) механизм преодоления установлен таким образом, что самая передняя точка контакта находится как можно больше сдвинутой назад относительно устройства для преодоления лестниц, но все же позволяя устройству для преодоления лестниц наклоняться вниз на угол (3 +/- 1)°.
Примечание 2 - Когда устройство для преодоления лестниц устанавливают в наименее устойчивое положение, некоторые части механизма преодоления могут находиться очень близко к проступям некоторых ступеней, но не быть в контакте с ними. Для некоторых испытаний важно обращать внимание, находятся ли эти части в контакте с этими проступями или нет;
d) механизм преодоления установлен таким образом, что задний конец устройства для преодоления лестниц находится как можно выше.
Примечание 3 - Другие практические детали показаны на
рисунке E.3.
a) Гусеницы на кронштейнах
b) Малые кластеры на кронштейнах
c) Большие кластеры на кронштейнах
d) Динамически контролируемое устройство
для преодоления лестниц
1 - положение и конфигурация механизма преодоления,
настроенного, если возможно, для обеспечения наиболее
переднего и верхнего положения центра массы; 2 -
пространство между передним механизмом преодоления
и ступенью, позволяющее устройству для преодоления лестниц
наклоняться вниз на угол (3 +/- 1)°; 3 - центр массы;
4 - самая передняя точка контакта; 5 - малый передний
кластер, установленный так, что кулачок, который находится
в контакте со ступенью, находился бы как можно дальше назад
от центра кластера; 6 - задний кластер, установленный так,
что устройство для преодоления лестниц находится как можно
выше; 7 - расстояние между большим передним кластером
и ступенью, позволяющее устройству для преодоления лестниц
наклоняться вниз на угол (3 +/- 1)°; 8 - расстояние между
кулачками, настроенное, если возможно, для обеспечения
наиболее переднего и верхнего положения центра массы
Рисунок E.3 - Примеры наименее устойчивого положения
на лестнице при движении вниз
E.2.5 На лестнице. Движение вверх
Размещают устройство для преодоления лестниц на прямой испытательной лестнице так, что самая нижняя точка механизма преодоления, предназначенная для контакта с лестницей, находится в контакте с обозначенной ступенью.
Если устройство для преодоления лестниц имеет непрерывный механизм преодоления с зубцами, которые находятся в контакте с лестницей (например, на гусеничном ходу), убеждаются, что оковка обозначенной ступени находится в пределах зазора между двумя зубцами, где верхний зубец находится в контакте с проступью.
Примечание 1 - Обычно некоторое раскачивание, сотрясение, подъем или кручение устройства для преодоления лестницы может помочь в позиционировании зубцов.
На
рисунке E.4 представлены примеры устройств для преодоления лестниц, размещенных на прямой испытательной лестнице таким образом, вероятно, чтобы реализовать наименее устойчивое положение при движении вверх. В этих примерах:
a) центр массы находится как можно выше над самой задней точкой контакта;
b) центр массы выдвинут как можно больше назад, но в то же время оставаясь впереди самой задней точки контакта;
c) механизм преодоления установлен таким образом, что самая задняя точка контакта находится, как можно больше сдвинутой вперед относительно устройства для преодоления лестниц, но все же позволяя устройству для преодоления лестниц наклоняться вверх на угол (3 +/- 1)°.
Примечание 2 - Когда устройство для преодоления лестниц устанавливают в наименее устойчивое положение, некоторые части механизма преодоления могут находиться очень близко к проступям некоторых ступеней, но не быть в контакте с ними. Для некоторых испытаний важно обращать внимание, находятся ли эти части в контакте с этими проступями или нет;
d) механизм преодоления установлен таким образом, что передний конец устройства для преодоления лестниц находится как можно выше.
Примечание 3 - Другие практические детали показаны на
рисунке E.4.
a) Гусеницы на кронштейнах
b) Кластеры на кронштейнах
c) Динамически контролируемое устройство
для преодоления лестниц
1 - положение и конфигурация механизма преодоления,
настроенного, если возможно, для обеспечения наиболее
заднего и верхнего положения центра массы; 2 - пространство
между задним механизмом преодоления и ступенью, позволяющее
устройству для преодоления лестниц наклоняться вверх на угол
(3 +/- 1)°; 3 - центр массы; 4 - самая задняя точка
контакта; 5 - расстояние между задним кластером и ступенью,
позволяющее устройству для преодоления лестниц наклоняться
вверх на угол (3 +/- 1)°; 6 - передний кластер,
установленный так, что устройство для преодоления лестниц
находится как можно выше; 7 - расстояние между кулачками,
настроенное, если возможно, для обеспечения наиболее заднего
и верхнего положения центра массы
Рисунок E.4 - Примеры наименее устойчивого положения
на лестнице при движении вверх
(справочное)
ИСПЫТАНИЯ НА УСТАЛОСТНУЮ ПРОЧНОСТЬ С ПРИМЕНЕНИЕМ
ИСПЫТАТЕЛЬНОЙ МАШИНЫ
F.1 Эскалаторная испытательная машина
Предлагаемая испытательная машина аналогична эскалатору, но не оборудована мотором. Она состоит из следующего:
a) непрерывная лента движущейся лестницы, имеющей, как минимум, пять ступеней, лежащих на ровной плоскости, наклоненной на угол (35 +/- 5)° относительно горизонтали;
b) лестница шириной, как минимум, на 100 мм больше ширины испытуемого устройства для преодоления лестниц;
c) ступени по ширине и высоте, подходящие для механизма преодоления устройства для преодоления лестниц.
Примечание 1 - Для большинства устройств для преодоления лестниц ширина и высота, равная (146 +/- 20) мм является подходящей;
d) оковка ступени с радиусом (4 +/- 2) мм;
e) структура, поддерживающая движущуюся лестницу, которая способна выдерживать вес загруженного устройства для преодоления лестниц в процессе работы;
f) средства для монтажа устройства для преодоления лестниц на движущейся лестнице и удержания его в ориентации для преодоления в соответствии с инструкцией изготовителя по применению, без вмешательства действия механизма преодоления.
Примечание 2 - Для обеспечения этого раму устройства для преодоления лестниц фиксируют ограничителями;
g) средства измерения сил натяжения в продольных ограничителях в диапазоне от 10 до 400 Н с точностью 5%;
h) ограничители, которые ограничивают боковое перемещение устройства для преодоления лестниц на +/- 50 мм;
i) средства для приведения в движение движущейся лестницы за счет массы загруженного устройства для преодоления лестниц и действия механизма преодоления;
j) средства для регулирования сопротивления движущейся лестницы так, чтобы устройство для преодоления лестниц, преодолевая при подъеме лестницу, не смещалось значительно вверх или вниз относительно земли, когда лестница находится в движении;
k) средства для подсчета числа ступеней, преодоленных устройством для преодоления лестниц.
F.2 Метод
Размещают устройство для преодоления лестниц на эскалаторной испытательной машине так, что все части механизма преодоления находились на прямой секции ступеней (см.
рисунки F.1 и
F.2).
Настраивают устройство для преодоления лестниц на режим преодоления.
Ограничивают устройство для преодоления лестниц продольными ограничителями и боковыми ограничителями, прикрепленными к раме. Если устройство для преодоления лестниц стабилизируется вручную, удерживают его в нормальной рабочей позиции с помощью ручек ограничителей.
Примечание 1 - Если необходимо, крышки, не входящие в структуру, которые ограничивают доступ к точкам крепления, могут быть удалены.
Устанавливают продольные ограничители так, что они находятся параллельно линии наклона +/- 10°, таким образом, что устройство для преодоления лестниц имеет свободное движение вдоль линии наклона на (30 +/- 5) мм.
Если необходимо, устанавливают ручки ограничителей так, что они располагаются перпендикулярно линии, которая соединяет центр механизма преодоления с ручкой +/- 15°, таким образом, что они не мешают преодолению.
Примечание 2 - Траектория точки приложения рабочих усилий может быть волнистой.
Обеспечивают, чтобы ограничители не вызывали какие-либо силы, которые смещают или наклоняют устройство для преодоления лестниц.
Устанавливают ограничители так, что для устройства для преодоления лестниц невозможно двигаться вбок более чем на 50 мм.
Настраивают сопротивление движущейся лестницы для прочного удержания положения устройства для преодоления лестниц, когда действует механизм преодоления, и так, что силы натяжения в продольных ограничителях не превышают 5% от общей массы загруженного устройства для преодоления лестниц.
Примечание 3 - Небольшое колебание скорости движущейся лестницы, появляющееся в результате какой-либо сложной кинематики механизма преодоления, может быть проигнорировано.
Примечание 4 - Вспомогательный источник энергии для устройства для преодоления лестниц может быть использован для данного испытания или, альтернативно, могут быть предусмотрены средства для зарядки или замены батарей во время испытания.
Определяют число ступеней для преодоления.
Если устройство для преодоления лестниц имеет непрерывный механизм преодоления и расстояние между оковками последовательных ступеней движущейся лестницы более 339 мм или менее 289 мм, корректируют число ступеней для преодоления путем умножения на компенсационный коэффициент, определяемый, как указано в
приложении G.
Примечание 5 - Номинальное расстояние между оковками, равное 314 мм, соответствует расстоянию прямой испытательной лестницы.
Дают устройству для преодоления лестниц возможность выполнить преодоление в соответствии с инструкцией изготовителя по применению.
Периодически проверяют положение испытуемого кресла (если используют) и испытательного манекена или человека в качестве испытателя и корректируют его, если необходимо.
Продолжают испытания до тех пор, пока устройство для преодоления лестниц не преодолеет требуемое число ступеней или до тех пор, пока оно не выйдет из строя.
Регистрируют любые трещины, поломки или большие деформации и любые компоненты, требующие подтягивания, регулировки и замены в результате испытания.
1 - продольные ограничители
Рисунок F.1 - Самоустанавливающееся устройство
для преодоления лестниц на эскалаторной испытательной машине
1 - продольные ограничители; 2 - ручки ограничителей
Рисунок F.2 - Устройство для преодоления лестниц,
стабилизируемое вручную, на эскалаторной
испытательной машине
(справочное)
КОМПЕНСАЦИОННЫЙ КОЭФФИЦИЕНТ
Для того чтобы получить сравнимые результаты, испытания проводят на прямой испытательной лестнице, которая имеет угол наклона 35° и высоту ступени 180 мм, и номинальное расстояние между оковками последовательных ступеней 314 мм.
Для испытания на усталостную прочность при преодолении определены две альтернативные установки. В первой устройство для преодоления лестниц преодолевает лестницу вверх и вниз. Во второй используют эскалаторную испытательную машину (см.
6.18 и
приложение F).
Для того чтобы эскалаторная испытательная машина подходила к большинству известных типов устройств для преодоления лестниц, она может быть сконструирована с расстоянием между оковками последовательных ступеней, которое отличается от расстояния на прямой испытательной лестнице.
Устройства для преодоления лестниц с непрерывными механизмами преодоления (например, гусеницами) перемещаются равномерно вдоль линии наклона лестницы. Они работают независимо от высоты и ширины ступени и, следовательно, размер ступени неважен для их продвижения до тех пор, пока ступени обеспечивают достаточное сцепление. Общее время, затраченное на преодоление лестницы, приблизительно пропорционально расстоянию преодоления вдоль линии наклона.
Устройства для преодоления лестниц со ступенчатыми механизмами преодоления (например, кластеры) преодолевают ступень за ступенью. Они работают по следующему правилу: "одно действие на одну ступень". Общее время, затраченное на преодоление лестницы, приблизительно пропорционально числу ступеней.
Следовательно, когда расстояние оковок эскалаторной испытательной машины значительно отличается от расстояния оковок прямой испытательной лестницы, результаты испытания должны быть откорректированы для устройств для преодоления лестниц с непрерывными механизмами преодоления, но не для устройств со ступенчатыми механизмами преодоления.
Примечание 1 - Рассматривается необходимость корректировки для разницы в 25 мм или более.
Компенсационный коэффициент вводят для обеспечения сравнимости результатов испытания устройств для преодоления лестниц с различными способами преодоления.
Данный компенсационный коэффициент определяют по следующей формуле:
| | ИС МЕГАНОРМ: примечание. Формула дана в соответствии с официальным текстом документа. | |
где f - компенсационный коэффициент;
ST - расстояние между оковками последовательных ступеней прямой испытательной лестницы (равное 314 мм);
D - измеренное расстояние между оковками последовательных ступеней эскалаторной испытательной машины.
Примечание 2 - Для целей исследования эскалаторная испытательная машина может быть использована для определения максимальной скорости
(приложение H) или для определения расхода энергии
(приложение I), в этих случаях компенсационный коэффициент гарантирует, что результаты между устройствами для преодоления лестниц с различными механизмами преодоления могут быть сравнимыми.
(обязательное)
ОПРЕДЕЛЕНИЕ МАКСИМАЛЬНОЙ СКОРОСТИ
H.1 Принцип
Максимальную скорость устройства для преодоления лестниц определяют функционированием его на лестнице и измерением времени, затраченного на преодоление определенного расстояния.
Примечание - Настоящее испытание используют для проверки информации изготовителя, касающейся максимальной скорости на прямой испытательной лестнице, и оно является расширением и адаптацией ИСО 7176-6.
Примечание - Данное испытание применимо для всех устройств для преодоления лестниц.
Предупреждение - Эти испытания могут быть опасными. Важно, чтобы соответствующие меры предосторожности (например, ограничители, которые удерживали бы устройство для преодоления лестниц в случае его падения) были предприняты для защиты персонала, проводящего испытания.
Полностью заряжают комплект батарей в соответствии с инструкцией изготовителя по применению.
Загружают устройство для преодоления лестниц испытуемым креслом-коляской (где применимо) и соответствующим испытательным манекеном или человеком в качестве испытателя, как описано в
7.8. Не используют неблагоприятную установку при испытании.
Подсоединяют прямую испытательную лестницу к верхней лестничной площадке и размещают их на горизонтальной испытательной поверхности.
Проводят испытание на номинальной испытательной скорости, в соответствии с
7.7.2.
Устанавливают устройство для преодоления лестниц в режим преодоления. Конфигурируют его для преодоления лестницы в соответствии с инструкцией изготовителя по применению. Размещают его на прямой испытательной лестнице.
Дают возможность загруженному устройству для преодоления лестниц подняться вверх по всей прямой испытательной лестнице с устройством управления, настроенным на поддержание номинальной испытательной скорости по всему пути.
Измеряют с относительной точностью 3% время, затраченное на подъем по целому числу ступеней, пока устройство для преодоления лестниц остается полностью на лестнице. Это число ступеней не должно быть менее четырех. Проводят испытание три раза и вычисляют среднее время подъема на это число ступеней.
Дают возможность загруженному устройству для преодоления лестниц спуститься вниз по всей прямой испытательной лестнице с устройством управления, настроенным на поддержание номинальной испытательной скорости по всему пути.
Измеряют с относительной точностью 3% время, затраченное на спуск по целому числу ступеней, пока устройство для преодоления лестниц остается полностью на лестнице. Это число ступеней не должно быть менее четырех. Проводят испытание три раза и вычисляют среднее время спуска на это число ступеней.
Вычисляют среднюю скорость, ступени в минуту, для подъема и спуска соответственно, и регистрируют ее с точностью до двух значащих цифр.
H.3 Отчет об испытаниях
В дополнение к информации, определенной в
разделе 20, отчет об испытаниях должен включать максимальную скорость преодоления лестницы, ступеней в минуту, для подъема и спуска соответственно, как определено в соответствии с
H.2.
(обязательное)
ОПРЕДЕЛЕНИЕ ТЕОРЕТИЧЕСКОГО РАСХОДА ЭНЕРГИИ
I.1 Принцип
Теоретический расход энергии устройства для преодоления лестниц оценивают, давая устройству для преодоления лестниц возможность подняться при движении вверх и спуститься при движении вниз по испытательной лестнице, при этом, измеряя потребляемую электроэнергию, а затем вычисляя теоретическое число пролетов лестницы, которое устройство для преодоления лестниц способно преодолеть прежде, чем батарея разрядится.
Примечание 1 - Данное испытание применимо для всех устройств для преодоления лестниц.
Предупреждение - Эти испытания могут быть опасными. Важно, чтобы соответствующие меры предосторожности (например, ограничители, которые удерживали бы устройство для преодоления лестниц в случае его падения) были предприняты для защиты персонала, проводящего испытания.
a) Полностью заряжают комплект батарей в соответствии с инструкцией изготовителя по применению.
b) Подсоединяют прямую испытательную лестницу к верхней лестничной площадке и размещают их на горизонтальной испытательной поверхности.
c) Загружают устройство для преодоления лестниц, как описано в
7.8. Не используют неблагоприятную установку при испытании.
Примечание 2 - Не является нормальным для данного испытания полностью разряжать батарею устройства для преодоления лестниц, но следует позаботиться, чтобы батарея не разряжалась ниже уровня, рекомендуемого инструкцией изготовителя по применению.
d) Немедленно после завершения подготовки, определенной в ИСО 7176-4, устанавливают устройство для преодоления лестниц в режим преодоления и конфигурируют его для преодоления лестницы в соответствии с инструкцией изготовителя по применению.
e) Проводят испытание при номинальной испытательной скорости, как описано в
7.7.2.
f) Размещают устройство для преодоления лестниц на нижней лестничной площадке, соседней со ступенью под номером 1 прямой испытательной лестницы. Дают устройству для преодоления лестниц возможность подняться вверх до тех пор, пока оно не разместится полностью на верхней лестничной площадке, соседней со ступенью под номером 8, и затем дают возможность ему спуститься обратно вниз до начальной позиции. Проводят эту процедуру в общей сложности пять раз.
Примечание 3 - В перечислении f), устройство для преодоления лестниц делает в общей сложности 10 переходов с лестничной площадки на лестницу (пять вверху и пять внизу), 10 переходов с лестницы на лестничную площадку (пять вверху и пять внизу), и преодолевает 40 ступеней при движении вверх и 40 ступеней при движении вниз.
g) Используют средства измерения потребления энергии
(6.8) для измерения электрической энергии, потребляемой устройством для преодоления лестниц. Регистрируют электрическую энергию, потребляемую устройством для преодоления лестниц во время действий по
перечислению f), Вт·ч.
h) Размещают устройство для преодоления лестниц на прямой испытательной лестнице, так чтобы оно находилось в контакте со ступенью 1, но убедившись, что оно не находится в контакте с нижней лестничной площадкой. Дают устройству для преодоления лестниц возможность подниматься вверх до тех пор, пока оно не преодолеет шесть полных верхних ступеней, и дают ему возможность спуститься вниз до начальной позиции. Проводят эту процедуру в общей сложности десять раз.
Примечание 4 - В перечислении h) устройство для преодоления лестниц не выполняет переходы на или с лестничной площадки. Десять циклов эквивалентны 60 ступеням при движении вверх и 60 ступеням при движении вниз. Если длина устройства для преодоления лестниц такая, что можно преодолевать таким способом только менее шести ступеней, изменяют число ступеней на цикл и увеличивают число циклов для преодоления 60 ступеней при движении вверх и 60 ступеней при движении вниз.
Примечание 5 - Если устройство для преодоления лестниц не выполняет преодоление нормально при приближении к лестничной площадке (например, уменьшает скорость или задействует вспомогательное устройство, подобное салазкам), начинают с самой нижней точки, где устройство для преодоления лестниц выполняет преодоление нормально, но соблюдают условия примечания 4.
i) Используют средства измерения потребления энергии
(6.8) для измерения электрической энергии, потребляемой устройством для преодоления лестниц. Регистрируют общую электрическую энергию, потребляемую устройством для преодоления лестниц во время действий по
перечислению h), плюс энергию, зарегистрированную по
перечислению g), Вт·ч.
Примечание 6 - Перечисления по
f) - i) могут быть объединены любым путем, который приводит к аналогичному общему числу переходов каждого типа (при движении вверх и при движении вниз), числу ступеней, преодоленных при движении вверх и числу ступеней, преодоленных при движении вниз.
Примечание 7 - Перечисления по
f) - i) представляют собой преодоление при движении вверх и вниз пяти пролетов из 20 ступеней каждый, включая переходы между лестницей и лестничной площадкой с каждого конца каждого пролета.
Примечание 8 - Заботятся о том, чтобы не вызвать перегрева устройства для преодоления лестниц. Предоставляют соответствующее время для охлаждения между циклами, если необходимо. Не включают энергию, потребленную устройством для преодоления лестниц в процессе охлаждения, в зарегистрированном объеме.
j) Вычисляют теоретическое число пролетов лестницы RS, которое устройство для преодоления лестниц может преодолеть, двигаясь как вверх, так и вниз, по следующей формуле:
где RS - теоретическое число пролетов лестницы, которое устройство для преодоления лестниц может преодолеть, двигаясь как вверх, так и вниз;
EBAT - номинальная энергетическая емкость комплекта батарей устройства для преодоления лестниц, Вт·ч;
ES - электрическая энергия, потребленная во время испытания, Вт·ч.
Если изготовитель батарей заявляет, что номинальная энергетическая емкость EBAT - это номинальная емкость каждой батареи, заявленной для времени разрядки пять часов, умножают на число батарей в комплекте батарей, используемом для преодоления лестницы. Если энергетическая емкость заявлена для времени разрядки, отличной от пяти часов, используют энергетическую емкость, заявленную для наиближайшего короткого периода. Иначе говоря, рассчитывают EBAT по следующей формуле:
EBAT = VNOM x C5,
где VNOM - номинальное напряжение комплекта батарей, В;
C5 - зарядная емкость батареи для времени разрядки в пять часов, как заявлено изготовителем батарей, А·ч.
Примечание 9 - Эта формула оценивает соотношение между номинальной энергетической емкостью и номинальной зарядной емкостью для типовых батарей устройства для преодоления лестниц. Предпочтительно, чтобы изготовитель батарей заявлял номинальную энергетическую емкость.
Если изготовитель батарей не заявляет зарядную емкость батареи для времени разрядки пять часов, рассчитывают C5 по следующей формуле:
C5 = 0,80 x C20,
где C20 - зарядная емкость батареи для времени разрядки 20 часов, как заявлено изготовителем батарей, А·ч.
Примечание 10 - Данная формула оценивает соотношение между C5 и C20 для типовых батарей устройства для преодоления лестниц.
I.3 Отчет об испытании
В дополнение к информации, определенной в
разделе 20, отчет об испытании должен включать:
a) теоретическое число пролетов лестницы
RS, которое устройство для преодоления лестниц может преодолеть, двигаясь как вверх, так и вниз при одной зарядке батарей, определенной, как описано в
I.2, округленное до ближайшего целого числа;
b) тип батареи и емкость комплекта батарей, как заявлено изготовителем батарей, которые используют для вычисления в
I.2.
(обязательное)
ОПРЕДЕЛЕНИЕ РАЗМЕРОВ ЗАНИМАЕМОЙ ПЛОЩАДИ И ПРОСТРАНСТВА
ДЛЯ МАНЕВРИРОВАНИЯ
J.1 Принцип
Пространство для маневрирования устройства для преодоления лестниц определяют измерением габаритов пространства, в котором загруженное устройство для преодоления лестниц может выполнять различные маневры, связанные с преодолением лестниц, которые часто встречаются во время реального использования.
Примечание - Данное испытание является адаптацией и расширением ИСО 7176-5.
J.2 Методы испытания
J.2.1 Общие положения
Загружают устройство для преодоления лестниц испытуемым креслом-коляской (где применимо) и соответствующим испытательным манекеном или человека в качестве испытателя, как описано в
7.8. Не используют неблагоприятную установку при испытании.
Испытывают устройство для преодоления лестниц, управляемое сопровождающим, следующим образом, используя ограничитель пространства для сопровождающего (см.
6.17). Прикрепляют ограничитель пространства для сопровождающего к толкающим ручкам и удерживают его горизонтально +/- 10° в процессе испытания. Если устройство для преодоления лестниц предназначено для управления как пользователем, так и сопровождающим, используют ограничитель пространства для сопровождающего только когда моделируют управление сопровождающим.
Испытывают устройство для преодоления лестниц, управляемое пользователем, следующим образом, используя имитаторы рук (см. ИСО 7176-5) или другой подходящий заменитель, который добавляет (50 +/- 1) мм в боковом направлении любому рычагу, ручке или ободу колеса, которые использует пользователь во время преодоления. Если устройство для преодоления лестниц предназначено для управления как пользователем, так и сопровождающим, используют имитаторы рук, только когда моделируют управление пользователем.
Где применимо, проводят испытания при номинальной испытательной скорости, как описано в
7.7.2.
Предупреждение - Эти испытания могут быть опасными. Важно, чтобы соответствующие меры предосторожности (например, ограничители, которые удерживали бы устройство для преодоления лестниц в случае его падения) были предприняты для защиты персонала, проводящего испытания.
J.2.2 Определение минимальной ширины прямой лестницы
Примечание - Данное испытание применимо для всех устройств для преодоления лестниц.
a) Подсоединяют прямую испытательную лестницу к верхней лестничной площадке и размещают их на горизонтальной испытательной поверхности. Размещают регулируемые барьеры
(6.5) с обеих сторон каждой ступени.
b) Устанавливают устройство для преодоления лестниц в режим преодоления и размещают его на нижней лестничной площадке для подъема по лестнице в соответствии с инструкцией изготовителя по применению.
c) Дают возможность устройству для преодоления лестниц подняться вверх по лестнице до тех пор, пока устройство для преодоления лестниц не окажется полностью на верхней лестничной площадке.
d) Повторяя процедуру по перечислениям b) и c), как необходимо, ступенчато смещают барьеры для уменьшения эффективной ширины лестницы и определяют минимальную ширину лестницы, по которой можно подняться без контактирования устройства для преодоления лестниц, испытуемого кресла-коляски (если используют), испытательного манекена или любого ограничителя пространства с барьерами. При испытании заботятся об удержании регулируемых барьеров перпендикулярно оковкам ступеней. Измеряют расстояние между барьерами параллельно оковкам ступени с точностью +/- 25 мм.
e) Размещают устройства для преодоления лестниц на верхней лестничной площадке для спуска по лестнице в соответствии с инструкцией изготовителя по применению.
f) Дают возможность устройству для преодоления лестниц спуститься вниз по лестнице до тех пор, пока устройство для преодоления лестниц не окажется полностью на нижней лестничной площадке.
g) Повторяя процедуру по перечислениям e) и f), как необходимо, ступенчато смещают барьеры для уменьшения эффективной ширины лестницы и определяют минимальную ширину лестницы, по которой можно спуститься без контактирования устройства для преодоления лестниц, испытуемого кресла-коляски (если используют), испытательного манекена или любого ограничителя пространства с барьерами.
При испытании заботятся об удержании регулируемых барьеров перпендикулярно оковкам ступеней. Измеряют расстояние между барьерами параллельно оковкам ступени с точностью +/- 25 мм.
h) Регистрируют наибольший из двух результатов испытания, полученных при подъеме и спуске, как минимальную ширину прямой лестницы.
J.2.3 Определение минимальной промежуточной лестничной площадки для U-образной лестницы
Примечание - Данное испытание применимо для всех устройств для преодоления лестниц.
J.2.3.1 Подъем вверх
Данное испытание состоит из двух частей, в которых используют прямую испытательную лестницу и лестничные площадки для моделирования двух пролетов и промежуточной лестничной площадки некоторой U-образной лестницы. В первой части испытания прямая испытательная лестница и верхняя лестничная площадка представляют собой нижний пролет и промежуточную лестничную площадку U-образной лестницы; во второй части испытания горизонтальная испытательная поверхность и прямая испытательная лестница представляют собой промежуточную лестничную площадку и верхний пролет U-образной лестницы.
Проводят первую часть испытания следующим образом.
a) Подсоединяют прямую испытательную лестницу к верхней лестничной площадке и размещают их на горизонтальной испытательной поверхности.
b) Устанавливают устройство для преодоления лестниц в режим преодоления.
c) Дают устройству для преодоления лестниц возможность подняться прямо вверх на верхнюю лестничную площадку и остановиться, как только оно окажется полностью на верхней лестничной площадке. Если необходимо, переходят на режим перемещения. Дают возможность устройству для преодоления лестниц переместиться дальше по прямой еще на (200 +/- 25) мм.
d) Наносят базовую метку в подходящем месте на устройство для преодоления лестниц. Измеряют перпендикулярно оковке ступени под номером 8 горизонтальное расстояние между оковкой и базовой меткой с точностью +/- 25 мм, как показано на рисунке J.1.
e) Дают возможность устройству для преодоления лестниц спуститься вниз до горизонтальной испытательной поверхности.
1 - ограничитель пространства для сопровождающего;
2 - оковка ступени под номером 8; 3 - верхняя лестничная
площадка; 4 - базовая метка; 5 - расстояние между оковкой
ступени под номером 8 и базовой меткой
Рисунок J.1 - Расстояние между оковкой ступени под номером 8
и базовой меткой
Проводят вторую часть испытания следующим образом:
a) Отмечают линию на горизонтальной испытательной поверхности в сторону прямой испытательной лестницы, так чтобы она находилась на одной линии с оковкой ступени под номером 1, как показано на
рисунке J.2, a).
Примечание 1 - Линия представляет оковку верхней ступени нижнего пролета U-образной лестницы.
b) Размещают барьер с перилами рядом с прямой испытательной лестницей по линии с оковкой ступени под номером 1. Размещают два регулируемых барьера как боковые барьеры, перпендикулярно ступени под номером 1. Размещают третий регулируемый барьер в качестве заднего барьера, параллельно ступени под номером 1. См.
рисунок J.2, a).
c) Размещают устройство для преодоления лестниц на горизонтальной испытательной поверхности, так чтобы оно находилось перпендикулярно отмеченной линии с расположением базовой отметки на том же расстоянии от отмеченной линии, как было установлено в
перечислении d), и так чтобы боковое расстояние от устройства для преодоления лестниц до барьера с перилами было в соответствии с инструкцией изготовителя по применению. Если инструкция изготовителя по применению не содержит этой информации, располагают устройство для преодоления лестниц так, чтобы боковое расстояние было равно (200 +/- 25) мм.
d) Дают возможность устройству для преодоления лестниц переместиться вокруг барьера с перилами так, как если бы оно подготовилось подняться вверх по лестнице. Выполняют разворот в соответствии с инструкцией изготовителя по применению. Если нет такой инструкции, выполняют разворот наиболее удобным способом, плавно, с минимумом остановок, без реверсивных движений и без возникновения какой-либо опасной ситуации.
e) Завершают разворот в момент, когда устройство для преодоления лестниц начнет преодолевать прямую испытательную лестницу.
| | ИС МЕГАНОРМ: примечание. В официальном тексте документа, видимо, допущена опечатка: перечисление j) в пункте J.2.3.1 отсутствует. | |
f) Повторяют процедуры по
перечислениям h) - j), как необходимо, ступенчато уменьшая размер лестничной площадки и определяя минимальный размер лестничной площадки, при котором устройство для преодоления лестниц может маневрировать без контактирования устройства для преодоления лестниц, испытательного кресла-коляски (если используют), испытательного манекена или любого ограничителя пространства с барьерами. При испытании заботятся об удержании регулируемых барьеров параллельно или перпендикулярно ступени под номером 1, как применимо.
g) Измеряют параллельно оковке ступени расстояние между серединой барьера с перилами и более удаленным боковым барьером с точностью +/- 25 мм. Умножают на два и регистрируют результат как минимальную длину лестничной площадки при подъеме на U-образную лестницу.
h) Измеряют горизонтально и перпендикулярно отмеченной линии расстояние между отмеченной линией и задним барьером с точностью +/- 25 мм. Регистрируют результат как минимальную ширину лестничной площадки при подъеме на U-образную лестницу.
Примечание 2 - Для определения минимальных расстояний может потребоваться проведение некоторых экспериментов.
J.2.3.2 Спуск вниз
a) Размещают устройство для преодоления лестниц на прямой испытательной лестнице, так чтобы оно находилось перпендикулярно оковкам ступеней и так, чтобы боковое расстояние от устройства для преодоления лестниц до барьера с перилами было в соответствии с инструкцией изготовителя по применению. Если инструкция изготовителя по применению не содержит этой информации, располагают устройство для преодоления лестниц так, чтобы боковое расстояние было равно (200 +/- 25) мм.
b) Дают возможность устройству для преодоления лестниц спуститься прямо вниз на нижнюю лестничную площадку, пока оно не окажется полностью на горизонтальной испытательной поверхности. Если необходимо, переходят на режим перемещения.
c) Дают устройству для преодоления лестниц возможность переместиться вокруг барьера с перилами так, как если бы оно подготовилось спуститься вниз по лестнице (представленной областью за отмеченной линией). Выполняют разворот в соответствии с инструкцией изготовителя по применению. Если нет такой инструкции, выполняют разворот наиболее удобным способом, плавно, с минимумом остановок, без реверсивных движений и без возникновения какой-либо опасной ситуации.
d) Завершают разворот перед тем, как горизонтальное расстояние между базовой меткой и отмеченной линией станет меньше расстояния, отмеченного в
J.2.3.1, перечисление d).
e) Повторяют процедуры по
перечислениям a) - d), как необходимо, ступенчато уменьшая размер лестничной площадки и определяя минимальный размер лестничной площадки, при котором устройство для преодоления лестниц может маневрировать без контактирования устройства для преодоления лестниц, испытательного кресла-коляски (если используют), испытательного манекена или любого ограничителя пространства с барьерами. При испытании заботятся об удержании регулируемых барьеров параллельно или перпендикулярно ступени под номером 1, как применимо.
f) Измеряют, параллельно оковке ступени, расстояние между серединой барьера с перилами и более удаленным боковым барьером с точностью +/- 25 мм. Умножают на два и регистрируют результат как минимальную длину лестничной площадки при спуске с U-образной лестницы.
g) Измеряют горизонтально и перпендикулярно отмеченной линии расстояние между отмеченной линией и задним барьером с точностью +/- 25 мм. Регистрируют результат как минимальную ширину лестничной площадки при спуске с U-образной лестницы.
Примечание - Для определения минимальных расстояний может потребоваться проведение некоторых экспериментов.
J.2.3.3 Оценка результатов
a) Определяют наибольшее значение длины лестничной площадки из всех отдельных испытаний (например, максимум при подъеме или спуске) и регистрируют его как минимальную длину лестничной площадки U-образной лестницы.
b) Определяют наибольшее значение ширины лестничной площадки из всех отдельных испытаний (например, максимум при подъеме или при спуске) и регистрируют его как минимальную ширину лестничной площадки U-образной лестницы.
a) Начальное положение для первого разворота на 90°
b) Контакт с задним барьером
c) Контакт с боковым барьером
d) Начальное положение для второго разворота на 90°
e) Контакт с другим боковым барьером
f) Конечное положение
1 - отмеченная линия на горизонтальной испытательной
поверхности; 2 - барьер с перилами; 3 - базовая метка;
4 - расстояние между базовой меткой и линией оковки;
5 - ограничитель пространства для сопровождающего;
6 - ступень под номером 1 прямой испытательной лестницы,
представляющая первую ступень верхнего пролета лестницы;
7 - середина барьера с перилами; 8 - расстояние между
серединой барьера с перилами и более удаленным боковым
барьером; 9 - минимальная ширина лестничной площадки
U-образной лестницы
Рисунок J.2 - Определение минимального размера промежуточной
лестничной площадки - подъем
J.2.4 Определение минимального внешнего радиуса винтовой лестницы
Примечание 1 - Данное испытание применимо к устройствам для преодоления лестниц, предназначенным для использования на винтовых лестницах.
a) Подсоединяют винтовую испытательную лестницу к верхней лестничной площадке и устанавливают их на горизонтальную испытательную поверхность. Размещают регулируемые барьеры на каждую ступень. Устанавливают регулируемые барьеры на расстоянии от центральной оси лестницы для того, чтобы определить внешний радиус пространства, необходимого для преодоления винтовой испытательной лестницы.
b) Устанавливают устройство для преодоления лестниц в режим преодоления.
Примечание 2 - Данное испытание может быть проведено совместно с испытанием, приведенным в
J.2.5.
c) Размещают загруженное устройство для преодоления лестниц на нижней лестничной площадке перед ступенью под номером 1 в положении, соответствующем наименьшей ширине ступени или минимальному радиусу лестницы, который соответствует инструкции изготовителя по применению. Если инструкция по применению не содержит такую информацию, размещают устройство для преодоления лестниц в точке, в которой ширину вычисляют по следующей формуле:
где G - ширина ступени при испытании, мм;
D - наибольшее горизонтальное расстояние между точкой контакта исполнительного механизма, предназначенного для размещения на ступени, и любой частью исполнительного механизма, которая может войти в контакт с верхней поверхностью ступени или оковкой следующей более высокой ступени, мм;
M - предел безопасности, равный 50 мм.
d) Дают устройству для преодоления лестниц возможность подняться вверх к верхней лестничной площадке в соответствии с инструкцией изготовителя по применению.
e) Если во время испытания встретилась опасная ситуация, испытание начинают снова, используя начальную позицию, которая располагается на (50 +/- 2) мм дальше от центральной оси винтовой испытательной лестницы. Повторяют эту процедуру, как необходимо, до тех пор, пока испытание сможет быть закончено без возникновения опасной ситуации.
f) Повторяя процедуру по
перечислениям c) - e), как необходимо, при преодолении лестницы устройством для преодоления лестниц, ступенчато смещают барьеры для уменьшения эффективного внешнего радиуса лестницы и определяют минимальный внешний радиус винтовой лестницы, которая может быть преодолена при подъеме вверх без контактирования устройства для преодоления лестниц, испытуемого кресла-коляски (если используют), испытательного манекена или любого ограничителя пространства с барьерами.
g) Измеряют наибольшее горизонтальное расстояние между центральной осью лестницы и барьерами с точностью +/- 25 мм.
h) Размещают загруженное устройство для преодоления лестниц на верхней лестничной площадке перед оковкой ступени под номером 8 в положении, соответствующем наименьшей ширине ступени или минимальному радиусу лестницы, которое соответствует инструкции изготовителя по применению. Если инструкция по применению не содержит такую информацию, размещают устройство для преодоления лестниц в точке, где ширину рассчитывают по формуле
перечисления c).
i) Дают устройству для преодоления лестниц возможность спуститься вниз к нижней лестничной площадке в соответствии с инструкцией изготовителя по применению.
j) Если во время испытания встретилась опасная ситуация, испытание начинают снова, используя начальную позицию, которая располагается на (50 +/- 2) мм дальше от центральной оси винтовой испытательной лестницы. Повторяют эту процедуру, как необходимо, до тех пор, пока испытание сможет быть закончено без возникновения опасной ситуации.
k) Повторяя процедуру по
перечислениям h) - j), как необходимо, при преодолении лестницы устройством для преодоления лестниц, ступенчато смещают барьеры для уменьшения эффективного внешнего радиуса лестницы и определяют минимальный внешний радиус винтовой лестницы, которая может быть преодолена при спуске вниз без контактирования устройства для преодоления лестниц, испытуемого кресла-коляски (если используют), испытательного манекена или любого ограничителя пространства с барьерами.
l) Измеряют наибольшее горизонтальное расстояние между центральной осью лестницы и барьерами с точностью +/- 25 мм.
m) Регистрируют наибольшее значение из результатов испытания, полученных при подъеме и спуске, как минимальный внешний радиус винтовой лестницы.
J.2.5 Определение минимального внутреннего радиуса винтовой лестницы
Примечание 1 - Данное испытание применимо к устройствам для преодоления лестниц, предназначенным для использования на винтовых лестницах.
a) Подсоединяют винтовую испытательную лестницу в верхней лестничной площадке и устанавливают их на горизонтальную испытательную поверхность. Размещают регулируемые барьеры на каждой ступени. Устанавливают регулируемые барьеры на расстоянии от центральной оси лестницы для того, чтобы определить внутренний радиус пространства, необходимого для преодоления винтовой испытательной лестницы.
b) Устанавливают устройство для преодоления лестниц в режим преодоления.
Примечание 2 - Данное испытание может быть выполнено совместно с испытанием, приведенным в
J.2.4.
c) Размещают загруженное устройство для преодоления лестниц на нижней лестничной площадке перед ступенью под номером 1 в положении, соответствующем наименьшей ширине ступени или минимальному радиусу лестницы, который соответствует инструкции изготовителя по применению. Если инструкция изготовителя по применению не содержит такую информацию, размещают устройство для преодоления лестниц в точке, где ширину вычисляют по формуле, приведенной в
J.2.4, перечисление c).
d) Дают устройству для преодоления лестниц возможность подняться вверх к верхней лестничной площадке в соответствии с инструкцией изготовителя по применению.
e) Если во время испытания встретилась опасная ситуация, испытание начинают снова, используя начальную позицию, которая располагается на (50 +/- 2) мм дальше от центральной оси винтовой испытательной лестницы. Повторяют эту процедуру, как необходимо, до тех пор, пока испытание сможет быть закончено без возникновения опасной ситуации.
f) Повторяя процедуру по
перечислениям c) - e), как необходимо, при преодолении лестницы устройством для преодоления лестниц, ступенчато смещают барьеры для увеличения эффективного внутреннего радиуса лестницы и определяют минимальный внутренний радиус винтовой лестницы, которая может быть преодолена при подъеме вверх без контактирования устройства для преодоления лестниц, испытуемого кресла-коляски (если используют), испытательного манекена или любого ограничителя пространства с барьерами.
g) Измеряют наибольшее горизонтальное расстояние между центральной осью лестницы и барьерами с точностью +/- 25 мм.
h) Размещают загруженное устройство для преодоления лестниц на верхней лестничной площадке перед оковкой ступени под номером 8 в положении, соответствующем наименьшей ширине ступени или минимальному радиусу лестницы, который соответствует инструкции изготовителя по применению. Если инструкция по применению не содержит такую информацию, размещают устройство для преодоления лестниц в точке, где ширину рассчитывают по формуле, приведенной в
J.2.4, перечисление c).
i) Дают устройству для преодоления лестниц возможность спуститься вниз к нижней лестничной площадке в соответствии с инструкцией изготовителя по применению.
j) Если во время испытания встретилась опасная ситуация, испытание начинают снова, используя начальную позицию, которая располагается на (50 +/- 2) мм дальше от центральной оси винтовой испытательной лестницы. Повторяют эту процедуру, как необходимо, до тех пор, пока испытание сможет быть закончено без возникновения опасной ситуации.
k) Повторяя процедуру по
перечислениям h) - j), как необходимо, при преодолении лестницы устройством для преодоления лестниц, ступенчато смещают барьеры для увеличения эффективного внутреннего радиуса лестницы и определяют минимальный внутренний радиус винтовой лестницы, которая может быть преодолена при спуске вниз без контактирования устройства для преодоления лестниц, испытуемого кресла-коляски (если используют), испытательного манекена или любого ограничителя пространства с барьерами.
l) Измеряют наибольшее горизонтальное расстояние между центральной осью лестницы и барьерами с точностью +/- 25 мм.
m) Регистрируют наибольшее значение из результатов испытания, полученных при подъеме и спуске, как минимальный внутренний радиус винтовой лестницы.
J.3 Отчет об испытаниях
В дополнение к информации, определенной в
разделе 20, отчет об испытаниях должен включать размеры, определенные в соответствии с
J.2.2 -
J.2.5.
(обязательное)
РАЗЛИЧИЕ МЕЖДУ МАЛЫМИ И БОЛЬШИМИ КЛАСТЕРАМИ
Настоящее приложение объясняет и идентифицирует границу, b, между малыми и большими кластерами.
Малые кластеры - это кластеры, где расстояние между общей осью кластера и центрами его кулачков меньше, чем соответствующее значение
b, приведенное в
таблице K.1. В результате это приводит к углу наклона, который более 3° на прямой испытательной лестнице, когда общая ось кластера находится по горизонтали перед центром несущего нагрузку кулачка.
Большие кластеры - это кластеры, где расстояние между общей осью кластера и центрами его кулачков больше, чем соответствующее значение b, приведенное в таблице K.1. В результате это приводит к углу наклона, который менее 3° на прямой испытательной лестнице, когда общая ось кластера находится по горизонтали перед центром несущего нагрузку кулачка.
Таблица K.1
Граница
b между малыми и большими кластерами
Число кулачков в кластере, n |  , ° |  , ° | d, мм | Граница b, мм |
3 | 60 | 57 | 330,5 | 190,8 |
4 | 45 | 42 | 242,2 | 171,3 |
5 | 36 | 33 | 214,6 | 182,6 |
Примечание 1 - Данные значения получены из номинальной высоты ступени испытательной лестницы, равной 180 мм. |
Для устройств для преодоления лестниц наименее устойчивое положение при движении вниз по лестнице зависит от размера кластера (см. для примера рисунки в
приложении E). Определение, малый это или большой кластер, зависит от расстояния между общей осью кластера и центрами его кулачков, числа кулачков кластера,
n, которое обычно находится в диапазоне от 2 до 5, и высоты ступени,
r, которая номинально равна 180 мм для прямой испытательной лестницы.
Если кластер расположен на лестнице (см.
рисунок K.1) так, что его общая ось находится горизонтально на линии с центром несущего нагрузку кулачка, угол

, между вертикалью и линией, соединяющей точку контакта этого кулачка с точкой контакта кулачка, который входит в контакт со следующей нижней проступью, вычисляют по следующей формуле:
где

- угол, °.
Рисунок K.1 - Углы

и

(пример для
n = 3)
Граница для кластера - это когда длина соединяющей линии такова, что после наклона на угол 3° следующий кулачок входит в контакт со следующей нижней проступью.
Следовательно, угол

между линией, соединяющей точки контакта двух последовательных кулачков, и вертикалью, определяют по следующей формуле (и как показано на
рисунке K.1):
где

и

, °.
Длину линии d, соединяющей точки контакта кулачков, определяют по формуле:
где d - длина соединяющей линии;
r - высота ступени, равная 180 мм для испытательной лестницы (см.
рисунок K.2).
a) Три кулачка
b) Четыре кулачка
c) Пять кулачков
Рисунок K.2 - Длины
d и
b (примеры для
n = 3, 4 и 5)
Наконец, граница, b, которая равна расстоянию между общей осью кластера и центрами его кулачков, может быть вычислена из соотношения между радиусом и длиной стороны многоугольника по следующей формуле (и как показано на рисунке K.2):
Полный набор формул, собранных в одну формулу с общими обозначениями, представляют следующим образом:
Вместе с этими формулами и данными значениями
n и
r, расстояние,
b, было рассчитано для кластеров с 3, 4 и 5 кулачками, как представлено в
таблице K.1. Формула может быть использована для любого количества кулачков.
Согласно данной формуле для n = 2 граница b определена как 1719,7 мм. Таким образом, это слишком большое значение, чтобы встречаться на практике, все кластеры с n = 2 относят к малым кластерам.
(справочное)
СВЕДЕНИЯ О СООТВЕТСТВИИ ССЫЛОЧНЫХ МЕЖДУНАРОДНЫХ СТАНДАРТОВ
НАЦИОНАЛЬНЫМ СТАНДАРТАМ РОССИЙСКОЙ ФЕДЕРАЦИИ
Таблица ДА.1
Обозначение ссылочного международного стандарта | Степень соответствия | Обозначение и наименование соответствующего национального стандарта |
ИСО 3880-1 | - | |
ИСО 7176-1:1999 ISO 7176-1:2014 | IDT | |
ИСО 7176-2:2001 | IDT | ГОСТ Р ИСО 7176-2-2005 "Кресла-коляски. Часть 2. Определение динамической устойчивости кресел-колясок с электроприводом" |
ИСО 7176-3:2012 | IDT | |
ИСО 7176-4:2008 | IDT | ГОСТ Р ИСО 7176-4-2015 "Кресла-коляски. Часть 4. Определение запаса хода кресел-колясок с электроприводом и скутеров путем измерения расхода энергии" |
ИСО 7176-5:2008 | IDT | |
ИСО 7176-6:2001 | IDT | ГОСТ Р ИСО 7176-6-2005 "Кресла-коляски. Часть 6. Определение максимальной скорости, ускорения и замедления кресел-колясок с электроприводом" |
ИСО 7176-7:1998 | IDT | |
ИСО 7176-8:2014 | IDT | ГОСТ Р ИСО 7176-8-2015 "Кресла-коляски. Часть 8. Требования и методы испытаний на статическую, ударную и усталостную прочность" |
ИСО 7176-9:2009 | IDT | ГОСТ Р ИСО 7176-9-2014 "Кресла-коляски. Часть 9. Климатические испытания кресел-колясок с электроприводом" |
ИСО 7176-11:2012 | IDT | |
ИСО 7176-13:1989 | IDT | ГОСТ Р ИСО 7176-13-96 "Кресла-коляски. Методы испытаний для определения коэффициента трения испытательной поверхности" |
ИСО 7176-14:2008 | IDT | ГОСТ Р ИСО 7176-14-2012 "Кресла-коляски. Часть 14. Электросистемы и системы управления кресел-колясок с электроприводом и скутеров. Требования и методы испытаний" |
|
|
ИСО 7176-15:1996 | IDT | ГОСТ Р ИСО 7176-15-1996 "Кресла-коляски. Часть 15. Требования к документации и маркировке для обеспечения доступности информации" |
| | ИС МЕГАНОРМ: примечание. В официальном тексте документа, видимо, допущена опечатка: имеется в виду ГОСТ Р ИСО 7176-16-2015, а не ГОСТ Р ИСО 7176-16-. | |
|
ИСО 7176-16:2012 | IDT | ГОСТ Р ИСО 7176-16- "Кресла-коляски. Часть 16. Стойкость к возгоранию устройств, поддерживающих положение тела. Требования и методы испытаний" |
ИСО 7176-21:2009 | IDT | ГОСТ Р ИСО 7176-21-2015 "Кресла-коляски. Часть 21. Требования и методы испытаний для обеспечения электромагнитной совместимости кресел-колясок с электроприводом и скутеров с зарядными устройствами" |
ИСО 7176-22:2000 | IDT | |
ИСО 7176-26:2007 | IDT | |
ИСО 14971:2007 | IDT | |
<*> Соответствующий национальный стандарт отсутствует. До его утверждения рекомендуется использовать перевод на русский язык данного международного стандарта ИСО 3880-1. Перевод данного международного стандарта Российской Федерации находится в Федеральном информационном фонде технических регламентов и стандартов Российской Федерации. Примечание - В настоящей таблице использованы следующие условные обозначения степени соответствия стандартов: - IDT - идентичные стандарты. |