Главная // Актуальные документы // ГОСТ Р (Государственный стандарт)
СПРАВКА
Источник публикации
М.: Стандартинформ, 2020
Примечание к документу
Документ введен в действие с 01.01.2021.
Название документа
"ГОСТ Р 58864-2020. Национальный стандарт Российской Федерации. Шкафы инструментальные из металла. Общие технические условия"
(утв. и введен в действие Приказом Росстандарта от 26.05.2020 N 232-ст)

"ГОСТ Р 58864-2020. Национальный стандарт Российской Федерации. Шкафы инструментальные из металла. Общие технические условия"
(утв. и введен в действие Приказом Росстандарта от 26.05.2020 N 232-ст)


Содержание


Утвержден и введен в действие
Приказом Федерального агентства
по техническому регулированию
и метрологии
от 26 мая 2020 г. N 232-ст
НАЦИОНАЛЬНЫЙ СТАНДАРТ РОССИЙСКОЙ ФЕДЕРАЦИИ
ШКАФЫ ИНСТРУМЕНТАЛЬНЫЕ ИЗ МЕТАЛЛА
ОБЩИЕ ТЕХНИЧЕСКИЕ УСЛОВИЯ
Metal tool cabinets. General specifications
ГОСТ Р 58864-2020
ОКС 97.140
Дата введения
1 января 2021 года
Предисловие
1 РАЗРАБОТАН Обществом с ограниченной ответственностью "ДиКом-Сервис" (ООО "ДиКом-Сервис"), Союзом производителей сейфов, металлической мебели и металлоизделий
2 ВНЕСЕН Техническим комитетом по стандартизации ТК 135 "Мебель"
3 УТВЕРЖДЕН И ВВЕДЕН В ДЕЙСТВИЕ Приказом Федерального агентства по техническому регулированию и метрологии от 26 мая 2020 г. N 232-ст
4 ВВЕДЕН ВПЕРВЫЕ
Правила применения настоящего стандарта установлены в статье 26 Федерального закона от 29 июня 2015 г. N 162-ФЗ "О стандартизации в Российской Федерации". Информация об изменениях к настоящему стандарту публикуется в ежегодном (по состоянию на 1 января текущего года) информационном указателе "Национальные стандарты", а официальный текст изменений и поправок - в ежемесячном информационном указателе "Национальные стандарты". В случае пересмотра (замены) или отмены настоящего стандарта соответствующее уведомление будет опубликовано в ближайшем выпуске ежемесячного информационного указателя "Национальные стандарты". Соответствующая информация, уведомление и тексты размещаются также в информационной системе общего пользования - на официальном сайте Федерального агентства по техническому регулированию и метрологии в сети Интернет (www.gost.ru)
1 Область применения
Настоящий стандарт распространяется на инструментальные шкафы из металла (далее - шкафы), предназначенные для хранения инструмента, металлических изделий, приспособлений, оснастки, различных материалов и т.д., устанавливаемые в закрытых помещениях, с выдвижными ящиками (выдвижными полками), полками, аксессуарами, с дверями и прочими элементами или без них.
2 Нормативные ссылки
В настоящем стандарте использованы нормативные ссылки на следующие стандарты:
ГОСТ 2.102 Единая система конструкторской документации. Виды и комплектность конструкторских документов
ГОСТ 2.601 Единая система конструкторской документации. Эксплуатационные документы
ГОСТ 9.032 Единая система защиты от коррозии и старения. Покрытия лакокрасочные. Группы, технические требования и обозначения
ГОСТ 9.306 Единая система защиты от коррозии и старения. Покрытия металлические и неметаллические неорганические. Обозначения
ГОСТ 9.407 Единая система защиты от коррозии и старения. Покрытия лакокрасочные. Метод оценки внешнего вида
ГОСТ 9.410 Единая система защиты от коррозии и старения. Покрытия порошковые полимерные. Типовые технологические процессы
ГОСТ 427 Линейки измерительные металлические. Технические условия
ГОСТ 3242 Соединения сварные. Методы контроля качества
ГОСТ 3916.1 Фанера общего назначения с наружными слоями из шпона лиственных пород. Технические условия
ГОСТ 4784 Алюминий и сплавы алюминиевые деформируемые. Марки
ГОСТ 5264 Ручная дуговая сварка. Соединения сварные. Основные типы, конструктивные элементы и размеры
ГОСТ 5582 Прокат тонколистовой коррозионно-стойкий, жаростойкий и жаропрочный. Технические условия
ГОСТ 7338 Пластины резиновые и резинотканевые. Технические условия
ГОСТ 7502 Рулетки измерительные металлические. Технические условия
ГОСТ 11533 Автоматическая и полуавтоматическая дуговая сварка под флюсом. Соединения сварные под острыми и тупыми углами. Основные типы, конструктивные элементы и размеры
ГОСТ 11534 Ручная дуговая сварка. Соединения сварные под острыми и тупыми углами. Основные типы, конструктивные элементы и размеры
ГОСТ 14192 Маркировка грузов
ГОСТ 14771 Дуговая сварка в защитном газе. Соединения сварные. Основные типы, конструктивные элементы и размеры
ГОСТ 14776 Дуговая сварка. Соединения сварные точечные. Основные типы, конструктивные элементы и размеры
ГОСТ 14918 Сталь тонколистовая оцинкованная с непрерывных линий. Технические условия
ГОСТ 15150 Машины, приборы и другие технические изделия. Исполнения для различных климатических районов. Категории, условия эксплуатации, хранения и транспортирования в части воздействия климатических факторов внешней среды
ГОСТ 15878 Контактная сварка. Соединения сварные. Конструктивные элементы и размеры
ГОСТ 16523 Прокат тонколистовой из углеродистой стали качественной и обыкновенного качества общего назначения. Технические условия
ГОСТ 20400 Продукция мебельного производства. Термины и определения
ГОСТ 23852 Покрытия лакокрасочные. Общие требования к выбору по декоративным свойствам
ГОСТ IEC 61340-5-1 Электростатика. Защита электронных устройств от электростатических явлений. Общие требования
ГОСТ Р ИСО 15979 Заклепки "слепые" с открытым концом, разрывающимся вытяжным сердечником и выступающей головкой (корпус и сердечник из стали)
ГОСТ Р ИСО 15980 Заклепки "слепые" с открытым концом, разрывающимся вытяжным сердечником и потайной головкой (корпус и сердечник из стали)
ГОСТ Р 52246 Прокат листовой горячеоцинкованный. Технические условия
ГОСТ Р 58865-2020 Тумбы инструментальные из металла. Общие технические условия
Примечание - При пользовании настоящим стандартом целесообразно проверить действие ссылочных стандартов в информационной системе общего пользования - на официальном сайте Федерального агентства по техническому регулированию и метрологии в сети Интернет или по ежегодному информационному указателю "Национальные стандарты", который опубликован по состоянию на 1 января текущего года, и по выпускам ежемесячного информационного указателя "Национальные стандарты" за текущий год. Если заменен ссылочный стандарт, на который дана недатированная ссылка, то рекомендуется использовать действующую версию этого стандарта с учетом всех внесенных в данную версию изменений. Если заменен ссылочный стандарт, на который дана датированная ссылка, то рекомендуется использовать версию этого стандарта с указанным выше годом утверждения (принятия). Если после утверждения настоящего стандарта в ссылочный стандарт, на который дана датированная ссылка, внесено изменение, затрагивающее положение, на которое дана ссылка, то это положение рекомендуется применять без учета данного изменения. Если ссылочный стандарт отменен без замены, то положение, в котором дана ссылка на него, рекомендуется применять в части, не затрагивающей эту ссылку.
3 Термины и определения
В настоящем стандарте применены термины по ГОСТ 20400, а также следующие термины с соответствующими определениями:
3.1 инструментальный шкаф: Шкаф, предназначенный для оснащения рабочего пространства и хранения инструмента и материалов, используемых в производственном процессе.
3.2 общая нагрузка (нагрузка на корпус): Сумма всех максимально допустимых нагрузок, включая нагрузку на полки, выдвижные ящики (выдвижные полки), крышу и аксессуары.
Примечание - Общая нагрузка может отличаться от суммы отдельных нагрузок на полки, крышу и аксессуары.
3.3 нагрузка на полку: Максимально допустимая нагрузка, равномерно распределенная по поверхности полки, расположенной внутри шкафа.
3.4 нагрузка на выдвижной ящик (выдвижную полку): Максимально допустимая нагрузка, равномерно распределенная в ящике (по поверхности полки).
3.5 нагрузка на крышу: Максимально допустимая нагрузка, равномерно распределенная по поверхности крыши шкафа.
3.6 корпус: Основная часть шкафа, состоящая из закрытой задней стенки, закрытой крыши, двух закрытых боковых стенок и днища и являющаяся основой, удерживающей на себе другие конструктивные и декоративные элементы и аксессуары.
3.7 аксессуары: Дополнительные элементы шкафа, повышающие его эксплуатационные и функциональные способности и размещаемые внутри или на наружных поверхностях шкафа.
Примечание - Дополнительно на шкаф могут быть установлены следующие аксессуары:
- экраны;
- крышки и лотки;
- навесные полки на экран;
- держатели различного вида;
- крючки;
- резиновые коврики и пр.
3.8 выдвижной ящик (выдвижная полка): Элемент шкафа, который размещен внутри его корпуса и может быть выдвинут (открыт).
3.9 выдвижной ящик полного выдвижения (выдвижная полка полного выдвижения): Выдвижной ящик (выдвижная полка), при полном выдвижении которого(ой) задняя стенка выдвинутого ящика находится в плоскости, образованной нижними кромками передних стенок невыдвинутых ящиков.
3.10 антиопрокидывающий механизм: Элемент шкафа, блокирующий открытие любого(ой) выдвижного(ой) ящика (полки) при уже открытом(ой) одном(ой) выдвижном(ой) ящике (полке) с целью предотвращения самопроизвольного опрокидывания шкафа.
4 Классификация
4.1 Шкафы подразделяют на классы (см. таблицу 1) в зависимости от максимально допустимой массы размещаемого груза и соответствующей общей нагрузки на шкаф.
Таблица 1
Класс
Максимально допустимая масса хранимого груза, кг
Общая нагрузка, кН
L (легкий)
От 250 до 500 включ.
От 2,5 до 5 включ.
M (средний)
От 500 до 1000 включ.
От 5 до 10 включ.
H (тяжелый)
От 1000 до 1500 включ.
От 10 до 15 включ.
SH (сверхтяжелый)
Более 1500
Более 15
4.2 В условном обозначении шкафа должны быть указаны класс в соответствии с 4.1 и обозначение настоящего стандарта, а также другая информация в соответствии с технической документацией предприятия-изготовителя.
5 Технические требования
5.1 Характеристики
5.1.1 Шкафы должны соответствовать требованиям настоящего стандарта, конструкторской документации и изготавливаться по технической документации, утвержденной в установленном порядке.
5.1.2 При производстве шкафов предприятие-изготовитель должно разработать конструкторскую и эксплуатационную документацию в соответствии с ГОСТ 2.102 и ГОСТ 2.601.
5.1.3 При транспортировании и эксплуатации шкафы могут быть установлены на дополнительные съемные опоры.
5.1.4 По согласованию с потребителем шкаф может быть изготовлен с учетом требований, предъявляемых к защите от электростатических явлений рабочей зоны, которую образуют поверхности шкафа, в соответствии с ГОСТ IEC 61340-5-1.
5.1.5 Для шкафов классов M, H и SH выдвижные ящики (выдвижные полки) должны быть полного выдвижения, отклонение положения задней стенки от плоскости, образуемой нижними кромками передних стенок невыдвинутых ящиков, - не более 5% от глубины ящика.
5.1.6 В зависимости от класса шкафа его полки и выдвижные ящики (выдвижные полки) должны соответствовать техническим требованиям, указанным в таблице 2.
Таблица 2
Класс шкафа
Максимально допустимая масса хранимого на полке груза, кг
Нагрузка на полку, кН
Максимально допустимая масса хранимого в выдвижном ящике (на выдвижной полке) груза, кг
Нагрузка на выдвижной ящик (выдвижную полку), кН
L (легкий)
От 30 до 80 включ.
От 0,3 до 0,8 включ.
От 20 до 40 включ.
От 0,2 до 0,4 включ.
M (средний)
От 80 до 160 включ.
От 0,8 до 1,6 включ
От 40 до 90 включ.
От 0,4 до 0,9 включ.
H (тяжелый)
От 160 до 240 включ.
От 1,6 до 2,4 включ
От 90 до 180 включ.
От 0,9 до 1,8 включ.
SH (сверхтяжелый)
Более 240
Более 2,4
Более 180
Более 1,8
5.1.7 Технические требования к выдвижным ящикам (выдвижным полкам) по ГОСТ Р 58865-2020 (приложение А).
5.1.8 Для шкафов классов H, SH, а также класса M с максимально допустимой массой хранимого в выдвижном ящике (на выдвижной полке) груза более 60 кг обязательно наличие антиопрокидывающего механизма.
5.1.9. Для шкафов классов H, SH шириной более 600 мм требуется установка двух антиопрокидывающих механизмов бокового типа с двух сторон корпуса или одного, расположенного в центральной части задней стороны корпуса.
5.1.10 Для шкафов класса M с нагрузкой на выдвижной ящик (выдвижную полку) более 60 кг и шкафов классов H, SH с шириной менее 600 мм допустимы иные варианты конструкции антиопрокидывающего механизма. Для данных вариантов шкафов антиопрокидывающий механизм должен обеспечивать отсутствие усилий, создающих перекос выдвижного ящика (выдвижной полки), при блокировании его антиопрокидывающим механизмом.
5.1.11 Предприятие-изготовитель должно обеспечить устойчивость для шкафов класса L и M с максимально допустимой массой хранимого в выдвижном ящике (на выдвижной полке) груза не более 60 кг и, при необходимости, установить антиопрокидывающий механизм либо проинформировать потребителя о необходимости обеспечения устойчивости в процессе эксплуатации за счет крепления к полу, стенам помещения или соединением между собой или другими предметами мебели.
5.1.12 Конструкция шкафов должна предусматривать свободный доступ для очистки от загрязнения рабочих поверхностей и пространства для хранения.
5.1.13 Не допускаются заусенцы более 30% от толщины металла и острые кромки элементов изделия в зоне вероятного касания при осуществлении работы пользователем. Другие требования к форме выступающих частей и качеству поверхностей устанавливают в технической документации предприятия-изготовителя в зависимости от условий производства и эксплуатации изделия.
5.1.14 Корпус и полки шкафов класса M изготавливают из стали по ГОСТ 16523 толщиной не менее 0,8 мм, для шкафов класса H, SH - не менее 1,2 мм.
5.2 Габаритные размеры и конструкция
5.2.1 Габаритные размеры шкафов должны соответствовать по высоте от 1000 до 2000 мм, по ширине от 500 до 1200 мм, по глубине от 400 до 800 мм.
5.2.2 Размеры шкафа и размеры элементов внутреннего пространства определены, в частности, размером хранимых материалов.
5.2.3 Предельные отклонения от габаритных размеров шкафов указаны в таблице 3.
Таблица 3
В миллиметрах
Значение размера
Предельное отклонение
Не более 1000 включ.
+/- 2,0
Св. 1000
+/- 3,0
5.2.4 Шкафы должны иметь сборно-сварную или сварную конструкцию.
5.2.5 Шкафы, поставляемые потребителю в разобранном виде, должны быть изготовлены с точностью, обеспечивающей сборку и разборку без дополнительной подгонки.
5.2.6 Кривизна деталей шкафов при сборке должна быть не более 1,5 мм на 1000 мм длины и составлять не более 0,2% общей длины.
5.2.7 Скручивание деталей шкафа вокруг их продольной оси должно быть не более 2 мм на 1000 мм.
5.2.8 Конструкция шкафа должна обеспечивать его устойчивость во время эксплуатации.
5.2.9 Трансформируемые, выдвижные, раздвижные элементы шкафа должны иметь плавный ход, без рывков и заеданий.
5.3 Двери
5.3.1 Настоящий стандарт предусматривает конструктивные исполнения шкафов с дверями следующих видов (см. рисунок 1):
- распашными (распашной);
- раздвижными;
- в виде шторок-жалюзи.
а - распашные двери
б - раздвижные двери
в - вертикальные и горизонтальные двери в виде шторок-жалюзи
Рисунок 1 - Примеры видов конструкции шкафов с различными
дверями
5.3.2 Распашные двери/дверь
5.3.2.1 Распашные двери должны открываться на угол не менее 95°.
5.3.2.2 Распашные двери либо дверь по ширине не должны превышать глубину шкафа и иметь массу не более 50% от массы незагруженного шкафа без учета дверей.
5.3.2.3 Испытания распашных дверей следует проводить в соответствии с требованиями раздела 7.
5.3.3 Раздвижные двери
5.3.3.1 Конструкция дверей должна обеспечивать защиту от возможного защемления пальцев при эксплуатации шкафа.
5.3.3.2 Диаметр незаглушенных отверстий должен быть не более 8 мм.
5.3.3.3 Ручки дверей должны быть расположены на расстоянии не менее 25 мм от других частей корпуса шкафа.
5.3.3.4 Конструкция дверей должна обеспечить невозможность их снятия в закрытом положении без использования инструмента, а также исключить возможность открывания замка путем разжатия дверей руками.
5.3.3.5 Испытания раздвижных дверей следует проводить в соответствии с требованиями раздела 7.
5.3.4 Двери в виде шторок-жалюзи
5.3.4.1 Конструкция дверей должна обеспечивать защиту от возможного защемления пальцев между ручкой двери и корпусом шкафа.
5.3.4.2 Перемещаемые в вертикальном направлении двери в виде шторок-жалюзи (пластины расположены горизонтально) не должны самопроизвольно закрываться из любого положения более 200 мм, измеренного от упора закрытого положения.
5.3.4.3 Испытания дверей в виде шторок-жалюзи следует проводить в соответствии с требованиями раздела 7.
5.3.5 Двери шкафов класса M следует изготавливать из стали по ГОСТ 16523 толщиной не менее 0,8 мм, для шкафов класса H, SH - не менее 1,2 мм.
5.3.6 Материал, из которого изготовлены прозрачные двери, должен исключать риск образования режущих осколков при его разрушении.
5.3.7 При использовании прозрачных дверей из полимерного синтетического материала следует применять стойкий к ультрафиолетовому излучению материал.
5.3.8 Толщина используемого прозрачного материала должна составлять не менее 3 мм.
5.4 Элементы конструкции
5.4.1 При наличии в шкафе приспособления для выравнивания его уровня в горизонтальной плоскости (регулируемых опор) высота регулировки уровня данным приспособлением должна составлять не менее 10 мм.
5.4.2 Замки, при их наличии в конструкции шкафов, должны быть неподвижно и прочно закреплены на элементах шкафов и установлены таким образом, чтобы было обеспечено их легкое отпирание и запирание.
5.4.3 Для шкафов классов M, H и SH наличие замков обязательно.
5.4.4 Двери шкафов класса L без замков должны иметь устройство, предотвращающее их самопроизвольное открывание.
5.4.5 Должно быть предусмотрено свободное, без дополнительных усилий прикрепление аксессуаров к корпусу и другим элементам шкафа.
5.4.6 Сталь, применяемая для изготовления элементов шкафа, должна соответствовать следующим нормативам: конструкционная - ГОСТ 16523, коррозионно-стойкая - ГОСТ 5582, оцинкованная - ГОСТ 14918, горячеоцинкованный листовой прокат - ГОСТ Р 52246.
5.4.7 Резиновые коврики, устанавливаемые в выдвижные ящики (выдвижные полки) шкафов, должны быть изготовлены из маслобензостойкой резины толщиной не менее 2 мм, с содержанием каучука не менее 30% по ГОСТ 7338.
5.4.8 Для шкафов класса L и M допускается изготовление ковриков из других материалов, обеспечивающих аналогичные функциональные свойства.
5.4.9 Фанера, используемая для изготовления элементов шкафа, должна соответствовать ГОСТ 3916.1, алюминий - ГОСТ 4784.
5.5 Соединения
5.5.1 Неразъемные соединения должны быть выполнены с использованием сварки или "слепых" (вытяжных) заклепок.
5.5.2 Применяемые сварочные материалы и технология сварки должны обеспечивать прочность сварного соединения не ниже значения временного сопротивления основного металла.
5.5.3 Сварные соединения должны быть выполнены в соответствии с требованиями ГОСТ 5264, ГОСТ 11533, ГОСТ 11534, ГОСТ 14771, ГОСТ 14776, ГОСТ 15878.
5.5.4 Применяемые "слепые" (вытяжные) заклепки должны иметь стальной корпус и стальной сердечник и соответствовать ГОСТ Р ИСО 15979 и ГОСТ Р ИСО 15980.
5.5.5 Заклепочные соединения с использованием "слепых" (вытяжных) заклепок должны обеспечивать необходимую прочность узлов с учетом максимально допустимых нагрузок на шкаф и его составные части в течение всего срока эксплуатации согласно технической и эксплуатационной документации предприятия-изготовителя.
5.5.6 Крепежные изделия (метизы), применяемые для сборки шкафов, должны обеспечивать собираемость шкафа без дополнительного механического воздействия при сборке, если это не предусмотрено предприятием-изготовителем в технической и эксплуатационной документации.
5.6 Применяемые покрытия
5.6.1 На поверхность металлических частей шкафов должно быть нанесено защитно-декоративное лакокрасочное покрытие не ниже класса III по ГОСТ 9.032, порошковое полимерное покрытие по ГОСТ 9.410, класс покрытия не ниже IV в соответствии с ГОСТ 23852.
5.6.2 Допускается отсутствие порошкового полимерного и защитно-декоративного лакокрасочного покрытия, если металлические детали изготовлены из специальных коррозионно-стойких сплавов (например, нержавеющей стали и др.) или имеют гальванические защитные покрытия.
5.6.3 Шкафы в зависимости от условий эксплуатации должны быть покрыты лакокрасочным покрытием:
- обычной стойкости (атмосферостойкие, водостойкие по ГОСТ 9.032);
- повышенной стойкости (маслобензостойкие, химически стойкие по ГОСТ 9.032).
5.6.4 Крепежные изделия должны иметь защитные покрытия по ГОСТ 9.306.
5.6.5 Характеристики покрытия поверхностей шкафа, образующих рабочую зону, к которой предъявляются требования защиты от электростатических явлений, - в соответствии с ГОСТ IEC 61340-5-1.
5.7 Механические показатели
5.7.1 Значения и методы испытаний механических показателей шкафов в зависимости от их класса указаны в таблице 4.
Таблица 4
Наименование показателя
Значение показателя для класса шкафа
Метод испытаний
L
M
H
SH
1 Прочность и деформируемость корпуса шкафа:
- горизонтальное статические усилие, Н, не менее
300
По 7.2.1
- количество циклов нагружения, шт.
10
2 Прочность крыши шкафа:
- вертикальное статическое усилие, Н, не менее
400
700
700
700
По 7.2.2
3 Жесткость распашных дверей при скручивании
- горизонтальное (тангенциальное) усилие, Н, не менее
20
По 7.3.1
- деформация (упругая) двери относительно длины ее диагонали, %, не более
2
4 Жесткость крепления распашных дверей при вертикальной статической нагрузке:
- вертикальное статическое усилие, Н, не менее
350
По 7.3.2
- количество циклов нагружения, шт.
10
5 Жесткость крепления распашных дверей при горизонтальной статической нагрузке:
- горизонтальное статическое усилие, Н, не менее
50
По 7.3.3
- количество циклов нагружения, шт.
10
6 Долговечность крепления распашных дверей при циклической нагрузке:
- вертикальное статическое усилие, Н, не менее
20
По 7.3.4
- количество циклов нагружения, шт., не менее
25 000
7 Долговечность раздвижных дверей:
- количество циклов нагружения, шт., не менее
25 000
По 7.3.5
8 Долговечность дверей в виде шторок-жалюзи:
- количество циклов нагружения, шт., не менее
5000
9 Устойчивость шторок-жалюзи к выдавливанию из направляющих:
- горизонтальное усилие, Н, не менее
60
По 7.3.6
10 Прочность и деформируемость дверей из прозрачного материала:
- горизонтальное статическое усилие, Н, не более
60
По 7.3.7
- количество циклов нагружения, шт.
10
11 Прогиб полки под действием номинальной нагрузки относительно ширины, не более
1/200
По 7.4
12 Прочность крепления полки:
По 7.4.2
- вертикальная нагрузка относительно номинальной, %, не менее
150
5.8 Комплектность
5.8.1 Комплектность шкафов должна быть определена предприятием-изготовителем в соответствии с условиями заказа и требованиями технической документации.
5.8.2 Каждый шкаф должен сопровождаться паспортом, инструкцией по сборке и руководством по эксплуатации в соответствии с ГОСТ 2.601.
5.9 Эксплуатационная документация
5.9.1 В паспорте на изделие предприятие-изготовитель должно указать максимально допустимые нагрузки на шкаф и его элементы. Если поставка шкафа осуществлена в разобранном виде, паспорт должен содержать комплектовочную ведомость и схему монтажа шкафа и его элементов.
5.9.2 Для шкафов классов M, H, SH предприятию-изготовителю рекомендуется разработать и указать в эксплуатационной документации схему и последовательность, например снизу-вверх, размещения грузов на полках, в выдвижных ящиках (на выдвижных полках) с целью исключения опрокидывания.
5.10 Маркировка
5.10.1 Маркировку наносят непосредственно на шкаф, и/или ярлык (этикетку) шкафа, и/или ярлык (этикетку) упаковки. Если шкаф имеет разборную конструкцию и поставляется отдельными элементами, маркировку наносят на ярлык (этикетку) упаковки каждого элемента.
5.10.2 Ярлык (этикетку) изготавливают из материала, обеспечивающего надежное прикрепление к шкафу и его (ее) сохранность в течение срока эксплуатации.
5.10.3 Информация, указываемая при маркировании, должна содержать:
- наименование и обозначение изделия в соответствии с 4.2;
- товарный знак (логотип) предприятия-изготовителя (при наличии);
- наименование страны предприятия-изготовителя;
- наименование и местонахождение предприятия-изготовителя;
- дату изготовления;
- гарантийный срок;
- срок службы, установленный предприятием-изготовителем;
- номер сертификата (при необходимости);
- серийный номер (при необходимости).
Примечание - Гарантийный срок и срок службы, установленные предприятием-изготовителем, указывают при необходимости, если эта информация отсутствует в эксплуатационной документации.
5.10.4 Транспортная маркировка - по ГОСТ 14192.
5.11 Упаковка
5.11.1 Шкаф упаковывают в транспортировочную картонную упаковку.
5.11.2 Упаковка шкафов должна обеспечивать надежное транспортирование и хранение, а также удобство проведения погрузки и разгрузки.
5.11.3 Крепежные изделия и фурнитуру укладывают в отдельную упаковку.
5.11.4 По согласованию с заказчиком допускается использовать другую упаковку, обеспечивающую сохранность качества изделий и защиту от загрязнений, атмосферных осадков и механических повреждений при транспортировании и хранении.
6 Правила приемки
6.1 Для контроля соответствия шкафов требованиям настоящего стандарта проводят приемо-сдаточные, квалификационные, периодические испытания.
6.2 Каждый отгружаемый шкаф должен сопровождаться эксплуатационной документацией в соответствии с 5.9.
6.3 Приемо-сдаточные испытания
6.3.1 Каждый изготовленный шкаф до момента его отгрузки, передачи или продажи потребителю (заказчику) подлежит приемо-сдаточным испытаниям с целью удостоверения его годности для использования в соответствии с требованиями, установленными в настоящем стандарте и/или технических условиях предприятия-изготовителя, договорах, контрактах.
6.3.2 Приемо-сдаточные испытания состоят из контроля комплектности в соответствии с 5.8, проверки габаритных размеров и сборки согласно 5.2 - 5.4, в том числе плавности хода направляющих, работы запирающих устройств и прочих механизмов, проверки сварных и других видов соединений по 5.5, качества внешних защитно-декоративных покрытий в соответствии с 5.6.
6.3.3 Приемо-сдаточные испытания проводит служба технического контроля предприятия-изготовителя.
6.3.4 При положительных результатах приемо-сдаточных испытаний в паспорте на шкаф делается соответствующая отметка и шкаф допускается к отгрузке, передаче или продаже потребителю.
6.4 Квалификационные испытания
6.4.1 При запуске нового производства шкафов одного класса по единому технологическому процессу предприятие-изготовитель проводит квалификационные испытания по всем показателям, предусмотренным в разделах 4 и 5, в том числе для подтверждения соответствия настоящему стандарту выбранных конструктивных решений.
6.4.2 Для проведения квалификационных испытаний изготовляют головные образцы в количестве, установленном в технической документации предприятия-изготовителя, которые, как правило, подлежат реализации заказчику при положительных результатах испытаний (если иное не оговорено в договоре или технической документации).
Примечание - В случае типоразмерного ряда, семейства или гаммы образцов продукции допускается подвергать квалификационным испытаниям образцы, являющиеся типовыми представителями продукции, при условии единого технологического процесса изготовления всей продукции из состава типоразмерного ряда (семейства, гаммы).
6.4.3 Шкафы соответствуют настоящему стандарту при условии положительных результатов всех видов испытаний, указанных в разделе 7.
6.4.4 Результаты квалификационных испытаний шкафов и их элементов по каждому из видов, указанных в разделе 7, должны быть оформлены протоколом в соответствии с приложением А.
6.5 Периодические испытания
6.5.1 Для подтверждения стабильности технологического процесса и сохранения соответствия производимых шкафов требованиям настоящего стандарта предприятие-изготовитель проводит периодические испытания шкафов один раз в три года по показателям, соответствующим квалификационным испытаниям.
6.5.2 Образцы для проведения очередных периодических испытаний отбирают из числа единиц продукции, изготовленных в течение периода и в количестве, установленных в технической документации предприятия-изготовителя.
Примечание - В случае типоразмерного ряда, семейства или гаммы образцов продукции допускается подвергать периодическим испытаниям образцы, являющиеся типовыми представителями продукции, при условии единого технологического процесса изготовления всей продукции из состава типоразмерного ряда (семейства, гаммы).
6.5.3 Шкафы соответствуют настоящему стандарту при условии положительных результатов всех видов испытаний, указанных в разделе 7.
6.5.4 Результаты периодических испытаний шкафов и их элементов по каждому из видов, указанных в разделе 7, должны быть оформлены протоколом в соответствии с приложением А.
7 Методы испытаний
7.1 Общие положения
7.1.1 Образцы для квалификационных и периодических испытаний должны соответствовать требованиям конструкторской документации, пройти приемо-сдаточные испытания и должны быть допущены в соответствии с 6.3.
7.1.2 Испытания должны быть проведены в соответствии с 7.2 - 7.7 последовательно на одном образце.
7.1.3 Результаты квалификационных и периодических испытаний шкафов и их элементов должны быть оформлены протоколом испытаний в соответствии с приложением А.
7.1.4 Испытания следует проводить в закрытом помещении при температуре окружающего воздуха (20 +/- 5) °C.
7.1.5 При испытаниях должны быть использованы упоры и стопоры для предотвращения скольжения шкафа, которые должны иметь высоту от 5 до 30 мм и не препятствовать возможному опрокидыванию шкафа.
7.1.6 Для приложения горизонтального усилия необходимо использовать жесткий цилиндрический объект диаметром от 50 до 150 мм или квадратный объект со стороной от 50 до 100 мм с плоской поверхностью давления.
7.1.7 Для испытаний должны быть подготовлены мерные грузы, обеспечивающие равномерную нагрузку испытуемых элементов. Опорная поверхность грузов должна быть не более 100 см2 и соотношением сторон не менее 1/5. Разница массы каждого из грузов не более 5% (например, комплект массой 5,07 кг из 13 полос сечением со сторонами 5 и 50 мм, длиной 200 мм, массой 0,39 кг каждая).
7.1.8 Размещение грузов на поверхностях испытуемых элементов следует проводить равномерно от краев к середине.
7.1.9 Испытательные грузы должны быть максимально равномерно распределены по всей нагружаемой поверхности, занимая при этом не менее 80% ее площади.
7.1.10 Значения допусков при проведении испытаний:
- усилия ..................................................
+/- 5% от номинального усилия;
- скорости ..............................................
+/- 5% от номинальной скорости;
- массы ...................................................
+/- 2% от номинальной массы;
- линейных размеров ............................
+/- 1 мм от номинальных размеров;
- углов ....................................................
+/- 2°.
7.1.11 Размеры шкафов и/или их элементов проверяют металлической измерительной линейкой по ГОСТ 427 и металлической измерительной рулеткой по ГОСТ 7502. Измерение остальных величин проводят средствами, установленными технической документацией предприятия-изготовителя.
7.1.12 Массу испытательных грузов перед проведением испытания проверяют на поверенном весовом оборудовании.
7.1.13 Погрешность средств измерения и весового оборудования должна соответствовать характеристикам измеряемых величин.
7.1.14 После каждого испытания шкаф должен быть проверен на наличие повреждений или деформаций, которые в дальнейшем могут повлиять на безопасность его использования или изменение функциональных характеристик.
7.2 Испытания корпуса шкафа
7.2.1 Испытания корпуса шкафа на прочность
7.2.1.1 Испытание проводят на шкафах, не закрепленных к стене, полу или прочим опорам.
7.2.1.2 К элементам конструкции шкафа, которые предназначены для размещения грузов (полки, выдвижные ящики, выдвижные полки), равномерно прикладывают распределенную нагрузку, соответствующую максимально допустимым значениям, заявленным предприятием-изготовителем. Допустимая суммарная нагрузка не должна превышать общую нагрузку на корпус, заявленную предприятием-изготовителем.
7.2.1.3 Шкаф нагружают последовательно снизу-вверх с учетом равномерного распределения заявленной нагрузки на корпус по уровням нагружаемых элементов.
7.2.1.4 После размещения груза все выдвижные элементы должны быть задвинуты в корпус шкафа, а двери должны быть закрыты и зафиксированы замком (при его наличии). С одной из боковых сторон шкафа, как показано на рисунке 2, должен быть установлен стопор в соответствии с 7.1.5, предотвращающий скольжение шкафа. К противоположной боковой поверхности шкафа в точке A, расположенной на расстоянии 50 мм от передней части конструкции шкафа и на расстоянии 50 мм ниже самой высокой точки шкафа, но не выше 1600 мм относительно уровня пола, должно быть приложено горизонтальное статическое усилие величиной 300 Н количеством циклов приложения 10 раз, с временным интервалом между циклами от 30 до 40 с.
Рисунок 2 - Испытания корпуса шкафа на прочность
7.2.1.5 Результат испытаний считают положительным в том случае, если после снятия нагрузки с элементов шкафа отсутствуют следы деформации или не возникло нарушения функциональных способностей (например, плавности открывания дверей, возможности свободного выдвижения ящиков и т.п.).
7.2.2 Испытания крыши шкафа на прочность
7.2.2.1 К крыше шкафа прикладывают равномерно распределенную нагрузку: для шкафов класса L не менее 400 Н и для шкафов классов M, H и SH не менее 700 Н. Длительность воздействия нагрузки на крышу должна составлять не менее 10 мин.
7.2.2.2 Результат испытаний считают положительным в том случае, если после снятия нагрузки отсутствует остаточная деформация.
7.3 Испытания дверей
7.3.1 Испытания распашных дверей на жесткость при скручивании
7.3.1.1 Распашная дверь в своем закрытом положении должна быть точечно зафиксирована со стороны, как показано на рисунке 3. Крепление должно быть выполнено на площади, соответствующей квадрату со стороной 20 мм.
Рисунок 3 - Испытания распашных дверей на жесткость
при скручивании
7.3.1.2 К незакрепленному нижнему углу двери должно быть приложено тангенциальное усилие FT на площади, соответствующей квадрату со стороной 20 мм, как показано на рисунке 3. Направление действия силы при этом должно быть перпендикулярно дверному полотну. Прикладываемое тангенциальное усилие должно возрастать плавно от 0 до 20 Н. Усилие должно прилагаться в течение 10 циклов, при этом необходимо определить деформацию двери (скручивание) во время проведения последнего цикла нагружения при приложенном усилии.
7.3.1.3 Результат испытаний считают положительным в том случае, если упругая деформация двери (скручивание) X не превышает 2% длины диагонали двери, при этом после проведенных испытаний функциональность двери и системы запирания не нарушена.
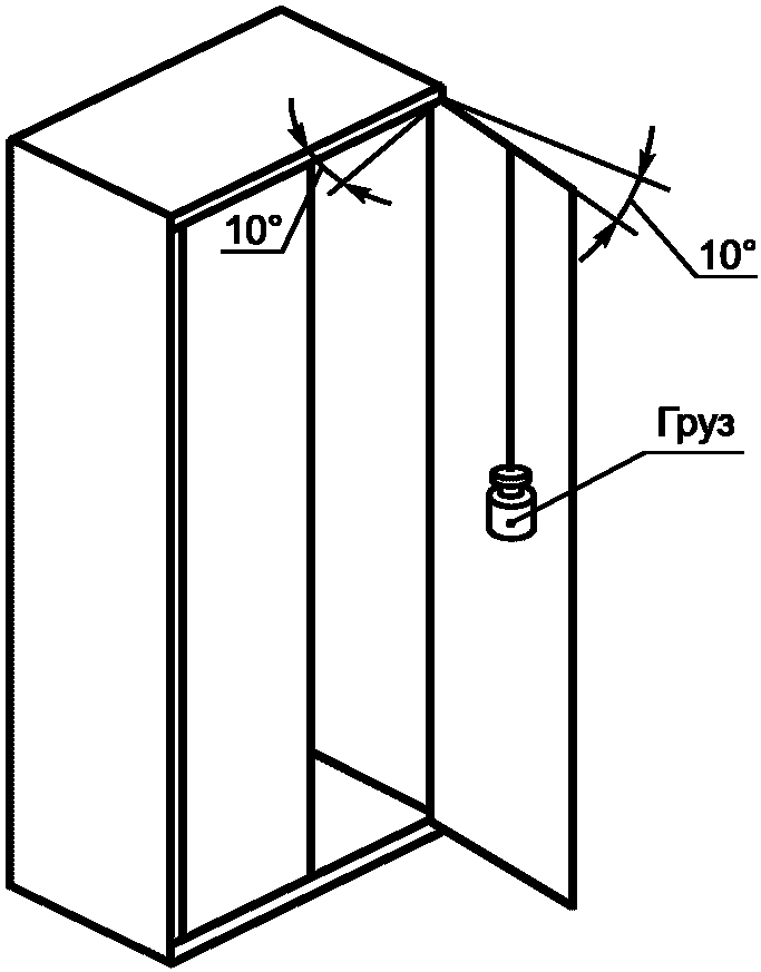
7.3.2 Испытания распашных дверей вертикальной статической нагрузкой
7.3.2.1 На одну из дверей на расстоянии 100 мм от края, как показано на рисунке 4, должна быть приложена вертикальная нагрузка величиной 350 Н. Дверь, находящуюся под действием данной нагрузки, необходимо 10 раз вручную открыть и закрыть в пределах определенного диапазона поворота. Диапазон поворота должен начинаться с углового положения 10° от закрытого положения и заканчиваться на угловом положении 10° перед максимальным углом открытия. Рекомендуемая частота испытания составляет не более 6 циклов в минуту.
Рисунок 4 - Испытания распашных дверей вертикальной
нагрузкой
7.3.2.2 Открытие и закрытие двери должны быть выполнены вручную, при этом как на открытие, так и на закрытие следует затрачивать от 3 до 5 с.
7.3.2.3 Результат испытаний считают положительным в том случае, если функциональность двери и системы запирания после проведенных испытаний не нарушена.
7.3.3 Испытания распашных дверей горизонтальной статической нагрузкой
7.3.3.1 Испытания должны проводить только для тех шкафов, у которых распашные двери имеют угол открытия не более 170°. Испытание следует проводить для двери с наибольшим габаритным размером по ширине.
7.3.3.2 Дверь должна быть полностью открыта. С внутренней стороны двери, в направлении ее открытия, перпендикулярно плоскости двери, в точке средней по высоте двери и находящейся на расстоянии 100 мм от края, как показано на рисунке 5, должно быть приложено усилие F, равное 50 Н. Необходимо выполнить 10 циклов нагружения, длительность приложения нагрузки в цикле должна составлять 5 с, длительность паузы - 30 с.
h - высота двери
Рисунок 5 - Испытания распашных дверей горизонтальной
статической нагрузкой
7.3.3.3 Результат испытаний считают положительным в том случае, если функциональность двери и системы запирания после проведенных испытаний не нарушена.
7.3.4 Циклические испытания распашных дверей действием длительной нагрузки
7.3.4.1 На одной из дверей по ее вертикальной средней линии, равномерно с обеих сторон двери должен быть размещен груз общей массой 2 кг, как показано на рисунке 6, после чего должно быть выполнено 25 000 циклов открытия - закрытия двери без дополнительного воздействия на опоры ее петель. Диапазон поворота должен начинаться с углового положения 10° от закрытого положения и заканчиваться на угловом положении 10° перед максимальным углом открытия. При этом максимальный угол поворота двери не должен превышать 135°.
Рисунок 6 - Циклические испытания распашных дверей действием
длительной нагрузки
7.3.4.2 Результат испытаний считают положительным в том случае, если функциональность двери и системы запирания после проведенных испытаний не нарушена.
7.3.5 Испытания раздвижных дверей и дверей в виде шторок-жалюзи действием циклической нагрузки
7.3.5.1 Шкафы с раздвижными дверями и с дверями в виде шторок-жалюзи должны быть испытаны на воздействие циклической нагрузки. Диапазон хода двери при испытании должен начинаться с ее расположения на расстоянии 50 мм от полностью открытого положения и заканчиваться расположением на расстоянии 50 мм от полностью закрытого положения, как показано на рисунке 7. Для шкафов с раздвижными дверями количество таких циклов должно составлять 25 000, для шкафов с дверями в виде шторок-жалюзи - 5000. Перед испытанием и после него необходимо проверить двери на отсутствие дефектов и плавность хода.
а - раздвижные двери
б - двери в виде шторок-жалюзи
Рисунок 7 - Испытания раздвижных дверей и дверей в виде
шторок-жалюзи действием циклической нагрузки
7.3.5.2 Результат испытаний считают положительным в том случае, если функциональность двери и системы запирания после проведенных испытаний не нарушена.
7.3.6 Испытания дверей в виде шторок-жалюзи на устойчивость к выдавливанию
7.3.6.1 Двери шкафа должны быть закрыты. Испытания следует проводить при помощи образца в соответствии с 7.1.6 с усилием 60 Н. Усилие должно прикладываться по центру двери перпендикулярно поверхности. Во время испытания полотно шторки-жалюзи не должно на что-либо опираться при вдавливании.
7.3.6.2 Результат испытаний считают положительным в том случае, если при испытаниях не происходит выдавливания жалюзи из направляющих, по которым они перемещаются.
7.3.7 Испытания конструктивных исполнений прозрачных дверей на прочность
7.3.7.1 При испытании должно быть приложено усилие 60 Н к поверхности прозрачного материала образцом в соответствии с 7.1.6 в центре прозрачного материала. Необходимо выполнить не менее 10 циклов нагружения.
7.3.7.2 Результат испытаний считают положительным в том случае, если в результате воздействия усилия в прозрачном материале не возникло повреждения и не произошло его отделение от корпуса двери шкафа.
7.4 Испытания полок, выдвижных ящиков (выдвижных полок) шкафа
7.4.1 Перед проведением испытаний полки и выдвижные ящики (выдвижные полки) должны быть установлены в корпусе шкафа в соответствии с инструкцией по монтажу.
7.4.2 Испытания полок на изгиб
Полка должна быть нагружена в соответствии с 7.1.7 - 7.1.9 нагрузкой, равной заявленной предприятием-изготовителем. Изгиб полки по ее передней кромке под нагрузкой не должен превышать L/200, где L - ширина полки.
7.4.3 Испытания полок и креплений на прочность
7.4.3.1 Полка должна быть испытана нагрузкой в соответствии с 7.1.7 - 7.1.9, превышающей в полтора раза заявленную предприятием-изготовителем.
7.4.3.2 Результат испытаний считают положительным в том случае, если после снятия нагрузки полка и крепления не имеют следов разрушения.
7.4.4 Испытания выдвижных ящиков (выдвижных полок)
7.4.4.1 Методы испытаний выдвижных ящиков (выдвижных полок) в соответствии с ГОСТ Р 58865-2020 (пункт 7.2).
7.4.4.2 Испытания антиопрокидывающего механизма следует проводить в соответствии с 7.5 ГОСТ Р 58865-2020 (пункт 7.5).
7.5 Контроль габаритных размеров и сборки шкафа
7.5.1 Размеры шкафов и/или их элементов проверяют визуальным и измерительным контролем.
7.5.2 Возможность сборки шкафа, поставляемого в разборном виде, определяют контрольной сборкой при проведении квалификационных и периодических испытаний.
7.6 Контроль качества сварных и других соединений
7.6.1 Контроль качества сварных соединений проводят внешним осмотром по ГОСТ 3242.
7.6.2 Контроль соединений с заклепками и других соединений проводят внешним осмотром по технической документации.
7.7 Проверка покрытий
Проверку качества защитно-декоративных покрытий поверхностей проводят методом оценки внешнего вида по ГОСТ 9.407 по технической документации предприятия-изготовителя.
8 Транспортирование и хранение
8.1 Перевозку шкафов осуществляют всеми видами транспорта в крытых транспортных средствах в соответствии с правилами перевозок грузов, действующими на данном виде транспорта.
8.2 Шкафы должны транспортировать и хранить при температуре от минус 30 °C до плюс 50 °C и влажности не более 80%.
8.3 Размещение и крепление шкафов в транспортных средствах должно обеспечить безопасность движения, производство маневровых и погрузочно-разгрузочных работ, сохранность перевозимого груза и транспортного средства.
8.4 Условия хранения и складирования шкафов должны обеспечивать сохранность формы шкафа и исключать механические повреждения во время хранения.
8.5 Элементы из древесных материалов следует транспортировать и хранить в соответствии с условиями, установленными в стандартах на эти материалы либо в паспорте на конкретное изделие.
9 Указания по эксплуатации
9.1 Шкафы следует эксплуатировать в закрытых помещениях с климатическими условиями категории УХЛ4.1 по ГОСТ 15150.
9.2 Предприятие-изготовитель должно предоставить потребителю точную информацию по правилам эксплуатации в соответствии с требованиями настоящего стандарта.
9.3 Шкафы должны применять по назначению в соответствии с эксплуатационной документацией, а также с учетом допустимых предельных нагрузок, указанных предприятием-изготовителем.
9.4 При установке на месте эксплуатации не допускается наличие зазоров между напольным покрытием и опорами шкафа более 1 мм на 1000 мм расстояния между двумя соседними опорами.
9.5 Шкафы при эксплуатации следует устанавливать на полы, несущая способность которых должна соответствовать нагрузке, создаваемой шкафом с учетом общей нагрузки, заявленной предприятием-изготовителем, и массы шкафа.
10 Гарантии изготовителя
10.1 Предприятие-изготовитель должно гарантировать соответствие шкафов требованиям настоящего стандарта при соблюдении условий эксплуатации, транспортирования и хранения, установленных настоящим стандартом и технической документацией предприятия-изготовителя.
10.2 Гарантийный срок - не менее 12 мес. Гарантийный срок исчисляют со дня продажи шкафа. При отсутствии документов, подтверждающих дату продажи, гарантийный срок исчисляется с даты производства изделия.
10.3 При соблюдении условий эксплуатации, транспортирования и хранения срок службы шкафов с момента их изготовления должен быть следующим: для класса L - не менее трех лет, класса M - не менее пяти лет, классов H, SH - не менее десяти лет.
Приложение А
(рекомендуемое)
ФОРМА ПРОТОКОЛА КВАЛИФИКАЦИОННЫХ И ПЕРИОДИЧЕСКИХ ИСПЫТАНИЙ
____________________________________________________________
наименование организации
Утверждаю
___________________
"__" _________ 20__ г.
Протокол квалификационных/периодических испытаний N ________
Комиссия в составе:
______________
должность
_____________
ФИО
______________
должность
_____________
ФИО
______________
должность
_____________
ФИО
Провела испытания:
Место проведения испытания: ________________________________________.
фактический адрес
Дата проведения испытания: _________________________________________.
дд.мм.гг
Наименование продукции, класс: ______________________________________
______________________________ на соответствие стандарту: ____________.
Испытуемый образец (обозначение, дата приемки):
__________________________________________________________________.
1 Описание объекта и условий испытания
1.1 Технические характеристики шкафов (общая нагрузка, габаритные размеры, вид конструкции и пр.)
___________________________________________________________________
__________________________________________________________________.
1.2 Эскиз (фото)
1.3 Условия проведения испытаний
Температура: ______________________________________________________.
Влажность: ________________________________________________________.
1.4 Применяемые упоры, грузы: _______________________________________
__________________________________________________________________.
1.5 Применяемые стенды, устройства и приспособления: __________________
__________________________________________________________________.
1.6 Список средств измерения: ________________________________________
__________________________________________________________________.
2 Проведение испытаний
2.1 Ход испытаний
___________________________________________________________________
__________________________________________________________________.
2.2 Результаты измерений
Таблица - Результаты измерений
Наименование показателя, единица измерения
Требуется по стандарту
Фактическое значение
Примечание
3 Выводы и решения
___________________________________________________________________
__________________________________________________________________.
Подписи членов комиссии:
______________
должность
_____________
ФИО
______________
должность
_____________
ФИО
______________
должность
_____________
ФИО
УДК 684.4.044:006.354
ОКС 97.140
Ключевые слова: металлическая мебель, мебель из металла, шкафы инструментальные из металла, выдвижные ящики, выдвижные полки, полки, аксессуары