Главная // Актуальные документы // ГОСТ Р (Государственный стандарт)
СПРАВКА
Источник публикации
М.: ФГБУ "РСТ", 2022
Примечание к документу
Документ введен в действие с 01.05.2023.
Название документа
"ГОСТ Р 70448-2022. Национальный стандарт Российской Федерации. Конструкции ограждающие светопрозрачные в малоэтажных жилых домах. Правила и контроль выполнения монтажных работ"
(утв. и введен в действие Приказом Росстандарта от 28.10.2022 N 1211-ст)

"ГОСТ Р 70448-2022. Национальный стандарт Российской Федерации. Конструкции ограждающие светопрозрачные в малоэтажных жилых домах. Правила и контроль выполнения монтажных работ"
(утв. и введен в действие Приказом Росстандарта от 28.10.2022 N 1211-ст)


Содержание


Утвержден и введен в действие
Приказом Федерального
агентства по техническому
регулированию и метрологии
от 28 октября 2022 г. N 1211-ст
НАЦИОНАЛЬНЫЙ СТАНДАРТ РОССИЙСКОЙ ФЕДЕРАЦИИ
КОНСТРУКЦИИ ОГРАЖДАЮЩИЕ СВЕТОПРОЗРАЧНЫЕ
В МАЛОЭТАЖНЫХ ЖИЛЫХ ДОМАХ
ПРАВИЛА И КОНТРОЛЬ ВЫПОЛНЕНИЯ МОНТАЖНЫХ РАБОТ
Translucent enclosing structures in low-rise
residential buildings. Rules and control of work
ГОСТ Р 70448-2022
ОКС 91.100.99
Дата введения
1 мая 2023 года
Предисловие
1 РАЗРАБОТАН Акционерным обществом "Центр методологии нормирования и стандартизации в строительстве", Ассоциацией производителей и поставщиков материалов для монтажа окон
2 ВНЕСЕН Техническим комитетом по стандартизации ТК 400 "Производство работ в строительстве. Типовые технологические и организационные процессы"
3 УТВЕРЖДЕН И ВВЕДЕН В ДЕЙСТВИЕ Приказом Федерального агентства по техническому регулированию и метрологии от 28 октября 2022 г. N 1211-ст
4 ВВЕДЕН ВПЕРВЫЕ
Правила применения настоящего стандарта установлены в статье 26 Федерального закона от 29 июня 2015 г. N 162-ФЗ "О стандартизации в Российской Федерации". Информация об изменениях к настоящему стандарту публикуется в ежегодном (по состоянию на 1 января текущего года) информационном указателе "Национальные стандарты", а официальный текст изменений и поправок - в ежемесячном информационном указателе "Национальные стандарты". В случае пересмотра (замены) или отмены настоящего стандарта соответствующее уведомление будет опубликовано в ближайшем выпуске ежемесячного информационного указателя "Национальные стандарты". Соответствующая информация, уведомление и тексты размещаются также в информационной системе общего пользования - на официальном сайте Федерального агентства по техническому регулированию и метрологии в сети Интернет (www.rst.gov.ru)
1 Область применения
Настоящий стандарт распространяется на светопрозрачные ограждающие конструкции (оконные и балконные дверные блоки заводской готовности и собираемые из комплектов) из различных материалов в наружных стенах отапливаемых помещений при строительстве, капитальном ремонте и реконструкции малоэтажных жилых домов.
Стандарт следует применять совместно с ГОСТ 34378 в части использования терминологии, общих требований к организации и проведению работ.
Стандарт устанавливает требования, порядок организации и проведения монтажных работ при устройстве окон и балконных дверей, методы и средства контроля качества исполнения работ.
Стандарт не распространяется на мансардные оконные конструкции, на конструкции встроенных и пристроенных зимних садов, а также на окна специального назначения в части дополнительных требований к пожаробезопасности, защиты от взлома, устойчивости к воздействию взрыва.
Стандарт может быть использован при индивидуальном жилищном строительстве.
2 Нормативные ссылки
В настоящем стандарте использованы нормативные ссылки на следующие документы:
ГОСТ 2.102 Единая система конструкторской документации. Виды и комплектность конструкторских документов
ГОСТ 9.032 Единая система защиты от коррозии и старения. Покрытия лакокрасочные. Группы, технические требования и обозначения
ГОСТ 427 Линейки измерительные металлические. Технические условия
ГОСТ 6782.1 Пилопродукция из древесины хвойных пород. Величина усушки
ГОСТ 6782.2 Пилопродукция из древесины лиственных пород. Величина усушки
ГОСТ 7502 Рулетки измерительные металлические. Технические условия
ГОСТ 21519-2003 Блоки оконные из алюминиевых сплавов. Технические условия
ГОСТ 23166-99 Блоки оконные. Общие технические условия
ГОСТ 24297 Верификация закупленной продукции. Организация проведения и методы контроля
ГОСТ 24699 Блоки оконные деревянные со стеклами и стеклопакетами. Технические условия
ГОСТ 24700-99 Блоки оконные деревянные со стеклопакетами. Технические условия
ГОСТ 24866 Стеклопакеты клееные. Технические условия
ГОСТ 25097 Блоки оконные деревоалюминиевые. Технические условия
ГОСТ 30674-99 Блоки оконные из поливинилхлоридных профилей. Технические условия
ГОСТ 30777 Устройства поворотные, откидные, поворотно-откидные, раздвижные для оконных и балконных дверных блоков. Технические условия
ГОСТ 30971-2012 Швы монтажные узлов примыкания оконных блоков к стеновым проемам. Общие технические условия
ГОСТ 34378-2018 Конструкции ограждающие светопрозрачные. Окна и двери. Производство монтажных работ, контроль и требования к результатам работ
ГОСТ 2.601 Единая система конструкторской документации. Эксплуатационные документы
ГОСТ Р 2.610 Единая система конструкторской документации. Правила выполнения эксплуатационных документов
ГОСТ Р 58941 Система обеспечения точности геометрических параметров в строительстве. Правила выполнения измерений. Общие положения
ГОСТ Р 58944 Система обеспечения точности геометрических параметров в строительстве. Функциональные допуски
ГОСТ Р 58945 Система обеспечения точности геометрических параметров в строительстве. Правила выполнения измерений параметров зданий и сооружений
ГОСТ Р 59579 Конструкции ограждающие светопрозрачные. Сборка и монтаж из комплектов заводской готовности. Правила и контроль выполнения работ
ГОСТ Р 70266 Конструкции ограждающие светопрозрачные. Герметизация узлов присоединений к несущим конструкциям и в стеновых проемах. Правила и контроль выполнения работ
СП 15.13330.2020 "СНиП II-22-81* Каменные и армокаменные конструкции"
СП 22.13330.2016 "СНиП 2.02.01-83* Основания зданий и сооружений"
СП 48.13330.2019 "СНиП 12-01-2004 Организация строительства"
СП 49.13330.2010 "СНиП 12-03-2001 Безопасность труда в строительстве. Часть 1. Общие требования"
СП 70.13330.2012 "СНиП 3.03.01-87 Несущие и ограждающие конструкции"
Примечание - При пользовании настоящим стандартом целесообразно проверить действие ссылочных стандартов (сводов правил) в информационной системе общего пользования - на официальном сайте Федерального агентства по техническому регулированию и метрологии в сети Интернет или по ежегодному информационному указателю "Национальные стандарты", который опубликован по состоянию на 1 января текущего года, и по выпускам ежемесячного информационного указателя "Национальные стандарты" за текущий год. Если заменен ссылочный документ, на который дана недатированная ссылка, то рекомендуется использовать действующую версию этого документа с учетом всех внесенных в данную версию изменений. Если заменен ссылочный документ, на который дана датированная ссылка, то рекомендуется использовать версию этого документа с указанным выше годом утверждения (принятия). Если после утверждения настоящего стандарта в ссылочный документ, на который дана датированная ссылка, внесено изменение, затрагивающее положение, на которое дана ссылка, то это положение рекомендуется применять без учета данного изменения. Если ссылочный документ отменен без замены, то положение, в котором дана ссылка на него, рекомендуется применять в части, не затрагивающей эту ссылку. Сведения о действии сводов правил целесообразно проверить в Федеральном информационном фонде стандартов.
3 Термины и определения
3.1 В настоящем стандарте применены следующие термины с соответствующими определениями:
3.1.1 короб (обсада, обсадная коробка, окосячка): Рамочная деревянная конструкция, установленная в проемах дверей и окон домов, выполненных из бруса либо бревна, в том числе оцилиндрованного бревна, служащая для фиксации свободных концов бруса (бревен) в проеме и предохранения заполнения проемов (оконных и дверных блоков) от нагрузок и деформаций конструкций стен после усадки (рисунок 1).
Рисунок 1 - Формы исполнения короба (обсады)
3.1.2
монтаж оконного (балконного дверного) блока: Комплекс работ по установке в проектное положение, закреплению оконного (балконного дверного) блока, формированию монтажного шва, его водо- и пароизоляции.
[ГОСТ 34378-2018, пункт 3.12]
3.1.3
монтажный зазор: Пространство между поверхностью откосов светового проема и коробкой оконного блока.
Примечание - Различают торцевой (боковой) монтажный зазор - пространство между откосом стенового проема и торцевой поверхности коробки оконного блока и фронтальный монтажный зазор - пространство между поверхностью четверти (фальшчетверти) стенового проема и наружной лицевой поверхностью коробки оконного блока.
[ГОСТ 34378-2018, пункт 3.13]
3.1.4
монтажный шов: Заполнение монтажного зазора тепло- и звукоизоляционными материалами различного вида.
[ГОСТ 34378-2018, пункт 3.14]
3.1.5 окно: Ограждающая светопрозрачная конструкция, возводимая в построечных условиях, предназначенная для сообщения внутренних помещений с окружающим пространством, естественного освещения помещений, их проветривания, защиты от атмосферных и шумовых воздействий и состоящая из оконного блока или комбинации из нескольких оконных блоков и узла присоединения его (их) к откосам (сопряжения с откосами) стенового (светового) проема.
3.1.6 оконные откосы: Поверхности стенового (светового) проема.
Примечание - Различают внешние (со стороны улицы) и внутренние (со стороны помещения) оконные откосы.
3.1.7
оконный блок: Изделие светопрозрачное промышленного производства, являющееся элементом окна и предназначенное для естественного освещения помещения, его проветривания и защиты от атмосферных и шумовых воздействий.
Примечание - Крупногабаритные (размерами более 28М - 18М по ГОСТ 23166, пункт 4.9) стеновые (световые) проемы допускается заполнять сблокированными оконными блоками (по ширине и/или высоте) (ГОСТ 23166, пункт 9.5).
[ГОСТ 34378-2018, пункт 3.18]
3.1.8 отлив (слив): Конструкционный элемент окна, с помощью которого обеспечивается отвод попадающей на окно воды и защита стены от негативного воздействия осадков.
3.1.9 пароизоляция монтажного шва: Защита монтажного шва со стороны помещения, обеспечивающая его воздухонепроницаемость и исключающая диффузию водяного пара.
3.1.10 стеновой (световой) проем: Проем в стене, предназначенный для заполнения одним или несколькими оконными блоками, балконным дверным блоком, установки слива, подоконной доски и отделки оконных откосов.
3.1.11
узел присоединения (сопряжения) оконного (балконного дверного) блока к откосам стенового (светового) проема (сопряжения с откосами): Конструктивная система, обеспечивающая сопряжение откосов стенового проема с коробкой оконного (балконного дверного) блока, состоящая из монтажного шва, его гидро- и пароизоляции, подоконной доски, слива, крепежных, облицовочных и других элементов.
[ГОСТ 34378-2018, пункт 3.32]
3.2 В настоящем стандарте применены следующие сокращения:
НД - нормативный документ;
ОБ - оконный блок;
КД - конструкторская документация;
НД - нормативная документация;
ОТД - организационно-технологическая документация по СП 48.13330.2019;
ПД - проектная документация;
ППР - проект производства работ;
РД - рабочая документация;
СМР - строительно-монтажные работы;
СПК - светопрозрачная ограждающая конструкция;
ТК - технологическая карта;
ТУ - технические условия.
4 Общие положения
4.1 Организация и проведение монтажных работ при устройстве светопрозрачных ограждающих конструкций в малоэтажных жилых домах должны отвечать требованиям действующих нормативных документов и ГОСТ 34378.
4.2 Работы следует выполнять в соответствии с ПД и РД по ОТД, выполненной с учетом требований СП 48.13330.2019, требований настоящего стандарта, рекомендаций производителей светопрозрачных конструкций.
4.3 Устройство светопрозрачных ограждающих конструкций в малоэтажных жилых домах, как правило, проводят путем заполнения стеновых проемов. Устройство светопрозрачных ограждающих конструкций включает в себя монтаж одного или нескольких оконных и/или балконных дверных блоков либо витражей в одном проеме, последующую установку подоконника, слива, отделку внутренних и наружных откосов, дополнительных элементов в соответствии с утвержденной РД.
4.4 Для монтажа светопрозрачных ограждающих конструкций следует применять материалы, соответствующие требованиям национальных и межгосударственных стандартов и ПД.
Оконные и балконные дверные блоки - по ГОСТ 23166 и по стандартам на оконные блоки из соответствующих материалов по ГОСТ 21519, ГОСТ 24699, ГОСТ 24700, ГОСТ 24866, ГОСТ 25097, ГОСТ 30674.
Примечание - В соответствии с ГОСТ 23166-99 (подраздел 5.5) оконные (балконные дверные) блоки могут иметь:
- полную заводскую готовность;
- неполную заводскую готовность;
- сборно-разборную конструкцию.
4.5 Сборка и монтаж светопрозрачных конструкций (изделий) из комплектов заводской готовности в малоэтажных жилых домах состоят из двух технологических процессов:
- сборка оконных (балконных дверных) блоков или готовых элементов конструкций из комплектов заводской готовности;
- монтаж оконных (балконных дверных) блоков или готовых элементов конструкций.
Как правило, данные процессы выполняют последовательно. Допускается смешанное выполнение работ в соответствии с ОТД.
4.6 Данные о производстве монтажных работ следует ежедневно вносить в общий журнал производства работ согласно СП 48.13330.2019.
4.7 По окончании монтажных работ оформляют акт приемки выполненных работ.
4.8 Условия для безопасного труда в рабочей зоне должны быть созданы в соответствии с требованиями СП 48.13330.2019, СП 49.13330.2010, правилами охраны труда [1] - [4] и правилами пожарной безопасности при производстве СМР и установлены в проекте организации строительства и ОТД.
4.9 Участки работ должны быть обеспечены необходимыми средствами коллективной или индивидуальной защиты персонала, медицинской аптечкой, первичными средствами пожаротушения, а также средствами связи сигнализации и другими техническими средствами обеспечения безопасных условий труда в соответствии с требованиями действующих нормативных документов
5 Подготовительные и организационные работы
5.1 Состав работ
5.1.1 До начала СМР по заполнению стеновых проемов в малоэтажных жилых домах оконными (балконными дверными) блоками и/или витражами выполняются организационные и подготовительные работы согласно положениям СП 48.13330.2019, требованиям ГОСТ 34378 и настоящего стандарта.
5.1.2 В соответствии с пунктом 9.3 СП 48.13330.2019 подрядчик, осуществляющий СМР, в составе строительного контроля выполняет:
- входной контроль РД на устройство светопрозрачных ограждающих конструкций, предоставленной застройщиком (техническим заказчиком);
- приемку фронта работ - контроль исполнения световых проемов и конструкций в рабочей зоне;
- входной контроль изделий, элементов и материалов для заполнения стеновых проемов, поставляемых на строительную площадку, проверку их соответствия РД в необходимом объеме согласно действующей НД (СП 70.13330.2012), положениям договора с застройщиком (техническим заказчиком), включая ведение журнала входного контроля;
- операционный контроль в ходе выполнения работ по заполнению стеновых проемов оконными (балконными дверными) блоками и/или витражами;
- контроль качества завершенных работ по устройству окон (балконных дверей) и/или витражей на соответствие РД и НД.
5.1.3 Подготовительные мероприятия должны быть закончены до начала производства монтажных работ. Окончание подготовительных работ на рабочем месте должно быть оформлено актом.
5.2 Входной контроль рабочей документации
5.2.1 Перед выполнением СМР по заполнению стеновых (световых) проемов здания подрядчик осуществляет входной контроль полученной от заказчика (застройщика) или генподрядчика РД.
При входном контроле РД следует проводить проверку ее комплектности и достаточности содержащейся в ней технической информации для производства работ, наличие согласований и утверждений.
При процедуре входного контроля необходимо выполнять проверку наличия сопроводительных документов поставщиков, содержащих сведения о качестве поставленной ими продукции и о ее соответствии требованиям рабочей документации, технических регламентов, стандартов и сводов правил, наличия ссылок на действующие НД, наличия требований к точности контролируемых параметров, наличия указаний о методах контроля и измерений (допускается ссылка на соответствующие НД).
5.2.2 При проверке РД следует обратить особое внимание на тип и конструкцию стен здания и стеновых (световых) проемов, на наличие и размеры допусков с целью исключения передачи нагрузок на заполнение стеновых (световых) проемов.
При выполнении стен и стеновых проемов из монолитного или сборного железобетона (в том числе готовых панелей), штучных керамических и армокаменных материалов следует руководствоваться соответствующими НД и ГОСТ 34378.
При выполнении стен из бруса (в том числе клееного), бревна (в том числе оцилиндрованного), сборных щитовых панелей и/или с применением каркасных технологий из дерева следует проверять наличие компенсационных зазоров для учета усадки конструкций стен.
5.2.3 При контроле РД следует проверять наличие конструктивных мероприятий по гидроизоляции и отводу влаги от заполнений оконных (световых) проемов, герметизации узлов присоединений.
5.2.4 При обнаружении недостатков их перечень передают застройщику для устранения по согласованию с разработчиком РД.
Все несоответствия в РД разрешаются до начала работ и оформляются документально.
5.2.5 Подрядчик СМР оценивает возможность реализации РД по заполнению стеновых (световых) проемов известными методами, необходимость разработки и применения новых технологических приемов.
5.2.6 РД, переданная подрядчику в двух экземплярах на электронном и бумажном носителях, должна быть допущена к производству работ застройщиком (генподрядчиком) с подписью ответственного лица путем простановки штампа на каждом листе. РД на электронном носителе должна быть заверена электронной подписью.
После анализа и принятия РД с регистрацией в журнале регистрации приема документации один экземпляр с пометкой "В производство работ" передают в архив подрядчика.
5.2.7 Получение и анализ документации от заказчика осуществляют при непосредственном участии ответственного представителя подрядчика и производителя работ по заполнению стеновых (световых) проемов; на них также возлагается приемка фронта работ по устройству окон и балконных дверей от застройщика (заказчика).
5.3 Контроль качества исполнения стеновых (световых) проемов
5.3.1 Стеновые (световые) проемы должны удовлетворять требованиям РД, нормативным требованиям на ограждающие стеновые конструкции, а также следующим требованиям:
- внешняя часть стены в зоне стенового (светового) проема не должна иметь сколов, щелей, выбоин и других повреждений поверхности;
- поверхность откосов проема не должна иметь теплопроводных включений, не предусмотренных РД, а также пазух и пустот;
- в многослойных конструкциях стен теплоизоляционные слои должны быть изолированы в соответствии с положениями РД;
- на кромках и поверхности наружных и внутренних откосов не должно быть выколов, раковин, наплывов раствора и других повреждений высотой (глубиной) более 10 мм;
5.3.2 Контроль размеров стеновых (световых) проемов проводят согласно положениям ГОСТ Р 58941, ГОСТ Р 58945, ГОСТ 23616, ГОСТ Р 58944, СП 15.13330.2020.
Отклонения от вертикали и горизонтали сторон светопроема не должны превышать 4,0 мм на 1 м, но не более 8 мм на всю высоту/ширину светопроема (ГОСТ 34378-2018, пункт 5.2.2.2).
Предельное отклонение размеров ширины и высоты светопроема от номинальных значений: +15 мм.
5.3.3 Стеновые (световые) проемы домов из бруса и бревен должны иметь обсадные коробки и компенсационные зазоры, учитывающие усадку стен, согласно РД и рекомендации производителей.
5.4 Входной контроль изделий, элементов и материалов
5.4.1 Входной контроль изделий, элементов и материалов для заполнения оконных (световых) проемов осуществляется в соответствии с положениями ГОСТ 24297 и ГОСТ 34378. Входной контроль, который проводят до момента монтажа оконных (балконных дверных) блоков, включает в себя проверку наличия и содержания документов поставщиков, в том числе наличия сведений о качестве поставляемой ими продукции, ее соответствия требованиям РД, технических регламентов, стандартов и ТУ.
5.4.2 Входной контроль осуществляется производителем работ (подрядчиком). Принимаемые оконные (балконные дверные) блоки полной заводской готовности (по ГОСТ 23166-99, подраздел 5.5) должны сопровождаться документами о качестве (паспортом), декларацией соответствия, монтажным чертежом по ГОСТ 2.102 и эксплуатационной документацией в соответствии с ГОСТ Р 2.601 и ГОСТ Р 2.610.
Примечания
1 При поставке блоков неполной заводской готовности входной контроль осуществляется согласно ГОСТ Р 59579 и договоров на поставку.
2 Допускается использование документов в электронном виде в соответствии с требованиями нормативных документов.
5.4.3 При входном контроле оконных (балконных дверных) блоков, поштучно, методом сплошного контроля проверяют:
- комплектность оконных (балконных дверных) блоков и их соответствие рабочей документации;
- размеры оконных (балконных дверных) блоков;
- соответствие полученных результатов измерений заданным размерам проемов;
- внешний вид оконных (балконных дверных) блоков и их комплектующих.
5.4.4 Оконные (балконные дверные) блоки должны соответствовать показателям, приведенным в проектной документации на строительный объект, РД на окна и балконные двери и РД на оконные и балконные блоки.
5.4.5 Комплектность элементов, материалов и комплектующих, используемых при устройстве окон (балконных дверей), витражей проверяют на соответствие спецификации РД.
5.4.6 Качество элементов, материалов и комплектующих, используемых при устройстве окон (балконных дверей), витражей, проверяют на соответствие требованиям НД, ТУ и техническим свидетельствам на поставляемую продукцию. Каждая партия элементов, материалов и комплектующих должна сопровождаться документом о качестве (паспортом), имеющим штамп, подтверждающим приемку техническим контролем предприятия-изготовителя, или декларацией соответствия требованиям национальных стандартов или ТУ.
5.4.7 Подрядчик вправе при осуществлении входного контроля проводить в установленном порядке измерения и испытания соответствующих комплектующих своими силами или поручить их проведение аккредитованной организации. Методы и средства измерений и испытаний должны соответствовать требованиям национальных стандартов и нормативных документов.
5.4.8 В случае выявления при входном контроле изделий, элементов, материалов и комплектующих, не соответствующих требованиям, установленным в ПД, РД и НД, их применение для монтажных работ заполнению стеновых (световых) проемов не допускается.
5.4.9 Оконные (балконные дверные) блоки, комплектующие и монтажные материалы, не соответствующие установленным требованиям, следует изолировать и промаркировать.
5.4.10 Результаты входного контроля фиксируют в журналах входного контроля и/или лабораторных испытаний.
5.5 Транспортирование и хранение
5.5.1 Оконные (балконные дверные), блоки, витражи, элементы, материалы и комплектующие следует транспортировать и хранить на строительной площадке с соблюдением требований производителя по хранению, а также по защите от воздействия внешних факторов.
5.5.2 При хранении оконных (балконных дверных), блоков, витражей и их элементов (в том числе стеклопакетов при их раздельной поставке) должны быть приняты меры для защиты их от механических повреждений, воздействия атмосферных осадков и тепловых воздействий (следует исключить непосредственный контакт с отопительными приборами, прямыми солнечными лучами). Изделия следует хранить в закрытых сухих помещениях при температуре не ниже 5 °C в положении под углом от 10° до 15° к вертикали на подкладках или поддонах.
5.5.3 Приборы или части приборов, не установленные на изделия, должны быть упакованы в полиэтиленовую пленку или другой упаковочный материал, обеспечивающий их сохранность, прочно перевязаны и поставлены комплектно с изделиями.
5.5.4 При хранении и транспортировании изделий в пределах строительной площадки не допускается ставить их друг на друга, между изделиями следует устанавливать прокладки из упругих материалов.
5.5.5 Транспортирование и хранение материалов, используемых для тепло-, водо- и пароизоляции, следует осуществлять в соответствии с требованиями стандартов на соответствующие виды продукции и рекомендациями производителей.
6 Производство монтажных работ
6.1 Общие указания по производству монтажных работ при устройстве окон и балконных дверей
6.1.1 Производство монтажных работ по устройству окон (балконных дверей) - заполнение стеновых (световых) проемов оконными (балконными дверными) блоками и выполнение узлов присоединения, - осуществляют на основании РД в соответствии с ППР по ТК.
6.1.2 В общем случае перечень технологических операций монтажных работ по устройству окон (балконных дверей) с использованием блоков полной заводской готовности включает в себя:
- подготовку оконного проема;
- подготовку оконного блока к монтажу [снятие створок, стеклопакетов, установку подставочного профиля (если поставляется отдельно) и др.];
- сборку сблокированного оконного блока из отдельных изделий в соответствии с РД;
- закрепление саморасширяющейся ленты на оконном (дверном балконом) блоке (если эта лента предусмотрена проектной и рабочей документацией);
- установку и крепление оконной коробки в проектном положении;
- установку стеклопакетов;
- навешивание предварительно снятых створок;
- установку забутовочного жгута для гидроизоляционного слоя (если ПД и РД не предусмотрена предварительно сжатая саморасширяющаяся лента);
- заполнение монтажных зазоров тепло- и звукоизоляционным материалом;
- установку забутовочного жгута для пароизоляционного слоя;
- пароизоляцию и гидроизоляцию монтажного шва - нанесение пароизоляционного (гидроизоляционного) герметика (мастики) или соответствующих лент на внутреннюю и наружную поверхности монтажного шва;
- подготовку и крепление оконного отлива;
- подготовку и крепление подоконной доски;
- окончательную регулировку створок;
- отделку откосов;
- снятие защитной пленки;
- установку колпачков, декоративных накладок и заглушек.
Примечания
1 Наличие или отсутствие конкретных операций, указанных в настоящем перечне, определяется ПД и РД.
2 Последовательность операций зависит от выбранных проектных решений и технологии производства общестроительных работ и определяется в ППР и ТК.
3 При производстве работ в зимнее время (при температурах ниже, чем требуется в соответствии ТК и/или с условиями применения используемых материалов) могут быть предусмотрены дополнительные операции, в том числе установка тепловых экранов.
4 При необходимости вышеперечисленные работы могут быть дополнены установкой дополнительных элементов, в т.ч. жалюзи, москитных сеток, ставень, специальных приточных вентиляционных устройств.
6.1.3 Пример состава и описания технологических операций выполнения монтажных работ по устройству окон и балконных дверей в новом строительстве приведен в ГОСТ 34378-2018, приложение Ж.
6.1.4 Примеры проектных решений узлов присоединения оконных блоков к стеновым проемам зданий приведены в приложении А.
6.2 Общие требования к подготовке стенового (светового) проема
6.2.1 Подготовка стенового (светового) проема является обязательной базовой технологической операцией, обеспечивающей качество последующих монтажных операций и эксплуатацию светопрозрачных ограждающих конструкций (окон, балконных дверей, витражей).
6.2.2 Перед монтажом оконных (балконных дверных) блоков поверхности стеновых (световых) проемов должны быть очищены от наледи, мусора и просушены.
6.2.3 Выявленные при осмотре стеновых (световых) проемов дефекты должны быть зашпаклеваны водостойкими составами.
6.2.4 При реконструкции, капитальном ремонте зданий или замене оконных (балконных дверных) блоков и витражей в эксплуатируемых помещениях демонтаж должен осуществляться способами, обеспечивающими максимальную сохранность поверхностей стен и откосов проемов.
6.3 Заполнение проемов стен из монолитного и/или сборного железобетона, каменных и армокаменных конструкций
Монтаж оконных и дверных блоков при строительстве малоэтажных жилых домов, возводимых из каменных и армокаменных конструкций, монолитного бетона, сборных блоков и панелей выполняют согласно ГОСТ 34378.
6.4 Заполнение проемов стен каркасных деревянных домов
Монтаж оконных (балконных дверных) блоков и витражей в конструкциях каркасных деревянных малоэтажных жилых домов выполняют в полностью подготовленные стеновые (световые) проемы согласно РД по ППР и ТК.
Для защиты конструкций стен пароизоляционную пленку и рулонный водо- и ветрозащитный материал необходимо заводить на проем. Пленку следует разместить по всей границе оконного проема и закрепить специальным скотчем либо металлическими скобами (скрепками) в соответствии с рекомендациями производителя пароизоляционной пленки и водо- и ветрозащитного материала.
6.5 Заполнение проемов стен из бруса и бревна
6.5.1 Проемы для окон, как правило, подготавливают после того, как малоэтажный жилой дом из оцилиндрованного бревна или бруса будет полностью собран либо в процессе его строительства в соответствии с ППР и ТК.
6.5.2 В случае подготовки проема после того, как малоэтажный жилой дом из оцилиндрованного бревна или бруса будет полностью собран, выпиливание проемов производится после полной усадки согласно ГОСТ 6782.1, ГОСТ 6782.2 и СП 22.13330.2016 в соответствии с РД.
6.5.3 При подготовке проема обязательной операцией является установка обсадной коробки. Порядок разметки и установки обсадной коробки приведен в приложении Б.
6.6 Монтаж оконного (балконного дверного) блока
6.6.1 Установка оконного блока в проеме и его крепление
6.6.1.1 Оконный блок устанавливают в стеновом (световом) проеме в проектное положение согласно рабочей документации с использованием опорных (несущих) и дистанционных подкладок (колодок).
6.6.1.2 Оконные (балконные дверные) блоки должны быть закреплены таким образом, чтобы обеспечивались их устойчивость и геометрическая неизменяемость. Крепление должно быть механическим. Иные типы крепления оконных (балконных дверных) блоков не допускаются.
6.6.1.3 При ленточном остеклении монтажные работы следует проводить согласно установленной в ТК последовательности. Монтаж ведут, как правило, начиная от пространственно-устойчивой связевой несущей конструкции (согласно рабочей документации), обеспечивая устойчивость устанавливаемых оконных блоков в процессе монтажа. Допускается применение временных распорных (несущих) устройств.
Примечание - Ленточное остекление представляет собой сблокированную в ленту комбинацию оконных блоков.
6.6.2 Заполнение и герметизация монтажного зазора
6.6.2.1 Материалы для заполнения монтажных зазоров и изоляции швов следует применять только из числа указанных в РД.
6.6.2.2 Общие требования к материалам для заполнения монтажного зазора и изоляции монтажного шва указаны в ГОСТ 30971-2012 (приложение А) и ГОСТ Р 70266.
6.7 Устройство окна - установка отлива и подоконной доски
6.7.1 Установка отлива
6.7.1.1 Материал отлива должен соответствовать спецификации РД, а геометрические размеры отлива уточняют по месту.
6.7.1.2 Установка и крепление отлива должны исключать возможность попадания атмосферных осадков и конденсата, отводимого через дренажные отверстия оконного блока, на поверхность стены и в монтажный шов.
Требования к установке слива - в соответствии с приложением В.
6.7.2 Установка подоконной доски
6.7.2.1 Требования к установке и материал подоконной доски должны быть определены в РД и указаны в приложении В.
6.7.2.2 Боковые торцы установленной подоконной доски (подоконника) должны заходить за отделку боковых оконных откосов в соответствии с РД.
Примечания
1 Примыкание подоконной доски к оконному блоку должно быть герметичным и устойчивым к деформациям.
2 Сопряжение подоконной доски с оконной коробкой допускается обеспечивать за счет его защемления в подставочном профиле, если он предусмотрен проектом и/или с использованием предусмотренных РД элементов.
3 Требования к размерам свеса подоконной доски - в соответствии с приложением В.
6.7.3 Отделку откосов проводят по ТК, разработанным в соответствии с положениями РД и ППР.
Примечание - После завершения отделки откосов следует удалить защитную пленку с лицевых поверхностей переплетов оконных (балконных дверных) блоков.
6.8 Защита окон в условиях проведения строительных работ
6.8.1 При производстве работ, связанных с повышенным риском случайного повреждения установленных оконных блоков, следует предусматривать защитные мероприятия. К работам с повышенным риском повреждения установленных оконных блоков относятся:
- сварочные работы внутри и снаружи помещений;
- штукатурные работы;
- малярные работы и пр.
6.8.2 Не позднее 10 дней после завершения работ по устройству окон и балконных дверей с лицевой поверхности профилей защитную пленку удаляют. После удаления защитной пленки защитные мероприятия осуществляют повторно.
6.8.3 Защитные мероприятия предусматривают в ППР и проводят согласно соответствующим ТК.
При отделке оконных откосов, а также при выполнении в помещениях отделочных работ, оконные блоки и подоконники рекомендуется защищать от возможного загрязнения и повреждения путем наклеивания пленки, укладки на подоконник защитных листов гофрокартона или других аналогичных материалов.
7 Контроль выполнения и требования к результатам работ
7.1 В процессе выполнения монтажных работ по устройству светопрозрачных ограждающих конструкций в малоэтажных жилых домах надлежит выполнять строительный контроль согласно действующим НД с учетом положений ГОСТ 34378.
Предметом строительного контроля является проверка выполнения работ при заполнении стеновых проемов оконными (балконными дверными) блоками и/или витражами на соответствие требованиям ПД и подготовленной на ее основе РД, требованиям технических регламентов, НД, а также ППР и технологической документации в целях обеспечения безопасности зданий и сооружений.
7.2 Общие положения по контролю указаны в разделе 5. В ходе выполнения контроля рекомендуется руководствоваться требованиями, применять виды и методы контроля, указанные в приложении В.
7.3 Операционный контроль
7.3.1 Операционный контроль следует проводить в ходе выполнения работ по устройству светопрозрачных конструкций с целью обеспечения своевременного выявления дефектов и принятия мер по их предупреждению и устранению.
7.3.2 В ходе операционного контроля лицо, осуществляющее строительство, проверяет соответствие последовательности и состава выполненных работ, соблюдение режимов и соответствие показателей качества выполнения операций и их результатов требованиям проектной, технической и нормативной документации, распространяющейся на данный этап работ.
ИС МЕГАНОРМ: примечание.
В официальном тексте документа, видимо, допущена опечатка: имеется в виду п. [6] Библиографии, а не п. [5].
Результаты операционного контроля следует фиксировать в общем журнале работ или специальном журнале по отдельным видам работ, форма которых приведена в [5].
ИС МЕГАНОРМ: примечание.
В официальном тексте документа, видимо, допущена опечатка: имеется в виду п. [5] Библиографии, а не п. [6].
7.3.3 Контролю подлежат скрытые виды работ на каждом этапе строительства с составлением акта освидетельствования скрытых работ согласно [6], приложение 3.
7.3.4 Операционный контроль следует проводить визуально, а также инструментально с помощью линейки по ГОСТ 427 или рулетки по ГОСТ 7502 в соответствии с приложением В.
7.3.5 В процессе проведения работ операционному контролю подлежат следующие виды работ:
- устройство проема, подлежащего заполнению СПК;
- устройство обсады;
- герметизация присоединения обсады к стене;
- монтаж оконных (балконных дверных блоков) и/или витражей;
- выполнение узлов присоединения СПК;
- монтаж подоконной доски, отлива, элементов облицовки;
- герметизация узлов присоединения СПК;
- установка защитной сетки или решетки (при наличии).
7.3.6 Подготовку поверхностей оконных проемов оценивают визуально с расстояния 400 - 600 мм при освещенности не менее 300 лк.
7.3.7 Инструментально контролируются соответствия проема на отклонение от вертикали и горизонтали соответствующих плоскостей светопроема, отклонение от проектных величин ширины и высоты проема, геометрические параметры паза/шипа под установку обсады.
7.3.8 Инструментально контролируют соответствие размеров обсады проекту.
7.3.9 Установку обсады, ее уплотнение и герметизацию оценивают визуально. Инструментально контролируют размеры светопроема после установки обсады, и отклонение от вертикали и горизонтали соответствующих плоскостей обсады.
7.4 Приемочный контроль
7.4.1 При сдаче работ по приемке светопрозрачных конструкций должен осуществляться контроль выполнения монтажа каждого из конструктивных элементов с записью в журнал работ и с составлением актов освидетельствования скрытых работ.
7.4.2 При приемочном контроле должно быть проверено:
- по сопроводительной документации на комплекты, изделия и элементы заполнения стеновых проемов их соответствие проекту;
- по исполнительным геодезическим схемам с применением средств инструментального контроля соответствие положения оконных (балконных дверных) блоков требованиям проекта;
- наличие внесения монтажной организацией изменений в проект по исполнительным чертежам, а также наличие документов, подтверждающих согласование этих изменений;
- наличие и правильность оформления актов освидетельствования скрытых работ;
- наличие журнала общих работ и соответствие последовательности устройства светопрозрачных конструкций требованиям раздела 6.
7.4.3 Приемо-сдаточный контроль качества монтажных работ проводят по каждому заполнению стеновых проемов и каждому модульному элементу при ленточной конструкции светопрозрачной конструкции.
7.4.4 Подрядчик, осуществляющий монтажные работы по устройству светопрозрачных конструкций, должен вести следующую исполнительную документацию:
- акт приема фронта работ;
- акты освидетельствования скрытых работ;
- комплект рабочих чертежей с надписями о соответствии выполненных в действительности работ этим чертежам или о внесенных в них по согласованию с проектировщиком изменениях, сделанных лицами, ответственными за производство монтажных работ;
- исполнительные геодезические чертежи и схемы;
- результаты экспертиз, обследований, лабораторных и иных испытаний выполненных работ, проведенных в процессе строительного контроля;
- документы, подтверждающие проведение контроля за качеством применяемых изделий и материалов;
- иные документы, отражающие фактическое исполнение проектных решений.
Требования к составлению и порядку ведения исполнительной документации устанавливаются в нормативном документе о составе и порядке ведения исполнительной документации при строительстве [5].
Основным документом, в котором заказчиком (застройщиком) ведется учет выполнения работ при строительстве, реконструкции, капитальном ремонте объекта капитального строительства, отражается последовательность осуществления строительства, реконструкции, капитального ремонта объекта капитального строительства, является общий журнал работ.
7.4.5 Установленные в стеновые проемы заполнения (светопрозрачные конструкции) должны быть приняты приемной комиссией с участием представителей заказчика, генерального подрядчика и субподрядчика. Приемка оформляется актом за подписью членов комиссии.
При приемке проверяется:
- соответствие установленных заполнений РД;
- соответствие РД и точность установки светопропускающих элементов оконных (балконных дверных) блоков и/или витражей;
- качество заделки стыков между отдельными элементами заполнений согласно РД и НД;
- сохранность элементов и их отделка;
- работа механизмов открывания;
- выполнение специальных требований проекта.
7.4.6 Приемку качества работ по устройству узлов примыканий и их элементов оформляют актом сдачи-приемки. К акту сдачи-приемки прилагаются копии протоколов сертификационных испытаний узлов примыканий и санитарно-эпидемиологические заключения на примененные материалы. По согласованию между сторонами к акту сдачи-приемки могут прилагаться иные дополнительные документы.
Приложение А
(справочное)
ПРИМЕРЫ ПРОЕКТНЫХ РЕШЕНИЙ УЗЛОВ ПРИСОЕДИНЕНИЯ
ОКОННЫХ БЛОКОВ К СТЕНОВЫМ ПРОЕМАМ
Принципы выполнения узлов присоединения представлены на рисунках А.1 - А.7.
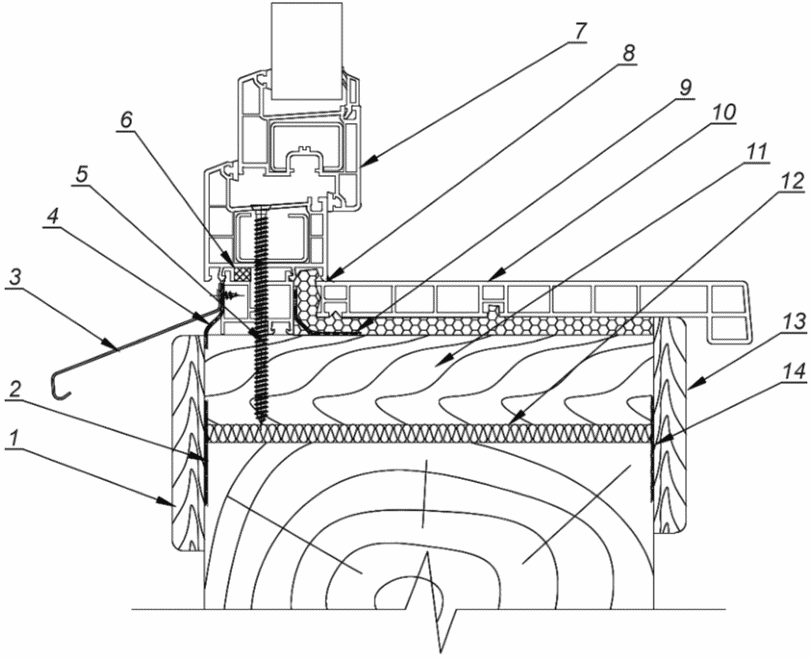
1 - деталь внешней отделки; 2 - гидроизоляция обсады;
3 - слив; 4 - гидроизоляция монтажного шва; 5 - монтажный
шов; 6 - элемент крепления; 7 - оконный блок; 8 - герметик;
9 - пароизоляция монтажного шва; 10 - подоконная доска;
11 - обсада; 12 - уплотнительный слой; 13 - деталь
внутренней отделки; 14 - пароизоляция обсады
а)
1 - деталь внешней отделки; 2 - гидроизоляция обсады;
3 - слив; 4 - гидроизоляция монтажного шва;
5 - элемент крепления; 6 - демпфирующая саморасширяющаяся
прокладка; 7 - оконный блок; 8 - герметик; 9 - пароизоляция
монтажного шва; 10 - подоконная доска; 11 - обсада;
12 - уплотнительный слой; 13 - деталь внутренней отделки;
14 - пароизоляция обсады
б)
Рисунок А.1 - Узел нижнего примыкания в светопроемы зданий,
изготовленных из бруса
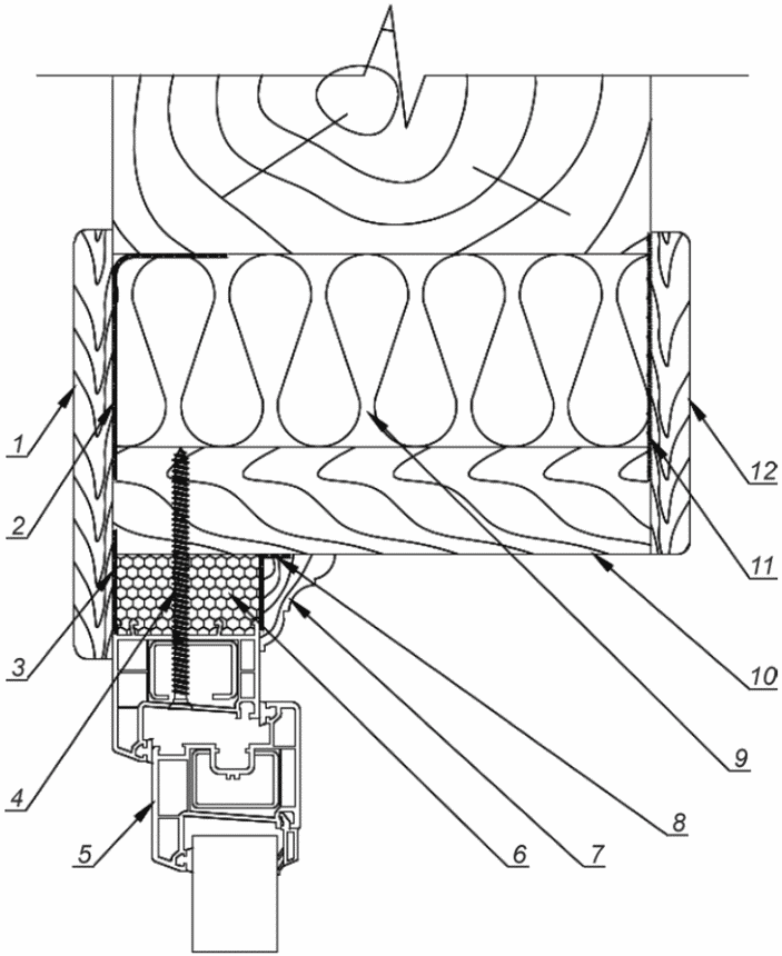
1 - деталь внешней отделки; 2 - гидроизоляция обсады;
3 - демпфирующая саморасширяющаяся прокладка;
4 - элемент крепления; 5 - оконный блок; 6 - герметик;
7 - уплотнительный слой; 8 - обсада с выборкой;
9 - пароизоляция обсады; 10 - деталь внутренней отделки
а)
1 - деталь внешней отделки; 2 - гидроизоляция обсады;
3 - гидроизоляция монтажного шва; 4 - элемент крепления;
5 - оконный блок; 6 - монтажный шов; 7 - деталь внутренней
отделки узла присоединения; 8 - пароизоляция монтажного шва;
9 - уплотнительный слой; 10 - обсада; 11 - пароизоляция
обсады; 12 - деталь внутренней отделки
б)
Рисунок А.2 - Узел верхнего примыкания в светопроемы зданий,
изготовленных из бруса
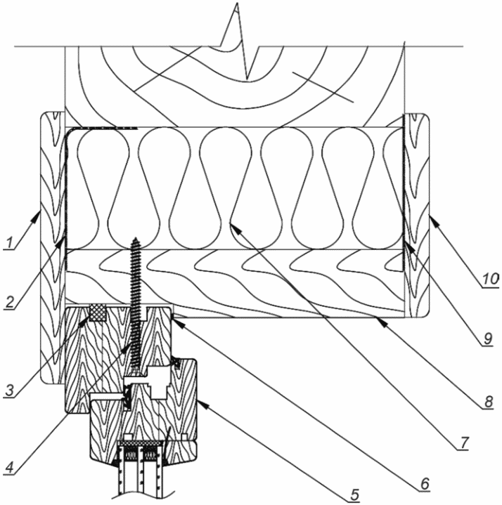
1 - гидроизоляция обсады; 2 - деталь внешней отделки;
3 - демпфирующая саморасширяющаяся прокладка; 4 - элемент
крепления; 5 - оконный блок; 6 - герметик; 7 - П-образная
обсада с выборкой; 8 - уплотнительный слой; 9 - деталь
внутренней отделки; 10 - пароизоляция обсады
а)
1 - гидроизоляция обсады; 2 - деталь внешней отделки;
3 - гидроизоляция монтажного шва; 4 - монтажный шов;
5 - элемент крепления; 6 - оконный блок;
7 - деталь внутренней отделки узла присоединения;
8 - пароизоляция монтажного шва; 9 - Т-образная обсада;
10 - уплотнительный слой; 11 - деталь внутренней отделки;
12 - пароизоляция обсады
б)
Рисунок А.3 - Узел бокового примыкания в светопроемы зданий,
изготовленных из бруса
1 - слив; 2 - гидроизоляция монтажного шва; 3 - монтажный
шов; 4 - оконный блок; 5 - элемент крепления; 6 - герметик;
7 - подоконная доска; 8 - пароизоляция монтажного шва;
9 - профилированный брус; 10 - деталь внутренней отделки
а) Узел нижнего примыкания в светопроемы зданий,
изготовленных из профилированного бруса
1 - деталь внешней отделки; 2 - гидроизоляция обсады;
3 - деталь отделки монтажного шва; 4 - гидроизоляция
монтажного шва; 5 - монтажный шов; 6 - оконный блок;
7 - пароизоляция монтажного шва; 8 - элемент крепления;
9 - деталь отделки монтажного шва; 10 - уплотнительный слой;
11 - обсада; 12 - пароизоляция обсады; 13 - деталь
внутренней отделки
б) Узел верхнего примыкания в светопроемы зданий,
изготовленных из профилированного бруса
1 - закладной брус; 2 - деталь внешней отделки;
3 - гидроизоляция монтажного шва; 4 - монтажный шов;
5 - оконный блок; 6 - элемент крепления; 7 - деталь
внутренней отделки; 8 - пароизоляция монтажного шва
в) Узел бокового примыкания в светопроемы зданий,
изготовленных из профилированного бруса
Рисунок А.4
1, 5 - демпфирующая саморасширяющаяся прокладка; 2 - слив;
3 - гидроизоляция монтажного шва; 4 - монтажный шов;
6 - оконный блок; 7 - герметик; 8 - пароизоляция монтажного
шва; 9, 11 - элемент крепления; 10 - подоконная доска
а) Узел нижнего примыкания в светопроемы зданий
с внешней теплоизоляцией стен
1 - гидроизоляция монтажного шва; 2 - монтажный шов;
3, 5 - герметик; 4 - оконный блок; 6, 9 - элемент крепления;
7 - пароизоляция монтажного шва; 8 - штукатурный намет
б) Узел верхнего (бокового) примыкания в светопроемы зданий
с внешней теплоизоляцией стен
Рисунок А.5
1, 5 - демпфирующая саморасширяющаяся прокладка; 2 - слив;
3 - гидроизоляция монтажного шва; 4 - монтажный шов;
6 - оконный блок; 7 - герметик; 8 - пароизоляция монтажного
шва; 9, 11 - элемент крепления; 10 - подоконная доска
а) Узел нижнего примыкания в светопроемы зданий
с двухслойной конструкцией стен
1 - стальной горячекатаный уголок; 2 - гидроизоляция
монтажного шва; 3 - оконный блок; 4 - герметик; 5,
7 - элемент крепления; 6 - пароизоляция монтажного шва;
8 - штукатурный намет
б) Узел верхнего примыкания в светопроемы зданий
с двухслойной конструкцией стен
Рисунок А.6
1 - демпфирующий материал; 2 - слив; 3 - гидроизоляция
монтажного шва; 4 - монтажный шов; 5 - демпфирующая
саморасширяющаяся прокладка; 6 - оконный блок; 7 - герметик;
8 - пароизоляция монтажного шва; 9, 11 - элемент крепления;
10 - подоконная доска
а) Узел нижнего примыкания в светопроемы зданий
с трехслойной конструкцией стен
1 - стальной горячекатаный уголок; 2 - гидроизоляция
монтажного шва; 3 - оконный блок; 4 - герметик;
5, 7 - элемент крепления; 6 - пароизоляция монтажного шва;
8 - штукатурный намет
б) Узел верхнего примыкания в светопроемы зданий
с трехслойной конструкцией стен
Рисунок А.7
Приложение Б
(рекомендуемое)
МОНТАЖ ОБСАДНОЙ КОРОБКИ В ДОМАХ ИЗ БРУСА И БРЕВНА
Б.1 Подготовку проемов в домах из бревна (в том числе оцилиндрованного) и бруса проводят согласно РД по ППР и ТК.
В зависимости от вида материала стен и его влажности устанавливают сроки усадки стен с учетом этажа здания. Для бревна (бруса) естественной сушки усадка стен составляет до 9%, для клееного бруса 1% - 3%. Как правило, величину усадки для стен из бревна (бруса) принимают следующую:
- первого этажа 50 - 80 мм;
- второго этажа 30 - 50 мм (зависит от влажности бревна, бруса).
Выполнение проемов для стен из бревна (бруса) естественной сушки проводят после усадки стен. Для стен из оцилиндрованного бревна и клееного бруса камерной сушки выполнение проемов проводят в процессе возведения стен.
Б.2 Для компенсации усадки стен в стеновые проемы надлежит устанавливать обсадные коробки (окосячки).
Она представляет собой коробку из брусьев, которая, не препятствуя вертикальным подвижкам стеновых элементов, прочно удерживает их в одной плоскости. Ставят ее сразу при возведении стен, а если это планируется сделать в уже собранной коробке дома, то тогда при укладке венцов в зоне проема пару из них оставляют цельными, без вырубов, таким образом укрепляя его на время строительства.
Б.3 Виды обсадной коробки
Существует два основных вида обсадной коробки - П- и Т-образной формы (см. рисунки 1 и Б.1).
В первом случае по бокам проема в бревнах формируют продольный шип примерно 50 x 50 мм, на который устанавливают обсадную коробку с ответным пазом. При Т-образной окосячке в торцах стен, наоборот, выбирают паз, а обсада представляет собой брусок соответствующей формы. Шип может быть вклеенным в основу, но лучше если он составляет с ней единое целое, что значительно повышает жесткость изделия.
Профили обсады обоих видов могут быть разными (с выборкой четверти или без нее, с расширением, под старину и др.), выполняя не только техническую, но и декоративную функцию.
1 - зазор под усадку с уплотнителем; 2 - обсадная коробка; 3 - паз под брусок; 4, 9 - межвенцовый уплотнитель; 5 - закладной брусок; 6 - внутренний наличник; 7 - окно; 8 - отлив; 10 - наружный наличник
1 - зазор под усадку с уплотнителем; 2 - обсадная коробка; 3 - паз; 4 - шип с уплотнителем; 5 - внутренний наличник; 6 - окно; 7 - отлив; 8 - межвенцовый уплотнитель; 9 - наружный наличник
а) Окосячка с закладным бруском
б) Окосячка в колоду
Рисунок Б.1 - Виды обсадной коробки
Окосячку для каждого проема в срубе изготавливают индивидуально, она не должна препятствовать естественному процессу усадки. Для этого необходимо оставить зазор между верхней частью проема и вершником около семи сантиметров.
Б.4 Установка окосячки
Б.4.1 Подготовку проема для установки обсады проводят в несколько этапов:
- доработка проема;
- выпиливание паза или шипа (зависит от вида выбранной обсады);
- устройство срезов на бревне, для выравнивания бревен в плоскости (требуется для домов из бревна).
Б.4.2 При доработке проемов их выпиливание осуществляется с помощью бензопилы, при этом верхнее и нижнее бревна выпиливают лишь наполовину, что упрощает дальнейшее выполнение обсады (рисунок Б.2).
Примечание - При необходимости выпиливания нижнего или верхнего бревна или обоих больше, чем на половину, в РД следует указывать конструктивное решение усиления проема в стенке или оконного (дверного) блока.
1 - уплотнение; 2 - наличник; 3 - зазор; 4 - четверть
Рисунок Б.2 - Подготовка проема
под установку короба (обсады)
Б.4.3 При выпиливании паза или шипа вначале размечают поверхность по всей длине, затем аккуратно вырезают углубления под паз или шип. Можно заранее нарисовать линию, по всей длине, чтобы представлять ограничительный уровень. После можно пропитать древесину защитным составом. Необходимо учесть то обстоятельство, что для установки теплоизоляционных материалов также потребуется место.
Устройство срезов на бревне для выравнивания бревен в плоскости (требуется для домов из бревна) обеспечивает плотное прилегание наличников к бревну. Необходимо учитывать, что высота проема должна быть больше высоты оконной конструкции, так как над обсадной коробкой обязательно должен присутствовать компенсационный усадочный зазор (размер зазора высчитывается в зависимости от толщины швов и процента возможной усадки), рисунок Б.3.
Рисунок Б.3 - Определение размеров проема
под установку короба (обсады)
Б.4.4 Процесс монтажа обсады:
- обсадную коробку обрабатывают антисептическим составом;
- монтаж начинают с установки подоконника или нижней детали. Расстилают и закрепляют с помощью строительного степлера льноватин на нижнюю площадку пропиленного проема. Устанавливают подоконник.
В домах из клееного бруса нижняя деталь не ставится, поэтому установку можно начинать с боковых деталей:
- к боковым деталям с помощью строительного степлера крепят теплоизоляционный материал;
- устанавливают первую боковую деталь, затем - верхнюю деталь и следом вторую боковую деталь;
- верхнюю деталь выравнивают и скрепляют саморезами с боковыми деталями;
- соединения и стыки между деталями следует изолировать герметиком;
- зазоры над верхней частью короба изолируют теплоизолирующим материалом.
Жесткое крепление короба (обсады) в проем не допускается.
Б.4.5 Для правильного монтажа обсады, необходимо соблюдать следующие правила:
- высота, на которой должен выпиливаться оконный проем, в соответствии с проектом;
- в зависимости от типа окосячки выпиливается гребень или паз;
- все строительные материалы из древесины пропитывают специальным антисептическим составом;
- по всему периметру прокладывают теплоизоляционный материал.
Необходимо внимательно следить, чтобы саморезы, используемые для сборки короба обсады не соприкасались с брусами стены. Лишь после завершения установки окосячки можно переходить к внутренней и внешней отделке дома. Наличники и отлив закрепляют с наружной стороны проема.
В стыке "шип-паз" следует предусмотреть зазоры 5 - 10 мм для закладки уплотнителя. Вверху косяки соединяют перемычкой, обязательно оставляя над ним свободный промежуток размером в 1,5 - 2 раза больше, чем проектная величина усадки. Щель, как правило, затыкают паклей, но можно заложить ее обернутыми утеплителем тонкими досками, которые надо будет выбивать по одной в процессе усадки дома.
На рисунке Б.4 приведен разрез заполнения стенового проема оконным блоком.
1 - минеральная вата; 2 - армированная пароизоляционная
лента 120 мм; 3 - П-образная обсадная коробка;
4 - льноватин; 5 - монтажная пена; 6 - окно ПВХ
Рисунок Б.4 - Разрез узла присоединения окна
Приложение В
(рекомендуемое)
КАРТА КОНТРОЛЯ ВЫПОЛНЕНИЯ ТРЕБОВАНИЙ НАСТОЯЩЕГО СТАНДАРТА
Таблица В.1
Наименование показателя
Требования
Вид контроля
Метод контроля
Входной
Операционный
Приемо-сдаточный
Подготовительные работы - организация строительного производства
Рабочая документация
Наличие и соответствие требованиям НД
+
-
+
Документарный
Проект производства работ (ППР)
Наличие и соответствие требованиям НД
+
-
+
Документарный
Общий и специальный журналы работ
Наличие и соответствие требованиям НД
+
-
+
Документарный
Исполнение стеновых (световых) проемов, в т.ч. поверхностей откосов
Соответствие требованиям РД и НД
+
-
+
Визуальный, инструментальный
Подготовительные работы - входной контроль
Оконные (балконные дверные) блоки полной (неполной) заводской готовности, поставленные на объект либо хранящиеся на объекте
Соответствие РД и спецификации
+
-
+
Документарный по ГОСТ 24297
Оконные (балконные дверные) блоки, поставляемые на объект на условиях сборочных комплектов
Соответствие РД и спецификации, условиям договора
+
+
+
Документарный
Поставленные комплектующие материалы и изделия
Соответствие РД и спецификации, условиям договора
+
-
+
Документарный
Условия хранения оконных (дверных балконных) блоков
Соответствие ППР и НД
+
-
-
Документарный визуальный, инструментальный
Условия хранения изделий, материалов и комплектующих для производства работ
Соответствие требованиям НД, требованиям изготовителя
+
-
-
Документарный, визуальный, инструментальный
Проверка качества материалов
Наличие документов установленного образца: паспорт качества, декларация, сертификат, заключение (свидетельство)
+
-
-
Документарный
Монтажные работы - монтаж оконного (дверного балконного) блока
Показатели внешнего вида поверхностей оконного блока
Отсутствие повреждений и дефектов
+
+
+
Визуальный осмотр
Отклонения оконного блока от вертикали и горизонтали, мм:
Измерения по ГОСТ Р 58945
- на 1 пог. м, не более
1,5
-
+
+
- на всю длину изделия, не более
3,0
-
+
+
Наличие и размещение несущих (опорных) колодок под оконными блоками
Соответствие РД
-
+
-
Визуальный осмотр. Измерения
Дистанционные колодки
Соответствие РД
-
+
-
Визуальный осмотр
Количество и размещение крепежных элементов оконных блоков
Соответствие РД
-
+
-
Визуальный осмотр
Контроль отметок расположения оконных блоков по установленным осям
Соответствие РД
-
+
+
Инструментальный
Провисание открывающихся элементов, мм на 1 пог. м ширины, не более
1,5
-
+
+
Измерения по ГОСТ Р 58945
ИС МЕГАНОРМ: примечание.
В официальном тексте документа, видимо, допущена опечатка: имеется в виду
п. 7.1.8 ГОСТ 24700-99, а не п. 7.18.
Правильность установки и плотность прилегания уплотняющих прокладок створок и стеклопакетов
Соответствие ГОСТ 21519-2003 (пункты 4.4.3, 6.3.8); ГОСТ 24700-99 (пункты 5.5.6, 7.18); ГОСТ 30674-99 (пункты 5.6.16, 5.6.17)
-
+
+
Визуальный осмотр
Комплектность оконных приборов и фурнитуры (ручки, колпачки, декоративные накладки, ответные планки и пр.)
Соответствие РД
+
+
+
Визуальный осмотр по РД
Проверка функционирования открывающихся элементов оконных (дверных балконных) блоков. Работа оконных приборов и петель
Соответствие РД и КД. Открывание и закрывание должно происходить легко, без заеданий
-
+
+
Контроль по ГОСТ на вид ОБ
Монтажные работы: Заполнение монтажного зазора - устройство монтажного шва и его защита
Конструктивное решение
Соответствие РД
+
-
+
Визуальный осмотр
Заполнение монтажных зазоров утеплителем
Отсутствие пустот, сквозных щелей, раковин по ГОСТ 30971
-
+
-
Послойное вскрытие и визуальный осмотр
Монтажные работы - установка отливов
Качество лицевой поверхности
Отсутствие повреждений и дефектов, качество покрытия не ниже V по ГОСТ 9.032
+
+
+
Визуальный осмотр
Угол наклона слива (в сторону улицы), %, не менее
10
-
+
+
Инструментальный
Крепление и крепежные элементы
Соответствие требованиям РД
-
+
+
Визуальный осмотр
Свес слива за наружную плоскость стену, мм
30 - 50
-
+
+
Инструментальный
Шумогасящая прокладка
Соответствие требованиям РД
-
+
+
Визуальный осмотр
Герметизация мест примыканий к стене
Соответствие требованиям РД. Примыкания должны быть герметичными и исключать попадание дождевой воды под слив
-
+
+
Визуальный осмотр
Провисание открывающихся элементов, мм на 1 пог. м ширины, не более
1,5
-
+
+
Измерения по ГОСТ Р 58945
Монтажные работы - установка подоконных досок
Качество лицевой поверхности
Отсутствие повреждений, сколов, вмятин, вздутий, отслоений
+
+
+
Визуальный осмотр
Расположение подоконника в проеме и выход (свес) за пределы стены, мм
Не менее 50 мм и не более 2/3 глубины прибора отопления, если в РД не указано иное
-
+
+
Инструментальный
Отклонения от горизонтали:
-
+
+
- по ширине подоконной доски в сторону помещения, %, не более
1,0
- по длине подоконной доски, %, не более
0,5
Отклонения от плоскостности, мм на 1 пог. м, не более
2,0
-
+
+
Опорные колодки (если предусмотрено РД)
Соответствие требованиям РД
-
+
-
Визуальный осмотр
Герметизация швов
Соответствие требованиям РД
-
+
+
Визуальный осмотр
Провисание открывающихся элементов, мм на 1 пог. м ширины, не более
1,5
-
+
+
Измерения по ГОСТ Р 58945
Отделочные работы - откосы (при проведении штукатурных работ)
Качество лицевых поверхностей
Соответствие требованиям РД и НД
-
+
+
Визуальный осмотр
Отклонения от горизонтали и вертикали деталей облицовки, мм:
- на 1 пог. м, не более
2,0
-
+
+
- на всю длину изделия, не более
5,0
-
+
+
Отклонения от плоскостности, мм на 1 пог. м, не более
2,0
-
+
+
Геометрические размеры откосов
Соответствие требованиям РД и НД
-
+
+
Отделочные работы - облицовка откосов (при облицовке отделочными панелями)
Качество лицевых поверхностей
Отсутствие повреждений и дефектов: царапины, вмятины, трещины, отслаивание, цветовые пятна
-
+
+
Визуальный осмотр
Отклонения от горизонтали и вертикали деталей облицовки, мм:
-
+
+
- на 1 пог. м, не более
4,0
- на всю длину изделия, не более
8,0
Отклонения от плоскостности, мм на 1 пог. м, не более
2,0
-
+
+
Узлы сопряжений, примыканий
Отсутствие сквозных зазоров, щелей более 0,5 мм
-
+
+
Приемо-сдаточный контроль качества работ по устройству окна
Лицевая и наружная видимые поверхности при открывании поверхности
Отсутствие дефектов и повреждений согласно НД
-
-
+
Стандарты на оконные блоки в зависимости от вида применяемых рамочных материалов (профиля)
Контроль отметок расположения оконных блоков по установленным осям - геодезическая съемка
Соответствие РД
-
-
+
Инструментальный
Проверка отклонений от прямолинейности на всех участках
Соответствие НД, РД, КД
-
-
+
Инструментальный
Проверка геометрических размеров, в том числе длин диагоналей прямоугольных рамочных элементов
Соответствие НД, РД, КД
-
-
+
Инструментальный
Притвор створок
Соответствие НД, РД, КД
-
-
+
Инструментальный
Открывающиеся элементы (при наличии)
Соответствие НД, РД, КД
-
-
+
ГОСТ на вид, по РД
Зазоры в угловых и Т-образных соединениях
Соответствие НД, РД, КД
-
-
+
Инструментальный
Перепад лицевых поверхностей в угловых и Т-образных соединениях смежных деталей
Соответствие НД, РД, КД
-
-
+
Инструментальный
Правильность установки и плотность прилегания уплотняющих прокладок створок и стеклопакетов (непрозрачных заполнений)
Соответствие НД, РД, КД
-
-
+
Инструментальный
Комплектность оконных приборов и фурнитуры (при наличии)
Соответствие РД, КД
-
-
+
Визуальный
Работа (функционирование) оконных приборов и петель (при наличии)
Соответствие НД, РД, КД
-
-
+
Показатели внешнего вида стеклопакетов
Соответствие положениям ГОСТ 24866
-
-
+
Установка стеклопакетов (размеры и размещение несущих (опорных) и дистанционных) подкладок
Соответствие НД и РД
-
-
+
Состояние дренажных отверстий
Соответствие НД, РД, КД
-
-
+
ГОСТ, КД
Состояние компенсационных отверстий
Соответствие НД, РД, КД
-
-
+
ГОСТ, КД
Узел присоединения, монтажный шов, гидроизоляция и пароизоляция шва - конструктивное решение
Соответствие НД, РД, КД
-
-
+
Акты приемки скрытых работ
Сопряжения коробки оконного (балконного дверного) блока с подоконной доской и деталями облицовки, подоконной доски с деталями облицовки, деталей облицовки
Соответствие НД и РД. Отсутствие сквозных зазоров и щелей
-
-
+
Инструментальный
Отклонение размера расстояния между наплавами смежных закрытых створок
Соответствие НД и РД
-
-
+
Инструментальный по ГОСТ 23166-99, пункт 5.2.6
Примечание - "+" - контроль проводят, "-" - контроль не проводят.
БИБЛИОГРАФИЯ
[1]
Правила по охране труда при работе на высоте, утвержденные приказом Министерства труда и социальной защиты Российской Федерации от 28 марта 2014 г. N 155н
[2]
Правила по охране труда в строительстве, утвержденные приказом Министерства труда и социальной защиты Российской Федерации от 1 июня 2015 г. N 336н
[3]
Правила по охране труда при погрузочно-разгрузочных работах и размещении грузов, утвержденные приказом Министерства труда и социальной защиты Российской Федерации от 17 сентября 2014 г. N 642н
[4]
Правила по охране труда при работе с инструментом и приспособлениями, утвержденные приказом Министерства труда и социальной защиты Российской Федерации от 17 августа 2015 г. N 552н
[5]
Требования к составу и порядку ведения исполнительной документации при строительстве, реконструкции, капитальном ремонте объектов капитального строительства и требования, предъявляемые к актам освидетельствования работ, конструкций, участков сетей инженерно-технического обеспечения
[6]
Порядок ведения общего и (или) специального журнала учета выполнения работ при строительстве, реконструкции, капитальном ремонте объектов капитального строительства
УДК 692.415.001.4:006.354
ОКС 91.100.99
Ключевые слова: окна, балконные двери, оконные блоки, строительно-монтажные работы, контроль строительно-монтажных работ