Главная // Актуальные документы // ГОСТ Р (Государственный стандарт)СПРАВКА
Источник публикации
М.: ФГБУ "РСТ", 2022
Примечание к документу
Документ
введен в действие с 01.06.2023.
Название документа
"ГОСТ Р 70266-2022. Национальный стандарт Российской Федерации. Конструкции ограждающие светопрозрачные. Герметизация узлов присоединений к несущим конструкциям и в стеновых проемах. Правила и контроль выполнения работ"
(утв. и введен в действие Приказом Росстандарта от 03.11.2022 N 1229-ст)
"ГОСТ Р 70266-2022. Национальный стандарт Российской Федерации. Конструкции ограждающие светопрозрачные. Герметизация узлов присоединений к несущим конструкциям и в стеновых проемах. Правила и контроль выполнения работ"
(утв. и введен в действие Приказом Росстандарта от 03.11.2022 N 1229-ст)
Утвержден и введен в действие
агентства по техническому
регулированию и метрологии
от 3 ноября 2022 г. N 1229-ст
НАЦИОНАЛЬНЫЙ СТАНДАРТ РОССИЙСКОЙ ФЕДЕРАЦИИ
КОНСТРУКЦИИ ОГРАЖДАЮЩИЕ СВЕТОПРОЗРАЧНЫЕ
ГЕРМЕТИЗАЦИЯ УЗЛОВ ПРИСОЕДИНЕНИЙ
К НЕСУЩИМ КОНСТРУКЦИЯМ И В СТЕНОВЫХ ПРОЕМАХ
ПРАВИЛА И КОНТРОЛЬ ВЫПОЛНЕНИЯ РАБОТ
Translucent enclosing structures.
Sealing of connection units to bearing structures
and wall openings. Rules and control of work
ГОСТ Р 70266-2022
Дата введения
1 июня 2023 года
1 РАЗРАБОТАН Акционерным обществом "Центр методологии нормирования и стандартизации в строительстве" (АО "ЦНС"), "Ассоциация производителей и поставщиков материалов для монтажа окон" (АПМ)
2 ВНЕСЕН Техническим комитетом по стандартизации ТК 400 "Производство работ в строительстве. Типовые технологические и организационные процессы"
3 УТВЕРЖДЕН И ВВЕДЕН В ДЕЙСТВИЕ
Приказом Федерального агентства по техническому регулированию и метрологии от 3 ноября 2022 г. N 1229-ст
4 ВВЕДЕН ВПЕРВЫЕ
Правила применения настоящего стандарта установлены в статье 26 Федерального закона от 29 июня 2015 г. N 162-ФЗ "О стандартизации в Российской Федерации". Информация об изменениях к настоящему стандарту публикуется в ежегодном (по состоянию на 1 января текущего года) информационном указателе "Национальные стандарты", а официальный текст изменений и поправок - в ежемесячном информационном указателе "Национальные стандарты". В случае пересмотра (замены) или отмены настоящего стандарта соответствующее уведомление будет опубликовано в ближайшем выпуске ежемесячного информационного указателя "Национальные стандарты". Соответствующая информация, уведомление и тексты размещаются также в информационной системе общего пользования - на официальном сайте Федерального агентства по техническому регулированию и метрологии в сети Интернет (www.rst.gov.ru)
Настоящий стандарт распространяется на производство работ по герметизации узлов присоединения светопрозрачных ограждающих конструкций к несущим конструкциям и в стеновых проемах при новом строительстве, реконструкции и капитальном ремонте жилых, общественных и производственных зданий и сооружений с целью их защиты от проникания воздуха, воды и пара.
Настоящий стандарт устанавливает общие требования, порядок организации и производства монтажных работ при герметизации узлов присоединений оконных и балконных дверных блоков, балконного остекления и витражных конструкций (далее - светопрозрачных конструкций, СПК) к наружным ограждающим конструкциям отапливаемых зданий и сооружений различного назначения и виды контроля выполненных работ.
Стандарт не распространяется на узлы присоединений светопрозрачных фасадных конструкций (СФК), зенитных фонарей и мансардных окон, а также СПК специального назначения (противопожарных, взрывозащитных), а также изделий, предназначенных для применения в неотапливаемых помещениях.
В настоящем стандарте использованы нормативные ссылки на следующие документы:
ГОСТ 166 (ИСО 3599-76) Штангенциркули. Технические условия
ГОСТ 427 Линейки измерительные металлические. Технические условия
ГОСТ 7502 Рулетки измерительные металлические. Технические условия
ГОСТ 11358 Толщиномеры и стенкомеры индикаторные с ценой деления 0,01 и 0,1 мм. Технические условия
ГОСТ 23166 Конструкции оконные и балконные светопрозрачные ограждающие. Общие технические условия
ГОСТ 24297 Верификация закупленной продукции. Организация проведения и методы контроля
ГОСТ 30494 Здания жилые и общественные. Параметры микроклимата в помещениях
ГОСТ 30971 Швы монтажные узлов примыкания оконных блоков к стеновым проемам. Общие технические условия
ГОСТ 31167-2009 Здания и сооружения. Методы определения воздухопроницаемости ограждающих конструкций в натурных условиях
ГОСТ 34378-2018 Конструкции ограждающие светопрозрачные. Окна и двери. Производство монтажных работ, контроль и требования к результатам работ
ГОСТ 34379 Конструкции ограждающие светопрозрачные. Правила обследования технического состояния в натурных условиях
ГОСТ Р 51872 Документация исполнительная геодезическая. Правила выполнения
ГОСТ Р 52749 Швы монтажные оконные с паропроницаемыми саморасширяющимися лентами. Технические условия
ГОСТ Р 53338 Ленты паропроницаемые саморасширяющиеся самоклеящиеся строительного назначения. Технические условия
ГОСТ Р 59134 Конструкции ограждающие светопрозрачные. Монтаж модулей и элементов для фасадов светопрозрачных навесных. Правила и контроль выполнения работ
ГОСТ Р 59495 Конструкции ограждающие светопрозрачные. Крепление оконных и балконных дверных блоков в световых проемах. Правила и контроль выполнения работ
ГОСТ Р 59523 Материалы строительные герметизирующие отверждающиеся. Общие технические условия
ГОСТ Р 59579 Конструкции ограждающие светопрозрачные. Сборка и монтаж из комплектов заводской готовности. Правила и контроль выполнения работ
ГОСТ Р 59583 Конструкции ограждающие светопрозрачные. Остекление балконов. Правила и контроль выполнения монтажных работ
ГОСТ Р 70075 Герметики для организации монтажных швов узлов примыкания оконных блоков к стеновым проемам. Технические условия
Примечание - При пользовании настоящим стандартом целесообразно проверить действие ссылочных стандартов (сводов правил) в информационной системе общего пользования - на официальном сайте Федерального агентства по техническому регулированию и метрологии в сети Интернет или по ежегодному информационному указателю "Национальные стандарты", который опубликован по состоянию на 1 января текущего года, и по выпускам ежемесячного информационного указателя "Национальные стандарты" за текущий год. Если заменен ссылочный документ, на который дана недатированная ссылка, то рекомендуется использовать действующую версию этого документа с учетом всех внесенных в данную версию изменений. Если заменен ссылочный документ, на который дана датированная ссылка, то рекомендуется использовать версию этого документа с указанным выше годом утверждения (принятия). Если после утверждения настоящего стандарта в ссылочный документ, на который дана датированная ссылка, внесено изменение, затрагивающее положение, на которое дана ссылка, то это положение рекомендуется применять без учета данного изменения. Если ссылочный документ отменен без замены, то положение, в котором дана ссылка на него, рекомендуется применять в части, не затрагивающей эту ссылку. Сведения о действии сводов правил целесообразно проверить в Федеральном информационном фонде стандартов.
3 Термины, определения и сокращения
3.1 В настоящем стандарте применены следующие термины с соответствующими определениями:
3.1.1 акт освидетельствования скрытых работ: Акт освидетельствования работ, оказывающих влияние на безопасность объекта капитального строительства, в соответствии с технологией строительства, контроль результатов выполнения которых не может быть проведен после их выполнения.
Примечание - Перечень скрытых работ, подлежащих освидетельствованию, определяется подразделом "Общие указания" раздела "Общие данные" соответствующего комплекта рабочих чертежей рабочей документации.
3.1.2 витражные светопрозрачные конструкции (строительные витражи): Крупногабаритные, как правило, многоячеистые конструкции из рамочных элементов со светопрозрачным заполнением, устанавливаемые в стеновые проемы зданий путем крепления профилей коробки (рамы) непосредственно к откосу проема (в отличие от навесных светопрозрачных фасадных конструкций).
3.1.3
входной контроль: Проверка соответствия покупаемых или получаемых материалов, изделий и оборудования проектной и рабочей документации, а также требованиям нормативных документов государства, принявшего настоящий стандарт, стандартов, сертификатов соответствия (с протоколами испытаний), технических условий или технических свидетельств. |
3.1.4 герметизация: Процесс по ограничению проницаемости для воздуха, воды и пара стен, стыков соединений конструкций в зданиях и сооружениях и/или их узлов, элементов.
Примечание - Требования к герметичности узлов присоединения устанавливаются в проектной/рабочей документации в зависимости от функционального назначения зданий (сооружений) и условий эксплуатации.
3.1.5 герметик: Вязкотекучий материал, который после внесения в стык образует эластичный или пластоэластичный слой, используется в зазорах между сборными элементами с целью защиты стыков соединений от проникновения воздуха, воды и пара.
3.1.6 герметизирующие и уплотняющие материалы и изделия: Материалы и изделия на основе полимеров, которые наносят или устанавливают в зазоры между сборными элементами с целью защиты стыковых соединений от проникания воздуха, воды и пара.
Примечание - В качестве материалов для герметизации узлов присоединения могут использоваться специальные изделия заводского изготовления, в том числе саморасширяющиеся уплотнительные ленты, если их применение установлено в рабочей документации и технологической карте.
3.1.7
гидроизоляция монтажного шва: Защита монтажного шва со стороны улицы, обеспечивающая его водонепроницаемость, а также повышающая воздухо- и звуконепроницаемость окна. |
3.1.8 монтажный зазор: Пространство между поверхностью откосов стенового (светового) проема и коробкой СПК.
3.1.9
монтажный шов: Заполнение монтажного зазора тепло- и звукоизоляционными материалами различного вида с заданными характеристиками. |
3.1.10
общий журнал работ: Основной документ, отражающий последовательность осуществления строительства, реконструкции, капитального ремонта объекта капитального строительства, в том числе сроки и условия выполнения всех работ, а также содержащий сведения о строительном контроле и государственном строительном надзоре. |
3.1.11
пароизоляция монтажного шва: Защита монтажного шва со стороны помещения, обеспечивающая его воздухонепроницаемость и исключающая диффузию водяного пара. |
3.1.12 стык: Область в непосредственной близости от границ сопрягаемых строительных элементов, заделка (уплотнение) которой превращает эти элементы в единую конструкцию.
3.1.13 торцевой [боковой] монтажный зазор: Пространство между торцевой поверхностью коробки СПК и поверхностью откоса стенового (светового) проема.
3.1.14 узел присоединения [примыкания]: Конструктивная система, обеспечивающая сопряжение несущих конструкций или откосов стеновых проемов с коробкой СПК и состоящая в общем случае из коробки СПК, монтажного шва, его водо- и пароизоляции, системы крепежа, части ограждающей конструкции, ограниченной областью распространения теплотехнической неоднородности на ее внутренней поверхности вблизи проема, а в частных случаях дополненная элементами отделки откосов, подоконником, отливом и другими элементами, предусмотренными ПД.
3.1.15 фронтальный монтажный зазор: Пространство между лицевой поверхностью коробки СПК и поверхностью четверти (фальшчетверти) стенового проема.
3.2 В настоящем стандарте применены следующие сокращения:
НД - нормативный документ;
ПД - проектная документация;
ПОС - проект организации строительства;
ППР - проект производства работ;
РД - рабочая документация;
СМР - строительно-монтажные работы;
СПК - светопрозрачная ограждающая конструкция;
СТО - стандарт организации;
ТК - технологическая карта;
ТУ - технические условия.
4.1 Герметизацию узлов присоединения СПК выполняют для обеспечения разделения двух отличных друг от друга сред в целях ограничения проникновения воздуха, воды и пара в область стыков и соединений элементов строительных конструкций и защиты их от неблагоприятных факторов внешней среды.
Герметизацию монтажных швов с внутренней стороны производят для предотвращения проникновения влажного воздуха помещения в монтажные швы.
4.2 Работы по устройству герметизации узлов присоединения СПК следует выполнять в соответствии с ПД, РД, ОТД (ППР, ТК), которая должна быть составлена согласно требованиям
СП 48.13330.2019, требованиям НД, настоящего стандарта с учетом ТУ и рекомендаций производителей СПК, герметизирующих материалов и изделий.
4.3 Для работ по герметизации узлов присоединения светопрозрачных ограждающих конструкций следует применять материалы, соответствующие требованиям национальных и межгосударственных стандартов, СТО, ТУ, ПД, РД, ОТД и свидетельствам о технической пригодности.
4.4 Материалы и изделия для герметизации монтажных швов применяют исходя из назначения зданий и сооружений и климатических особенностей в соответствии с ПД и РД.
По своему виду герметизирующие материалы и изделия подразделяют на герметики и погонажные изделия.
Классификация, требования к комплектности, маркировка, требования безопасности, правила приемки, методы испытаний, требования по транспортированию и хранению, указания по применению герметиков установлены в
ГОСТ Р 59523,
ГОСТ Р 70075.
Требования к паропроницаемым лентам установлены в
ГОСТ Р 53338. Требования к погонажным изделиям устанавливают в НД на соответствующие конкретные изделия.
4.5 Конструкции узлов присоединения устанавливают в РД на узлы присоединения конкретных видов СПК к несущим конструкциям и/или стеновым проемам с учетом действующих НД.
4.6 Требования к техническим характеристикам узлов присоединения, к материалам и изделиям для их устройства устанавливают в РД и конструкторской документации согласно
ГОСТ 23166 и
ГОСТ 30971.
4.7 Порядок выполнения работ по герметизации узлов присоединения устанавливают в РД, ППР и ТК.
4.8 Рабочие чертежи узлов примыканий должны содержать:
- конструктивное решение узлов присоединения;
- схемы установки, вид, тип и количество крепежных элементов согласно
ГОСТ Р 59495;
- узлы присоединения подоконной доски, оконного слива, облицовки (отделки) оконных откосов к оконному блоку и стене;
- состав монтажных швов, размещение и характеристику герметизирующих материалов.
В общем случае монтажные швы узлов примыканий оконных блоков к стеновым проемам должны включать следующие функциональные слои:
- наружный гидроизоляционный слой;
- центральный теплоизоляционный слой;
- внутренний пароизоляционный слой.
В зависимости от типа ограждающих конструкций могут вводиться дополнительные слои.
4.9 Условия для безопасного труда в рабочей зоне должны быть созданы в соответствии с требованиями
СП 48.13330.2019,
СП 49.13330.2010, правилами охраны труда
[1] -
[4] и
правилами пожарной безопасности при производстве СМР и установлены в ПОС и ОТД.
4.10 Материалы, применяемые для устройства узлов присоединения, должны быть совместимы между собой, а также с материалами проема, коробки СПК и крепежных деталей. Указания по совместимости следует отражать в РД (ППР и ТК).
Материалы, выходящие на наружную поверхность узла присоединения, должны быть устойчивы к воздействию эксплуатационных температур в диапазоне от температуры наиболее холодной пятидневки района эксплуатации согласно указаниям СП 131.13330.2020
(таблица 3.1).
4.11 Материалы для устройства узлов присоединения должны транспортироваться и храниться в условиях, соответствующих рекомендациям производителя.
5 Подготовительные и организационные работы
5.1.1 Организация производства работ по герметизации узлов присоединения при выполнении СМР по устройству окон, балконных дверей и витражных конструкций соответствует положениям
СП 48.13330.2019 и осуществляется согласно требованиям
ГОСТ 34378 и настоящего стандарта.
5.1.2 В соответствии с СП 48.13330.2019
(пункт 9.3) подрядчик, осуществляющий СМР, в составе строительного контроля выполняет:
- входной контроль РД на устройство и герметизацию узлов присоединения СПК, предоставленной застройщиком (техническим заказчиком);
- приемку фронта работ - контроль исполнения световых проемов и конструкций в рабочей зоне;
- входной контроль изделий, элементов и материалов для устройства узлов присоединения, поставляемых на строительную площадку, проверку их соответствия ТУ (ГОСТ) и договорам на поставку с учетом РД, НД, сроков годности с оформлением журнала входного контроля и актов приемки продукции;
- операционный контроль в ходе выполнения работ по устройству узлов присоединения и их герметизации;
- контроль качества завершенных работ по устройству и герметизации узлов присоединения на соответствие РД и НД.
5.1.3 Подготовительные мероприятия заканчивают до начала производства монтажных работ. Окончание подготовительных работ на рабочем месте оформляют актом.
5.2 Входной контроль рабочей документации
5.2.1 Перед проведением СМР по имеющейся у застройщика рабочей документации по заполнению световых проемов здания подрядчик осуществляет входной контроль полученной от заказчика (застройщика) или генподрядчика РД с учетом требований
ГОСТ 34378 и
ГОСТ Р 59495.
При входном контроле РД следует проводить проверку ее комплектности и достаточности, содержащейся в ней технической информации для производства работ по герметизации узлов присоединения, наличия согласований и утверждений.
Входной контроль включает проверку наличия сопроводительных документов, содержащих информацию о качестве поставляемой продукции, в том числе о качестве поступившей партии продукции, заполненных в соответствии с нормативными документами, предусмотренными действующим законодательством.
Все несоответствия в документации разрешают до начала работ и оформляют документально.
Конструкция узлов присоединения должна обеспечивать паронепроницаемость со стороны помещения, а также свободный выход пара с уличной стороны.
Конструкции узлов присоединения должны быть устойчивы к различным эксплуатационным воздействиям: атмосферным факторам, температурно-влажностным воздействиям, как с наружной стороны, так и со стороны помещения, температурным, усадочным и другим деформациям, динамическим (ветровым, эксплуатационным и др.) нагрузкам.
Примеры конструкций узлов присоединения (архитектурных деталей) приведены в
приложении А.
5.2.3 Деформационная устойчивость элементов узла присоединения указывается в РД и должна быть такой, чтобы обеспечивалась нормальная его работа при расчетных размерах зазоров, геометрических размерах СПК и оконного проема, деформациях, не превышающих указанных в НД для конкретного класса монтажного шва.
5.3 Контроль качества исполнения стеновых (световых) проемов
Работы по устройству герметизации узлов присоединения СПК следует выполнять после окончания работ по монтажу несущих конструкций стен, приемки фронта работ и приемки исполнительной документации на крепление СПК. Приемка включает в себя проверку соответствия фактически выполненных работ рабочим чертежам.
Приемка фронта работ и контроль качества исполнения стеновых (световых) проемов - согласно ГОСТ 34378-2018
(подраздел 5.2).
5.4 Входной контроль материалов и изделий
5.4.1 В соответствии с ГОСТ 34378-2018
(подраздел 5.4),
ГОСТ 24297 и СП 48.13330.2019
(пункт 9.9) до начала выполнения работ по герметизации узлов присоединения подрядчик производит приемку материалов и изделий от поставщика. При приемке материалов и изделий контролируют соответствие поставленных изделий виду (типу) и типоразмеру, указанным в РД, а также спецификациям. Кроме того, проверяют целостность упаковки, комплектность, наличие паспортов качества и свидетельств о качестве продукции.
5.4.2 Каждая партия материалов и изделий для герметизации, поставляемых на объект, сопровождается документом о качестве (паспортом), имеющим штамп, подтверждающий приемку техническим контролем предприятия-изготовителя, и документом о подтверждении соответствия.
При входном контроле осуществляют выборочные (верификационные) контрольные замеры и испытания материалов и изделий на соответствие показателям качества. Объем выборки указывают в ПОС.
В случае выполнения контроля и испытаний привлеченными лабораториями следует проверять документы об аккредитации данных лабораторий (СП 48.13330.2019,
пункт 9.11). Результаты входного контроля следует фиксировать в журнале входного контроля.
5.4.3 При выявлении несоответствия показателей качества поставленных герметизирующих материалов и изделий сопроводительным документам поставщика рекомендуется организовать определение этих показателей в специализированной испытательной лаборатории (центре).
5.4.4 В случае выявления при входном контроле герметизирующих материалов и изделий, не соответствующих требованиям, установленным в ПД, РД и НД, их применение для монтажных работ не допускается.
5.4.5 В случае если в ходе проверки соблюдения правил складирования и хранения выявлены нарушения установленных норм и правил, применение герметизирующих материалов и изделий, хранившихся с нарушением, для выполнения работ не допускается до подтверждения соответствия показателей качества данных материалов и изделий требованиям РД, стандартов, ТУ и сводов правил.
6 Производство монтажных работ
6.1 Работы по герметизации узлов присоединения выполняют по технологическим картам в соответствии с РД и ППР.
6.3 Работы по герметизации узлов присоединения перечислены в ГОСТ 34378-2018
(пункт 7.1.7).
6.4 В зависимости от конструктивного решения узла присоединения на
рисунке 1 представлены различные варианты применения герметизирующих материалов и изделий.
а, б, в, г - однослойные или двухслойные стены
без эффективного утеплителя; д, е, ж, з - многослойные стены
с эффективным утеплителем, расположенным в толще стены;
и, к, л, м - наружные стены с фасадной теплоизоляцией;
1 - уголковый профиль; 2 - стартовый профиль;
3 - облицовочная панель; 4 - откосная система профилей;
5 - нащельник из ПВХ или древесины; 6 - термовкладыш;
7 - фальшчетверть; 8 - утеплитель фасадной системы;
9 - пенный утеплитель; 10 - изоляционная саморасширяющаяся
лента (паропроницаемый герметик); 11 - пароизоляционная
лента (герметик); 12 - штукатурка; 13 - атмосферостойкий
герметик; 14 - элемент вентилируемой фасадной системы;
15 - широкая оконная коробка
B - рекомендуемое размещение СПК; L - толщина стены
(или наружной ограждающей конструкции);

- толщина
дополнительного слоя утеплителя
Рисунок 1 - Примеры применения герметизирующих материалов
и изделий при различных вариантах узлов присоединения СПК
6.5 Обеспечить очистку поверхностей светопроема и герметизируемых элементов узла присоединения в соответствии с требованиями ГОСТ 34378-2018
(пункт 7.1.2).
6.6 Грунтование поверхностей светопроема производится праймером, совместимым как с материалами стены, так и с материалами узла присоединения.
Технологию нанесения праймера следует выполнять в соответствии с рекомендациями производителя.
6.7 При формировании/изготовлении/нанесении монтажного шва, необходимо обеспечить соответствие выполнения технологии рекомендациям производителя.
При применении монтажной пены следует контролировать соответствие температурного режима применения классу монтажной пены. Следует производить увлажнение монтажного зазора. Не рекомендуется срезание излишков полимеризовавшейся пены до окончания процессов полимеризации.
При применении минераловатных, полистирольных или иных теплоизоляционных блоков и штучных изделий требуется обеспечить их плотное прилегание как к поверхности светопроема, так и к торцевой поверхности коробки оконного блока. Допускается их совместное применение с монтажной пеной.
6.8 Гидроизоляционные работы по защите узла присоединения допускается производить как до формирования монтажного шва, так и по его завершении.
При применении гидроизоляционных лент требуется обеспечить полное укрытие монтажного шва. Допускается сращивание лент как по длине, так и по ширине. Ширина контакта адгезивных слоев ленты с поверхностями - не менее 10 мм.
При применении саморасширяющихся уплотнительных лент допустимо их первоначальное приклеивание как к внешней лицевой поверхности коробки оконного блока, так и к поверхности четверти светового проема. Сращивание как по длине, так и в угловых соединениях допускается только встык. Соответствие лент величине фронтального зазора определяют по технической документации производителя. Выполнение работ по герметизации надлежит производить в соответствии с
ГОСТ Р 52749.
При применении паропроницаемых герметиков требуется обеспечить полное укрытие монтажного шва. Минимальная и максимальная толщина нанесения - в соответствии с рекомендациями производителя. Ширина контакта герметика с поверхностями - не менее 3 мм.
6.9 Пароизоляционные работы по защите узла присоединения производят после формирования монтажного шва, если в ППР не указано иное.
При применении пароизоляционных лент требуется обеспечить полное укрытие монтажного шва. Допускается сращивание лент как по длине, так и по ширине. Ширина контакта адгезивных слоев ленты с поверхностями - не менее 10 мм. Выполнение работ по герметизации производят в соответствии с
ГОСТ Р 52749.
При применении герметиков требуется обеспечить полное укрытие монтажного шва. Минимальная и максимальная толщина нанесения - в соответствии с рекомендациями производителя. Ширина контакта герметика с поверхностями - не менее 3 мм.
6.10 При устройстве утепления оконных откосов необходима защита от увлажнения парообразной влагой не только пенного утеплителя монтажного шва, но и утеплителя оконных откосов; в качестве пароизоляции при отделке оконных откосов могут применяться: пароизоляционные пленки или фольга, расположенная под облицовкой оконного откоса (при условии тщательной герметизации мест примыканий к оконному блоку, ограждающей конструкции и между собой).
6.11 При облицовке оконных откосов панелями из вспененного ПВХ или теплоизоляционными панелями с отделкой из ПВХ (при условии герметизации мест примыканий облицовочных панелей к оконному блоку, ограждающей конструкции и между собой и обеспечения долговечности произведенной изоляции) устройство пароизоляционного слоя монтажных швов допускается не производить, кроме нижнего горизонтального участка.
6.12 Создание дополнительного водо- и пароизоляционного слоя осуществляют для обеспечения требований
СП 50.13330.2012 в обоснованных случаях и указывают в РД и ППР. Работы по организации дополнительного слоя проводят после окончания операций по подготовке и приемке стеновых проемов. Материалы для организации дополнительного слоя используют в соответствии с рекомендациями производителя.
6.13 Данные о выполнении работ по устройству герметизации узлов присоединения ежедневно вносят в журнал работ по устройству окон и балконных дверей (см. ГОСТ 34378-2018,
приложение А), а также фиксируют по ходу монтажа СПК на исполнительных схемах в соответствии с правилами
ГОСТ Р 51872.
6.14 Примеры выполнения технологических карт и рекомендаций по герметизации приведены в
приложении Б и
[8] -
[11].
6.15 Качество выполнения работ по герметизации обеспечивают операционным контролем технологических процессов подготовительных и основных работ, а также контролем при приемке работ. По результатам операционного контроля технологических процессов герметизации узлов присоединения СПК составляют акты освидетельствования скрытых работ согласно ГОСТ 34378-2018
(приложение М) и
[5].
7 Контроль выполнения и требования к результатам работ
7.1 Операционный контроль
7.1.1 В ходе операционного контроля лицо, осуществляющее строительство, проверяет соответствие последовательности и состава выполненных работ, соблюдение режимов и соответствие показателей качества выполнения операций и их результатов требованиям ПД, НД и технической документации, распространяющейся на данный этап работ.
Результаты операционного контроля следует фиксировать в
общем журнале работ или специальном журнале по отдельным видам работ, форма которых приведена в
[6].
| | ИС МЕГАНОРМ: примечание. В официальном тексте документа, видимо, допущена опечатка: имеется в виду пункт [5], а не пункт [6]. | |
7.1.2 Контролю подлежат скрытые виды работ на каждом этапе строительства с составлением акта освидетельствования скрытых работ согласно
[6] (см.
приложение 3).
7.1.3 Операционный контроль следует проводить визуально, а также инструментально с помощью аттестованных средств измерения (линейки по
ГОСТ 427 или рулетки по
ГОСТ 7502) и утвержденных в ТК методик контроля.
7.1.4 В процессе проведения работ операционному контролю подлежат их следующие виды:
- выполнение узлов присоединения СПК;
- герметизация узлов присоединения СПК.
7.1.5 Подготовку поверхностей оконных проемов оценивают визуально с расстояния 400 - 600 мм при освещенности не менее 300 лк.
7.1.6 Места выполнения контрольных операций, их частота, методы и средства измерений устанавливаются в ОТД.
Контроль качества узлов присоединения производят на трех единицах узлов. Выборку узлов присоединения, подлежащих проверке, производят в случайном порядке. При этом в выборку включают все основные характерные виды узлов присоединения согласно ППР и ТК.
7.1.7 При завершении каждой технологической операции этапа скрытых работ/группы операций по изготовлению монтажных узлов присоединения следует производить контроль и оформлять акт освидетельствования скрытых работ.
При выполнении контроля проводят вскрытие гидроизоляционного и пароизоляционного слоев монтажного шва. При выборочном (верификационном) контроле вскрытие выполняют на участке монтажного шва длиной (50 + 10) мм. Объем выборки устанавливают в ПОС согласно
СП 48.13330.2019. Изъятие образцов выполняют на расстоянии не менее 300 мм друг от друга подрезкой герметизирующего состава (ленты) в поперечном (монтажному шву) направлении. От прилегающих к монтажному шву поверхностей (коробка СПК и поверхность проема) производят отслаивание адгезионных монтажных полос или подрезку герметика и пенного утеплителя вдоль контактирующих с ними поверхностей.
Инструментально надлежит контролировать толщину и ширину слоя нанесения, а также ширину зоны контакта герметика с поверхностями, ограничивающими монтажный зазор.
Вскрытые участки герметизируются материалами, применявшимися ранее, или материалами с аналогичными характеристиками.
7.1.8 Проводят визуальный контроль качества установки саморасширяющейся уплотнительной ленты на предмет отсутствия разрывов и отхождения ленты от поверхностей зазора. Инструментально надлежит контролировать соблюдение рабочего расширения ленты.
7.1.9 Визуально контролируют качество установки водоизоляционных диффузионных лент под отливом или в иных местах их применения. Не допускается наличие отслоений и разрывов лент. Следует проверить надежность и тщательность заделки угловых соединений или, в случае установки гидроизоляционных диффузионных лент под отливом, примыканий концов отрезка ленты к проему.
7.1.10 Визуально контролируют качество установки пароизоляционных лент, отсутствие отслоений и разрывов лент, а также надежность и тщательность заделки угловых соединений.
7.1.11 Визуально контролируют герметизацию головок проникающих крепежных элементов.
7.1.12 Результаты операционного контроля должны быть задокументированы в общем и специальном журналах работ.
7.1.13 Приемку качества работ по герметизации узлов примыканий и их элементов оформляют актом сдачи-приемки. К акту сдачи-приемки прилагают копии протоколов сертификационных испытаний узлов примыканий и санитарно-эпидемиологические заключения на примененные материалы. По согласованию между сторонами к акту сдачи-приемки могут прилагаться иные дополнительные документы.
7.2.1 Методы испытаний герметизирующих материалов и изделий при входном контроле качества устанавливают в ОТД по
СП 48.13330.2019 с учетом требований НД на эти материалы.
7.2.2 Оценку качества герметизации узлов присоединений к несущим конструкциям и в стеновых проемах по окончании строительства (в том числе после капитального ремонта, реконструкции) зданий и сооружений надлежит выполнять по
ГОСТ 34379.
7.2.3 Оценку воздухопроницаемости узлов присоединения проводят в соответствии с ГОСТ 31167-2009
(подраздел 8.9) и следующим дополнением: перед началом проведения испытаний следует тщательно герметизировать светопрозрачные и несветопрозрачные элементы оконного блока, открывающиеся элементы оконного блока и импостные соединения и присоединения доборных элементов. Допускается как поэлементная, так и комплексная герметизация. Показатель воздухопроницаемости должен соответствовать
ГОСТ 30971.
7.2.4 Оценку геометрических параметров герметика проводят после его полимеризации путем замера толщины слоя герметика, отобранного в соответствии с
7.1.7. Толщину слоя герметика определяют в трех точках посередине образца по оси, перпендикулярной оси бруска коробки оконного блока. Расстояния между точками замера соответствуют
1/
4 торцевого или фронтального зазора.
Толщину слоя герметика принимают как среднее трех измерений.
Используют следующие критерии оценки: для пароизоляционных герметиков величина среднего значения не должна быть ниже значения, установленного в РД и рекомендованного производителем; для паропроницаемых гидроизоляционных герметиков среднее значение находится между минимально и максимально допустимыми значениями толщины герметика, установленными в РД и рекомендованными производителем.
Ширину полосы контакта герметика с поверхностями светопроема и оконного блока определяют путем замера толщины образца, отобранного в соответствии с
7.1.7, вдоль краев, примыкающих к соответствующим поверхностям.
В качестве результата замеров принимают среднее трех измерений, выполняемых с каждой из сторон, посередине стороны и отступив от нее 20 - 25 мм.
Критерием оценки является соответствие результата измерения требованиям РД и рекомендациям производителя, при этом должны быть соблюдены требования
ГОСТ 30971.
Замер производят посредством толщиномера ТН-10, ТР-10 или аналогичных по
ГОСТ 11358, допускается производство измерения штангенциркулем по
ГОСТ 166.
7.2.5 Контроль рабочего расширения саморасширяющейся уплотнительной ленты надлежит производить путем сравнения результата замера величины фронтального зазора, произведенного в трех точках на расстоянии не менее 300 мм друг от друга, с величиной, установленной в РД уплотняемого зазора примененной саморасширяющейся уплотнительной ленты.
Замер расширения ленты производят посредством штангенциркуля с нутромером по
ГОСТ 166, допускается применение металлической линейки по
ГОСТ 427 или калибров.
7.2.6 По указанию застройщика, в рамках приемочного контроля допускается проведение верификационных выборочных лабораторных испытаний согласно
СП 48.13330.2019.
(рекомендуемое)
ПРИМЕРЫ АРХИТЕКТУРНЫХ ДЕТАЛЕЙ (УЗЛОВ)
На
рисунках А.1 и
А.2 приведены общие схемы устройства окна и его элементы.
1 - стена; 2 - отлив; 3 - гидроизоляция монтажного шва;
4 - монтажный шов; 5 - подставочный профиль;
6 - воздухоизоляционная прокладка; 7 - стеклопакет;
8 - профиль створки оконного блока; 9 - профиль коробки
оконного блока; 10 - опорная колодка; 11 - пароизоляция
монтажного шва; 12 - подоконная доска; А - выход (свес)
слива; Б - выход подоконной доски
Рисунок А.1 - Общая схема устройства нижнего узла
присоединения окна к несущей конструкции
1 - стена; 2 - пароизоляция монтажного шва; 3 - монтажный
шов; 4 - профиль створки оконного блока;
5 - стеклопакет; 6 - профиль коробки оконного блока;
7 - гидроизоляция монтажного шва; 8 - четверть
Рисунок А.2 - Общая схема устройства боковых и верхнего узлов
присоединения окна к несущей конструкции
На
рисунках А.3 -
А.5 приведены схемы узлов присоединения (архитектурных деталей) с применением гидро- и пароизоляционных лент.
1 - стена; 2 - монтажный шов; 3 - саморасширяющаяся
уплотнительная лента; 4 - паропроницаемый герметик;
5 - профиль коробки оконного блока; 6 - профиль створки
оконного блока; 7 - герметик; 8 - элемент крепления;
9 - пароизоляционная лента
Рисунок А.3 - Узел верхнего (бокового) примыкания в зданиях
с однослойной конструкцией стен (вариант 1)
1 - элемент крепления; 2 - стена; 3 - монтажный шов;
4 - саморасширяющаяся уплотнительная лента;
5 - профиль коробки оконного блока; 6 - профиль створки
оконного блока; 7 - герметик; 8 - пароизоляционная лента;
9 - теплоизоляционный вкладыш
Рисунок А.4 - Узел верхнего (бокового) примыкания в зданиях
с однослойной конструкцией стен (вариант 2)
1 - саморасширяющаяся уплотнительная лента; 2 - стена;
3 - отлив; 4 - гидроизоляционная лента; 5 - опорная колодка;
6 - подставочный профиль; 7 - профиль коробки оконного
блока; 8 - профиль створки оконного блока; 9 - герметик;
10 - элемент крепления; 11 - монтажный шов;
12 - пароизоляционная лента; 13 - подоконная доска
Рисунок А.5 - Узел нижнего примыкания в зданиях
с однослойной конструкцией стен
На
рисунках А.6 -
А.11 приведены примеры узлов установки окон в новом строительстве с применением гидро- и пароизоляционных лент.
1 - элемент крепления; 2 - стена; 3 - монтажный шов;
4 - саморасширяющаяся уплотнительная лента; 5 - профиль
коробки оконного блока; 6 - профиль створки оконного блока;
7 - герметик; 8 - пароизоляционная лента; 9 - закладной
элемент стены
Рисунок А.6 - Узел верхнего (бокового) примыкания в зданиях
с трехслойной конструкцией стен
1 - стена; 2 - отлив; 3 - гидроизоляционная лента;
4 - опорная колодка; 5 - подставочный профиль; 6 - профиль
коробки оконного блока; 7 - профиль створки оконного блока;
8 - герметик; 9 - пароизоляционная лента; 10 - монтажный шов;
11 - элемент крепления; 12 - закладной элемент стены;
13 - подоконная доска
Рисунок А.7 - Узел нижнего примыкания
в зданиях с трехслойной конструкцией стен
1 - теплоизолирующий слой; 2 - гидроизоляционная лента;
3 - монтажный шов; 4 - демпфирующая прокладка; 5 - профиль
коробки оконного блока; 6 - профиль створки оконного блока;
7 - герметик; 8 - элемент крепления; 9 - пароизоляционная
лента; 10 - стена
Рисунок А.8 - Узел верхнего (бокового) примыкания в зданиях
с внешней теплоизоляцией стен
1 - саморасширяющаяся уплотнительная лента; 2 -
теплоизолирующий слой; 3 - отлив; 4 - гидроизоляционная
лента; 5 - опорная колодка; 6 - подставочный профиль;
7 - профиль коробки оконного блока; 8 - профиль створки
оконного блока; 9 - герметик; 10 - пароизоляционная лента;
11 - монтажный шов; 12 - элемент крепления; 13 - стена;
14 - подоконная доска
Рисунок А.9 - Узел нижнего примыкания
в зданиях с внешней теплоизоляцией стен
1 - детали внешней отделки; 2 - гидроизоляционная лента;
3 - гидроветрозащита теплоизоляционного слоя;
4 - теплоизоляционный слой; 5 - монтажный шов; 6 - профиль
коробки оконного блока; 7 - профиль створки оконного блока;
8 - герметик; 9 - элемент крепления; 10 - пароизоляционная
лента; 11 - элемент отделки внутренних откосов; 12 - стена
Рисунок А.10 - Узел верхнего (бокового) примыкания
с выносом в зону теплоизолирующего слоя, в зданиях
с внешней теплоизоляцией стен
1 - гидроветрозащита теплоизоляционного слоя; 2 - детали
внешней отделки; 3 - гидроизоляционная лента;
4 - теплоизоляционный слой; 5 - выносной кронштейн крепления
оконного блока; 6 - опорная колодка; 7 - профиль коробки
оконного блока; 8 - профиль створки оконного блока; 9 -
герметик; 10 - пароизоляционная лента; 11 - монтажный шов;
12 - доска антисептированная; 13 - элемент крепления;
14 - паронит; 15 - стена; 16 - подоконная доска
Рисунок А.11 - Узел нижнего примыкания с выносом
в зону теплоизолирующего слоя, в зданиях
с внешней теплоизоляцией стен
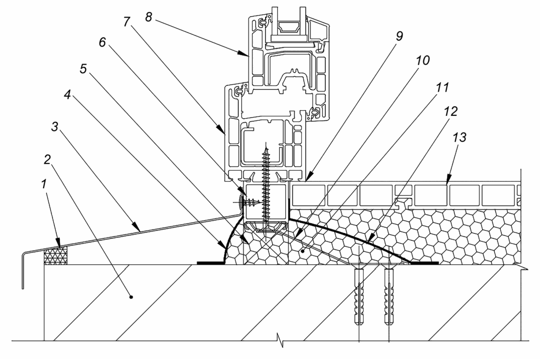
На
рисунках А.12 -
А.14 приведены схемы монтажного шва узла присоединения окна в новом строительстве с применением герметиков.
1 - кирпичная стена; 2 - анкерный дюбель; 3 - дополнительный
водо- и пароизоляционный слой монтажного шва
<*>;
4 - пароизоляционный герметик; 5 - монтажная пена;
6 - паропроницаемый герметик; 7 - оконный блок
--------------------------------
<*> Позиции не обязательны к применению.
Рисунок А.12 - Схема монтажного шва узла примыкания
оконного блока к стеновому проему с четвертью
1 - кирпичная стена; 2 - анкерный дюбель; 3 - дополнительный
водо- и пароизоляционный слой монтажного шва
<*>;
4 - пароизоляционный герметик; 5 - паропроницаемый герметик;
6 - монтажная пена; 7 - оконный блок
--------------------------------
<*> Позиции не обязательны к применению.
Рисунок А.13 - Схема монтажного шва узла примыкания
оконного блока к стеновому проему без четверти
1 - оконный блок; 2 - подставочный профиль;
3 - паропроницаемый герметик; 4 - пароизоляционный герметик;
5 - монтажная пена; 6 - дополнительный водо-
и пароизоляционный слой монтажного шва
<*>;
7 - кирпичная
стена; 8 - анкерный дюбель; 9 - оцинкованный отлив
--------------------------------
<*> Позиции не обязательны к применению.
Рисунок А.14 - Схема монтажного шва узла примыкания
оконного блока к стеновому проему с четвертью,
нижний горизонтальный шов
(рекомендуемое)
ПРИМЕРНАЯ ПОСЛЕДОВАТЕЛЬНОСТЬ ТЕХНОЛОГИЧЕСКИХ ОПЕРАЦИЙ
МОНТАЖА ОКОННЫХ БЛОКОВ В НАРУЖНЫХ СТЕНАХ
РАЗЛИЧНОГО КОНСТРУКТИВНОГО РЕШЕНИЯ
Б.1 В
таблице Б.1 приведен пример технологических операций монтажа оконных блоков в стеновых панелях с отделкой внутренних откосов декоративными панелями с указанием операций, включающих работы по герметизации.
Таблица Б.1
Последовательность технологических операций монтажа
оконных блоков в стеновых панелях с отделкой
внутренних откосов декоративными панелями
Наименование технологической операции | Описание технологической операции | Используемые материалы | Инструменты |
Подготовительные работы |
Подготовка поверхности оконного проема | Очистить поверхности проема от грязи, пыли; обезжирить поверхности, имеющие масляные загрязнения; выполнить упрочнение рыхлых, осыпающихся участков | Грунтовка, растворитель | Шпатель, щетка металлическая, щетка |
Выровнять поверхности четвертей и внутренних откосов. Кромки и поверхности откосов не должны иметь выколов, раковин, наплывов раствора и других повреждений высотой (глубиной) более 10 мм | Цементно-песчаный раствор, шпатлевка | Зубило (скарпель), молоток, шпатель, мастерок |
Грунтовка поверхности четверти | Выполнить грунтовку поверхностей четверти оконного проема в местах нанесения гидроизоляционных паропроницаемых лент (обработать поверхности внешней четверти шириной 30 - 35 мм, считая от внешней кромки четверти) | Праймер | Кисть-ручник |
Основные работы |
Устройство наружного водоизоляционного слоя | Удалить защитное антиадгезионное покрытие с изоляционной саморасширяющейся ленты, приклеить ленту к четверти оконного проема (адгезионной полосой к предварительно огрунтованной поверхности четверти на расстоянии 3 - 10 мм от края четверти) | Предварительно сжатая уплотнительная лента (ПСУЛ) | Рулетка, ножницы, прикаточный ролик |
Подготовка оконной коробки* | Удалить защитную пленку с внешней поверхности оконной коробки. Просверлить отверстия под крепежные элементы в соответствии с размещением закладных деталей | - | Электродрель |
Установка оконной коробки в стеновой проем* | Установить оконную коробку на монтажные клинья и/или несущие (опорные) колодки (несущие колодки устанавливают в проеме заранее) согласно технической документации | Несущие и дистанционные колодки | Строительный уровень, отвес |
Временное крепление оконной коробки* | Расклинить оконную коробку технологическими клиньями или зафиксировать специальными монтажными устройствами (технологические клинья устанавливаются в монтажный зазор верхнего горизонтального шва в районе угловых соединений оконной коробки) | Клинья или специальные монтажные устройства | Клинья, молоток, шуруповерт |
Механическое крепление оконной коробки* | Закрепить оконную коробку штатными крепежными элементами (строительными шурупами или дюбелями по ранее просверленным отверстиям) | Строительный шуруп | Шуруповерт |
Демонтаж технологических приспособлений* | Произвести демонтаж технологических клиньев или специальных монтажных устройств | - | Молоток или шуруповерт |
Установка распорных колодок* | Установить распорные колодки согласно схеме открывания створок (при необходимости следует фиксировать колодки от сдвига герметиком) | Колодки деревянные антисептированные или ластиковые, герметик | Пистолет для герметика, шуруповерт |
Навеска створок и установка элементов остекления* | Навесить створки и установить элементы остекления (при необходимости произвести регулировку фурнитуры в соответствии с техническими условиями производителя системы фурнитуры) | - | Молоток, ключ для регулировки фурнитуры |
Подготовка поверхности проема для монтажа сливов | Очистить нижнюю горизонтальную поверхность оконного проема от грязи и пыли. Обработать праймером зону нанесения паропроницаемой гидроизоляционной ленты | Праймер | Щетка-сметка, кисть-ручник |
Устройство гидроизоляционного слоя монтажного шва под сливом | Установить гидроизоляционную паропроницаемую ленту: отрезать ленту необходимой длины с припуском на формирование закраин; снять защитное антиадгезионное покрытие с бутилового адгезионного слоя ленты; закрепить ленту бутиловой полосой к обработанной поверхности проема; снять защитное покрытие с акрилового адгезионного слоя; наклеить ленту к внешней плоскости подставочного профиля | Диффузионная гидроизоляционная лента | Прикаточный ролик, ножницы, рулетка |
Установка слива | Отмерить и отрезать необходимую длину слива, закрепить шумогасящую прокладку; подогнать и установить на слив торцевые накладки. Подогнать слив с местом установки, установить торцы слива в заранее подготовленные штрабы. Примыкание торцевых накладок к поверхности стены заделать герметиком | Шумогасящая прокладка, герметик | Ножницы по металлу, рулетка, прикаточный ролик, пистолет для герметика |
Устройство внутреннего пароизоляционного слоя (1-й этап) | Установить пароизоляционную ленту: отрезать ленту необходимой длины; снять защитное антиадгезионное покрытие; ленту адгезионной полосой закрепить к обработанной праймером поверхности оконного проема | Пароизоляционная самоклеящаяся лента | Прикаточный ролик, ножницы, рулетка |
Устройство центрального слоя* | Заполнить монтажный зазор пенным утеплителем в следующей последовательности: установить баллон с утеплителем на адаптер монтажного пистолета, тщательно (встряхивать около 1 мин для перемешивания компонентов в баллоне); нанести утеплитель в зазор шва сплошным слоем, без пустот, разрывов и щелей, заполняя зазор на 2/3 от полного объема монтажного шва; провести тщательное уплотнение опорных колодок (при заполнении нижнего горизонтального шва) | Пенный утеплитель (полиуретановая монтажная пена) | Пистолет-дозатор |
Устройство внутреннего пароизоляционного слоя (2-й этап) | Снять защитное антиадгезионное покрытие с адгезионного слоя ленты; ленту клеящей полосой закрепить к поверхности стены; тщательно заделать угловые соединения, прикатать ленту валиком | Пароизоляционная самоклеящаяся лента | Прикаточный ролик с коническим валиком |
Установка подоконника** | Подоконник отрезать в размер по месту (для придания уклона в сторону помещения под подоконник установить опорные колодки); подоконник завести в штрабы проема, прижимая к подставочному профилю или нижнему бруску коробки. Зазор между подоконником и ограждающей конструкцией зачеканить цементно-песчаным раствором. Пригрузить подоконник на время отверждения пены. При наличии щели между подоконником и коробкой заделать щель герметиком | Колодки деревянные антисептированные или пластиковые, герметик | Молоток, строительный уровень, пистолет для монтажной пены |
Установка декоративных панелей** | Отмерить и отрезать необходимую длину декоративных панелей и смонтировать на оконном блоке, неплотности в соединениях уплотнить герметиком | Декоративная панель, герметик | Рулетка, нож, пистолет для герметика |
Контроль качества выполненных работ |
Контроль качества выполненных работ* | Провести контроль качества и комплектности смонтированных оконных блоков. Провести очистку (проверку) дренажных отверстий от строительного мусора; установить колпачки на крепежные элементы, сливные отверстия; проверить крепление фурнитуры, уплотняющих прокладок и произвести окончательную регулировку оконных створок. Оформить акт приемки-сдачи работ | - | Рулетка, линейка |
Примечание - Операции, обозначенные *, являются необходимыми при производстве работ по монтажу оконных блоков и сопутствующими (предшествующими или последующими работами) при герметизации узлов присоединения. При проведении операций, обозначенных **, выполняется герметизация стыков (зазоров) соединяемых изделий. |
Б.2 В
таблице Б.2 приведен пример технологических операций монтажа оконных блоков в наружных стенах вновь строящихся зданий с применением паропроницаемых и пароизоляционных герметиков.
Таблица Б.2
Последовательность технологических операций монтажа
оконных блоков в наружных стенах вновь строящихся зданий
с применением паропроницаемых и пароизоляционных герметиков
Наименование технологической операции | Описание технологической операции | Используемые материалы | Инструменты |
Работы, связанные с доставкой оконных блоков на строительную площадку |
Подъем на этаж элементов оконного блока и их технологическая выдержка перед монтажом* | Разобрать оконный блок на элементы, удобные к переноске. При снятии стеклопакетов штапики промаркировать для установки их на прежнее место при последующей сборке. Выполнить подъем элементов оконного блока и материалов для монтажа на нужный этаж по лестничным маршам или в лифтовых кабинах | Пневматические присоски, ремни | Лопатка монтажная, срывная ручка |
Выдержать конструкции оконного блока при температуре воздуха в помещении > 5 °C не менее 12 ч (в том случае, если оконный блок хранился при температуре наружного воздуха ниже 5 °C) | - | - |
Подготовительные работы |
Контрольный замер проема перед монтажом* | Измерить размеры и определить форму оконного проема, сравнить полученные результаты с данными наряда-заказа и фактическими размерами оконного блока | - | Рулетка, щуп, дрель, уровень |
Подготовка оконного проема | Удалить с поверхности оконных откосов остатки раствора (при их наличии), неровности, наплывы бетона и прочего строительного мусора. Очистить оконные откосы от пыли | - | Электроперфоратор, молоток, щетка |
Предварительная установка оконной коробки в проектное положение* | Оконную коробку кратковременно установить в проектное положение, отметить места расположения крепежных элементов (для сверления отверстий под крепежные элементы или крепления анкерных пластин) | - | Рулетка, карандаш, линейка |
Установка подставочного профиля. Монтаж крепежных элементов (или сверление* отверстий) | Отмерить и отрезать необходимую длину подставочного профиля, в зазор между оконной коробкой и профилем уложить герметизирующий шнур (по всей длине стыка), прикрепить подставочный профиль к оконной коробке саморезами с шагом 300 - 400 мм. Произвести сверление отверстий под крепежные элементы. Если крепление оконных блоков производится с применением анкерных пластин, закрепить их к оконной коробке | Саморезы, анкерные пластины (при необходимости) | Электродрель, шуруповерт, ножовка |
Основные работы |
Установка оконного блока в проектное положение, выверка и закрепление* | Установить оконную коробку в проектное положение. При помощи клиньев, несущих и дистанционных колодок выровнять коробку в вертикальной и горизонтальной плоскостях. Проверить вертикальность и горизонтальность установки с помощью строительного уровня и отвеса. Закрепить оконный блок в проеме. Крепление осуществить с помощью строительных шурупов, дюбелей или монтажных анкеров. Для исключения деформации профиля при затяжке крепления по боковым и верхней сторонам в зоне расположения элементов крепления установить временные дистанционные колодки или клинья | Колодки деревянные антисептированные (пластмассовые), крепежные элементы | Молоток, строительный уровень, электроперфоратор, электродрель, шуруповерт |
Установка оконного слива, герметизация мест примыканий слива к оконным откосам** | На боковых поверхностях оконного откоса в месте установки слива очистить штрабы (борозды) для заведения в них боковых частей слива. Глубина штраб должна составлять не менее 10 мм. Произвести разметку заготовки слива и ножницами по металлу отрезать лишние части до образования требуемой конфигурации. Наклеить на нижнюю часть оконного проема шумогасящую прокладку (при необходимости). Подвести оконный слив в проектное положение, заводя боковые части в борозды, и произвести крепление к оконной коробке или подставочному профилю. Шаг элементов крепления не должен превышать 300 мм. После закрепления боковых кромок оконного слива произвести герметизацию атмосферостойким герметиком | Оконный слив, атмосферостойкий герметик, саморезы | Электроперфоратор, зубило, молоток, ножницы по металлу, электродрель, шуруповерт, пистолет для герметика |
Навешивание створок и установка стеклопакетов* | На смонтированную оконную коробку установить и закрепить оконные створки. При этом произвести первичную регулировку створок, проверку их открывания и закрывания. В переплеты оконного блока установить стеклопакеты, выверить их с помощью подкладок и закрепить штапиками. Установку штапиков производить согласно маркировке. Прилегание стеклопакета в фальце переплета должно быть плотным, без щелей и перекосов | - | Шуруповерт, резиновый молоток |
Заполнение монтажного шва пенным утеплителем* | Заполнить монтажный зазор пенным утеплителем в следующей последовательности: установить баллон с утеплителем на адаптер монтажного пистолета (тщательно встряхивать около 1 мин для перемешивания компонентов в баллоне); нанести утеплитель в зазор шва сплошным слоем, без пустот, разрывов и щелей, заполняя зазор на 2/3 от полного объема монтажного шва; при заполнении нижнего горизонтального шва провести тщательное уплотнение опорных колодок. Положение баллона в процессе запенивания - вертикальное, дно баллона должно быть обращено вверх. Заполнение рекомендуется производить послойно с контролем качества заполнения шва. Рациональный уровень заполнения стыка рекомендуется отработать предварительным тестом (пробным заполнением стыка или его имитации) с целью определения расширяющихся свойств пены в данных условиях. При работе не рекомендуется допускать выхода излишков пены за внутреннюю плоскость профиля коробки оконного блока. В случае применения оконных коробок шириной более 80 мм или большей ширине монтажных зазоров заполнение швов следует выполнять послойно, с интервалами между слоями по технологии, рекомендованной производителем пенного утеплителя. При заполнении нижнего горизонтального зазора провести тщательное уплотнение опорных колодок | Пенный утеплитель | Опрыскиватель, пистолет для монтажной пены |
Устройство наружного водоизоляционного слоя | На оконную коробку и наружную стену в зоне монтажного шва наклеить строительный скотч, определяющий ширину наружного водоизоляционного слоя. С помощью шпателя нанести слой герметика в устье шва, контролируя толщину нанесения, после удалить скотч. Возможно нанесение герметика из монтажного пистолета. После нанесения герметик следует разровнять и придать его поверхности форму в соответствии с проектом с помощью стальной или деревянной расшивки | Паропроницаемый атмосферостойкий герметик, строительный скотч | Шпатель, стальная или деревянная расшивка, нож, монтажный пистолет |
Устройство внутреннего слоя пароизоляционного слоя | Вышедший за пределы оконной коробки пенный утеплитель убрать в плоскость коробки обжатием до завершения полимеризации или подрезать заподлицо с оконной коробкой. На оконную коробку и наружную стену в зоне монтажного шва наклеить строительный скотч, определяющий ширину внутреннего пароизоляционного слоя. С помощью шпателя нанести слой герметика, контролируя толщину нанесения, после удалить скотч | Пароизоляционный герметик, строительный скотч | Шпатель, нож |
Установка подоконника* | Произвести примерку подоконника и проставить соответствующие метки. Части стены, мешающие установке подоконника в проектное положение, удалить при помощи зубила и молотка. Произвести распилы подоконника по меткам. Выверить установку подоконника по уровню с помощью опорных колодок или реек. При необходимости зафиксировать несущие колодки (рейки) пенным утеплителем. Снять подоконник, нанести на нижнюю плоскость оконного проема пенный утеплитель шириной 120 - 150 мм вдоль оконной коробки и поперечными полосками поперек стеновой конструкции с интервалом 100 - 120 мм. Нанести на край подоконника валик герметика, установить его в проектное положение и зафиксировать с помощью распорок или пригруза. Зазор между подоконником и стеной зачеканить цементно-песчаным или шпаклевочным раствором | Пенный утеплитель, герметик | Молоток, зубило, ножовка, строительный уровень, пистолет для монтажной пены, пистолет для герметика |
Контроль качества выполненных работ |
Контроль качества выполненных работ* | Провести контроль качества и комплектности смонтированных оконных блоков. Провести очистку (проверку) дренажных отверстий от строительного мусора; установить колпачки на крепежные элементы, сливные отверстия; проверить крепление фурнитуры, уплотняющих прокладок и произвести окончательную регулировку оконных створок. Оформить акт приемки-сдачи работ | - | Рулетка, линейка |
Примечание - Операции, обозначенные *, являются необходимыми при производстве работ по монтажу оконных блоков и сопутствующими (предшествующими или последующими работами) при герметизации узлов присоединения. При проведении операций, обозначенных **, выполняется герметизация стыков (зазоров) соединяемых изделий. |
| Правила по охране труда при работе на высоте (утверждены Приказом Министерства труда и социальной защиты Российской Федерации от 16 ноября 2020 г. N 782н) |
[2] | Правила по охране труда в строительстве, реконструкции и ремонте (утверждены Приказом Министерства труда и социальной защиты Российской Федерации от 11 декабря 2020 г. N 883н) |
[3] | Правила по охране труда при погрузочно-разгрузочных работах и размещении грузов (утверждены Приказом Министерства труда и социальной защиты Российской Федерации от 28 октября 2020 г. N 753н) |
| Правила по охране труда при работе с инструментом и приспособлениями (утверждены Приказом Министерства труда и социальной защиты Российской Федерации от 27 ноября 2020 г. N 835н) |
| | Требования к составу и порядку ведения исполнительной документации при строительстве, реконструкции, капитальном ремонте объектов капитального строительства и требования, предъявляемые к актам освидетельствования работ, конструкций, участков сетей инженерно-технического обеспечения |
| | Порядок ведения общего и (или) специального журнала учета выполнения работ при строительстве, реконструкции, капитальном ремонте объектов капитального строительства |
[7] | | Ведомственные строительные нормы. Инструкция по герметизации стыков при ремонте полносборных зданий |
| ТР 105-00 Москва - 2000 | Технические рекомендации по монтажу оконных и дверных блоков из поливинилхлоридных профилей в наружных ограждающих конструкциях жилых и общественных зданий |
[9] | | Технические рекомендации по технологии применения комплексной системы материалов, обеспечивающих качественное уплотнение и герметизацию стыков светопрозрачных конструкций |
| ТР 152-05 Москва - 2006 | Технические рекомендации по обеспечению качества монтажа оконных и балконных блоков |
| | Конструкции ограждающие светопрозрачные. Окна. Часть 2. Правила производства монтажных работ, контроль и требования к результатам работ |
УДК 692.415.001.4:006.354 | |
Ключевые слова: герметизация, узлы присоединения, светопрозрачные конструкции, строительно-монтажные работы, швы монтажные, контроль строительно-монтажных работ |