Скачать ГОСТ Р 51741-2001 Передатчики радиовещательные стационарные диапазона ОВЧ. Основные параметры, технические требования и методы измеренийДата актуализации: 01.01.2021 ГОСТ Р 51741-2001
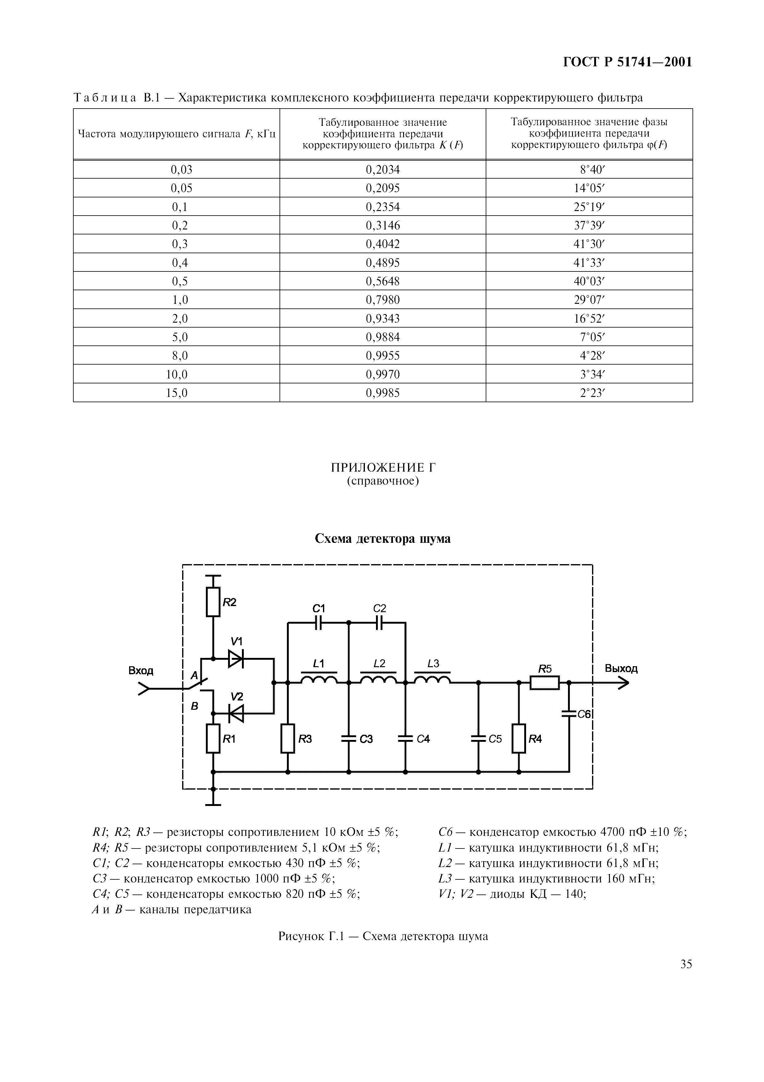
Передатчики радиовещательные стационарные диапазона ОВЧ. Основные параметры, технические требования и методы измерений| Обозначение: | ГОСТ Р 51741-2001 | | Обозначение англ: | GOST R 51741-2001 | | Статус: | введен впервые | | Название рус.: | Передатчики радиовещательные стационарные диапазона ОВЧ. Основные параметры, технические требования и методы измерений | | Название англ.: | Broadcasting transmitters, fixed Very High Frequency (VHF). Main parameters, technical requirements and methods of measurement | | Дата добавления в базу: | 01.09.2013 | | Дата актуализации: | 01.01.2021 | | Дата введения: | 01.01.2002 | | Область применения: | Стандарт распространяется на стационарные радиовещательные передатчики с частотной модуляцией, предназначенные для монофонического и стереофонического вещания в диапазоне очень высоких частот, рассчитанные на работу без постоянного обслуживающего персонала. | | Оглавление: | 1 Область применения 2 Нормативные ссылки 3 Определения и сокращения 4 Основные параметры 5 Технические требования 5.1 Общие технические требования 5.2 Требования электромагнитной совместимости 5.3 Требования безопасности 5.4 Требования к системам управления и автоматики 5.5 Требования стойкости к климатическим и механическим воздействиям 5.6 Маркировка 6 Методы измерений 6.1 Общие положения 6.2 Средства измерений и испытательное оборудование 6.3 Проведение измерений Приложение А Амплитудно-частотные характеристики псофометра Приложение Б Перечень средств измерений и испытательного оборудования Приложение В Схема и характеристика комплексного коэффициента передачи корректирующего фильтра Приложение Г Схема детектора шума Приложение Д Амплитудно-частотная характеристика фильтра, формирующего спектр вещательного сигнала Приложение Е Библиография | | Разработан: | Самарский отраслевой научно-исследовательский институт радио (СОНИИР)
| | Утверждён: | 25.04.2001 Госстандарт России (Russian Federation Gosstandart 192-ст)
| | Издан: | ИПК Издательство стандартов (2001 г. )
| | Нормативные ссылки: |   ГОСТ 15150-69 «Машины, приборы и другие технические изделия. Исполнения для различных климатических районов. Категории, условия эксплуатации, хранения и транспортирования в части воздействия климатических факторов внешней среды»  ГОСТ 2.114-95 «Единая система конструкторской документации. Технические условия»  ГОСТ 2.601-95 «Единая система конструкторской документации. Эксплуатационные документы»  ГОСТ 12.1.003-83 «Система стандартов безопасности труда. Шум. Общие требования безопасности»  ГОСТ Р 50460-92 «Знак соответствия при обязательной сертификации. Форма, размеры и технические требования»  СанПиН 2.2.4/2.1.8.055-96 «Электромагнитные излучения радиочастотного диапазона (ЭМИ РЧ)» ВСН 601-92 «Допустимые уровни шума на предприятиях связи»  ГОСТ 12.1.006-84 «Система стандартов безопасности труда. Электромагнитные поля радиочастот. Допустимые уровни на рабочих местах и требования к проведению контроля»  ГОСТ 12.1.050-86 «Система стандартов безопасности труда. Методы измерения шума на рабочих местах»  ГОСТ 12.2.007.0-75 «Система стандартов безопасности труда. Изделия электротехнические. Общие требования безопасности»  ГОСТ 11515-91 «Каналы и тракты звукового вещания. Основные параметры качества. Методы измерений» ГОСТ 12.2.006-87 «Безопасность аппаратуры электронной сетевой и сходных с ней устройств, предназначенных для бытового и аналогичного общего применения. Общие требования и методы испытаний»  ГОСТ 12.3.019-80 «Система стандартов безопасности труда. Испытания и измерения электрические. Общие требования безопасности»  ГОСТ 14777-76 «Радиопомехи индустриальные. Термины и определения»  ГОСТ 23611-79 «Совместимость радиоэлектронных средств электромагнитная. Термины и определения»  ГОСТ 24375-80 «Радиосвязь. Термины и определения» ГОСТ 26828-86 «Изделия машиностроения и приборостроения. Маркировка»  ГОСТ 27.410-87 «Надежность в технике. Методы контроля показателей надежности и планы контрольных испытаний на надежность»  ГОСТ 30318-95 «Совместимость технических средств электромагнитная. Требования к ширине полосы радиочастот и внеполосным излучениям радиопередатчиков. Методы измерений и контроля» ГОСТ 30338-95 «Совместимость радиоэлектронных средств электромагнитная. Устройства радиопередающие всех категорий и назначений народнохозяйственного применения. Требования к допустимым отклонениям частоты. Методы измерений и контроля»  ГОСТ 30372-95 «Совместимость технических средств электромагнитная. Термины и определения» ГОСТ 30373-95 «Совместимость технических средств электромагнитная. Оборудование для испытаний. Камеры экранированные. Классы, основные параметры, технические требования и методы испытаний» ГОСТ 30429-96 «Совместимость технических средств электромагнитная. Радиопомехи индустриальные от оборудования и аппаратуры, устанавливаемых совместно со служебными радиоприемными устройствами гражданского назначения. Нормы и методы испытаний»  ГОСТ Р 50829-95 «Безопасность радиостанций, радиоэлектронной аппаратуры с использованием приемопередающей аппаратуры и их составных частей. Общие требования и методы испытаний»  ГОСТ Р 50842-95 «Совместимость радиоэлектронных средств электромагнитная. Устройства радиопередающие народнохозяйственного применения. Требования к побочным радиоизлучениям. Методы измерения и контроля» ГОСТ Р 51107-97 «Системы стереофонического радиовещания. Основные параметры. Методы измерений» ГОСТ Р 51320-99 «Совместимость технических средств электромагнитная. Радиопомехи индустриальные. Методы испытаний технических средств - источников индустриальных радиопомех»  ОСТ 45.02-97 «Отраслевая система сертификации. Знак соответствия. Порядок маркирования технических средств электросвязи»  ПОТ Р О-45-002-94 «Правила по охране труда на радиопредприятиях»  ОСТ 45.125-99 «Передатчики радиовещательные ОВЧ диапазона, работающие в режиме частотного уплотнения. Параметры, технические требования, методы измерения»
|
                                     
|