Скачать СТО ЦКТИ 011-2007 Устройства для отбора проб пара и воды атомных станций. Общие требования

Дата актуализации: 01.01.2021

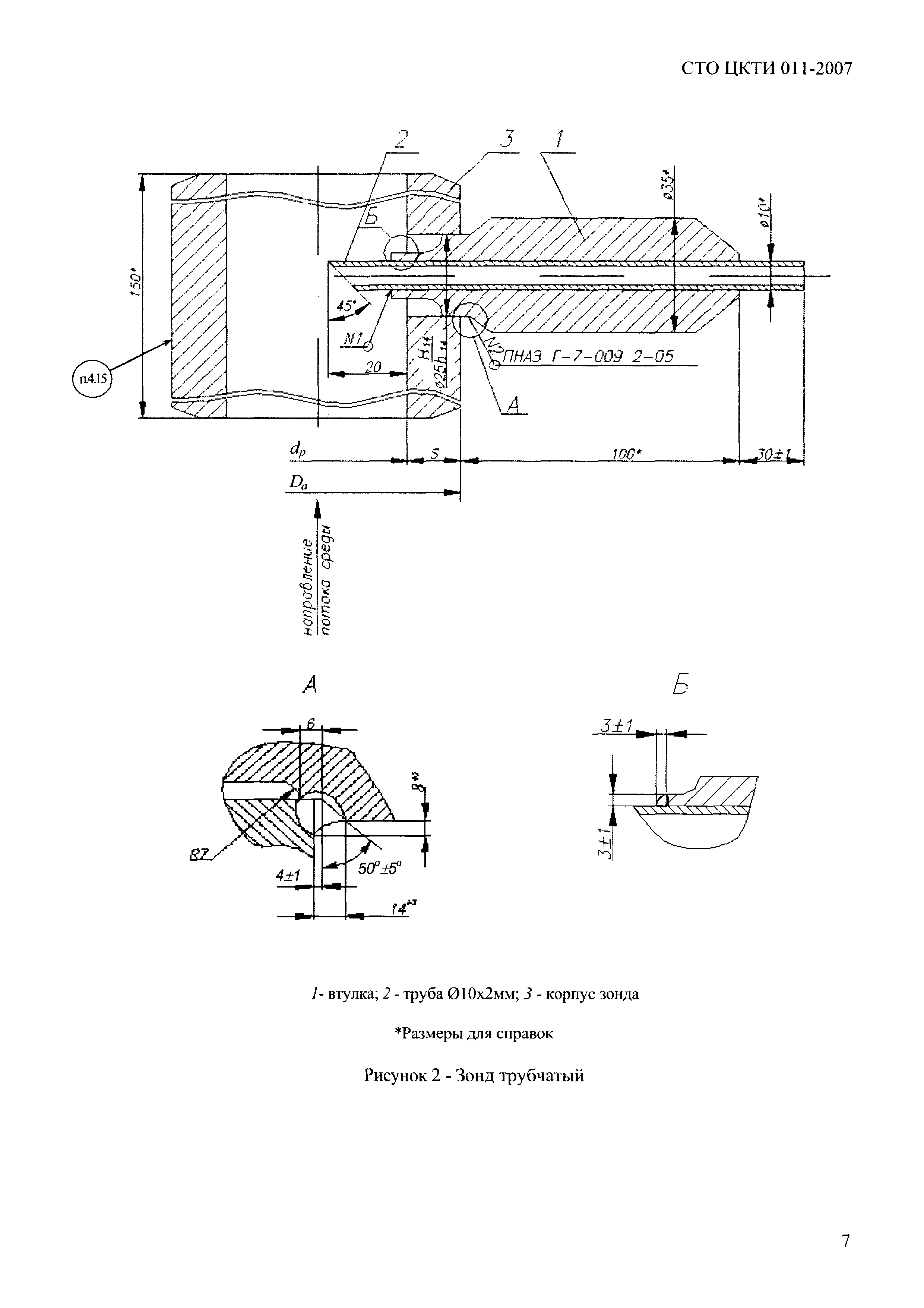
СТО ЦКТИ 011-2007

Устройства для отбора проб пара и воды атомных станций. Общие требования

Обозначение: СТО ЦКТИ 011-2007
Обозначение англ: 011-2007
Статус:введен впервые
Название рус.:Устройства для отбора проб пара и воды атомных станций. Общие требования
Дата добавления в базу:01.09.2013
Дата актуализации:01.01.2021
Дата введения:01.01.2008
Область применения:Стандарт устанавливает общие требования к устройствам для отбора проб пара и воды трубопроводов атомных станций групп В и С по ПНАЭ Г-7-008. Устройства предназначены для обеспечения представительности пробы при отборе проб для лабораторного и автоматического химического контроля показателей водно-химического режима контуров АС. Стандарт является рекомендуемым к применению на предприятиях и в организациях, занимающихся проектированием и изготовлением трубопроводов для атомных станций
Оглавление:1. Область применения
2. Нормативные ссылки
3. Термины, определения, обозначения и сокращения
4. Типы и конструкции устройств для отбора проб пара и воды и указания по их установке
5. Оборудование пробоотборных линий
6. Схемы отбора проб пара и воды
7. Методы контроля при изготовлении
8. Транспортирование и хранение
Приложение А (рекомендуемое). Методика расчета щелевого зонда со смесителем
Приложение Б (рекомендуемое). Отводы гнутые
Разработан: ОАО НПО ЦКТИ
Утверждён:15.11.2007 ОАО НПО ЦКТИ (400)
Принят:08.11.2007 ФГУП концерн Росэнергоатом
Нормативные ссылки:
СТО ЦКТИ 011-2007СТО ЦКТИ 011-2007СТО ЦКТИ 011-2007СТО ЦКТИ 011-2007СТО ЦКТИ 011-2007СТО ЦКТИ 011-2007СТО ЦКТИ 011-2007СТО ЦКТИ 011-2007СТО ЦКТИ 011-2007СТО ЦКТИ 011-2007СТО ЦКТИ 011-2007СТО ЦКТИ 011-2007СТО ЦКТИ 011-2007СТО ЦКТИ 011-2007СТО ЦКТИ 011-2007СТО ЦКТИ 011-2007СТО ЦКТИ 011-2007СТО ЦКТИ 011-2007СТО ЦКТИ 011-2007