ОТКРЫТОЕ АКЦИОНЕРНОЕ ОБЩЕСТВО
«НАУЧНО-ПРОИЗВОДСТВЕННОЕ ОБЪЕДИНЕНИЕ ПО ИССЛЕДОВАНИЮ
И ПРОЕКТИРОВАНИЮ ЭНЕРГЕТИЧЕСКОГО ОБОРУДОВАНИЯ
им. И.И. ПОЛЗУНОВА»
(ОАО «НПО ЦКТИ»)
|
РД 24.031.121-2012 |
МЕТОДИЧЕСКИЕ УКАЗАНИЯ
ОСНАЩЕНИЕ ПАРОВЫХ
СТАЦИОНАРНЫХ КОТЛОВ
УСТРОЙСТВАМИ ДЛЯ ОТБОРА ПРОБ ПАРА И ВОДЫ
Санкт-Петербург
Предисловие
Настоящие методические указания (МУ) предусматривают оснащение устройствами для отбора проб пара и воды, предназначенными для эксплуатационного (штатного) контроля за водно-химическим режимом барабанных котлов высокого, среднего и низкого давлений, прямоточных котлов, в том числе сверхкритического давления, высоконадорных котлов, котлов-утилизаторов, водогрейных и энерготехнологических котлов.
Устройства для отбора проб воды и пара, а также отдельные элементы оборудования пробоотборных линий могут быть использованы для штатного химического контроля в других точках пароводяного тракта электростанции или котельной, а также для отбора проб пара и воды для экспериментального контроля и на приборы автоматического химического контроля.
1 РАЗРАБОТАН отделением проектирования, наладки и исследования котельных установок (отделение № 5)
Рабочая группа:
- ведущий научный сотрудник Анисимова О.Л.,
- ведущий инженер-конструктор Петухова В.Ф..
- ведущий инженер Тамбовцева В.Н.
2 УТВЕРЖДЕН И ВВЕДЕН В ДЕЙСТВИЕ Приказом от 17.09.12 № 330
3 ВЗАМЕН РД 24.031.121-2007
СОДЕРЖАНИЕ
|
Методические указания Оснащение
паровых стационарных котлов |
Дата введения - 2012
Методические указания (МУ) являются рекомендуемыми к применению на предприятиях отрасли, занимающихся изготовлением энергетического оборудования, а также на ТЭС и в промышленных котельных.
В настоящих МУ используются ссылки на следующие стандарты и нормативные документы:
|
Прокат сортовой, калиброванный со специальной отделкой поверхности из углеродистой качественной конструкционной стали. Общие технические условия |
|
|
Котлы паровые стационарные. Типы и основные параметры |
|
|
Стали высоколегированные и сплавы коррозионно-стойкие, жаростойкие и жаропрочные. Марки |
|
|
Трубы бесшовные холодно- и теплодеформированные из коррозионно-стойкой стали. Технические условия |
|
|
Трубки стальные малых размеров (капиллярные). Технические условия |
|
|
Сталь теплоустойчивая. Технические условия |
|
|
Поковки из углеродистой и легированной стали для оборудования и трубопроводов тепловых и атомных станций. Технические условия |
|
|
РТМ 108.030.08-81 |
Котлы паровые стационарные высокого давления с естественной циркуляцией. Организация измерения и контроля параметров водно-химического режима |
|
РТМ 108.030-137-84 |
Котлы паровые стационарные сверхкритического давления. Организация водно-химического режима |
|
Методические указания. Нормы качества питательной воды и пара, организация водно-химического режима и химического контроля паровых стационарных котлов-утилизатров и энерготехнологических котлов |
|
|
ТУ 14-3Р-55-2001 |
Трубы стальные бесшовные для паровых котлов и трубопроводов. Технические условия |
|
ТУ 14-3Р-197-2001 |
Трубы бесшовные из коррозионностойких сталей с повышенным качеством поверхности. Технические условия |
|
Правила устройства и безопасной эксплуатации трубопроводов пара и горячей воды |
|
|
Правила устройства и безопасной эксплуатации паровых и водогрейных котлов |
В настоящих методических указаниях применены следующие обозначения и сокращения:
ГОСТ - межгосударственный стандарт;
ОСТ - отраслевой стандарт;
РТМ - руководящий технический материал;
ТУ - технические условия;
ПБ - правила безопасности;
НД - низкое давление (до 2,4 МПа);
СД -среднее давление (3,9 ÷ 7,0 МПа);
ВД - высокое давление (9,8 МПа и выше);
СКД - сверхкритическое давление;
ЦВД - цилиндр высокого давления;
ЦСД - цилиндр среднего давления;
ВС - встроенный сепаратор;
Dн - наружный диаметр;
Dвн, dвн - внутренний диаметр;
Dy - условный диаметр;
Рр - рабочее давление пара в котле;
Р - гидравлическое давление в змеевике.
4.1.1 Типы устройств для отбора проб штатного контроля и места их установки приведены в таблице 1. Конструкции устройств приведены на рисунках 1 - 5.
4.1.2 Типы устройств для проб экспериментального контроля и рекомендуемые места их установки на трубопроводах указаны в таблице 2. Конструкции устройств для экспериментального химического контроля приведены на рисунках 6 - 7.
4.1.3 Вопрос об установке дополнительных устройств для экспериментального контроля водного режима на пилотных образцах котлов ВД и СКД решают проектная и наладочная организации совместно с заказчиком на стадии проектирования.
4.1.4 Скорость среды для зондов трубчатого и однососкового (рисунки 1, 5) строго не регламентируется, так как эти зонды предназначены для отбора проб из однородной среды.
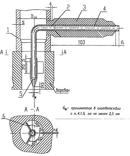
4.1.5 Скорость среды во входном отверстии зондов устьевого и щелевого (рисунки 2, 3, 7), рекомендуемых для отбора проб насыщенного пара при 100 %-ной нагрузке котла, должна быть равна скорости в штуцере на выходе из барабана и в корпусе выносного циклона или трубопроводе, соответственно.
Методики расчета зонда щелевого (рисунок 4) и экспериментального зонда с трубой Вентури (рисунок 6) приведены в Приложениях А и Б.
4.1.6 Зонды всех видов должны быть направлены строго навстречу потоку. Положение зонда в собранном устройстве для отбора проб фиксируется риской на штуцере, там же фиксируется диаметр зонда.
Таблица 1
|
Наименование устройства |
Отбираемая проба |
Место установки |
Требования установки |
Примечание |
||||||
|
Котлы НД, СД |
Котлы ВД и СКД |
Котлы НД и СД |
Котлы ВД и СКД |
|||||||
|
Зонд трубчатый (рисунок 1) |
Питательная вода |
Трубопровод питательной воды вблизи котла.* Трубопровод питательной воды после II ступени экономайзера.** |
Наличие прямого вертикального*** участка трубопровода длиной не менее 10 dвн до места установки и не менее 5 dвн после него |
При наличии двух питательных линий отбор производится из любой линии |
||||||
|
Конденсат впрыска |
- |
Трубопровод перед узлом впрыска |
- |
Наличие прямого вертикального участка трубопровода длиной не менее 10 dвн до места установки и не менее 5 dвн после него |
На котлах с впрыском питательной воды отбор не предусматривается |
|||||
|
Котловая вода котлов без ступенчатого испарения |
Опускная труба |
Наличие прямого участка на нижней части опускной трубы с учетом размещения оборудования на пробоотборной линии и уклона ее по ходу пробы. Длина прямого участка 10 dвн до места установки и 5 dвн после него. |
- |
|||||||
|
Котловая вода I ступени испарения |
Опускная труба I ступени испарения (одна из средних по длине барабана) |
- |
||||||||
|
Зонд трубчатый (рисунок 1) |
Котловая вода II ступени испарения (при двухступенчатом испарении) |
Опускная труба II ступени испарения |
Наличие прямого участка на нижней части опускной трубы с учетом размещения оборудования на пробоотборной линии и уклона ее по ходу пробы. Длина прямого участка 10 dвн до места установки и 5 dвн после него. |
При отсутствии линий выравнивания солевой кратности отбор производится с обеих сторон котла. При наличии линии выравнивания - с одной стороны |
||||||
|
Котловая вода III ступени испарения (при трехступенчатом испарении) |
Опускная труба III ступени испарения |
- |
||||||||
|
Насыщенный пар котлов с пароперегревателем |
Средняя по длине барабана пароотводящая труба |
Устанавливается в устье пароотводящей трубы таким образом, чтобы входное сечение наконечника располагалось по касательной к внутренней поверхности барабана. |
Зонд в пароотводящем штуцере барабана устанавливается по рисунку 2, в трубе - по рисунку 3 |
|||||||
|
Зонд щелевой со смесителем (рисунок 4) |
Насыщенный пар котлов без пароперегревателя Рабочая среда* |
Горизонтальный или нисходящий вертикальный участок паропровода |
За встроенной задвижкой (перед встроенным сепаратором) |
В горизонтальном паропроводе зонд устанавливается только вертикально с отводом пробы вниз. Перед смесителем должен быть прямой участок трубопровода не менее 5 dвн. |
- |
Смеситель не устанавливается, если зонд устанавливается на расстоянии 1 ÷ 2 dвн за подкладным кольцом или 5 ÷ 6 dвн за измерительной диафрагмой |
||||
|
Зонд однососковый (рисунок 5) |
Перегретый пар |
Общий паропровод |
- |
- |
При наличии двух и более паропроводов отбор производится из любого паропровода |
|||||
|
Пар после промперегрева |
- |
На линии подачи вторичного пара на турбину вблизи котла |
- |
- |
Отбор предусматривается только для котлов СКД |
|||||
|
Перегретый пар |
- |
На трубопроводе после пароперегревателя вблизи котла |
- |
- |
||||||
|
Примечание: Для котлов НД и СД допускается отбор пробы котловой воды выполнять из линии продувки штуцером, который приваривается до узла регулирования продувки заподлицо с внутренней поверхностью трубы. |
||||||||||
________
* - относится к котлам НД, СД и СКД
** - относится к котлам ВД.
*** - при отсутствии вертикальных участков допускается установка на горизонтальных или наклонных участках
________
* - для блоков СКД

1 - труба ∅ 10×2; 2 - втулка

1
- штуцер; 2 - труба ∅
10×2 мм; 3 - втулка; 4 - труба ∅10×2, L = 90 мм;
5 - наконечник; 6 - полоса 2×20 мм

1 - штуцер; 2 - вставка; 3 - труба ∅ 10×2 мм; 4
- втулка; 5 - труба ∅10×2
мм, L = 90 мм;
6 - наконечник; 7 - полоса 2×20 мм
|
Наименование устройства |
Отбираемая проба |
Место установки |
Требования установки |
Примечание |
|||
|
Котлы НД, СД |
Котлы ВД и СКД |
Котлы НД и СД Котлы ВД и СКД |
|||||
|
Зонд трубчатый (рисунок 1) |
Котловая вода II ступени испарения при трехступенчатом испарении |
Опускная труба II ступени испарения |
- |
Наличие прямого участка на нижней части опускной трубы с учетом размещения оборудования на пробоотборной линии и уклона ее по ходу пробы. Длина прямого участка 10 dвн до места установки. |
При отсутствии линий выравнивания солевой кратности на котлах со ступенчатым испарением отбор производится с двух сторон котла. |
||
|
Насыщенный пар из торцов барабана при одноступенчатом испарении |
В устье крайних пароотводящих труб |
Входное сечение наконечника располагается по касательной к внутренней поверхности барабана |
- |
||||
|
Зонд со смесителем с трубой Вентури (рисунок 6) |
Насыщенный пар |
Пароотводящие трубы |
Должна быть обеспечена соосность наконечника зонда и трубы. Наконечник должен быть повернут навстречу потоку (при установке трубы Вентури на горизонтальном участке пробу пара следует отводить вниз) |
Устанавливается как контрольный, параллельно со штатным устьевым пробоотборным устройством |
|||
|
Зонд однососковый (рисунок 5) |
Пар до промперегрева |
- |
На линии возврата пара на перегреватель в непосредственной близости к котлу |
- |
При наличии двух и более линий допускается отбор пробы из любой линии |
||
|
Зонд щелевой (рисунок 7) |
Насыщенный пар из выносных циклонов II и III ступеней испарения |
Пароотводящая труба циклона или над пароприемным потолком циклона |
Над пароприемным потолком циклона |
На горизонтальном прямом участке трубопровода в непосредственной близости к выносному циклону |
- |
- |
|
|
В циклоне зонд устанавливается щелью навстречу потоку пара. Рабочая длина зонда равна диаметру циклона. Свободный конец зонда заглубляется в специальное отверстие в корпусе циклона |
|||||||

Рисунок 6 - Зонд со смесителем-трубой Вентури
1 - смесительное устройство; 2 - пробоотборное устройство
Wmp - скорость пара в трубе;
-
скорость пара в суженном сечении

Рисунок 7 - Зонд щелевой для отбора проб насыщенного пара из выносных циклонов
1
- труба ∅
22×3 мм; 2 - штуцер; 3 - насадка щелевая; 4 - донышко;
5 - заглушка
4.1.7 Устройства для отбора проб пара и воды изготавливаются из материалов, предусмотренных «Правилами устройства и безопасной эксплуатации трубопроводов пара и горячей воды» ПБ 10-573-03 и «Правилами устройства и безопасной эксплуатации паровых и водогрейных котлов» ПБ 10-574-03:
-труба ∅ 10×2 мм (рисунки 1 - 6) - из стали марки 12Х18Н12Т по ТУ 14-3Р-55-2001;
- втулка (рисунки 1 - 4, 7), заглушка (рисунок 7) - из стали марки 20 по ОСТ 108.030.113-87;
- втулка (рисунки 5, 6) - из стали марки 12Х1МФ по ОСТ 108.030.113-87;
- наконечник (рисунки 2, 3, 5), пробка (рисунок 5), донышко (рисунок 7), труба ∅ 22×3 мм (рисунок 7) - из стали марки 12Х18Н10Т по ГОСТ 5632-72;
- полоса (рисунки 2, 3) - из стали марки 20 по ГОСТ 1050-88 или 12Х18Н10Т по ГОСТ 5632-72;
- вставка (рисунок 3) - из стали марки 20 по ТУ 14-3Р-55-2001;
- насадка щелевая (рисунок 7) - из стали марки 12X18Н9Т по ГОСТ 5632-72.
4.2.1 Пробоотборные линии выполняются из труб размером 10×2 мм. Допускается применение труб размером 16×2,5 мм.
4.2.2 На пробоотборной линии после устройства для отбора пробы последовательно располагаются:
- два запорных вентиля Dy 6 мм;
- холодильник;
- дроссельный игольчатый вентиль Dy 6 мм.
Допускается применение вентилей Dy 10 мм .
4.2.3 Запорные вентили выбираются по параметрам среды (давлению и температуре), поступающей в линии отбора пробы. Первые (коренные) запорные вентили устанавливаются непосредственно после отбора пробы, вторые вентили группируются в удобном для обслуживания месте, которое выбирается с учетом расположения холодильников и водного щита. Допускается установка этих двух запорных вентилей у пробоотборного устройства в случае удобного к ним подхода.
4.2.4. Холодильники проб пара и воды применяются змеевиковые двухточечные. Конструкция холодильников приведена на рисунке 8.
4.2.5 Холодильники обеспечивают температуру охлажденной пробы перегретого и насыщенного пара, котловой и питательной воды не более 40 °С, охлаждающей воды на сливе не более 60 °С.
По производительности холодильники рассчитаны на расход перегретого пара с параметрами р = 25 МПа (255 кгс/см2), t = 540 °С на одну нитку в количестве 25 кг/ч. При необходимости увеличения расхода пробы или более глубокого ее охлаждения (отбор пробы для определения удельной электропроводимости, pH и других показателей) рекомендуется установка последовательно двух холодильников.
4.2.6 Для охлаждения пробы используется охлаждающая вода с расчетной температурой не более +25 °С. Содержание взвешенных веществ в охлаждающей воде не должно превышать 5 мг/кг, карбонатная жесткость - 3,0 мг⋅экв/кг, сухой остаток - 1000 мг/кг.
Допускается использование воды при больших концентрациях указанных веществ, однако при этом должна быть предусмотрена возможность проведения периодической реагентной очистки поверхностей холодильников.
4.2.7 Монтаж пробоотборных линий разделяется на следующие этапы:
- этап 1 - установка устройства для отбора проб и коренного запорного вентиля:

Рисунок 8 - Холодильник двухточечный
1 - патрубок; 2 - змеевик; 3 - труба-ограничитель;
4 - донышко; 5 - труба; 6 - крышка;
7 - патрубок; 8 - змеевик; 9 - патрубок; 10 - прокладка;
11 - болт; 12 - гайка; 13 - кольцо резиновое
- этап 2 - присоединение трубопровода к запорным вентилям, холодильникам, водному щиту и регулирующей арматуре.
Присоединение (этап 2) производится после промывки котла и продувки устройств для отбора проб до пуска котла, за исключением трубопроводов, используемых для контроля химической очистки котла.
4.2.8 При монтаже пробоотборных линий следует выдерживать уклон трубопроводов в сторону движения пробы. Необходимо добиваться, чтобы горизонтальные участки в пробоотборной линии на всем ее протяжении отсутствовали. При монтаже пробоотборных линий необходимо выполнить участки компенсации их тепловых удлинений. Трубопроводы не должны изолироваться независимо от их длины и для обеспечения безопасности должны быть ограждены.
4.2.9 Холодильники монтируются вертикально. Каждая группа холодильников имеет самостоятельную линию охлаждающей воды с разводкой по отдельным холодильникам. Линия охлаждающей воды для холодильников не должна быть связана с другими объектами установки (дымососами, вентиляторами и др.). сливная труба охлаждающей воды от группы холодильников выходит либо в общую дренажную канаву, либо в общий дренажный трубопровод без давления.
После сборки и сварки необходимо проверить плотность нижней части корпуса холодильника путем заполнения его водой до выходного патрубка.
Гидравлическое испытание змеевиков следует производить после приварки их к донышку при давлении согласно таблице 3.
|
Котлы на давление пара, МПа (кгс/см2), Рраб |
Гидравлическое давление в змеевике, МПа (кгс/см2), Рпроб. |
|
25 (255) |
31,4 (320) |
|
13,8 (140) |
17,2(175) |
|
9,8 (100) |
12,3 (125) |
|
3,9 (40) |
4,9 (5,0) |
4.2.10 Пробоотборные линии выводятся на водный щит. Конструкция водного щита приведена на рисунке 9.
4.2.11 Водный щит для котлов с давлением не более 9,8 МПа (100 кгс/см2) устанавливается вблизи фронта котла в удобном месте для эксплуатации и поддержания щита в чистоте.
Для обеспечения представительности отбираемых проб вывод в щит пробоотборных линий котловой воды, а также питательной воды на среднем и низком давлении желательно отделять перегородкой от вывода проб насыщенного и перегретого пара.
Щит также может быть приспособлен к раздельному сбросу воды, которая может использоваться в схеме станции или котельной (конденсат, питательная вода) и загрязненной воды.
Для котлов с давлением 13,8 МПа (140 кгс/см2) и прямоточных котлов СКД водные щиты размещаются в специальных изолированных помещениях-боксах.
При установке щит крепится к стене или металлоконструкциям котлов.
4.2.12 Трубопроводы и змеевики холодильников всех отборов проб пара и воды для котлов выполняются из стали марки 08Х18Н10Т по ТУ 14-3Р-197-2001 и 12Х18Н12Т по ТУ 14-3Р-55-2001 . Допускается применение труб из стали 12Х18Н12Т и 12Х18Н10Т по ГОСТ 9941-81, ГОСТ 14162-79. Трубопроводы и змеевики холодильников проб котловой воды с давлением до 2,4 МПа (24 кгс/см2) включительно для штатного химического контроля допускается выполнять из стали марки 20 по ТУ 14-3Р-55-2001.
4.2.13 Вентили запорные к регулирующие для всех отборов проб применяются из стали марки 12Х18Н12Т по ГОСТ 5632-72. Вентили регулирующие и запорные могут применяться из стали марки 20 в случаях, если трубопроводы и змеевики холодильников выполнены из стали 20 по ТУ 14-3Р-55-2001.

1
- отборник; 2 - труба ∅
10×2×120 мм; 3 - корыто; 4 - муфта; 5 - козырек;
6 - ручка; 7 - завертка; 8 - лист;
9 - труба дренажная; 10 - щит перфорированный; 11 - труба ∅ 32×4, L = 900
мм
Примечание: До начала серийного выпуска вентилей Dy6 временно допустимо применение вентилей Dy10 из стали марки 12Х1МФ по ГОСТ 20072-74 и стали марки 20 по ГОСТ 1050-88. При этом в местах присоединения их к пробоотборной трубе устанавливаются переходники.
4.3.1 Схемы отбора проб пара и воды предназначены для химического контроля водного режима при эксплуатации котлов и представлены на рисунках 10 - 20. Обозначение точек отбора приведено в таблице 4.
4.3.2 Схемы отбора проб пара и воды для химического контроля водного режима при эксплуатации барабанных котлов с давление 9,8 МПа (100 кгс/см2) и 13,8 МПа (140 кгс/см2) представлены на рисунках 10 - 13 в соответствии с РТМ 108.030.08-81.
4.3.3 Расположение точек отбора проб пара и воды для химического контроля водного режима прямоточного котла в пределах котла представлено на рисунке 14 в соответствии с РТМ 108.030.137-84.
4.3.4 Схемы отбора проб пара и воды для химического контроля водного режима при эксплуатации котлов среднего и низкого давления, а также котлов-утилизаторов и энерготехнологических котлов с давлением в барабане не более 4,9 МПа (50 кгс/см2) представлены на рисунках 15 - 20 в соответствии с РД 24.032.01-91.
|
Номер точки отбора |
Наименование отбора |
|
1 |
Питательная вода на входе в экономайзер* |
|
2 |
Конденсат на линии впрыска |
|
3 |
Вода из барабана (или чистого отсека барабана) |
|
4 |
Вода из внутрибарабанных солевых отсеков второй ступени испарения при двухступенчатом испарении |
|
5 |
Вода из выносных солевых отсеков при двух- и трехступенчатом испарении |
|
6 |
Насыщенный пар из пароперепускных труб или насыщенный пар котлов без пароперегревателя |
|
7 |
Перегретый пар |
|
8 |
Пар после промежуточного перегрева |
|
9 |
Среда перед встроенной задвижкой |
|
* - для получения представительной пробы при определении соединений железа в питательной воде прямоточных котлов СКД отбор пробы следует производить после первого по ходу воды ПВД. |
|
4.3.5 Для проведения теплохимических испытаний на пилотных образцах котлов ВД и СКД схемы химического контроля разрабатываются проектной и наладочной организациями и согласовываются с заказчиком и предприятием-изготовителем.

Рисунок 10 - Схема отборов проб пара и воды барабанных
котлов с давлением 10 МПа
(102 кгс/см2) и более с одноступенчатым испарением

Рисунок 11 - Схема отборов проб пара и воды барабанных
котлов с давлением 10 МПа
(102 кгс/см2) и более с двухступенчатым испарением
(вторая ступень испарения - внутрибарабанная)

Рисунок 12 - Схема отборов проб пара и воды барабанных
котлов с давлением 10 МПа
(102 кгс/см2) и более с двухступенчатым испарением
(вторая ступень испарения - выносные циклоны)

Рисунок 13 - Схема отборов проб пара и воды барабанных
котлов с давлением 10 МПа
(102 кгс/см2) и более с трехступенчатым испарением
(вторая и третья ступени испарения - выносные циклоны)

Рисунок 14 - Схема отборов проб пара и воды прямоточного котла

Рисунок 15 - Схема отборов проб пара и воды барабанных
котлов низкого давления
без пароперегревателя
Рисунок
16 - Схема отборов проб пара и воды барабанных котлов низкого и
среднего
давления с одноступенчатым испарением

Рисунок 17 - Схема отборов проб пара и воды барабанных
котлов низкого и среднего давления с
двухступенчатым испарением (вторая ступень испарения - внутрибарабанная)


Рисунок 19 - Схема отборов проб пара и воды барабанных
котлов низкого и среднего давления с
трехступенчатым испарением
(третья ступень испарения - выносные циклоны)

Рисунок 20 - Схема отборов проб пара и воды барабанных
котлов
низкого и среднего давления с трехступенчатым испарением
(вторая и третья ступени испарения - выносные циклоны, соединенные
последовательно и подключенные к разным панелям экранов)
Методика расчета зонда со смесителем - трубой Вентури
Расчет приведен в таблице А.1.
|
Наименование параметра |
Расчетная формула или обоснование |
|
Номинальная производительность котла, Dк ном, т/ч |
паспорт котла |
|
Расчетная производительность котла. Dp, т/ч |
принимается 0,8⋅Dк ном |
|
Количество труб, отводящих пар из барабана, n, шт |
чертеж барабана |
|
Внутренний диаметр трубы отвода пара, dmp |
чертеж барабана |
|
Площадь одной трубы, fтр, м2 |
0,785⋅ |
|
Суммарное сечение труб отвода пара из барабана, Σfтp, м2 |
fтp⋅n |
|
Удельный вес пара на линии насыщения, γ², кг/м3 |
таблицы термодинамических свойств воды и водяного пара |
|
Скорость пара в трубах, |
|
|
Критическая скорость срыва пленки влаги,
|
по графику (рисунок А.1) |
|
Скорость потока в суженном сечении
корпуса, |
принимается
≥ |
|
Диаметр суженной части трубы Вентури, d, м |
|
|
Скорость пара в отверстии пробоотборного
устройства, |
принимается
равной |
|
Расход пробы насыщенного пара, Dпp, кг/ч |
25,0 по п. 4.2.5 |
|
Площадь отверстия в пробоотборном устройстве, F, м2 |
|
|
Расчетный диаметр отверстия пробоотборного устройства, dвх, мм |
|
|
Принимаемый диаметр отверстия, dпp., мм |
dвх, но не менее 2,5 мм |

Рисунок А.1 - График зависимости критической скорости срыва пленки влаги от давления
Методика расчета зонда щелевого со смесителем
Расчет приведен в таблице Б.1
|
Наименование параметра |
Расчетная формула или обоснование |
|
Производительность котла, Dк, т/ч |
паспорт котла |
|
Количество пароотводящих труб, nпо, шт |
чертеж барабана |
|
Диаметр пароотводящей трубы, dпо, м |
чертеж барабана |
|
Удельный вес пара на линии насыщения, γ², кг/м3 |
таблицы термодинамических свойств воды и водяного пара |
|
Скорость
потока в суженном сечении смесителя, |
принимается
≥ |
|
Критическая
скорость срыва пленки влаги, |
|
|
Минимальная площадь сечения смесителя, f, м2 |
|
|
Минимальный диаметр смесителя, d, м |
|
|
Диаметр отверстий в пробоотборной трубке, d2,*мм |
принимается 2 - 5 |
|
Площадь одного отверстия, fотв, м2 |
|
|
Скорость
пара в отверстии, |
принимается
равной |
|
Расход пробы, Dпp, кг/ч |
25,0 по п. 4.2.5. |
|
Суммарная площадь отверстий в пробоотборной трубке, F м2 |
|
|
Количество отверстий в пробоотборной трубке, n, шт |
|
|
Скорость
пара в трубке щелевого зонда, |
принимается
≤ 0,5⋅ |
|
Площадь минимального сечения трубки-зонда, fтр, м2 |
|
|
Внутренний диаметр трубки-зонда, d3** м |
|
|
___________ * - отверстия по длине зонда должны располагаться равномерно. ** - см. рисунок 4. |
|
|
Ключевые слова: устройства, отбор, проба, пар, вода, контроль, котел, тип, конструкция, зонд, схема, пробоотборные линии, ступенчатое испарение, методика расчетов. |
|
Изм. |
Номер листов (страниц) |
Номер документа |
Срок введения Изменений |
Подпись |
Дата |
|||
|
Измененных |
Замененных |
Новых |
Аннулированных |
|||||
|
|
|
|
|
|
|
|
|
|
|
|
|
|
|
|
|
|
|
|
|
|
|
|
|
|
|
|
|
|
|
|
|
|
|
|
|
|
|
|
|
|
|
|
|
|
|
|
|
|
|
|
|
|
|
|
|
|
|
|