Скачать РД 52.04.716-2009 Правила эксплуатации метеорологического оборудования аэродромов гражданской авиацииДата актуализации: 01.01.2021
|
| Обозначение: | РД 52.04.716-2009 |
| Обозначение англ: | RD 52.04.716-2009 |
| Статус: | действует |
| Название рус.: | Правила эксплуатации метеорологического оборудования аэродромов гражданской авиации |
| Дата добавления в базу: | 01.09.2013 |
| Дата актуализации: | 01.01.2021 |
| Дата введения: | 01.01.2010 |
| Область применения: | Руководящий документ устанавливает правила организации эксплуатации метеооборудования на аэродромах гражданской авиации и определяет планирование технической эксплуатации, ввод в эксплуатацию, проведение технического обслуживания и ремонта метеооборудования, организацию метрологического контроля и поверки средств измерений, требования к специалистам авиаметеорологических центров, авиаметеорологических станций гражданских Росгидромета по техническому обслуживанию метеооборудования, контроль за его эксплуатацией |
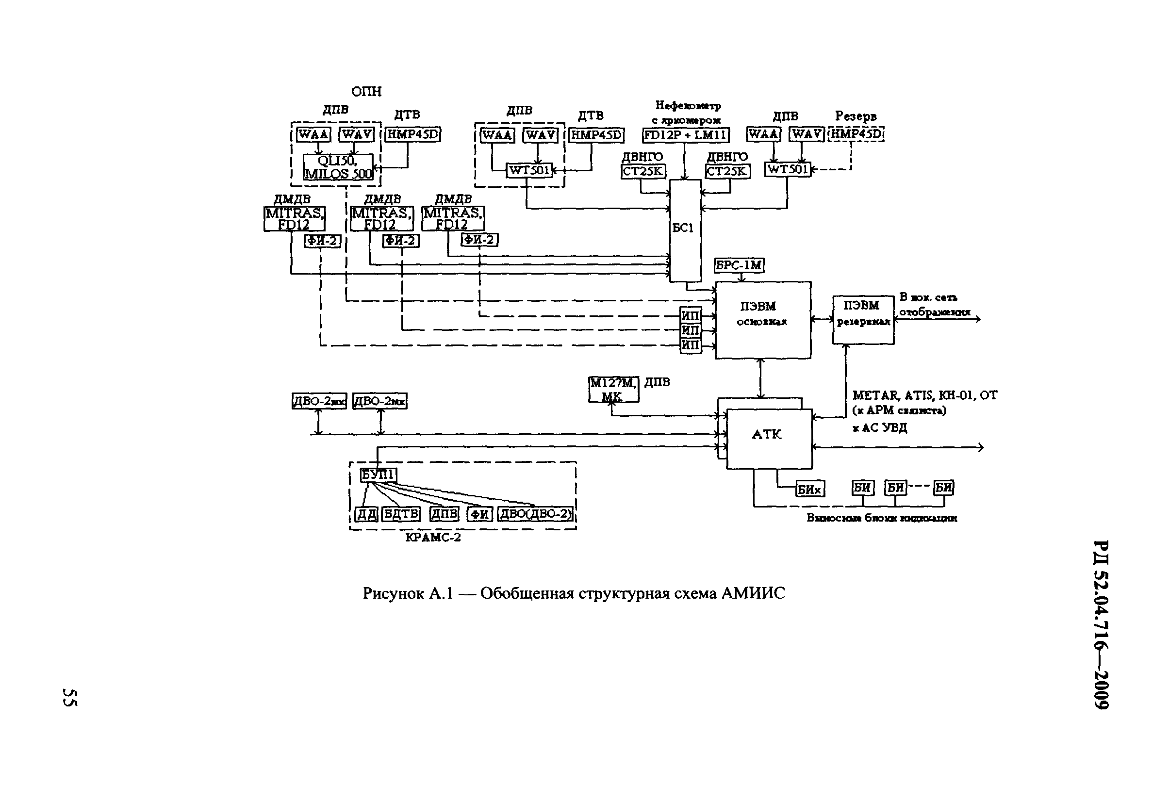
| Оглавление: | 1 Область применения 2 Нормативные ссылки 3 Термины и определения 4 Сокращения 5 Общие положения 6 Организация эксплуатации метеооборудования аэродромов 6.1 Планирование эксплуатации метеооборудования 6.2 Организация работы по техническому обслуживанию метеооборудования 6.3 Материально-техническое обеспечение 6.4 Ввод в эксплуатацию метеооборудования 6.5 Подготовка инженерно-технического состава АМЦ, АМСГ к техническому обслуживанию метеооборудования и допуск к самостоятельной работе 6.6 Эксплуатационные документы и ведение эксплуатационной документации 6.7 Контроль за эксплуатацией метеооборудования 6.8 Требования техники безопасности 6.9 Продление ресурса (срока службы) метеооборудования 7 Метрологическое обеспечение метеоизмерений 7.1 Общие положения 7.2 Метрологическая служба Росгидромета 7.3 Организация и порядок проведения поверки средств измерений 8 Ремонт метеооборудования аэродромов 8.1 Текущий ремонт 8.2 Средний ремонт 8.3 Капитальный ремонт 8.4 Ремонт линий связи, помещений и сооружений для установки метеооборудования 8.5 Рекламации Приложение А (справочное). Основные сведения о метеооборудовании, допущенном к эксплуатации на аэродромах ГА Приложение Б (обязательное). Форма годового плана работы АМЦ (АМСГ) по эксплуатации метеооборудования Приложение В (обязательное). Форма месячного (квартального) плана работы АМЦ (АМСГ) по эксплуатации метеооборудования Приложение Г (обязательное). Форма журнала учета работы метеооборудования дежурным техником-метеорологом Приложение Д (обязательное). Форма акта приемки продукции производственно-технического назначения по количеству и качеству Приложение Е (обязательное). Форма и правила оформления акта приемки метеооборудования в эксплуатацию Приложение Ж (обязательное). Форма удостоверения годности к эксплуатации метеооборудования Приложение И (обязательное). Форма заявления на получение удостоверения годности Приложение К (обязательное). Форма и правила оформления акта оценки технического состояния метеооборудования Приложение Л (обязательное). Форма журнала учета средств измерений в АМЦ (на АМСГ) Приложение М (обязательное). Форма плана-графика поверки средств измерений Приложение Н (обязательное). Форма бланка сведений об эксплуатации метеооборудования Приложение П (обязательное). Формы годовых сведений об эксплуатации МРЛ Приложение Р (обязательное). Форма акта инспекции АМЦ (АМСГ) по эксплуатации метеооборудования Приложение С (справочное). Требования к измерениям и регистрации МОД, методика снятия значений МОД с диаграммных лент Приложение Т (обязательное). Перечень необходимых медицинских средств и медикаментов в аптечках, находящихся на рабочих местах инженерно-технического состава, обслуживающего метеооборудование Приложение У (обязательное). Форма отчетности о работе МРЛ Приложение Ф (обязательное). Периодичность проведения профилактических работ на МРЛ Приложение Х (справочное. Перечень нормативных документов, регламентирующих методики поверки средств измерений в Росгидромете Приложение Ц (рекомендуемое). Форма рекламационного акта Библиография |
| Разработан: | ГУ ГГО Росгидромета |
| Утверждён: | 01.03.2009 Росгидромет (Rosgidromet ) |
| Заменяет собой: |
|
| Нормативные ссылки: |
|




































































































































