|
МИНИСТЕРСТВО ПРИРОДНЫХ РЕСУРСОВ И ЭКОЛОГИИ ФЕДЕРАЛЬНАЯ
СЛУЖБА ПО ГИДРОМЕТЕОРОЛОГИИ |
|
|
РУКОВОДЯЩИЙ ДОКУМЕНТ |
РД 52.04.716-2009 |
ПРАВИЛА ЭКСПЛУАТАЦИИ
МЕТЕОРОЛОГИЧЕСКОГО ОБОРУДОВАНИЯ
АЭРОДРОМОВ ГРАЖДАНСКОЙ АВИАЦИИ
Санкт-Петербург
2009
Предисловие
|
1 РАЗРАБОТАН |
Государственным учреждением «Главная геофизическая обсерватория им. А.И. Воейкова» (ГУ «ГГО») Росгидромета |
|
2 РАЗРАБОТЧИКИ: |
В.И. Кондратюк (руководитель разработки), Р.А. Круглов, Е.В. Романов (ответственные исполнители), В.Ю. Окоренков (метрологическое обеспечение метеоизмерений), В.С. Огуряев (оборудование MPЛ), Л.М. Рябова, Т.В. Калинкина (обобщение и учет замечаний УГМС) |
|
3 УТВЕРЖДЕН |
Федеральной службой по гидрометеорологии и мониторингу окружающей среды (Росгидрометом) март 2009 г. |
|
4 ЗАРЕГИСТРИРОВАН |
ЦМТР ГУ «НПО Тайфун» за номером РД.52.04.716-2009 от 13.04.2009 г. |
|
5 ВЗАМЕН |
«Правил эксплуатации метеорологического оборудования аэродромов Гражданской авиации СССР (ПЭМОА-86)» |
Содержание
РД 52.04.716-2009
РУКОВОДЯЩИЙ ДОКУМЕНТ
|
Правила эксплуатации метеорологического оборудования |
Дата введения - 2010-01-01
Настоящий руководящий документ устанавливает правила организации эксплуатации метеооборудования на аэродромах гражданской авиации (ГА) и определяет планирование технической эксплуатации, ввод в эксплуатацию, проведение технического обслуживания и ремонта метеооборудования, организацию метрологического контроля и поверки средств измерений (СИ), требования к специалистам авиаметеорологических центров (АМЦ), авиаметеорологических станций гражданских (АМСГ) Росгидромета по техническому обслуживанию метеооборудования, контроль за его эксплуатацией.
Техническое обслуживание метеооборудования, разработанного и принятого к применению на аэродромах по решениям федеральных органов до 1994 года, осуществляется в соответствии с эксплуатационными документами, а метеооборудования, разработанного и принятого к применению после 1994 года, - в соответствии с настоящими правилами.
Требования настоящих правил являются обязательными для специалистов АМЦ, АМСГ и технических служб государственных учреждений: «Управление по гидрометеорологии и мониторингу окружающей среды» (ГУ «УГМС»), «Центр (областной, краевой, республиканский, окружной) по гидрометеорологии и мониторингу окружающей среды» (ГУ «ЦГМС»), «Центр по гидрометеорологии и мониторингу окружающей среды с региональными функциями» (ГУ «ЦГМС-Р»), ответственных за эксплуатацию метеооборудования аэродромов.
В настоящем руководящем документе использованы ссылки на следующие стандарты:
ГОСТ 2.601-2006 Единая система конструкторской документации. Эксплуатационные документы
ГОСТ 2.610-2006 Правила выполнения эксплуатационных документов
ГОСТ 27.002-89 Надежность в технике. Основные понятия. Термины и определения
ГОСТ 12.2.003-91 Система стандартов безопасности труда. Оборудование производственное. Общие требования безопасности
ГОСТ 12.2.007.0-75 Система стандартов безопасности труда. Изделия электротехнические. Общие требования безопасности
МИ 2713-2002 Государственная система обеспечения единства измерений. Системы автоматизированные метеорологические измерительные. Методика поверки
МИ 2783-2003 Государственная система обеспечения единства измерений. Измерители высоты нижней границы облаков. Методика поверки
РД 52.04.9-83 Межповерочные интервалы для средств измерения давления, температуры, скорости воздушного потока, характеристик солнечной радиации, эксплуатируемых в системе Госкомгидромета
РД 52.14.610-99 Положение о службах стандартизации Федеральной службы России по гидрометеорологии и мониторингу окружающей среды
РД 52.21.680-2006 Руководство по определению дальности видимости на ВПП (RVR).
РМГ 29-99 Государственная система обеспечения единства измерений. Метрология. Основные термины и определения.
В настоящем руководящем документе применены следующие термины с соответствующими определениями:
3.1 автоматизированная метеорологическая информационно-измерительная система; АМИИС: Совокупность функционально объединенных средств измерений, включающих первичные и вторичные измерительные преобразователи, системы передачи, отображения и регистрации метеорологических величин, работающих под управлением программ, реализуемых центральным устройством.
3.2 аэродром: Определенный участок земной или водной поверхности (включая любые здания, сооружения и оборудование), предназначенный полностью или частично для прибытия, отправления и движения по этой поверхности воздушных судов.
3.3 аэропорт: Комплекс сооружений, предназначенный для приема, отправки воздушных судов и обслуживания воздушных перевозок, имеющий для этих целей аэродром, аэровокзал и другие сооружения и необходимое оборудование.
3.4 безотказность: Свойство объекта непрерывно сохранять работоспособное состояние в течение некоторого времени или наработки на отказ.
3.5 вероятность безотказной работы: Вероятность того, что в пределах заданной наработки отказ изделия не возникнет.
3.6 вероятность восстановления в заданное время: Вероятность того, что время восстановления работоспособности изделия не превысит заданного.
3.7 гарантийный срок: Период (годы, месяцы), в течение которого предприятие-изготовитель гарантирует безвозмездное выполнение ремонта выпускаемых изделий при условии соблюдения эксплуатирующей организацией установленных предприятием-изготовителем правил эксплуатации.
3.8 защитное заземление: Преднамеренное электрическое соединение с землей или ее эквивалентом металлических нетоковедущих частей, которые могут оказаться под напряжением.
3.9 защитное зануление: Электрическое соединение металлических частей электроустановок с заземленной точкой источника питания электроэнергией при помощи нулевого защитного проводника.
3.10 изделие: Единица серийно выпускаемой продукции, предназначенной для выполнения определенной функции.
3.11 исправное состояние: Состояние объекта, при котором оно соответствует всем требованиям, установленным нормативными документами и конструкторской документацией.
3.12 калибровка средств измерений: Совокупность операций, устанавливающих соотношение между значением величины, полученным с помощью данного средства измерений, и соответствующим значением величины, определенным с помощью эталона с целью определения действительных метрологических характеристик этого средства измерений.
3.13 комплект ЗИП: Запасные части, инструменты, принадлежности и материалы, необходимые для технического обслуживания и ремонта изделий и скомплектованные в зависимости от назначения и особенностей использования.
3.14 метеорологическое оборудование (метеооборудование): Средства измерения и другие технические средства, предназначенные для получения, доведения и/или регистрации метеорологических величин, метеорологической информации, необходимых для метеорологического обеспечения взлета и посадки воздушных судов на аэродромах гражданской авиации.
3.15 метеорологические наблюдения (метеонаблюдения): Инструментальные измерения и визуальные оценки метеорологических величин, характеристик и атмосферных явлений в пунктах наблюдений.
3.16 метрологический контроль и надзор: Деятельность, осуществляемая метрологической службой юридического лица в целях проверки соблюдения установленных метрологических правил и норм.
3.17 метрологическая служба: Совокупность субъектов деятельности и видов работ, направленных на обеспечение единства измерений и способов достижения требуемой точности.
3.18 методика выполнения измерений: Совокупность операций и правил, выполнение которых обеспечивает получение результатов измерений с известной погрешностью.
3.19 надежность: Комплексное свойство объекта выполнять заданные функции, сохраняя во времени значения установленных эксплуатационных показателей в заданных пределах, соответствующих заданным режимам и условиям использования, технического обслуживания, ремонта, хранения и транспортирования.
3.20 наработка на отказ: Отношение суммарной наработки восстанавливаемого изделия к математическому ожиданию числа его отказов в течение этой наработки.
3.21 неисправность: Состояние объекта, при котором он не соответствует хотя бы одному из требований нормативной и конструкторской документации.
3.22 нормальные условия поверки: Условия, когда температура окружающего воздуха равна (20 ± 5) °С, относительная влажность воздуха составляет от 30 % до 80 %, атмосферное давление от 630 до 800 мм рт.ст. (от 840 до 1080 гПа.).
3.23 нормативный документ: Документ, устанавливающий правила, общие принципы или характеристики, касающиеся различных видов деятельности или их результатов.
3.24 отказ: Событие, заключающееся в нарушении работоспособного состояния объекта.
3.25 охрана труда: Система сохранения жизни и здоровья работников в процессе трудовой деятельности, включающая в себя правовые, социально-экономические, организационно-технические, санитарно-гигиенические, лечебно-профилактические, реабилитационные и иные мероприятия.
3.26 паспорт: Документ, содержащий сведения, удостоверяющие гарантии изготовителя, значения основных параметров и характеристик (свойств) изделия, сведения о сертификации и утилизации изделия.
3.27 периодическое техническое обслуживание: Техническое обслуживание, выполняемое через установленные в эксплуатационной документации значения наработки или интервалы времени.
3.28 поверка средств измерений: Совокупность операций по определению и подтверждению метрологическим органом соответствия средства измерений установленным техническим требованиям, определению погрешностей средства измерений и установление его пригодности к дальнейшему применению.
3.29 поверочное оборудование: Комплект дополнительных устройств и приспособлений, необходимых для поверки средств измерений.
3.30 повреждение: Событие, заключающееся в нарушении исправности изделия или его составных частей вследствие влияния внешних воздействий, превышающих уровни, установленные в нормативно-технической документации.
3.31 погрешность результата измерения: Отклонение результата измерения от действительного (истинного) значения измеряемой величины.
3.32 погрешность средства измерений: Разность между показанием прибора и действительным (истинным) значением измеряемой величины (для измерительного прибора) или разность между действительной и номинальной характеристиками преобразования, приведенная к его выходу (для измерительного преобразователя).
3.33 пожарная безопасность: Состояние объекта, при котором практически исключается возможность пожара, а в случае его возникновения предотвращается воздействие на людей опасных факторов пожара и обеспечивается защита материальных ценностей.
3.34 порог взлетно-посадочной полосы: Начало участка взлетно-посадочной полосы аэродрома, который может использоваться для посадки воздушных судов.
3.35 предельное состояние: Состояние изделия, при котором его дальнейшая эксплуатация должна быть прекращена из-за неустранимого нарушения требований безопасности или неустранимого ухода метрологических характеристик или показателей безотказности и долговечности за установленные пределы, или неустранимого снижения эффективности эксплуатации ниже допустимой, а также из-за необходимости среднего или капитального ремонта.
3.36 продленный ресурс: Наработка, установленная после проведения технической экспертизы изделия, выработавшего назначенный ресурс.
3.37 работоспособность (работоспособное состояние): Состояние изделия, при котором оно способно выполнять заданные функции, сохраняя значения заданных параметров в пределах, установленных нормативно-технической документацией.
3.38 регламент: Правила, устанавливающие порядок, периодичность и объем работ по техническому обслуживанию изделия.
3.39 резервирование: Метод повышения надежности изделия путем введения избыточности, т.е. дополнительных средств и возможностей сверх минимально необходимых для выполнения им заданных функций.
3.40 резервный элемент: Элемент, предназначенный для обеспечения работоспособности изделия в случае отказа основного элемента.
3.41 ремонт: Комплекс операций по восстановлению исправности или работоспособности изделий и восстановлению ресурса изделий или их составных частей.
3.42 сбой: Событие, заключающееся во временном нарушении работоспособности изделия. Признаки (критерии) сбоев устанавливаются нормативно-технической документацией на данное изделие.
3.43 сертификат типа оборудования: Документ, удостоверяющий соответствие данного типа оборудования аэродрома действующим сертификационным требованиям к оборудованию аэродромов гражданской авиации.
3.44 сертификация: Процедура, посредством которой третья сторона документально удостоверяет, что продукция, процесс или услуга соответствуют установленным сертификационным требованиям.
3.45 среднее время восстановления: Математическое ожидание времени восстановления работоспособности.
3.46 средний ресурс до списания: Средний ресурс изделия от начала эксплуатации до его списания, обусловленного предельным состоянием.
3.47 средний ресурс до среднего (капитального) ремонта: Средний ресурс от начала эксплуатации изделия до его первого среднего (капитального) ремонта.
3.48 средний срок сохраняемости: Математическое ожидание срока сохраняемости изделия.
3.49 средняя наработка до отказа: Математическое ожидание наработки изделия до первого отказа.
3.50 средство измерений: По РМГ 29.
3.51 срок службы: Календарная продолжительность эксплуатации от начала эксплуатации объекта или ее возобновления после ремонта до перехода в предельное состояние.
3.52 техника безопасности: Система организационных и технических мероприятий и средств, предотвращающих воздействие на работающих опасных производственных факторов.
3.53 техническая экспертиза: Совокупность операций с целью определения показателей безотказности и долговечности изделия.
3.54 технические условия: Документ, устанавливающий технические требования, которым должна удовлетворять продукция, процесс или услуга. Входит в состав конструкторской документации и является основным правовым документом, характеризующим качество продукции при заключении договоров на ее поставку и предъявление рекламаций.
3.55 технический ресурс: Наработка объекта от начала эксплуатации или ее возобновления после среднего (капитального) ремонта до наступления предельного состояния.
3.56 техническое обслуживание: Комплекс операций или операция по поддержанию работоспособности или исправности изделия при использовании по назначению, в режиме ожидания, при хранении и транспортировании.
3.57 тип средств измерений: Совокупность средств измерений одного и того же назначения, основанных на одном и том же принципе действия, имеющих одинаковую конструкцию и изготовленных по одной и той же технической документации.
3.58 удостоверение годности оборудования к эксплуатации: Документ, удостоверяющий соответствие монтажа и настройки серийного образца оборудования на месте эксплуатации требованиям нормативной и эксплуатационной документации и дающий право на его эксплуатацию в соответствии с установленными для данного типа оборудования ограничениями (выдается по результатам приемочных испытаний образца на месте эксплуатации).
3.59 формуляр: Документ, содержащий сведения, удостоверяющие гарантии изготовителя, значения основных параметров и характеристик (свойств) изделия, отражающие техническое состояние данного изделия, сведения о сертификации и утилизации изделия, а также сведения, которые вносят в период его эксплуатации (длительность и условия работы, техническое обслуживание, ремонт и другие данные).
3.60 эксплуатационные документы: Текстовые и графические рабочие документы, которые в отдельности или в совокупности дают возможность ознакомиться с изделием и определяют правила его эксплуатации и контроля метрологических характеристик (для средств измерений). Содержат, как правило, руководство по эксплуатации, инструкцию по монтажу и пуску изделия в эксплуатацию, формуляр или паспорт, ведомость эксплуатационных документов.
В настоящем руководящем документе используются следующие сокращения:
|
АИУ |
- автономное индикаторное устройство |
|
АМИИС |
- автоматизированная метеорологическая информационно-измерительная система |
|
АМРК |
- автоматизированный метеорологический радиолокационный комплекс |
|
АМСГ |
- авиаметеорологическая станция гражданская |
|
АМЦ |
- авиаметеорологический центр |
|
АП |
- авиационные правила |
|
АРМ |
- автоматизированное рабочее место |
|
АТК |
- адаптер телеграфных каналов |
|
АЦП |
- аналого-цифровой преобразователь |
|
ББ |
- база ближняя |
|
БД |
- база дальняя |
|
БДТВ |
- блок датчиков температуры и влажности |
|
БИ |
- блок индикации |
|
БК |
- блок контроля |
|
БОИ |
- блок обработки информации |
|
БП |
- блок питания |
|
БПРМ |
- ближний приводной радиомаркерный пункт |
|
ЕС |
- блок сопряжения |
|
БУП |
- блок управления и преобразования |
|
БФ |
- блок фотометрический |
|
БЭ |
- блок электронный |
|
ВНГО |
- высота нижней границы облаков |
|
ВПП |
- взлетно-посадочная полоса |
|
ГА |
- гражданская авиация |
|
ГГС |
- громкоговорящая связь |
|
ГУ «ГГО» |
- государственное учреждение «Главная геофизическая обсерватория им. А.И. Воейкова» |
|
ГУ «УГМС» |
- государственное учреждение «Управление по гидрометеорологии и мониторингу окружающей среды» |
|
ГУ «ЦГМС» |
- государственное учреждение «Центр (областной, краевой, республиканский, окружной) по гидрометеорологии и мониторингу окружающей среды» |
|
ГУ «ЦГМС-Р» |
- государственное учреждение «Центр по гидрометеорологии и мониторингу окружающей среды с региональными функциями» |
|
ДВ |
- дальность видимости |
|
ДВ ВПП |
- дальность видимости на ВПП |
|
ДВ НГО |
- датчик высоты нижней границы облаков |
|
ДВО |
- датчик высоты облаков |
|
ДД |
- датчик давления |
|
ДПВ |
- датчик параметров ветра |
|
ЗИП |
- запасное имущество и приспособления |
|
ИВО |
- измеритель высоты облаков |
|
ИКАО |
- Международная организация гражданской авиации |
|
(ICAO) |
- (International Civil Aviation Organization) |
|
ИНГО |
- измеритель нижней границы облаков |
|
ИЭ |
- инструкция по эксплуатации |
|
КРАМС |
- комплексная радиотехническая аэродромная метеорологическая станция |
|
МАК |
- Межгосударственный авиационный комитет |
|
МВИ |
- методика выполнения измерений |
|
МДВ |
- метеорологическая дальность видимости |
|
МОД |
- метеорологическая оптическая дальность |
|
Метеоагентство Росгидромета |
- автономная некоммерческая организация «Агентство Росгидромета по специализированному гидрометобеспечению» |
|
МРЛ |
- метеорологический радиолокатор |
|
НД |
- нормативные документы |
|
ОВИ (ОМИ) |
- огни высокой (малой) интенсивности |
|
ОрВД |
- организация воздушного движения |
|
ОНС |
- организация наблюдательной сети Росгидромета: ГУ «УГМС», «ЦГМС-Р», «ЦГМС» |
|
ОПН |
- основной пункт наблюдений |
|
ПФ |
- преобразователь функциональный |
|
ПЭВМ |
- персональная электронно-вычислительная машина |
|
РВО |
- регистратор высоты облаков |
|
Росгидромет |
- Федеральная служба по гидрометеорологии и мониторингу окружающей среды |
|
Ростехрегулирование |
- Федеральное агентство по техническому регулированию и метрологии (ранее Госстандарт РФ) |
|
РЭ |
- руководство по эксплуатации |
|
СДП |
- стартово-диспетчерский пункт |
|
СИ |
- средство измерений |
|
СПО |
- специальное программное обеспечение |
|
ССИ |
- служба средств измерений |
|
ТС |
- технические средства |
|
ТУ |
- технические условия |
|
УГМС |
- межрегиональное территориальное управление Федеральной службы по гидрометеорологии и мониторингу окружающей среды (территориальный орган Росгидромета) |
|
ФГУП |
- федеральное государственное унитарное предприятие |
|
ФИ |
- фотометр импульсный |
|
ФО |
- формуляр |
|
ЭД |
- эксплуатационная документация |
|
ЭЛТ |
- электронно-лучевая трубка |
5.1 Основой метеоинформации, используемой для метеообеспечения предприятий ГА, служат результаты наблюдений за метеовеличинами и их характеристиками, представляющими собой показатели состояния и развития физических процессов в атмосфере.
5.2 Методика выполнения наблюдений изложена в [1]. Программа метеонаблюдений для метеообеспечения взлета и посадки воздушных судов ГА включает следующие виды наблюдений:
- за атмосферным давлением (только инструментальные);
- за температурой и относительной влажностью воздуха (только инструментальные);
- за скоростью и направлением ветра у земли и на высотах (только инструментальные);
- за облачностью (за высотой нижней границы облаков (ВНГО) - инструментальные и визуальные, за количеством и формой облаков - визуальные);
- за метеорологической дальностью видимости (МДВ) (визуальные);
- за метеорологической оптической дальностью (МОД) (инструментальные);
- за осадками (за количеством, интенсивностью и продолжительностью - инструментальные и визуальные, за видом осадков - визуальные);
- за атмосферными явлениями - туманом, дымкой, метелями, шквалами, грозами, гололедно-изморозевыми отложениями (инструментальные и визуальные).
5.3 Состав метеооборудования, используемого для метеообеспечения ГА, определяется классом аэродрома и программой наблюдений. В состав метеооборудования входят следующие технические средства (ТС):
- первичные измерительные преобразователи, СИ, датчики автоматизированной метеорологической информационно-измерительной системы (АМИИС);
- вторичные измерительные преобразователи (блоки управления и преобразования (БУП), контроллеры, интерфейсные блоки, адаптеры и т.д.) электрических сигналов первичных измерителей метеовеличин в форму, пригодную для дальнейшей автоматизированной (автоматической) обработки в центральном устройстве с целью получения метеоинформации;
- центральные устройства, реализующие алгоритмы, в которых заложены методики выполнения измерений (МВИ) метеовеличин и получение на их основе метеоинформации, а также протоколы обмена и передачи метеоинформации;
- ТС, реализующие интерфейс пользователя (визуализация метеовеличин метеоинформации в удобной для использования форме);
- ТС архивации метеоинформации;
- ТС кодирования и передачи метеоинформации;
- вспомогательные устройства, обеспечивающие необходимые условия для измерений и обслуживания.
Указанные ТС могут быть реализованы в виде отдельных элементов (автономных СИ) или в виде АМИИС.
5.4 Современная технология метеообеспечения взлетов и посадок воздушных судов на аэродромах основана на автоматизированной обработке результатов метеонаблюдений. Достоверность информации, предоставляемой потребителям, обеспечивается единообразием СИ, соблюдением методик выполнения измерений и обработки результатов.
Используемые для наблюдений на аэродромах СИ, комплексное метеооборудование типа АМИИС должны иметь сертификаты Ростехрегулирования и комиссии Межгосударственного авиационного комитета (МАК).
Основные сведения о метеооборудовании, допущенном к эксплуатации на аэродромах ГА изложены в приложении А.
Основными задачами организации эксплуатации метеооборудования являются:
- поддержание показателей безотказности и долговечности метеооборудования в пределах, установленных эксплутационной документацией (ЭД);
- контроль за сохранностью нормированных метрологических характеристик СИ и измерительных систем, входящих в состав метеооборудования, в пределах, установленных ЭД.
6.1.1 Планирование эксплуатации метеооборудования включает в себя разработку годовых, квартальных и месячных планов работ по эксплуатации метеооборудования и поверке приборов.
6.1.2 Годовые планы работ по эксплуатации метеооборудования разрабатывают на основании:
- фактического наличия метеооборудования и его технического состояния;
- плана поступления нового метеооборудования;
- плановых сроков среднего, капитального ремонта метеооборудования или сроков его списания;
- установленной периодичности технического обслуживания метеоборудования.
В годовые планы работ по эксплуатации метеооборудования (приложение Б) включают:
- сезонное техническое обслуживание (подготовку метеооборудования к весенне-летнему и осенне-зимнему периодам эксплуатации);
- монтаж и установку новой техники;
- отправку ТС в ремонт и списание ТС, достигших предельного состояния;
- проведение технической экспертизы и продление ресурса метеооборудования, выработавшего средний или продленный ресурс;
- поверку приборов в соответствии с графиками;
- работы, направленные на совершенствование организации технического обслуживания метеооборудования;
- проведение технической учебы по эксплуатации метеооборудования.
Годовые планы работ по эксплуатации метеооборудования аэродромов составляет заместитель начальника АМЦ, АМСГ или инженер по эксплуатации приборов и утверждает начальник АМЦ, АМСГ. Пункты годовых планов, выполнение которых связано со службами аэродромов, согласовываются с соответствующими службами.
6.1.3 Месячные, квартальные планы работы АМЦ, АМСГ по эксплуатации метеооборудования составляются на основании годовых планов работы и включают (приложение В):
- все виды технического обслуживания метеооборудования (оперативное, периодическое, специальное);
- поверку СИ, измерительных систем;
- все необходимые виды ремонта;
- монтаж и установку новой техники;
- демонтаж и отправку метеооборудования в ремонт;
- проведение технической экспертизы метеооборудования, выработавшего средний или продленный ресурс;
- мероприятия по доработке метеооборудования и др.
Месячные (квартальные) планы работы АМЦ, АМСГ по эксплуатации метеооборудования составляет инженер по эксплуатации приборов, а там, где эта должность отсутствует согласно штатно-должностному расписанию, - начальник АМЦ, АМСГ.
6.2.1 Метеооборудование должно находиться в работоспособном состоянии круглосуточно.
Надежная работа метеооборудования обеспечивается его грамотным использованием дежурными техниками-метеорологами и профессионально налаженным обслуживанием инженерно-техническим персоналом АМЦ, АМСГ, ответственным за его эксплуатацию.
6.2.2 Измерения метеовеличин и характеристик, необходимых для обеспечения взлета и посадки воздушных судов, производят дежурные техники-метеорологи. На них возлагается ответственность за правильное и грамотное использование СИ и измерительных систем, проведение метеонаблюдений и доведение метеоинформации до диспетчеров службы организации воздушного движения (ОрВД).
Рабочее место дежурного техника-метеоролога должно быть оборудовано средствами управления и контроля работоспособности СИ, особенно работающих дистанционно, а также средствами прямой связи с диспетчерами службы ОрВД, начальником дежурной смены АМЦ, АМСГ или дежурным синоптиком.
Порядок проведения метеонаблюдений, объем передаваемой диспетчерам службы ОрВД метеоинформации определяется наставлением по метеообеспечению ГА [2]. должностными инструкциями и другими руководящими документами Росгидромета и ГА.
Согласно должностной инструкции техники-метеорологи во время дежурства:
- контролируют работоспособность СИ, их работу в заданных ЭД режимах;
- критически оценивают достоверность результатов измерения метеовеличин и контролируют правильность передачи их диспетчерам службы ОрВД;
- ведут журнал учета работы метеооборудования (приложение Г).
При приеме дежурства техник-метеоролог обязан проверить:
- наличие, техническое состояние (работоспособность) используемых СИ, АМИИС, средств доведения метеоинформации диспетчерам службы ОрВД и средств связи;
- наличие медицинской аптечки и средств пожаротушения, а также наличие приспособлений, обеспечивающих безопасность персонала при работе с ТС;
- записи в журнале учета работы метеооборудования во время дежурства предшествующего техника-метеоролога.
При обнаружении отклонений от нормальных режимов работы ТС или выявлении их неработоспособности техник-метеоролог обязан:
- произвести переход на резервное средство или на визуальный метод определения метеовеличин;
- определить характер отказа, сообщить об этом начальнику смены (дежурному синоптику) и сделать соответствующую запись в журнале учета работы метеооборудования (приложение Г).
При проведении измерений (метеонаблюдений) необходимо соблюдать правила техники безопасности [3]. Общие указания техники безопасности приведены в 6.8.
6.2.3 Техническое обслуживание метеооборудования аэродромов должно производиться инженерно-техническими работниками АМЦ (АМСГ) по планово-предупредительной системе, предусматривающей строгое выполнение планов работы АМЦ (АМСГ) по технической эксплуатации метеооборудования с целью:
- повышения безотказности, т.е. предупреждения отказов метеооборудования при использовании его для измерения метеовеличин;
- увеличения ресурса (срока службы).
Регламенты технического обслуживания метеооборудования аэродромов содержатся в руководствах по эксплуатации (РЭ).
Техническое обслуживание метеооборудования производят:
- инженерно-технические работники АМЦ, АМСГ, а при их отсутствии - дежурные техники-метеорологи - оперативное ежедневное техническое обслуживание;
- инженерно-технические работники АМЦ, АМСГ - недельное, месячное, квартальное техническое обслуживание;
-техническая группа (бригада), состоящая из инженерно-технических работников АМЦ, АМСГ, ответственных за эксплуатацию СИ и АМИИС, в том числе метеорологического радиолокатора (МРЛ), и, при необходимости, специалистов технических групп ГУ «УГМС», «ЦГМС-Р» - специальное, сезонное или годовое техническое обслуживание.
Бригадный метод технического обслуживания метеооборудования аэродромов является наиболее целесообразным, так как обеспечивает более полное проведение регламентных работ и дает лучшие показатели качества.
6.2.4 Для проведения регламентных и ремонтных работ метеооборудования аэродромов должно быть выделено отапливаемое помещение (мастерская) площадью не менее 20 м2.
В мастерской размещают оборудование, инструмент, контрольно-измерительные приборы, необходимые для проведения настройки и текущего ремонта метеооборудования.
6.2.5 Запасное или временно не используемое метеооборудование должно храниться в кладовой, где обеспечивают температуру и относительную влажность воздуха, соответствующие условиям хранения радиоэлектронной аппаратуры, запасного имущества и приспособлений (ЗИП) и расходных материалов - температура воздуха от 5 °С до 35 °С, относительная влажность не более 65 %. В неотапливаемых помещениях допускается хранить инструмент, изоляционные материалы, лакокрасочные изделия, кабели, провода, упаковочную тару и др.
Под навесами и на открытых площадках разрешается хранить метеооборудование, размещенное (смонтированное) в контейнерах (кунгах), а также кабели связи. При хранении метеооборудования в неблагоприятных условиях (под навесами, в неотапливаемых помещениях или в помещениях с высокой влажностью) оно должно быть законсервировано в соответствии с правилами, установленными ЭД.
В кладовых должна обеспечиваться сохранность имущества и противопожарная безопасность; в них должно быть естественное и искусственное освещение для производства работ в любое время суток, стеллажи ЗИП и материалов.
Запрещается хранить в кладовых легковоспламеняющиеся жидкости, огнеопасные и ядовитые вещества.
6.2.6 Для осуществления технического обслуживания метеооборудования, установленного на аэродроме, необходимы транспортные средства для перевозки инженерно-технического состава, контрольно-измерительных приборов, инструмента, принадлежностей и расходного материала.
6.2.7 Руководство аэропорта, в котором установлено метеооборудование, должно создавать необходимые условия для технического обслуживания метеооборудования, в том числе выделять транспортные средства и помещения для мастерской и кладовой, а также обеспечить подъездные дороги к местам установки метеооборудования. Указанные обязательства оговариваются локальным соглашением на хоздоговорной основе.
6.2.8 Вывод метеооборудования из эксплуатации для проведения технического обслуживания и поверки производится лицами, ответственными за его эксплуатацию, по согласованию с заместителем начальника (начальником) АМЦ, АМСГ или с инженером по эксплуатации приборов. На период выключения основных СИ и средств доведения метеоинформации для проведения технического обслуживания производится переход на резервные средства.
Для проведения технического обслуживания и поверки нерезервированных СИ их выключение осуществляется на основании утвержденного плана работы, согласованного со службой ОрВД.
6.3.1 Основной задачей материально-технического обеспечения АМЦ, АМСГ является своевременное удовлетворение их потребностей в необходимом метеооборудовании, контрольно-измерительных приборах, инструментах, спецодежде, запасных частях, расходных материалах.
Материально-техническое обеспечение АМЦ, АМСГ производится либо централизованно за счет средств Метеоагентства Росгидромета, либо за счет собственных средств соответствующих организаций наблюдательной сети (ОНС), территориальных метеоагентств.
Материально-техническое обеспечение АМЦ, АМСГ включает следующие мероприятия: планирование, контроль, поставку, получение и приемку, учет и хранение, списание метеооборудования, контрольно-измерительных приборов, спецодежды, ЗИП и расходных материалов.
6.3.2 Материально-техническое обеспечение АМЦ, АМСГ осуществляют ГУ «УГМС», «ЦГМС-Р», Метеоагентство Росгидромета, территориальные метеоагентства на основании заявок АМЦ, АМСГ, согласованных со службой средств измерений (ССИ) указанных ОНС.
Годовые заявки на материально-техническое обеспечение составляются на основании действующих авиационных правил [4 - 6], норм годности к эксплуатации гражданских аэродромов [7] и типового табеля [8], планируемой наработки метеооборудования, плана поступления метеооборудования в ремонт, норм расходования, ожидаемого остатка метеооборудования и материалов на начало планируемого года.
Формы заявок и сроки их представления устанавливаются территориальным органом Росгидромета, ГУ «УГМС».
6.3.3 Контроль за поставками метеооборудования в АМЦ, АМСГ осуществляется ГУ «УГМС», «ЦГМС-Р», ФГУП «Гидрометпоставка» и Метеоагентством Росгидромета.
6.3.4 Поставка метеооборудования в АМЦ и АМСГ может производиться непосредственно от предприятий-изготовителей или через ГУ «УГМС», «ЦГМС-Р», территориальные метеоагентства (филиалы) по планам снабжения.
При приемке дорогостоящего метеооборудования типа АМИИС, МРЛ как правило следует привлекать на хоздоговорной основе государственное учреждение «Главная геофизическая обсерватория им. А.И. Воейкова» (ГУ «ГГО») для решения следующих задач:
- выполнение экспертизы проекта размещения метеооборудования, соответствия его требованиям нормативных документов (НД) по выдаваемой информации с целью оформления удостоверения годности;
- методическое и метрологическое сопровождение оснащения АМСГ, АМЦ метеооборудованием.
СИ и вспомогательное оборудование (например, метеомачты, психрометрические будки и др.) на АМЦ, АМСГ могут поступать через ОНС Росгидромета.
6.3.5 Приемка поставляемых образцов метеооборудования в АМЦ и на АМСГ осуществляется комиссией, назначаемой приказом по ГУ «УГМС», «ЦГМС-Р» или распоряжением начальника АМЦ, АМСГ.
При приемке метеооборудования, поступившего от предприятий-изготовителей, необходимо руководствоваться действующими документами о порядке поставки и приемки продукции производственно-технического назначения [9 - 11].
6.3.5.1 Комиссия, созданная для приемки метеооборудования, обязана:
- проверить наличие и сохранность на транспортных местах пломб, оттисков на них, состояние и сохранность упаковочной тары, соответствие транспортным и сопроводительным документам наименования и маркировки груза, количества мест;
- при выявлении нарушения пломб, повреждения транспортной тары, несоответствия транспортным документам потребовать и добиться составления коммерческого акта в соответствии с уставом транспортного ведомства и положением о перевозке грузов;
- сообщить в ГУ «УГМС», «ЦГМС-Р» о выявленных недостатках при приемке метеооборудования от транспортных организаций и выслать копию коммерческого акта для составления и предъявления претензии.
Комиссией проверяется также наличие заверенных предприятием - изготовителем действующих сертификатов.
6.3.5.2 Метеооборудование, поступившее в исправной таре, но с нарушенными пломбами, принимается комиссией в соответствии с инструкциями о порядке приемки продукции по количеству и качеству [9, 10]. При этом комиссия обязана:
- проверить наличие в формуляре (ФО) или в паспорте свидетельства о приемке, соответствие комплектности метеооборудования ЭД;
- развернуть полученный образец метеооборудования и проверить его исправность.
6.3.5.3 В случае обнаружения несоответствия данного образца ЭД по качеству и комплектности начальник ССИ ГУ «УГМС», «ЦГМС-Р» или начальник АМЦ, АМСГ обязан:
- обеспечить хранение метеооборудования в условиях, соответствующих требованиям ЭД;
- вызвать телеграммой в течение 3 суток представителя предприятия-изготовителя для продолжения приемки и составления двухстороннего акта;
- если метеооборудование принимается в АМЦ или на АМСГ, сообщить в ССИ УГМС о выявленных недостатках по качеству или комплектности.
6.3.5.4 В уведомлении (телеграмме) о вызове представителя предприятия-изготовителя должны быть указаны: дата поступления, наименование и количество изделий; номер транспортного документа; основные недостатки и количество забракованных изделий; время, на которое назначена приемка с составлением двухстороннего акта (5 дней плюс время на дорогу) и место приемки.
6.3.5.5 При неявке представителя предприятия-изготовителя по вызову в установленный срок комиссия должна продолжить приемку метеооборудования и составить односторонний акт с участием одного из компетентных лиц:
- представителя территориального органа Росгидромета, ГУ «УГМС», «ЦГМС-Р», АМЦ, АМСГ, назначенного соответствующим руководителем;
- представителя другого (стороннего) предприятия (организации), выделенного его руководителем для приемки изделий метеооборудования.
6.3.5.6 Представители предприятия-изготовителя, ОНС Росгидромета или АМЦ, АМСГ, другого (стороннего) предприятия (организации), вызванные (приглашенные) для участия в приемке метеооборудования, должны иметь доверенность, в которой указывают:
- дату выдачи и ее номер;
- фамилию, имя и отчество, место работы и должность представителя;
- наименование предприятия, на которое направляется представитель;
- наименование метеооборудования (и номер транспортного документа), на приемку которого уполномочен представитель.
6.3.5.7 Лица, осуществляющие приемку метеооборудования по качеству и комплектности, обязаны строго соблюдать правила приемки и удостоверять своей подписью только те факты, которые были установлены с их участием. Запись в акте данных, не установленных непосредственно участниками приемки, запрещается.
6.3.5.8 По результатам приемки метеооборудования составляют акт (приложение Д) о фактическом качестве и комплектности полученного метеооборудования. Акт должен быть:
- составлен не позднее 5 дней с момента окончания приемки и размножен в 5 экземплярах;
- подписан всеми лицами, участвовавшими в проверке качества и комплектности метеооборудования. Лицо, не согласное с содержанием акта, обязано подписать его с оговоркой о своем несогласии и изложить свое мнение;
- утвержден в трехдневный срок (с момента составления) руководителем территориального органа Росгидромета, ГУ «УГМС», территориального метеоагентства (филиала) или начальником АМЦ, АМСГ, подпись подтверждается печатью;
- отправлен в течение суток в ССИ ГУ «УГМС», «ЦГМС-Р» (первые 3 экземпляра) и предприятию-изготовителю (1 экземпляр) с приложением к каждому экземпляру акта копий: транспортного документа, удостоверения представителя общественности или другого (стороннего) предприятия (организации), принимавшего участие в приемке, а также (только в ССИ ГУ «УГМС», «ЦГМС-Р») упаковочные ярлыки тарных мест, в которых установлены ненадлежащие качество и комплектность изделия;
6.3.5.9 При выявлении недостачи или отсутствия сопроводительных или эксплуатационных документов приемка метеооборудования не приостанавливается, а составляется акт о фактической комплектности и качестве поступившего метеооборудования с указанием отсутствующих документов.
6.3.5.10 Акты приемки метеооборудования по качеству и комплектности должны регистрироваться в журналах и храниться в АМЦ, на АМСГ и в ССИ ГУ «УГМС», «ЦГМС-Р» или территориальных метеоагентствах (филиалах).
6.3.5.11 С получением от АМЦ, АМСГ актов приемки метеооборудования по качеству и комплектности ССИ совместно с юридической службой ГУ «УГМС», «ЦГМС-Р» оформляет претензию предприятию-изготовителю и отправляет ее с необходимыми предложениями в 10-дневный срок с момента утверждения акта приемки метеооборудования по качеству и комплектности. При неудовлетворении претензии документы передаются в арбитраж.
6.3.6 Учет наличия и перемещения метеооборудования и имущества ведется начальником АМЦ, АМСГ в специальном журнале учета наличия и перемещения материально-технических ценностей, форма которого устанавливается ГУ «УГМС», «ЦГМС-Р». Материально-технические ценности хранятся в кладовой, отвечающей требованиям, изложенным в 6.2.5.
6.3.7 Метеооборудование, контрольно-измерительные приборы и другие ТС, достигшие предельного состояния, а также израсходованные элементы ЗИПа и расходные материалы, подлежат списанию.
Истечение ресурса (срока службы) не может служить основанием для списания метеооборудования и контрольно-измерительных приборов, если они по своему техническому состоянию до и после ремонта пригодны для дальнейшего использования по назначению. В этом случае ресурс (срок службы) изделия может быть продлен. Правила и технология продления ресурса (срока службы) метеооборудования изложены в 6.9.
Списание метеооборудования и контрольно-измерительных приборов, достигших предельного состояния, а также имущества и расходных материалов, производят по актам комиссий, назначаемых в ГУ «УГМС», «ЦГМС-Р» или в территориальных метеоагентствах (филиалах), АМЦ, АМСГ.
В комиссии включают специалистов, хорошо знающих метеооборудование и способных дать правильную оценку его технического состояния. При определении технического состояния метеооборудования и оформления документов на списание комиссия руководствуется правилами, изложенными в 6.9.6 - 6.9.11.
6.4.1 Ввод в эксплуатацию метеооборудования аэродромов включает: подготовку мест и помещений для установки метеооборудования, проведение монтажа и установки метеооборудования, оформление документов на право его ввода в эксплуатацию.
6.4.2 Места для установки метеооборудования выбирают в соответствии с действующими нормами годности к эксплуатации в РФ гражданских аэродромов НГЭА-92 [7], АП-139 [6].
6.4.3 По согласованию с аэродромной службой ОрВД здания (помещения) и сооружения, необходимые для установки метеооборудования аэродромов, выделяются (строятся) предприятиями ГА, ответственными за эксплуатацию аэродрома (исходя из [12] и в соответствии с действующим типовым проектом строительства стартового и метеонаблюдательного пункта, согласованным с Росгидрометом и утвержденным соответствующей структурой ГА).
6.4.4 Для размещения метеооборудования необходимо пользоваться ЭД. При необходимости технические требования к установке и размещению могут быть разработаны в ГУ «ГГО».
6.4.5 На основном пункте наблюдений (ОПН) должна быть оборудована метеоплощадка, на которой устанавливают психрометрическую будку для измерителей температуры и влажности воздуха, измеритель количества осадков. Автоматические датчики температуры и влажности воздуха устанавливаются на аэродроме таким образом, чтобы информация с них могла быть получена в рабочем помещении метеонаблюдателей. Датчик грозы (при наличии АМИИС) устанавливается вблизи контрольной точки аэродрома.
На метеоплощадке, удаленной от рабочего помещения дежурных метеорологов на расстояние менее 50 м, можно устанавливать приемники и передатчики измерителя ВНГО.
Метеоплощадка должна иметь размер не менее 20×16 м и ограждение из металлической сетки или штакетника высотой от 120 до 150 см.
В АМЦ и на АМСГ, где проводят режимные метеорологические наблюдения, метеоплощадка должна удовлетворять требованиям Наставления [13].
6.4.6 Для размещения пультов управления СИ ВНГО, дистанционных приставок к ним и организации работы техника-метеоролога (при выездах) на ближний приводной радиомаркерный пункт (БПРМ) должны быть выделены рабочие помещения площадью от 8 до 10 м2. Окна этого помещения должны быть обращены в сторону взлетно-посадочной полосы (ВПП).
6.4.7 Рабочие помещения на ОПН выделяются в соответствии с действующим типовым проектом строительства стартового и метеонаблюдательного пункта, согласованным с Росгидрометом и утвержденным соответствующей структурой ГА.
Если ОПН располагают не на стартово-диспетчерском пункте (СДП), помещения выделяют в соответствии с действующими ведомственными нормами технологического проектирования СДП в аэропортах.
6.4.8 Водородохранилище (газогенераторную) строят на ОПН по типовому проекту в кирпичном или железобетонном исполнении.
6.4.9 Надзор за подготовкой (строительством, изготовлением) помещений, зданий, сооружений для установки метеооборудования осуществляет представитель АМЦ, АМСГ, который должен знать требования по установке и эксплуатации метеооборудования, санитарные нормы, правила производства монтажных работ и контролировать соответствие и качество выполняемых работ.
Заключение о готовности рабочих мест и сооружений для размещения и установки метеооборудования дает начальник АМЦ, АМСГ и оформляет его совместно с начальником аэропорта соответствующим документом.
6.4.10 Для подключения дистанционных измерительных преобразователей метеовеличин, средств передачи метеоинформации предприятия ГА выделяют (прокладывают) линии связи и обеспечивают телефонную и громкоговорящую связь (ГГС) техников-метеорологов с диспетчерами службы ОрВД аэродрома.
Выделенные (проложенные) линии связи должны удовлетворять действующим сертификационным требованиям к аэродромам ГА.
6.4.11 Монтаж и пуско-наладочные работы СИ и систем производятся специалистами предприятий-изготовителей или монтажных организаций, аккредитованных на выполнение этих работ, совместно со специалистами АМЦ, АМСГ по договорам, заключаемым ГУ «УГМС», «ЦГМС-Р», территориальными метеоагентствами (филиалами) с этими организациями. В договорах целесообразно предусматривать участие представителей ГУ «ГГО» по вопросам методического и метрологического сопровождения систем.
6.4.12 Приемка в эксплуатацию метеооборудования на аэродромах производится (после его установки, монтажа, окончания пуско-наладочных работ и технологического прогона) комиссией, назначаемой приказом (распоряжением) руководителя ГУ «УГМС», «ЦГМС-Р», территориального метеоагентства (филиала), состоящей из представителя ССИ ГУ «УГМС», «ЦГМС-Р», специалистов АМЦ, АМСГ. Если установка, монтаж и пуско-наладочные работы метеооборудования производились представителями предприятия-изготовителя или монтажной организацией, то в состав комиссии включают их представителя.
Комиссия обязана:
- проверить наличие в ЭД отметки отдела технического контроля предприятия - изготовителя о пригодности метеооборудования к эксплуатации;
- по ЭД произвести проверку работоспособности и технологический прогон принимаемого метеооборудования;
- составить акт приемки метеооборудования в эксплуатацию (приложение Е). Акт высылает начальник АМЦ, АМСГ на утверждение в ССИ ГУ «УГМС», «ЦГМС-Р» в течение не более 3 суток после приемки изделия.
При включении в состав комиссии представителя органа (ССИ, ГУ «ГГО» для МРЛ), уполномоченного оформить удостоверение годности, последнее, при положительном заключении, оформляют здесь же в период работы комиссии, но не позднее 10-дневного срока.
6.4.13 Ввод в эксплуатацию метеооборудования аэродромов производят на основании акта приемки в эксплуатацию.
Ответственность за организацию работ и своевременный ввод в эксплуатацию метеооборудования возлагается на начальника АМЦ, АМСГ.
6.4.14 Метеооборудование, допущенное к эксплуатации на аэродромах решениями федеральных органов до 1994 г. (типы которого, как правило, не сертифицированы), вводят в эксплуатацию после утверждения акта приемки метеооборудования руководителями ГУ «УГМС» (директором ГУ «ГГО» для АМИИС и МРЛ).
Метеооборудование, тип которого сертифицирован, вводят в эксплуатацию после оформления удостоверения годности (приложение Ж).
Использование для обеспечения взлета, посадки и полетов воздушных судов на аэродромах ГА сертифицированного метеооборудования без удостоверений годности запрещается.
6.4.15 Удостоверения годности на конкретные экземпляры метеооборудования, установленного на аэродромах Г А, выдаются:
- на комплексные АМИИС и МРЛ, автоматизированные метеорологические радиолокационные комплексы (АМРК) - директором ГУ «ГГО»;
- на датчики и автономные приборы - руководителями ГУ «УГМС».
6.4.16 Регистрация введенных в эксплуатацию изделий, на которые выданы удостоверения годности, производится:
- комплексных метеорологических измерительных систем и МРЛ - уполномоченным органом ГУ «ГГО»;
- датчиков и автономных приборов - ССИ ГУ «УГМС», «ЦГМС-Р».
6.4.17 Удостоверения годности на сертифицированное метеооборудование оформляются по заявлениям, подаваемым начальниками АМЦ, АМСГ директору ГУ «ГГО» - на АМИИС, МРЛ и АМРК, руководителю ГУ «УГМС», «ЦГМС-Р», территориальных метеоагентств (филиалов) - на СИ МОД, ВНГО, параметров ветра и других автономных приборов (приложение И).
Примечание - В исключительных случаях (например, для авиапредприятий) возможно оформление Удостоверений годности на отдельные приборы ГУ «ГГО» на хоздоговорной основе.
6.4.18 К заявлению прилагают:
- акт приемки метеоборудования в эксплуатацию (приложение Е) в 2 экземплярах, а также (для MPЛ, АМРК) акт инспекции ССИ ГУ «УГМС», «ЦГМС-Р», ГУ «ГГО»;
- копии свидетельства поверки изделия аккредитованной Ростехрегулированием организацией;
- копии действующих сертификатов;
- схему размещения метеооборудования на аэродроме.
Если метеоборудование поступило из другого АМЦ, АМСГ или ведомства по приемо-передаточному акту, дополнительно прилагают акт оценки технического состояния метеооборудования (приложение К).
В случае необходимости могут быть запрошены дополнительные сведения (тип светосигнальной системы, сведения о резервном оборудовании и др.)
6.4.19 Удостоверение годности к эксплуатации АМИИС и автономных приборов выдается на срок до 5 лет с учетом их технического состояния. Срок действия удостоверения годности не должен превышать технического ресурса изделия.
Удостоверение годности MPЛ, АМРК выдается директором ГУ «ГГО» на основании заключения филиала ГУ «ГГО» на срок до 3 лет в зависимости от состояния аппаратуры.
Для определения возможности выдачи удостоверения годности к эксплуатации МРЛ, АМРК на МРЛ, АМРК вызывают специалистов ГУ «ГГО», которые составляют акт оценки технического состояния метеооборудования.
Для приемки вновь вводимых МРЛ, АМРК после среднего ремонта, модернизации МРЛ либо АМРК вызывают специалистов ГУ «ГГО», которые дают заключение о готовности аппаратуры и возможности выдачи удостоверения годности.
В случае невозможности прибытия специалистов ГУ «ГГО» акт оценки технического состояния метеооборудования составляется комиссией, созданной руководителем территориального органа Росгидромета, ГУ «УГМС», «ЦГМС-Р» (территориального метеоагентства (филиала), АМЦ, АМСГ) и отсылается в ГУ «ГГО». При положительном заключении ГУ «ГГО» в адрес соответствующего подразделения Росгидромета высылают удостоверение годности к эксплуатации МРЛ, АМРК.
В случае, если наработка МРЛ, АМРК составила более 15000 ч, а оборудование не подвергалось среднему ремонту, удостоверение годности на это оборудование выдается сроком на 1 год.
6.4.20 Срок действия удостоверения годности прекращается в следующих случаях:
- приостановление действия или аннулирование сертификата на тип СИ (Ростехрегулирование) и/или тип оборудования (МАК);
- существенное изменение комплектности и функций метеооборудования (например, изменение программного обеспечения АМИИС, АМРК);
- выполнение среднего или капитального ремонта;
- демонтаж метеооборудования для установки на новом месте;
- списание метеооборудования.
6.4.21 Возобновление или замену утратившего силу удостоверения годности осуществляют должностные лица, выдавшие его.
6.4.22 Заявление на продление срока действия удостоверения годности из АМЦ, АМСГ направляют в организации, выдавшие его. К заявлению прилагают акт оценки технического состояния метеооборудования аэродрома (приложение К) и материалы последней поверки.
6.4.23 Если до истечения срока действия удостоверения годности метеооборудование не эксплуатировалось более 3 месяцев, продлению его эксплуатации должна предшествовать контрольная проверка работоспособности с оформлением акта оценки технического состояния.
6.5.1 Техническое обслуживание метеооборудования осуществляют специалисты, прошедшие специальную подготовку и допущенные к самостоятельной работе распоряжением начальника АМЦ, АМСГ.
6.5.2 К самостоятельной работе по техническому обслуживанию метеооборудования допускают специалистов, имеющих необходимую теоретическую подготовку, твердые знания по устройству метеооборудования, практические навыки по его обслуживанию, а также знающих правила технической эксплуатации метеооборудования, правила техники безопасности и производственной санитарии.
6.5.3 Подготовку специалистов к самостоятельной работе по техническому обслуживанию метеооборудования осуществляют непосредственно в АМЦ, АМСГ методом стажировки.
Стажировку проводят по программе, разрабатываемой заместителем начальника АМЦ (инженером по эксплуатации приборов), в зависимости от уровня подготовки стажера.
Стажера прикрепляют к наиболее опытным и грамотным специалистам АМЦ, АМСГ и под их руководством и контролем он выполняет работы, предусмотренные программой.
Стажировку специалистов, эксплуатирующих сложное метеооборудование (АМИИС, МРЛ), целесообразно проводить с привлечением специалистов предприятия-изготовителя или на предприятии-изготовителе соответствующего метеооборудования. Уровень знаний таких специалистов по изучению метеооборудования, командированных на предприятие-изготовитель метеооборудования, должен подтверждаться удостоверением (справкой), выдаваемым директором предприятия-изготовителя. Обучение таких специалистов должно предусматриваться в контрактах на поставку метеооборудования.
6.5.4 По окончании стажировки специалиста комиссия, назначенная распоряжением начальника АМЦ, АМСГ, проверяет:
- знание должностных обязанностей;
- знание устройства, технических данных и правил технической эксплуатации метеооборудования;
- знание правил техники безопасности, движения транспортных средств и людей на аэродромах, производственной санитарии и пожарной безопасности;
- практические навыки работы по техническому обслуживанию метеооборудования.
Знания оценивают по каждому из перечисленных разделов. Результаты проверки знаний оформляют протоколом, который подписывают все члены комиссии.
6.5.5 Лиц, показавших неудовлетворительные знания, а также отстраненных от самостоятельной работы по техническому обслуживанию метеооборудования за грубые нарушения правил эксплуатации, техники безопасности, производственной санитарии и пожарной безопасности, проверяют вторично.
6.5.6 Для совершенствования знаний эксплуатации метеооборудования, изучения новых типов метеооборудования на АМЦ, АМСГ организуют техническую учебу, а в Росгидромете - курсы при учебных или научно-исследовательских учреждениях по изучению метеооборудования.
6.5.7 Численность специалистов, требующихся для обеспечения технического обслуживания метеооборудования, определяется числом установленных на аэродроме изделий и их размещением.
6.5.8 Переаттестацию инженерно-технического состава целесообразно проводить периодически по плану, утвержденному руководителем территориального органа Росгидромета, ГУ «УГМС», «ЦГМС-Р» или территориального метеоагентства (филиала), не реже 1 раза в 5 лет.
6.6.1 ЭД предназначена для изучения изделия и правил его эксплуатации (использования, технического обслуживания, транспортирования и хранения) в соответствии с ГОСТ 2.601.
К ЭД относятся: РЭ, содержащее техническое описание, инструкцию по эксплуатации (ИЭ), инструкцию по техническому обслуживанию, инструкцию по монтажу, пуску, регулированию и опробованию изделия на месте его применения; формуляр (ФО) или паспорт; ведомость ЗИП; ведомость эксплуатационных документов и прочие документы. Допускается объединение отдельных видов эксплуатационных документов.
Перечень эксплуатационных документов на конкретное метеооборудование, поставляемое производителем непосредственно заказчику, согласуют с заказчиком. ЭД поставляют вместе с метеооборудованием.
6.6.2 В АМЦ и на АМСГ должна быть следующая документация:
- ЭД на эксплуатируемое и хранящееся метеоборудование;
- журнал учета работы метеооборудования (приложение Г);
- схема размещения метеооборудования на аэродроме, подписанная начальником АМЦ, АМСГ и утвержденная руководителями территориальных организаций, предприятий Росгидромета и гражданской авиации, в структуру которых входят оперативные органы: АМЦ, АМСГ и орган ОрВД аэродрома;
- журнал учета СИ (приложение Л);
- заверенные копии сертификатов Ростехрегулирования (с описанием типа СИ) и сертификата МАК, удостоверения годности к эксплуатации метеооборудования (приложение Ж);
- должностные инструкции инженеров, техников, механиков;
- инструкция по технике безопасности;
- инструкция по пожарной безопасности;
- планы работы АМЦ, АМСГ по техническому обслуживанию метеооборудования (приложения Б и В);
- план-график поверки СИ (приложение М).
6.6.3 В АМЦ и на АМСГ, где имеются МРЛ, кроме указанной в 6.6.2 документации, должны быть:
- журнал наблюдений;
- журнал исходящих телеграмм;
- журнал сопоставления радиолокационной и визуальной метеоинформации об облаках и опасных явлениях;
- журнал оценки правильности радиолокационного прогноза начала и количества осадков в обслуживаемом районе.
Формы журналов и порядок их ведения изложены для АМРК - в [14].
6.6.4 ЭД на метеооборудование хранят постоянно до списания изделия.
Документом, удостоверяющим гарантированные предприятием-изготовителем основные параметры и технические характеристики метеооборудования и содержащим сведения по его эксплуатации (длительность и условия работы, техническое обслуживание, виды ремонта и другие данные за весь период эксплуатации), является ФО. Эксплуатация метеооборудования без ФО или паспорта запрещается.
6.6.5 Сроки хранения документации:
- схема размещения метеооборудования на аэродроме, инструкция по технике безопасности, должностные инструкции - постоянно до обновления;
- удостоверения годности - до аннулирования;
- журнал учета работы метеооборудования, планы работы АМЦ, АМСГ по техническому обслуживанию, планы поверки СИ, журналы наблюдений, журнал учета СИ, журналы исходящих телеграмм, сопоставления радиолокационной информации - 12 месяцев после их окончания и проведения соответствующих выписок в ФО и таблицы;
- диаграммные ленты самописцев, ленты принтеров или рулонных телеграфных аппаратов - 4 мес.
6.7.1 Контроль за эксплуатацией метеооборудования аэродромов осуществляют путем сбора и анализа сведений об эксплуатации метеооборудования и проведения инспекций АМЦ, АМСГ и ГУ «УГМС», «ЦГМС-Р», территориальных метеоагентств (филиалов) по проверке эксплуатации метеооборудования аэродромов.
6.7.2 АМЦ и АМСГ должны представлять в ГУ «ГГО» следующие материалы:
- ежегодно сведения об эксплуатации метеооборудования по форме приложения Н.
В сведения об эксплуатации АМИИС включаются данные о наработке и отказах не только всей системы (станции), но и ее составных частей (датчиков, блоков автоматики, средств отображения и регистрации).
- годовые сведения об эксплуатации МРЛ, АМРК по форме приложения П и в произвольной форме, где отражают вопросы эффективности использования радиолокационной информации, результаты сопоставления радиолокационной и визуальной метеоинформации, предложения по усовершенствованию методики радиолокационных наблюдений;
- разовые сведения о работе метеооборудования аэродрома по запросам ГУ «ГГО», в которые включают данные о параметрах, полученные при проведении сезонных регламентных работ, проводимых при подготовке метеооборудования к весенне-летнему или осенне-зимнему периодам эксплуатации.
6.7.3 Инспекции АМЦ и АМСГ производят с целью оценки технического состояния, соответствия состава и размещения метеооборудования аэродромов действующим нормам годности, а также организации его технического обслуживания.
Инспекции АМЦ и АМСГ производят специалисты ССИ, или Метеоагентства Росгидромета и выборочно (по плану Росгидромета) представители ГУ «ГГО».
6.7.4 Инспекции ГУ «УГМС», «ЦГМС-Р» производят представители ГУ «ГГО» по плану (распоряжению) Росгидромета с целью проверки состояния и эксплуатации метеооборудования аэродромов на территории ответственности ГУ «УГМС», «ЦГМС-Р», его периодической поверки и проведения измерения метеовеличин.
6.7.5 При инспекции АМЦ и АМСГ проверяют:
- соответствие состава, размещения метеооборудования аэродрома и метеоинформации, представляемой диспетчерам службы движения, действующим нормам годности к эксплуатации аэродромов;
- метрологическое обеспечение измерений;
- техническое состояние метеооборудования и организацию технического обслуживания метеооборудования аэродромов;
- ведение эксплуатационной и технической документации;
- технику безопасности и производственную санитарию;
- укомплектованность инженерно-техническим персоналом и его подготовленность;
- устранение персоналом станции недостатков, отмеченных при предшествующих инспекциях и проверках.
6.7.6 Инспектирующие лица, прибывшие в АМЦ или на АМСГ, представляются начальнику АМЦ (АМСГ). Они совместно с заместителем начальника АМЦ или инженером по эксплуатации приборов АМСГ составляют план проведения инспекции и обеспечивают его исполнение.
По результатам инспекции составляют акт (приложение Р) в 3 экземплярах: 1-й для АМЦ, АМСГ, 2-й для ГУ «УГМС», «ЦГМС-Р» или территориального метеоагентства (филиала), 3-й для ГУ «ГГО».
6.7.7 Соответствие состава и размещения метеооборудования действующим нормам годности к эксплуатации аэродромов [4 - 7] оценивают методом сопоставления фактически установленного метеооборудования требованиям действующих норм годности с учетом категории или класса аэродрома.
При оценке состава и размещения метеооборудования на аэродроме должно быть обращено внимание на следующее:
- укомплектованность метеооборудованием;
- соответствие установки изделий требованиям ЭД и нормам годности;
- соответствие линий связи, выделенных для соединения измерительных преобразователей с индикаторами (регистраторами) и для передачи метеоинформации, требованиям норм годности;
- состояние рабочего места техника-метеоролога, помещений и сооружений, в которых установлено метеооборудование, производится его техническое обслуживание и текущий ремонт.
6.7.8 При оценке качества метеоинформации, передаваемой диспетчерам службы движения, должны проверяться:
- ее объем;
- репрезентативность измерений, правильность обработки результатов измерений (осреднение, выбор экстремальных значений метеовеличин), достоверность визуальных наблюдений, точность передаваемых метеовеличин, использование исправных СИ;
- своевременность передачи информации.
6.7.9 При проверке метрологического обеспечения измерений обращают внимание на своевременность проведения периодической поверки СИ аккредитованными Ростехрегулированием организациями, на ведение учета СИ и их хранение.
6.7.10 Техническое состояние метеооборудования (основного и резервного), установленного на аэродроме, проверяют в следующем объеме:
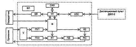
- по СИ МОД оценивают внешний вид, совпадение показаний при измерении коэффициента пропускания по фильтрам и регистратора (приложение С);
- по СИ ВНГО производят внешний осмотр, проверку калибровки и нуля шкалы. При необходимости проверяют фокусировку, юстировку приемников и передатчиков;
- по СИ параметров ветра производят внешний осмотр (состояние первичного измерительного преобразователя параметров ветра, мачты, тросов и талрепов, соединительных кабелей), проверяют ориентировку и вертикальность установки первичного измерительного преобразователя, согласование направления флюгарки с показаниями указателя направления пульта, а также работоспособность анеморумбометра в целом;
- по СИ атмосферного давления производят внешний осмотр. При внешнем осмотре ртутных барометров проверяют чистоту барометрической трубки, форму мениска ртути, положение метки на чашке барометра, сохранность инспекторской печати;
- по АМИИС производят внешний осмотр центрального устройства и всех других комплектующих СИ и блоков, проверку работоспособности в целом.
Результаты проверки технического состояния каждого образца метеооборудования заносят в ФО (паспорт).
6.7.11 При оценке организации технического обслуживания метеооборудования проверяют: наличие планов работы (годовых, месячных или квартальных) по технической эксплуатации метеооборудования и их выполнение; материально-техническое обеспечение приборами, инструментом и расходными материалами; выполнение мероприятий по совершенствованию эксплуатации метеооборудования; планы технической учебы; должностные инструкции специалистов, занятых техническим обслуживанием метеооборудования, а также соблюдение методик производства наблюдений (измерений).
6.7.12 При проверке техники безопасности и производственной санитарии обращают внимание на наличие инструкций по технике безопасности, организацию контроля по технике безопасности, выполнение правил по технике безопасности [3], наличие аптечек и их укомплектованность (приложение Т), обеспеченность питьевой водой и средствами санитарной гигиены.
6.7.13 Проверка укомплектованности инженерно-техническим составом и его квалификации включает оценку:
- качества подготовки и стажировки специалистов АМЦ, АМСГ, обеспечивающих техническое обслуживание метеооборудования и его использование при метеорологических наблюдениях (измерениях);
- знаний и навыков по техническому обслуживанию метеооборудования, технике безопасности, производственной санитарии и пожарной безопасности;
- текучести кадров инженерно-технического состава.
6.7.14 При оценке ведения ЭД и технической документации проверяют:
- наличие ФО (паспорта) на эксплуатируемые изделия и их ведение (правила ведения ФО изложены в ГОСТ 2.601);
- наличие заверенных копий сертификатов, удостоверений годности на сертифицированные типы метеооборудования и срок их действия;
- наработку изделий с начала эксплуатации (срок эксплуатации) и соответствие ее среднему или продленному ресурсу (сроку службы);
- наличие актов оценки технического состояния СИ на продление технического ресурса;
- наличие действующих свидетельств о поверке на работающие (основные и резервные) СИ;
- наличие и ведение технической документации, соответствие ее требованиям 6.7.
6.7.15 При подготовке к инспекции и ее проведении изучают результаты анализа материалов по эксплуатации метеооборудования аэродромов, акты предыдущих инспекций и проверок, проверяют устранение недостатков, указанных в этих документах.
6.7.16 При инспекции ГУ «УГМС», «ЦГМС-Р» по эксплуатации метеооборудования аэродромов проверяются организация эксплуатации метеооборудования в АМЦ, АМСГ и работа инженерно-технического состава, осуществляющего техническое обслуживание оборудования и использующего его при метеонаблюдениях (техническое обслуживание, поверка СИ метеорологического и общетехнического назначения, укомплектованность инженерно-техническим составом, материально-техническое обеспечение и др.).
6.7.17 По результатам инспекции ГУ «УГМС», «ЦГМС-Р», составляется акт в 3-х экземплярах (1-й для Росгидромета, 2-й для ГУ «УГМС», «ЦГМС-Р» или территориального метеоагентства (филиала), 3-й для ГУ «ГГО»).
6.7.18 Инспекция МРЛ производится с целью контроля за достоверностью данных, своевременным и высококачественным обеспечением АМЦ, АМСГ радиолокационной метеоинформацией.
6.7.19 При проведении инспекции МРЛ проверяют:
- организацию методической и технической помощи штату МРЛ со стороны руководства подразделений и ССИ ГУ «УГМС», «ЦГМС-Р»;
- укомплектованность штата МРЛ и его квалификацию;
- выполнение требований руководящих документов по эксплуатации оборудования, методике наблюдений и обработке материалов МРЛ;
- качество информации и своевременность доведения ее до прогнозистов АМЦ, АМСГ, диспетчеров службы движения и экипажей воздушных судов;
- разбор претензий;
- техническое состояние МРЛ и штатной контрольно-измерительной аппаратуры;
- своевременность и правильность ведения ЭД МРЛ;
- организацию работы на МРЛ и технической учебы, регулярность и качество профилактических работ, выполнение правил техники безопасности;
- устранение недостатков, указанных в актах предыдущих инспекций.
В случае необходимости инспектирующий должен оказать помощь в организации работы на МРЛ. При этом необходимо обратить внимание на то, как влияет выполнение или невыполнение правил и положений по эксплуатации МРЛ и методики наблюдений на качество информации МРЛ.
6.7.20 Инспекцию МРЛ проводят не реже 1 раза в 2 года, преимущественно перед началом грозового сезона или в любой период года, если МРЛ работает неудовлетворительно.
В состав инспектирующей группы включают представителя технической службы ГУ «УГМС», «ЦГМС-Р» или территориального метеоагентства (филиала) и специалиста ССИ, ответственного за состояние МРЛ.
При подготовке к инспекции анализируют работу МРЛ за период между инспекциями и выясняют претензии оперативных органов ГУ «УГМС», «ЦГМС-Р» или территориальных метеоагентств (филиалов) и других организаций, использующих информацию МРЛ.
6.7.21 При оценке работы штата МРЛ и его профессиональной подготовки проверяют:
- укомплектованность штата согласно штатному расписанию. В случае неукомплектованности штата указывают, с какого срока отсутствует тот или иной специалист;
- назначение лиц, замещающих старшего инженера, радиотехника и инженера-радиометеоролога на время их отпуска или длительного отсутствия по каким-либо причинам. В случае использования работников МРЛ на других работах, приведших к срыву радиометеорологических наблюдений, указывают, кто и на какой период отвлекался на эти работы;
- изменение штата МРЛ со времени последней инспекции;
6.7.22 При проверке производства наблюдений по МРЛ в соответствии с требованиями НМО ГА-95 [2] оценивают:
- частоту и регулярность проведения наблюдений - синоптические сроки, ежечасно и т.д.;
- наличие наблюдений в режиме «шторм»;
- наличие и число пропущенных сроков и причины, по которым они пропущены - из-за технического состояния МРЛ, по разрешению компетентных органов и т.п.
6.7.23 При оценке выполнения методики наблюдений по МРЛ проверяют:
- соответствие правил проведения наблюдений на данном МРЛ общепринятой методике. Отмечают случаи нарушения правил, изложенных в методических письмах ГУ «ГГО» и других руководящих документах;
- степень влияния обнаруженных нарушений (отклонений) на качество выдаваемой информации.
6.7.24 При проверке документации неавтоматизированной МРЛ обращают внимание на следующее:
- правильность и аккуратность оформления бланков (чистота, внешний вид);
- полноту заполнения всех граф бланков (приложения П и У).
Правильность кодирования информации проверяют по телеграммам. Отмечают количество телеграмм за все сроки наблюдений, переданных с ошибками (код RADOB и дополнения к коду RADOB).
6.7.25 Информация МРЛ должна передаваться потребителю без опоздания. Информацию передают на узел связи АМСГ, АМЦ или непосредственно потребителю не ранее чем за 10 мин до синоптического срока и не позднее синоптического срока. Штормовую информацию передают потребителю сразу после ее получения. Время передачи информации и текст телеграмм должны заноситься в специальные журналы. Изменять время передачи информации можно лишь с разрешения Росгидромета или его территориального органа ГУ «УГМС».
Проверяют и указывают:
- каналы передачи информации (телефон, факсимильная аппаратура, радио, компьютер, телетайп, ГГС и др.);
- случаи отсутствия связи с потребителем и причины ее отсутствия (подсчитывают количество и процент не переданной или переданной с опозданием информации, отдельно отмечают: по вине расчета МРЛ или из-за отсутствия связи).
6.7.26 При проверке регулярности и качества технического и критического контроля данных МРЛ оценивают и проверяют:
- качество наблюдений и анализа информации;
- своевременность получения информации и ее передачи потребителям;
- своевременность и правильность ведения документации;
- регулярность и качество технического и критического контроля информации, проводимых дежурной сменой и инженером-радиометеорологом;
- своевременность устранения недостатков, указанных в замечаниях.
6.7.27 Проверку правильности и регулярности сопоставления радиолокационной и наземной информации производят согласно гл. 10 временных методических указаний [15] еженедельно. В редких случаях, когда на МРЛ невозможно получить данные метеостанций и нет штормовых телеграмм для сравнения, сопоставление производят 1 раз в месяц.
6.7.28 При оценке оправдываемости радиолокационной информации проверяют оправдываемость информации МРЛ об опасных явлениях по грозам в радиусе от 0 до 180 км и указывают соответствующую оценку:
- менее 80 % - «неудовлетворительно»;
- от 80 до 85 % - «удовлетворительно»;
- свыше 85 % - «хорошо».
6.7.29 При оценке использования данных МРЛ проверяют и указывают:
- полноту информации и состав потребителей, использующих данные МРЛ (АМЦ или АМСГ, диспетчеры службы движения и др.);
- удовлетворенность потребителей частотой, своевременностью и качеством поступающей с МРЛ информации;
- число занятий по технической учебе, проводимых с потребителями радиолокационной информации.
6.7.30 В акте инспекции МРЛ дают:
- оценку работы инженерно-технического состава по эксплуатации МРЛ и выполнения задач обеспечения АМЦ, АМСГ радиолокационной метеоинформацией, технического состояния МРЛ и выделяют вопросы, которым персонал не уделял достаточного внимания;
- рекомендации по улучшению организации работы, выполнению функциональных обязанностей, устранению недостатков в эксплуатации МРЛ;
- предложения о проведении дополнительной стажировки (в случае необходимости делают выводы о несоответствии того или иного работника занимаемой должности);
- оценку работы МРЛ (указывают недостатки, устранение которых зависит от ГУ «УГМС», «ЦГМС-Р», АМЦ или АМСГ).
6.7.31 При оценке качества ведения ЭД на МРЛ проверяют:
- соблюдение требований временных методических указаний [15];
- ведение ФО на МРЛ;
- своевременность внесения записей в ЭД и их соответствие методическим указаниям.
6.7.32 При проверке технической учебы персонала МРЛ:
- выясняют, какие имеются предложения по усовершенствованию, упрощению методики наблюдений, повышению оправдываемости прогнозов явлений погоды по данным МРЛ, сокращению времени наблюдений;
- дают оценку предложениям по повышению эффективности использования информации МРЛ, указывают их преимущество и недостатки.
6.7.33 При проверке технического состояния и эксплуатации МРЛ оценивают:
- общую наработку МРЛ и наработку за последний год;
- основные параметры МРЛ - чувствительность, мощность и их соответствие ЭД;
- правильность калибровки системы изоэха;
- линейность амплитудной характеристики приемника;
- правильность горизонтирования и ориентирования МРЛ;
- степень рассогласования привода антенны по углу места в ручном режиме и режиме «I программа»;
- правильность положения меток дальности и линейности масштабов на индикаторах в ручном режиме;
- регулярность проведения ежедневных, еженедельных, ежемесячных и сезонных профилактических работ. Сроки и порядок проведения профилактических работ указаны в приложении Ф;
- исправность контрольно-измерительной аппаратуры и своевременность проведения ее поверки;
- соблюдение правил техники безопасности персоналом МРЛ;
- своевременность и полноту устранения недостатков в эксплуатации МРЛ, отмеченных в актах предыдущих инспекций;
- умение инженерно-технического состава производить работы по настройке и калибровке устройств МРЛ, знание штатной контрольно-измерительной аппаратуры и правильность ее применения;
- количество отказов МРЛ и время, затраченное на их устранение;
- наличие ЗИПа, укомплектованность и правильность составления заявок на его пополнение;
- наличие и обоснованность претензий инженерно-технического состава МРЛ к руководству АМЦ, АМСГ по созданию и поддержанию нормальных условий эксплуатации МРЛ.
Техническое состояние МРЛ, соответствие его параметров ЭД может оказать решающее влияние на качество и достоверность радиолокационной информации.
6.7.34 С целью оказания технической и методической помощи при инспекции МРЛ:
- выясняют и отмечают в акте претензии штата МРЛ к доставке сотрудников на дежурство, безосновательному привлечению на другие работы, составлению графика отпусков, премированию, а также к обеспечению техники безопасности, охраны труда и производственной санитарии;
- проверяют графики дежурств, протоколы производственных совещаний.
6.8.1 Метеооборудование аэродромов относится к электротехническим изделиям I класса защиты (по ГОСТ 12.2.003 - изделия, имеющие рабочую изоляцию и элемент для заземления).
Заземлителями являются металлические предметы, имеющие достаточную и постоянную поверхность соприкосновения с землей, специально закапываемые в землю. Для этой цели используют стальные трубы длиной от 1,5 до 2,5 м и диаметром от 25 до 50 мм или другие металлические предметы. Срок службы таких заземлителей достигает от 25 до 30 лет [16]. Присоединение заземляющих проводов с заземлителем должно быть сделано сваркой, а заземляющих проводников к заземляемому электротехническому изделию - сваркой или надежным болтовым соединением. Для заземления метеооборудования (ток до 16 А) по ГОСТ 12.2.007.0 должны применяться болты с диаметром резьбы не менее М4, а диаметр контактной площадки для заземления должен быть не менее 12 мм.
6.8.2 В изделии должно быть обеспечено электрическое соединение с элементами заземления всех доступных прикосновению металлических нетоковедущих частей, которые могут оказаться под напряжением в случае нарушения изоляции. Значение сопротивления между проводом заземления и каждой доступной прикосновению металлической нетоковедущей частью изделия, которая может оказаться под напряжением, не должно превышать 0,1 Ом. Сопротивление заземляющего устройства по правилам технической эксплуатации [17] электроустановок с напряжением электропитания до 1000 В в период наименьшей проводимости почвы должно быть не более 4 Ом.
6.8.3 Не допускается использовать зануление метеооборудования.
6.8.4 При проведении регламентных работ по техническому обслуживанию метеооборудования должны соблюдаться общепринятые правила техники безопасности, основными из которых являются следующие:
- корпуса изделий должны быть надежно заземлены;
- необходимо пользоваться соединительными кабелями, предназначенными для данного изделия;
- нельзя проверять наличие напряжения на клеммах и проводниках прикосновением к ним рукой или токопроводящими предметами;
- запрещается при включенных в сеть электропитания изделиях извлекать их из кожухов, заменять детали, производить пайку, перемонтаж проводов, ремонт, подключать и отключать кабели и провода;
- нельзя одновременно касаться токоведущих и заземляющих частей изделия, а также неизолированных и неисправных проводов.
6.8.5 При измерении высоких напряжений необходимо пользоваться специальными высоковольтными щупами.
6.8.6 Все замеры электрических параметров следует производить так, чтобы исключалось прикосновение открытых частей тела к металлическим частям корпусов изделий и к проводам заземления.
6.9.1 Надежность метеооборудования аэродромов ГА характеризуется следующими показателями:
- средней наработкой на отказ T0;
- вероятностью безотказной работы P(t) за заданный период времени t;
- долговечностью (средним ресурсом или сроком службы);
- временем непрерывной работы без технического обслуживания и регулировок.
6.9.2 Средняя наработка на отказ Т0 статистически определяется отношением суммарной наработки изделия (изделий) t к суммарному числу отказов r.
|
|
(1) |
Информативность средней наработки на отказ зависит от времени работы изделия (изделий), для которого (которых) она определяется. Для анализа надежности изделия в течение его срока службы среднюю наработку на отказ T0 определяют не менее чем через каждые 5000 ч наработки или один раз в год.
Определение показателей надежности метеооборудования аэродромов производят по сведениям об эксплуатации метеооборудования аэродромов, получаемым из АМЦ и АМСГ 1 разряда за каждый год.
Отказы изделий, вызванные нарушениями инженерно-техническим составом правил и норм эксплуатации, относят к эксплуатационным отказам и при оценке надежности не учитывают. Отказы должны точно учитываться и записываться в ФО (паспорт).
6.9.3 Вероятность безотказной работы P(t) статистически определяется отношением числа изделий, безотказно проработавших за время t, к числу изделий, работоспособных в начальный момент времени t = 0.
Вероятность безотказной работы P(t) связана со средней наработкой на отказ T0 соотношением
|
|
(2) |
где е - основание натуральных логарифмов;
t - время непрерывной работы.
6.9.4 Срок эксплуатации метеооборудования определяется средним ресурсом (средним сроком службы) от начала ввода в эксплуатацию или возобновления эксплуатации после среднего или капитального ремонта до окончания срока службы.
Ресурс изделия (срок службы) должен устанавливаться предприятием-изготовителем и указываться в ФО (паспорте).
Ввиду того, что на метеооборудование, разработанное до 1978 г., в ЭД (ФО, паспорте) ресурс не указывался, в 1978 г. установлен средний ресурс (срок службы) 8 лет на ИВО, ИВО-1, ИВО-1М, КРАМС, КРАМС-М, КРАМС-М1 и 10 лет на анеморумбометры М-63, М-63М, М-63М-1.
Начало срока службы изделия может исчисляться с момента отгрузки изделия изготовителем или получения изделия потребителем, или установки изделия у потребителя, или окончания монтажа и наладки изделия. Начало срока службы устанавливается в договорах на поставку изделия и указывается в ФО или паспорте в разделе «Гарантийные обязательства».
6.9.5 Время работы каждого изделия должно точно учитываться. Первичный учет наработки изделий в АМЦ и АМСГ производит дежурный техник-метеоролог в журнале учета работы метеооборудования (приложение Г), суммарный по месяцам или кварталам - в ФО (паспорт).
6.9.6 Метеооборудование, выработавшее средний ресурс (средний срок службы), должно подвергаться технической экспертизе в целях определения возможности его дальнейшего использования.
Проведение технической экспертизы метеооборудования, выработавшего средний ресурс (срок службы), является важным и ответственным мероприятием. Ее должна проводить комиссия, назначаемая руководителем территориального органа Росгидромета, ГУ «УГМС», «ЦГМС-Р». В состав комиссии должны входить: представитель ССИ (председатель), метролог и специалист, ответственный за эксплуатацию метеооборудования АМЦ, АМСГ. В случае продления ресурса (срока службы) СИ при проведении технической экспертизы должна проводиться поверка.
6.9.7 Техническая экспертиза метеооборудования включает:
- оценку общего технического состояния,
- оценку показателей надежности,
- оценку соответствия технических характеристик ФО (паспорта) и работоспособности.
6.9.8 При оценке общего технического состояния проверяют:
- соответствие заводских номеров номерам, указанным в ФО (паспорте). Все выполненные замены комплектующих изделий, причины замены, наработка их на момент замены должны быть отмечены в ФО (паспорте). Комплектность изделия (системы) проверяют по ведомости комплектации или ФО (паспорту);
- состояние корпусов, кожухов, лакокрасочных покрытий. На корпусах, кожухах и деталях не должно быть коррозии, вмятин и выбоин, влияющих на работоспособность изделия. При необходимости производят подкраску и другие работы;
- состояние соединительных кабелей и штепсельных разъемов. Проверку производится методом сгибания кабелей под некоторым углом в местах соединения их со штепсельными разъемами, а также измерением сопротивления изоляции с помощью мегомметра с рабочим напряжением до 500 В. В кабелях не должно быть обрывов, нарушений изоляции и глубоких трещин. Сопротивление электрической изоляции должно быть не менее 100 МОм в нормальных условиях;
- состояние электрического монтажа и радиоэлектродеталей (радиолампы, двигатели, полупроводниковые элементы, конденсаторы, резисторы, печатные схемы, монтажные провода, колодки, места паек). Не должно быть нарушений изоляции проводов. Подвижные контакты в резисторах должны быть надежными, переключатели - исправными, клавиши - работоспособными без западания, должны легко и свободно устанавливаться в заданные положения и обеспечивать хороший контакт;
- состояние защитных стекол, зеркал-отражателей, призм и др. Методы оценки их технического состояния даны в регламентах технического обслуживания и РЭ;
6.9.9 Оценка показателей надежности заключается в анализе записей в ФО (паспорт). При этом обращают внимание на проведение регламентных и профилактических работ, а также на отказы, имевшие место в процессе эксплуатации. Хорошее техническое обслуживание изделия увеличивает его срок службы (ресурс). При анализе отказов определяют среднее время наработки на отказ за каждый год эксплуатации. Если в течение последних 1 - 2 лет средняя наработка на отказ не уменьшилась или уменьшилась (по заключению комиссии) незначительно, что указывает на сохранность показателей надежности, а технические характеристики изделия соответствуют ФО (паспорту), ресурс (срок службы) изделия может быть продлен на определенное число лет, но не более 60 % среднего ресурса (срока службы) для измерителей ВНГО, измерителей-регистраторов МОД, анеморумбометров, АМИИС и МРЛ, и не более 100 % от среднего (технического) ресурса (срока службы) для дистанционных приставок ДВ-1М, БИ ДВО, БИ ДВО-2.
После выработки продленного ресурса следует осуществить средний (на месте эксплуатации или в заводских условиях) или капитальный (в заводских условиях) ремонт метеооборудования с целью частичного или полного восстановления ресурса изделий.
По истечении восстановленного после ремонта ресурса он может быть продлен еще на срок до 60 % от восстановленного ресурса (срока службы). Число средних или капитальных ремонтов не беспредельно, хотя и не регламентируется, целесообразность выполнения очередного ремонта определяется комиссией ГУ «УГМС», «ЦГМС-Р» с учетом физического или морального износа метеооборудования.
Продление среднего (технического) ресурса (срока службы) метеорологических радиолокаторов производят с участием представителей ГУ «ГГО».
6.9.10 Оценка соответствия технических характеристик ФО (паспорта) и работоспособности проводится в следующем объеме:
- на регистраторах дальности видимости производят измерение электрических и оптических параметров, проверку постоянства показаний и качества регистрации МОД на диаграммной ленте самописца и работоспособности в целом. В случае несоответствия некоторых характеристик осуществляют регулировку. Методы проверки работ по регулировке приборов и замене комплектующих деталей описаны в ЭД.
- на измерителях ВНГО ИВО-1, ИВО-1М, РВО-2 производится проверка фокусировки, юстировки передатчика и приемника, калибровки шкалы и точности измерения расстояния до щита (стены). При обнаружении недостатков производится регулировка, замена импульсной лампы, фотоэлектронного умножителя, защитных стекол, зеркал, электродвигателей согласно ЭД.
- на М-63М-1 производится проверка балансировки, начальной чувствительности винта и флюгарки, совпадения положения флюгарки с показаниями указателя направления, осреднения скорости ветра за 2 и 10 мин, выбора максимальной скорости ветра. В случае обнаружения недостатков производится регулировка, разборка, чистка и смазка узлов скорости и направления согласно ЭД.
- на АМИИС методика проверок и оценки работоспособности описаны в регламенте их технического обслуживания согласно ЭД.
Если в результате технической экспертизы комиссия приходит к выводу о возможности продления ресурса (срока службы) проверяемого СИ, производят его поверку. Поверку СИ и АМИИС производят представители аккредитованных организаций по соответствующим методическим указаниям.
6.9.11 Результаты технической экспертизы метеооборудования, выработавшего средний ресурс (срок службы), оформляют актом оценки технического состояния метеооборудования (приложение К). Заключение о восстановлении ресурса СИ (кроме систем) дает начальник ГУ «УГМС», «ЦГМС-Р» на основании акта оценки технического состояния, для систем - директор ГУ «ГГО».
При продлении ресурса (срока службы) изделия акт оценки технического состояния метеооборудования отпечатывают в 3 экземплярах (1-й высылают в ГУ «ГГО», 2-й - в ГУ «УГМС», «ЦГМС-Р» или территориальное метеоагентство (филиал), 3-й - в АМЦ или АМСГ, где изделие эксплуатируется).
Если в результате технической экспертизы изделия комиссия приходит к выводу о невозможности дальнейшего его применения для обеспечения полетов, акт оценки технического состояния метеооборудования прилагают к документам на списание.
7.1.1 Метрологическое обеспечение метеоизмерений является одним из важнейших разделов технической экспертизы СИ и автоматизированных систем и представляет собой совокупность научных и организационных основ, технических средств, правил и норм, необходимых для достижения единства и требуемой точности измерений.
7.1.2 Организационной основой метрологического обеспечения измерений в области гидрометеорологии и мониторинга окружающей природной среды является метрологическая служба Росгидромета.
Взаимоотношения и разделение обязанностей по обеспечению единства измерений в области гидрометеорологии и мониторинга окружающей природной среды определены Соглашением, утвержденным руководителем Росгидромета и председателем Госстандарта РФ в 1995 году.
7.1.3 Законодательной основой метрологического обеспечения являются федеральные законы [18, 19], руководящие документы Росгидромета - РД 52.14.610 и [20], а также НД, содержащие метрологические правила и нормы (ГОСТ, ГОСТ Р и др.), методики метрологических институтов (государственные поверочные схемы, методики поверки СИ, МВИ), комплекс правил и норм, определяющих организацию и методики проведения работ по оценке и обеспечению точности измерений. Они образуют государственную систему обеспечения единства измерений (ГСИ).
7.1.4 Ростехрегулирование в соответствии с [19]:
- обеспечивает проведение испытаний в целях утверждения типа и первичную поверку СИ, выпускаемых из производства и предназначенных для использования в Росгидромете;
- проводит аккредитацию метрологических служб организаций Росгидромета на право проведения ими поверки СИ;
- контролирует деятельность подведомственных Росгидромету метрологических подразделений (служб) УГМС, ЦГМС, аккредитованных на право поверки СИ;
- осуществляет лицензирование ремонтных организаций (подразделений) Росгидромета на право ремонта СИ и контроль выполнения ими лицензионных требований;
- проводит при выявлении нарушений метрологических норм в процессе выполнения измерений метрологическую экспертизу МВИ для осуществления государственного метрологического контроля и надзора.
7.2.1 Метрологическая служба Росгидромета представляет собой совокупность службы Главного метролога центрального аппарата Росгидромета, головной организации метрологической службы Росгидромета в области гидрометеорологических и гелиогеофизических измерений, базовых организаций метрологической службы Росгидромета по областям деятельности, метрологических служб ГУ «УГМС», «ЦГМС-Р».
7.2.2 Руководство метрологической службой Росгидромета возложено на Главного метролога Росгидромета.
7.2.3 Головной организацией метрологической службы Росгидромета является научно-производственное объединение «Тайфун» (НПО «Тайфун»), осуществляющее организационно-методическое руководство работами по метрологическому обеспечению гидрометеорологических и гелиогеофизических наблюдений.
7.2.4 Базовой организацией метрологической службы Росгидромета в области метеонаблюдений является ГУ «ГГО» (наземные и морские метеорологические, атмосферно-оптические, радиолокационные метеорологические, атмосферно-электрические измерения и определение уровня загрязнения атмосферы).
7.2.5 Основу метрологической службы ГУ «УГМС», «ЦГМС-Р» составляет ССИ, в которую входят отдел метрологии и стандартизации, отдел поверки измерительной техники и монтажно-ремонтный отдел.
Основными задачами аккредитованных метрологических подразделений ГУ «УГМС», «ЦГМС-Р» являются проведение ремонта и поверки СИ метеорологического назначения, а также метрологический надзор и контроль за состоянием и применением СИ метеорологического и общетехнического назначения, соблюдением метрологических норм и правил, БД по обеспечению единства измерений.
7.2.6 Ответственность за состояние метрологической службы в ОНС несут их руководители.
Для обеспечения надлежащего состояния СИ начальник АМЦ, АМСГ обязан:
- назначить лицо, ответственное за метрологическое обеспечение;
- создать условия для содержания и применения СИ в соответствии с ЭД;
- представлять при метрологической ревизии, проводимой органами Ростехрегулирования, и метрологическом надзоре, осуществляемом органами метрологической службы Росгидромета (НИУ, ГУ «УГМС», «ЦГМС-Р»), все СИ, находящиеся в эксплуатации и на хранении, документацию, связанную с их поверкой, ремонтом, эксплуатацией и хранением;
- выполнять все указания со стороны вышестоящих подразделений и лиц, ответственных за метрологическое состояние, по устранению недостатков метрологического обеспечения АМЦ, АМСГ;
- обеспечить раздельное хранение в установленных местах СИ, исправных и имеющих действующие свидетельства о поверке и СИ, неисправных, не имеющих свидетельства о поверке или имеющих просроченные свидетельства о поверке.
7.2.7 Лицо, ответственное за метрологическое обеспечение АМЦ, АМСГ, обязано:
- систематически и аккуратно вести учет всех СИ по форме, рекомендуемой в приложении Л;
- хранить и содержать СИ в полном соответствии с настоящими правилами;
- своевременно согласно плану-графику (приложение М) направлять все СИ в поверку и получать их обратно;
- своевременно и правильно вносить в ФО (паспорт) на СИ сведения о поверках, профилактических и ремонтных работах, отказах, неисправностях и других операциях;
- вести документацию по метрологии (свидетельства о поверке СИ и АМИИС, перечни СИ по видам измерений, перечень индикаторов, копии сертификатов СИ, удостоверения годности метеооборудования к эксплуатации, акты ввода в эксплуатацию метеооборудования, графики поверки СИ, копии предписаний, НД по метрологическому обеспечению).
Свидетельства о поверке и ФО (паспорт) на СИ, находящиеся в эксплуатации, должны храниться отдельно от аналогичных документов СИ, изъятых из эксплуатации на основании предписаний, извещений о непригодности, а также в связи с истечением срока действия свидетельств о поверке или их погашении при инспекторской поверке.
7.3.1 Согласно [19] СИ, подлежащие государственному метрологическому контролю и надзору (применяемые в области гидрометеорологии, взаимных расчетов и охраны труда), подвергают поверке.
7.3.2 Результатом поверки является подтверждение пригодности СИ к применению или признание его не годным к применению. Если СИ по результатам поверки признано пригодным к применению, то на него или техническую документацию наносят поверительное клеймо или выдают свидетельство о поверке.
При поверке комплексных СИ, включающих в свой состав более одного функционального автономного блока и допускающих замену в процессе эксплуатации одного блока другим, выдача свидетельства о поверке является обязательной с обязательным указанием в свидетельстве метрологических характеристик каждого измерительного канала. Форма свидетельства о поверке приведена в РД 52.14.610.
Если СИ по результатам поверки признано негодным к применению, поверительное клеймо гасят, свидетельство о поверке аннулируют, выписывают извещение о непригодности или делают соответствующую запись в технической документации.
В целях предотвращения доступа к узлам регулировки или элементам конструкции при наличии у СИ мест пломбирования на СИ устанавливают пломбы, несущие на себе поверительные клейма.
7.3.3 Поверку осуществляют на основании согласованных планов-графиков, составленных по видам измерений по форме, представленной в приложении М (по РД 52.04.9). При согласовании графиков поверки проверяют полноту информации о СИ, уточняют место, сроки, объем поверки, а также оплату поверочных работ. Графики поверки СИ, находящихся в эксплуатации (на хранении) и подлежащие государственному метрологическому контролю и надзору, согласовывают с территориальным органом Ростехрегулирования и главным метрологом территориального органа Росгидромета (ГУ «ЦГМС-Р», ГУ «УГМС»).
7.3.4 СИ должны представляться в поверку расконсервированными, вместе с техническим описанием, инструкцией по эксплуатации, методикой поверки, ФО (паспортом) или свидетельством о последней поверке, а также необходимыми комплектующими устройствами.
Для проведения поверки необходимы:
- НД по поверке по результатам испытаний на утверждение типа СИ, согласованные с Ростехрегулированием и/или Росгидрометом;
- комплект поверенных эталонных СИ и аттестованного поверочного оборудования в соответствии с НД по поверке.
Поверку проводит физическое лицо (специалист организации, аккредитованной на право поверки), аттестованное в качестве поверителя в установленном порядке и имеющее действующее свидетельство (удостоверение) установленного образца (по РД 52.14.610).
Место поверки выбирает пользователь (организация), исходя из экономических факторов и возможности транспортировки поверяемых СИ.
В случае поверки СИ на месте эксплуатации поверителей командируют в АМЦ или АМСГ в соответствии с графиком поверки.
При выполнении поверочных работ на месте эксплуатации начальник АМСГ, АМЦ обязан оказывать поверителям содействие, в том числе:
- предоставлять им соответствующие помещения;
- обеспечивать их соответствующим персоналом и транспортом;
- извещать всех пользователей СИ о времени поверки.
7.3.5 Ответственность за ненадлежащее выполнение поверочных работ и несоблюдение соответствующих НД несет орган Государственной метрологической службы или юридическое лицо, метрологической службой которого выполнены работы.
Ответственность за ненадлежащее выполнение графиков поверки СИ и несоблюдение соответствующих НД несет руководитель юридического лица, эксплуатирующего СИ, и главный метролог территориального органа Росгидромета, ГУ «УГМС», «ЦГМС-Р».
7.3.6 СИ подвергают первичной, периодической, внеочередной и инспекторской поверке.
Первичную поверку СИ производят до ввода их в эксплуатацию или после ремонта [19]. Пригодными к применению признают СИ, поверка которых, выполненная по НД, подтверждает их соответствие предъявляемым к ним метрологическим требованиям. Фактом, удостоверяющим пригодность СИ к применению, является свидетельство о первичной поверке и/или свидетельство о приемке, заполненное в установленном порядке предприятием-изготовителем.
Первичную поверку после текущего ремонта проводят в случае замены в СИ узлов (элементов), влияющих на технические и метрологические характеристики, а также в случае необходимости настройки и регулировки, изменяющей нормированные метрологические характеристики.
7.3.7 Периодической поверке подлежат СИ, находящиеся в эксплуатации или на хранении, через определенные межповерочные интервалы. Периодическая поверка СИ, находящихся в эксплуатации и на хранении, должна проводиться (по РД 52.04.9) в сроки, указанные в годовом плане-графике поверки СИ (приложение М). Планы-графики поверки СИ гидрометеорологического назначения согласуют с ССИ ГУ «УГМС», «ЦГМС-Р», а планы-графики поверки СИ общетехнического назначения - с органами Ростехрегулирования. Один экземпляр согласованного графика высылается метрологической службе ГУ «УГМС», «ЦГМС-Р».
7.3.8 Дата (срок) очередной периодической поверки СИ, включаемая в график поверки, определяется сроком действия последнего свидетельства о поверке. Применять СИ по истечении этого срока не допускается. Такие СИ должны изыматься из эксплуатации (при необходимости консервироваться с составлением акта) и храниться отдельно от остальных СИ с действующими свидетельствами о поверке.
Периодической поверке подвергают также СИ, находящиеся на хранении. При этом межповерочные интервалы должны устанавливаться не более гарантийных сроков на эти СИ, определенных предприятием-изготовителем, а на СИ, бывшие в эксплуатации, - не более удвоенных межповерочных интервалов в соответствии с РД 52.04.9.
7.3.9 Периодическую поверку СИ общетехнического назначения производят в поверочных лабораториях территориального органа Ростехрегулирования или в поверочных подразделениях метрологических служб юридических лиц, аккредитованных Ростехрегулированием на право поверки СИ, указанных в области аккредитации, куда СИ доставляют в соответствии с согласованным планом-графиком поверки.
7.3.10 Периодическую поверку СИ метеорологического назначения (барометров-анероидов, психрометров, самописцев метеовеличин и др.) производят, как правило, в поверочных подразделениях метрологических служб ГУ «УГМС», «ЦГМС-Р», аккредитованных Ростехрегулированием на право поверки СИ, указанных в области аккредитации (ССИ, отделах (бюро) поверки). Поверка АМИИС и метеорологических СИ МОД, ВНГО, параметров воздушного потока, ртутных барометров, термометров может проводится указанными выше подразделениями на месте их эксплуатации.
7.3.11 В тех случаях, когда в процессе эксплуатации возникает сомнение в правильности и точности показаний СИ, их подвергают внеочередной поверке (инспекционной).
Внеочередную поверку СИ в процессе эксплуатации проводят:
- при повреждении поверительного клейма, пломб, несущих на себе по-верительные клейма или в случае утраты свидетельства о поверке;
- при вводе в эксплуатацию СИ после длительного хранения (более одного межповерочного интервала);
- при проведении повторной юстировки или настройки, известном или предполагаемом ударном воздействии на СИ или неудовлетворительной работе.
Инспекционную поверку производят для выявления пригодности к применению СИ при осуществлении государственного (ведомственного) метрологического надзора. Результаты инспекционной поверки отражают в акте проверки (инспекции). Если в результате проведения инспекционной поверки выявлено несоответствие СИ установленным требованиям, то поверительные клейма гасят, а свидетельства о поверке аннулируют.
7.3.12 СИ могут быть переведены в разряд индикаторов. Списки таких СИ согласуются с метрологической службой ГУ «УГМС», «ЦГМС-Р» и утверждаются руководством территориального органа Росгидромета, ГУ «УГМС». Один экземпляр списков должен представляться органам государственной метрологической службы по запросу. Индикаторы не подлежат поверке.
7.3.13 Поверка многоканальных и комбинированных СИ по разрешению главного метролога УГМС может быть неполной и проводиться только по тем требованиям НД по поверке, которые определяют пригодность СИ для измерений данной физической величины или в данном диапазоне измерений.
7.3.14 В приложении Х приведен перечень действующих методик поверки.
В зависимости от характера отказов или неисправностей, объема и сложности восстановительных работ ремонт метеооборудования подразделяется на текущий, средний и капитальный.
Ремонт метеооборудования, входящего в перечень СИ и АМИИС, должен проводиться организациями, имеющими разрешительные документы (лицензию или аттестат аккредитации) на проведение ремонта.
8.1.1 Текущий ремонт выполняют для обеспечения или восстановления работоспособности изделия. Он состоит в замене и (или) восстановлении отдельных узлов (элементов) изделия.
Текущий ремонт метеооборудования аэродромов (не относящегося к СИ и АМИИС) производит инженерно-технический состав, обслуживающий его, или ремонтное подразделение ГУ «ЦГМС-Р» (при его наличии), ГУ «УГМС» (как правило, монтажно-ремонтный отдел (группа) ССИ) немедленно при выявлении отказов или неисправностей (повреждений).
8.1.2 Текущий ремонт СИ и АМИИС производят специалисты аккредитованной на ремонт организации, немедленно при выявлении отказов или неисправностей (повреждений), а также выхода нормированных метрологических характеристик за установленные пределы. После текущего ремонта производят настройку и регулировку СИ и АМИИС. При необходимости может быть проведена первичная поверка после ремонта (согласно 7.3).
При необходимости после проведения первичной поверки исключают доступ к регулировочным узлам, влияющим на метрологические характеристики СИ и АМИИС, путем установки поверителем специального клейма с отметкой об этом в свидетельстве о поверке.
8.1.3 О проведенном ремонте и результатах измерения технических параметров после текущего ремонта производят запись в ФО (паспорт).
Ответственность за качество ремонта изделия возлагается на организацию, специалист которой производил ремонт.
При устранении неисправностей не разрешается вносить изменения в схемы и конструкции узлов, деталей и изменять их спецификацию. Переделки допускаются только по специальным заводским бюллетеням.
В случае невозможности устранения неисправности на месте эксплуатации начальник АМЦ, АМСГ докладывает в ССИ УГМС для принятия решения по процедуре восстановления работоспособности метеооборудования (предъявление рекламации или заявка на ремонт на предприятие-изготовитель по окончании гарантийного срока или проведение среднего ремонта, или отправка в капитальный ремонт, или списание).
8.2.1 Средний ремонт выполняют для восстановления исправности и частичного восстановления ресурса изделия с заменой или восстановлением составных частей ограниченной номенклатуры и контролем технического состояния составных частей в объеме, установленном в нормативно-технической документации.
Средний ремонт метеооборудования аэродромов производят на месте эксплуатации:
- измерителей ВНГО (ИВО-1, ИВО-1М, РВО-2, ДВО-2), измерителей-регистраторов МДВ, анеморумбометров (М-63М, М-63М-1) - специалисты ССИ ГУ «УГМС», «ЦГМС-Р» или ЭПМ ГГО с участием инженерно-технического персонала АМЦ и АМСГ;
- АМИИС, регистраторов дальности видимости - представители предприятия-изготовителя;
- МРЛ-2, МРЛ-5 - специалисты ГУ «ГГО», с участием инженерно-технического персонала АМЦ и АМСГ.
8.2.2 При среднем ремонте измерителей ВНГО (ИВО-1, ИВО-1М, РВО-2) производят:
- ремонт механизма открывания и закрывания защитных крышек передатчика и приемника;
- замену переключателя, предназначенного для включения импульсной лампы;
- проверку исправности штепсельных разъемов и кабелей, соединяющих передатчик и приемник с пультом управления, их ремонт или (при необходимости) замену;
- проверку зеркал-отражателей передатчика и приемника, их замену при повреждении или потемнении зеркальной поверхности на 30 % и более от общей площади;
- проверку яркости и резкости изображения сигнала на ЭЛТ и при необходимости замену ее.
8.2.3 При среднем ремонте измерителей ВНГО типа РВО-2М, ДВО-2 производят:
- проверку состояния защитных стекол;
- замену переключателя, предназначенного для включения импульсной лампы;
- проверку исправности штепсельных разъемов и кабелей, соединяющих передатчик и приемник с пультом управления, их ремонт или (при необходимости) замену;
- проверку зеркал-отражателей передатчика и приемника, их замена при повреждении или потемнении зеркальной поверхности на 30 % и более от общей площади;
- проверку яркости и резкости изображения сигнала на ЭЛТ и при необходимости замену ее.
8.2.4 При среднем ремонте М-63М, М-63М-1 производят:
- полную разборку и сборку первичного измерительного преобразователя параметров ветра с промывкой смазкой и, если необходимо, замену подшипников, герконов;
- проверку исправности транзисторов, плат в пульте и при необходимости замену их.
8.2.5 При среднем (плановом) ремонте МРЛ-2, МРЛ -5 производят:
- техническую проверку параметров МРЛ, уточнение акта дефектации;
- ремонт антенно-волноводной системы и привода антенного устройства;
- ремонт и настройку приемо-передающих устройств;
- профилактику, ремонт и регулировку индикаторов, блока запусков, проверку и регулировку блоков вторичного питания;
- ремонт и регулировку аппаратуры преобразования угловой информации;
- ремонт проточно-вытяжной вентиляции и обогрева;
- ремонт и профилактику первичных источников электроснабжения;
- прогон и комплексную проверку МРЛ после ремонта.
8.2.6 После проведения среднего ремонта метеооборудования аэродромов производят его поверку.
8.2.7 По результатам среднего (планового) ремонта составляют акт по форме приложения К и прикладывают свидетельство ремонтного предприятия (форма произвольная), в котором дают краткое описание выполненных работ и указывают установленный ремонтным предприятием ресурс отремонтированных блоков до следующего ремонта и установленные гарантии. Также прикладывают свидетельства о поверке отремонтированных СИ и/или АМИИС.
Заключение в акте о восстановлении ресурса (срока службы) дают:
- на измерители ВНГО, измерители-регистраторы МОД, анеморумбометры - руководители ГУ «УГМС», «ЦГМС-Р»;
- на МРЛ-2, МРЛ-5, АМИИС - руководство ГУ «ГГО».
8.2.8 После утверждения заключения и акта о проведении среднего (планового) ремонта, и утверждения акта восстановленный ресурс (срок службы) метеооборудования, а также результаты поверки метеооборудования вносят в ФО (паспорт) отремонтированного изделия.
8.2.9 По истечении восстановленного ресурса (срока службы) метеооборудования аэродромов и при положительных результатах технической экспертизы, проводимой по 6.9.6 - 6.9.11, ресурс (срок службы) изделия может быть продлен на определенное значение (срок), но не более 60 % от восстановленного ресурса (срока службы), представителями ГУ «ГГО».
После проведения среднего ремонта измерительного прибора (системы) производят проверку его технического состояния, а также регулировку, настройку, юстировку и поверку. О проведении среднего ремонта делают запись в ФО (паспорте) изделия.
8.3.1 Капитальный ремонт выполняют для восстановления исправности и полного или близкого к полному восстановлению ресурса изделия с заменой или восстановлением любых его частей, включая базовые.
Капитальный ремонт метеооборудования производят на предприятиях-изготовителях по договорам с УГМС, ЦГМС или территориальным метеоагентством (филиалом).
Капитальному ремонту подлежит метеооборудование, восстановление эксплуатационно-технических параметров которого является экономически целесообразным.
8.3.2 С целью максимального использования выработавшего ресурс метеооборудования при капитальном ремонте целесообразно также выполнять его модернизацию. Рекомендуется:
- при капитальном ремонте РВО-2М преобразовывать его в ДВО-2 (или ДВО-2мк из состава АМИИС-2000), укомплектовывая передатчик и приемник РВО-2М блоком измерения и дистанционным пультом;
- при капитальном ремонте М-63М1 преобразовывать его в М-127 МП. Выполнять капитальный ремонт пультов М-63М1 нецелесообразно по причине несовершенства (несоответствия требованиям авиации: отсутствие скользящего осреднения и др.) методики выполнения измерений и обработки в М-63М1, реализованной в его пульте.
Дополнительно целесообразно для прошедших капитальный ремонт СИ видимости, высоты облаков и параметров ветра заказывать ремонтной организации работу по установке комплексной системы цифровой регистрации (АМИИС в неполной комплектации).
8.3.3 При отправке в капитальный ремонт изделия должны быть укомплектованы в соответствии с ведомостью комплектации, согласованной с ремонтной организацией до сдачи в капитальный ремонт. В этой ведомости указывают, что необходимо сдать в капитальный ремонт и чем изделие будет укомплектовано после капитального ремонта.
При отправке метеооборудования в капитальный ремонт к каждому изделию прилагают: акт оценки технического состояния (приложение К) в двух экземплярах, ведомость комплектации, ФО.
Направляемое в капитальный ремонт изделие должно быть в чистом состоянии. В соответствии с требованиями транспортирования его необходимо законсервировать и упаковать по ЭД.
Ремонтные предприятия несут ответственность за работоспособное состояние метеооборудования в течение указанного гарантийного срока эксплуатации после капитального ремонта.
После выполнения капитального ремонта изделия предъявляют на оформление удостоверений годности согласно 6.4.19 - 6.4.23.
8.4.1 Ремонт линий связи, выделенных для соединения первичных измерительных преобразователей метеовеличин с пультами управления (регистрации), и средств отображения метеоинформации производят подразделения авиапредприятия по эксплуатации радиотехнического оборудования и связи (ЭРТОС), ответственные за их эксплуатацию. Прокладку и обслуживание электрокабеля осуществляет электрослужба аэропорта на хоздоговорной основе.
8.4.2 Ремонт помещений и сооружений, в которых установлено метеооборудование, а также рабочих помещений инженерно-технического состава производят по согласованию с хозяйственными службами аэропорта, аэронавигации.
8.4.3 Основными документами, определяющими время и объем ремонтных работ на линиях связи, в помещениях и сооружениях, являются совместные планы (АМЦ или АМСГ и служб аэропорта и аэронавигации).
8.5.1 Согласно «Положению о поставках продукции производственно-технического назначения» [11] изделия, поступающие от предприятий-изготовителей, должны соответствовать по качеству (безотказности, долговечности и другим показателям) стандартам, техническим условиям (ТУ) и поставляться комплектно, а также иметь гарантийные сроки хранения, службы, средние ресурсы (сроки службы).
8.5.2 Гарантийный срок на комплектующие изделия и составные части считается равным гарантийному сроку на основное изделие и истекает одновременно с истечением гарантийного срока на это изделие.
8.5.3 Сроки хранения исчисляют со дня изготовления изделия.
8.5.4 Предприятие-изготовитель обязано за свой счет устранить недостатки, выявленные в изделиях (метеооборудовании) в течение гарантийного срока службы, или заменить его, если не докажет, что недостатки (отказы) возникли в результате нарушения получателем (АМЦ или АМСГ) правил эксплуатации или хранения.
8.5.5 Устранение недостатков или замену метеооборудования производят в 15-дневный срок после получения сообщения получателя о выявленных недостатках, если иные сроки не предусмотрены особыми условиями поставки или соглашением сторон.
8.5.6 Устранение недостатков в метеооборудовании не освобождает предприятие-изготовитель от уплаты штрафа, предусмотренного [11].
8.5.7 В случае устранения недостатков в метеооборудовании гарантийные сроки службы продлевают на время, в течение которого метеооборудование не использовалось из-за обнаруженных недостатков, о чем делают соответствующую запись в акте на выполнение гарантийного ремонта и в ФО (паспорте).
8.5.8 Предприятие-изготовитель не несет ответственности за качество метеооборудования и может отказаться от гарантийного ремонта в случае:
- несоблюдения правил эксплуатации метеооборудования инженерно-техническим составом, обслуживающим его;
- невыполнения или нерегулярного выполнения технического обслуживания, предусмотренного ЭД;
- нарушения правил хранения метеооборудования;
- нарушения правил ведения ФО (паспорта), особенно по учету времени ввода в эксплуатацию, часов наработки, проведения регламентных работ, отказов и их устранения.
8.5.9 Устранение недостатков или замену метеооборудования предприятия-изготовители производят по рекламации, предъявляемой в виде рекламационных актов (приложение Ц).
8.5.10 Рекламации подлежит метеооборудование, а также узлы, блоки, детали и комплекты запасных частей, в которых в процессе хранения, монтажа и эксплуатации в пределах установленного гарантийного срока эксплуатации или среднего ресурса (срока службы) обнаружатся:
- отклонения параметров от норм, предусмотренных ТУ, стандартами или договорами;
- преждевременный износ деталей, узлов, вызывающий ненормальную работу метеооборудования;
- отказ или неисправность по причинам производственного или конструктивного дефекта или из-за некачественного монтажа изделия.
8.5.11 Рекламации не подлежит метеооборудование, в котором отказы могут быть устранены без вскрытия пломб, заменой деталей (электровакуумные детали, сигнальные лампочки, предохранители и др.).
8.5.12 Рекламации предъявляют предприятию-изготовителю на весь комплект изделия в целом, независимо от того, в каких узлах, блоках или приборах, входящих в метеооборудование (изделие), обнаружен дефект.
В случае, когда узлы, блоки, приборы, входящие в комплект изделия, в которых обнаружен дефект, поступили отдельно от изделия (системы), рекламация предъявляют предприятию-изготовителю, от которого они получены.
8.5.13 Рекламационную работу по метеооборудованию аэродромов проводит инженерно-технический персонал ГУ «УГМС», «ЦГМС-Р» или территориального метеоагентства (филиала), АМЦ, АМСГ.
Ответственность за организацию рекламационной работы возлагается на начальника ССИ.
8.5.14 При выявлении дефектов, перечисленных в 8.5.10, начальник АМЦ, АМСГ или заместитель по технике (инженер по приборам) обязан немедленно проверить состояние метеооборудования с дефектами, соблюдение правил эксплуатации, своевременность проведения работ но техническому обслуживанию, правильность ведения ФО (паспорта); записать результаты проверки в ФО (паспорт) и сообщить начальнику ССИ ГУ «УГМС», «ЦГМС-Р».
8.5.15 Не позднее чем через 2 сут. с момента обнаружения отказа (неисправности) должна быть подана телеграмма-вызов руководителю предприятия-изготовителя и представителю Заказчика. Телеграмму подписывает руководитель (заместитель по технике) ГУ «УГМС», «ЦГМС-Р» или территориального метеоагентства (филиала) и направляет с уведомлением о вручении.
Ответственность за обоснованность вызова представителя предприятия-изготовителя для составления рекламационного акта несет начальник АМСГ, АМЦ.
В телеграмме указывают наименование ТС, заводской номер, наработку, предположительный характер отказа или неисправности, место прибытия представителя предприятия-изготовителя.
8.5.16 Руководитель предприятия-изготовителя обязан обеспечить прибытие своего представителя в АМЦ, АМСГ и известить ГУ «УГМС», «ЦГМС-Р» или территориальное метеоагентство (филиал) или АМЦ, АМСГ о принятом решении телеграммой.
Представитель предприятия-изготовителя должен иметь доверенность на проведение необходимых работ с правом участия в составлении рекламационного акта, подписанную руководителем предприятия-изготовителя.
8.5.17 Предельный срок прибытия представителя предприятия-изготовителя по телеграфному вызову исчисляют с момента вручения предприятию-изготовителю телеграммы о вызове с учетом продолжительности полета самолета от места нахождения предприятия-изготовителя до пункта расположения АМЦ, АМСГ с добавлением к этому сроку 5 сут.
8.5.18 В случае неявки представителя предприятия-изготовителя в срок, указанный в 6.3.5.4, составляют односторонний акт. В этом случае в состав комиссии включают представителя другой (сторонней) организации или представителя общественности ГУ «УГМС», «ЦГМС-Р», территориального метеоагентства (филиала) или АМЦ, АМСГ.
8.5.19 Выделение представителя другой (сторонней) организации или представителя общественности, а также оформление документов на участие в составлении рекламационного акта, производят по 6.3.5.6 - 6.3.5.8.
8.5.20 Рекламационный акт (приложение Ц) составляют в пяти экземплярах не позднее чем через 5 сут после прибытия представителя предприятия-изготовителя или через 10 сут после окончания срока намечаемого прибытия представителя предприятия-изготовителя в случае его неявки. В течение 1 сут. после составления акт должен быть отправлен в ССИ ГУ «УГМС», «ЦГМС-Р», территориального метеоагентства (филиала) на утверждение и для дальнейшей его отправки предприятию-изготовителю.
Рекламационный акт с момента обнаружения дефекта должен быть составлен в течение не более 30 сут.
8.5.21 При составлении рекламационного акта члены комиссии должны:
- проверить выполнение правил эксплуатации, хранения и перевозки отказавшего метеооборудования на соответствие ЭД;
- особое внимание обратить на технически грамотное изложение причин отказов, неисправностей и несоответствий ТУ отказавшего метеооборудования;
- все пункты акта (приложение Ц) заполнять краткими, но ясными текстами от руки (чернилами, пастой) или на пишущей машинке (принтере ПЭВМ) без помарок и подчисток;
- в сведения о «Комиссия в составе» записать фамилию, инициалы, место работы, занимаемую должность каждого лица, входящего в состав комиссии, а также дату и номер документа о полномочиях представителя предприятия-изготовителя или представителя другой (сторонней) организации или представителя общественности;
- в пункте 9 дать заключение о возможности или невозможности дальнейшего использования для обеспечения полетов метеооборудования, на которое составлен рекламационный акт, с указанием о его ремонте или замене. Если дано заключение о ремонте, то указать, где и какими силами (на месте или на предприятии-изготовителе) он будет произведен. Если причиной рекламации является отказ комплектующего изделия, который привел к выходу из строя метеооборудования то в заключении указывают возможность дальнейшего использования не только комплектующего изделия, но и метеооборудования в целом (подлежит ремонту, замене, где и какими силами и средствами).
8.5.22 Рекламационный акт подписывают все лица, участвовавшие в проверке отказавшего метеооборудования. В случае несогласия с любым положением акта член комиссии (в том числе представитель предприятия-изготовителя или представитель другой организации, или представитель общественности) пишет свое мнение, которое прилагают к каждому экземпляру акта. В этом случае ГУ «УГМС», «ЦГМС-Р», территориальное метеоагентство (филиал) или АМЦ, АМСГ должны приложить свои замечания к особому мнению члена комиссии.
В случаях, когда рекламационный акт составляют без представителя предприятия-изготовителя, к акту прилагают удостоверение (доверенность) представителя другой организации или представителя общественности.
8.5.23 Рекламационные акты на предприятие-изготовитель и представителю заказчика высылают только почтой. Выдавать рекламационные акты представителям предприятия-изготовителя на руки запрещается.
8.5.24 В ФО (паспорт) отказавшего метеооборудования вносят запись о выводах комиссии, указывают характер отказа.
8.5.25 Рекламационные акты регистрируют в ГУ «УГМС», «ЦГМС-Р» территориальном метеоагентстве (филиале) в специальном журнале учета рекламаций. Каждый акт должен иметь номер, соответствующий номеру журнала учета рекламаций.
8.5.26 Представитель предприятия-изготовителя обязан немедленно по прибытии в АМЦ, АМСГ или ГУ «УГМС», «ЦГМС-Р», территориальное метеоагентство (филиал) приступить к восстановлению работоспособности отказавшего метеооборудования.
Восстановление работоспособности метеооборудования представитель предприятия-изготовителя производит независимо от разногласий в оценке дефекта.
8.5.27 В случае отсутствия у представителя предприятия-изготовителя и в ГУ «УГМС», «ЦГМС-Р», территориальном метеоагентстве (филиале) или АМЦ, АМСГ узлов, блоков, деталей, необходимых для восстановления отказавшего метеооборудования, предприятие-изготовитель обязано их выслать в возможно короткий срок, но не позднее 5 суток с момента получения извещения. Узлы, блоки, детали, использованные для восстановления и принадлежащие ГУ «УГМС», «ЦГМС-Р», территориальному метеоагентству (филиалу) или АМЦ, АМСГ, должны быть в последующем возвращены предприятием-изготовителем с отгрузкой в 5-дневный срок для восстановления резерва.
8.5.28 В случае невыполнения представителем предприятия-изготовителя работ по восстановлению работоспособности метеооборудования по рекламационному акту ССИ совместно с юридической службой ГУ «УГМС», «ЦГМС-Р» или территориального метеоагентства (филиала) оформляют претензию и передают ее в арбитраж.
Основные сведения о метеооборудовании, допущенном к эксплуатации на аэродромах ГА
А.1 Метеооборудование отечественных производителей
А.1.1 Автоматизированные метеорологические информационно-измерительные системы КРАМС-4, АМИС-РФ, АМИИС-2000, АМИС-1, КРАМС-2-АРМ, ЛОМО МЕТЕО
А.1.1.1 В связи с развитием авиационной техники, внедрением новых авиационных метеокодов [21] и повышением требований к качеству и объему информации при метеорологическом обеспечении взлета и посадки воздушных судов потребовалось усовершенствование функционирующих и создание новых АМИИС.
На основе измерительных блоков станции КРАМС-2 и сертифицированных отечественных и импортных метеорологических датчиков разработаны и выпускаются АМИИС: КРАМС-2-АРМ, АМИИС-2000, АМИС-РФ, КРАМС-4, ЛОМО МЕТЕО и др.
Автоматизированное рабочее место (АРМ) в этих системах унифицировано по функциям.
Системы АМИИС предназначены для автоматического дистанционного измерения основных метеовеличин, ручного ввода метеовеличин, не измеряемых автоматически, обработки результатов автоматических измерений, автоматического формирования сообщений (сводок погоды), распространения их на средства отображения, в линии связи, а также регистрации измеренных значений метеовеличин и переданной метеоинформации.
АМИИС используются для метеообеспечения полетов, производимых с одной или двух ВПП.
Ограничения по использованию АМИИС указываются в сертификатах на тип оборудования МАК.
А.1.1.2 Обобщенная структурная схема АМИИС представлена на рисунке А.1 (сокращения согласно разделу 4). Их объединяет применение однотипного по структуре построения специализированного (прикладного) программного обеспечения (СПО), выполненного на базе лицензионного программного обеспечения Windows и впервые использованного в КРАМС-2-АРМ.
А.1.1.3 АМИИС обеспечивают автоматические дистанционные измерения следующих метеовеличин:
- МОД на ВПП (в 2 - 6 точках в зависимости от количества установленных датчиков МОД);
- ВНГО в районе БПРМ (в 2 - 4 точках в зависимости от количества установленных датчиков ВНГО);
- скорости и направления ветра (мгновенные значения, осредненные за 3 - 5 с) у порогов ВПП (в 2 - 4 точках в зависимости от количества установленных ДПВ);
- атмосферного давления на уровне установки ДЦ;
- температуры и влажности воздуха;
- яркости фона.
А.1.1.3.1 Технические характеристики дистанционных измерителей приводятся в ЭД, поставляемой со станцией.
Рисунок А.1 - Обобщенная структурная схема АМИИС
А.1.1.3.2 Средний срок службы систем составляет 10 лет при условии замены (ремонта) составных частей, выработавших свой ресурс. Средняя наработка на отказ не менее 4500 ч, средний срок восстановления отказавшей системы 2 ч.
При построении АМИИС на основе датчиков и блоков от КРАМС-2, уже эксплуатировавшихся на аэродроме, целесообразно выполнять их средний или капитальный ремонт, что позволит увеличить их срок службы в соответствии с указаниями разделов 6 и 8.
А.1.1.4 Техническое обслуживание АМИИС включает:
- техническое обслуживание центральной системы согласно таблице А.1;
- техническое обслуживание датчиков метеовеличин по ЭД на них;
- техническое обслуживание средств отображения БИ, АИУ.
Таблица А.1 - Содержание и периодичность технического обслуживания центральной системы
|
Наименование работы |
Периодичность для вида обслуживания |
||||
|
ежедневного |
еженедельного |
ежемесячного |
ежеквартального |
ежегодного |
|
|
Внешний осмотр |
+ |
|
|
|
|
|
Чистка |
|
|
|
|
|
|
экрана дисплея |
|
+ |
|
|
|
|
манипулятора «мышь», коврика |
|
|
+ |
|
|
|
Заправка бумагой принтера |
|
|
+ |
|
|
|
Проверка выполнения встроенных тест-программ (перезагрузка) |
|
|
|
+ |
|
|
Замена картриджа с красящей лентой |
|
|
|
+ |
|
|
Проверка выполнения тест-программ от внешнего имитатора (выполняется обслуживающей организацией) |
|
|
|
|
+ |
А.1.1.5 Возможные неисправности центральной системы, признаки возникновения и методы их устранения даны в ЭД на АМИИС.
Возможные отказы и повреждения, признаки их возникновения и методы устранения для датчиков метеовеличин, входящих в комплект системы, даны в ЭД на них.
А.1.1.6 Текущий ремонт системы, включая датчики метеовеличин и средства отображения, включает замену соответствующих блоков (комплектующих изделий).
А.1.1.7 Меры безопасности включают следующие требования:
- текущий ремонт системы должен осуществляться квалифицированным персоналом, производящим техническое обслуживание изделия и отвечающим требованиям, изложенным во введении к РЭ;
- не разрешается выполнять ремонтные работы в одиночку;
- перед началом ремонтных работ питающее напряжение электросети должно быть отключено (штепсели отсоединить от розеток);
- все блоки, питающиеся напряжением переменного тока более 42 В и постоянного тока более 110 В, должны быть заземлены. Для сохранения эксплуатационных и технических характеристик системы отказавшие (неисправные) блоки и детали необходимо заменять только соответствующими однотипными блоками.
А.1.1.8 Нельзя проводить усовершенствования и модернизацию системы без разрешения предприятия-изготовителя. После модернизации систему повторно предъявляют на оформление удостоверения годности.
А.1.2 Определение дальности видимости на ВПП
Дальность видимости на ВПП (ДВ ВПП) - расстояние, в пределах которого пилот воздушного судна, находящегося на осевой линии ВПП, может видеть маркировку покрытия ВПП или огни, которые ограничивают ВПП или обозначают ее осевую линию.
Практически невозможно непосредственно производить наблюдения (измерения) ДВ ВПП.
По результатам визуальных наблюдений за дальностью видимости щитов-ориентиров или приборным измерениям коэффициента пропускания ДВ ВПП определяется либо автоматически с использованием АМИИС, либо с помощью соответствующих таблиц.
При определении ДВ ВПП (МОД) по результатам инструментальных измерений используется формула Кошмидера
|
|
(А.1) |
где SM - МОД;
l - длина пути светового луча (ограничена измерительной базой прибора);
ε - порог контрастной чувствительности глаза (при ε = 0,05; ln(l / ε) = 3);
τ - коэффициент пропускания атмосферы на пути светового луча длиной I.
По формуле (А.1) производится преобразование коэффициента пропускания в МОД в блоке сопряжения автономных измерителей видимости типа ФИ-2 и в центральном устройстве АМИИС. Таблицы перевода значений прозрачности (коэффициента пропускания на пути измерительного луча) в значения МОД приведены в приложении С.
При использовании визуального метода определения видимости ДВ ВПП в светлое время суток приравнивается к видимости щитов-ориентиров видимости. Дальность видимости огней ВПП светосигнальных систем ОВИ или ОМИ независимо от способа определения видимости (инструментального или визуального) определяется расчетным методом либо по таблицам пересчета, либо автоматически с помощью АМИИС при использовании зависимости, вытекающей из закона Аллара:
|
|
(А.2) |
|
|
(А.3) |
где μ - показатель ослабления света;
εt - порог световой чувствительности глаза;
τ - коэффициент пропускания атмосферы на пути светового луча l;
L - ДВ ОВИ, ОМИ;
I - направленная сила света осевых и/или посадочных огней ВПП светосигнальных систем ОВИ (ОМИ).
Методика и таблицы определения ДВ ВПП содержатся в РД 52.21.610. Эти таблицы используют также при поверке и контроле метрологических характеристик изделий в межповерочный интервал.
А.1.3 Система цифровой регистрации метеовеличин
Сертифицированные СИ обеспечивают техническую возможность ввода результатов измерений в ПЭВМ. В связи с этим целесообразно использовать эту возможность для отказа от регистрации при помощи диаграммных лент аналоговых самописцев и перехода на современную безбумажную технологию регистрации на винчестере ПЭВМ.
Например, ФИ-2 и ФИ-3 имеют в своем составе преобразователь интерфейса, вырабатывающий результаты измерений в коде ASCII, что позволяет подключить его к стандартному последовательному порту любой ПЭВМ. ДВО-2 также вырабатывает на выходе цифровое сообщение в коде ASCII. Это же относится и к датчикам фирмы «Vaisala Оу». Сертифицированные датчики МОД, ВНГО и параметров ветра фирмы ОАО «Пеленг» имеют в своем составе ПЭВМ в качестве средств отображения и регистрации (приложение А.2).
В целях автоматизации технологии работы АМСГ (АМЦ) для обеспечения регистрации как измерительной, так и выдаваемой информации, в том числе: в коде METAR, автоматического определения ДВ ВПП, приведения давления к уровню моря и уровням стартов ВПП и других функций преобразования метеовеличин, - целесообразно внедрение на некатегорированных аэродромах сертифицированных АМИИС в неполной комплектации с возможностью наращивания АМИИС до полного комплекта по мере приобретения сертифицированных датчиков. При этом сохраняется необходимость получения и подтверждения удостоверения годности в установленном порядке.
В автоматизированных комплексах типа АМИИС идентичность архивных данных и данных, поступающих на средства отображения, обеспечивается за счет синхронизации времени формирования этих сообщений. При использовании автономных датчиков со своими средствами отображения синхронность формирования отображенных и архивных данных следует обеспечивать режимом «по запросу».
А.1.4 Датчик высоты нижней границы облаков ДВО-2
А.1.4.1 ДВО-2 представляет собой комплекс, включающий оптический импульсный локатор, предназначенный для измерения ВНГО над местом установки передатчика и приемника (используется передатчик и приемник РВО-2М), блок автоматической обработки результатов измерения и передачи выходного сигнала по линиям связи для регистрации, а также дистанционный пульт с цифровой индикацией.
А.1.4.2 Основные технические характеристики ДВО-2:
- диапазон измерения ВНГО: от 15 до 2000 м;
- пределы допускаемой основной погрешности:
|
±10 м……………. |
в диапазоне |
от 15 до 150 м включ., |
|
± 7 %................... |
« « |
св. 150 до 2000 м включ.; |
- вид выходного сигнала блока измерения:
- цифровой выход: 4-разрядный десятичный код ВНГО с дискретностью 5 м, соответствует диапазону измерения от 15 до 2000 м;
- аналоговый выход: напряжение постоянного тока в измеряемом диапазоне от 0 до 12 В (12 В соответствует 2400 м).
- режим измерения датчика: непрерывный;
- частота зондирования облаков световыми импульсами: 1,3 Гц.
А.1.4.3 Характеристики согласования блока автоматической обработки с внешними управляющими и регистрирующими устройствами следующие:
а) по цифровому выходу: двухпроводная потенциально развязанная линия связи с однополярными сигналами и номинальным током (20 ± 5) мА;
б) по аналоговому выходу: двухпроводная линия связи. Выходное сопротивление Rвых = (1 ± 0,01) кОм.
Примечание - По цифровому выходу датчика обеспечивается как дистанционное измерение, так и дистанционное управление.
А.1.4.4 Управление датчиком ведется как дистанционно (с пульта или метеостанции), так и местными органами управления блока автоматической обработки. Дистанционное управление осуществляется по двухпроводной линии связи длиной до 8 км, подключаемой к цифровому выходу блока автоматической обработки датчика.
А.1.4.5 Индикация результатов измерения в блоке автоматической обработки и на дистанционном пульте - цифровая. С выхода дистанционного пульта обеспечивается выдача информации о ВНГО в цифровом коде ASCII, интерфейс RS232C. Этот выход предназначен для сопряжения ДВО-2 с ПЭВМ (для обеспечения цифровой регистрации показаний) или центральным устройством АМИИС, выполненным на базе ПЭВМ.
- длина соединительных кабелей от передатчика к блоку измерения и от приемника к блоку измерения: от 50 до 70 м;
- длина кабеля, соединяющего передатчик и приемник: от 10 до 12 м;
- электрическое питание датчика: переменный однофазный ток напряжением (220 ± 22) В и частотой (50 ± 1) Гц;
- потребляемая мощность датчика, Вт, не более:
|
80………………. |
без обогрева, |
|
130……………… |
с обогревом; |
- масса и габаритные размеры блоков датчика не превышают значений, приведенных в таблице А.2.
А.1.4.6 Условия эксплуатации датчика:
а) передатчик, приемник и кабели - при температуре окружающей среды от минус 50 °С до +50 °С и относительной влажности до 98 % при температуре 25 °С;
б) блок автоматической обработки, дистанционный пульт - при температуре окружающей среды от 5 °С до 40 °С и относительной влажности до 80 % при температуре 25 °С.
Таблица А.2 - Масса и габаритные размеры блоков ДВО-2
|
Наименование |
Масса, кг |
Габаритные размеры, мм |
Примечание |
|
Передатчик РВО-2М |
49 |
630×585×665 |
|
|
Приемник РВО-2М |
51 |
630×585×665 |
|
|
Кабели |
40 |
530×440 |
Бухта |
|
Блок измерения* |
14 |
493×375×170 |
|
|
Дистанционный пульт* |
4 |
266×226×88 |
|
|
Блок регистрации типа Н3092 (или аналогичный) |
4 |
160×160×250 |
Поставляется по отдельному заказу |
|
___________________ * Выпускается в двух вариантах: аналого-цифровом и на основе микроконтроллеров (вариант исполнения на основе микроконтроллеров указывается в формуляре как ДВО-2мк). |
|||
А.1.4.7 Блок автоматической обработки ДВО-2мк по назначению и функциональным возможностям полностью соответствует аналого-цифровому варианту и отличается от последнего повышенной степенью интеграции. Он содержит:
- измерительную плату, объединенную конструктивно и по функциям с платой управления, платой вывода и платой индикации;
- высоковольтный блок;
- блок питания (БП).
А.1.4.8 Функциональная схема блока автоматической обработки с микроконтроллером приведена на рисунке А.2.
Принцип действия блока автоматической обработки ДВО-2 с микроконтроллером, как и в аналого-цифровом варианте, основан на измерении времени прохождения светового импульса от излучателя (передатчика) до цели и обратно (в приемник), преобразования полученного временного интервала в цифровой код. Одновременно с излучением светового импульса из передатчика в блок измерения поступает импульс запуска, под воздействием которого начинается формирование временного интервала.

БВ - блок высоковольтный; СИУ -
схема индикации и управления; УУ - управляющее
устройство; Ф - формирователь; У - усилитель; УЛС - усилитель линии связи; ПУ1
- пороговое
устройство № 1; ПУ2 - пороговое устройство № 2; RC - фильтр; БП - блок питания;
К1 -
последовательный ключ № 1; К2 - открывающий ключ № 2; ПД - пиковый детектор
Рисунок А.2 - Функциональная схема датчика высоты облаков ДВО-2мк
Формирование интервала заканчивается в момент поступления отраженного сигнала от приемника (через усилитель) на второй вход схемы выделения временного интервала. Измеритель преобразует временной интервал, пропорциональный высоте облаков, в цифровой код.
А.1.4.9 Поверку ДВО-2 производят по МИ 2783.
А.1.5 Измеритель параметров ветра ИПВ-01 производства ОАО «Гидрометприбор» (г. Москва)
А.1.5.1 Измеритель параметров ветра ИПВ-01 разработки и производства ОАО «Гидрометприбор» (г. Москва) (рисунок А.3) представляет собой микропроцессорное устройство, предназначенное для измерения параметров ветра (скорости и направления).
ИПВ-01 содержит:
- датчик скорости и направления ветра (ДСНВ), представляющий собой блок первичных измерительных преобразователей скорости и направления ветра, выдающий информацию о параметрах ветра (мгновенной скорости и направлении) в линию связи с периодичностью 1 с в заданных диапазонах и с заданной точностью;
- микропроцессорный блок сопряжения (БС), обеспечивающий преобразование цифровых сообщений ДСНВ в цифровые сообщения для ПЭВМ АМИИС или блока регистрации и индикации;
- блок регистрации и индикации, выполненный на базе ПЭВМ, обеспечивающий создание архива данных о параметрах ветра за период времени до 14 сут;
- комплект СПО (дискета 3,5” для ПЭВМ блока регистрации и индикации).
А.1.5.2 Принцип действия ИПВ-01 состоит в преобразовании в ДСНВ механического воздействия ветрового потока на ветроприемники (винтовой ветроприемник скорости с флюгаркой, ориентирующей ось винта по потоку) в оптические, а затем в электрические сигналы. В ДСНВ происходит преобразование этих сигналов в цифровой последовательный двоичный код (два байта скорости и один байт - направления) и после обработки в БС (коррекция нелинейности винта) - в цифровые сообщения для БИ и ПЭВМ. После обработки в БИ, в ПЭВМ блока регистрации и индикации формируются данные в виде, удобном для потребителя, с выводом на монитор ПЭВМ и сохранением на жёстком диске ПЭВМ в виде архивного текста.

Рисунок А.3 - Измеритель параметров ветра ИПВ-01
А.1.5.3 Устройство и назначение ИПВ-01 подробно представлено в РЭ.
А.1.5.4 Технические характеристики ИПВ-01:
- диапазон непрерывных измерений мгновенной скорости, осредненной за 5 с: от 0,5 до 80 м/с;
- предел допускаемой погрешности измерения мгновенной скорости:
|
± 0,3 м/с……………. |
при скорости от 1 до 10 м/с, |
|
±3 %........................... |
при скорости свыше 10 м/с; |
- диапазон непрерывных измерений направления ветра, осредненных за 5 с: от 0° до 360°;
- предел допускаемой погрешности измерения направления ветра: ± 3°;
- порог чувствительности, м/с: анемометра 0,5, флюгера 0,5;
- разрешение флюгера: не более 2°;
- период обновления данных о мгновенной скорости на выходе БС: 1 с;
- выходной интерфейс БС: RS232C - для ввода данных о мгновенной скорости и направлении в ПЭВМ АМИИС или выполненный на базе ПЭВМ блок регистрации и индикации, скорость передачи 1200 бит/с;
- потребляемая мощность ДСНВ с БС, Вт, не более 7;
- габаритные размеры:
- ДСНВ - 350×345×135 мм, масса: 1,9 кг;
- БС - 40×150×170 мм, масса: 0,5 кг;
- средний срок службы прибора 10 лет, среднее время наработки на отказ 4500 ч, среднее время восстановления после отказа при наличии ЗИП не более 2 ч.
А.1.5.5 При измерениях скорости ветра обеспечивается:
а) скользящий выбор и выдача максимальной скорости ветра Vмакс за истекшие 10 мин в диапазоне не менее чем от 5 до 50 м/с с погрешностью измерения мгновенной скорости ветра Vмгн за истекшие 10 мин или выдача этой скорости при её отклонении от средней скорости ветра на 5 м/с и более в том же диапазоне и с той же погрешностью;
б) скользящее осреднение скорости Vcp в диапазоне не менее чем от 1 до 45 м/с за истекшие 2 и 10 мин с погрешностью измерения мгновенной скорости.
А.1.5.6 При измерениях направления ветра обеспечивается:
а) скользящее осреднение направления ветра в диапазоне от 0° до 360 ° за истекшие 2 и 10 мин с погрешностью измерения направления ветра ±5 °;
б) выдача отклонений от среднего направления ветра, если общее отклонение направления ветра составляет 60° и более, при средней скорости ветра Vcp 2 м/с и более;
в) изменение (уменьшение) интервала десятиминутного осреднения параметров ветра и выдачи максимальных значений при резких устойчивых изменениях скорости и/или направления.
А.1.6 Метеооборудование ОАО «ЛОМО» (г. Санкт-Петербург)
А.1.6.1 Импульсный фотометр ФИ-2 (рисунок А.4) предназначен для измерения метеорологической оптической дальности. Особенностью прибора, в отличие от ИДВ MITRAS и Пеленг СФ-01, является то, что в нем применен совмещенный отражатель-приемник. При работе на удвоенной базе (БД) этот узел используется как отражатель и перекрывает диапазон измерения от 130 до 6000 м, при работе на ближней базе (ББ) этот узел используется как приемник излученного блоком фотометрическим (БФ) света и перекрывает диапазон от 65 до 3000 м.
Важным преимуществом такой оптической схемы является то, что обеспечивается естественное согласование показаний прибора при переключении баз (переходе с БД на ББ).
Основные технические характеристики ФИ-2:
- диапазон измерения МОД: от 60 до 6000 м при базе (расстоянии между БФ и отражателем-приемником) 100 м;
- предел основной абсолютной погрешности измерения коэффициента пропускания атмосферы на выходе БФ: ±1,5 %;
- дополнительная погрешность измерения коэффициента пропускания на выходе БФ (за счет влияния дестабилизирующих факторов, таких как изменение температуры от минус 50 °С до +50 °С): не более 0,5 % на каждые 20 °С;
- дополнительная погрешность от временной нестабильности: не более +1 % за 4 ч непрерывной работы (и, как показали исследования, за значительно большее время) в нормальных условиях.
В результате суммирования погрешностей (рассматриваемых как независимые) предел допускаемой абсолютной погрешности измерения коэффициента пропускания на выходе БФ при эксплуатации ФИ-2 в реальных условиях (с периодической калибровкой на верхнем участке диапазона измерения при высокой прозрачности атмосферы, близкой к 100 %) составляет ±2,2 %.
В соответствии с этой оценкой пределы допускаемой относительной погрешности определения МОД составляют следующие значения, %:
|
±15….. |
при МОД |
менее 200 м; |
|
±10….. |
« « |
от 200 до 400 м включ.; |
|
±7…… |
« « |
св. 400 « 1500 м « ; |
|
±10….. |
« « |
« 1500 « 3000 м « ; |
|
±20….. |
« « |
« 3000 « 6000 м « , |
т.е. соответствуют требованиям авиации.
Рисунок А.4 - Импульсный фотометр ФИ-2
В ФИ-2 предусмотрены автоматическое и дистанционное ручное (принудительное) переключение и индикация диапазонов измерения в соответствии со значением измеряемой МОД.
Ручное переключение и индикация диапазонов обеспечиваются при любом значении МОД. При видимости ниже 200 м измерения проводятся в режиме ББ. Обратный переход на работу с БД производится при видимости 600 м.
В ФИ-2 предусмотрена цифровая индикация результатов измерений в единицах МОД с периодом обновления информации от 3 до 15 с.
В ФИ-2 обеспечена возможность подключения к аналоговому выходу БФ серийно выпускаемого регистрирующего вольтамперметра для непрерывной регистрации коэффициента пропускания.
Время установления показаний коэффициента пропускания слоя атмосферы в рабочем интервале от 10 % до 90 % составляет 1 мин.
Время установления рабочего режима ФИ-2 после первого включения не более 30 мин.
Время приведения в работоспособное состояние ФИ-2, находящегося в резерве с включенными цепями питания, не более 2 мин.
Индикация измеренной МОД и передача сигналов управления с блока индикации (БИ) до БФ обеспечивается по двум проводам на расстояние до 8 км по аэродромным проводным линиям связи. Электрические параметры линий связи должны соответствовать действующим сертификационным требованиям к аэродромам ГА.
При работе двух ФИ-2 с общим блоком отражателя блоки БФ должны быть установлены на расстоянии не более 1,3 м.
При работе двух ФИ-2 с раздельными блоками отражателя последние должны быть расположены на расстоянии не менее 2 м.
ФИ-2 как измерительный прибор должен подвергаться периодической поверке органами метрологической службы в установленном порядке не реже 1 раза в год.
Внеочередную поверку производят после ремонта, а также при метрологической инспекции.
Поверку производят при помощи поверочного комплекта КП-ФИ-2, в состав которого входят образцовые светофильтры и вольтметр цифровой В7-38. Средства контроля метрологических характеристик включают:
- набор контрольных светофильтров, входящих в комплект прибора;
- контрольный индикатор Ю-43.49.100, который подключают на разъем для линии связи. При этом линию связи подключают на разъем контрольного индикатора;
- цифровой вольтметр, сохраняющий работоспособность в полевых условиях, имеющий основную погрешность не более 0,2 %, например В7-38.
Контроль переключения режима работы фотометра на укороченной или удвоенной базе допускается производить по индикаторам «Дальн» и «Ближн» на БИ или с помощью контрольного индикатора Ю-43.49.100.
Управление принудительным переключением баз при использовании ФИ-2 в составе АМИИС не предусмотрено, следует использовать режим «Авт» или «Ручн».
А.1.6.2 Импульсный фотометр ФИ-3 (рисунок А.5) конструктивно незначительно отличается от ФИ-2, однако, благодаря применению цифровых методов обработки результатов измерений ФИ-3 имеет более высокие эксплуатационные характеристики по сравнению с ФИ-2. В ФИ-3 повышена точность измерений, обеспечен контроль состояния линий связи, автоматизирован процесс корректировки показаний при высокой прозрачности атмосферы, снижены масса и габаритные размеры.
Разработана программа архивации данных измерений с применением стандартной ПЭВМ на период до 14 сут от восьми приборов ФИ-3 (или ФИ-2).
МАК разработал сертификационные требования к изготовителям аэродромного оборудования. Согласно этим требованиям изготовитель обязан контролировать техническое состояние изделий в течение всего срока эксплуатации, а не только в гарантийный период. В связи с этим ОАО «ЛОМО» ежегодно во время очередной поверки проводит анализ технического состояния ФИ-2, ФИ-3, при необходимости выполняет замену комплектующих, мелкий ремонт и настройку. Практика показывает, что при этом отсутствуют метрологические отказы в межповерочный интервал, а эксплуатационные показатели остаются на высоком уровне в течение всего срока службы изделия.
Освоен серийный выпуск новой модификации ФИ-3, где в качестве источника света используется светодиод (взамен импульсной газоразрядной лампы). Такой источник света не требует замены в течение всего срока эксплуатации прибора и, кроме того, не создает электрических помех, благодаря чему обеспечивается высокая точность и стабильность результатов измерений. Погрешность измерения коэффициента пропускания в таком приборе не превышает ±1 %.
ФИ-3 может работать на укороченной базе, когда блок отражателя установлен на расстоянии 50 м от блока фотометрического, при этом нижний предел измерения МОД составляет 35 м.
1- блок высоковольтный; 2-
схема индикации и управления; 3- управляющее устройство; 4 - формирователь; 5-
усилитель; 6 -
усилитель линии связи
Рисунок А.5 - Общий вид измерителя ФИ-3
А.1.6.3 Датчик облаков лазерный ДОЛ-2 (рисунок А.6) предназначен для использования на аэродромах высокой категории, обеспечивающих посадку в самых сложных условиях.
По достоверности измерений, диапазону, точности и полноте выдаваемой информации ДОЛ-2 соответствует современным требованиям к применению на авиаметеорологических станциях.
В качестве излучателя применен полупроводниковый лазер. Длина волны около 950 нм, длительность импульса 0,1 мкс, мощность излучения 40 мкДж. Конструктивно излучатель и приемник (фотодиод) объединены в одном блоке так, что их оптические оси пространственно совмещены.
Предусмотрена возможность наклона корпуса под углами 0°, 90° и 45° к горизонту. Нулевой угол наклона используется при поверке путем измерения расстояний до твердых целей. Эхо-сигнал на выходе фотоприемника представлен совокупностью цифровых данных с шагом дискретизации по дальности 7,5 м. Блок излучателя приемника имеет встроенную систему термостабилизации, а также элементы обогрева защитного стекла. Встроенный процессор помимо обработки эхо-сигнала выполняет контроль за работой отдельных узлов и формирует сообщение об их состоянии для передачи на дистанционный пульт управления.
Технические характеристики ДОЛ-2:
- диапазон измерения от 10 до 3000 м;
- предел допустимой погрешности:
±10 м в диапазоне от 10 до 100 м;
±10 % в диапазоне свыше 100 м.
Имеется встроенный модем для обеспечения дистанционности передачи информации к пульту управления на расстояние 8 км. Обеспечено сопряжение с современными АМИИС.
ДОЛ-2 имеет следующие особенности конструкции:
- оптические оси излучателя и приемника пространственно совмещены, что устраняет «мертвую зону» и гарантирует достоверность измерений вплоть до нулевых значений высоты облаков;
- 200-миллиметровый диаметр апертуры излучателя обеспечивает безопасный для глаз уровень плотности излучения;
- малая расходимость диаграммы направленности приемника и соосное его положение по отношению к излучателю обеспечивает компенсацию ослабления эхо-сигнала с расстоянием (по квадрату расстояния), что позволяет корректно решить задачу обработки эхо-сигнала с учетом анализа его формы. В зависимости от результатов анализа выдается информация о высоте облаков, либо о «вертикальной видимости»;
- обработка эхо-сигналов предусматривает восстановление профиля отражаемости путем компенсации ослабления эхо-сигнала при прохождении через слой осадков или подоблачную дымку. Это повышает обнаружительную способность в отношении второго слоя облаков;
- предусмотрена статистическая обработка результатов измерений, которая гарантирует устойчивость выходных данных при наличии разрывов в облачном слое, а также быстрое реагирование на понижение высоты облачного слоя;
- дистанционный пульт управления имеет цифровое табло и рассчитан на подключение двух измерителей ДОЛ-2. На цифровом табло отображается информация о количестве облачных слоёв и их сплочённости (пространственной протяжённости).
Рисунок А.6 - Датчик облаков лазерный ДОЛ-2
А.2 Метеооборудование иностранных фирм
А.2.1 Метеооборудование ОАО «Пеленг» (Республика Беларусь)
К используемому в настоящее время на сети Росгидромета оборудованию ОАО «Пеленг» относятся: прибор для измерения метеорологической оптической дальности «Пеленг СФ-01», лазерный измеритель нижней границы облаков (ИНГО) «Пеленг СД-01-2000», анеморумбометр «Пеленг СФ-03», система АМИС-ПЕЛЕНГ СФ-09.
А.2.1.1 Прибор для измерения метеорологической оптической дальности «Пеленг СФ-01» представляет собой оптоэлектронное устройство, предназначенное для измерения ослабления света, проходящего через определенный объем (слой) атмосферы. Импульсы видимого света (длительностью около 1 с) от периодически включаемой лампы накаливания (применена обычная автомобильная лампа А12) проходят через слой атмосферы, равный базе прибора, и поступают на фотоприемник (фотоприемники при двухбазовой комплектации). Интенсивность принятых сигналов (коэффициент пропускания) измеряется и преобразуется в МОД с помощью алгоритма, основанного на известной формуле Кошмидера.
А.2.1.1.1 Инструментальная погрешность измерения коэффициента пропускания т в приборе «Пеленг СФ-01» не превышает ±1 %.
Выходные сигналы фотоприемников преобразуются в частоту, далее (за вычетом сигналов от фона) находится отношение принятого светового потока к излученному и определяется значение МОД, которое в цифровом коде ASCII передается по линии связи на вход блока управления и индикации. Этот блок выполняет скользящее осреднение на интервале 1 мин (по 12 отсчетам при видимости менее 0,8 км и по четырем - при видимости более 0,8 км), результат отображается на экране дисплея. Обеспечена регистрация измеренных значений МОД (запись в архив) с возможностью печати на принтере.
А.2.1.1.2 Устройство и назначение составных частей «Пеленг СФ-01» подробно представлено в РЭ. Основными составными частями прибора являются:
- излучатель, установленный на колонке (рисунок А.7);
- блок электронный (БЭ), установленный на единой колонке с излучателем;
- два фотоприемника на колонках;
- блок управления и индикации, выполненный на базе ПЭВМ с операционной системой MS DOS, версия 6.22, и СПО, поставляемые с прибором;
- блок сопряжения (БС) с ПЭВМ.
а) Излучатель (содержит лампу А12 - 45 + 40) устанавливается на колонку и служит для создания светового потока и передачи его на приемники. В корпусе излучателя крепятся линзы, плата с лампой, диафрагма для регулировки опорного светового потока, фотоприемник опорного канала с усилителем и системой термостабилизации, защитное стекло. Для предохранения от запотевания и обледенения на защитном стекле нанесено токопроводящее покрытие. В рабочем положении излучатель дополнительно закрыт кожухом.
б) Оптический блок фотоприемника состоит из линз, диафрагмы, фотодиода с усилителем и системой термостабилизации, защитного стекла, корпуса. Для предохранения от запотевания и обледенения на защитном стекле фотоприемника нанесено токопроводящее покрытие. В рабочем положении фотоприемники закрыты кожухами.
Уровень фона окружающего света до 30 ккд/м2 не влияет на работу фотоприемников и не насыщает предварительные усилители. Для исключения влияния температуры окружающей среды на точность измерения фотоприемники заключены в теплоизолирующие кожухи и имеют термостабилизаторы, поддерживающие в них постоянную температуру на уровне от 35 °С до 40 °С.
1 - излучатель; 2 - прицел; 3 -
БЭ; 5 - кронштейн; 6 - оправа; 7 - узел поворота;
8 - прибор контроля; 9 - кожух; 10 - крыша; 11 - приемник с кожухом; 12 - мушка
Рисунок А.7 - Излучатель (без кожуха) с БЭ на колонке (слева)
и приемник
на колонке (справа)
в) БЭ состоит из микропроцессора, интерфейса связи со встроенным модемом, памяти, 3-канального аналого-цифрового преобразователя ток-частота, схемы измерения частоты, контролирующих схем.
При коэффициенте пропускания более 3 % (на БД) на дисплей блока управления и индикации выводится значение МОД, измеренное на БД, при коэффициенте пропускания менее 3 % - измеренное на ББ. За счет осреднения результатов измерения в блоке управления и индикации на скользящем 1-минутном интервале скачок в показаниях на разных базах сглаживается.
Кроме сбора и обработки сигналов, поступающих от приемников, БЭ обеспечивает передачу обработанных сигналов через последовательный порт RS232 на терминал и через модем на блок управления и индикации.
г) Блок управления и индикации принимает сигналы от блока электроники через модемную двухпроводную последовательную линию, по которой передаются измерительные сигналы в цифровом коде ASCII через БС на вход ПЭВМ.
Измеренные и обработанные (скользяще осредненные на 1-минутном интервале) значения МОД отображаются непрерывно на экране дисплея блока управления и индикации в окне обработанных данных. Поле экрана используется и для отображения единиц измерения, в которых высвечиваются данные. В нижней части экрана высвечиваются мгновенные значения МОД, буквенно-цифровое отображение, используемое для показа предупреждений, тревог или другой специфической прикладной информации.
А.2.1.1.3 Технические характеристики прибора «Пеленг СФ-01»:
- диапазон измерения МОД: от 20 до 6000 м;
- предел допускаемой относительной погрешности измерения МОД:
|
±15 % |
при МОД |
до 250 м включ., |
|
±10 % |
« « |
св. 250 до 3000 м включ., |
|
±20 % |
« « |
св. 3000 до 6000 м включ.; |
- количество измерительных баз: 1 или 2 (определяет потребитель). На аэродромах не выше I категории достаточно использовать однобазовую комплектацию, на аэродромах категории II - III рекомендуется комплектация с двумя измерительными базами. При использовании двух измерительных баз переключение баз происходит автоматически;
- длина измерительных баз: 25; 50; 100; 200 м. На базе 25 м обеспечивается диапазон измерения от 20 до 1000 м, на базе 50 м - от 40 до 2000 м, на базе 100 м - от 80 до 6000 м, на базе 200 м - от 160 до 12 000 м;
- период обновления данных: 15 с;
- частота измерений: 0,2 Гц при видимости менее 800 м включ., 0,07 Гц при видимости свыше 800 м;
- электропитание: от сети однофазного переменного тока напряжением (220 ± 22) В частотой (50 ± 1) Гц;
- потребляемая мощность блоков, установленных на открытом воздухе, Вт: не более 150;
- габаритные размеры излучателя и приемников в развернутом виде: высота 1700 мм, ширина и длина 860 мм, масса: 30,0 кг;
- размеры БЭ: 465×260×330 мм, масса: 15,0 кг;
- размеры БС: 440×176×147 мм, масса: 4,5 кг;
- средний срок службы прибора: 8 лет;
- среднее время наработки на отказ: 8000 ч (без учета наработки источника света);
- среднее время восстановления после отказа: не более 2,5 ч.
А.2.1.1.4 Указания по ориентации прибора:
а) На месте эксплуатации все входящие в состав прибора блоки устанавливают в соответствии с рисунком А.8 и соединяют кабелями. В таблице А.3 приведены установочные размеры для размещения колонок излучателя и приемников.

1 - излучатель; 2 - БЭ; 3-
колонка; 4 - приемник ближний; 5 - приемник
дальний; 6 - пластина; 7 - ножка; 8 - болт фундаментный; 9 - плита
Рисунок А.8 - Схема расположения измерителя МОД на объекте
б) Рекомендуется устанавливать приемники ближний и дальний так, чтобы исключить, по возможности, попадание прямых солнечных лучей на оптические детали.
в) Излучатель с БЭ желательно размещать в специальных неотапливаемых будках; БС, ПЭВМ, табло - в отапливаемом помещении. Приемники размещают в специальных неотапливаемых будках или на открытом воздухе на бетонных фундаментах или вышках под крышей.
г) Для установки излучателя и приемников должны быть подготовлены бетонные фундаменты, а на вышках - металлические конструкции, исключающие смещения и наклоны в процессе эксплуатации.
Габаритные размеры фундаментных плит 9 должны быть не менее 1500×1500×250 мм. В бетонные плиты должны быть замурованы по три фундаментных болта 8 из монтажного комплекта, на которые перед установкой надеты пластины 6 размерами 35×35 мм. Выступание болтов над плитой должно составлять не менее 130 мм.
Таблица А.3 - Установочные размеры для размещения колонок излучателя и приемников
|
База, м |
Расстояние между осями колонок излучателя и приемника, м |
|
25 |
25,5 ± 0,1 |
|
50 |
50,5 ± 0,25 |
|
100 |
100,5 ± 0,5 |
|
200 |
200,5 ± 1,0 |
Колонку излучателя устанавливают элементами регулировки узла поворота в противоположную сторону от приемников, а колонки приемников элементами регулировки узлов поворота в противоположную сторону от излучателя в створе, т.е. располагают на одной прямой линии, причем приемник ближний устанавливают ниже приемника дальнего. Могут быть использованы специальные неотапливаемые будки, в которых устанавливались датчики ФИ-1, РДВ.
д) При работе с двумя приемниками приемник ближний должен быть расположен так, чтобы он не экранировал световой поток, идущий на приемник дальний; при эксплуатации окна защитных будок должны быть открыты.
А.2.1.1.5 Поверку измерителя выполняют по республиканской методике поверки с использованием нейтральных фильтров производства ОАО «Пеленг».
А.2.1.2 Лазерный измеритель нижней границы облаков (ИНГО) «Пеленг СД-01-2000» представляет собой оптоэлектронное устройство, предназначенное для измерения расстояния от ИНГО до облака. Импульсы света лазера (длительностью около 70 - 100 не) проходят через слой атмосферы и поступают на фотоприемник, расположенный в непосредственной близости к излучателю. Время задержки принятых сигналов по отношению к импульсам, излучаемым лазером, преобразуется с помощью микроЭВМ измерительного блока прибора в ВНГО и в цифровом виде передается по линии связи в блок управления и индикации. В блок управления и индикации также передается информация о профиле лидарного сигнала для дальнейшего анализа достоверности результатов измерений оператором.
А.2.1.2.1 Измеренное в ИНГО время прохождения импульсом оптического излучения расстояния до облака и после отражения от него обратно при известной скорости света дает значение ВНГО. Частота подаваемых импульсов составляет 1 кГц. Импульсы подаются пачками по 10 тысяч импульсов в течение 10 с. Для повышения точности и достоверности измерения используется принцип накопления. Отраженные сигналы суммируются, в результате чего случайные шумы подавляются, а систематический отраженный от облака сигнал выделяется на фоне шума.
Высота облаков Н по этому методу определяется по формуле
|
|
(А.4) |
где с - скорость света;
t - время прохождения единичным импульсом расстояния до облака и обратно;
n - число измерений, формирующих показание Н (n = 10000).
Данные единичного зондирования формируются в виде совокупности цифровых данных о лидарном сигнале, образуемой периодическим преобразованием с шагом во времени 66,6 не (частота 15 МГц) выходного сигнала фотоприемника в цифровую форму (с помощью АЦП на 8 разрядов) и запоминанием в быстродействующей памяти типа FIFO (стек). Количество чисел, описывающих огибающую лидарного сигнала и накапливаемых автоматически в стеке, составляет 200. Временной шаг 66,6 не соответствует шагу ВНГО 10 м. Емкость стека тем самым определяет диапазон измерения ВНГО (дистанционность зондирования) - от 10 до 2000 м.
Оцифрованный лидарный сигнал считывается микроЭВМ, которая производит окончательную обработку результатов 10000 зондирований (суммирование с целью выделения сигнала на фоне шума, выделение экстремумов, формирование цифрового сообщения для передачи по линии связи).
Инструментальная погрешность измерения ВНГО в ИНГО «Пеленг СД-01-2000» не превышает ±10 м при ВНГО до 100 м, +10 % при ВНГО свыше 100 до 2000 м.
А.2.1.2.2 Устройство и назначение составных частей ИНГО «Пеленг СД-01-2000» подробно представлено в РЭ.
а) Основными составными частями прибора являются:
- моноблок излучателя, фотоприемника и БЭ с управляющим компьютером (microPC), установленный на литой стойке;
- блок управления и индикации, выполненный на базе ПЭВМ с операционной системой Windows 95 и СПО, поставляемым с ИНГО «Пеленг СД-01-2000».
б) Конструктивно ИНГО выполнен в виде моноблока (рисунок А.9), объединяющего в одном корпусе передающий и приемный каналы оптической системы прибора, а также управляющий компьютер. Корпус моноблока с четырех боковых сторон закрыт крышками, причем на двух противоположных сторонах установлены глухие крышки, а на двух других - съемные. Под съемными крышками установлены контакты блокировки с сигнализацией о несанкционированном вскрытии ИНГО.
Спереди ИНГО съемная крышка разделена на две части: верхнюю 1 и нижнюю 2. За верхней крышкой ИНГО имеется направляющая типа «ласточкин хвост» 6. По направляющей перемещается каретка 5 с площадкой, на которой устанавливается накладной уровень при проверках технического состояния прибора во время регламентных работ. Под верхней крышкой размещены также разъемы для подключения образцовой линии задержки при проведении поверки прибора.
За нижней крышкой расположены БЭ 7, две платы лазерного излучателя 8, плата фотоприемного устройства 9 и платы источника питания 10.
За задней крышкой в верхней части моноблока для исключения конденсации водяного пара внутри прибора помещены патроны осушки (силикагель), размещаются оптические системы: передающая и приемная.
В фокальной плоскости объектива передающей системы установлен лазерный излучатель ИЛПИ-112.
Приемная оптическая система представляет собой телескопическую систему, в плоскости изображения входного зрачка которой помещен приемник П113А.
В верхней крышке моноблока ИНГО под углом 30° к оптическим осям каналов расположены защитные стекла. Для предохранения от запотевания и обледенения на защитное стекло нанесено токопроводящее покрытие. Для исключения влияния температуры окружающей среды на точность измерения моноблок имеет встроенную систему термостабилизации, поддерживающую в нем постоянную температуру примерно на уровне от 35 °С до 40 °С. Имеются два терморезистора для контроля температуры: первый - на верхней крышке, второй - на основании прибора под защитным кожухом 20, контролирующие температурный режим внутри прибора и включающие его обогрев.
1 - верхняя боковая съемная
крышка; 2-нижняя боковая съемная крышка; 3-устройство
фотоприемное; 5-шпилька под заземление; 7-компьютер microPC; 8- плата
излучателя
лазерного; 9-плата устройства фотоприемного; 10-плата источника питания;
20-нижний защитный
кожух; 21- стойка; 22-сетевой кабель; 23-кабель для подключения модема;
24-провод
заземления
Рисунок А.9 - ИНГО «Пеленг СД-01-2000». Вид спереди
Измерительный моноблок монтируется на специальной литой стойке 21 (полой внутри) через сферическую опору винтами с гайками, что позволяет сориентировать оптические оси каналов вертикально.
Чтобы исключить проникновение атмосферных осадков внутрь прибора в местах соединения крышек с корпусом моноблока имеются резиновые прокладки, а соединительные механизмы моноблока со стойкой закрыты защитным кожухом.
Стойка с помощью четырех фундаментных болтов крепится на плите из комплекта монтажного, забетонированной в фундамент на метеоплощадке.
Разъемы линии связи и кабеля питания, болт для подключения шины заземления расположены в основании моноблока. Подключение кабелей 22, 23, проходящих внутри стойки, и шины заземления 24 осуществляется при снятом защитном кожухе.
в) БЭ ИНГО состоит из микропроцессора со встроенным модемом, аналого-цифрового преобразователя с памятью FIFO и контролирующих схем. Компьютер работает от собственного источника питания. Имеется также литиевый элемент питания, обеспечивающий сохранение программы управления при аварийном отключении сетевого питания. Помимо обработки лидарного сигнала процессор осуществляет контроль за работой узлов ИНГО. Контроль мощности лазера осуществляется фотодиодом, расположенным в передающем канале. Имеются цепи обогрева защитных стекол. Обогрев включается при температуре ниже 10 °С, что исключает запотевание стекол, а также обеспечивает таяние снега и испарение влаги с их наружных поверхностей.
В ИНГО компараторами напряжения осуществляется также контроль напряжения питания лазера и фотоприемника (соответственно 10 и 250 В).
Обмен информацией между моноблоком ИНГО и блоком управления и индикации, располагаемым в помещении наблюдателя, осуществляется по модемной дуплексной двухпроводной линии связи. Цепи линии связи защищены от перенапряжений защитными диодами.
г) Блок управления и индикации (выполнен на базе ПЭВМ) принимает сигналы от моноблока ИНГО в цифровом коде ASCII.
Измеренные и обработанные (скользяще на 1-минутном интервале) значения ВНГО отображаются непрерывно на экране дисплея блока управления и индикации в окне обработанных данных.
Предусмотрен также показ предупреждений, тревог и другой специфической прикладной информации (информации о профиле лидарного сигнала и др.).
А.2.1.2.3 Технические характеристики ИНГО «Пеленг СД-01-2000»:
- электропитание: от сети переменного однофазного тока напряжением (220 ± 22) В, частотой (50 ± 1) Гц;
- потребляемая мощность: не более 400 Вт;
- габаритные размеры излучателя и приемников в развернутом виде: высота 1200 мм, ширина 310 м, длина 340 мм,
- масса: 29,0 кг;
- средний срок службы прибора: не более 8 лет;
- среднее время наработки на отказ: не более 4500 ч (без учета наработки источника света);
- среднее время восстановления после отказа: не более 2,5 ч.
А.2.1.3 Анеморумбометр «Пеленг СФ-03» предназначен для измерения параметров ветра как автономно, так и в составе автоматических метеостанций.
А.2.1.3.1 Принцип действия прибора состоит в преобразовании механического воздействия ветрового потока в оптические, а затем в электрические сигналы, цифровой код и после обработки и усреднения - в информацию, удобную для потребителя, с выводом на монитор ПЭВМ и сохранением на жестком диске ПЭВМ в виде текста.
Анеморумбометр позволяет измерять скорость и направление ветра посредством датчиков: чашечного анемометра для измерения скорости ветра и румбометра (флюгера) для измерения направления ветра.
А.2.1.3.2 Устройство и назначение составных частей прибора для измерения параметров ветра «Пеленг СФ-03» подробно представлено в ЭД.
Анеморумбометр (рисунок А.10) состоит из траверсы 1, к которой прикреплены анемометр 2, румбометр 3 и блок обработки информации (БОИ) 4. В комплект также входят блок преобразования (БП) и блок контроля (БК).
БОИ является отдельным, конструктивно законченным блоком прибора, он состоит из блока управления и платы питания. Блок управления осуществляет процесс измерения, плата питания формирует ряд напряжений, необходимых для работы БОИ, кроме этого, содержит модем для передачи информации к БС с ПЭВМ.
Электрические сигналы с датчиков поступают на БОИ, где происходит их преобразование в цифровой код. БОИ измеряет мгновенные значения скорости и направления ветрового потока, осредненные за 3 с.

1 - траверса; 2- анемометр; 3 - румбометр; 4 - БОИ; 5 - БП; 6 - БК
Рисунок А.10 - Анеморумбометр «Пеленг СФ-03»
БОИ формирует информационную посылку в кодах ASCII и передает ее в линию связи, передача осуществляется по двум интерфейсам. Интерфейс RS-232C обеспечивает передачу данных непосредственно на ПЭВМ при длине соединительного кабеля не более 15 м. Второй интерфейс организован на встроенном модеме. Он обеспечивает передачу данных от БОИ к БС (и далее к ПЭВМ) при длине линии связи до 8 км.
БК предназначен для индикации параметров ветрового потока при установке и ремонте прибора. БК позволяет контролировать также наличие в БОИ напряжений +5, +12, минус 12 В.
Анеморумбометр питается от сети 220 В, 50 Гц через БП, преобразующий переменное напряжение 220 В, 50 Гц в переменное напряжение 36 В, 50 Гц, которое подается к БОИ по кабелю.
Поверка прибора «Пеленг-СФ-03» осуществляется по республиканской методике поверки.
А.2.1.3.3 Технические характеристики анеморумбометра «Пеленг СФ-03»:
- диапазон непрерывных измерений мгновенной скорости, осредненной за 3 с: от 1 до 55 м/с;
- предел допускаемой погрешности измерения мгновенной скорости:
|
±0,5 м/с |
при скорости |
от 1 до 10 м/с, |
|
±10 % |
« « |
св. 10 м/с. |
- диапазон непрерывных измерений направления ветра, осредненных за 3 с: от 0° до 360°,
- предел допускаемой погрешности измерения направления ветра: ±5°.
При измерениях скорости ветра обеспечивается:
- скользящий выбор и выдача максимальной скорости ветра за истекшие 10 мин в диапазоне скоростей от 5 до 50 м/с, а также выдача мгновенной скорости при ее отклонении от средней скорости ветра на 5 м/с и более в том же диапазоне,
- скользящее осреднение скорости в диапазоне от 1 до 45 м/с за истекшие 2 и 10 мин.
При измерениях направления ветра обеспечивается:
- скользящее осреднение направления ветра за истекшие 2 и 10 мин,
- выдача отклонений от среднего направления ветра, если общее отклонение направления ветра составляет 60° и более при средней скорости ветра 2 м/с и более.
А.2.1.4 Система аэродромная автоматизированная метеорологическая АМИС-ПЕЛЕНГ СФ-09 предназначена для:
- автоматических измерений основных метеорологических величин, необходимых для обеспечения взлетов и посадок воздушных судов;
- ручного ввода метеовеличин;
- обработки результатов автоматических измерений и ручного ввода;
- автоматического формирования сообщений (сводок погоды) в кодах METAR/SPECI, КН-01 и их автоматической передачи на средства отображения и в линии связи, а также регистрации измеренной и переданной метеоинформации.
АМИИС обеспечивает автоматические измерения метеовеличин для метеообеспечения полетов с одной ВПП.
В комплектации АМИИС в качестве датчиков МОД (MOR) используется прибор «Пеленг СФ-01», в качестве датчиков высоты облаков - лазерный измеритель нижней границы облаков «Пеленг СД-01-2000», в качестве датчиков параметров ветра - анемо-румбометр «Пеленг СФ-03», в качестве датчика температуры и влажности - датчик температуры и влажности HMP45D (производства фирмы «Vaisala Оу» (Финляндия)), в качестве датчика атмосферного давления - барометр рабочий сетевой БРС-1М-1 (производства ООО «Барометр» (Россия)). Все перечисленные датчики сертифицированы в Госстандарте и Комиссии МАК (БРС-1М-1 допущен Росгидрометом к применению и сертифицирован в Комиссии МАК в составе системы АМИИС-2000).
К системе может быть подключен любой другой датчик, имеющий стандартный интерфейс RS-232 или модемную линию связи V.23, при этом протокол передачи данных датчика должен быть оговорен при заказе. Все подключаемые к АМИИС датчики должны иметь действующие сертификаты.
А.2.2 Метеооборудование фирмы «Vaisala Оу» (Финляндия)
К используемому в настоящее время на сети Росгидромета оборудованию фирмы «Vaisala Оу» относятся: система сбора и обработки информации MILOS 500; коллектор датчиков QLI50, датчик температуры и относительной влажности HMP35/45D с радиационной защитой DTR13, авиационный барометр РА21 с расширением T/U (температура и влажность), барометр РТВ220А, система определения параметров ветра типа WA (с чашечным анемометром WAA15A/151, флюгером WAV15A/151, дисплеем WIND30), лазерный облакомер СТ25К, трансмиссометр - измерительный преобразователь ДВ ИДВ MITRAS в комплекте с яркомером LM11, нефелометр (идентификатор погоды) FD12 (FD12P), может комплектоваться яркомером LM11.
Краткие эксплуатационно-технические характеристики перечисленного метеооборудования приведены ниже.
А.2.2.1 Система сбора и обработки информации MILOS 500 имеет сертификат Госстандарта РФ и МАК, в последнем дано ограничение: «MILOS 500 с измерительным преобразователем DPA21 обеспечивает измерение атмосферного давления не выше 1050 гПа.»
Система MILOS 500 обеспечивает автоматическую передачу собранной и обработанной информации о метеовеличинах на вход персонального компьютера типа IBM PC и других совместимых систем на расстояние до 50 км (через встроенный модем DMX50 или DMX55).
Система может применяться как самостоятельно в качестве автоматической метеостанции, так и в составе АМИИС в качестве вторичного измерительного преобразователя датчиков.
В комплект (конфигурацию) MILOS 500 входит блок автоматики (рисунок А.11) со встроенным датчиком атмосферного давления DPA21 (рисунок А.12), подключенными датчиками параметров ветра WAA15A/151 (скорость) (рисунок А.13) и WAV15A/151 (направление) (рисунок А.14), температуры и влажности HMP35D или HMP45D (рисунок А.15).

Рисунок А.11 - Блок автоматики MILOS 500
Рисунок А.12 - Датчик атмосферного давления DPA21
Рисунок А.13 - Датчик скорости ветра WAA15А/151
Рисунок А.14 - Датчик направления ветра WAV15A/151
Рисунок А.15 - Датчик температуры и влажности HMP45D (HMP35D)
Дополнительно к блоку можно подключить (по интерфейсу RS232C или RS485) несколько интеллектуальных датчиков (ИДВ MITRAS, СТ25К, дистанционные датчики параметров ветра с контроллерами WT501/521 со встроенным модемом, нефелометры FD12, FD12P).
Технические характеристики системы MILOS 500:
- размеры защитного кожуха 580×360×759 мм;
- масса в кожухе и с батареей питания: 15 кг;
- электропитание: от однофазной сети переменного тока напряжением (220 ± 22) В, частотой (50 ± 1) Гц или от батареи 12 В;
- потребляемая мощность: от батареи 1 Вт.
- средний срок службы: 10 лет.
Система MILOS 500 работоспособна при температуре окружающего воздуха от минус 40 °С (при укомплектовании преобразователем DPA21) до +55 °С, относительной влажности от 0 % до 100 % во всем рабочем диапазоне температур, но без конденсата внутри кожуха.
При эксплуатации MILOS 500 на открытом воздухе она размещается в защитном кожухе BОX50S (рисунок А.16).

Рисунок А.16 - Защитный кожух BOX50S для MILOS 500
А.2.2.2 Коллектор датчиков QLI50 (рисунок А.17) представляет собой устройство, предназначенное для приема, обработки и преобразования в цифровой код измерительных сигналов, получаемых от датчиков и первичных измерительных преобразователей (сенсоров), которые подключаются к нему. Коллектор датчиков QLI50, как правило, используется в комплекте с датчиками ветра WA (рисунки А.13 и А.14), температуры и влажности HMP45D (рисунок А.15).
Измерительный блок QLI50 состоит из измерительной платы с микроЭВМ, в которой в том числе обеспечивается преобразование результатов измерения в цифровое сообщение в коде ASCII. Цифровое сообщение от QLI50 с установленной периодичностью передается по линии связи в интерфейсе RS232/RS485 в ПЭВМ АМИИС, в составе которой он применяется.
Предусмотрен встроенный контроль исправности QLI50.
В комплектацию коллектора датчиков QLI50 входят:
|
- блок измерительный…....... |
1 шт.; |
|
- БП сетевой…….................... |
1 шт.; |
|
- комплект ЗИП…………….. |
1 шт.; |
|
- комплект монтажный…….. |
1 шт.; |
|
- комплект кабелей…………. |
1 шт.; |
|
- комплект ЭД………………. |
1 шт. |
В комплект ЭД входят:
- «Коллектор датчиков QLI50. Руководство пользователя QLI50-U064ru-1.2». Vaisala, 1997;
- «Коллектор датчиков QLI50. Формуляр QLI50-U064ru-1.2 ФО». Vaisala, 2000;
- «Устройство сетевого питания WHP151. Техническое описание. Т646ru-1.1». Vaisala, 1996.
Основные технические характеристики коллектора датчиков QLI50:
- цифровые входы: 8-битный цифровой порт ввода/вывода для цифровых входов (код Грея или любая комбинация);
- аналоговые измерительные сигналы:
- точность измерения: напряжения ± 0,006 % от полной шкалы (2,5 В),
- диапазон измерения: от минус 2,5 до 12,5 В;
- измерение частоты:
- диапазон: от 0,1 до 10 кГц,
- точность: ±0,1 %;
- электропитание: от однофазной сети переменного тока напряжением (220 ± 22) В, частотой (50 ± 1) Гц;
- потребляемая мощность: не более 0,7 Вт по постоянному току на выходе устройства сетевого питания.
Рисунок А.17 - Коллектор датчиков QLI50
Блоки QLI50, устанавливаемые на открытом воздухе, работоспособны при температуре окружающего воздуха от минус 50 °С до 50 °С, относительной влажности воздуха до 100 % при температуре 25 °С.
А.2.2.3 Термогигрометр HMP45D (рисунок А.15) разработан для измерения относительной влажности и температуры воздуха. При использовании датчика HMP45D на АМСГ он устанавливается в радиационную защиту DTR13 - естественно вентилируемый радиационный экран для предотвращения воздействия солнечной и длинноволновой радиации на результаты измерений.
Измерение влажности производится тонкопленочным полимерным датчиком. Изменение емкости полимерного слоя датчика характеризует изменение значения влажности. Используя значения относительной влажности и температуры воздуха можно вычислить температуру точки росы.
Основные технические характеристики датчика:
- диапазон измерения от 0 % до 100 %;
- погрешность: ±2 % при относительной влажности менее 90 %,
±3 % при относительной влажности от 90 до 100 %;
- рабочая температура: от минус 40 °С до + 80 °С;
Температура воздуха измеряется платиновым датчиком сопротивления (Pt 100)
Основные технические характеристики датчика:
- диапазон измерения температуры воздуха: от минус 50 °С до +55 °С;
- предел допускаемой погрешности измерения температуры воздуха: ±0,3 °С.
А.2.2.4 Авиационный барометр РА21 (рисунок А.18) (в нем используется тот же измерительный преобразователь атмосферного давления DPA21 (рисунок А.12), что и в системе MILOS 500) с расширением T/U (дополнительно к измерению атмосферного давления обеспечено измерение и индикация температуры и влажности воздуха с ограничениями по диапазону измерения температуры воздуха снизу минус 40 °С вместо минус 60 °С и по диапазону измерения давления сверху 1050 вместо 1100 гПа) предназначен для использования в отапливаемых помещениях (при температуре воздуха от 5 °С до 55 °С). Термогигрометр HMP35D (или HMP45D), располагаемый в радиационной защите DTR13, подключается к дисплею через промежуточный преобразователь 4-жильным кабелем длиной до 2 км.

Рисунок А.18 - Авиационный барометр РА21 с расширением T/U
Технические характеристики авиационного барометра РА21:
- диапазон измерения атмосферного давления: от 500 до 1050 гПа;
- предел допускаемой погрешности измерения атмосферного давления:
- в диапазоне давлений от 800 до 1050 гПа и температуры воздуха от 5 до 55 °С: ±0,3 гПа;
- в диапазоне давлений от 500 до 1050 гПа и температуры воздуха от 40 до 55 °С: ±0,5 гПа.
А.2.2.5 Измерительный преобразователь атмосферного давления типа РТВ220А со сдвоенным чувствительным элементом предназначен для использования в измерительных системах (рисунок А.19). Результаты измерения выдаются в интерфейсе RS232 на вход системы (например, MILOS 500, в этом случае измерительный преобразователь DPA21 из MILOS 500 исключается) или ПЭВМ АМИИС.
Блок измерительный барометра состоит из двух идентичных измерительных плат с чувствительными элементами давления BAROCAP. Измерительные платы укреплены на материнской плате, содержащей элементы преобразования результатов измерения в цифровое сообщение в коде ASCII. Инструментальная погрешность измерения атмосферного давления в РТВ220А не превышает ±0,3 гПа.
Предусмотрен встроенный контроль исправности РТВ220А. При расхождении показаний двух датчиков выдается сигнал неисправности по линии связи.
В комплектацию измерительного преобразователя атмосферного давления РТВ220А входят:
|
- блок измерения……..... |
1 шт.; |
|
- БП сетевой…………..... |
1 шт.; |
|
- комплект ЗИП………… |
1 шт.; |
|
- комплект монтажный… |
1 шт.; |
|
- комплект кабелей…….. |
1 шт.; |
|
- комплект ЭД………….. |
1 шт. |
В комплект ЭД входят:
- «Серия цифровых барометров РТВ220. Руководство пользователя. U156ru-1.4». Vaisala, 2000;
- «Цифровые барометры РТВ220А. Формуляр. U156ru-1.3». Vaisala, 2000;
- «Устройство сетевого питания WHP151. Техническое описание. Т646ru-1.1». Vaisala, 1996;
- «Преобразователи атмосферного давления измерительные РТВ100 и барометры цифровые РТВ200. Инструкция по поверке». СПб., 1995.
Рисунок А.19 - Измерительный преобразователь атмосферного давления РТВ220А
Технические характеристики измерительного преобразователя атмосферного давления РТВ220А:
- диапазон измерения атмосферного давления: от 500 до 1100 гПа;
- предел допускаемой погрешности измерения атмосферного давления: ±0,3 °С;
- электропитание: от сети однофазного переменного тока напряжением (220 ± 22) В, частотой (50 ± 1) Гц;
- потребляемый ток на выходе устройства сетевого питания от 10 до 15 В: не более 25 мА;
- габаритные размеры: 140×145×65 мм, масса: 1 кг.
Блоки РТВ220А, устанавливаемые на открытом воздухе, работоспособны при температуре окружающего воздуха от минус 40 до +60 °С, относительной влажности воздуха до 100 % при температуре 25 °С.
А.2.2.6 Система определения параметров ветра типа WA предназначена для измерения и представления на цифровых дисплеях WIND30 (рисунок А.20) информации о средней и максимальной скорости ветра, о среднем направлении ветра и отклонениях от среднего направления. Обработка данных от датчиков ведется в соответствии с рекомендациями ICAO (или WMO, если требуется).
Комплект датчиков (используются те же датчики параметров ветра - анемометр WAA15A/151 (рисунок А.13) и флюгер WAV15A/151 (рисунок А.14), - что и в системе MILOS 500) содержит микропроцессорный контроллер со встроенным модемом (WT501/521), что обеспечивает требуемую дистанционность (не менее 10 км). К одному дисплею может быть подключено до 4 комплектов датчиков, расположенных в разных местах аэродрома, линия связи двухпроводная. Предусмотрена возможность подключения регистратора. Питается комплект через дисплей от сети, срок службы 10 лет. Имеется выход для ввода данных в АМИИС. Предусмотрена сигнализация о неисправностях датчиков.
Технические характеристики системы определения параметров ветра:
- диапазон измерения мгновенной скорости ветра: от 0,5 до 75 м/с;
- предел допускаемой погрешности измерения скорости ветра: ± (0,2 + 0,02V) м/с, где V - мгновенная скорость ветра;
- диапазон измерения мгновенного направления ветра: от 0° до 360°;
- предел допускаемой погрешности измерения скорости ветра: ±3°.
Рисунок А.20 - Многоканальный дисплей параметров ветра
WIND30
А.2.2.7 Облакомер СТ25К (рисунок А.21) имеет сертификаты Госстандарта РФ и МАК с определением: «Терминал для автономного применения датчика в фирме имеется (последняя разработка DD50)».
Передатчик в СТ25К лазерный (импульсный светодиод на основе арсенида индия-галлия), длительность импульса 0,1 мкс, длина волны около 900 нм. Конструктивно передатчик и приемник (фотодиод) объединены в одном блоке с кондиционером (обдув теплым воздухом защитного стекла). Предусмотрен наклон корпуса (зондирующего луча) под любым углом к горизонту, что, в частности, используется при поверке по твердой цели. Имеется встроенный микропроцессор, встроенная диагностика, ЗИП. Комплект документации достаточно полон для обеспечения эксплуатации.
Технические характеристики облакомера СТ25К:
- диапазон измерения: от 15 до 7500 м;
- предел допускаемой погрешности:
±10 м в диапазоне от 15 до 100 м,
±10 % в диапазоне свыше 100 м;
- погрешность измерения расстояния H до твердой цели: ± (0,02H + 7,5) м;
- периодичность выдачи телеграмм в линию связи: от 15 до 120 с. Имеется встроенный модем, обеспечивающий дистанционность до 16 км;
- питание от сети;
- потребляемая мощность: до 250 Вт;
- срок службы: 10 лет.
Рабочие условия по температуре воздуха от минус 50 °С до 50 °С, работоспособен в осадках (выдает вертикальную видимость).
Рисунок А.21 - Датчик высоты облаков СТ25К
А.2.2.8 Система определения дальности видимости на ВПП (RVR) MITRAS включает:
- базисный фотометр ВДВ MITRAS (передатчик LP11 и приемник LR11) - до 6 шт. (рисунок А.22);
- измеритель яркости фона (яркомер) LM11 (в составе ИДВ MITRAS), который укрепляется на передатчике LP11 (рисунок А.23);
- компьютер RVR, который обеспечивает расчет МОД на ВПП (согласно Руководству ИКАО, Doc. 9328, An/908,1981 г.).
Технические характеристики системы определения дальности видимости на ВПП MITRAS:
- погрешность определения RVR в диапазоне от 50 до 4000 м не превышает:
|
±25 м |
при RVR |
до 150 м включ., |
|
±50 м |
« |
св. 150 до 500 м включ., |
|
±10 % |
« |
св. 500 м с округлением в сторону меньшего значения при аналогичных градациях. |
Обновление данных производится каждые 15 с;
- диапазон измерения МОД:
|
от 7 |
до 400 м |
при базе |
10 м, |
|
« 25 |
« 1500 м |
« « |
35 м, |
|
« 50 |
« 3000 м |
« « |
75 м, |
|
« 100 |
« 6000 м |
« « |
150 м, |
|
« 150 |
« 10000 м |
« « |
200 м; |
Рисунок А.22 - Трансмиссометр ИДВ MITRAS
- предел основной допускаемой погрешности: ±1 %, влияние дестабилизирующих факторов дополнительно дает погрешность ±1 %;
- погрешность по МОД:
|
±15 % |
при МОД |
до 250 м включ., |
|
±10 % |
« « |
св. 250 до 400 м включ., |
|
±7 % |
« « |
св. 400 « 1500 м «, |
|
±10 % |
« « |
св. 1500 « 3000 м «, |
|
±20 % |
« « |
св. 3000 м. |
Имеется вариант применения с двумя базами: 10 и 35 м, 10 и 75 м, 10 и 150 м, 10 и 200 м.
Предусмотрены: анализ изменения RVR за истекшие 10 мин, определение тенденции, осреднение за 10 мин для сводок METAR (SPECI).
Имеется система встроенного контроля работоспособности, сигнализация об отказах.
В передатчике применена ксеноновая лампа, срок службы которой 55000 ч, спектр излучаемого света от 500 до 700 нм. В приемнике применен фотодиод, обеспечена невосприимчивость к внешнему дневному свету, в том числе к свету галогенных ламп, удаленных на расстояние более 35 м. Имеется встроенный контроль и коррекция показаний при загрязнении защитных стекол.

Рисунок А.23 - Яркомер LM11, укрепленный на передатчике LP11
А.2.2.9 Нефелометрические измерители видимости (Идентификатор погоды) FD12/FD12P (рисунок А.24) обеспечивают непрерывные измерения коэффициента рассеяния, коррелированного с показателем ослабления атмосферы μ, пересчет измеренных значений в МОД в диапазоне от 10 до 50000 м с пределом допускаемой погрешности измерения ±4 % (среднее квадратичное отклонение) в диапазоне от 10 до 10000 м.
В измерителе видимости FD12/FD12P обеспечено скользящее осреднение МОД за истекшие 60 с, отображение этих осредненных значений МОД с дискретностью 15 с, их регистрация с дискретностью не более 1 мин.
Передача измерительных сигналов от измерительного преобразователя (датчика) МОД до пульта управления (цифрового дисплея DD50, или входа ПЭВМ) обеспечивается по аэродромным линиям связи длиной до 8 км.
Рабочие условия:
- блоки, устанавливаемые в рабочем помещении (цифровой дисплей DD50, регистратор-принтер), работоспособны при температуре воздуха от минус 20 °С до 55 °С, относительной влажности воздуха до 80 % при температуре 25 °С,
- блок, устанавливаемый на открытом воздухе (первичный измерительный преобразователь (датчик) МОД), работоспособен при температуре воздуха от минус 50 °С до 70 °С, относительной влажности воздуха до 100 % при температуре 25 °С, осадках, гололеде.
Идентификаторы погоды FD12P дополнительно к измерению МОД обеспечивают идентификацию атмосферных явлений и кодирование их в символах и цифрах кодовых таблиц 4678 (METAR) и 4680, 4679 (SYNOP).
Проверка (калибровка) нефелометрических измерителей видимости выполняется в двух точках шкалы: в начале шкалы - по рассеивающим молочным стеклам, имеющимся в комплекте прибора, а в конце шкалы (при высокой прозрачности атмосферы) простым перекрытием входного окна фотоприемника.
При эксплуатации рекомендуется сравнивать показания нефелометра в конце шкалы с реальной видимостью, определенной визуально по ориентирам или объективно по поверенному трансмиссометру на дальней базе.
В идентификаторе погоды FD12P обеспечено определение 10 видов осадков, атмосферных явлений, ухудшающих видимость (туман, дымка, мгла, дым, и др.), их отображение (индикация) на экране цифрового дисплея DD50 или другого компьютера, имеющего программное обеспечение терминала, запись в архив с возможностью печати на принтере.
Рисунок А.24 - Идентификатор погоды FD12P
|
Форма годового плана работы АМЦ (АМСГ) по
эксплуатации
План работы по эксплуатации метеооборудования на 20__ г. АМЦ (АМСГ) ____________________________________________ (наименование)
Зам. начальника АМЦ (АМСГ) _____________________________________________
«___» ____________ 20__ г. |
||||||||||||||||||||||||||
|
Форма месячного (квартального) плана работы АМЦ
(АМСГ)
План работы по эксплуатации метеооборудования на ________________ 20__ г. месяц, квартал АМЦ (АМСГ) ___________________________________________________________ (наименование)
Инженер по эксплуатации приборов ______________________________________ подпись инициалы, фамилия «___» ____________ 20__ г. |
|||||||||||||||||||||||
|
Форма журнала учета работы метеооборудования Титульный лист ФЕДЕРАЛЬНАЯ
СЛУЖБА ПО ГИДРОМЕТЕОРОЛОГИИ УГМС ____________________ наименование АМЦ (АМСГ) ______________ наименование ЖУРНАЛ
Начат ____________________________ Окончен __________________________ Хранить до ________________________ Количество рабочих листов журнала __ Оборот титульного листа Правила ведения журнала В графу 3 после типа и заводского номера средств измерений записывают: - для изделий ИВО-1М, РВО-2М, ДВО-2 - приблизительную наработку за смену по числу их включений, полученную суммированием времени между включением электропитания и его выключением после измерений ВНГО; - для изделий РДВ-3, М-63М-1 и др., которые работают непрерывно, - время их включения и выключения. Первый и последующие листы
|
|
Форма акта приемки продукции
производственно-технического _________________________________________________________ наименование организации, осуществляющей приемку оборудования (________________________________________________________________) адрес ____________ номер акта «____» _____________ 20__ г. дата отправки поставщику
АКТ
Место приемки продукции __________________________________________________ Начало приемки __________________ Конец приемки ___________________________ Комиссия, назначенная приказом (распоряжением) по __________________________ ________________ № _____________ от ______________________________________,
при участии представителя ___________________________________________________ (инициалы, фамилия) произвела приемку продукции. Комиссия ознакомлена с инструкциями о порядке приемки продукции по количеству и качеству. Наименование и адрес изготовителя ___________________________________________ ___________________________________________________________________________ Наименование и адрес поставщика ____________________________________________ Номер и дата телеграммы о вызове представителя _______________________________ Номер и дата договора на поставку ____________________________________________ Номер и дата счета-фактуры, транспортной накладной ___________________________ Документ, удостоверяющий качество продукции ________________________________ ___________________________________________________________________________ Дата прибытия продукции на станцию _________________________________________ Время выдачи груза органом транспорта _______________________________________ Время вскрытия вагона, контейнера и т.п. ______________________________________ Время доставки на склад получателя ___________________________________________ Номер и дата коммерческого акта _____________________________________________ Условия хранения продукции на складе получателя до составления акта ____________ ___________________________________________________________________________ Состояние и недостатки тары, упаковки, маркировки тары и пр.; дата вскрытия тары _________________________________________________________ ___________________________________________________________________________ За чьими пломбами (отправителя или органа транспорта) получена продукция ______ ___________________________________________________________________________ ___________________________________________________________________________ Состояние пломб, наличие упаковочных ярлыков, пломб на отдельных местах _______ ___________________________________________________________________________ ___________________________________________________________________________ Предъявлена к осмотру продукция:
Перечень забракованной продукции и описание выявленных в ней недостатков:
Количество некомплектной продукции и перечень недостающих частей ____________ ___________________________________________________________________________ Стандарты, технические условия и пр., по которым проводилась проверка качества. ___________________________________________________________________________ ___________________________________________________________________________ Номер браковщика или ОТК завода ____________________________________________ ___________________________________________________________________________ Другие данные, подтверждающие ненадлежащее качество продукции ____________ ___________________________________________________________________________ ___________________________________________________________________________ Заключение ________________________________________________________________ ___________________________________________________________________________ ___________________________________________________________________________ ___________________________________________________________________________ ___________________________________________________________________________ Замечания и предложения. ________________________________________________
|
|||||||||||||||||||||||||||||||||||||||||||||||||||||||||||||||||||||
|
Форма и правила оформления акта приемки
метеооборудования 1 Форма
Заключение ________________________________________________________________ ___________________________________________________________________________ ___________________________________________________________________________
АКТ
№ ____ |
|||||||||||||||||
|
«___» ___________ 20_ г. |
Город ______________________________ _____________________________________ наименование АМЦ или АМСГ |
||||||||||||||||
|
Комиссия, назначенная приказом (распоряжением) ___________________________ ________________________________________________________________________, в составе председателя ____________________________________________________ инициалы, фамилия членов _________________________________________________________________ инициалы, фамилии ________________________________________________________________________ наименование изделия, тип, шифр заводской номер _________________ выпуска ________________________________, месяц и год дата последней поверки _____________, срок очередной поверки _______________, смонтированного (установленного) и приведенного в рабочее состояние бригадой ___________________________________________________________________________ наименование предприятия, производившего монтаж или _________________________________________________________________________ установку (инициалы, фамилия) Монтаж (установка) начат « ___» _________ 20___ г., окончен «___» ______ 20__ г. 1 Место монтажа (установки) относительно ВПП _____________________________ ________________________________________________________________________ ________________________________________________________________________ 2 Объем выполненных работ и их качество ___________________________________ ________________________________________________________________________ ________________________________________________________________________ 3 Приведен в работоспособное состояние « ___» __________ 20____ г., произведен технологический прогон с _____________________ по _________________ при этом получены следующие характеристики:
4 Выводы _______________________________________________________________ ________________________________________________________________________ ________________________________________________________________________ ________________________________________________________________________ ________________________________________________________________________ |
|||||||||||||||||
|
Председатель комиссии ______________ подпись Члены комиссии: ____________________ подпись ____________________ подпись |
_____________________ инициалы, фамилия _____________________ инициалы, фамилия _____________________ инициалы, фамилия |
||||||||||||||||
|
«____» ______________ 20__ г. 2 Правила 2.1 В пункте 1 указывают место монтажа (установки) изделия (БПРМ, СДП с указанием магнитного курса посадки), высоту установки, удаление от осевой линии, торца ВПП, источники электропитания, соответствие размещения и состояния линий связи действующим нормам годности к эксплуатации аэродромов; в необходимых случаях (для систем) прикладывают схему размещения. 2.2 В пункте 2 указывают объем выполненных при монтаже (установке) изделия работ и их качество (соответствие чертежам, достаточность освещения, вентиляции, состояние противопожарных средств, охранной сигнализации и др.). 2.3 В таблице пункта 3 приводят характеризующие работоспособность изделия параметры, указанные в ФО или паспорте (номинал) и полученные при проверке работоспособности (например, диапазон и точность измерения, контрольные напряжения и др.). 2.4 В пункте 4 указывают: - возможность использования изделия для метеообеспечения взлета и посадки воздушных судов; - соответствие размещения (установки) изделия действующим нормам годности к эксплуатации аэродромов. 2.5 Акт утверждает руководитель (заместитель руководителя) ГУ «ЦГМС-Р», «УГМС», Метеоагентства Росгидромета (филиала), территориального метеоагентства при приемке в эксплуатацию комплексных изделий, начальник ССИ при приемке в эксплуатацию других изделий. 2.6 Заключение по акту дает: на комплексные изделия: типа КРАМС, АМИИС - ОМРЭИ ГУ «ГГО», типа МРЛ - НИЦДЗА ГУ «ГГО», а утверждает заключение директор ГУ «ГТО»; - на остальные изделия (автономные типа ФИ, ДВО-2, М-63М и т.д.) - начальник АМЦ, АМСГ, а утверждает заключение руководитель ГУ «УГМС», «ЦГМС-Р», Метеоагентства Росгидромета (филиала), территориального метеоагентства. Примечание - В состав комиссии по приемке метеооборудования в эксплуатацию вместе со зданиями и сооружениями, кроме работников АМЦ, АМСГ, должны включаться представители авиапредприятия и специалист по противопожарной безопасности. В этом случае акт утверждает еще руководитель авиапредприятия. |
|||||||||||||||||
|
Форма удостоверения годности к эксплуатации метеооборудования МИНИСТЕРСТВО
ПРИРОДНЫХ РЕСУРСОВ И ЭКОЛОГИИ ФЕДЕРАЛЬНАЯ СЛУЖБА ПО ГИДРОМЕТЕОРОЛОГИИ И МОНИТОРИНГУ ОКРУЖАЮЩЕЙ СРЕДЫ УДОСТОВЕРЕНИЕ № ___________ наименование, код продукции, обозначение изделия 1 Заводской номер _______ выпуска ___________________________________________ месяц и год 2 Изготовитель _____________________________________________________________ наименование предприятия-изготовителя, адрес __________________________________________________________________________ 3 Основание для выдачи удостоверения (акты, материалы поверки и т.п.) ___________________________________________________________________________ ___________________________________________________________________________ ___________________________________________________________________________ 4 Настоящим удостоверяется соответствие _____________________________________ наименование системы ___________________________________________________________________________ ___________________________________________________________________________ наименование нормативных документов 5 Система _________________________________________________________________, наименование, заводской номер установленная на аэродроме __________________________________________________ наименование допускается к использованию при метеорологическом обеспечении полетов. 6 Регистрационный номер ___________________________________________________ 7 Срок действия удостоверения ________________________________________________ (при условии периодической поверки, замены, ремонта составных частей, выработавших ресурс) Примечание - Обо всех изменениях в составе метеооборудования системы, доработках или модернизации программного обеспечения эксплуатирующее подразделение обязано заблаговременно, до ввода изменений в эксплуатацию, информировать ГУ «ГГО». Директор ГУ «ГГО» _________________________________________________________ подпись, инициалы, фамилия «___» _____________ 20__ г. Срок действия удостоверения № _________ продлен до ___________________________ Основание: _________________________________________________________________ (наименование, номер, дата документа, поступившего из ГУ «ГГО») Начальник АМЦ (АМСГ) _____________________________________________________ «___» _________ 20____ г. Срок действия удостоверения № _________ продлен до ___________________________ Основание: _________________________________________________________________ (наименование, номер, дата документа, поступившего из ГУ «ГТО») Начальник АМЦ (АМСГ) ____________________________________________________ «___» ___________ 20___ г. Срок действия удостоверения № _________ продлен до ___________________________ Основание: ________________________________________________________________ (наименование, номер, дата документа, поступившего из ГУ «ГГО») Начальник АМЦ (АМСГ) ____________________________________________________ «___» ___________ 20___ г. |
|
Форма заявления на получение удостоверения годности
ЗАЯВЛЕНИЕ Прошу рассмотреть документы на __________________________________________ ________________________________________________________________________ наименование изделия, тип, шифр, заводской номер установленный(ая) на аэродроме АМЦ (АМСГ) ______________________________ наименование __________________________________________________________________ УГМС, наименование произвести регистрацию и выдать удостоверение годности к эксплуатации. Приложение _____________________________________________________________ ________________________________________________________________________ акт приемки изделия в эксплуатацию Начальник АМЦ (АМСГ) _________ ___________________________ подпись инициалы, фамилия «____» __________ 20__ г. |
|
Форма и правила оформления акта оценки технического состояния метеооборудования 1 Форма УТВЕРЖДАЮ ___________ __________________________ «___» ______________ 20__ г. ЗАКЛЮЧЕНИЕ _________________________________________________________________________ _________________________________________________________________________ _________________________________________________________________________ _________________________________________________________________________
АКТ
№ ____________ |
|||||||||||||||||||
|
«__»___________ 20__ г. |
Город _______________________ _____________________________ наименование АМЦ или АМСГ |
||||||||||||||||||
|
Комиссия, назначенная приказом (распоряжением) ___________________________ ________________________________________________________________________, в составе председателя ____________________________________________________ инициалы, фамилия членов _________________________________________________________________ инициалы, фамилии произвела оценку технического состояния ___________________________________ наименование изделия, тип, шифр ________________________________________________________________________, заводской номер ____________________________________ выпуска ______________ месяц и год средний ресурс (срок службы) по ЭД ________________________________________ поверен _________________________________________ месяц и год последней поверки 1 Оценка технического состояния ___________________________________________ указывают, с какой _________________________________________________________________________ целью после среднего (планового) ремонта или при технической _________________________________________________________________________ экспертизе) 2 Изделие наработало _____________________________________________________ указывают наработку в часах _________________________________________________________________________ за все годы эксплуатации после предшествующего ремонта или _________________________________________________________________________ технической экспертизы) 3 Техническое состояние изделия ___________________________________________ _________________________________________________________________________ _________________________________________________________________________ _________________________________________________________________________ _________________________________________________________________________ _________________________________________________________________________ _________________________________________________________________________ _________________________________________________________________________
5 Выводы ________________________________________________________________ _________________________________________________________________________ _________________________________________________________________________ |
|||||||||||||||||||
|
Председатель комиссии ___________________ подпись Члены комиссии: ________________________ подпись _______________________ подпись |
________________________ инициалы, фамилия ________________________ инициалы, фамилия ________________________ инициалы, фамилия |
|
|||||||||||||||||
|
2 Правила 2.1 При записи заводского номера и даты выпуска производят сверку заводского номера, нанесенного на изделии, с номером, указанным в ФО и паспорте, устанавливают месяц и год его выпуска, а также месяц и год последнего продления ресурса, среднего (планового) или капитального ремонта. 2.2 В пункте 1 указывают цель оценки технического состояния изделия: при проведении технической экспертизы с целью установления возможности продления ресурса или после среднего (планового) ремонта с целью определения возможности восстановления ресурса (срока службы). В пункте 1 также указывают результаты сверки заводского номера изделия с номером, указанным в ФО (паспорте), устанавливается дата выпуска изделия, дата поверки, оценивается качество ведения ЭД и качество технического обслуживания изделия. 2.3 В пункте 2 наработку изделия указывают за каждый год эксплуатации в часах с начала ввода в эксплуатацию или после последнего среднего или капитального ремонта. 2.4 В пункте 3 указывают: - при проведении технической экспертизы с целью продления ресурса (срока службы) - техническое состояние изделия (состояние органов управления, индикаторов, указателей, штепсельных разъемов, кабелей, лакокрасочных покрытий, механизмов и другие характеристики, влияющие на исправность изделия); - при оценке технического состояния после среднего (планового) ремонта - перечень отремонтированных или замененных комплектующих элементов, плат, узлов, механизмов, блоков и т.д., а также техническое состояние изделия в том же объеме, как и при проведении технической экспертизы. 2.5 В таблицу пункта 4 заносят результаты проверки работоспособности или результаты поверки. Например, при проверке (поверке) ИВО в таблицу записывают значения калибровочных меток из ФО (номинал) и при отсчете по ЭЛТ (получено), отсчеты нуля шкалы при замыкании луча крышками или щитками, результаты проверки по линии задержки. 2.6 В пункте 5 записывают вывод о техническом состоянии изделия в целом (работоспособен, неработоспособен), результаты анализа показателей безотказности по годам (рост или уменьшение количества отказов и их характер), возможность продления ресурса (срока службы) и их величина (на 2, 3, 5 и т.д. лет или на количество часов), или восстановление ресурса после ремонта и на какое количество часов (лет). 2.7 Акт утверждает руководитель (заместитель руководителя) ГУ «УГМС», «ЦГМС-Р», Метеоагентства Росгидромета (филиала), территориального метеоагентства при приемке в эксплуатацию комплексных изделий, начальник ССИ при приемке в эксплуатацию других изделий. 2.8 Заключение по акту дает: на комплексные изделия: типа КРАМС, АМИИС - ОМРЭИ ГУ «ГГО», типа МРЛ - НИЦДЗА ГУ «ГГО», а утверждает заключение директор ГУ «ГГО»; - на остальные изделия (автономные типа ФИ, ДВО-2, М-63М и т.д.) - начальник АМЦ, АМСГ, а утверждает заключение руководитель ГУ «УГМС», «ЦГМС-Р», Метеоагентства Росгидромета (филиала), территориального метеоагентства. |
|
||||||||||||||||||
|
Форма журнала учета средств измерений на АМЦ (АМСГ) Титульный лист ФЕДЕРАЛЬНАЯ
СЛУЖБА ПО ГИДРОМЕТЕОРОЛОГИИ _________________________________ наименование организации АМЦ (АМСГ) ____________________ наименование ЖУРНАЛ
Начат __________________________________ Окончен ________________________________ Хранить до ______________________________ Количество рабочих листов журнала ________ Оборот титульного листа Правила ведения журнала Журнал должен обновляться каждые 5 лет. В журнал заносят все средства измерений общетехнического и гидрометеорологического назначения, находящиеся в эксплуатации, на хранении и вновь поступившие, в том числе термометры, щитовые и встроенные СИ (кроме индикаторов). Первый и последующие листы
|
|||||||||||||||||||||||||||||||||||||||||||||||||||||||||||||||||||||||||||||||||||||
|
Форма плана-графика поверки средств измерений
ПЛАН-ГРАФИК
АМЦ (АМСГ) _____________________ на ____________ 20__ г. наименование
Начальник АМЦ (АМСГ) _______ _______________ подпись инициалы, фамилия Ответственный за подпись инициалы, фамилия «___» ____________ 20__ г. |
|
Форма бланка сведений об эксплуатации метеооборудования СВЕДЕНИЯ
АМЦ (АМСГ) ________________________________ (наименование) за 20____ г.
Предложения по совершенствованию метеооборудования, в том числе внедренного в АМЦ (АМСГ) и улучшению его эксплуатации _________________________________ ___________________________________________________________________________ Начальник АМЦ (АМСГ) ______ ________________ подпись инициалы, фамилия «____» ___________ 20___ г. Сведения составил _______ ______________ подпись инициалы, фамилия «____» ___________ 20___ г. Примечания 1. В сведения об эксплуатации систем (КРАМС-2, КРАМС-2-АРМ, АМИС-РФ и др.) включают данные о наработке как всей системы (АМИИС) в целом, так и комплектующих изделий (БУП, БДТВ, ДД, ДПВ, БИ АИУ, ФИ-2, РВО-2М, ДВО, ДВО-2 и др.). 2. В графу 1 записывают все технические средства, установленные на аэродроме: в числителе - наименование, в знаменателе - заводской номер. 3. В графу 2 записывают: в числителе - дату выпуска изделия заводом-изготовителем, в знаменателе - дату ввода в эксплуатацию. Если выработан ресурс изделия, то ниже указывают дату, до которой продлен ресурс. 4. В графу 3 записывают: в числителе - общую наработку изделия (в часах) с начала ввода в эксплуатацию, в знаменателе - наработку изделия (в часах) за отчетный год (период). 5. В графе 4 указывают количество отказов за отчетный год (период). 6. В графе 5 дают краткую характеристику отказов, которые были в течение года, указывают отказавший элемент или блок, а также время, затраченное на обнаружение отказа и его устранение. |
|
Формы годовых сведений об эксплуатации MPЛ
Форма 1 - Наработка МРЛ
Форма 2 - Данные об отказах
Форма 3 - Данные об отказах отдельных блоков и комплектующих
|
|
Форма акта инспекции АМЦ (АМСГ) по эксплуатации АКТ ИНСПЕКЦИИ АМЦ (АМСГ) __________________________ по эксплуатации метеооборудования (наименование) |
|||||||||||||||||||||||||||||||||||||||||||||||||||||||||||||||||||||||||||||||||||
|
«___» ____________ 20___ г. |
Город _________________ |
||||||||||||||||||||||||||||||||||||||||||||||||||||||||||||||||||||||||||||||||||
|
Инспекцией АМЦ (АМСГ) _____________________________________, проведенной наименование представителями _________________________________________________ по плану наименование организации (распоряжению) ________________________________, установлено: 1 Состав и размещение метеооборудования _________________________________________________________________________ (указывают наличие/отсутствие схемы размещения метеооборудования относительно ВПП, _________________________________________________________________________ утвержденной командиром авиапредприятия и подписанной начальником АМЦ (АМСГ) _________________________________________________________________________ и зам. начальника аэропорта по движению самолетов.) 1.1. Средства измерения видимости
Примечание - При наличии ориентиров видимости (щитов) проверяют их соответствие действующим требованиям. 1.2 Средства измерения ВНГО
1.3 Средства измерения параметров ветра
1.4 Средства измерения атмосферного давления
1.5 Измерительные системы метеовеличин
_________________________________________________________________________ (приводят выводы о соответствии (несоответствии) состава, размещения и установки _________________________________________________________________________ метеооборудования действующим нормам годности к эксплуатации аэродромов.) 2 Качество метеонаблюдений (измерений метеовеличин) _________________________________________________________________________ (дают характеристику проводимых метеонаблюдений (измерений метеовеличин) и оценку _________________________________________________________________________ их соответствия требованиям действующих наставлений 3 Средства доведения метеоинформации
_________________________________________________________________________ (приводят выводы о соответствии (несоответствии) объема и качества передаваемой диспетчерам _________________________________________________________________________ службы движения метеоинформации требованиям действующих норм годности к эксплуатации _________________________________________________________________________ аэродромов) 4 Метрологическое обеспечение измерений _________________________________________________________________________ (указывают организацию и проведения поверки СИ общетехнического и метеорологического _________________________________________________________________________ назначения, учет и хранение СИ, организация метрологического обеспечения измерений) 5 Техническое состояние метеооборудования _________________________________________________________________________ (по результатам проверки технического состояния метеооборудования дают общую оценку _________________________________________________________________________ технического состояния метеооборудования; указывают количество работоспособных _________________________________________________________________________ и неработоспособных изделий и основные причины неработоспособности; приводят выводы _________________________________________________________________________ об организации и состоянии технического обслуживания метеооборудования) 6 Ведение эксплуатационной и технической документации ________________________________________________________________________ (дают оценку качества ведения учета ввода в эксплуатацию, проведения технического ________________________________________________________________________ обслуживания (регламентных и ремонтных работ), наработки и отказов эксплуатируемых _________________________________________________________________________ изделий (заполнение ФО, паспортов, ведение журналов)) 7 Техника безопасности и производственная санитария _________________________________________________________________________ (дают оценку состояния техники безопасности и организации труда инженерно-технического _________________________________________________________________________ состава АМЦ (АМСГ)) 8 Укомплектованность инженерно-техническим персоналом _________________________________________________________________________ (указывают инженерно-технический состав, который обеспечивает эксплуатацию _________________________________________________________________________ метеооборудования, производит измерения метеовеличин и проводит метеонаблюдения, _________________________________________________________________________ организация подготовки, ввода и допуска специалистов к самостоятельной работе: _________________________________________________________________________ результаты проверки знаний и навыков по техническому обслуживанию метеооборудования, _________________________________________________________________________ проведению измерений метеовеличин и метеонаблюдений) 9 Устранение недостатков, отмеченных при предшествующих инспекциях и проверках _________________________________________________________________________ (дают закл. Учение об устранении (не устранении) ранее отмеченных недостатков) 10 Предложения и рекомендации по результатам инспекции _________________________________________________________________________ _________________________________________________________________________ Примечание - Акт составляют в 3 экземплярах (1-й - для АМЦ или АМСГ, 2-й - для ГУ «УГМС» («ЦГМС») и 3-й - для ГУ «ГГО»). |
|||||||||||||||||||||||||||||||||||||||||||||||||||||||||||||||||||||||||||||||||||
|
Инспектора: ______________ (подпись) |
______________________ (инициалы, фамилия) |
||||||||||||||||||||||||||||||||||||||||||||||||||||||||||||||||||||||||||||||||||
|
Начальник АМЦ (АМСГ) |
__________________________ (подпись) (инициалы, фамилия) |
||||||||||||||||||||||||||||||||||||||||||||||||||||||||||||||||||||||||||||||||||
Требования к измерениям и регистрации МОД, методика снятия значений МОД с диаграммных лент
С.1 Требования к измерениям и регистрации МОД
Анализ требований к точности определения (расчета) и дискретности представления ДВ ВПП позволяет сформулировать требования к точности измерения МОД и яркости фона, которые представлены в [5]. Согласно этим требованиям сертифицированные СИ видимости, ВНГО должны иметь в своем составе или обеспечивать возможность подключения средства регистрации.
Регистрация производится с целью документирования метеорологических условий взлета и посадки воздушных судов. Результаты регистрации должны (в случае необходимости) обеспечить определение (считывание) значений метеовеличин для определенного момента времени.
Регистрация может производиться либо на диаграммных лентах самописцев, подключенных к измерительным приборам, либо на жестком диске ПЭВМ АМИИС. Последний вариант регистрации в цифровом виде является наиболее объективным, обеспечивается точная привязка результатов измерений ко времени, как правило, с дискретностью 15 с, не требуется бумажная лента (безбумажная технология регистрации). Кроме того, обеспечивается регистрация выдаваемой в органы ОрВД аэродрома информации также в привязке к единому времени.
Чтобы восстановить действительные значения метеовеличин по результатам их регистрации на диаграммных лентах, необходимо выполнять следующие условия:
- поддерживать работоспособное состояние СИ и средств регистрации (ФИ и др., и самописцев Н-392 или др.);
- скорость протяжки диаграммной ленты должна быть не менее 60 мм/ч, так как только при скорости протяжки ленты 60 мм/ч и более возможно нанесение временных линий через 1 мм или 1-минутный интервал времени;
- контрольные метки времени на ленте необходимо делать не реже чем через 3 ч, один раз в сутки следует указывать дату.
Расчеты для регистрации МОД показывают, что вышеперечисленные условия необходимо выполнять для обеспечения определения ДВ ВПП в определенный момент времени.
Даже при работоспособном состоянии СИ МОД (ФИ и др.) разница в показаниях стрелочного указателя (ПДУ, ПФ) и самописца может достигать ±2 % (или ±2 деления шкалы), что при значениях МОД около 1000 м составит ±60 м.
Существующие методы определения МОД по коэффициенту пропускания атмосферы на пути светового луча с базой 100 м и менее, когда он подвержен значительным изменениям во времени (флуктуациям), достигающим ±5 % (или ±5 делений шкалы) за 1 мин, требуют точного определения момента времени на диаграммной ленте. Точное определение момента времени достигается нанесением контрольных меток времени не реже, чем через 3 ч, так как при нанесении контрольных меток времени через 6 ч погрешность в определении нужного момента времени достигает ±2 мин.
С.2 Методика снятия значений МОД с диаграммных лент
Обработку определенных участков диаграммных лент аналоговых регистраторов видимости производят в следующей последовательности:
а) визуальным осмотром ленты оценивают качество и линии записи МОД на определенном временном участке;
б) проверяют соответствие места установки прибора МОД, его заводского номера номеру, записанному на диаграммной ленте. Кроме того, на диаграммной ленте должны быть указаны:
- дата и время (ч, мин) начала регистрации;
- дата и время начала каждых суток, когда велась регистрация МОД;
- промежуточные временные метки. Следует учитывать, что в ряде случаев отметки времени могут быть сделаны техником-метеорологом с отклонением от начала часа на несколько минут, что должно быть отмечено на ленте, т.е. указаны часы и минуты, соответствующие метке;
в) производят разметку времени:
- если имеющиеся на ленте контрольные метки времени совпадают с временной сеткой диаграммной ленты или одинаково смещены относительно нее (протяжка ленты равномерная), то разметку времени не производят, а через 1 ч обозначают время;
- если контрольные метки не совпадают с временной сеткой диаграммной ленты и смещены относительно нее не одинаково (неравномерная протяжка ленты), то с точностью до 1 мм измеряют расстояние между контрольными метками времени. Это расстояние делят на фактическое число минут между контрольными метками и определяют действительную длину 1-минутного интервала. Полученное значение умножают на число минут от предыдущей или последующей (какая ближе) контрольной метки времени до интересующего момента времени. Длину полученного отрезка откладывают перпендикулярно к линиям временной сетки от принятой (ближней) контрольной метки времени. Через найденную точку проводят линию, параллельную временной сетке. Это и будет искомый момент времени. Кроме этого делают два дополнительных штриха на расстоянии 1 мм до и после интересующего момента времени при частоте контрольных меток 3 ч. Штрихи делают простым тонко отточенным карандашом с указанием времени (минут). Если метки времени на диаграммной ленте делают через 1 ч, то штрихи на расстояниях 1 мм от метки, соответствующей интересующему моменту времени, не наносят;
г) с помощью индивидуальной палетки, придаваемой к каждому самопишущему прибору, снимают значения прозрачности (коэффициента пропускания атмосферы на пути измерительного луча), для чего:
- накладывают палетку по временной линии диаграммной ленты, соответствующей интересующему моменту времени так, чтобы нулевая риска ее совместилась с нулевой линией, если ее нет, то с нулевой линией диаграммной ленты;
- на пересечении временной линии, соответствующей интересующему моменту времени, и линии записи коэффициента пропускания (прозрачности) по палетке производят отсчет;
- значение снятого при отсчете коэффициента пропускания атмосферы на пути измерительного луча переводят (с учетом базы) по приведенной ниже таблице в МОД. Если контрольные метки делались через 3 ч, то снимают значения МОД, соответствующие штрихам 1 мм до и после интересующего момента времени.
Д) если в состав метеоинформации, передаваемой диспетчерам службы ОрВД и на УКВ-связь, включаются значения ДВ ОВИ или ОМИ, необходимо перевести МОД в ДВ ОВИ или ОМИ по соответствующим таблицам.
Таблица перевода значений коэффициента пропускания (прозрачности) атмосферы на пути измерительного луча длиной 200 м (база дальняя 100 м в ФИ-2, ФИ-3) в МОД, км
|
Прозрачность, % (десятки) |
Прозрачность, % (единицы) |
|||||||||
|
0 |
1 |
2 |
3 |
4 |
5 |
6 |
7 |
8 |
9 |
|
|
0 |
|
130 |
150 |
170 |
190 |
200 |
210 |
220 |
240 |
250 |
|
1 |
260 |
270 |
280 |
290 |
300 |
320 |
330 |
340 |
350 |
360 |
|
2 |
370 |
380 |
400 |
410 |
420 |
430 |
440 |
460 |
470 |
480 |
|
3 |
500 |
510 |
530 |
540 |
560 |
570 |
590 |
600 |
620 |
640 |
|
4 |
650 |
670 |
690 |
710 |
730 |
750 |
770 |
790 |
820 |
840 |
|
5 |
860 |
890 |
920 |
940 |
970 |
1000 |
1030 |
1070 |
1100 |
1140 |
|
6 |
1170 |
1210 |
1250 |
1300 |
1340 |
1390 |
1440 |
1500 |
1550 |
1620 |
|
7 |
1680 |
1750 |
1820 |
1900 |
1990 |
2080 |
2180 |
2290 |
2410 |
2540 |
|
8 |
2690 |
2840 |
3020 |
3220 |
3440 |
3690 |
3970 |
4300 |
4690 |
5140 |
|
9 |
5690 |
6350 |
7190 |
8260 |
9680 |
11680 |
14680 |
19670 |
29660 |
59610 |
|
Примечание - При длине пути измерительного луча 100 м (ББ в ФИ-2, БД в приборе «Пеленг СФ-01») значения МОД, соответствующие одному и тому же коэффициенту пропускания (прозрачности), должны быть уменьшены в 2 раза, при длине пути измерительного луча 20 м (например, ББ в приборе «Пеленг-СФ-01») - в 10 раз. |
||||||||||
|
Медицинские средства и медикаменты |
Назначение (показание к применению) |
Количество |
|
1 Индивидуальные перевязочные антисептические средства |
Наложение повязок на раны, ссадины, царапины и т.п. |
5 шт. |
|
2 Бинт |
« |
5 шт. |
|
3 Вата |
« |
2 пачки |
|
4 Жгут |
Остановка кровотечения |
1 шт. |
|
5 Раствор йода спиртовой |
Смазывание окружности раны, свежих ссадин, царапин на коже и т.п. |
1 флакон или 10 ампул |
|
6 Нашатырный спирт |
При обмороке, потере сознания (накапать на вату 2 - 3 капли и поднести к носу пострадавшего) |
1 флакон или 10 ампул |
|
7 Валериановые капли |
При расстройстве нервной системы и неприятных ощущениях в области сердца (принять внутрь 15 - 20 капель) |
1 флакон |
|
8 Валидол |
При сильных болях в области сердца (принять 1 таблетку под язык) |
1 упаковка |
|
Примечание - Допускается замена указанных медикаментов другими рекомендованными медикаментами |
||
|
____________________ (наименование пункта) |
__________ (год) |
_______________ (тип МРЛ) |
||||||||||||||||||||||||||||||||||||||||||||||||||||||||||||||||||||||||||||||||||||||||||||||||||||||||||||||||||||||||||||||||||||||||||||||||||||||||||||||||||||||||||||||||||||||||||||||||||||||||||||||||||||||||||||||||||||||||||||||||||||||||||||||||||||||||||||||||||||||||
|
1 Радиолокационные и наземные данные визуальных наблюдений в радиусе от 180 до 200 км
Суммарное за год количество необнаруженных гроз и града по МРЛ ________ % 2 Статистические характеристики радиолокационных параметров гроз в радиусе от 180 до 200 км 2.1 Высота радиоэха гроз Н
2.2 Величина ΔH = H - H-22 °C
2.3 Радиолокационная отражаемость lgZ3 на уровне Н3 = Н0 °C + 2,2 км
2.4 Радиолокационный критерий грозоопасности у = Н ∙ lgZ3
Общая оценка работы МРЛ за год ___________________________________________________________________________________ Особые замечания ________________________________________________________________________________________________ _________________________________________________________________________________________________________________ |
||||||||||||||||||||||||||||||||||||||||||||||||||||||||||||||||||||||||||||||||||||||||||||||||||||||||||||||||||||||||||||||||||||||||||||||||||||||||||||||||||||||||||||||||||||||||||||||||||||||||||||||||||||||||||||||||||||||||||||||||||||||||||||||||||||||||||||||||||||||||||
|
Составил ____________________ (подпись) «___» ______________ 20__ г. |
_____________________ (инициалы, фамилия) |
|||||||||||||||||||||||||||||||||||||||||||||||||||||||||||||||||||||||||||||||||||||||||||||||||||||||||||||||||||||||||||||||||||||||||||||||||||||||||||||||||||||||||||||||||||||||||||||||||||||||||||||||||||||||||||||||||||||||||||||||||||||||||||||||||||||||||||||||||||||||||
Периодичность проведения профилактических работ на МРЛ
|
Периодичность |
Вид работы и проверки |
|
1 Ежедневно |
Уборка помещения, в котором установлена аппаратура. Удаление пыли с поверхности шкафов. Осмотр и проверка элементов волноводного тракта при воздействии на него усилий, вызванных включением привода (отсутствие скрипа, перегрева, перекоса). Проверка исправности светового ограждения путем пробного включения (до наступления темноты). Проверка работоспособности, при необходимости подстройка и регулировка. Проверка системы наддува (состояние дегидратов, герметизация, ритмичность работы, показания манометра). |
|
2 Еженедельно |
Протирка деталей и плат блоков. Промывка спиртом изоляторов и контактов. Осмотр ножевых разъемов блоков, плат деталей монтажа. Устранение поврежденных ножевых разъемов, замена неисправных деталей. Осмотр и чистка поверхности зеркала и такелажа антенны. Проверка нулевых положений стрелок измерительных приборов (в обесточенном состоянии) и установка их (при необходимости) в нулевое положение. Осмотр волноводных трактов на отсутствие механических повреждений. Проверка на отсутствие пробоев и тресков в волноводе при включенных передатчиках. Проверка работоспособности МРЛ, при необходимости подстройка. |
|
3 Ежемесячно |
Проверка состояния крепежных деталей антенны. Очистка и регулировка контактов всех устройств и клавишных переключателей. Промывка спиртом контактов и контактных групп механизмов подстройки. Осмотр и чистка коллекторов электродвигателей. Осмотр и при необходимости подтяжка контактов всех клемм, зажимов и разъемов аппаратуры. Проверка состояния всех предохранителей и их соответствия номинальным значениям. Проверка сопротивления и прочности изоляции силовых цепей. Проверка горизонтирования антенны. Осмотр дегидратов и смена патронов в них. Проверка волноводного тракта на отсутствие коррозии, повреждении краски, трещин, проверка прочности крепления в установочных рамах и т.д. Чистка и промывка фильтров системы вентиляции. Включение системы фильтров на часовой прогон и проверка работоспособности. Проверка чувствительности приемных устройств, коррекции на расстояние, снятие амплитудных характеристик. Проверка калибровки изоэха Проверка измерителя коэффициента шума. Проверка устройства вычитания видео и порядка следования запускающихся импульсов. Проверка однозначности показаний стрелочных измерительных приборов, расположенных на панели управления и контроля МРЛ. |
|
4 Один раз за сезон (весной и осенью) |
Проверка заземления внешнего контура. Проверка однозначности показаний стрелочных контрольно-измерительных приборов, расположенных на панели МРЛ. Замена смазки подшипников электродвигателей и проверка сопротивления изоляции электродвигателей. Смазка блока наддува (набивка подшипников смазкой, смазка поршня и цилиндра). Проверка встроенных измерительных приборов на соответствие классу точности (сравнение их показаний с эталонными приборами). Проверка наработки разрядников (если она превышает номинальное значение, то сменить разрядники). Чистка кондиционера. Проверка работоспособности МРЛ и подстройка. |
|
5 Ежегодно |
Выполнение работ, перечисленных выше (ежедневные, еженедельные, ежемесячные и сезонные). Проверка наличия фреона в системе кондиционирования, при необходимости доливка фреона в систему. Проверка контрольной и измерительной аппаратуры (в метрологических организациях). Профилактические работы на агрегатах питания. Проверка работоспособности МРЛ и отдельных блоков и узлов. Регулировка, настройка, калибровка МРЛ в целом. |
|
Примечание - Ремонт, настройку, регулировку, профилактику производить на основании и в соответствии с ЭД |
|
Перечень нормативных документов, регламентирующих методики поверки средств измерений в Росгидромете
Таблица Х.1
|
Наименование поверяемых средств измерений |
Обозначение нормативного документа, сведения об утверждении и согласовании |
Наименование нормативного документа |
|
Средства измерений атмосферного давления |
||
|
Барометры ртутные типов СР-А, СР-Б |
МИ 2703-2001 Утверждена ФГУП ВНИИМС 21.12.2001 |
Рекомендация. ГСИ. Барометры ртутные типов СР-А, СР-Б. Методика поверки |
|
Барометры мембранные метеорологические |
МИ 2705-2001 Утверждена ФГУП ВНИИМС 21.12.2001 |
Рекомендация. ГСИ. Барометры мембранные метеорологические. Методика поверки |
|
Барографы метеорологические анероидные |
МИ 2701-2001 Утверждена 21.12.2001 ФГУП ВНИИМС |
Рекомендации. ГСИ. Барографы метеорологические анероидные. Методика поверки. |
|
Барометры вибрационно-частотные |
МИ 2699-2001 Утверждена ФГУП ВНИИМС 21.12.2001 |
Рекомендация. ГСИ. Барометры вибрационно-частотные. Методика поверки |
|
Барометры эталонные переносные типа БОП-1 |
МИ 2700-2001 Утверждена ФГУП ВНИИМС 21.12.2001 |
Рекомендация. ГСИ. Барометры эталонные переносные типа БОП-1. Методика поверки |
|
Средства измерений температуры воздуха и почвы |
||
|
Термометры метеорологические стеклянные |
РД 25.825-87 Утверждены НИИ стандартприбор Минприбора 01.01.88 |
Методические указания. Термометры метеорологические стеклянные. Методика поверки |
|
Термометры ртутные и спиртовые метеорологические |
МИ 2782-2003 Утверждена ФГУП ВНИИМС 03.03.2003 |
Рекомендация. ГСИ. Термометры ртутные и спиртовые метеорологические. Методика поверки |
|
Средства измерений метеорологической дальности видимости |
||
|
Фотометр импульсный ФИ-2 |
РД 04.28-98 Утверждены ГНМЦ «ВНИИОФИ» 01.10.1996 |
Рекомендации. Методика поверки фотометров импульсных для измерений метеорологической дальности видимости |
|
Фотометр импульсный ФИ-3 |
МП-254-0006-2007 Утверждена ГЦИ СИ ВНИИМ им. Д.И. Менделеева 25.07.2007 |
Измеритель дальности видимости ФИ-3 (фотометр импульсный). Методика поверки |
|
Средства измерений высоты нижней границы облаков |
||
|
Датчик облаков лазерный ДОЛ-2 |
МП-254-0001-2006 Утверждена ГЦИ СИ ВНИИМ им. Д.И. Менделеева 28.07.2006 |
Датчик облаков лазерный ДОЛ-2.Методика поверки |
|
Измерители высоты нижней границы облаков ИВО, РВО, ДВО и их модификации |
МИ 2783-2003 Утверждена ФГУП ВНИИМС 03.03.2003 |
Рекомендация. Измерители высоты нижней границы облаков. Методика поверки |
|
Анеморумбометр М-63М-1 |
РД 52.04.244-89 Утверждены ТУ Госкомгидромета 15.10.89 |
Методические указания. Методика поверки. Анеморумбометр М-63М-1 |
|
|
РД 04.47-2002 Утверждены ВНИИМ им. Д.И. Менделеева 20.02.2002 |
Методические указания. Методика поверки. Анеморумбометр М-63М-1 |
|
Средства измерений влажности воздуха |
||
|
Психрометры аспирационные |
Л82.844.000 Д1 Утверждена ВНИИФТРИ 08.05.85 |
ГСИ. Психрометры аспирационные. Методика поверки |
|
Гигрометры и гигрографы |
МИ 2876-2004 Утверждена ФГУП ВНИИМС 07.06.04 |
Рекомендация. Гигрометры и гигрографы метеорологические. Методика поверки |
|
Комплексные автоматические метеорологические станции |
||
|
Системы автоматизированные метеорологические измерительные |
МИ 2713-2002 Утверждена ФГУП ВНИИМС 16.01.2002 |
Рекомендация. ГСИ. Системы автоматизированные метеорологические измерительные. Методика поверки |
|
Измерительные преобразователи метеорологической станции типа «Милос-500» |
Утверждена ГП «ВНИИМ» в 1996 г. |
Инструкция по поверке измерительных преобразователей метеорологической станции типа «Милос-500» |
РЕКЛАМАЦИОННЫЙ АКТ № __________________________ на _____________________________________________________________________. (наименование метеооборудования, заводской номер) Комиссия в составе председателя ______________________________________________________________, членов ____________________________________________________________________ ___________________________________________________________, с одной стороны, и представителя ____________________________________________________________ __________________________________________________________, с другой стороны, ознакомившись с состоянием _________________________________________________ ___________________________________________________________________________ (наименование метеооборудования) установила: 1 Технические данные основного изделия метеооборудования: заводской номер _____, выпущено _______________________, ресурс (срок службы) ____________, (месяц и год) гарантийный срок службы _______________________________. Технические данные отказавшего комплектующего агрегата (прибора) ___________ __________________________________________________________________________: заводской номер _______________, выпущено __________________________________, (месяц и год) гарантийный срок службы ___________________________________________________, с начала эксплуатации наработал _________________ ч. 2 Изделие эксплуатировалось и формуляр (паспорт) велся ___________________________________________________________________________ (указывают замечания по выполнению ИЭ и ведению формуляра) ___________________________________________________________________________ 3 «____»__________ 20___ г. ___________________________________________________________________________ (дата и краткое описание дефекта, обстоятельств, при которых он выявлен, его причины) ___________________________________________________________________________ ____________________________________________________________________________ __________________________________________________________________________ (установленные или предполагаемые последствия работы оборудования с дефектом) 4 Перечень агрегатов и деталей, вышедших из строя: ____________________________________________________________________________ __________________________________________________________________________ 5 Перечень агрегатов и деталей, которые должны быть высланы предприятием-изготовителем в АМЦ или АМСГ: ___________________________________________ ___________________________________________________________________________ ___________________________________________________________________________ 6 Адрес, куда должны быть высланы агрегаты и детали: ________________________ ___________________________________________________________________________ 7 Заключение о необходимости возврата вышедшего из строя изделия или агрегата (прибора) на предприятие-изготовитель после замены его новым, полученным с предприятия-изготовителя (указать адрес предприятия-изготовителя), а также в случае необходимости отправки изделия на исследование: ______________________________ ___________________________________________________________________________ ___________________________________________________________________________ (заполняет представитель предприятия-изготовителя) 8 Акт предъявлен _________________________________________________________ ___________________________________________________________________________ (наименование предприятия-изготовителя, его адрес) На основании вышеизложенного комиссия считает, что ________________________ ___________________________________________________________________________ (наименование метеооборудования, на которое составляется акт) к дальнейшей эксплуатации не пригоден и подлежит ____________________________ ___________________________________________________________________________ (списанию или ремонту; в последнем случае указывают вид ремонта: восстановительный, ___________________________________________________________________________ текущий, средний; место ремонта: на предприятиях, ___________________________________________________________________________ в ГУ «УГМС», «ЦГМС», АМЦ (АМСГ), силами эксплуатирующей ___________________________________________________________________________ организации или предприятия-изготовителя) 10 Изделие введено в строй путем __________________________________________ __________________________________________________________________________ (указывают дату извещения поставщика об обнаруженном дефекте __________________________________________________________________________ и дату восстановления и чьими силами) |
|||||||
|
Председатель комиссии |
__________ подпись |
_________________ инициалы, фамилия |
|||||
|
Члены
комиссии эксплуатирующей |
__________ подпись |
_________________ инициалы, фамилия |
|||||
|
Представитель
|
__________ подпись |
_________________ инициалы, фамилия |
|||||
|
СОГЛАСОВАНО |
|
|
|||||
|
Начальник ССИ |
__________ подпись |
_________________ инициалы, фамилия |
|||||
|
«___» ____________ 20___ г. |
|
|
|||||
[1] Руководство по метеорологическим приборам и методам наблюдений. Шестое издание. WMO-No. 8. - Женева: Секретариат Всемирной метеорологической организации, 2000.
[2] Наставление по метеорологическому обеспечению гражданской авиации России (НМО ГА-95), - М.: Росгидромет, 1995.
[3] Правила по технике безопасности при проведении наблюдений и работ на сети Госкомгидромета. - Л.: Гидрометеоиздат, 1983.
[4] Авиационные правила. Часть 170. Том II. Сертификационные требования к оборудованию аэродромов и воздушных трасс. - 2-е изд. - М.: МАК, 2003.
[5] Авиационные правила. Часть 170. Том I. Правила сертификации оборудования аэродромов и воздушных трасс. - 2-е изд. - М.: МАК, 1999.
[6] Авиационные правила. Часть 139. Сертификация аэродромов. Том II. Сертификационные требования к аэродромам. - М.: МАК, 1996.
[7] Нормы годности к эксплуатации в СССР гражданских аэродромов (НГЭА-92). - Л.: Гидрометеоиздат, 1992.
[8] Типовой табель приборов и оборудования для производства стандартных гидрометеорологических наблюдений и контроля загрязнения природной среды. - Л.: Гидрометеоиздат, 1986.
[9] Инструкция о порядке приемки продукции производственно-технического назначения и товаров народного потребления по количеству (в редакции Постановлений Госарбитража СССР от 29.12.73 № 81, от 14.11.74 № 98 с изменениями, внесенными Постановлением Пленума ВАС РФ от 22.10.1997 № 18).
[10] Инструкция о порядке приемки продукции производственно-технического назначения и товаров народного потребления по качеству (в редакции Постановлений Госарбитража СССР от 29.12.73 № 81, от 14.11.74 № 98 с изменениями, внесенными Постановлением Пленума ВАС РФ от 22.10.1997 № 18).
[11] Положение о поставках продукции производственно-технического назначения. Положение о поставках товаров народного потребления (утверждено Постановлением Совета Министров СССР от 25.07.88).
[12] Нормы проектирования объектов управления воздушным движением, радионавигации и посадки ВСН-7-86 МГА. - М.: МГА, 1986.
[13] Наставление гидрометеорологическим станциям и постам. Вып. 3. Часть I. Метеорологические наблюдения на станциях. - Л.: Гидрометеоиздат, 1985.
[14] Базлова Т.А. и др. Метеорологические автоматизированные радиолокационные сети. - СПб.: Гидрометеоиздат, 2002.
[15] Временные методические указания по обработке и контролю радиолокационных метеорологических наблюдений, подготовке таблиц с ежедневными данными, формированию ежемесячников. - Л.: РТП ГГО, 1978.
[16] Плис Г.С. Стандартизация в электротехнике. - М.: Изд-во стандартов, 1979.
[17] Правила технической эксплуатации электроустановок потребителей и правила техники безопасности при эксплуатации электроустановок потребителей (ПТЭ и ПТБ). - СПб.: ДЕАН, 2003.
[18] Федеральный закон от 19 июля 2008 № 113-ФЗ (ред. от 23.07.2008) «О гидрометеорологической службе». Принят Государственной Думой 03 июля 1998 года. Одобрен Советом Федерации 09 июля 1998 года.
[19] Федеральный закон от 26 июня 2008 № 102-ФЗ «Об обеспечении единства измерений». Принят Государственной Думой 11 июня 2008 года. Одобрен Советом Федерации 18 июня 2008 года.
[20] Положение о метрологической службе Федеральной службы России по гидрометеорологии и мониторингу окружающей среды (введено в действие приказом Росгидромета № 117 от 24.09.97).
[21] Сборник международных метеорологических авиационных кодов (МЕТАР, СПЕСИ, ТАФ). - М.: Росгидромет, 1995.