Скачать ГОСТ 25878-2018 Формы стальные для изготовления железобетонных изделий. Поддоны. Технические условияДата актуализации: 01.01.2021 ГОСТ 25878-2018
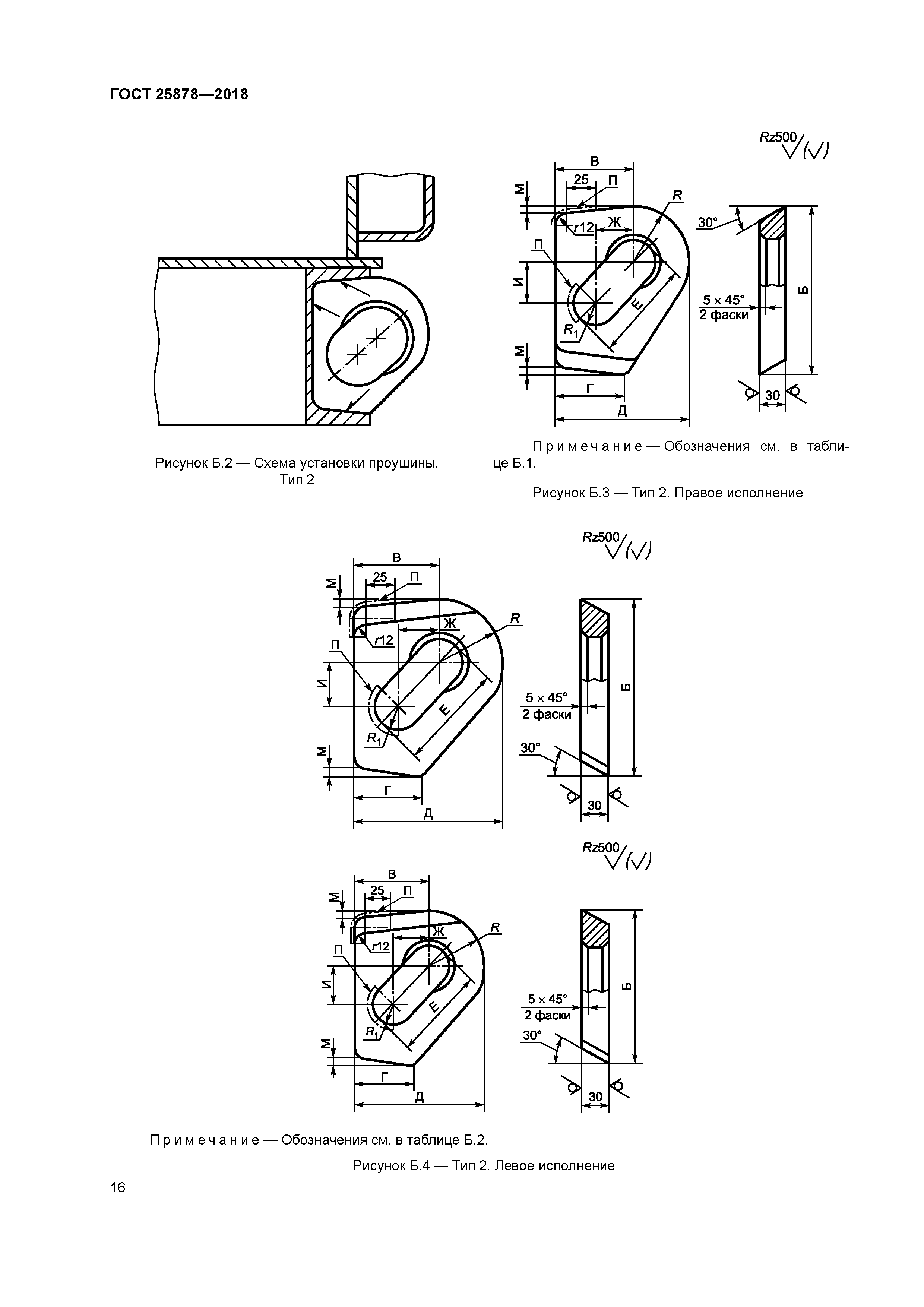
Формы стальные для изготовления железобетонных изделий. Поддоны. Технические условия| Обозначение: | ГОСТ 25878-2018 | | Обозначение англ: | GOST 25878-2018 | | Статус: | взамен | | Название рус.: | Формы стальные для изготовления железобетонных изделий. Поддоны. Технические условия | | Название англ.: | Steel moulds for reinforced concrete members. Pallets. Specifications | | Дата добавления в базу: | 01.02.2020 | | Дата актуализации: | 01.01.2021 | | Дата введения: | 01.09.2019 | | Область применения: | Стандарт распространяется на поддоны стальных форм для изготовления железобетонных изделий по ГОСТ 25781 и устанавливает требования к конструкции и размерам основных сборочных единиц и деталей поддонов. | | Оглавление: | 1 Область применения 2 Нормативные ссылки 3 Термины и определения 4 Конструкция поддонов 5 Требования к конструкции рамы 6 Требования к сварке рамы 7 Требования к конструкции проушин 8 Требования к устройствам для перемещения и пакетирования поддонов и форм в технологическом потоке 9 Требования к конструкции упорных устройств для натяжения предварительно напрягаемой арматурной стали 10 Требования к конструкции плиты для крепления форм 11 Требования к конструкции фиксаторов Приложение А (рекомендуемое) Конструкция и размеры штуцеров Приложение Б (рекомендуемое) Конструкция проушин и схема их установки на поддонах Приложение В (рекомендуемое) Конструкция, размеры и примеры установки колес Приложение Г (рекомендуемое) Упоры, расположенные на торцах поддона Приложение Д (рекомендуемое) Примеры установки плит на поддоне Приложение Е (рекомендуемое) Фиксаторы для закладных деталей | | Разработан: | НИИЖБ им. А.А. Гвоздева - структурное подразделение АО НИЦ Строительство
| | Утверждён: | 20.12.2018 Межгосударственный Совет по стандартизации, метрологии и сертификации (Inter-Governmental Council on Standardization, Metrology, and Certification 114-П) 18.06.2019 Федеральное агентство по техническому регулированию и метрологии (314-ст)
| | Издан: | Стандартинформ (2019 г. )
| | Заменяет собой: | | | Нормативные ссылки: |   ГОСТ 21779-82 «Система обеспечения точности геометрических параметров в строительстве. Технологические допуски»  ГОСТ 23117-91 «Зажимы полуавтоматические для натяжения арматуры железобетонных конструкций. Технические условия»  ГОСТ 25781-83 «Формы стальные для изготовления железобетонных изделий. Технические условия»  ГОСТ 25878-85 «Формы стальные для изготовления железобетонных изделий. Поддоны. Конструкция и размеры»  ГОСТ 5264-80 «Ручная дуговая сварка. Соединения сварные. Основные типы, конструктивные элементы и размеры»  ГОСТ 5781-82 «Сталь горячекатаная для армирования железобетонных конструкций. Технические условия»  ГОСТ 8239-89 «Двутавры стальные горячекатаные. Сортамент»  ГОСТ 8509-93 «Уголки стальные горячекатаные равнополочные. Сортамент»  ГОСТ 8510-86 «Уголки стальные горячекатаные неравнополочные. Сортамент»  ГОСТ 2.312-72 «Единая система конструкторской документации. Условные изображения и обозначения швов сварных соединений»  ГОСТ 7798-70 «Болты с шестигранной головкой класса точности В. Конструкция и размеры»  ГОСТ 11534-75 «Ручная дуговая сварка. Соединения сварные под острыми и тупыми углами. Основные типы, конструктивные элементы и размеры»  ГОСТ 14771-76 «Дуговая сварка в защитном газе. Соединения сварные. Основные типы. Конструктивные элементы и размеры»  ГОСТ 9.301-86 «Единая система защиты от коррозии и старения. Покрытия металлические и неметаллические неорганические. Общие требования»  ГОСТ 9.303-84 «Единая система защиты от коррозии и старения. Покрытия металлические и неметаллические неорганические. Общие требования к выбору»  ГОСТ 8240-97 «Швеллеры стальные горячекатаные. Сортамент»  ГОСТ 23518-79 «Дуговая сварка в защитных газах. Соединения сварные под острыми и тупыми углами. Основные типы, конструктивные элементы и размеры»  ГОСТ 2789-73 «Шероховатость поверхности. Параметры и характеристики»  ГОСТ 977-88 «Отливки стальные. Общие технические условия»  ГОСТ 14792-80 «Детали и заготовки, вырезаемые кислородной и плазменно-дуговой резкой. Точность, качество поверхности реза»  ГОСТ 7505-89 «Поковки стальные штампованные. Допуски, припуски и кузнечные напуски»  ГОСТ 11871-88 «Гайки круглые шлицевые. Технические условия»  ГОСТ 11872-89 «Шайбы стопорные многолапчатые. Технические условия»  ГОСТ 18511-73 «Крышки торцовые глухие. Конструкция и размеры» ГОСТ 3212-92 «Комплекты модельные. Уклоны формовочные, стержневые знаки, допуски размеров»  ГОСТ 397-79 «Шплинты. Технические условия»  ГОСТ 5919-73 «Гайки шестигранные прорезные и корончатые низкие класса точности В. Конструкция и размеры» ГОСТ 8338-75 «Подшипники шариковые радиальные однорядные. Основные размеры» ГОСТ 8752-79 «Манжеты резиновые армированные для валов. Технические условия»  ГОСТ 21780-2006 «Система обеспечения точности геометрических параметров в строительстве. Расчет точности»  ГОСТ 380-2005 «Сталь углеродистая обыкновенного качества. Марки» ГОСТ 2591-2006 «Прокат сортовой стальной горячекатаный квадратный. Сортамент»  ГОСТ 103-2006 «Прокат сортовой стальной горячекатаный полосовой. Сортамент»  ГОСТ Р 53464-2009 «Отливки из металлов и сплавов. Допуски размеров, массы и припуски на механическую обработку» ГОСТ 13015-2012 «Изделия бетонные и железобетонные для строительства. Общие технические требования. Правила приемки, маркировки, транспортирования и хранения»  ГОСТ 25346-2013 «Основные нормы взаимозаменяемости. Характеристики изделий геометрические. Система допусков на линейные размеры. Основные положения, допуски, отклонения и посадки» ГОСТ 1050-2013 «Металлопродукция из нелегированных конструкционных качественных и специальных сталей. Общие технические условия» ГОСТ 1.0-2015 «Межгосударственная система стандартизации. Основные положения» ГОСТ 1.2-2015 «Межгосударственная система стандартизации. Стандарты межгосударственные, правила и рекомендации по межгосударственной стандартизации. Правила разработки, принятия, обновления и отмены»  ГОСТ 19903-2015 «Прокат листовой горячекатаный. Сортамент» ГОСТ 14959-2016 «Металлопродукция из рессорно-пружинной нелегированной и легированной стали. Технические условия»  ГОСТ 25781-2018 «Формы стальные для изготовления железобетонных изделий. Технические условия»
|
                                 
|