Fibre optical cables. General specifications

ФЕДЕРАЛЬНОЕ АГЕНТСТВО
ПО ТЕХНИЧЕСКОМУ РЕГУЛИРОВАНИЮ И МЕТРОЛОГИИ

НАЦИОНАЛЬНЫЙ
СТАНДАРТ
РОССИЙСКОЙ
ФЕДЕРАЦИИ

ГОСТ Р
52266-
2020

КАБЕЛИ ОПТИЧЕСКИЕ

Общие технические условия

Москва
Стандартинформ

2020

Предисловие

1 РАЗРАБОТАН Открытым акционерным обществом «Всероссийский научно-исследовательский, проектно-конструкторский и технологический институт кабельной промышленности» (ОАО «ВНИИКП»)

2 ВНЕСЕН Техническим комитетом по стандартизации ТК 46 «Кабельные изделия»

3 УТВЕРЖДЕН И ВВЕДЕН В ДЕЙСТВИЕ Приказом Федерального агентства по техническому регулированию и метрологии от 26 марта 2020 г. № 154-ст

4 ВЗАМЕН ГОСТ Р 52266-2004

5 В настоящем стандарте использованы объекты патентного права [патентообладатель - Открытое акционерное общество «Всероссийский научно-исследовательский, проектно-конструкторский и технологический институт кабельной промышленности» (ОАО «ВНИИКП») - заявка на изобретение № 2020105885 «Способ испытания оптических кабелей на долговечность» (дата приоритета 7 февраля 2020 г.) и заявка на изобретение № 2020105884 «Способ определения срока сохраняемости оптического кабеля» (дата приоритета 7 февраля 2020 г.)]

Правила применения настоящего стандарта установлены в статье 26 Федерального закона от 29 июня 2015 г. № 162-ФЗ «О стандартизации в Российской Федерации». Информация об изменениях к настоящему стандарту публикуется в ежегодном (по состоянию на 1 января текущего года) информационном указателе «Национальные стандарты», а официальный текст изменений и поправок - в ежемесячном информационном указателе «Национальные стандарты». В случае пересмотра (замены) или отмены настоящего стандарта соответствующее уведомление будет опубликовано в ближайшем выпуске ежемесячного информационного указателя «Национальные стандарты». Соответствующая информация, уведомление и тексты размещаются также в информационной системе общего пользования - на официальном сайте Федерального агентства по техническому регулированию и метрологии в сети Интернет (www.gost.ru)

Содержание

1 Область применения. 3

2 Нормативные ссылки. 3

3 Термины и определения. 6

4 Сокращения. 6

5 Классификация и условные обозначения оптических кабелей. 6

6 Технические требования. 10

6.1 Общие требования. 10

6.2 Основные показатели и характеристики. 10

6.3 Требования стойкости и прочности к механическим воздействиям.. 13

6.4 Требования стойкости и прочности к климатическим и биологическим воздействиям.. 15

6.5 Требования надежности. 16

6.6 Требования к маркировке. 16

6.7 Требования к упаковке. 17

7 Требования безопасности и охраны окружающей среды.. 18

7.1 Требования электрической безопасности. 18

7.2 Требования пожарной безопасности. 18

7.3 Требования охраны окружающей среды.. 19

8 Правила приемки. 19

8.1 Общие требования. 19

8.2 Квалификационные испытания. 19

8.3 Приемо-сдаточные испытания. 20

8.4 Периодические испытания. 20

8.5 Типовые испытания. 22

9 Методы контроля. 22

9.1 Общие требования. 22

9.2 Проверка конструкции. 22

9.3 Проверка оптических параметров. 23

9.4 Проверка электрических параметров. 23

9.5 Проверка требований к материалам.. 24

9.6 Проверка стойкости и прочности к механическим воздействиям.. 24

9.7 Контроль стойкости и прочности к климатическим и биологическим воздействиям.. 41

9.8 Проверка соответствия требованиям надежности. 44

9.9 Проверка соответствия требованиям к маркировке и упаковке. 44

9.10 Проверка соответствия требованиям безопасности. 44

10 Транспортирование и хранение. 51

11 Указания по монтажу и эксплуатации. 51

12 Гарантии изготовителя. 53

Приложение А (обязательное) Перекрестные обозначения оптических волокон. 54

Приложение Б (справочное) Перекрестные обозначения подвесных типов оптических кабелей. 55

Приложение В (справочное) Цветовое кодирование. 55

Приложение Г (обязательное) Методика определения совместимости материалов, применяемых в конструкциях оптических кабелей. 57

Приложение Д (обязательное) Методика оценки соответствия оптических кабелей требованиям к надежности. 59

Библиография. 67

ГОСТ Р 52266-2020

НАЦИОНАЛЬНЫЙ СТАНДАРТ РОССИЙСКОЙ ФЕДЕРАЦИИ

КАБЕЛИ ОПТИЧЕСКИЕ

Общие технические условия

Fibre optical cables. General specifications

Дата введения - 2020-09-01

1 Область применения

Настоящий стандарт распространяется на оптические кабели (далее - ОК), используемые для передачи информации по оптическим волокнам (далее - OB). ОК помимо ОВ могут содержать в качестве функционального элемента токопроводящие жилы (далее - ТПЖ).

Настоящий стандарт устанавливает требования к классификации ОК, их техническим параметрам, правилам приемки, транспортированию и хранению, а также требования безопасности и охраны окружающей среды, регламентирует методы контроля, указания по монтажу и эксплуатации и устанавливает гарантии предприятия-изготовителя.

Требования настоящего стандарта являются обязательными при разработке нормативных документов (далее - НД) на конкретные ОК.

Примечание - Ранее разработанные ОК, имеющие сертификаты соответствия действующим стандартам, должны быть приведены в соответствие настоящему стандарту в течение пяти лет с даты его введения.

Настоящий стандарт не распространяется на ОК специального назначения, предназначенные для военной техники и подвижных объектов морской и авиационной техники.

2 Нормативные ссылки

В настоящем стандарте использованы нормативные ссылки на следующие стандарты:

ГОСТ 9.048 Единая система защиты от коррозии и старения. Изделия технические. Методы лабораторных испытаний на стойкость к воздействию плесневых грибов

ГОСТ 12.1.044-2018 Система стандартов безопасности труда. Пожаровзрывоопасность веществ и материалов. Номенклатура показателей и методы их определения

ГОСТ 15.309-98 Система разработки и постановки продукции на производство. Испытания и приемка выпускаемой продукции. Основные положения

ГОСТ 20.57.406 Комплексная система контроля качества. Изделия электронной техники, квантовой электроники и электротехнические. Методы испытаний

ГОСТ 2990 Кабели, провода и шнуры. Методы испытания напряжением

ГОСТ 3345 Кабели, провода и шнуры. Метод определения электрического сопротивления изоляции

ГОСТ 7229 Кабели, провода и шнуры. Метод определения электрического сопротивления токопроводящих жил и проводников

ГОСТ 12177 Кабели, провода и шнуры. Методы проверки конструкции

ГОСТ 15150 Машины, приборы и другие технические изделия. Исполнения для различных климатических районов. Категории, условия эксплуатации, хранения и транспортирования в части воздействия климатических факторов внешней среды

ГОСТ 18690 Кабели, провода, шнуры и кабельная арматура. Маркировка, упаковка, транспортирование и хранение

ГОСТ 22483 (IEC 60228:2004) Жилы токопроводящие для кабелей, проводов и шнуров

ГОСТ 30546.1 Общие требования к машинам, приборам и другим техническим изделиям и методы расчета их сложных конструкций в части сейсмостойкости

ГОСТ 30546.2 Испытания на сейсмостойкость машин, приборов и других технических изделий

ГОСТ 31565 Кабельные изделия. Требования пожарной безопасности

ГОСТ IEC 60331-25 Испытания электрических и оптических кабелей в условиях воздействия пламени. Сохранение работоспособности. Часть 25. Проведение испытаний и требования к ним. Кабели оптические

ГОСТ IEC 60332-1-2 Испытания электрических и оптических кабелей в условиях воздействия пламени. Часть 1-2. Испытание на нераспространение горения одиночного вертикально расположенного изолированного провода или кабеля. Проведение испытания при воздействии пламенем газовой горелки мощностью 1 кВ с предварительным смешением газов

ГОСТ IEC 60332-1-3 Испытания электрических и оптических кабелей в условиях воздействия пламени. Часть 1-2. Испытание на нераспространение горения одиночного вертикально расположенного изолированного провода или кабеля. Проведение испытания на образование горящих капелек/частиц

ГОСТ IEC 60332-2-2 Испытания электрических и оптических кабелей в условиях воздействия пламени. Часть 2-2. Испытание на нераспространение горения одиночного вертикально расположенного изолированного провода или кабеля небольших размеров. Проведение испытания диффузионным пламенем

ГОСТ IEC 60332-3-21 Испытания электрических и оптических кабелей в условиях воздействия пламени. Часть 3-21. Распространение пламени по вертикально расположенным пучкам проводов или кабелей. Категория A F/R

ГОСТ IEC 60332-3-22 Испытания электрических и оптических кабелей в условиях воздействия пламени. Часть 3-22. Распространение пламени по вертикально расположенным пучкам проводов или кабелей. Категория А

ГОСТ IEC 60332-3-23 Испытания электрических и оптических кабелей в условиях воздействия пламени. Часть 3-23. Распространение пламени по вертикально расположенным пучкам проводов или кабелей. Категория В

ГОСТ IEC 60332-3-24 Испытания электрических и оптических кабелей в условиях воздействия пламени. Часть 3-24. Распространение пламени по вертикально расположенным пучкам проводов или кабелей. Категория С

ГОСТ IEC 60332-3-25 Испытания электрических и оптических кабелей в условиях воздействия пламени. Часть 3-25. Распространение пламени по вертикально расположенным пучкам поводов или кабелей. Категория D

ГОСТ IEC 60754-1 Испытание материалов конструкции кабелей при горении. Часть 1. Определение количества выделяемых газов галогенных кислот

ГОСТ IEC 60754-2 Испытания материалов конструкции кабелей при горении. Часть 2. Определение степени кислотности выделяемых газов измерением pH и удельной проводимости

ГОСТ IEC 61034-2 Измерение плотности дыма при горении кабелей в заданных условиях. Часть 2. Метод испытания и требования к нему

ГОСТ Р 8.568-2017 Государственная система обеспечения единства измерений. Аттестация испытательного оборудования. Основные положения

ГОСТ Р 9.804 Единая система защиты от коррозии и старения. Изделия и материалы. Методы лабораторных испытаний на стойкость к повреждению грызунами

ГОСТ Р 51370 Методы испытаний на стойкость к климатическим внешним воздействующим факторам машин, приборов и других технических изделий. Испытание на воздействие солнечного излучения

ГОСТ Р 52108 Ресурсосбережение. Обращение с отходами. Основные положения

ГОСТ Р 53691 Ресурсосбережение. Обращение с отходами. Паспорт I - IV класса опасности. Основные требования

ГОСТ Р 53692 Ресурсосбережение. Обращение с отходами. Этапы технологического цикла отходов

ГОСТ Р 54417 Компоненты волоконно-оптических систем передачи. Термины и определения

ГОСТ Р 54813 (МЭК 62230:2006) Кабели, провода и шнуры электрические. Электроискровой метод контроля

ГОСТ Р 57139 Кабели оптические. Термины и определения

ГОСТ Р МЭК 60793-1-20 Волокна оптические. Часть 1-20. Методы измерений и проведение испытаний. Геометрия волокна

ГОСТ Р МЭК 60793-1-22 Волокна оптические. Часть 1-22. Методы измерений и проведение испытаний. Измерение длины

ГОСТ Р МЭК 60793-1-32 Волокна оптические. Часть 1-32. Методы измерений и проведение испытаний. Снятие защитного покрытия

ГОСТ Р МЭК 60793-1-33 Волокна оптические. Часть 1-33. Методы измерений и проведение испытаний. Стойкость к коррозии в напряженном состоянии

ГОСТ Р МЭК 60793-1-40 Волокна оптические. Часть 1-40. Методы измерений и проведение испытаний. Затухание

ГОСТ Р МЭК 60793-1-45 Волокна оптические. Часть 1-45. Методы измерений и проведение испытаний. Диаметр модового поля

ГОСТ Р МЭК 60793-1-46 Волокна оптические. Часть 1-46. Методы измерений и проведение испытаний. Контроль измерений коэффициента оптического пропускания

ГОСТ Р МЭК 60793-2-10 Волокна оптические. Часть 2-10. Технические требования к изделию. Групповые технические требования к многомодовым оптическим волокнам категории А1

ГОСТ Р МЭК 60793-2-50 Волокна оптические. Часть 2-50. Технические требования к изделию. Групповые технические требования к одномодовым оптическим волокнам класса В

ГОСТ Р МЭК 60794-1-2 Кабели оптические. Часть 1-2. Общие технические требования. Основные методы испытаний оптических кабелей. Общее руководство

ГОСТ Р МЭК 60794-1-22 Кабели оптические. Часть 1-22. Общие технические требования. Основные методы испытаний оптических кабелей. Методы испытаний на воздействия внешних факторов

ГОСТ Р МЭК 60794-1-23 Кабели оптические. Часть 1-23. Общие технические требования. Основные методы испытаний оптических кабелей. Методы испытаний элементов кабеля

Примечание - При пользовании настоящим стандартом целесообразно проверить действие ссылочных стандартов в информационной системе общего пользования - на официальном сайте Федерального агентства по техническому регулированию и метрологии в сети Интернет или по ежегодному информационному указателю «Национальные стандарты», который опубликован по состоянию на 1 января текущего года, и по выпускам ежемесячного информационного указателя «Национальные стандарты» за текущий год. Если заменен ссылочный стандарт, на который дана недатированная ссылка, то рекомендуется использовать версию этого стандарта с учетом всех внесенных в данную версию изменений. Если заменен ссылочный стандарт, на который дана датированная ссылка, то рекомендуется использовать версию этого стандарта с более поздней датой утверждения (принятия). Если после утверждения настоящего стандарта в ссылочный стандарт, на который дана датированная ссылка, внесено изменение, затрагивающее положение, на которое дана ссылка, то это положение рекомендуется принять без учета данного изменения. Если ссылочный стандарт отменен без замены, то положение, в котором дана ссылка на него, рекомендуется применять в части, не затрагивающей эту ссылку.

3 Термины и определения

В настоящем стандарте применены термины по ГОСТ Р 54417, ГОСТ Р 57139.

4 Сокращения

В настоящем стандарте использованы следующие сокращения:

ЛЭП - линия электропередачи;

НД - нормативный документ (технические условия, отраслевые стандарты, отраслевые требования);

НКУ - нормальные климатические условия;

ОВ - оптическое волокно;

ОМ - оптический модуль;

ОК - оптический кабель;

ТПЖ - токопроводящие жилы;

ТУ - технические условия.

5 Классификация и условные обозначения оптических кабелей

5.1 ОК классифицируют:

а) по области применения и условиям прокладки на следующие группы и подгруппы:

- З - подземные:

без обозначения - для прокладки в коллекторах и туннелях; в кабельной канализации; по мостам и эстакадам; в легких песчаных и глинистых грунтах; в тяжелых глинистых, гравийных и щебенистых грунтах и болотах глубиной не более 2 м; в скальных грунтах и грунтах, подверженных мерзлотным деформациям; через водные преграды и в болотах глубиной более 2 м,

ЗТ - для прокладки в пластмассовых трубах;

- В - подвесные:

без обозначения - самонесущие металлические,

ВД - самонесущие диэлектрические,

ВА - абонентские, прокладываемые от точки подключения до абонента,

ВП - навивные, присоединяемые к грузонесущему элементу (проводу, кабелю, тросу),

ВЭ - с выносными силовыми элементами,

ВГ - встроенные в грозозащитный трос ЛЭП,

ВФ - встроенные в фазный провод ЛЭП;

- П - подводные:

без обозначения - для прокладки на морских участках глубиной более 5000 м,

П1 - для прокладки на морских участках глубиной не более 5000 м,

П2 - для прокладки с заглублением или без заглубления в дно на морских участках глубиной не более 3000 м,

П3 - для прокладки с заглублением или без заглубления в дно на морских участках глубиной не более 500 м, в том числе на прибрежных участках и на морском шельфе;

- С - для внутренней и наружной прокладки на стационарных объектах и сооружениях;

- Р - распределительные для вертикальной прокладки внутри зданий, в том числе со свободно выделяемыми ОВ;

- М - монтажные для постоянной прокладки в пределах помещения или временной прокладки.

Примечание - Применение ОК одной классификационной подгруппы или группы взамен ОК других подгрупп (для других условий прокладки) допускается при обеспечении всех технических характеристик не хуже, чем установлено настоящим стандартом для этих подгрупп;

б) по типу брони и распределенного силового элемента:

К - броня из металлических проволок,

Л - броня из гофрированной стальной ленты,

П - броня из диэлектрических стержней,

А - распределенный силовой элемент из арамидных нитей,

С - распределенный силовой элемент из стекло- или базальтовых нитей,

Д - другое;

в) по показателям пожарной опасности:

н - не распространяющие горение при одиночной прокладке,

нг(.*.) - не распространяющие горение при групповой прокладке,

нг(.*.)-LS - не распространяющие горение при групповой прокладке, с пониженным дымо- и газовыделением,

нг(.*.)-HF - не распространяющие горение при групповой прокладке и не выделяющие коррозионно-активных газообразных продуктов при горении и тлении,

нг(.*.)-FRLS - огнестойкие, не распространяющие горение при групповой прокладке, с пониженным дымо- и газовыделением,

нг(.*.)-FRHF - огнестойкие, не распространяющие горение при групповой прокладке и не выделяющие коррозионно-активных газообразных продуктов при горении и тлении,

нг(.*.)-LSLTx - не распространяющие горение при групповой прокладке, с пониженным дымо- и газовыделением и с низкой токсичностью продуктов горения,

нг(.*.)-FRLSLTx - огнестойкие, не распространяющие горение при групповой прокладке, с пониженным дымо- и газовыделением и с низкой токсичностью продуктов горения.

* Примечание - В скобках указывают букву, соответствующую категории пожарной опасности по пределу распространения горения при групповой прокладке в соответствии с ГОСТ 31565;

г) по конструктивным особенностям, определяемым типом основного элемента сердечника:

М - ОМ, скрученные вокруг центрального элемента или оси ОК,

Т - один или несколько ОМ, уложенных параллельно оси ОК,

П - профилированный сердечник с одним или несколькими ОВ, расположенными в пазах сердечника,

Л - ленточный элемент с несколькими ОВ,

О - миниатюрный кабель, содержащий ОВ в плотном вторичном защитном (буферном) покрытии, упрочненном нитями и оболочкой,

Д - прочее;

д) по типу климатического исполнения:

без обозначения - для умеренного климата, в частности, средней полосы России,

X - для холодного климата, в том числе арктического,

Ж - для макроклиматических районов как с сухим, так и с влажным тропическим климатом.

Примечание - Допускается применение ОК климатических исполнений X и Ж в районах с умеренным климатом, если они удовлетворяют требованиям стойкости к повышенной и пониженной температурам эксплуатации, установленным для ОК, эксплуатирующихся в районах с умеренным климатом;

е) по назначению:

Ц - для линий с повышенными требованиями к коэффициенту затухания ОВ,

без обозначения - для прочих применений;

ж) по типу материала наружной оболочки:

Т - из материала, стойкого к трекингу (электрической коррозии);

без обозначения - из материала, не стойкого к трекингу.

5.2 Условное обозначение ОК должно состоять из последовательно расположенных букв и цифр, обозначающих марку кабеля, включающую:

- ОК - оптический кабель;

- область применения и условия прокладки в соответствии с перечислением а) 5.1;

- тип брони и распределенного силового элемента в соответствии с перечислением б) 5.1;

- тип исполнения по показателям пожарной опасности в соответствии с перечислением в) 5.1 (при наличии);

- дополнительные буквы и цифры, указываемые через дефис и обозначающие:

- число и тип основных элементов сердечника в соответствии с перечислением г) 5.1 (для единственного элемента указывают только тип);

- число и тип ОВ в соответствии с приложением А;

- число и сечение ТПЖ через знак умножения (при наличии) или электрическое сопротивление постоянному току для комбинированного проводника;

- значение длительно допустимого растягивающего усилия, кН;

- тип климатического исполнения и назначение в соответствии с перечислениями д) и е) 5.1 соответственно;

- тип материала наружной оболочки (трекингостойкость) в соответствии с перечислением ж) 5.1.

Примечания

1 При применении в ОК ОВ в плотном вторичном защитном покрытии (буфере) после типа ОВ в скобках указывают букву «Б».

2 При применении в ОК ОВ в микромодулях после типа ОВ в скобках указывают буквы «ММ».

3 При наличии в ОК разных типов ОВ их разделяют знаком «/». В составе одного модуля использование ОВ разных типов не допускается.

Структура условного (кодового) обозначения ОК приведена на рисунке 1.

Рисунок 1 - Структура условного (кодового) обозначения оптического кабеля

Примеры условных обозначений:

- ОК подземный с броней из диэлектрических стержней, содержащий 24 ОВ типа G.652D, расположенных в шести ОМ, с длительно допустимым растягивающим усилием ОК, равным 20 кН, для холодного климата, и из линий с повышенными требованиями к коэффициенту затухания ОВ:

ОКЗП-M6-24G652D-2 0-Х-Ц

- ОК подземный с броней из повива круглых металлических проволок, содержащий 32 ОВ типа G.652D, расположенных в четырех ОМ, содержащий 24 ОВ типа ОМ4, расположенных в четырех ОМ, содержащий 4 ТПЖ сечением 1,13 мм2, с длительно допустимым растягивающим усилием ОК, равным 7 кН, для умеренного климата:

OK3K-M8-32G652D/24ОМ4-4×1,13-7

- ОК подземный с броней из гофрированной стальной ленты, не распространяющий горение при групповой прокладке по категории А с пониженным дымо- и газовыделением, содержащий 48 ОВ типа G.652D, расположенных в восьми ОМ, с длительно допустимым растягивающим усилием ОК, равным 1,5 кН, для умеренного климата:

OKЗЛнг(A)-LS-M8-48G652D-1,5

- OK подвесной с выносным силовым элементом из диэлектрического стержня, содержащий 24 ОВ типа G.652D, расположенных в шести ОМ, с длительно допустимым растягивающим усилием ОК, равным 0,4 кН, для умеренного климата:

ОКВЭП-М6-24G652D-0,4

- ОК подводный для прокладки на морских участках глубиной не более 5000 м с броней из повива круглых металлических проволок, содержащий восемь ОВ типа G.654C, расположенных в центральном модуле, с сопротивлением постоянному току комбинированного проводника, равным 0,8 Ом, с длительно допустимым растягивающим усилием ОК, равным 25 кН, для линий с повышенными требованиями к коэффициенту затухания ОВ:

ОКП1К-Т-8С654С-0,8-25-Ц

- ОК монтажный с распределенным силовым элементом из арамидных нитей, не распространяющий горение при групповой прокладке по категории D, с пониженным дымо- и газовыделением, не выделяющий коррозионно-активных газообразных продуктов при горении и тлении, содержащий восемь ОВ типа ОМ2 в буферном покрытии, с длительно допустимым растягивающим усилием ОК, равным 0,05 кН, для тропического климата:

OКМАнг(D)-HF-4OM2(Б)-0,05-Ж

Примечание - Перекрестные обозначения подвесных типов ОК согласно стандартам МЭК и внутриотраслевым стандартам ПАО «Россети» приведены в приложении Б.

6 Технические требования

6.1 Общие требования

6.1.1 ОК должны соответствовать требованиям настоящего стандарта и НД на конкретные ОК.

6.1.2 В НД на конкретные ОК могут быть установлены более жесткие требования или дополнительные требования, не предусмотренные настоящим стандартом.

6.1.3 В НД на конкретные ОК должны быть приведены:

- число и тип ОВ,

- число, материал, конструкция ТПЖ (при наличии),

- конструктивные элементы ОК.

6.1.4 В НД на конкретные ОК должны быть приведены наружные размеры, расчетная масса и минимальная строительная длина. Рекомендуемая минимальная строительная длина ОК - не менее 1000 м.

6.2 Основные показатели и характеристики

6.2.1 Требования к конструкции

6.2.1.1 Диаметр отражающей оболочки ОВ в ОК должен быть (125 ± 1) мкм.

Примечание - Допуск на отклонения диаметра отражающей оболочки ОВ типа ОМ1 должен быть ± 2 мкм.

6.2.1.2 Усилие снятия акрилового первичного защитного покрытия с ОВ, размещенного в ОК, должно находиться в диапазонах, Н:

- среднее - 1,0 - 5,0,

- пиковое - 1,0 - 8,9.

6.2.1.3 ОВ в составе ОК должны иметь защиту от механических воздействий и, как правило, располагаться в ОМ, выполненных в виде радиально герметичных полимерных или металлических трубок. Другими вариантами размещения ОВ могут быть пазы в профилированных сердечниках или миниатюрные кабели с волокнами в плотном вторичном защитном (буферном) покрытии. ОВ могут быть сгруппированы в пучки и ленточные элементы. Конкретный набор конструктивных элементов, включая число и размеры (наружный диаметр) ОМ в составе ОК, а также число ОВ в составе одного ОМ должны быть указаны в НД на конкретные ОК.

6.2.1.4 В OK должна быть обеспечена однозначность идентификации ОВ и ОМ.

Рекомендации по цветовому кодированию ОВ в составе ОМ с учетом [1], [2] приведены в таблице В.1 приложения В.

Рекомендации по цветовому кодированию счетного и направляющего ОМ, выполненных из полимерного материала, приведены в таблице В.2 приложения В.

Рекомендации по цветовому кодированию ОМ, выполненных из металла, приведены в таблице В.3 приложения В.

6.2.1.5 ОК групп З, В и П должны иметь защиту от продольного распространения воды.

Примечание - Необходимость обеспечения защиты от продольного распространения воды в ОК подгруппы ЗТ, а также в ОК для прокладки в коллекторах и туннелях уточняется при заказе.

6.2.1.6 Наружная оболочка ОК групп З, В (при наличии) и С должна быть выполнена из полимерной композиции, стойкой к воздействию ультрафиолетового излучения.

Примечание - Допускается у ОК подгруппы П3 вместо наружной полимерной оболочки применять покрытие из пучков полипропиленовых нитей.

6.2.1.7 Толщина полимерной наружной оболочки ОК должна быть не менее значений, приведенных в таблице 1.

Таблица 1 - Толщина полимерной наружной оболочки ОК

Группа, подгруппа ОК

Толщина наружной
оболочки, мм, не менее

З:

- для прокладки в коллекторах и туннелях;

- в кабельной канализации;

- по мостам и эстакадам ЗК

1,5

- в легких песчаных и глинистых грунтах;

- в тяжелых глинистых, гравийных и щебенистых грунтах и болотах глубиной не более 2 м;

- в скальных грунтах и грунтах, подверженных мерзлотным деформациям;

- через водные преграды и в болотах глубиной более 2 м

2,0

ЗТ

0,5

ВА

0,6

ВЭ, ВП1)

1,2

ВД

1,22)

П, П1, П2, П3

2,0

С

1,5

Р

1,0

М

0,5

1) Для ОК подгруппы ВП (навивных) толщина наружной оболочки должна быть не менее 0,4 мм.

2) Для подвески на ЛЭП 35 кВ и выше толщина наружной оболочки должна быть не менее 1,7 мм.

6.2.1.8 Наружная оболочка ОК группы В, предназначенных для применения в условиях воздействия электрического поля с разностью потенциалов более 12 кВ, должна быть выполнена из материала, стойкого к трекингу (электрической коррозии).

6.2.1.9 Наружная полимерная оболочка ОК должна быть герметичной (иметь радиальную герметичность).

6.2.1.10 На поверхности наружной оболочки не должно быть вмятин, трещин, раковин, вздутий, выводящих ее толщину и диаметр ОК за установленные отклонения, приведенные в НД на конкретные ОК.

6.2.1.11 Под наружной оболочкой ОК допускается наличие одной или двух нитей (рипкорда) для ее разрезания.

6.2.1.12 Металлические повивы ОК подгрупп В, ВГ и ВФ должны быть выполнены в виде проволок из алюминия, алюминиевых сплавов, или стальных оцинкованных проволок, или плакированных алюминием стальных проволок, или в виде комбинации из проволок указанных типов.

Направление скрутки каждого повива ОК должно быть противоположным направлению скрутки предыдущего повива.

Наружный повив ОК должен иметь правое направление скрутки.

Пространство между элементами повивов допускается заполнять смазкой для защиты от коррозии.

6.2.2 Требования к оптическим параметрам

6.2.2.1 Максимальное значение коэффициента затухания ОК с одномодовыми ОВ при приемке и поставке должно быть не более указанного в таблице 2.

Таблица 2 - Максимальное значение коэффициента затухания ОК с одномодовыми ОВ при приемке и поставке

Назначение ОК

Коэффициент затухания, не более, дБ/км,
на длине волны, нм

1310

1550

Для линий с повышенными требованиями к коэффициенту затухания

0,34

0,19

Для других применений

0,40

0,22

Для ОК с ОВ в буферном покрытии

0,6

0,4

6.2.2.2 Максимальное значение коэффициента затухания ОК с многомодовыми ОВ при приемке и поставке должно быть не более указанного в таблице 3.

Таблица 3 - Максимальное значение коэффициента затухания ОК с многомодовыми ОВ при приемке и поставке

Тип ОВ

Коэффициент затухания, не более, дБ/км, на длине волны, нм

850

1300

ОМ1, ОМ2

3,0

0,8

ОМ3 - ОМ5

3,5

1,0

Для ОК с ОВ в буферном покрытии

4,0

1,5

6.2.2.3 Диаметр модового поля одномодовых ОВ на длине волны 1310 нм должен быть, мкм:

- для ОВ категории G.652:

- для подкатегории G.652D - (9,2 ± 0,4),

- подкатегории G.652B - (9,2 ± 0,5);

- для ОВ категории G.657:

- для подкатегории G.657A1 - (9,2 ± 0,4),

- подкатегорий G.657A2, G.657B2 и G.657B3 - (8,6 ± 0,4).

Диаметр модового поля остальных типов одномодовых ОВ (см. приложение А) должен соответствовать ГОСТ Р МЭК 60793-2-50.

6.2.2.4 Другие оптические параметры ОК определены типом применяемых ОВ в составе ОК (см. приложение А) и должны соответствовать ГОСТ Р МЭК 60793-2-50 и ГОСТ Р МЭК 60793-2-10.

6.2.2.5 Требования к оптическим параметрам ОК со специальными типами ОВ (с повышенной стойкостью к отдельным внешним воздействующим факторам) должны быть установлены НД на конкретные ОК.

6.2.3 Требования к электрическим параметрам

6.2.3.1 Электрическое сопротивление постоянному току ТПЖ, при их наличии в составе ОК (комбинированном ОК), пересчитанное на длину 1000 м и температуру 20 °С, должно соответствовать требованиям ГОСТ 22483 и установлено в НД на конкретные комбинированные ОК с учетом требований заказчика.

6.2.3.2 Электрическое сопротивление изоляции ТПЖ (при их наличии в составе ОК), пересчитанное на длину 1000 м, должно составлять не менее 20 МОм ∙ км (не менее 1,0 МОм ∙ км для ТПЖ с изоляцией из полимерных композиций, пониженной пожароопасности).

6.2.3.3 Изоляция ТПЖ комбинированных ОК должна выдерживать в течение не менее 2 мин испытательное напряжение переменного тока частотой 50 Гц или постоянного тока. Значение испытательного напряжения должно быть установлено в НД на конкретный ОК.

6.2.4 Требования к материалам

6.2.4.1 Материалы, применяемые в составе ОК, должны соответствовать требованиям НД на конкретные ОК и иметь формуляры, паспорта или сертификаты предприятий-изготовителей.

Параметры ОВ, применяемых в ОК, по 6.2.1.1, 6.2.1.2, 6.2.2.3, а также соответствие требованиям надежности должны быть подтверждены протоколами испытаний, проводимых в соответствующих аккредитованных испытательных организациях не реже одного раза в два года.

6.2.4.2 Применяемые в конструкции ОК заполняющие гелеобразные составы должны быть совместимы с другими материалами ОК, не оказывать влияния на характеристики ОВ, легко удаляться при монтаже, не вызывать коррозию конструктивных элементов ОК.

6.3 Требования стойкости и прочности к механическим воздействиям

6.3.1 ОК должны быть стойкими к воздействию растягивающего усилия, значения которых приведены в таблице 4.

Для ОК подгрупп В, ВГ, ВФ и ВД в НД должны быть приведены следующие данные:

- значение разрывного усилия,

- значение максимально допустимого растягивающего усилия, которое допускается прикладывать к ОК в процессе прокладки и монтажа,

- среднеэксплуатационное значение растягивающего усилия,

- значение вытяжки ОК в течение срока его эксплуатации,

- значения начального (монтажного) и конечного (после вытяжки) модулей упругости.

Примечания

1 Нормируемое значение разрывного усилия ОК подгрупп В, ВГ, ВФ должно составлять не менее 95 % от суммарного разрывного усилия, составляющих эти ОК проволок с учетом [3] и [4].

2 В НД на конкретный ОК могут быть приведены и другие технические характеристики.

6.3.2 ОК должны быть стойкими к воздействию раздавливающего усилия, значения которых приведены в таблице 4.

6.3.3 ОК должны быть прочными к воздействию ударов, значения которых приведены в таблице 4.

Таблица 4 - Требования стойкости ОК к воздействию растягивающего усилия и раздавливающего усилия, прочности к воздействию удара

Группа, подгруппа ОК

Статическое растягивающее усилие1),
кН, не менее

Раздавливающее усилие,
кН/100 мм, не менее

Энергия удара,
Дж, не менее

З:

 

 

 

- для прокладки в коллекторах и туннелях

1,5

3

5

- в кабельной канализации

1,5

3

5

- для прокладки по мостам и эстакадам

2,5

3

5

- для прокладки в легких песчаных и глинистых грунтах

2,5

4

10

- для прокладки в тяжелых глинистых, гравийных и щебенистых грунтах и болотах глубиной не более 2 м

7

7

10

- для прокладки в скальных грунтах и грунтах, подверженных мерзлотным деформациям

20

10

10

- для прокладки через водные преграды и в болотах глубиной более 2 м

20

20

20

- ЗТ

1,0

1

5

ВА

0,4

0,5

1

ВЭ

0,4

3

5

ВП2)

1,0

3

5

ВД

3,03)

2

5

ВГ, ВФ

7,03)

10

10

В (самонесущие металлические)

5,03)

10

5

П, П1, П2

254)

15

20

П3

504)

20

50

С

0,5

3

5

Р

0,4

0,3

3

М

0,05

0,1

1

1) ОК должны допускать кратковременные (динамические) растягивающие усилия, превышающие долговременные (статические) допустимые растягивающие усилия на 15 %.

2) Для ОК подгруппы ВП (навивных):

- допустимое растягивающее усилие - не менее 0,2 кН (значения механической прочности на разрыв более 1 кН);

- допустимое раздавливающее усилие - не менее 1 кН/100 мм;

- энергия удара - не менее 3 Дж.

3) Значения разрывного усилия, среднеэксплуатационного растягивающего усилия и максимально допустимого растягивающего усилия при прокладке и монтаже должны быть установлены в НД на конкретные ОК.

4) Значение допустимых растягивающих усилий (долговременное, кратковременное, при прокладке, монтаже и ремонте и разрывное усилие) для ОК группы П должны быть установлены в НД на конкретные ОК.

6.3.4 OK должны быть прочными к воздействию 20 циклов изгибов на угол ± 90° с радиусом не более 20-кратного наружного диаметра ОК при пониженной температуре окружающей среды:

- ОК групп С, Р и М - минус 10 °С,

- ОК групп З, В и П - минус 30 °С.

6.3.5 ОК должны быть прочными к воздействию 10 циклов осевого кручения на угол ± 180° при пониженной температуре окружающей среды:

- ОК групп С, Р и М - минус 10 °С,

- ОК групп З, В и П - минус 30 °С.

6.3.6 ОК, предназначенные для эксплуатации в районах с сейсмической активностью, должны сохранять работоспособность при сейсмических воздействиях уровня максимального расчетного землетрясения (MPЗ) интенсивностью 9 баллов при уровне установки над нулевой отметкой до 70 м по ГОСТ 30546.1.

ОК, предназначенные для эксплуатации в условиях воздействия вибрации, должны быть стойкими к воздействию вибрации, соответствующие диапазон частот и амплитуда ускорения которой должны быть установлены в НД на эти ОК.

6.3.7 ОК подгрупп В, ВГ, ВФ, ВД и ВП должны быть стойкими к воздействию эоловой вибрации.

6.3.8 ОК подгрупп В, ВГ, ВФ, ВД и ВП должны быть стойкими к воздействию галопирования.

6.3.9 ОК подгрупп В, ВГ, ВФ и ВД должны иметь значение вытяжки не более установленного в НД на конкретные ОК.

6.3.10 ОК должны быть стойкими к воздействию статического изгиба вокруг оправки, равной не более 20 диаметрам ОК, при пониженной температуре воздуха:

- ОК групп З, С, Р и М - при температуре минус 40 °С;

- ОК группы В (кроме подгрупп В и ВГ) - при температуре минус 60 °С.

6.3.11 OK группы З и подгрупп В, ВД, ВГ и ВФ должны быть прочными к изгибу при перемотке через ролик.

6.3.12 ОК групп З и В должны быть стойкими к истиранию полимерной наружной оболочки.

6.3.13 ОМ должны быть стойкими к излому при минимальном диаметре петли ОМ, установленном в НД на конкретные ОК при пониженной температуре воздуха при монтаже:

- групп З, П, С, Р и М - минус 10 °С,

- группы В - минус 30 °С.

6.3.14 ОК группы З (кроме подгруппы ЗТ) должны быть стойкими к повреждению грызунами.

6.3.15 ОК группы З, предназначенные для прокладки через водные преграды и в болотах глубиной более 2 м, должны быть стойкими к воздействию гидростатического давления не ниже 0,7 МПа.

6.3.16 ОК группы П должны быть стойкими к воздействию гидростатического давления, соответствующего глубине прокладки, установленного в НД на конкретные ОК.

6.4 Требования стойкости и прочности к климатическим и биологическим воздействиям

6.4.1 ОК при эксплуатации должны быть стойкими к воздействию пониженной температуры окружающей среды:

- группы В (кроме подгруппы ВА) - минус 60 °С,

- группы З для прокладки по мостам и эстакадам - минус 50 °С,

- группы З (кроме ОК для прокладки по мостам и эстакадам), группы С, подгрупп ВА, П2 и П3 - минус 40 °С,

- групп Р и М - минус 10 °С,

- подгрупп П и П1 - минус 4 °С.

ОК исполнения X при эксплуатации должны быть стойкими к воздействию пониженной температуры окружающей среды:

- группы В (кроме подгруппы ВА) - минус 65 °С,

- группы З, подгрупп ВА, П2 и П3 - минус 60 °С,

- групп Р и М - минус 20 °С.

ОК тропического исполнения при эксплуатации должны быть стойкими к воздействию пониженной температуры окружающей среды минус 10 °С.

6.4.2 ОК должны быть стойкими при эксплуатации к воздействию повышенной температуры окружающей среды:

- группы В - 70 °С,

- группы В тропического исполнения - 80 °С,

- групп Р и М тропического исполнения (для эксплуатации в объектах с повышенной температурой воздуха) - 85 °С,

- ОК других групп и подгрупп - 50 °С.

6.4.3 ОК должны быть стойкими к воздействию циклической смены температур окружающей среды в диапазоне значений от пониженной (по 6.4.1) до повышенной (по 6.4.2).

6.4.4 ОК должны быть стойкими к смене температур при транспортировании и хранении в соответствии с 10.4 и 10.5.

6.4.5 ОК группы З (кроме ОК, предназначенных для прокладки в коллекторах и туннелях, и ОК подгруппы ЗТ) должны быть стойкими к вмораживанию в лед.

6.4.6 Температура каплепадения гидрофобных заполнителей ОК групп З, В и П должна быть не ниже 70 °С.

6.4.7 ОК должны быть стойкими к воздействию повышенной относительной влажности воздуха до 98 % при температуре 35 °С.

6.4.8 ОК тропического исполнения должны быть стойкими к воздействию плесневых грибов.

6.4.9 ОК тропического исполнения должны быть стойкими к воздействию соляного (морского) тумана.

6.5 Требования надежности

6.5.1 Гамма-процентный срок службы ОК должен быть не менее 25 лет при γ = 95 %.

6.5.2 Срок службы исчисляют с даты изготовления ОК и устанавливают в НД на конкретные ОК.

Примечание - Фактический срок службы не ограничивается сроком, указанным в НД на конкретные ОК, а определяется техническим состоянием ОК.

6.5.3 Гамма-процентный срок сохраняемости ОК (при γ = 95 %) при хранении в отапливаемых помещениях должен быть не менее 25 лет; гамма-процентный срок сохраняемости ОК при хранении на открытом воздухе под навесом - не менее 10 лет.

Срок сохраняемости ОК входит в срок службы.

Примечание - Хранение на открытом воздухе под навесом кабелей групп Р и М не допускается.

6.6 Требования к маркировке

6.6.1 Маркировка ОК должна соответствовать требованиям ГОСТ 18690, дополнительным требованиям, изложенным в настоящем подразделе, и требованиям НД на конкретные ОК.

6.6.2 На наружной полимерной оболочке ОК должна быть нанесена маркировка, которая должна быть отчетливо видна и сохраняться на протяжении всего срока службы ОК.

Примечание - На оболочку ОК диаметром менее 4 мм маркировку допускается не наносить. В этом случае маркировку наносят на ярлык, прикрепляемый к бухте (барабану) с ОК.

6.6.3 Маркировка должна содержать следующую информацию:

- наименование предприятия-изготовителя или его товарный знак;

- условное (кодовое) обозначение ОК в соответствии с 5.2;

- год изготовления;

- маркировку погонного метража строительной длины ОК с погрешностью не более ± 1 %.

Примечание - При заказе состав информации, включаемой в маркировку, по согласованию между изготовителем и заказчиком может быть уточнен.

6.6.4 Маркировка, нанесенная на оболочку ОК групп З (за исключением ОК подгруппы ЗТ) и П, должна быть устойчивой к истиранию.

6.6.5 На наружной стороне щеки барабана или на ярлыке, прикрепляемом к барабану, должны быть указаны:

- наименование предприятия-изготовителя или его товарный знак;

- условное (кодовое) обозначение ОК в соответствии с 5.2;

- длина ОК, м;

- масса ОК нетто и брутто, кг;

- наружный диаметр ОК, мм;

- дата изготовления (месяц, год) ОК;

- знак соответствия (при наличии).

6.6.6 В паспорте на ОК, помещенном в полимерный пакет с заваренными кромками, закрепленный на внутренней стороне щеки барабана под обшивкой, должны быть указаны:

- наименование предприятия - изготовителя ОК;

- условное (кодовое) обозначение ОК в соответствии с 5.2;

- номер НД на конкретный ОК;

- регистрационный номер сертификата соответствия ОК техническому регламенту о требованиях пожарной безопасности (при наличии);

- заводской номер строительной длины ОК;

- погонная длина ОК, м;

- тип и число ОВ;

- расцветка ОВ в ОМ и/или в пучках ОВ;

- расцветка ОМ, маркировочных нитей и изоляции ТПЖ (при наличии);

- коэффициенты затухания для каждого ОВ на рабочих длинах волн;

- показатель преломления ОВ на рабочих длинах волн;

- предприятие - изготовитель ОВ;

- сопротивление изоляции наружной полимерной оболочки (при наличии металлических конструктивных элементов в защитных покровах);

- электрическое сопротивление и изоляции ТПЖ (при наличии ТПЖ);

- наружный диаметр ОК, мм;

- максимальное допустимое усилие растяжения;

- масса ОК протяженностью 1 км, кг;

- дата изготовления ОК (месяц, год).

Примечание - При заказе конкретного ОК состав информации, указываемой в паспорте, по согласованию между изготовителем и заказчиком может быть уточнен.

6.7 Требования к упаковке

6.7.1 Упаковка ОК должна соответствовать требованиям ГОСТ 18690, дополнительным требованиям, изложенным в настоящем подразделе и требованиям НД на конкретные ОК.

6.7.2 ОК должны поставляться на барабанах с диаметром шейки не менее 40 наружных диаметров ОК.

6.7.3 ОК должен быть намотан на барабан без перехлестов витков, одной строительной длиной.

6.7.4 Внутренний конец ОК, длиной не менее 2 м, должен быть выведен на щеку барабана и доступен для измерений.

6.7.5 Концы ОК должны быть герметично заделаны термоусаживаемыми колпачками и закреплены.

7 Требования безопасности и охраны окружающей среды

7.1 Требования электрической безопасности

7.1.1 Электрическое сопротивление наружной полимерной оболочки ОК группы З между металлическими конструктивными элементами (при их наличии в составе ОК), соединенных между собой и землей (водой), пересчитанное на длину 1000 м и температуру 20 °С, должно составлять не менее 20 МОм ∙ км (не менее 1,0 МОм ∙ км для ОК с оболочкой из полимерных композиций, не распространяющих горение при групповой прокладке).

7.1.2 Наружная полимерная оболочка ОК группы З должна выдерживать испытательное напряжение не менее 10 кВ переменного тока частотой 50 Гц или 20 кВ постоянного тока между металлическими конструктивными элементами, соединенными между собой и землей (водой), в течение не менее 5 с.

7.1.3 ОК группы З с металлическими конструктивными элементами должны быть прочными к воздействию импульсного тока молнии со значением, соответствующим категории молниестойкости ОК, указанной в таблице 5 с учетом [5], если она установлена в НД на конкретный ОК.

Таблица 5 - Категории молниестойкости ОК группы З

Категория молниестойкости ОК

Выдерживаемое значение импульсного тока молнии, не менее, кА

I

105

II

80

III

55

IV

20

7.1.4 ОК подгрупп В, ВГ, ВФ и ВП должны быть стойкими к прохождению тока короткого замыкания ЛЭП с учетом [6].

Примечание - Для подгруппы ВП требование относится к ОК, предназначенным для навивки и присоединения к грозозащитному тросу.

7.1.5 ОК подгрупп ВГ и ВП должны быть стойкими к прохождению тока молнии с переносимым зарядом 50, 100, 150 или 200 Кл, в зависимости от категории молниестойкости ОК (0...3) (см. таблицу 6), установленной в НД на конкретные ОК с учетом [6].

Таблица 6 - Категории молниестойкости ОВ подгрупп ВН и ВП

Наименование характеристики

Категория 0

Категория 1

Категория 2

Категория 3

Ток, А

100

200

300

400

Переносимый заряд, Кл

50

100

150

200

Примечание - Для подгруппы ВП требование предъявляется к ОК, предназначенным для навивки и присоединения к грозозащитному тросу, к ОК подгруппы ВГ или верхнему проводу ЛЭП.

7.2 Требования пожарной безопасности

7.2.1 ОК, предназначенные для одиночной прокладки, не должны распространять горение при одиночной прокладке в соответствии с ГОСТ 31565.

7.2.2 ОК, предназначенные для групповой прокладки, не должны распространять горение при групповой прокладке в зависимости от категории испытаний по пределу распространения горения, установленному в НД на конкретные ОК, в соответствии с ГОСТ 31565.

7.2.3 Дымообразование ОК с индексом LS не должно приводить к снижению светонепроницаемости более чем на 50 %, а кабелей с индексом HF - более чем 40 % в соответствии с ГОСТ 31565.

7.2.4 Значения показателей коррозионной активности продуктов дымо- и газовыделения (содержание газов галогеносодержащих кислот в пересчете на соляную кислоту (HCl), удельная проводимость водного раствора с адсорбированными продуктами дымогазовыделения и показатель pH при горении и тлении полимерных материалов, содержащихся в ОК с индексом HF, должны соответствовать указанным в ГОСТ 31565.

Примечание - Требования к показателям коррозионной активности продуктов дымо- и газовыделения предъявляют ко всем полимерным материалам в составе ОК, имеющим массу более 1 % от общей массы полимерных материалов ОК.

7.2.5 Значения эквивалентного показателя токсичности продуктов горения ОК с индексами LS, HF и LTx должны соответствовать установленным в ГОСТ 31565.

7.2.6 Значение показателя огнестойкости (время сохранения работоспособности в условиях воздействия пламени) ОК с индексом FR должно быть указано в НД на конкретные ОК.

7.2.7 Класс пожарной опасности в соответствии с ГОСТ 31565 должен быть указан в НД на конкретные ОК.

7.3 Требования охраны окружающей среды

7.3.1 Экологическая безопасность ОК должна быть обеспечена соответствием требованиям 7.1, 7.2.

7.3.2 Материалы конструкций ОК при установленных настоящим стандартом допустимых температурах хранения и эксплуатации не должны выделять вредных веществ в концентрациях, опасных для организма человека и загрязняющих окружающую среду.

7.3.3 Утилизацию выведенных из эксплуатации ОК следует проводить в соответствии с требованиями ГОСТ Р 53692 с комплексом документированных по ГОСТ Р 52108 организационно-технологических процедур. Паспорт опасности отходов при утилизации должен быть оформлен по ГОСТ 53691.

8 Правила приемки

8.1 Общие требования

8.1.1 Правила приемки ОК должны соответствовать ГОСТ 15.309, дополнительным требованиям настоящего раздела и требованиям НД на конкретные ОК.

8.1.2 Для проверки соответствия ОК требованиям устанавливают следующие виды контрольных испытаний: квалификационные, приемо-сдаточные, периодические, типовые.

8.1.3 Составные части и материалы следует подвергать входному контролю в соответствии с действующими на предприятии-изготовителе ОК НД.

8.2 Квалификационные испытания

8.2.1 Квалификационные испытания проводят с целью подтверждения готовности производства к изготовлению вновь разработанных, модернизированных, модифицированных либо выпускавшихся ранее другим предприятием ОК, соответствующих требованиям НД на конкретные ОК, в заданном объеме.

8.2.2 В состав квалификационных испытаний включают проверку соответствия ОК всем требованиям, установленным НД на конкретный ОК.

Допускается не включать в состав квалификационных испытаний ОК проверку соответствия отдельным пунктам требований НД, которые не могут измениться при освоении производства, при наличии положительных результатов предварительных испытаний этих ОК, подтвержденных соответствующими протоколами.

8.2.3 Квалификационные испытания проводят на образцах ОК, отобранных из числа установочной серии, прошедших контроль в объеме проверок, предусмотренных в НД на конкретные ОК для приемо-сдаточных испытаний.

Количество образцов, подвергаемых квалификационным испытаниям, устанавливают в соответствующем разделе НД или в программе квалификационных испытаний, согласованной с разработчиком ОК и заказчиком (при его наличии).

8.2.4 Испытания по подтверждению соответствия требований надежности, совместимости и безопасности следует проводить в испытательных организациях (центрах, лабораториях), имеющих необходимую область аккредитации.

8.3 Приемо-сдаточные испытания

8.3.1 ОК предъявляют к приемке партиями.

За партию принимают строительные длины ОК одного маркоразмера, одновременно предъявляемые к приемке.

Минимальный объем партии - одна строительная длина.

8.3.2 Состав испытаний ОК и деление на группы испытаний, объем и рекомендуемая последовательность испытаний в пределах каждой группы установлены в таблице 7.

8.3.3 Испытания ОК проводят в объеме и последовательности в пределах каждой группы, указанной в таблице 7, по плану сплошного контроля с приемочным числом С = 0.

По группе С-2 - по плану выборочного контроля с объемом выборки 25 % от партии с приемочным числом С = 0.

8.3.4 Значение строительной длины ОК контролируют в процессе его производства.

8.3.5 Допускается испытания по группе С-2 проводить в процессе изготовления ОК.

Таблица 7 - Приемо-сдаточные испытания

Группа
испытаний

Вид испытания или проверки

Пункт

технических
требований

методов
контроля

С-1

Проверка конструкции

6.1.3, 6.1.4,
6.2.1.3,
6.2.1.7,
6.2.1.9
6.2.1.10,
6.2.1.12

9.2.1,
9.2.2

Проверка строительной длины

6.1.4

9.2.3

Измерение коэффициента затухания ОК

6.2.2.1,
6.2.2.2

9.3.1

С-2

Измерение электрического сопротивления ТПЖ

6.2.3.1

9.4.1

Измерение электрического сопротивления изоляции ТПЖ

6.2.3.2

9.4.2,

Испытание напряжением изоляции ТПЖ и наружной оболочки

6.2.3.3,
7.1.2

9.4.3, 9.10.1.2

С-3

Проверка маркировки и упаковки

6.6.1, 6.6.2,
6.6.3, 6.7

9.9.1

8.3.6 При получении отрицательных результатов приемо-сдаточных испытаний ОК решение принимают согласно разделу 6 ГОСТ 15.309-98.

8.4 Периодические испытания

8.4.1 Состав, деление на группы испытаний и рекомендуемая последовательность периодических испытаний ОК в пределах каждой группы установлены в таблице 8.

Испытания проводят не реже одного раза в год, по плану выборочного двухступенчатого контроля с объемом выборки n1 = n2 = 3 образца.

В выборку включают отобранные случайным образом образцы ОК от партии текущего выпуска, прошедшие приемо-сдаточные испытания.

Таблица 8 - Периодические испытания

Группа
испытаний

Вид испытания или проверки

Пункт

технических
требований

методов
контроля

П-1

Стойкость к растягивающему усилию

6.3.1

9.6.1

Стойкость к раздавливающему усилию

6.3.2

9.6.2

Прочность к удару

6.3.3

9.6.3

Стойкость к монтажным изгибам

6.3.4

9.6.4

Стойкость к осевому кручению

6.3.5

9.6.5

Стойкость к статическому изгибу

6.3.10

9.6.13

Стойкость к абразивному истиранию оболочки и маркировки оболочки1)

6.3.12,
6.6.4

9.6.11

Стойкость ОМ к излому

6.3.13

9.6.12

П-2

Водонепроницаемость1)

6.2.1.5

9.6.15

Стойкость к воздействию гидростатического давления1)

6.3.15, 6.3.16

9.6.16

Стойкость к воздействию пониженной и повышенной температур окружающей среды

6.4.1, 6.4.2

9.7.1

Стойкость к циклической смене температур

6.4.3

9.7.1

Температура каплепадения гидрофобного заполнителя, характеристики отекания и испарения заполнителя

6.4.6

9.7.4

Совместимость материалов конструкции ОК2)

6.2.4.2

9.5.2

П-3

Нераспространение горения 1), 2)

7.2.1,
7.2.2

9.10.2.1,
9.10.2.2

Дымогазовыделение1), 2)

7.2.3

9.10.2.3

Коррозионная активность продуктов дымо- и газовыделения при горении и тлении1), 2)

7.2.4

9.10.2.4,
9.10.2.5

Показатель огнестойкости1), 2)

7.2.6

9.10.2.7

П-4

Измерение электрического сопротивления оболочки

7.1.1

9.10.1.1

1) Проводят для ОК конкретных групп при наличии требований в НД.

2) Испытания проводят с периодичностью один раз в пять лет в испытательных центрах (лабораториях), аккредитованных в установленном порядке в соответствующей области.

Допускается проводить все испытания на одних образцах ОК.

Допускается по группе П-2 подтверждать соблюдение требований стойкости к воздействию повышенной и пониженной температур проведением испытаний на стойкость к воздействию циклической смены температур.

8.4.2 Для первой выборки приемочное число С = 0. При числе дефектов первой выборки, равном 1, проверяют вторую выборку. Приемочное число суммарной (n1 и n2) выборки С = 1.

8.4.3 Если при периодических испытаниях будет обнаружено несоответствие ОК техническим требованиям, то приемка должна быть приостановлена до выявления и устранения причин брака.

8.4.4 После устранения обнаруженных дефектов повторным периодическим испытаниям подвергают продукцию ОК, произведенную после устранения дефектов, в полном объеме на удвоенном количестве образцов.

8.4.5 Результаты периодических испытаний должны быть оформлены актом, утвержденным руководством предприятия - изготовителя ОК. К акту должны быть приложены протоколы проведенных испытаний.

8.5 Типовые испытания

8.5.1 Типовые испытания ОК проводят в случаях изменения технологии или применяемых материалов по программе, согласованной с разработчиком ОК.

Состав испытаний определяют исходя из степени возможного влияния предлагаемых изменений на качество выпускаемых ОК.

В состав типовых испытаний должны быть включены испытания по подтверждению требований надежности.

8.5.2 По результатам испытаний, оформленных протоколом и актом, принимают решение о возможности и целесообразности внесения изменений в техническую документацию.

8.5.3 Результаты типовых испытаний должны быть оформлены актом, утвержденным руководством предприятия - изготовителя ОК.

Акт должен содержать выводы и предложения о возможности внесения изменений в документацию на ОК. К акту должны быть приложены протоколы проведенных испытаний.

9 Методы контроля

9.1 Общие требования

9.1.1 Все испытания и измерения при отсутствии в методах контроля особых указаний проводят в НКУ:

- температура окружающего воздуха - от 15 °С до 35 °С;

- относительная влажность - от 45 % до 80 %;

- атмосферное давление - от 630 до 800 мм рт. ст.

9.1.2 Испытания проводят с использованием испытательного оборудования, аттестованного по ГОСТ Р 8.568, и средств измерений, поверенных в установленном порядке.

9.1.3 Испытания ОК на стойкость и прочность к внешним воздействиям проводят на всех ОВ, если их число в составе ОК не более 8 шт.

В других случаях испытанию должно быть подвергнуто минимум одно ОВ из каждого второго модуля, но не менее восьми ОВ в ОК. Если испытанию подвергают ОВ не из каждого ОМ, ОВ, подвергаемые испытанию, не должны быть расположены в соседних модулях и должны содержать такое же или большее количество ОВ относительно соседних ОМ, ОВ в которых не контролируют.

При проверке оптической целостности и контроле коэффициента затухания во время испытаний на стойкость (прочность) к внешним воздействующим факторам допускается все испытуемые ОВ последовательно соединять в шлейф.

9.2 Проверка конструкции

9.2.1 Проверку конструкции (6.1.3, 6.1.4, 6.2.1.7, 6.2.1.10, 6.2.1.12) проводят путем внешнего осмотра разделанного конца ОК и измерениями размеров конструктивных элементов ОК.

Проверку геометрических размеров конструктивных элементов проводят по ГОСТ 12177.

Проверку диаметра отражающей оболочки ОВ в ОК (6.2.1.1) проводят по ГОСТ Р МЭК 60793-1-20.

Проверку усилия снятия акрилового первичного защитного покрытия с ОВ (6.2.1.2) проводят по ГОСТ Р МЭК 60793-1-32.

Проверку радиальной герметичности (целостности) сварных металлических ОМ (6.2.1.3) осуществляют методом непрерывной магнитной дефектоскопии в ходе производства ОМ, а также контролем шлифов сварных швов образцов ОМ под микроскопом.

Проверку радиальной герметичности полимерных ОМ в ходе производства не проводят. Герметичность должна быть обеспечена применяемыми материалами и технологией изготовления.

ОК считают выдержавшим испытание, если конструкция ОК и характеристики его конструктивных элементов соответствуют значениям НД на конкретные ОК.

9.2.2 Проверку герметичности (целостности) наружной полимерной оболочки ОК, имеющей металлические конструктивные элементы под ней (6.2.1.9), проводят по ГОСТ Р 54813 в процессе наложения оболочки ОК на аппарате сухого испытания приложением испытательного напряжения между электродом аппарата и металлическими конструктивными элементами ОК.

OK считают выдержавшим испытание, если не произошел электрический пробой полимерной оболочки.

9.2.3 Значение строительной длины ОК (6.1.4) определяют сопоставлением нанесенных на наружную оболочку меток текущей длины, расположенных у концов ОК, или по методу В ГОСТ Р МЭК 60793-1-22 (методу рефлектометрии) с учетом показателя преломления ОВ в составе ОК.

9.2.4 Контроль отсутствия обрывов ТПЖ и контактов между ТПЖ проводят при помощи любого индикаторного прибора или сигнальной лампы при постоянном напряжении не выше 42 В.

9.3 Проверка оптических параметров

9.3.1 Измерение коэффициента затухания ОВ в ОК (6.2.2.1, 6.2.2.2) проводят методом обратного рассеяния по методу С ГОСТ Р МЭК 60793-1-40 на строительной длине ОК не менее 1000 м.

9.3.2 Определение диаметра модового поля одномодовых ОВ (6.2.2.3) проводят по ГОСТ Р МЭК 60793-1-45.

9.3.3 Контроль вносимых оптических потерь при проведении испытаний на стойкость и прочность к механическим воздействиям проводят по методу В ГОСТ Р МЭК 60793-1-40 или по методу А ГОСТ Р МЭК 60793-1-46 на длине волны (1550 ± 10) нм в ОК с одномодовыми ОВ и на длине волны (1300 ± 20) нм в ОК с многомодовыми ОВ, если иное не установлено в конкретных методах испытаний.

9.3.4 При измерениях коэффициента затухания и вносимых оптических потерь в процессе испытаний на стойкость и прочность к внешним воздействиям считают, что прирост оптических потерь или увеличение коэффициента затухания отсутствует, если измеренные значения находятся соответственно:

- для одномодовых ОВ - в пределах менее или равно ± 0,05 дБ или 0,05 дБ/км;

- многомодовых ОВ - в пределах менее или равно: ± 0,2 дБ или 0,2 дБ/км.

Примечание - Указанные значения относят к погрешности измерений.

9.4 Проверка электрических параметров

9.4.1 Измерение электрического сопротивления ТПЖ (6.2.3.1) проводят по ГОСТ 7229.

ОК считают выдержавшим испытание, если электрическое сопротивление ТПЖ соответствует установленным в НД на конкретные ОК значениям.

9.4.2 Измерение электрического сопротивления изоляции (6.2.3.2) между ТПЖ и металлическими конструктивными элементами ОК, соединенными вместе, при измерительном напряжении от 100 до 500 В проводят по ГОСТ 3345.

ОК считают выдержавшим испытание, если электрическое сопротивление изоляции ТПЖ соответствует установленным НД на конкретные ОК.

Примечание - Значение измерительного напряжения определяется типом применяемого прибора и должно обеспечивать требуемую точность измерений в соответствии с ГОСТ 3345.

9.4.3 Испытание изоляции ТПЖ (6.2.3.3) испытательным напряжением проводят по ГОСТ 2990.

ОК считают выдержавшим испытание, если при воздействии установленного в НД на конкретные ОК испытательного напряжения не произошло пробоя или поверхностного перекрытия изоляции.

9.5 Проверка требований к материалам

9.5.1 Проверку на соответствие требованиям к материалам (6.2.4.1) проводят при входном контроле сопоставлением НД на конкретные ОК и технической документации (НД, спецификация, паспорт) на материалы, используемые для изготовления ОК.

Материалы считают отвечающими предъявляемым к ним требованиям при соответствии их технических характеристик требованиям технической документации предприятия-изготовителя.

9.5.2 Проверку совместимости конструктивных материалов и элементов, входящих в состав ОК, с заполняющими гелеобразными составами (6.2.4.2) проводят по методике, указанной в приложении Г.

9.6 Проверка стойкости и прочности к механическим воздействиям

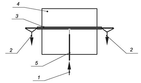
9.6.1 Испытание ОК на воздействие растягивающего усилия (6.3.1) проводят по схеме, приведенной на рисунке 2, с учетом [7] (метод Е1).

Длина ОК, подвергаемая растяжению, - не менее 50 м, если в НД на конкретные ОК не установлено иное значение.

Крепление ОК должно предотвращать его проскальзывание при растяжении.

1 - барабаны крепления OK; 2 - система натяжных роликов; 3 - система роликов-сателлитов; 4 - оборудование растяжения;
5 - датчик растягивающего усилия; 6 - система роликов и зажимы крепления ОК; 7 - участок ОК, подвергаемый растяжению;
8 - система роликов; 9 - ОК на барабане; 10 - средства измерений ОК

Рисунок 2 - Схема испытания ОК на воздействие растягивающего усилия
с использованием системы роликов и барабанов крепления ОК

Для ОК, требующих применения специальной арматуры крепления (например, ОК подгруппы В и др.), испытание проводят в соответствии со схемой, приведенной на рисунке 3, с применением рекомендованной для данного маркоразмера ОК арматуры крепления. Длина участка ОК, подвергаемая растяжению, в этом случае должна составлять не менее 25 м.

1 - оборудование растяжения; 2 - датчик растягивающего усилия; 3 - натяжная арматура крепления ОК;
4 - участок ОК, подвергаемый растяжению; 5 - средства измерений ОВ

Рисунок 3 - Схема испытания ОК на воздействие растягивающего усилия
с применением арматуры крепления ОК

Значение растягивающего усилия должно соответствовать приведенному в таблице 4, если в НД на конкретные ОК не установлены другие требования.

Скорость растяжения участка ОК - не более 100 мм/мин.

Постепенно увеличивая растягивающее усилие (ступенями не более 20 % от значения максимально допустимого растягивающего усилия, установленного в НД на конкретные ОК), регистрируют изменение вносимых оптических потерь.

Измерение вносимых оптических потерь проводят в соответствии с 9.3.3.

В ОК с одномодовыми ОВ контролируют изменение длины ОВ по ГОСТ Р МЭК 60793-1-22.

При испытании могут быть использованы также средства измерений с несколькими каналами измерения, обеспечивающие контроль вносимых оптических потерь и/или удлинения ОВ.

Полученные в процессе увеличения нагрузки значения оптических потерь фиксируют в качестве справочных значений, затем следует:

- приложить к ОК кратковременно допустимое (динамическое) растягивающее усилие;

- выдержать значение приложенной нагрузки в течение не менее 10 мин;

- уменьшить растягивающее усилие до значения долговременной (статической) нагрузки и поддерживать это значение растягивающего усилия в течение не менее 10 мин;

- измерить вносимые оптические потери и удлинение одномодовых ОВ. Если отмечаются флюктуации значений, продолжительность приложения усилия увеличивать до тех пор, пока флюктуации не прекратятся;

- снять растягивающее усилие;

- выдержать ОК после снятия нагрузки в течение 5 мин;

- измерить вносимые оптические потери и определить удлинение ОВ.

ОК считают выдержавшим испытание:

- если по истечении 10 мин воздействия допустимого растягивающего усилия (во время воздействия) приращение вносимых оптических потерь не превышает 0,1 дБ при измерении одномодовых ОВ и 0,35 дБ при измерении многомодовых ОВ;

- если удлинение одномодовых ОВ при испытании не превышает:

- в ОК любых групп с повышенными требованиями к коэффициенту затухания - 0,2 %;

- ОК подгрупп ОКБ, ОКВДА, ОКВГ, ОКВФ - 0,2 %,

- ОК группы З, эксплуатирующихся в тяжелых глинистых, гравийных и щебенистых грунтах и болотах глубиной до 2 м, в скальных грунтах и грунтах, подверженных мерзлотным деформациям, а также прокладываемых через водные преграды и болота глубиной более 2 м, - 0,3 %,

- ОК группы П - значения, установленного в НД на конкретный ОК,

- ОК группы М и подгруппы ВА - 0,6 %,

- другие ОК - 0,45 %;

- если после снятия нагрузки приращение вносимых оптических потерь отсутствует (с учетом 9.3.4), сопротивление ТПЖ и изоляции ТПЖ (при наличии) соответствуют нормируемым значениям и отсутствуют видимые без применения увеличительных приборов повреждения ОК.

Примечание - Для ОК с повышенными требованиями к коэффициенту затухания приращение оптических потерь, измеренное во время воздействия растягивающего усилия (статической нагрузки), должно отсутствовать (с учетом 9.3.4).

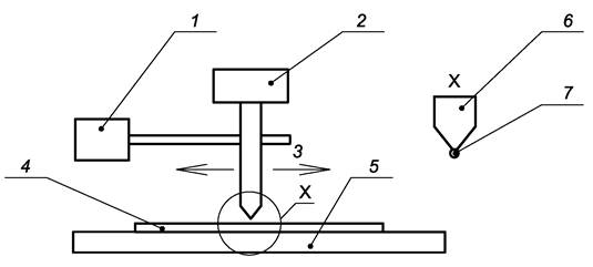
9.6.2 Испытание ОК на воздействие раздавливающего усилия (6.3.2) проводят по схеме, приведенной на рисунке 4, с учетом [7] (метод Е3А) на образце ОК длиной не менее 10 м.

R, равный 5 мм, - радиус скругления кромок подвижной плиты;
F - усилие, прикладываемое к подвижной плите в соответствии с документацией на ОК;
L - длина плиты; 1 - перемещаемая плита; 2 - испытуемый образец ОК; 3 - неподвижная плита

Рисунок 4 - Схема испытания ОК на воздействие раздавливающего усилия

Длина участка ОК, подвергаемого раздавливанию, - (100 ± 5) мм.

Подвергаемый раздавливанию участок ОК размещают между плитами испытательного оборудования таким образом, чтобы предотвратить его случайное перемещение.

Перед приложением раздавливающего усилия контролируемые ОВ в ОК подключают к прибору для измерения вносимых оптических потерь.

Если раздавливающее усилие изменяют ступенчато, соотношение между шагами изменения его значения не должно превышать 1,5:1.

После достижения раздавливающим усилием значения, соответствующего приведенному в таблице 4 (или установленного в НД на конкретные ОК), выдерживают приложенное раздавливающее усилие в течение 10 мин и снимают нагрузку. Испытание проводят на трех участках ОК без осевого смещения ОК.

Расстояние между участками воздействия раздавливающего усилия на ОК должно составлять не менее 500 мм и отличаться от шага скрутки сердечника ОК.

Измерение вносимых оптических потерь проводят в соответствии с 9.3.3.

Контроль отсутствия обрывов ТПЖ и контактов между ТПЖ (при наличии) проводят по 9.2.4.

ОК считают выдержавшим испытание, если:

- во время воздействия раздавливающего усилия приращение вносимых оптических потерь не превышает 0,1 дБ при измерении одномодовых ОВ и 0,35 дБ при измерении многомодовых ОВ,

- по завершении воздействия раздавливающего усилия приращение вносимых оптических потерь в ОВ отсутствует (с учетом 9.3.4),

- отсутствуют обрывы ТПЖ и контакты между ТПЖ;

- отсутствуют видимые без применения увеличительных приборов повреждения конструктивных элементов ОК.

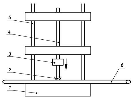
9.6.3 Испытание ОК на воздействие удара (6.3.3) проводят по схеме, приведенной на рисунке 5, с учетом [7] (метод Е4) на образце ОК длиной не менее 5 м.

1 - стальное основание; 2 - стальной боек; 3 - ударник; 4 - направляющая штанга;
5 - опорные штанги; 6 - образец ОК

Рисунок 5 - Схема испытания ОК на воздействие удара

Форма бойка ударника - сферическая (А) или плоская (В) в соответствии с рисунком 6. Число ударных воздействий на один участок ОК - одно воздействие.

Сферическая поверхность бойка (А) Плоская поверхность бойка (В)
d - диаметр бойка; r - радиус скругления ударной поверхности бойка;
1 - плоская поверхность бойка со скругленными кромками

Рисунок 6 - Схема формы бойка ударника

Образец ОК подвергают воздействию удара на трех участках, расположенных друг от друга на расстоянии не менее 500 мм, при этом расстояние между участками удара не должно быть равным шагу скрутки конструктивных элементов ОК.

Значение энергии удара должно соответствовать приведенному в таблице 4, если в НД на конкретные ОК не установлено иное.

Измерение вносимых оптических потерь проводят в соответствии с 9.3.3.

OK считают выдержавшим испытание, если после воздействия удара:

- приращение вносимых оптических потерь в ОВ отсутствует (с учетом 9.3.4);

- отсутствуют видимые без применения увеличительных приборов механические повреждения ОК.

9.6.4 Испытание ОК на стойкость к воздействию многократных изгибов (6.3.4) проводят по схеме, приведенной на рисунке 7, с учетом [7] (метод Е6) на образце ОК длиной не менее 10 м.

Проводят 20 циклов изгибов ОК с радиусом не более 20-кратного наружного диаметра ОК.

Масса натяжного груза должна соответствовать данным, приведенным в таблице 9, если в НД на конкретные ОК не установлены другие требования.

Таблица 9 - Масса натяжного груза

Диаметр ОК, мм

Масса натяжного груза, кг

Не более 2,5

1,5

От 2,6 до 4,0

2,5

От 4,1 до 6,0

4,0

От 6,1 до 9,0

4,5

От 9,1 до 13,0

5,0

От 13,1 до 18,0

5,5

От 18,1 до 24,0

6,5

От 24,1 до 30,0

7,0

Св. 30,1

7,5

1 - зажим; 2 - ось вращения; 3 - образец ОК; 4 - натяжной груз, если он необходим; R - радиус изгиба

Рисунок 7 - Схема испытания ОК на воздействие многократных изгибов

Образец OK изгибают на угол 90° от вертикального положения с последующим выпрямлением в первоначальное положение, затем в той же плоскости изгибают на угол минус 90°, с последующим выпрямлением в первоначальное положение (указанные операции составляют один цикл). Продолжительность выполнения одного цикла составляет от 1 до 5 с.

При испытании ОК нецилиндрической конструкции изгибы проводят в направлении меньшего размера сечения ОК.

Изгибы ОК проводят в камере холода при пониженной температуре воздуха, установленной в 6.3.4, после выдержки ОК при этой температуре в течение не менее 2 ч.

Измерение вносимых оптических потерь проводят в соответствии с 9.3.3.

Контроль отсутствия обрывов ТПЖ и контактов между ТПЖ (при наличии) проводят по 9.2.4.

ОК считают выдержавшим испытание, если после завершения воздействия циклов изгибов:

- приращение вносимых оптических потерь в ОВ отсутствует (с учетом 9.3.4);

- отсутствуют обрывы ТПЖ и контакты между ТПЖ;

- отсутствуют видимые без применения увеличительных приборов повреждения конструктивных элементов ОК.

9.6.5 Испытание ОК на воздействие осевого кручения (6.3.5) проводят по схеме, приведенной на рисунке 8, с учетом [7] (метод Е7) на образце ОК длиной не менее 10 м.

Масса натяжного груза - в соответствии с данными, приведенными в таблице 9.

Значение длины участка осевого кручения ОК групп З, В и П составляет (2 ± 0,2) м, ОК групп С, Р и М - (1 ± 0,1) м.

1 - натяжной груз; 2 - фиксированный зажим ОК; 3 - образец ОК; 4 - вращаемый зажим ОК;
L - длина участка кручения

Рисунок 8 - Схема испытания ОК на воздействие осевого кручения

Если при испытании ОК следует предусматривать большее значение длины участка осевого кручения и массы натяжного груза (например, для ОК морской прокладки и др.), эти значения должны соответствовать НД на конкретные ОК.

Подвижный зажим испытательного стенда вращают по часовой стрелке на 180°, затем возвращают в исходное положение и вращают против часовой стрелки на 180°, после чего снова возвращают в исходное положение.

Указанные операции составляют один цикл. Количество циклов - 10. Периодичность одного цикла - не более 1 мин.

Испытания ОК проводят в камере холода при пониженной температуре воздуха, установленной в 6.3.5, после выдержки ОК при этой температуре в течение не менее 2 ч.

Измерение вносимых оптических потерь проводят в соответствии с 9.3.3.

Контроль отсутствия обрывов ТПЖ и контактов между ТПЖ (при наличии) проводят по 9.2.4.

OK считают выдержавшим испытание, если после завершения воздействия циклов осевых кручений:

- приращение вносимых оптических потерь в ОВ отсутствует (с учетом 9.3.4);

- отсутствуют обрывы ТПЖ и контакты между ТПЖ;

- отсутствуют видимые без применения увеличительных приборов повреждения конструктивных элементов ОК.

9.6.6 Испытание ОК на сейсмостойкость и стойкость к воздействию вибрации (6.3.6) проводят на образцах ОК длиной не менее 10 м. Испытуемый участок образца формируют в виде бухты, которую жестко крепят к испытательной платформе способом, исключающим повреждение образца. Концы ОК выводят за пределы платформы виброустановки и закрепляют, ОВ подключают к средствам измерений.

9.6.6.1 Испытание ОК на сейсмостойкость проводят с учетом ГОСТ 30546.1 и ГОСТ 30546.2 на фиксированных частотах от 5 до 100 Гц. Режимы воздействий для контроля сейсмостойкости ОК при уровне максимального расчетного землетрясения со значением 9 баллов на отметках установки от 30 до 70 м от нулевой отметки по ГОСТ 30546.1 должны соответствовать приведенным в таблице 10. Время воздействия вибрации на каждой частоте должно составлять не менее 2 мин.

Таблица 10

Наименование
характеристики

Значение характеристики

Частота, Гц

5

6

7

8

9

10

15

20

25

30

50

100

Амплитуда ускорения колебаний, м/с2

6,25

6,25

6,25

6,25

6,25

6,1

5,1

4,5

4,0

4,0

4,0

4,0

9.6.6.2 Испытание ОК на стойкость к воздействию вибрации проводят по ГОСТ 20.57.406 (метод 102-1). Диапазон частот и амплитуда ускорения вибрации при проведении испытаний должны соответствовать значениям, установленным в НД на эти ОК.

9.6.6.3 При проведении испытаний измеряют вносимые оптические потери в ОВ, размещенных в ОК, в соответствии с 9.3.3.

9.6.6.4 ОК считают выдержавшим испытание (9.6.6.1 и 9.6.6.2), если:

- во время и после воздействия вибрации приращение вносимых оптических потерь в контролируемых ОВ испытуемого ОК отсутствует (с учетом 9.3.4);

- после завершения воздействия вибрации отсутствуют видимые без применения увеличительных приборов повреждения конструктивных элементов ОК и пробой изоляции ТПЖ (при наличии) при воздействии испытательного напряжения, установленного в НД.

9.6.7 Испытание ОК на воздействие эоловой вибрации (6.3.7) проводят по схеме, приведенной на рисунке 9, с учетом [7] (метод Е19) на образце ОК длиной не менее 50 м.

Длина контролируемых в ходе испытания ОВ, соединенных шлейфом, должна быть не менее 100 м.

Усилие натяжения ОК должно составлять не менее 25 % нормируемого значения прочности на растяжение для ОК подгруппы В или нормируемого в НД на конкретные ОК значения прочности на разрыв для пролета ОК подгруппы ВД.

Минимальное значение активного участка пролета должно составлять 20 м, он должен быть оснащен соответствующим поддерживающим зажимом, расположенным примерно на расстоянии 2/3 от расстояния между натяжными зажимами ОК.

1 - концевой фундаментный блок; 2 - датчик усилия натяжения; 3 - промежуточный фундаментный блок; 4 - натяжной зажим;
5 - возбудитель колебаний; 6 - узел подвески; 7 - начало ОВ; 8 - конец ОВ; А - активный пролет; В - последующий пролет;
С - соединение ОВ

Рисунок 9 - Схема испытания ОК на воздействие эоловой вибрации

Общее значение длины пролета между натяжными зажимами должно составлять не менее 30 м.

Пролет следует располагать на такой высоте, чтобы статический угол ОК на активном участке пролета по отношению к горизонтали составлял (1,5 ± 0,5)°.

Должны быть предусмотрены средства измерения и контроля амплитуды вибрации в середине возникающей свободной волны (пучность), а не в волне, прилегающей к возбудителю вибрации.

Возбудитель вибрации должен обеспечивать перемещение ОК в вертикальной плоскости.

Арматура возбудителя вибрации должна обеспечивать надежное крепление ОК таким образом, чтобы возбудитель вибрации располагался перпендикулярно к ОК в вертикальной плоскости.

Возбудитель вибрации следует располагать на активном участке пролета ОК таким образом, чтобы между возбудителем вибрации и поддерживающим зажимом создавалось не менее шести волн вибрации.

Число циклов вибрации - 10 млн.

При испытании должны быть заданы:

- характеристики вибрационного воздействия;

- характеристики применяемых натяжных и поддерживающего зажимов;

- усилие натяжения ОК;

- режим вибрации/характеристики управления в ходе проведения испытания;

- особенности разделки концов ОК;

- значения окружающей температуры и влажности в течение испытания;

- погонная масса и диаметр ОК.

Испытание проводят на одной резонансной частоте, соответствующей заданным значениям ветровых условий, или большем количестве.

Измерения проводят по методу А ГОСТ Р МЭК 60793-1-46 с использованием оптического разветвителя (сплиттера) и путем контроля уровня оптической мощности в опорном канале на длине волны в соответствии с 9.3.3.

Измерение вносимых оптических потерь проводят:

- перед испытанием каждый рабочий день после стабилизации испытуемого пролета (с контролем оптических потерь каждые 15 мин);

- по завершении каждого рабочего дня испытания и по истечении не менее 2 ч после завершения испытания на воздействие эоловой вибрации.

ОК считают выдержавшим испытание, если отсутствуют:

- приращение оптических потерь в ходе испытания и по его окончании (с учетом 9.3.3);

- видимые без применения увеличительных приборов повреждения конструктивных элементов ОК.

9.6.8 Испытание ОК на воздействие галопирования (6.3.8) проводят по схеме рисунка 10 с учетом данных таблицы 11 и согласно [7] (метод Е26) на образце ОК длиной не менее 50 м.

1 - фундаментный блок; 2 - натяжной зажим; 3 - поддерживающий зажим; 4 - испытуемый ОК; 5 - натяжной зажим;
6 - измеритель усилия натяжения; 7 - фундаментный блок; 8 - кассета; 9 - амплитуда волны; 10 - вибратор;
11 - источник оптического излучения; 12 - оптический сплиттер; 13, 14 - измеритель оптической мощности;
15 - сбор данных оптических измерений

Рисунок 10 - Схема испытания ОК на воздействие галопирования

Таблица 11 - Значения размеров при испытании ОК на галопирование

Обозначение

Наименование

Значение размера

L1

Фиксированная длина

≥ 30 м

L2

Активный пролет

≥ 15 м1)

L3

Последующий пролет

≥ 15 м1)

L4

Длина петли

2)

Θ

Угол статического провеса

≤ 1°

1) L2 и L3 примерно равны.

2) Длину изменяют при необходимости обеспечения специфицируемой характеристики пляски проводов от L1 до L3.

Общая длина ОВ, подвергаемого измерению как функция фиксированной длины L1, должна составлять не менее 100 м.

Для достижения заданного значения соединяют несколько ОВ шлейфом для того, чтобы их суммарная длина (произведение числа ОВ, умноженного на фиксированную испытуемую длину L1) составляла не менее 100 м.

Измерения проводят не менее чем на одном ОВ из каждого ОМ или группы ОВ.

Образец ОК надежно крепят на каждом конце с применением подходящих натяжных зажимов или иных приспособлений, обеспечивающих соответствие применяемому усилию натяжения в аксиальном направлении для моделирования самонесущей подвески ОК.

Другие зажимы используют для крепления ОК в вертикальной и горизонтальной плоскостях, в точках вблизи от концов ОК, для обеспечения отделения длины ОК, подвергаемой воздействию галопирования (фиксированная длина L1).

В этих точках на каждом конце испытуемого образца ОК обеспечивают фиксацию длины ОК, подвергаемой галопированию, и приложение усилия растяжения, которое может быть комбинированным или автономным.

Длина ОК, подвергаемая воздействию галопирования, должна быть исключена из секции длины ОК, подвергаемой растяжению, и не должна оказывать воздействия на приложение усилия растяжения ОК.

Фиксированное значение длины L1 должно быть не менее 30 м, на ней должен быть установлен поддерживающий зажим, располагаемый примерно посередине между двумя натяжными зажимами.

Поддерживающий зажим должен быть расположен на такой высоте, чтобы статический угол провеса ОК относительно горизонтали не превышал 1° в направлении активного пролета L2.

Возбудитель вибрации с электронным управлением должен быть установлен таким образом, чтобы возбуждать колебания ОК в вертикальной плоскости.

Возбудитель вибрации должен быть скреплен с ОК таким образом, чтобы он располагался перпендикулярно к ОК в вертикальной плоскости и не влиял на приложение усилия растяжения вдоль длины ОК, подвергаемой испытанию.

Следует контролировать амплитудное значение середины образуемой полуволны (антиузел) одиночной волны галопирования.

Минимальное пиковое значение амплитуды волны колебания должно составлять 1/25 часть длины активного пролета. Частота испытания должна соответствовать резонансному значению частоты одиночной полуволны.

ОК подвергают воздействию не менее 100 000 циклов галопирования.

Испытание представляет собой воздействие одиночной волны резонансной частоты для условия галопирования.

Соотношение минимального амплитудного значения антиузла к длине волны следует устанавливать равным 1/25, таким же, как измеряемое значение на активном пролете L2.

Измерения значений вносимых оптических потерь проводят по ГОСТ Р МЭК 60793-1-46 (метод А) на длине волны в соответствии с 9.3.3.

К выходу источника оптического излучения подключают оптический разветвитель (сплиттер), один из выходных портов которого подключают к измерителю оптической мощности и используют для измерения опорного значения уровня оптической мощности.

Другой выходной порт сплиттера подключают к концу испытуемого шлейфа ОВ, прошедший через шлейф ОВ оптический сигнал подают на второй измеритель оптической мощности.

Оптические разъемные соединения и сростки ОВ не должны расстыковываться на протяжении всего испытания.

ОК подвергают растягивающему усилию до такого значения, при котором обеспечивается возникновение эффекта галопирования на испытательном стенде (одна одиночная полусинусоидальная волна).

Рекомендуемое значение усилия натяжения составляет не менее 5 % от разрывного усилия ОК подгрупп В, ВГ и ВФ или не менее 50 % от максимально допустимого усилия растяжения для ОК подгруппы ВД.

Измерения вносимых оптических потерь проводят:

- до начала испытания, выполняя начальное измерение уровня каждого оптического сигнала;

- после возникновения галопирования через каждые 2000 циклов галопирования;

- по окончании 100 000 циклов испытания, обеспечив выдержку для стабилизации в течение не менее 2 ч.

ОК считают выдержавшим испытание, если:

- отсутствует приращение оптических потерь входе испытания и по его окончании (с учетом 9.3.4);

- отсутствуют видимые без применения увеличительных приборов повреждения конструктивных элементов ОК.

9.6.9 Испытание ОК на воздействие изгиба при перемотке через ролик (6.3.11) проводят по схеме, указанной на рисунке 11, с учетом [7] (метод Е18В) на участке ОК длиной не менее 20 м, смотанном с кабельного барабана.

Рисунок 11 - Схема испытания ОК на перемотку через ролик

Оба конца испытуемого образца заделывают таким образом, чтобы можно было приложить к ОК нормируемое значение нагрузки, которое принимают равным (25 ± 3) % от допустимого значения растягивающего усилия, если в НД на конкретные ОК не указано иное.

На образце наносят метки в точках А и В.

Расстояние между метками А и В должно быть больше, чем шаг скрутки сердечника и силовых элементов для однонаправленной скрутки ОК, и больше расстояния между изменением направления скрутки для ОК с разнонаправленной скруткой (SZ-скруткой). Рекомендуется, чтобы это расстояние было по меньшей мере втрое больше шага скрутки ОК и составляло не менее 2 м.

Профиль ролика должен быть полуцилиндрическим и иметь достаточный радиус для того, чтобы не препятствовать свободному перемещению ОК.

Угол изгиба θ принимают равным (30 ± 2)°, а радиус ролика Rr не более 40 наружных диаметров ОК, если в НД на конкретные ОК не указано иное.

Измерение вносимых оптических потерь проводят в соответствии с 9.3.3 и фиксируют до приложения нормируемого значения нагрузки и по окончании испытания, когда нагрузка снята и ее значение равно нулю.

Контроль отсутствия обрывов ТПЖ и контактов между ТПЖ (при наличии) проводят по 9.2.4.

ОК перемещают относительно ролика на угол θ, как показано на рисунке 10, при этом усилие натяжения плавно увеличивают до нормируемого значения.

ОК перемещают от метки А до метки B (см. рисунок 11) и затем возвращают к метке А; число перемещений составляет 35 раз в каждом направлении.

ОК считают выдержавшим испытание, если по завершении воздействия:

- приращение вносимых оптических потерь в контролируемых ОВ испытуемого ОК отсутствует (с учетом 9.3.4);

- отсутствуют обрывы ТПЖ и контакты между ТПЖ;

- отсутствуют видимые без применения увеличительных приборов повреждения конструктивных параметров.

9.6.10 Значение вытяжки (6.3.9) контролируют на образце ОК длиной около 10 м, отрезанного на расстоянии не менее 20 м от конца строительной длины, при температуре окружающей среды (20 ± 2) °С с учетом [8].

Контроль температуры ОК осуществляют в середине и по концам измеряемого участка длины ОК (измерительной базы) с погрешностью не более ± 0,5 °С.

Погрешность устройства контроля натяжения ОК должна составлять не более ± 1 %, но не более ± 120 Н.

Погрешность средств измерения удлинения ОК должна составлять не более ± (5×10-6) м.

Минимальную длину L образца между торцами установленных на нем натяжных зажимов вычисляют по формуле

L = 100d + 2а,

(1)

где 100d - минимальная измерительная база;

d - диаметр ОК;

а - расстояние между торцом натяжного зажима и измерительной базой.

Примечание - Данное соотношение применимо при заделке концов ОК отверждаемым компаундом.

Расстояние а должно составлять (25 ± 2) % от значения измерительной базы или 2 м (выбирают меньшее значение).

Концевые заделки образца ОК не должны допускать смещения элементов повива ОК друг относительно друга. При наличии смазки в составе повивов ОК смазка должна быть удалена на длине выполнения концевой заделки перед заливкой концевой заделки отверждаемым компаундом.

Образец ОК подвергают натяжению с усилием не более 2 % от значения разрывной прочности ОК для фиксации измерительной базы; время нагружения - не более 5 мин для предотвращения влияния на форму характеристики вытяжки.

Затем образец ОК подвергают воздействию в течение 1000 ч усилия натяжения, равного (25 ± 2) % значения разрывной прочности ОК, которое прикладывают в течение не более 5 мин ± 10 с (при постепенном увеличении нагрузки или при увеличении нагрузки ступенями не более 20 % от значения испытательного усилия натяжения).

Значения вытяжки ОК во времени контролируют и регистрируют.

Первоначальное измерение проводят через 5 мин ± 10 с после начала приложения испытательного усилия натяжения, второе измерение, при котором фиксируют первое значение удлинения, не позднее, чем через 1,2 мин после первого замера. На каждом интервале времени (при десятикратном увеличении промежутка времени) следует выполнять не менее трех замеров значения вытяжки.

Полученные данные используют в дальнейшем для расчета зависимости относительного удлинения ОК во времени и построения соответствующих графиков такой зависимости в логарифмическом масштабе с учетом [8], предоставляемых заказчику.

ОК считают выдержавшим испытание, если значения вытяжки ОК во времени соответствуют значениям, установленным в НД на конкретные ОК.

9.6.11 Испытание ОК соответствующих групп на истирание полимерной оболочки ОК (6.3.12) и маркировки (6.6.4) проводят по схеме, приведенной на рисунке 12, с учетом [7] (метод Е2А) на отрезке ОК длиной не менее 750 мм.

Испытательное оборудование представляет собой устройство, обеспечивающее истирание полимерной оболочки ОК в обоих направлениях параллельно продольной оси ОК на длине (40 ± 1) мм с частотой (55 ± 5) циклов в минуту.

Один цикл представляет собой перемещение истирающего элемента в обоих направлениях. Истирающий элемент должен представлять собой иглу диаметром не менее 1,0 мм, если в НД на конкретные ОК не указано иное.

К истирающему элементу без воздействия удара на ОК должна быть приложена нагрузка (4,0 ± 0,5) Н.

1 - привод перемещения; 2 - груз; 3 - перемещение; 4 - образец ОК;
5 - опорная плита; 6 - деталь X; 7 - стальная игла

Рисунок 12 - Схема испытания ОК на истирание наружной прокладки, на истирание
полимерной оболочки и истирание маркировки оболочки ОК наружной прокладки

Образец подвергают испытанию на истирание, выполняя его в четыре этапа (с одинаковым для каждого этапа количеством циклов, равным 1500). При каждом последующем этапе испытания образец ОК перемещают вперед на 100 мм и поворачивают относительно оси ОК на 90° в одном направлении. Один из этапов испытания проводят на участке ОК с маркировкой полимерной оболочки (при наличии маркировки).

Полимерную оболочку ОК считают выдержавшей испытание, если по окончании истирающего воздействия на оболочку ОК отсутствуют сквозные повреждения оболочки ОК.

Маркировку ОК считают выдержавшей испытание, если по окончании истирающего воздействия сохраняется разборчивость маркировки.

Испытание ОК групп С, Р и М на истирание маркировки ОК (в случае наличия такого требования в НД на конкретные ОК) проводят по схеме, указанной на рисунке 13 с учетом [7] (метод Е2А) на отрезке ОК длиной не менее 750 мм с маркировкой.

Участок ОК, содержащий маркировку полимерной оболочки, размещают между двумя прокладками из шерстяного фетра или между шерстяным фетром и опорной поверхностью. Шерстяной фетр должен быть в достаточной степени пропитан водой и прилегать к участку маркировки ОК.

1 - образец ОК; 2 - груз; 3 - усилие F; 4 - шерстяной фетр; 5 - противовес; 6 - перемещение

Рисунок 13 - Схема испытания на истирание маркировки
полимерной оболочки ОК внутренней прокладки

Перпендикулярно участку маркировки ОК, находящемуся между двумя прокладками из шерстяного фетра или между шерстяным фетром и опорной поверхностью, прикладывают усилие F, равное значению (5,0 ± 0,5) Н.

Образец ОК должен перемещаться вперед и назад на длине (100 ± 10) мм; частота перемещения - два перемещения в 1 с.

Число циклов перемещения - три в двух противоположных направлениях, если в НД на конкретные ОК не указано иное.

ОК считают выдержавшим испытание, если по его окончании сохраняется разборчивость маркировки полимерной оболочки ОК.

9.6.12 Испытание ОМ на излом (6.3.13) проводят после выдержки в камере холода при пониженной температуре воздуха, установленной в 6.3.13, в течение не менее 2 ч.

9.6.12.1 Испытание металлических ОМ на излом (6.3.13) проводят по схеме, приведенной на рисунке 14, с учетом [7] (метод Е10) на трех отрезках металлических ОМ длиной не менее 3 м.

Формируют петлю 1 на образце на металлическом ОМ в соответствии со схемой рисунка 14.

1 - петля ОМ, сформованная в начале испытания; 2 - направление приложения тягового усилия;
3 - конфигурация возникшего излома

Рисунок 14 - Схема испытания металлического ОМ на излом

Прилагая тяговые усилия к обоим концам образца, диаметр петли уменьшают до возникновения излома металлического ОМ.

Тяговые усилия в нижней точке петли образца ОМ прикладывают в одной плоскости, после возникновения излома приложение тяговых усилий следует прекратить.

Измеряют длину C образца в петле при возникновении излома, начиная и заканчивая измерение в точке пересечения концов образца ОМ.

Вычисляют эквивалентное значение диаметра петли d при возникновении излома по формуле

d = С.

(2)

Металлический образец ОМ считают выдержавшим испытание, если при диаметре петли, равном установленному в НД на конкретные ОК значению, не происходит излома, который показан в позиции 3 рисунка 14.

9.6.12.2 Испытание полимерного ОМ на излом (6.3.13) проводят в соответствии с методом G7 ГОСТ Р МЭК 60794-1-23.

9.6.13 Испытание ОК на воздействие статического изгиба (6.3.10) проводят с учетом [7] (метод Е11А) на трех отрезках ОК длиной не менее 20 м, размещаемых в камере холода при пониженной температуре воздуха, установленной в 6.3.10.

Образец ОК равномерно наматывают вокруг цилиндрической испытательной оправки, диаметр которой соответствует нормируемому значению радиуса статического изгиба ОК, в виде одиночной или двойной спиралей, в соответствии со схемой рисунка 15, обеспечивая плотное прилегание витков каждой спирали друг к другу. ОК, намотанный в виде спирали, не должен подвергаться кручению.

Число витков ОК при испытании по схеме рисунка 15а - шесть; при испытании по схеме рисунка 15б число витков с каждой стороны от центра намотки - три.

а - Конфигурация одиночной спирали      б - Конфигурация двойной спирали

Рисунок 15 - Схема испытания ОК на воздействие статического изгиба

Образец размещают в камере холода с установленной в соответствии с 6.3.10 пониженной температурой и выдерживают в течение не менее 2 ч.

Затем вынимают образец из камеры и сматывают его с оправки.

После этого проводят еще два цикла намотки и смотки образца в НКУ.

Измерение вносимых оптических потерь проводят в соответствии с 9.3.3 в контролируемых ОВ испытуемого ОК до начала испытания, по окончании выдержки образца в камере холода перед смоткой с оправки (во время воздействия статического изгиба при отрицательной температуре) и по окончании испытания.

ОК считают выдержавшим испытание:

- если во время воздействия статического изгиба при отрицательной температуре приращение вносимых оптических потерь не превышает 0,1 дБ при измерении одномодовых ОВ и 0,35 - дБ при измерении многомодовых ОВ;

- если по окончании испытания приращение вносимых оптических потерь отсутствует (с учетом 9.3.4), а сопротивление ТПЖ и изоляции ТПЖ (при наличии) соответствуют нормируемым значениям;

- если отсутствуют видимые без применения увеличительных приборов повреждения на участках намотки ОК на оправку.

9.6.14 Испытание ОК на стойкость к повреждению грызунами (6.3.14) проводят по методу 1 ГОСТ Р 9.804.

ОК считают выдержавшим испытание, если степень повреждения сердечника ОК не превышает 1 балла, а оптические модули или плотные защитные покрытия ОВ в ОК не имеют сквозных порезов, обнажающих оптические волокна. Наличие повреждений других элементов ОК не является несоответствием.

9.6.15 Испытание на продольное нераспространение воды (6.2.1.5) в ОК для групп З и В проводят в соответствии с методами F5B и F5C ГОСТ Р МЭК 60794-1-22 на трех отрезках ОК длиной (3 ± 0,1) м.

ОК групп З и В считают выдержавшими испытание, если по истечении не менее 24 ч отсутствуют следы проникновения воды на наружном конце испытуемого образца ОК.

Испытание ОК группы П на продольное нераспространение воды проводят с учетом [9] и [10] на образце ОК длиной не менее 100 м.

Концы подводного ОК разделывают и размещают следующим образом: один конец ОК - внутри гидростатического стенда; второй конец ОК выводят через сальник наружу в атмосферу.

Гидростатический стенд заполняют водой и создают в нем гидравлическое давление на 50 % больше, чем значение давления на предельной глубине прокладки ОК группы П.

ОК группы П выдерживают при повышенном значении гидростатического давления в течение не менее 15 мин.

Затем гидростатическое давление снижают до значения, соответствующего предельной глубине прокладки, установленного в НД на конкретные ОК, и поддерживают это значение давления в течение не менее 14 сут.

В процессе испытания контролируют отсутствие или наличие следов проникновения воды на наружном конце подводного ОК.

ОК группы П считают выдержавшим испытание, если по истечении 14 сут воздействия на ОК гидростатического давления отсутствуют следы проникновения воды на его наружном конце.

9.6.16 Испытание ОК на воздействие гидростатического давления (6.3.15 и 6.3.16) проводят на отрезке ОК длиной не менее 5 м по методу F10 ГОСТ Р МЭК 60794-1-22, а ОК группы П - длиной не менее 110 м с учетом [9] и [10].

Участок испытуемого образца ОК размещают внутри гидростатического стенда (ОК, предназначенных для прокладки через водные преграды и в болотах глубиной более 2 м, - длиной не менее 1 м, ОК группы П -длиной не менее 100 м), концы образца выводят через сальники наружу стенда и производят их концевую заделку для подключения ОВ к средствам измерения вносимых оптических потерь.

Гидростатический стенд заполняют водой и создают в нем статическое гидравлическое давление в 1,1 раза большее, чем значение давления на предельной глубине прокладки ОК.

Образец ОК выдерживают при этом давлении в течение не менее 15 мин, после чего давление снижают до значения, соответствующего предельной глубине прокладки ОК, которое поддерживают в течение не менее 24 ч, затем давление снижают до нормального.

До воздействия гидростатического давления, через 24 ч выдержки при воздействии гидростатического давления и после снятия гидростатического давления контролируют изменение оптических потерь в соответствии с 9.3.3.

ОК считают выдержавшими испытание, если:

- в течение воздействия гидростатического давления и после его снятия приращение вносимых оптических потерь в контролируемых ОВ испытуемого ОК отсутствует (с учетом 9.3.4);

- после воздействия гидростатического давления отсутствует пробой изоляции при воздействии испытательного напряжения (при наличии в ОК металлических элементов), и сопротивление изоляции ТПЖ (при наличии) соответствует нормируемым значениям.

9.7 Контроль стойкости и прочности к климатическим и биологическим воздействиям

9.7.1 Испытание ОК на воздействие пониженной и повышенной температуры среды (6.4.1, 6.4.2), циклической смены температур (6.4.3) и температур транспортирования и хранения (10.4, 10.5) проводят в ходе испытания на стойкость к воздействию циклической смены температур в соответствии с методом F1 ГОСТ Р МЭК 60794-1-22 на образце ОК длиной не менее 1000 м.

Примечание - Для ОК с многомодовыми ОВ допускается проводить испытания на образцах с длиной не менее 650 м, но при этом общая оптическая длина ОВ, сваренных в шлейф, на котором выполняют измерение, должна быть более 1000 м.

Продолжительность предварительной выдержки ОК при НКУ - в течение не менее 6 ч.

ОК подвергают воздействию двух следующих друг за другом циклов, каждый цикл состоит из следующих этапов:

- понижают температуру в камере до значения минимальной рабочей температуры и выдерживают образец ОК при установившемся значении температуры в течение времени, приведенного в таблице 12;

- повышают температуру в камере до значения максимальной рабочей температуры и выдерживают образец ОК при установившемся значении температуры в течение времени, приведенного в таблице 12.

Примечание - Если диапазон температур транспортирования и хранения шире, чем диапазон рабочих температур испытуемого ОК, во время последнего цикла после выдержки образца при значении минимальной рабочей температуры, в камере температуру опускают до значения минимальной температуры транспортирования и хранения и выдерживают ОК при этой температуре в течение времени, установленного в таблице 12. После выдержки образца при максимальной рабочей температуре в камере температуру поднимают до значения максимальной температуры транспортирования и хранения и выдерживают ОК при этой температуре в течение времени, установленного в таблице 12.

По окончании циклов смены температур значение температуры в камере устанавливают равным значению температуры окружающей среды.

Таблица 12 - Время выдержки ОК для стабилизации его температуры

Масса образца ОК, кг

Минимальное время выдержки t1, ч

Менее 0,35

0,5

От 0,36 до 0,70

1

От 0,8 до 1,5

2

От 1,6 до 15,0

4

От 16 до 100

8

От 101 до 250

12

От 251 до 500

14

Более 501

16

В процессе испытания контролируют значение коэффициента затухания каждого ОВ на рабочих длинах волн, установленных в НД на ОК, в соответствии с 9.3.1:

- по окончании предварительной выдержки ОК до начала воздействия температурных циклов;

- во время последнего цикла смены температур в конце выдержки ОК при воздействии рабочей пониженной и рабочей повышенной температур;

- по окончании циклов смен температур после выдержки ОК в нормальных климатических условиях в течение не менее 8 ч.

Допускается проводить испытания на воздействие повышенной и пониженной температур по методам 201 и 203 ГОСТ 20.57.406 соответственно.

ОК считают выдержавшим испытание, если:

- во время воздействия рабочей пониженной и рабочей повышенной температур приращение коэффициента затухания не превышает 0,1 дБ/км для одномодовых ОВ и 0,5 дБ/км для многомодовых ОВ;

- по окончании испытаний отсутствует приращение коэффициента затухания (с учетом 9.3.4), а у комбинированных ОК отсутствует пробой изоляции при воздействии испытательного напряжения и сопротивление изоляции ТПЖ соответствует значениям, установленным в НД.

Примечание - Для ОК с повышенными требованиями к коэффициенту затухания во время воздействия рабочей пониженной и рабочей повышенной температур приращение коэффициента затухания должно отсутствовать (с учетом 9.3.4).

9.7.2 Испытание ОК на воздействие ультрафиолетового излучения (6.2.1.6) проводят по методу 211-1 ГОСТ Р 51370-99.

Испытание проводят на трех образцах ОК длиной не менее 1 м, смотанных в бухты диаметром, равным удвоенному значению допустимого радиуса, установленного в НД на конкретные ОК для статического изгиба.

Интегральная поверхностная плотность потока излучения должна быть равна (1120 ± 112) Вт/м2, в том числе поверхностная плотность потока ультрафиолетовой части спектра должна быть (68 ± 17) Вт/м2, если иные значения не указаны в НД на конкретные ОК. Верхнее значение температуры воздуха (в тени) в камере солнечного излучения должно быть (40 ± 3) °С, а для подвесных ОК - (45 ± 3) °С, если иное не указано в НД на конкретные ОК. Продолжительность испытания указывают в НД на конкретные ОК. При отсутствии конкретных указаний длительность испытания принимают равной не менее 3 сут, а для подвесных ОК - не менее 10 сут.

После воздействия солнечного излучения и выдержки в НКУ не менее 2 ч образцы подвергают воздействию статического изгиба в НКУ (1 цикл) по 9.6.13 без контроля вносимых оптических потерь.

ОК считают выдержавшим испытание, если на поверхности образцов, прошедших испытание, не обнаружены трещины и дефекты, видимые без применения увеличительных приборов.

9.7.3 Испытание ОК на вмораживание в лед (6.4.5) проводят по методу F15 ГОСТ Р МЭК 60794-1-22.

ОК считают выдержавшим испытание, если:

- приращение вносимых оптических потерь вмерзшего в лед ОК не превышает 0,1 дБ для одномодовых ОВ и 0,35 дБ для многомодовых ОВ;

- по окончании испытаний отсутствует приращение оптических потерь (с учетом 9.3.4), на наружной оболочке ОК не имеется повреждений, видимых без применения увеличительных приборов, у комбинированных OK отсутствует пробой изоляции при воздействии испытательного напряжения и сопротивление изоляции ТПЖ соответствует нормируемым значениям.

Примечание - Для ОК с повышенными требованиями к коэффициенту затухания при вмерзании в лед приращение оптических потерь должно отсутствовать (с учетом 9.3.4).

9.7.4 Контроль температуры каплепадения гидрофобного заполнителя ОК (6.4.6) проводят с учетом [7] (метод Е14) на двух образцах ОК длиной (200 ± 5) мм.

Удаляют с одного конца образца ОК участок наружной оболочки длиной (100 ± 2,5) мм.

Удаляют с того же конца образца ОК конструктивные элементы (броню, экраны, внутренние оболочки, спирально наложенные силовые элементы, водоблокирующие ленты, скрепляющие ленты и т.п.) длиной (80 ± 2,5) мм.

Предпринимают меры для предотвращения повреждения других элементов ОК (оставшихся ОМ с ОВ или корделей).

Удаляют прилипшие остатки заполняющих материалов от удаленных элементов образца ОК, обеспечивая при этом наличие достаточного количества заполняющих компаундов поверх элементов сердечника (т.е. не следует протирать дочиста поверхности элементов сердечника).

Конструктивные элементы ОК, которые могут перемещаться в процессе испытания под воздействием собственной массы, следует закрепить на неразделанном конце испытуемого образца таким образом, чтобы они не оказывали воздействия на другие части испытуемого образца.

Закрепление данных элементов может быть выполнено зажимами, заливкой участков ОК эпоксидной смолой или иным образом, отвечающим цели испытания.

Каждый испытуемый образец ОК размещают в камере тепла, предварительно прогретой до максимального значения температуры, установленной в НД на конкретные ОК, располагая его в вертикальном положении и ориентируя разделанным концом вниз.

Устанавливают предварительно взвешенный чистый контейнер для сбора компаунда непосредственно под каждым подвешенным испытуемым образцом, но без соприкосновения его с образцом.

После стабилизации значения температуры в камере проводят предварительное кондиционирование каждого испытуемого образца в течение не менее 1 ч.

По окончании периода предварительного кондиционирования заменяют контейнер для сбора компаунда на чистый и предварительно взвешенный контейнер.

Масса материала, собранного в контейнер в ходе предварительного кондиционирования, определяет количество компаунда-заполнителя, которое может стечь в виде капель с образца ОК в ходе предварительного кондиционирования.

Максимальное значение массы стекшего при предварительном кондиционировании компаунда не должно превышать 0,5 % от общей массы испытуемого образца, или 0,5 г. За предельно допустимое значение принимают меньшее из значений массы.

После стабилизации значения температуры в камере проводят выдержку образцов в течение не менее 24 ч.

По завершении выдержки извлекают контейнер и взвешивают его для определения массы компаунда-заполнителя, стекшего в контейнер в виде капель из образца ОК.

Фиксируют массу стекшего в контейнер компаунда-заполнителя для каждого испытуемого образца ОК.

Если измеренное значение массы компаунда, попавшего в контейнер, не превышает 0,005 г, считают, что каплепадение компаунда при данном значении температуры отсутствует.

ОК считают выдержавшим испытание на температуру каплепадения, если максимальное значение массы компаунда, стекшего из испытуемого образца ОК, не превышает 0,050 г.

Если количество компаунда, стекшего из одного испытуемого образца ОК, превышает 0,050 г, но составляет менее 0,100 г, проводят повторное испытание на двух дополнительных образцах ОК.

Компаунд считают выдержавшим испытание на температуру каплепадения, если при проведении повторных испытаний ни в одном из двух испытуемых образцов не зафиксировано каплепадение компаунда массой более 0,050 г.

9.7.5 Проверку ОК на воздействие повышенной относительной влажности (6.4.7) проводят по методу 207-2 ГОСТ 20.57.406 на образце ОК длиной не менее 1000 м.

Примечание - Для ОК с многомодовыми ОВ допускается проводить испытания на образцах длиной не менее 650 м, но при этом общая оптическая длина ОВ, сваренных в шлейф, на котором выполняют измерение, должна быть не менее 1000 м.

Образцы помещают в камеру влажности, температуру в которой повышают до (50 ± 2) °С, и выдерживают при этой температуре в течение 1 сут. Относительную влажность воздуха повышают до (95 ± 3) %, после чего температуру и влажность в камере поддерживают постоянными в течение не менее 14 сут.

ОК считают выдержавшим испытание, если:

- во время воздействия повышенной влажности (после выдержки в течение не менее 14 сут до снятия воздействия) и после завершения испытаний отсутствует приращение коэффициента затухания (с учетом 9.3.4);

- по окончании испытаний ОК, содержащих ТПЖ, отсутствует пробой изоляции при воздействии испытательного напряжения и сопротивление изоляции ТПЖ соответствует значениям, установленным в НД.

9.7.6 Проверку ОК тропического исполнения на стойкость к воздействию плесневых грибов (6.4.8) поводят по ГОСТ 9.048. ОК считают выдержавшим испытания, если рост грибов не превышает 3 баллов.

9.7.7 Проверку ОК тропического исполнения на воздействие соляного (морского) тумана (6.4.9) проводят по методу 215-3 ГОСТ 20.57.406-81 на образцах ОК длиной не менее 2 м, смотанных в бухты радиусом, равным или большим допустимого радиуса изгиба, установленного в НД, с герметично заделанными концами. Общее время выдержки - не менее 16 ч. Допускается проведение испытаний двумя циклами по 8 ч.

ОК считают выдержавшим испытание, если на поверхности образцов, прошедших испытание, не обнаружены трещины и дефекты, видимые невооруженным глазом, а у ОК, содержащих ТПЖ, отсутствует пробой изоляции при воздействии испытательного напряжения, и сопротивление изоляции ТПЖ соответствует значениям, установленным в НД.

9.8 Проверка соответствия требованиям надежности

Подтверждение гамма-процентного срока службы ОК (6.5.1) и гамма-процентного срока сохраняемости (6.5.3) проводят по методике, указанной в приложении Д.

9.9 Проверка соответствия требованиям к маркировке и упаковке

9.9.1 Проверку соответствия маркировки и упаковки требованиям (6.6.1 - 6.6.3, 6.7) проводят в соответствии с ГОСТ 18690 внешним осмотром и сверкой с НД предприятия - изготовителя ОК.

9.9.2 Проверку прочности маркировки полимерной оболочки ОК к истиранию (6.6.4) проводят методом контроля по 9.6.11.

9.10 Проверка соответствия требованиям безопасности

9.10.1 Контроль соответствия требованиям электробезопасности

9.10.1.1 Контроль электрического сопротивления наружной полимерной оболочки ОК (7.1.1) проводят по ГОСТ 3345.

Примечание - Значение измерительного напряжения определяется типом применяемого прибора и должно обеспечивать требуемую точность измерений в соответствии с ГОСТ 3345.

9.10.1.2 Контроль наружной оболочки ОК испытательным напряжением (7.1.2) проводят по ГОСТ 2990.

Кабель считают выдержавшим испытание, если не произошло пробоя оболочки. Допускается проведение испытания напряжением на проход на аппаратах сухого испытания.

9.10.1.3 Определение соответствия ОК группы З с металлическими конструктивными элементами на воздействие разряда молнии (7.1.3) проводят с учетом [5] на образце ОК длиной около 1 м.

Образец ОК помещают в прочный короб из изоляционного материала с рекомендуемыми размерами 0,75×0,75×0,75 м, по центру короба перпендикулярно образцу на расстоянии (26 ± 1) мм от образца размещают металлический электрод по схеме, представленной на рисунке 16.

В дне короба предусматривают дренажные отверстия, короб заполняют просеянным через сито № 20-40 песком, который полностью насыщают водой в течение не менее 8 ч и дренируют последние 5 мин перед испытанием.

Удаляют все изоляционные слои для обеспечения протекания по образцу ОК импульсного тока разряда.

1 - ввод тока; 2 - отекание тока; 3 - образец ОК; 4 - короб с песком; 5 - металлический электрод

Рисунок 16 - Схема испытания ОК группы З на молниестойкость

Если напряжение генератора разряда не может пробить 26-миллиметровый слой увлажненного песка, необходимо соединить металлический электрод и металлические конструктивные элементы ОК отрезком проволоки диаметром около 0,4 мм, которая испарится при прохождении тока импульсного разряда, не влияя на его результаты.

Уплотняют увлажненный песок вокруг образца ОК и металлического электрода. Степень увлажнения должна составлять около 15 % от массы песка.

Все металлические конструктивные элементы ОК на обоих концах соединяют друг с другом и подключают образец к цепи разряда.

Категорию молниестойкости ОК считают подтвержденной, если в результате протекания тока разряда, значение которого соответствует этой категории, не произошло обрыва ОВ и повреждения ТПЖ в составе ОК.

Примечание - Данный метод используется для определения категории молниестойкости ОК группы З с целью выявления необходимости применения дополнительных мер защиты при монтаже (прокладке) ОК в районах с повышенной грозовой активностью. Неподтверждение категории молниестойкости не является показателем несоответствия конкретного ОК требованиям настоящего стандарта.

9.10.1.4 Стойкость ОК подгрупп В, ВГ и ВФ к протеканию тока короткого замыкания ЛЭП (7.1.4) проводят по схеме рисунка 17 с учетом [6] (метод Н1) на отрезке ОК длиной не менее 10 м.

1 -датчик для измерения температуры; 2 - устройство регистрации температуры;
3 - источник оптического излучения; 4 - измеритель оптической мощности;
5 - регистрирующее устройство; 6 - шлейф ОВ; А, В - испытуемые образцы ОК

Рисунок 17 - Схема испытания ОК на протекание тока короткого замыкания ЛЭП

Образец ОК оснащают с каждой стороны концевыми заделками и подключают к нему один датчик температуры или более, которые вводят через повивы проволок ОК к поверхности ОМ, для контроля температуры ОМ.

Один датчик температуры или более подключают к проволокам ОК для контроля температуры ОК.

Контроль вносимых оптических потерь проводят в соответствии с 9.3.3.

В процессе испытания ОК обеспечивают:

- усилие натяжения ОК (15 ± 5) % от нормируемого значения прочности на разрыв;

- исходное значение температуры образца ОК;

- значение нормируемого воздействия тока при коротком замыкании ЛЭП;

- продолжительность протекания тока при коротком замыкании ЛЭП.

Число воздействующих импульсов - 10; форма волны - симметричная.

Импульсы тока подают с помощью вспомогательных металлических кабелей, которые перед каждой подачей импульса охлаждают до температуры, не превышающей на 5 °С исходное значение температуры.

Оптические потери испытуемых ОВ контролируют непрерывно, по меньшей мере в течение 2 мин до приложения импульса тока и в течение по меньшей мере 5 мин после приложения импульса тока.

Следует контролировать температуру ОК и температуру ОМ.

Испытание образца подгруппы ВП проводят по схеме, представленной на рисунке 18.

Испытуемый образец подвесного навивного ОК подгруппы ВП подсоединяют к несущему проводу подходящей арматурой крепления.

К несущему проводу подключают один датчик температуры или более для регистрации температуры в процессе проведения испытания.

Контроль вносимых оптических потерь ОК проводят в соответствии с 9.3.3.

Исходное значение температуры несущего провода должно соответствовать НД предприятия - изготовителя ОК.

Подают импульсы тока на несущий провод после его охлаждения перед каждой подачей импульса до температуры, не превышающей на 5 °С исходное значение температуры.

1 - датчик для измерения температуры несущего провода; 2 - устройство регистрации температуры;
3 - источник оптического излучения; 4 - измеритель оптической мощности; 5 - регистрирующее устройство;
6 - шлейф ОВ; А - присоединенный ОК; В - несущий провод

Рисунок 18 - Схема испытания ОК на протекание тока короткого замыкания ЛЭП

В процессе испытания ОК обеспечивают нормируемые значения:

- растягивающего усилия;

- исходного значения температуры образца;

- максимального значения температуры несущего провода;

- продолжительности протекания тока при коротком замыкании ЛЭП.

Число воздействующих импульсов установленного значения энергии - 10; форма волны - симметричная.

Оптические потери испытуемых ОВ контролируют непрерывно, по меньшей мере в течение 2 мин до приложения импульсов тока и в течение по меньшей мере 5 мин после приложения импульсов тока.

Следует также контролировать и температуру несущего провода.

По окончании испытания на воздействие тока короткого замыкания ЛЭП ОК демонтируют, каждый конструктивный элемент ОК отделяют и проверяют на наличие дефектов, изменение цветовой окраски, деформацию или на видимое повреждение. Особое внимание уделяют участкам ОК вблизи концевых заделок и в центральной части испытуемой секции ОК.

ОК считают выдержавшим испытание, если он соответствует требованиям НД на конкретные ОК.

По завершении испытания максимальное значение температуры, достигаемое определенным элементом ОК, должно находиться в пределах допустимого диапазона температур, установленного для данного элемента документацией предприятия - изготовителя ОК.

Температура несущего провода, к которому прикреплен ОК подгруппы ВП, в процессе проведения испытания не должна превышать максимально допустимое значение температуры, установленное в НД на конкретный ОК.

При контрольном осмотре по окончании испытания не должно быть обнаружено дефектов, изменения цветовой окраски, деформации или видимого повреждения без применения увеличительных приборов.

9.10.1.5 Стойкость ОК к прохождению тока молнии (7.1.5) определяют с учетом [6] (метод Н2) на отрезке ОК длиной не менее 10 м.

Длина образца между крепежными зажимами должна быть не менее 1 м.

Электрод, представляющий собой медный или стальной пруток (предпочтительно медно-вольфрамовый), располагают выше испытуемого ОК.

Соединяют электрод и испытуемый ОК друг с другом плавкой металлической вставкой.

Значение приложенного к образцу ОК усилия натяжения должно составлять от 15 % до 25 % значения разрывной прочности и равно типовому значению растягивающего усилия.

Испытание проводят на центральной части образца ОК подгруппы ВГ или ВП, присоединенного к согласованному типу несущего провода, в соответствии со схемой рисунка 19.

1 - датчик для измерения температуры; 2 - изолятор; 3 - зажим крепления; 4 - симметричные зажимы заземления;
5 - электрод с гладкой поверхностью; 6 - вставка плавкая для поджига дуги разряда; 7 - устройство измерения усилия
натяжения; 8 - зазор между электродом и поверхностью ОК, равной 6 см;
А - испытуемый образец (включая несущий провод ОК)

Рисунок 19 - Схема испытания подвесного ОК на молннестойкость

При проведении испытания ОК подгруппы ВД металлическую плавкую вставку плотно подсоединяют к точке, в которой ОК и арматура его подвески (если применяется) контактируют с несущим проводом.

Подвергают образец ОК воздействию разряда в соответствии с 7.1.5, моделирующего разряд молнии, вызывающего эффекты плавления, продолжительность воздействия которого приведена в таблице 13.

Таблица 13 - Продолжительность воздействия разряда с указанными характеристиками при испытании на протекание тока молнии

Переносимый заряд, Кл

50

100

150

200

Ток, А

100

200

300

400

Продолжительность воздействия, с

0,5

0,5

0,5

0,5

Исходная температура ОК должна составлять (23 ± 5) °С.

Испытание проводят на пяти образцах ОК при одних и тех же условиях испытания (сточки зрения моделирующего разряда).

При испытании контролируют изменение оптических потерь по методу А ГОСТ Р МЭК 60793-1-46 в соответствии с 9.3.3.

ОК считают выдержавшим испытание, если по окончании испытания отсутствует приращение вносимых оптических потерь (с учетом 9.3.4).

Если при испытании ОК подгруппы ВГ обнаружена как минимум одна оборванная проволока, должно быть рассчитано остаточное значение разрывной прочности ОК с учетом числа оставшихся целыми проволок, которое должно быть не менее 75 % изначального нормируемого значения разрывной прочности.

9.10.1.6 Испытание материала оболочки подвесного ОК подгруппы ВД к трекингу (электрической эрозии) (6.2.1.8) проводят по схеме, представленной на рисунке 20, с учетом [11] на отрезке ОК длиной (460 ± 20) мм.

1 - распылитель соляного раствора; 2 - электроды из фольги; 3 - герметизированные концы ОК; X1 - автотрансформатор;
X2 - высоковольтный трансформатор; Vос - напряжение на высоковольтной обмотке; Isc - ток при возникновении разрядов;
R, C - ограничители тока нагрузки

Рисунок 20 - Схема испытания оболочки ОК на трекинг (электрическую эрозию)

Значение испытательного напряжения Vос на высоковольтной обмотке трансформатора в соответствии со схемой, представленной на рисунке 20, установлено в НД на конкретный ОК. Трансформатор должен быть рассчитан на рабочий ток, равный 250 мА, и ток отключения, равный 1 А.

Форма трапециеидальных электродов, выполняемых из металлической (преимущественно алюминиевой) фольги и накладываемых в середине образца ОК, показана на рисунке 21.

D - диаметр ОК

Рисунок 21 -Форма электродов, накладываемых на оболочку ОК

Образец ОК крепят под натяжением в горизонтальном положении, обеспечивая расстояние между электродами и конструктивными элементами зажимов не менее 25 мм/кВ, минимальное расстояние - 40 мм. Расстояние от образца до заземленных частей должно быть не менее 300 мм.

Эквивалентные уровню загрязненности значения R и C выбирают в соответствии с таблицей 14.

Таблица 14 - Значения R и C для различных уровней индекса загрязненности (PI) атмосферы региона

Уровень загрязненности атмосферы
региона (PI)

Удельное
сопротивление, Ом ∙ м

R, Ом

C, пФ

5 (высокий)

100 000

4,2 - 106

650

5,3 (высокий)

200 000

5,8 - 106

457

5,7 (высокий)

500 000

9,2 - 106

290

6 (средний)

1 000 000

13,1 - 106

200

6,3 (средний)

2 000 000

18,6 - 106

145

6,7 (средний)

5 000 000

30,0 ∙ 106

90

7 (малый)

10 000 000

42,0 - 106

65

При выборе значений R и C в ходе испытания в том случае, если не может быть определен индекс загрязненности, следует ориентироваться на ближайшее значение меньшего уровня загрязненности атмосферы.

Для естественного обмена воздуха в стенке камеры соляного тумана должно быть предусмотрено вентиляционное отверстие площадью не более 80 см2.

После натяжения ОК с усилием, равным максимально допустимому усилию натяжения при прокладке, ОК протирают влажной бумажной салфеткой, после чего подвергают воздействию повторяющихся циклов распыления раствора соли и сушки: распыление - в течение 2 мин, сушка - в течение 13 мин.

Концентрат раствора готовят, растворяя (10 ± 0,5) кг хлорида натрия (NaCl) в 1000 л дистиллированной и деионизированной воды, и применяют его не ранее, чем через 12 ч после приготовления (для обеспечения полного растворения соли), с ежесуточным контролем того, что концентрация раствора составляет не менее 1 %.

Концентрация раствора и скорость его циркуляции в камере соляного тумана (рекомендуемая - от 2 до 3 л/мин) должны быть стабильными в процессе всего испытания. Каждая форсунка должна обслуживать объем камеры не более 2 м3. Размер образуемых капель должен составлять от 5 до 20 мкм, расход раствора (0,4 ± 0,1) л на каждый 1 м3 объема камеры.

После проверки размеров капель раствора и однородности соляного тумана к образцу прикладывают испытательное напряжение в течение 1000 ч.

При испытании ОК, предполагаемых к эксплуатации в условиях повышенной вероятности возникновения трекинга (за счет высокого значения наведенного потенциала или высокой концентрации загрязняющих веществ), уровень испытательного напряжения между электродами должен составлять 3 кВ/см.

В период сушки образца ОК на оболочке возникают поверхностные разряды.

Образец ОК считают выдержавшим испытание, если по завершении 300 циклов воздействия (при моделировании соответствующего индекса уровня загрязнения атмосферы региона) повреждение оболочки образца ОК в результате электрической эрозии не превышает 30 % ее толщины.

9.10.2 Проверка соответствия требованиям пожарной безопасности

9.10.2.1 Проверку соответствия требованиям к нераспространению горения ОК при одиночной прокладке (7.2.1) проводят по ГОСТ IEC 60332-1-2, ГОСТ IEC 60332-1-3 или ГОСТ IEC 60332-2-2.

9.10.2.2 Проверку соответствия требованиям к нераспространению горения ОК при групповой прокладке (7.2.2) проводят по ГОСТ IEC 60332-3-21, ГОСТ IEC 60332-3-22, ГОСТ IEC 60332-3-23, ГОСТ IEC 60332-3-24 или ГОСТ IEC 60332-3-25.

При испытании образцы кабеля должны быть расположены без зазора.

9.10.2.3 Проверку дымообразования при горении и тлении ОК (7.2.3) проводят по ГОСТ IEC 61034-2.

9.10.2.4 Проверку выделяемых газов галогенных кислот в пересчете на соляную кислоту (HCl) при горении и тлении полимерных материалов, входящих в состав ОК (7.2.4), проводят по ГОСТ IEC 60754-1 для всех полимерных материалов, входящих в состав ОК, имеющих массу более 1 % от общей массы полимерных материалов ОК.

9.10.2.5 Проверку удельной проводимости и pH водного раствора с адсорбированными продуктами дымо- и газовыделения при горении и тлении полимерных материалов, входящих в состав ОК, имеющих массу более 1 % от общей массы полимерных материалов ОК (7.2.4), проводят по ГОСТ IEC 60754-2.

9.10.2.6 Определение эквивалентного показателя токсичности продуктов горения полимерных материалов ОК (7.2.5) проводят в соответствии с ГОСТ 31565. При этом показатель токсичности каждого полимерного материала конструкции ОК определяют по разделу 13 ГОСТ 12.1.044-89.

Примечание - При расчете эквивалентного показателя токсичности учитывают все полимерные материалы в составе ОК, имеющие массу более 1 % от общей массы полимерных материалов ОК.

9.10.2.7 Проверку огнестойкости (7.2.6) ОК проводят по ГОСТ IEC 60331-25.

В процессе воздействия пламени в течение времени, установленного в НД на конкретный ОК, и в течение не менее 15 мин после выключения пламени непрерывно контролируют вносимые оптические потери на длине волны (1310 ± 10) нм для одномодовых ОВ и на длине волны (1300 ± 20) нм для многомодовых ОВ.

ОК считают соответствующими требованиям огнестойкости, если вносимые оптические потери в процессе измерений составили не более:

- в одномодовых ОВ - 2 дБ;

- в многомодовых ОВ - 5 дБ.

10 Транспортирование и хранение

10.1 Транспортирование и хранение ОК должны соответствовать требованиям ГОСТ 18690 и ГОСТ 15150, дополнительным требованиям настоящего раздела и требованиям НД на конкретные ОК.

10.2 Условия транспортирования, разгрузки и хранения в части воздействия механических факторов не должны приводить к нарушению целостности упаковки и кабельной тары.

10.3 Хранение ОК следует осуществлять в упакованном виде, при отсутствии воздействия паров кислот, щелочей и других агрессивных сред.

10.4 Температура при хранении ОК в отапливаемых складских помещениях - от 5 °С до 40 °С.

10.5 Температура при транспортировании и хранении ОК под навесом:

- всех ОК (за исключением ОК группы В, ОК холодостойкого и тропического исполнения) - от минус 50 °С до плюс 50 °С;

- подвесных ОК - от минус 60 °С до 60 °С;

- ОК холодостойкого исполнения - от минус 60 °С до плюс 50 °С;

- ОК тропического исполнения - от минус 40 °С до плюс 65 °С.

11 Указания по монтажу и эксплуатации

11.1 Монтаж, сооружение и эксплуатацию кабельных линий с применением ОК следует производить в соответствии с действующими инструкциями по монтажу, проектной и технологической документацией.

11.2 Потребитель должен проводить входной контроль ОК на соответствие паспортным данным путем:

- осмотра барабанов с ОК на предмет отсутствия механических повреждений, сопоставления маркировки, указанной на барабане, на оболочке ОК и в паспорте на ОК;

- проведения контроля целостности и длины ОВ в кабеле на предмет отсутствия признаков механических повреждений ОК;

- контрольных измерений коэффициента затухания всех ОВ в ОК;

- измерений сопротивления ТПЖ, изоляции ТПЖ (при их наличии), изоляции полимерной наружной оболочки ОК.

11.3 Прокладку и монтаж ОК следует производить при температуре от минус 10 °С до плюс 40 °С; прокладку ОК группы В допускается проводить при температуре от минус 30 °С до плюс 40 °С.

11.4 Радиус изгиба ОК при прокладке и монтаже должен быть не менее 20 номинальных диаметров ОК.

11.5 При прокладке и монтаже запрещается превышать допустимые для ОК растягивающее усилие и раздавливающее усилие, а также другие механические характеристики, значения которых заданы в НД на конкретные ОК.

11.6 Допустимый радиус изгиба полимерных ОМ - не менее 40 мм.

11.7 Допустимый радиус изгиба центрального полимерного модуля - не менее 100 мм.

11.8 Допустимый радиус изгиба ОВ при монтаже и эксплуатации - не менее 30 мм. Допустимый радиус изгиба ОВ типа G.657 - в соответствии с НД изготовителя ОВ на категорию конкретного ОВ.

11.9 При прокладке ОК лебедкой с тяговым тросом (фалом) следует применять направляющие устройства и монтажные ролики, а также вертлюг (шарнирное соединительное звено) на стыке троса с ОК.

11.10 При размотке ОК в процессе прокладки следует предусматривать его перемещение по вращающимся роликам и специальным приспособлениям (ложементы, подкладки, маты и т.п.) без соприкосновения с неподготовленными поверхностями.

11.11 Отдачу ОК с кабельного барабана следует осуществлять принудительно, сверху, с регулируемой скоростью и исключением осевого кручения ОК.

11.12 Тяговая лебедка должна обеспечивать контролируемые натяжение и скорость перемещения троса, соединенного с ОК.

11.13 Концы ОК при прокладке должны быть герметично заделаны для защиты от проникновения в ОК влаги.

11.14 Выкладку ОК в кабельной канализации необходимо производить по установленным консолям с соблюдением допустимых радиусов изгиба.

11.15 Монтаж ОК следует производить с применением кабельной арматуры (муфт для монтажа ОК, оптического кроссового оборудования и др.), имеющих декларации соответствия.

11.16 При прокладке, монтаже и эксплуатации ОК, предназначенных для подвески на опорах ЛЭП, на опорах контактной сети и автоблокировки железных дорог, должны соблюдаться требования, приведенные в 11.16.1 - 11.16.6.

11.16.1 Радиус применяемых раскаточных роликов должен быть не менее 20-кратного значения диаметра ОК. Материал рабочей поверхности роликов должен обеспечивать сохранность наружной поверхности(оболочки) кабеля.

11.16.2 Угол схода ОК на раскаточный ролик должен быть не более 30°.

11.16.3 В процессе прокладки следует обеспечивать стрелы провеса ОК больше проектных значений, установку проектных стрел провеса нужно осуществлять при окончательном натяжении ОК.

11.16.4 Технические характеристики арматуры для подвески ОК рекомендуется согласовывать с предприятием - изготовителем ОК.

11.16.5 При эксплуатации ОК их следует защищать в соответствии с проектной документацией с помощью гасителей вибрации.

11.16.6 Требования по защите ОК от трекинга и образования гололеда должны быть установлены в НД на конкретные ОК.

12 Гарантии изготовителя

12.1 Предприятие-изготовитель гарантирует соответствие ОК требованиям технической документации на него при соблюдении условий транспортирования, хранения, монтажа и эксплуатации.

12.2 Гарантийный срок эксплуатации ОК должен быть указан в НД и составлять не менее двух лет с даты ввода ОК в эксплуатацию.


Приложение А
(обязательное)
Перекрестные обозначения оптических волокон

Таблица А.1 - Обозначения одномодовых оптических волокон в нормативных документах

Обозначение НД

Обозначения типов ОВ

Настоящий
стандарт

G.652

G.654

G.655

G.656

G.657

G.652.B

G.652.D

G.654.A

G.654.B

G.654.C

G.654.D

G.654.E

G.655.C

G.655.D

G.655.E

G.657.A1

G.657.A2

G.657.B2

G.657.B3

По ГОСТ Р МЭК 60793-2-50

B1.1

B1.3

B1.2_a

B1.2_b

B1.2_c

-

-

B4_c

B4_d

B4_e

B5

B6_a1

B6_a2

B6_b2

B6_b3

По [12] - [16]

G.652

G.654

G.655

G.656

G.657

G.652.B

G.652.D

G.654.A

G.654.B

G.654.C

G.654.D

G.654.E

G.655.C

G.655.D

G.655.E

G.657.A1

G.657.A2

G.657.B2

G.657.B3

По [17]

В-652

В-654

В-655

В-656

В-657

В-652.В

В-652.D

В-654.А

В-654.В

В-654.С

В-654.D

В-654.Е

В-655.С

В-655.D

В-655.Е

В-657.А1

В-657.А2

В-657.В2

В-657.В3

Таблица А.2 - Обозначения многомодовых оптических волокон в нормативных документах

Обозначение НД

Обозначение типов ОВ

Настоящий стандарт

ОМ1

ОМ2

ОМ3

ОМ4

ОМ5

По ГОСТ Р МЭК 60793-2-10

А1b

А1а.1

А1а.2

А1а.3

А1а.4

По [18]

-

G.651.1

По [19]

ОМ1

ОМ2

ОМ3

ОМ4

ОМ5

По [20]

ОМ1

ОМ2

ОМ3

ОМ4

ОМ5


Приложение Б
(справочное)
Перекрестные обозначения подвесных типов оптических кабелей

Таблица Б.1 - Обозначения подвесных типов ОК в нормативных документах

Исполнение ОК

Стандарты IEC (МЭК)

Стандарты ПАО «Россети»

Настоящий стандарт

1 ОК, встроенный в грозозащитный трос ЛЭП

OPGW (Optical ground wire)

ОКГТ

ОКВГ

2 ОК, встроенный в фазный провод ЛЭП

ОРРС (Optical phase conductor)

ОКФП

ОКВФ

3 Самонесущий металлический ОК

MASS (Metal armored self supporting)

Информация отсутствует

ОКБ

4 Самонесущий диэлектрический ОК

ADSS (All dielectric self supporting)

ОКСН

ОКВД

5 ОК, присоединенный к грузонесущему элементу (проводу, тросу)

OPAC (Optical attached cable)

ОКНН

ОКВП

6 Самонесущий ОК с выносным силовым элементом конфигурации в виде цифры «8»

SSW (Self supporting with windows)

Информация отсутствует

ОКВЭ

Приложение В
(справочное)
Цветовое кодирование

Таблица В.1 - Цветовое кодирование оптического волокна в составе модуля оптического кабеля

№ ОВ

Цвет ОВ

Число черных кольцевых меток » на шаг нанесения меток, мм

1

Синий

Отсутствуют

2

Оранжевый

3

Зеленый

4

Коричневый

5

Серый

6

Белый

7

Красный

8

Черный

9

Желтый

10

Фиолетовый

11

Розовый

12

Бирюзовый

13

Синий

1×50

14

Оранжевый

15

Зеленый

16

Коричневый

17

Серый

18

Белый

19

Красный

20

Натуральный

21

Желтый

22

Фиолетовый

23

Розовый

24

Бирюзовый

25

Синий

2×50

26

Оранжевый

27

Зеленый

28

Коричневый

29

Серый

30

Белый

31

Красный

32

Натуральный

33

Желтый

34

Фиолетовый

35

Розовый

36

Бирюзовый

37

Синий

1×25

38

Оранжевый

39

Зеленый

40

Коричневый

41

Серый

42

Белый

43

Красный

44

Натуральный

45

Желтый

46

Фиолетовый

47

Розовый

48

Бирюзовый

49

Синий

2×25

50

Оранжевый

51

Зеленый

52

Коричневый

53

Серый

54

Белый

55

Красный

56

Натуральный

57

Желтый

58

Фиолетовый

59

Розовый

60

Бирюзовый

Таблица В.2 - Цветовое кодирование полимерных ОМ

Повив сердечника

Назначение ОМ

Цвет ОМ

Число черных кольцевых меток×на шаг
нанесения меток, мм

Внутренний

Счетный

Синий

Отсутствуют

Направляющий

Оранжевый

Наружный

Счетный

Синий

1×50

Направляющий

Оранжевый

2×50

Примечания

1 Цвет остальных ОМ - натуральный.

2 Нумерацию ОМ в ОК начинают с внутреннего повива: счетный ОМ - № 1, направляющий ОМ - № 2, нумерация остальных ОМ - последовательная.

3 Нумерацию ОМ в наружном повиве начинают со счетного и направляющего ОМ в продолжении порядковой нумерации ОМ внутреннего повива.

Таблица В.3 - Цветовое кодирование ОМ, выполненных из металла

№ ОМ из металла

Число черных кольцевых меток×на шаг нанесения меток, мм

1

Отсутствуют

2

1×50

3

1×75

4

2×50

5

2×75

Примечание - Возможно кодирование ОМ, выполненных из металла, цветными нитями.

Приложение Г
(обязательное)
Методика определения совместимости материалов, применяемых
в конструкциях оптических кабелей

Г.1 Общие положения

Г.1.1 Настоящая методика испытаний учитывает положения, приведенные в [21], и распространяется на ОК, в конструкции которых применяются внутримодульные гелеобразные заполнители (ВЗ) и (или) межмодульные гелеобразные заполнители (МЗ).

Г.1.2 Испытания проводят с целью оценки совместимости конструктивных материалов и элементов, входящих в состав ОК, указанных в Г.1.3.

Г.1.3 Объектом испытаний являются заполняющие гелеобразные составы (ВЗ и/или МЗ) и следующие конструктивные элементы OK: ОВ (в том числе в плотном буферном покрытии), ленточный элемент с ОВ и ОМ из полимерного материала.

Примечания

1 Элемент конструкции ОК подвергается испытаниям на совместимость только с тем заполняющим составом (ВЗ или МЗ), с которым он находится в непосредственном контакте.

2 Для ОК, содержащих в своей конструкции как ВЗ, так и МЗ, испытания ОМ проводят в два этапа. На первом этапе проводят испытания ОМ на совместимость с ВЗ. В случае положительных результатов проводят второй этап испытаний - на совместимость с МЗ.

3 Допускается проводить испытания элементов непосредственно в составе ОК.

Г.1.4 Для испытаний отбирают по две группы образцов конструктивных элементов ОК общей длиной не менее 15 м каждая.

При наличии в ОК конструктивных элементов разных цветов вторую группу образцов формируют из представителей каждого цвета, присутствующего в конструкции ОК, длиной по 15 м каждый.

При испытаниях элементов и материалов в составе ОК используют один образец ОК длиной 15 м.

При испытаниях ОК, содержащих в своей конструкции как ВЗ, так и МЗ, для каждого этапа испытания отбирают отдельную группу образцов ОМ общей длиной по 15 м (всего три группы).

Г.1.5 Количество ВЗ или МЗ должно быть достаточным для того, чтобы полностью покрыть погруженную в него одну группу испытуемых элементов, указанную в Г.1.4.

Г.1.6 Образцы конструктивных элементов и заполняющих составов должны отбираться от партии, из которой изготавливался проверяемый ОК.

Г.2 Параметры - критерии годности

Г.2.1 Для ОВ:

- первичное защитное покрытие ОВ должно быть сплошным и не иметь трещин и вспучиваний;

- значения усилия снятия акрилового первичного защитного покрытия должны находится в пределах, указанных в 6.2.1.2;

- цвет окрашенного ОВ должен быть различимым.

Примечание - В случае применения ОВ в плотном буферном покрытии данные параметры не оценивают.

Г.2.2 Для ОВ в плотном буферном покрытии:

- плотное буферное покрытие должно быть сплошным и не иметь трещин и вспучиваний;

- значения усилия снятия плотного буферного покрытия должны соответствовать значениям, приведенным в НД на конкретный ОК;

- цвет ОВ в окрашенном плотном буферном покрытии должен быть различимым.

Г.2.3 Для ленточного элемента с ОВ:

- полимерная матрица ленточного элемента с ОВ должна быть сплошной и не иметь трещин и вспучиваний;

- значения усилия разделяемости ОВ от ленты должны соответствовать значениям, приведенным в НД на конкретный ОК.

Г.2.4 Для ОМ:

- на поверхности ОМ не должно быть разрывов, трещин и набухания;

- ОМ должен быть прочным к воздействиям статического изгиба с радиусом, равным 10 наружным диаметрам ОМ;

- ОМ должен быть прочным к 20 циклам изгибов с радиусом, равным 15 наружным диаметрам ОМ;

- цвет ОМ должен быть различимым.

Г.3 Процедура испытаний

Г.3.1 Контроль параметров - критериев годности (Г.2) проводят в НКУ (по 9.1.1).

Время выдержки образцов в НКУ - не менее 6 ч, если иное не оговорено в конкретных методах испытаний.

Г.3.2 До начала испытаний на совместимость у одной группы образцов каждого элемента определяют параметры - критерии годности (Г.2) методами, указанными в Г.4.

Примечание - При испытании на совместимость элементов в составе ОК контроль параметров - критериев годности до испытаний не проводится.

Г.3.3 В случае положительных результатов испытаний по Г.3.2 проводят испытания на совместимость на второй группе образцов.

Г.3.4 Образцы помещают в стеклянную емкость с ВЗ или МЗ таким образом, чтобы они были полностью погружены в указанные составы, после чего емкость размещают в камере тепла, в которой образцы выдерживают в течение 30 сут при температуре 85 °С.

При испытании конструктивных элементов в составе ОК в камеру помещают ОК с герметично заделанными концами, сформированный в бухту.

Г.3.5 После завершения испытаний образцы вынимают из емкости и удаляют с их поверхности ВЗ или М3 мягкой безворсовой тканью.

Примечание - Не допускается для удаления ВЗ (МЗ) погружать образцы в емкости с растворителями, в т.ч. жидкости для снятия ВЗ (МЗ).

Г.3.6 После очистки образцов проводят проверку их внешнего вида, а затем других параметров - критериев годности, указанных в Г.2, в соответствии с Г.4.

Г.3.7 Если испытания конструктивных элементов проводят в составе ОК, то после завершения выдержки при повышенной температуре ОК аккуратно разделывают, извлекая из него конструктивные элементы, обеспечивая их необходимую длину для контроля параметров - критериев годности (Г.2) в сответствии с методами, установленными в Г.4.

Г.4 Методы испытаний

Г.4.1 Контроль внешнего вида конструктивных элементов (сплошности, наличия трещин и вспучиваний первичного защитного покрытия, плотного буферного покрытия и полимерной матрицы ленточного элемента с ОВ) проводят внешним осмотром при помощи увеличительного прибора с не менее чем пятикратным увеличением.

Г.4.2 Контроль прочности окраски ОВ и окрашенного плотного буферного покрытия ОВ проводят протиркой чистой белой безворсовой тканью не менее 100 раз. Ткань следует удерживать между большим и указательным пальцами, прилагая умеренное усилие. В случае наличия кольцевой маркировки протирать следует участок с маркировкой кольцами.

В случае наличия нескольких ОВ (ОВ в плотном буферном покрытии), имеющих окраску в различные цвета, испытаниям подвергают не менее одного представителя каждого цвета.

Г.4.3 Усилие снятия акрилового первичного защитного покрытия и усилие снятия плотного буферного покрытия определяют в соответствии с ГОСТ Р МЭК 60793-1-32.

Г.4.4 Усилие разделяемости ОВ из ленты определяют согласно методу G.5 ГОСТ Р МЭК 60794-1-23.

Г.4.5 Прочность окраски ОМ к воздействию ВЗ и (или) МЗ определяют визуально.

Г.4.6 Контроль прочности ОМ к статическому изгибу проводят в соответствии с 9.6.13 со следующими уточнениями:

- длина образца - не менее 3 м;

- количество циклов намоток - 1;

- выдержка при пониженной температуре не производится.

Г.4.7 Контроль прочности ОМ к многократным изгибам проводят в соответствии с 9.6.4 со следующими уточнениями:

- длина образца - не менее 3 м;

- масса натяжного груза - от 0,5 кг;

- радиус изгиба - в соответствии с Г.2.4;

- испытание проводят в НКУ;

- осуществляют только контроль внешнего вида.

В случае наличия нескольких ОМ, имеющих окраску в различные цвета, испытаниям подвергают не менее одного представителя каждого цвета.

Г.5 Оценка результатов испытаний

ВЗ и МЗ считаются совместимыми с конструктивными элементами ОК, если после завершения испытаний значения параметров - критериев годности всех испытанных элементов ОК соответствуют установленным в Г.2.

Приложение Д
(обязательное)
Методика оценки соответствия оптических кабелей требованиям к надежности

Д.1 Общие положения

Д.1.1 Настоящая методика оценки соответствия ОК требованиям к надежности учитывает положения [22] и распространяется на ОК длительного непрерывного применения, которые по характеру основных процессов, определяющих переход в предельное состояние, относятся к стареющим изделиям.

Д.1.2 К предельному состоянию ОК относят необратимое увеличение коэффициента затухания сверх установленных в НД на конкретные ОК (для периода эксплуатации и хранения) значений и видимые невооруженным глазом повреждения испытуемого ОК.

Примечание – У ОК с ТПЖ к предельному состоянию относят также необратимое снижение сопротивления изоляции ТПЖ ниже нормированных значений и/или увеличение сопротивления ТПЖ выше значений, установленных в НД на конкретные ОК.

Д.1.3 В соответствии с настоящей методикой контролируют соответствие испытуемого ОК требованиям к следующим показателям надежности (долговечности и сохраняемости):

- гамма-процентный срок службы;

- гамма-процентный срок сохраняемости.

Д.1.4 Конкретный метод оценки соответствия испытуемого ОК требованиям сохраняемости и долговечности устанавливают в НД на конкретный ОК.

Д.1.5 В НД или программах и методиках испытаний на конкретный ОК должны быть указаны типовой режим эксплуатации и типовой режим хранения испытуемого ОК, включающие:

- температурные режимы эксплуатации и хранения и продолжительность их воздействия;

- минимальный радиус барабана (катушки, кассеты), на котором(ых) осуществляется хранение испытуемого ОК;

- эксплуатационный радиус изгиба и количество изгибов;

- значение растягивающей нагрузки и продолжительность ее воздействия;

- параметры других механических воздействий (при их наличии).

Д.1.6 Параметрами - критериями годности испытуемых ОК являются:

- внешний вид;

- оптическая целостность ОВ;

- коэффициент затухания;

- деформация ОВ в испытуемом ОК (только для одномодовых ОВ, при необходимости);

- усилие снятия акрилового первичного защитного покрытия ОВ;

- электрическое сопротивление изоляции ТПЖ (при наличии);

- электрическое сопротивление ТПЖ (при наличии).

В обоснованных случаях в НД на конкретный ОК могут быть установлены дополнительные параметры - критерии годности испытуемого ОК.

Д.1.7 Испытания проводят на самостоятельных выборках кабеля, прошедшего приемо-сдаточные испытания.

Д.1.8 При проведении испытаний допускается последовательно соединять однотипные ОВ друг с другом с помощью сварки в шлейф.

Д.1.9 Оптическая длина образцов ОК, подвергаемых испытаниям, должна быть не менее 1000 м.

Д.1.10 Количество испытуемых образцов n определяют в зависимости от требуемой вероятности γ, установленной в НД на конкретные ОК, в соответствии с таблицей Д.1.

Таблица Д.1 - Количество испытуемых образцов в зависимости от вероятности γ

Вероятность γ, %

Количество испытуемых образцов по, шт.

90 - 96

3

97 - 98

4

99

10

99,5

20

Д.2 Порядок проведения испытаний

Д.2.1 Образцы ОК до начала испытаний выдерживают не менее 4 ч в НКУ (по 9.1.1).

Д.2.2 Контроль параметров - критериев годности проводят по окончании предварительной выдержки (начальное значение), после каждого цикла испытаний и по окончании испытаний.

Примечание - Контроль усилия снятия акрилового первичного защитного покрытия проводят только после полного завершения испытаний.

Д.2.3 Контроль внешнего вида испытуемого ОК проводят в соответствии с ГОСТ 12177 визуальным осмотром, без применения увеличительных средств.

ОК считают выдержавшим испытания, если отсутствуют видимые невооруженным глазом повреждения испытуемого ОК.

Контроль внешнего вида оптических модулей и акрилового защитного покрытия ОВ проводят по ГОСТ 12177 визуальным осмотром, с применением увеличительных средств, обеспечивающих пятикратное увеличение.

ОК считают выдержавшим испытание, если оптические модули и акриловое защитное покрытие ОВ не имеют отслоений, трещин и иных дефектов.

Д.2.4 Контроль оптической целостности ОВ проводят путем введения оптического сигнала (видимого спектра) оптическим дефектоскопом в один конец ОВ и контроля выхода оптического сигнала с противоположного конца ОВ.

ОВ считают выдержавшим испытания, если оптический сигнал, введенный в один конец ОВ, наблюдается на другом конце этого ОВ.

Допускается контролировать оптическую целостность методом измерения оптических потерь по методу В ГОСТ Р 60793-1-40. ОВ считают целым, если сигнал от источника излучения, введенный в один конец ОВ, регистрируется приемником на другом конце ОВ. Конкретное значение оптических потерь при этом не регистрируют.

Д.2.5 Контроль коэффициента затухания в ОВ, размещенных в испытуемом ОК, проводят методом обратного рассеяния в соответствии с ГОСТ Р МЭК 60793-1-40.

Длину волны оптического излучения, на которой проводят измерение коэффициента затухания, устанавливают в соответствии с рабочей длиной волны, указанной в НД на конкретный ОК.

Для ОК с одномодовыми ОВ измерения проводят на всех рабочих длинах волн, установленных в НД на конкретный ОК, из перечня 1310, 1550 и 1625 нм.

Для ОК с многомодовым ОВ измерения проводят на длине волны 1300 нм.

ОК считают выдержавшим испытания, если коэффициент затухания на рабочих длинах волн не превышает значения, указанного в НД на конкретный ОК для периода эксплуатации и хранения.

Д.2.6 Контроль деформации ОВ в испытуемом ОК проводят с помощью анализатора вынужденного рассеяния Мандельштама-Бриллюэна (далее - анализатор), позволяющего получить распределение частоты вынужденного рассеяния Мандельштама-Бриллюэна (далее - ВРМБ) по длине волокна.

Д.2.6.1 Деформацию ОВ определяют путем измерения изменения характерной частоты ВРМБ при опорном значении натяжения волокна νB0), МГц, ОВ, вычисляемой по формуле

(Д.1)

где п - показатель преломления;

νA - скорость акустической волны, м/с;

λр - длина волны излучения накачки в вакууме, мкм.

Д.2.6.2 Для определения частоты ВРМБ νOB0, TНКУ) ОВ, использованного в контролируемом ОК, образец ОВ от той же партии, из которой изготовлен контролируемый ОК, длиной не менее 1000 м сматывают с транспортной катушки в бухту свободной укладки (ε0 = 0) со средним диаметром не менее 30 см.

Примечание - Если строительная длина ОК в соответствии с НД на конкретный ОК составляет менее 1000 м, для испытаний отбирают образец ОВ длиной, равной строительной длине ОК.

После выдержки образца в НКУ не менее 2 ч его подключают к анализатору и производят измерение значения νOB0, TНКУ), среднего по длине образца ОВ.

Перед измерением νOB0, TНКУ) необходимо определить температуру окружающей среды с точностью до ± 2 °С.

Д.2.6.3 Контролируемые образцы ОК, намотанные на барабан или смотанные в бухту (если такой способ хранения и поставки предусмотрен в НД на конкретный ОК), длиной не менее 1000 м каждый, выдерживают в НКУ не менее 24 ч, после чего испытуемый образец ОК подключают к анализатору и измеряют частоту ВРМБ νОК(ε, Т) ОК аналогично Д.2.6.2, при таком же значении окружающей температуры - ± 2 °С, как и при измерении νOB0, TНКУ).

Примечание - Если строительная длина ОК в соответствии с НД на конкретный ОК составляет менее 1000 м, для испытаний отбирают образец ОК длиной, равной строительной длине.

Д.2.6.4 Используя измеренные значения частот, вычисляют деформацию ОВ в ОК по формуле

(Д.2)

где Δε = ε - ε0 - изменение деформации ОВ в ОК относительно начального значения (деформации свободного ОВ), %;

ε0 = 0 - деформация отсутствует;

Δν = νОК(ε, TНКУ) - νОВ(ε, TНКУ) - изменение частоты при испытании, МГц;

νОК(ε, TНКУ) - частота ОВ в ОК при TНКУ, МГц;

ν00, TНКУ) - частота свободного ОВ при TНКУ, МГц;

 = 529 МГц/% - скорость изменения частоты при опорном значении температуры, МГц/%.

Примечание - Значение коэффициента  является ориентировочным, т.к. может отличаться для ОВ разных типов.

Д.2.6.5 Результаты измерений должны быть оформлены протоколами, в которых должна быть указана следующая информация:

- дата, место и точная температура окружающей среды при проведении измерений;

- обозначение марки испытуемого ОК;

- перечень использованного оборудования для входного контроля и измерения деформации;

- количество, тип и производитель ОВ, использованного в ОК с указанием значения параметра , необходимого для расчета деформации;

- результаты измерения частоты ВРМБ в свободном ОВ и ОВ в испытуемом ОК;

- результаты расчета деформации ОВ в испытуемом ОК.

В случае наличия неоднородностей деформации по длине в измеряемых ОВ контролируемого ОК результаты должны быть дополнены графиком зависимости деформации от длины.

Пример распределения деформации по длине представлен на рисунке Д.1

1 - ОВ имеет незначительное локальное натяжение; 2 - ОВ без натяжения;
3 - ОВ неоднородно натянуто по длине кабеля, деформация значительная

Рисунок Д.1 - Пример распределения деформации по длине ОК

Д.2.6.6 ОК считают выдержавшим испытания, если значение деформации ОВ в испытуемом ОК не превышает значения, установленного в конкретном методе испытаний.

Д.2.7 Контроль усилия снятия акрилового первичного защитного покрытия с ОВ проводят при испытаниях на сохраняемость по ГОСТ Р МЭК 60793-1-32. ОК считают выдержавшим испытание, если усилие снятия:

- акрилового первичного защитного покрытия соответствует установленному в 6.2.1.2;

- буферного защитного покрытия находится в диапазоне от 1,3 до 13,3 Н.

Д.2.8 Контроль электрического сопротивления изоляции ТПЖ при их наличии в составе ОК проводят по ГОСТ 3345.

ОК считают выдержавшим испытания, если электрическое сопротивление изоляции ТПЖ соответствует значению, указанному в НД на конкретный ОК.

Д.2.9 Контроль электрического сопротивления ТПЖ при их наличии в составе ОК проводят по ГОСТ 7229.

ОК считают выдержавшим испытания, если электрическое сопротивление ТПЖ соответствует значению, указанному в НД на конкретный ОК.

Д.2.10 Результаты испытаний ОК на соответствие требованиям надежности оформляют протоколом. В протоколе указывают:

- объект испытаний;

- марку, заводской номер, дату изготовления, количество испытуемых образцов ОК и их длины;

- наименование предприятия-изготовителя;

- наименования средств измерений и их заводские номера;

- наименование испытательного оборудования и его заводской или инвентарный номер;

- срок действия свидетельства поверки (аттестации) использованных средств измерений и испытательного оборудования;

- значения внешних воздействующих факторов;

- длину волны оптического излучения, на которой проводили измерения коэффициента затухания;

- зарегистрированные значения параметров - критериев годности.

При измерении деформации ОВ в протоколе дополнительно указывают информацию в соответствии с Д.2.6.5.

Д.3 Методы оценки соответствия оптического кабеля требованиям сохраняемости

Д.3.1 Оценка соответствия оптического кабеля требованиям сохраняемости методом длительного хранения

Д.3.1.1 Оценку соответствия требованиям сохраняемости испытуемых ОК методом длительного хранения начинают проводить в течение первого года выпуска при серийном производстве или при нахождении изделий в опытном производстве более двух лет.

При изменении конструкции ОК, технологии их изготовления или применяемых материалов, которые могут повлиять на сохраняемость, производят закладку на испытания новых выборок, а испытания предыдущих прекращают.

Д.3.1.2 Испытания ОК проводят в помещении (на складе), в котором поддерживают условия, соответствующие условиям хранения ОК, установленным в НД.

Д.3.1.3 В целях сокращения объема испытаний необходимо группировать при закладке на хранение ОК различных типов, типономиналов, имеющих одну базовую конструкцию и близких по технологическим процессам изготовления, а также по применяемым материалам и функциональному назначению.

Д.3.1.4 К каждой выборке ОК, закладываемой на испытания, должен прилагаться сопроводительный лист с указанием:

- условных обозначений ОК;

- обозначения ТУ на ОК;

- предприятия-изготовителя;

- месяца, года изготовления;

- объема выборки;

- условий испытания;

- измеряемых параметров - критериев годности;

- отметки об очередной проверке изделий.

Д.3.1.5 Во время испытаний с периодичностью один раз в год и после завершения испытаний контролируют параметры - критерии годности.

Д.3.2 Оценка соответствия оптического кабеля требованиям сохраняемости по данным о сохраняемости аналогов

Д.3.2.1 Соответствие испытуемого ОК требованиям сохраняемости подтверждают результатами естественного хранения (по Д.3.1) конструктивных аналогов испытуемого ОК, близких по технологическим процессам изготовления, а также по применяемым материалам и области применения или функциональному назначению.

Д.3.2.2 Соответствие испытуемого ОК требованиям сохраняемости считают подтвержденным, когда значения коэффициента затухания аналогов после их испытаний на сохраняемость в течение требуемого гамма-процентного срока сохраняемости Тγ с.с. находятся в пределах значений, установленных в НД на конкретные ОК для периода эксплуатации и хранения.

Примечание - Допускается учитывать положительные результаты испытаний на сохраняемость аналогов, естественное хранение которых осуществлялось в течение времени, составляющего не менее 2/3 от срока хранения, установленного в НД на контролируемый ОК.

Д.3.3 Оценка соответствия оптического кабеля требованиям сохраняемости расчетно-экспериментальным методом

Оценку соответствия испытуемого ОК требованиям сохраняемости допускается проводить расчетно-экспериментальным методом в том случае, когда параметр усталостной прочности ОВ, используемых в испытуемом ОК, определяемый в соответствии с ГОСТ Р МЭК 60793-1-33, имеет значение более 20.

Примечание - Соответствие ОВ конкретной марки, применяемого в конкретном ОК, требованию к параметру усталостной прочности должно быть подтверждено протоколом испытаний в испытательном центре (лаборатории), аккредитованном(ой) в установленном порядке.

Оценку соответствия испытуемого ОК требованиям сохраняемости проводят путем сравнения бриллюэновских частот в соответствии с методом, указанным в Д.2.6, в ОВ, идентичном тому, из которого изготовлен испытуемый ОК, и в ОВ, размещенном в ОК. Соответствие испытуемого ОК требованиям сохраняемости считают подтвержденным, если полученное в соответствии с Д.2.6 значение деформации ОВ в испытуемом ОК не превышает 0,1 %.

Д.4 Методы оценки соответствия оптического кабеля требованиям долговечности

Д.4.1 Общие положения по проведению испытаний оптического кабеля на соответствие требованиям долговечности

Д.4.1.1 В начале испытаний по оценке соответствия требованиям к гамма-процентному сроку службы проверяют стойкость испытуемого ОК к воздействию механических нагрузок, имитирующих условия прокладки.

Испытания, имитирующие условия прокладки испытуемого ОК, состоят из его перемотки с отдающего устройства (барабан, катушка) на приемное устройство через систему роликов, обеспечивающих изгибы ОК, имитирующие изгибы ОК, возникающие при монтаже и прокладке испытуемого ОК.

Схема установки для испытаний ОК на перемотку через систему роликов приведена на рисунке Д.2.

Расположение роликов друг относительно друга должно соответствовать изображенному на рисунке Д.2. Допускается два типа расположения (варианты А и Б рисунка Д.2).

Диаметр роликов должен быть равным двум минимально допустимым радиусам изгиба при монтаже. Допустимое отклонение диаметра роликов - не более 5 %.

Линейная скорость перемотки должна быть не более 20 м/мин.

Нагружаемая длина ОК должна составлять не менее 25 м.

Количество циклов перемоток - не менее 5, если в НД на конкретный ОК не установлено иное.

Примечание - За цикл принимают прохождение всего испытуемого (нагружаемой части) отрезка ОК через систему роликов.

После испытания оценивают параметры - критерии годности испытуемого ОК в соответствии с Д.2.3 и Д.2.5.

1 - отдающее устройство; 2 - приемное устройство; 3 - ролики

Рисунок Д.2 - Схема установки для перемотки ОК через систему роликов

Д.4.1.2 После испытаний по Д.4.1.1 испытуемые образцы ОК должны быть намотаны на кабельный барабан (катушку) или смотаны в бухты с внутренним диаметром не менее двух допустимых эксплуатационных радиусов изгиба, установленных в НД на конкретные ОК.

Д.4.1.3 Последующие испытания проводят на подготовленных в соответствии с Д.4.1.2 образцах в условиях внешних воздействий по Д.4.1.4 - Д.4.1.6, учитывающих типовой режим, установленный в НД на конкретные ОК.

Д.4.1.4 Испытуемые образцы ОК подвергают воздействию минимальной пониженной температуры в соответствии с методом 203-1 ГОСТ 20.57.406.

Образцы ОК помещают в камеру холода, при этом концы испытуемого ОК выводят наружу или герметизируют, в камере устанавливают температуру, соответствующую минимальному значению пониженной температуры окружающей среды при эксплуатации, указанной в НД на конкретные ОК. После достижения теплового равновесия выдерживают испытуемый ОК при заданной температуре в течение времени, указанного в таблице Д.2, затем повышают температуру в камере до нормальной и извлекают испытуемый ОК из камеры или переходят к следующему виду испытаний.

Таблица Д.2 - Продолжительность воздействия внешних факторов в течение одного цикла испытаний

Наименование
воздействующего фактора, ч

ОК для умеренного
климата

Холодостойкий ОК

ОК тропического
исполнения

Продолжительность воздействия минимальной температуры

40

196

6

Продолжительность воздействия максимальной температуры

216

100

320

Повышенная относительная влажность

72 (при температуре 35 °С) или
36 (при температуре 50 °С)

36 (при температуре 35 °С) или
18 (при температуре 50 °С)

120 (при температуре 35 °С) или
60 (при температуре 50 °С)

Д.4.1.5 Испытуемые образцы ОК подвергают воздействию максимальной повышенной температуры в соответствии с методом 201-1.1 ГОСТ 20.57.406.

Образцы ОК помещают в камеру тепла, при этом концы испытуемого ОК выводят наружу или герметизируют, в камере устанавливают температуру, соответствующую максимальному значению повышенной температуры окружающей среды при эксплуатации, указанной в НД на конкретные ОК, после достижения теплового равновесия выдерживают испытуемый ОК при этой температуре в течение времени, указанного в таблице Д.2, затем понижают температуру в камере до нормальной и извлекают испытуемый ОК из камеры или переходят к следующему виду испытаний.

Д.4.1.6 Испытуемые образцы ОК подвергают воздействию повышенной влажности в соответствии с методом 208-2 ГОСТ 20.57.406 с учетом уточнений, указанных в данном разделе.

Образцы ОК помещают в камеру влаги, при этом концы испытуемого ОК выводят наружу или герметизируют, в камере устанавливают температуру (35 ± 3) °С или (50 ± 3) °С и выдерживают при этой температуре в течение суток. Затем относительную влажность повышают до (93 ± 3) %, после чего температуру и влажность в камере поддерживают постоянными в течение времени, указанного в таблице Д.2 для соответствующей температуры. Далее температуру и влажность в камере снижают до НКУ и извлекают испытуемый ОК из камеры или переходят к следующему виду испытаний.

Д.4.1.7 Подвесные ОК подгрупп В, ВГ, ВД, ВФ после каждого цикла подвергают воздействию растягивающей нагрузки в соответствии с 9.6.1 со значением, соответствующим значению среднеэксплуатационной нагрузки, установленной в НД на конкретный ОК. Время воздействия - 10 мин.

Примечание - Контроль параметров - критериев годности, за исключением внешнего вида и относительного удлинения ОВ по ГОСТ Р МЭК 60793-1-22, измеряемого во время приложения растягивающего усилия, не проводят.

Д.4.1.8 Испытуемые образцы ОК выдерживают в НКУ в течение 24 ч, после чего осуществляют контроль параметров - критериев годности.

Д.4.2 Порядок проведения испытаний на долговечность расчетно-экспериментальным методом

Д.4.2.1 Испытания на долговечность проводят расчетно-экспериментальным методом путем выдержки в условиях повышенной влажности и при максимальной повышенной и минимальной пониженной температурах эксплуатации, установленных в НД на конкретные ОК, с учетом Д.4.1.

Д.4.2.2 Испытания по подтверждению гамма-процентного срока службы должны состоять не менее чем из 10 циклов. Один цикл принимается эквивалентным 876 ч эксплуатации.

Д.4.2.3 Продолжительность воздействия повышенной относительной влажности, минимальной пониженной и максимальной повышенной температур эксплуатации в одном цикле устанавливают пропорциональными продолжительности их воздействия в типовом режиме эксплуатации в соответствии с данными, приведенными в таблице Д.2, если иной типовой режим не установлен в НД на конкретный ОК.

Д.4.2.4 Используя значения коэффициента затухания испытуемого ОК и электрического сопротивления изоляции ТПЖ (для комбинированных ОК), измеренные после каждого цикла испытаний, строят график зависимости этих параметров от срока службы. Полученная зависимость экстраполируется до значений, соответствующих требуемому значению гамма-процентного срока службы Тγ с.сл испытуемого ОК.

Д.4.2.5 Соответствие испытуемого ОК требованиям к гамма-процентному сроку службы считают подтвержденным, если после каждого цикла параметры - критерии годности испытуемого ОК будут соответствовать требованиям, установленным в настоящем стандарте и в НД на конкретный ОК, а значения коэффициента затухания и электрического сопротивления изоляции ТПЖ (для комбинированных ОК), полученные расчетно-экспериментальным путем для требуемого гамма-процентного срока службы Тγ с.сл, останутся в пределах значений, установленных для периода эксплуатации и хранения в НД на конкретный ОК.

Примечание - При наличии технической возможности рекомендуется после каждого цикла испытаний ОК с одномодовыми ОВ контролировать деформацию ОВ в соответствии с Д.2.6. ОК можно считать соответствующим требованию к гамма-процентному сроку службы, если значение деформации, полученное расчетно-экспериментальным путем для требуемого гамма-процентного срока службы Т γ с.сл (к концу срока службы), будет не более 0,5 %.

Библиография

[1]

IEC 60304: Edition 3.0 1982-01, Standard colours for insulation for low-frequency cables and wires

[2]

ANSI/TIA-598-D-2014, Optical Fiber Cable Color Coding

[3]

IEC 60794-3-20: Edition 3.0 2016-09, Optical fibre cables - Part 3-20: Outdoor cables - Family specification for self-supporting aerial telecommunication cables

[4]

IEC 60794-4-10: Edition 2.0 2014-10, Optical fibre cables - Part 4-10: Family specification - Optical ground wires (OPGW) along electrical power lines

[5]

ITU-T Recommendation K.47 (05/2012), Protection of telecommunication lines against direct lighting flashes

[6]

IEC 60794-1-24: Edition 1.0 2014-05, Optical fibre cables - Part 1-24: Generic specification - Basic optical cables test procedures - Electrical test methods

[7]

IEC 60794-1-21: Edition 1.0 2015-03, Optical fibre cables - Part 1-21: Generic specification - Basic optical cables test procedures - Mechanical test methods.

[8]

IEC 61395:1998, Overhead electrical conductors - Creep test procedures for stranded conductors

[9]

ITU-T Recommendation G.976 (05/2014), Test methods applicable to optical fibre submarine cable systems

[10]

ITU-T Recommendation G.978 (07/2010), Characteristics of optical fibre submarine cables

[11]

IEC 60794-4-20: Edition 2.0 2018-08, Optical fibre cables - Part 4-20: Aerial optical cables along electrical power lines - Family specification for ADSS (All Dielectric Self Supported) optical cables

[12]

ITU-T Recommendation G.652 (11/2016), Characteristics of a single-mode optical fibre and cable

[13]

ITU-T Recommendation G.654 (10/2016), Characteristics of a cut-off shifted single-mode optical fibre and cable

[14]

ITU-T Recommendation G.655 (11/2009), Characteristics of a non-zero dispersion-shifted single-mode optical fibre and cable

[15]

ITU-T Recommendation G.656 (07/2010), Characteristics of a fibre and cable with non-zero dispersion for wideband optical transport

[16]

ITU-T Recommendation G.657 (11/2016), Characteristics of a bending-loss insensitive single-mode optical fibre and cable

[17]

IEC 60793-2-50: Edition 6.0 2018-12, Optical fibres. Part 2-50: Product specifications - Sectional specification for class В single-mode fibres

[18]

ITU-T Recommendation G. 651.1 (11/2018), Characteristics of a 50/125 pm multimode graded index optical fibre cable for the optical access network

[19]

IEC 69793-2-10: Edition 7.0 2019-05, Optical fibres - Part 2-10: Product specification - Sectional specification for category A1 multimode fibres

[20]

ISO/IEC 11801-1: Edition 6.0 2017, Information technology - Generic cabling for customer premises

[21]

16.К00-201-2019 МИ, Методика определения совместимости материалов, применяемых в конструкциях оптических кабелей

[22]

МИ-27-2/2-2019, Методика оценки соответствия оптических кабелей требованиям к надежности

 

Ключевые слова: кабель оптический, технические требования, правила приемки, методы контроля