Главная // Актуальные документы // Актуальные документы (обновление 2025.03.03-2025.03.29) // ГОСТ (Государственный стандарт)
СПРАВКА
Источник публикации
М.: ФГБУ "Институт стандартизации", 2025
Примечание к документу
Документ вводится в действие с 01.06.2025.

Взамен ГОСТ 21509-76.
Название документа
"ГОСТ 21509-2024. Межгосударственный стандарт. Лотки железобетонные оросительных систем. Технические условия"
(введен в действие Приказом Росстандарта от 28.12.2024 N 2059-ст)

"ГОСТ 21509-2024. Межгосударственный стандарт. Лотки железобетонные оросительных систем. Технические условия"
(введен в действие Приказом Росстандарта от 28.12.2024 N 2059-ст)


Содержание


Введен в действие
Приказом Федерального
агентства по техническому
регулированию и метрологии
от 28 декабря 2024 г. N 2059-ст
МЕЖГОСУДАРСТВЕННЫЙ СТАНДАРТ
ЛОТКИ ЖЕЛЕЗОБЕТОННЫЕ ОРОСИТЕЛЬНЫХ СИСТЕМ
ТЕХНИЧЕСКИЕ УСЛОВИЯ
Reinforced concrete shoots for irrigation systems.
Specifications
ГОСТ 21509-2024
МКС 91.100.30
Дата введения
1 июня 2025 года
Предисловие
Цели, основные принципы и общие правила проведения работ по межгосударственной стандартизации установлены ГОСТ 1.0 "Межгосударственная система стандартизации. Основные положения" и ГОСТ 1.2 "Межгосударственная система стандартизации. Стандарты межгосударственные, правила и рекомендации по межгосударственной стандартизации. Правила разработки, принятия, обновления и отмены"
Сведения о стандарте
1 РАЗРАБОТАН Обществом с ограниченной ответственностью "Научно-исследовательский, проектно-конструкторский и технологический институт ВНИИжелезобетон" (ООО "Институт ВНИИжелезобетон")
2 ВНЕСЕН Техническим комитетом по стандартизации ТК 465 "Строительство"
3 ПРИНЯТ Межгосударственной научно-технической комиссией по стандартизации, техническому нормированию и сертификации в строительстве (протокол от 27 декабря 2024 г. N 180-П)
За принятие проголосовали:
Краткое наименование страны по МК (ИСО 3166) 004-97
Код страны по МК (ИСО 3166) 004-97
Сокращенное наименование национального органа по стандартизации
Азербайджан
AZ
Азстандарт
Армения
AM
ЗАО "Национальный орган по стандартизации и метрологии" Республики Армения
Киргизия
KG
Кыргызстандарт
Россия
RU
Росстандарт
Таджикистан
TJ
Таджикстандарт
Узбекистан
UZ
Узбекское агентство по техническому регулированию
4 Приказом Федерального агентства по техническому регулированию и метрологии от 28 декабря 2024 г. N 2059-ст межгосударственный стандарт ГОСТ 21509-2024 введен в действие в качестве национального стандарта Российской Федерации с 1 июня 2025 г.
5 ВЗАМЕН ГОСТ 21509-76
Информация о введении в действие (прекращении действия) настоящего стандарта и изменений к нему на территории указанных выше государств публикуется в указателях национальных стандартов, издаваемых в этих государствах, а также в сети Интернет на сайтах соответствующих национальных органов по стандартизации.
В случае пересмотра, изменения или отмены настоящего стандарта соответствующая информация будет опубликована на официальном интернет-сайте Межгосударственного совета по стандартизации, метрологии и сертификации в каталоге "Межгосударственные стандарты"
Введение
Настоящий стандарт разработан авторским коллективом ООО "Научно-исследовательский, проектно-конструкторский и технологический институт ВНИИжелезобетон" (канд. техн. наук В.И. Мелихов - руководитель работы, канд. техн. наук Н.Е. Мишуков, инж. А.А. Сафонов и инж. С.А. Колесов) на основании обобщения накопленного за последние десятилетия отечественного и зарубежного опыта изготовления железобетонных лотков и их применения в оросительных системах.
1 Область применения
Настоящий стандарт распространяется на железобетонные раструбные лотки параболического сечения (далее - лотки), изготавливаемые из тяжелого бетона и предназначенные для устройства сборных распределительных каналов оросительных систем, в том числе при агрессивном воздействии грунта на лотки.
2 Нормативные ссылки
В настоящем стандарте использованы нормативные ссылки на следующие межгосударственные стандарты:
ГОСТ 5781 Сталь горячекатаная для армирования железобетонных конструкций. Технические условия
ГОСТ 6467 Шнуры резиновые круглого и прямоугольного сечений. Технические условия
ГОСТ 6727 Проволока из низкоуглеродистой стали холоднотянутая для армирования железобетонных конструкций. Технические условия
ГОСТ 7502 Рулетки измерительные металлические. Технические условия
ГОСТ 8267-93 Щебень и гравий из плотных горных пород для строительных работ. Технические условия
ГОСТ 8736-2014 Песок для строительных работ. Технические условия
ГОСТ 8829 Изделия строительные железобетонные и бетонные заводского изготовления. Методы испытаний нагружением. Правила оценки прочности, жесткости и трещиностойкости
ГОСТ 10060 Бетоны. Методы определения морозостойкости
ГОСТ 10180 Бетоны. Методы определения прочности по контрольным образцам
ГОСТ 10922 <*> Арматурные и закладные изделия, их сварные, вязаные и механические соединения для железобетонных конструкций. Общие технические условия
--------------------------------
<*> В Российской Федерации действует ГОСТ Р 57997-2017 "Арматурные и закладные изделия сварные, соединения сварные арматуры и закладных изделий железобетонных конструкций. Общие технические условия".
ГОСТ 12730.0 Бетоны. Общие требования к методам определения плотности, влажности, водопоглощения, пористости и водонепроницаемости
ГОСТ 12730.3 Бетоны. Метод определения водопоглощения
ГОСТ 13015-2012 Изделия бетонные и железобетонные для строительства. Общие технические требования. Правила приемки, маркировки, транспортирования и хранения
ГОСТ 14098 Соединения сварные арматуры и закладных изделий железобетонных конструкций. Типы, конструкции и размеры
ГОСТ 16338 Полиэтилен низкого давления. Технические условия
ГОСТ 17624 Бетоны. Ультразвуковой метод определения прочности
ГОСТ 17625 Конструкции и изделия железобетонные. Радиационный метод определения толщины защитного слоя бетона, размеров и расположения арматуры
ГОСТ 18105 Бетоны. Правила контроля и оценки прочности
ГОСТ 19177 Прокладки резиновые пористые уплотняющие. Технические условия
ГОСТ 22000 Трубы бетонные и железобетонные. Типы и основные параметры
ГОСТ 22733 Грунты. Метод лабораторного определения максимальной плотности
ГОСТ 22904 Конструкции железобетонные. Магнитный метод определения толщины защитного слоя бетона и расположения арматуры
ГОСТ 23009 Конструкции и изделия бетонные и железобетонные сборные. Условные обозначения (марки)
ГОСТ 23732 Вода для бетонов и строительных растворов. Технические условия
ГОСТ 23899 Колонны железобетонные под параболические лотки. Технические условия
ГОСТ 23972 Фундаменты железобетонные для параболических лотков. Технические условия
ГОСТ 24211 Добавки для бетонов и строительных растворов. Общие технические условия
ГОСТ 25100 Грунты. Классификация
ГОСТ 25192 Бетоны. Классификация и общие технические требования
ГОСТ 26134 Бетоны. Ультразвуковой метод определения морозостойкости
ГОСТ 26433.0 <*> Система обеспечения точности геометрических параметров в строительстве. Правила выполнения измерений. Общие положения
--------------------------------
<*> В Российской Федерации действует ГОСТ Р 58941-2020 "Система обеспечения точности геометрических параметров в строительстве. Правила выполнения измерений. Общие положения".
ГОСТ 26433.1 <**> Система обеспечения точности геометрических параметров в строительстве. Правила выполнения измерений. Элементы заводского изготовления
--------------------------------
<**> В Российской Федерации действует ГОСТ Р 58939-2020 "Система обеспечения точности геометрических параметров в строительстве. Правила выполнения измерений. Элементы заводского изготовления".
ГОСТ 26633 Бетоны тяжелые и мелкозернистые. Технические условия
ГОСТ 26996-86 Полипропилен и сополимеры пропилена. Технические условия
ГОСТ 30108 Материалы и изделия строительные. Определение удельной эффективной активности естественных радионуклидов
ГОСТ 30244 Материалы строительные. Методы испытаний на горючесть
ГОСТ 31108-2020 Цементы общестроительные. Технические условия
ГОСТ 31384 Защита бетонных и железобетонных конструкций от коррозии. Общие технические требования
ГОСТ 34028 Прокат арматурный для железобетонных конструкций. Технические условия
Примечание - При пользовании настоящим стандартом целесообразно проверить действие ссылочных стандартов и классификаторов на официальном интернет-сайте Межгосударственного совета по стандартизации, метрологии и сертификации (www.easc.by) или по указателям национальных стандартов, издаваемым в государствах, указанных в предисловии, или на официальных сайтах соответствующих национальных органов по стандартизации. Если на документ дана недатированная ссылка, то следует использовать документ, действующий на текущий момент, с учетом всех внесенных в него изменений. Если заменен ссылочный документ, на который дана датированная ссылка, то следует использовать указанную версию этого документа. Если после принятия настоящего стандарта в ссылочный документ, на который дана датированная ссылка, внесено изменение, затрагивающее положение, на которое дана ссылка, то это положение применяется без учета данного изменения. Если ссылочный документ отменен без замены, то положение, в котором дана ссылка на него, применяется в части, не затрагивающей эту ссылку.
3 Термины и определения
В настоящем стандарте применены следующие термины с соответствующими определениями:
3.1 лоток: Сборная железобетонная ненапряженная конструкция, предназначенная для транспортировки жидкостей.
3.2 полезная длина лотка L: Длина лотка, фактически учитываемая при проектировании и монтаже канала.
3.3 раструбно-втулочное соединение лотков: Конструкция лотков, имеющих на одном конце раструб и на другом - цилиндрическую втулку, входящую в раструб смежного лотка при монтаже лотков в канале.
3.4 уплотняющий жгут: Сплошнотелый гибкий элемент из резины круглого сечения, предназначенный для герметизации стыковых соединений смежных лотков в канале.
3.5 футеровочная облицовка: Расположенный на внутренней или наружной поверхности лотка герметичный полимерный лист с анкерами для закрепления в бетоне, защищающий бетон и арматурный каркас лотка от агрессивного воздействия транспортируемой жидкости или грунта.
3.6 полимерное покрытие лотка: Плоский решетчатый конструктивный элемент из полимерного композитного материала, жестко закрепляемый на горизонтальных продольных торцах лотка, воспринимающий наибольшую нагрузку от транспортируемой жидкости и ветровых воздействий в верхних частях ветвей лотка, снижающий изгибающие напряжения в нижней части лотка, что позволяет существенно уменьшить расход стальной арматуры в его конструкции и снизить материалоемкость железобетонных опорных седловидных конструкций.
4 Технические требования
4.1 Классификация, геометрическая форма, основные размеры и параметры
4.1.1 Классификация по условиям укладки
По условиям укладки (монтажа лоткового канала) лотки подразделяют на следующие основные типы:
ЛР - лотки, располагаемые (монтируемые) на железобетонных сваях, стоечных опорах и плитах;
ЛРПП - то же, с решетчатым полимерным покрытием;
ЛРГ - лотки, укладываемые в грунт.
Допускается при технико-экономическом обосновании изготовление и применение лотков типа ЛРПЖ - с решетчатым железобетонным покрытием, жестко соединенным с основной железобетонной частью лотка сваркой стальных закладных деталей.
Схемы опирания лотков на различные типы железобетонных оснований приведены в приложении А. Эти схемы предусматривают опирание лотков на железобетонные колонны по ГОСТ 23899 и железобетонные фундаменты стаканного или плитного типа по ГОСТ 23972.
4.1.2 Форма и основные геометрические размеры
Форма и обозначения основных геометрических размеров лотка приведены в приложении Б.
Лотки по форме состоят из двух параболических ветвей и нижних частей: раструбной с наружной плоской горизонтальной опорной поверхностью и цилиндрической, в том числе на втулочном конце.
Полезная длина лотков L = 5980 мм (L ~= 6,0 м).
Лотки имеют высоту H: 400, 600, 800 и 1000 мм и габаритную ширину (с округлением): 1,0; 1,2; 1,4 и 2,0 м.
Рекомендуемые основные размеры и масса лотков приведены в приложении В.
4.1.3 Лотки, используемые для транспортирования агрессивных жидкостей или укладываемые в агрессивных грунтах, должны:
- иметь футеровочную облицовку из полимерного листа: внутреннюю для защиты от агрессивных транспортируемых жидкостей (фв) или, при технико-экономическом обосновании, - наружную для защиты от агрессивного грунта (фн);
- без футеровки - изготавливаться из химически стойкого бетона и быть в зависимости от вида химической агрессии кислотостойкими (к) или щелочестойкими (щ).
4.1.4 Обозначение лотков
Лотки обозначают марками в соответствии с ГОСТ 23009.
Марка лотка состоит из двух буквенно-цифровых групп, разделенных дефисом.
В первой группе приводят обозначение типа лотка, его высоту в дециметрах и максимальную (по верху лотка) габаритную ширину с округлением в метрах.
Во второй группе, при необходимости применения лотков без футеровки для транспортирования агрессивных жидкостей или в агрессивных грунтах, указывают показатель химической стойкости - "к" или "щ", а при использовании полимерных футеровочных чехлов - "фв" или "фн" согласно 4.1.3.
После марки лотка приводят обозначение настоящего стандарта.
Примеры условного обозначения (марки)
Лоток высотой 800 мм и максимальной габаритной шириной 1,4 м с полимерным покрытием, монтируемый на железобетонном основании и предназначенный для транспортирования неагрессивной жидкости:
ЛРПП 8.1,4 ГОСТ 21509-2024
Лоток высотой 600 мм и максимальной габаритной шириной 1,2 м без покрытия с внутренним футеровочным чехлом, монтируемый на железобетонном основании:
ЛР 6.1,2-фв ГОСТ 21509-2024
Лоток высотой 400 мм и максимальной габаритной шириной 1,0 м без покрытия, монтируемый в грунте и предназначенный для транспортирования жидкости с повышенной кислотностью:
ЛРГ 4.1-к ГОСТ 21509-2024
4.2 Технологические и конструктивно-эксплуатационные требования
4.2.1 Лотки следует изготавливать в соответствии с требованиями настоящего стандарта по технологической документации и рабочим чертежам, утвержденным в установленном порядке.
4.2.2 Лотки рекомендуется формовать в перевернутом (ветвями вниз) положении с применением термощитов вибропригрузов.
Лотки с полимерным покрытием собирают из распалубленных после набора необходимой прочности бетона и перекантованных железобетонных лотков, к которым при помощи гаечно-болтовых соединений жестко крепят решетчатые полимерные покрытия.
4.2.3 Прочностные характеристики лотков должны обеспечивать их эксплуатацию при полном заполнении жидкостью с учетом собственной массы, а также ветровых нагрузок.
4.2.4 Прочностные расчеты и конструирование, включая армирование лотков, следует проводить с учетом норм и рекомендаций <*> по расчету железобетонных конструкций, действующих на территории государства, принявшего настоящий стандарт.
--------------------------------
<*> В Российской Федерации действует СП 63.13330.2018 "СНиП 52-01-2003 Бетонные и железобетонные конструкции. Основные положения".
Лоток в рабочем положении, наполненный жидкостью, рассчитывают по несущей способности в продольном и поперечном направлениях по предельным состояниям первой группы (трещины не допускаются).
Кроме расчета на эксплуатационные нагрузки, лотки следует рассчитывать на усилия, возникающие при распалубке, складировании, транспортировании и монтаже с использованием соответствующих дополнительных коэффициентов перегрузки и в необходимых случаях сочетания нагрузок.
4.2.5 При конструировании лотков их внутренняя поверхность должна быть очерчена по параболе с геометрическими параметрами x2 = 2py, где p = 0,2 - 0,35.
4.2.6 Лотки должны быть водонепроницаемыми и прочными, способными выдерживать гидростатические испытания при нагружении эксплуатационной нагрузкой.
4.2.7 Лотки допускается применять на территориях со средней месячной температурой наружного воздуха наиболее холодной пятидневки - не ниже минус 40 °C с обеспеченностью 0,92 по строительным нормам <**>, действующим на территории государства - участника соглашения, принявшего настоящий стандарт.
--------------------------------
<**> В Российской Федерации действует СП 131.13330.2020 "СНиП 23-01-99* Строительная климатология".
4.2.8 Лотки типов ЛР и ЛРП могут применяться на территории с сейсмичностью до 6 баллов, а типа ЛРГ - до 7 баллов по классификации нормативных документов <***>, действующих на территории государства, принявшего настоящий стандарт.
--------------------------------
<***> В Российской Федерации действует СП 14.13330.2018 "СНиП II-7-81* Строительство в сейсмических районах".
ИС МЕГАНОРМ: примечание.
Текст дан в соответствии с официальным текстом документа.
4.2.9 При укладке лотков типа ЛРГ в просадочных грунтах (кроме слабопросадочных) и пучистых (кроме слабо пучистых) по классификации ГОСТ 25100 необходимо в проектах лотковых каналов предусматривать специальные инженерные мероприятия, ограничивающие деформации лотков при воздействии на них таких грунтов.
4.2.10 Лотки допускается использовать в системах лотковых каналов с расходом воды до 5 м3/с.
4.2.11 Расчетный срок эксплуатации лотков - не менее 50 лет.
4.3 Характеристики безопасности и охраны окружающей среды
4.3.1 Лотки без футеровки относятся к негорючим материалам (НГ) в соответствии с ГОСТ 30244 и являются взрывобезопасными.
4.3.2 Лотки всех типов марок являются взрывобезопасными.
4.3.3 Удельная эффективная активность естественных радионуклидов в соответствии с ГОСТ 30108 в лотках каналов оросительных и мелиоративных систем не должна превышать 1350 Бк/кг.
4.4 Требования к бетону и его компонентам
4.4.1 Лотки изготавливают из тяжелого бетона по классификации ГОСТ 25192 классов по прочности на сжатие не менее B25 и осевое растяжение Bt2,4.
4.4.2 Бетон лотков должен быть морозостойким и характеризоваться марками по ГОСТ 10060 не ниже приведенных в таблице 1.
Таблица 1
Требования по морозостойкости к бетону лотков
Марка лотка
Марка по морозостойкости бетона, не ниже, при транспортировке жидкостей
неагрессивных
агрессивных
неагрессивных
агрессивных
для лотков, укладываемых в грунтах
неагрессивных
агрессивных
неагрессивных
агрессивных
1 ЛР и ЛРПП, в т.ч.:
без футеровки
F2100
F2150
-
-
-
-
с внутренней футеровкой
F275
F275
-
-
-
-
2 ЛРГ, в т.ч.:
без футеровки
-
-
F2150
F2200
F2200
F2300
с внутренней футеровкой
-
-
-
F275
F2150
F2200
с наружной футеровкой
-
-
-
-
F2150
F2200
4.4.3 Водопоглощение бетона лотков, предназначенных для эксплуатации в агрессивной среде, не должно превышать 5% по массе.
4.4.4 Для приготовления бетона рекомендуется применять следующие материалы:
- портландцемент бездобавочный марок не ниже ЦЕМ1 42,5 или ЦЕМ1Б 42,5, отвечающий требованиям ГОСТ 31108;
- крупный заполнитель марок по дробимости не ниже 1000 крупностью не более 15 мм из плотных природных материалов: гравия или щебня, в т.ч. из дробленного гравия, отвечающих требованиям ГОСТ 8267 и дополнительным требованиям ГОСТ 26633;
- мелкий заполнитель - песок, отвечающий требованиям ГОСТ 8736;
- модифицирующие водорастворимые добавки (пластифицирующие, ускоряющие твердение бетона), отвечающие требованиям ГОСТ 24211;
- вода для затворения бетонной смеси, удовлетворяющая требованиям ГОСТ 23732.
Применение шлакопортландцемента, пуццоланового портландцемента, а также портландцемента с активными добавками не допускается.
Для лотков, эксплуатируемых при агрессивном воздействии жидкости или грунта, должны выполняться дополнительные требования к бетону и материалам для его изготовления согласно ГОСТ 31384 и ГОСТ 26633.
4.4.5 Распалубочная прочность бетона должна быть не менее 70% от проектной.
4.4.6 Отпускная прочность бетона для лотков, поставляемых заказчику, должна быть не менее 90% от проектной в теплый период года и 95% - в холодный.
За холодный период года принимают период со среднемесячной температурой наружного воздуха 0 °C и ниже в соответствии с действующими нормами, указанными в 4.2.7.
4.5 Требования к арматурным и закладным деталям
4.5.1 Для армирования лотков используют ненапряженную стальную арматуру. Расчет армирования проводят согласно 4.2.4.
Лотки армируют сварными дугообразными одинарными и двойными (в нижней части лотка) каркасами.
4.5.2 Для армирования лотков применяют арматурную сталь следующих видов и классов:
- стержневую горячекатаную классов А-I (А240) и А-III (А400) по ГОСТ 5781;
- арматурный свариваемый прокат периодического профиля классов А500С и В500С по ГОСТ 34028;
- арматурную проволоку класса Вр-1 по ГОСТ 6727.
Строповочные петли изготавливают из стали класса А-I (А240) по ГОСТ 5781.
4.5.3 Форма и размеры арматурных каркасов, строповочных петель и закладных изделий и их положение в лотках должны соответствовать указанным в рабочих чертежах.
4.5.4 Сварные арматурные и закладные изделия должны удовлетворять требованиям ГОСТ 14098 и ГОСТ 10922.
4.6 Требования к полимерным материалам
4.6.1 В лотках, контактирующих с агрессивной средой, футеровочные полимерные чехлы должны быть изготовлены из листов химически стойких полиэтиленовых (PE) по ГОСТ 16338 или полипропиленовых (PP) по ГОСТ 26996, с толщиной листа не менее 3 мм.
Для надежного механического закрепления чехлов в бетоне полимерный лист должен иметь дискретные (точечные) анкерующие элементы высотой 10 - 15 мм, расположенные в шахматном порядке, числом не менее 300 и не более 500 шт. на 1 м2 поверхности покрытия или Т-образные анкерные элементы высотой 12 - 16 мм с расстоянием между ними 24 - 40 мм, толщиной стойки не менее 3 мм и полки не менее 6 мм, и должен отвечать требованиям технических условий на полимерные листы, действующих на территории государства, принявшего настоящий стандарт.
4.6.2 Полимерные решетчатые покрытия для лотков изготавливают из полиэтилена (PE) по ГОСТ 16338 или полипропилена (PP) по ГОСТ 26996, и они должны иметь толщину не менее 15 мм.
4.7 Требования к стыковому соединению лотков и материалам для его герметизации
4.7.1 Конструкция стыкового соединения лотков должна обеспечивать их неразъемность и герметичность в процессе эксплуатации.
4.7.2 Минимальный зазор между стыковыми поверхностями лотков и номинальный диаметр уплотнительных жгутов должен отвечать требованиям ГОСТ 22000, как для уплотнительных колец низконапорных труб.
4.7.3 Резиновые уплотнительные жгуты круглого сечения должны быть морозостойкими и отвечать требованиям ГОСТ 6467, а резиновые пористые прокладки - ГОСТ 19177.
4.8 Требования к точности изготовления лотков
4.8.1 Значения фактических отклонений геометрических размеров лотков не должны превышать предельных, указанных в таблице 2.
4.8.2 Толщина защитного слоя бетона до рабочей арматуры должна быть не менее 15 мм.
Для лотков, эксплуатируемых в условиях агрессивной среды, толщина защитного слоя бетона до арматуры должна быть не менее 20 мм.
Таблица 2
Допускаемые предельные отклонения
геометрических размеров лотков
Вид отклонения геометрического параметра
Геометрический параметр
Предельное отклонение, мм
Отклонение от линейного размера
Длина лотка
+/- 10
Высота лотка:
H = 400 мм
+/- 8
H = 600 - 1000 мм
+/- 10
Толщина стенки лотка:
H = 400 - 800 мм
+2; -1
H = 1000 мм
+3; -1
Отклонение от прямолинейности
Прямолинейность образующей поверхности лотка по длине:
1000 мм
5
на всей длине
10
Отклонение от перпендикулярности
Перпендикулярность торцевых поверхностей к продольной оси лотка:
H = 400 мм
6
H = 600 - 1000 мм
8
4.8.3 Стыковые цилиндрические поверхности лотка - внутренняя раструба (lр = 130 мм) и наружная втулочного конца (lк = 150 мм), контактирующие с уплотняющими материалами, должны быть категории не выше А4 по ГОСТ 13015-2012 (приложение В).
На этих поверхностях не допускаются наплывы и околы бетона, а также раковины диаметром более 3 мм и глубиной более 2 мм. Число раковин на площади 0,01 м2 (100 x 100 мм) на любом участке указанной зоны поверхности должно быть не более трех. Остальная бетонная поверхность лотка должна быть не ниже категории А6 по ГОСТ 13015.
4.8.4 На поверхности лотков не допускаются трещины, за исключением местных усадочных трещин шириной не более 0,1 мм на наружной поверхности раструба и технологического прилива нижней внутренней поверхности лотка.
4.9 Дополнительные требования к лоткам, предназначенным для эксплуатации в агрессивной среде
4.9.1 При наличии агрессивного воздействия на лотки транспортируемой жидкости или грунта должно обеспечиваться выполнение требований, установленных ГОСТ 31384 и проектной документацией с учетом рекомендаций строительных норм <*>, действующих на территории государства, принявшего настоящий стандарт.
--------------------------------
<*> В Российской Федерации действует СП 28.13330.2017 "СНиП 2.03.11-85 Защита строительных конструкций от коррозии".
4.9.2 Для защиты от коррозии должно обеспечиваться выполнение указаний 4.1.3 и 4.4.4, предусматривающих применение полимерных футеровочных чехлов или химически стойких бетонов.
4.9.3 Комплектующие уплотнительные материалы - резиновые жгуты для лотков, предназначенных для эксплуатации в условиях воздействия агрессивной среды, - должны удовлетворять требованиям, установленным в проектной документации.
4.10 Комплектность
Предприятия - изготовители лотков должны поставлять их потребителю в комплекте с резиновыми жгутами и пористыми прокладками по 4.7.3.
4.11 Маркировка
4.11.1 Маркировку лотков следует проводить по ГОСТ 13015.
4.11.2 Маркировочные надписи следует наносить водостойкой черной краской на наружную поверхность раструба.
5 Правила приемки
5.1 Приемку лотков следует осуществлять партиями в соответствии с требованиями ГОСТ 13015 и настоящего стандарта.
В состав партии включают лотки одного типа, последовательно изготовленные по одной технологии из материалов одного вида и качества в течение не более двух месяцев.
Число лотков в партии должно быть не более:
200 - для лотков высотой 400 - 800 мм;
100 - для лотков высотой 1000 мм.
5.2 Качество изделий обеспечивают:
- входным контролем сырьевых материалов, применяемых для изготовления лотков;
- операционным (технологическим) контролем изготовления и сборки лотков;
- приемочным контролем готовых лотков.
Приемочный контроль включает в себя приемо-сдаточные и периодические испытания, требования к которым приведены в таблице 3.
Таблица 3
Требования к проведению испытаний и контроля
Наименование показателя
Вид испытаний
Объем выборки и периодичность контроля
Методы контроля
приемо-сдаточные
периодические
1 Водопроницаемость и прочность лотков
+
-
Два лотка не реже одного раза в месяц (см. 5.3)
2 Прочность бетона на сжатие
+
-
100% постоянно для каждой партии и при изменении технологии и материалов
3 Распалубочная прочность бетона на сжатие
+
-
4 Отпускная прочность бетона на сжатие
+
-
5 Прочность бетона на осевое растяжение
-
+
Не реже одного раза в месяц
6 Морозостойкость бетона
-
+
7 Водопоглощение бетона
-
+
8 Качество материалов для бетона, арматуры, чехлов и комплектующих изделий
-
+
При организации производства, изменении качества материалов, но не реже одного раза в полгода
9 Точность геометрических параметров лотков и качество поверхностей (кроме стыковых цилиндрических), расположение закладных деталей и строповочных петель
+
-
Не менее трех лотков от каждой партии, постоянно
10 Точность геометрических параметров и качество стыковых цилиндрических поверхностей
+
-
Каждый лоток, постоянно
11 Наличие трещин на бетонной поверхности лотков
+
-
Визуально
12 Геометрические размеры арматурных каркасов, размеры и расположение арматуры в каркасах и каркасов в лотках
+
-
Не менее трех каркасов от каждой партии, постоянно
13 Качество сварных соединений
+
-
14 Толщина защитного слоя арматуры
+
-
Не менее десяти лотков от каждой партии, постоянно
15 Удельная эффективная активность естественных радионуклидов
-
+
При первичном подборе состава бетона, изменении технологии и материалов, но не реже одного раза в год
16 Наличие и правильность маркировочных надписей
+
-
100%
для каждого лотка
Визуально
17 Комплектность уплотнительных жгутов и прокладок
+
-
5.3 Испытания лотков на водонепроницаемость и прочность следует проводить перед началом их массового производства, при изменении технологии изготовления и далее по пункту 1 таблицы 3 путем нагружения изделий от следующего числа изготовленных изделий, шт.:
500 - для лотков высотой 400 - 600 мм;
300 - для лотков высотой 800 - 1000 мм.
5.4 Каждая партия лотков должна сопровождаться документом о качестве по ГОСТ 13015, в котором указывают:
- наименование и адрес предприятия-изготовителя;
- номер и дату выдачи документа;
- номер партии;
- наименование и марку лотков;
- число лотков каждой марки в партии;
- класс бетона по прочности на сжатие и осевое растяжение;
- отпускную прочность бетона;
- марку по морозостойкости бетона (по требованию заказчика).
6 Методы испытаний и контроля
6.1 Гидростатические испытания
6.1.1 Испытания лотков на прочность и водонепроницаемость проводят при их полном заполнении водой на стенде, схема которого приведена в приложении Г.
Испытаниям подвергают основной лоток и два укороченных (длиной по 1,5 м) с герметичными заглушками, из которых один имеет раструб, а другой - втулочную часть.
Основной и укороченные лотки должны герметично состыковываться с использованием уплотняющих жгутов.
6.1.2 Испытания проводят в следующем порядке:
- лотки стенда наполняют водой поэтапно по одной четвертой части от его высоты;
- после приложения нагрузки каждого этапа лотки выдерживают в течение 15 мин и проводят осмотр лотка с целью обнаружения трещин, течей и влажных пятен;
- лоток, полностью заполненный водой, без трещин, течей и влажных пятен выдерживают в течение суток.
Партию лотков считают выдержавшей испытание на водонепроницаемость и прочность, если через сутки после их наполнения не будет обнаружено фильтрации воды в виде влажных пятен или течей через трещины.
При получении неудовлетворительных результатов испытаний хотя бы на одном лотке проводят повторное испытание удвоенного количества образцов, взятых из той же партии. При неудовлетворительном результате повторных испытаний партию считают не выдержавшей испытания и лотки испытывают поштучно.
6.2 Испытания материалов
6.2.1 Прочность бетона на сжатие и осевое растяжение определяют по ГОСТ 10180 и ГОСТ 18105 на образцах, изготовленных вибрированием из бетонной смеси рабочего состава. Допускается оценивать прочность бетона на сжатие неразрушающим ультразвуковым методом по ГОСТ 17624.
6.2.2 Морозостойкость бетона определяют по ГОСТ 10060 на образцах, изготовленных вибрированием из бетонной смеси рабочего состава. Допускается оценивать морозостойкость неразрушающим ультразвуковым способом по ГОСТ 26134.
ИС МЕГАНОРМ: примечание.
В официальном тексте документа, видимо, допущена опечатка: имеется в виду ГОСТ 12730.0, а не ГОСТ 12770.0.
6.2.3 Водопоглощение бетона определяют по ГОСТ 12770.0 и ГОСТ 12730.3 на образцах, отобранных не менее чем из четырех мест лотка. Образцы должны быть без видимых трещин.
6.2.4 Удельную эффективную активность естественных радионуклидов в бетоне определяют по ГОСТ 30108.
6.2.5 Контроль качества сварных соединений арматурных каркасов проводят по ГОСТ 10922.
6.3 Контроль геометрических параметров
6.3.1 Контроль точности геометрических параметров (размеров) лотков следует проводить согласно ГОСТ 26433.0 и ГОСТ 26433.1.
Геометрические размеры лотков, положение закладных деталей и строповочных петель, а также качество поверхностей и внешний вид лотков проверяют по ГОСТ 13015.
Измерение толщины стенки проводят в торцах лотков равномерно по периметру сечения лотка не менее чем в пяти точках.
Неперпендикулярность торцевых плоскостей лотка к его продольной оси определяют измерением наибольшего зазора между торцевой плоскостью лотка и металлическим поверочным угольником, установленным под прямым углом к торцу лотка.
6.3.2 Геометрические размеры арматурных каркасов, размеры и расположения арматуры в каркасе и каркаса в лотке контролируют согласно ГОСТ 17625.
6.3.3 Определение толщины защитного слоя арматуры проводят согласно ГОСТ 17625 и ГОСТ 22904.
7 Транспортирование и хранение
7.1 Транспортирование и хранение лотков осуществляют по рекомендациям ГОСТ 13015 и настоящего стандарта.
7.2 На заводе-изготовителе и строительной площадке лотки укладывают в штабели на специальных прокладках, исключающих возникновение распорных усилий, раструбами в разные стороны. Под нижний лоток устанавливают деревянные подкладки. Высота штабеля не должна превышать 2 м.
7.3 Проходы между штабелями следует устраивать в продольном направлении через каждые два смежных штабеля, а в поперечном - не реже, чем через 25 м. Ширина проходов должна быть не менее 0,7 м, а величина зазоров между смежными штабелями - не менее 0,2 м.
7.4 При длительном (до 2,5 лет) хранении лотков необходимо принимать меры по обеспечению их трещиностойкости (при влажностной усадке бетона) за счет постоянного увлажнения лотков в течение периода с положительными температурами и укрытия штабелей лотков темной полиэтиленовой пленкой или хранения лотков в закрытых помещениях.
7.5 Перевозку лотков автотранспортом следует осуществлять на автомашинах, оборудованных специальными контейнерами.
7.6 При перевозке лотков железнодорожным транспортом их погрузку и крепление следует осуществлять согласно действующим инструкциям по перевозке грузов, утвержденным соответствующими транспортными ведомствами.
7.7 Лотки транспортируют как в рабочем положении с использованием строповочных брезентовых лент, располагаемых на расстоянии 1,2 м от торцов лотка, так и в нерабочем положении (дном вверх) - с использованием строповочных петель.
8 Указания по монтажу и укладке
8.1 При монтаже каналов состыкованные лотки типа ЛР должны (см. рисунок А.1) опираться раструбами и наружными боковыми поверхностями на седловидные железобетонные конструкции (седла) с плоской подошвой, устанавливаемые на железобетонные основания.
8.2 Для монтажа каналов из лотков с покрытиями (типов ЛРПП и ЛРПЖ) рекомендуется использовать железобетонные седла с укороченными ветвями (см. рисунок А.2).
8.3 Лотки типов ЛРГ рекомендуется укладывать в траншеях с естественными откосами. При этом лотки должны опираться раструбами на железобетонные плиты, устанавливаемые на уплотненное плоское песчаное или песчано-гравийное, или песчано-щебеночное основание (см. рисунок А.3).
После установки лотков на железобетонные плиты проводят обратную засыпку грунта в боковые полости (пазухи) с его послойным нормальным уплотнением (Kупл = 0,85 - 0,92 согласно ГОСТ 22733).
9 Гарантии изготовителя
9.1 Предприятие-изготовитель гарантирует соответствие поставляемых лотков требованиям настоящего стандарта при соблюдении транспортными организациями правил транспортирования, а потребителем - условий применения и хранения, установленных настоящим стандартом.
9.2 При поставке лотков с отпускной прочностью бетона на сжатие менее значения, отвечающего проектному классу бетона, изготовитель гарантирует достижение бетоном проектной прочности на сжатие, определяемой по результатам испытаний контрольных образцов, хранившихся в нормальных условиях по ГОСТ 10180 в возрасте 28 дней с момента изготовления.
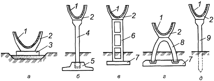
Приложение А
(справочное)
СХЕМЫ ОПИРАНИЯ ЛОТКОВ НА ЖЕЛЕЗОБЕТОННЫЕ ОСНОВАНИЯ
а - укладка в седлах на опорные плиты;
б - укладка на стоечные опоры с фундаментом стаканного типа;
в - укладка на рамные опоры; г - укладка на перевернутые
седла расположенных в стаканах фундаментных плит;
д - укладка на свайные опоры; 1 - лоток (вид на втулочный
торец); 2 - седло; 3 - опорная плита; 4 - стоечная опора;
5 - фундамент стаканного типа; 6 - рама; 7 - фундаментная
плита; 8 - стойка в виде седла; 9 - свая
Рисунок А.1 - Схемы опирания лотков типа ЛР
на железобетонные основания с плоской опорной поверхностью
1 - лоток; 2 - покрытие лотка; 3 - железобетонное седло
с укороченными ветвями; 4 - железобетонное основание;
5 - цементно-песчаный раствор
Рисунок А.2 - Схема опирания лотков типа ЛРПП и ЛРПЖ
на железобетонное седло с укороченными ветвями
1 - лоток; 2 - основание из уплотненного песка
или гравийно-песчаной, или щебеночно-песчаной смеси;
3 - цементно-песчаный раствор; 4 - железобетонная
опорная плита; 5 - уплотненный грунт засыпки;
6 - грунт с естественными откосами
Рисунок А.3 - Схема опирания лотка типа ЛРГ в траншее
1 - лоток; 2 - битумная мастика;
3 - резиновый жгут; 4 - железобетонная опорная плита;
5 - ограничитель резиновый пористый
Рисунок А.4 - Стык лотков
Приложение Б
(справочное)
ВНЕШНИЙ ВИД И ФОРМА ЛОТКА
Рисунок Б.1 - Общий вид лотка
Приложение В
(рекомендуемое)
ОСНОВНЫЕ РАЗМЕРЫ И МАССА ЛОТКОВ
Таблица В.1
Основные размеры и масса лотков
Марка лотка
Основные размеры, мм
Справочная масса, т
L
H
H1
H2
H3
b
bн
bр
bрн
S
ЛР4.1
5980
400
450
465
540
800
908
940
1058
50
400
1,13
ЛР6.1,2
600
650
665
755
980
1084
1114
1228
50
1,45
ЛР8.1,4
800
860
875
965
1132
1240
1270
1396
60
1,96
ЛР10.2
1000
1075
1090
1210
1674
1834
1834
1994
75
700
3,38
Примечания
1 Размеры и масса лотков приведены без учета использования полимерного покрытия и футеровочных чехлов.
2 Справочная масса лотков приведена для железобетона средней плотностью 2450 кг/м3.
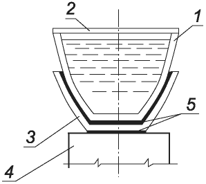
Приложение Г
(справочное)
СХЕМА ИСПЫТАНИЯ ЛОТКА НА ВОДОНЕПРОНИЦАЕМОСТЬ И ПРОЧНОСТЬ
1 - испытуемый лоток; 2 - укороченный лоток (2 шт.);
3 - заглушки; 4 - опоры лотков
Рисунок Г.1 - Схема гидростатических испытаний лотка
на водонепроницаемость и прочность
УДК 691.328-461:631.347.2:006.354
МКС 91.100.30
Ключевые слова: лотки, железобетон, бетон, прочность, водонепроницаемость, морозостойкость, армирование