Главная // Актуальные документы // ГОСТ (Государственный стандарт)
СПРАВКА
Источник публикации
М.: Издательство стандартов, 1985
Примечание к документу
С 01.07.2003 до вступления в силу технических регламентов акты федеральных органов исполнительной власти в сфере технического регулирования носят рекомендательный характер и подлежат обязательному исполнению только в части, соответствующей целям, указанным в пункте 1 статьи 46 Федерального закона от 27.12.2002 N 184-ФЗ.

Документ введен в действие с 01.01.1977 (Постановление Госстроя СССР от 31.12.1975 N 247).
Название документа
"ГОСТ 21509-76*. Государственный стандарт Союза ССР. Лотки железобетонные оросительных систем. Технические условия"
(введен в действие Постановлением Госстроя СССР от 31.12.1975 N 247)
(ред. от 12.09.1984)


"ГОСТ 21509-76*. Государственный стандарт Союза ССР. Лотки железобетонные оросительных систем. Технические условия"
(введен в действие Постановлением Госстроя СССР от 31.12.1975 N 247)
(ред. от 12.09.1984)


Содержание


Введен в действие
Постановлением Госстроя СССР
от 31 декабря 1975 г. N 247
ГОСУДАРСТВЕННЫЙ СТАНДАРТ СОЮЗА ССР
ЛОТКИ ЖЕЛЕЗОБЕТОННЫЕ ОРОСИТЕЛЬНЫХ СИСТЕМ
ТЕХНИЧЕСКИЕ УСЛОВИЯ
Reinforced concrete shoots for irrigation systems.
Specifications
ГОСТ 21509-76*
Список изменяющих документов
(в ред. Изменения N 1,
утв. Постановлением Госстроя СССР от 12.09.84 N 159)
Группа Ж33
ОКП 58 5821
Постановлением Государственного комитета Совета Министров СССР по делам строительства от 31 декабря 1975 г. N 247 срок введения установлен
с 1 января 1977 года
Переиздание (ноябрь 1984 г.) с Изменением N 1, утвержденным в сентябре 1984 г.; Пост. N 159 от 12.09.84 (ИУС 2-85).
Настоящий стандарт распространяется на железобетонные раструбные лотки параболического сечения, изготовляемые из тяжелого бетона средней плотностью 2200 - 2500 кг/м3 включительно и предназначенные для устройства сборных распределительных каналов оросительных систем на расход воды до 5 м3/с.
Установленные настоящим стандартом показатели технического уровня предусмотрены для лотков первой категории качества.
(Измененная редакция, Изм N 1).
1. ТИПЫ, МАРКИ И РАЗМЕРЫ
1.1. По условиям эксплуатации железобетонные параболические лотки подразделяют на следующие типы:
ЛР - лотки, сооружаемые на сваях, стоечных опорах и плитах;
ЛРГ - лотки, укладываемые в грунт.
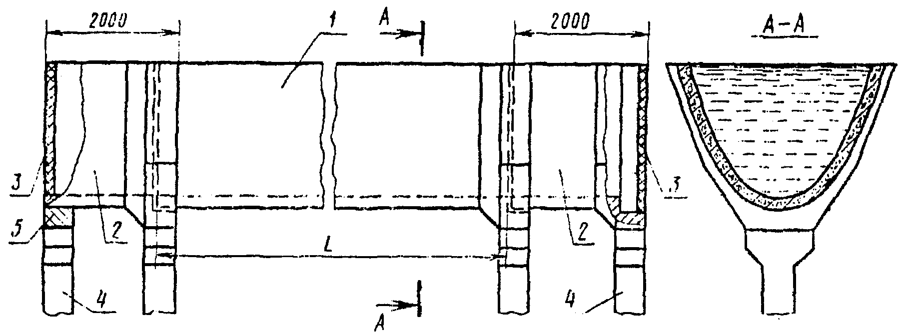
Форма, основные размеры и показатели материалоемкости (расход бетона и стали) лотков должны соответствовать указанным на черт. 1 и в табл. 1
Черт. 1
Таблица 1
Марка лотка
Код ОКП
Основные размеры, мм
Расход материала
Справочная масса, т
L
H
H1
H2
H3
b
bн
bp
b
S
Бетон, м3
Сталь, кг
ЛР4
58 5821 0401
5980
400
450
465
540
800
908
940
1058
50
400
0,430
26,89
1,08
ЛРГ4
58 5821 0394
14,99
ЛР6
58 5821 0402
600
650
665
755
980
1084
1114
1228
50
0,568
33,95
1,42
ЛРГ6
58 5821 0395
23,43
ЛР8
58 5821 0403
800
860
875
965
1132
1240
1270
1396
60
0,767
42,65
1,92
ЛРГ8
58 5821 0396
33,15
ЛР10
58 5821 0393
1000
1075
1090
1210
1674
1804
1834
1994
75
700
1,320
68,62
3,31
ЛРГ10
58 5821 0397
61,04
Примечание. Справочная масса лотка приведена для бетона средней плотностью 2400 кг/м3.
1.2. Лотки следует обозначать марками в соответствии с ГОСТ 23009-78.
Марка лотка состоит из одной буквенно-цифровой группы и содержит обозначение типа лотка и номинальную высоту лотка в дециметрах, значение которой округляют до целого числа.
Пример условного обозначения (марки) железобетонного раструбного лотка типа ЛР высотой 400 мм:
ЛР4.
1.1, 1.2. (Измененная редакция, Изм N 1).
2. ТЕХНИЧЕСКИЕ ТРЕБОВАНИЯ
2.1. Лотки следует изготовлять в соответствии с требованиями настоящего стандарта и технологической документации, утвержденной в установленном порядке, по рабочим чертежам типовых конструкций серии 3.820.1-34с/85.
Лотки следует изготовлять с применением термощитов-пригрузов.
2.2. Значения действительных отклонений геометрических параметров не должны превышать предельных, указанных в табл. 2.
Таблица 2
Вид отклонения геометрического параметра
Наименование геометрического параметра
Предельное отклонение, мм
Отклонение от линейного размера
Длина лотка
+/- 10
Высота лотка марок: ЛР4, ЛРГ4
+/- 8
ЛР6, ЛРГ6, ЛР8, ЛРГ8, ЛР10, ЛРГ10
+/- 10
Толщина стенки лотка марок:
ЛР4, ЛРГ4, ЛР6, ЛРГ6, ЛР8, ЛРГ8
+2, -1
ЛР10, ЛРГ10
+3, -1
Положение закладных изделий:
в плоскости лотка
5
из плоскости лотка
3
Отклонение от прямолинейности
Прямолинейность образующей поверхности лотка на длине:
1000 мм
5
на всей длине
10
Отклонение от перпендикулярности
Перпендикулярность торцевой поверхности к продольной оси лотка марок:
ЛР4, ЛРГ4
6
ЛР6, ЛРГ6, ЛР8, ЛРГ8, ЛР10, ЛРГ10
8
2.3. Лотки должны быть водонепроницаемыми и выдерживать гидростатические испытания при нагружении расчетной эксплуатационной нагрузкой.
Лотки должны удовлетворять требованиям ГОСТ 13015.0-83:
по показателям фактической прочности бетона (в проектном возрасте и отпускной);
по морозостойкости и водонепроницаемости бетона;
к качеству материалов, применяемых для приготовления бетона;
к бетону, а также к материалам для приготовления бетона лотков, применяемых в условиях воздействия агрессивных грунтов и грунтовых вод;
к форме и размерам арматурных и закладных изделий и их положению в лотке;
к маркам сталей для арматурных и закладных изделий, в том числе для монтажных петель;
по отклонению толщины защитного слоя бетона;
по защите от коррозии;
по применению форм для изготовления лотков.
2.4. Лотки следует изготовлять из тяжелого бетона марки по прочности на сжатие М300.
2.5. Нормируемая отпускная прочность бетона должна составлять 70% марки бетона по прочности на сжатие.
2.6. Заполнители, применяемые для приготовления бетона лотков, должны удовлетворять требованиям ГОСТ 10268-80. Наибольшая крупность заполнителя должна быть не более 15 мм.
ИС МЕГАНОРМ: примечание.
Взамен ГОСТ 10178-76 Постановлением Госстроя СССР от 10.07.1985 N 116 с 1 января 1987 года введен в действие ГОСТ 10178-85.
2.7. Бетон, применяемый для изготовления лотков, должен приготовляться на портландцементе марки не ниже 400 по ГОСТ 10178-76, а для изготовления лотков, предназначенных для эксплуатации в грунтах с агрессивными водами, - на сульфатостойком портландцементе по ГОСТ 22266-76.
Применение шлакопортландцемента, пуццоланового портландцемента, а также портландцемента с активными добавками не допускается.
2.8. Толщина защитного слоя бетона до рабочей арматуры должна быть не менее 15 мм.
Для лотков, эксплуатируемых в условиях агрессивной среды, отклонения толщины защитного слоя бетона до арматуры не должны быть более плюс 3 мм.
2.9. Сварные арматурные и закладные изделия должны удовлетворять требованиям ГОСТ 10922-75.
Продольные стержни сеток ненапряженных лотков должны выполняться из горячекатаной стали периодического профиля диаметром 6 мм класса А-III по ГОСТ 5781-82.
Поперечное армирование лотков должно выполняться из арматурной проволоки периодического профиля класса Вр-1 диаметром 5 мм по ГОСТ 6727-80.
2.1. - 2.9. (Измененная редакция, Изм N 1).
2.10. (Исключен, Изм N 1).
2.11. На внутренней поверхности раструба и на наружной поверхности конца лотка в зоне расположения уплотняющих материалов не допускаются наплывы и околы бетона, а также раковины диаметром более 3 мм и глубиной более 2 мм. Число раковин на площади 0,01 м2 (100 х 100 мм) на любом участке указанной зоны поверхности должно быть не более трех. Остальная бетонная поверхность лотка должна быть категории А6 по ГОСТ 13015.0-83.
На поверхности лотков не допускаются трещины, за исключением местных усадочных трещин шириной не более 0,1 мм на наружной поверхности раструба и технологического прилива в шелыге лотка.
(Измененная редакция, Изм N 1).
2.12. Закладные изделия фиксаторов в лотках типа ЛРГ следует изготовлять из стальной полосы марки ВСт.3сп2 по ГОСТ 103-76, арматуры класса А-1 по ГОСТ 5781-82 и приваривать к арматурной сетке раструба.
2.13. Предприятия-изготовители лотков должны поставлять потребителям лотки в комплекте с уплотняющими материалами для герметизации стыковых соединений: жгуты из резины круглого сечения по ГОСТ 6467-79 или резиновые пористые прокладки по ГОСТ 19177-81.
2.12, 2.13. (Введены дополнительно, Изм N 1).
3. ПРАВИЛА ПРИЕМКИ И МЕТОДЫ ИСПЫТАНИЙ
3.1. Приемку лотков следует производить партиями в соответствии с требованиями ГОСТ 13015.1-81 и настоящего стандарта.
Число лотков в партии должно быть не более:
200 - для лотков высотой 400 - 800 мм;
100 - для лотков высотой 1000 мм.
3.2. Приемку лотков по показателям морозостойкости и водонепроницаемости бетона следует проводить по результатам периодических испытаний.
3.3. Приемку лотков по показателям их водонепроницаемости, прочности бетона (марке по прочности на сжатие и отпускной прочности), соответствия арматурных и закладных изделий проектной документации, прочности сварных соединений, точности геометрических параметров, толщины защитного слоя бетона до арматуры, ширины раскрытия усадочных трещин, категории бетонной поверхности следует проводить по результатам приемосдаточных испытаний и контроля.
Испытанию на водонепроницаемость следует подвергать 1% лотков от партии, но не менее двух лотков.
3.4. Приемку лотков по показателям точности геометрических параметров, толщины защитного слоя бетона до арматуры, качества бетонных поверхностей, контролируемым путем измерений, следует осуществлять по результатам одноступенчатого выборочного контроля.
3.5. Размеры лотков, положение монтажных петель, толщину защитного слоя бетона до арматуры, а также качество поверхностей и внешний вид лотков проверяют по ГОСТ 13015-75.
Измерение толщины стенки производят в торцах лотков равномерно по периметру сечения лотка не менее чем в пяти точках.
Неперпендикулярность торцевых плоскостей лотка к его продольной оси определяют измерением наибольшего зазора между торцевой плоскостью лотка и металлическим поверочным угольником, установленным под прямым углом к борту лотка.
Определение толщины защитного слоя бетона, размеров и расположения арматуры может производиться также просвечиванием ионизирующими излучениями по ГОСТ 17625-83.
3.6. Прочность бетона на сжатие следует определять по ГОСТ 10180-78.
Контроль и оценку однородности и прочности бетона лотков следует производить по ГОСТ 18105.1-80.
В случае, если при проверке будет установлено, что фактическая отпускная прочность бетона лотков ниже требуемой отпускной прочности, то поставку лотков потребителю следует производить после достижения бетоном прочности, соответствующей марке бетона по прочности на сжатие.
ИС МЕГАНОРМ: примечание.
Взамен ГОСТ 10060-76 Постановлением Госстроя СССР от 31.12.1986 N 82 с 1 января 1988 года введен в действие ГОСТ 10060-87. Взамен ГОСТ 10060-87 Постановлением Минстроя России от 05.03.1996 N 18-17 с 1 сентября 1996 года введены в действие ГОСТ 10060.0-95, ГОСТ 10060.1-95, ГОСТ 10060.2-95, ГОСТ 10060.3-95, ГОСТ 10060.4-95.
3.7. Морозостойкость бетона следует определять по ГОСТ 10060-76, водонепроницаемость бетона - по ГОСТ 12730.5-78.
3.1. - 3.7. (Измененная редакция, Изм. N 1).
3.8, 3.9. (Исключены, Изм. N 1).
3.10. Испытание лотков на водонепроницаемость проводят на специальном стенде по схеме, приведенной на черт. 2, в следующем порядке.
Схема гидростатических испытаний
лотка на водонепроницаемость
1 - испытуемый лоток;
2 - укороченный лоток (2 шт.);
3 - заглушки; 4 - опоры лотков; 5 - прокладка.
Черт. 2
При перевозке лотков железнодорожным транспортом их погрузка и крепление должны производиться в соответствии с действующими инструкциями по перевозке грузов, утвержденными Министерством путей сообщения.
После приложения каждой ступени нагрузки лоток выдерживают под этой нагрузкой в течение 15 мин и производят осмотр лотка с целью обнаружения трещин, течи или влажных пятен.
Лоток, полностью заполненный водой, выдерживают в течение суток.
3.11. Партию лотков считают выдержавшей испытание на водонепроницаемость, если во всех лотках, отобранных из этой партии в количестве, установленном в п. 3.3, через сутки после их наполнения не будет обнаружено фильтрации воды в виде влажных пятен или течи.
При получении неудовлетворительных результатов испытаний хотя бы на одном лотке, проводят повторное испытание удвоенного количества образцов, взятых из той же партии. При неудовлетворительном результате повторных испытаний партию считают не выдержавшей испытания.
3.10, 3.11. (Измененная редакция, Изм. N 1).
4. МАРКИРОВКА, ХРАНЕНИЕ И ТРАНСПОРТИРОВАНИЕ
4.1. Маркировка лотков - по ГОСТ 13015.2-81. Маркировочные надписи и знаки следует наносить на наружной поверхности раструба лотка.
4.2. Транспортирование и хранение лотков - по ГОСТ 13015.4-84 и настоящему стандарту.
Лотки укладывают в штабели на специальных прокладках, исключающих возникновение распорных усилий, раструбами в разные стороны. Под нижний лоток устанавливают подкладки. Высота штабеля не должна превышать 2 м.
4.1, 4.2. (Измененная редакция, Изм. N 1).
4.3. Проходы между штабелями следует устраивать в продольном направлении через каждые два смежных штабеля, а в поперечном - не реже чем через 25 м. Ширина проходов должна быть не менее 0,7 м, а величина зазоров между смежными штабелями - не менее 0,2 м.
4.4. Перевозка лотков автотранспортом должна производиться на автомашинах, оборудованных специальными контейнерами.
4.5. Лотки транспортируют как в рабочем, так и в нерабочем положении (дном вверх).
4.4, 4.5. (Измененная редакция, Изм. N 1).
4.6. (Исключен, Изм. N 1).
4.7. Требования к документу о качестве лотков, поставляемых потребителю, - по ГОСТ 13015.3-81.
(Измененная редакция, Изм. N 1).