Главная // Актуальные документы // Актуальные документы (обновление с 29.09.2025 по 01.11.2025) // МетодикаСПРАВКА
Источник публикации
М., 1999
Примечание к документу
Документ
введен в действие с 01.07.2000.
Взамен МУ 1.1.258-93.
Название документа
"МУ 1.1.258-99. Методические указания. Двигатели газотурбинные авиационные. Порядок отбора и газохроматографического анализа проб воздуха из компрессора двигателя при стендовых испытаниях"
"МУ 1.1.258-99. Методические указания. Двигатели газотурбинные авиационные. Порядок отбора и газохроматографического анализа проб воздуха из компрессора двигателя при стендовых испытаниях"
ДВИГАТЕЛИ ГАЗОТУРБИННЫЕ АВИАЦИОННЫЕ
ПОРЯДОК
ОТБОРА И ГАЗОХРОМАТОГРАФИЧЕСКОГО АНАЛИЗА ПРОБ
ВОЗДУХА ИЗ КОМПРЕССОРА ДВИГАТЕЛЯ ПРИ СТЕНДОВЫХ ИСПЫТАНИЯХ
МУ 1.1.258-99
Дата введения
1 июля 2000 года
1. РАЗРАБОТАНЫ ОАО "ММП им. В.В. Чернышева", ЛИИ им. М.М. Громова, НИИСУ.
2. УТВЕРЖДЕНЫ ТК 323
ЗАРЕГИСТРИРОВАНЫ ТК 323 НИИСУ от 23.12.99
3. ВЗАМЕН МУ 1.1.258-93
Настоящие МУ распространяются на авиационные газотурбинные двигатели (ГТД) и вспомогательные газотурбинные двигатели (ВГТД) - далее ГТД - для гражданской авиации и изделий Министерства обороны.
МУ устанавливают единый порядок отбора и газохроматографического анализа проб воздуха, отбираемого от соответствующей ступени компрессора в процессе стендовых испытаний ГТД.
МУ применяются для измерения концентраций вредных примесей продуктов термоокислительного процесса разложения авиационных масел в воздухе, отбираемом на систему кондиционирования воздуха (СКВ) самолетов и вертолетов.
В настоящих МУ использованы ссылки на следующие нормативные документы:
ГОСТ 12.1.005-88. ССБТ. Общие санитарно-гигиенические требования к воздуху рабочей зоны
| | ИС МЕГАНОРМ: примечание. В официальном тексте документа, видимо, допущена опечатка: имеется в виду ГОСТ 12.2.007.0-75, а не ГОСТ 12.2.007-75. | |
ГОСТ 12.2.007-75. ССБТ. Изделия электротехнические. Общие требования безопасности
ГОСТ 5728-76 Трикрезилфосфат технический. Технические условия
ГОСТ 6217-74 Уголь активный древесный дробленый. Технические условия
ГОСТ 7579-76 Меламин. Технические условия
ГОСТ 9293-74 Азот газообразный и жидкий. Технические условия
ГОСТ 10227-86 Топлива для реактивных двигателей. Технические условия
ГОСТ 12308-89 Топлива термостабильные Т-6 и Т-8В для реактивных двигателей. Технические условия
ГОСТ 13076-86 Масло синтетическое ВНИИНП-50-1-4ф. Технические условия
ГОСТ 17433-80 Промышленная чистота. Сжатый воздух. Классы загрязненности
ГОСТ 18300-87 Спирт этиловый ректификованный технический. Технические условия
ГОСТ 18481-81 Ареометры и цилиндры стеклянные. Технические условия
ГОСТ 23998-80 Уголь активный АГ-2. Технические условия
ОСТ 1-00148-87 Масла для авиационных газотурбинных двигателей. Номенклатура и порядок назначения
ОСТ 6-11-376-74 Стеклоткань КТ-11. Технические условия
ТУ 6-09-3602-74 Тепасорб (полимерный сорбент). Технические условия
ТУ 6-11-15-191-81 Стекловата тонковолокнистая. Технические условия
ТУ 6-16-2956-87 Поверочная газовая смесь. Технические условия
ТУ 17-РСФСР-4218-78 Стекловата супертонкая кварцевая. Технические условия
ТУ 38.401-58-12-91 Масло авиационное синтетическое ВНИИНП-50-1-4у. Технические условия
ТУ 38.102168-85 Молекулярные сита NaY (цеолит). Технические условия
ТУ 38.102169-85 Молекулярные сита CaA (шариковые цеолиты). Технические условия
ТУ 38.102185-87 Силохром СХ-2,5. Технические условия
ТУ 51.940-80 Гелий марки B (технический). Технические условия
ТУ 205-РСФСР-16.751-87 Стекловата АТМ-3. Технические условия
АП 23 Авиационные правила. Часть 23. Нормы летной годности гражданских легких самолетов
АП 25 Авиационные правила. Часть 25. Нормы летной годности самолетов транспортной категории
АП 29 Авиационные правила. Часть 29. Нормы летной годности транспортных вертолетов
МИ 2335-95 Внутренний контроль качества результатов количественного химического анализа
3.1 Метод отбора проб заключается в концентрировании вредных примесей в адсорбционных пакетах путем продувки через них воздуха объемом в диапазоне от 500 до 1000 см3, отбираемого из компрессора ГТД, а также на входе в ГТД. На основе газохроматографического анализа отобранной пробы определяется степень загрязнения воздуха вредными примесями двигательного происхождения.
3.2 Количество вредных примесей в пробах воздуха, отбираемых из компрессора ГТД, подлежит оценке и сравнению с предельно допустимыми концентрациями (ПДК).
3.3 Периодичность отбора проб устанавливается в соответствии с типовыми программами и требованиями конструкторской документации.
3.4 Отбор проб воздуха из компрессора ГТД в опытном и серийном производстве рекомендуется производить на режимах работы двигателя, указанных в конструкторской документации, в зависимости от типа и модификации двигателя, а также от его назначения. Режимы отбора проб воздуха для конкретного типа ГТД могут быть уточнены по согласованию разработчика с заказчиком.
3.5 Отбор проб воздуха для анализа на содержание паров топлива, паров и аэрозолей масла, трикрезилфосфата (ТКФ), ароматических углеводородов, кетонов и альдегидов следует производить на всех режимах отбора проб (установившихся и неустановившихся), предусмотренных программой испытания, с одновременным отбором проб воздуха, поступающего на вход в ГТД для определения фоновых загрязнений.
3.6 Отбор проб воздуха для анализа на содержание окиси углерода (CO) следует производить только на установившихся режимах работы двигателя с одновременным отбором проб воздуха на входе в ГТД для определения фоновых загрязнений.
3.7 Анализ проб воздуха необходимо производить в специально оборудованной лаборатории на газовых хроматографах, снабженных пламенно-ионизационным детектором (ДИП), катарометром-детектором по теплопроводности (ДТП), термоионным детектором (ТИД) с соблюдением предусмотренной в настоящих МУ технологии анализа и мер безопасности.
3.8 Перечень материалов, применяемых при отборе и газохроматографическом анализе проб воздуха, отбираемых из компрессора ГТД при стендовых испытаниях, приведен в
приложении А.
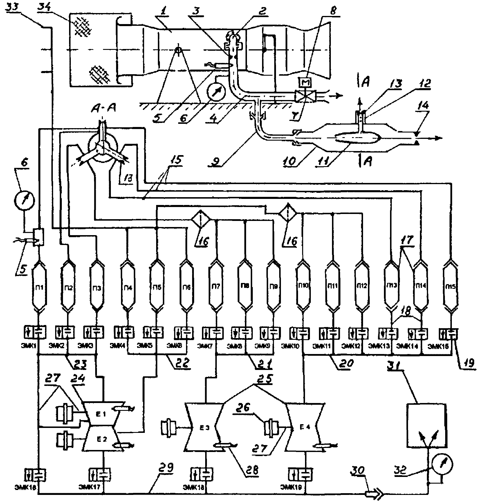
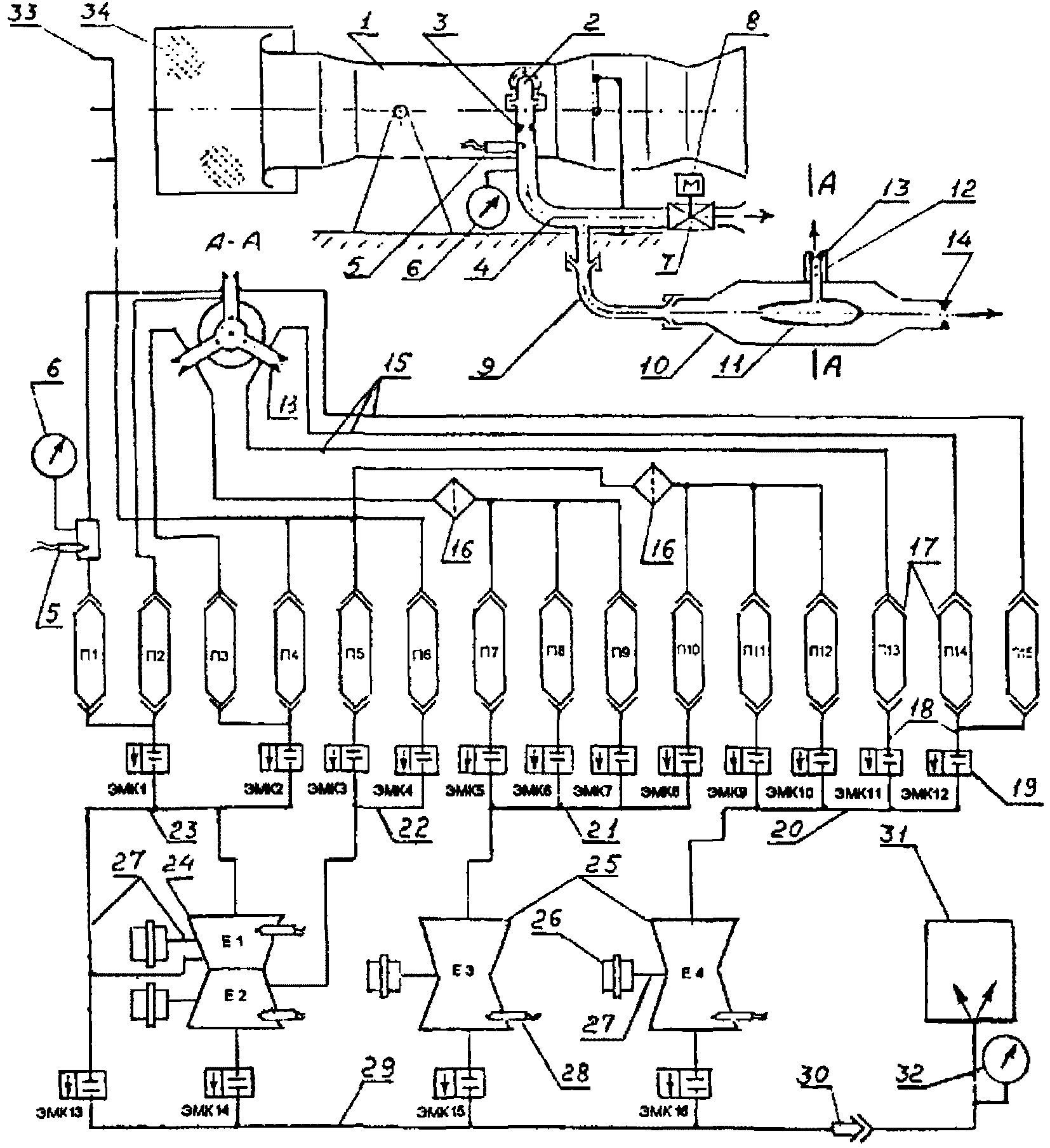
4 ПРИНЦИПИАЛЬНАЯ СХЕМА СИСТЕМЫ ОТБОРА ПРОБ ВОЗДУХА (СОП)
И СОСТАВ ОБОРУДОВАНИЯ
4.1 Принципиальная схема и соединение функциональных частей системы отбора проб (СОП) приведены в приложении Б,
рисунки Б.1 и
Б.2.
4.2 В состав оборудования СОП входят:
- диффузор с воздухозаборником;
- соединительные трубопроводы;
- пробоотборники;
- воздушные фильтры;
- электромагнитные клапаны (ЭМК);
- коллекторы;
- приборы для измерения вакуума;
- мерные емкости;
- вакуум-насос;
- дистанционный пульт управления.
4.3 Описание схемы СОП
4.3.1 Диффузор
10 (см.
рисунок Б.1) с воздухозаборником
11, подсоединяемый к патрубку отбора воздуха в СКВ
2 за соответствующей ступенью компрессора, формирует поток воздуха и обеспечивает его расход через три головки со штуцером
12 в момент отбора проб. Для исключения образования застойных зон головки постоянно продуваются через жиклеры продувки
13. Воздух от компрессора поступает через металлорукав
9 длиной до 3 м, подсоединяемый одним концом к патрубку
2, а другим - к входному штуцеру диффузора. Далее поток воздуха через воздухозаборник, расположенный в центре диффузора, направляется в три стойки головок и распределяется по соединительным трубопроводам
15 к пробоотборникам
17. Подсоединение трубопроводов
15 производится к штуцерам на головках диффузора и штуцерам на корпусах пробоотборников. Пробоотборники
17 герметично соединены трубопроводами
18 с ЭМК
19, которые, в свою очередь, соединяются с емкостями
24,
25 посредством коллекторов
20,
21,
22,
23.
4.3.2 В системе отбора должны применяться нормально закрытые ЭМК с внутренним диаметром входных и выходных штуцеров не более 4 мм, питаемые напряжением от 24 до 27 В постоянного тока, допускающие внутреннюю негерметичность (по утечке воздуха) не более 0,3 - 0,5 см
3/мин и способные находиться под током не менее 35 - 40 мин. Для исключения попадания влаги в сорбент пробоотборников (на содержание CO) перед пробоотборниками П7 - П12 устанавливаются воздушные фильтры
16 (приложение В,
рисунок В.1) объемом до 1000 см
3, заполненные цеолитом CaA зернением от 5 до 6 мм.
4.3.3 Пробоотборник (приложение Г,
рисунок Г.1) состоит из корпуса
1, экрана
2, концентратора
3, двух уплотнительных резиновых втулок
4, упора
5, гайки
6, входного штуцера
7 для подвода воздуха от головки диффузора и выходного штуцера
8 для соединения с вакуумной системой.
Количество устанавливаемых пробоотборников на отбор проб зависит от количества предусмотренных программой испытания контрольных режимов работы ГТД, на которых необходимо производить отборы проб, а также от перечня контролируемых компонентов вредных примесей.
4.3.3.1 Внутренние детали пробоотборника - экран, концентратор, уплотнительные резиновые втулки и упор - в сборе составляют съемный адсорбционный пакет (приложение Г,
рисунок Г.2). Адсорбционные пакеты снаряжаются концентраторами для отбора проб на пары топлива, пары и аэрозоль масла, альдегиды, ароматические углеводороды или CO.
Адсорбционные пакеты устанавливаются в пробоотборники при подготовке СОП к отбору проб, а после окончания отборов извлекаются из пробоотборников и направляются в лабораторию для проведения анализов.
4.3.3.2 Основным элементом пробоотборника является съемный концентратор, заполняемый активным сорбентом для поглощения различных компонентов вредных примесей.
Концентраторы с маркировкой "M" (приложение Г,
рисунок Г.3) заполняются сорбентом для поглощения паров топлива, паров и аэрозоля масла, ТКФ, альдегидов и ароматических углеводородов.
Концентраторы с маркировкой "CO" (приложение Г,
рисунок Г.4) заполняются сорбентом для поглощения CO.
Концентраторы, заполненные сорбентом, должны храниться только в специальных контейнерах (приложение Д,
рисунок Д.1).
Концентраторы с маркировкой "CO" должны храниться в отдельном контейнере с такой же маркировкой и соответствующим номером. Хранение концентраторов с маркировкой "M" производится в другом контейнере с такой же маркировкой.
4.3.4 Емкости, используемые для вакуумирования системы, выполняются объемом от 900 до 1000 см
3 для отбора проб на содержание CO и объемом от 450 до 550 см
3 - на содержание паров керосина и паров масла. Измерение вакуума в емкостях до и после отбора проб осуществляется с помощью датчика разрежения
26 типа ИКД-27Дф-1 (далее - ИКД) (см. приложение Б,
рисунок Б.1), вольтметров, установленных на пульте управления, и цифрового вольтметра.
ИКД монтируется на панель СОП и соединяется с емкостями посредством трубопроводов 27. Измерение температуры воздуха в емкостях в момент отбора проб осуществляется термопарой или приемником температуры воздуха 28. Допускается не производить измерение температуры в емкостях в момент отбора проб, где температура воздуха за соответствующей ступенью компрессора менее 250 °C.
При этом фактическая температура воздуха в емкостях, используемая в расчетах концентраций вредных примесей, будет соответствовать температуре воздуха на входе в двигатель в момент отбора пробы воздуха.
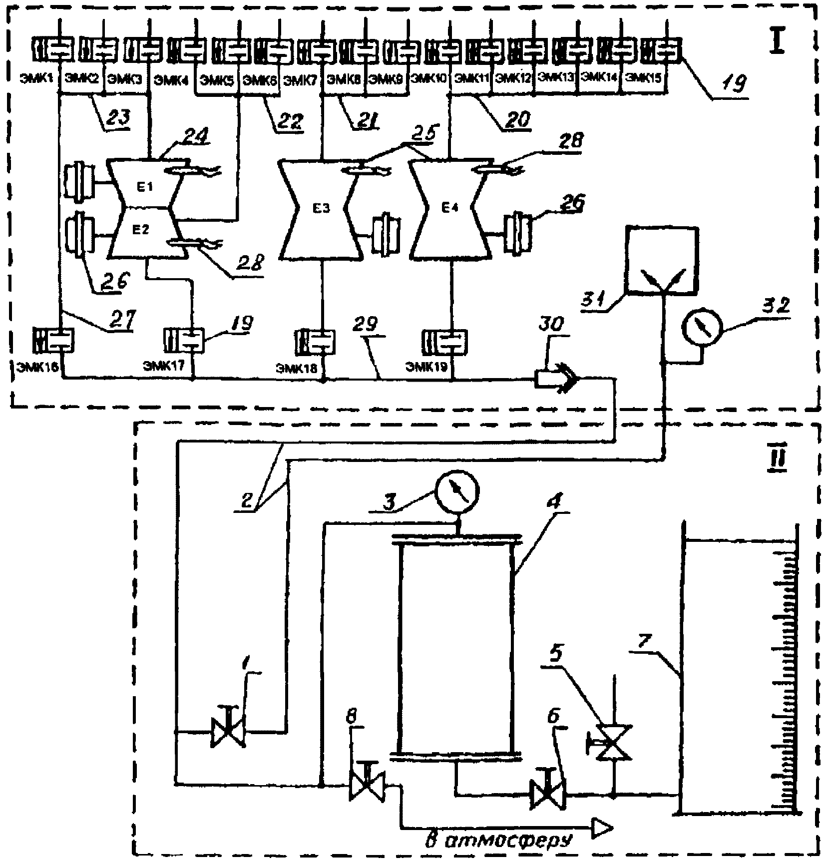
К каждой емкости посредством трубопроводов 27 подсоединен электромагнитный клапан 19, который через коллектор 29 соединен с вакуум-насосом 31.
Следует использовать отдельную линию вакуумирования СОП во избежание загрязнения емкостей и трубопроводов и особенно сорбента в концентраторах, парами топлива и масла при использовании стендового вакуум-насоса. Для вакуумирования емкостей СОП должен быть использован вакуум-насос, обеспечивающий разрежение от минус 80 до минус 90 кПа (от минус 0,8 до минус 0,9 кгс/см2). Контроль работы вакуум-насоса осуществляется с помощью стендового вакуумметра 32. Рекомендуется устанавливать один вакуум-насос на 4 - 5 испытательных стендов.
4.3.5 Включение отбора проб воздуха (пуск системы) осуществляется от переносного пульта управления (приложение Е,
рисунок Е.1), располагаемого в кабине наблюдения испытательного стенда.
Пульт управления, имеющий необходимое количество тумблеров (выключателей) и четыре вольтметра, соединяется электрокабелем через штепсельный разъем (ШР) в кабине наблюдения с ответной частью ШР на панели СОП. Питание пульта управления и ЭМК осуществляется постоянным током напряжением (27 +/- 2,5) В через отдельный кабель, включаемый в стендовую систему питания. Рекомендуется осуществлять питание пульта управления постоянным током (приборов ИКД и вольтметров) от отдельной линии или использовать отдельный стабилизированный источник напряжения на (27 +/- 2,5) В. Принципиальная электрическая схема управления СОП приведена в приложении Ж,
рисунок Ж.1.
4.4 Отбор проб воздуха, поступающего на вход в двигатель (фоновые загрязнения) для определения фактической величины концентраций вредных примесей, производится через приемник
33 (см. приложение Б,
рисунок Б.1), соединенный трубопроводом с соответствующими пробоотборниками.
Допускается установка приемника отбора проб воздуха на входе в ГТД (фонового воздуха) 33 непосредственно на боковой панели СОП, располагая его приемные трубки навстречу потоку воздуха, обтекающему двигатель.
4.5 На выходной штуцер диффузора устанавливается гайка с жиклером 14, имеющим проходное сечение на 20 - 30% меньшее, чем проходное сечение шайбы 3, имитирующей СКВ по расходу воздуха через эту систему.
4.6 Соединение функциональных частей и сборка системы отбора проб производятся согласно схеме (см. приложение Б,
рисунок Б.1) и сборочному чертежу.
5.1 Перед сборкой детали и узлы СОП следует продуть сухим сжатым воздухом для удаления металлической пыли, стружки, окалины. Промыть керосином и продуть сухим сжатым воздухом полости штуцеров электромагнитных клапанов для удаления консервационной смазки.
5.2 Измерить активные объемы вакуумируемой части СОП, используемые в дальнейшем для расчета концентраций вредных примесей в пробах воздуха (индекс объема соответствует порядковым номерам емкостей): V
акт.Е1, V
акт.Е2, V
акт.Е3, V
акт.Е4. Методика определения активных объемов вакуумируемой части СОП приведена в
приложении И.
Полученные значения активных объемов следует записать в формуляр СОП.
5.2.1 Схема соединений для измерения объемов вакуумируемой части СОП приведена в приложении К,
рисунок К.1.
5.2.2 Измерение активных объемов проводится в разовом порядке при аттестации системы перед началом ее применения, а в дальнейшем - в случае замены отдельных ее элементов (трубопроводов, емкостей и др.).
5.2.3 Полученные значения активных объемов Vакт необходимо использовать при расчете концентраций вредных примесей в пробах воздуха, отобранных через пробоотборники:
Vакт.Е1 - для пробоотборников П1 - П3;
Vакт.Е2 - для пробоотборников П4 - П6;
Vакт.Е3 - для пробоотборников П7 - П9;
Vакт.Е4 - для пробоотборников П10 - П15.
5.3 Нанести электрографом порядковые номера и маркировку ("M" или "CO") на соответствующих концентраторах, контейнерах и транспортировочной таре (приложение Л,
рисунок Л.1), как указано на
рисунках Г.3,
Г.4,
Д.1,
Л.1. Порядковые номера на концентраторах с маркировкой "M" и "CO" должны быть различными. Концентраторы с маркировкой "M" - четные, с маркировкой "CO" - нечетные, или наоборот.
5.4 Произвести промывку чистым керосином (расход 3,0 л), а затем этанолом (расход 1,5 л) следующих элементов СОП:
- корпусов и всех деталей, входящих в пакет пробоотборника (см.
рисунок Г.1);
- корпусов и всех деталей контейнеров для хранения концентраторов (см.
рисунок Д.1).
Промыть чистым керосином узлы установки СОП (см.
рисунок Б.1):
- трубопроводы 18;
- коллекторы 20, 21, 22, 23, 29;
- емкости 24, 25;
- трубопроводы 27.
Указанные детали и узлы следует продуть сухим сжатым воздухом и просушить при температуре в диапазоне от 200 до 250 °C в течение 2 - 3 ч, кроме резиновых втулок
3 (см.
рисунок Г.2).
5.5 Произвести сборку контейнеров (см.
рисунок Д.1) и уложить в них концентраторы, соблюдая соответствующую маркировку "M" или "CO".
5.6 Во избежание появления дополнительных (случайных) фоновых загрязнений, могущих повлиять на результаты анализа отобранных проб воздуха, необходимо:
- все операции на всех этапах отбора проб, связанные с возможностью загрязнения концентраторов и адсорбционных пакетов от рук операторов, выполнять в чистых хлопчатобумажных перчатках с применением предусмотренного инструмента - съемника или пинцета;
- хранить и переносить снаряженные концентраторы и адсорбционные пакеты в предусмотренных для этой цели чистых контейнерах и транспортировочной таре, не допуская их контакта с загрязненными (особенно замасленными) предметами и поверхностями.
5.7 Произвести сборку воздушных фильтров (см.
рисунок В.1). В корпус фильтра уложить на сетку
8 слой кварцевой тонковолокнистой ваты высотой от 3 до 5 мм, засыпать от 500 до 1000 см
3 цеолита CaA зернением от 5 до 6 мм, снова уложить слой стекловаты
4, сетку
8, закрыть крышкой
1 и затянуть гайку
2. Собранные фильтры поместить в муфельную печь и прогреть до температуры (275 +/- 25) °C в течение 1,5 - 2 ч для активации сорбента. После охлаждения снять крышку
1, поставить уплотнительное кольцо
3, затянуть гайку
2.
5.8 Произвести заполнение концентраторов (см.
рисунки Г.3 и
Г.4) соответствующими сорбентами. Вставить в концентратор толкатель
4 и завернуть винт
5, оставив запас резьбы не менее 3 мм. Установить концентратор вертикально конусной частью вверх, ввести с помощью металлической оправки диаметром 1,5 мм заглушку из стекловаты
2 высотой 5 мм. Закрепить с помощью резинового шланга стеклянную воронку на конусной части концентратора.
Заполнить через воронку внутреннюю полость концентратора адсорбентом с легким постукиванием по концентратору деревянной выколоткой. Высота заполнения полости должна быть не менее 50 - 60 мм для концентраторов с маркировкой "M". Ввести в концентратор замыкающую заглушку из стекловаты высотой 5,0 мм. Уложить заполненные адсорбентом концентраторы в контейнеры с маркировкой "M" и "CO" соответственно.
5.9 Концентраторы с маркировкой "M" заполнить мелонированным силохромом. Концентраторы с маркировкой "CO" заполнить цеолитом NaY (молекулярные сита, активированные серебром). Высота заполнения до 85 мм.
5.9.1 Методика приготовления активных адсорбентов изложена в
приложении М.
5.9.2 Заполненные адсорбентом концентраторы поочередно поместить в инжектор испарителя хроматографа и произвести продувку через них газа-носителя (гелия).
5.9.3 Концентратор с маркировкой "M" ввести в инжектор испарителя хроматографа с ДИП. Подсоединить к инжектору колонну, заполненную диатомитовым носителем типа хромосорб W-HP без нанесенной фазы. Другой конец колонны к ДИП не подключать. Провести продувку ("тренировку") концентраторов в токе гелия при температуре испарителя 350 °C и температуре колонн в диапазоне от 280 до 300 °C в течение 4 - 5 ч. Контроль - по указателю температуры на блоке индикации хроматографа.
5.9.4 Концентраторы с маркировкой "CO" ввести в инжектор испарителя хроматографа с ДТП. Подсоединение колонн к инжектору производится согласно схеме, приведенной в
приложении Н. Провести активацию сорбента концентратора в токе гелия при температуре испарителя 350 °C в течение 1,0 - 1,5 ч.
После активации концентраторы уложить в контейнеры с соответствующей маркировкой.
Примечания:
1. До и после активации концентраторы с маркировкой "CO" должны находиться в герметично закрытых контейнерах (сорбент дезактивируется парами влаги).
2. Глубину погружения колонны в штуцер испарителя подобрать за счет перемещения медного вкладыша колонны таким образом, чтобы конусная часть концентратора упиралась в фаску, выполненную в колонне, а верхний торец колонны находился на одном уровне с торцом штуцера испарителя (
рисунок Н.1, поз. А, Б).
5.10 Провести сборку СОП согласно схеме (см.
рисунок Б.1).
5.10.1 Установить адсорбционные пакеты с заполненными концентраторами в пробоотборники П1 - П15.
5.10.2 Установить заглушки на штуцера с жиклерами продувки 13. На выходной штуцер диффузора установить заглушку. К входному штуцеру диффузора подсоединить баллон с азотом. Допускается применять сухой сжатый воздух из промышленной магистрали, пропущенный через фильтр с тонкостью фильтрации не менее 80 мк.
5.10.3 Проверить герметичность соединений СОП. Создать давление азота в диапазоне от 300 до 500 кПа (от 3 до 5 кгс/см2) и выдержать 3 мин. Допускается падение давления не более 20 кПа (0,2 кгс/см2) в 1 мин. При необходимости произвести обмыливание мест соединений, выявить и устранить негерметичность. Снять давление азота.
5.10.4 Проверить функционирование элементов СОП. Для этого подсоединить к штуцеру
30 вакуум-насос, а к ШР на панели СОП - электрокабель от пульта управления (приложение Е,
рисунок Е.1).
Подвести электропитание напряжением 27 В к пульту управления. Включить вакуум-насос. Включить поочередно или одновременно тумблеры включения ЭМК16 - ЭМК19 на пульте управления (см.
рисунок Е.1). Создать разрежение в емкостях Е1 - Е4 в диапазоне от минус 80 до минус 90 кПа (от минус 0,8 до минус 0,9 кгс/см
2), после чего ЭМК16 - ЭМК19 выключить и выдержать 3 мин. Контроль разрежения - по вакуумметру и вольтметрам на пульте управления. Падение разрежения не допускается.
Примечания:
1. При включении тумблера "СЕТЬ" показания вольтметров должны находиться в диапазоне от 0,56 до 1,04 В.
2. При достижении разрежения минус 80 кПа (минус 0,8 кгс/см2) в емкостях Е1 - Е4 показания вольтметров должны находиться в диапазоне от 6,56 до 6,80 В.
5.10.5 Создать давление азота 300 кПа (3 кгс/см
2) на входе в диффузор и разрежение в емкостях Е1 - Е4 в соответствии с
5.10.4. Последовательным включением ЭМК1 - ЭМК15 на пульте управления (см.
рисунок Е.1) проверить их функционирование. При включении соответствующего клапана время снижения разрежения по показаниям вольтметров может быть различным в зависимости от плотности набивки концентратора сорбентом. Выключение клапанов производить при достижении показаний вольтметров в диапазоне от 1,2 до 1,5 В. После выключения очередного клапана восстановить разрежение в соответствующей емкости до вышеуказанных значений для проверки функционирования последующего клапана.
5.10.6 Выключить вакуум-насос. Снять давление азота на входе в диффузор. Выключить тумблер "СЕТЬ". Отсоединить от штуцера
30 (см.
рисунок Б.1) вакуум-насос и от входного штуцера диффузора - баллон с азотом. Извлечь концентраторы из пробоотборников и уложить в контейнеры с соответствующей маркировкой. Снять заглушки со штуцеров продувки диффузора и установить жиклеры продувки
13 диаметром 0,2 мм.
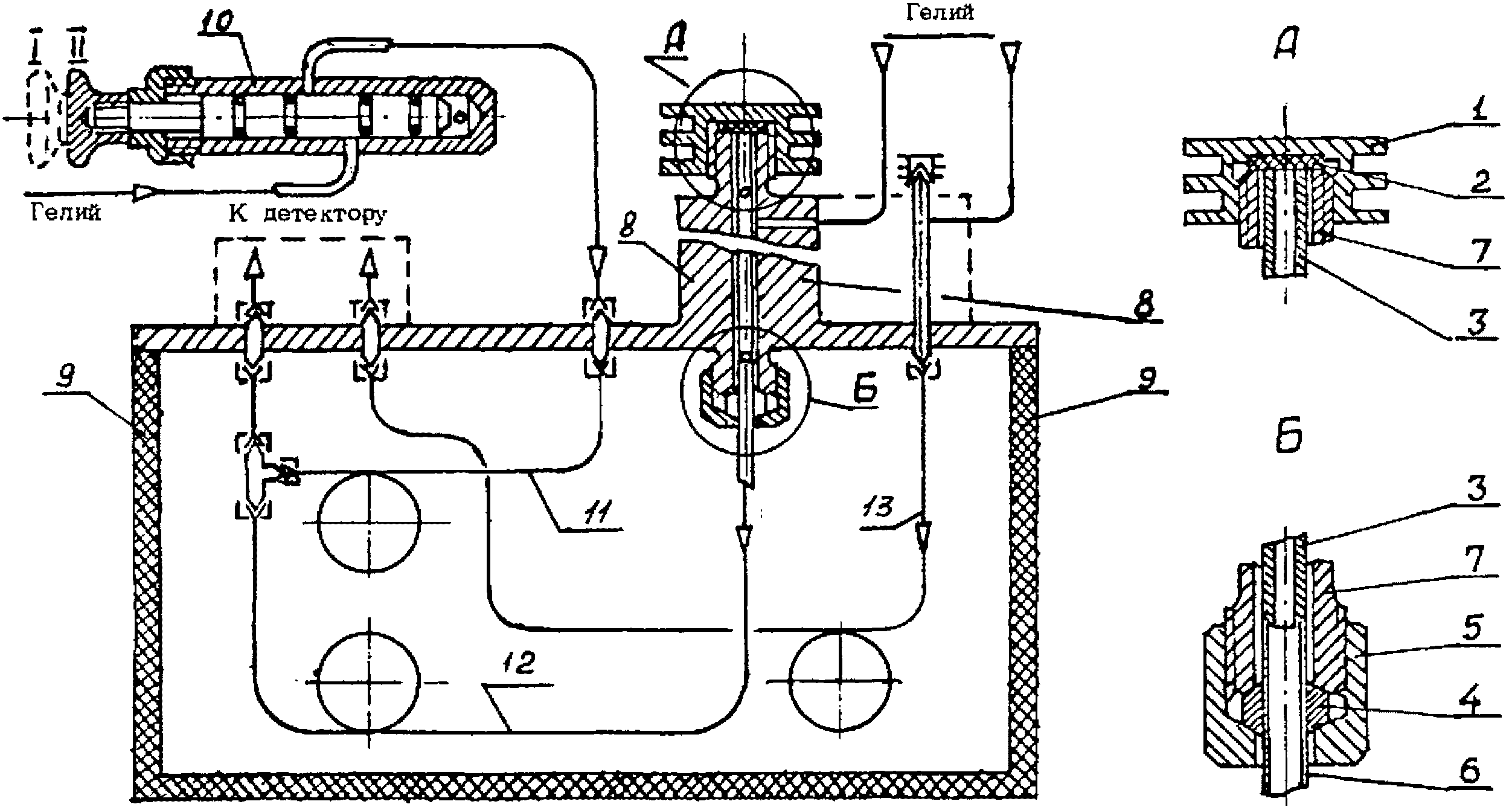
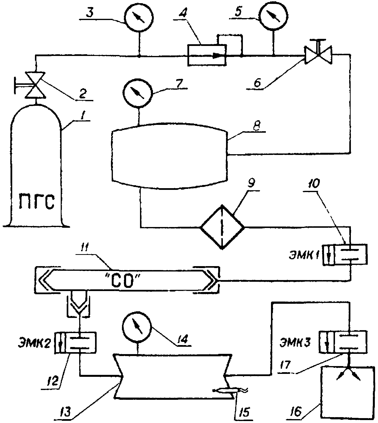
5.10.7 Произвести тарировку приборов ИКД1 - ИКД4 в лаборатории до установки их на панель СОП.
Тарировку следует производить с применением вакуум-пресса и цифрового вольтметра. Схема соединений для тарировки приборов ИКД в лаборатории приведена в приложении П,
рисунок П.1. Соединить прибор ИКД согласно схеме. Создать вакуум-прессом разрежение минус 20 кПа (минус 0,2 кгс/см
2) и записать показания вольтметра
3.
Последовательно создавая разрежение минус 40, минус 60, минус 80, минус 100 кПа (минус 0,4, минус 0,6, минус 0,8, минус 1,0 кгс/см2), записать показания вольтметра 3 в каждой тарировочной точке. В случае невозможности создать разрежение минус 100 кПа (минус 1,0 кгс/см2) градуировку закончить при разрежении минус 80 кПа (минус 0,8 кгс/см2).
5.10.8 Определить погрешность тарировки ИКД как разность между показаниями вольтметра
3 в контрольных точках полученного индивидуального тарировочного графика и соответствующими значениями выходного напряжения единой тарировочной характеристики для приборов ИКД при соответствующих значениях разрежения. Допустимое значение относительной погрешности прибора ИКД при тарировке не должно быть более +/- 3% в любой точке характеристики. Приборы, имеющие погрешность более +/- 3%, подлежат замене. Единая тарировочная характеристика приборов ИКД приведена в
таблице 1.
Разрежение, кПа (кгс/см2) | Выходное напряжение прибора ИКД, В |
0,0 (0,0) | 0,80 |
-20 (-0,2) | 2,24 |
-40 (-0,4) | 3,68 |
-60 (-0,6) | 5,12 |
-80 (-0,8) | 6,56 |
-100 (-1,0) | 8,00 |
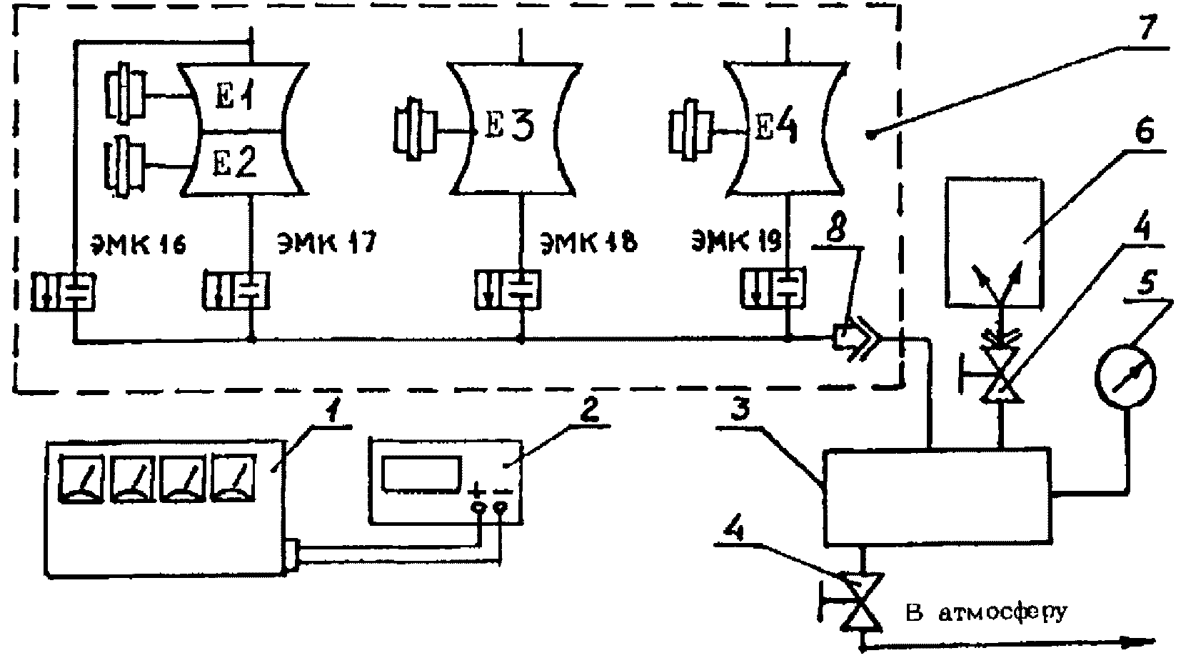
5.10.9 После установки СОП на стенд для испытания двигателя тарировку ИКД следует производить через каждые три месяца эксплуатации системы отбора без снятия ИКД с панели СОП с применением вакуумметра класса точности 0,6 и цифрового вольтметра класса точности 0,3. Схема соединений для тарировки прибора ИКД в составе СОП приведена в приложении П,
рисунок П.2. Соединить пульт управления
1 с цифровым вольтметром
2 и подвести напряжение 27 В к пульту.
Подсоединить электрокабель от пульта управления 1 к ШР на панели СОП.
К штуцеру
30 (см.
рисунок Б.1) подсоединить устройство для тарировки ИКД, состоящее из буферной емкости
3 (см.
рисунок П.2), игольчатых кранов
4 и вакуумметра
5, установленных на одной панели. К одному из кранов
4 подсоединить вакуум-насос.
5.10.10 Тарировку ИКД производить в следующей последовательности:
1) после подачи напряжения 27 В на пульт управления и ИКД через 3 - 5 мин записать показания цифрового вольтметра при разрежении 0 кПа (0 кгс/см
2) в каждой из четырех емкостей СОП. Показания вольтметра должны находиться в пределах (0,80 +/- 0,24) В для каждого ИКД. Переключение цифрового вольтметра для измерения выходного напряжения от каждого ИКД при нулевом разрежении следует производить галетным переключателем
9 (см.
рисунок Ж.1);
2) открыть кран
4 (см.
рисунок П.2), соединенный с вакуум-насосом, другой кран
4 закрыть;
3) включить ЭМК16 тумблером на пульте управления (см.
рисунок Е.1). Включить вакуум-насос и создать разрежение минус 80 кПа (минус 0,8 кгс/см
2) в емкости Е1 и буферной емкости
3, закрыть кран
4, соединенный с вакуум-насосом. Отрегулировать разрежение в емкостях по показаниям вакуумметра
5 в пределах минус (80 +/- 10) кПа [минус (0,8 +/- 0,1) кгс/см
2] при помощи крана
4, соединенного с атмосферой.
Выдержать разрежение минус (80 +/- 10) кПа [минус (0,8 +/- 0,1) кгс/см2] в течение 5 мин.
Записать показания цифрового вольтметра для ИКД1, которое должно находиться в пределах (6,56 +/- 0,24) В (галетный переключатель в положении I, см.
рисунок Ж.1). Выключить ЭМК16;
4) провести тарировку ИКД2, ИКД3, ИКД4 при включенных соответственно ЭМК17 - ЭМК19 по
перечислениям 2 и
3 подпункта 5.10.10. Отсоединить устройство для тарировки ИКД и восстановить исходную компоновку СОП.
5.11 Окончательный подбор площади проходного сечения жиклера
14 (см.
рисунок Б.1) и определение температуры воздуха на входе в пробоотборники следует производить при отладке системы непосредственно на испытательном стенде.
На выходной штуцер диффузора установить гайку с жиклером 14 диаметром 10 мм. Отсоединить трубопровод 15 подвода воздуха от диффузора к пробоотборнику П1. Установить трубопровод, препарированный под измерение приемника температуры 5 и давления воздуха манометром 6 на входе в пробоотборник П1. Подсоединить металлорукав 9 к стендовой системе отбора воздуха, поступающего в имитатор СКВ (переходник 4). Подсоединить стендовые коммуникации измерения температуры 5 и давления воздуха 6 в переходнике 4 на выходе из соответствующей ступени компрессора, а также температуры и давления воздуха на входе в пробоотборник П1. Измерение температуры воздуха рекомендуется производить термопарами группы ХК и электронным потенциометром. Давление воздуха измеряется стендовыми манометрами и электроманометрами. Не допускается наличие следов керосина и масла в стендовых магистралях и манометрах.
5.12 Установить в пробоотборники адсорбционные пакеты с концентраторами, имеющими маркировку "M" и "CO". В пробоотборники П1 - П6, П13 - П15 - с маркировкой "M", в пробоотборники П7 - П12 - с маркировкой "CO".
Запустить двигатель, и после прогрева по действующей технологии испытания произвести отбор проб воздуха на режимах: "земной малый газ" и "взлетный" или "малый газ" и "максимальный". В процессе отбора измерить температуру и давление воздуха за соответствующей ступенью компрессора, на входе в пробоотборник П1 и в емкостях СОП.
Подготовка к отбору и выполнение отбора проб изложены в
разделе 6.
5.13 Давление воздуха перед пробоотборниками на режиме "земной малый газ" должно находиться в диапазоне от 30 до 50 кПа (от 0,3 до 0,5 кгс/см
2), а на режиме "взлетный" - в диапазоне от 200 до 500 кПа (от 2 до 5 кгс/см
2). При необходимости подобрать соответствующее проходное сечение жиклера
14 и повторить работы по
5.12.
Температура воздуха на входе в пробоотборники на режиме "взлетный" не должна быть более 100 °C. Если температура воздуха на входе в пробоотборники превышает 100 °C, необходимо диффузор 10 выполнить с большим числом ребер охлаждения (большей поверхностью охлаждения). Для обеспечения температуры воздуха на входе в пробоотборники на режиме "земной малый газ" не менее 15 °C (особенно в зимний период) осуществляется термоизоляция трубопроводов 15 лентой из стеклоткани типа КТ-11 по ОСТ 6-11-376 в два-три слоя.
При получении температуры воздуха в емкостях СОП в процессе отбора проб, равной температуре воздуха на входе в двигатель с предельным отклонением от 1 до 2 °C, допускается в дальнейшем измерение температуры в емкостях СОП не производить, а использовать в расчетах концентраций вредных примесей температуру воздуха на входе в двигатель, измеренную на соответствующем режиме отбора проб.
5.14 Восстановить исходную компоновку СОП. Извлечь адсорбционные пакеты из пробоотборников и уложить концентраторы в соответствующие контейнеры. При необходимости провести газохроматографический анализ отобранных проб воздуха в соответствии с
разделом 8.
5.15 Работы по
5.12 -
5.14 выполнить на первом образце СОП из партии, изготовленной для установки на стенды испытательной станции и предназначенной для отбора проб воздуха на данном типе ГТД.
5.16 Система отбора проб воздуха, изготовленная по схеме, представленной на
рисунке Б.2, может быть использована при условии тщательного подбора соответствующих пар концентраторов, отличающихся друг от друга плотностью наполнения сорбентом и соответственно временем пропускания одинаковых объемов воздуха.
Единственным преимуществом указанной схемы является использование меньшего количества электромагнитных клапанов и других деталей и узлов.
Остальные требования к системе отбора, представленной на
рисунке Б.2, указаны выше.
6.1 Контроль чистоты воздуха, отбираемого от компрессора ГТД на нужды самолетов и вертолетов, производится при сертификационных испытаниях, в опытном производстве и, при необходимости, на двигателях серийного производства в соответствии с требованиями конструкторской документации и настоящих МУ.
Стенд, на котором проводятся испытания двигателя с отбором проб воздуха, должен быть оборудован системой отбора проб воздуха, выполненной по схеме, представленной на
рисунке Б.1.
6.2 Отбор проб воздуха от компрессора ГТД следует производить на следующих режимах отбора проб:
1) на двигателях для гражданской авиации:
- земной малый газ (ЗМГ);
- максимальный продолжительный (МП);
- взлетный (ВЗЛ);
2) на двигателях для изделий Министерства обороны:
- малый газ (МГ);
- крейсерский (КР) или 0,85 максимального режима;
- МГ - максимальный (М) или приемистость с МГ до М.
6.2.1 Для однорежимных ВГТД, имеющих постоянную рабочую частоту вращения ротора, отбор проб воздуха следует производить на установившемся режиме отбора номинальной мощности или полной энергонагрузке или длительном отборе на потребителя с заданными параметрами воздуха.
6.3 Указанные режимы отбора проб воздуха для конкретного типа ГТД могут быть при необходимости уточнены по согласованию с заказчиком.
6.4 Включение СОП производится после выхода ГТД на заданный режим отбора проб и выдержки на этом режиме до получения установившейся температуры масла на входе и выходе из двигателя.
6.4.1 Отбор проб производить с подключенной к двигателю стендовой системой отбора воздуха на СКВ (см.
рисунок Б.1, поз.
4), к которой подсоединена СОП посредством металлорукава
9. Перед запуском двигателя кран-заслонка
7 должен находиться в положении "Закрыто".
Перед отбором проб воздуха кран необходимо установить в положение "Открыто".
6.5 Включение СОП на неустановившихся режимах работы ГТД (при необходимости контроля чистоты воздуха при резких наборах частоты вращения ротора от минимальных до 100% за 3 - 5 с) осуществляется одновременно с перемещением рычага управления двигателем (РУД) из положения, соответствующего режиму МГ (ЗМГ), в положение, соответствующее режиму М (ВЗЛ). Выключение отбора проб производить через (20 +/- 5) с после выхода на режим М работы ГТД.
6.6 Отбор проб для анализа на содержание CO следует производить только на установившихся режимах с одновременным отбором проб воздуха на входе в ГТД для определения фоновых загрязнений.
6.7 Отбор проб для анализа на содержание альдегидов, ароматических углеводородов, кетонов, паров топлива, паров и аэрозоля масла, ТКФ следует производить на всех режимах работы ГТД (установившихся и неустановившихся), предусмотренных программой испытания, с одновременным отбором проб воздуха, поступающего на вход в ГТД для определения фоновых загрязнений.
6.8 Отбор проб воздуха допускается производить на любой технологической операции отладки или испытаний двигателя (не связанной с измерением его параметров). Во время ресурсных испытаний отбор проб рекомендуется производить на послеэтапных запусках с периодичностью, указанной в программе испытаний.
Отбор проб допускается производить при любой последовательности режимов - от ЗМГ или МГ до ВЗЛ или М и в обратном порядке.
6.9 Произвести монтаж СОП на испытательный стенд. Подсоединить к металлорукаву 9 через переходник баллон с азотом или магистраль с сухим сжатым воздухом.
Отсоединить от штуцера
30 магистраль вакуум-насоса. Обеспечить подсоединение электропитания к пульту управления СОП согласно принципиальной электрической схеме управления (см.
рисунок Ж.1). Подсоединить систему измерения температуры воздуха в емкостях. Отвернуть гайки
6 (см.
рисунок Г.1) и уложить в чистую тару. Произвести продувку трубопроводов СОП азотом или сухим сжатым воздухом при давлении в диапазоне от 200 до 300 кПа (от 2 до 3 кгс/см
2) в течение 2 - 3 мин при закрытых (выключенных) ЭМК1 - ЭМК19.
6.10 Подсоединить металлорукав к входному штуцеру диффузора
10 (см.
рисунок Б.1), а к штуцеру
30 - магистраль от вакуум-насоса. На выходной штуцер диффузора должен быть установлен штатный жиклер
14.
6.11 Собрать адсорбционные пакеты (см.
рисунок Г.2) с заполненными концентраторами и уложить их в транспортировочную тару (см.
рисунок Л.1). Сборку пакетов производить в лаборатории с соблюдением требований
5.6.
Укладку пакетов в тару следует производить в соответствии с порядковыми номерами, выгравированными на ложементе тары, и номерами пробоотборников, указанными в протоколе отбора проб воздуха из компрессора ГТД
(приложение Р).
Записать в протокол отбора проб порядковые номера концентраторов с маркировкой "M" и "CO".
6.12 Указанные в протоколах отбора проб (
приложения Р,
С и
Т) в столбце "Маркировка концентраторов" обозначения "M
ф" и "CO
ф" условно означают, что через пробоотборники П4 - П6 или соответственно П10 - П12 прокачивается воздух, отбираемый на входе в двигатель (фон). Условное обозначение "M
а" означает, что через пробоотборники прокачивается проба воздуха для анализа на содержание ароматических углеводородов, альдегидов и пр.
6.13 Установить пакеты в пробоотборники и затянуть гайки
6 (см.
рисунок Г.1). Установку пакетов по маркировкам концентраторов необходимо производить в соответствии с требованиями программы испытания на отбор проб и в последовательности нумерации пробоотборников.
6.14 При отборе проб воздуха на двигателях для гражданской авиации в пробоотборники П1 - П6, П13 - П15 следует устанавливать пакеты с концентраторами, имеющими маркировку "M"; в пробоотборники П7 - П12 - пакеты с концентраторами, имеющими маркировку "CO".
6.15 Создать вакуум в емкостях Е1 - Е4 СОП не менее чем за 3 - 5 мин до начала отбора проб, для чего включить ЭМК16 - ЭМК19 (одновременно или поочередно), включить вакуум-насос
31 (см.
рисунок Б.1) и довести разрежение в емкостях Е1 - Е4 по показаниям вольтметров на пульте управления (окончательное значение разрежения - по показаниям цифрового вольтметра) в диапазоне от минус 80 до минус 90 кПа (от минус 0,8 до минус 0,9 кгс/см
2).
6.15.1 Начальные значения разрежения B
1 и температуры воздуха T
1 в емкостях Е1 - Е4 следует записать в протокол отбора проб воздуха (см.
приложение Р). Закрыть ЭМК16 - ЭМК19, отключить вакуум-насос
31.
6.16 При работе двигателя на заданном режиме отбора проб и получения установившейся температуры масла на входе и выходе из двигателя включить соответствующий ЭМК или группу клапанов для прокачки воздуха через соответствующий пробоотборник. Включение и выключение клапанов производить с помощью тумблеров
3 или
4 (см.
рисунок Е.1), расположенных на пульте управления.
6.17 По показаниям вольтметров необходимо следить за снижением разрежения в емкостях Е1 - Е4 до величины, обеспечивающей требуемый объем отобранной пробы воздуха (приблизительно показания вольтметров должны составлять 1,2 - 1,5 В). Записать конечные значения разрежения B
2 и температуры T
2. Измерения разрежения в вольтах (B
1 и B
2) следует производить по показаниям цифрового вольтметра.
6.18 Для проведения отбора проб на других режимах необходимо произвести аналогичные операции с другими группами клапанов, предварительно обеспечив вакуумирование емкостей Е1 - Е4 с соблюдением требований
6.15 -
6.17.
6.19 После остановки двигателя (примерно через 10 мин) произвести демонтаж пакетов с концентраторами из пробоотборников. Пакеты уложить в транспортировочную тару (см.
рисунок Л.1) с соблюдением требований
5.6. Установить гайки
6 (см.
рисунок Г.1) на место и при необходимости поставить заглушки на выходной штуцер диффузора и металлорукав, отсоединив его от стендового переходника
4 (см.
рисунок Б.1). Отсоединение металлорукава производится в случае окончательного прекращения отборов проб воздуха.
6.20 Анализ отобранных проб воздуха, в том числе проб фоновых загрязнений (проб воздуха на входе в двигатель), производится в газохроматографической лаборатории.
Хранение концентраторов с отобранными пробами следует производить в герметичных контейнерах (см.
рисунок Д.1) для предотвращения контакта пробы с атмосферным воздухом. Допускается хранение отобранных проб в герметичной таре в течение не более 72 ч до начала анализов.
6.21 Рекомендуемые формы протоколов отбора проб воздуха из компрессора ГТД приведены в
приложениях Р,
С и
Т.
6.22 В протокол отбора проб перед запуском двигателя следует записать дату отбора, номер двигателя, марку масла.
6.23 Примерный порядок отбора проб воздуха на режиме ЗМГ:
1) после работы на режиме отбора ЗМГ в течение установленного времени необходимо за 1 - 2 мин до начала отбора записать показания вольтметров B
1 (разрежение в емкостях Е1 - Е4) и температуру воздуха T
1 в емкостях;
2) включить одновременно ЭМК1, ЭМК4, ЭМК7, ЭМК10 нажатием на тумблер
4 группового включения ЭМК с индексами "1", "4", "7", "10" на пульте управления (см.
рисунок Е.1), при этом начнется прокачка воздуха через пробоотборники П1, П4, П7, П10.
Через 3 - 5 с после их включения тумблеры 3 с индексами "1", "4", "7", "10" следует поставить в положение "Вкл.", а тумблер 4 выключить;
3) выключение ЭМК1, ЭМК4, ЭМК7, ЭМК10 необходимо производить последовательно по мере достижения показаний вольтметров на пульте управления в диапазоне от 1,2 до 1,5 В. При этом в зависимости от плотности набивки сорбента в концентраторах последовательность раздельного выключения ЭМК будет различной;
4) после выключения очередного клапана следует записать в протокол отбора значения B
2 и T
2 в графе соответствующей емкости. На этом отбор проб воздуха на режиме ЗМГ закончен;
5) создать разрежение в емкостях Е1 - Е4 и провести отбор проб воздуха на последующих режимах, указанных в протоколе отбора проб (
приложения Р,
С или
Т) аналогичным образом.
Примечание - При отборе проб воздуха на изделиях Министерства обороны используется пульт управления СОП, на лицевой панели которого обозначения режимов будут другими.
6.24 При отборе проб воздуха на режимах МП и особенно ВЗЛ или М время прокачки воздуха через пробоотборники (время нарастания давления в емкостях) будет значительно интенсивнее, чем на ЗМГ (МГ). Поэтому рекомендуется на указанных режимах прокачку воздуха через пробоотборники прекращать выключением соответствующего ЭМК с упреждением при значении показаний вольтметров на пульте управления в диапазоне от 1,5 до 2,0 В.
6.25 Время прокачки воздуха через пробоотборники отбора пробы фоновых загрязнений практически не зависит от режима работы двигателя, но в зависимости от плотности набивки сорбента в концентраторах может составлять несколько минут. Поэтому рекомендуется прекращать прокачку воздуха через данные пробоотборники при достижении показаний вольтметров на пульте от 3 до 4 В в целях экономии времени работы ГТД (и расхода топлива) на режиме отбора проб.
6.26 Отбор проб воздуха на содержание кетонов, альдегидов и ароматических углеводородов на режимах ЗМГ, МП и ВЗЛ или МГ, КР, МГ-М следует производить не изменяя при этом частоту вращения роторов ГТД; после отбора пробы на режиме ЗМГ (МГ), как указано в
6.23, перечисления 1) -
4), создать разрежение в емкости Е4 и произвести отбор пробы включением ЭМК13 с последующим выключением при достижении разрежения от 1,2 до 1,5 В (по показанию цифрового вольтметра).
Произвести отбор проб воздуха на режимах МП и ВЗЛ (КР и МГ-М) аналогичным образом, с включением и выключением соответственно ЭМК14 и ЭМК15 и записью показаний разрежения и температур воздуха в емкостях в соответствующих графах протокола отбора проб.
6.27 Порядок действий при отборе проб воздуха на ВГТД аналогичен изложенному в
6.23, перечисления 1) -
4). В случае необходимости дополнительные отборы проб на ВГТД могут быть произведены через пробоотборники П2, П3, П5, П6, П8, П9, П11 - П15, которые в протоколе отбора (см.
приложение Т) не указаны.
6.28 Отбор проб воздуха в опытном производстве может производиться на самых различных режимах работы ГТД (запуск, останов, сброс оборотов или приемистость и т.д.) с дополнительными остановками двигателя для перезарядки пробоотборников.
6.29 При отборе проб воздуха на режиме "Запуск" включение ЭМК, например, для прокачки воздуха через пробоотборник П1, следует производить в момент достижения частоты вращения ротора компрессора приблизительно в диапазоне от 10 до 15% от максимальной частоты вращения.
Выключение ЭМК (прекращение отбора пробы) следует производить в момент выхода на режим ЗМГ. В протоколе отбора проб воздуха соответственно следует изменить наименования режимов отбора (см.
приложение Р), например:
6.30 При отборе проб воздуха на переменных режимах - изменение частоты вращения с минимальной до максимальной (ЗМГ-ВЗЛ) за малые промежутки времени (от 3 до 5 с), так называемая приемистость, или изменение частоты вращения с максимальной до минимальной (ВЗЛ-ЗМГ), включение ЭМК, например, для прокачки воздуха через пробоотборник П2, производить:
- при наборе оборотов с ЗМГ до ВЗЛ или МГ-М - с момента движения РУД до выхода на максимальную частоту вращения ротора, при этом выключение ЭМК (прекращение отбора пробы) произвести через (20 +/- 5) с после достижения установившейся максимальной частоты вращения;
- при сбросе оборотов с режима ВЗЛ (или другого режима) до ЗМГ (МГ) - с момента движения РУД до установившихся оборотов на режиме ЗМГ (МГ), при этом выключение ЭМК произвести через (20 +/- 5) с после достижения минимальной частоты вращения;
- при останове двигателя с режима ЗМГ или МГ до прекращения подачи топлива в камеру сгорания - с момента движения РУД до остановки ротора компрессора, при этом выключение ЭМК произвести через (25 +/- 5) с после остановки ротора компрессора.
В протоколе отбора проб воздуха соответственно изменить наименования режимов отбора, например:
Наименование режима отбора проб

означает набор частоты вращения ротора с минимальной до максимальной ее величины.
6.31 Отбор проб воздуха на двигателях для изделий Министерства обороны производить с помощью системы отбора проб, собранной по схеме, представленной на
рисунке Б.1, со следующими изменениями:
1) отсоединить трубопроводы 15, соединяющие пробоотборники П9 и П12 с воздушным фильтром, от воздушного фильтра 16 и подсоединить их или к головкам диффузора, или к гребенке отбора воздуха на входе в двигатель 33 в зависимости от задания по отбору проб.
Если необходимо произвести отбор проб на одинаковых режимах одновременно (например, на режиме МГ через пробоотборники П1 и П9 или на режиме МГ-М через пробоотборники П3 и П12), подсоединение пробоотборников П9 и П12 производят к головке диффузора.
Если необходимо получить фактические значения концентраций ароматических углеводородов с учетом влияния фона, подсоединение пробоотборников П9 и П12 производят к приемнику фонового воздуха;
2) в пробоотборники П1 - П6, П13 - П15 следует устанавливать пакеты с концентраторами, имеющими маркировку "M". В пробоотборники П7, П8, П10, П11 устанавливать пакеты с концентраторами, имеющими маркировку "CO".
В пробоотборники П9 и П12 устанавливаются пакеты с концентраторами, имеющие маркировку в зависимости от задания на отбор проб, или допускается вообще их не устанавливать.
Остальные требования, условия и порядок отбора проб воздуха на двигателях вышеуказанной категории изложены в
разделе 6.
6.32 При использовании автоматизированной управляющей информационной системы (АУИС-СОП98) обеспечиваются измерение, контроль и регистрация разрежений и температур воздуха в емкостях СОП, выдача управляющих сигналов для включения и выключения электромагнитных клапанов (выключение по изменению выходного сигнала от ИКД), а также математическая обработка результатов отбора проб по
формуле (1) с регистрацией приведенных параметров (в виде файла) на жесткий диск ПЭВМ типа IBM PC/AT. Управление АУИС-СОП98 в процессе подготовки к отбору проб (тарировка ИКД) и при отборе осуществляется с клавиатуры компьютера, установленного в кабине наблюдения испытательного стенда, и производится в режиме технологического процесса стендового испытания ГТД. При проведении всех видов работ с системой АУИС-СОП98 предусматривается выдача в поле экрана монитора дискретных сигналов, как сопровождающих штатную работу, так и формирующихся в отказных (аварийных) ситуациях. Полученный файл с данными (на дискете) передается в газохроматографическую лабораторию для установки в программы "Полихром" и "Авиахром", выполняющих расчет концентраций вредных примесей в отобранных пробах на ПЭВМ.
7 ОБРАБОТКА РЕЗУЛЬТАТОВ ОТБОРА ПРОБ ВОЗДУХА
7.1 Произвести расчет объема воздуха, приведенного к нормальным условиям, пропущенного через пробоотборники при отборе проб на каждом режиме.
Расчет производить по формуле

(1)
где V
акт.пр.i - приведенный к нормальным условиям объем проб воздуха, пропущенный через каждый пробоотборник при отборе проб на соответствующем режиме. (Нормальные атмосферные условия: атмосферное давление P
0 = 103,32 кПа (P
0 = 1,0332 кгс/см
2), температура воздуха T
0 = 20 °C согласно
ГОСТ 12.1.005), м
3;
Vакт.i - активный объем части системы, м3 (Vакт.Е1, Vакт.Е2, ..., Vакт.Е15);
P2 и P1 - конечное и начальное давление (разрежение) в емкостях Е1 - Е4, кПа (кгс/см2);
T2 и T1 - конечная и начальная температура воздуха в емкостях Е1 - Е4 при отборе проб, °C.
7.2 Перевести показания цифрового вольтметра V
x в вольтах (B
1 и B
2), записанные в протокол отбора проб воздуха (см.
приложения Р,
С или
Т) на каждом режиме для каждого пробоотборника, в значения абсолютного давления P
1 и P
2 в кПа (кгс/см
2).
Для перевода допускается использование тарировочных графиков или таблиц для каждого измерительного комплекса давления ИКД, а также формулы перевода вольт в разрежение

(2)
где Р - разрежение в емкостях при отборе проб, кПа (кгс/см2);
Vx - показания цифрового вольтметра при отборе проб, В;
V0 - показания цифрового вольтметра при тарировке ИКД [при создании разрежения в полости ИКД - 0 кПа (кгс/см2)];
V0,8 - показания цифрового вольтметра при тарировке ИКД [при создании разрежения в ИКД минус 80 кПа (минус 0,8 кгс/см2)].
7.3 Подставить значения разрежения P
1 и P
2, температур T
1 и T
2, активных объемов V
акт.Е1, V
акт.Е2, ..., V
акт.Е15 в
формулу (1) и определить значения приведенных объемов V
акт.пр.Е1, V
акт.пр.Е2, ..., V
акт.пр.Е15 для каждого режима и каждого пробоотборника (с П1 по П15).
7.4 Полученные в результате проведенных расчетов значения активных приведенных объемов V
акт.пр.i (см.
7.3) для всех пробоотборников вводятся в формулы для расчета концентраций вредных примесей в отобранных пробах воздуха на соответствующих режимах и заносятся в журнал обработки результатов отбора проб.
8 ГАЗОХРОМАТОГРАФИЧЕСКИЙ АНАЛИЗ ПРОБ ВОЗДУХА
НА СОДЕРЖАНИЕ ВРЕДНЫХ ПРИМЕСЕЙ
8.1 Для проведения анализов проб воздуха следует использовать газовые хроматографы, снабженные ДИП и ДТП:
- ЛХМ-8 МД;
- ЛХМ-80 1-й и 6-й модели (с доработкой);
- 3700 1-й модели (с доработкой);
- АГАТ 18-й и 19-й или 31-й и 32-й модели (с доработкой);
- ЦВЕТ модели 100, 500, 800, 1000 и 2000;
- ХРОМ-5";
- КРИСТАЛЛ-4000;
- "ХЬЮЛЕТТ-ПАККАРД", "ВАРИАН", "ПЕРКИН-ЭЛЬМЕР" (США) и др.
8.2 Блоки программирования температуры указанных хроматографов должны обеспечивать нагрев термостата с колоннами от 50 до 300 °C со скоростью от 4 до 25 °C/мин.
В хроматографах используются спиральные колонны из нержавеющей стали или никеля диаметром от 2 до 4 мм и длиной 2,0 м.
Инжектор испарителя должен иметь внутренний диаметр размером (4,0 + 0,1) мм.
8.3 Для анализа проб воздуха на содержание паров и аэрозолей масла, паров топлива, кетонов, альдегидов и ароматических углеводородов подготовить два хроматографа с ДИП, снабженных колоннами с условными номерами 1, 2, 3 (на
рисунке Н.1 не показаны).
Для анализа проб воздуха на содержание CO подготовить один хроматограф с ДТП, доработанный по схеме (см.
рисунок Н.1) и снабженный байпасной линией
11 и колоннами
12,
13 с условными номерами 4, 5, 6.
8.4 Для набивки хроматографических колонн используются следующие адсорбенты промышленного изготовления:
1) носители для газовой хроматографии:
- силохром СХ-2,5 (аналог С-80);
- хромосорб W-HP;
- хромосорб G-HP;
- хромосорб 750;
- цеолит 545;
- хроматон N-AW (зернение адсорбентов от 0,10 до 0,25 мм);
- молекулярные сита CaA и NaY (зернение адсорбента от 0,25 до 0,50 мм);
2) жидкие фазы для газовой хроматографии:
- метилсиликоновое масло OV-101 (аналог ПМС-100);
- меламин (2,4,6-триамино-1,3,5-триазинцианнурамид);
3) полимерные сорбенты:
- хромосорб-101 или хромосорб-102;
- поропак Q (QS);
- полисорб-1;
4) растворители и чистые химические вещества:
- хлороформ марки "Ч" или "ЧДА" (перегнанный).
8.5 Для газовой хроматографии используются наборы стандартных химических компонентов (альдегиды, спирты, предельные и ароматические углеводороды) с содержанием основного компонента не менее 95%, а также смазочные масла и топливо, применяемые для данного типа ГТД (см.
приложение А).
8.6 Колонна 1 (1 шт.) заполняется мелонированным силохромом и предназначена для разделения:
- предельных, непредельных и ароматических углеводородов (пики симметричные);
- альдегидов (задний фронт пиков слегка размыт);
- кетонов и их гомологов.
Карбоновые кислоты, фенолы, спирты адсорбируются практически необратимо (на хроматограмме не проявляются).
8.7 Колонна 2 (1 шт.) заполняется полимерным сорбентом типа хромосорб-101 или хромосорб-102 и предназначена для разделения:
- углеводородов;
- спиртов;
- фенолов;
- карбоновых кислот и карбонильных соединений с числом атомов углерода в молекулах до десяти.
8.8 Колонна 3 (1 шт. - основная) заполняется смесью 5% масла OV-101 или ПМС-100 на инертном диатомитовом носителе и предназначена для разделения:
- кетонов (ацетона);
- паров керосина;
- паров и аэрозолей масла (синтетических и минеральных);
- ТКФ.
8.9 Колонны 4, 5, 6 (3 шт. на каждый хроматограф) заполняются CaA и предназначены для определения CO.
8.10 Заполнение колонн адсорбентом
Заполнение колонн адсорбентом необходимо выполнять согласно руководству по эксплуатации хроматографов.
8.11 Подготовка колонн к анализу проб
8.11.1 Концы колонн 2 и 3, имеющих фаску (см.
рисунок Н.1), подсоединить к штуцеру испарителя хроматографов с ДИП (колонна 2 на одном хроматографе, колонна 3 - на другом). Другие концы колонн к ДИП не подключать (линия газа-носителя ко второму штуцеру испарителя перекрыта).
8.11.2 Колонны 4, 5, 6, соединенные между собой согласно схеме (см.
рисунок Н.1), установить в хроматограф с ДТП.
8.11.3 Глубину погружения колонн в штуцер испарителя отрегулировать, как указано в
5.9.4, примечание 2.
8.11.4 Провести регенерацию колонн 1, 2, 3 (поочередно или в разных хромотографах) и колонн 4, 5, 6 (в одном хроматографе с ДТП) при температурах и условиях, указанных в
таблице 2.
Тип детектора и номер колонны | Время регенерации, ч | Температура термостата (колонны), °C, не более | Температура испарителя и детектора, °C, не более | Расход газоносителя, см3/мин | Расход воздуха и водорода, см3/мин |
| 24 - 30 | 300 | - | 30 | - |
| 3 - 4 | 300 | 300 | 30 | 30/300 |
| 24 - 30 | 250 | - | 30 | - |
| 3 - 4 | 250 | 260 | 30 | 30/300 |
| 5 - 8 | 300 | 300 | 30 | - |
--------------------------------
8.11.5 Подключить свободные концы колонн 1, 2, 3 (поочередно) к ДИП и продолжить регенерацию-прогрев в течение 3 - 4 ч с поджигом водорода, включением усиления ДИП (по описанию хроматографа) и записью сигнала ДИП на ленте самописца или выводом сигнала на экран монитора до получения его стабильности и компенсируемости. Стабильность линии усиления сигнала ДИП определяется в зоне выхода паров масла, где не должны выходить пики, суммарная относительная площадь которых составляет более 10% ПДК.
Остальные параметры - согласно руководству по эксплуатации соответствующего типа хроматографа.
Расход газа-носителя (гелия) для колонн:
- с внутренним диаметром до 2 мм - 20 см3/мин;
- с внутренним диаметром, равным от 2 до 4 мм, - 30 см3/мин.
8.12 Провести продувку (анализ) каждого концентратора с маркировкой "M" на возможное загрязнение сорбента (выход ложных пиков). Для этого следует использовать колонну 3.
8.12.1 Извлечь концентратор из контейнера и ввести в инжектор испарителя конусной частью вниз до упора в колонну. Завернуть радиатор испарителя от руки.
8.12.2 Установить температуру испарителя и ДИП 300 °C в режиме программированного нагрева с интенсивностью 6 °C/мин (от 50 до 300 °C).
Включить отсчет времени (пуск интегратора или секундомера) и программированный нагрев колонны. При применении интегратора или компьютера выбор коэффициента усиления сигнала детектора существенного значения не имеет.
8.12.3 При появлении на хроматограмме "ложных" пиков, что показывает наличие примесей в зоне выхода анализируемого компонента в концентрациях более 10% ПДК, необходимо повторить регенерацию колонн и концентраторов при максимальной рабочей температуре. При повторном появлении "ложных" пиков следует установить дополнительные фильтры в линии водорода и газа-носителя.
Проверенные концентраторы поместить в контейнеры с маркировкой "M". В дальнейшем необходимо исключить источники постороннего загрязнения концентраторов.
9 ОПРЕДЕЛЕНИЕ ПОРЯДКА ВЫХОДА КОМПОНЕНТОВ ВРЕДНЫХ ПРИМЕСЕЙ
И ВРЕМЕНИ ИХ УДЕРЖИВАНИЯ НА УРОВНЕ ПДК ЧИСТЫХ ВЕЩЕСТВ
9.1 Определение порядка выхода и времени удерживания компонентов вредных примесей производится для составления банка хроматографических данных (времена удерживания компонентов вредных примесей могут меняться для различных типов хроматографов, а также видов, размеров и форм колонн).
Анализ проводится с применением колонн 2, 3 (последовательно), искусственно загрязненных парами различных веществ (масло и топливо, как малолетучие вещества, следует вводить в концентратор микрошприцем). Условия проведения анализа изложены в
11.1.
9.2 Полученные данные времен удерживания компонентов колоннами с адсорбентами необходимо свести в таблицы с указанием наименования вредного компонента и времени его удерживания.
9.3 В качестве примера в
таблицах 3,
4,
5 приведены данные, полученные после обработки результатов анализов на хроматографе фирмы "Хьюлетт-Паккард", модель 583OA, с колоннами из нержавеющей стали диаметром 2 мм.
Порядок выхода адсорбата | Время удерживания, мин |
Метанол | 6,9 |
Метаналь | 8,6 |
Этаналь | 11,2 |
Этанол | 12,6 |
Акролеин | 14,9 |
Ацетон | 16,2 |
Н-пропанол | 18,8 |
Уксусная кислота | 19,7 |
Изобутанол | 23,5 |
Н-бутанол | 25,2 |
Бензол | 26,5 |
Н-гептан | 28,0 |
Порядок выхода адсорбата | Время удерживания, мин |
Н-гексан | 5,9 |
Бензол | 9,0 |
Н-гептан | 9,1 |
Циклогексан | 11,0 |
Этаналь | 12,6 |
Н-октан | 12,8 |
Толуол | 13,3 |
Акролеин | 15,2 |
Н-нонан | 15,9 |
Этилбензол | 16,1 |
Метаналь | 16,9 |
Ксилолы | 17,2 |
Ацетон | 18,9 |
Н-додекан | 25,4 |
Эпихлоргидрин | 25,6 |
Порядок выхода адсорбата | Время удерживания, мин |
Ацетон, метанол | 1,0 |
Метаналь, этанол | 1,0 |
Изопропанол, н-гексан | 1,3 |
Этаналь, н-бутанон | 1,5 |
Бензол | 1,6 |
Н-гептан, циклогексан | 1,8 |
Н-пропанол | 1,9 |
Уксусная кислота | 2,0 |
Изобутанол | 2,1 |
Эпихлоргидрин | 2,6 |
Толуол | 3,6 |
Нормальный октан | 3,9 |
Этилбензол | 4,9 |
Орто-ксилол | 5,2 |
Н-нонан | 5,4 |
Мета- и пара-ксилолы | 5,6 |
Этиленгликоль | 7,0 |
Фенол | 7,4 |
Н-додекан | 12,0 |
Н-тетрадекан | 16,0 |
Н-гексадекан | 19,8 |
Н-октадекан | 27,0 |
Себациновая кислота | 28,7 |
Изомеры ТКФ | 29,0 - 32,0 |
Октилсебацинат | 38,6 |
Диоктилсебацинат | 41,0 |
9.4 На хроматограммах проб воздуха, полученных с использованием колонны 3, определить суммы площадей пиков в следующих диапазонах времен удерживания:
- до 1,5 мин - пики соответствуют ацетальдегиду, метанолу, этанолу и ацетону;
- от 1,5 до 5 мин - пики соответствуют ароматическим углеводородам типа C6 - C8, спиртам и кетонам;
- от 5 до 14 мин - пики соответствуют углеводородам (керосиновой фракции нефти - парам топлива);
- более 14 мин - пики соответствуют компонентам смазочных масел и тяжелых продуктов их деструкции [кроме широкого пика со временем удерживания (35 +/- 3) мин]. Пик со временем удерживания (35 +/- 3) мин соответствует фоновому уносу жидкой фазы и в дальнейших расчетах не учитывается.
9.5 На хроматограммах проб воздуха, полученных с использованием колонны 2, следует определить раздельно площади всех пиков со временами удерживания до 45 мин. При расшифровке хроматограмм два наиболее высоких пика с временами удерживания от 12 до 17 мин принадлежат этанолу и ацетону.
Определить смещение их времен удерживания, относительно данных, приведенных в
таблице 3 (являющихся наиболее достоверными), и на полученное значение исправить все времена на хроматограмме пробы воздуха, отобранной из компрессора ГТД (смещение обычно связано с несинхронностью включения нагрева колонн и началом отсчета времени на хроматограмме или некоторыми колебаниями давления в линии газа-носителя).
9.6 Порядок выхода и времена удерживания различных компонентов в колонне 2 (с хромосорбом-101) приведены в
таблице 3.
9.6.1 Исправленные времена удерживания необходимо сличить с временами удерживания, приведенными в
таблице 3, и подобрать для каждого пика компонент с близким временем удерживания.
9.7 Порядок выхода и времена удерживания вредных компонентов из колонны с мелонированным силохромом (колонна 1) приведены в
таблице 4.
9.7.1 На хроматограммах проб воздуха, полученных с использованием колонны 1, определить пик ацетона как наивысший в интервале времени выхода от 18,5 до 19,5 мин.
9.7.2 Определить его смещение относительно данных
таблицы 4, являющихся примером для колонны 1, и исправить на полученное значение времена удерживания всех пиков на хроматограмме пробы воздуха, отобранной из ГТД.
9.7.3 Умножить все значения площадей пиков на коэффициент, являющийся отношением площади пика ацетона на хроматограмме с колонны 2 к площади пика ацетона на хроматограмме с колонны 1.
Нормированные таким образом значения площадей пиков являются кодами соответствующих вредных компонентов в дальнейших расшифровках по
таблице 4.
9.8 С помощью полученного перечня вредных компонентов следует уточнить идентификацию компонентов расшифровки предыдущей хроматограммы пробы воздуха (по
9.6.1).
Примечание - Из колонны 1 не выходят соединения, содержащие "кислый" водород. Колонну 1 следует применять в случае расширения перечня компонентов.
9.9 Порядок выхода и времена удерживания вредных примесей из колонны 3, содержащей смесь 5% масла OV-101 на хромосорбе W-HP, приведены в
таблице 5.
9.10 Значения времен удерживания компонентов пробы, проанализированные на колонне 1, следует использовать в том случае, если требуется более точная дополнительная идентификация компонентов (если значения концентраций компонентов, идентифицированных недостаточно определенно, выше ПДК, при условии, что в пробе отсутствуют пары топлива или же их концентрация в анализируемом воздухе, определенная из результатов анализа на колонне 3, менее 10 мг/м3).
10 ПОДГОТОВКА ХРОМАТОГРАФОВ К РАБОТЕ И ОБЩИЕ УКАЗАНИЯ
ПО ПРОВЕДЕНИЮ АНАЛИЗОВ
10.1 Анализ проб воздуха на содержание паров топлива, паров и аэрозолей масла, ТКФ следует проводить на хроматографе 1 с ДИП и с колонной 3.
10.2 Анализ пробы воздуха на содержание кетонов, альдегидов и ароматических углеводородов необходимо проводить на хроматографе 2 с ДИП и с колонной 2.
10.3 Анализ проб воздуха на содержание CO проводить на хроматографе 3 с ДТП и с колоннами 4, 5, 6.
10.4 Включение хроматографов следует производить до начала анализа за 1,5 - 2,0 ч с выходом на режимы, указанные в
разделах 11,
12,
13.
Выход на режим определяется стабильной линией сигнала детектора. Включение и выключение хроматографов соответствующего типа необходимо выполнять согласно руководству по их эксплуатации.
10.5 Хроматографы рекомендуется комплектовать автоматизированной компьютерной системой сбора и обработки данных хроматографического анализа, идентификации количественной интерпретации хроматографической информации или автоматическими устройствами-интеграторами (расчет площадей только одиночных пиков с последующей ручной обработкой концентраций вредных примесей только после завершения всех анализов партии отобранных проб воздуха).
10.5.1 Автоматизированная компьютерная система позволяет производить:
- прием оцифрованной хроматографической информации (сигнала от детектора) одновременно от четырех или менее хроматографов (каналов);
- запись принятых сигналов в соответствующие архивы на диске или на дискете;
- отображение принятых сигналов на дисплее и принтере;
- независимую обработку сигналов по четырем измерительным каналам (расчет площади пика или суммы площадей пиков) и расчет концентраций вредных примесей при запуске программ "Полихром" и "Авиахром";
- градуировку каждого измерительного канала хроматографического комплекса.
10.5.2 Для установки автоматизированной системы требуется:
- персональный компьютер, совместимый с IBM PC с процессором INTEL80586 и выше и ОЗУ не менее 640 кбайт;
- дисплей с графическим адаптером EGA, VGA, SVGA;
- операционная система MS DOS версии 3.30 и выше;
- жесткий диск и не менее 10 Мбайт свободного места на жестком диске;
- дисковод 5.25" или 3.5" в зависимости от поставки;
- латинско-русская клавиатура;
- последовательный порт связи RS-232C;
- русифицированный принтер.
10.6 При отсутствии или отказе автоматических устройств обработки сигнала детектора (обсчет площади пика) движение диаграммной ленты и коэффициент усиления сигнала следует выбирать из расчета возможности обработки хроматограмм вручную, чтобы обеспечить при анализе пробы воздуха с содержанием примесей на уровне ПДК регистрацию пиков, площади которых легко определить по правилу треугольника для индивидуальных или огибающей для суммы пиков недостаточно четко разделяемых вредных компонентов.
10.7 После выхода хроматографа на режим следует извлечь концентратор с отобранной пробой (с соответствующей маркировкой) из контейнера и поместить его в испаритель хроматографа. Концентраторы с маркировкой "M" необходимо устанавливать в испаритель хроматографа с ДИП, с маркировкой "CO" - в испаритель с ДТП.
Ввести концентратор в нагретый испаритель конусной частью вниз до контакта с колонной (см.
рисунок Н.1). Завернуть от руки радиатор испарителя. Включить отсчет времени (пуск автоматизированного или автоматического устройства обработки сигнала детектора или секундомера) и программированный нагрев колонн (для хроматографов с ДИП). На лентах самописцев сделать отметку (черту) пуска секундомера, время выхода пиков паров топлива, паров масла, ТКФ, кетонов, альдегидов, ароматических углеводородов и CO.
11 АНАЛИЗ ПРОБ ВОЗДУХА НА СОДЕРЖАНИЕ ПАРОВ ТОПЛИВА,
ПАРОВ И АЭРОЗОЛЯ МАСЛА, ТКФ
11.1 Анализ отобранных проб воздуха на содержание паров и аэрозолей масла, ТКФ следует производить на колонне 3 хроматографа с ДИП при условиях, указанных в
таблице 6.
Условие проведения анализа | Параметр |
Длина колонн, м | 2 |
Адсорбент | Масло OV-101 или ПМС-100 на инертном диатомитовом носителе (в соотношении 5:100 по массе) |
Газ-носитель | Гелий (азот) |
Расход газа-носителя, мл/мин | 30 |
Расход воздуха, мл/мин | 300 |
Расход водорода, мл/мин | 30 |
Температура испарителя, °C | 300 |
Температура ДИП, °C | 300 |
Температура колонны (термостата), °C: | |
до введения концентратора в испаритель | 50 |
в режиме программированного нагрева колонны | От 50 до 300 с интенсивностью 6 °C/мин |
Скорость протяжки ленты самописца, мм/ч | 240 |
Чувствительность блока ИМТ-0,5 при ручной обработке площадей пик, А | 200·10-10 |
Чувствительность блока ИМТ-0,5 при обработке площадей пик на компьютере или интеграторе, А | 5·10-10 |
11.2 По окончании анализа извлечь концентратор из инжектора с помощью съемника и охладить на воздухе до температуры (20 +/- 5) °C.
11.3 Расчет концентраций вредных примесей в пробах воздуха следует производить по формуле

(3)
где Ci - концентрация вредных примесей в пробе воздуха, мг/м3;
0,3 - объем градуировочной пробы чистого вещества, мкл;

- плотность данного вещества (масло, керосин, этанол), мг/мкл, измеренная при градуировке при температуре (20 +/- 5) °C;
Si - площадь пика вредной примеси (или сумма площадей пиков) на хроматограмме пробы воздуха, условные ед.;
Kс - коэффициент загрубления сигнала детектора (при работе с интегратором или компьютером Kс = 1);
Sгр - среднее арифметическое значение сумм площадей пиков чистых веществ (масла или керосина), полученное при градуировке хроматографа, условные ед.
11.3.1 Расчет концентраций паров топлива следует производить по формуле

(4)
где Cт - измеренное значение концентраций паров топлива в пробе воздуха, отобранной из компрессора двигателя, мг/м3;

- плотность топлива, измеренная при градуировке хроматографа, мг/мкл;
Sт - сумма площадей пиков топлива на хроматограмме пробы воздуха, условные ед.;
Sгр.т - среднее арифметическое значение сумм площадей пиков топлива, полученное при градуировке хроматографа, условные ед.;
V
акт.пр.i - приведенный к нормальным условиям объем проб воздуха, пропущенный через соответствующие пробоотборники (рассчитывается раздельно для каждого из i-х пробоотборников П1 - П6 (
раздел 7 и протоколы отбора проб,
приложения Р,
С,
Т), м
3.
Фактическое значение концентраций паров топлива с учетом фоновых загрязнений следует определять по формуле

(5)
где

- концентрация паров топлива в пробе воздуха, отобранной на входе в двигатель (фоновые загрязнения), мг/м
3.
11.3.2 Расчет концентраций паров и аэрозоля масла Cм следует производить по формуле

(6)
где

- плотность масла, измеренная при градуировке хроматографа, мг/мкл;
Sм - сумма площадей пиков масла на хроматограмме пробы воздуха, условные ед.;
Sгр.м - среднее арифметическое значение сумм площадей пиков масла, полученное при градуировке хроматографа, условные ед.;
V
акт.пр.i - приведенный к нормальным условиям объем проб воздуха, пропущенный через соответствующие пробоотборники [рассчитывается раздельно для каждого из i-х пробоотборников П1 - П6 (
раздел 7 и протоколы отбора проб,
приложения Р,
С,
Т)], м
3.
Примечания:
1. При отборе проб воздуха из компрессора ГТД, работающего на маслах Б-3В, ЛЗ-240, ПТС-225, в
формулу (6) подставляются значения S
гр.м и

для масла Б-3В.
2. При использовании масла ИПМ-10, ВНИИНП-50-1-4ф или ВНИИНП-50-1-4у в
формулу (6) подставляются значения S
гр.т и

.
3. В случае использования при стендовых испытаниях двигателей марок масел, указанных в
примечании 2, расчет концентраций паров масла следует производить по формуле

(7)
11.3.2.1 Фактическая величина концентраций паров и аэрозоля масла

определяется как разность концентраций паров масла в пробе воздуха, отобранной от компрессора, и 50% концентраций паров масла в пробе фона и вычисляется по формуле

(8)
где

- концентрация паров и аэрозоля масла в пробе воздуха, отобранной на входе в двигатель (фоновые загрязнения), мг/м
3.
11.3.2.2 В случае обнаружения в пробах фона концентраций паров и аэрозоля масла более нормы ПДК для данной марки масла фактическое значение концентраций паров масла следует определять по формуле

(9)
где ПДК - предельно допустимая концентрация для данной марки масла, мг/м3.
Пример. Измеренная концентрация паров и аэрозоля масла Б-3В в пробе воздуха от компрессора равна 2,38 мг/м3 и концентрация паров масла в пробе фона 3,2 мг/м3. Значение ПДК для масла Б-3В составляет 2,0 мг/м3, следовательно, фактическая концентрация паров и аэрозоля масла будет составлять Cм = 2,38 - 0,5·2 = 1,38 мг/м3, что соответствует нормам ПДК.
11.3.3 Расчет концентраций ТКФ следует производить по формуле

(10)
где CТКФ - концентрация ТКФ в пробе воздуха, мг/м3;
SТКФ - сумма площадей пиков ТКФ на хроматограмме пробы воздуха, условные ед.;
V
акт.пр.i - приведенный к нормальным условиям объем воздуха, пропущенный через соответствующие пробоотборники [рассчитывается раздельно для каждого из i-х пробоотборников П1 - П6 (
раздел 7 и протоколы отбора проб,
приложения Р,
С,
Т)], м
3.
11.3.3.1 При необходимости определения в пробе воздуха ТКФ анализ пробы проводится на колонне 3 и наличие ТКФ идентифицируется группой из 5 - 9 пиков с временами выхода 33 - 35 мин (для каждого хроматографа определяется экспериментально путем ввода в концентратор чистого вещества - раствора ТКФ).
11.3.3.2 При анализе паров масла типа ИПМ или МС на углеводородной основе пики ТКФ могут маскироваться пиками тяжелых углеводородов, и вместо ДИП необходимо применять термоионный детектор (ТИД), обладающий селективностью к фосфорорганическим соединениям. Выбор режима работы ТИД и его монтаж вместо ДИП следует осуществлять согласно инструкции по эксплуатации хроматографа и детектора.
11.3.3.3 Градуировку хроматографа по ТКФ при анализе проб воздуха на ТИД необходимо производить раствором ТКФ в концентрации 2 мг/см
3 в этаноле. Линейный диапазон ТИД существенно меньше, чем ДИП. Расчет концентрации ТКФ при использовании ТИД

следует производить по формуле

(11)
где 0,6·10-3 - коэффициент, учитывающий объем дозы раствора ТКФ при градуировке хроматографа, мг;
SТКФ.гр - среднее арифметическое значение сумм площадей пиков раствора ТКФ, полученное при градуировке хроматографа.
11.4 Концентрации паров топлива, паров масла и ТКФ в пробах воздуха, отбираемых на входе в двигатель (фон), рассчитываются по аналогичным формулам (
10,
11).
Фактические значения концентраций ТКФ

определяются как разность концентраций указанного компонента в пробах воздуха, отобранных от компрессора, и пробах воздуха, отобранных на входе в двигатель (фоновые загрязнения), и вычисляются по формулам:

(12)

(13)
где

- концентрация ТКФ в пробе воздуха, отобранной на входе в двигатель (фоновые загрязнения), мг/м
3.
11.4.1 В случае обнаружения в пробах фона концентраций ТКФ более норм ПДК фактическое значение концентрации ТКФ следует определять по формуле

(14)
где ПДК - предельная допустимая концентрация ТКФ, мг/м3.
12 АНАЛИЗ ПРОБ ВОЗДУХА НА СОДЕРЖАНИЕ АЛЬДЕГИДОВ, КЕТОНОВ
И АРОМАТИЧЕСКИХ УГЛЕВОДОРОДОВ
12.1 Анализ отобранных проб воздуха на содержание альдегидов, кетонов и ароматических углеводородов следует проводить на хроматографе с колонной 2 и ДИП при условиях, указанных в
таблице 7.
Условия проведения анализа | Параметр |
Длина колонн, м | 2 |
Адсорбент | Хромосорб-101 |
Газ-носитель | Гелий (азот) |
Расход газа-носителя, мл/мин | 30 |
Расход воздуха, мл/мин | 300 |
Расход водорода, мл/мин | 30 |
Температура испарителя, °C | 300 |
Температура ДИП, °C | 300 |
Температура колонны (термостата), °C: | |
до введения концентратора в испаритель | 50 |
в режиме программированного нагрева колонны | От 50 до 250 с интенсивностью 6 °C/мин |
Скорость протяжки ленты самописца, мм/ч | 240 |
Чувствительность блока ИМТ-0,5 при ручной обработке площадей пика, А | 200·10-10 |
Чувствительность блока ИМТ-0,5 при обработке площадей пика на компьютере или интеграторе, А | 5·10-10 |
12.2 Порядок проведения анализа изложен в
разделе 10.
12.3 По окончании анализа извлечь концентратор из инжектора с помощью съемника и охладить на воздухе до температуры (20 +/- 5) °C.
12.4 Расчет концентраций вредных примесей C в пробах воздуха, анализируемых на колонне 2, следует производить по формуле

(15)
где C - концентрация вредных примесей в пробах воздуха, мг/м3;

- плотность этанола, измеренная при градуировке хроматографа при температуре (20 +/- 5) °C, мг/мкл;
KДИП - поправочный коэффициент данного компонента для ДИП по отношению к этанолу;
S - площадь пика вредной примеси (формальдегида, акролеина, бензола, толуола, ацетона) на хроматограмме пробы воздуха, условные ед.;
Sэт - среднее арифметическое значение площадей пиков этанола, полученное при градуировке хроматографа, условные ед.
12.5 Коэффициент KДИП определяется экспериментально путем ввода в хроматограф точного количества чистого вещества и последующего сравнения площади пика этого вещества с площадью пика бензола. Отношение указанных площадей пиков соответствует значению KДИП.
12.6 Рекомендуемые значения коэффициента K
ДИП для расчетов при использовании бензола в качестве определяющего компонента для градуировки хроматографа приведены в
таблице 8.
Наименование компонента | Значение KДИП |
Бензол | 1,00 |
Толуол | 1,01 |
Ацетон | 1,48 |
Этанол | 1,76 |
Акролеин | 2,00 |
Формальдегид (метаналь) | 2,40 |
Примечание - В качестве определяющего компонента для градуировки хроматографа на практике обычно используется этанол, ввиду токсичности бензола, а расчет концентраций вредных примесей производится по отношению к KДИП этанола.
12.7 Расчет концентраций бензола Cбен в пробах воздуха следует производить по формуле

(16)
где Cбен - концентрация бензола в пробе воздуха, мг/м3;

,

- поправочный коэффициент для бензола и этанола (см.
таблицу 8);
Sбен - площадь пика бензола на хроматограмме пробы воздуха, условные ед.;
V
акт.пр.i - приведенный к нормальным условиям объем проб воздуха, пропущенный через соответствующие пробоотборники [рассчитывается раздельно для каждого из i-х пробоотборников П13 - П15 (
раздел 7 и протоколы отбора проб,
приложения Р,
С,
Т)], м
3.
12.7.1 Расчет концентраций толуола Cтол в пробах воздуха следует производить по формуле

(17)
где

- поправочный коэффициент для толуола (см.
таблицу 8);
Sтол - площадь пика толуола на хроматограмме пробы воздуха, отобранной на соответствующем режиме, условные ед.
12.7.2 Расчет концентраций кетонов (по ацетону) Cкет в пробах воздуха следует производить по формуле

(18)
где

- поправочный коэффициент для ацетона (см.
таблицу 8);
Sацетон - площадь пика ацетона на хроматограмме пробы воздуха, отобранной на соответствующих режимах, условные ед.
12.7.3 Расчет концентраций акролеина Cакр в пробах воздуха следует производить по формуле

(19)
где Sакр - площадь пика акролеина на хроматограмме пробы воздуха, отобранной на соответствующих режимах, условные ед.;

- поправочный коэффициент для акролеина (см.
таблицу 8).
12.7.4 Расчет концентраций метаналя Cмет в пробах воздуха следует производить по формуле

(20)
где

- поправочный коэффициент для метаналя (см.
таблицу 8);
Sмет - площадь пика формальдегида (метаналя) на хроматограммах пробы воздуха, отобранной на соответствующих режимах, условные ед.
Примечания:
1. Площади пиков бензола, толуола, метаналя, акролеина, ацетона фиксируются (при их наличии) на каждой из трех хроматограмм при анализе проб воздуха, отобранных через пробоотборники П13 - П15.
12.8 Фактическое значение концентраций бензола

, толуола

, ацетона

определяется как разность концентраций в отобранных пробах из компрессора ГТД и в пробах, отобранных на входе в двигатель (фоновые загрязнения), и вычисляется по формулам:

(21)

(22)

(23)
12.8.1 Фактическое значение концентраций альдегидов (метаналя и акролеина) принимается без учета фоновых загрязнений.
12.9 Рекомендуется проводить анализ проб воздуха, отобранных через пробоотборники П1 - П6, П13 - П15, начиная с концентраторов из пробоотборников П1 - П3, на содержание паров топлива, паров масла, ТКФ и на содержание кетонов, альдегидов и ароматических углеводородов в концентраторах из пробоотборников П13 - П15. В зависимости от значений полученных концентраций указанных компонентов (одновременное проведение анализа и расчет концентраций обеспечивается только применением компьютера) принимается решение о порядке проведения анализа проб фонового воздуха.
12.10 Анализируются пробы фона на содержание паров топлива, паров масла, ТКФ либо на содержание кетонов, альдегидов или ароматических углеводородов для расчета их фактических концентраций. Используемые колонны для анализа проб фонового воздуха см. в
11.1 и
12.1.
В случае "использования" результатов анализа проб фона для расчета фактических концентраций паров топлива, паров масла или ТКФ и обнаружения в пробах воздуха из компрессора содержания кетонов и ароматических углеводородов выше норм ПДК повторить, при необходимости, отбор проб воздуха через пробоотборники П1 - П6 (установить концентраторы с маркировкой "M") с анализом этих проб на содержание кетонов или ароматических углеводородов и расчетом фактических концентраций указанных компонентов с учетом фоновых загрязнений.
13 АНАЛИЗ ПРОБ ВОЗДУХА НА СОДЕРЖАНИЕ CO
13.1 Анализ проб воздуха на содержание CO следует проводить с использованием байпасной линии
4 и колонн
5,
6 при условиях, указанных в
таблице 9.
Условия проведения анализа | Параметр |
Адсорбент | Молекулярные сита CaA |
Газ-носитель | Гелий |
Расход газа-носителя, см3/мин | 30 |
Температура испарителя, °C | 300 |
Температура ДТП, °C | 115 |
Температура колонн термостата, °C | 70 |
Скорость протяжки ленты самописца, мм/ч | 600 |
Сила тока детектора, мА: | |
для хроматографа ЛХМ-80 | 150 |
для хроматографа ЛХМ-8МД | 185 |
13.2 Включить хроматограф, выйти на режим анализа. Выход на режим определяется стабильной линией сигнала детектора.
13.3 Выполнить следующие работы:
- переключить кран-дозатор в положение 1 (см.
рисунок Н.1) и отвернуть радиатор испарителя;
- извлечь концентратор с маркировкой "CO" из контейнера и поместить в инжектор испарителя конусной частью вниз до упора в колонну;
- завернуть от руки радиатор;
- переключить кран-дозатор в положение II;
- включить секундомер или автоматизированную систему регистрации сигнала детектора.
Последовательность операций снятия хроматограмм изложена в
разделе 10.
13.4 На хроматографах типа ЛХМ-80 выход пика CO фиксируется через 6 - 8 мин.
13.5 После выполнения анализов проб воздуха, отобранных через пробоотборники П7 - П12 (протокол отбора проб,
приложения Р,
С,
Т), произвести градуировку хроматографа поверочной газовой смесью (ПГС), поставляемой в баллонах емкостью от 4 до 40 л при давлении от 9000 до 10000 кПа (от 90 до 100 кгс/см
2) с известной концентрацией CO в воздухе или азоте в пределах от 10 до 80 мг/м
3 (конкретно указывается в паспорте на ПГС).
13.5.1 Градуировку хроматографа следует производить после каждой серии анализов отобранных проб воздуха (в данном случае после шести анализов) с прокачкой примерно 1000 см3 ПГС через каждый концентратор, применявшийся для отбора проб CO на данном двигателе.
13.5.2 Заполнение концентраторов с маркировкой "CO" ПГС следует производить на установке для прокачки ПГС (приложение У,
рисунок У.1).
13.6 При полном отсутствии пика CO на хроматограмме пробы воздуха, отобранной из компрессора ГТД любым концентратором с маркировкой "CO", необходимо проверить кондиционность данного концентратора путем прокачки через него ПГС с последующим анализом.
При отсутствии пика CO на градуировочной хроматограмме данный концентратор следует заполнить свежей порцией сорбента NaY.
13.7 Полная дезактивация сорбента происходит после 500 циклов отбора-анализа (в процессе анализа сорбент активируется). При потере активности сорбент меняет цвет с серого на черный (восстанавливается металлическое серебро).
13.8 Расчет концентраций CO в пробах воздуха следует производить по формуле

(24)
где CCO - концентрация CO в пробе воздуха, отобранной из компрессора ГТД, мг/м3;
CПГС - концентрация CO в ПГС (по паспорту ПГС), мг/м3;
SCO - площадь пика CO на хроматограмме пробы воздуха, условные ед.;
VПГС.пр - приведенный к нормальным условиям объем ПГС, пропущенный после анализа проб воздуха через каждый концентратор, применявшийся для отбора проб на данном двигателе, м3;
SПГС - среднее арифметическое значение площадей пиков CO, полученное при градуировке хроматографа, условные ед.;
V
акт.пр.i - приведенный к нормальным условиям объем воздуха, пропущенный через соответствующие пробоотборники (рассчитывается раздельно для каждого из пробоотборников П7 - П12 (или П7 - П11) [см.
раздел 7 и протоколы отбора проб,
приложения Р,
С,
Т], м
3.
13.9 Определение фактической величины концентрации CO в пробах воздуха, отобранных из ГТД, с учетом концентраций в пробах на входе в двигатель (фоновые загрязнения) производится по формуле

(25)
где

- фактическая концентрация CO в пробе, отобранной из компрессора ГТД, мг/м
3;

- концентрация CO в пробе, отобранной на входе в ГТД, мг/м
3.
Примечание - Расчет концентраций CO в пробах воздуха из компрессора ГТД и на входе в ГТД проводится по одним и тем же формулам.
13.10 Изложенные в
разделах 11,
12,
13 условия проведения анализов указаны применительно к хроматографу ЛХМ-80 первой и шестой моделей. Для других типов хроматографов эти условия могут быть уточнены в соответствии с инструкциями по эксплуатации этих хроматографов.
14 ГРАДУИРОВКА ХРОМАТОГРАФОВ
14.1 Градуировка хроматографов проводится с целью определения среднего арифметического значения выходного сигнала детектора (площади пика или сумма площадей пиков Si на хроматограмме), пропорционального концентрации соответствующего вредного компонента.
Полученные средние значения выходного сигнала детектора используются для расчета концентраций в пробах воздуха, отобранных из компрессора ГТД.
14.2 Хроматографы градуируют с помощью ПГС и чистых веществ. На вход хроматографа (в инжектор испарителя) устанавливают не менее 10 раз концентратор, через который пропущена ПГС объемом до 1000 см3, или введено с помощью микрошприца типа Газохром-101 по 0,3 мкл топлива, масла Б-3В (или ЛЗ-240), этанола.
14.3 Продувку ПГС через концентратор с маркировкой "CO", заполненный молекулярными ситами NaY, активированными серебром, производят с использованием системы прокачки ПГС, схема которой приведена на
рисунке У.1.
14.4 Введение чистых веществ производят в концентраторы с маркировкой "M", заполненные мелонированным силохромом. В один концентратор вводят микрошприцем 0,3 мкл топлива, в другой - 0,3 мкл масла Б-3В; в третий - 0,3 мкл этанола.
При выполнении градуировок используют те же концентраторы, которые применялись для отбора соответствующих проб воздуха после проведения их анализа согласно условиям, указанным в
разделах 11,
12,
13.
14.5 Градуировку хроматографа следует производить один раз в год, а также в случаях замены детектора, колонны и замены масла на другой сорт или марку.
14.6 Введение чистых веществ производится прокалыванием микрошприцем заглушки
2 (см.
рисунок Г.3) в концентраторе с маркировкой "M" со стороны его конусной части.
14.6.1 Перед градуировкой необходимо измерить плотность топлива, масла и этанола.
14.6.2 Провести анализ введенных в концентраторы веществ, как указано в
разделе 10, и при условиях, указанных в
таблицах 6,
7.
14.6.3 При расчете площадей пиков вручную коэффициент усиления сигнала ДИП при анализе чистых веществ уменьшить ("загрубить") примерно в двадцать раз (во избежание появления на хроматограммах "зашкаленных" пиков). Число, указывающее, во сколько раз усилитель сигналов загрублен при градуировке, является коэффициентом загрубления Kс и используется при количественных расчетах.
14.6.4 Рассчитать среднее арифметическое значение площадей пиков (или сумму площадей пиков) чистых веществ (топлива, масла, этанола, CO) и записать в журнал градуировок хроматографов.
В случае применения при градуировке хроматографа ацетона в качестве его пика на хроматограмме идентифицировать наивысший пик в интервале времени от 0,5 до 1,5 мин.
14.6.5 Расчет концентраций вредных примесей в пробах воздуха необходимо производить с учетом среднего арифметического значения площадей пиков (или суммы площадей пиков) чистых веществ, полученных на градуировочных хроматограммах.
14.7 Градуировка хроматографа с ДТП (с колоннами 11, 12, 13) производится один раз в год для расчета погрешности измерения концентраций и каждый раз после отбора проб воздуха на каждом двигателе с использованием концентраторов, через которые пропущена ПГС на установке для прокачки ПГС.
14.7.1 Система прокачки ПГС, собранная по схеме (см.
рисунок У.1), должна быть проверена на герметичность под давлением воздуха или азота в течение 5 мин. Допустимое падение давления - не более 20 кПа (0,2 кгс/см
2) в минуту.
Проверить функционирование ЭМК1, ЭМК2 и ЭМК3, создать разрежение в емкости 13 от минус 80 до минус 90 кПа (от минус 0,8 до минус 0,9 кгс/см2) и выдержать 5 мин. Падение разрежения не допускается.
14.7.2 Произвести измерение объема вакуумируемой части установки для прокачки ПГС (см. приложение У,
рисунок У.1) в соответствии с
приложением И.
14.7.3 Прокачку ПГС производить в следующем порядке:
- подсоединить к установке баллон с ПГС 1, закрыть кран 6, открыть вентиль 2, отрегулировать редуктором 4 давление ПГС от 350 до 450 кПа (от 3,5 до 4,5 кгс/см2) по манометру 5;
- установить в пробоотборник 11 концентратор, используемый для отбора проб воздуха (если проводится годовая градуировка) или использовавшийся на данном двигателе (если проводится серия очередных анализов отобранных проб воздуха);
- открыть кран 6 и создать давление ПГС в емкости 8 от 200 до 250 кПа (от 2,0 до 2,5 кгс/см2) по манометру 7, кран 6 закрыть;
- включить ЭМК17 и вакуум-насос 16, создать разрежение в емкости 13 от минус 80 до минус 90 кПа (от минус 0,8 до 0,9 кгс/см2) по мановакуумметру 14, зафиксировать температуру T1 ПГС в емкости 13;
- выключить ЭМК17 и вакуум-насос 16;
- включить одновременно ЭМК1 и ЭМК2, и при достижении разрежения по мановакуумметру 14 от минус 20 до минус 30 кПа (от минус 0,2 до 0,3 кгс/см2) выключить ЭМК1 и ЭМК2, зафиксировать температуру T2 ПГС в емкости 13;
- повторить прокачку ПГС с другими концентраторами в указанном порядке.
Произвести градуировку хроматографа при условиях, указанных в
таблице 9.
14.7.4 Определить приведенный к нормальным условиям объем V
ПГС.пр, пропущенный через каждый концентратор, по формуле

(26)
где Vакт.вак - активный объем вакуумируемой части установки для прокачки ПГС, м3;
P1 и P2 - соответственно начальное и конечное разрежение ПГС в емкости 13 по мановакуумметру 14, кПа (кгс/см2);
T1 и T2 - соответственно начальная и конечная температура ПГС в емкости 13 по указателю температуры, °C.
Полученные значения V
ПГС.пр следует подставить в
формулу (23) для расчета концентраций CO в пробах воздуха, отобранных из компрессора ГТД и на входе в двигатель.
14.8 Рекомендуемый порядок проведения градуировок одновременно на трех хроматографах представлен в
таблице 10.
Номер операции | Проводимая операция | Тип детектора | Условия проведения |
1 | Включить хроматографы за 1,5 - 2,0 ч до начала градуировки и вывести на режим | - | - |
2 | Ввести в концентратор с маркировкой "M" по 0,3 мкл топлива и масла | - | - |
3 | Отвернуть радиатор испарителя и поместить концентратор в инжектор испарителя | - | - |
4 | Завернуть радиатор испарителя | - | - |
5 | Включить программированный нагрев колонны 3 | ДИП | |
6 | Ввести в другой концентратор с маркировкой "M" 0,3 мкл этанола | - | - |
7 | Отвернуть радиатор испарителя и поместить концентратор в инжектор испарителя | - | - |
8 | Завернуть радиатор испарителя. Включить программированный нагрев колонны 2 | ДИП | |
9 | После выхода пиков контролируемых компонентов извлечь концентраторы из испарителя и поместить в контейнер | - | - |
10 | Повторить работы по операциям 2 - 9 девять раз с этими концентраторами (после их охлаждения) или с другими концентраторами | - | - |
| Прокачать через концентратор с маркировкой "CO" 1000 см 3 ПГС в соответствии с 14.7.4 | - | - |
12 | Установить концентратор в инжектор испарителя. Кран-дозатор в положении I (см. рисунок Н.1) | - | - |
13 | Завернуть радиатор испарителя. Кран-дозатор в положении II | ДТП | |
| После выхода пика CO извлечь концентратор из испарителя при установке крана-дозатора в положение I | - | - |
15 | Повторить девять раз работы по операциям 11 - 14 с другими концентраторами | - | - |
14.9 На полученных градуировочных хроматограммах измеряют 10 значений выходного сигнала (площади пиков или суммы площадей пиков) для каждого из указанных компонентов вредных примесей. Значения площадей пиков заносят в
таблицу 11.
Номер наблюдения | Значение площади пика |
Масло Б-3В | Этанол | CO | Пары топлива |
1 | | | | |
2 | | | | |
3 | | | | |
4 | | | | |
5 | | | | |
6 | | | | |
7 | | | | |
8 | | | | |
9 | | | | |
10 | | | | |
Среднее арифметическое значение Sср | | | | |
14.9.1 Среднее арифметическое значение Sср по результатам 10 наблюдений (измерений) определяется по формуле

(27)
где n - количество наблюдений; n = 10.
15 ОФОРМЛЕНИЕ РЕЗУЛЬТАТОВ АНАЛИЗА ПРОБ ВОЗДУХА
15.1 Полученные значения концентраций вредных примесей в отобранных пробах воздуха сравнить с ПДК вредных примесей двигательного происхождения, указанных в перечне
(таблица 12), и занести в протокол результатов анализа проб воздуха из компрессора ГТД, представленных в
приложении Ф (или распечатать на принтере при применении программы "Авиахром").
Контролируемый компонент | ПДК, мг/м3 |
Пары топлива | 300,0 |
Пары и аэрозоль масла: | |
синтетические масла | 2,0 |
минеральные масла | 5,0 |
ТКФ | 0,5 |
Окись углерода | 20,0 |
Альдегиды: | |
формальдегид (метаналь) | 0,4 |
акролеин | 0,2 |
Ароматические углеводороды: | |
бензол | 5,0 |
толуол | 50,0 |
ацетон | 200,0 |
Примечания:
1. Содержание ТКФ в анализах проб воздуха определяется при наличии его в рецептурах следующих масел: ВНИИНП-50-1-4ф, ВНИИНП-50-1-4у, ЛЗ-240, ПТС-225, ИПМ-10 и др.
2. Рекомендуемый перечень вредных веществ и норм ПДК может быть дополнен или изменен в зависимости от типа и назначения ГТД, а также от марки применяемого масла. Подробные сведения по указанным факторам представлены в
АП 23,
АП 25,
АП 29,
ГОСТ 12.1.005,
СанПиН 2.5.1.051, ОСТ 1-00148, а также в документации Заказчика, регламентирующей нормы ПДК для кабин изделий Министерства обороны.
3. Обоснование перечня (см.
таблицу 12) нормируемых вредных примесей в воздухе, отбираемом из компрессора ГТД в СКВ, приведено в
приложении Х.
15.2 Оформленные протоколы анализа проб воздуха, подписанные руководителем соответствующего подразделения, прилагаются к протоколу испытания двигателя.
15.3 Методика определения суммарной предельной относительной погрешности измерения концентраций вредных примесей в отбираемых из компрессора ГТД пробах воздуха приведена в
приложении Ц.
15.4 Методика контроля точности измерений концентраций вредных примесей приведена в
приложении Ш.
15.5 Образцы типовых хроматограмм, полученных в результате анализов проб воздуха в соответствии с требованиями
разделов 11,
12,
13,
14, приведены в
приложении Щ.
15.6 Свидетельство об аттестации МВИ N 62-99 приведено в
приложении Э.
15.7 Методика определения концентраций окиси углерода на хроматографе с ДИП приведена в
приложении Ю.
16 ОБЕСПЕЧЕНИЕ БЕЗОПАСНОСТИ РАБОТ
16.1 В работах по отбору и анализу проб воздуха следует применять исправное, соответствующее требованиям настоящего МУ оборудование, имеющее надлежащим образом оформленные паспорта и эксплуатационную документацию.
16.2 Включение оборудования в работу следует производить в строгом соответствии с указаниями и рекомендациями инструкций по эксплуатации.
16.3 При выполнении монтажных и демонтажных работ необходимо соблюдать последовательность производимых работ и операций. Перед началом отбора проб и проведением их анализа следует убедиться в готовности оборудования к применению.
16.4 Хроматографы должны устанавливаться в закрытых взрывобезопасных и пожаробезопасных лабораторных помещениях, отвечающих требованиям
ГОСТ 12.1.004, удовлетворяющих требованиям санитарных норм и оборудованных вытяжной вентиляцией.
16.5 Все составные части хроматографов должны быть заземлены. Защитное заземление должно соответствовать
ГОСТ 12.2.007.0.
В помещении лаборатории должны быть установлены сигнализаторы наличия водорода в воздухе рабочей зоны.
Потребная площадь для установки одного хроматографа типа ЛХМ-80 или "3700" - не менее 4,65 м2.
16.6 Перед установкой адсорбционных пакетов в пробоотборники следует проверить:
- надежность крепления установки СОП к площадке обслуживания стенда, затяжку гаек и болтов;
- целостность изоляции электропроводки питания ЭМК (визуально) и затяжку гаек ШР (от руки);
- наличие контровочных элементов на накидных гайках трубопроводов и узлах системы отбора (визуально);
- состояние наружной резьбы на корпусах пробоотборников (визуально). Не допускается установка адсорбционных пакетов в пробоотборники при обнаружении вмятин, забоин и нарушениях резьбы;
- чистоту пола площадки обслуживания, отсутствие на нем следов разлитого масла или топлива.
16.7 Перед проведением анализов проб воздуха в лаборатории следует проверить:
- герметичность линий трубопроводов подвода газа-носителя, воздуха и водорода к хроматографам;
- наличие и надежность заземления составных частей хроматографов;
- работу вытяжной вентиляции;
- работоспособность сигнализации наличия водорода в помещении (согласно требованиям эксплуатационной документации на устройство сигнализации);
- целостность изоляции электропроводки, исправность вилок и розеток системы электропитания хроматографов (визуально);
- наличие средств пожаротушения.
16.8 Обслуживание системы отбора и газовых хроматографов следует проводить в соответствии с требованиями инструкций по эксплуатации и технике безопасности, действующих на предприятии.
16.9 Применение химических реактивов и материалов следует производить с соблюдением рекомендаций и мер безопасности, оговоренных в инструкциях по применению этих материалов.
16.10 Хранение предусмотренных к применению химических реактивов и материалов необходимо осуществлять в закрываемых металлических шкафах в герметичной и исправной таре.
16.11 В газохроматографической лаборатории запрещается применять приборы открытого пламени, нештатные электронагревательные приборы, а также курить и пользоваться открытым огнем.
16.12 Работы на испытательном стенде по эксплуатации СОП при отборах проб воздуха и техническом обслуживании следует проводить с разрешения ответственного лица, проводящего испытания двигателя на стенде, и при соблюдении предусмотренных на стенде мер безопасности.
17 ТРЕБОВАНИЯ К ОБСЛУЖИВАЮЩЕМУ ПЕРСОНАЛУ
17.1 К работам по отбору и газохроматографическому анализу проб воздуха допускаются лица, прошедшие специальное обучение и знающие конструкцию и правила эксплуатации всего комплекса оборудования, порядок проведения работ и меры безопасности по их выполнению, а также прошедшие инструктаж по технике безопасности проводимых работ на испытательном стенде.
17.2 Допуск лиц производственного состава к выполнению работ по отбору и анализу проб воздуха оформляется приказом (распоряжением) по предприятию на основании проверки знания ими конструкции, правил эксплуатации применяемого при отборах и анализах оборудования, технологии проведения работ (в объеме функциональных обязанностей) и правил техники безопасности.
17.3 Основанием для допуска к выполнению работ по отбору и анализу проб воздуха, отбираемых из компрессора ГТД, являются также справки (свидетельства) о прохождении специальных курсов на ведущем предприятии по обучению специалистов для работы в газохроматографических лабораториях по соответствующим специальностям.
(обязательное)
МАТЕРИАЛОВ, ПРИМЕНЯЕМЫХ ПРИ ГАЗОХРОМАТОГРАФИЧЕСКОМ
АНАЛИЗЕ ПРОБ ВОЗДУХА, ОТБИРАЕМЫХ ИЗ КОМПРЕССОРА ГТД
1. Гелий марки В (технический), ТУ 51-940.
2. Азот газообразный (модели 2, 4, 5, 7, 8) особой чистоты,
ГОСТ 9293.
5. Поверочная газовая смесь, ТУ 6-16-2956 (концентрация CO в воздухе или азоте 10 - 80 мг/м3, конкретно указывается в паспорте).
9. Спирт этиловый ректификованный технический (этанол),
ГОСТ 18300.
10. Топлива для реактивных двигателей Т-1, ТС-1, Т-1С, Т-2, РТ,
ГОСТ 10227.
11. Топлива для реактивных двигателей термостабильные Т-6, Т-8В, ГОСТ 12308.
12. Масла для авиационных двигателей ИПМ-10, Б-3В, ЛЗ-240, ПТС-225, ОСТ 1 00148.
13. Масло авиационное синтетическое ВНИИНП-50-1-4у, ТУ 38.401-58-12.
14. Масло авиационное синтетическое ВНИИНП-50-1-4ф,
ГОСТ 13076.
15. Стекловата (любой марки из перечисленных ниже):
- АТМ-3, ТУ 205 РСФСР 16.751;
- супертонкая кварцевая, ТУ 17-РСФСР-4218;
- тонковолокнистая, ТУ 6-11-15-191.
16. Уголь активный АГ-2, ГОСТ 23998.
18. Силохром СХ-2,5, ТУ 38.102185 (аналог С-80).
19. Молекулярные сита:
- CaA (шариковые цеолиты), ТУ 38.102169;
- NaY (цеолит), ТУ 38.102168.
20. Тепасорб (полимерный сорбент), ТУ 6-09-3602 (аналоги: хромосорб-101, полисорб-1, поропак-Q или поропак-QS).
21. Меламин (цианурамид), ГОСТ 7579.
(обязательное)
ПРИНЦИПИАЛЬНАЯ СХЕМА
И СОЕДИНЕНИЕ ФУНКЦИОНАЛЬНЫХ ЧАСТЕЙ СОП
1 - двигатель; 2 - патрубок отбора воздуха в СКВ;
3 - шайба-имитатор; 4 - переходник стендовый;
5, 28 - приемник температуры воздуха; 6 - манометр;
7 - кран-заслонка стендовой системы отбора воздуха в СКВ;
8 - электродвигатель привода заслонки; 9 - металлорукав;
10 - диффузор СОП; 11 - воздухозаборник; 12 - головка
со штуцером; 13 - жиклер продувки; 14 - жиклер диффузора;
15, 18, 27 - трубопроводы; 16 - воздушный фильтр;
17 - пробоотборники (П1 - П15); 19 - электромагнитные
клапаны (ЭМК1 - ЭМК19); 20, 21, 22, 23, 29 - коллекторы;
24, 25 - емкости (Е1 - Е4); 26 - датчик разрежения;
30 - штуцер (для подсоединения к вакуум-насосу);
31 - вакуум-насос стендовый; 32 - вакуумметр стендовый;
33 - приемник отбора проб воздуха на входе в ГТД (фон);
34 - защитная сетка на входе в двигатель
1 - двигатель; 2 - патрубок отбора воздуха в СКВ;
3 - шайба-имитатор; 4 - переходник стендовый;
5, 28 - приемник температуры воздуха; 6 - манометр;
7 - кран-заслонка стендовой системы отбора воздуха в СКВ;
8 - электродвигатель привода заслонки; 9 - металлорукав;
10 - диффузор СОП; 11 - воздухозаборник; 12 - головка
со штуцером; 13 - жиклер продувки; 14 - жиклер диффузора;
15, 18, 27 - трубопроводы; 16 - воздушный фильтр;
17 - пробоотборники (П1 - П15); 19 - электромагнитные
клапаны (ЭМК1 - ЭМК16); 20, 21, 22, 23, 29 - коллекторы;
24, 25 - емкости (Е1 - Е4); 26 - датчик разрежения;
30 - штуцер (для подсоединения к вакуум-насосу);
31 - вакуум-насос стендовый; 32 - вакуумметр стендовый;
33 - приемник отбора проб воздуха на входе в двигатель
(фон); 34 - защитная сетка на входе в двигатель
(обязательное)
ВОЗДУШНЫЙ ФИЛЬТР
1 - крышка; 2 - гайка; 3 - уплотнительное кольцо;
4 - стекловата; 5 - корпус; 6 - сорбент; 7 - кольцо;
8 - никелевая сетка (80 мкм); 9 - штуцер
(обязательное)
ПРОБООТБОРНИК
1 - корпус; 2 - экран; 3 - концентратор; 4 - резиновые
втулки; 5 - упор; 6 - гайка; 7 - входной штуцер;
8 - выходной штуцер
Рисунок Г.1 - Пробоотборник
1 - экран; 2 - концентратор; 3 - уплотнительные
резиновые втулки; 4 - упор
Рисунок Г.2 - Адсорбционный пакет
1 - корпус; 2 - заглушка из стекловаты; 3 - сорбент;
4 - толкатель; 5 - регулировочный винт
Рисунок Г.3 - Концентратор с маркировкой "М"
1 - корпус; 2 - заглушка из стекловаты; 3 - сорбент;
4 - толкатель; 5 - регулировочный винт
Рисунок Г.4 - Концентратор с маркировкой "CO"
(обязательное)
КОНТЕЙНЕР ДЛЯ ХРАНЕНИЯ КОНЦЕНТРАТОРОВ
1 - верхняя гайка; 2 - уплотнительное кольцо; 3 - корпус;
4 - концентратор; 5 - нижняя гайка; 6 - стопорное кольцо;
7 - никелевая сетка (80 мкм); 8 - фильтровальная бумага;
9 - активированный уголь (зернение от 1 до 2 мм)
(обязательное)
ПУЛЬТ УПРАВЛЕНИЯ СОП ДЛЯ ГТД ГРАЖДАНСКОЙ АВИАЦИИ
1 - вольтметр; 2 - лампа сигнализации; 3 - тумблеры
индивидуального включения ЭМК; 4 - тумблеры группового
включения ЭМК; 5 - тумблеры включения ЭМК для создания
разрежения в емкостях Е1 - Е4
(обязательное)
ПРИНЦИПИАЛЬНАЯ ЭЛЕКТРИЧЕСКАЯ СХЕМА УПРАВЛЕНИЯ СОП
1 - пульт управления; 2 - лампы сигнализации (Л1 - Л20);
3 - автомат защиты сети; 4 - выключатели (В1 - В23);
5 - панель СОП; 6 - электромагнитные клапаны (ЭМК1 - ЭМК19);
7 - приборы измерения разрежения (ИКД1 - ИКД4);
8 - вольтметры (V1 - V4); 9 - галетный переключатель;
10 - реле управления (Р1 - Р8); 11 - клеммы подключения
цифрового вольтметра; 12 - штепсельные разъемы (Ш1 - Ш7)
(рекомендуемое)
ОПРЕДЕЛЕНИЯ АКТИВНЫХ ОБЪЕМОВ ВАКУУМИРУЕМОЙ ЧАСТИ СОП
И.1 Определение объема установки для измерения объемов СОП
И.1.1 К СОП подсоединить пульт управления. Подвести питание постоянного тока 27 В +/- 10% к пульту управления. ЭМК1 - ЭМК19 не включать (см. приложение К,
рисунок К.1, поз.
19 на схеме I).
И.1.2 Собрать установку для измерения объемов по схеме II приложения К, соединить кран
1 со штуцером
30 и вакуум-насосом
31. Закрыть краны
1,
5,
6,
8. К пульту управления (см.
приложение Е) подключить цифровой вольтметр.
И.1.3 Наполнить мерный цилиндр
7 (см.
рисунок К.1) раствором воды с солью. Открыть кран
5 и, доливая воду в мерный цилиндр, получить сплошную струю воды без пузырьков воздуха из крана
5. Закрыть кран
5, долить воды в мерный цилиндр до уровня 800 мл. Выдержать 5 мин и зафиксировать уровень воды в цилиндре
7 V
1 = 800 мл. Записать барометрическое давление B
0 (показания барометра).
И.1.4 Включить вакуум-насос
31, краном
1 отрегулировать разрежение Р
1 минус 35 кПа (минус 0,35 кгс/см
2) по вакуумметру
3, закрыть кран
1. Выдержать 5 мин, зафиксировать разрежение Р
1 по вакуумметру
3. Выключить вакуум-насос.
И.1.5 Открыть кран
6 и через 5 мин зафиксировать разрежение Р
2 по вакуумметру
3 и уровень воды V
2 в мерном цилиндре
7.
И.1.6 Открыть кран
8 до восстановления уровня воды в мерном цилиндре до 800 мл и снижения разрежения до 0 кПа (0 кгс/см
2) по вакуумметру
3. Закрыть кран
8. Через 5 мин отметить уровень воды V
1 = 800 мл в мерном цилиндре
7. Закрыть кран
6.
И.1.7 Включить вакуум-насос. Отрегулировать разрежение Р
1 минус 30 кПа (минус 0,30 кгс/см
2) краном
1 по вакуумметру
3. Кран
1 закрыть. Выдержать 5 мин и зафиксировать разрежение Р
1 по вакуумметру
3. Выполнить работы по
И.1.5,
И.1.6.
И.1.8 Включить вакуум-насос. Отрегулировать разрежение Р
1 минус 25 кПа (минус 0,25 кгс/см
2) краном
1 по вакуумметру
3. Кран
1 закрыть. Выдержать 5 мин и зафиксировать разрежение Р
1 по вакуумметру
3. Выполнить работы по
И.1.5,
И.1.6.
И.1.9 Повторить измерения объема установки по
И.1.4 -
И.1.8 еще четыре раза для каждого из указанных выше значений разрежения Р
1.
Примечание - Для измерения объемов следует применять насыщенный раствор воды с поваренной солью (346,6 г соли на 1000 см3 воды).
И.2 Определение суммарного объема Vсум,
суммы объема установки Vуст и активного объема Vакт.i
вакуумируемой части СОП
И
.2.1 Включить вакуум-насос, включить (открыть) ЭМК16 (см.
рисунок К.1, поз.
19). Включение и выключение ЭМК производить выключателями на пульте управления (см.
рисунок Е.1). После выдержки 5 мин зафиксировать уровень воды в мерном цилиндре
7 (объем V
3 = V
1 = 800 см
3).
И.2.2 Отрегулировать краном
1 (см.
рисунок К.1) разрежение минус 35 кПа (минус 0,35 кгс/см
2) по вакуумметру
3, закрыть кран
1. Выдержать 5 мин и зафиксировать разрежение Р
3 по вакуумметру
3.
И.2.3 Открыть кран 6 и через 5 мин зафиксировать разрежение Р4 и уровень воды V4 в мерном цилиндре 7.
И.2.4 Открыть кран
8 до восстановления уровня воды в мерном цилиндре
7 V
3 = 800 мл и нулевого разрежения. Закрыть кран
8. Через 5 мин отметить уровень воды (объем V
3) в мерном цилиндре
7. Закрыть кран
6.
И.2.5 При включенном ЭМК16 выполнить работы по
И.2.2 -
И.2.4, последовательно создавая разрежение Р
3 в системе измерения минус 30 кПа (минус 0,30 кгс/см
2) и минус 25 кПа (минус 0,25 кгс/см
2). Выключить ЭМК16.
И.2.6 Включить ЭМК17 и повторить работы по
И.2.1 -
И.2.4. Выключить ЭМК17. Выполнить измерения суммарных объемов при включенном ЭМК18, а затем и ЭМК19 в такой же последовательности.
И.2.7 Измеренные значения разрежения и объемов занести в
таблицу И.1 для каждого ЭМК16 - ЭМК19, являющиеся исходными данными для определения активных объемов Vакт.
Е1, Vакт.
Е2, Vакт.
Е3, Vакт.
Е4.
Примечание - Активные объемы условно обозначены номерами емкостей Е1 - Е4 (см.
рисунок Б.1, поз.
24,
25 и
рисунок К.1).
Измеренные значения разрежения Р, кПа (кгс/см2), и объемов V, см3 | Расчетные значения объемов, V, см3 |
Измерительная система | Суммарный объем |
Р1 | Р2 | V2 | Р3 | Р4 | V4 | Vуст | Vакт.i |
ЭМК16 выключен | ЭМК16 включен | | |
-35 (-0,35) | | | -35 (-0,35) | | | | |
-30 (-0,30) | | | -30 (-0,30) | | | | |
-25 (-0,25) | | | -25 (-0,25) | | | | |
ЭМК17 выключен | ЭМК17 включен | | |
-35 (-0,35) | | | -35 (-0,35) | | | | |
-30 (-0,30) | | | -30 (-0,30) | | | | |
-25 (-0,25) | | | -25 (-0,25) | | | | |
ЭМК18 выключен | ЭМК18 включен | | |
-35 (-0,35) | | | -35 (-0,35) | | | | |
-30 (-0,30) | | | -30 (-0,30) | | | | |
-25 (-0,25) | | | -25 (-0,25) | | | | |
ЭМК19 выключен | ЭМК19 включен | | |
-35 (-0,35) | | | -35 (-0,35) | | | | |
-30 (-0,30) | | | -30 (-0,30) | | | | |
-25 (-0,25) | | | -25 (-0,25) | | | | |
Примечание - Измерения для каждого ЭМК повторяются три раза.
И.3 Обработка результатов измерения объемов
И.3.1 Принятые обозначения в расчетных формулах:
Vакт.i - активный объем вакуумируемой части СОП, см3;
Vуст - объем установки измерения объемов, см3;
Vсум - суммарный объем, включающий объем Vуст и объем вакуумируемой части СОП (Vакт.i), см3;
V1, V2, V3, V4 - объемы воды в мерном цилиндре 7, см3;
Р1, Р2, Р3, Р4 - измеренные по вакуумметру 3 значения разрежения, кПа (кгс/см2).
И.3.2 Измеренные значения разрежения Р1, Р2, Р3, Р4 приводятся к абсолютным значениям по формулам:
Р2* = Р0* - Р2; (И.2)
Р3* = Р0* - Р3; (И.3)
где Р
1*, Р
2*, Р
3*, Р
4* - приведенные к стандартным условиям абсолютные значения разрежения в емкостях [условно отнесенные к емкостям Е1 - Е4 (см.
рисунок К.1)], кПа (кгс/см
2);
Р0* - приведенное к стандартным условиям барометрическое давление в момент проведения измерений;
Р
1, Р
2, Р
3, Р
4 - соответственно измеренные значения разрежений в емкостях (см.
таблицу И.1), кПа (кгс/см
2).
При этом

(И.5)
где B0 - барометрическое давление в момент проведения измерений, мм рт. ст.;
760 - стандартное атмосферное давление, мм рт. ст.
И.3.3 Уравнение состояния газа для установки измерения объемов после открытия крана 6 выражается соотношением

(И.6)
Отсюда объем измерительной установки Vуст. (в см3) равен

(И.7)
И.3.4 Уравнение состояния газа для определения суммарного объема после открытия крана 6 при включенном ЭМК16 (или соответственно ЭМК17, ЭМК18 или ЭМК19) выражается соотношением

(И.8)
Отсюда объем вакуумируемой части СОП Vакт.i (в см3) равен

(И.9)
или

(И.10)
И.3.5 Подставляя измеренные значения объемов V
1, V
2, V
3, V
4 и значения приведенных разрежений Р
1*, Р
2*, Р
3*, Р
4* в
формулы (И.9) или
(И.10), получаем расчетное значение активного объема Vакт.i.
И.3.6 По полученным значениям расчетных активных объемов Vакт.i (при трех значениях разрежения минус 35, минус 30, минус 25 кПа (минус 0,35, минус 0,30, минус 0,25 кгс/см2) и при выполнении не менее пяти измерений для каждого из указанных разрежений) определяется среднее арифметическое значение каждого из активных объемов СОП, отнесенное условно к емкостям Vакт.Е1, Vакт.Е2, Vакт.Е3, Vакт.Е4, которое заносится в паспорт СОП и используется при расчетах концентраций вредных примесей.
(обязательное)
СХЕМА
СОЕДИНЕНИЙ ДЛЯ ИЗМЕРЕНИЯ ОБЪЕМОВ ВАКУУМИРУЕМОЙ ЧАСТИ СОП
I - схема вакуумируемой части СОП:
19 - электромагнитные клапаны (ЭМК1 - ЭМК19);
20, 21, 22, 23, 29 - коллекторы; 24, 25 - емкости;
26 - датчик разрежения; 27 - трубопровод; 28 - приемник
температуры воздуха; 30 - штуцер для подсоединения
к вакуум-насосу; 31 - вакуум-насос; 32 - вакуумметр
II - схема установки для измерения объемов:
1, 5, 6, 8 - игольчатые (запорные) краны; 2 - соединительные
трубопроводы; 3 - вакуумметр ВТИ (класс 0,6); 4 - буферная
емкость (объем ~= 1 л); 7 - мерный цилиндр
(вместимость 1 л, цена деления 10 мл)
(обязательное)
ТРАНСПОРТИРОВОЧНАЯ ТАРА
1 - бумажные пакеты с активированным углем; 2 - ложемент;
3 - прижимная планка; 4 - адсорбционные пакеты (15 шт.);
5 - крышка; 6 - ручка; 7 - замок; 8 - подставка;
9 - основание
(обязательное)
ПРИГОТОВЛЕНИЯ АКТИВНЫХ АДСОРБЕНТОВ
М.1 Приготовление мелонированного силохрома
М.1.1 Навеску меламина (ГОСТ 7579) в количестве 20% от массы силохрома растворяют в кипящей воде, добавляют силохром СХ-2,5 или С-80. Воду упаривают кипячением при непрерывном помешивании, особенно к концу упаривания (во избежание перегрева и разбрызгивания смеси).
М.1.2 Полученный адсорбент помещают в сушильный шкаф и выдерживают при температуре в диапазоне от 120 до 150 °C в течение 3 - 5 ч.
М.1.3 После просушивания адсорбент засыпают порциями в трубку из нержавеющей стали и помещают в трубчатую печь. Через трубку пропускают ток инертного газа при комнатной температуре в диапазоне от 15 до 20 °C в течение 5 - 10 мин.
М.1.4 Заглушают выход из трубки и при давлении инертного газа в диапазоне от 100 до 200 кПа (от 1 до 2 кгс/см2) поднимают температуру печи до 450 °C (перепад температур по длине трубки - не более 10 °C) и выдерживают 30 - 40 мин.
М.1.5 Пропускают через трубку инертный газ с объемным расходом в диапазоне от 0,02 до 0,05 м3/мин в течение 1,2 - 2,0 ч при температуре печи до 450 °C, после чего печь выключают и проток газа прекращают.
М.1.6 После охлаждения печи адсорбент рассыпают тонким слоем на чистый металлический поддон так, чтобы разные слои адсорбента при высыпании не смешивались. С поддона собирают однородную по цвету порцию вещества (до 75% от исходного количества), а остальное - помещают в трубку, досыпают исходным адсорбентом и снова загружают в печь. Процесс повторяют до конца переработки всего полуфабриката.
М.1.7 Полученный мелонированный силохром взвешивают. Его количество должно составлять не менее 95% от массы исходного сырья. При этом поверхность силохрома будет покрыта пленкой мелона массой не менее 20% от массы силохрома.
М.2 Приготовление цеолита, активированного серебром
М.2.1 50 г цеолита NaY в виде гранул зернением от 3 до 4 мм помещают в стеклянную колонку диаметром от 16 до 18 мм и отмывают дистиллированной водой с проверкой ее нейтральности пробой на фенолфталеин. Присутствие в воде щелочи не допускается.
М.2.2 Осадок декантируют и заливают раствором 2,4 г нитрата серебра в 250 см3 воды. Смесь выдерживают при непрерывном помешивании в течение 1 ч.
М.2.3 Адсорбент отмывают дистиллированной водой до удаления ионов серебра (проверку производят пробой на воздействие соляной кислотой).
М.2.4 Цеолит сушат при температуре в диапазоне от 110 до 130 °C в течение 3 ч, после чего прокаливают в муфельной печи при температуре 500 °C в течение 2 ч, измельчают и отсеивают. Полученную массу (гранулы) измельчают и просеивают через сито с размером ячеек 0,2 - 0,5 мм.
М.2.5 Изготовленный цеолит хранят в герметически закрытой таре.
М.3 Приготовление адсорбента, активированного маслом OV-101
М.3.1 Для приготовления адсорбента используют диатомитовый носитель W-HP, а в случае его отсутствия - целит-545 или хроматон. При отсутствии масла OV-101 применяют масло ПМС-100.
М.3.2 Соотношение объемов хлороформа (растворителя) и носителя (хромосорба) подбирается экспериментально так, чтобы носитель полностью смачивался с незначительным избытком растворителя.
М.3.3 Навеску масла OV-101 в количестве 5% от массы носителя растворяют в хлороформе.
М.3.4 В раствор хлороформа с маслом засыпается носитель и смесь осторожно помешивают с упариванием на водяной или песчаной бане (роторном испарителе) до полного испарения хлороформа.
М.3.5 Полученный адсорбент сушат при температуре в диапазоне от 110 до 130 °C в сушильном шкафу до удаления запаха хлороформа.
М.3.6 Приготовление адсорбента на других носителях, указанных в
М.3.1 настоящего приложения, аналогичное.
(обязательное)
СХЕМА ТЕРМОСТАТА ХРОМАТОГРАФА
1 - радиатор; 2 - резиновая прокладка; 3 - концентратор;
4 - медный вкладыш; 5 - накидная гайка; 6 - колонна;
7 - штуцер испарителя; 8 - испаритель; 9 - термостат;
10 - кран-дозатор (I - кран закрыт, II - кран открыт);
11 - байпасная линия; 12 - рабочая колонна;
13 - сравнительная колонна
(обязательное)
СХЕМА
СОЕДИНЕНИЙ ДЛЯ ТАРИРОВКИ ПРИБОРА ИКД
1 - прибор ИКД; 2 - вольтметр (внутреннее сопротивление
20 кОм); 3 - цифровой вольтметр (внутреннее сопротивление
1 МОм, диапазон измерения от 0 до 10 В, класс точности 0,3)
Рисунок П.1 - Схема соединений для тарировки
прибора ИКД в лаборатории
1 - пульт управления; 2 - цифровой вольтметр (внутреннее
сопротивление 1 МОм, диапазон измерения от 0 до 10 В, класс
точности 0,3); 3 - буферная емкость (объем ~= 1 л);
4 - игольчатый кран (запорный); 5 - вакуумметр (класс 0,6);
6 - вакуум-насос; 7 - часть системы отбора проб; 8 - штуцер
Рисунок П.2 - Схема соединений для тарировки
прибора ИКД в составе СОП
(рекомендуемое)
ОТБОРА ПРОБ ВОЗДУХА ИЗ КОМПРЕССОРА ГТД
ДЛЯ ГРАЖДАНСКОЙ АВИАЦИИ
Дата проведения ................ Установка СОП .................
ГТД N .......................... Вид испытания .................
Испытательный стенд N .......... Марка масла ...................
Емкость | Номер пробоотборника | Режим отбора проб | Маркировка концентратора | Давление и температура |
В1 | Т1 | В2 | Т2 |
Е1 | П1 | ЗМГ | М | | | | |
П2 | МП | М | | | | |
П3 | ВЗЛ | М | | | | |
Е2 | П4 | ЗМГ | МФ | | | | |
П5 | МП | МФ | | | | |
П6 | ВЗЛ | МФ | | | | |
Е3 | П7 | ЗМГ | CO | | | | |
П8 | МП | CO | | | | |
П9 | ВЗЛ | CO | | | | |
Е4 | П10 | ЗМГ | COФ | | | | |
П11 | МП | COФ | | | | |
П12 | ВЗЛ | COФ | | | | |
П13 | ЗМГ | МА | | | | |
П14 | МП | МА | | | | |
П15 | ВЗЛ | МА | | | | |
РЕЖИМЫ ОТБОРА ПРОБ: | Включить ЭМК: | Включить ЭМК: |
ЗМГ - земной малый газ; | 1, 4, 7, 10; | 13 |
МП - максимальный продолжительный; | 2, 5, 8, 11; | 14 |
ВЗЛ - взлетный | 3, 6, 9, 12 | 15 |
Примечание - ЭМК13, 14, 15 включаются после выключения соответственно:
ЭМК1, 4, 7, 10; ЭМК2, 5, 8, 11; ЭМК3, 6, 9, 12.
В1 и В2 - показания вольтметров измерения разрежения, В;
Т1 и Т2 - температура воздуха в емкостях Е1 - Е4, °C.
Исполнитель: _______________ ________________________
подпись расшифровка подписи
(рекомендуемое)
ОТБОРА ПРОБ ВОЗДУХА ИЗ КОМПРЕССОРА ГТД
ДЛЯ ИЗДЕЛИЙ МИНИСТЕРСТВА ОБОРОНЫ
Дата проведения ................ Установка СОП .................
ГТД N .......................... Вид испытания .................
Испытательный стенд N .......... Марка масла ...................
Емкость | Номер пробоотборника | Режим отбора проб | Маркировка концентратора | Давление и температура |
В1 | Т1 | В2 | Т2 |
Е1 | П1 | МГ | М | | | | |
П2 | КР | М | | | | |
П3 | МГ-М | М | | | | |
Е2 | П4 | МГ | МФ | | | | |
П5 | КР | МФ | | | | |
П6 | МГ-М | МФ | | | | |
Е3 | П7 | МГ | CO | | | | |
П8 | КР | CO | | | | |
П9 | - | - | | | | |
Е4 | П10 | МГ | COФ | | | | |
П11 | КР | COФ | | | | |
П12 | - | - | | | | |
П13 | МГ | МА | | | | |
П14 | КР | МА | | | | |
П15 | МГ-М | МА | | | | |
РЕЖИМЫ ОТБОРА: | Включить ЭМК: | Включить ЭМК: |
МГ - малый газ; | 1, 4, 7, 10; | 13 |
КР - крейсерский; | 2, 5, 8, 11; | 14 |
МГ-М -  | 3, 6 | 15 |
Примечание - ЭМК13, 14, 15 включаются после выключения соответственно:
ЭМК1, 4, 7, 10; ЭМК2, 5, 8, 11; ЭМК3, 6.
В1 и В2 - показания вольтметров измерения разрежения, В;
Т1 и Т2 - температура воздуха в емкостях Е1 - Е4, °C.
Исполнитель: _______________ ________________________
подпись расшифровка подписи
(рекомендуемое)
ОТБОРА ПРОБ ВОЗДУХА ИЗ КОМПРЕССОРА ВГТД
Дата проведения ................ Установка СОП .................
ГТД N .......................... Вид испытания .................
Испытательный стенд N .......... Марка масла ...................
Емкость | Номер пробоотборника | Режим отбора проб | Маркировка концентратора | Давление и температура |
В1 | Т1 | В2 | Т2 |
Е1 | П1 | Номинальная нагрузка | М | | | | |
Е2 | П4 | Номинальная нагрузка | МФ | | | | |
Е3 | П7 | Номинальная нагрузка | CO | | | | |
Е4 | П10 | Номинальная нагрузка | COФ | | | | |
П13 | Номинальная нагрузка | Ма | | | | |
РЕЖИМЫ ОТБОРА: | Включить ЭМК; | Включить ЭМК |
Номинальная нагрузка | 1, 4, 7, 10 | 13 |
Примечание - ЭМК13 включается после выключения ЭМК1, 4, 7, 10;
В1 и В2 - показания вольтметров измерения разрежения, В;
Т1 и Т2 - температура воздуха в емкостях Е1 - Е4, °C.
Исполнитель: _______________ ________________________
подпись расшифровка подписи
(обязательное)
СХЕМА
УСТАНОВКИ ДЛЯ ПРОКАЧКИ ПГС ЧЕРЕЗ КОНЦЕНТРАТОРЫ
С МАРКИРОВКОЙ "CO"
1 - баллон с ПГС; 2 - вентиль; 3 - манометр (давление ПГС
в баллоне); 4 - редуктор РВ-5; 5 - манометр (давление ПГС
за редуктором); 6 - игольчатый кран; 7 - манометр (давление
ПГС в емкости); 8 - емкость (объем ~= 1 л); 9 - воздушный
фильтр; 10, 12, 17 - электромагнитные клапаны (ЭМК1 - ЭМК3);
11 - пробоотборник; 13 - емкость (объем ~= 1 л);
14 - мановакуумметр; 15 - приемник температуры ПГС;
16 - вакуум-насос
(рекомендуемое)
РЕЗУЛЬТАТОВ ГАЗОХРОМАТОГРАФИЧЕСКОГО АНАЛИЗА
ПРОБ ВОЗДУХА ИЗ КОМПРЕССОРА ГТД
Дата отбора ........... N отбора ........ Вид испытания ...........
ГТД N ................. Стенд N ......... Марка масла .............
Режим | Пары топлива, мг/мг3 | Пары и аэрозоль масла, мг/м3 | ТКФ, мг/м3 |
Измер. | Фон | Факт. | Измер. | Фон | Факт. | Измер. | Фон | Факт. |
ЗМГ | | | | | | | | | |
МП | | | | | | | | | |
ВЗЛЕТ | | | | | | | | | |
ПДК | 300,0 | 2,0 | 0,5 |
Режим | Окись углерода, мг/м3 | Бензол, мг/м3 | Толуол, мг/м3 |
Измер. | Фон | Факт. | Измер. | Фон | Факт. | Измер. | Фон | Факт. |
ЗМГ | | | | | | | | | |
МП | | | | | | | | | |
ВЗЛЕТ | | | | | | | | | |
ПДК | 20,0 | 5,0 | 50,0 |
Режим | Акролеин, мг/м3 | Метаналь, мг/м3 | Кетоны, мг/м3 |
Измер. значения | Измер. значения | Измер. значения | Фон | Факт. |
ЗМГ | | | | | |
МП | | | | | |
ВЗЛЕТ | | | | | |
ПДК | 0,2 | 0,5 | | 200,0 | |
Заключение: Результаты анализа пробы (не) соответствуют требованиям к чистоте воздуха, отбираемого в СКВ.
Исполнитель: _______________ ________________________
подпись расшифровка подписи
(справочное)
ОБОСНОВАНИЕ ПЕРЕЧНЯ (СМ. ТАБЛИЦУ 12) НОРМИРУЕМЫХ ВРЕДНЫХ
ПРИМЕСЕЙ В ВОЗДУХЕ, ОТБИРАЕМОМ ИЗ КОМПРЕССОРА ГТД В СКВ
Основным источником появления вредных примесей в воздухе, отбираемом из компрессора ГТД в СКВ, являются продукты разложения смазочного масла в компрессоре ГТД. В компрессор масло попадает из передней опоры двигателя и там, в зависимости от условий разложения (температуры, давления, времени нахождения в "горячей зоне" и т.д.), образует сложную паро-газо-аэрозольную смесь. Эксперименты показали, что на состав примесей рецептура масла влияет слабо, больше ее влияние сказывается на порог "взрывного" разложения масла, который для большинства авиационных смазочных масел составляет от 250 до 300 °C.
В
таблице Х.1 приведен состав продуктов разложения масла ВНИИНП-50-1-4ф (основа - диоктилсебацинат) при температуре 300 °C (экспозиция в "горячей зоне" 1 с). Масла типа ИПМ-10, ПТС-225, ЛЗ-240, ВНИИНП-50-1-4у и другие отечественные масла, а также импортные масла типа Mobil-Oil-Jet-2 в указанных условиях дают аналогичные результаты.
Компонент | Доля в составе продуктов разложения, % | |
Масло (основа) | 79,5 | 2,0 |
Формальдегид | 0,6 | 0,5 |
Ацетальдегид | 0,2 | 5,0 |
Бутаналь | 0,1 | 5,0 |
Ацетон | 0,3 | 200,0 |
Бутанон | 1,2 | 200,0 |
Этанол | 0,2 | 1000,0 |
Акролеин | 0,5 | 0,2 |
н-Пентанол | 1,1 | 10,0 |
Спирты C6 - C8 | 6,0 | 10,0 |
Фенол | 0,8 | 0,3 |
Крезолы | 1,6 | 0,3 |
Бензол | 0,2 | 5,0 |
Толуол | 0,5 | 50,0 |
Этилбензол | 1,2 | 50,0 |
Ксилолы | 1,1 | 50,0 |
Окись углерода | 3,0 | 20,0 |
В случае, если в рецептуру масла входит диоктилсебацинат и ТКФ, их содержание в воздухе, отбираемом из компрессора ГТД, определяется дополнительно. Также в перечень
таблицы 12 добавлены пары топлива, так как топливо может попадать в масляную систему двигателя. В связи с тем, что ПДК вредных примесей в разных документах различны, предложены наиболее жесткие значения ПДК. В
таблице 12 расшифрована формулировка "альдегиды".
(рекомендуемое)
ОПРЕДЕЛЕНИЯ СУММАРНОЙ ПРЕДЕЛЬНОЙ ОТНОСИТЕЛЬНОЙ ПОГРЕШНОСТИ
ИЗМЕРЕНИЯ КОНЦЕНТРАЦИЙ ВРЕДНЫХ ПРИМЕСЕЙ В ОТБИРАЕМЫХ
ИЗ КОМПРЕССОРА ГТД ПРОБАХ ВОЗДУХА
Ц.1 Общие положения
Ц.1.1 Суммарная предельная относительная погрешность измерения концентраций вредных примесей в отбираемых из компрессора ГТД пробах воздуха складывается из суммы неисключенных систематических погрешностей и случайных погрешностей.
В общем случае концентрация вредных примесей по изложенной методике с использованием газохроматографического метода анализа отобранных проб определяется по
формуле (3).
Ц.1.2 Все входящие в формулу параметры (кроме коэффициента КС) в процессе испытания, отбора и анализа проб измеряются с применением предусмотренных в настоящих МУ приборов и методов с соответствующими погрешностями, которые, в конечном итоге, определяют суммарную погрешность рекомендуемого метода.
При этом должны быть учтены погрешности, возникающие как на этапе отбора проб (связанные с количественным определением объемов воздуха, пропущенных через пробоотборники, и полноты адсорбции вредных примесей в концентраторах), так и на этапе анализа проб (погрешности хроматографов и применяемого дополнительного оборудования).
Ц.1.3 В зависимости от применяемых методик измерения объемов пропущенного через пробоотборники воздуха, погрешностей приборов и устройств, используемых при отборе и анализе проб (измерителей разрежения и температуры, микрошприцев, интеграторов или автоматизированных систем регистрации хроматографического сигнала и обсчета площади пиков на базе ПВЭМ и т.д.), а также методик градуировки хроматографов суммарная предельная относительная погрешность измерения концентраций вредных примесей в пробах воздуха может быть уменьшена (сведена к минимуму).
Ц.1.4 Суммарная предельная относительная погрешность измерения концентраций вредных примесей (перечень компонентов см. в
таблице 12) при контроле чистоты воздуха по рекомендуемым МУ не должна быть более 25%.
Ц.1.5 Суммарная предельная относительная погрешность измерения концентраций вредных примесей определяется при аттестации и вводе в эксплуатацию СОП и оборудования газохроматографической лаборатории, при периодических поверках не реже одного раза в год, а также в случае замены детекторов и колонн хроматографов или при введении принципиальных изменений и усовершенствований в методику отбора и анализа проб воздуха.
Ц.2 Определение погрешностей измерения
активных объемов вакуумируемой части СОП
| | ИС МЕГАНОРМ: примечание. Нумерация пунктов дана в соответствии с официальным текстом документа. | |
2.1 Методика определения активных объемов СОП изложена в
приложении И.
Погрешность измерения объемов складывается из суммы неисключенных остатков систематической и случайной погрешностей. Основное уравнение определения активных объемов выражается
формулой И.10.
Ц.2.1.1 Измерения разрежений Р
1 - Р
4 в соответствии с условиями измерений активных объемов проводятся при температуре (20 +/- 5) °C. В этих условиях можно не учитывать и не вводить поправок по температуре на показания барометра при расчете разрежений по
формулам (И.1) -
(И.4), так как возникающая при этом систематическая погрешность пренебрежимо мала по сравнению с погрешностями хроматографа, микрошприца и т.д.
Погрешность введения поправок можно принять как дисперсию самой систематической погрешности, и она также пренебрежимо мала.
Учитывая вышеизложенное, принимаем погрешность измерения барометрического давления

Ц.2.2 Неисключенные остатки систематических абсолютных погрешностей при измерении активных объемов СОП:

- абсолютная погрешность мерного цилиндра
7 вместимостью 1000 см
3 установки измерения объемов (см.
рисунок К.1);

- абсолютная погрешность измерения разрежения вакуумметром
3, определяемая классом точности 0,6 (см.
рисунок К.1);

- абсолютная погрешность измерения барометрического давления.
Ц.2.3 Определение случайной составляющей погрешности измерения активных объемов Vакт.i проводится посредством вычисления среднего квадратического отклонения текущих значений Vакт.i от среднего арифметического значения

(по данным приложения И.1,
таблица И.1). Результаты расчетов заносятся в
таблицу Ц.1.
Число наблюдений N | Расчетное значение Vакт.i | Среднее арифметическое значение  | Разность  | Квадрат разности  |
1 | | | | |
2 | | | | |
3 | | | | |
. | | | | |
. | | | | |
. | | | | |
9 | | | | |
10 | | | | |
Примечания:
1. Таблицы составляются для значений Vакт.Е1; Vакт.Е2; Vакт.Е3; Vакт.Е4.
2. Число наблюдений N должно быть не менее пяти для каждого измеряемого объема.
Ц.2.4 По результатам данных
таблицы Ц.1 определяется среднее квадратическое отклонение

при определении Vакт.i по формуле

(Ц.1)
| | ИС МЕГАНОРМ: примечание. Нумерация пунктов дана в соответствии с официальным текстом документа. | |
Ц.12.5 Относительная составляющая случайной погрешности измерения активных объемов

определяется по формуле

(Ц.2)
Ц.3 Определение погрешности измерения объемов вакуумируемых
частей СОП при отборах проб воздуха из компрессора ГТД
Ц.3.1 Основное уравнение измерений объема воздуха, приведенного к нормальным условиям при отборах проб, представлено
формулой (1).
Исходными составляющими суммарной погрешности измерения активного приведенного объема отобранной пробы воздуха являются систематические и случайные погрешности измерения соответствующего активного объема вакуумируемой части СОП, погрешности измерения разрежений Р1 и Р2 и температур Т1 и Т2 в емкостях Е1 - Е4 при отборе проб из компрессора ГТД.
Ц.3.2 Неисключенные систематические погрешности измерения разрежений Р1 и Р2 складываются из погрешности приемника разрежений (измерительный комплекс ИКД) и погрешности указателя выходного сигнала ИКД (измеряемого в вольтах) - цифрового вольтметра, расположенного на пульте управления СОП.
Ц.3.2.1 Абсолютная погрешность выходного сигнала ИКД определяется основной погрешностью

по паспорту прибора.
Максимальная абсолютная погрешность цифрового вольтметра Апmax, измеряющего напряжение на выходе прибора ИКД, определяется по формуле

(Ц.3)
где Апmax - максимальная абсолютная погрешность цифрового вольтметра, В;
Uпр - предел измерения напряжения, В;
Uх - текущие показания прибора при измерениях напряжения [значения показаний вольтметра при отборах проб, фиксируемых в протоколах отбора проб (см.
приложения Р,
С,
Т)], В.
Суммарная абсолютная погрешность измерения разрежений

определяется по формуле

(Ц.4)
Ц.3.3 Погрешность измерения температуры воздуха в емкостях при отборах проб складывается из погрешности приемника температуры

, применяемого в СОП, и погрешности указателя температуры

.
Ц.3.3.1 Абсолютная погрешность приемника температуры

(в градусах) определяется по формулам:
- для диапазона температур Т от 0 до 300 °C

(Ц.5)
- для диапазона температур Т = от минус 70 до 0 °C

(Ц.6)
где Т - абсолютное значение температуры воздуха, К.
Ц.3.3.2 Абсолютная погрешность указателя температуры

, определяемая классом точности применяемого при отборе проб прибором (класса 0,5), определяется по формуле

(Ц.7)
где Т1, Т2 - диапазон изменения температуры воздуха в средней полосе; Т1 = +35 °C; Т2 = -35 °C.
Ц.3.3.3 Суммарная абсолютная погрешность измерения температуры воздуха

определяется по формуле

(Ц.8)
Ц.3.4 Суммарная относительная погрешность измерения объемов, пропущенных через пробоотборники при отборе проб воздуха,

определяется суммой неисключенных систематических и случайных погрешностей.
При этом учитываются следующие составляющие относительной систематической погрешности

(в процентах):
1) относительная погрешность мерного цилиндра
7 (см.
рисунок К.1), используемого для измерения суммарного объема (сумма объемов установки для измерения объема и вакуумируемой части СОП)

, определяемая по формуле

(Ц.9)
где

- разность объемов воды в мерном цилиндре при измерении суммарного объема (сумма объемов установки измерения объемов и активной части системы отбора проб);

;
2) относительная погрешность вакуумметра
3 (см.
рисунок К.1) при измерении разрежения

, определяемая по формуле

(Ц.10)
3) относительная погрешность вакуумметра
3 при измерении суммарного объема

, определяемая по формуле

(Ц.11)
где

- разность разрежений при измерении суммарного объема;

;
4) относительная погрешность мерного цилиндра
7 при измерении объема установки для измерения объемов

, определяемая по формуле

(Ц.12)
где

- разность объемов воды в мерном цилиндре при измерении объема установки для измерения объемов;

;
5) относительная погрешность вакуумметра
3 при измерении разрежения в установке для измерения объемов

, определяемая по формуле

(Ц.13)
6) относительная погрешность вакуумметра
3 при измерении объема установки для измерения объемов

, определяемая по формуле

(Ц.14)
где

- разность разрежений при измерении объема установки для измерения объемов;

;
7) относительная погрешность измерения барометрического давления

, определяемая по формуле

(Ц.15)
8) относительная погрешность измерения температуры воздуха в емкостях СОП при отборе проб

, определяемая по формуле

(Ц.16)
где Ттем - температура воздуха Т1 и Т2 в емкостях СОП;
9) относительная погрешность измерения начального разрежения в емкостях СОП при отборе проб

, определяемая по формуле

(Ц.17)
10) относительная погрешность измерения конечного разрежения в емкостях СОП при отборе проб

, определяемая по формуле

(Ц.18)
Ц.3.5 Суммарная относительная погрешность измерения приведенного активного объема СОП

(в процентах) при отборе проб воздуха определяется по формуле

(Ц.19)
где К - коэффициент (К = 1,1 при доверительной вероятности P = 0,95).
При этом

(Ц.20)
Ц.4 Определение относительной погрешности измерения
концентраций вредных примесей в пробах воздуха
при газохроматографическом анализе
Ц.4.1 При определении относительной погрешности измерения концентраций вредных примесей учитываются следующие систематические погрешности

параметров, входящих в основное
уравнение (3):
1) относительная погрешность измерения объема дозы микрошприца

, определяемая по паспорту микрошприца
2) относительная погрешность измерения плотности чистых веществ, принимаемая равной погрешности ареометра

, по
ГОСТ 18481
3) относительная погрешность измерения температуры чистого вещества при измерении плотности

(Ц.21)
где

- абсолютная погрешность термометра, определяемая классом термометра или половиной цены деления его шкалы;
Тизм - измеренная температура вещества, К;
4) относительная погрешность, обусловленная явлением проскока или уноса вредных примесей из концентратора при отборе проб

, вычисляемая по формуле

(Ц.22)
где C1, C2, C3 - концентрация вредных примесей в 1-м, 2-м и 3-м концентраторе соответственно.
Погрешность определяется экспериментально при соответствующих объемных расходах воздуха через три последовательно соединенных концентратора, из которых в первый введено 0,3 мкл чистого вещества с последующим определением концентраций C1, C2, C3 вредных примесей в каждом из концентраторов.
Максимальные из найденных в концентраторах значений концентраций C принимают для расчета погрешности;
5) относительная погрешность, обусловленная сохранностью отобранной пробы в пределах времени возможного хранения (например, 72 ч)

, вычисляемая по формуле

(Ц.23)
где C0 - концентрация вредного вещества, полученная при анализе пробы непосредственно после отбора (время хранения t = 0 ч), мг/м3;
Ct - концентрация этого же вещества, полученная при анализе пробы через 72 ч после ее отбора, мг/м3.
Ц.4.2 При определении погрешностей хроматографа учитываются следующие составляющие систематических и случайных погрешностей:
1) относительная погрешность, обусловленная равной чувствительностью детектора хроматографа к разным веществам. Уравнение определения концентраций вредных примесей Ci
(3) базируется на предположении о равной чувствительности детекторов хроматографов ко всем измеряемым компонентам, указанным в
таблице 12. На основании экспертной оценки и литературных данных относительную погрешность

принимают равной 5%;
2) относительная погрешность измерения площадей пиков на хроматограммах при анализе отобранных проб воздуха определяется погрешностью интегратора или автоматизированной системы на базе компьютера

и вычисляется по формуле

(Ц.24)
где Авх - верхний предел сигнала детектора хроматографа;
Аизм - измеряемая величина сигнала детектора;
3) относительная погрешность измерения площадей пиков на хроматограммах при градуировке хроматографов

определяется погрешностью интегратора или автоматизированной системы расчета площадей пиков и принимается равной


(Ц.25)
4) случайная составляющая относительной погрешности измерения площади пика при градуировке хроматографа определяется по результатам анализа чистых веществ (керосина, масла Б-3В, этанола, поверочной газовой смеси). Порядок проведения градуировки изложен в
разделе 14.
Результаты анализа (наблюдений) заносятся в
таблицу Ц.2.
Наблюдение N | Расчетное значение Si | Среднее арифметическое значение Sср | Разность  | Квадрат разности  |
1 | | | | |
2 | | | | |
3 | | | | |
. | | | | |
. | | | | |
. | | | | |
9 | | | | |
10 | | | | |
Примечания:
1. Таблицы составляются для каждого указанного чистого вещества.
2. Число наблюдений N должно быть не менее десяти для каждого измеряемого компонента. По данным
таблицы Ц.2 определяется среднее квадратическое отклонение результатов группы наблюдений при градуировке

по формуле

(Ц.26)
5) случайная составляющая относительной погрешности измерения площади пика при градуировке хроматографа

определяется по формуле:

(Ц.27)
6) случайная составляющая относительной погрешности измерения площади пика при проведении анализа проб воздуха

определяется по формуле

(Ц.28)
где m - число измерений (наблюдений) при анализе проб воздуха; m = 1.
| | ИС МЕГАНОРМ: примечание. Нумерация пунктов дана в соответствии с официальным текстом документа. | |
Ц.4.4 Суммарная предельная относительная погрешность измерения концентраций вредных примесей [паров топлива, паров масла, альдегидов и ароматических углеводородов (по этанолу)] в пробах воздуха

определяется по формуле

(Ц.29)
Ц.4.4 Суммарная предельная относительная погрешность измерения концентраций CO в пробах воздуха

определяется по формуле

(Ц.30)
где

- относительная погрешность, обусловленная погрешностью аттестации ПГС в баллоне.
При этом

(Ц.31)
где

- абсолютная погрешность аттестации ПГС в баллоне (по паспорту), ppm;
Кпгс - объемная доля CO в баллоне (по паспорту), ppm.
(обязательное)
МЕТОДИКА КОНТРОЛЯ ТОЧНОСТИ ИЗМЕРЕНИЙ
КОНЦЕНТРАЦИЙ ВРЕДНЫХ ПРИМЕСЕЙ
Ш.1 Контроль точности измерений проводится с помощью двух контрольных (поверочных) смесей. При этом одна контрольная (поверочная) смесь используется как градуировочная, а вторая контрольная (поверочная) смесь используется как измеряемая.
Измеренное значение концентрации контрольного вещества в контрольной (поверочной) смеси сравнивают со значением концентрации контрольного вещества, установленным при аттестации контрольной (поверочной) смеси (в паспорте на смесь или в инструкции по приготовлению смесей).
Ш.1.1 Измерения проводятся правильно, а погрешность измерения не выходит за установленные в методике границы, если при контроле точности измерения соблюдаются условия

(Ш.1)
где Cизм - измеренное значение массовой концентрации контрольного вещества, г/см3;
Cк - массовая концентрация контрольного вещества по паспорту на поверочную смесь или инструкции на приготовление контрольной смеси, г/см3;

- суммарная (предельная) относительная погрешность измерения концентраций вредных примесей;

при доверительной вероятности P = 0,95.
Примечание - Критерий правильности проведения измерений, установленный в
формуле (Ш.1), принят в соответствии с
МИ 2335 при доверительной вероятности P = 0,95 и отсутствии информации о законе распределения вероятности погрешности данной методики и принятии его близким к усеченному нормальному, а также при проведении контроля методики измерений с использованием контрольных образцов (стандартного образца CO и аттестованных смесей).
Ш.1.2 Контроль точности измерений CO проводится по ПГС (CO в воздухе).
Относительная погрешность аттестации смеси согласно паспорту на ПГС должна быть

.
Ш.1.3 Контроль точности измерений концентрации паров и аэрозолей масла проводится по маслу Б-3В (или ЛЗ-240) в спирто-масляной контрольной смеси.
Относительная погрешность аттестации смеси при приготовлении поверочных смесей должна быть

.
Ш.1.4 Контроль точности измерений концентрации ароматических углеводородов и альдегидов проводится по этанолу в водно-спиртовой контрольной смеси.
Относительная погрешность аттестации смеси при приготовлении поверочных смесей должна быть

.
Ш.1.5 Для контроля точности измерений хроматографы 1, 2, 3 сначала градуируются, т.е. определяются площади пиков при вводе чистых веществ (масло, этанол, ПГС):
- хроматограф 1 градуируется по чистому маслу Б3-В (или ЛЗ-240);
- хроматограф 2 градуируется по чистому этанолу (от 96,3 до 96,6 объемных %);
- хроматограф 3 градуируется по ПГС1 (содержание CO в воздухе должно составлять от 16 до 18 ppm). Погрешность аттестации смеси +/- 2 ppm ПГС2 (содержание CO в воздухе должно составлять от 9 до 12 ppm, погрешность аттестации смеси +/- 1 ppm) служит для измерения.
Ш.1.5.1 Градуировка хроматографов и измерение концентраций контрольных веществ проводятся в одних и тех же условиях. При измерении концентрации CO используется концентратор с маркировкой "CO", через который прокачивается ПГС на установке для прокачки (см.
рисунок У.1), и затем концентратор вводится в испаритель хроматографа 3. При измерении концентраций масла, этанола и поверочных смесей проба вводится в концентратор с маркировкой "М" при помощи микрошприца и затем соответствующий концентратор помещается в испаритель соответствующего хроматографа 1 и 2.
Ш.1.5.2 Чистые вещества (градуировочные) и измеряемая контрольная (поверочная) смесь анализируются не менее трех раз.
По результатам измерения площадей пиков на полученных хроматограммах вычисляются их средние арифметические значения (Sгр, Sизм).
Ш.1.6 Измеренное значение массовой концентрации контрольного вещества в контрольной (поверочной) смеси вычисляется по формуле

(Ш.2)
где Cгр - массовая концентрация контрольного вещества (чистого спирта, чистого масла, ПГС1) в градуировочной смеси, г/см3;
Sизм; Sгр - среднее арифметическое значение площадей пиков для измеряемого и градуировочного компонентов в контрольной смеси, мВ·с.
При этом

(Ш.3)
где C0 - массовая доля чистого спирта или чистого масла, используемых при приготовлении смеси при данной температуре (для масла C0 = 1);

- плотность исходного чистого компонента (спирта, масла), г/см
3.
Ш.1.6.1 Массовая концентрация CO в воздухе

(градуировочная смесь ПГС1) определяется по формуле

(Ш.4)
где

- массовая концентрация CO в воздухе, г/см
3;
Кп - коэффициент перевода объемной доли CO в массовую концентрацию (из паспорта на ПГС1);
QПГС1 - объемная доля CO в воздухе (из паспорта на ПГС1), ppm.
Ш.1.6.2 Перед выполнением измерений проводится регенерация колонок хроматографов и концентраторов, используемых при градуировке.
Ш.1.6.3 Массовое содержание компонентов в поверочной смеси Рсм определяется по формуле

(Ш.5)
где Рсм - массовое содержание компонента в поверочной смеси, %;
m1 - масса пустой бюксы, г;
m2 - масса бюксы со спиртом (маслом), г;
m3 - масса бюксы со смесью: этанола в воде или масла в спирте, г.
Ш.1.6.4 Массовая концентрация контрольного вещества в поверочной смеси Cк (приготовленной весовым методом) определяется по формулам:

(Ш.6)

(Ш.7)
где Cк - массовая концентрация этанола (масла Б3-В) в смеси, г/см3;

- плотность полученной поверочной смеси, г/см
3.
Ш.1.6.5 Массовая концентрация CO в поверочной (контрольной) смеси ПГС2 определяется по формуле

(Ш.8)
где

- массовая концентрация CO в ПГС2, г/см
3;
Кп, QПГС2 - из паспорта на ПГС2.
Ш.1.7 Исходные данные, измеренные значения концентраций контрольных веществ и площадей пиков заносятся в
таблицу Ш.1.
Наименование смеси | Градуировочная смесь | Измеренное значение | Контрольная смесь |
концентрация Cгр, г/м3 | среднее арифметическое значение площадей пиков Sгр, мВ·с | концентрация Cизм, г/м3 | среднее арифметическое значение площадей пиков Sизм, мВ·с | концентрация Cк, г/м3 | погрешность измерения, % |
ПГС | | | | | | |
Контрольная смесь масла в спирте | | | | | | |
Контрольная смесь спирта в воде | | | | | | |
Примечания:
1. В
таблице Ш.1 должны быть представлены результаты измерений средних арифметических значений площадей пиков, параметры контрольных веществ и поверочных смесей.
Пределы допустимой погрешности приготовления контрольных смесей должны составлять +/- 1,5%.
Пределы допустимой погрешности аттестации контрольной смеси CO должны составлять +/- 11%.
2. Контроль точности измерений концентраций проводить:
- для масла Б-3В и этанола - один раз в квартал;
- для окиси углерода - один раз в 6 месяцев.
3. Номинальные значения концентраций контрольных веществ в градуировочной и поверочной смесях должны лежать в линейном диапазоне соответствующей системы детектирования хроматографа.
Ш.2 При положительных результатах поверки представителем ведомственной метрологической службы должна производиться следующая запись в формуляре СОП:
- факт выполнения поверки (градуировки);
- пригодность системы к эксплуатации;
- срок следующей поверки (градуировки).
(справочное)
ОБРАЗЦЫ ТИПОВЫХ ХРОМАТОГРАММ,
ПОЛУЧЕННЫХ В РЕЗУЛЬТАТЕ ГАЗОХРОМАТОГРАФИЧЕСКОГО АНАЛИЗА
Градуировочные хроматограммы чистых веществ (ПГС, керосина, масла Б-3В и этанола) приведены на
рисунках Щ.1 -
Щ.4.
Объем пробы ПГС, пропущенной через концентратор, ~= 1 л.
Содержание CO в ПГС - 18,7 мг/м3. Время анализа 7 мин.
Рисунок Щ.1 - Градуировочная хроматограмма
пробы ПГС (CO в воздухе)
Объем пробы (дозы), введенный микрошприцем в концентратор, - 0,3 мкл.
Сумма площадей пиков 24305642 мкВ·с. Время анализа 20 мин.
Рисунок Щ.2 - Градуировочная хроматограмма
пробы керосина ТС-1
Объем пробы (дозы), введенный микрошприцем в концентратор, - 0,3 мкл.
Сумма площадей пиков 20414673 мкВ·с. Время анализа 40 мин.
Рисунок Щ.3 - Градуировочная хроматограмма
пробы масла Б-3В
Объем пробы (доза), введенный микрошприцем в концентратор, - 0,3 мкл.
Площадь пика 9206873 мкВ·с. Время анализа 12 мин.
Рисунок Щ.4 - Градуировочная хроматограмма пробы этанола
Хроматограммы проб воздуха, отобранные из компрессора ГТД на различных режимах отбора, а также хроматограммы проб воздуха на входе в ГТД (фон), приведены на
рисунках Щ.5 -
Щ.9.
Содержание CO в пробе - 8,7 мг/м3. В ГТД использовано масло Б-3В.
Время анализа - 7 мин.
Рисунок Щ.5 - Хроматограмма пробы воздуха
из компрессора ГТД, отобранная на режиме ЗМГ
Режим отбора пробы - приемистость с МГ до М.
Содержание паров топлива в пробе - 52 мг/м3.
Содержание паров и аэрозоля масла в пробе - 2,02 мг/м3.
Содержание ТКФ в пробе - 0,48 мг/м3.
В ГТД использовалось масло ЛЗ-240. Время анализа 40 мин.
Рисунок Щ.6 - Хроматограмма пробы воздуха
из компрессора ГТД
Режим отбора пробы - МП.
Содержание паров топлива в пробе - 89 мг/м3.
Содержание паров и аэрозоля масла - 1,57 мг/м3. Время анализа 40 мин.
Рисунок Щ.7 - Хроматограмма пробы воздуха
на входе в ГТД (фон)
Режим отбора пробы - КР.
Содержание паров топлива в пробе - 74 мг/м3.
Содержание паров и аэрозоля масла в пробе - 2,43 мг/м3.
Содержание ТКФ в пробе - 0,76 мг/м3.
В ГТД использовалось масло ВНИИНП-50-1-4у. Время анализа 40 мин.
Рисунок Щ.8 - Хроматограмма пробы воздуха
из компрессора ГТД
Режим отбора пробы - приемистость с МГ до М.
Содержание этанола не нормируется.
Содержание ацетона в пробе - 69,7 мг/м3.
Содержание бензола в пробе - 26,4 мг/м3.
В ГТД использовалось масло ВНИИНП-50-1-4у. Время анализа 20 мин.
Рисунок Щ.9 - Хроматограмма пробы воздуха
из компрессора ГТД
Хроматограммы представлены в виде копий с экрана монитора в реальном масштабе времени.
По горизонтальной оси (ось времени) показано время анализа в минутах.
По вертикальной оси показана амплитуда сигнала детектора хроматографа в мкВ.
(обязательное)
об аттестации МВИ
N 62-99
Методика выполнения измерений концентрации продуктов
──────────────────────────────────────────────────────────────────
наименование измеряемой величины
термоокислительного процесса разложения
───────────────────────────────────────────────────────────────────────────
при необходимости указывают объект и метод измерений
авиационных масел в воздухе
───────────────────────────────────────────────────────────────────────────
разработанная АООТ "ММП им. В.В. Чернышева", ЛИИ им. М.М. Громова
────────────────────────────────────────────────────────────,
наименование организации (предприятия), разработавшей МВИ
регламентированная в Методических указаниях МУ 1.1.258-99
─────────────────────────────────────────────────────,
обозначение и наименование документа
Аттестация осуществлена по результатам метрологической экспертизы
────────────────────────────────────
вид работ:
материалов по разработке методики выполнения измерений
───────────────────────────────────────────────────────────────────────────
"Двигатели газотурбинные авиационные. Порядок отбора и
───────────────────────────────────────────────────────────────────────────
газохроматографического анализа проб воздуха из компрессора
───────────────────────────────────────────────────────────────────────────
метрологическая экспертиза материалов по разработке МВИ, теоретическое
двигателя при стендовых испытаниях"
───────────────────────────────────────────────────────────────────────────
или экспериментальное исследование МВИ, другие виды работ
───────────────────────────────────────────────────────────────────────────
───────────────────────────────────────────────────────────────────────────
───────────────────────────────────────────────────────────────────────────
В результате аттестации установлено, что МВИ соответствует
предъявляемым к ней метрологическим требованиям и обладает следующими
основными метрологическими характеристиками:
N п/п | Наименование компонента (продукта термоокислительного процесса разложения авиационных масел в воздухе) | Диапазон измерений концентрации в воздухе, мг/м3 | Предельная относительная погрешность, % |
1 | Пары топлива | От 0 до 300,0 | +/- 25 |
2 | Пары и аэрозоль масла: | |
а) синтетические масла | От 0 до 2,0 |
б) минеральные масла | От 0 до 5,0 |
в) ТКФ | От 0 до 0,5 |
3 | Окись углерода | От 0 до 20,0 |
4 | Формальдегид (метаналь) | От 0 до 0,4 |
5 | Акролеин | От 0 до 0,2 |
6 | Бензол | От 0 до 5,0 |
7 | Толуол | От 0 до 50,0 |
8 | Ацетон | От 0 до 200,0 |
Зам. генерального директора Э.И. Лаптиев
Подпись лица, проводившего аттестацию В.А. Брюханов
___________________________ ______________________________
подпись фамилия и. о.
"13" апреля 1999 г.
───────────────────────────────────────────────────────────────────────────
Ростест-Москва является органом Государственной метрологической службы
Госстандарта России на территории г. Москвы и Московской области.
───────────────────────────────────────────────────────────────────────────
117418 Москва тел.: (095) 332-9818, 129-2800
─────────────────────────────────────────────────── Бланк N 4605
Нахимовсхий проспект 31 факс: (095) 124-99-96
телетайп 207036 Сатон
(справочное)
МЕТОДИКА ОПРЕДЕЛЕНИЯ КОНЦЕНТРАЦИЙ ОКИСИ УГЛЕРОДА
НА ХРОМАТОГРАФЕ С ДИП
Ю.1 Метод измерения
Ю.1.1 Методика предназначена для определения массовой концентрации окиси углерода в пробах воздуха, отбираемых от компрессора ГТД, в диапазоне от 0,2 до 30 мг/м3.
Ю.1.2 Метод основан на хроматографическом разделении окиси углерода и сопутствующих компонентов на колонне с молекулярными ситами, конверсии окиси углерода в метан в присутствии нихромового катализатора и водорода и детектирования метана ДИП без предварительного концентрирования.
Ю.2 Средства измерений, вспомогательные
устройства, материалы и реактивы
Ю.2.1 При выполнении измерений следует применять следующие средства измерений, вспомогательные устройства, материалы и реактивы:
средства измерений:
- газовый хроматограф с ДИП;
- система газоснабжения;
вспомогательные устройства:
- стальная хроматографическая колонна длиной 2 м с внутренним диаметром 2 мм;
- метанатор - трубка из нержавеющей стали длиной 25 см, с внутренним диаметром 4 мм;
материалы:
- гелий или азот сжатый;
- водород;
- воздух сжатый;
- вата стеклянная;
- нихромовая проволока марки Х20Н80;
реактивы:
- стандартная аттестованная смесь окиси углерода (поверочная газовая смесь) с воздухом или азотом с концентрациями от 10 до 80 мг/м3;
- сита молекулярные CaA.
Ю.2.1.1 Ссылки на нормативные документы для указанных реактивов см.
раздел 2 настоящих МУ.
Ю.3 Требования безопасности
Ю.3.1 Все работы, связанные с использованием окиси углерода, следует проводить с включенной вытяжной вентиляцией. Обеспечение безопасности работ - см.
раздел 16 настоящих МУ.
Ю.4 Требования к обслуживающему персоналу
Ю.4.1 Требования к обслуживающему персоналу - см.
раздел 17 настоящих МУ.
Ю.5 Подготовительные работы
Ю.5.1 Перед выполнением измерений должны быть проведены следующие работы:
- подготовка разделительной колонны;
- подготовка метанатора;
- отбор проб воздуха.
Ю.5.2 Для подготовки стальной разделительной колонны ее следует промыть несколько раз водой, затем бензолом, гексаном, ацетоном, после чего высушить гелием или азотом для удаления паров растворителей.
Молекулярные сита CaA необходимо измельчить, отсеять фракцию от 0,25 до 0,5 мм и прокалить при температуре 350 °C в течение 4 ч. Охлажденным в эксикаторе адсорбентом заполнить колонну.
Ю.5.3 Для подготовки метанатора нихромовую проволоку диаметром от 0,15 до 0,25 мм следует нарезать кусочками длиной до 3 мм и прокалить в муфельной печи при температуре 1000 °C в течение 2 ч. Охлажденным в эксикаторе катализатором следует заполнить метанатор, концы которого необходимо закрыть пробками из стекловаты.
Метанатор следует поместить под верхний кожух ДИП. Собирают газовую схему согласно
рисунку Ю.1. Для этого к выходу колонны 6 подсоединяют смеситель 5 из нержавеющей стали, к которому подводят водород, и соединяют смеситель с одним из концов метанатора 1. Второй конец метанатора соединяют с детектором 3. Свободный конец штуцера детектора закрывают заглушкой 2. На
рисунке Ю.1 пунктиром показана газовая линия колонны 4 для анализа проб воздуха на содержание паров масла, топлива, ТКФ. При проведении анализа на содержание окиси углерода в колонну 4 подается газ-носитель (гелий или азот), а к детектору подводится водород и производится его поджиг, либо необходимо заглушить подвод водорода к детектору. На данном хроматографе может проводиться только анализ проб воздуха на содержание окиси углерода (используется колонна 6) или только анализ на содержание паров масла, топлива, ТКФ (используется колонна 4).
1 - метанатор; 2 - заглушка; 3 - ДИП; 4 - колонна
с адсорбентом 5% масла OV-101; 5 - смеситель; 6 - колонна
с CaA; 7 - концентратор; 8 - испаритель
Рисунок Ю.1 - Схема соединений газовых магистралей
хроматографа ЛХМ-80 для анализа на содержание CO
Ю.5.3.1 Перед началом работы адсорбент колонны 6 следует активировать при температуре испарителя и колонны 300 °C, а катализатор метанатора - активировать в токе водорода при температуре 325 °C в течение 6 ч (нагрев метанатора обеспечивается термостатом детектора).
Ю.5.4 Отбор проб воздуха из компрессора ГТД для анализа на содержание окиси углерода следует производить, как указано в
разделе 6 настоящих МУ.
Ю.6 Анализ проб воздуха на содержание окиси углерода
Ю.6.1 Анализ проб воздуха на содержание окиси углерода следует проводить с использованием колонны, заполненной CaA, при условиях, указанных в
таблице Ю.1.
Условия проведения анализа | Параметр |
Адсорбент | Молекулярные сита CaA |
Температура термостата (колонны), °C | 80 |
Температура испарителя, °C | 300 |
Температура метанатора (ДИП), °C | От 230 до 240 |
Газ-носитель | Гелий или азот |
Расход газа-носителя, см3/мин | От 30 до 40 |
Расход водорода, см3/мин | От 30 до 40 |
Расход воздуха, см3/мин | 300 |
Чувствительность блока ИМТ-0,5 при обработке площади пика на компьютере или интеграторе, А | 5 x 10-10 |
Ю.6.2 Необходимо включить хроматограф до начала анализа за 1,5 - 2 ч, выйти на режим анализа. Выход на режим определяется стабильной линией сигнала детектора.
Ю.6.3 Следует выполнить следующие работы:
- отвернуть радиатор испарителя;
- извлечь концентратор с маркировкой "CO" с отобранной пробой воздуха из контейнера и поместить в инжектор испарителя конусной частью вниз до упора в колонну;
- завернуть от руки радиатор;
- включить секундомер или автоматизированную систему регистрации сигнала детектора.
При условиях, указанных в
таблице Ю.1, время удерживания окиси углерода составляет от 1,5 до 2,5 мин.
Ю.6.4 После проведения анализов отобранных проб воздуха следует выполнить работы, указанные в
13.5 -
13.9 настоящих МУ.
Ю.7 Градуировка хроматографа
Ю.7.1 Градуировку хроматографа с ДИП, газовые линии которого собраны по схеме, приведенной на
рисунке Ю.1, следует производить: один раз в год, в случае замены детектора или колонны, а также каждый раз после отбора серии проб воздуха на содержание окиси углерода на двигателе.
При выполнении градуировок следует использовать те же концентраторы, которые применялись для отбора проб воздуха (с маркировкой "CO").
Ю.7.2 Хроматограф следует градуировать с помощью ПГС. На вход хроматографа (в инжектор испарителя) необходимо устанавливать не менее 10 раз концентратор, через который пропущена ПГС объемом до 1000 см3.
Ю.7.4 Градуировку хроматографа с ДИП следует проводить при условиях, указанных в
таблице Ю.1.
ЛИСТ РЕГИСТРАЦИИ ИЗМЕНЕНИЙ
Номер изменения | Номер листа (страницы) | Номер документа | Подпись | Дата внесения изм. | Дата введения изм. |
измененного | замененного | нового | аннулированного |
| | | | | | | | |
Переиздан с учетом изменения 1 | | | | | |
| | | | | | | | |