Главная // Актуальные документы // Актуальные документы (обновление с 29.09.2025 по 01.11.2025) // ГОСТ Р (Государственный стандарт)СПРАВКА
Источник публикации
М.: ФГБУ "Институт стандартизации", 2025
Примечание к документу
Документ
введен в действие с 01.09.2025.
Название документа
"ГОСТ Р 72208-2025. Национальный стандарт Российской Федерации. Система предварительного напряжения конструкций натяжением на бетон. Технические условия"
(утв. и введен в действие Приказом Росстандарта от 16.07.2025 N 764-ст)
"ГОСТ Р 72208-2025. Национальный стандарт Российской Федерации. Система предварительного напряжения конструкций натяжением на бетон. Технические условия"
(утв. и введен в действие Приказом Росстандарта от 16.07.2025 N 764-ст)
Утвержден и введен в действие
агентства по техническому
регулированию и метрологии
от 16 июля 2025 г. N 764-ст
НАЦИОНАЛЬНЫЙ СТАНДАРТ РОССИЙСКОЙ ФЕДЕРАЦИИ
СИСТЕМА ПРЕДВАРИТЕЛЬНОГО НАПРЯЖЕНИЯ КОНСТРУКЦИЙ
НАТЯЖЕНИЕМ НА БЕТОН
ТЕХНИЧЕСКИЕ УСЛОВИЯ
Post-tensioning systems. Specifications
ГОСТ Р 72208-2025
Дата введения
1 сентября 2025 года
1 РАЗРАБОТАН Обществом с ограниченной ответственностью "СТС" (ООО "СТС")
2 ВНЕСЕН Техническим комитетом по стандартизации ТК 465 "Строительство"
3 УТВЕРЖДЕН И ВВЕДЕН В ДЕЙСТВИЕ
Приказом Федерального агентства по техническому регулированию и метрологии от 16 июля 2025 г. N 764-ст
4 В настоящем стандарте учтены основные нормативные положения следующих европейских стандартов:
- ЕН 523:2003 "Оболочки из стальной ленты для предварительно напряженной арматуры. Терминология, требования и соответствие" (EN 523:2003 "Steel strip sheaths for prestressing tendons - Terminology, requirements, quality control", NEQ);
- EH 445:2007 "Раствор строительный жидкий для напрягаемых арматурных элементов. Методы испытаний" (EN 445:2007 "Grout for prestressing tendons - Test methods"; NEQ)
5 ВВЕДЕН ВПЕРВЫЕ
Правила применения настоящего стандарта установлены в статье 26 Федерального закона от 29 июня 2015 г. N 162-ФЗ "О стандартизации в Российской Федерации". Информация об изменениях к настоящему стандарту публикуется в ежегодном (по состоянию на 1 января текущего года) информационном указателе "Национальные стандарты", а официальный текст изменений и поправок - в ежемесячном информационном указателе "Национальные стандарты". В случае пересмотра (замены) или отмены настоящего стандарта соответствующее уведомление будет опубликовано в ближайшем выпуске ежемесячного информационного указателя "Национальные стандарты". Соответствующая информация, уведомление и тексты размещаются также в информационной системе общего пользования -
на официальном сайте Федерального агентства по техническому регулированию и метрологии в сети Интернет (www.rst.gov.ru)
Настоящий стандарт распространяется на элементы систем предварительного напряжения строительных конструкций натяжением на бетон с применением стальных арматурных семипроволочных канатов (прядей) и пучков из них при индивидуальном закреплении каждой пряди и устанавливает технические требования к разработке, маркировке, упаковке, приемке, транспортированию и хранению, а также к совместимости элементов друг с другом.
Требования настоящего стандарта распространяются на элементы системы предварительного напряжения строительных конструкций натяжением на бетон при температуре эксплуатации от минус 165 °C до плюс 60 °C при краткосрочном (не более 2 ч) действии повышенной температуры не выше 100 °C, при усилии натяжения прядей не более 80% гарантированного разрывного усилия.
Настоящий стандарт не распространяется на элементы системы предварительного напряжения строительных конструкций натяжением на бетон с применением пучков из проволок и на элементы системы предварительного напряжения строительных конструкций натяжением на упоры.
В настоящем стандарте использованы нормативные ссылки на следующие документы:
ГОСТ 15.309-98 Система разработки и постановки продукции на производство. Испытания и приемка выпускаемой продукции. Основные положения
ГОСТ 25.503 Расчеты и испытания на прочность. Методы механических испытаний металлов. Метод испытания на сжатие
ГОСТ 166 (ИСО 3599-76) Штангенциркули. Технические условия
ГОСТ 380 Сталь углеродистая обыкновенного качества. Марки
ГОСТ 427 Линейки измерительные металлические. Технические условия
ГОСТ 503 Лента холоднокатаная из низкоуглеродистой стали. Технические условия
ГОСТ 977 Отливки стальные. Общие технические условия
ГОСТ 1050 Металлопродукция из нелегированных конструкционных качественных и специальных сталей. Общие технические условия
ГОСТ 1414 Прокат из конструкционной стали высокой обрабатываемости резанием. Технические условия
ГОСТ 1497 Металлы. Методы испытаний на растяжения
ГОСТ 4543 Металлопродукция из конструкционной легированной стали. Технические условия
ГОСТ 6824 Глицерин дистиллированный. Общие технические условия
ГОСТ 7293 Чугун с шаровидным графитом для отливок. Марки
ГОСТ 7502 Рулетки измерительные металлические. Технические условия
ГОСТ 9012 (ИСО 410-82, ИСО 6506-81) Металлы. Метод измерения твердости по Бринеллю
ГОСТ 9013 (ИСО 6508-86) Металлы. Метод измерения твердости по Роквеллу
ГОСТ 9378 (ИСО 2632-1-85, ИСО 2632-2-85) Образцы шероховатости поверхности (сравнения). Общие технические условия
ГОСТ 9454 Металлы. Метод испытания на ударный изгиб при пониженных, комнатной и повышенных температурах
ГОСТ 10180 Бетоны. Методы определения прочности по контрольным образцам
ГОСТ 12004 Сталь арматурная. Методы испытания на растяжение
ГОСТ 13840 Канаты стальные арматурные 1 x 7. Технические условия
ГОСТ 14918 Прокат листовой горячеоцинкованный. Технические условия
ГОСТ 14959 Металлопродукция из рессорно-пружинной нелегированной и легированной стали. Технические условия
ГОСТ 15150 Машины, приборы и другие технические изделия. Исполнения для различных климатических районов. Категории, условия эксплуатации, хранения и транспортирования в части воздействия климатических факторов внешней среды
ГОСТ 19281 Прокат повышенной прочности. Общие технические условия
ГОСТ 19300 Средства измерений шероховатости поверхности профильным методом. Профилографы-профилометры контактные. Типы и основные параметры
ГОСТ 22848 Металлы. Метод испытания на ударный изгиб при температурах от минус 100 °C до минус 269 °C
ГОСТ 23117 Зажимы и муфты для натяжения арматуры предварительно напряженных железобетонных конструкций. Технические условия
ГОСТ 23732 Вода для бетонов и строительных растворов. Технические условия
ГОСТ 25706 Лупы. Типы, основные параметры. Общие технические требования
ГОСТ 27208 Отливки из чугуна. Методы механических испытаний
ГОСТ 30744 Цементы. Методы испытаний с использованием полифракционного песка
ГОСТ 31108 Цементы общестроительные. Технические условия
ГОСТ 31384 Защита бетонных и железобетонных конструкций от коррозии. Общие технические требования
ГОСТ 33260 Арматура трубопроводная. Металлы, применяемые в арматуростроении. Основные требования к выбору материалов
ГОСТ 34028 Прокат арматурный для железобетонных конструкций. Технические условия
ГОСТ ISO/IEC 17025 Общие требования к компетентности испытательных и калибровочных лабораторий
ГОСТ Р 15.301 Система разработки и постановки продукции на производство. Продукция производственно-технического назначения. Порядок разработки и постановки продукции на производство
ГОСТ Р 53772-2010 Канаты стальные арматурные семипроволочные стабилизированные. Технические условия
ГОСТ Р 58028/EN 14620-3:2006 Проектирование и производство на месте вертикальных цилиндрических стальных емкостей с плоским дном для хранения охлажденных сжиженных газов с рабочей температурой от 0 °C до -165 °C. Часть 3. Компоненты бетона
ГОСТ Р 58386 Канаты защищенные в оболочке для предварительно напряженных конструкций. Технические условия
ГОСТ Р 58915 Прокат толстолистовой из криогенных сталей. Технические условия
ГОСТ Р ИСО 6507-1 Металлы и сплавы. Измерение твердости по Виккерсу. Часть 1. Метод измерения
ГОСТ Р ИСО 10360-5 Характеристики изделий геометрические. Приемочные и перепроверочные испытания координатно-измерительных машин. Координатно-измерительные машины, использующие одно- и многощуповые контактные зондирующие системы
СП 63.13330 "СНиП 52-01-2003 Бетонные и железобетонные конструкции. Основные положения"
Примечание - При пользовании настоящим стандартом целесообразно проверить действие ссылочных стандартов (сводов правил) в информационной системе общего пользования - на официальном сайте Федерального агентства по техническому регулированию и метрологии в сети Интернет или по ежегодному информационному указателю "Национальные стандарты", который опубликован по состоянию на 1 января текущего года, и по выпускам ежемесячного информационного указателя "Национальные стандарты" за текущий год. Если заменен ссылочный документ, на который дана недатированная ссылка, то рекомендуется использовать действующую версию этого документа с учетом всех внесенных в данную версию изменений. Если заменен ссылочный документ, на который дана датированная ссылка, то рекомендуется использовать версию этого документа с указанным выше годом утверждения (принятия). Если после утверждения настоящего стандарта в ссылочный документ, на который дана датированная ссылка, внесено изменение, затрагивающее положение, на которое дана ссылка, то это положение рекомендуется применять без учета данного изменения. Если ссылочный документ отменен без замены, то положение, в котором дана ссылка на него, рекомендуется применять в части, не затрагивающей эту ссылку. Сведения о действии сводов правил целесообразно проверить в Федеральном информационном фонде стандартов.
В настоящем стандарте применены следующие термины с соответствующими определениями:
3.1 абсолютная минимальная температура воздуха: Минимальный предел, достигший температуры воздуха в районе строительства.
3.2 анкер: Механическое устройство, состоящее из нескольких изделий и предназначенное для закрепления концов натянутых прядей и передачи усилия натяжения с прядей на строительную конструкцию.
3.3 анкер активный: Анкер, на котором выполняется натяжение прядей или пучка с помощью оборудования.
3.4 анкер пассивный: Анкер, на котором не выполняется натяжение прядей или пучка с помощью оборудования, может быть бетонируемым или устанавливаемым так же, как и активный анкер.
3.5 бетонируемый каркасный анкер: Механическое устройство на конце пучка, сформированное с помощью специального оборудования из проволок прядей, при этом передача усилия натяжения прядей пучка на бетон осуществляется за счет сцепления изогнутых проволок каркасов, а также поверхностей прядей на отогнутых прямолинейных участках после их выхода из каналообразователя.
Примечание - Анкер формируется до бетонирования, в его состав входят втулка, каркас из отдельных проволок пряди и силовое кольцо. Анкер применяют только в качестве пассивного анкера.
3.6 бетонируемый обжимной анкер: Механическое устройство в виде муфт специальной конструкции на концах прядей пучка, обжатых с помощью специального оборудования и опирающихся на систему пластин, имеющих отверстия для пропуска прядей, при этом передача усилия натяжения прядей на бетон осуществляется за счет опирания обжимных муфт на пластины.
Примечание - Анкер формируется до бетонирования строительной конструкции, в его состав входят обжимные муфты, проволочная спираль, пластины и силовое кольцо. Анкер применяют только в качестве пассивного.
3.7 внешнее расположение элементов системы предварительного напряжения: Расположение прядей или пучка вне сечения железобетонной или стальной конструкции, в том числе при усилении.
3.8 гарантированное усилие разрыва пряди: Минимальное усилие разрыва пряди, указанное в стандарте на прядь.
3.9 гарантированное усилие разрыва пучка: Произведение количества прядей в пучке на гарантированное усилие разрыва пряди.
3.10 инъецирование: Заполнение каналов, образованных каналообразователями, инъекционным раствором, выполняющееся под давлением.
3.11 каналообразователь: Гладкая или гофрированная труба круглого или иного замкнутого сечения, предназначенная для образования в железобетонной конструкции закрытого канала, для размещения в нем пучка, при этом каналообразователь, как правило, не извлекается из железобетонной конструкции после бетонирования.
3.12 клиновой зажим: Часть анкера в виде усеченного конуса с центрально расположенным отверстием, состоящая из нескольких частей (лепестков), обеспечивающая закрепление натянутой пряди в конусном отверстии обоймы или стыка.
3.13 косвенное армирование: Система элементов, состоящая из стержней ненапрягаемой арматуры в зоне передачи усилия предварительного натяжения с опорного стакана или плиты на бетон.
3.14 нагрузка при условном пределе текучести пряди: Нагрузка при условном пределе текучести, установленная в стандарте на пряди.
3.15 натяжение на бетон: Натяжение пряди или пучка после бетонирования железобетонной конструкции и набора прочности бетоном.
3.16 натяжение на упоры: Натяжение прядей или пучка до бетонирования железобетонной конструкции.
3.17 нормальные климатические условия испытаний: Условия испытаний при следующих значениях климатических факторов внешней среды при испытаниях изделий:
- температура - плюс (25 +/- 10) °C;
- относительная влажность воздуха - от 45% до 80%;
- атмосферное давление - от 84,0 до 106,7 кПа (от 630 до 800 мм рт. ст.).
3.18 обжимная муфта: Цилиндрическая стальная втулка, опрессованная вместе с проволочной спиралью на пряди и обеспечивающая закрепление прядей опиранием на обойму, стык или на пластину бетонируемого обжимного анкера.
3.19 обойма: Часть анкера, удерживающая одну или несколько прядей с помощью клиновых зажимов или обжимных муфт и передающая нагрузку предварительного напряжения на закладной опорный элемент.
3.20 опорная плита: Часть анкера - закладной опорный элемент в виде плиты, передающий нагрузку от обоймы на конструкцию.
3.21 опорный стакан: Часть анкера - закладной опорный элемент сложной геометрической формы, передающий нагрузку от обоймы на конструкцию.
3.22 относительная погрешность: Отношение абсолютной погрешности измерительного прибора к истинному значению измеряемой им величины.
3.23 относительное равномерное удлинение после разрыва: Отношение приращения расчетной длины образца после разрыва на участке, не включающем место разрыва, к начальной расчетной длине, выраженное в процентах от начальной расчетной длины.
3.24 переходник: Часть анкера, обеспечивающая формирование канала от внутреннего диаметра стакана (плиты) до внутреннего диаметра каналообразователя.
3.25 полное относительное удлинение прядей при измеренном максимальном усилии: Отношение приращения расчетной длины образца к начальной расчетной длине, определяемое в момент начала снижения наибольшей нагрузки, предшествующей разрушению, и выраженное в процентах от начальной расчетной длины.
3.26 приведенная погрешность: Отношение погрешности измерительного прибора к нормируемому значению.
3.27 прочность зоны передачи нагрузки на бетон: Прочность бетона и элементов системы предварительного напряжения строительных конструкций в зоне передачи нагрузки на бетон.
3.28 прядь: Семипроволочная арматурная прядь (канат), состоящая(ий) из центральной проволоки и шести проволок наружного слоя, свитых по спирали.
3.29 пучок: Совокупность прядей, закрепляемых в одном анкере.
3.30 размах напряжений: Диапазон между минимальным и максимальным значениями напряжений.
3.31 силовое кольцо: Стальное кольцо, расположенное на каналообразователе перед входом в него арматурного пучка от бетонируемых анкеров и стыков.
3.32 система предварительного напряжения: Система, включающая пряди, анкеры, опорные элементы, обеспечивающие передачу давления с анкера на бетон, косвенное армирование для восприятия бетоном усилий давления, соединительные муфты, элементы, используемые для обеспечения возможности натяжения после набора прочности бетоном (каналообразователи, пустотообразователи или изоляцию), оборудование для установки напрягаемых элементов в строительную конструкцию и для натяжения арматурных элементов и инъецирования каналов после натяжения, а также технология всех видов работ, связанных с предварительным натяжением, данные для проектирования строительных конструкций и методы контроля этапов работ.
3.33 система предварительного напряжения без сцепления с бетоном: Тип системы предварительного напряжения, в котором пряди имеют возможность перемещения между анкерами относительно строительной конструкции.
3.34 система предварительного напряжения со сцеплением с бетоном: Тип системы предварительного напряжения, в котором после инъецирования каналов пряди не имеют возможности перемещения между анкерами относительно строительной конструкции за счет сцепления с раствором.
3.35 стык: Часть анкера, удерживающая один или несколько напрягаемых элементов с помощью клиновых зажимов или обжимных муфт и передающая нагрузку предварительного напряжения на закладной опорный элемент, а также служащая для закрепления пассивных концов прядей, которые будут установлены и натянуты в последующей секции бетонирования строительной конструкции.
3.36 температура воздуха наиболее холодной пятидневки: Температура, определяемая по средним суточным температурам воздуха скользящим осреднением за период 5 сут.
3.37 фактическое усилие разрыва пряди: Усилие разрыва, определенное при испытаниях пряди на растяжение при нормальных климатических условиях.
3.38 усилие разрыва пучка при фактической прочности прядей: Произведение количества прядей в пучке на фактическое усилие разрыва одной пряди при нормальных климатических условиях.
Примечание - Значение данного показателя определяют по
А.1.2.
4 Обозначения и сокращения
В настоящем стандарте применены следующие обозначения и сокращения:
a, b - поперечные размеры призмы для испытания зоны передачи нагрузки на бетон;
Bп - передаточный класс бетона по прочности на сжатие;
Bф - фактический класс бетона по прочности на сжатие;
c - защитный слой бетона косвенного армирования в железобетонной конструкции;
cк - зазор между муфтой и каналообразователем;
d1 - внутренний диаметр каналообразователей;
d1c - внутренний диаметр муфт каналообразователей;
dp - диаметр калибра, равный 0,95d1;
ex, ey - краевые расстояния анкеров;
F - текущее усилие при испытании;
F1 - усилие смятия каналообразователей;
F2 - усилие на осевое растяжение каналообразователей;
Fpk - гарантированное усилие разрыва пучка;
Fpl - условное усилие текучести каналообразователей;
FTu - максимальное измеренное усилие;
h - высота гофры каналообразователей, высота железобетонной конструкции, высота призмы, высота балки для испытаний;
l - длина образца каналообразователя;
l1 - длина перехлеста каналообразователя;
n - номер цикла нагружения;
n' - уменьшенное количество прядей для испытаний на усталость;
np - количество прядей в пучке;
N - число типов образцов-представителей серии по количеству прядей для квалификационных испытаний;
P0,1cr - нагрузка при условном пределе текучести пряди при низкой температуре;
Pp0,1k - нагрузка при условном пределе текучести пряди;
Ppk - гарантированное усилие разрыва пряди;
Ppm - фактическое усилие разрыва пряди;
Rm - фактическая прочность бетона на сжатие;
Rт - требуемая прочность бетона на сжатие для данного передаточного класса бетона на сжатие;
Rmin - минимальный радиус расположения пучка;
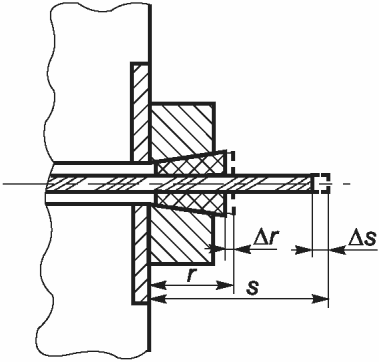
r - положение клиновых зажимов (обжимных муфт, если применимо); радиус заготовки для испытания на гибкость;
r1 - количество полных окружностей отверстий в обойме с минимальным количеством прядей серии (но не менее двух);
r2 - количество окружностей отверстий в обойме с максимальным количеством прядей;
s - положение выпусков прядей;
t - толщина ленты или проката для изготовления гофрированных каналообразователей;
Tк - квалификационная температура;
wn - ширина раскрытия трещины на n-ом цикле нагружения;
x, y - межцентровые расстояния анкеров;

- угол отклонения пряди;

- изменение положения выпусков прядей между соседними ступенями нагружения;

- изменение положения клиновых зажимов (обжимных муфт, если применимо) между соседними ступенями нагружения;

- деформация обоймы в радиальном направлении;

- деформация обоймы относительно опорной плиты;

- относительное удлинение после разрыва;

- относительная деформация призмы на
n-ом цикле нагружения;

- полное относительное удлинение прядей при максимальном измеренном усилии
FTu;

- относительное сужение;
КД - конструкторская документация;
НКУ - нормальные климатические условия;
СПН - система предварительного напряжения строительных конструкций.
5.1 Классификация элементов СПН предусмотрена по следующим признакам:
- по совместной работе со строительной конструкцией;
- способу закрепления прядей в анкере;
- количеству прядей в анкерах;
- диаметру, типу и прочности прядей;
- температурному режиму эксплуатации;
- типу закладного опорного элемента.
5.2 По признаку совместной работы со строительной конструкцией элементы СПН подразделяют на типы:
- со сцеплением с бетоном - в железобетонных и сталежелезобетонных конструкциях;
- без сцепления с бетоном - в строительных конструкциях, где требуется применение предварительного напряжения.
При внешнем расположении элементов СПН (вне сплошной части сечения строительной конструкции) к ним предъявляются требования, изложенные в настоящем стандарте и аналогичные требованиям к элементам СПН без сцепления с бетоном.
5.3 По способу закрепления прядей элементы СПН подразделяют на следующие типы:
Допускается применение комбинированных типов элементов СПН при совместном использовании различных типов крепления прядей.
Рисунок 5.1 - Эскиз варианта клинового зажима
Рисунок 5.2 - Эскиз варианта обжимной муфты
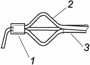
1 - втулка; 2 - каркас из проволок пряди; 3 - прядь
Рисунок 5.3 - Эскиз варианта бетонируемого каркасного анкера
5.4 Разделение элементов СПН на типы по количеству прядей в анкере принимается разработчиком СПН и устанавливается по максимально допускаемому количеству прядей для анкеров данного типа. Допускается разработка конструкции анкеров одного и того же размера для установки разного количества прядей в обойму при условии обеспечения для таких анкеров требований по прочности на растяжение и по усталостной прочности для каждого варианта по количеству прядей.
Отверстия в анкерах без натянутых прядей должны быть заполнены клиновыми зажимами с отрезками прядей.
5.5 Разделение элементов СПН по диаметру, типу и прочности прядей в анкере принимается разработчиком СПН и устанавливается по максимально допускаемому гарантированному усилию разрыва прядей для анкеров данного типа.
5.6 По температурному режиму эксплуатации элементы СПН подразделяют на следующие типы:
- в стандартных условиях - если температура элементов СПН или температура окружающего их воздуха наиболее холодной пятидневки с обеспеченностью 0,98 находится в диапазоне от минус 40 °C и выше;
- при низких температурах - если температура элементов СПН или температура окружающего их воздуха наиболее холодной пятидневки с обеспеченностью 0,98 опускается ниже минус 40 °C.
Следует различать два случая применения элементов СПН в условиях низких температур:
- краткосрочная эксплуатация при низких температурах: если температура элементов СПН один раз за срок службы сооружения или абсолютная минимальная температура воздуха (окружающего элементы СПН) опускается ниже минус 55 °C;
- нормальная эксплуатация при низких температурах: если в течение пяти последовательных дней среднесуточная температура элементов СПН или температура воздуха (окружающего элементы СПН) наиболее холодной пятидневки с обеспеченностью 0,98 опускается ниже минус 40 °C.
Температуру воздуха принимают по результатам инженерно-гидрометеорологических изысканий или по
СП 131.13330; температуру элементов СПН при отличии от температуры воздуха в меньшую сторону - по заданию заказчика элементов СПН.
5.7 По конструкции опорной закладной детали предусматривают следующие типы элементов СПН:
- с опорными стаканами и клиновыми зажимами (см.
рисунок 5.4);
- опорными плитами и обжимными муфтами (см.
рисунок 5.5);
- стыком на клиновых зажимах и/или обжимных муфтах (см.
рисунок 5.6);
1 - обойма; 2 - клиновой зажим; 3 - опорный стакан;
4 - каналообразователь; 5 - переходник
Рисунок 5.4 - Эскиз варианта анкера с опорным стаканом
и клиновыми зажимами
1 - опорная плита; 2 - обойма; 3 - обжимная муфта;
4 - переходник
Рисунок 5.5 - Эскиз варианта анкера с опорной плитой
и обжимными муфтами
1 - переходник; 2 - силовое кольцо; 3 - клиновой зажим;
4 - обжимная муфта; 5 - стык; 6 - опорный стакан;
7 - переходник
Рисунок 5.6 - Эскиз варианта анкера с опорным стаканом,
стыком, клиновыми зажимами и обжимными муфтами
(также применяется вариант только с клиновыми зажимами)
1 - втулка; 2 - силовое кольцо; 3 - прядь;
4 - каналообразователь; 5 - косвенное армирование;
6 - дополнительное армирование; 7 - каркас из проволок пряди
Рисунок 5.7 - Эскиз варианта бетонируемого каркасного анкера
1 - обжимная муфта; 2 - силовое кольцо; 3 - прядь;
4 - каналообразователь; 5 - косвенное армирование;
6 - стальная пластина
Рисунок 5.8 - Эскиз варианта бетонируемого обжимного анкера
5.8 Допускаются разработка и применение типа анкеров с опорными элементами без плоской поверхности для опирания обоймы (например, однопрядевый анкер или многопрядевый анкер, в котором совмещены опорная деталь и обойма).
5.9 Условное обозначение применяемых элементов СПН должно состоять из обозначения по следующим типам:
- по совместной работе со строительной конструкцией;
- способу закрепления прядей в анкере;
- количеству прядей в анкерах;
- диаметру, типу и прочности прядей;
- температурному режиму эксплуатации;
- типу закладного опорного элемента.
При этом стандартные температурные условия эксплуатации и опорные закладные детали в виде стаканов допускается не указывать.
5.10 Наименование примеров условного обозначения элементов СПН:
- "Элементы системы предварительного напряжения со сцеплением с бетоном с анкерами на клиновых зажимах и обжимных муфтах с 19 прядями типа 15 К7-1410
ГОСТ 13840 прочностью на разрыв 232 кН каждая";
- "Элементы системы предварительного напряжения со сцеплением с бетоном с анкерами на клиновых зажимах с 19 прядями К7-15,2-1770
ГОСТ Р 53772 прочностью на разрыв 246 кН каждая для краткосрочной эксплуатации при температуре минус 70 °C";
- "Элементы системы предварительного напряжения без сцепления с бетоном с анкерами на клиновых зажимах с 55 прядями ОБ-К7О-15,2-1860
ГОСТ Р 58386 прочностью на разрыв 307 кН каждая с опорными плитами".
6.1 Общие технические требования
6.1.1 Предварительное напряжение строительных конструкций должно обеспечиваться применением следующих элементов СПН, но не ограничиваясь:
- пряди (канаты);
- анкеры;
- каналообразователи;
- косвенное армирование (для стальных конструкций не применяется);
- инъекционный раствор (для систем без сцепления с бетоном не обязательно).
В состав активных анкеров должны входить следующие изделия (см.
рисунки 5.4,
5.5 и
5.6): опорный стакан или опорная плита, обойма и/или стык с отверстиями для прядей, клиновые зажимы, переходник. Активные анкеры также можно применять в качестве пассивных.
В пассивных анкерах с опорным закладным элементом можно использовать клиновые зажимы или обжимные муфты с проволочными спиралями.
Пассивные бетонируемые каркасные анкеры должны состоять из каркаса, образованного из проволок пряди со втулками, и из силового кольца.
В состав пассивных бетонируемых обжимных анкеров должны входить обжимные муфты с проволочными спиралями, опорная пластина и силовое кольцо.
6.1.2 Элементы СПН должны:
- обладать прочностью на растяжение, усталостной прочностью и долговечностью;
- обеспечивать надежность закрепления напрягаемых элементов в анкерах и стыках в процессе натяжения и эксплуатации;
- обеспечивать прочность и трещиностойкость зоны передачи нагрузки на бетон;
- обеспечивать совместимость элементов СПН и оборудования при монтаже, натяжении и инъецировании;
- обладать стойкостью к механическим и климатическим воздействиям при транспортировании, хранении и монтаже;
- обеспечивать коррозионную стойкость напрягаемых элементов в процессе эксплуатации строительной конструкции, а также сцепление с бетоном (при необходимости).
6.1.3 Элементы СПН должны обеспечивать прочность пучка на растяжение не менее 95%
Fpk при статическом нагружении. Разрушение должно происходить в прядях. Разрушение анкеров ранее разрушения прядей не допускается, при этом возможно образование трещин в клиновых зажимах. Полное относительное удлинение прядей при максимальном измеренном усилии должно быть не менее 2,0%. Перемещение прядей и клиновых зажимов в обойму за период времени от 30 до 60 мин после достижения нагрузки 80%
Fpk для элементов СПН со сцеплением и от 30 до 120 мин для элементов СПН без сцепления должно составлять не более чем 0,02 мм. Дополнительно для элементов СПН без сцепления деформации обойм за период времени от 30 до 120 мин после достижения нагрузки 80%
Fpk должны быть не более 0,03 мм.
6.1.4 Для СПН без сцепления с бетоном, в которых по требованию заказчика или согласно указаниям соответствующих сводов правил по проектированию должны быть выполнены проверки прядей на выносливость, должна быть обеспечена усталостная прочность пучков с обоймами (стыками) и клиновыми зажимами (обжимными муфтами) после приложения не менее 2 млн циклов нагружений при размахе напряжений не менее 125% размаха, заданного в проектной документации (но не менее 80 МПа), и при верхнем уровне усилия не менее 65%
Ppk.
Для СПН без сцепления с бетоном, в которых пряди не подлежат проверке на выносливость, а также для СПН со сцеплением с бетоном рекомендуется обеспечивать усталостную прочность пучков с обоймами (стыками) и клиновыми зажимами (обжимными муфтами) после приложения не менее 2 млн циклов нагружений при размахе напряжений не менее 80 МПа и верхнем уровне усилия не менее 65% Ppk.
После приложения 2 млн циклов нагружений суммарная площадь оборванных проволок прядей не должна быть более 5% общей площади поперечного сечения стальной части пучка, при этом не допускается разрушение анкеров, а перемещение прядей и клиновых зажимов в обойму за последние 500 000 циклов нагружения не должно быть более 0,05 мм.
6.1.5 Опорные закладные элементы и косвенное армирование должны обеспечивать прочность зоны передачи нагрузки на бетон при усилии не менее 110%
Fpk. При этом в ходе испытаний необходимо проверять стабилизацию относительных продольных и поперечных деформаций и ширины раскрытия трещин на поверхности одной грани испытательного образца.
Для анкеров, предусмотренных к установке в железобетонной конструкции с общим содержанием арматуры в зоне влияния анкеров менее 50 кг/м3, прочность зоны передачи нагрузки на бетон должна быть обеспечена при усилии не менее 130% Fpk.
Прочность зоны передачи нагрузки на бетон при использовании бетонируемых каркасных или бетонируемых обжимных анкеров должна быть обеспечена при усилии не менее 90% Fpk и при требуемой прочности бетона не более 80% Rт. Если образцы бетонируемых каркасных анкеров или бетонируемых обжимных анкеров соответствуют требованиям настоящего пункта по усилию и перемещению, но не соответствуют по ширине раскрытия трещин или стабилизации деформаций, допускается провести повторное испытание образцов без изменения их конструкции, но при прочности менее заявленного разработчиком СПН передаточного класса бетона по прочности на сжатие Bп и при максимальном усилии 80% Fpk без последующего приложения максимальной нагрузки. В таком случае, если выполнены требования по ширине раскрытия трещин и деформациям на одной грани образца, анкеры считают соответствующими настоящему стандарту. Перемещение прядей бетонируемых каркасных анкеров или бетонируемых обжимных анкеров от плоскости испытательного образца со стороны натяжения должны составлять не более 2,5 мм после 10 циклов нагружения.
6.1.6 При расположении пучков с отгибами разработчик СПН должен предусмотреть минимально допустимый прямой участок от анкера до начала отгиба. При этом для элементов СПН без сцепления на участках отгиба дополнительно должно быть обеспечено отсутствие порезов индивидуальной оболочки прядей.
6.1.7 Элементы СПН совместно с оборудованием для монтажа, натяжения и инъецирования должны обеспечить выполнение следующих требований:
- монтаж с допусками, установленными сводами правил;
- стойкость против коррозии, защиту от пыли и осадков в условиях строительного участка;
- возможность укладки и уплотнения бетонной смеси в зонах расположения элементов СПН, включая зону передачи нагрузки на бетон;
- достаточность диаметров каналообразователей для возможности монтажа прядей;
- возможность натяжения по этапам с фиксацией удлинения прядей, полного снятия усилия и повторного натяжения;
- возможность одновременного натяжения всех прядей в пучке;
- получение разброса усилий в прядях пучка не более +/- 10% среднего усилия в прядях пучка;
- несоосность домкратов для натяжения с обоймой или стыком не более +/- 5 мм;
- перекос в местах установки домкратов к обойме не более 1:100;
- перекос в местах установки обоймы к закладному опорному элементу не более 1:50;
- возможность заполнения каналообразователей раствором, включая размеры, конструкцию и совместимость вспомогательных элементов, а также стойкость к их возможным повреждениям при монтаже;
- потери усилия натяжения в домкрате и анкере должны быть не более 2%;
- перемещение пряди относительно обоймы при передаче усилия с домкрата на бетон должно быть не более 8 мм.
6.1.8 Конструкция каналообразователей должна обеспечивать значения коэффициентов, используемых при определении потерь предварительного напряжения от трения при натяжении прядей, не более значений, установленных
СП 35.13330 и
СП 63.13330.
6.1.9 К применению в СПН допускают элементы, которые соответствуют техническим требованиям настоящего стандарта и произведены изготовителями, указанными в результатах квалификационных испытаний элементов СПН по
разделу 7.
6.1.10 Допускается применение в СПН прядей, каналообразователей, косвенного армирования анкерной зоны, раствора инъецирования, которые произведены изготовителями, отличных от тех, чьи элементы были использованы при квалификационных испытаниях, при условии выполнения требований настоящего стандарта к данным элементам, подтверждения физико-механических характеристик не хуже, чем у элементов, применяемых при квалификационных испытаниях и при согласовании разработчика СПН.
6.1.11 Применение на объектах строительства оборудования для натяжения элементов СПН, отличающегося от оборудования, использованного при квалификационных испытаниях элементов СПН на совместимость, натяжение и инъецирование, допускается по согласованию с разработчиком элементов СПН.
6.1.12 Элементы СПН должны выпускаться после разработки и постановки на производство в соответствии с
ГОСТ Р 15.301 серийно. Допускается выпуск элементов СПН как мелкосерийных, поставляемых согласно потребностям конкретного заказчика на один объект и в объеме не более 256 анкеров одного типа по
5.2 -
5.7.
6.1.13 Постоянную антикоррозийную защиту элементов СПН со сцеплением следует обеспечивать инъекционным раствором и/или бетоном, а для элементов СПН без сцепления - с помощью покрытия, и/или водостойкой смазки на основе нефтяных масел, или водостойкого состава из нефтяных масел, загущенных твердыми углеводородами (типа парафина) и индивидуальной полиэтиленовой оболочки, или защитного кожуха.
6.1.14 Временную антикоррозийную защиту анкеров в составе СПН со сцеплением следует обеспечивать с помощью покрытия и/или консервационного материала по указаниям разработчика СПН.
6.1.15 Временную антикоррозийную защиту прядей в составе СПН со сцеплением на период нахождения прядей в каналообразователе после натяжения более 14 дней следует обеспечивать с помощью консервационного материала по указаниям разработчика СПН исходя из условий отсутствия язвенной коррозии прядей и обеспечения сцепления прядей с инъекционным раствором после инъецирования.
6.1.16 Поставщик СПН должен передавать заказчику монтажные чертежи элементов СПН.
6.2 Требования к элементам
6.2.1 Пряди
6.2.1.1 В СПН со сцеплением с бетоном следует применять стальные арматурные семипроволочные пряди (канаты) по
ГОСТ 13840 или
ГОСТ Р 53772, за исключением пластически обжатых К7О, или по другому стандарту, согласованному разработчиком и заказчиком СПН.
6.2.1.2 В СПН без сцепления следует применять стальные арматурные семипроволочные пряди (канаты) со стальной частью по
ГОСТ 13840 или
ГОСТ Р 53772 и в оболочке по
ГОСТ Р 58386 или по другому стандарту, согласованному разработчиком и заказчиком СПН.
6.2.2.1 Клиновые зажимы, обжимные муфты, обоймы, стыки и закладные опорные элементы в виде плит следует изготавливать из сталей по
ГОСТ 380,
ГОСТ 1050,
ГОСТ 1414,
ГОСТ 4543,
ГОСТ 14959,
ГОСТ 19281. Допускается применение материалов по другим стандартам по согласованию между разработчиком СПН и заказчиком, если механические свойства стали не хуже установленных в настоящем разделе.
6.2.2.2 Прочность узла крепления пряди клиновыми зажимами или обжимными муфтами в условиях осевого растяжения (без углового отклонения пряди) должна быть не менее 97%
Ppk.
6.2.2.3 Прочность на растяжение узла крепления пряди клиновыми зажимами или обжимными муфтами должна быть не ниже 95%
Ppk при учете угла отклонения прядей, указанного в КД разработчика СПН.
6.2.2.4 При необходимости по
6.1.4 усталостная прочность узла крепления одной пряди клиновыми зажимами или обжимными муфтами должна быть обеспечена при не менее чем 2 млн циклов нагружений, при размахе напряжений не менее 125% размаха, заданного в проектной документации (но не менее 80 МПа), и при верхнем уровне напряжений, соответствующем 65%
Ppk.
6.2.2.5 Механические свойства сталей, применяемых для изготовления стальных несущих элементов анкеров, должны быть не менее, чем приведенные в
таблице 6.1.
Таблица 6.1
Механические свойства сталей, применяемых для изготовления
стальных несущих элементов анкеров
Свойство | Клиновые зажимы | Обоймы, стыки, обжимные муфты | Опорные плиты | Опорные стаканы | Силовые кольца |
Временное сопротивление разрыву, МПа | 980 | 600 | 430 | 520 | 412 |
Предел текучести, МПа | 885 | 355 | 265 | 294 | 245 |
Относительное удлинение после разрыва  , % | 7 | 9 | 21 | 14 | 20 |
Относительное сужение  , % | - | 40 | - | 25 | - |
Ударная вязкость KCU при температуре 20 °C, Дж/см2 | 68 | 49 | 29 | 29,4 | - |
Ударная вязкость KCU при температуре минус 40 °C, Дж/см2 | - | КД разработчика СПН | 34 | - | - |
В КД разработчика СПН должны быть установлены требования к значениям твердости несущих элементов СПН. При этом для клиновых зажимов твердость должна быть установлена для поверхности и сердцевины.
6.2.2.6 Клиновые зажимы должны быть поставлены разрезанными на части и объединены кольцами.
6.2.2.7 К применению в СПН по настоящему стандарту не допускаются клиновые зажимы и обжимные муфты, предназначенные для производства железобетонных конструкций и изделий заводского изготовления и произведенные по
ГОСТ 23117.
6.2.2.8 Требования к шероховатости клиновых зажимов должны быть установлены в КД разработчика СПН.
6.2.2.9 Конструкция клиновых зажимов, обжимных муфт, обойм и стыков должна обеспечивать значение перемещения пряди относительно обоймы при передаче усилия с домкрата на бетон не более 8 мм для активного анкера и не более 4 мм для пассивных клиновых, обжимных и бетонируемых анкеров.
6.2.2.10 Клиновые зажимы должны обладать стойкостью к натяжению с перехватом. Это свойство проверяют при последовательном приложении нагрузки 80%
Ppk. После каждого приложения нагрузки выполняют полное снятие нагрузки. Данный цикл повторяют не менее четырех раз. При этом на каждом цикле осуществляют смещение места закуса клинового зажима на пряди. После проведения четырех циклов натяжения в клиновых зажимах не допускаются трещины.
6.2.2.11 Конструкции закладных опорных элементов и обойм или стыков должны обеспечивать взаимное центрирование и ограничение потерь усилия в прядях от трения об элементы анкера на длине от каналообразователя до наружных граней клиновых зажимов не более 2% передаваемого на обойму или стык усилия. При движении пряди в процессе натяжения не должно быть условий для задиры пряди. Элементы анкеров и стыков не должны создавать дополнительных напряжений от изгиба прядей, превышающих 20% Ppk, что должно подтверждаться расчетами разработчика СПН.
6.2.2.12 Прочность закладных опорных элементов должна быть обеспечена при нагрузке не ниже 110% Fpk.
6.2.2.13 Закладные опорные элементы в виде опорных стаканов следует изготавливать из высокопрочного чугуна с шаровидным графитом по
ГОСТ 7293 или из литейной стали по
ГОСТ 977.
6.2.2.14 Механические свойства чугунов, применяемых для изготовления опорных стаканов, должны быть не менее приведенных в
таблице 6.2.
Таблица 6.2
Механические свойства чугуна, применяемого для изготовления
опорных стаканов
Свойство | Значение |
Временное сопротивление разрыву, МПа | 500 |
Условный предел текучести, МПа | 320 |
Относительное удлинение после разрыва  , % | 7 |
Предел прочности на сжатие, МПа | 900 |
6.2.2.15 Конструкция закладных опорных элементов должна иметь элементы крепления к опалубке.
6.2.2.16 Бетонируемые каркасные и обжимные анкеры должны обладать прочностью не менее 90% Fpk при требуемой прочности бетона не более 80% Rт.
6.2.2.17 Силовое кольцо для бетонируемых анкеров должно воспринимать воздействие, возникающее из-за изгиба прядей на выходе из каналообразователя, при усилии в пучке не менее 95% Fpk.
6.2.2.18 В КД разработчика СПН должны быть установлены максимально допустимые углы отклонения прядей от оси пучка при подходе к обойме (или минимальные расстояния от обоймы до входа пряди в каналообразователь).
6.2.3 Инъекционный раствор
6.2.3.1 Для раствора инъецирования в составе СПН со сцеплением с бетоном должны быть применены следующие материалы:
- портландцемент по
ГОСТ 31108 без минеральных добавок типа ЦЕМ 0 или ЦЕМ I, класса не ниже 42,5, с содержанием в клинкере трехкальциевого алюмината C
3A в количестве не более 8% по массе;
- вода, пригодная по
ГОСТ 23732 для приготовления растворов.
Также могут быть применены добавки и сухие смеси на цементном вяжущем без минеральных добавок, соответствующие требованиям
ГОСТ 31384 по обеспечению коррозионной стойкости напрягаемой арматуры и по содержанию вредных примесей.
6.2.3.2 Инъекционный раствор должен иметь следующие свойства:
- текучесть, определяемая текучестемером, непосредственно после приготовления раствора должна быть от 20 до 40 с и не более 80 с на момент времени окончания инъецирования канала (при дополнительном перемешивании перед определением значения текучести);
- оседание не более 2% по объему не ранее, чем через 24 ч после приготовления;
- средняя кубиковая прочность инъекционного раствора на сжатие на 7-е сутки должна быть не менее 20 МПа, а на 28-е сутки - не менее 30 МПа и не менее значения, указанного в проектной документации на сооружение;
- морозостойкость (для случая применения растворов с водоцементным отношением более 0,4) - при однократном охлаждении до температуры минус 25 °C не должно быть увеличения объема раствора.
Примечание - Допускается определять текучесть по конусу согласно методике, приведенной в
[1], при этом текучесть непосредственно после смешивания должна быть не более 25 с и увеличиваться не более, чем на 20% через 30 мин, но в любом случае не более 25 с.
6.2.4 Каналообразователи
6.2.4.1 В настоящем стандарте установлены требования к гофрированным каналообразователям, изготавливаемым вальцовкой из стальной холоднокатаной ленты по
ГОСТ 503 и горячеоцинкованного проката по
ГОСТ 14918. Гофрированные и гладкие каналообразователи из полиэтилена, гладкие каналообразователи из стальных труб следует применять по согласованию с заказчиком по отдельным техническим требованиям.
6.2.4.2 В СПН со сцеплением с бетоном не допускается применять каналообразователи из гладких полиэтиленовых или стальных труб, за исключением коротких участков в стыках между сборными блоками составных по длине конструкций и в местах перегибов малого радиуса или больших углов перегиба и анкеровки напрягаемой арматуры.
6.2.4.3 Конструкция каналообразователей должна обеспечивать технологическую возможность монтажа прядей и их инъецирование, выдерживать механические воздействия, а также воздействия окружающей среды при хранении, транспортировании и в период строительства. Конструкция каналообразователей для СПН со сцеплением должна обеспечивать сцепление между раствором инъецирования и внутренней поверхностью, а также между бетоном строительной конструкции и наружной поверхностью каналообразователей.
6.2.4.4 Способность каналообразователей противостоять механическим воздействиям подтверждается выполнением требований
6.2.4.10 -
6.2.4.13.
6.2.4.5 Стойкость каналообразователей к воздействиям окружающей среды подтверждается выполнением требований
6.2.4.8,
6.2.4.14.
6.2.4.6 Технологическая возможность монтажа канатов и их инъецирования обеспечивается соблюдением положений
6.2.4.7.
6.2.4.7 Внутренний диаметр каналообразователей
d1 назначается следующим образом: отношение суммарной площади сечения арматурных прядей (для прядей в оболочке по наружному диаметру с оболочкой) к площади сечения каналообразователя (по внутреннему диаметру) не должно быть более 0,5. В случае превышения данного отношения необходимо провести испытания, подтверждающие возможность монтажа прядей с предполагаемой геометрией расположения каналообразователя в строительной конструкции. Овальность каналообразователей (отклонение от значения
d1), определенная в любом поперечном сечении, не должна превышать +/- 0,5 мм при
d1 <= 50 мм и +/- 0,01
d1 при
d1 > 50 мм.
6.2.4.8 Толщина ленты или проката для изготовления гофрированных каналообразователей
t должна приниматься не менее, чем установлено требованиями по
таблице 6.3 в зависимости от внутреннего диаметра каналообразователя.
Таблица 6.3
Требования к каналообразователям
Внутренний диаметр d1, мм | <= 25 | 26 - 35 | 36 - 45 | 46 - 55 | 56 - 65 | 66 - 75 | 76 - 85 | 86 - 105 | 106 - 130 | 131 - 160 | >= 160 |
| 0,20 | 0,26 | 0,26 | 0,26 | 0,26 | 0,30 | 0,30 | 0,30 | 0,40 | 0,45 | 0,60 |
Отношение Fpl/d1, Н/мм | 3,0 | 3,5 | 4,0 | 4,0 | 4,5 | 5,0 | 5,5 | 6,0 | 6,5 | 6,5 | 6,5 |
Радиус заготовки r для испытания на гибкость, мм | 750 | 750 | 750 | 750 | 750 | 750 | 750 | 900 | 1000 | 1000 | 1000 |
Усилие смятия F1, Н | 500 | 600 | 750 | 750 | 950 | 950 | 950 | 1050 | 1050 | 1050 | 1050 |
Усилие растяжения F2, Н | 250 | 400 | 600 | 900 | 1100 | 1400 | 1600 | 1900 | 2200 | 2200 | 2200 |
<*> Не распространяется на короткие (длиной менее 2,5 м) переходные элементы каналообразователя. |
6.2.4.9 Каналообразователи, предусмотренные для применения в СПН со сцеплением с бетоном, должны иметь относительный объем гофрированной части не менее 0,08 см
3/см
2. В любом случае для каналообразователей с внутренним диаметром более 25 мм высота гофры
h не должна быть менее 2,5 мм.
6.2.4.10 Каналообразователи должны обладать прочностью на изгиб. Отношение условного усилия текучести
Fpl к внутреннему диаметру каналообразователя
d1 при испытании должно быть не менее установленных в
таблице 6.3.
6.2.4.11 Каналообразователи должны обладать гибкостью при многократном отгибе вокруг заготовки радиусом
r, мм, не более указанного в
таблице 6.3.
6.2.4.12 Уменьшение внутреннего диаметра при смятии нагрузкой
F1 по
таблице 6.1 не должно превышать 10%, но не более 5 мм.
6.2.4.13 Для СПН со сцеплением с бетоном прочность соединения муфты и каналообразователя при осевом растяжении должна быть обеспечена при усилиях
F2, но не менее указанных в
таблице 6.3.
6.2.4.14 После испытаний на многократный отгиб, смятие и осевое растяжение образец каналообразователя должен сохранять герметичность с потерей не более 1,5% объема воды.
6.2.4.15 Муфты для соединения каналообразователей должны соответствовать требованиям
6.2.4.2 -
6.2.4.6.
6.2.4.16 Для СПН со сцеплением с бетоном длина муфт должна быть не менее трех внутренних диаметров каналообразователей и не менее 150 мм.
6.2.4.17 Внутренний диаметр муфт d1c должен быть не более вычисляемого по формуле
d1c = d1 + 8t + cк, (1)
где cк - зазор, принимаемый не более 2,0 мм для каналообразователей внутренним диаметром 55 мм и менее и не более 3,0 мм для каналообразователей диаметром более 55 мм.
6.2.4.18 Толщину ленты или проката для изготовления муфт следует принимать не менее, чем толщину
t стыкуемых каналообразователей.
6.2.5 Косвенное армирование
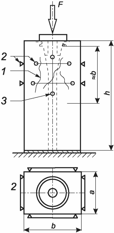
6.2.5.1 Разработчик СПН определяет требования к косвенному армированию, которое устанавливают в зоне передачи нагрузки от анкера на бетон (см.
рисунок 6.1). Область железобетонной конструкции, непосредственно примыкающая к зоне передачи нагрузки на бетон, ориентировочным размером, равным высоте железобетонной конструкции
h (или шагу анкеров), называется зоной местного армирования, требования по обеспечению прочности и трещиностойкости к которой следует устанавливать в проектной документации. Рекомендуется предусматривать в этой зоне местное армирование, которое должно воспринимать напряжения отслаивания по свободным граням бетона и раскалывающие напряжения внутри железобетонной конструкции по направлению поперек к оси пучка.
1 - анкер; 2 - нагрузка от анкера на бетон; 3 - зона
передачи нагрузки на бетон; 4 - зона местного армирования;
5 - область вне влияния анкеров
Рисунок 6.1 - Схема расположения локальной и общей зон
6.2.5.2 В качестве косвенного армирования допускается применять изделия из арматурных стержней по
ГОСТ 34028 и с соблюдением требований соответствующего свода правил по проектированию сооружения.
6.3 Требования для применения в условиях низких температур
6.3.1 Краткосрочная эксплуатация при низких температурах
6.3.1.1 Для применения элементов СПН в условиях краткосрочной эксплуатации при низких температурах дополнительно к требованиям
6.1 и
6.2 следует выполнять требования настоящего пункта.
6.3.1.2 В СПН со сцеплением для применения в условиях краткосрочной эксплуатации при низких температурах допускаются пряди по
6.2.1.1 при выполнении требований по
6.3.1.3. В СПН без сцепления с бетоном для применения в условиях краткосрочной эксплуатации при низких температурах допускаются пряди по
6.2.1.2 при выполнении требований по
6.3.1.3 и дополнительных требований к полиэтиленовой оболочке и материалу заполнения пряди (парафин или смазка), обоснованных научными исследованиями и согласованных разработчиком и заказчиком СПН.
6.3.1.3 При действии температуры, равной или ниже квалификационной температуры
Tк, должны быть обеспечены следующие свойства прядей при растяжении:
- фактическое усилие разрыва и фактическая нагрузка при условном пределе текучести должны быть не ниже значений, установленных стандартами на пряди при НКУ;
- полное относительное удлинение при максимальной измеренной нагрузке должно быть не менее 2,5%;
- хрупкий характер разрушения пряди не допускается, образование "шейки" текучести должно быть видимым невооруженным глазом;
- относительное сужение проволоки пряди после разрыва должно быть не менее 25%.
6.3.1.4 Элементы однопрядевой системы при осевом растяжении (без учета угла отклонения прядей) при действии температуры, равной или ниже квалификационной температуры
Tк, должны соответствовать следующим требованиям:
- прочность на растяжение при статическом нагружении должна быть не менее 95% Ppk;
- полное относительное удлинение прядей при максимальном измеренном усилии должно быть не менее 1,5%.
Перемещение прядей и клиновых зажимов в обойму за период времени от 30 до 60 мин после достижения нагрузки 80% Fpk при НКУ должно составлять не более чем 0,02 мм.
6.3.1.5 Элементы многопрядевой системы при растяжении при действии температуры, равной или ниже квалификационной температуры
Tк, должны соответствовать следующим требованиям:
- прочность на растяжение при статическом нагружении должна быть не менее 95% Fpk и не менее усилия в пучке при нагрузке P0,1cr;
- полное относительное удлинение прядей при максимальном измеренном усилии должно быть не менее 1,5%;
- разрушение должно происходить в прядях, при этом допускается образование трещин или раскалывание клиновых зажимов, деформация анкеров не должна приводить к преждевременному обрыву прядей.
Перемещение прядей и клиновых зажимов в обойму за период времени от 30 до 60 мин после достижения нагрузки 80% Fpk при НКУ должно составлять не более чем 0,02 мм.
6.3.1.6 Прочность зоны передачи усилия на бетон при действии температуры, равной или ниже квалификационной температуры
Tк, должна соответствовать требованиям
6.1.5.
6.3.1.7 Средняя кубиковая прочность раствора инъецирования на сжатие при действии температуры, равной или ниже квалификационной температуры
Tк, должна быть не ниже, чем средняя кубиковая прочность на сжатие, определенная ранее для данного состава раствора при НКУ, и не ниже, чем требуемая средняя кубиковая прочность на сжатие, указанная в проектной документации или в
6.2.3.2. При этом ни один из испытуемых образцов не должен показать кубиковую прочность на сжатие ниже, чем 90% требуемой средней кубиковой прочности на сжатие.
6.3.1.8 За квалификационную температуру
Tк принимают низкую температуру, установленную по
5.6.
6.3.1.9 При выборе сталей для клиновых зажимов, обжимных муфт, обойм, стыков, силовых колец и закладных опорных элементов в виде плит, а также при установлении требований и методов испытаний для применения при
Tк ниже минус 70 °C рекомендуется учитывать требования и методы испытаний, приведенные в
ГОСТ 33260 и
ГОСТ Р 58915.
6.3.1.10 Для стали обойм, стыков, силовых колец и закладных опорных элементов в виде стальных плит или опорных стаканов из стальных отливок следует контролировать ударную вязкость после изготовления и термообработки, определяемую по
ГОСТ 9454 при
Tк до минус 70 °C и по
ГОСТ 22848 при
Tк минус 100 °C и ниже на образцах, полученных вырезанием из элементов или на образцах-свидетелях.
При этом результаты данных испытаний не являются браковочным признаком, накапливаются в целях статистики и заносятся в документ о качестве.
6.3.1.11 Арматура косвенного армирования для применения при
Tк ниже минус 70 °C должна приниматься с гарантией сопротивления хрупкому излому, с контролем предела текучести, относительного удлинения после разрыва и коэффициента чувствительности к надрезу при температуре испытаний не выше
Tк по
ГОСТ Р 58028.
6.3.1.12 Для применения в СПН в условиях низких температур допускаются пряди только тех изготовителей, пряди которых использовали при квалификационных испытаниях элементов СПН при низких температурах.
6.3.2 Нормальная эксплуатация при низких температурах
6.3.2.1 Для применения элементов СПН в условиях нормальной эксплуатации при низких температурах дополнительно к требованиям
6.3.1 должны быть выполнены требования настоящего пункта.
6.3.2.2 Для СПН без сцепления с бетоном, в которых по требованию заказчика или согласно указаниям соответствующих сводов правил по проектированию необходимо выполнение проверок прядей на выносливость, следует обеспечивать усталостную прочность прядей и однопрядевой системы без учета отклонения прядей при действии температуры, равной или ниже квалификационной температуры
Tк, после приложения не менее 2 млн циклов нагружений при размахе напряжений не менее 125% размаха, заданного в проектной документации (но не менее 80 МПа), и при верхнем уровне усилия не менее 65%
Ppk.
6.3.2.3 Для СПН со сцеплением с бетоном рекомендуется обеспечивать усталостную прочность прядей и пучков с обоймами (стыками) и клиновыми зажимами (обжимными муфтами) после приложения не менее 2 млн циклов нагружений при действии температуры, равной или ниже квалификационной температуры
Tк, при размахе напряжений не менее 80 МПа и при верхнем уровне усилия не менее 65%
Ppk.
6.3.2.4 После прекращения воздействия температуры, равной или ниже квалификационной температуры
Tк, прочность зоны передачи усилия на бетон должна соответствовать требованиям
6.1.5.
6.3.2.5 После прекращения воздействия температуры, равной или ниже квалификационной температуры
Tк, средняя кубиковая прочность раствора инъецирования на сжатие должна быть не менее 90% средней кубиковой прочности на сжатие, определенной ранее для данного состава раствора при НКУ. При этом ни один из испытуемых образцов не должен показать кубиковую прочность на сжатие ниже, чем 80% требуемой средней кубиковой прочности на сжатие, указанной в проектной документации или в
6.2.3.2 (что выше).
6.4 Маркировка и упаковка
6.4.1 Маркировка и упаковка прядей должны быть выполнены в соответствии с требованиями стандартов на пряди.
6.4.2 Маркировка анкеров должна быть выполнена по КД разработчика СПН и содержать как минимум следующие данные:
- номер партии для клиновых зажимов и обжимных муфт;
- номер изделия для обойм и стыков;
- тип элементов СПН по количеству прядей для закладных опорных элементов и переходников.
6.4.3 Поставка клиновых зажимов, обжимных муфт, обойм, стыков должна быть осуществлена с консервацией по КД разработчика СПН и во влагозащитной упаковке.
6.4.4 Закладные опорные элементы в виде плит или стаканов, а также каналообразователи и переходники допускается поставлять без консервации и упаковки.
6.4.5 Маркировка и упаковка цемента должны соответствовать требованиям
ГОСТ 30515.
6.4.6 Маркировка каналообразователей должна быть надежно зафиксирована к таре, связке или на самих каналообразователях и содержать как минимум следующие данные:
- номер партии;
- внутренний диаметр.
7.1 Квалификационные испытания
7.1.1.1 Квалификационные испытания элементов СПН выполняют в следующих случаях:
- постановка элементов СПН в производство;
- изменение конструкции и материала несущих частей элементов СПН и оборудования для натяжения (если это может повлиять на точность натяжения и равномерность распределения усилий между прядями пучка).
Общие требования к подготовке, проведению и оформлению результатов рекомендуется принимать по
ГОСТ Р 15.301.
7.1.1.2 Квалификационные испытания следует выполнять для каждого типа элементов СПН согласно положениям
5.2,
5.3,
5.5 -
5.7. Для каналообразователей допускается проводить квалификационные испытания отдельно от остальных элементов системы.
7.1.1.3 Для элементов СПН одного типа по
5.2,
5.3,
5.5 -
5.7, но с разным количеством прядей в пучке допускается проводить квалификационные испытания в отношении не каждого типа по количеству прядей (см.
5.4), а только на выборочные типы по количеству прядей, учитывая все типы элементов СПН по количеству прядей как серию элементов. Состав испытаний серии рекомендуется принимать согласно
7.1.2 для стандартных температур и по
7.1.3 для низких температур при условии единого подхода при разработке конструкции элементов в серии.
7.1.1.4 Квалификационные испытания могут быть зачтены по положительным результатам приемочных испытаний в случае проведения подготовки и освоения производства в процессе изготовления опытных образцов, подвергнутых приемочным испытаниям, соответствия методов приемочных и квалификационных испытаний и выполнения приемочных испытаний в лабораториях по
7.1.1.5.
7.1.1.5 Квалификационные испытания должны быть выполнены лабораторией, аккредитованной по
ГОСТ ISO/IEC 17025.
Примечание - В течение 2 лет с момента вступления в силу настоящего стандарта квалификационные испытания вправе проводить лаборатория при наличии аттестованного оборудования, позволяющего выполнить условия методов испытаний.
7.1.1.6 Перечень квалификационных испытаний элементов многопрядевой СПН одного типа следующий:
- испытания на прочность двух образцов элементов многопрядевой СПН на растяжение;
- испытания на усталость пяти образцов элементов однопрядевой СПН без учета углов отклонения прядей перед обоймой или испытания на усталость двух образцов элементов многопрядевой СПН - при необходимости по
6.1.4;
- испытания двух образцов на прочность зоны передачи нагрузки на бетон;
- одно испытание элементов многопрядевой системы на совместимость, натяжение и инъецирование;
- испытания каналообразователей.
7.1.1.7 Если предполагается применение нескольких типов элементов СПН по прочности прядей, но при этом все геометрические и механические свойства элементов СПН не изменяются в зависимости от прочности прядей, допускается проводить квалификационные испытания только для максимального типа прядей по прочности. Если планируется применять клиновые зажимы (обжимные муфты) одной и той же конструкции для прядей разной площади сечения (например, 15,2 и 15,7 мм), то считается, что изменяется геометрия взаимодействия между прядью, клиновым зажимом (обжимной муфтой) и обоймой (стыком), и данный случай рассматривается как случай изменения конструкции элементов СПН и требующий проведения дополнительных квалификационных испытаний как для самостоятельного типа.
7.1.1.8 При изменении конструкции или материала клиновых зажимов (обжимных муфт, если применимо) после ранее выполненных квалификационных испытаний и при отсутствии изменений в остальных элементах СПН должны быть проведены с положительным результатом типовые испытания однопрядевой системы на растяжение с максимальными углами отклонения прядей перед обоймой (обжимной муфтой, если применимо) в количестве не менее 10 образцов и на усталость (при необходимости по
разделу 6) без учета угла отклонения не менее шести образцов.
7.1.1.9 Для элементов однопрядевой системы без сцепления (анкеры для закрепления одной пряди в оболочке) квалификационным испытаниям на растяжение с положительным результатом подлежат не менее пяти образцов, на усталость (при необходимости по
разделу 6) - не менее трех образцов.
7.1.1.10 Для элементов многопрядевой системы допускается выполнить квалификационные испытания на усталость двух образцов элементов многопрядевой системы вместо проведения испытаний пяти образцов элементов однопрядевой системы.
7.1.1.11 В случае получения отрицательного результата одного испытания элементов СПН допускается выполнить два последующих испытания с положительным результатом для зачета квалификационных испытаний.
7.1.1.12 Протоколы квалификационных испытаний должны содержать следующую информацию:
- наименование и адрес лаборатории;
- сведения об аккредитации лаборатории;
- номер протокола;
- дату и место проведения испытаний;
- наименование и адрес заказчика испытаний;
- подтверждение того, что испытания выполнены в соответствии с настоящим стандартом, подписанное работниками лаборатории, ответственными за проведение испытаний, и представителями заинтересованных организаций, присутствующими при испытаниях;
- наименование разработчика и изготовителей элементов СПН;
- перечень элементов СПН, представленных для испытаний;
- описание, маркировку и размеры элементов СПН;
- документы о качестве и габаритные чертежи элементов СПН;
- документы о качестве материалов, использованных для изготовления элементов СПН и образцов (включая армирование и бетон);
- описание схемы стенда для проведения испытаний;
- ссылку на программу и методику испытаний;
- перечень и документы поверки или аттестации испытательного оборудования;
- описание условий испытаний;
- результаты измерений и наблюдений;
- сведения о необычных явлениях в ходе испытаний;
- фотографии образцов до, в процессе и после испытаний;
- сравнение заданных и фактических показателей испытаний;
- ФИО и подписи лиц, ответственных за проведение испытаний.
7.1.1.13 Квалификационные испытания инъекционного раствора должны быть проведены для каждого объекта с учетом запланированных к применению на нем материалов конкретных производителей путем составления карты подбора инъекционного раствора и выполнения испытаний на текучесть, оседание, прочность и морозостойкость (при необходимости).
7.1.1.14 Квалификационные испытания каналообразователей должны быть выполнены на одном образце для каждого диаметра изготавливаемых каналообразователей и муфт при начале их производства, а также в случае изменения типа исходного материала или замены оборудования либо его частей, которые могут повлиять на параметры готовой продукции.
7.1.1.15 При проведении квалификационных испытаний каналообразователей должно быть проверено выполнение требований
6.2.4.7 -
6.2.4.18.
7.1.1.16 Результатом квалификационных испытаний должен стать акт комиссии, утвержденный изготовителем и содержащий программу и методику испытаний, протоколы испытаний, КД на элементы СПН, выводы о соответствии элементов СПН требованиям
раздела 6 и КД.
7.1.1.17 Для мелкосерийной продукции квалификационные испытания заменяют приемочными и проводят в объеме согласно
7.1.2.5 для серии из одного типа элементов СПН по количеству прядей. При этом по согласованию с заказчиком в качестве приемочных испытаний могут быть зачтены квалификационные, проведенные не ранее 5 лет от новой поставки мелкосерийных элементов СПН.
7.1.1.18 Методики квалификационных испытаний приведены в
приложениях А -
К.
7.1.2 Квалификационные испытания серии при стандартной температуре
7.1.2.1 В качестве серии допускается применять ряд элементов, различающихся количеством прядей в пучке, при выполнении следующих условий:
- все элементы в серии разработаны по одинаковым принципам проектирования и изготовлены из одинаковых материалов;
- напряжения в элементах серии, включая напряжения в бетоне испытательных призм, не должны превышать напряжения в образцах-представителях, выбранных для квалификационных испытаний серии.
7.1.2.2 Выбор количества и типа образцов для проведения квалификационных испытаний серии на растяжение рекомендуется определять в зависимости от максимального гарантированного усилия разрыва пучка
Fpk в серии.
Для серии с максимальным усилием Fpk <= 10 500 кН:
- выбирают три типа образцов: с максимальным, средним и минимальным количеством прядей;
- выполняют испытания двух образцов с максимальным количеством прядей;
- проводят испытания двух образцов со средним или с минимальным количеством прядей, выбирая тип с количеством прядей, у которого напряжения в элементах (обойма и клиновой зажим, обжимная муфта) больше;
- проводят испытание одного образца для оставшегося типа по количеству прядей;
- всего проводят испытания не менее пяти образцов.
Для серии с максимальным усилием Fpk > 10 500 кН:
- количество типов образцов N = (r2 - r1 + 1), где r1 - количество полных окружностей отверстий в обойме с минимальным количеством прядей (не менее двух), r2 - количество окружностей отверстий в обойме с максимальным количеством прядей;
- варианты расположения окружностей и полных окружностей расположения отверстий приведены на
рисунке 7.1;
- если отверстия в обойме расположены не по всем доступным окружностям по
рисунку 7.1 для рассматриваемого размера обойм, за количество окружностей
r2 принимают максимально возможное количество при данной геометрии обоймы;
- выполняют испытания двух образцов с максимальным количеством прядей;
- проводят испытания двух образцов со средним или с минимальным количеством прядей, выбирая тип с количеством прядей, у которого напряжения в элементах (обойма и клиновой зажим, обжимная муфта) больше;
- проводят испытание не менее одного образца каждого из остальных типов.
Рисунок 7.1 - Схема расположения окружностей
отверстий в обоймах
За минимальный тип по количеству прядей принимают тип с наиболее высокими напряжениями в элементах среди 1/N части серии начиная от типа с минимальным количеством прядей.
За средние типы по количеству прядей принимают типы с наиболее высокими напряжениями в элементах, исключая 1/N части серии с минимальным и максимальным количеством прядей.
Если в серии только один тип по количеству прядей с Fpk >= 1500 кН, то для серии достаточно проведения испытаний трех образцов.
Примечание - Например, если предъявляется серия СПН с 7, 12, 19, 25, 31, 37 и 55 прядями, с количеством окружностей отверстий 2, 3, 3, 4, 4, 4 и 5 соответственно, с количеством полных окружностей отверстий 2, 2, 3, 4, 4, 4 и 5 соответственно, число типов образцов представителей N = (r2 - r1 + 1) = (5 - 2 + 1) = 4 типа по количеству прядей. В таком случае 1/4 часть серии с минимальным количеством прядей будет ограничена 55/4 = 13,75 прядями, из 7 или 12 прядей за минимальный тип образца-представителя принимают тип с 12 прядями по условию максимума напряжений. Следующая первая средняя часть будет ограничена количеством прядей: 13,75 + 13,75 = 27 прядей, принимают 25 прядей, между 19 и 25 прядями по условию максимальных напряжений выбирают тип с 19 прядями. Во второй средней части, состоящей из 31 и 37 прядей, по условию максимума напряжений выбирают, к примеру, тип с 31 прядью. Таким образом, в качестве образцов-представителей серии определены типы с 12, 19, 31 и 55 прядями. Допустим, среди типов с 12, 19 и 31 прядями максимальные напряжения наблюдаются в типе с 19 прядями. Количество образцов-представителей, подлежащих испытаниям, назначают следующим: два образца с 55 прядями, один образец с 31 прядью, два образца с 19 прядями, один образец с 12 прядями.
7.1.2.3 Для проведения квалификационных испытаний серии на усталость выбирают три типа образцов: с максимальным, средним и минимальным количеством прядей. Для типа с максимальным количеством прядей испытывают два образца, остальные типы - по одному образцу.
Выбор среднего и минимального типов основан на уровне напряжений в элементах:
- минимальный тип: образец с наиболее высокими напряжениями среди 1/3 части серии с наименьшим количеством прядей;
- средний тип: образец с наиболее высокими напряжениями среди средней 1/3 части серии.
Если в серии только один тип по количеству прядей с Fpk >= 1500 кН, то для серии проводят испытания трех образцов.
7.1.2.4 Количество и типы образцов для проведения квалификационных испытаний серии на прочность зоны передачи нагрузки на бетон аналогичны при испытаниях на растяжение (см.
7.1.2.2).
При этом прочность бетона при испытаниях:
- должна быть не более предусмотренной разработчиком СПН;
- разница между минимальной и максимальной прочностью бетона при испытаниях не должна превышать 20 МПа;
- если разница более 20 МПа, проводят дополнительные испытания при промежуточном значении прочности бетона.
Если в серии только один тип по количеству прядей с Fpk >= 1500 кН, то для серии проводят испытания двух образцов с максимальным количеством прядей.
7.1.2.5 План квалификационных испытаний элементов многопрядевой СПН для одного типа и для серии при разных усилиях разрыва пучков и в соответствии с указаниями
7.1.1 и
7.1.2 приведен в
таблице 7.1.
Таблица 7.1
План квалификационных испытаний элементов многопрядевой СПН
при стандартной температуре
Испытание | Критерий | Методика | Количество испытуемых образцов |
Один тип по количеству прядей | Серия при максимальном усилии разрыва пучков <= 10 500 кН | Серия при максимальном усилии разрыва пучков >= 10 500 кН | Серия, в которой только один тип в серии с усилием разрыва пучков > 1500 кН |
Прочность на растяжение | | | 2 | 5 | >= 5 | 3 |
| | | 2 | 4 | 4 | |
| | 5 | 5 | 5 | 5 |
Прочность зоны передачи нагрузки на бетон | | | | | | |
Совместимость, монтаж, натяжение, инъецирование | | | 1 | | | |
Каналообразователи: | На каждый диаметр каналообразователя и муфты |
- форма и размеры | | |
- прочность на изгиб | | |
- гибкость при многократном отгибе | | |
- смятие | | |
- осевое растяжение | | |
- герметичность | | |
<2> Принимают типоразмер с количеством прядей, при которых напряжения в обойме максимальные. <3> На каждый выбранный для испытаний тип по количеству прядей испытания двух образцов: по одному при минимальном и максимальном передаточном классе бетона по прочности на сжатие. При разнице между ними более 20 МПа необходимо дополнительно провести одно испытание для каждого типа при среднем передаточном классе прочности бетона на сжатие. <4> Типоразмер принимают не менее среднего по количеству прядей в пучке. |
7.1.3 Квалификационные испытания при низкой температуре
7.1.3.1 Общие требования принимают по
7.1.1.
7.1.3.2 Для применения элементов СПН в условиях краткосрочной эксплуатации при низких температурах должны быть выполнены следующие квалификационные испытания одного типа элементов СПН, предназначенного для низких температур:
- испытания на прочность двух образцов элементов многопрядевой СПН на растяжение при НКУ;
- испытания на усталость при НКУ пяти образцов элементов однопрядевой СПН без учета углов отклонения прядей перед обоймой или испытания на усталость двух образцов элементов многопрядевой СПН - при необходимости по
6.1.4;
- испытания двух образцов на прочность зоны передачи нагрузки на бетон при НКУ;
- одно испытание элементов многопрядевой системы на совместимость, натяжение и инъецирование при НКУ;
- испытания каналообразователей при НКУ;
- испытания не менее шести прядей на растяжение при действии низкой температуры;
- не менее трех испытаний (в каждом по два образца элементов) однопрядевой системы на осевое растяжение при действии низкой температуры;
- испытания двух образцов элементов многопрядевой системы на растяжение при действии низкой температуры;
- испытания двух образцов на прочность зоны передачи нагрузки на бетон при действии низкой температуры для минимальной передаточной прочности бетона;
- испытания шести образцов раствора инъецирования на прочность при сжатии при действии низкой температуры.
7.1.3.3 Для применения элементов СПН в условиях нормальной эксплуатации при низких температурах дополнительно к квалификационным испытаниям по
7.1.3.2 должны быть выполнены следующие квалификационные испытания одного типа элементов СПН:
- испытаний не менее трех прядей на усталость при действии низкой температуры - при необходимости по
6.1.4;
- не менее трех испытаний (в каждом по два образца элементов) элементов однопрядевой системы на усталость при действии низкой температуры без учета угла отклонения прядей - при необходимости по
6.1.4;
- испытания двух образцов на прочность зоны передачи нагрузки на бетон после воздействия низкой температуры для минимальной передаточной прочности бетона;
- испытания шести образцов раствора инъецирования на прочность при сжатии после действия низкой температуры.
7.1.3.4 Дополнительно к квалификационным испытаниям для каждого конкретного объекта в условиях низких температур и при неизменности конструкции элементов СПН должны быть проведены следующие испытания:
- испытания двух прядей на прочность при растяжении при действии низких температур на каждую плавку;
- три испытания (в каждом по два образца элементов) прочности элементов однопрядевой системы на осевое растяжение при действии низких температур на объект;
- испытания шести образцов раствора инъецирования при действии низких температур, если элементы СПН предназначены для краткосрочной эксплуатации;
- испытания шести образцов раствора инъецирования при действии низких температур и испытания шести образцов раствора инъецирования после действия низких температур, если элементы СПН предназначены для нормальной эксплуатации.
7.1.3.5 План квалификационных испытаний элементов многопрядевой СПН одного типа по количеству прядей для разных условий эксплуатации при низких температурах в соответствии с указаниями
7.1.1,
7.1.2 и
7.1.3 приведен в
таблице 7.2. План квалификационных испытаний серии элементов необходимо применять аналогично
7.1.2.
Таблица 7.2
План квалификационных испытаний элементов СПН одного типа
по количеству прядей в пучке для применения
при низких температурах
Испытание | Критерий | Методика | Краткосрочная эксплуатация при низких температурах | Нормальная эксплуатация при низких температурах |
Количество испытуемых образцов |
Прочность на растяжение при НКУ | | | 2 | 2 |
| | | 2 | 2 |
| | 5 | 5 |
Прочность зоны передачи на бетон при НКУ | | | | |
Совместимость, монтаж, натяжение, инъецирование при НКУ | | | | |
Каналообразователи при НКУ | | На каждый диаметр каналообразователя и муфты |
Прочность прядей на растяжение при действии низкой температуры | | | 6 | 6 |
Прочность однопрядевой системы на растяжение при действии низкой температуры | | | 6 | 6 |
Прочность многопрядевой системы на растяжение при действии низкой температуры | | | 2 | 2 |
Прочность зоны передачи нагрузки на бетон при действии низкой температуры | | | | |
Испытание раствора инъецирования на прочность при сжатии при действии низкой температуры | | | 6 | 6 |
Усталость прядей при действии низкой температуры <1> | | | - | 3 |
Усталость однопрядевой системы при действии низкой температуры <1> | | | - | 6 |
Прочность зоны передачи нагрузки на бетон после действия низкой температуры | | | - | |
Испытание раствора инъецирования на прочность при сжатии после действия низкой температуры | | | - | 6 |
<2> Учтены два испытания для минимальной передаточной прочности бетона. <3> Могут приниматься к зачету выполненные ранее квалификационные испытания при НКУ для того же типа СПН, но с другим количеством прядей. |
7.2 Приемо-сдаточные испытания
7.2.1 Приемо-сдаточные испытания элементов СПН должны выполняться с целью контроля соответствия готовой продукции требованиям настоящего стандарта, КД разработчика СПН и проводиться изготовителем по плану, приведенному в
таблице 7.3, и по дополнительным условиям разработчика СПН.
Таблица 7.3
План приемо-сдаточных испытаний элементов СПН
Элемент | Контролируемый параметр | Критерий | Метод | Объем |
Клиновой зажим | Шероховатость конической поверхности | КД разработчика СПН | | 5% партии, но не менее 20 шт. <1> |
Профиль зуба | |
Твердость поверхности | | 9 образцов-свидетелей от партии <1> |
Твердость сердцевины | 3 образца-свидетеля от партии <1> |
Глубина цементации | |
Стойкость к натяжению с перехватом | | | Не менее 4 шт. от партии <1> |
Обжимная муфта | Твердость поверхности заготовки <2> | КД разработчика СПН | | Две обжимные муфты от каждой партии <3> |
Прочность при осевом растяжении однопрядевой системы | | |
Обойма, стык, стальная опорная плита | Твердость поверхности <2> | КД разработчика СПН | | 10% партии, но не менее 2 шт. <4> |
Опорный стакан из литейных сталей | Временное сопротивление, предел текучести, относительное удлинение при разрыве, относительное сужение | | | Один раз в каждой плавке |
Опорный стакан из чугуна | Временное сопротивление, условный предел текучести, относительное удлинение при разрыве | | | Один раз в каждой плавке |
Все элементы анкеров | Внешний вид, маркировка, упаковка | КД разработчика СПН | | 100% |
Размеры | | 5% партии для клиновых зажимов и обжимных муфт и 100% партии для остальных элементов |
Каналообразователи, муфты | Форма и размеры | | | Один образец на каждую партию <5> |
<1> Партию клиновых зажимов принимают в объеме одной садки термообработки, но не более 400 шт. <2> Метод устанавливают в КД разработчика СПН по соответствующему стандарту. <3> За объем партии обжимных муфт принимают количество элементов, изготовленных из материала, поставленного по одному сертификату, но не более 400 шт. <4> За объем партии принимают количество элементов, изготовленных из материала, поставленного по одному сертификату. <5> За объем партии принимают количество каналообразователей одного внутреннего диаметра, изготовленных из одного рулона исходного материала для ленты. |
7.2.2 В ходе проведения приемо-сдаточных испытаний элементов СПН должны быть оформлены протоколы (рекомендуется по
форме 1 приложения В ГОСТ 15.309-98) с заключением о соответствии элементов, сведения о результатах приемо-сдаточных испытаний следует включать в документ о качестве готовой продукции. Положительные результаты приемо-сдаточных испытаний и положительные результаты предшествующих периодических испытаний, проведенных в установленные сроки, являются основанием для приемки продукции.
7.2.3 При отрицательных результатах приемо-сдаточных испытаний продукцию (с указанием обнаруженных дефектов) возвращают для выявления причин возникновения дефектов, проведения мероприятий по их устранению и для определения возможности исправления брака и повторного предъявления на приемо-сдаточные испытания (см.
таблицу 7.3) в объеме 100% партии, или изготовитель принимает решение о выбраковке.
7.2.4 Документы о качестве (паспорт) элементов СПН должны содержать как минимум следующие сведения:
- наименование и маркировку;
- наименование разработчика и изготовителя элементов СПН;
- дату изготовления;
- номер и дату протокола приемо-сдаточных испытаний;
- номер и дату протокола квалификационных и периодических испытаний для данного типа элементов СПН;
- наименование КД, в соответствии с которой изготовлены элементы;
- габаритные размеры;
- массу изделия;
- тип элементов СПН по температурному режиму эксплуатации СПН;
- тип элементов СПН по совместной работе с бетоном;
- наличие консервации;
- наименование настоящего стандарта.
7.2.5 Для анкеров документы о качестве (паспорт) СПН дополнительно должны содержать следующие сведения:
- тип элементов СПН по количеству, диаметру, типу и прочности прядей;
- тип элементов СПН по способу закрепления прядей в анкере;
- тип закладного опорного элемента.
7.2.6 Документ о качестве (паспорт) на каналообразователи дополнительно должен содержать, как минимум, размер и его допуски для внутреннего диаметра, высоту гофры и толщину листа.
7.2.7 На поверхности прядей, закладных опорных элементов, обойм, стыков и гофрированных каналообразователей допускается наличие равномерного налета ржавчины (поверхностное окисление), легко удаляемое сухой ветошью. Наличие на поверхности язвенной коррозии (питтингов) не допускается.
7.2.8 Клиновые зажимы и обжимные муфты не допускаются к использованию при наличии следов коррозии.
7.3 Периодические испытания
7.3.1 С целью контроля стабильности качества продукции и возможности продолжения ее выпуска изготовителем должны проводиться периодические испытания элементов СПН по плану, приведенному в
таблице 7.4.
Таблица 7.4
План периодических испытаний элементов СПН
Элемент | Контролируемый параметр | Критерий | Метод | Объем |
Клиновой зажим | Угол наклона конуса неразрезанного клинового зажима | КД разработчика СПН | | Два клиновых зажима на каждые 10 000 шт. одного типа, но не менее двух зажимов одного типа в год |
Микротвердость поверхности <1> | |
Микротвердость сердцевины <1> |
Шероховатость поверхности контрольных образцов клиновых зажимов | |
Профиль зуба | |
Прочность при осевом растяжении однопрядевой системы | | | Четыре клиновых зажима на каждые 10 000 шт. одного типа, но не менее четырех зажимов одного типа в год |
Обжимная муфта | Профиль наружной поверхности | КД разработчика СПН | | Две муфты на каждые 10 000 шт. одного типа, но не менее одного раза в год |
Опорный стакан из литейных сталей | Ударная вязкость при температуре 20 °C | | | Один раз каждые 450 опорных стаканов |
Обойма, стык, стальная опорная плита | Временное сопротивление, предел текучести, относительное удлинение при разрыве, относительное сужение <2> | | | Один раз каждые 2000 шт. одного типа, но не менее двух раз в год |
Ударная вязкость при температуре 20 °C и при минус 40 °C <3> | |
Шероховатость поверхности конусных отверстий обойм и стыков | КД разработчика СПН | | Два отверстия на каждые 10 000 конусных отверстий |
Угол наклона конусного отверстия в обойме или стыке | |
Опорный стакан из чугуна | Прочность на сжатие | | | Один раз каждые 150 опорных стаканов |
Каналообразователи, муфты | | | | Каждый месяц изготовления одного диаметра, но не реже одного раза в год для диаметра <6>, <7> |
Прочность на изгиб | | |
Гибкость при многократном отгибе | | |
Жесткость при смятии | | |
Прочность при осевом растяжении с муфтой <5> | | |
Герметичность | | |
| Прочность многопрядевой СПН на растяжение | | | Испытания двух образцов каждые пять лет |
Усталостная прочность <9> | | | Испытания двух образцов каждые пять лет |
| Испытания пяти образцов каждые пять лет |
<1> Метод устанавливают в КД разработчика СПН. <3> После термообработки. Для СПН в условиях низких температур ударную вязкость определяют дополнительно при температуре, равной Tк; при Tк от минус 100 °C и ниже испытания выполняют по ГОСТ 22848. <4> Относительный объем гофрированной части контролируют только для СПН со сцеплением. <5> Только для каналообразователей в СПН со сцеплением. <6> При изготовлении не более четырех различных диаметров каналообразователей испытаниям подлежат по одному образцу за каждый месяц изготовления для двух различных диаметров на каждом комплекте оборудования; при изготовлении более четырех различных диаметров каналообразователей испытаниям подлежат по одному образцу за каждый месяц изготовления для каждого четвертого диаметра, но не менее трех различных диаметров на каждом комплекте оборудования. <7> Испытания на форму и размеры, гибкость при многократном отгибе и герметичность должны быть дополнительно выполнены после изменений в настройках оборудования, после замены деталей оборудования, которые могут повлиять на качество каналообразователей, а также для каждого рулона исходного материала для ленты. <8> Тип СПН по количеству прядей для серии должен приниматься не менее чем средний. |
7.3.2 Результаты периодических испытаний элементов СПН должны быть оформлены протоколами и актами (рекомендуется по
форме 2 приложения В ГОСТ 15.309-98). В случае получения отрицательных результатов приемку и отгрузку принятой продукции приостанавливают до выявления причин возникновения дефектов, их устранения и проведения повторных испытаний в установленном объеме (см.
таблицу 7.4). При положительных результатах повторных периодических испытаний приемку и отгрузку продукции возобновляют. При получении отрицательных результатов повторных испытаний должно быть остановлено изготовление элементов СПН до устранения причин и проведения квалификационных испытаний с положительным результатом.
7.4 Входной контроль на участке строительства
7.4.1 При входном контроле элементов СПН следует контролировать соответствие маркировки, паспортов изделий и сертификатов материалов, условий транспортирования и хранения требованиям настоящего стандарта и стандартов изготовителей, а также применение элементов, произведенных изготовителями, указанными в результатах квалификационных испытаний СПН, которые предъявляются заказчику по требованию.
7.4.2 Независимо от наличия сертификата (паспорта) перед натяжением прядей необходимо проводить контрольные испытания прядей с определением разрывного усилия, временного сопротивления, предела текучести, модуля упругости, остаточного удлинения после разрыва. Перечисленные данные следует указывать для каждого мотка прядей вне зависимости от требования стандарта на пряди. Для испытаний прядей необходимо брать по три образца от обоих концов каждого мотка. Разрешается отбирать образцы в процессе изготовления каждого мотка или в процессе установки в строительную конструкцию. Если моток использован не полностью, вместо конца мотка разрешается отбирать образцы от начала остатка мотка. Испытанию подлежат два образца из мотка - по одному из отобранных от начала и конца. Остальные отобранные образцы сохраняют для возможности проведения повторных испытаний до конца строительства. Требования, измерения и порядок проведения испытаний установлены в
ГОСТ 12004.
8.1 Методы совместных испытаний элементов
8.1.1 Испытание элементов многопрядевой СПН на прочность при растяжении следует проводить по методике, изложенной в
приложении А.
8.1.2 Испытание элементов многопрядевой СПН на усталость рекомендуется проводить по методике, представленной в
приложении Б.
8.1.3 Испытание на прочность зоны передачи нагрузки на бетон должны проводить по методике, приведенной в
приложении В.
8.1.4 Испытание элементов многопрядевой системы на совместимость, натяжение и инъецирование рекомендуется проводить по установленной методике (см.
приложение Г). По согласованию с заказчиком СПН допускается применять другие методы испытаний.
8.1.5 Испытания прядей, элементов однопрядевой и многопрядевой СПН, а также инъекционного раствора при низких температурах рекомендуется проводить по методике, изложенной в
приложении Д.
8.1.6 Испытание элементов однопрядевой системы на прочность при растяжении с учетом углового отклонения пряди должно быть проведено по методике, приведенной в
приложении Е.
8.1.7 Испытание элементов однопрядевой системы на усталость без учета углового отклонения пряди должно быть проведено по методике, представленной в
приложении Ж.
8.1.8 Испытания каналообразователей должны быть выполнены по установленной методике (см.
приложение И).
8.1.9 Текучесть, оседание, прочность и морозостойкость инъекционного раствора должны контролировать по
приложению К.
8.1.10 Испытание элементов однопрядевой системы на прочность при осевом растяжении следует проводить с учетом следующих условий:
- до выполнения испытаний необходимо определить фактическое усилие разрыва пряди Ppm и габаритные размеры клиновых зажимов;
- должна быть обеспечена соосность оси пряди и обоймы;
- длина пряди между обоймами должна быть не менее 450 мм;
- измерению в ходе испытаний подлежит максимальное усилие;
- относительная погрешность определения усилия должна быть в пределах +/- 1%;
8.1.11 Потери в гидросистеме домкратов проверяют при тарировке. Тарировку домкратов для натяжения следует проводить каждые 12 мес с помощью поверенных измерительных приборов класса точности 0,2. Манометры, по которым контролируют давление рабочей жидкости в полости домкратов для натяжения, должны иметь класс точности 0,6 и должны быть подсоединены к поршневой полости домкратов гидравлическим рукавом длиной не более 1,5 м.
8.1.12 Потери в анкерах рекомендуется определять при испытаниях по
приложению Г следующим способом:
- для того, чтобы потери на трение пучка по длине были минимальными или отсутствовали для проведения работ, выбирают прямолинейный канал, в который установлен пучок прядей;
- на оба конца пучка устанавливают домкраты натяжения при выдвинутых штоках на длину не менее 100 мм, выбирают слабину достижением усилия в домкратах на уровне 10% Fpk;
- создают на активном конце усилие в домкрате, равное 70% Fpk;
- фиксируют усилие в домкрате на пассивном конце пучка;
- долю потерь определяют как квадратный корень из отношения усилий в домкратах на активном и пассивном концах, принимая в качестве усилий средние значения из трех последовательных испытаний.
8.2 Методы раздельных испытаний элементов
8.2.1 Внешний вид проверяют визуально без увеличительных приборов.
8.2.2 Линейные размеры проверяют линейкой по
ГОСТ 427 или рулеткой по
ГОСТ 7502 3-го класса точности и штангенциркулем с делением не более 0,05 мм по
ГОСТ 166 для клиновых зажимов и обжимных муфт и не более 0,1 мм для остальных элементов.
8.2.3 Шероховатость поверхности проверяют сравнительным методом по
ГОСТ 9378.
8.2.4 Шероховатость поверхности контрольных образцов проверяют с помощью профилографов-профилометров по
ГОСТ 19300.
8.2.7 Угол наклона клиновых зажимов и диаметр обжимных муфт проверяют с помощью координатно-измерительных машин, соответствующих
ГОСТ Р ИСО 10360-5.
8.2.8 Ударную вязкость при температуре от минус 100 °C и выше проверяют по
ГОСТ 9454. Форму образцов назначают в КД разработчика СПН.
8.2.9 Ударную вязкость при температуре ниже минус 100 °C проверяют по
ГОСТ 22848. Форму образцов назначают в КД разработчика СПН.
8.2.10 Стойкость клиновых зажимов к натяжению с перехватом при НКУ проверяют при последовательном приложении нагрузки 80%
Ppk к однопрядевой системе, состоящей из пряди, клинового зажима и обоймы, при выдержке в течение 3 мин, при полном снятии нагрузки, установке клинового зажима на целую часть пряди на каждом цикле. Выполняют четыре цикла. После четырех циклов фиксируют отсутствие в клиновом зажиме перемещения пряди, сквозных трещин и деформаций. Длина пряди между обоймами должна быть не менее 1000 мм. Свободная длина выпуска пряди при первом цикле должна выступать за испытуемый клиновой зажим не менее восьми длин зажима. Приведенная погрешность определения усилия должна быть в пределах +/- 2%
Ppk. Перемещение пряди измеряют с точностью 0,01 мм.
8.2.11 Временное сопротивление, предел текучести, относительное удлинение при разрыве обойм, стыков, стальных опорных плит и опорных стаканов из отливок стальных проверяют по
ГОСТ 1497.
8.2.12 Временное сопротивление, предел текучести, относительное удлинение при разрыве опорных стаканов из чугуна проверяют по
ГОСТ 27208, опорных стаканов из литейных сталей - по
ГОСТ 977.
8.2.13 Предел прочности при сжатии опорных стаканов из чугуна проверяют по
ГОСТ 25.503.
8.2.14 Форму и размеры каналообразователей проверяют по
И.1.
8.2.15 Прочность на изгиб каналообразователей проверяют по
И.2.
8.2.16 Гибкость при многократном изгибе каналообразователей проверяют по
И.3.
8.2.17 Смятие каналообразователей проверяют по
И.4.
8.2.18 Осевое растяжение каналообразователей проверяют по
И.5.
8.2.19 Герметичность каналообразователей проверяют по
И.6.
8.2.20 Профиль зуба разрезанных клиновых зажимов проверяют с помощью лупы ЛИ-3-10x по
ГОСТ 25706.
8.2.21 Профиль зуба неразрезанных клиновых зажимов проверяют с помощью контурографа или контурографа-профилометра.
8.2.22 Глубину цементации определяют визуально путем измерения толщины проявленного цементованного слоя с помощью микроскопа с диапазоном измерения от 0 до 3,5 мм, с видимым увеличением, кратным (50 +/- 2,5), и с пределом допускаемой абсолютной погрешности не выше +/- 0,02 мм.
9 Транспортирование и хранение
9.1 Транспортирование и хранение прядей должны быть осуществлены в соответствии с требованиями стандартов на пряди и дополнительными требованиями настоящего стандарта.
9.2 Запрещается перемещать пряди кранами без приспособлений или текстильных строп, предохраняющих их от резких перегибов, повреждений и загрязнения.
9.3 Хранение прядей следует осуществлять в заводской упаковке и по условиям 5
ГОСТ 15150. Запрещается хранение прядей на земляном полу. Максимальный срок хранения - один год.
9.4 К применению в СПН допускаются пряди со сроком хранения (со дня изготовления) к моменту инъецирования или натяжения (для СПН без сцепления) не более 12 мес. Указанный срок может быть увеличен, но не более, чем еще на 12 мес, после проведения визуального обследования на предмет наличия язвенной коррозии и выполнения после 12 мес хранения испытаний с положительным результатом не менее двух образцов от каждой бухты на растяжение по
ГОСТ 12004 и не менее трех образцов для партии объемом не более 75 т на склонность к коррозионному растрескиванию по
приложению В ГОСТ Р 53772-2010.
9.5 В случае нарушения упаковки при хранении клиновых зажимов, обжимных муфт, обойм и стыков упаковка должна быть восстановлена заказчиком СПН. Переконсервацию рекомендуется проводить не позднее чем через 10 мес после отгрузки. Заказчик может указать более жесткие требования к сроку службы консервации.
9.6 Закладные опорные элементы, каналообразователи и переходники допускается транспортировать и хранить без упаковки не более 12 мес, в случае превышения данного срока необходимо выполнить визуальный контроль 100% партии. В любом случае на элементах допускается только поверхностная ржавчина, удаляемая ветошью.
9.7 Для систем со сцеплением с бетоном период времени с момента изготовления партии цемента до использования в инъекционном растворе должен быть не более 60 сут, но не менее 7 сут.
9.8 В случае хранения цемента более 60 сут с момента изготовления цемент допускается применять после получения положительных результатов дополнительных испытаний по
ГОСТ 30744 на соответствие прочности на сжатие и началу схватывания требованиям
ГОСТ 31108. Результаты испытаний принимают как средние значения испытаний объединенной пробы общей массой не менее 20 кг, образованной смешиванием не менее пяти точечных проб, взятых из разных мешков, отдельно для каждой заводской партии цемента. Отбор проб выполняют по
разделу 7 ГОСТ 30515-2013. Кроме того, перед применением необходимо выполнить просеивание всей партии на сите с ячейкой от 0,55 до 1,0 мм.
9.9 Транспортирование каналообразователей следует осуществлять в специальных контейнерах либо с применением иных приспособлений, исключающих их повреждение и искривление, в том числе при погрузочно-разгрузочных работах.
9.10 Следует стремиться к минимальному сроку хранения каналообразователей в условиях строительной площадки из-за их высокой склонности к коррозии. На строительной площадке каналообразователи следует хранить под навесом на деревянных подкладках, расположенных с шагом не более 1 м.
10.1 Поставщик элементов СПН должен нести гарантийные обязательства перед заказчиком не менее чем в течение пяти лет после натяжения (или инъецирования для систем со сцеплением с бетоном) СПН, но не более шести лет с момента изготовления элементов СПН, при соблюдении заказчиком всех требований по применению элементов СПН, приведенных в документации, переданной поставщиком заказчику.
10.2 Все отклонения от требований настоящего стандарта должны быть задокументированы на стадии применения СПН, включая стадию проектирования, в этом случае могут быть сформулированы исключения из условий гарантии.
(обязательное)
МЕТОДИКА ИСПЫТАНИЯ ЭЛЕМЕНТОВ
МНОГОПРЯДЕВОЙ СИСТЕМЫ НА РАСТЯЖЕНИЕ
А.1.1 Для анкеров перед началом испытаний следует определять фактические значения геометрических размеров, указанных в КД разработчика СПН, а после проведения испытаний - фактические значения физико-механических характеристик, указанных в
6.2.2, на образцах, вырезанных из элементов СПН.
А.1.2 Для определения фактических механических свойств прядей должны быть выполнены испытания трех образцов прядей по
ГОСТ 12004 на растяжение с получением значений разрывного усилия, временного сопротивления, предела текучести, модуля упругости, остаточного удлинения после разрыва. В качестве фактических значений усилия разрыва принимают средние значения по результатам испытаний.
А.1.3 Геометрические параметры расположения элементов СПН в испытательном стенде, в том числе такие, как угол отклонения прядей от анкера к каналообразователю, должны соответствовать указаниям разработчика СПН.
А.1.4 Прямолинейный участок прядей (рабочая длина) должен быть не менее 3,0 м.
А.1.5 Для опорных элементов без плоской поверхности для опирания обоймы (например, однопрядевый анкер или многопрядевый анкер, в котором совмещены опорная деталь и обойма) допускается бетонирование элемента в призму с размерами как для испытания зоны передачи нагрузки на бетон (при этом возможно уменьшение высоты призмы по границе косвенного армирования) по отдельной методике разработчика СПН. Фактический класс бетона по прочности на сжатие Bф при таком испытании не должен быть более, чем на 20% выше передаточного класса бетона по прочности на сжатие Bп, заявленного разработчиком СПН.
А.1.6 Критерии приемки испытания приведены в
6.1.3.
А.1.7 Испытания проводят при НКУ.
А.1.8 Если на обоих концах пучка установлены одинаковые типы обойм и клиновых зажимов (обжимных муфт), обеспечены идентичные условия опирания обойм на стенд, а углы отклонения прядей перед обоймой соответствуют КД разработчика СПН, то одно испытание принимают как испытание двух образцов-представителей.
А.2 Порядок испытания
А.2.1 Пряди, обоймы и клиновые зажимы (стыки, обжимные муфты, если применимо) устанавливают в испытательный стенд. Для исключения влияния короткой длины пучка в стенде выборка слабины прядей допускается однопрядевым домкратом для каждой пряди отдельно с последующей опрессовкой клиновых зажимов.
А.2.2 Выполняют ступенчатое натяжение пучка до усилия, соответствующего 20%, 40%, 60% и 80% Fpk. Усилие должно возрастать с постоянной скоростью, при которой обеспечивается увеличение напряжений в прядях не более 100 МПа/мин.
А.2.3 На последней ступени усилие должно поддерживаться постоянным и равным 80%
Fpk в течение 1 ч для элементов СПН со сцеплением с бетоном и в течение 2 ч для элементов СПН без сцепления, после чего для элементов СПН со сцеплением с бетоном усилие увеличивается по
А.2.4, а для элементов СПН без сцепления усилие уменьшается до 20%
Fpk, после чего увеличивают усилие по
А.2.4. Для систем со сцеплением с бетоном допускается применять такой же порядок действий после достижения 80%
Fpk, как для элементов СПН без сцепления.
А.2.4 Увеличивают усилие в пучке элементов СПН до разрушения со скоростью, при которой возрастает относительная деформация прядей со скоростью не более 0,2% в минуту. В целях безопасности допускается останавливать испытание при получении усилия более 95%
Fpk и выполнять дальнейшую разгрузку стенда и образца.
А.3 Измерения и наблюдения
А.3.1 Должна быть выполнена фиксация следующих измерений и наблюдений:
- определение фактических размеров и механических свойств элементов СПН;
- проверка соответствия фактических размеров и механических свойств элементов СПН требованиям КД разработчика СПН;
- зависимость от нагрузки и времени для положения прядей
s и клиновых зажимов
r (обжимных муфт, если применимо, см.
рисунок А.1) и их изменений

и

для всех ступеней нагружения до 80%
Fpk включительно и после 10, 20, 30 и 60 мин после достижения 80%
Fpk, контроль выполняют не менее чем для двух прядей пучка, размеры
s и

контролируют для центральной и одной крайней проволоки пряди, размеры
r и

- на тех же прядях, где контролируют размеры
s и

;
- для элементов СПН без сцепления дополнительно поэтапно измеряют деформации обоймы в радиальном направлении

и деформации обоймы относительно опорной плиты

(см.
рисунок А.2) по следующим этапам нагружения пучка в процентах от усилия
Fpk:
- 20%,
- 40%,
- в период 10 мин после достижения 80%,
- в период между 30 и 40 мин после достижения 80%,
- в период между 60 и 70 мин после достижения 80%,
- в период между 120 и 130 мин после достижения 80%.
Рисунок А.1 - Размеры прядей и клиновых зажимов
(обжимных муфт, если применимо), контролируемые при испытании
1, 2, 3, 4 - образующие обоймы, вдоль которых контролируются
деформации обоймы в радиальном направлении

на трех
уровнях; a, b, c - точки обоймы, в которых контролируются
деформации обоймы относительно опорной плиты

Рисунок А.2 - Размеры обойм, контролируемые при испытании
Измерения деформаций обоймы также допускается выполнять для элементов СПН со сцеплением с бетоном;
- зависимость нагрузка-удлинение на всем протяжении испытаний;
- полное относительное удлинение прядей

при максимальном измеренном усилии
FTu;
- место и характер разрушения;
- оценка элементов после демонтажа, фотографирование, комментарии, включая остаточные деформации обоймы (с точностью не более 10 мкм), необычные явления и деформации.
Примечание - Для обойм до семи прядей включительно измерения

и

могут быть выполнены альтернативными методами или полностью исключены при отсутствии доступа к обоймам. Также для обойм не более семи прядей включительно допускается уменьшение уровней измерения

до двух.
А.3.2 Погрешность измерения усилий должна быть в диапазоне +/- 2% максимального измеренного усилия. Отклонение усилий по ступеням нагружения должны быть не более +/- 2% заданных значений на ступенях. Точность измерения деформации обойм, положения выпусков прядей, отдельных проволок прядей и клиновых зажимов должна быть не более 0,01 мм. Измерение удлинения прядей должно быть выполнено с точностью 0,1 мм. Полное относительное удлинение при максимальной нагрузке определяют по
ГОСТ 12004 прямым измерением или суммированием относительного равномерного удлинения после разрыва и упругого удлинения при максимальной нагрузке.
(рекомендуемое)
МЕТОДИКА ИСПЫТАНИЯ ЭЛЕМЕНТОВ
МНОГОПРЯДЕВОЙ СИСТЕМЫ НА УСТАЛОСТЬ
Б.1 Общие требования
Б.1.1 Общие требования должны соответствовать приведенным в
А.1.
Б.1.2 Если на обоих концах пучка установлены одинаковые типы обойм и клиновых зажимов (обжимных муфт), обеспечены идентичные условия опирания обойм на стенд, а углы отклонения прядей перед обоймой соответствуют КД разработчика СПН, то одно испытание принимают как испытание двух образцов-представителей.
Б.1.3 Допускается устанавливать в предусмотренный к испытаниям пучок с np максимально возможным числом прядей уменьшенное количество прядей n' согласно следующим условиям:
- если np < 12, количество прядей не подлежит изменению;
- если np >= 12, то n' = максимум из [12; 6 + (np - 12)/3].
При этом следует устанавливать пряди в обойму осесимметрично и с обязательным использованием тех отверстий в обоймах, в которых обеспечивается максимальное отклонение пряди при входе в обойму в пучке с np прядями согласно КД разработчика СПН. Свободные отверстия в обоймах и стыках должны быть заполнены клиновыми зажимами с отрезками прядей не менее чем на всю длину обойм (стыков).
Б.1.4 Критерии приемки испытания приведены в
6.1.4.
Б.1.5 Испытания проводят при НКУ.
Б.2 Порядок испытания
Б.2.1 Пряди, обоймы и клиновые зажимы (стыки, обжимные муфты, если применимо) устанавливают в испытательный стенд с соблюдением требований
А.1.3. Для исключения влияния короткой длины пучка в стенде на результаты допускается выборка слабины прядей однопрядевым домкратом для каждой пряди отдельно на усилие до 10%
Ppk.
Б.2.2 Частота приложения нагрузки должна быть постоянной и не более 30 Гц, с верхним пределом 65%
Fpk. На протяжении не менее чем 2 млн циклов разница между минимальным и максимальным значениями усилий должна быть постоянной при размахе напряжений согласно требованиям
6.1.4, напряжения определяют по номинальной площади поперечного сечения прядей.
Б.2.3 Возникновение вторичных колебаний при проведении испытаний должно быть исключено.
Б.3 Измерения и наблюдения
Б.3.1 Должна быть выполнена фиксация следующих измерений и наблюдений:
- определение фактических размеров и механических свойств элементов СПН согласно
А.1.1;
- проверка соответствия фактических размеров и механических свойств элементов СПН требованиям КД разработчика СПН;
- зависимость от нагрузки и номера цикла для изменений положения прядей (см.
рисунок А.1)

и клиновых зажимов (обжимных муфт, если применимо)

, контроль выполняется не менее чем для двух прядей, при этом

контролируют для центральной и одной крайней проволоки каждой пряди, а

- на тех же прядях, где контролируется

;
- оценка элементов после демонтажа, фотографирование, комментарии, включая следы усталостного разрушения, необычные явления и деформации;
- место и характер разрушения с привязкой к количеству циклов.
Б.3.2 Относительная погрешность средств измерения усилия должна быть в пределах +/- 1%. Точность измерения положения выпусков прядей, отдельных проволок прядей и клиновых зажимов (обжимных муфт) должна быть не более 0,01 мм.
Б.4 Особенности испытаний бетонируемого каркасного анкера или бетонируемого обжимного анкера
Б.4.1 Размеры и конструкция образца должны соответствовать приведенным в
приложении В.
Б.4.2 Фактический класс бетона по прочности на сжатие Bф в начале циклического приложения нагрузки не должен быть выше передаточного класса бетона по прочности на сжатие Bп, установленного разработчиком СПН, а в конце приложения циклической нагрузки не должен быть выше 1,2Bп или превышать Bп более чем на 10 МПа.
Б.4.3 Порядок проведения испытания должен соответствовать приведенному в
Б.2.2 и
Б.2.3.
Б.4.4 Измерения и наблюдения должны быть выполнены по указаниям
Б.3. Дополнительно фиксируют относительное перемещение концов прядей относительно бетона.
(обязательное)
МЕТОДИКА ИСПЫТАНИЯ ЗОНЫ ПЕРЕДАЧИ НАГРУЗКИ НА БЕТОН
В.1.1 Испытания прочности зоны передачи нагрузки следует проводить на образце в виде железобетонной призмы, которую подвергают осевому сжатию.
В.1.2 Для закладных опорных элементов перед началом испытаний должны быть определены фактические значения геометрических размеров, указанных в КД разработчика СПН, а после проведения испытаний - фактические значения физико-механических свойств (см.
6.2 и
6.3).
Для арматуры косвенного армирования и армирования призмы следует определять фактические значения временного сопротивления, предела текучести и относительного удлинения при разрыве.
В.1.3 Призма должна содержать опорный закладной элемент с переходником до диаметра каналообразователя и косвенное армирование, которые изготавливают и устанавливают согласно указаниям разработчика СПН, пустой каналообразователь, а также дополнительное армирование в виде поперечных хомутов и продольных стержней (см.
рисунок В.1).
1 - косвенное армирование; 2 - опорный закладной элемент
анкера; 3 - продольное армирование и поперечные хомуты;
4 - пустой каналообразователь
Рисунок В.1 - Призма для испытаний зоны передачи
нагрузки на бетон
В.1.4 Поперечные размеры призмы a и b назначают в зависимости от межцентровых x и y и краевых расстояний ex и ey, которые указывает разработчик СПН для рассматриваемых типов анкеров и передаточных классов бетона Bп по прочности на сжатие.
Поперечные размеры и межцентровые расстояния должны соответствовать следующим условиям:
x >= 0,85a;
y >= 0,85b;
x <= y.
Краевые расстояния должны удовлетворять следующим условиям:
ex = 0,5x - 10 мм + c;
ey = 0,5y - 10 мм + c,
где c - защитный слой бетона косвенного армирования в железобетонной конструкции.
Высота призмы h должна быть не менее двойного размера поперечного сечения a или b (что менее). Нижняя часть призмы без косвенного армирования должна быть высотой не менее 0,5h.
В.1.5 Площадь поперечного сечения продольного армирования в призме должна быть не более 0,3% площади бетонного поперечного сечения призмы. Объемное содержание арматуры хомутов в призме 50 кг/м3 и менее не учитывают в качестве косвенного армирования, содержание хомутов выше 50 кг/м3 должно быть учтено в КД разработчика СПН в составе косвенного армирования. При этом армирование хомутами в объеме 50 кг/м3 должно быть равномерно распределено по высоте призмы. Защитный слой бетона для дополнительного армирования призмы в виде хомутов в объеме 50 кг/м3 рекомендуется принимать равным от 10 до 15 мм.
В.1.6 Перед бетонированием призмы следует проводить проверку установленного армирования и закладных деталей на соответствие требованиям настоящего стандарта, КД разработчика СПН.
В.1.7 Бетонная смесь для призмы должна соответствовать смесям, применяемым для предварительно напряженных железобетонных конструкций в части состава, требований по вибрированию и укладке. Бетонирование призмы следует выполнять в горизонтальном положении (высота призмы h расположена горизонтально). Через 1 сут после бетонирования следует демонтировать опалубку и далее проводить мероприятия по уходу за бетоном вплоть до испытания. Контрольные образцы, предназначенные для получения фактической прочности бетона, следует хранить рядом с призмой в таких же температурно-влажностных условиях. Для уменьшения времени выдержки призмы допускается применить бетонную смесь с классом по прочности на сжатие в возрасте 28 сут выше, чем класс, предусмотренный разработчиком СПН, но не более чем на 10 МПа. При этом натяжение необходимо выполнять при прочности согласно указаниям разработчика СПН.
В.1.8 Перед началом испытаний должен быть определен фактический класс бетона по прочности на сжатие B
ф по
8.4.4 ГОСТ 18105-2018. При этом определение фактической прочности бетона на сжатие
Rm следует выполнять в соответствии с
ГОСТ 10180 по контрольным образцам-кубам в количестве не менее трех штук на призму. Перед началом испытания призмы фактический класс бетона по прочности на сжатие B
ф должен быть не более передаточного класса бетона по прочности на сжатие B
п. Кроме того, непосредственно после окончания испытания призмы,
Rm не должна быть больше
Rт более чем на 3 МПа:
Rm <=
Rт + 3,0 МПа. При этом
Rт определяют по формуле
Rт = 1,28Bп. (В.1)
В.1.9 Критерии приемки испытания приведены в
6.1.5.
В.1.10 Испытания проводят при НКУ.
В.2.1 Призму устанавливают в испытательный стенд. Приложение нагрузки на закладной опорный элемент анкера должно соответствовать схеме приложения нагрузки от обоймы при использовании СПН на объекте строительства.
В.2.2 Нагрузку
F прикладывают на призму ступенями на уровнях 0,2
Fpk, 0,4
Fpk, 0,6
Fpk, 0,8
Fpk. После достижения уровня 0,8
Fpk выполняют не менее 10 циклов снижения
F до 0,12
Fpk и увеличения
F до 0,8
Fpk, после чего увеличивают нагрузку до разрушения (см.
рисунок В.2). По условиям безопасности и сохранности оборудования допускается остановить нагружение на уровне 110%
Fpk. Если после 10 циклов не достигнуто стабилизации раскрытия трещин и относительных деформаций, необходимо продолжить выполнение циклов снижения-увеличения нагрузки до получения стабилизации.
1 - первый цикл; 2 - 10 циклов; 3 - увеличение нагрузки
до разрушения
Рисунок В.2 - Порядок приложения нагрузки на призму
В.2.3 Условие стабилизации ширины раскрытия продольной трещины (вдоль усилия сжатия призмы) следующее:
wn - wn-4 <= 1/3(wn-4 - w0), (В.2)
где w - ширина раскрытия трещины;
нижний индекс n - номер цикла;
w0 - ширина раскрытия трещины после первого достижения нагрузки 80% Fpk, т.е. перед началом циклов.
Схематическое представление стабилизации ширины раскрытия трещины приведено на
рисунке В.3. При уменьшении ширины раскрытия трещины или при ширине трещины менее 0,1 мм стабилизацию считают достигнутой.
Рисунок В.3 - Схематическое представление стабилизации
ширины раскрытия трещины
Ширина раскрытия трещин на поверхности призмы при первом приложении нагрузки на уровне 80% Fpk должна быть не более 0,15 мм.
Ширина раскрытия трещин на поверхности призмы при последнем приложении нагрузки на уровне 12% Fpk должна быть не более 0,15 мм.
Ширина раскрытия трещин на поверхности призмы при последнем приложении нагрузки на уровне 80% Fpk должна быть не более 0,25 мм.
В.2.4 Условие стабилизации относительных деформаций следующее:

(В.3)
где

- относительная деформация;
нижний индекс n - количество циклов, не менее 10;

- относительная деформация после первого достижения нагрузки 0,8 усилия разрыва пучка при
Fpk, т.е. перед началом циклов.
Схематическое представление стабилизации относительной деформации приведено на
рисунке В.4. При уменьшении относительной деформации стабилизацию считают достигнутой.
Рисунок В.4 - Схематическое представление стабилизации
относительной деформации
В.3 Измерения и наблюдения
В.3.1 Должна быть выполнена фиксация следующих измерений и наблюдений:
- определение фактических размеров и механических свойств элементов СПН;
- проверка соответствия фактических размеров и механических свойств элементов СПН требованиям КД разработчика СПН;
- фактическая прочность бетона на сжатие перед и непосредственно после проведения испытания;
- продольные и поперечные относительные деформации на одной боковой грани призмы в районе наибольших напряжений раскалывания в бетоне (см.
рисунок В.5) на каждом уровне нагрузки и на каждом цикле нагружения, включая первое ступенчатое доведение нагрузки до 80%
Fpk;
- измерение продольных относительных деформаций на одной базе одной грани, поперечной относительной деформации на двух базах одной грани призмы. Длина базы измерений должна быть в пределах 0,6 - 0,8 стороны призмы b;
- измерение ширины раскрытия продольной трещины на одной грани призмы;
- появление, ширина и распространение трещин на гранях призмы на каждой ступени и цикле нагружения;
- визуальный осмотр и/или инструментальное измерение деформаций элементов СПН относительно бетона;
- расположение и форма разрушения;
- максимальное измеренное усилие FTu;
- оценка призмы и ее составляющих после проведения испытания, фотографирование, комментарии.
1 - трещина; 2 - база измерения поперечной
относительной деформации; 3 - база измерения
продольной относительной деформации
Рисунок В.5 - Схематическое расположение
измеряемых параметров
В.3.2 Погрешность измерения усилия должна быть в диапазоне +/- 2% максимального измеренного усилия. Точность измерения перемещений опорного закладного элемента относительно призмы и ширины раскрытия трещин должна быть не более 0,01 мм. Точность измерения деформаций граней призмы - не более 0,005 мм.
В.4 Особенности испытаний бетонируемого каркасного анкера или бетонируемого обжимного анкера
В.4.1 Общие требования должны соответствовать указаниям, приведенным в
В.1.
В.4.2 Размеры и конструкция призмы должны соответствовать указанным в
В.1 и представленным на
рисунке В.6. Прямолинейный участок пучка прядей должен быть не менее чем в два раза длиннее, чем самая длинная сторона поперечного сечения призмы.
1 - косвенное армирование (при необходимости);
2 - бетонируемый анкер; 3 - продольное армирование
и поперечные хомуты; 4 - каналообразователь
без заполнения раствором
Рисунок В.6 - Призма для испытаний зоны передачи нагрузки
на бетон для элементов СПН с бетонируемым каркасным анкером
или бетонируемым обжимным анкером
В.4.3 Непосредственно после окончания испытания призмы
Rm не должна быть больше 80%
Rт, при этом допускается увеличение размеров призмы относительно призмы для элементов СПН с таким же значением усилия разрыва пучка при
Fpk и закладным опорным элементом по
В.1 при соответствующем увеличении межцентровых и краевых расстояний и с их указанием в КД разработчика СПН для данного типа анкера.
В.4.4 Призма должна бетонироваться в горизонтальном положении, при этом, для того чтобы учесть негативное влияние схватывания бетона на сцепление с прядями, необходимо выполнять совместное бетонирование призмы и дополнительного массива бетона высотой 500 мм под призмой с последующим удалением дополнительного массива бетона перед проведением испытания.
В.4.5 Порядок испытания призмы и критерии стабилизации должны соответствовать приведенным в
В.2.
В.4.6 Измерения и наблюдения должны соответствовать указаниям
В.3 с дополнительным контролем проскальзывания концов прядей относительно бетона.
(рекомендуемое)
МЕТОДИКА ИСПЫТАНИЯ ЭЛЕМЕНТОВ МНОГОПРЯДЕВОЙ СИСТЕМЫ
НА СОВМЕСТИМОСТЬ, НАТЯЖЕНИЕ И ИНЪЕЦИРОВАНИЕ
Г.1 Общие требования
Г.1.1 Образец должен быть в виде железобетонной однопролетной балки общей длиной не менее
l = 30 м, включая консольную часть длиной не менее 0,2 от общей длины и высотой не менее 1,5 м (см.
рисунок Г.1). Ширина балки должна быть равной удвоенному краевому расстоянию для данного типа анкеров по указаниям разработчика СПН. Допускается принимать ширину балки более двух краевых расстояний, при этом как минимум с одной стороны расстояние от края балки до оси анкера должно быть не более краевого расстояния по указаниям разработчика СПН.
1 - активный анкер; 2 - низшая точка пучка; 3 - точка
перегиба пучка; 4 - верхняя точка пучка; 5 - точка перегиба
пучка; 6 - активный или пассивный анкер
Рисунок Г.1 - Схема балки для испытаний на совместимость,
натяжение и инъецирование
Г.1.2 Профиль пучка должен содержать не менее двух участков с кривизной противоположного знака, причем в верхней точке пучка должна быть вписана кривая с минимальным радиусом Rmin для данного типа пучка.
Каждый участок профиля с кривизной своего знака должен содержать отклонения оси пучка от проектного профиля в противоположных направлениях, расположение сечений с отклонениями должно быть подряд "-10 мм" и "+10 мм".
Г.1.3 В балке следует использовать элементы СПН, соответствующие КД разработчика СПН.
Г.1.4 Армирование балки необходимо предусматривать согласно сводам правил по проектированию железобетонных конструкций. Косвенное армирование зоны передачи нагрузки на бетон должно соответствовать КД разработчика СПН.
Г.1.5 Допускается устанавливать несколько пучков СПН для одновременного испытания нескольких типов анкеров.
Г.1.6 Работы по монтажу, натяжению и инъецированию должны быть выполнены по технологическим картам разработчика СПН.
Г.1.7 Критерии приемки испытания приведены в
6.1.7,
6.1.8.
Г.1.8 Испытания проводят при НКУ.
Г.1.9 Допускается применение полномасштабной модели сооружения другой конструкции с учетом радиусов расположения прядей, которая обеспечит возможность проведения испытания и измерений согласно
Г.2 и
Г.3.
Г.2.1 После набора бетоном минимальной передаточной прочности по указаниям разработчика СПН выполняют ступенчатое натяжение до максимального уровня, допускаемого разработчиком СПН. Натяжение следует проводить с одной стороны оборудованием, предусмотренным разработчиком СПН для работ на объектах. Для тех пучков, у которых возможно натяжение с другой стороны, необходимо устанавливать второй комплект оборудования для получения данных об остаточном усилии. Следующим этапом с пучка полностью снимают усилие, после чего выполняют повторное натяжение с другой стороны пучка (если применимо) и передачу усилия с домкратов на бетон.
Г.2.2 Для контроля равномерности усилий в прядях необходимо использовать однопрядевый домкрат, с помощью которого определяют усилия в отдельных прядях методом отрыва клинового зажима и фиксацией усилия в домкрате.
Г.2.3 После передачи нагрузки с домкратов на бетон выполняют инъецирование каналов (для системы со сцеплением с бетоном) по указаниям технологических карт разработчика СПН.
Г.2.4 После достижения раствором инъецирования минимально допустимой прочности по указаниям разработчика СПН необходимо выполнить разборку бетона до вскрытия каналообразователей и провести отбор кернов каналообразователя в сечениях I - VI по
рисунку Г.1. Диаметр кернов должен быть больше внутреннего диаметра каналообразователя.
Г.3 Измерения и наблюдения
Г.3.1 Должна быть выполнена фиксация следующих измерений и наблюдений:
- определение фактических размеров и механических свойств элементов СПН;
- проверка соответствия фактических размеров и механических свойств элементов СПН требованиям разработчика СПН;
- исполнительные чертежи балки, включая армирование и элементы СПН;
- журнал натяжения и снятия усилий с пучков, включая упругие вытяжки прядей и ход штока домкрата на каждом этапе;
- погодные условия;
- визуальный осмотр и фотографирование балки и деталей СПН в процессе и после окончания испытаний;
- сравнение теоретических и практических упругих удлинений пучков;
- сравнение фактических коэффициентов трения, полученных расчетом по результатам измерений упругих удлинений со значениями коэффициентов, установленных
СП 35.13330 и
СП 63.13330;
- равномерность усилий в прядях;
- описание кернов и установление сплошности заполнения канала;
- расположение и размеры пустот в каналообразователе.
Г.3.2 При использовании прядевых домкратов натяжения для контроля значений усилий на ступенях нагружения следует учитывать потери на трение прядей в анкерах, тарировка домкратов должна быть выполнена в период не ранее чем за 6 мес до испытания, с относительной погрешностью в пределах +/- 2%. Геометрические размеры балки, деталей армирования и удлинение прядей должны быть измерены с точностью до 1 мм.
(рекомендуемое)
МЕТОДИКА ИСПЫТАНИЙ В УСЛОВИЯХ НИЗКИХ ТЕМПЕРАТУР
Д.1 Испытание прядей на растяжение при действии низкой температуры
Д.1.1 Фактические механические свойства прядей при температуре НКУ должны быть определены по
А.1.2.
Д.1.2 Испытаниям при низкой температуре подлежат три пряди из партии, прошедшей испытания по
Д.1.1.
Д.1.3 Испытания пряди на растяжение при низкой температуре должны быть выполнены в соответствии с требованиями
ГОСТ 12004 и следующими дополнительными условиями:
- рабочая длина образца должна быть не менее 800 мм;
- температура образца на рабочей длине на протяжении всего испытания должна быть ниже, чем квалификационная температура Tк;
- по результатам испытаний должны быть определены фактическое усилие разрыва, нагрузка при условном пределе текучести P0,1cr, полное относительное удлинение при максимальной измеренной нагрузке и относительное сужение проволоки пряди.
Д.1.4 Относительное сужение проволоки пряди после разрыва определяют по
ГОСТ 1497.
Д.1.5 Относительная погрешность определения температуры должна быть в диапазоне +/- 5 °C. Относительная погрешность средства измерения усилия должна быть в диапазоне +/- 1%.
Д.1.6 Критерии приемки испытания приведены в
6.3.1.3.
Д.2 Испытание элементов однопрядевой системы на растяжение при действии низкой температуры
Д.2.1 Перед началом испытаний должны быть определены фактические геометрические параметры прядей, обойм и клиновых зажимов (обжимных муфт, если применимо) по
А.1.1.
Д.2.2 Фактические механические свойства прядей при НКУ принимают по результатам испытаний по
Д.1.1.
Д.2.3 На обоих концах пряди должны быть обоймы СПН. Допускается использовать многопрядевую обойму или однопрядевую обойму с геометрией и механическими свойствами, аналогичными многопрядевым обоймам. Рабочая длина образца между обоймами должна быть не менее 350 мм. Обоймы следует устанавливать соосно друг другу.
Д.2.4 Испытание проводят в следующем порядке (условная схема приведена на
рисунке Д.1):
- при НКУ выполняют ступенчатое натяжение до усилия, соответствующего 20%, 40%, 60% и 80% Ppk, усилие должно возрастать с постоянной скоростью, при которой обеспечивается увеличение напряжений в прядях не более 100 МПа/мин, при уровне 80% Ppk усилие следует поддерживать постоянным не менее 1 ч;
- проводят охлаждение прядей, обойм и клиновых зажимов (обжимных муфт) до температуры ниже квалификационной температуры Tк, при этом поддерживают усилие постоянным на уровне 80% Ppk, выполняют выдержку не менее 1 ч при температуре не выше Tк и усилии на уровне 80% Ppk, при этом допускается изменение температуры не более чем на 5 °C, но в любом случае температура не должна быть выше Tк;
- выполняют десять циклов нагружения от уровня 90% нагрузки при условном пределе текучести Pp0,1k при НКУ до уровня 100% Pp0,1k при НКУ;
- увеличивают усилие со скоростью, при которой возрастает относительная деформация прядей со скоростью не более 0,2% в минуту до разрушения. В целях безопасности допускается останавливать испытание при получении усилия более чем 95% Ppk.
Рисунок Д.1 - Условная схема испытаний однопрядевой системы
на растяжение при низкой температуре
Д.2.5 Должна быть выполнена фиксация следующих измерений и наблюдений:
- определение фактических размеров и механических свойств элементов СПН;
- проверка соответствия фактических размеров и механических свойств элементов СПН требованиям КД разработчика СПН;
- зависимость при НКУ от нагрузки и времени для положения пряди
s и клиновых зажимов
r (обжимных муфт, если применимо) и их изменений

и

для всех ступеней нагружения до 80%
Ppk включительно; размеры
s,

,
r и

контролируют для центральной и одной крайней проволоки пряди;
- температура пряди, наружной поверхности обойм и клиновых зажимов;
- зависимость нагрузка-удлинение на всем протяжении испытаний;
- полное относительное удлинение прядей

при максимальном измеренном усилии
FTu;
- место и характер разрушения;
- оценка элементов после демонтажа, фотографирование, комментарии, необычные явления и деформации.
Д.2.6 Погрешность измерения усилия должна быть в диапазоне +/- 1% максимального измеренного усилия. Отклонение усилий по ступеням нагружения должно быть не более +/- 2% заданных значений на ступенях. Точность измерения положения выпусков прядей, отдельных проволок прядей и клиновых зажимов должна быть не более 0,01 мм. Удлинение прядей должно быть измерено с точностью 0,1 мм. Полное относительное удлинение при максимальной нагрузке определяют по
ГОСТ 12004 прямым измерением или суммированием относительного равномерного удлинения после разрыва и упругого удлинения при максимальной нагрузке. Погрешность определения температуры должна быть в диапазоне +/- 5 °C.
Д.2.7 Критерии приемки испытания приведены в
6.3.1.4.
Д.3 Испытание элементов многопрядевой системы на растяжение при действии низкой температуры
Д.3.1 Перед началом испытаний следует определять фактические геометрические параметры прядей, обойм и клиновых зажимов (обжимных муфт, если применимо) по
А.1.1 и
А.1.2.
Д.3.2 Фактические механические свойства прядей при НКУ и
P0,1cr принимают по результатам испытаний по
Д.1.
Д.3.3 На обоих концах пучка должны быть обоймы СПН. Рабочая прямолинейная длина образца должна быть не менее 3,0 м. Обоймы следует устанавливать соосно друг другу, отклонение прядей перед обоймой должно соответствовать КД разработчика СПН. Для исключения влияния короткой длины пучка в стенде выборка слабины прядей допускается однопрядевым домкратом для каждой пряди отдельно на усилие до 10% Ppk.
Д.3.4 Допускается охлаждать только одну обойму с прилегающим участком пучка длиной не менее 1,5 м, в таком случае должно быть проведено два испытания.
Д.3.5 Порядок испытаний, измерения и наблюдения принимают по
Д.2.4 -
Д.2.6 со следующими дополнительными условиями:
- контроль положения выпусков прядей, отдельных проволок прядей и клиновых зажимов по стадиям при НКУ выполняют для двух прядей;
- расчетная длина на участке низкой температуры для определения относительного равномерного удлинения после разрыва должна быть не менее 1,25 м.
Д.3.6 Критерии приемки испытания приведены в
6.3.1.5.
Д.4 Испытание зоны передачи нагрузки на бетон при действии низкой температуры
Д.4.1 Общие требования, порядок проведения, измерения и наблюдения, условия стабилизации деформаций и раскрытия трещин соответствуют методике
приложения В при учете следующих дополнительных требований:
- после выполнения циклов нагружения и достижения стабилизации деформаций и ширины раскрытия трещин при нагрузке на уровне 80% Fpk при НКУ проводят охлаждение призмы до температуры ниже Tк, поддерживая постоянную нагрузку на уровне 80% Fpk, выполняют выдержку не менее 1 ч при температуре не выше Tк и усилии на уровне 80% Ppk, при этом допускается изменение температуры не более чем на 5 °C, но в любом случае температура не должна быть выше Tк;
- выполняют последующее увеличение нагрузки до разрушения или достижения не менее 110% Fpk;
- контроль температуры следует выполнять внутри призмы как минимум для двух точек бетона (рядом с косвенным армированием и внутренней поверхностью закладной опорной детали);
- разница температуры между разными точками не должна быть более 5 °C;
- погрешность определения температуры должна быть в диапазоне +/- 5 °C;
- если ранее при НКУ проведены с положительным результатом испытания зоны передачи нагрузки на бетон для двух образцов элементов с такими же закладными деталями, косвенным армированием и бетоном, то допускается не выполнять циклы стабилизации деформаций и ширины раскрытия трещин и после первого достижения уровня 80% Fpk сразу перейти к охлаждению и последующему увеличению нагрузки.
Д.4.2 Критерии приемки испытания приведены в
6.3.1.6.
Д.5 Испытание раствора инъецирования на прочность при сжатии при действии низкой температуры
Д.5.1 Общие требования, порядок проведения, измерения и наблюдения принимают по методике
К.3 при учете следующих дополнительных требований:
- изготавливают и выдерживают при НКУ шесть образцов, из которых три образца подлежат испытанию на сжатие при НКУ, а три образца при температуре ниже, чем квалификационная температура Tк;
- образцы для испытания при низкой температуре охлаждают непосредственно перед испытанием и выдерживают при низкой температуре не менее 60 мин;
- испытания проводят незамедлительно после выемки образцов из камеры охлаждения.
Д.5.2 Критерии приемки испытания приведены в
6.3.1.7.
Д.6 Испытание прядей на усталость при действии низкой температуры
Д.6.1 Испытаниям на усталость при низкой температуре подлежат три пряди из партии, прошедшей испытания по
Д.1.
Д.6.2 Испытания пряди на усталость при низкой температуре должны быть выполнены в соответствии с приведенными в
приложении Б по
ГОСТ Р 53772-2010 и со следующими дополнительными требованиями:
- рабочая длина образца должна быть не менее 350 мм;
- температура образца на рабочей длине на протяжении всего испытания должна быть не выше, чем квалификационная температура Tк;
- размах напряжений при циклическом нагружении следует принимать по
6.3.2.2 и
6.3.2.3 при верхнем уровне усилия 65%
Ppk.
Д.6.3 Погрешность измерения усилия должна быть в диапазоне +/- 1% максимального измеренного усилия; погрешность определения температуры - в диапазоне +/- 5 °C.
Д.6.4 Испытание считают положительным, если образец выдерживает 2 млн циклов.
Д.7 Испытание элементов однопрядевой системы на усталость при действии низкой температуры
Д.7.1 Перед началом испытаний должны быть определены фактические геометрические параметры прядей, обойм и клиновых зажимов (стыков, обжимных муфт, если применимо).
Д.7.2 Испытаниям на усталость при низкой температуре в составе однопрядевой системы подлежат три пряди из партии, прошедшей испытания по
Д.6.
Д.7.3 Испытания выполняют в соответствии со следующими требованиями:
- на обоих концах пряди должны быть обоймы с отверстиями по КД разработчика СПН;
- обоймы устанавливают соосно друг другу;
- рабочая длина образца должна быть не менее 350 мм;
- температура образца пряди, обойм и клиновых зажимов на протяжении всего испытания должна быть не выше, чем квалификационная температура Tк;
- размах напряжений при циклическом нагружении следует принимать по
6.3.2.2 и
6.3.2.3 при верхнем уровне усилия 65%
Fpk.
Д.7.4 Должна быть выполнена фиксация следующих измерений и наблюдений:
- определение фактических размеров и механических свойств элементов СПН;
- проверка соответствия фактических размеров и механических свойств элементов СПН требованиям КД разработчика СПН;
- оценка элементов после демонтажа, фотографирование, комментарии, включая следы усталостного разрушения, необычные явления и деформации;
- место и характер разрушения с привязкой к количеству циклов.
Д.7.5 Погрешность измерения усилия должна быть в диапазоне +/- 1% максимального измеренного усилия; погрешность определения температуры - в диапазоне +/- 5 °C.
Д.7.6 Испытание считают положительным, если образец выдерживает 2 млн циклов.
Д.8 Испытание зоны передачи нагрузки на бетон после воздействия низкой температуры
Д.8.1 Общие требования, порядок проведения, измерения и наблюдения, условия стабилизации принимают по требованиям
Д.4.1 с учетом следующих дополнительных требований:
- после стабилизации низкой температуры (отсутствие изменения температуры более чем на 5 °C) выполняют 10 циклов нагружения;
- далее прекращается воздействие низкой температуры, выжидается период времени до стабилизации температуры бетона до уровня НКУ (отсутствие изменения температуры более чем на 5 °C) и после этого увеличивают нагрузку до разрушения или достижения уровня 110% Fpk.
Д.8.2 Критерии приемки испытания приведены в
6.1.5.
Д.9 Испытание раствора инъецирования на прочность при сжатии после воздействия низкой температуры
Д.9.1 Общие требования, порядок проведения, измерения и наблюдения принимают по методике
К.3 с учетом следующих дополнительных требований:
- изготавливают и выдерживают при НКУ шесть образцов, из которых три образца подлежат испытанию на сжатие при НКУ, а три образца - после прекращения воздействия низкой температуры;
- образцы для испытания при низкой температуре охлаждают до температуры ниже, чем квалификационная температура, и выдерживают при данной температуре не менее 60 мин;
- воздействие низкой температуры прекращают и выжидают период времени до стабилизации температуры раствора на уровне НКУ (отсутствие изменения температуры более чем на 5 °C);
- после стабилизации проводят испытания при НКУ.
Д.9.2 Критерии приемки испытания приведены в
6.3.2.5.
(обязательное)
МЕТОДИКА ИСПЫТАНИЯ ЭЛЕМЕНТОВ ОДНОПРЯДЕВОЙ СИСТЕМЫ
НА ПРОЧНОСТЬ С УЧЕТОМ УГЛА ОТКЛОНЕНИЯ ПРЯДИ
Е.1.1 Перед началом испытания должны быть определены фактические геометрические параметры прядей, обойм и клиновых зажимов (обжимных муфт, если применимо).
Е.1.2 Для определения фактических механических свойств прядей следует проводить испытания трех образцов прядей на растяжение по
ГОСТ 12004. В качестве фактических значений напряжений разрыва, усилия разрыва и площади поперечного сечения принимают средние значения по результатам испытаний.
Е.1.3 Рабочая длина образца между обоймой и лабораторным зажимом должна быть не менее 0,8 м. Стенд должен обеспечивать отклонение пряди при подходе к анкеру на максимальный угол согласно КД разработчика СПН. Возможная схема установки для испытания приведена на
рисунке Е.1. Допускается использовать многопрядевую обойму или однопрядевую обойму с геометрией и механическими свойствами, аналогичными многопрядевым обоймам. Диаметр отверстия в клиновой пластине должен быть более диаметра отверстия в обойме.
1 - обойма; 2 - прядь; 3 - захват; 4 - датчик усилия
Рисунок Е.1 - Возможная схема установки для испытания
однопрядевой системы на растяжение
| | ИС МЕГАНОРМ: примечание. В официальном тексте документа, видимо, допущена опечатка: 6.4.1.2 отсутствует. | |
Е.1.4 Критерии приемки испытания приведены в 6.4.1.2.
Е.1.5 Испытания проводят при НКУ.
Е.2 Порядок испытания
Образец нагружают до уровня усилия между 20% и 30% фактического усилия разрыва пряди Ppm, далее усилие снижают примерно до 5% Ppm. После этого образец нагружают до разрушения со скоростью, которая обеспечивает увеличение напряжения в пряди не быстрее, чем 15 МПа/с.
Е.3 Измерения и наблюдения
Е.3.1 Должна быть выполнена фиксация следующих измерений и наблюдений:
- определение фактических размеров и механических свойств элементов СПН;
- проверка соответствия фактических размеров и механических свойств элементов СПН требованиям КД разработчика СПН;
- угол отклонения прядей перед началом испытания;
- визуальный осмотр и фотографирование деталей СПН в процессе и после окончания испытаний;
- максимальное измеренное усилие;
- полное относительное удлинение при максимальной измеренной нагрузке;
- расположение и характер разрушения.
Е.3.2 Приведенная погрешность измерения усилия должна быть в пределах +/- 1% максимального измеренного усилия. Измерение перемещений должно быть выполнено с точностью не более 0,1 мм. Точность измерения угла отклонения пряди

должна быть не более 0,5°. Полное относительное удлинение при максимальной нагрузке определяют по
ГОСТ 12004 прямым измерением или суммированием относительного равномерного удлинения после разрыва и упругого удлинения при максимальной нагрузке. Отклонение усилий по ступеням нагружения должно быть не более +/- 2% заданных значений на ступенях.
(обязательное)
МЕТОДИКА ИСПЫТАНИЯ ЭЛЕМЕНТОВ
ОДНОПРЯДЕВОЙ СИСТЕМЫ НА УСТАЛОСТЬ
Ж.1 Общие требования
Общие требования должны соответствовать приведенным в
Е.1 без учета угла отклонения пряди. Критерии приемки испытания приведены в
6.1.4.
Ж.2 Порядок испытания
Ж.2.1 Нагрузку следует изменять циклически, с постоянным размахом и заданной частотой. Частота приложения нагрузки должна быть постоянной и не более 30 Гц, с верхним пределом 65%
Ppk. На протяжении не менее чем 2 млн циклов разница между минимальным и максимальным значениями усилий должна быть постоянной при размахе по
6.2.2.4; напряжения определяют по номинальной площади поперечного сечения прядей.
Ж.2.2 Возникновение вторичных колебаний при проведении испытаний должно быть исключено.
Ж.3 Измерения и наблюдения
Ж.3.1 Должна быть выполнена фиксация следующих измерений и наблюдений:
- определение фактических размеров и механических свойств элементов СПН согласно
А.1.1;
- проверка соответствия фактических размеров и механических свойств элементов СПН требованиям КД разработчика СПН;
- оценка элементов после демонтажа, фотографирование, комментарии, включая следы усталостного разрушения, необычные явления и деформации;
- место и характер разрушения с привязкой к количеству циклов.
Ж.3.2 Относительная погрешность средства измерения усилия должна быть в пределах +/- 1%.
(обязательное)
МЕТОДИКА ИСПЫТАНИЙ КАНАЛООБРАЗОВАТЕЛЕЙ
И.1.1 Внутренний диаметр
d1 и высоту гофры
h определяют с помощью штангенциркуля по
ГОСТ 166 с делением 0,1 мм как средние значения измерений, выполненных на обоих концах образца длиной не менее 500 мм (см.
рисунок И.1) в двух взаимно перпендикулярных направлениях. Толщину
t устанавливают как среднее значение измерений микрометром по
ГОСТ 6507 или другому стандарту с точностью не более 0,01 мм как минимум в четырех различных местах образца. Испытания проводят при НКУ.
Рисунок И.1 - Геометрические параметры каналообразователя
И.1.2 Относительный объем гофрированной части
Vrel определяют при НКУ на образце каналообразователя длиной
l не менее 500 мм (см.
рисунок И.2). С одной стороны образца выполняют герметизацию для полной водонепроницаемости. Полный внутренний объем каналообразователя
Vtot принимают равным объему воды для его полного заполнения, точность определения должна быть не более 5%. Внутренний объем
Vref рассчитывают как объем цилиндра длиной
l и площадью поперечного сечения круга с диаметром
d1, определенным согласно
И.1.1.
Рисунок И.2 - Образец для определения относительного объема
гофрированной части
Относительный объем гофрированной части Vrel, см3/см2, вычисляют по формуле

(И.1)
где Vtot - полный внутренний объем каналообразователя, см3;
Vref - внутренний объем цилиндра, см3;
d1 и l - внутренний диаметр и длина образца, см.
Отношение условного усилия текучести
Fpl к внутреннему диаметру каналообразователя
d1 (установленному по требованиям
И.1) определяют при испытании при НКУ на изгиб образца каналообразователя длиной 1100 мм по двухопорной шарнирной схеме с расчетным пролетом 1000 мм и приложением силы
F по середине пролета (см.
рисунок И.3). Диаметр опорных роликов должен быть 50 мм. Размеры накладки для приложения силы устанавливают в КД разработчика СПН и соблюдают при строительстве при наличии сосредоточенных нагрузок. Нагружение и разгрузка образца должны выполняться, пока не будет достигнуто условное усилие текучести
Fpl.
Рисунок И.3 - Схема испытания на изгиб
При нагружении и разгрузке образца строится график сила
F-прогиб
f в сечении по середине расчетной длины образца (см.
рисунок И.4). Погрешность измерения усилия - не более 2%
Fpl, точность измерений прогиба - 0,1 мм. За условное усилие текучести
Fpl принимают такое усилие, при котором остаточный прогиб

составляет не менее 5% и не более 10% полного прогиба
ftot при усилии
Fpl.
Рисунок И.4 - График сила-прогиб
И.3 Гибкость при многократном отгибе
Гибкость при многократном отгибе каналообразователя проверяют при НКУ с помощью стенда, в котором установленный вертикально каналообразователь длиной 1100 мм жестко защемлен в основании стенда (см.
рисунок И.5).
Рисунок И.5 - Схема стенда для проверки гибкости
Перпендикулярно к основанию стенда установлены два шаблона с радиусом
r по
таблице 6.3 соответственно для рассматриваемого каналообразователя.
Образец каналообразователя следует подвергать последовательному отгибу не менее двух раз к каждому шаблону (см.
рисунок И.6) до касания на длине не менее 800 мм. Общее время испытания не должно превышать 2 мин, удары каналообразователя о шаблоны не допускаются. Стенд не должен отрываться от основания при проведении испытания.
Рисунок И.6 - Порядок отгиба каналообразователя
После выполнения отгибов калибр с размерами согласно
рисунку И.7 должен проходить по всей длине каналообразователя в вертикальном положении. Допускается выпрямление каналообразователя растягивающей нагрузкой согласно
разделу И.5.
d1 - внутренний диаметр каналообразователя;
h1 = 1,25dp; h2 = 0,5dp; h3 = 0,75dp; r = 5 мм
Образец каналообразователя длиной 1100 мм устанавливают на твердом основании длиной 500 мм и подвергают нагрузке
F1 с помощью калибра диаметром закругленной части 12 мм (см.
рисунок И.8).
Рисунок И.8 - Схема испытания на смятие
Образец должен нагружаться не менее, чем в двух разных сечениях средней части образца на расстоянии не менее 150 мм друг от друга. В каждом сечении нагрузку прикладывают на вальцовочный шов и на противоположной стороне от шва. Испытание проводят при НКУ.
Время приложения нагрузки должно быть в интервале от 30 до 60 с. После снятия нагрузки определяют остаточный внутренний диаметр образца в каждом сечении приложения нагрузки. Приведенная погрешность измерения усилия F1 - не более 2% максимального значения F1. Точность измерения диаметра - 0,1 мм.
Если КД разработчика СПН предусматривает монтаж каналообразователей в строительной конструкции только через полунакладки, то нагружение выполняют через них. Периметр окружности полунакладки не должен превышать половину периметра каналообразователя, профиль полунакладки должен совпадать с профилем каналообразователя, длина полунакладки должна быть не более 1,5 внутреннего диаметра или 100 мм, что более.
Образец каналообразователя длиной 1100 мм соединяют с муфтой (см.
рисунок И.9), далее стыковое соединение подвергают нагрузке
F2 с измерением смещения муфты относительно образца. Точность измерения усилия не более 2% максимального значения
F. Смещение, мм, округляют до целого, видимые факторы записывают. Испытания проводят при НКУ.
Примечание - Длина перехлеста l1 = 1,5d1 >= 75 мм.
1 - каналообразователь; 2 - муфта
Рисунок И.9 - Схема испытания на осевое растяжение
Испытание выполняют при НКУ на образце каналообразователя длиной 1100 мм, который ранее прошел испытания на гибкость, смятие и осевое растяжение по
разделам И.3 -
И.5. Образец заполняют водой и подвергают воздействию постоянного внутреннего давления 50 кПа в течение 5 мин, после чего определяют потери воды с точностью 3% и округлением до 0,1%. Потери воды рассчитывают как процентное отношение высоты столба воды после выдержки под давлением к высоте столба воды до приложения давления, высоту столба воды измеряют с точностью не более 0,5 мм.
На этапе операционного контроля испытаниям на герметичность подвергают образец каналообразователя, прошедший до этого испытания только на гибкость.
(обязательное)
МЕТОДИКА ИСПЫТАНИЙ РАСТВОРА ИНЪЕЦИРОВАНИЯ
Испытания раствора инъецирования проводят по
СП 46.13330 с нижеприведенными дополнениями.
К.1 Текучесть
К.1.1 Текучесть раствора инъецирования следует определять по
9.27 СП 46.13330.2012 при помощи текучестемера (см.
рисунок К.1).
1 - подставка с регулировочными винтами; 2 - стальная труба
длиной 875 мм и внутренним диаметром 63 мм; 3 - груз
с длиной штока 300 мм, диаметром штока 58 мм, с углом
раствора конуса 40° и закруглением конуса радиусом 15 мм;
4 - временный упор; 5 - пазуха для регулировки веса груза
Рисунок К.1 - Схема текучестемера
К.1.2 Порядок определения величины текучести следующий:
- текучестемер выставляют вертикально;
- порцию раствора (примерно 2 л) заливают во внутреннюю полость трубы текучестемера;
- ручку груза фиксируют на высоте 50 см от кромки трубы с помощью стойки;
- убирают стойку и по секундомеру измеряют время опускания груза;
- значение текучести определяют как среднеарифметическое трех измерений из четырех (первое измерение исключают).
К.1.3 Массу груза подбирают при тарировке текучестемера исходя из выполнения следующего условия: время опускания груза при температуре внешней поверхности текучестемера и глицерина (19 +/- 1) °C на глубину 500 мм в текучестемере, заполненном глицерином по
ГОСТ 6824, должно находиться в диапазоне (232 +/- 10) с. Необходимую для нормированного времени опускания массу груза устанавливают не менее чем по 30 измерениям. При этом после каждых 10 измерений следует делать перерыв 1 ч для охлаждения глицерина до нормируемой температуры испытаний.
К.1.4 Точность измерения расстояний - 1 мм, точность измерения времени - 1 с.
Примечание - По согласованию с заказчиком допускается определять текучесть по конусу, по методике
[1].
К.2 Оседание
К.2.1 Оседание раствора инъецирования следует определять по
9.27 СП 46.13330.2012.
К.2.2 Цилиндр (см.
рисунок К.2) должен быть размещен наклонно под углом к горизонту (4 +/- 1,0)°.
1 - цилиндр; 2 - крышка; 3 - пазуха; 4 - раствор;
5 - подставка
Рисунок К.2 - Схема испытания на оседание
К.2.3 После выдерживания требуемого времени и установки цилиндра вертикально следует снять верхнюю крышку цилиндра и в образовавшуюся пазуху залить минеральное масло. Оседание, %, рассчитывают как процентное отношение объема масла, заполнившего пазуху, к объему цилиндра 1000 см3. Показатель оседания раствора определяют как среднюю величину из трех измерений, проведенных на трех цилиндрах. Точность определения объема масла - 1 см3.
Прочность раствора инъецирования следует определять по
9.27 СП 46.13330.2012.
К.4 Морозостойкость
К.4.1 Морозостойкость раствора инъецирования следует определять по
9.27 СП 46.13330.2012.
К.4.2 Образцы-балочки принимают размером 40 x 40 x 160 мм, требования - по
ГОСТ 30744.
К.4.3 Измерение деформаций производят с точностью до 0,1 мм.
| ЕН 445:2007 | "Раствор строительный жидкий для напрягаемых арматурных элементов. Методы испытаний" (EN 445:2007 "Grout for prestressing tendons - Test methods") |
УДК 691-427.4:691.87:006.354 | |
Ключевые слова: предварительное напряжение, натяжение на бетон |