Главная // Актуальные документы // Актуальные документы (обновление 01.02.2026 по 01.03.2026) // Акт (форма)СПРАВКА
Источник публикации
М.: ФГБУ "Институт стандартизации", 2025
Примечание к документу
Документ
введен в действие с 01.01.2026.
Название документа
"ГОСТ 33715-2025. Межгосударственный стандарт. Машины грузоподъемные. Грузозахватные приспособления. Безопасная эксплуатация. Общие требования"
(введен в действие Приказом Росстандарта от 30.07.2025 N 827-ст)
"ГОСТ 33715-2025. Межгосударственный стандарт. Машины грузоподъемные. Грузозахватные приспособления. Безопасная эксплуатация. Общие требования"
(введен в действие Приказом Росстандарта от 30.07.2025 N 827-ст)
агентства по техническому
регулированию и метрологии
от 30 июля 2025 г. N 827-ст
МЕЖГОСУДАРСТВЕННЫЙ СТАНДАРТ
МАШИНЫ ГРУЗОПОДЪЕМНЫЕ.
ГРУЗОЗАХВАТНЫЕ ПРИСПОСОБЛЕНИЯ
БЕЗОПАСНАЯ ЭКСПЛУАТАЦИЯ.
ОБЩИЕ ТРЕБОВАНИЯ
Lifting machines. Load-lifting attachments.
Safe operation. General requirements
ГОСТ 33715-2025
Дата введения
1 января 2026 года
Цели, основные принципы и общие правила проведения работ по межгосударственной стандартизации установлены
ГОСТ 1.0 "Межгосударственная система стандартизации. Основные положения" и
ГОСТ 1.2 "Межгосударственная система стандартизации. Стандарты межгосударственные, правила и рекомендации по межгосударственной стандартизации. Правила разработки, принятия, обновления и отмены"
1 РАЗРАБОТАН Обществом с ограниченной ответственностью Специальное конструкторское бюро механизации подъемных и высотных работ "ВЫСОТА" (ООО СКБ "ВЫСОТА") и Акционерным обществом "РАТТЕ" (АО "РАТТЕ")
2 ВНЕСЕН Федеральным агентством по техническому регулированию и метрологии
3 ПРИНЯТ Межгосударственным советом по стандартизации, метрологии и сертификации (протокол от 30 мая 2025 г. N 185-П)
За принятие проголосовали:
Краткое наименование страны по МК (ИСО 3166) 004-97 | Код страны по МК (ИСО 3166) 004-97 | Сокращенное наименование национального органа по стандартизации |
Армения | AM | ЗАО "Национальный орган по стандартизации и метрологии" Республики Армения |
Беларусь | BY | Госстандарт Республики Беларусь |
Киргизия | KG | Кыргызстандарт |
Россия | RU | Росстандарт |
Узбекистан | UZ | Узбекское агентство по техническому регулированию |
4
Приказом Федерального агентства по техническому регулированию и метрологии от 30 июля 2025 г. N 827-ст межгосударственный стандарт ГОСТ 33715-2025 введен в действие в качестве национального стандарта Российской Федерации с 1 января 2026 г.
Информация о введении в действие (прекращении действия) настоящего стандарта и изменений к нему на территории указанных выше государств публикуется в указателях национальных стандартов, издаваемых в этих государствах, а также в сети Интернет на сайтах соответствующих национальных органов по стандартизации.
В случае пересмотра, изменения или отмены настоящего стандарта соответствующая информация будет опубликована на официальном интернет-сайте Межгосударственного совета по стандартизации, метрологии и сертификации в каталоге "Межгосударственные стандарты"
Настоящий стандарт устанавливает общие требования к безопасной эксплуатации и оценке работоспособности находящихся в эксплуатации грузозахватных приспособлений, применяемых совместно с грузоподъемными машинами. Требования настоящего стандарта направлены на обеспечение безопасности технологических процессов погрузочно-разгрузочных и строительно-монтажных и иных работ, выполняемых с применением грузоподъемных машин.
Ввиду единых с грузозахватными приспособлениями требований к уровню ответственности и нахождению в одной цепи нагрузок, воздействующих на грузоподъемную машину, настоящий стандарт также устанавливает требования к безопасной эксплуатации многооборотной транспортной и промышленной упаковки, имеющей строповочные элементы, и грузовых контейнеров.
Примечание - До принятия
ГОСТ 17527-2020 "Упаковка. Термины и определения" в стандартах и ранее утвержденных нормативных и технических документах применялись термины "тара", "грузовая тара", "производственная тара" и др.
Требования настоящего стандарта могут быть применены при разработке эксплуатационных документов для грузозахватных приспособлений и упаковки, при оценке компетентности (квалификации), а также при разработке профессиональных стандартов, устанавливающих квалификационные требования к лицам, участвующим в грузоподъемных операциях, и определяющих их профессиональные функции и трудовые навыки.
1.1 Настоящий стандарт устанавливает требования к безопасной эксплуатации и оценке работоспособности несъемных (грузозахватных органов), съемных грузозахватных приспособлений (далее, если не оговорено особо, - ГЗП) и многооборотной транспортной и промышленной упаковки, имеющей строповочные элементы (далее - упаковка), и грузовым контейнерам.
1.2 Требования настоящего стандарта применяются при разработке:
- проектов производства работ (ППР) и технологических карт погрузочно-разгрузочных работ (ТК), выполняемых с применением грузоподъемных машин;
- инструкций, определяющих порядок, методы осмотра, критерии предельного состояния ГЗП и упаковки;
- должностных инструкций компетентных лиц, занятых в области эксплуатации грузоподъемных машин, ГЗП и упаковки;
- производственных инструкций и программ обучения персонала, связанного с эксплуатацией ГЗП и упаковки.
Требования настоящего стандарта не распространяются на эксплуатацию:
- пакетирующих текстильных стропов из искусственных волокон;
- специальных ГЗП и упаковки в шахтах горнодобывающей промышленности и на любых плавсредствах (кроме ГЗП, используемых на грузоподъемных машинах, которые установлены на плавсредствах временно), на воздушных судах, в космических аппаратах, а также на эксплуатацию специальной промышленной упаковки, предназначенной для расплавленного металла и жидкого шлака, радиоактивных материалов, ядовитых и взрывчатых веществ;
- ГЗП и упаковки в ходе выполнения аварийно-спасательных и иных неотложных работ, связанных с предотвращением или ликвидацией техногенных аварий и катастроф, стихийных бедствий, а также в условиях других чрезвычайных ситуаций.
1.3 Невыполнение требований настоящего стандарта может привести к увеличению риска возникновения аварий, инцидентов и несчастных случаев при эксплуатации грузоподъемных машин.
В настоящем стандарте использованы ссылки на следующие межгосударственные стандарты:
ГОСТ 2.604 Единая система конструкторской документации. Чертежи ремонтные. Общие требования
ГОСТ 9.014 Единая система защиты от коррозии и старения. Временная противокоррозионная защита изделий. Общие требования
ГОСТ 12.2.058 Система стандартов безопасности труда. Краны грузоподъемные. Требования к цветовому обозначению частей крана, опасных при эксплуатации
ГОСТ 12.3.002 Система стандартов безопасности труда. Процессы производственные. Общие требования безопасности
ГОСТ 12.3.009 Система стандартов безопасности труда. Работы погрузочно-разгрузочные. Общие требования безопасности
ГОСТ 12.3.010 Система стандартов безопасности труда. Тара производственная. Требования безопасности при эксплуатации
ГОСТ 12.3.020 Система стандартов безопасности труда. Процессы перемещения грузов на предприятиях. Общие требования безопасности
ГОСТ 12969 Таблички для машин и приборов. Технические требования
ГОСТ 12971 Таблички прямоугольные для машин и приборов. Размеры
ГОСТ 15150 Машины, приборы и другие технические изделия. Исполнения для различных климатических районов. Категории, условия эксплуатации, хранения и транспортирования в части воздействия климатических факторов внешней среды
ГОСТ 18322 Система технического обслуживания и ремонта техники. Термины и определения
ГОСТ 18477 Контейнеры универсальные. Типы, основные параметры и размеры
ГОСТ 19822 Тара производственная. Технические условия
ГОСТ 23002 Единая контейнерная транспортная система. Спредеры для контейнеров серии 1. Общие технические требования
--------------------------------
ГОСТ 24366 Авто- и электропогрузчики вилочные общего назначения. Грузозахватные приспособления. Общие технические условия
ГОСТ 24599 Грейферы канатные для навалочных грузов. Общие технические условия
ГОСТ 25573 <2> Стропы грузовые канатные для строительства. Технические условия
--------------------------------
ГОСТ 25866 Эксплуатация техники. Термины и определения
ГОСТ 26598 Контейнеры и средства пакетирования в строительстве. Общие технические условия
ГОСТ 27555 Краны грузоподъемные. Термины и определения
ГОСТ 29266 Краны грузоподъемные. Требования к точности измерений параметров при испытаниях
ГОСТ 33714.1-2015 Краны грузоподъемные. Технический контроль. Часть 1. Общие положения
ГОСТ 33718 Краны грузоподъемные. Проволочные канаты. Уход и техническое обслуживание, проверка и отбраковка
ГОСТ 34016 Машины грузоподъемные. Грузозахватные приспособления. Требования безопасности
ГОСТ 34017 Краны грузоподъемные. Классификация режимов работы
ГОСТ 34463.1 Краны грузоподъемные. Безопасная эксплуатация. Часть 1. Общие положения
ГОСТ 34463.3 Краны грузоподъемные. Безопасная эксплуатация. Часть 3. Краны башенные
ГОСТ 34587 Краны грузоподъемные. Металлические конструкции. Требования к изготовлению
ГОСТ 34680 Краны грузоподъемные. Крюки кованые и штампованные. Технические требования
ГОСТ 34875 Грузозахватные приспособления. Стропы текстильные из искусственных волокон. Технические требования
ГОСТ EN 818-1 Цепи стальные из круглых коротких звеньев для подъема грузов. Безопасность. Часть 1. Общие требования к приемке
ГОСТ EN 818-4 Цепи стальные из круглых коротких звеньев для подъема грузов. Безопасность. Часть 4. Стропальные цепи класса 8
ГОСТ EN 818-7 Цепи короткозвенные грузоподъемные. Требования безопасности. Часть 7. Цепи калиброванные. Класс T (типы T, DAT и DT)
ГОСТ EN 1677-1 Детали средств строповки. Безопасность. Часть 1. Кованые детали, класс прочности 8
ГОСТ ISO 3864-1 Графические символы. Сигнальные цвета и знаки безопасности. Часть 1. Принципы проектирования знаков и сигнальной разметки
Примечание - При пользовании настоящим стандартом целесообразно проверить действие ссылочных стандартов и классификаторов на официальном интернет-сайте Межгосударственного совета по стандартизации, метрологии и сертификации (www.easc.by) или по указателям национальных стандартов, издаваемым в государствах, указанных в предисловии, или на официальных сайтах соответствующих национальных органов по стандартизации. Если на документ дана недатированная ссылка, то следует использовать документ, действующий на текущий момент, с учетом всех внесенных в него изменений. Если заменен ссылочный документ, на который дана датированная ссылка, то следует использовать указанную версию этого документа. Если после принятия настоящего стандарта в ссылочный документ, на который дана датированная ссылка, внесено изменение, затрагивающее положение, на которое дана ссылка, то это положение применяется без учета данного изменения. Если ссылочный документ отменен без замены, то положение, в котором дана ссылка на него, применяется в части, не затрагивающей эту ссылку.
3.1 браковка: Решение о невозможности использования в работе грузозахватных приспособлений или упаковки, основанное на оценке соответствия выявленных дефектов критериям предельных состояний, состояния эксплуатационной документации, маркировки и т.п., принятое и оформленное в установленном порядке компетентным должностным лицом эксплуатирующей организации или специализированной организацией.
3.2 грейфер: Грузозахватное приспособление, предназначенное для навалочных грузов или круглых лесоматериалов, у которого захватом являются поворотные челюсти.
3.3 канатный грейфер: Грейфер, у которого приведение в действие челюстей, подъем и опускание осуществляются канатами, закрепленными на барабанах механизма подъема грузоподъемной машины.
3.4 одноканатный грейфер: Грейфер, навешиваемый на крюк грузоподъемной машины, у которого раскрытие челюстей осуществляется при контакте грейфера с опорной поверхностью (грузом) или подвесным упором, или посредством дистанционного управления устройством раскрытия челюстей; при этом закрытие челюстей осуществляется под воздействием нагрузки от их собственной массы при подъеме грейфера.
3.5 приводной [моторный] грейфер: Грейфер, навешиваемый на крюк грузоподъемной машины, у которого приведение в действие челюстей осуществляется входящим в его комплект электромеханическим или электрогидравлическим приводом.
3.6 гидравлический [пневматический] грейфер: грейфер, крепящийся к оголовку стрелы крана, у которого приведение в действие челюстей и их поворот осуществляются гидроцилиндром (пневмоцилиндром) и поворотным гидродвигателем (пневмодвигателем).
3.7
грузоподъемная машина: Техническое устройство циклического действия, основной или дополнительной функцией которого является подъем и перемещение груза, удерживаемого ГЗП. |
Примечание - В настоящем стандарте под грузоподъемными машинами понимаются грузоподъемные краны, грузовые электрические тележки и тали, самоходные колесные или гусеничные машины для погрузочно-разгрузочных работ и штабелирования грузов, бурильно-крановые машины и другие машины и механизмы, основной или дополнительной функцией которых является подъем и перемещение груза.
3.8
грузоподъемность стропа WLL: Максимальная масса груза, на которую рассчитан строп. |
3.9 захват: Элемент ГЗП жесткой конструкции, непосредственно взаимодействующий с грузом для его захвата, зажима, подхвата и удержания.
3.10 клещевой автоматический [полуавтоматический] захват: Грузозахватное приспособление, предназначенное для штучных грузов в виде готовых изделий, полуфабрикатов, лесоматериалов или заготовок, имеющих симметричные поверхности для захвата.
3.11 захватывание груза: Технологическая операция захвата, зачерпывания или зажима груза специальным грузозахватным приспособлением, например спредером, грузовым магнитом, грейфером, вакуумным, вилочным или клещевым автоматическим (полуавтоматическим) захватом, осуществляемая без участия стропальщиков.
3.12 зацепка: Технологическая операция по соединению захватов (захвата) грузозахватного приспособления со строповочными элементами груза или упаковки, или вспомогательный переход строповки груза, заключающийся в соединении захватов грузозахватного приспособления или грузозахватного органа грузоподъемной машины с элементами обвязки груза или упаковки.
3.13 зона, обслуживаемая грузоподъемной машиной: Область пространства, в которой поднимается и перемещается груз, грузозахватный орган или грузозахватное приспособление без груза или с порожней упаковкой.
3.14 зона работы грузоподъемной машины: Область пространства, в которой установлена или перемещается грузоподъемная машина, изменяется положение ее подвижных узлов (поворотной платформы, башни, стрелы, гуська, консоли, противовеса, выносных опор, грузовой тележки, тали, грузозахватного органа), включающая габариты приближения, зону, обслуживаемую грузоподъемной машиной и зону, опасную для нахождения людей во время перемещения груза.
3.15
компетентное должностное лицо <1>: Работник организации, эксплуатирующей или нанимающей грузоподъемные машины, прошедший подготовку по образовательным программам дополнительного образования по вопросам обеспечения промышленной безопасности в целях освоения безопасных методов и приемов работы, выполнение которой входит в функциональные (должностные) обязанности таких работников, и назначаемый организационно-распорядительным актом по организации.
--------------------------------
<1> В нормативных правовых актах по охране труда и промышленной безопасности при эксплуатации грузоподъемных машин государств, принявших настоящий стандарт, наименования компетентных должностных лиц могут отличаться от приведенных в настоящем стандарте.
3.16
мягкий контейнер для неопасных грузов; МК: Мягкий контейнер, изготовленный из мягких материалов, таких как полимерная ткань, синтетическая пленка или бумага, предназначенный для контакта с упаковываемой продукцией: непосредственно (без вкладыша) или с внутренним вкладышем. Пустой контейнер легко складывается. |
3.17
коэффициент строповки M: Коэффициент, применяемый к грузоподъемности стропа (WLL), для ее уточнения и обеспечения безопасной рабочей нагрузки на строп в зависимости от применяемой схемы строповки груза. |
3.18 грузовой электрический магнит: Грузозахватное приспособление, при прохождении через которое электрического тока создается магнитное поле, достаточное для захвата и удержания грузов из ферромагнитных материалов.
3.19 обвязка: Вспомогательный переход строповки груза, не имеющего собственных строповочных элементов, заключающийся в его подготовке к зацепке захватами грузозахватного приспособления или грузозахватным органом грузоподъемной машины, выполняемый, как правило, с использованием кольцевых и (или) петлевых стропов.
3.20 освидетельствование: Осмотр грузозахватного приспособления или упаковки, завершающийся испытанием статической нагрузкой.
3.21 осмотр: Форма оценки работоспособности грузозахватного приспособления или упаковки, осуществляемая компетентным должностным лицом эксплуатирующей организации по инструкции, утвержденной распорядительным актом этой организации.
3.22 оценка работоспособности: Процедура, осуществляемая в форме ежесменного осмотра, осмотра, освидетельствования или экспертного обследования грузозахватного приспособления и упаковки, с целью определения и прогнозирования их технического состояния, а также возможности и условий безопасной эксплуатации.
3.23 соединительный элемент: Элемент грузозахватного приспособления (канатная, цепная или текстильная ветвь, звено, скоба и др.), который в совокупности с элементами, аналогичными по назначению, через металлоконструкцию траверсы или непосредственно соединяет захват с грузоподъемной машиной.
3.24 (грузовой) строп: Грузозахватное приспособление, у которого основным(и) является(ются) гибкий(е) соединительный(е) элемент(ы), изготовленный(е) из отрезка стального каната, цепи, текстильной ленты или круглого текстильного каната в виде ветви (ветвей) с концевыми элементами или петлями для навески на грузоподъемную машину и подсоединения груза или без них или в виде замкнутой петли.
3.25 строповка: Технологическая операция по соединению захватов (захвата) грузозахватного приспособления с грузом, осуществляемая посредством обвязки и зацепки груза с использованием стропов или иных съемных грузозахватных приспособлений, подвешиваемых на грузозахватный орган грузоподъемной машины, в состав которых, как правило, входят канатные, цепные или текстильные ветви.
3.26 строповочный элемент: Несущий элемент конструкции упаковки (проушина, цапфа, скоба, рым-болт, петля, проемы для вил и т.п.), предназначенный для их зацепки, охвата, подхвата и удержания упаковки грузозахватным приспособлением.
3.27 (грузовая) траверса: Грузозахватное приспособление, у которого захваты или другие элементы для удержания груза присоединены к линейной, плоскостной или пространственной конструкции, навешиваемой на грузозахватный орган грузоподъемной машины или подвешиваемой к нижнему концу его подъемного средства.
Примечание - В настоящем стандарте рассматриваются траверсы, которые предназначены для раздельного или совмещенного выполнения функций, обеспечивающих неизменяемость формы и сохранность груза, максимальную высоту подъема груза, зацепку или захватывание нескольких грузов или габаритного груза, подъем и перемещение груза несколькими грузоподъемными машинами, ориентацию длинномерных грузов на кранах мостового типа, перераспределение нагрузки от массы груза на пролетных балках и фермах кранов данного типа.
3.28 экспертное обследование: Форма оценки работоспособности грузозахватного приспособления или упаковки, осуществляемая специализированной организацией в соответствии с положениями настоящего стандарта в виде комплекса работ по определению технического состояния, оценке соответствия конструкции и процесса эксплуатации требованиям эксплуатационных и нормативных документов.
3.29 специализированная организация: Организация, имеющая специальное разрешение (лицензию) на право осуществления деятельности в области промышленной безопасности в части выполнения работ и (или) услуг по проектированию, монтажу, наладке, ремонту, обслуживанию, техническому диагностированию и экспертному обследованию технических устройств либо выборке из указанного перечня работ (услуг).
Примечание - Нормативными правовыми актами государств, принявших настоящий стандарт, выдача специальных разрешений (лицензий) на право осуществления отдельных видов деятельности, связанных с грузозахватными приспособлениями или упаковкой, может быть не предусмотрена.
4.1 Эксплуатация ГЗП и упаковки в общем случае включает:
- приемку и ввод в эксплуатацию
<1>;
- использование по назначению;
- оценку работоспособности;
- техническое обслуживание и ремонт;
--------------------------------
<1> За исключением несъемных ГЗП.
4.2 Эксплуатацию ГЗП и упаковки следует осуществлять в соответствии с требованиями руководств по эксплуатации, нормативных правовых актов (НПА) по охране труда и промышленной безопасности государств, принявших настоящий стандарт, настоящего стандарта,
ГОСТ 12.3.002 и
ГОСТ 12.3.009, а производственной упаковки, кроме того, - в соответствии с требованиями
ГОСТ 12.3.010. При эксплуатации электрифицированных ГЗП необходимо соблюдать требования НПА, действующих в области электробезопасности.
4.3 Требования к безопасной эксплуатации грузоподъемных машин, выбору схем для безопасной работы, безопасным способам управления, выбору кранов и ГЗП, обслуживанию кранов, а также подбору операторов грузоподъемной машины, стропальщиков и сигнальщиков приведены в
ГОСТ 34463.1,
ГОСТ 34463.3 и НПА.
4.4 К выполнению технического обслуживания и ремонта электрифицированных ГЗП допускаются работники эксплуатирующих или специализированных организаций, аттестованные в соответствии с требованиями НПА, действующих в области электробезопасности.
4.5 Технологии сварки, сварочное оборудование и материалы, используемые для ремонта или изготовления отдельных элементов ГЗП и упаковки с применением сварки, должны быть аттестованы в установленном НПА порядке.
4.6 В случае оснащения грузоподъемного крана приводным грейфером или грузовым электрическим магнитом (далее - грузовой магнит) проект реконструкции должен учитывать возможное ограничение полезной грузоподъемности крана в соответствии с указаниями, приведенными в
таблице 1.
Таблица 1
Уменьшение полезной грузоподъемности крана при оснащении
его приводным грейфером или грузовым магнитом
Группа классификации (режима работы), приведенная в паспорте крана | Значение коэффициента ограничения грузоподъемности |
A3 - A4 | 0,3 |
A5 - A6 | 0,75 |
A7 и выше | 1,0 |
Примечания 1 Выполненные в процессе реконструкции изменения конструкции крана, заключающиеся в усилении металлоконструкции или перераспределении нагрузок, подтвержденные соответствующими расчетами, могут позволить продолжить эксплуатацию крана с другими значениями коэффициента ограничения грузоподъемности или без его применения. 2 Необходимость оборудования крана, подвергнутого реконструкции, ограничителем грузоподъемности и регистратором параметров работы (при их отсутствии) возникает в случае, если грузоподъемность вновь установленного ГЗП превышает 50% грузоподъемности крана. 3 Краны, в зоне работы которых находятся производственные или другие помещения, запрещается оснащать грейфером и грузовым магнитом. |
5 Приемка и ввод в эксплуатацию
5.1 Вводу съемных ГЗП, сменных грузозахватных органов и упаковки в эксплуатацию предшествуют:
- приемка;
- расконсервация (при необходимости);
- сборка и регулирование (при необходимости);
- оценка работоспособности.
5.2 При приемке съемных ГЗП и упаковки проверяют их комплектность и соответствие эксплуатационным документам.
При отсутствии в эксплуатационных документах сведений, необходимых для объективной оценки работоспособности ГЗП и упаковки, допустимо использование требований
ГОСТ 19822,
ГОСТ 23002,
ГОСТ 24366,
ГОСТ 24599,
ГОСТ 25573,
ГОСТ 34016,
ГОСТ 34680,
ГОСТ 34875,
ГОСТ EN 818-4,
ГОСТ EN 1677-1 или в НПА.
5.3 Расконсервацию и, при необходимости, сборку, наладку и регулировку ГЗП и упаковки выполняют в соответствии с требованиями эксплуатационных документов и
ГОСТ 9.014.
5.4 Оценку работоспособности при вводе в эксплуатацию съемных ГЗП и упаковки, имеющих в эксплуатационных документах сведения о проведенных приемо-сдаточных испытаниях и признании годными к эксплуатации с указанными в них параметрами, выполняют в форме осмотра, а при отсутствии таких сведений и после проведения ремонта или реконструкции - в форме освидетельствования в соответствии с требованиями эксплуатационных документов или, при отсутствии в них соответствующих указаний, в соответствии с требованиями настоящего стандарта.
5.5 При несоответствии комплектности съемных ГЗП и упаковки эксплуатационным документам и (или) обнаружении дефектов их составных частей и элементов такие ГЗП и упаковку бракуют и не допускают к использованию в работе.
5.6 При положительном результате осмотра или освидетельствования съемных ГЗП и упаковки последние должны быть зарегистрированы компетентным должностным лицом организации, эксплуатирующей грузоподъемную машину и используемое совместно с ней оборудование, в журнале учета и периодического осмотра съемных ГЗП и упаковки. Журнал должен быть составлен по форме, утвержденной в установленном эксплуатирующей организацией порядке. Рекомендуемая форма журнала приведена в
приложении А.
Решение о вводе в эксплуатацию ГЗП и упаковки или их браковке компетентное лицо, ответственное за безопасное производство работ с применением грузоподъемных машин, записывает в журнал учета и периодического осмотра съемных ГЗП и упаковки.
6 Использование по назначению
6.1 Общие требования
6.1.1 Для совместного использования с грузоподъемными машинами следует применять работоспособные ГЗП и упаковку, характеристики которых, приведенные в эксплуатационных документах, а также в маркировке, нанесенной на табличках, бирках или ярлыках, соответствуют характеристикам грузов.
6.1.2 Конструктивное исполнение грузоподъемных машин, тип ГЗП и упаковки, используемых с грузоподъемными машинами, должны обеспечивать возможность их безопасного совместного использования, при этом необходимо учитывать следующие рекомендации по сочетанию грузоподъемных машин и ГЗП (упаковки):
- грузовые стропы используют исключительно с крюковыми грузоподъемными машинами;
- перегрузка грузовых контейнеров оптимальна с использованием оснащенных спредером специальных грузоподъемных машин (козловых контейнерных кранов, портальных кранов, контейнерных перегружателей, портальных погрузчиков, ричстакеров и т.п.);
- не допускается использование стреловых самоходных кранов при перегрузке грузовых контейнеров на объектах их постоянной перегрузки;
- не допускается использование стреловых самоходных кранов, оснащенных приводным грейфером и грузовым магнитом (за исключением кранов специального назначения) для погрузки и выгрузки навалочных грузов, древесины и металлолома, выполняемых в технологическом цикле (логистическом потоке);
- использование грузовых траверс не должно создавать опасности их соударения с такими частями крана, как стрела, башня, пролетные балки кранов мостового типа, опоры козлового крана;
- не допускается оснащение башенных строительных кранов приводным грейфером и грузовым магнитом. В случае использования с башенными строительными кранами одноканатных грейферов разгрузка их на весу не допускается, при этом интенсивность работы кранов не должна превышать группу классификации (режима), указанную в паспорте крана, при числе циклов работы крана не более восьми в час и величине суммарной массы грейфера с перемещаемым грузом, составляющей не более 50% грузоподъемности крана;
- применение упаковки, разгружаемой на весу, на башенных кранах допускается с соблюдением требований, установленных в
6.3.6.
Примечание - Приведенный перечень рекомендаций по безопасному использованию ГЗП и упаковки является минимальным и может быть дополнен в соответствии с законодательством государств, принявших настоящий стандарт.
6.1.3 Оценка работоспособности ГЗП и упаковки в течение срока службы должна проводиться в виде ежесменного осмотра до начала использования в работе и периодически, в виде осмотра, в соответствии с требованиями
8.1 -
8.2 настоящего стандарта.
6.1.4 Съемные ГЗП и упаковка, признанные негодными к использованию в работе, в том числе по истечении срока службы, по причине отсутствия маркировки, несоответствия эксплуатационным документам или при их отсутствии, а также с дефектами, подпадающими под критерии предельного состояния, приведенные в эксплуатационных документах или в настоящем стандарте, должны быть изъяты из эксплуатации и удалены из зоны работы грузоподъемных машин во избежание их случайного использования.
6.1.5 Использование в работе съемных ГЗП и упаковки должно соответствовать требованиям эксплуатационных документов, ППР, ТК и т.п., а при отсутствии или недостатке необходимых сведений в эксплуатационных документах - в соответствии с требованиями настоящего стандарта.
6.1.6 Схемы строповки и зацепки грузов (далее - схемы строповки) разрабатывают для всех перемещаемых грузоподъемной машиной штучных грузов. Запрещается использовать ГЗП и упаковку при отсутствии схемы строповки и (или) сведений о массе поднимаемых грузов и упаковки, а также с нарушением схемы строповки.
6.1.7 В ППР и ТК подъема и перемещения грузов, осуществляемых с использованием съемных ГЗП и упаковки, должны быть определены места складирования грузов, способы их укладки, схемы перемещения грузов, границы опасной зоны, места хранения съемных ГЗП и порожней упаковки.
6.1.8 Стропальщик должен иметь обзор зоны, обслуживаемой грузоподъемной машиной, возможность маневрирования перемещаемым грузом и порожней упаковкой (далее также - груз), а при необходимости - двухстороннюю радиотелефонную связь с персоналом [например, с крановщиками (операторами крана), монтажниками и т.п.], обслуживающим технологический процесс, в котором используется грузоподъемная машина, съемные ГЗП и упаковка.
6.1.9 Зона работы грузоподъемной машины должна быть оборудована знаками безопасности с предупредительными надписями, выполненными в соответствии с ГОСТ ISO 3864-1.
6.1.10 Границу зоны, опасной для нахождения людей во время перемещения ГЗП и порожней упаковки, устанавливают на расстоянии не менее 5 м от предельного положения ГЗП, если в руководстве по эксплуатации на грузоподъемную машину или ГЗП не установлены иные требования.
6.2 Требования к использованию ГЗП в работе
6.2.1 Для строповки предназначенного к подъему грузоподъемной машиной груза применяют ГЗП, соответствующие массе и характеру поднимаемого груза.
6.2.2 При разработке схем строповки с использованием стропов и съемных ГЗП, включающих гибкие соединительные элементы (далее также - стропы), расчет стропов выполняют с учетом числа ветвей и угла наклона их к вертикали. Минимальные коэффициенты использования (коэффициенты запаса) для каждой отдельной ветви стропа, в зависимости от материала ветвей (стальной канат, цепь, текстильная лента, синтетическая нить или прядь), принимают в соответствии с требованиями стандартов на соответствующие типы стропов. При этом должны быть учтены коэффициенты строповки M и снижение допустимой нагрузки на стропы WLLП при соединении гибких элементов стропов со строповочными элементами грузов или с грузозахватным органом грузоподъемной машины, радиусы r которых составляют менее приведенных в данном разделе настоящего стандарта значений, установленных в зависимости от материала гибких элементов. Расчетную нагрузку отдельной ветви многоветвевых стропов следует принимать из условия равномерного натяжения каждой из ветвей и соблюдения (в общем случае) расчетного угла между ветвями, равного 90°.
Для стропов с числом ветвей более трех, воспринимающих расчетную нагрузку, в расчете учитывают не более трех ветвей. Для стропов из текстильного каната расчет проводят из условия, что груз удерживается двумя ветвями.
При расчете стропов, предназначенных для зацепки заранее известного груза, в качестве расчетных принимают фактические углы между ветвями стропов.
Для сборных строповочных конструкций грузоподъемность WLL стропов должна учитывать характеристики поднимаемого груза (размер, форму, вес, положение центра тяжести) вместе с предполагаемой схемой строповки груза.
6.2.3 При подъеме и перемещении груза несколькими грузоподъемными машинами с использованием траверсы допускаемое отклонение траверсы от горизонтали должно быть указано в ППР и ТК.
Контроль отклонения траверсы (груза) от заданного положения в пространстве должен быть обеспечен визуально или, при необходимости, средствами инструментального контроля (например, теодолитом или установкой бесконтактных датчиков с выводом визуальной и (или) звуковой информации в кабину оператора грузоподъемной машины).
6.2.4 Съемные ГЗП недопустимо использовать в работе, если температура окружающего воздуха и температура грузов выходят за пределы диапазонов, указанных в их эксплуатационных документах.
6.2.5 При наличии в составе съемных ГЗП гибких соединительных элементов из стальных цепей классов точности 4(M) и 5(P) по
ГОСТ EN 818-1 грузоподъемность ГЗП должна быть ограничена в зависимости от температуры перемещаемых грузов:
- от 300 °C до 500 °C - грузоподъемность уменьшают на 25%;
- 500 °C и выше - на 50%.
В случае применения в составе съемных ГЗП стальных цепей классов точности 8 (T8), 10 (T10) по
ГОСТ EN 818-4 или
ГОСТ EN 818-7 грузоподъемность ГЗП должна быть ограничена в зависимости от температуры перемещаемых грузов:
- от 200 °C до 300 °C включительно - грузоподъемность уменьшают на 10%;
- свыше 300 °C до 400 °C включительно - на 25%.
Применение таких ГЗП для перемещения грузов, имеющих температуру свыше 400 °C, не допускается.
6.2.6 Грузоподъемность съемных ГЗП, имеющих гибкие соединительные элементы из канатов со стальным сердечником, при перемещении грузов, имеющих температуру от 250 °C до 400 °C, уменьшают на 25%. Применение таких ГЗП для грузов, имеющих температуру свыше 400 °C, не допускается.
6.2.7 ГЗП, имеющие гибкие соединительные элементы из канатов с органическим сердечником, допускается применять при перемещении грузов, имеющих температуру не выше 100 °C, а ГЗП, имеющие в составе гибкие соединительные элементы из канатов с металлическим сердечником, с заделкой концов каната опрессовкой алюминиевыми втулками - не выше 150 °C.
6.2.8 Грузовые текстильные стропы из нитей полипропилена пригодны для использования и хранения, при температурах окружающей среды и транспортируемого груза не выше 80 °C, стропы из высокомодульного полиэтилена - не выше 70 °C, а стропы из полиэфирных и полиамидных нитей - не выше 100 °C. Минимальная температура использования и хранения для грузовых текстильных стропов из всех видов материалов - не ниже минус 40 °C, за исключением текстильных стропов из нитей полипропилена, для которых минимальная температура составляет минус 25 °C, и из нитей полиэстера и полиамида - минус 60 °C. Температурный режим эксплуатации грузовых текстильных стропов для применения в агрессивных средах зависит от состава агрессивной среды.
6.2.9 При соединении груза и упаковки с грузоподъемной машиной и (или) с ГЗП посредством зацепки крюком, звенья, подвески, проушины, скобы, кольцевые и петлевые стропы, а также строповочный элемент груза или упаковки должны быть зафиксированы в зеве крюка предохранительным замком, исключающим их расцепление при ослаблении гибких элементов ГЗП или грузового каната грузоподъемной машины.
6.2.10 Строповка должна исключать возможность нарушения целостности груза или его опрокидывание. При обвязке груза стропы необходимо накладывать без узлов и перекруток. При строповке необходимо учитывать расположение центра тяжести груза. Подводить строп под груз следует так, чтобы исключить возможность его выскальзывания во время подъема груза. Обвязывать груз нужно таким образом, чтобы во время его перемещения исключалось падение его отдельных частей и обеспечивалось устойчивое положение груза при перемещении.
6.2.11 Неиспользованные для строповки концы многоветвевого стропа должны быть закреплены так, чтобы при перемещении груза грузоподъемной машиной исключалась возможность задевания этими концами за встречающиеся на пути предметы.
6.2.12 При обвязке увязанных в пакеты длинномерных грузов, находящихся в штабелях (металлопроката, труб, бревен и т.п.), с использованием ветвевых и кольцевых стропов следует соблюдать следующие требования:
- петлю кольцевого или петлевого стропа, висящего на крюке двух- или четырехветвевого стропа, надевают на наиболее выступающий конец одного из элементов груза, находящегося в верхнем ряду;
- безопасное расстояние, на которое отходит стропальщик перед подачей сигнала о поднятии (и последующем опускании), груза должно быть равно высоте груза плюс 1 м (конец груза в данном случае приподнимается на высоту 0,4 - 0,5 м);
- расстояние от подкладок, подводимых под приподнятый груз, до его торцовых частей должно составлять 1/4 длины груза. При подъеме круглого металлопроката, труб и бревен должны быть установлены упоры от раскатывания груза;
- кольцевые стропы, предназначенные для подъема и перемещения груза, необходимо подводить под него с помощью металлического крюка на расстояние от торцов, равное 1/4 длины груза после опускания груза на обе подкладки. На этом же расстоянии кольцевые стропы затягивают на "удавку" и подвешивают на крюке двух- или четырехветвевого стропа.
Зацепка пакетов труб и металлопроката за элементы упаковки, в том числе за проволочные скрутки, запрещается. Исключением являются специальные (транспортирующие, пакетирующие) стропы, которые выполняют функцию упаковки, формируют и скрепляют длинномерные грузы в укрупненные грузовые единицы, позволяют поднимать и перемещать их, обеспечивая при этом целостность и сохранность грузов в запакетированном состоянии.
6.2.13 Максимальную рабочую нагрузку на грузовой текстильный строп определяют в зависимости от возможной схемы строповки груза в соответствии со значениями, приведенными в паспорте и ярлыке (бирке, этикетке) стропа.
6.2.14 Радиус кромок, охватываемых гибкими элементами текстильного ленточного стропа, не должен быть меньше толщины ленты стропа.
6.2.15 Рабочие поверхности крюка грузоподъемной машины и строповочные элементы груза не должны иметь острых кромок и каких-либо дефектов, допускающих возможность повреждения кольцевых и петлевых текстильных ленточных стропов, а радиус кривизны этих поверхностей, непосредственно соприкасаемых с лентой стропа, должен быть не менее 0,75 несущей ширины стропа.
6.2.16 Запрещается использование грузовых текстильных стропов:
- для перемещения таких грузов, извлечение из-под которых сопровождается трением стропов, зажатых между грузом и основанием, на котором груз установлен;
- в средах, содержащих абразивные материалы - цемент, бетон и т.п., при концентрации частиц пыли вещества в воздухе более 10 мг/м3;
- при размещении мест сшивок ленты на крюке грузоподъемной машины или строповочных элементах груза;
- для перемещения грузов, нагретых до температуры, выше указанной в паспорте стропа.
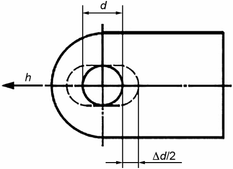
6.2.17 При соединении гибких элементов стропов из стальных канатов (далее - канатных стропов) со строповочными элементами грузов или с грузозахватным органом грузоподъемной машины, радиусы
r которых составляют менее 2,5 диаметра каната
d (рисунок 1), необходимо снижать допускаемую нагрузку
WLL в соответствии с
таблицей 2. При невозможности снижения нагрузки срок службы таких стропов должен быть уменьшен прямо пропорционально снижению нагрузки, предусмотренному
таблицей 2.
Рисунок 1 - Обвязка грузов с закруглениями
Таблица 2
Пониженная грузоподъемность канатных стропов
WLLП
r/d | WLLП |
Менее 0,5 | Использование не допускается |
От 0,5 до 1,0 включ. | 0,5WLL |
Св. 1,0 до 2,0 " | 0,65WLL |
" 2,0 до 2,5 " | 0,8WLL |
Св. 2,5 | 1,0 |
6.2.18 Грузоподъемность
WLL канатных стропов для конкретного типа стропа или применения необходимо рассчитывать на основе предельной рабочей нагрузки ветви стропа для данного типа стропа путем умножения на соответствующий коэффициент строповки
M согласно
таблице 3.
Таблица 3
Коэффициенты строповки
M для канатных стропов
Прямой подъем | Подъем затяжной петлей "на удавку" | Угол между ветвью стропа и вертикалью  при корзинной строповке |
До 45° | От 45° до 60° включ. |
Коэффициент строповки M |
1 | 0,8 | 1,4 | 1 |
| | |
6.2.19 При соединении гибких элементов цепных стропов со строповочными элементами грузов или с грузозахватным органом грузоподъемной машины, радиусы
r которых составляют менее двух диаметров материала готовой цепи
d (рисунок 2), необходимо снижать допускаемую нагрузку
WLL в соответствии с
таблицей 4. При невозможности снижения нагрузки срок службы таких стропов должен быть уменьшен прямо пропорционально снижению нагрузки, предусмотренному
таблицей 4.
Рисунок 2 - Обвязка грузов с закруглениями
Таблица 4
Коэффициент понижения грузоподъемности цепных стропов
WLLП
r | WLLП |
r <= d | 0,5 |
Св. 1,0d до 2d включ. | 0,7 |
r > 2d | 1 |
d - номинальный диаметр стального проката, из которого изготовлена цепь (калибр цепи). |
6.2.20 Грузоподъемность
WLL цепных стропов для конкретного типа стропа или применения необходимо рассчитывать на основе предельной рабочей нагрузки ветви стропа для данного типа стропа путем умножения на соответствующий коэффициент строповки
M согласно
таблице 5.
Таблица 5
Коэффициенты строповки
M для цепных стропов
Прямой подъем | Подъем затяжной петлей "на удавку" | Угол между ветвью стропа и вертикалью  при корзинной строповке |
До 45° | От 45° до 60° включ. |
Коэффициент строповки M |
1 | 0,8 | 1,12 | 0,8 |
| | |
6.2.21 Коэффициенты строповки
M, приведенные в
таблицах 3 и
5, позволяют определять предельную безопасную нагрузку на строп исходя из его грузоподъемности, схемы строповки и угла между ветвями

, который учитывают при расчете нагрузки.
Примечание - Положение ветви стропа считают вертикальным, если ее отклонение от вертикали не превышает 5°.
6.2.22 Грузоподъемность
WLL стропов из текстильных канатов, круглопрядных и ленточных стропов для конкретного типа стропа или применения необходимо рассчитывать на основе предельной рабочей нагрузки ветви стропа для данного типа стропа путем умножения на соответствующий коэффициент строповки
M, приведенный в
ГОСТ 34875.
6.2.23 При соединении гибких элементов стропов из текстильных канатов со строповочными элементами грузов или с грузозахватным органом грузоподъемной машины отношение диаметра
D примененного металлического концевого элемента к диаметру
d текстильного каната стропа не должно быть менее единицы. Предпочтительным является значение этого отношения, равное трем. В случае если отношение
D/
d <= 3, грузоподъемность стропа
WLL должна быть понижена в соответствии с требованиями
ГОСТ 34875.
6.2.24 При строповке грузов с острыми ребрами методом обвязки петлевыми и кольцевыми стропами или методом свободной укладки на них необходимо между ребрами элементов и канатом, текстильной лентой, чехлом установить прокладки, проставки, предохраняющие канатные стропы от раздавливания, залома и перегиба, а текстильные стропы - от перетирания; при этом для бетонных (железобетонных) грузов, обвязываемых (охватываемых) текстильными стропами, прокладки используют во всех случаях, вне зависимости от радиуса охватываемых кромок
(рисунок 3). Прокладки и проставки могут быть прикреплены к грузу или постоянно закреплены на стропе.
а) деревянные проставки; б) проставки из разрезанной трубы;
в) проставки из резинотканевых шлангов и плоских ремней
Рисунок 3 - Строповка грузов с использованием проставок
6.2.25 Корзинную строповку кольцевыми или петлевыми стропами осуществляют при наличии на грузе обозначения места строповки и устройств (ограничителей), обеспечивающих необходимое положение стропов и предотвращающих их от смещения в продольном направлении
(рисунок 4). Строповка загруженных деревянных поддонов и полимерной упаковки указанным способом не допускается.
Рисунок 4 - Подъем и перемещение груза с использованием
корзинной строповки петлевыми и кольцевыми стропами
6.2.26 При обвязке груза цепными стропами звенья цепи должны быть расположены на грузе таким образом, чтобы исключался их изгиб на ребрах груза
(рисунок 5).
Рисунок 5 - Строповка грузов цепными стропами
6.2.27 Груз, обвязываемый кольцевыми и петлевыми стропами или укладываемый на них, следует опускать и складировать на подкладки, прочность и толщина которых должны обеспечить беспрепятственное извлечение стропов из-под груза, осуществляемое усилием рук стропальщика.
Извлечение защемленных грузом стропов посредством их вытягивания с использованием механизмов грузоподъемной машины запрещается.
6.2.28 При зацепке груза и упаковки, имеющих жесткие строповочные элементы (скобы, петли, проушины, рым-болты и т.п.), должны быть соблюдены следующие требования:
- рог крюка должен без каких-либо затруднений, полностью входить в жесткий строповочный элемент (см.
рисунок 6) под воздействием руки стропальщика;
- предохранительный замок крюка должен полностью замыкаться после ввода рога крюка в жесткий строповочный элемент;
- расположение рабочей части жесткого строповочного элемента в зеве крюка должно исключать защемление и/или повреждение предохранительного замка при натяжении ветви стропа или выход крюка из зацепления со строповочным элементом при ослаблении стропа;
- при натянутой ветви стропа вертикальная ось крюка и ось ветви должны быть соосны (см.
рисунок 6);
- натяжение используемых при строповке ветвей в многоветвевых стропах при подъеме груза должно быть равномерным.
Рисунок 6 - Зацепка крюками ГЗП за строповочные элементы
груза и упаковки
6.2.29 Для надежной зацепки крюков канатных ветвей ГЗП за жесткие строповочные элементы груза или упаковки зазоры

и

должны соответствовать значениям, определяемым в зависимости от высоты и ширины вертикального сечения зева крюка, а положение крюка и предохранительного замка - правому положению, приведенному на
рисунке 6:
-

, но не менее 3 мм;
-

, но не менее 3 мм.
6.2.30 При зацепке жесткого строповочного элемента груза и упаковки крюками многоветвевого стропа, оснащенными предохранительным замком Г-образной формы, замыкающимся под воздействием собственной массы, носик крюка должен быть расположен со стороны острого угла, образуемого ветвями стропа и горизонталью.
6.2.31 Подхватывание предназначенной к подъему упаковки вилочным захватом осуществляют при наличии в ней предназначенных для этой цели проемов. Упаковка своей опорной поверхностью должна быть размещена на вилах устойчиво, без перевеса на сторону. Рабочая длина вил вилочного захвата должна быть не менее 2/3 ширины упаковки.
6.2.32 Зацепку груза захватами, входящими в состав грузовой траверсы, выполняют в соответствии с указаниями, приведенными в ППР и ТК и в руководстве по эксплуатации траверсы. При отсутствии в руководстве по эксплуатации необходимых указаний или схем зацепку груза следует выполнять всеми имеющимися захватами, или захватами, в равном количестве и на равном расстоянии расположенными от устройства для навески траверсы на крюк крана. Исключение составляют траверсы, предназначенные для соединения с грузоподъемной машиной грузов, имеющих смещенный центр тяжести, при этом использование в работе данных траверс осуществляют исключительно в соответствии с требованиями ППР и ТК.
6.2.33 Компоновка и укладка грузов при их размещении на местах складирования должна обеспечить возможность удобной и безопасной строповки.
6.2.34 В процессе подъема груза, независимо от его массы, конфигурации и осуществленной схемы строповки, стропальщик, после подъема груза на высоту от 200 мм до 300 мм, должен остановить подъем, убедиться в правильности и надежности строповки, отсутствии просадки груза, целостности ГЗП и груза, при отсутствии замечаний подать сигнал крановщику (оператору крана) на дальнейший подъем и перемещение груза.
При подъеме длинномерных и крупногабаритных грузов сигнал на продолжение подъема груза, после проверки, предусмотренной настоящим пунктом, стропальщик подает, предварительно заняв место, определенное ППР или ТК.
6.2.35 Строповку груза с использованием кольцевых и петлевых стропов с затяжкой его петлей (на "удавку") при длине груза менее 2 м допускается проводить в одном месте (кроме фасонного металлопроката и тонкостенных труб).
6.2.36 Расстроповку конструкций, установленных в проектное положение в процессе строительно-монтажных работ, следует проводить только после их постоянного или надежного временного закрепления.
6.2.37 При постоянном использовании кольцевых и петлевых стропов с кранами фактических групп классификации выше A3 по
ГОСТ 34017 следует взамен указанных стропов предусмотреть возможность применения автоматических и полуавтоматических ГЗП или аналогичных сменных грузозахватных органов, обеспечивающих безопасную и высокопроизводительную работу по подъему и перемещению грузов.
6.2.38 Для монтажа конструкций и отсоединения груза от грузоподъемной машины на высоте 1,8 м и более следует использовать ГЗП с дистанционным управлением расстроповкой.
При отсутствии в конструкции ГЗП устройства дистанционного управления в местах расстроповки, в том числе в местах разгрузки полувагонов, не оборудованных стационарными эстакадами, должны быть устроены навесные средства подмащивания по
ГОСТ 24258.
6.2.39 Подъем и перемещение груза несколькими грузоподъемными машинами с использованием грузовой траверсы (траверс) выполняют под непосредственным руководством компетентного должностного лица, ответственного за безопасное производство работ.
6.2.40 В зоне работы грейферных и магнитных кранов, а также крюковых кранов, оснащенных приводными и одноканатными грейферами, грузовыми магнитами или управляемыми (автоматическими, полуавтоматическими) захватами, нахождение людей не допускается, при этом в процессе использования их в работе необходимо учитывать следующие требования:
- учитывают не только массу ГЗП, но также дополнительные нагрузки, воздействующие на кран вследствие быстрых поворотных движений, захвата груза грейфером, толчков и др. Массу грейфера с его содержимым или массу магнита с грузом принимают меньшей, чем соответствующая безопасная рабочая нагрузка для стандартного режима загрузки. При возникновении неопределенности следует обратиться к проектировщику крана или специализированной проектной организации по кранам за получением сведений о характеристиках и номинальных параметрах в связи с использованием специальных ГЗП данной категории;
- при использовании кранов, оснащенных грейфером, поднимаемая масса груза складывается из массы грейфера и его содержимого; масса последнего зависит от плотности рабочего материала. Важно, чтобы используемый грейфер подходил для конкретного материала с учетом безопасной рабочей нагрузки на кран. На грейфере должна быть маркировка с указанием его собственной массы и его условного обозначения;
- при погрузке или выгрузке, разгрузке железнодорожных вагонов с использованием грейфера не допускается опускать грейферы с ударом о пол вагонов; проводить выгрузку грузов из вагонов грейферами, имеющими зубья; задевать грейфером борта платформ, стены и двери полувагонов; проводить выгрузку смерзшихся грузов путем проталкивания их в проемы люков полувагона грейферами;
- заполнение грейфера грузом должно быть по возможности полным. После захвата груза следует убедиться, что грейфер закрыт полностью и груз не высыпается. Для этого грейфер необходимо приподнять над поверхностью груза на 1,5 - 2 м при выгрузке насыпных (навалочных) грузов и на 0,5 м при выгрузке чугуна и металлолома. При высыпании груза из-за переполнения грейфера или из-за неполного его закрытия вследствие защемления челюстями грейфера отдельных крупных фракций груза необходимо слегка приоткрыть грейфер, высыпать часть груза и вновь закрыть грейфер. Если это не устранит высыпания, нужно высыпать весь груз и повторить захват груза;
- захват грузов с насыпной массой менее 1 т/м3 в полувагоне необходимо начинать с его середины, обеспечивая равномерное распределение остатка груза по площади полувагона и наименьшую россыпь через борт;
- при выгрузке грейфером из полувагона или трюма судна чугуна в чушках и металлолома необходимо захватывать груз без рывков. Выгрузка последнего слоя груза из полувагона или трюма многочелюстными грейферами, а также двухчелюстными грейферами с зубьями не допускается, ее следует проводить с применением магнитов;
- раскрытие грейфера с навалочными и насыпными грузами следует осуществлять на высоте не более 2 м от слоя груза для уменьшения пылеобразования;
- раскрытие грейфера с чугунными чушками или металлоломом следует осуществлять на высоте не более 0,5 м от поверхности, если проводят загрузку полувагона или кузова автомашины, и не более 1 м - при работе на складе;
- перед захватом груза крановщик (оператор крана) должен сориентировать магнит таким образом, чтобы обеспечить расположение грузовой подвески вдоль полувагона, прицепа автомашины, длинномерного груза или ковша и устойчивую посадку электромагнитов на поверхность груза;
- грузовой магнит (магниты) следует размещать симметрично по отношению к центру тяжести длинномерного груза;
- запрещается перемещение груза при его наклоне, перекосе и смещении осевой линии груза от осевой линии грузового магнита;
- после того как грузовой магнит плавно опустится на груз, крановщик (оператор крана) должен убедиться в правильной его установке, включить электропитание и дать выдержку по времени. Включать электропитание грузового магнита до посадки его на груз запрещается. После первой выдержки необходимо плавно, без рывков, на пониженной скорости выполнить предварительный подъем груза на высоту до 0,3 м и дать вторую выдержку для контроля за правильностью и надежностью захвата груза (до 10 с для металлолома);
- при обнаружении ненадежного захвата груза проводят освобождение грузового магнита от этого груза;
- запрещается использовать грузовые магниты для подъема горячих металлических предметов, если их температура превышает установленную изготовителем грузового магнита, за исключением случаев, когда он был специально сконструирован для этой цели. Допускаемая температура нагрева поднимаемого металла в данном случае должна быть указана на маркировке грузового магнита;
- запрещается укладывать грузы посредством выключения магнита и сбрасыванием их с высоты. Опускать перемещаемый груз следует без рывков после ориентирования его над местом укладки;
- освобождение груза проводят путем отключения питания грузового магнита;
- при разгрузке краном листового металла с применением грузового магнита в полувагоны необходимо указать крановщику (оператору крана) место опускания грузового магнита на груз, после чего стропальщик должен отойти в безопасное, видимое крановщику (оператору крана) место, и дать команду на подъем груза; груз поднимают выше борта полувагона на высоту не менее 0,5 м, перемещают и опускают над местом укладки до высоты 1 м и с поправкой положения при помощи подручных средств (багра, оттяжки) груз укладывают в штабель;
- при перегрузке чушек чугуна, металлолома, металлических шаров и других подобных мелких грузов, перегружаемых навалом, отключение электропитания грузового магнита допускается проводить на высоте не более 1 м при погрузке на слой груза и не более 0,5 м при погрузке на покрытие склада или транспортного средства;
- после отключения электропитания необходимо поднять магнит на высоту до 0,3 м и убедиться в том, что он полностью освобожден от груза, а затем продолжить дальнейший подъем (перемещение) грузового магнита без груза;
- когда грузовой магнит не используют, он должен быть обесточен во избежание перегрева; магнит недопустимо ставить на землю, его следует держать на деревянной платформе;
- места производства работ кранами, оснащенными указанными в настоящем пункте ГЗП, должны быть ограждены и обозначены;
- запрещается подходить на расстояние ближе 10 м к зоне работы магнитного или грейферного крана в случае, если краны работают внутри производственных зданий.
6.2.41 Вакуумные ГЗП допустимо использовать только для поднятия грузов, поверхность которых пригодна для использования грузозахватных присосок, при этом следует соблюдать следующие условия:
- перед первым использованием или после выполнения ремонтных работ вакуумное ГЗП должно быть проверено компетентным лицом с помощью испытательного груза. Поверхность такого груза должна быть аналогична наихудшему типу поверхности, для работы с которой предусмотрено вакуумное грузозахватное устройство;
- контактные поверхности грузов должны быть расположены горизонтально, в той мере, насколько это осуществимо (допускается использование вакуумных ГЗП, имеющих механизмы наклона и поворота, при этом расположение контактных поверхностей груза не имеет значения);
- для эффективного контакта вакуумного присоса с поверхностью груза на поверхности груза не должно быть несвязанного материала.
6.3 Требования к использованию упаковки
6.3.1 Подъем и перемещение заполненной упаковки допускается выполнять, если:
- масса заполненной упаковки не превышает массы брутто, указанной на табличке или корпусе упаковки;
- температура окружающего воздуха соответствует диапазону температур, установленному изготовителем упаковки и указанному в паспорте на партию упаковки.
6.3.3 Перемещать мелкоштучные грузы допускается только в специальной, предназначенной для этого упаковке, исключающей возможность выпадения отдельных частей груза.
Перемещение кирпича на поддонах без ограждения допускается только при разгрузке (погрузке) транспортных средств с земли или на землю, если иное не указано в эксплуатационных документах на поддоны или в ТК.
6.3.4 Строповку (зацепку) как загруженных, так и порожних деревянных или полимерных (пластиковых) поддонов с использованием многоветвевого стропа следует осуществлять посредством зацепки крюков стропа за строповочные устройства введенных в проемы поддона двух подхватывающих балок, обеспечивающих жесткую опору по всей ширине поддона.
6.3.5 При погрузке, разгрузке и размещении груза в упаковке необходимо соблюдать следующие требования:
- упаковку разрешается загружать грузом, масса которого не превышает массу нетто, указанную на табличке (бирке) или на корпусе упаковки;
- способы погрузки или разгрузки должны исключать появление остаточных деформаций упаковки;
- мелкоштучный груз, уложенный в упаковку, во избежание его самопроизвольного выпадения, должен находиться на 100 мм ниже уровня ее бортов;
- открывающиеся стенки упаковки, находящейся в штабеле, должны находиться в закрытом положении;
- перемещение упаковки волоком и кантованием не допускается.
6.3.6 Применение упаковки, разгружаемой на весу, на башенных кранах допускается в пределах группы классификации (режима), указанной в паспорте крана, при числе циклов работы крана не более восьми в час и следующих величинах суммарной массы упаковки с перемещаемым грузом:
- для упаковки без вибраторов (исключая грейферы) - в пределах грузоподъемности крана;
- для упаковки с вибратором - не более 50% от максимальной грузоподъемности крана.
Разгрузку упаковки на весу следует проводить равномерно в течение не менее 10 с. Мгновенная разгрузка упаковки на весу запрещается.
Примечания - Для кранов, выпускаемых в нескольких исполнениях (отличающихся кратностью запасовки грузового каната, высотой башни или длиной стрелы), под максимальной грузоподъемностью следует понимать наибольшую величину грузоподъемности среди всех имеющихся исполнений данного крана.
Установка вибраторов на упаковке разрешается только при вертикальном расположении оси вращения дисбалансов. Величина возмущающей силы вибратора не должна превышать 4 кН.
6.3.7 Требования к использованию грузовых контейнеров
6.3.7.1 Для зацепки грузовых универсальных крупнотоннажных контейнеров, соответствующих
ГОСТ 18477, или контейнеров серии 1 общего назначения (далее - грузовые контейнеры), за исключением грузовых контейнеров типоразмера 1D, в качестве приспособлений для грузоподъемных операций следует применять спредеры, траверсы, штатные вилы погрузчиков, клещевые захваты портальных контейнеровозов и другие захваты, предназначенные для перегрузки контейнеров определенных типоразмеров, поставляемые в комплекте с кранами и другими перегрузочными машинами или изготовленные по документации, утвержденной в установленном порядке.
6.3.7.2 Для зацепки грузового контейнера за верхние угловые фитинги применяемая траверса должна быть плоскостной или объемной конструкции, оснащенной крюками, поворотными замками или такелажными скобами, закрепленными на канатных или цепных ветвях
(рисунок 7) или непосредственно на металлоконструкции траверсы, с использованием, при необходимости, переходных звеньев.
а) зацепка специальными крюками без предохранительных
замков; б) зацепка крюками с предохранительными замками;
в) зацепка поворотными замками; г) зацепка
такелажными скобами
Рисунок 7 - Зацепка контейнера за верхние угловые фитинги
Крюк без предохранительного замка следует закладывать в полость фитинга в направлении рогом наружу, а крюк с предохранительным замком можно закладывать также рогом внутрь полости фитинга.
6.3.7.3 При зацепке контейнеров с использованием плоскостной траверсы за верхние угловые фитинги направления внешних сил, приложенных к верхним отверстиям фитингов, должны быть перпендикулярны верхним плоскостям фитингов. Примеры запрещенных методов подъема приведены на
рисунке 8.
а), б) зацепка линейной траверсой;
в) зацепка четырехветвевым стропом
Рисунок 8 - Запрещенные методы зацепки
(кроме грузовых контейнеров типоразмера 1D)
6.3.7.4 Штабелирование грузовых контейнеров при использовании плоскостной траверсы с ручной строповкой допускается не более чем в два яруса по высоте. При этом в ТК должны быть указаны безопасные приемы выполнения операций по зацепке (освобождению) контейнеров.
6.3.7.5 Зацепку грузового контейнера типоразмера 1D допускается выполнять четырехветвевым стропом за верхние угловые фитинги, при этом углы

наклона ветвей стропов к горизонтали должны составлять не менее 60°
(рисунок 9).
Рисунок 9 - Зацепка грузового контейнера 1D четырехветвевым
стропом за верхние угловые фитинги
6.3.7.6 При зацепке грузового контейнера с использованием грузовой траверсы за нижние угловые фитинги поворотные замки должны быть соединены с фитингами таким образом, чтобы линия действия сил отстояла от боковых граней фитингов не более чем на 38 мм
(рис. 10). Соприкосновение деталей траверсы с элементами контейнера (кроме фитингов) не допускается. Угол

между линией действия сил и горизонтально при зацепке линейной поперечной траверсой должен быть не менее: для грузовых контейнеров типоразмеров 1AA, 1A - 30°; 1BB, 1B - 37°; 1CC, 1C - 45° и 1D - 60°
(рисунок 11).
Рисунок 10 - Приспособление для зацепки контейнера
за нижние угловые фитинги
Рисунок 11 - Зацепка грузового контейнера линейной
поперечной траверсой за нижние угловые фитинги
6.3.7.7 Зацепку груженых и порожних грузовых контейнеров как за верхние, так и за нижние угловые фитинги необходимо проводить исключительно за четыре угловых фитинга.
6.3.7.8 Зацепку грузового контейнера вилочными захватами разрешается проводить при наличии у контейнера вилочных проемов.
Запрещается зацепка груженых контейнеров за вилочные проемы, предназначенные для перемещения только порожних контейнеров.
При наличии на контейнерах типоразмеров 1CC, 1C двух или четырех проемов для вилочных захватов:
- при расстоянии между центрами проемов (2050 +/- 50) мм разрешается зацепка как порожних, так и груженых контейнеров;
- при расстоянии между центрами проемов (900 +/- 50) мм разрешается зацепка только порожних контейнеров.
Зацепка контейнеров вилочным захватом возможна при условии ширины вил не менее 200 мм и обеспечения их входа в вилочные проемы на длину не менее 1825 мм.
6.3.7.9 Клещевые захваты допускается применять только для зацепки контейнеров, продольные балки днищевой рамы которых имеют специальную конструкцию, предусмотренную для таких захватов
[1] <1>.
--------------------------------
<1> В Российской Федерации действует
ГОСТ Р 51876-2008 (ИСО 1496-1:1990) "Контейнеры грузовые серии 1. Технические требования и методы испытаний. Часть 1. Контейнеры общего назначения".
6.3.7.10 Зацепку грузовых контейнеров способами, не приведенными в настоящем стандарте, например, за угловые фитинги одной боковой или торцевой стенки, допускается проводить только с разрешения изготовителя или после тщательной оценки конструкции контейнера с разработкой соответствующих ППР и ТК.
6.3.8 Требования к использованию мягких контейнеров для неопасных грузов
6.3.8.1 Подъем и перемещение заполненных мягких контейнеров для неопасных грузов (далее - мягкие контейнеры) допускается выполнять с грузами, масса которых не превышает безопасную рабочую нагрузку, указанную изготовителем на прочно прикрепленном и хорошо видимом ярлыке или на корпусе контейнера.
6.3.8.2 В случае использования мягких контейнеров при отрицательных температурах контейнеры в порожнем состоянии должны быть выдержаны при комнатной температуре не менее одного часа до возвращения транспортной оболочке эластичности.
6.3.8.3 Следует получить консультацию изготовителя или поставщика, прежде чем наполнять мягкий контейнер материалом, температура которого превышает 60 °C.
6.3.8.4 Загрузка и выгрузка мягких контейнеров зависят от их конструктивных особенностей, и их выполняют в соответствии с требованиями, изложенными в технологической карте погрузочно-разгрузочных работ; при этом должно быть исключено использование поврежденных контейнеров, а также контейнеров с находящейся внутри влагой.
6.3.8.5 Высота засыпанного в мягкий контейнер груза, в зависимости от формы поперечного сечения контейнера, не должна превышать величины короткой стороны прямоугольника или диаметра основания контейнера более чем в два раза.
6.3.8.6 Зацепку загруженных мягких контейнеров, в том числе для поднятия при их опрокидывании, следует осуществлять за все строповочные элементы контейнера.
6.3.8.7 Захваты ГЗП или крюк крана, зацепляемые за строповочные элементы мягких контейнеров, не должны иметь острых кромок и каких-либо дефектов, допускающих возможность повреждения строповочных элементов, а края рабочих поверхностей захватов ГЗП, непосредственно соприкасающихся со строповочными элементами, должны иметь радиус не менее 5 мм.
6.3.8.8 Способы (схемы) строповки мягких контейнеров должны соответствовать пиктограммам, нанесенным на ярлыке контейнера.
6.3.8.9 Зацепку мягких контейнеров, имеющих более одного строповочного элемента, следует выполнять с применением траверс или многоветвевых стропов соответствующей длины, которые должны обеспечить вертикальное или близкое к нему положение строповочных элементов.
6.3.8.10 Подъем и перемещение двух и более мягких контейнеров за один рабочий цикл необходимо выполнять с использованием грузовой траверсы, обеспечивающей вертикальное положение контейнеров в подвешенном состоянии.
6.3.8.11 Подъем и опускание загруженных мягких контейнеров следует проводить без рывков и резких остановок.
6.3.8.12 Одноразовые мягкие контейнеры, изготовленные в соответствии с требованиями
ГОСТ ISO 21898, повторно использовать запрещается.
Стандартный мягкий контейнер для повторного использования предназначен для ограниченного числа наполнений, при этом контейнер данного класса не может быть повторно использован в случае повреждения, так как он не подлежит ремонту.
Примечание - Класс мягкого контейнера ("прочный для повторного (многократного) использования", "стандартный для повторного использования" или "одноразовый") указывается в его маркировке, нанесенной на ярлыке или корпусе контейнера.
7.1 Транспортирование ГЗП и порожней упаковки в условиях эксплуатации с объекта на объект, к месту ремонта, технического обслуживания или хранения может осуществляться всеми видами транспортных средств.
7.2 Укладку ГЗП и порожней упаковки при транспортировании автомобильным, железнодорожным и водным транспортом необходимо осуществлять в соответствии с требованиями правил перевозки подобных грузов, установленных для данных видов транспорта.
7.3 При погрузке и выгрузке ГЗП и упаковки должны быть приняты меры, исключающие их повреждение и позволяющие сохранить лакокрасочное покрытие и защитную смазку. Упаковка, имеющая проемы для вил, может быть погружена и выгружена с использованием вилочных погрузчиков или кранов-штабелеров.
7.4 Доставку к местам использования грузовых текстильных стропов и мягких контейнеров следует осуществлять в деревянных ящиках или водонепроницаемых мешках, при этом укладка ленточных стропов для транспортировки должна исключать смятие лент, полученное в результате воздействия масс перевозимых грузов.
7.5 Перевозку грузовых контейнеров автомобильным, железнодорожным и водным транспортом необходимо выполнять в соответствии с требованиями правил перевозки грузов в контейнерах и порожних контейнерах, установленных для данных видов транспорта.
7.6 При развороте грузового контейнера на весу при установке его на транспортное средство следует применять багры или специальные шесты, конструкция которых должна исключать повреждение контейнера. Рабочие при этом должны находиться на земле или на специальном грузовом столе, установленном у платформы транспортного средства.
7.7 В качестве примеров на
рисунках 12,
13 и
14 приведены наиболее распространенные устройства для крепления контейнеров к палубе судов и к платформам железнодорожных и автомобильных транспортных средств. На
рисунках 15,
16 и
17 показаны примеры устройств для крепления контейнеров между собой, применяемых, как правило, совместно с оттяжками.
Рисунок 12 - Поворотный штыковой замок
Рисунок 13 - Штыковой упор с закладным пальцем
Рисунок 14 - Угловой штыковой упор с закладным пальцем
Рисунок 15 - Штыковой упор
Рисунок 16 - Сдвоенный штыковой упор
Рисунок 17 - Поворотный штыковой замок
7.8 Транспортирование загруженных мягких контейнеров осуществляют с соблюдением следующих требований:
- пол и стенки полувагонов, вагонов, платформ и кузовов самоходных транспортных средств перед погрузкой в них контейнеров выстилают плотным картоном;
- выступающие части транспортных средств, способные привести к протиранию и порывам контейнеров, изолируют мягким материалом, а по возможности полностью удаляют.
7.9 Выгрузку мягких контейнеров из полувагонов следует начинать с контейнеров, расположенных в средней части полувагона.
8 Оценка работоспособности
8.1 Формы оценки работоспособности
Оценка работоспособности ГЗП и упаковки в процессе эксплуатации осуществляется в форме:
- ежесменного осмотра, проводимого стропальщиками совместно с оператором грузоподъемной машины в объеме, предусмотренном производственными инструкциями;
- осмотра, проводимого компетентным должностным лицом, ответственным за безопасное производство работ с применением грузоподъемных машин, при участии персонала, обслуживающего грузоподъемные машины, ГЗП и упаковку;
- освидетельствования, проводимого компетентным должностным лицом, ответственным за безопасное производство работ с применением грузоподъемных машин, ГЗП и упаковки, при участии персонала, обслуживающего грузоподъемные машины, ГЗП и упаковку;
- экспертного обследования, проводимого специализированной организацией по истечении назначенного срока службы, определяющего возможность его продления, а также условий продолжения дальнейшей эксплуатации;
- внеочередного экспертного обследования, проводимого специализированной организацией в случаях, предусмотренных
8.2.16.
8.2 Периодичность оценки работоспособности
8.2.1 Используемые в работе ГЗП и упаковка необходимо периодически подвергать осмотру не реже, чем в следующие сроки:
- траверсы, грейферы, захваты и упаковка - каждый месяц;
- стропы - каждые 10 дней;
- съемные ГЗП, используемые реже, чем один раз в 10 дней - перед началом работ.
8.2.2 При постоянном использовании с грузоподъемными кранами, эксплуатирующимися в условиях групп классификации (режима) A7 - A8 и выше по
ГОСТ 34017, стропы и другие съемные ГЗП, включающие в себя канатные, цепные и текстильные ветви, подвергают осмотру не реже одного раза в пять дней.
8.2.3 Осмотр (ревизия) кованых и штампованных крюков и деталей их подвески, а также деталей подвески пластинчатых крюков кранов, транспортирующих расплавленный металл и жидкий шлак, проводят в соответствии с требованиями
8.9.7 не реже одного раза в 12 месяцев.
8.2.4 Вакуумное ГЗП, особенно шланги и вакуумные присоски, должны быть проверены в начале работы каждой смены или рабочего дня, а сигнальное предупредительное устройство необходимо подвергать тестированию еженедельно.
8.2.5 Для контроля технического состояния элементов, узлов и соединений съемных ГЗП и упаковки (за исключением используемых реже, чем один раз в 10 дней), которое невозможно определить в собранном виде, ежегодно, в сроки, определенные графиком, утвержденным внутренним распорядительным актом эксплуатирующей организации, должна быть выполнена их частичная разборка, осмотр и ревизия. При обнаружении признаков наличия трещин на втулках, в расчетных элементах металлоконструкций траверс и захватов, применяют методы неразрушающего контроля.
Сроки выполнения контроля целесообразно совмещать с проведением периодического технического освидетельствования, технического обслуживания или текущего ремонта грузоподъемных машин, с которыми используются подлежащие контролю ГЗП и упаковка.
8.2.6 В случае необходимости использования в работе грузовых текстильных стропов, находящихся на хранении свыше срока, назначенного изготовителем, стропы подлежат освидетельствованию с указанием в их паспорте вновь назначенного срока службы. При освидетельствовании стропов должны быть выполнены следующие работы:
- проверка наличия паспорта и надлежащей маркировки;
- осмотр стропов на предмет выявления недопустимых дефектов, указанных в паспортах и настоящем стандарте;
- испытание статической нагрузкой на 25% выше грузоподъемности WWL стропов, указанной в паспорте и на бирке;
- оценка технического состояния стропов, составление заключения о возможности дальнейшей эксплуатации стропов по результатам освидетельствования.
8.2.7 После замены ветвей многоветвевых стропов и траверс, разъемных звеньев, крюков и других легко заменяемых (без сварки, заплетки, опрессовки и сшивки) расчетных элементов, а также после ремонта расчетных металлоконструкций траверс, захватов и грейферов, включающего замену элементов с применением сварки, съемные ГЗП подлежат внеочередному освидетельствованию. Упаковка после ремонта подлежит осмотру, если иное требование не приведено в эксплуатационных документах.
8.2.8 Осмотр производственной внутризаводской, межзаводской, а также транспортной оборотной упаковки, находящейся в непрерывном технологическом цикле (логистическом потоке), следует проводить в сроки, установленные внутренним распорядительным актом эксплуатирующей организации, но не реже одного раза в шесть месяцев.
8.2.9 Осмотр грузовых контейнеров, перегружаемых через морские и речные порты, а также через связанные с ними контейнерные терминалы железнодорожного транспорта, необходимо проводить в соответствии с требованиями, установленными НПА, регулирующими безопасность технологических процессов погрузочно-разгрузочных работ в сфере водного и железнодорожного транспорта.
При обращении грузовых контейнеров вне указанных в настоящем пункте логистических потоков осмотр проводят в соответствии с требованиями настоящего стандарта.
8.2.10 Иные сроки осмотров ГЗП и упаковки (но не реже приведенных в настоящем стандарте) могут быть установлены внутренним распорядительным актом эксплуатирующей организации с учетом особенностей их конструкции и условий использования.
8.2.11 Если у эксплуатирующей организации имеется намерение продолжить эксплуатацию съемных ГЗП и упаковки по истечении назначенного изготовителем срока службы, приведенного в эксплуатационных документах, следует провести их экспертное обследование специализированной организацией (для определенных типов и исполнений стропов и полимерной упаковки, а также при наличии в эксплуатационных документах прямого запрета изготовителя на продление эксплуатации ГЗП и упаковки за пределами назначенного срока службы данная возможность исключена - они подлежат утилизации). Дальнейшая безопасная эксплуатация ГЗП и упаковки за пределами назначенного срока службы возможна только при положительном решении специализированной организации.
Примечание - При наличии в эксплуатирующей организации компетентного(ых) специалиста(ов) (см. ГОСТ 33714.1-2015,
пункт 3.5), а также необходимого оборудования, средств измерений и программ (методик) проведения технического диагностирования (освидетельствования, обследования), экспертное обследование ГЗП и упаковки может быть проведено этим(и) специалистом(ами) без привлечения специализированной организации.
При отсутствии в эксплуатационных документах необходимых сведений о сроке службы съемных ГЗП и упаковки (в целях планирования их своевременной замены, ремонта и экспертного обследования) рекомендуется руководствоваться сроками, приведенными в
таблицах 6 и
7.
Таблица 6
Рекомендации по определению срока службы ГЗП
Тип съемного грузозахватного приспособления | Назначенный срок службы, лет |
| | |
Строп грузовой текстильный, используемый для непосредственной обвязки груза <2> | 1 | 0,5 | 0,25 |
Строп грузовой текстильный, используемый для зацепки и (или) свободной укладки груза <2> | 3 | | |
Строп грузовой текстильный грузоподъемностью более 20 т, используемый реже, чем один раз в 10 дней | 5 |
Строп грузовой из стального каната грузоподъемностью до 10 т включительно, используемый для непосредственной обвязки груза <2> | 1,5 | 1 | 0,5 |
Строп грузовой из стального каната, используемый для свободной укладки груза: |
грузоподъемностью до 10 т включительно <2> | 4 | 2 | 1 |
грузоподъемностью более 10 т | 5 | | |
Строп грузовой из стального каната ветвевой грузоподъемностью до 10 т включительно | 6 | | |
Строп грузовой из стального каната ветвевой грузоподъемностью более 10 т | 8 | 5 | |
Строп грузовой цепной | 10 | 8 | |
Захват зацепной, опорный и анкерный | 10 | 8 | 4 |
Захват фрикционный | 7 | 5 | 2,5 |
Грейфер | 7 | 5 | 4 |
Траверса грузовая, оснащенная канатными ветвями <3> | 8 | 5 | 4 |
Траверса грузовая, оснащенная цепными ветвями <3> | 10 | 8 | 6 |
Траверса грузовая, не имеющая в составе гибких элементов | 12 | 10 | 8 |
Траверса, не имеющая в составе гибких элементов, используемая с применением только автоматических средств зацепки, в т.ч. спредер | 16 | 12 | 8 |
Съемные ГЗП, используемые реже, чем один раз в 10 дней, за исключением грузовых текстильных стропов | 20 |
<1> Указаны группы классификации (режима работы) кранов по ГОСТ 34017, совместно с которыми используются съемные ГЗП. <2> Экспертное обследование на предмет определения возможности установления нового назначенного срока службы стропов данной категории не проводят. По истечении назначенного срока службы их утилизируют. <3> Для траверс, у которых своевременно проводились проверки технического состояния и замена канатных и цепных ветвей, за назначенный может быть принят срок, установленный для траверс, не имеющих в составе гибких соединительных элементов. |
Таблица 7
Рекомендации по определению срока службы
промышленной упаковки
Тип промышленной упаковки | Назначенный срок службы, лет |
Упаковка полимерная (пластиковые поддоны и контейнеры) | 2,5 |
Поддоны деревянно-металлические | 2,5 |
Упаковка деревянно-металлическая, за исключением деревянных поддонов | 3 |
Упаковка деревянно-металлическая, используемая с применением только автоматических средств транспортирования | 5 |
Упаковка металлическая | 6 |
Упаковка металлическая, используемая с применением только автоматических средств транспортирования | 8 |
Примечания 1 Экспертное обследование на предмет определения возможности назначения дополнительного срока службы прочных мягких контейнеров для неопасных грузов не проводится. 2 Использование в работе многооборотных поддонов, предназначенных для многократного применения, ограничено семью оборотами, при этом под оборотом поддона следует понимать формирование пакета, его перемещение в пункт назначения, погрузочно-разгрузочные работы (складская обработка) и возврат поддона поставщику. |
8.2.12 Проведение экспертного обследования съемных ГЗП целесообразно совмещать с техническим освидетельствованием или диагностированием грузоподъемных машин, совместно с которыми их постоянно используют. С этой целью может быть допущен перенос срока экспертного обследования до трех месяцев, если по результатам последней проверки технического состояния не выявлены дефекты, подпадающие под критерии предельного состояния, установленные эксплуатационными документами или настоящим стандартом.
8.2.13 Предельный срок периодического продления эксплуатации ГЗП и упаковки (срок службы, вновь назначенный по результатам первичного или повторного обследования) - в зависимости от технического состояния (за исключением ГЗП и упаковки, указанных в
8.2.14) может составлять до 50% от срока службы, назначенного изготовителем или указанного в настоящем стандарте. По этому же показателю, а равно по соображениям экономической целесообразности, может быть ограничено количество повторных обследований.
8.2.14 Для траверс, вилочных или C-образных захватов, грейферов и металлической упаковки с учетом фактического состояния (отклонений формы, степени поражения коррозией, наличия повреждений и износа) или подобных ГЗП, подвергнутых восстановительному ремонту, вновь назначенный срок службы может составлять до 100% от срока службы, назначенного изготовителем или указанного в настоящем стандарте. При необходимости следует выполнять проверочные прочностные расчеты.
8.2.15 ГЗП и упаковку подвергают внеочередному экспертному обследованию в следующих случаях:
- с целью оценки возможности и экономической целесообразности проведения ремонта ГЗП или упаковки при выявлении остаточных деформаций и (или) трещин в основных (расчетных) элементах металлоконструкций, звеньях, скобах и захватах, возникших при эксплуатации в паспортном режиме или при проведении статических испытаний, или в результате столкновения или падения, аварии грузоподъемной машины или пожара на объекте, где используются или хранятся ГЗП и упаковка;
- после аварии грузоподъемной машины, инцидента или несчастного случая, если у комиссии, занимающейся соответствующим расследованием, имеются основания усомниться в прочности применяемых с грузоподъемной машиной ГЗП и упаковки и (или) в их соответствии требованиям нормативных документов;
- после реконструкции;
- при отсутствии идентификационного клейма (таблички, бирки) или отсутствии необходимой маркировки;
- на основании требований предписания, выданного компетентным должностным лицом, ответственным за осуществление контроля за безопасной эксплуатацией грузоподъемных машин, ГЗП и упаковки;
- при получении уведомления изготовителя о возможных недостатках в конструкции или изготовлении, которые могут отразиться на безопасности использования ГЗП и упаковки.
8.2.16 Порядок проведения внеочередного экспертного обследования и перечень работ определяет специализированная организация в зависимости от причины, вызвавшей необходимость данного обследования.
8.2.17 Использование ГЗП и упаковки в работе возможно при условии положительных результатов оценки работоспособности.
8.3 Требования к организации и условиям проведения оценки работоспособности
8.3.1 Ежесменный осмотр съемных ГЗП и упаковки необходимо проводить в соответствии с требованиями производственных инструкций стропальщика и оператора грузоподъемной машины, разработанных в соответствии с указаниями эксплуатационных документов ГЗП и упаковки, с учетом конструктивных особенностей грузоподъемной машины, положений настоящего стандарта, а также местных условий безопасной эксплуатации.
Стропальщик (стропальщики) и оператор грузоподъемной машины обязаны проверить работоспособность съемных ГЗП, наличие на них клейм или бирок с обозначением идентификационного номера, даты испытания и грузоподъемности, их соответствие массе и характеру груза, работоспособность упаковки и наличие на ней маркировки о ее назначении, номере, собственной массе (массе брутто) и предельной массе груза (массе нетто).
8.3.2 Осмотр съемных ГЗП и упаковки, при необходимости сопровождающийся инструментальным контролем, проводят в соответствии с требованиями должностной инструкции компетентного должностного лица и эксплуатационных документов, или (при отсутствии в них необходимых требований к осмотру и критериев предельного состояния) по инструкции, разработанной на основе положений настоящего стандарта, определяющей порядок, методы осмотра, критерии предельного состояния и утвержденной внутренним распорядительным актом эксплуатирующей организации.
8.3.3 Экспертное обследование съемных ГЗП и упаковки по истечении назначенного изготовителем срока службы, приведенного в эксплуатационных документах, проводят в соответствии с требованиями настоящего стандарта, при этом при оценке технического состояния ГЗП и упаковки приоритетными являются критерии предельного состояния, приведенные в эксплуатационных документах, а объем выполняемых работ зависит от типа ГЗП или упаковки и определяется экспертом (руководителем группы экспертов).
8.3.4 В необходимых случаях при оценке работоспособности ГЗП и упаковки могут быть применены требования стандартов, приведенных в
5.2, и НПА.
8.3.5 Для проведения осмотра и экспертного обследования съемных ГЗП и упаковки должны быть подготовлены и представлены:
- съемное ГЗП или упаковка, предварительно очищенные от загрязнений, смазки на наружных поверхностях и частиц перемещаемого груза;
- паспорт;
- руководство по эксплуатации (при наличии);
- журнал учета и проверки технического состояния съемных ГЗП и упаковки;
- опытные стропальщики в необходимом количестве.
При экспертном обследовании ГЗП и упаковки специализированной организации дополнительно должны быть представлены:
- ТК погрузочно-разгрузочных работ или ППР с применением грузоподъемных машин, в которых указаны способы использования ГЗП и упаковки (схемы строповки и складирования грузов или упаковки);
- акты ранее проведенных экспертных обследований (при их наличии);
- вахтенный журнал оператора грузоподъемной машины, с которой используется ГЗП или упаковка;
- паспорт грузоподъемной машины, с которой используется ГЗП или упаковка (при необходимости);
- протоколы (акты) контроля качества ремонта или реконструкции (модернизации), а также чертежи ремонта (реконструкции) (в случае их проведения);
- разрешение на пуск грузоподъемной машины в работу, оформленное в установленном порядке (в случае необходимости проведения освидетельствования ГЗП);
- испытательные грузы и документы (паспорт, акт взвешивания и т.п.), подтверждающие их массу (в случае необходимости проведения освидетельствования ГЗП);
- документированные результаты освидетельствования ГЗП (при его проведении);
- справка о характере и количестве грузов, перегружаемых с использованием ГЗП или упаковки (составляется по решению ведущего эксперта - в произвольной форме);
- документы, подтверждающие квалификацию компетентных должностных лиц, связанных с эксплуатацией грузоподъемных машин, ГЗП и упаковки;
- должностные инструкции и внутренние распорядительные акты эксплуатирующей организации, подтверждающие полномочия компетентных лиц, связанных с эксплуатацией грузоподъемных машин, ГЗП и упаковки, и определяющие зону их ответственности;
- удостоверения стропальщиков и рабочих допущенных к зацепке грузов;
- производственные инструкции и журнал проведения инструктажей персонала, связанного с эксплуатацией ГЗП и упаковки, а также внутренние распорядительные акты эксплуатирующей организации, подтверждающие допуск персонала к самостоятельной работе;
- документация, подтверждающая наличие у эксплуатирующей организации системы технического обслуживания и ремонта ГЗП и упаковки, или аналогичная документация по грузоподъемным машинам, в которой отражены требования к проведению данных работ в отношении ГЗП и упаковки, в том числе порядок их утилизации.
8.3.6 Средства измерений, используемые в ходе осмотра, экспертного обследования и испытаний, должны иметь действующие документы о метрологической поверке (калибровке).
8.3.7 Осмотру и экспертному обследованию, как правило, подвергают ГЗП, находящиеся в зоне работы грузоподъемной машины. При централизованном снабжении стропы при их получении в пользование могут быть осмотрены в специально отведенном месте вблизи от места хранения с последующей доставкой к крану.
8.3.8 Осмотр и экспертное обследование крупногабаритного ГЗП (габариты более 1 м и/или масса более 100 кг) проводят при участии оператора грузоподъемной машины, стропальщиков и, при необходимости, иного персонала, обслуживающего грузоподъемную машину. Для этих целей грузоподъемную машину устанавливают на участке цеха, площадки или склада, свободном от складируемой продукции и технологического оборудования, препятствующего опусканию ГЗП и свободному к нему доступу.
Осмотр и экспертное обследование упаковки, имеющей устройства для захватывания вилами, при наличии условий для перемещения напольным транспортом, могут быть проведены вне зоны ее использования с выполнением, при необходимости, ее контрольного захватывания ГЗП грузоподъемной машины или ГЗП, подвешенным на грузоподъемной машине.
8.3.9 Для проведения осмотра и экспертного обследования крупногабаритного ГЗП, если его конструкцией не предусмотрены соответствующие опорные элементы, следует использовать соответствующие стапели, подставки или подкладки, обеспечивающие его устойчивость и при необходимости кантовку. Указанная оснастка необходима также для снятия нагрузки с осей, пальцев и других элементов шарнирных (подвижных) соединений.
8.3.10 Упаковка при осмотре и экспертном обследовании должна быть установлена на горизонтальное прочное основание, размеры которого обеспечивают возможность всестороннего осмотра. Упаковка, хранящаяся на специальных подкладках, может быть осмотрена на месте хранения.
8.3.11 Результаты осмотра и экспертного обследования съемных ГЗП и упаковки должны быть внесены в журнал учета и проверки состояния ГЗП и упаковки. При обнаружении дефектов и несоответствий, подпадающих под критерии предельного состояния, приведенные в руководстве по эксплуатации и (или) в настоящем стандарте, они должны быть зафиксированы в данном журнале, а ГЗП и упаковку изымают из эксплуатации.
8.4 Состав работ при оценке работоспособности
8.4.1 В зависимости от типа ГЗП или упаковки состав работ по оценке работоспособности в общем случае может включать в себя этапы, выполняемые в следующей последовательности:
- проверка выполнения требований, приведенных в
8.3;
- оценка работоспособности металлоконструкций;
- оценка работоспособности стропов и гибких соединительных элементов других ГЗП;
- оценка работоспособности соединительных элементов, захватов и блоков;
- оценка работоспособности болтовых и шарнирных соединений;
- испытание статической нагрузкой;
- оформление результатов проверки технического состояния и обследования.
8.4.2 Объем осмотра ГЗП и упаковки определяют с учетом фактического срока службы (эксплуатации), условий использования, хранения и результатов предыдущих осмотров.
8.4.3 Перечень этапов работ по экспертному обследованию конкретного ГЗП или упаковки, проводимого по истечении срока службы, рекомендуется приводить в рабочей карте экспертного обследования в произвольной форме.
8.4.4 Для оценки работоспособности механизмов приводных грейферов и подобных ГЗП следует использовать методы и критерии предельного состояния, приведенные в руководствах по эксплуатации или в дополнениях к руководству по эксплуатации грузоподъемных машин, совместно с которыми они используются, или в рекомендациях по техническому диагностированию грузоподъемных машин соответствующего типа.
8.4.5 При оценке работоспособности ГЗП, имеющих автоматические и полуавтоматические устройства, в том числе предназначенные для захватывания и (или) ориентации груза в пространстве, возможность выполнения соответствующих функций должна быть подтверждена проведением полного цикла необходимых рабочих движений, при которых следует проверить работоспособность ловителей, фиксаторов, замков, а также устройств безопасности, предусмотренных эксплуатационными документами (ограничителей, указателей, упоров, устройств блокировки и сигнализации и т.п.).
Неработоспособность любого из фиксирующих или ориентирующих устройств, а также наличие неисправных устройств безопасности являются критерием предельного состояния.
8.4.6 В процедуру оценки работоспособности ГЗП и их соответствия требованиям безопасности входит проверка наличия на концах балок траверс, торцевой части спредеров, корпусах захватов и других подобных частях, опасных при эксплуатации, предупреждающей окраски по
ГОСТ 12.2.058, а также качества лакокрасочного покрытия изделия.
Отсутствие на частях ГЗП, опасных при эксплуатации, предупреждающей окраски является основанием для браковки ГЗП.
8.5 Проверка наличия и состояния документации
8.5.1 В процессе выполнения работ по осмотру и экспертному обследованию ГЗП и упаковки необходимо:
- ознакомиться с содержанием паспорта ГЗП и упаковки (должен постоянно находиться у его владельца);
- ознакомиться с содержанием руководства по эксплуатации ГЗП и упаковки;
- ознакомиться с записями, внесенными в журнал учета и проверки состояния съемных ГЗП и упаковки.
По результатам анализа содержания паспорта в журнале учета и периодического осмотра съемных ГЗП и упаковки должна быть сделана оценка их состояния и соответствия требованиям нормативных документов.
Отсутствие паспорта, в т.ч. на отдельные расчетные элементы, замененные в процессе эксплуатации, является основанием для браковки ГЗП или упаковки.
8.5.2 При нахождении в эксплуатации партии однотипных стропов одного изготовителя допускается представлять один паспорт на партию. В данном случае в нем должны быть указаны все порядковые номера стропов, входящие в данную партию (если имеются копии паспорта, то они должны быть подписаны представителем изготовителя или уполномоченного им поставщика и заверены соответствующей печатью).
8.5.3 Сведения, приведенные в паспорте, не должны противоречить маркировке, нанесенной на ГЗП или на табличку (бирку), прикрепленную к нему.
8.5.4 При отсутствии паспорта и клейма (таблички, бирки, в т.ч. при отсутствии необходимых сведений на них) на ГЗП, а также если имеющееся клеймо (табличка, бирка) не может быть подтверждено документацией изготовителя ГЗП, паспорт может быть разработан специализированной организацией на основании материалов внеочередного экспертного обследования.
Восстановление маркировки (кроме стропов) выполняет организация, эксплуатирующая ГЗП, по данным вновь составленного паспорта, при этом на период до восстановления паспорта и соответствующей маркировки ГЗП изымают из эксплуатации.
8.5.5 В паспорте ГЗП, у которого были заменены расчетные элементы, должно быть проверено наличие отметки о проведенном ремонте и документов, подтверждающих качество замененных элементов.
8.5.6 У организации, эксплуатирующей упаковку единичного изготовления, должен быть оригинал паспорта. При нахождении в эксплуатации партии однотипной упаковки одного изготовителя допускается представлять один паспорт на партию. В данном случае в нем должны быть указаны все порядковые номера упаковки, входящей в данную партию (если имеются копии паспорта, то они должны быть подписаны представителем изготовителя или уполномоченного им поставщика и заверены соответствующей печатью).
8.5.7 При отсутствии паспорта на упаковку или иного документа и маркировки, позволяющей ее идентифицировать, паспорт может быть разработан специализированной организацией на основании материалов внеочередного экспертного обследования.
Маркировку восстанавливает организация, эксплуатирующая упаковку по данным вновь составленного паспорта, при этом на период до восстановления паспорта и соответствующей маркировки упаковку изымают из эксплуатации.
8.5.8 При наличии на упаковке таблички серийного изготовителя с необходимой маркировкой паспорт (при его утере) может быть составлен эксплуатирующей организацией, подписан руководителем ее подразделения и заверен в установленном порядке.
8.5.9 В журнале учета и проверки состояния съемных ГЗП и упаковки должно быть проверено содержание записи о последней проверке технического состояния, а также наличие отметок (подписей), подтверждающих устранение обнаруженных при предыдущих осмотрах дефектов (если таковые были обнаружены).
8.5.10 При экспертном обследовании, помимо паспорта и журнала учета и проверки состояния съемных ГЗП и упаковки, следует рассмотреть иную техническую и организационно-распорядительную документацию, оценить ее соответствие требованиям НПА и условиям использования ГЗП и упаковки, в том числе указанную в
8.5.11 -
8.5.13.
8.5.11 Рассматриваемые в качестве ППР и ТК погрузочно-разгрузочных работ и складирования должны соответствовать требованиям НПА и содержать сведения о применении подвергаемых экспертному обследованию ГЗП и упаковки.
8.5.12 Протоколы, подтверждающие предусмотренную НПА аттестацию инженерно-технических работников, занятых эксплуатацией грузоподъемных машин, ГЗП и упаковки, и протоколы, подтверждающие обучение и проверку знаний персонала, их обслуживающего, должны быть оформлены в соответствии с порядком, установленным НПА.
8.5.13 Ремонтные чертежи, являющиеся приложением к протоколу о качестве ремонта ГЗП и упаковки с применением сварки, должны соответствовать требованиям
ГОСТ 2.604.
8.5.14 Отсутствие документации, необходимой для безопасного использования ГЗП и упаковки, или ее несоответствие установленным требованиям, могут служить основанием для отказа в положительном решении вопроса о возможности продолжения их дальнейшей эксплуатации на конкретном производстве или с конкретными грузами.
8.6 Проверка наличия и состояния маркировки
8.6.1 Маркировка ГЗП и упаковки должна соответствовать требованиям стандартов или технических условий на их изготовление, быть четко различимой и соответствовать паспортным данным.
8.6.2 У мягких контейнеров должно быть проверено наличие ярлыка с маркировкой или маркировки, нанесенной непосредственно на контейнере способом долговременной печати таким образом, чтобы она была легко видима и легко читаема после заполнения контейнера.
Маркировка мягкого контейнера должна содержать наименование и адрес изготовителя, класс контейнера, безопасную нагрузку в килограммах, месяц и год изготовления, пиктограммы рекомендуемых методов загрузки (разгрузки) и зацепки контейнера ГЗП и другие сведения, установленные требованиями
ГОСТ ISO 21898.
8.6.3 При повреждении маркировки, нанесенной изготовителем на упаковку, ее восстановление выполняют согласно данным имеющегося паспорта (копии паспорта), при этом в последний один из ответственных инженерно-технических работников эксплуатирующей организации вносит соответствующую отметку. Мягкие контейнеры без маркировки бракуют и утилизируют.
8.6.4 При проверке маркировки грузовых контейнеров следует убедиться в наличии маркировки, нанесенной на каждом фитинге, содержащей товарный знак или условный номер предприятия-изготовителя, номер плавки, год изготовления (две последние цифры).
8.6.5 Грузовые контейнеры, не имеющие необходимой маркировки, к перегрузке, а также перевозке водным, железнодорожным и автомобильным транспортом не допускаются.
8.6.6 Таблички на траверсах, крупногабаритных захватах, грейферах и упаковке должны соответствовать требованиям
ГОСТ 12969 и
ГОСТ 12971.
8.7 Оценка работоспособности металлоконструкций
8.7.1 Оценка работоспособности металлоконструкций ГЗП и упаковки должна включать следующие этапы:
- прямой визуальный и измерительный контроль с фиксированием общих геометрических параметров;
- проверка сварных соединений;
- проверку болтовых и шарнирных соединений;
- измерение остаточных деформаций балок, ферм и повреждений отдельных элементов;
- оценку степени коррозии элементов;
- неразрушающий контроль (при обнаружении признаков наличия трещин) с использованием физических методов, например капиллярного (проникающими веществами), магнитного, ультразвукового или вихретокового.
8.7.2 Визуальный контроль следует проводить с применением простейших оптических средств и, при необходимости, переносных источников света, при этом особое внимание должно быть уделено следующим местам возможного появления повреждений:
- участкам резкого изменения сечений;
- местам, которые могут подвергнуться ударам во время эксплуатации;
- местам, где при работе возникают значительные напряжения, коррозия или износ;
- местам возможного скопления влаги.
8.7.3 При проведении прямого визуального контроля необходимо уделять особое внимание обнаружению следующих дефектов:
- трещин в основном металле, сварных швах и околошовной зоне, косвенным признаком наличия которых являются шелушение и растрескивание краски, местная коррозия, подтеки ржавчины (наличие трещин в расчетных элементах и соединениях не допускается);
- расслоения основного металла, определяемые на кромках элементов или по вспучиванию его поверхности (не допускаются);
- механических повреждений;
- некачественного выполнения ремонтных сварных соединений;
- возникших очагов коррозии.
8.7.4 При поиске трещин следует обратить внимание на возможное их возникновение и развитие в следующих соединениях и узлах:
- в стыковых сварных соединениях;
- узлах примыкания фланцев к поясам;
- зоне отверстий для болтовых соединений;
- сварных соединениях, расположенных поперек действующего в растянутых элементах усилия;
- зонах сближения сварных швов (например, сопряжение ребер жесткости с поясами или места пересечения кронштейнов с поясами, стенками балок и т.д.) и их пересечения;
- местах перепадов толщин стыкуемых элементов из листового, фасонного проката или труб.
8.7.5 При обнаружении признака наличия трещин необходимо весь подозреваемый участок очистить от коррозии и зачистить до металлического блеска. При зачистке запрещается использовать абразивный инструмент и наносить удары зубилом или молотком, оставляющим вмятины на основном и наплавленном металле.
8.7.6 Для уточнения наличия трещин и их фактических границ при осмотре применяют капиллярный контроль (контроль проникающими веществами).
Уточнение границ трещин и расслоения металла, при необходимости, проводят с применением магнитного или ультразвукового методов контроля.
8.7.7 При проверке мест ремонта с применением сварки следует обратить внимание на состояние сварного шва и околошовной зоны (шириной 20 - 30 мм). Здесь возможно образование вторичных трещин, обычно по сварному шву или в зоне термического влияния.
8.7.8 Браковку сварных соединений ГЗП по внутренним дефектам проводят в соответствии с нормами, установленными
ГОСТ 34587.
8.7.9 При оценке работоспособности металлоконструкций грейферов необходимо использовать приведенные в руководствах по эксплуатации критерии предельного состояния и регулируемые параметры. При отсутствии в руководствах по эксплуатации необходимых данных следует руководствоваться следующими:
- зазор в прилегаемых кромках ножей двухчелюстного грейфера допускается не более 5 мм (для перегрузки крупнокусковых грузов - не более 10 мм) на отдельных участках суммарной длиной не более 40% длины линии разъема кромок;
- относительное смещение кромок по высоте в сомкнутом положении допускается в пределах 20% толщины ножа;
- у грейферов для легкосыпучих грузов должно быть проверено наличие специальных эластичных уплотнений или перекрытие ножей внахлестку;
- у грейферов для агрессивных пылящих грузов должно быть проверено максимальное обеспечение герметичности, исключающее истечение груза из щелей или его выдувание с открытых поверхностей;
- у грейферов, предназначенных для труднозачерпываемых, смерзшихся и слежавшихся грузов, при наличии клыков и вибрационных устройств допускается неплотное прилегание кромок челюстей с величинами зазора и смещения, превышающими указанные в настоящем пункте.
8.7.10 При обнаружении механических повреждений металлоконструкций (вмятин, изгибов, других местных и общих деформаций, разрывов и т.п.) измеряют их величины (длина, ширина, высота или глубина) и сравнивают с предельными величинами подобных повреждений грузозахватных приспособлений, приведенными в
приложении Б.
8.7.11 Повреждения металлоконструкций спредеров (местные и общие деформации), допускаемые
приложением Б, не должны приводить к нарушению работоспособности поворотных замков, надежности зацепления (расцепления) ими контейнера при максимальной разнице вертикальных отметок фитингов до 20 мм.
8.7.12 Степень поражения металла коррозией определяют с помощью универсальных средств измерений путем сравнения размеров, очищенных стальными щетками до металлического блеска поперечных сечений в пораженном коррозией месте, с неповрежденным сечением. При обследовании для этой цели предпочтительно использование ультразвукового толщиномера.
8.7.13 Решение о возможности и условиях эксплуатации (без проведения ремонта) ГЗП, элементы металлоконструкции которого потеряли свыше 10%, но не более 15% от первоначальных толщин, или деформации основных элементов ГЗП составляют от 0,75 до 0,9 предельных величин, может быть принято после выполнения расчетов, подтверждающих необходимые условия жесткости и прочности.
8.8 Оценка работоспособности стропов и гибких соединительных элементов других ГЗП
8.8.1 При оценке работоспособности стропов и гибких элементов других ГЗП, изготовленных из стальных проволочных канатов, применяют методы контроля, установленные требованиями
ГОСТ 33718, в том числе следующие:
- визуальный наружный (проводят при осмотре и экспертном обследовании);
- инструментальный (проводят при экспертном обследовании, при осмотре - по решению ответственного инженерно-технического работника);
- визуальный внутренний (при осмотре проводят по решению ответственного инженерно-технического работника, при экспертном обследовании - по решению ведущего эксперта).
8.8.1.1 Визуальный наружный метод контроля заключается:
- в оценке соответствия каната и имеющейся маркировки паспортным данным, оценке соответствия требованиям нормативных документов конструктивного исполнения петли на конце канатной ветви и ее соединения с элементами ГЗП;
- осмотре каната по всей длине стропа (его ветвей) и в местах заделки на предмет наличия дефектов и повреждений, определяемых глазом человека или с помощью оптических приборов.
8.8.1.2 В случае применения в ГЗП петли на конце канатной ветви без коуша следует проверить радиус кривизны охватываемой поверхности, который должен составлять не менее 2,5 диаметра каната.
8.8.1.3 При оценке соответствия конструктивного исполнения петли на конце канатной ветви с зажимами требованиям
ГОСТ 34016 необходимо как минимум убедиться в том, что:
- скобы зажимов установлены со стороны свободного конца каната, шаг между ними составляет от шести и не более 12 диаметров каната включительно, с погрешностью не более 0,5 диаметра каната, а число зажимов соответствует паспорту на строп;
- длина свободного конца каната за последним зажимом обеспечивает возможность образования канатной петли посредством установки дополнительного зажима на расстоянии, которое позволит вести контроль прочности соединяемых ветвей в процессе эксплуатации. Как правило, данное расстояние должно быть равно двум шагам рабочих зажимов.
Если в петле применен коуш, первый зажим должен быть расположен на расстоянии не более диаметра каната от коуша.
При обнаружении смещения каната в зажимах необходимо проверить затяжку гаек (при нормальной затяжке диаметр каната, находящегося в зажиме, уменьшается на 1/3). При контроле затяжки гаек рекомендуется использовать динамометрический ключ.
8.8.1.4 При инструментальном контроле проверяют размеры гибких элементов, разность длин стропов канатных ветвей в многоветвевых стропах за счет остаточного удлинения после приработки. Требования к браковке - согласно
8.8.4.
8.8.1.5 Стропы кольцевые и петлевые канатные, ветви стропов и элементы других ГЗП из стальных проволочных канатов подлежат браковке при:
- отсутствии бирки или маркировки на ней (для стропов и замененных в процессе эксплуатации ветвей и других элементов из стальных канатов);
- наличии дефектов каната, превышающих критерии предельного состояния, приведенные в
ГОСТ 33718;
- деформации, выпадении коушей или их износе с уменьшением первоначальной толщины более чем на 15%;
- наличии признаков смещения каната в заплетке, во втулках или в зажимах;
- наличии трещин на опрессованных втулках или при изменении их размера более чем на 10% от первоначального;
- повреждении или отсутствии оплетки и других защитных элементов;
- наличии выступающих концов проволоки у места заплетки более чем на половину диаметра каната (при устранении в ходе оценки работоспособности дефект допустимо не учитывать).
8.8.2 При оценке работоспособности стропов и гибких элементов других ГЗП, изготовленных из короткозвенных грузоподъемных цепей, применяют следующие методы контроля:
- визуальный;
- инструментальный.
8.8.2.1 Визуальный контроль заключается в оценке соответствия паспортным данным ГЗП и (или) нормативным документам:
- цепи и имеющейся маркировки;
- конструктивного исполнения соединений концевых звеньев цепи с сопрягаемыми элементами грузозахватного приспособления.
Осмотр цепи по ее длине и в местах соединения с сопрягаемыми элементами ГЗП на предмет наличия дефектов проводят с применением простейших оптических приборов.
8.8.2.2 При инструментальном контроле проверяют параметры цепи: диаметр и длину звеньев, уменьшение диаметра звеньев, при явных признаках износа, а также длину стропов, цепных ветвей и разности их длин в многоветвевых стропах. Требования к браковке - по
8.8.4.
При инструментальном контроле цепного стропа, укомплектованного маркировочной биркой, в наружной кромке которой предусмотрены вырезы и выступ, ее следует использовать в качестве эталона для контроля износа диаметра звена цепи и его возможного удлинения.
8.8.2.3 Ветви цепных стропов и элементы других ГЗП из короткозвенных грузоподъемных цепей подлежат браковке, если будут обнаружены следующие дефекты:
- отсутствие бирки или маркировки на ней (для замененных в процессе эксплуатации ветвей и элементов);
- обрыв звена;
- трещины, надрывы, расслоение металла в звеньях цепи;
- погнутость (изогнутость, деформация) звеньев цепи;
- удлинение звена цепи более 3% от первоначального размера;
- уменьшение диаметра звена цепи вследствие механического и/или коррозийного износа, местных вмятин или забоин более чем на 10% от первоначального;
- зарезы от газовой резки или оплавления от сварки;
- повреждения, полученные в результате температурного воздействия или электрического дугового разряда.
8.8.3 При оценке работоспособности гибких элементов ГЗП, изготовленных на текстильной основе из полимерных (синтетических и органических) материалов, применяют визуальный и инструментальный методы контроля.
8.8.3.1 Визуальный метод заключается в оценке соответствия паспортным данным и/или нормативным документам:
- ленты, каната, чехла и имеющейся маркировки;
- конструктивного исполнения петли на конце каната, сопрягаемой с соединительными элементами и захватами.
Второй этап визуального контроля заключается в осмотре ленты или каната по их длине и в местах соединения с сопрягаемыми элементами грузозахватного приспособления на предмет наличия дефектов, определяемых глазом человека.
8.8.3.2 При инструментальном контроле проверяют параметры текстильной ленты, каната, чехла и размеры имеющихся дефектов, а также длины стропов, ветвей и разности их длин в многоветвевых стропах с применением универсального измерительного инструмента, при этом погрешность измерений длины стропов (ветвей стропов) петель и швов в растянутом состоянии - 3 мм, стежков - 1 мм. Требования к браковке - по
8.8.4.
8.8.3.3 Стропы кольцевые и петлевые ленточные и ветви стропов из синтетических лент на текстильной основе подлежат браковке при наличии следующих дефектов:
- отсутствие бирки или утрата маркировки на ней и на ленте (для стропов и замененных в процессе эксплуатации ветвей);
- узлы на несущих лентах стропов;
- поперечные порезы или разрывы ленты и повреждения сшивок за исключением разрывов строчек швов, указанных в настоящем пункте;
- продольные порезы или разрывы ленты, суммарная длина которых превышает 10% длины ленты ветви стропа, а также единичные порезы или разрывы длиной более 50 мм;
- местные расслоения лент стропа (кроме мест заделки краев лент) на суммарной длине более 0,5 м на одном крайнем шве или на двух и более внутренних швах, сопровождаемые разрывом трех и более строчек шва;
- местные расслоения лент стропа в месте заделки краев ленты на длине более 0,2 м на одном из крайних швов или на двух и более внутренних швах, сопровождаемые разрывом трех и более строчек шва, а также отслоение края ленты или сшивки лент у петли на длине более 10% длины заделки (сшивки) концов лент;
- поверхностные обрывы нитей ленты общей длиной более 10% ширины ленты, вызванные механическим воздействием (трением) острых кромок груза;
- повреждения лент от воздействия химических веществ (кислоты, щелочи, растворителя, нефтепродуктов и т.п.), размеры которых составляют более 10% ширины ленты или длины стропа, а также единичные повреждения более 10% ширины ленты и длиной более 50 мм;
- выпучивание нитей из ленты стропа на расстояние более 10% ширины ленты;
- сквозные отверстия диаметром более 10% ширины ленты от воздействия острых предметов;
- прожженные сквозные отверстия диаметром более 10% ширины ленты от воздействия брызг расплавленного металла или наличие трех и более отверстий при расстоянии между ними менее 10% ширины ленты независимо от диаметра отверстий;
- загрязнение лент (нефтепродуктами, смолами, красками, цементом, грунтом и т.д.) более 50% длины стропа (ветви);
- остаточное удлинение стропа (ветви) более 6% первоначальной длины.
Примечание - Строп (ветвь) бракуют, если площадь отдельно рассматриваемого поврежденного участка включает в себя не один, а несколько из перечисленных в настоящем пункте дефектов и повреждений и, в совокупности, ее размеры превышают допускаемые для каждого отдельного дефекта (повреждения).
8.8.3.4 Стропы кольцевые и петлевые и ветви стропов из синтетических нитей или волокон (стропы синтетические круглопрядные и волокнистые) подлежат браковке при наличии следующих дефектов:
- при отсутствии бирки или утрате маркировки на ней;
- поперечных или продольных разрезах, разрывах чехла;
- обрыве шести и более прядей или, при комбинированной конструкции, шести нитей волокнистого каната;
- разрывах ниток в узле сшивки чехла на 10% и более длины сшивки;
- выпучивании нитей или прядей волокнистого каната на поверхность;
- наличии на поверхности волокнистого каната бурых пятен, плесени общей длиной 10% и более длины стропа (ветви);
- сквозных отверстиях в чехле.
8.8.3.5 Стропы, изготовленные из пеньковых и хлопчатобумажных канатов, применяемые для подъема грузов массой не более 0,5 т и оттяжки из этих канатов, применяемые только для разворота длинномерных и крупногабаритных грузов во время их перемещения, бракуют:
- при отсутствии бирки или утраты маркировки на ней;
- наличии узлов, скрутки и обрывов прядей;
- наличии бурых пятен, гнили, плесени, гари;
- размочаливании каната или отдельных прядей (отсутствии их четкого выделения);
- наличии сухого треска при резком перегибании каната;
- подвергнутые влажному замораживанию;
- количестве проколов (пробивок) прядями участка заплетки петли менее двух полных и двух половинных и/или отсутствии оклетневки.
8.8.4 Многоветвевые стропы из стального каната и стропы на текстильной основе подлежат браковке при разности длин ветвей за счет остаточного удлинения более чем на 3% после приработки, многоветвевые цепные стропы - более чем на 1% (для приведения в работоспособное состояние вытянутые ветви должны быть заменены).
8.9 Оценка работоспособности соединительных элементов, захватов и блоков
8.9.1 Оценка работоспособности жестких стальных соединительных элементов, захватов и блоков ГЗП включает:
- контроль соответствия паспортным данным и (или) нормативным документам, включая наличие и соответствие маркировки;
- визуальный контроль, проводимый с целью оценки общего состояния, работоспособности и необходимости проведения измерений;
- инструментальный контроль с проведением измерений величин механических повреждений и износа;
- неразрушающий контроль (при обнаружении признаков наличия трещин в соединительных элементах и захватах) с использованием физических методов, например капиллярного (проникающими веществами), магнитного, ультразвукового или вихретокового.
8.9.2 При визуальном контроле выявляют:
- комплектность и общее состояние всех соединительных элементов, захватов и блоков, наличие повреждений;
- наличие деформаций, разрывов, трещин, сколов, износа и необходимости их устранения или замены элементов;
- наличие и состояние предохранительных устройств.
8.9.3 Повреждения и износ, близкие к предельным, выявленные в результате визуального осмотра, должны быть измерены с использованием универсальных средств измерений. Результат измерений сравнивают с размером, где повреждение (износ) практически отсутствует, или с размерами, указанными на чертеже или в нормативном документе. При необходимости для проведения измерений должна быть выполнена разборка сборочных единиц.
8.9.4 Износ ручья канатных блоков по профилю необходимо контролировать шаблоном.
8.9.5 Браковку металлических соединительных элементов ГЗП в виде разъемных и неразъемных звеньев и скоб, карабинов, серег и захватов (за исключением крюков) проводят:
- при наличии трещин и надрывов на поверхности;
- износе поверхности элементов, местных вмятинах или забоинах, приводящих к уменьшению площади поперечного сечения на 10%;
- наличии остаточных деформаций, приводящих к изменению первоначального размера элемента и/или уменьшения его сечения более чем на 3%;
- износе (затуплении) элементов захватов, имеющих насечку (рифление) более величины, приведенной в
приложении Б, а также при выкрашивании зубчиков насечки;
- отклонении угла загиба вилочного захвата от номинального (90°) в сторону увеличения более 3°. Отклонение угла загиба вилочного захвата в сторону уменьшения не должно препятствовать зацепке упаковки, безопасному подъему и перемещению упаковки и размещенного в ней груза;
- уменьшении длины (диаметра, радиуса) рабочей части захватывающего (поворотного) устройства (замка) в результате износа более чем на 3%;
- изгибе и износе более значений, приведенных в
приложении Б;
- наличии дефектов болтовых и шарнирных соединений щек, скоб карабинов, разъемных звеньев осей и элементов захватов, параметры которых превышают критерии предельного состояния, указанные в разделе 10.
При первичном осмотре ГЗП, имеющего в составе сварные звенья, перед вводом в эксплуатацию после его поступления от поставщика или производителя ремонта у сварного звена из круглого стального проката должен быть проверен размер усиления сварного шва, величина которого не должна превышать 10% диаметра проката, при этом сварной шов должен быть расположен у треугольного звена в центре нижней прямолинейной части, у овального звена - на прямолинейной части.
8.9.6 Браковку чалочных и поворотных крюков ГЗП проводят:
- при отсутствии маркировки, выполненной методом штамповки или клеймения и содержащей товарный знак изготовителя и условное обозначение по системе, принятой изготовителем;
- износе более 10% первоначальной высоты вертикального сечения зева крюка;
- наличии трещин, надрывов, волосовин и закатов на поверхности;
- отгибе рога (носика) крюка, сопровождающемся увеличением начального проходного размера зева более чем на 5% или при скручивании носика более чем на 10 мм;
- в случае применения при ремонте крюков сварки;
- применения наплавки, выполненной без соблюдения требований технологической документации, разработанной специализированной организацией с учетом конструкции изделия;
- при отсутствии предохранительного замка.
Примечание - В обоснованных случаях применяемые в металлургии с использованием безлюдных технологий в условиях интенсивного теплового излучения крюки ГЗП могут не снабжаться предохранительным замком. Исключение также составляют специальные крюки, в том числе применяемые при перегрузке грузовых контейнеров;
- при невозврате предохранительного замка под действием собственной массы или пружины (в зависимости от конструкции замка).
8.9.7 Браковку поворотных крюков в сборе с траверсой и гайкой проводят:
- при затрудненном свободном вращении крюка (от руки);
- отсутствии стопорной планки, элементов ее крепления, а также при ослаблении резьбовых соединений;
- отсутствии смазки, наличии скрипа;
- наличии (осевого люфта зазора) между буртиком крюка и траверсой более 0,75 шага резьбы хвостовика. В общем случае величина люфта должна находиться в интервале от 0,25 до 0,75 шага резьбы хвостовика. Для крюков грузоподъемностью от 0,5 до 10 т включительно этот размер равен от 1 мм до 4,5 мм включительно соответственно (вследствие нарушения посадки подшипника и удлинения шейки крюка);
- износе шейки траверсы и уменьшении диаметра шейки крюка более 3% номинального диаметра;
- отсутствии или износе оседержателей или платиков, фиксирующих концы траверсы и удерживающих ее от осевого перемещения;
- наличии дефектов и повреждений болтовых и шарнирных и других разъемных соединений, подпадающих под критерии предельного состояния, приведенные в
8.10.
8.9.8 При оценке работоспособности элементов крюковых подвесок кранов, транспортирующих расплавленный металл и жидкий шлак, проводимой согласно
8.2.3, в кованых и штампованных крюках и деталях их подвески, а также в деталях подвески пластинчатых крюков, должно быть установлено одним из методов неразрушающего контроля отсутствие трещин (в обязательном порядке - в нарезной части кованого (штампованного) крюка, в нарезной части вилки пластинчатого крюка и в оси соединения пластинчатого крюка с вилкой или траверсой).
Крюки и детали их подвески, имеющие трещины, подлежат утилизации.
8.9.9 Браковку канатных блоков проводят:
- при наличии трещин;
- наличии сколов реборд на длине и глубиной, превышающих величину, равную 50% диаметра каната;
- износе ручья блока на величину, превышающую 20% диаметра каната;
- износе реборды более 30% толщины реборды (измеряют на половине высоты реборды);
- образовании отпечатков прядей каната на поверхности ручья;
- затруднении вращения блоков (невозможности проворачивания от руки при отсутствии на них нагрузок).
8.10 Оценка работоспособности болтовых и шарнирных и других разъемных соединений
8.10.1 Оценка работоспособности болтовых соединений ГЗП и упаковки, проводимая с использованием визуального, инструментального и других методов контроля, заключается:
- в проверке их затяжки, которую следует осуществлять визуально и остукиванием молотком. Ослабление можно определить по более глухому звуку удара и по характеру отскока молотка. В случае наличия в эксплуатационных или нормативных документах специальных требований к моменту затяжки резьбовых соединений проверку их затяжки проводят с использованием динамометрического ключа;
- установлении наличия проектного количества болтов, гаек и шайб в соединениях, а также фиксации явных дефектов (трещин, смятий, отрывов головки, коррозии и т.п.). Для проверки фактического состояния один из наиболее пораженных коррозией болтов или иной болт, состояние которого вызывает подозрение, подвергают контрольному развинчиванию-завинчиванию и проверке на наличие признаков износа, смятия и т.п.;
- измерении фактического диаметра и длины резьбы и/или параметров шарнирного соединения с целью оценки их соответствия проектному значению и определения величины механического и/или коррозийного износа;
- проведении неразрушающего контроля магнитным или ультразвуковым методами (при обнаружении признаков наличия трещин на втулках).
8.10.1.1 В болтовых соединениях не допускаются:
- отверстия под болты, выполненные газовой резкой;
- неплотное прилегание опорной поверхности болтов, гаек и шайб к соединяющим деталям;
- перекосы и смещения соединяемых элементов и осей сопрягаемых отверстий;
- ослабление болтовых соединений (ослабление, устраняемое в ходе оценки работоспособности, можно не учитывать);
- установка неполного количества болтов или установка болтов меньшего диаметра;
- раскрытие фланцевого соединения при нагрузках от массы поднимаемого (размещаемого) груза или от собственной массы ГЗП (упаковки).
8.10.1.2 Крепежные изделия (болты, шпильки, гайки) и детали, имеющие резьбу, бракуют при наличии следующих дефектов:
- когда изношена (включая коррозионный износ) или вытянута резьба;
- уменьшена площадь сечения болтов более чем на 5% от проектного вследствие износа (механического, коррозионного);
- при наличии трещины или скола стержня болтов, шпилек и поверхностей деталей с резьбой;
- срыве более двух ниток резьбы. На рабочем участке резьбового соединения болта, шпильки и на гайке срыв ниток резьбы не допускается;
- повреждениях гаек или головок болтов, затрудняющих применение стандартных гаечных ключей (смятые, срубленные или скрученные углы).
8.10.1.3 При проверке болтовых соединений контролируют выступ концов болтов над гайкой, определяемый числом витков резьбы, которых должно быть не менее двух.
8.10.2 Оценку работоспособности шарнирных соединений ГЗП и упаковки осуществляют визуально с измерением размеров дефектов (при их наличии), при этом основаниями для браковки являются:
- отсутствие предусмотренных конструкцией оседержателей (стопорных планок, платиков и т.п.);
- ослабление крепления оседержателей или износ их кромок;
- выработка отверстий под оси (пальцы) более предельных значений, указанных в
приложении Б;
- износ осей (пальцев) в сопряжении с отверстиями, втулками, коушами и другими элементами грузозахватных приспособлений, за исключением грейферов, более 3% номинального диаметра;
- трещины на втулках;
- износ осей (пальцев) и втулок грейферов более 20% номинальных размеров;
- отсутствие или пересыхание смазки в смазочных полостях, зазорах и каналах.
При проверке (без груза) шарнирных соединений с угловым рабочим перемещением, в т.ч. предназначенных для раскрывания и закрывания грейфера, не должно быть заеданий и скрипов.
8.11 Оценка работоспособности металлической упаковки
8.11.1 При оценке работоспособности металлической упаковки применяют положения
раздела 8.7 (за исключением браковочных показателей и специальных требований к ГЗП), а также положения
раздела 8.10.
8.11.2 Производственную металлическую упаковку, в том числе поддоны ящичные и стоечные, бракуют при обнаружении следующих дефектов:
- полное или частичное отсутствие маркировки;
- трещины и разрывы металла и сварных соединений в местах приварки строповочных элементов к стенкам или стойкам;
- трещины и разрывы сварных соединений в местах приварки шарниров к днищу и боковой стенке, а также в узлах запирающего устройства (в упаковке с открывающимся дном или стенками);
- трещины и разрывы в сварных соединениях стенок и днища с каркасом, разрывы металла и пробитые отверстия в упаковке ящичного типа с размерами более указанных в
таблице Б.1 приложения Б;
- разрыв, отрыв, частичное или полное отсутствие любого из предусмотренных конструкцией строповочных элементов;
- искривление (отгиб, изгиб) строповочных элементов на величину более двух толщин проушин, обухов (опор) или более 1,5 диаметра скобы (петли, звена);
- неработоспособность запорных и фиксирующих устройств;
- уменьшение толщины стенок и днища в результате истирания или коррозии на 10% от первоначальной толщины;
- износ (истирание) приварных обухов (опор) в зоне строповочных отверстий и других строповочных элементов (проушин, скоб, петель, звеньев) более 10% от первоначальной толщины или диаметра;
- деформации металлических поддонов с увеличением отклонений от плоскостности настила свыше 15 мм, габаритных размеров свыше 10 мм, зазоров между элементами настила в поддонах для кирпича и керамических изделий - свыше 50 мм;
- резко выраженные деформации (более пяти толщин элемента на длине до 200 мм - для местных вмятин и/или более 1/100 длины, ширины, высоты каркаса) и разрывы упаковки, полученные в результате небрежной эксплуатации, наличие которых может привести к потере устойчивости упаковки при подъеме и перемещении, потере устойчивости и опрокидыванию упаковки при ее расстроповке на месте подачи или к падению части груза при перемещении упаковки.
Наиболее часто встречающиеся виды дефектов металлической упаковки и их предельные размеры приведены в
таблице Б.1.
8.11.3 В бункерах (бадьях), применяемых в строительстве для приема и транспортирования бетонной смеси грузоподъемными кранами к месту бетонирования, должно быть проверено отсутствие повреждений, приводящих к утечке бетонной смеси, заеданию поворота бункера, саморазгрузке бункера. Плотность перекрытия выгрузного отверстия затвора проверяют при полностью закрытом затворе на наличие зазора между корпусом бункера и затвором. Зазор допускается не более 3 мм.
8.11.4 При обнаружении в грузовых контейнерах механических повреждений (вмятин, изгибов, разрывов и т.п.) измеряют их величины. Зафиксированные размеры сравнивают с предельными значениями величин повреждений, приведенными в
таблице Б.2. При превышении допускаемых значений контейнеры бракуют.
8.11.5 При обнаружении в производственной металлической упаковке дефектов, свидетельствующих об отклонении строповочных элементов от проектного положения, а также если при измерительном контроле в ходе осмотра будут выявлены отклонения наружных геометрических параметров упаковки, следует выполнить контрольную зацепку с использованием, как правило, многоветвевого стропа, при этом ветви стропов, при помощи которых выполнена зацепка и подъем упаковки, должны иметь равномерное натяжение и взаимодействовать со всеми предназначенными для этого элементами упаковки. Строповочные элементы, предназначенные для кантовки (опрокидывания) или раскрытия упаковки, должны быть проверены аналогичным образом.
Рабочая часть крюков, зацепляющих упаковку, должна полностью, свободно, без каких-либо затруднений входить в строповочные элементы. Предохранительные замки крюков должны замыкаться автоматически после ввода рога крюка в строповочный элемент.
Отклонения наружных геометрических параметров или иные дефекты упаковки, препятствующие проведению ее контрольной зацепки и подъема с соблюдением требований, изложенных в настоящем пункте, являются основанием для браковки.
8.11.6 Требования к браковке строповочных элементов упаковки, приведенные в настоящем стандарте, допустимо применять при оценке работоспособности аналогичных строповочных элементов и устройств, имеющихся в технологическом оборудовании, металлических и железобетонных строительных конструкциях и изделиях, а также в испытательных (контрольных) грузах, применяемых для проведения статических и динамических испытаний грузоподъемных машин.
8.12 Оценка работоспособности деревянно-металлической упаковки
8.12.1 При оценке работоспособности металлических элементов деревянно-металлической упаковки применяют требования
раздела 8.11 в части тех конструктивных элементов и соединений, которые имеются в рассматриваемой в настоящем разделе упаковке.
8.12.2 Деревянно-металлическую упаковку и деревянные поддоны бракуют при наличии следующих дефектов в деревянных деталях и их соединениях:
- при поперечных трещинах по торцу свыше его половины и продольных трещинах глубиной более 1/2 и длиной более 1/3 детали;
- сквозной внутренней гнили;
- трещинах в местах установки крепежных деталей;
- изломе доски настила или стенки;
- червоточинах глубиной более 1/2 толщины детали;
- механических повреждениях (отщепы, сколы более 1/3 длины или ширины детали);
- гнилостных пятнах размером свыше 30 мм в местах соединения с металлическими деталями и свыше 70 мм на остальных поверхностях;
- соединениях деревянных деталей с металлическими, выполненных гвоздями (в случаях, не предусмотренных проектной документацией) или проволокой (канатом, веревкой);
- если в конструкции при ремонте применены нецельные доски, соединенные посредством накладок и гвоздей или проволоки;
- неподогнутых и неутепленных в древесину (поперек волокон) гвоздях;
- смятии детали более 5 мм в местах соединения с металлическим каркасом или от воздействия тяжелых грузов;
- нарушении соединений поддона, в т.ч. зазоров между соприкасающимися поверхностями более 2,5 мм;
- расположении волокон древесины шашек (бобышек), соединяющих верхнюю и нижнюю части поддона, поперек поддона;
- если диаметр скоб, соединяющих деревянные детали поддона, примененных при ремонте, составляет менее 6 мм.
8.12.3 Если при использовании деревянного поддона его подъем и перемещение с грузом выполняют грузоподъемной машиной с использованием многоветвевого стропа; в ходе оценки работоспособности поддона следует проверить наличие специальных стальных подхватывающих балок, обеспечивающих жесткую опору по всей ширине поддона (комплект из двух балок - для партии перемещаемых изделий не более 10 шт.) и возможность их введения в проемы поддона.
Оценку соответствия подхватывающих балок следует проводить с учетом требований, изложенных в
разделе 8.7. Контрольную зацепку балок в сборе с загруженными поддонами проводить необязательно. При наличии деформаций и других повреждений строповочных элементов и (или) отклонения от прямолинейности более 5 мм балки следует браковать.
8.13 Оценка работоспособности полимерной упаковки
8.13.1 При оценке работоспособности полимерной упаковки применяют визуальный и инструментальный методы контроля.
8.13.1.1 Визуальный контроль заключается:
- в оценке соответствия паспортным данным нанесенной на ней маркировки и ее назначения, определяемого по показателям внешнего вида;
- наружном осмотре на предмет наличия дефектов;
- проверке требований
8.12.3 (для пластиковых поддонов и корпусной упаковки с проемами для вилочного захвата).
8.13.1.2 Инструментальный контроль заключается в проведении измерений габаритных размеров упаковки, измерений размеров обнаруженных дефектов в виде коробления общего и местного характера, потертостей (износа) элементов контейнера и поддона, а также измерении глубины царапин (борозд) и величины сколов.
8.13.2 Полимерную (пластиковую) упаковку бракуют при наличии следующих дефектов:
- полном или частичном отсутствии маркировки;
- расслоениях, трещинах;
- короблении опорной части поддона, превышающем 1% длины (ширины);
- короблениях местного характера, полученных в результате температурного воздействия, ухудшающих эксплуатационные свойства упаковки и (или) в результате которых толщина элементов уменьшилась более чем на 20%;
- механическом износе поддона, днища, стенок и цапф, взаимодействующих с перекрывающими захватами
<1>, составляющем более 10% толщины элементов;
- сколах, размерами по длине и ширине превышающих 30% толщины элемента в зоне скола;
- бороздах глубиной более 30% толщины элемента и (или) размером более 50% высоты или длины элемента;
- неработоспособности запорных и фиксирующих устройств.
--------------------------------
<1> Перекрывающим захватом называется механизм мусоровоза, который удерживает контейнер для сбора мусора с помощью захватывающих губок, перекрывающих друг друга.
8.13.3 Мягкие контейнеры подлежат браковке при наличии следующих несоответствий и дефектов:
- отсутствии этикетки (маркировки на ней) при отсутствии маркировки на контейнере;
- узлах на строповочных элементах;
- поперечных и продольных порезах или разрывах строповочных элементов и повреждении сшивок, независимо от их размеров;
- поверхностных обрывах нитей общей длиной более 10% общей площади контейнера или строповочного элемента, вызванных механическим воздействием (трением) кромок груза, транспортных средств или ГЗП;
- прожженных сквозных отверстий, размеры которых допускают высыпание груза;
- повреждениях от воздействия химических веществ (кислоты, щелочи, растворителя, нефтепродуктов и т.п.), размеры которых составляют более 10% поверхности контейнера;
- изношенности внешней поверхности контейнера и его строповочных элементов, явно свидетельствующей о потере прочности;
- разрушении материала контейнера в результате воздействия солнечного ультрафиолетового излучения, явно свидетельствующем о потере прочности;
- загрязнении (нефтепродуктами, смолами, красками, цементом, грунтом и т.д.) более 50% общей площади контейнера.
8.14 Условия и методы проведения испытаний
8.14.1 Необходимость, условия и способы проведения испытаний ГЗП и упаковки в период эксплуатации должны быть определены с учетом требований эксплуатационной документации изготовителя.
При отсутствии в эксплуатационной документации изготовителя необходимых требований испытания ГЗП и упаковки проводят статической нагрузкой в соответствии с требованиями настоящего стандарта.
8.14.2 Испытанию могут быть подвергнуты лишь идентифицированные ГЗП и упаковка, находящиеся в работоспособном состоянии. Дефекты, выявленные при осмотре, или экспертном обследовании и подпадающие под критерии предельного состояния, приведенные в эксплуатационных документах или в настоящем стандарте, должны быть устранены до проведения испытаний.
8.14.3 Перед проведением испытаний ГЗП и упаковки следует удостовериться в том, что выполнены следующие условия:
- грузоподъемная машина, с использованием которой предполагается провести испытания, находится в работоспособном состоянии, при этом последнее должно быть подтверждено записями в паспорте и в вахтенном журнале (работоспособное состояние ГЗП, применяемых для испытания упаковки, должно быть подтверждено соответствующей записью в журнале учета и периодического осмотра съемных ГЗП и упаковки);
- персонал, управляющий грузоподъемной машиной и выполняющий строповку испытательного груза или зацепку упаковки, должен быть обучен и аттестован в установленном порядке;
- квалификация компетентных должностных лиц эксплуатирующей организации, ответственных за организацию и проведение испытания, должна отвечать установленным требованиям. Для проведения испытаний должен быть назначен руководитель испытаний - ответственный за безопасное ведение работ;
- число лиц, которым в процессе испытаний может угрожать опасность, должно быть сведено к минимуму. Присутствие посторонних лиц в зоне проведения испытаний не допускается. Все участники испытаний обязаны применять средства индивидуальной защиты;
- средства измерений, используемые для испытаний, должны иметь свидетельства о поверке (клейма) или калибровке в соответствии с действующим законодательством. Средства измерения следует подбирать так, чтобы диапазон измерения находился в пределах от 20% до 95% шкалы. Точность измерений, подтвержденная документально, должна соответствовать требованиям
ГОСТ 29266. Грузы, используемые для испытаний, не являются эталоном, средством измерений или испытательным оборудованием и не подлежат аттестации, калибровке, градуировке и поверке;
- масса испытательных грузов должна быть подтверждена аттестатом, а в случае его отсутствия - актом взвешивания. Взвешивание грузов проводят с использованием поверенного динамометра или весов. Погрешность измерения массы испытательных грузов не должна превышать 3%;
- строповка (зацепка) испытательного груза (набора грузов) должна соответствовать схеме строповки. Для ветвевых стропов при испытаниях угол между ветвями должен быть равен 90° с допущением, принятым в
8.14.6;
- площадка, на которой располагаются испытательные грузы и планируется проведение испытаний ГЗП и упаковки, имеет ровную поверхность с твердым покрытием, ограждена флажками или сигнальной лентой. На границах опасной зоны должны быть вывешены таблички: "ОПАСНАЯ ЗОНА. ИДУТ ИСПЫТАНИЯ!". При использовании для испытаний стрелового крана к площадке предъявляются требования в соответствии с эксплуатационной документацией крана;
- место проведения испытаний должно быть ограждено соответствующими предупредительными знаками и освещено. При использовании для испытаний стрелового крана место его установки должно быть вне зоны воздушных линий электропередачи, а скорость ветра не должна превышать 8,3 м/с.
8.14.4 Масса испытательного груза при статических испытаниях должна превышать номинальную грузоподъемность ГЗП на 25%, если другие требования не установлены НПА или эксплуатационной документацией ГЗП.
8.14.5 Нагрузка на грузоподъемную машину при испытании ГЗП и упаковки не должна превышать ее номинальную грузоподъемность. В обоснованных случаях допускается испытания проводить в пределах испытательной статической нагрузки на грузоподъемную машину с соблюдением требований ее руководства по эксплуатации.
8.14.6 При испытаниях многоветвевых стропов их ветви должны быть расположены под углом 90° друг к другу. При невозможности обеспечить такой угол между ветвями испытываемого стропа испытательная нагрузка должна быть пересчитана с учетом фактического угла при испытании с применяемым грузом, что должно быть отражено в схеме строповки, принятой для испытаний.
8.14.7 При испытании специальных ГЗП, зацепка которыми испытательных грузов невозможна, должна быть предусмотрена схема надежного присоединения испытательного груза необходимой массы к изделиям, для которых предназначены ГЗП. Масса изделий в данном случае является составной частью испытательного груза. Отклонения по массе не должны превышать 3%.
8.14.8 Статическую прочность конструкции грейфера следует проверять путем симметричного нагружения челюстей испытательным грузом. При необходимости набора массы испытательного груза часть предварительно взвешенного груза укладывают внутрь грейфера, а к челюстям снизу подвешивают дополнительный груз. Возможно также подвешивание к челюстям всей массы испытательного груза. Схема подвешивания должна быть приведена в руководстве (инструкции) по эксплуатации грейфера или отражена в инструкции по проведению испытаний.
8.14.9 При испытании траверс схема присоединения (зацепки, строповки) испытательного груза должна соответствовать схеме нагружения при использовании траверс по назначению.
8.14.10 Статические испытания ГЗП проводят в следующей последовательности:
| | ИС МЕГАНОРМ: примечание. В официальном тексте документа, видимо, допущена опечатка: пункт 8.16.3 отсутствует. | |
- испытательный груз, зацепленный (захваченный) испытуемым грузозахватным приспособлением или подвешенный к нему, с возможно меньшими ускорениями поднимают на высоту от 50 мм до 100 мм и выдерживают в таком положении 10 мин, при этом обязательным является выполнение требований, установленных в 8.16.3;
- по истечении указанного времени испытательный груз опускают на площадку.
8.14.11 При испытании съемных грузовых траверс, основные пояса которых воспринимают изгибающие усилия и имеют под действием испытательной нагрузки упругий прогиб, его величина должна быть измерена и внесена в акт (протокол) испытаний.
Допустимые вертикальные упругие прогибы продольных балок и распорок траверс при воздействии нагрузки, создаваемой массой номинального груза без учета коэффициента перегрузки и динамических нагрузок, должны быть приведены в руководстве по эксплуатации. В общем случае прогибы основных поясов траверс общего назначения не должны превышать:
- для траверс длиной до 12 м - 1/300 длины траверсы;
- для траверс длиной свыше 12 м - 1/400 длины траверсы.
8.14.12 Испытания ГЗП на стенде у производителя ремонта, а также испытания при помощи специальных приспособлений, позволяющих создать в условиях эксплуатации испытательную нагрузку без применения груза, проводят по методике, разработанной соответствующей специализированной организацией (при испытании на стенде допускается использование методики, разработанной изготовителем стенда).
8.14.13 Испытания ГЗП и упаковки прекращают или приостанавливают при возникновении ситуации, угрожающей безопасности лиц, участвующих в испытаниях, угрозы поломки механизмов или разрушения элементов металлоконструкций грузоподъемной машины. Продолжение испытаний допускается только после выявления и устранения причин, вызвавших прекращение или приостановку испытаний.
8.14.14 После снятия нагрузки с испытуемого ГЗП, посредством визуального контроля и необходимых замеров, с использованием универсального мерительного инструмента, проверяется отсутствие в ГЗП недопустимых дефектов, указанных в эксплуатационных документах или в настоящем стандарте, в том числе отсутствие:
- скольжения одного из концов гибкого элемента или разрушения соединения концов гибкого элемента в зоне петли;
- распускания или разрушения (разрыва) гибкого элемента или входящих в его состав отдельных прядей, проволок или нитей;
- увеличения длины и (или) уменьшения диаметра или ширины гибких соединительных элементов, в том числе уменьшения диаметра (калибра) звеньев цепей;
- изменения формы и размеров в виде остаточных деформаций в сборочных единицах и элементах (карабинах, скобах и т.п.) до величин, подпадающих под критерии предельного состояния, приведенные в эксплуатационных документах или в настоящем стандарте;
- разрушений, в том числе в виде трещин в металлоконструкции, сварных и болтовых соединениях и жестких соединительных элементах.
| | ИС МЕГАНОРМ: примечание. В официальном тексте документа, видимо, допущена опечатка: пункт 8.4.14 отсутствует. Возможно, имеется в виду пункт 8.14.14. | |
8.14.15 При наличии остаточной деформации или других дефектов, явившихся следствием испытания грузом, в том числе перечисленных в
8.4.14, ГЗП не допускают к работе до выяснения причин возникновения дефектов и принятия документированного решения о возможности и условиях дальнейшей эксплуатации ГЗП.
8.14.16 Упаковку в период эксплуатации подвергают испытанию статической нагрузкой (освидетельствованию) в случаях, предусмотренных эксплуатационными документами изготовителя с использованием, как правило, крюкового крана, оснащенного соответствующим ГЗП. Упаковку, имеющую используемые в работе проемы для вилочных захватов, кроме того, испытывают с применением грузоподъемных машин, имеющих такие захваты.
8.14.17 Масса груза для испытательной нагрузки упаковки, за исключением грузовых контейнеров, составляет 110% от ее массы брутто.
8.14.18 Масса груза для испытательной нагрузки грузовых контейнеров при подъеме их за угловые фитинги представляет собой разность увеличенной в два раза массы брутто и собственной массы контейнера.
8.14.19 Требования к условиям проведения испытания упаковки аналогичны требованиям к проведению испытания ГЗП. Схема размещения испытательного груза в упаковке должна быть составлена таким образом, чтобы нагрузка от него равномерно воспринималась как полом (днищем), так и, при необходимости, стенками, имитируя рабочую нагрузку.
Высота подъема испытываемой упаковки должна составлять от 200 мм до 300 мм, время выдержки - 10 мин, после чего упаковку опускают на основание.
Зацепку и подъем упаковки во время испытаний необходимо проводить с учетом требований эксплуатационных документов.
8.14.20 Испытание упаковки, имеющей четыре и более точек подвеса, за исключением грузовых контейнеров, следует проводить с захватом крюками многоветвевого стропа за два диагонально расположенных строповочных элемента. После опускания упаковки на основание необходимо проверить отсутствие трещин в сварных швах строповочных элементов, их возможную деформацию, а также сохранность проектных размеров и формы металлического каркаса упаковки, при этом разность длин диагоналей каркаса в плане не должна превышать 10 мм. Затем испытание повторяют, используя диагонально противоположные строповочные элементы.
Упаковку, имеющую строповочные элементы, предназначенные для ее кантовки или раскрытия, следует подвергнуть испытанию с выполнением операций кантовки и раскрытия с высыпанием испытательного груза.
8.14.21 Испытание грузового контейнера проводится в следующей последовательности:
- зацепка контейнера за четыре верхних угловых фитинга, подъем и выдержка с испытательным грузом не менее 5 мин. Далее контейнер опускают на основание. После завершения испытаний не должно быть остаточных деформаций и других дефектов, которые бы делали контейнер непригодным к эксплуатации. Должны быть сохранены размеры, которые определяют пригодность контейнера к перегрузке, креплению и взаимозаменяемости;
- то же, но с выполнением зацепки за четыре нижних угловых фитинга.
При наличии в конструкции контейнера вилочных проемов, при необходимости, проводят испытание контейнера с применением специального погрузчика и использованием внешней пары вилочных проемов, с нагрузкой, на 60% превышающей массу брутто, и внутренней пары вилочных проемов - с нагрузкой, составляющей 0,625 массы брутто. Время выдержки с испытательным грузом составляет не менее 5 мин.
8.14.22 Испытание упаковки, имеющей используемые в работе устройства для ее захватывания вилами, за исключением грузовых контейнеров, необходимо проводить с использованием крана-штабелера или крюкового крана, оснащенного съемным ГЗП в виде вилочного захвата. Данная упаковка может быть испытана с применением вилочного авто- или электропогрузчика или грузовой тележки с вилочным захватом, при этом должны быть соблюдены требования к площадке, установленные руководством по эксплуатации погрузчика, и требования к захватыванию упаковки.
8.14.23 ГЗП и упаковку считают выдержавшими испытание статической нагрузкой, если не будет обнаружено трещин, остаточных деформаций, других дефектов металлоконструкций, захватов и соединительных элементов, подпадающих под критерии предельного состояния, приведенные в эксплуатационных документах или в настоящем стандарте.
8.15 Оформление результатов испытаний, осмотра и экспертного обследования
8.15.1 Результаты испытаний ГЗП и упаковки статической нагрузкой должны быть оформлены актом или протоколом испытания (далее - акт), в котором указывается основание для их проведения, масса и время выдержки испытательного груза и прочие параметры, характеризующие условия проведения испытаний и их результаты.
При положительных результатах в акте должно быть подтверждено, что ГЗП/упаковка выдержали испытания, соответствуют параметрам и характеристикам, приведенным в эксплуатационных документах и находятся в работоспособном состоянии.
При отрицательных результатах в акте отражают выявленные дефекты и вероятные причины их происхождения. В этом случае ГЗП или упаковка должны быть направлены в ремонт или на утилизацию.
Акт испытания хранят вместе с паспортом ГЗП (упаковки), в котором ответственный инженерно-технический работник должен сделать отметку об испытании, содержащую дату его проведения, значение статической нагрузки, результат и, при необходимости, дату следующего испытания. При наличии паспорта, оформленного на партию ГЗП, акт следует хранить с журналом учета и периодического осмотра съемных ГЗП и упаковки.
8.15.2 По результатам осмотра в журнал учета и периодического осмотра съемных ГЗП и упаковки вносят сведения о техническом состоянии, возможности ввода в эксплуатацию или возможности дальнейшего использования (для находящихся в эксплуатации) ГЗП или упаковки.
8.15.3 Результаты освидетельствования вновь установленных на крюковой кран механизированных и (или) электрифицированных ГЗП, в том числе моторных грейферов или грузовых магнитов, помимо отражения этих результатов в журнале учета и периодического осмотра съемных ГЗП и упаковки, должны быть занесены в паспорт крана. Запись в паспорте должна подтверждать, что ГЗП установлено на кран в соответствии с требованиями проекта реконструкции крана, эксплуатационных документов механизированного и (или) электрифицированного ГЗП и выдержало испытание.
8.15.4 При наличии дефектов, не препятствующих безопасной эксплуатации, но требующих устранения, в журнал учета и периодического осмотра съемных ГЗП и упаковки дополнительно вносится их краткое описание и сроки устранения. Сведения об оперативно устраняемых (в течение одной рабочей смены) дефектах в данный журнал допустимо не вносить.
8.15.5 Для ГЗП и упаковки, состояние которых по результатам осмотра или экспертного обследования оценено как неработоспособное, в журнал учета и периодического осмотра съемных ГЗП и упаковки вносят запись об их непригодности к использованию в работе, и их изымают из работы для принятия решения о ремонте или утилизации.
Примечание - В случаях отрицательных результатов ежесменного осмотра действия, предусмотренные настоящим пунктом, также совершаются компетентным должностным лицом, ответственным за безопасное производство работ.
8.15.6 К акту испытания должны быть приложены результаты неразрушающих видов контроля ГЗП и упаковки (при их проведении). Результаты по каждому виду контроля должны содержать сведения о проконтролированных элементах ГЗП, параметрах, объемах и средствах контроля, перечень документов, используемых при контроле и оценке его результатов, информацию о времени (дате) и месте его проведения, выводы о соответствии или несоответствии элементов ГЗП установленным требованиям. Результаты должны быть зафиксированы в отчетной документации (журналах, формулярах, заключениях, отчетах, актах, протоколах) с указанием фамилий, имен, отчеств (при наличии) и подписями работников, выполнявших неразрушающий контроль и давших заключение по его результатам.
8.15.7 Все обнаруженные при экспертном обследовании дефекты и несоответствия ГЗП и упаковки требованиям эксплуатационных документов должны быть внесены в ведомость дефектов.
8.15.8 Результаты экспертного обследования ГЗП и упаковки должны быть оформлены в виде акта обследования, составляемого с учетом рекомендуемой формы, приведенной в
приложении В. Результаты экспертного обследования эксплуатирующая организация использует для принятия решения о продолжении эксплуатации ГЗП и упаковки, снижении рабочих параметров, ремонте или браковке с дальнейшей утилизацией.
8.15.9 Акт экспертного обследования ГЗП или упаковки должен быть составлен в двух экземплярах, подписан ведущим экспертом или, при необходимости, группой экспертов, утвержден руководителем специализированной организации, заверен печатью и прошит вместе с приложениями с указанием количества страниц. Организации, эксплуатирующей ГЗП или упаковку, передается первый экземпляр акта, второй экземпляр хранится в архиве организации, проводившей экспертное обследование, в течение срока, на который рекомендована дальнейшая безопасная эксплуатация ГЗП или упаковки, а при отрицательных результатах экспертного обследования - не менее трех лет.
8.15.10 Акт внеочередного экспертного обследования, являющийся основанием для разработки паспорта ГЗП или упаковки, хранится не менее срока службы, назначенного изготовителем, или срока, указанного в
таблицах 3 и
4 для соответствующего типа ГЗП или упаковки.
8.15.11 Результаты экспертного обследования партии (до пяти шт.) однотипных ГЗП и упаковки, используемых в условиях одного конкретного производства (объекта, технологического процесса и т.п.), допускается оформлять одним актом.
8.15.12 Акт экспертного обследования ГЗП и упаковки, подвергнутых ремонту, должен содержать оценку качества ремонта и соответствия отремонтированных изделий требованиям ремонтных документов (технических условий, чертежей и т.п.).
8.15.13 Разрешение на эксплуатацию ГЗП и упаковки после осмотра и экспертного обследования компетентное лицо, ответственное за безопасное производство работ, записывает в журнал учета и периодического осмотра съемных ГЗП и упаковки.
8.15.14 В паспорт ГЗП и упаковки, подвергшихся экспертному обследованию, компетентным должностным лицом, ответственным за содержание ГЗП и упаковки в работоспособном состоянии, вносится запись, содержащая номер акта экспертного обследования, наименование специализированной организации и дату следующего экспертного обследования. При снижении рабочих параметров ГЗП (упаковки) или ограничения условий их использования запись должна содержать данные сведения.
Запись, вносимая в паспорт ГЗП или упаковки по результатам проведения внеочередного экспертного обследования, должна помимо иных сведений содержать информацию о причине, вызвавшей необходимость его проведения.
8.16 Требования безопасности при оценке работоспособности
8.16.1 При оценке работоспособности ГЗП и упаковки должны быть соблюдены требования безопасности, действующие в государствах, принявших настоящий стандарт, приказах и распоряжениях в области охраны труда, промышленной безопасности и электробезопасности, изданных эксплуатирующей организацией. При проведении экспертного обследования эксперты (специалисты по техническому диагностированию) должны дополнительно руководствоваться приказами и положениями, изданными специализированной организацией в области охраны труда, промышленной безопасности и электробезопасности при проведении обследования.
8.16.2 Для обеспечения безопасных условий труда при подготовке и проведении оценки работоспособности ГЗП и упаковки эксплуатирующая организация, при необходимости, обязана разработать указания (мероприятия, инструкции) по безопасности труда с учетом конструктивных особенностей ГЗП и упаковки, специфики их использования и рабочей зоны грузоподъемных машин, совместно с которыми они используются по назначению.
9 Техническое обслуживание и ремонт
9.1 Система технического обслуживания и ремонта ГЗП и упаковки должна предусматривать ежесменное техническое обслуживание, текущий и капитальный ремонты. Для механизированных и (или) электрифицированных ГЗП в соответствии с требованиями руководства по эксплуатации могут быть предусмотрены дополнительные виды технического обслуживания, в том числе сезонного.
ГЗП и упаковка, потерявшие работоспособность в результате отказа, в зависимости от его критичности, подвергаются внеплановому ремонту или утилизации.
9.2 Ежесменное техническое обслуживание ГЗП и упаковки выполняют в соответствии с требованиями, приведенными в
8.3.1 и
9.3.
9.3 В состав ежесменного технического обслуживания ГЗП и упаковки как минимум входят следующие работы:
- осмотр перед началом работы;
- смазка шарнирных соединений и механизмов (при наличии данного требования в руководстве по эксплуатации);
- осмотр, чистка и мойка после окончания работы.
9.4 Текущий ремонт ГЗП и упаковки выполняют на основании указаний эксплуатационных документов и результатов осмотров; для ГЗП и упаковки с истекшим сроком службы - на основании результатов экспертного обследования, приведенных в акте экспертного обследования.
9.5 Оценку работоспособности ГЗП и упаковки в виде осмотров и экспертных обследований рекомендуется проводить в соответствии с годовым планом (см.
приложение Г).
9.6 Техническое обслуживание и ремонт ГЗП и упаковки, в зависимости от сложности их конструкции, могут быть выполнены как в стационарных условиях (на эксплуатационных базах, промышленных предприятиях, предприятиях технического сервиса), так и на местах использования.
9.7 В процессе технического обслуживания текстильных ленточных стропов необходимо исключить возможное искрообразование от статического электричества, накопленного от их трения о части груза, используя антистатическую обработку специальными препаратами (периодичность обработки - согласно инструкции по использованию препарата). В качестве альтернативы допускается применять вымачивание в 2%-ном растворе поваренной соли в течение 24 ч и далее в течение 2 ч перед использованием в работе.
Принудительная сушка (любыми способами) текстильных ленточных стропов не допускается.
9.8 Ремонт металлоконструкций ГЗП и упаковки, реконструкция и любой ремонт, связанные с изменением конструкции ГЗП и упаковки, необходимо выполнять по проекту, разработанному изготовителем или специализированными организациями. Проект должен содержать указания о применяемых материалах, контроле качества сварки, порядке приемки и оформления документации по результатам выполненного ремонта, реконструкции.
На ремонтных чертежах, входящих в состав проекта ремонта металлической конструкции ГЗП или упаковки, должны быть указаны:
- поврежденные участки, подлежащие ремонту или замене;
- материалы, применяемые при замене;
- деформированные элементы и участки элементов, подлежащие исправлению правкой, с назначением способа правки;
- типы сварных соединений и способы их выполнения;
- виды обработки сварных швов после сварки;
- способы и нормы контроля сварных соединений (места, подлежащие контролю или проверке);
- допускаемые отклонения от номинальных размеров.
9.9 Ремонт стропов и других ГЗП, имеющих дефекты в соединительных элементах и захватах, следует выполнять посредством замены последних, при этом должны использоваться новые, имеющие соответствующую маркировку, соединительные элементы и захваты, проект в данном случае не разрабатывают.
9.10 Ветви многоветвевых стропов, разъемные звенья, крюки и другие легко заменяемые (без сварки, заплетки, опрессовки и сшивки) расчетные элементы ГЗП, примененные взамен поврежденных или изношенных помимо необходимой маркировки изготовителя, должны быть снабжены сертификатами качества изготовителя (их копиями), заверенными подписью и печатью изготовителя или уполномоченного им поставщика. При этом в паспорте ГЗП компетентным должностным лицом должна быть выполнена запись о проведенном ремонте с приложением соответствующего документа на вновь примененный элемент.
9.11 При замене отдельных ветвей стропов и гибких соединительных элементов других ГЗП они должны удовлетворять следующим коэффициентам использования (коэффициентам запаса):
- не менее шести - для изготовленных из стальных канатов;
- не менее четырех - для изготовленных из стальных цепей;
- не менее семи - для изготовленных из текстильных лент или нитей (круглопрядные стропы) на полимерной основе.
9.12 Не допускается замена забракованных элементов стропов, если она может быть выполнена только посредством сварки, заплетки, опрессовки или сшивки. В этом случае строп бракуют и утилизируют.
9.13 Изменения конструкции, возникающие при ремонте ГЗП и упаковки, должны быть согласованы с изготовителем или разработчиком, а при их отсутствии - со специализированной организацией. После проведения такого ремонта ГЗП и упаковка подлежат внеочередному обследованию.
9.14 После завершения ремонта ГЗП и упаковки, при котором были заменены или отремонтированы с применением сварки несущие элементы, должно быть проведено внеочередное освидетельствование, включающее оценку качества ремонта и его соответствие требованиям ремонтных документов.
9.15 Техническое обслуживание, надзор за содержанием в работоспособном состоянии грузовых контейнеров и их средств крепления должны соответствовать указаниям инструкций (руководств) предприятий-изготовителей, а при отсутствии таких инструкций - в соответствии требованиями, установленными нормативными правовыми документами государств, принявших настоящий стандарт, и ведомственными (отраслевыми) нормативными документами.
Периодическую проверку состояния средств крепления грузовых контейнеров проводят не реже одного раза в шесть месяцев.
9.16 Ремонт грузовых контейнеров следует выполнять по техническим условиям, разработанным в соответствии с требованиями нормативных документов, регламентирующих использование грузовых контейнеров в государствах, принявших настоящий стандарт.
9.17 Контроль качества ремонта с применением сварки или реконструкции (модернизации) ГЗП и упаковки, их соответствие после ремонта установленным требованиям, с указанием сведений о характере выполненных работ, примененных комплектующих изделиях, материалах, сварщиках и проведенном испытании, должен быть подтвержден исполнителем работ в документе о качестве (протоколе (ином документе о качестве)), который хранится наравне с паспортом. Одновременно в паспорте ГЗП или упаковки компетентным должностным лицом должна быть сделана отметка о характере выполненных работ, исполнителе и примененных материалах.
9.18 Мягкие контейнеры ремонтируют, если они в соответствии с требованиями
ГОСТ ISO 21898 относятся к категории прочных мягких контейнеров для повторного использования, при этом принципиальные ремонтные решения следует согласовывать с изготовителем, принимая во внимание материалы, тип, площадь и место повреждения, условия, в которых эксплуатировался контейнер и фактический срок его службы.
9.19 Прочные мягкие контейнеры для повторного использования могут подвергаться ремонту при условии, что предел прочности на разрыв восстановленного участка будет не менее первоначального.
9.20 Стандартные мягкие контейнеры для повторного использования и одноразовые контейнеры, изготовленные в соответствии с требованиями
ГОСТ ISO 21898, не подлежат ремонту и не могут быть использованы в случае повреждения.
10.1 Работоспособные ГЗП и упаковка, использование которых не предполагается в течение 10 и более дней, не должны находиться в местах производства работ с применением грузоподъемных машин.
На кратковременное хранение (от 10 дней до двух месяцев) ГЗП и упаковку помещают сразу после прекращения использования, а на длительное хранение (свыше 2 мес) - не позднее 10 дней с момента прекращения использования.
10.2 Подготовка к хранению и условия хранения ГЗП и упаковки должны соответствовать требованиям руководства по эксплуатации.
10.3 ГЗП и упаковку следует хранить на стеллажах или подкладках в сухом закрытом проветриваемом помещении с бетонным или деревянным полом.
Стропы, изготовленные из лент или нитей (круглопрядные стропы) на полимерной основе, и порожние мягкие контейнеры следует хранить в помещениях с температурой воздуха в соответствии с
6.2.8.
10.4 Стропы следует хранить в расправленном виде и подвешенными на специальных крючьях или горизонтальных стержнях.
10.5 Техническое состояние ГЗП и упаковки, находящихся на длительном хранении, проверяют не реже одного раза в квартал.
10.6 При длительном хранении стропы из стальных канатов независимо от условий хранения, следует не реже одного раза в 6 мес осматривать и при необходимости смазывать антикоррозийной смазкой.
10.7 Текстильные стропы на полимерной основе и порожние мягкие контейнеры необходимо хранить в расправленном виде и исключать попадание на них прямых солнечных лучей и других источников ультрафиолетового излучения.
10.8 Крупногабаритные ГЗП следует хранить, используя соответствующие стапели, подставки или подкладки, обеспечивающие их устойчивость и (при необходимости) кантовку. Указанная оснастка необходима также для снятия нагрузки с осей, пальцев и других элементов шарнирных (подвижных) соединений, в том числе при их смазывании.
10.9 Хранение порожней и загруженной производственной упаковки осуществляется на специально выделенных складских и производственных площадях в соответствии с указаниями, приведенными в схемах складирования; при этом количество ярусов должно соответствовать требованиям эксплуатационных документов и схеме складирования.
10.10 Складирование и хранение грузовых контейнеров должно осуществляться в соответствии с утвержденными схемой движения транспорта и разметкой складской площади, которые определяются организацией погрузочно-разгрузочных работ, техническими характеристиками используемых кранов и погрузчиков, размерами штабелей и расстояниями между ними. Для складирования порожних контейнеров должна быть выделена отдельная зона. Возможность штабелирования порожних контейнеров в три и более яруса, необходимость и способ их крепления определяют в каждом конкретном случае расчетом, утвержденным руководителем предприятия, отвечающего за перегрузку.
При многоярусном штабелировании смещение угловых фитингов смежных, а также не смежных по высоте контейнеров не должно превышать 25 мм в поперечном направлении и 38 мм в продольном направлении.
10.11 Покрытие сортировочных и складских площадок для хранения грузовых контейнеров должно обеспечивать опирание контейнера на все четыре угловых фитинга. Уклоны площадок не должны превышать величин, предусмотренных соответствующими нормативами.
Площадки перед установкой на них контейнеров должны быть очищены от мусора, остатков груза и других посторонних предметов.
10.12 Строительную упаковку допустимо хранить в границах строящегося объекта на специальных подкладках, уложенных в соответствии с указаниями, приведенными в проекте производства работ.
10.13 Установку загруженных мягких контейнеров в штабель выполняют плотными рядами в вертикальном положении с обеспечением устойчивости штабеля и каждого контейнера.
При максимальной допускаемой высоте заполнения контейнерами штабель из них может быть уложен с опорой на две или три стенки.
10.14 Загруженные мягкие контейнеры допускается складировать в зависимости от типа до пяти ярусов, если на ярлыке контейнера или в технологической карте погрузочно-разгрузочных работ не указано иное условие. Между ярусами следует прокладывать сепарацию из досок.
Со второго яруса включительно контейнеры устанавливают с отступом на половину их диаметра или короткой стороны прямоугольника основания контейнера по всему периметру штабеля.
10.15 Следует избегать хранения заполненного контейнера при температурах, превышающих плюс 50 °C, без одобрения изготовителя или поставщика. Все крышки должны быть надежно закрыты перед хранением.
10.16 Кроме мягких контейнеров, специально разработанных для кратковременного хранения на открытом воздухе, все загруженные мягкие контейнеры необходимо хранить с соблюдением следующих условий:
а) площадки для хранения должны иметь твердое покрытие со стоком воды и обеспечивать работу грузоподъемных машин;
б) контейнеры недопустимо хранить стоящими в воде (нижний ряд контейнеров следует размещать на поддонах или настилах из досок);
в) контейнеры необходимо хранить в помещениях, под навесом или закрытыми тентом с исключением воздействия на контейнеры неблагоприятных погодных условий, в первую очередь - атмосферных осадков и солнечного излучения.
В отапливаемых помещениях контейнеры размещают на расстоянии не менее одного метра от источника тепла.
Утилизацию ГЗП и упаковки осуществляют в соответствии с указаниями эксплуатационных документов.
(рекомендуемое)
учета и периодического осмотра съемных грузозахватных
приспособлений и производственной упаковки
Наименование, обозначение съемного грузозахватного приспособления, упаковки | Учетный N (инвентарный или порядковый N изготовителя <1>) | Дата | Техническое состояние, содержание замечаний, заключение | Должность, фамилия и инициалы | Подпись |
| | | | | |
--------------------------------
<1> Указывается при его наличии.
(обязательное)
ПРЕДЕЛЬНЫЕ ВЕЛИЧИНЫ ОСТАТОЧНЫХ ДЕФОРМАЦИЙ И ИЗНОСА ЭЛЕМЕНТОВ
ГРУЗОЗАХВАТНЫХ ПРИСПОСОБЛЕНИЙ, ГРУЗОВОЙ МЕТАЛЛИЧЕСКОЙ
УПАКОВКИ И ГРУЗОВЫХ КОНТЕЙНЕРОВ СЕРИИ 1
Таблица Б.1
Допустимые предельные значения величин остаточных
деформаций, износа и описание недопустимых дефектов
грузозахватных приспособлений
Наименование узла, элемента | Описание дефекта, эскиз | Предельное отклонение |
1 Линейные металлоконструкции (сборочные единицы - балки траверс, тяги грейферов и т.п.) | Изогнутость коробчатых и двутавровых балок | f/L = 0,0025 при L <= 2000 мм; f/L = 0,002 при L > 2000 мм |
Скручивание коробчатых и двутавровых балок | f/H = 0,02 при L <= 2000 мм; f/H = 0,01 при L > 2000 мм |
1а Плоскостные и объемные металлоконструкции траверс и спредеров | Скручивание плоскости подвеса захватов | C = B/1000 |
2 Все узлы | Трещины и разрывы в основных швах и основном металле | Не допускаются |
Уменьшение толщины t элемента вследствие коррозийного или механического износа на величину  | |
3 Проушины, серьги | Выработка отверстий | при d <= 50 мм;  при 50 < d <= 100 мм;  при d > 100 мм, при этом для всех d предельная выработка в направлении h не более 10% площади поперечного сечения в месте наибольшего износа |
4 Решетчатые конструкции (стержни, пояса из фасонного проката) | Скручивание стержневых элементов | f/B = 0,05 |
Отклонение от прямолинейности стержней решетчатых конструкций (ферм) | f/L = 0,015, где L - длина стержня |
5 Листовые коробчатые конструкции (элементы балок траверс и т.п.) | Выпуклость поясов и стенок сварных балок | f/a = 0,01 |
Местные вмятины на поясах, стенках, трубах и на других аналогичных элементах: глубиной t1 и n1 с размерами 0,25B < S < 0,75S | n1 = 2n, t1 <= 2t - для сжатого пояса, в т.ч. для труб, t1 <= 5t - для растянутого пояса |
6 Толстолистовые элементы сборочных единиц (проушины); отдельные элементы, не подлежащие сварке (серьги, планки) | Изгиб, прогиб, скручивание | f = 0,3t (t - толщина элемента), при этом в шарнирных и болтовых соединениях величина f должна обеспечивать проектное положение оси (пальца, болта) |
7 Рабочие поверхности захватов, имеющие насечки (рифление) | Износ вершин насечки | (B - проектная ширина вершины насечки) |
Таблица Б.2
Допустимые предельные значения величин
остаточных деформаций и описание недопустимых дефектов
грузовой металлической упаковки
Наименование узла, элемента упаковки | Описание дефекта | Допустимое предельное значение |
1 Маркировка | Отсутствует полностью или частично | Не допускается |
2 Опора верхняя | Отгибы наружу или вовнутрь | 5 мм |
3 Фасонка, примыкающая к верхней опоре | Отсутствует (отрыв по сварному шву) | Не допускается |
4 Проушина для зацепки упаковки в верхней опоре | Разрывы | Не допускаются |
5 Соединение верхней опоры со стенкой каркаса | Трещины в сварном соединении | Не допускаются |
6 Соединение стенки с элементами каркаса | Разрывы сварных соединений, сопровождающиеся отгибом стенок <1> | 150 мм |
7 Стенки | а) Пробитое отверстие размером б) Деформация f с прогибом <1> вовнутрь или наружу упаковки | L = 120 мм; h = 40 мм; |
8 Соединение днища с элементами каркаса | Разрывы сварных соединений, сопровождающиеся отгибом днища <1> | 150 мм |
9 Полоз (опора нижняя) | Отгиб вовнутрь упаковки | 15 мм |
10 Элементы усиления в соединении стойки с полозом | Отсутствуют (отрыв по сварному шву) | Не допускается отсутствие элемента |
11 Элементы закладные с цепью | Отсутствуют (отрыв по сварному шву) | Не допускается отсутствие одного и более элементов |
12 Борты | Разрывы | Не допускаются |
13 Полосы в решетчатой упаковке | Отсутствуют (отрыв по сварному шву) | Не допускается |
14 Каркас | Нарушение геометрической формы: | |
а) разность диагоналей, измеренных в плане по верхним опорам; | 10 мм |
б) отклонение бортов от прямолинейности  |  ( B - длина борта) |
15 Элементы и их соединения, образующие проемы для захода вил крана-штабелера | а) Разрывы в сварных соединениях и основном металле; | 15 мм |
б) Вмятины в элементах | 10 мм |
16 Запорные устройства крышки упаковки | Деформация или отсутствие элементов, влияющие на надежность фиксации устройств | Не допускается |
<1> Упаковка для жидких, полужидких и сыпучих грузов не должна иметь дефектов в виде трещин, разрывов и пробоин, допускающих утечку или высыпание груза. Упаковка для других видов груза - дефектов, допускающих его выпадение. |

Цифрами на выносных полках обозначены номера позиций,
Рисунок Б.1 Элементы конструкции наиболее распространенной
металлической производственной упаковки, рекомендуемые
для проверки при осмотре и обследовании
Таблица Б.3
Допустимые предельные значения величин остаточных деформаций
и других видов дефектов грузовых контейнеров серии 1
Наименование узла, элемента упаковки | Описание дефекта | Допустимое предельное значение |
1 Каркас в сборе с фитингами | Разрывы, излом, пробоины, трещины в элементах каркаса и сварных соединениях стоек, поперечин, балок между собой и примыкающих к фитингам. Разность расстояний между центрами отверстий диагонально расположенных угловых фитингов: | Не допускаются |
- измеренная в плоскости крыши и боковой стенки контейнеров типа: | +/- 19 мм |
1AAA, 1AA, 1A, 1AX | +/- 16 мм |
1BBB, 1BB, 1B, 1BX; | +/- 13 мм |
CC, 1C, 1CX; | +/- 10 мм |
- измеренная в плоскости торцевой стенки. Разность вертикальных отметок фитингов | +/- 20 мм |
2 Фитинги угловые или промежуточные | Трещины, изломы, отсутствие фитинга | Не допускаются |
Деформация, которая может привести к заклиниванию поворотного замка или несанкционированному выходу его из отверстия фитинга | Не допускается |
Увеличение размеров отверстий в результате износа и/или отгиба их кромок, при номинальных (проектных) размерах, мм: |
а) верхних фитингов: |
сверху  ; | 3 мм |
со стороны боковой стенки 79,5 x 51; | 3 мм |
со стороны торцевой стенки 73 x 63,5; | 3 мм |
б) нижних фитингов: | |
снизу  ; | 3 мм |
со стороны боковой и торцевой стенок 79,5 x 51 | 3 мм |
Отсутствие соединения фитинга с конструктивными элементами контейнера (например, по причине несплавления или отсутствия сварного шва или его части) | Не допускается |
Взамен предусмотренной литой конструкции применена сварная | Не допускается |
Отсутствует маркировка, содержащая товарный знак или условный номер предприятия-изготовителя, номер плавки, год изготовления (две последние цифры) | Не допускается |
3 Стойки угловые | Деформация, сопровождающаяся кривизной стойки со стрелой прогиба более 25 мм, независимо от ее длины и расположения | Не допускается |
Вмятины в количестве двух и более, имеющие глубину более 15 мм | Не допускаются |
Уменьшение толщины элементов стоек вследствие коррозийного износа | 30% первоначальной (проектной) толщины |
4 Балки продольные и поперечные (торцевые) | Изгиб, вмятины верхней продольной балки и передней торцевой балок | 25 мм |
Изгиб, вмятины задней верхней поперечной балки | 35 мм |
Деформация вертикальных стенок нижних продольных и поперечных балок | 50 мм |
5 Стенки (передняя и боковая стенки) и крыша | Изгиб, вмятины | 35 мм |
Уменьшение расстояния между противоположными стенками, вызванное наличием находящихся друг напротив друга деформаций любого вида | 50 мм |
Пробоины, разрывы, трещины | Не допускаются |
6 Балки поперечные основания | Вмятины, изгибы на вертикальных стенках, верхней плоскости карманов для вилочных захватов и паза "гусиная шея" | 50 мм |
7 Двери в сборе | Проломы, трещины | Не допускаются |
Вмятины, изгибы, деформации | 35 мм |
Поломка кулачков, стопоров, шарнирных петель, штанг дверных запоров | Не допускаются |
(рекомендуемое)
ФОРМА АКТА ЭКСПЕРТНОГО ОБСЛЕДОВАНИЯ
УТВЕРЖДАЮ
(должность, подпись,
Ф.И.О. руководителя организации,
проводившей экспертное обследование
съемного грузозахватного приспособления (упаковки)
"____" _______________ 20____ г.
М.П.
АКТ
ЭКСПЕРТНОГО ОБСЛЕДОВАНИЯ N
1 Общие сведения |
Тип, наименование, обозначение, назначение съемного грузозахватного приспособления (упаковки) | | |
Изготовитель: наименование, адрес | |
Порядковый номер по системе нумерации изготовителя номер | |
Регистрационный (учетный, инвентарный) номер | |
Грузоподъемная машина, совместно с которой используется съемное грузозахватное приспособление (тип, марка, грузоподъемность, зав. N, рег. N, группа классификации режима работы (паспортная/фактическая); объект, где установлена грузоподъемная машина | |
Наименование организации, эксплуатирующей съемное грузозахватное приспособление (упаковку) | |
2 Сведения о специализированной организации и правовой основе обследования |
Наименование организации, проводившей экспертное обследование | | |
Номер правоустанавливающего документа, кем выдан, дата окончания срока действия | |
Номер и дата приказа специализированной организации, согласно которому проводилось обследование; цель экспертного обследования (продление срока безопасной эксплуатации, оценка работоспособности после аварии крана и т.п.) | |
Съемное грузозахватное приспособление (упаковка) подвергнуто (указать первичному, повторному или внеочередному) экспертному обследованию | |
Экспертное обследование проведено в соответствии с требованиями (обозначение и наименование нормативного документа) | |
Дата и номер договора, согласно которому проводилось экспертное обследование | |
Фамилия, имя, отчество эксперта(ов), выполнявшего экспертное обследование, с указанием должности, N удостоверения и даты окончания срока действия | |
В результате экспертного обследования установлено: |
3 Паспортные данные |
Грузоподъемность (масса брутто/масса упаковки - для упаковки) | | |
Количество захватов, тип, грузоподъемность каждого (для упаковки - количество и тип строповочных элементов) | | |
Обозначение и наименование нормативного документа, в соответствии с которым изготовлено съемное грузозахватное приспособление (упаковка) | |
Год, месяц изготовления | |
| |
Допустимая температура (указать нижний и верхний пределы) использования | нижний - °C верхний - °C |
Возможность использования в пожароопасной среде категории | |
Возможность использования во взрывоопасной среде категории | |
Проводился ли капитальный ремонт (если проводился, указать: когда и кем) | |
4 Соответствие фактических условий использования паспортным данным, требованиям ППР и ТК и нормативных документов (соответствует/не соответствует; при несоответствии - краткое описание) |
По виду выполняемых работ (строительные, складские и т.п.) | | |
По соответствию перемещаемых грузов требованиям схемы строповки, ППР, ТК (указать обозначение и наименование документа) | |
По нижнему и верхнему пределам температур района использования | |
По характеристике среды (пожароопасная, взрывоопасная, агрессивная и т.п.) | |
По состоянию эксплуатационной документации (наличие паспорта, ведение журнала осмотра и т.п. Указать шифр (обозначение) эксплуатационных документов: паспорт, руководство по эксплуатации) | |
По состоянию маркировки (наличие табличек, клейм, бирок (колец) и наличию на них необходимых сведений) | |
По организации контроля за безопасной эксплуатацией (указать фамилии, инициалы и NN приказов и удостоверений ответственных специалистов) | |
По функционированию системы технического обслуживания и ремонта (своевременность и полнота осмотров, устранение выявленных замечаний, в т.ч. своевременная утилизация) | |
5 Результаты экспертного обследования |
Общее число дефектов, отмеченных экспертом (по ведомости дефектов) | | |
В том числе | устранены при проведении данного обследования | |
требуют устранения до начала дальнейшего использования | |
могут быть устранены за срок, указанный в ведомости дефектов | |
могут быть устранены при очередном ТО или Р | |
Проведены испытания съемного грузозахватного приспособления
(упаковки) (заполняется в случае,
если испытания проводились)
Статические (указать массу груза), т | | |
Дефектов по результатам испытаний не обнаружено.
6 Заключение
По результатам проведенного экспертного обследования, с учетом устраненных эксплуатирующей организацией дефектов и несоответствий, эксперт (группа экспертов) считает, что съемное грузозахватное приспособление (упаковка) (указать тип, наименование, обозначение, назначение, порядковый номер по системе регистрации изготовителя (регистрационный номер)):
Находится в работоспособном состоянии, признано годным к использованию по назначению, указанному в паспорте. С учетом вновь назначенного срока службы, следующее экспертное обследование провести не позднее (указать месяц и год) | | |
Находится в неработоспособном состоянии и подлежит ремонту согласно ведомости дефектов (поставить плюс) | |
Достигло предельного состояния и подлежит снятию с эксплуатации и утилизации в установленном порядке (поставить плюс). Если необходим капитально-восстановительный ремонт - указать | |
7 Рекомендации по изменению паспортных данных и (или) уточнению условий использования
Съемное грузозахватное приспособление (упаковка) может эксплуатироваться со следующими изменениями паспортных данных и/или условиями использования (заполняется при назначении экспертом (группой экспертов) каких-либо изменений и условий):
со снижением грузоподъемности (массы брутто) до, т | | |
в диапазоне температур (от и до), °C | |
Учитывая фактическое состояние и (или) конструктивное исполнение металлоконструкции, вызывающее сомнение в ее прочности, необходимо (или не нужно) выполнить поверочный прочностной расчет с учетом фактического состояния (указать да или нет) | |
Вниманию должностных лиц организации, эксплуатирующей съемное грузозахватное приспособление (упаковку)!
1 За невыполнение рекомендаций, приведенных в настоящем акте и неустранение замечаний, отмеченных в ведомости дефектов, специализированная организация, проводившая экспертное обследование, ответственности не несет.
2 Настоящий Акт с Ведомостью дефектов служит техническим обоснованием для дальнейшей безопасной эксплуатации или для проведения ремонта или утилизации съемного грузозахватного приспособления (упаковки) и является неотъемлемой частью паспорта съемного грузозахватного приспособления (упаковки).
Приложения:
1 Копия приказа организации, эксплуатирующей съемное грузозахватное приспособление (упаковку), о проведении экспертного обследования
<*>.
2 Копия приказа специализированной организации о проведении экспертного обследования
<*>.
3 Справка о характере и количестве грузов, перегружаемых с использованием съемного грузозахватного приспособления (упаковки) (составляется по решению ведущего эксперта - в произвольной форме)
<*>.
4 Копия паспорта съемного грузозахватного приспособления (упаковки) (ксерокопия, фотокопия, заверенная выписка)
<*>.
5 Ведомость дефектов (при их наличии).
6 Акт проведения статических испытаний (если испытания проводились)
<*>.
7 Результаты проверки химического состава и механических свойств расчетных элементов (если данные проверки проводились)
<*>.
8 Заключение по результатам неразрушающего контроля с указанием вида контроля и мест металлоконструкции, где он проводился (если данный контроль проводился)
<*>.
--------------------------------
<*>
Хранится с экземпляром Акта, находящимся в специализированной организации.
9 Копия правоустанавливающего документа, подтверждающего компетентность специализированной организации в области оценки работоспособности грузозахватных приспособлений и упаковки.
10 Другие приложения, составленные в зависимости от цели экспертного обследования.
Подпись эксперта (группы экспертов) с указанием фамилии и инициалов.
(рекомендуемое)
ФОРМА ПЛАНА ОЦЕНКИ РАБОТОСПОСОБНОСТИ
СЪЕМНЫХ ГРУЗОЗАХВАТНЫХ ПРИСПОСОБЛЕНИЙ И УПАКОВКИ
ПЛАН
оценки работоспособности съемных
грузозахватных приспособлений и упаковки на 20___ г.
___________________________________________________________________________
наименование организации
Наименование и индекс ГЗП и упаковки | Заводской (рег.) номер | Даты мероприятий по оценке работоспособности в планируемом году |
Осмотр | Экспертное обследование |
1 | 2 | 3 | 4 |
| | | |
| ISO 1496-1:2013 | Series 1 freight containers - Specification and testing. Part 1: General cargo containers for general purposes (Контейнеры грузовые серии 1. Технические условия и испытания. Часть 1. Универсальные контейнеры общего назначения) |
УДК 621.873:531.2:006.354 | |
Ключевые слова: машины грузоподъемные, грузозахватные приспособления, производственная упаковка, транспортная упаковка, строповка, эксплуатация |