Главная // Актуальные документы // ГОСТ (Государственный стандарт)СПРАВКА
Источник публикации
М.: Стандартинформ, 2016
Примечание к документу
Документ включен в
Перечень международных и региональных (межгосударственных) стандартов, а в случае их отсутствия - национальных (государственных) стандартов, в результате применения которых на добровольной основе обеспечивается соблюдение требований технического
регламента Таможенного союза "О безопасности машин и оборудования" (ТР ТС 010/2011) (
Решение Коллегии Евразийской экономической комиссии от 09.03.2021 N 28).
Текст данного документа приведен с учетом
поправки, опубликованной в "ИУС", N 12, 2017;
поправки, опубликованной в "ИУС", N 1, 2023.
Документ
введен в действие с 01.04.2017.
Название документа
"ГОСТ 33718-2015. Межгосударственный стандарт. Краны грузоподъемные. Проволочные канаты. Уход и техническое обслуживание, проверка и отбраковка"
(введен в действие Приказом Росстандарта от 02.06.2016 N 503-ст)
"ГОСТ 33718-2015. Межгосударственный стандарт. Краны грузоподъемные. Проволочные канаты. Уход и техническое обслуживание, проверка и отбраковка"
(введен в действие Приказом Росстандарта от 02.06.2016 N 503-ст)
агентства по техническому
регулированию и метрологии
от 2 июня 2016 г. N 503-ст
МЕЖГОСУДАРСТВЕННЫЙ СТАНДАРТ
КРАНЫ ГРУЗОПОДЪЕМНЫЕ
ПРОВОЛОЧНЫЕ КАНАТЫ
УХОД И ТЕХНИЧЕСКОЕ ОБСЛУЖИВАНИЕ, ПРОВЕРКА И ОТБРАКОВКА
Cranes. Wire ropes.
Care and maintenance, inspection and discard
(ISO 4309:2010, NEQ)
ГОСТ 33718-2015
Дата введения
1 апреля 2017 года
Цели, основные принципы и основной порядок проведения работ по межгосударственной стандартизации установлены в
ГОСТ 1.0-2015 "Межгосударственная система стандартизации. Основные положения" и
ГОСТ 1.2-2015 "Межгосударственная система стандартизации. Стандарты межгосударственные, правила и рекомендации по межгосударственной стандартизации. Правила разработки, принятия, обновления и отмены"
1 РАЗРАБОТАН Акционерным обществом "РАТТЕ" (АО "РАТТЕ")
2 ВНЕСЕН Федеральным агентством по техническому регулированию и метрологии
3 ПРИНЯТ Межгосударственным советом по стандартизации, метрологии и сертификации (протокол от 28 декабря 2015 г. N 83-П)
За принятие проголосовали:
Краткое наименование страны по МК (ИСО 3166) 004-97 | Код страны по МК (ИСО 3166) 004-97 | Сокращенное наименование национального органа по стандартизации |
Армения | AM | Минэкономики Республики Армения |
Киргизия | KG | Кыргызстандарт |
Россия | RU | Росстандарт |
Таджикистан | TJ | Таджикстандарт |
Туркмения | TM | Главгосслужба "Туркменстандартлары" |
4
Приказом Федерального агентства по техническому регулированию и метрологии от 2 июня 2016 г. N 503-ст межгосударственный стандарт ГОСТ 33718-2015 введен в действие в качестве национального стандарта Российской Федерации с 1 апреля 2017 г.
5 Настоящий стандарт разработан с учетом основных нормативных положений международного стандарта ISO 4309:2010 "Краны грузоподъемные. Проволочные канаты. Уход и техническое обслуживание, инспекция и браковка" ("Cranes - Wire ropes - Care and maintenance, inspection and discard", NEQ)
6 ВВЕДЕН ВПЕРВЫЕ
Информация об изменениях к настоящему стандарту публикуется в ежегодном (по состоянию на 1 января текущего года) информационном указателе "Национальные стандарты", а текст изменений и поправок - в ежемесячном информационном указателе "Национальные стандарты". В случае пересмотра (замены) или отмены настоящего стандарта соответствующее уведомление будет опубликовано в ежемесячном информационном указателе "Национальные стандарты". Соответствующая информация, уведомление и тексты размещаются также в информационной системе общего пользования - на официальном сайте Федерального агентства по техническому регулированию и метрологии в сети Интернет (www.gost.ru)
Настоящий стандарт устанавливает требования к уходу и техническому обслуживанию, проверкам и отбраковке стальных канатов кранов по классификации международного стандарта ISO 4306-1:2007 Cranes - Vocabulary - Part 1: General (Краны - Словарь. Часть 1. Общие термины) и с учетом нормативных положений, содержащихся в международном стандарте ISO 4309:2010 Cranes - Wire ropes - Care and maintenance, inspection and discard (Краны грузоподъемные. Проволочные канаты. Уход и техническое обслуживание, инспекция и браковка). Применение положений данного стандарта на добровольной основе может быть использовано при подтверждении и оценке соответствия грузоподъемных кранов требованиям Технического
регламента Таможенного союза "О безопасности машин и оборудования" (ТР ТС 010/2011).
Настоящий стандарт устанавливает общие принципы для ухода, технического обслуживания, контроля и отбраковки стальных проволочных канатов (далее - канаты).
Настоящий стандарт распространяется на все виды грузоподъемных кранов в соответствии с
[1], а также на плавучие и оффшорные краны.
Невыполнение требований настоящего стандарта может привести к увеличению риска использования кранов.
В настоящем стандарте принимается во внимание тот факт, что использование только блоков, изготовленных из полимерных материалов или с полимерным покрытием ручья, в механизмах с однослойной навивкой каната на барабан не рекомендуется. Это связано с тем обстоятельством, что в этом случае внутренние повреждения каната (обрывы внутренних проволочек) появляются раньше, чем появляется видимый износ или обрывы наружных проволочек. Контроль таких канатов должен проводиться с применением приборов неразрушающего контроля. В связи с этим данный стандарт не содержит рекомендаций по отбраковке канатов, используемых в таких механизмах.
В настоящем стандарте использованы нормативные ссылки на следующие межгосударственные стандарты:
ГОСТ 2688-80 Канат двойной свивки типа ЛК-Р конструкции 6 x 19(1 + 6 + 6/6) + 1 о. с. Сортамент
ГОСТ 3066-80 Канат двойной свивки типа ЛК-О конструкции 6 x 7(1 + 6) + 1 x 7(1 + 6). Сортамент
ГОСТ 3069-80 Канат двойной свивки типа ЛК-О конструкции 6 x 7(1 + 6) + 1 о. с. Сортамент
ГОСТ 3071-88 Канат стальной двойной свивки типа ТК конструкции 6 x 37(1 + 6 + 12 + 18) + 1 о. с. Сортамент
ГОСТ 3077-80 Канат двойной свивки типа ЛК-О конструкции 6 x 19(1 + 9 + 9) + 1 о. с. Сортамент
ГОСТ 3079-80 Канат двойной свивки типа ТЛК-0 конструкции 6 x 37(1 + 6 + 15 + 15) + 1 о. с. Сортамент
ГОСТ 3081-80 Канат двойной свивки типа ЛК-О конструкции 6 x 19(1 + 9 + 9) + 7 x 7(1 + 6). Сортамент
ГОСТ 3083-80 Канат двойной свивки типа ЛК-О конструкции 6 x 30(0 + 15 + 15) + 7 о. с. Сортамент
ГОСТ 3088-80 Канат двойной свивки многопрядный типа ЛК-Р конструкции 18 x 19(1 + 6 + 6/6) + 1 о. с. Сортамент
ГОСТ 3097-80 Канаты двойной свивки типа ТК конструкции 8 x 16(0 + 5 + 11) + 9 о. с., типа ЛК-О конструкции 8 x 6(0 + 6) + 9 о. с. Сортамент
ГОСТ 7665-80 Канат двойной свивки типа ЛК-3 конструкции 6 x 25(1 + 6; 6 + 12) + 1 о. с. Сортамент
ГОСТ 7667-80 Канат двойной свивки типа ЛК-3 конструкции 6 x 25(1 + 6; 6 + 12) + 7 x 7(1 + 6). Сортамент
ГОСТ 7668-80 Канат двойной свивки типа ЛК-РО конструкции 6 x 36(1 + 7 + 7/7 + 14) + 1 о. с. Сортамент
ГОСТ 7669-80 Канат двойной свивки типа ЛК-РО конструкции 6 x 36(1 + 7 + 7/7 + 14) + 7 x 7(1 + 6). Сортамент
ГОСТ 7681-80 Канат двойной свивки многопрядный типа ЛК-О конструкции 18 x 7(1 + 6) + 1 о. с. Сортамент
ГОСТ 14954-80 Канат двойной свивки типа ЛК-Р конструкции 6 x 19(1 + 6 + 6/6) + 7 x 7(1 + 6). Сортамент
ГОСТ 25835-83 Краны грузоподъемные. Классификация механизмов по режимам работы
ГОСТ 33166.1-2014 Краны грузоподъемные. Требования к механизмам. Часть 1. Общие положения
Примечание - При пользовании настоящим стандартом целесообразно проверить действие ссылочных стандартов в информационной системе общего пользования - на официальном сайте Федерального агентства по техническому регулированию и метрологии в сети Интернет или по ежегодному информационному указателю "Национальные стандарты", который опубликован по состоянию на 1 января текущего года, и по выпускам ежемесячного информационного указателя "Национальные стандарты" за текущий год. Если ссылочный стандарт заменен (изменен), то при пользовании настоящим стандартом следует руководствоваться заменяющим (измененным) стандартом. Если ссылочный стандарт отменен без замены, то положение, в котором дана ссылка на него, применяется в части, не затрагивающей эту ссылку.
3.1 номинальный диаметр каната d: Диаметр каната, указываемый в обозначении каната.
3.2 фактический диаметр каната dm: Средняя величина, полученная от двух измерений диаметра каната, выполненных под углом 90° относительно друг друга по крайним наружным точкам каната.
3.3 базовый диаметр каната dref: Фактический диаметр каната, измеренный на участке каната, не подвергающемся изгибу (на блоках или барабане) сразу после первоначальной обкатки каната.
Примечание - Данный диаметр используется в качестве базового при последующих проверках состояния каната.
3.4 зона перехлеста: Часть каната (зона на канате), переходящая с одного слоя каната на другой при многослойной навивке каната на барабан.
3.5 оборот: Один оборот каната вокруг барабана.
3.6 бобина: Катушка с фланцами, предназначенная для перевозки и хранения проволочного каната.
3.7 периодическая проверка каната: Визуальный осмотр каната по всей его длине, совмещенный с измерительным контролем и, при необходимости, оценкой его внутреннего состояния.
3.8 компетентный специалист: Специалист, обладающий знаниями и опытом, достаточными для оценки состояния каната и принятия решения о возможности дальнейшей эксплуатации каната, а также назначения минимального интервала между проверками каната.
3.9 степень повреждения: Количественная оценка повреждения каната, выраженная в процентах от максимального допустимого значения повреждения.
Примечание - Данный показатель может относиться как к отдельному дефекту (например, оборванные наружные проволочки), так и к нескольким дефектам (например, оборванные проволочки и уменьшение фактического диаметра каната).
3.10 свободный конец каната: Конец каната, не закрепленный на барабане.
4. Уход и техническое обслуживание
Техническое обслуживание канатов должно осуществляться в соответствии с инструкцией по эксплуатации крана.
В случае отсутствия в технической документации указаний по уходу и техническому обслуживанию канатов, установленных на кране, следует руководствоваться положениями настоящего стандарта.
Отбракованный канат можно заменять только на канат, указанный в технической документации грузоподъемного механизма (т.е. совпадающий со старым по диаметру, типу, конструкции, минимальному разрывному усилию и длине). Крепление концов каната на грузоподъемном механизме можно осуществлять только способами, указанными производителем машины. При необходимости установки на механизм другого (альтернативного) каната и (или) изменения способа крепления каната, следует получить письменное разрешение от производителя крана, его представителя или организации, имеющей специальное разрешение в соответствии с законодательством государств, упомянутых в предисловии как проголосовавшие за принятие межгосударственного стандарта. Новые канаты должны быть снабжены сертификатом качества производителя. Устанавливать канат, не снабженный сертификатом качества, запрещается.
После замены каната в определенный раздел эксплуатационной документации следует внести соответствующую запись. Сертификат качества (или его копия) должен храниться вместе с эксплуатационными документами.
4.3. Разгрузка и хранение каната
4.3.1 Разгрузку бобины или бухты каната следует проводить таким образом, чтобы не повредить канат и его тару, с соблюдением всех требований безопасности, принятых на предприятии.
4.3.2 При разгрузке бобины или бухты канат следует предохранять от ударов, замятий и других воздействий, которые могут повредить канат.
4.3.3 Канаты следует хранить в неотапливаемом сухом помещении, не допуская контакта каната с полом. Не следует хранить канаты в помещениях с агрессивной средой и химикатами, пары которых могут вызвать коррозию.
4.3.4 При отсутствии сухого помещения канаты должны храниться таким образом, чтобы влага не вызывала коррозию.
4.3.5 При хранении в теплом помещении бобину следует периодически поворачивать на пол-оборота для предотвращения стекания смазки.
4.3.6 Канаты на складе должны регулярно проверяться на отсутствие возможных повреждений (например, образование поверхностной коррозии). При необходимости компетентный специалист может потребовать принять меры против образования коррозии. При обработке каната консервационной смазкой она должна быть совместимой с заводской.
4.4. Состояние каната до установки
4.4.1 До начала установки каната на грузоподъемную машину необходимо проверить канат:
- на наличие сертификата качества, выданного изготовителем каната;
- на соответствие каната сертификату и эксплуатационной документации грузоподъемной машины;
- на отсутствие видимых повреждений.
4.4.2 До начала установки каната на грузоподъемную машину необходимо проверить исправность барабана и блоков.
4.4.3 До начала установки каната на грузоподъемную машину необходимо замерить и записать фактический диаметр каната без нагрузки.
4.5.1 При разматывании с бобины и монтаже следует избегать спадания каната с бобины, образования петель и перекручивания каната, которые могут стать причиной образования заломов и смятия каната. Канат следует разматывать по прямой линии.
4.5.2 Канат, поставляемый в бухте, следует расположить на поворотном столе. В случае его небольшой длины, один конец каната можно оставить свободным, а бухту раскатать
(рисунок 1 а). Не следует разматывать бухту так, как показано на
рисунке 2 а.
а) Разматывание каната из бухты
б) Разматывание каната с бобины
Рисунок 1 - Правильные способы разматывания каната
а) Разматывание каната из бухты
б) Разматывание каната с бобины
в) Разматывание каната с бобины
Рисунок 2 - Неправильные способы разматывания каната
4.5.3 Канат, поставляемый на бобине, следует разматывать так, как показано на
рисунке 1 б. Не следует разматывать канат путем перекатывания бобины по земле
(рисунок 2 б). При разматывании каната с бобины ее следует располагать как можно дальше от барабана подъемного механизма, на который будет наматываться канат для того, чтобы максимально уменьшить угол схода каната и избежать нежелательного закручивания каната.
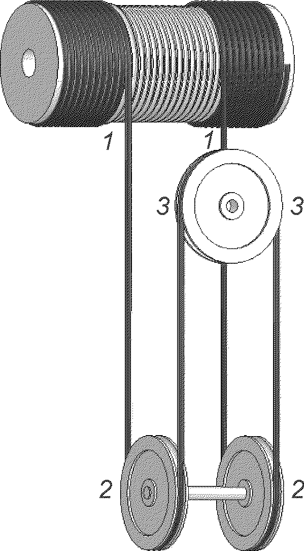
4.5.4 При разматывании каната с бобины следует учитывать, что вращающаяся бобина может обладать большой инерцией и при разматывании бобину потребуется притормаживать (рисунок 3).
Рисунок 3 - Многослойная навивка
каната с бобины на барабан лебедки
4.5.5 При навивке каната на барабан следует, по возможности, избегать изменения направления перегиба каната (т.е. если канат наматывается сверху барабана, то и бобину следует установить так, чтобы канат сматывался с ее верха, и наоборот) (рисунок 3).
4.5.6 При многослойной навивке каната на барабан, во время монтажа канат должен навиваться с некоторым натяжением, что достигается притормаживанием бобины
(рисунок 3).
4.5.7 При раскатывании каната следует избегать его контакта непосредственно с землей или покрытием пола для предотвращения попадания на него песка и других абразивных загрязнений.
4.5.8 В том случае, если от каната, находящегося на бобине, необходимо отрезать часть необходимой длины, для предотвращения расплетания канат следует обвязать мягкой проволокой с двух сторон от предполагаемого места реза
(рисунок 4). Отрезать канат с применением сварки не допускается.
L = 2d минимум
Рисунок 4 - Обвязка каната перед отрезанием
4.5.9 При навивке каната на барабан следует защищать канат от трения о металлоконструкции или любые другие части крана.
4.6. Приработка нового каната
4.6.1 До начала использования нового каната следует убедиться в том, что все устройства без опасности грузоподъемной машины исправны и правильно функционируют.
4.6.2 После замены изношенных грузовых, стреловых или других канатов, а также во всех случаях перепасовки канатов должна производиться проверка соответствия схемы запасовки и крепления концов канатов схеме, приведенной в эксплуатационной документации крана, а также обтяжка канатов грузом, соответствующим номинальной грузоподъемности крана с последующим выравниванием длин ветвей канатов (при необходимости).
4.6.3 Для правильной приработки каната рекомендуется несколько первых циклов работы грузоподъемного механизма выполнять на пониженной скорости и с грузом, на 10% меньшим номинальной грузоподъемности.
4.7. Техническое обслуживание каната
4.7.1 Техническое обслуживание канатов выполняют с учетом типа каната, типа крана, частоты его использования и условий окружающей среды. Периодичность технического обслуживания определяется руководством по эксплуатации крана.
4.7.2 Как правило, сокращение срока службы каната происходит из-за несвоевременного технического обслуживания. Периодичность технического обслуживания устанавливает компетентный специалист.
4.7.3 В течение всего срока эксплуатации канат должен своевременно смазываться (кроме несмазываемых канатов). Смазку следует накладывать до появления признаков отсутствия смазки. Особое внимание следует уделять отрезкам каната, наматываемым на барабан и проходящим через блоки.
4.7.4 Смазочный материал, используемый при техническом обслуживании, должен быть совместим с первоначальной (заводской) смазкой каната. При отсутствии в эксплуатационной документации рекомендаций по смазке каната следует получить соответствующую информацию у производителя каната.
4.7.5 Если канат используется в агрессивной или абразивной среде, частота технических обслуживаний должна быть увеличена.
4.7.6 При обнаружении отдельных порванных проволочек они должны быть удалены для того, что избежать травмирования людей и повреждения элементов крана. Оборванную проволочку удаляют путем ее многократных перегибов. Обламывание происходит в углублении между прядями каната
(рисунок 5). После удаления проволочки следует сделать запись о местоположении обрыва в эксплуатационной документации для облегчения последующей проверки.
Рисунок 5 - Удаление оборванной проволочки
4.7.7 При обнаружении недопустимого количества порванных проволочек вблизи крепления каната он может быть укорочен при условии, что отсутствуют недопустимые повреждения оставшейся части каната. Перед проведением этой операции необходимо убедиться в том, что канат (в остающейся части) не поврежден, а на барабане при самом низком положении грузозахватного органа остается достаточно запасных витков.
Контроль состояния канатов должен осуществляться в соответствии с руководством по эксплуатации крана.
В случае отсутствия в технической документации указаний по контролю канатов, установленных на кране, следует руководствоваться положениями настоящего стандарта.
5.2. Ежедневный визуальный осмотр
5.2.1 Ежедневно до начала работы канат должен быть осмотрен на предмет отсутствия видимых повреждений.
5.2.2 Ежедневный осмотр может проводить крановщик (оператор крана) при условии его достаточной подготовки.
5.2.3 При ежедневном осмотре следует осматривать всю рабочую длину каната. Особое внимание следует уделить зонам перегиба на блоках и барабанах, а также узлам закрепления концов каната. При многослойной навивке следует осмотреть зоны перехлеста каната на барабане. Зоны каната, требующие повышенного внимания, показаны на
рисунках 6.1 и
6.2.
1 - зона каната, навиваемая на барабан;
2 - зона каната на блоках грузозахватного органа;
3 - зона каната на уравнительном блоке
Рисунок 6.1 - Однослойная навивка каната на барабан
1 - зона каната, навиваемая на барабан, и зона перехлеста;
2 - зона каната на отклоняющем блоке;
3 - зона каната на блоке грузозахватного органа;
4 - узел крепления свободного конца каната
Рисунок 6.2 - Многослойная навивка каната на барабан
5.2.4 Следует проверить правильность навивки каната на барабане, а также проверить отсутствие препятствий и смещений при прохождении каната через блоки.
5.2.5 При изменении конфигурации крана (например, замене стрелового оборудования), а также при перемонтаже канат должен быть подвергнут визуальному осмотру.
5.2.6 При выявлении заметного ухудшения состояния каната работа грузоподъемного механизма должна быть прекращена, а канат подвергнут проверке в соответствии с требованиями раздела "Периодическая проверка".
5.3. Периодическая проверка
5.3.1 Общие положения
5.3.1.1 Периодические проверки выполняет компетентный специалист.
5.3.1.2 Результатом периодической проверки должно стать одно из следующих заключений:
- состояние каната удовлетворительное и его можно эксплуатировать до следующей периодической проверки; должен быть назначен срок следующей проверки;
- состояние каната обеспечивает безопасную эксплуатацию в течение определенного срока, после которого он должен быть заменен без дополнительных проверок;
- состояние каната неудовлетворительное, и работа машины должна быть немедленно прекращена до замены каната.
5.3.1.3 При оценке состояния каната должны использоваться соответствующие средства визуального и/или измерительного контроля.
5.3.1.4 Степень повреждений каната должна оцениваться либо в процентах от максимально допустимого повреждения (например, 20%, 50%, 100%), либо словами (например, легкая, средняя, очень высокая, выбраковка).
5.3.1.5 Обобщенный перечень видов повреждений и методов их оценки приведен в таблице 1. Примеры отдельных видов повреждений и дефектов каната приведены в
приложении А.
Таблица 1
Виды повреждений и способы оценки
Вид повреждения | Метод оценки |
Число видимых обрывов проволок (включая единичные обрывы, обрывы, сосредоточенные в одной зоне, обрывы во впадинах между прядями каната и обрывы в зоне крепления свободного конца каната) | Подсчет |
Уменьшение диаметра каната (в результате наружного износа, внутреннего износа и повреждения сердечника) | Измерения |
Перелом или разрыв пряди или нескольких прядей | Визуальный |
Коррозия (наружная, внутренняя и коррозия при трении) | Визуальный |
Деформация | Визуальный Измерения (только волнистость) |
Механическое повреждение | Визуальный |
Тепловое повреждение (включая следы электрического искрения) | Визуальный |
5.3.2 Частота периодических проверок
Частота проведения периодических проверок определяется руководством по эксплуатации крана и назначается исходя из следующего:
- национальными требованиями, принятыми в государстве использования грузоподъемного механизма;
- типа грузоподъемного механизма;
- режима использования грузоподъемного механизма;
- условий окружающей среды;
- срока использования каната;
- результатов предыдущих проверок;
- опыта эксплуатации канатов на аналогичных грузоподъемных механизмах.
Примечание 1 - Компетентный специалист может рекомендовать сократить срок между проверками в зависимости от условий и режима работы крана. Кроме того, на решение о сокращении срока между проверками могут повлиять особые обстоятельства (например, произошедший несчастный случай) или изменение режима работы крана (например, переход на работу с одной на две смены).
Примечание 2 - Как правило, обрывы проволочек начинают в большей степени появляться на последних стадиях жизненного цикла каната.
5.3.3 Объем периодической проверки
5.3.3.1 Канат должен быть осмотрен вдоль всей его длины. В случае слишком длинного каната может быть осмотрена только рабочая часть каната плюс не менее пяти витков, навитых на барабан. В том случае, если планируется изменение конфигурации крана и новая конфигурация требует увеличения рабочей длины каната, эта зона также должна быть осмотрена.
5.3.3.2 Особое внимание должно быть обращено на следующие участки (зоны каната):
- узел закрепления на барабане;
- узел закрепления свободного конца каната и участок каната вблизи от этого узла;
- участки каната, проходящие через блоки любого назначения, включая блоки полиспастов, грузозахватных органов, ограничителей нагрузки и тому подобные;
- для кранов, работа которых связана с подъемом и длительным удержанием груза в подвешенном состоянии - зоны перегиба каната на блоках под длительной нагрузкой;
- участки каната, проходящие через перематывающую лебедку;
- участок каната, навиваемый на барабан при однослойной и при многослойной навивке;
- участок каната, проходящий через канатоукладчик;
- участки каната, находящиеся в зонах перехлеста при навивке на барабан при многослойной навивке;
- участки каната, соприкасающиеся с неподвижными элементами (например, шторками, предохраняющими от попадания осадков в машинное отделение);
- участки каната, подвергающиеся тепловому воздействию.
5.3.3.3 При необходимости компетентный специалист может принять решение о необходимости осмотра внутренних слоев каната. Внутренний осмотр следует выполнять в соответствии с
приложением Б.
5.3.4 Проверка крепления свободного конца каната
5.3.4.1 При осмотре неразъемной заделки (например, при помощи обжимной втулки) при помощи острого предмета следует проверить отсутствие подвижных, ослабленных проволочек. Наличие таких проволочек может свидетельствовать об их обрыве под заделкой. Саму заделку следует проверить на отсутствие деформаций и износа.
5.3.4.2 Если в заделке использованы металлические коуши, их следует проверить на отсутствие трещин, а также на отсутствие явных следов проскальзывания каната по коушу.
5.3.4.3 Разборные узлы крепления каната (например, клиновые заделки) должны быть проверены на отсутствие обрывов проволочек на входе в узел, на отсутствие трещин в элементах узла.
5.3.4.4 Следует проверить правильность сборки узла клиновой заделки. При этом канат должен касаться наружной обоймы только в конической части. Остальная часть узла должна быть доступна для осмотра.
5.3.5 Запись результатов проверки
По результатам периодической проверки компетентный специалист должен произвести запись в эксплуатационной документации с указанием состояния каната (степени износа) и сроков выполнения следующей проверки. Результаты проверки могут быть оформлены протоколом, форма которого приведена в
приложении В. Все протоколы проверки канатов, в том числе отбракованных, должны сохраняться в месте для сбора статистических сведений эксплуатации канатов в условиях конкретной организации. На основании этих сведений компетентный специалист может принимать документально обоснованные решения по оценке работоспособности каната.
5.4. Проверка после инцидента
После произошедшего инцидента, в результате которого мог быть поврежден канат или его крепление, он должен быть подвергнут внеочередной проверке в объеме периодической проверки до пуска машины в эксплуатацию.
Примечание - При использовании на грузоподъемной машине двух канатов, при отбраковке одного каната, может потребоваться одновременная замена и второго из-за их различной вытяжки в процессе работы.
5.5. Проверка после длительного перерыва в работе
Если перерыв в работе грузоподъемной машины составил более 3 мес, он должен быть подвергнут внеочередной проверке в объеме периодической проверки до пуска машины в эксплуатацию.
5.6. Неразрушающий контроль
Если при эксплуатации крана в соответствии с руководством по эксплуатации или другой нормативной документацией требуется проверка каната средствами неразрушающего контроля, то первая проверка должна быть проведена как можно раньше - либо на заводе-изготовителе, либо сразу после начала эксплуатации каната. Результаты этой проверки должны быть сохранены в эксплуатационной документации и использованы для сравнения при последующих проверках.
6.1.1 Указания по выбраковке канатов должны содержаться в руководстве по эксплуатации крана.
В случае отсутствия в технической документации указаний по выбраковке канатов, установленных на кране, следует руководствоваться положениями настоящего стандарта.
Примечание - При отсутствии в технической документации крана специальных указаний по выбраковке неподвижных канатов (вантовых, стреловых, канатов оттяжки и т.п.) их выбраковка производится через каждые пять лет эксплуатации, независимо от состояния.
6.1.2 Степень повреждения каната чаще всего является результатом комбинации различных дефектов. Компетентный специалист должен оценивать степень повреждения каната исходя из комбинации дефектов. Описание одного из методов оценки повреждений приведено в
приложении Д.
6.1.3 В том случае, если выявлено ускоренное ухудшение состояния каната, необходимо выявить причины и, по возможности, их устранить. В крайнем случае компетентный специалист может принять решение об ужесточении критериев выбраковки или о выбраковке каната.
6.1.4 При выявлении дефектов на относительно небольшом участке каната компетентный специалист может принять решение о выбраковке только этого участка. Допускается при наличии технической возможности обрезать дефектный участок, уменьшив длину каната.
6.2. Видимые обрывы проволок
Критерии выбраковки канатов по количеству видимых обрывов проволочек приведены в таблице 2.
Таблица 2
Критерии выбраковки каната по количеству
видимых обрывов проволочек
N п/п | Характер обрыва проволочек | Критерий выбраковки |
1 | Обрывы проволочек на участках каната, проходящих через блоки и навивающиеся на барабаны с однослойной и многослойной навивкой <1> | См. таблицу 3 для канатов крестовой и односторонней свивки и таблицу 4 для некрутящихся канатов |
2 | Локально сгруппированные обрывы проволочек на участках каната, которые не сматываются и не навиваются на барабан | Если обрывы сгруппированы на одной или двух прядях, то канат может быть выбракован, даже если число обрывов меньше, чем указано в таблицах 3 и 4 |
3 | Обрывы проволочек в углублениях между прядями <2> | Два или более обрыва проволочек на длине свивки (эквивалентно длине около 6d) |
4 | Обрывы проволочек у крепления свободного конца каната | Два или более обрыва проволочек |
|
Рисунок 7 - Обрывы проволочек
в углублениях между прядями каната
6.2.1 Использование
таблиц 3 и
4 и номер категории каната
6.2.1.1 Номер категории каната RCN выбирается в соответствии с
приложением Е.
6.2.1.2 По выбранной категории RCN используют значения, приведенные в
таблице 3 на длине 6
d и 30
d. Если конструкция каната в
приложении Е отсутствует, следует определить суммарное число несущих проволочек в канате (суммарное количество наружных проволочек всех прядей за исключением заполняющих проволочек) и использовать значения, приведенные в таблице 3 на длине 6
d и 30
d для соответствующих условий использования.
Таблица 3
Предельно допустимое число видимых обрывов проволочек
для однослойных канатов и канатов параллельной свивки
| | ИС МЕГАНОРМ: примечание. Сноски в таблице даны в соответствии с официальным текстом документа. | |
| | | ГОСТ | Суммарное число несущих проволочек в наружных слоях прядей каната <1>, n | Число видимых обрывов наружных проволочек <2> |
Участки каната, огибающие стальные блоки и/или навиваемые на барабан в один слой (произвольное расположение обрывов) | Участки многослойной навивки на барабан <3> |
Класс использования механизма М1 ... М4 или класс использования не известен <4> | Класс использования механизма М5, М6, М7 и М8 | Все классы использования механизма |
Крестовая свивка | Односторонняя свивка | Крестовая свивка | Односторонняя свивка | Крестовая и односторонняя свивки |
на длине 6d | на длине 30d | на длине 6d | на длине 30d | на длине 6d | на длине 30d | на длине 6d | на длине 30d | на длине 6d | на длине 30d |
01 | 6 x 7(6/1) | | | n < 50 | 2 | 4 | 1 | 2 | 4 | 8 | 2 | 4 | 4 | 8 |
6 x 7(1 + 6) + 1 x 7(1 + 6) | ЛК-О | |
6 x 7(1 + 6) + 1 о. с. | ЛК-О | 3069 |
8 x 6(0 + 6) + 9 о. с. | ЛК-О | 3097 |
02 | 6 x 19(9/9/1) <*> | | | 51 < n < 75 | 3 | 6 | 2 | 3 | 6 | 12 | 3 | 6 | 6 | 12 |
6 x 19(1 + 9 + 9) + 1 о. с. | ЛК-О | |
6 x 19(1 + 9 + 9) + 7 x 7(1 + 6) <*> | ЛК-О | |
03 | 18 x 7(1 + 6) + 1 о. с. | ЛК-О | | 76 < n < 100 | 4 | 8 | 2 | 4 | 8 | 16 | 4 | 8 | 8 | 16 |
04 | 8 x 19(9/9/1) <*> | | | 101 < n < 120 | 5 | 10 | 2 | 5 | 10 | 19 | 5 | 10 | 10 | 20 |
6 x 19(12/6/1) | | |
6 x 19(12/6 + 6F/1) | | |
6 x 25FS(12/12/1) <*> | | |
6 x 19(1 + 6 + 6/6) + 7 x 7(1 + 6) | ЛК-Р | |
6 x 19(1 + 6 + 6/6) + 1 о. с. | ЛК-Р | |
6 x 25(1 +6; 6 + 12) + 1 о. с. | ЛК-З | |
6 x 25(1 + 6; 6 + 12) + 7 x 7(1 + 6) | ЛК-З | |
05 | 8 x 16(0 + 5 + 11) + 9 о. с. | ТК | 3097 | 121 < n < 140 | 6 | 11 | 3 | 6 | 11 | 22 | 6 | 11 | 12 | 22 |
06 | 8 x 19(12/6 + 6F/1) | | | 141 < n < 160 | 6 | 13 | 3 | 6 | 13 | 26 | 6 | 13 | 12 | 26 |
8 x 19(1 + 6 + 6/6) + 1 о. с. | | |
07 | 6 x 36(14/7 + 7/7/1) <*> | | | 161 < n < 180 | 7 | 14 | 4 | 7 | 14 | 29 | 7 | 14 | 14 | 28 |
6 x 30(0 + 15 + 15) + 7 о. с. | ЛК-О | 3083 |
6 x 36(1 + 7 + 7/7 + 14) + 1 о. с. <*> | ЛК-РО | |
6 x 36(1 + 7 + 7/7 + 14) + 7 x 7(1 + 6) <*> | ЛК-РО | |
08 | 6 x 31(1 + 6 + 6/6 + 12) + 1 о. с. | | | 181 < n < 200 | 8 | 16 | 4 | 8 | 16 | 32 | 8 | 16 | 16 | 32 |
6 x 31 (1 + 6 + 6/6 + 12) + 7 x 7(1 + 6) | | |
6 x 37(1 + 6 + 15 + 15) + 1 о. с. | ТЛК-О | |
09 | 6 x 41(16/8 + 8/8/1) <*> | | | 201 < n < 220 | 9 | 18 | 4 | 9 | 18 | 38 | 9 | 18 | 18 | 36 |
10 | 6 x 37(18/12/6/1) | | | 221 < n < 240 | 10 | 19 | 5 | 10 | 19 | 38 | 10 | 19 | 20 | 38 |
18 x 19(1 + 6 + 6/6) + 1 о. с. | ЛК-Р | 3088 |
11 | | | | 241 < n < 260 | 10 | 21 | 5 | 10 | 21 | 42 | 10 | 21 | 20 | 42 |
12 | | | | 261 < n < 280 | 11 | 22 | 6 | 11 | 22 | 45 | 11 | 22 | 22 | 44 |
13 | | | | 281 < n < 300 | 12 | 24 | 6 | 12 | 24 | 48 | 12 | 24 | 24 | 48 |
| | | | n > 300 | 0,04n | 0,08n | 0,02n | 0,04n | 0,08n | 0,16n | 0,04n | 0,08n | 0,08n | 0,16n |
Примечание - Для канатов, состоящих из прядей с количеством несущих проволочек 19 и меньше (например, конструкция 6 x 19), допустимое количество обрывов проволочек следует принимать как для каната на два номера RCN меньше. <1> Для целей настоящего стандарта принято, что заполняющие проволочки нагрузку не несут и в значении n не учитываются. <2> Оборванная проволочка имеет два конца и учитывается как одна проволочка. <3> Данные значения используются только для участков каната, навиваемых на барабан (дефекты, возникающие в зонах перехлеста, многослойной навивки и под действием угла схода каната на барабан), и не применимы к участкам каната, только огибающим блоки и не навиваемым на барабан. Для канатов конструкции с диаметром наружных проволок во внешних прядях, превышающим диаметр проволок нижележащих слоев, класс конструкции понижен и отмечен звездочкой. Незаполненные ячейки в графе "Конструкции канатов" означают отсутствие конструкций канатов с соответствующим числом проволок по ГОСТ. При появлении таких конструкций канатов, а также для канатов с общим числом проволок более 300 число обрывов проволок, при которых канат бракуется, определяется по формулам, приведенным в нижней строке таблицы, причем полученное значение округляется до целого в большую сторону. |
6.2.1.3 Если канат некрутящийся, по
приложению Е следует определить RCN и использовать значения согласно таблице 4 на длине 6
d и 30
d. Если конструкция каната в
приложении Е отсутствует, следует определить суммарное число несущих проволочек в канате (суммарное количество наружных проволочек всех прядей за исключением заполняющих проволочек) и использовать значения по таблице 4 на длине 6
d и 30
d для соответствующих условий использования.
Таблица 4
Предельно допустимое число видимых обрывов
проволочек для некрутящихся канатов
| Суммарное число несущих проволочек в наружных слоях прядей каната <1>, n | Число видимых обрывов наружных проволочек <2> |
Участки каната, огибающие стальные блоки и/или навиваемые на барабан в один слой (произвольное расположение обрывов) | Участки многослойной навивки на барабан <3> |
на длине 6d | на длине 30d | на длине 6d | на длине 30d |
21 | 4 пряди n < 100 | 2 | 4 | 2 | 4 |
22 | 3 или 4 пряди n > 100 | 2 | 4 | 4 | 8 |
| Не меньше 11 наружных прядей | | | | |
23-1 | 71 < n < 100 | 2 | 4 | 4 | 8 |
23-2 | 101 < n < 120 | 3 | 5 | 5 | 10 |
23-3 | 121 < n < 140 | 3 | 5 | 6 | 11 |
24 | 141 < n < 160 | 3 | 6 | 6 | 13 |
25 | 161 < n < 180 | 4 | 7 | 7 | 14 |
26 | 181 < n < 200 | 4 | 8 | 8 | 16 |
27 | 201 < n < 220 | 4 | 9 | 9 | 18 |
28 | 221 < n < 240 | 5 | 10 | 10 | 19 |
29 | 241 < n < 260 | 5 | 10 | 10 | 21 |
30 | 261 < n < 280 | 6 | 11 | 11 | 22 |
31 | 281 < n < 300 | 6 | 12 | 12 | 24 |
| n > 300 | 6 | 12 | 12 | 24 |
<1> Для целей настоящего стандарта принято, что заполняющие проволочки нагрузку не несут и в значении n не учитываются. <2> Оборванная проволочка имеет два конца и учитывается как одна проволочка. <3> Данные значения используются только для участков каната, навиваемых на барабан (дефекты, возникающие в зонах перехлеста, многослойной навивки и под действием угла схода каната на барабан), и не применимы к участкам каната, только огибающим блоки и не навиваемым на барабан. |
6.2.2 Обрывы проволочек, не связанные с нормальной эксплуатацией
6.2.2.1 Если разрыв проволочки произошел в результате небрежного транспортирования, монтажа и т.п. и разрывы единичные, такие обрывы не считают результатом эксплуатации и при оценке степени повреждения каната по
таблицам 3 и
4 могут не учитывать.
6.2.2.2 Информация о таких разрывах должна быть отмечена в эксплуатационной документации машины и учтена при проведении дальнейших проверок.
6.2.2.3 Если имеется вероятность повреждения элементов грузоподъемной машины выступающими концами оборванных проволок, они должны быть удалены, как показано на
рисунке 5.
6.2.3 Канаты кранов, предназначенных или используемых для подъема людей, для перемещения расплавленного или раскаленного металла, огнеопасных и ядовитых веществ, бракуют при вдвое меньшем числе обрывов проволок, чем указано в
таблице 3.
6.2.4 Канаты кранов, предназначенных или используемых для подъема людей, для перемещения расплавленного или раскаленного металла, огнеопасных и ядовитых веществ, бракуют при вдвое меньшем числе обрывов проволок, чем указано в
таблице 3.
| | ИС МЕГАНОРМ: примечание. Текст дан в соответствии с официальным текстом документа. | |
6.2.5 Канаты кранов, предназначенных или используемых для подъема людей, для перемещения расплавленного или раскаленного металла, огнеопасных и ядовитых веществ, бракуют при вдвое меньшем числе обрывов проволок, чем указано в
таблице 3.
6.3. Уменьшение диаметра каната
6.3.1 Равномерное уменьшение диаметра каната по всей его длине
6.3.1.1 Критерии для определения степени повреждения каната от равномерного уменьшения диаметра по всей его длине приведены в таблице 5. Они не применимы к участкам каната, которые деформируются при многослойной навивке каната и в зонах перехлеста.
Таблица 5
Предельно допустимое равномерное уменьшение диаметра каната
Тип каната | Равномерное уменьшение каната в диаметре (% от номинального диаметра) | Степень повреждения |
Описание | % |
Однослойный канат с органическим сердечником | Менее 6% | - | 0 |
От 6% до 7% | Малая | 20 |
От 7% до 8% | Средняя | 40 |
От 8% до 9% | Высокая | 60 |
От 9% до 10% | Очень высокая | 80 |
10% и более | Выбраковка | 100 |
Однослойный канат со стальным сердечником или канат односторонней свивки | Менее 3,5% | - | 0 |
От 3,5% до 4,5% | Малая | 20 |
От 4,5% до 5,5% | Средняя | 40 |
От 5,5% до 6,5% | Высокая | 60 |
От 6,5% до 7,5% | Очень высокая | 80 |
7,5% и более | Выбраковка | 100 |
Некрутящийся канат | Менее 1% | - | 0 |
От 1% до 2% | Малая | 20 |
От 2% до 3% | Средняя | 40 |
От 3% до 4% | Высокая | 60 |
От 4% до 5% | Очень высокая | 80 |
5% и более | Выбраковка | 100 |
6.3.1.2 За исходный диаметр принимают базовый диаметр каната dref, измеренный сразу после обтяжки каната.
6.3.1.3 Расчет величины уменьшения диаметра каната производят по формуле
((dref - dm)/d)·100%.
6.3.1.4 Пример оценки величины уменьшения диаметра каната
Канат 6 x 36-
I WRC с номинальным диаметром 40 мм и базовым диаметром 41,2 мм, при проверке фактический диаметр составил 39,5 мм. Уменьшение диаметра составило [(41,2 - 39,5)/40]·100% = 4,25%. По данным
таблицы 5, это соответствует малой степени повреждения или 20% от максимально допустимого уменьшения диаметра. Для данного каната выбраковку должны осуществить при уменьшении базового диаметра на 7,5%, то есть на 3 мм до фактического диаметра 38,2 мм.
6.3.1.5 Местное уменьшение диаметра каната
При выявлении местного уменьшения диаметра каната, вызванного повреждением сердечника или внутренних прядей, канат должен быть немедленно выбракован. Пример дефекта показан на
рисунке А.3.
6.3.2 Уменьшение диаметра наружных проволочек
При выявлении уменьшения диаметра внешних проволочек на 40% и более вследствие износа
(рисунок А.10) или коррозии (
рисунки А.11 и
А.12), канат должен быть выбракован.
При выявлении разрыва пряди канат должен быть немедленно выбракован.
6.5.1 При оценке степени коррозии предварительно необходимо очистить канат от посторонних загрязнений и убедиться в том, что окислен (корродирован) сам канат.
6.5.2 Степени повреждения каната, а также критерии выбраковки приведены в таблице 6.
Таблица 6
Степень повреждения каната от коррозии
Тип коррозии | Состояние | |
| Окисление поверхности, которое может быть удалено протиркой | Низкая - 0% |
При касании руками чувствуется шероховатость поверхности проволочек | Высокая - 60% |
На поверхности проволочек явно выраженная язвенная коррозия, проволочки ослаблены <3> | Выбраковка - 100% |
| Явно видимые признаки внутренней коррозии - т.е. частицы окисленного металла, выдавливаемые из углублений между наружными прядями <5> | Выбраковка - 100% или (по требованию компетентного специалиста) выполняется проверка внутреннего состояния каната в соответствии с приложением Б |
Коррозия при трении | Процесс трения сухих проволочек и прядей между собой вызывает образование мелких окисленных частиц металла, выглядящих как мелкий порошок красного цвета (цвет оксида металла) <5> | Корродированный канат следует внимательно проверить. При возникновении сомнений в степени повреждения, канат следует выбраковать (100%) |
<2> Для промежуточных состояний оценку степени повреждения следует учитывать для оценки общего состояния каната. <3> При оценке степени повреждения канатов с цинковым покрытием следует учитывать, что степень повреждения таких канатов может оказаться ниже, чем у канатов без покрытия. <5> Оценка внутренней коррозии является субъективной, в случае какого-либо сомнения в отношении степени повреждения внутренней коррозией канат следует забраковать. |
Примечание - Увеличение диаметра каната может быть результатом внутренней коррозии или коррозии при трении.
6.6.1 Общие положения
6.6.1.1 Видимое изменение формы и/или отклонение от прямолинейности вызывает перераспределение нагрузок в канате. Любое изменение формы каната является повреждением, и его степень должна быть оценена компетентным специалистом.
6.6.1.2 Канат, имеющий степень повреждения выше указанной в данном разделе, должен быть немедленно выбракован.
6.6.2 Волнистость
- на прямом участке каната, не проходящем через блоки или не навиваемом на барабан, расстояние g между линейкой и нижней частью наружной пряди составляет 1/3 d или более;
- на прямом участке каната, проходящем через блоки или навиваемом на барабан, расстояние g между линейкой и нижней частью наружной пряди составляет 1/10 d или более.
Рисунок 8 - Волнистость каната
6.6.3 Корзинообразная деформация
Канаты с корзинообразной деформацией
(рисунок А.9) должны быть выбракованы. Допускается при наличии технической возможности обрезать дефектный участок, уменьшив длину каната.
6.6.4 Выдавливание сердечника или пряди
Канаты с выдавленным сердечником или прядью (
рисунки А.2 и
А.4) должны быть выбракованы. Допускается, при наличии технической возможности, обрезать дефектный участок, уменьшив длину каната.
Некрутящийся канат с выдавленной внутренней частью
(рисунок А.15) должен быть выбракован.
6.6.5 Выдавливание проволочки из пряди
Канаты с группами выдавленных проволочек из пряди (обычно дефект встречается на стороне каната, противоположной касающейся канавки блока) должны быть выбракованы
(рисунок А.1).
В том случае, если из пряди выдавлена одна проволочка, канат разрешено использовать при условии, что проволочка может быть удалена, а элементам крана, контактирующим с канатом, не будут наноситься повреждения.
6.6.6 Местное увеличение диаметра каната
При увеличении диаметра каната со стальным сердечником более чем на 5%, а каната с органическим сердечником - более чем на 10%, необходимо установить причину изменения диаметра и в предельном случае канат выбраковать
(рисунок А.16).
Примечание - Увеличение диаметра каната может происходить на достаточно большой длине вследствие, например, разбухания органического сердечника от избытка влаги. Такой дефект приводит к изменению расположения прядей и перераспределению в них нагрузок.
6.6.7 Сплющивание (пережатие каната)
Сплющенные (пережатые) части каната (
рисунки А.5 и
А.18) при прохождении через блоки или навивке на барабан выходят из строя быстрее, и на этих участках возникает большее количество обрывов проволочек. Кроме того, сердечник каната в таких местах больше подвержен воздействию влаги, а сам канат больше подвержен коррозии.
Канат может быть оставлен в эксплуатации при условии, что количество обрывов проволочек и изменение диаметра не превышают указанных в настоящем стандарте, а интервалы между проверками будут уменьшены.
6.6.8 Перекручивание, раскручивание или перегиб каната
Перекрученные (или раскрутившиеся) канаты, а также канаты с перегибом должны быть выбракованы (
рисунки А.6,
А.7,
А.17).
6.6.9 Заломы и искривления каната
Заломы и искривления каната (
рисунки А.20,
А.21) являются результатом внешних воздействий на канат.
Участки каната, проходящие через блоки или навиваемые на барабан с таким повреждением, должны быть немедленно выбракованы, если имеются обрывы проволочек. Если вмятина на канате обнаружена на стороне, обращенной к блоку или барабану, канат должен быть выбракован, даже если этот участок не проходит через блок или барабан.
В остальных случаях оценку степени повреждения и решение о выбраковке каната принимает компетентный специалист.
6.6.10 Повреждения от нагрева или электрического разряда
Повреждения от нагрева или электрического разряда могут определять по наличию цветов побежалости на проволочках и отсутствию в этих местах смазки. Такие канаты должны быть выбракованы.
Канат должен быть выбракован, если под локальный электрический разряд попало две или более проволочки.
(справочное)
Рисунок А.1 - Выдавливание проволочки из пряди
Рисунок А.2 - Выдавливание сердечника
Рисунок А.3 - Местное уменьшение диаметра каната
Рисунок А.4 - Выдавливание пряди
Рисунок А.5 - Сплющивание (пережатие каната)
Рисунок А.6 - Перекручивание каната
Рисунок А.7 - Раскручивание каната
Рисунок А.8 - Волнистость каната
Рисунок А.9 - Корзинообразная деформация
Рисунок А.10 - Износ наружных проволочек
Рисунок А.11 - Наружная коррозия
Рисунок А.12 - Наружная коррозия
Если на участке контроля у оборванной проволоки обнаружен только один конец, а ответный конец оборванной проволоки отсутствует, то данный дефект соответствует одному обрыву.
Если на участке контроля у оборванной проволоки в наличии два конца, то данный дефект соответствует одному обрыву.
Если на участке контроля одна из проволок имеет двукратное нарушение целостности, данный дефект суммарно соответствует одному обрыву.
Рисунок А.13 - Обрывы проволочек
на наружной образующей пряди
Рисунок А.14 - Обрывы проволочек
в углублениях между прядями
Рисунок А.15 - Некрутящийся канат
с выдавленной внутренней частью
Рисунок А.16 - Местное увеличение диаметра
Рисунок А.17 - Перегиб каната
Рисунок А.18 - Сплющивание (пережатие каната)
Рисунок А.19 - Внутренняя коррозия
Рисунок А.20 - Залом каната
Рисунок А.21 - Искривление каната
(справочное)
МЕТОДИКА ПРОВЕРКИ ВНУТРЕННЕГО СОСТОЯНИЯ КАНАТА
Б.1 Общие положения
Б.1.1 Решение о проверке внутреннего состояния каната принимает компетентный специалист. Как правило, такое решение принимают по результатам визуального осмотра при появлении сомнения в отсутствии повреждений внутренней части каната.
Б.1.2 Проверку внутреннего состояния каната следует выполнять с осторожностью таким образом, чтобы не повредить канат.
Б.1.3 Проверку внутреннего состояния следует выполнять на полностью разгруженном канате. Удобнее всего растянуть проверяемый канат по земле.
Б.1.4 Следует учитывать, что некоторые типы канатов не могут быть проверены описываемым способом.
Примечание - Опыт проверки внутреннего состояния каната можно получить, используя старый, выбракованный канат, который можно расплести.
Б.1.5 При проверке внутреннего состояния каната предпочтительнее использовать неразрушающие методы контроля.
Б.2 Методика проверки
Б.2.1 Проверка прямолинейного участка каната
Б.2.1.1 Закрепить два зажима
(рисунок Б.1) и отметить их положение. Зажимы должны отвечать следующим требованиям:
- размер захватов должен позволять зажать канат без его деформации;
- материал зажимов должен препятствовать проскальзыванию каната.
Возможно использование вставок, например изготовленных из кожи.
Рисунок Б.1 - Прямолинейный участок каната
Б.2.1.2 Повернуть захваты в противоположном свивке каната направлении таким образом, чтобы канат раскрылся. При этом следует соблюдать осторожность с тем, чтобы не допустить чрезмерного смещения прядей.
Б.2.1.3 Для удаления частиц окислов, загрязнений и смазки, мешающих осмотру, можно использовать остроконечный зонд.
Б.2.1.4 При осмотре следует выявить:
- степень коррозии каната;
- деформации и износ внутренних проволочек;
- обрывы внутренних проволочек наружных и внутренних прядей, сердечника и центральных проволочек;
- состояние органического сердечника;
- состояние внутренней смазки каната.
Б.2.1.5 Перед закрытием каната следует смазать внутреннюю полость каната.
Б.2.1.6 Канат следует закрывать осторожно, таким образом, чтобы пряди ложились на свое место. По окончании закрытия зажимы должны оказаться в первоначальном положении.
Б.2.1.7 По окончании проверки после снятия зажимов канат следует смазать.
Б.2.2 Проверка участка каната вблизи узла крепления свободного конца
Проверка участка каната вблизи узла крепления свободного конца отличается от проверки каната на прямолинейном участке тем, что используется только один зажим
(рисунок Б.2).
Рисунок Б.2 - Участок каната
вблизи узла крепления свободного конца
(рекомендуемое)
РЕКОМЕНДУЕМЫЕ ФОРМЫ ПРОТОКОЛОВ ПРОВЕРКИ
В.1 Протокол единовременной проверки
Информация о грузоподъемном механизме | Информация о использовании каната (механизм, режим работы, условия окружающей среды и т.п.) |
Информация о канате | |
Торговая марка (при наличии) | |
Номинальный диаметр, мм | |
Конструкция | |
| IWRC | FC | WSC |
| Без покрытия | Гальваническое |
Направление и тип свивки <1> | (левая) | sZ | zZ | Z | (правая) | zS | sS | S |
Допустимое число видимых обрывов наружных проволочек на длине | 6d | 30d |
Базовый диаметр, мм | |
Допустимое уменьшение диаметра от базового, мм | |
Дата установки (дд. мм. гггг) | Дата выбраковки (дд. мм. гггг) |
Видимые обрывы наружных проволочек | Диаметр | Коррозия | Повреждения и/или деформация | Расположение на канате | Общая оценка степени повреждений <2> |
Количество на длину | Степень повреждения | Фактический диаметр, мм | Фактическое уменьшение диаметра, мм | Степень повреждения | Степень повреждения | Характер | Степень повреждения |
6d | 30d | 6d | 30d |
| | | | | | | | | | | |
| | | | | | | | | | | |
| | | | | | | | | | | |
<2> Описать степень повреждений (легкая, средняя, высокая, очень высокая, выбраковка). |
Дополнительная информация/комментарии специалиста
Характеристика использования каната на день проверки (циклы/часы/дни
и т.п.)
Дата проверки (дд. мм. гггг)
ФИО компетентного специалиста Подпись
В.2 Протокол периодических проверок
Грузоподъемный механизм, на котором установлен канат | Дата установки каната день/месяц/год | Информация о канате |
| Номинальный диаметр, мм | Торговая марка | | | Направление и тип свивки <2> |
Назначение каната | | | | WRC | | Без покрытия | Цинк/гальваническое | Правая: | Левая: |
Конструкция | FC | | sZ | | zS | |
Дата выбраковки каната день/месяц/год | WSC | | zZ | | sS | |
Z | | S | |
Крепления каната | | Допустимое число видимых обрывов проволочек | Базовый диаметр _______________ мм | Допустимое уменьшение в диаметре от базового диаметра ________ мм |
на длине 6d ________ | на длине 30d _______ |
Дата инспекции день/месяц/год | Видимые обрывы проволок | Диаметр | Коррозия | Повреждение и деформации | Общая оценка, т.е. суммарная степень повреждения <3> | Фамилия и подпись квалифицированного специалиста |
Число на длине | Позиция на канате | | Измеренный диаметр, мм | Фактическое уменьшение от базового диаметра, мм | Позиция на канате | | Позиция на канате | | Позиция на канате и описание | |
6d | 30d | 6d | 30d | 6d | 30d |
| | | | | | | | | | | | | | | | |
| | | | | | | | | | | | | | | | |
| | | | | | | | | | | | | | | | |
<2> Отметить необходимое. <3> Описать степень повреждения: легкая 20%, средняя 40%, высокая 60%, очень высокая 80% или выбраковка 100%. |
(справочное)
ОБЩИЕ СООБРАЖЕНИЯ ОТНОСИТЕЛЬНО ПОЯВЛЕНИЯ
ДЕФЕКТОВ КАНАТОВ И КРИТЕРИЕВ ИХ ВЫБРАКОВКИ
Г.1 Обрывы проволочек
Г.1.1 Наиболее часто встречающийся вид дефекта - это обрывы проволочек, произвольно располагающиеся вдоль всей длины каната.
У канатов однослойной и многослойной односторонней свивки обрывы проволочек располагаются чаще всего на внешней части наружных прядей и обычно совпадают с зонами износа.
У некрутящихся канатов большее количество обрывов проволочек может находиться на внутренних прядях, и их визуальное обнаружение затруднено. По этой причине допустимое число обрывов проволочек некрутящихся канатов меньше, чем для стандартных (см.
таблицы 3 и
4).
Если запасовка каната такова, что основной причиной появления обрывов проволочек является усталость от изгиба и их количество зависит от количества циклов работы механизма, следует учитывать, что скорость появления обрывов со временем начинает резко увеличиваться. Поэтому проверки следует начинать заранее и учитывать скорость появления обрывов проволочек.
Г.1.2 Зоны перехлеста при многослойной навивке на барабан
Как показывает практика, наибольшее количество обрывов проволочек при многослойной навивке встречается в зонах перехлеста. При проведении проверок эти зоны требуют повышенного внимания.
Г.1.3 Локализованные обрывы
Оценить допустимое количество обрывов проволочек в случае их расположения на ограниченном участке одной пряди довольно сложно. При этом такие локальные участки могут повторяться по длине каната. В подобных случаях решение о допустимом количестве обрывов должен принять компетентный специалист. Это количество в любом случае должно быть меньше, чем указано в
таблицах 3 и
4.
Г.1.4 Обрывы проволочек в углублениях между прядями
При выявлении обрыва проволочки в углублении между прядями данный участок каната подлежит детальному осмотру. У канатов малого диаметра такие обрывы можно обнаружить, согнув полностью разгруженный канат.
При обнаружении двух или более подобных обрывов можно сделать вывод о том, что внутренняя структура каната и/или сердечник повреждены и канат подлежит выбраковке.
Г.2 Уменьшение диаметра каната
Г.2.1 Внешний износ
Внешний износ может быть равномерным по всей длине каната, а может быть локальным - на отдельных участках. Причиной износа является контакт каната с барабаном и блоками, а при многослойной навивке - контакт витков каната между собой (особенно в зонах перехлеста).
Если износ каната неравномерен по длине, то следует выявить и по возможности устранить причину такого износа.
Причиной износа также могут стать недостаточная смазка, использование в качестве смазки несоответствующего смазочного материала, а также условия окружающей среды (например, абразивная пыль).
Причиной уменьшения диаметра могут стать также внутренние дефекты каната:
- износ или вдавливание внутренних проволочек;
- внутренний износ, вызванный трением между внутренними прядями и проволочками (особенно если канат многократно перегибается на блоках);
- повреждение или разрыв металлического или органического сердечника;
- разрыв внутренних прядей некрутящихся канатов.
При оценке состояния каната следует учитывать, что уменьшение эффективной площади сечения ведет к уменьшению его несущей способности.
Г.3 Коррозия
В первую очередь коррозия возникает при работе каната на открытом воздухе (особенно в морском климате) и в химически агрессивных средах.
При оценке степени повреждения следует учитывать, что снижение несущей способности каната происходит не только за счет уменьшения эффективной площади сечения, но и за счет появления дефектов (мелких впадин) на поверхности проволочек которые становятся концентраторами напряжения. Сильная коррозия может также стать причиной потери гибкости каната.
Чаще всего внутренняя и внешняя коррозия появляются одновременно. Однако в некоторых случаях при визуальном осмотре, внутренняя коррозия не выявляется. При наличии признаков внутренней коррозии такой канат должен быть подвергнут проверке методами неразрушающего контроля.
Г.4 Деформации и повреждения
Г.4.1 Волнистость
Волнистость - это деформация каната, при которой продольная ось каната на прямолинейных участках перестает быть прямой под нагрузкой и без нее.
Волнистость каната сама по себе может не снижать прочность каната, однако деформации вызывают перераспределение нагрузок в канате и могут вызвать повышенный износ и обрывы проволочек.
Волнистость каната также может повлиять на состояние оборудования - блоков, подшипников и т.п.
Г.4.2 Корзинообразная деформация
Корзинообразная деформация может стать результатом несовпадения длины каната и его сердечника.
Одна из возможных причин - сдвиг прядей под действием трения, например о реборду барабана или блока, при слишком большом угле набегания каната (трение о реборду вызывает раскручивание наружных прядей каната больше, чем раскручивание сердечника).
Другая причина образования деформации - слишком узкий ручей блока (при прохождении такого ручья наружные пряди каната сжимаются и становятся длиннее внутренних прядей или сердечника).
Со временем разница длин внешних прядей и сердечника накапливается в одном месте каната и появляется корзинообразная деформация.
Г.4.3 Выдавливание сердечника или пряди
Фактически выдавливание сердечника или пряди (чаще всего у некрутящихся канатов) является частным случаем корзинообразной деформации, при которой разница в длине сердечника (или внутренней пряди) и наружных прядей становится слишком большой.
Г.4.4 Выдавливание проволочки из пряди
Чаще всего выдавливаются проволочки, расположенные на поверхности каната противоположной поверхности, соприкасающейся с ручьем блока или барабана.
Г.4.5 Увеличение диаметра каната
Увеличение диаметра каната происходит из-за нарушения внутреннего состояния каната - разбухания органического сердечника под действием влаги или из-за внутренней коррозии (накопления частиц ржавчины внутри каната).
Г.4.6 Сплющивание каната
Сплющенные участки каната, проходя через блок, быстро выходят из строя, так как на них увеличивается скорость появления обрывов проволочек. Кроме того, сплющенные участки каната могут повредить блок, через который они проходят.
Г.4.7 Повреждения от нагрева или электрического разряда
Повреждения от нагрева или электрического разряда могут определяться по наличию цветов побежалости на проволочках и отсутствию в этих местах смазки.
Г.4.8 Уменьшение гибкости каната
Уменьшение гибкости каната чаще всего происходит под действием окружающей среды. Потеря гибкости может привести к невозможности использования каната.
О потере гибкости каната могут свидетельствовать:
- уменьшение диаметра каната;
- увеличение длины каната;
- отсутствие зазоров между прядями и/или проволочками;
- наличие в углублениях между прядями и/или проволочками мелкого коричневого порошка (результат коррозии при трении);
- уменьшение диаметра каната в большей степени, чем это может быть в результате износа отдельных проволочек;
- заметная жесткость каната при работе с ним.
(справочное)
МЕТОД ОЦЕНКИ ВЛИЯНИЯ НА СТЕПЕНЬ ПОВРЕЖДЕНИЯ
КАНАТА КОМБИНАЦИИ НЕСКОЛЬКИХ ДЕФЕКТОВ
Д.1 Несмотря на то что основная причина выбраковки каната - наличие недопустимого количества оборванных проволочек, чаще всего причиной ухудшения его состояния является комбинация нескольких факторов. Например, на канате одновременно могут быть выявлены как обрывы проволочек, так и равномерный износ по всей длине, а также следы коррозии. В связи с этим компетентный специалист при проверке каната обязан оценить "комбинированное влияние" дефектов. Он должен:
- учесть наличие различных видов дефектов, особенно при обнаружении их на одном и том же участке каната;
- оценить "комбинированное влияние" различных дефектов на канат;
- принять решение о возможности продолжения работы каната или его выбраковке, а также о необходимости уменьшения интервалов между проверками.
Д.2 Пример метода оценки степени повреждения каната
Порядок действий при этом методе следующий:
Д.2.1 Проверить канат и записать тип и величину повреждения, а также месторасположение каждого выявленного дефекта (например, количество обрывов проволочек на длине 6d, уменьшение каната в диаметре в мм и степень коррозии).
Д.2.2 Установить степень повреждения каждого выявленного дефекта и записать в процентах от предельных значений износа.
Д.2.3 Суммировать проценты степени повреждения в том случае, если дефекты выявлены на одном участке каната (возможно также определить степень повреждения словами "легкая", "средняя", "высокая", "очень высокая", "выбраковка" (см. примеры в таблице Д.1).
Таблица Д.1
Примеры степени повреждения каната
Пример | Степень повреждения по отдельным видам дефектов | Суммарная степень повреждения, % | Примечание |
Количество обрывов проволочек | Уменьшение диаметра каната, % | Наружная коррозия, % |
1 | 0 | 20 | 20 | 40 | Безопасно для продолжения эксплуатации |
2 | 20 | 20 | 0 | 40 | Безопасно для продолжения эксплуатации |
3 | 20 | 20 | 20 | 60 | Безопасно для продолжения эксплуатации |
4 | 40 | 20 | 20 | 80 | Более частые проверки |
5 | 40 | 40 | 0 | 80 | Более частые проверки |
6 | 0 | 80 | 0 | 80 | Рассмотреть возможность выбраковки, если уменьшение в диаметре в основном связано с наружным износом |
7 | 60 | 0 | 0 | 60 | Более частые проверки (особенно обрывов проволочек) |
8 | 60 | 20 | 0 | 80 | Более частые проверки (особенно обрывов проволочек) и подготовка нового каната для замены |
При данном методе оценки повреждений следует исходить из того, что дефекты возникают и накапливаются постепенно. Поэтому наличие нескольких "средних" дефектов менее опасно, чем наличие одного, но серьезного. Например, наличие на одном и том же участке каната обрывов проволочек со степенью повреждения 40% и увеличения диаметра со степенью повреждения 40% (суммарно 80%) менее опасно, чем наличие обрывов проволочек со степенью повреждения 80%.
При оценке состояния каната при многослойной навивке на барабан не следует учитывать равномерное уменьшение диаметра каната.
Д.3 Вышеприведенный метод является достаточно простым, но не единственным способом оценки состояния каната. Компетентный специалист может использовать собственный способ оценки исходя из опыта проверок и эксплуатации канатов на однотипных грузоподъемных механизмах.
Д.4 Примеры оценки степени повреждения каната
Д.4.1 Пример 1
Канат sZ 6 x 36WS-IWRC диаметром 22 мм, установленный на механизме подъема мостового крана (группа классификации режима работы М4) с однослойной навивкой каната на барабан.
Из данных
таблицы 3 получаем предельное количество оборванных проволочек: 9 обрывов на длине 6
d и 18 обрывов - на длине 30
d. Обнаружено два обрыва проволочек на длине 6
d (но не более 18 обрывов - на длине 30
d), что соответствует степени повреждения 20%. По
таблице 5 определяем предельно возможное уменьшение диаметра каната - 7,5% от номинального диаметра составляет 1,65 мм. Базовый диаметр равен 22,6 мм, фактический диаметр на момент проверки составил 21,8 мм. Уменьшение диаметра в процентах от номинального составляет ((22,6 - 21,8)/22) x 100 3,6%. По
таблице 5 определяем степень повреждения в 20%. Учитывая то, что оба дефекта находятся на одном участке каната, суммарный уровень его повреждения составляет 40%.
Д.4.2 Пример 2
Канат sZ 18 x 7-WSK диаметром 22 мм, установленный на механизме подъема мостового крана (группа классификации режима работы М4) с однослойной навивкой каната на барабан.
Из данных
таблицы 4 получаем предельное количество оборванных проволочек: два обрыва на длине 6
d и четыре обрыва - на длине 30
d. Обнаружен один обрыв (но не более четырех обрывов - на длине 30
d) проволочки на длине 6
d, что соответствует степени повреждения 50%. По
таблице 5 определяем предельно возможное уменьшение диаметра каната - 5% от номинального диаметра составляет 1,1 мм. Базовый диаметр равен 22,6 мм, фактический диаметр на момент проверки составил 21,8 мм. Уменьшение диаметра в процентах от номинального составляет ((22,6 - 21,8)/22) x 100 = 3,6%. По
таблице 5 определяем степень повреждения в 60%. Учитывая, что оба дефекта находятся на одном участке каната, суммарный уровень его повреждения составляет 110%, т.е. канат должен быть выбракован.
Д.4.3 Пример 3
Канат zZ 6 x 25F-IWRC диаметром 22 мм, установленный на механизме подъема стрелы гусеничного стрелового крана (группа классификации режима работы М4) с многослойной навивкой каната на барабан.
Из данных
таблицы 3 получаем предельное количество оборванных проволочек: 10 обрывов на длине 6
d. Обнаружено семь обрывов проволочек на длине 6
d (но не более 20 на длине 30
d), что соответствует степени повреждения 70%.
Уменьшение диаметра каната в зоне многослойной навивки каната во внимание не принимают.
Суммарный уровень повреждения каната составляет 70%.
(обязательное)
ВИДЫ ПОПЕРЕЧНЫХ СЕЧЕНИЙ КАНАТОВ
И СООТВЕТСТВУЮЩИЕ ИМ КАТЕГОРИИ КАНАТА (RCN)
Конструкция: 6 x 7-FC Однослойная свивка | Конструкция: 6 x 19S-IWRS Однослойная свивка |
RCN.01 | RCN.02 |
Конструкция: 6 x 19M-WSC Однослойная свивка | Конструкция: 6 x 25F-IWRC Однослойная свивка |
RCN.04 | RCN.04 |
Конструкция: 6 x 25TS-IWRC Однослойная свивка | Конструкция: 6 x 36WS-IWRC Однослойная свивка |
RCN.04 | RCN.09 |
Конструкция: 6 x 41WS-IWRC Однослойная свивка | Конструкция: 6 x 37M-IWRC Однослойная свивка |
RCN.11 | RCN.10 |
Конструкция: 8 x 19S-IWRC Однослойная свивка | Конструкция: 8 x 25F-IWRC Однослойная свивка |
RCN.04 | RCN.06 |
Конструкция: 8 x 19S-PWRC Параллельная свивка | Конструкция: 8 x K26WS-IWRC Однослойная свивка со сжатыми прядями |
RCN.09 | RCN.09 |
| Конструкция: 4 x K26WS Однослойная свивка со сжатыми прядями, некрутящийся |
RCN.22 |
Конструкция: 6 x K26WS-IWRC Однослойная свивка со сжатыми прядями | Конструкция: 6 x K36WS-IWRC Однослойная свивка со сжатыми прядями |
RCN.06 | RCN.09 |
Конструкция: 6 x K26WS-PWRC Параллельная свивка со сжатыми прядями | Конструкция: 18 x K19S-WSC или 19 x K19S некрутящийся канат со сжатыми прядями |
RCN.09 | RCN.26 |
| Конструкция: 4 x 29F Однослойная свивка, некрутящийся |
RCN.21 |
Конструкция: K3 x 40 Сжатый (деформированный) однослойной свивки/некрутящийся со сжатыми (деформированными) прядями | Конструкция: K3 x 40 Сжатый (деформированный) однослойной свивки/некрутящийся со сжатыми (деформированными) прядями |
RCN.22 | RCN.22 |
Конструкция: K3 x 48 Сжатый (деформированный) однослойной свивки/некрутящийся со сжатыми (деформированными) прядями | Конструкция: K4 x 48 Сжатый (деформированный) однослойной свивки/некрутящийся со сжатыми (деформированными) прядями |
RCN.22 | RCN.22 |
Конструкция: 17 x 7-FC некрутящийся | Конструкция: 18 x 7-WSC или 19 x 7-WSC некрутящийся |
RCN.23-1 | RCN.23-1 |
Конструкция: 34(W) x 7-WSC или 35(W) x 7 некрутящийся | Конструкция: 12 x P6:3 x Q24 некрутящийся (Paragon) |
RCN.23-2 | RCN.23-1 |
Конструкция: 39(W) x 7-WSC некрутящийся | Конструкция: 34(W) x K7-WSC сжатый, некрутящийся со сжатыми прядями |
RCN.23-3 | RCN.23-2 |
Конструкция: 39(W) x 7-K WSC некрутящийся со сжатыми прядями | |
RCN.23-3 |
(справочное)
ПО ОЦЕНКЕ СТЕПЕНИ ПОВРЕЖДЕНИЯ КАНАТА ОТ КОРРОЗИИ
Рисунок Ж.1 - Начало окисления каната (следы коррозии).
Коррозию можно удалить протиркой. Степень повреждения - 0%
Рисунок Ж.2 - Поверхность проволочек шероховатая,
коррозия распределена равномерно по длине каната.
Степень повреждения - 20%
Рисунок Ж.3 - Поверхность проволочек сильно поражена
окислением, равномерно по длине каната.
Степень повреждения - 60%
Рисунок Ж.4 - Поверхность проволочек сильно поражена
точечной коррозией, язвочки на проволочках, ослабленные
проволочки, просветы между проволочками.
Степень повреждения - 100% - выбраковка каната
| ISO 4301-1:1986 | Cranes and lifting appliances; Classification; Part 1: General Краны и подъемные устройства. Классификация. Часть 1. Общие положения |
| ISO 17893:2004 | Steel wire ropes - Vocabulary, designation and classification Канаты из стальной проволоки. Словарь, обозначение и классификация |