Краткое наименование страны по МК (ИСО 3166) 004-97 | Код страны по МК (ИСО 3166) 004-97 | Сокращенное наименование национального органа по стандартизации |
Армения | AM | Минэкономики Республики Армения |
Киргизия | KG | Кыргызстандарт |
Россия | RU | Росстандарт |
Таджикистан | TJ | Таджикстандарт |
Узбекистан | UZ | Узстандарт |
Термин | Определение | Схема |
Кран грузоподъемный (E) Crane | Машина цикличного действия, предназначенная для подъема и перемещения в пространстве груза, подвешенного с помощью крюка или удерживаемого другим грузозахватным органом | - |
Система управления краном (E)* | Комплекс устройств, предназначенных для преобразования и передачи команд крановщика (оператора крана) аппаратам или механическим устройствам непосредственного управления механизмами крана или командоаппаратам автоматического управления | - |
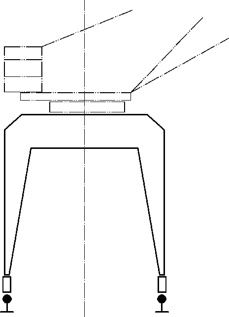
1.1.1 Кран мостового типа (E) Overhead type crane | Кран, грузозахватный орган которого подвешен к грузовой тележке, тали или стреловому крану, перемещающимся по несущим элементам конструкции (мосту) | - |
1.1.1.1 Кран мостовой (E) Overhead traveling crane | Кран мостового типа, мост которого опирается непосредственно на рельсы кранового пути | ![]() |
1.1.1.2 Кран козловой (E) Portal bridge crane | Кран мостового типа, мост которого опирается на крановый путь или пневмоколесный ход с помощью двух опорных стоек | ![]() |
1.1.1.3 Кран полукозловой (E) Semi-portal bridge crane | Кран мостового типа, мост которого опирается непосредственно на крановый путь с одной стороны, а с другой - с помощью опорной стойки | ![]() |
1.1.2 Кран кабельного типа (E) Cable type crane | Кран, грузозахватный орган которого подвешен к грузовой тележке, перемещающейся по несущим канатам, закрепленным на двух опорах | - |
1.1.2.1 Кран кабельный (E) Cable crane | Кран кабельного типа, несущими элементами которого являются канаты, закрепленные в верхней части опорных мачт | ![]() |
1.1.2.2 Кран кабельный козловой (E) Portal cable crane | Кран кабельного типа, несущими элементами которого являются канаты, закрепленные на концах моста, установленного на опорных стойках | ![]() |
(E) Jib type crane | Кран, грузозахватный орган которого подвешен к стреле или тележке, перемещающейся по стреле | - |
1.1.3.1 Кран портальный (E) Portal slewing crane | Кран стрелового типа передвижной, поворотный на портале, предназначенном для пропуска железнодорожного или автомобильного транспорта | ![]() |
1.1.3.2 Кран полупортальный (E) Semi-portal slewing crane | Кран стрелового типа передвижной, поворотный, на полупортале, предназначенном для пропуска железнодорожного или автомобильного транспорта | ![]() |
(E) Mobile crane | Кран стрелового типа поворотный, у которого стрела или башенно-стреловое оборудование закреплены на поворотной платформе и который может перемещаться с грузом или без груза, не требуя специальных путей | - |
(E) Tower crane | Кран стрелового типа поворотный со стрелой, закрепленной в верхней части вертикально расположенной башни | ![]() |
(E) Railway crane | Кран стрелового типа, смонтированный на железнодорожной платформе, передвигающейся по железнодорожному пути | ![]() |
(E) Floating crane | Кран стрелового типа на самоходном или несамоходном понтоне, предназначенном для его установки | - |
1.1.3.7 Кран стреловой судовой (E) Deck crane | Кран стрелового типа поворотный, установленный на борту судна и предназначенный для его загрузки и разгрузки | ![]() |
1.1.3.8 Кран мачтовый (E) Derrick crane (mast crane) | Кран стрелового типа поворотный, со стрелой, закрепленной шарнирно у основания мачты, имеющей нижнюю и верхнюю опоры | - |
1.1.3.8.1 Кран мачтовый вантовый (E) Guy-derrick crane | Кран мачтовый с закреплением верха мачты посредством канатных оттяжек - вантов | ![]() |
1.1.3.8.2 Кран мачтовый жестконогий (E) Rigid-braced derrick crane | Кран мачтовый с закреплением верха мачты посредством жестких тяг | ![]() |
1.1.3.9 Кран консольный (E) Cantilever crane | Кран стрелового типа, грузозахватный орган которого подвешен к жестко закрепленной стреле (консоли) с неизменяемым углом наклона к горизонту или тележке, перемещающейся по стреле (консоли) | - |
1.1.3.9.1 Кран консольный на колонне (E) Pillar jib crane | Кран консольный, вращающийся на колонне, основание которой прикреплено к фундаменту, либо прикрепленный к колонне, которая может вращаться в подпятнике, размещенном в фундаменте | ![]() |
1.1.3.9.2 Кран настенный (E) Wall crane | Кран консольный, прикрепленный к стене либо перемещающийся по надземному крановому пути, закрепленному на стене или несущей конструкции | ![]() |
1.1.3.9.3 Кран велосипедный (E) Walking crane | Кран консольный, перемещающийся по наземному однорельсовому крановому пути и удерживаемый верхней направляющей | ![]() |
1.1.3.10 Кран стреловой (E) Jib crane | - | |
1.1.3.11 Кран оффшорный (E) Offshore cran | Поворотный кран стрелового типа (1.1.3), стационарно установленный на плавучих сооружениях и (или) платформах для разведки, бурения и добычи нефти и газа, предназначенный для передачи грузов и персонала с морских судов и барж | - |
1.1.3.12 Кран погрузочный (E) loader crane | Грузоподъемная машина с силовым приводом, включающая в себя рабочее оборудование (крановую установку) и монтажную базу и предназначенная для подъема и перемещения груза в пространстве, в основном для загрузки и разгрузки монтажной базы. Примечание - В качестве монтажной базы могут использоваться транспортные средства: грузовой автомобиль, прицеп, а также трактор, тягач и т.п. Крановая установка, как правило, включает в себя колонну, которая может вращаться относительно монтажной базы, и стреловую систему, прикрепленную к колонне. | ![]() |
1.2.1 Кран крюковой (E) Hook crane | Кран, оборудованный грузозахватным органом в виде крюка | ![]() |
1.2.2 Кран грейферный (E) Grabbing crane | Кран, оборудованный грузозахватным органом в виде грейфера | ![]() |
1.2.3 Кран магнитный (E) Magnet crane | Кран, оборудованный грузозахватным органом в виде электромагнита | ![]() |
1.2.4 Кран контейнерный (E) Container handling crane | Кран, оборудованный спредером, предназначенный для транспортировки контейнеров | ![]() |
1.2.5 Кран с траверсой (E)* | Кран, оборудованный траверсой, предназначенный для транспортировки длинномерных или специальных грузов | |
1.3.1 Кран стационарный (E) Fixed base crane | Кран, закрепленный на фундаменте или на другом неподвижном основании | ![]() |
1.3.2 Кран самоподъемный (E) Climbing crane | Кран, установленный на конструкциях возводимого сооружения и перемещающийся вверх при помощи собственных механизмов по мере возведения сооружения | ![]() |
1.3.3 Кран переставной (E) Portable crane | Кран, неподвижно устанавливаемый при работе и перемещаемый с места на место вручную или при помощи других механизмов | ![]() |
1.3.4 Кран радиальный (E) Radial crane | Кран, имеющий возможность перемещения по круговому рельсу относительно одной стационарной опоры | |
1.3.5 Кран передвижной (E) Travelling crane | Кран, имеющий возможность передвижения при работе | - |
1.3.5.1 Кран самоходный (E) Self-propelled crane | Кран передвижной, оборудованный механизмом для передвижения при работе и транспортировке | - |
1.3.5.2 Кран прицепной (E) Trailer crane | Кран передвижной, не оборудованный механизмом для передвижения и перемещаемый в прицепе за тягачом (буксиром) | ![]() |
1.4.1 Кран ручной (E) Manual crane | Кран с ручным приводом механизма подъема | - |
1.4.2 Кран электрический (E) Electric crane | Кран с электрическим приводом механизмов | - |
1.4.2.1 Кран дизель-электрический (E)* | Кран с электрическим приводом механизмов, имеющий собственную генераторную установку с дизельным приводом | - |
1.4.3 Кран гидравлический (E) Hydraulic crane | Кран с гидравлическим приводом механизмов | - |
1.4.4 Кран пневматический (E)* | Кран с пневматическим приводом механизмов | - |
1.5.1 Кран поворотный (E) Slewing crane | Кран, имеющий возможность вращения (в плане) поворотной части вместе с грузом относительно опорной части крана | - |
1.5.1.1 Кран неполноповоротный (E) Limited slewing crane | Кран поворотный, имеющий возможность вращения поворотной части от одного крайнего положения до другого на угол менее 360° | ![]() |
1.5.1.2 Кран полноповоротный (E) Full-circle slewing crane | Кран поворотный, имеющий возможность вращения поворотной части от одного крайнего положения до другого на угол 360° и более | ![]() |
1.5.2 Кран неповоротный (E) Non-slewing crane | Кран, не имеющий возможности вращения груза (в плане) относительно опорной части | ![]() |
1.6.1 Кран, управляемый из кабины (E) Cab-operated crane | Кран, движения которого управляются крановщиком (оператором крана) с помощью органов управления, расположенных в кабине, прикрепленной к крану | - |
1.6.2 Кран, управляемый с пола (E) Floor-operated crane | Кран, управляемый крановщиком (оператором крана) с пола с помощью подвесного пульта или средств беспроводной связи | - |
1.6.2.1 Кран, управляемый с помощью подвесного пульта (E) Pendant-operated crane | Кран, управляемый с помощью подвесного пульта, который подвешивается на кране и соединяется кабелем с системами управления приводов механизмов крана | - |
1.6.3 Кран, управляемый дистанционно | Кран, который управляется с помощью средств, расположенных на расстоянии от крана | - |
1.6.3.1 Кран, управляемый дистанционно, с помощью средств беспроводной связи (E) Cableless remote operated crane | Кран, который управляется командами оператора, передаваемыми без каких-либо проводных средств соединений между пультом управления и краном | - |
1.6.3.2 Кран, управляемый дистанционно, с помощью средств проводной связи (E) Cable remote operated crane | Кран, который управляется командами оператора, передаваемыми с помощью проводных средств соединений между пультом управления и краном | - |
2.1.1 Момент грузовой M = Q·L (E) Load moment | Произведение значений грузоподъемности Q и соответствующего ей вылета L | ![]() |
2.1.2 Момент грузовой опрокидывающий M = A·Q (E) Load tipping moment | Произведение значений вылета от ребра опрокидывания A и соответствующей ему грузоподъемности Q | ![]() |
2.1.3 Конструктивная масса Gk (E) Design mass | Масса крана без балласта и противовеса в незаправленном состоянии, то есть без топлива, масла, смазочных материалов и воды. Для стреловых кранов принимается в сборе с основной стрелой и противовесом в незаправленном состоянии | - |
2.1.4 Общая масса крана G0 (E) Total mass | Полная масса крана в заправленном состоянии с балластом и противовесом | - |
2.1.5 Давление колеса P (E) Wheel load | Значение наибольшей вертикальной нагрузки, передаваемое одним ходовым колесом на крановый путь или на основание | ![]() |
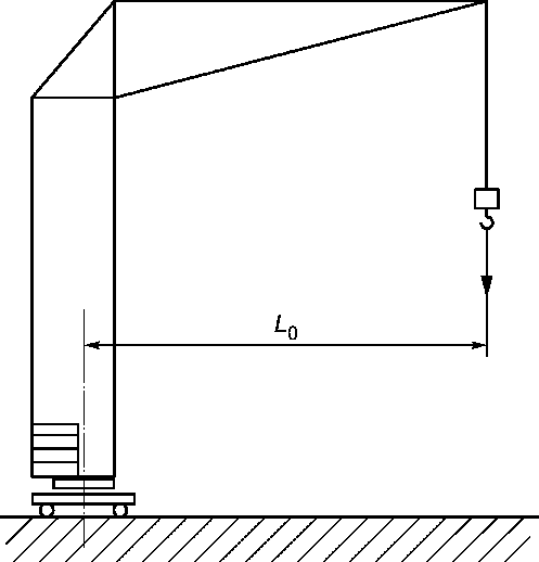
2.2.1 Вылет стрелы L (E) Radius | Расстояние по горизонтали от оси вращения поворотной части до вертикальной оси грузозахватного органа при установке крана на горизонтальной площадке | ![]() |
2.2.1.1 Вылет проектный (ссылочный) L0 (E)* | Расстояние по горизонтали от оси вращения поворотной части до вертикальной оси грузозахватного органа без нагрузки при установке крана на горизонтальной площадке | ![]() |
2.2.1.2 Вылет рабочий L1 (E)* | Расстояние по горизонтали от оси вращения поворотной части до вертикальной оси грузозахватного органа под нагрузкой при установке крана на горизонтальной площадке | ![]() |
2.2.2 Вылет от ребра опрокидывания A (E) Outreach to tipping axis A | Расстояние по горизонтали от ребра опрокидывания до вертикальной оси грузозахватного органа при установке крана на горизонтальной площадке. Примечание 1 - Обозначение вылета без нагрузки на крюке - A0 (вылет проектный от ребра опрокидывания). Примечание 2 - Обозначение вылета под нагрузкой - A1 (вылет рабочий от ребра опрокидывания). | ![]() |
2.2.3 Вылет консоли (E) Outreach from rail | Наибольшее расстояние по горизонтали от оси рельса, ближайшего к консоли, до оси грузозахватного органа, расположенного на консоли | ![]() |
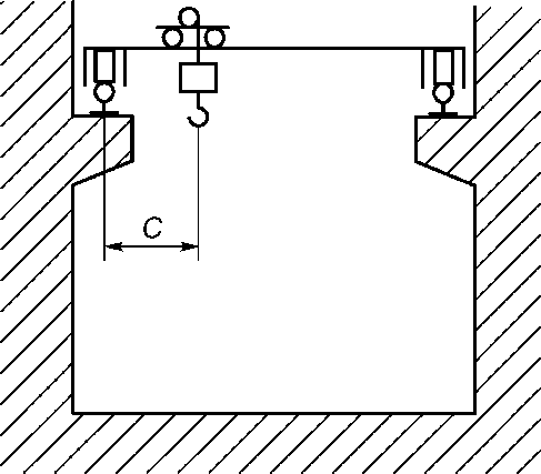
2.2.4 Подход C (E) Hook approach | Минимальное расстояние по горизонтали от оси кранового рельса до вертикальной оси грузозахватного органа | ![]() |
2.2.4.1 Подход вертикальный C1 (E)* | Расстояние по вертикали от грузозахватного органа, находящегося в верхнем рабочем положении до уровня головки рельса (у опорных кранов) или до нижней полки рельса (у подвесных кранов) | - |
2.2.4.2 Подход к краю консоли (E)* | Наименьшее расстояние по горизонтали от конца консоли до оси грузозахватного органа | - |
2.2.5 Габарит задний r (E) Tail radius | Наибольший радиус поворотной части крана со стороны, противоположной стреле | ![]() |
2.2.6 Габарит боковой крана (E)* | Расстояние по горизонтали от крайней точки ходовой тележки (балки) до продольной оси подкранового рельса | - |
2.2.7 Габарит вдоль кранового пути (E)* | Расстояние между проекциями крайних по ходу движения точек крана на продольную ось кранового пути | - |
2.2.8 Габарит приближения (E) Crane clearance line | Пространство, определяемое условиями безопасности при работе крана вблизи сооружений, из пределов которого может выходить лишь грузозахватный орган при выполнении рабочих операций | ![]() |
2.2.9 Высота подъема H (E) Load-lifting height | Расстояние по вертикали от уровня стоянки до грузозахватного органа, находящегося в крайнем верхнем положении: для крюков - до нижней точки зева; для вил - до их рабочей поверхности; для прочих грузозахватных органов - до их нижней точки (в замкнутом положении). Примечание - Для мостовых кранов высота подъема принимается от уровня пола. Высота подъема определяется без нагрузки при установке крана на горизонтальной площадке | ![]() |
2.2.10 Глубина опускания h (E) Load-lowering height | Расстояние по вертикали от уровня стоянки крана до грузозахватного органа, находящегося в нижнем рабочем положении: для крюков - до нижней точки зева; для вил - до их рабочей поверхности; для прочих грузозахватных органов - до их нижней точки (в замкнутом положении). Для мостовых кранов глубина опускания принимается от уровня пола. Глубина опускания определяется без нагрузки при установке крана на горизонтальной площадке | ![]() |
2.2.11 Диапазон подъема D (E) Lifting range | Расстояние по вертикали между верхним и нижним рабочими положениями грузозахватного органа | ![]() |
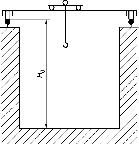
2.2.12 Высота кранового пути H0 (E) Crane track height | Расстояние по вертикали от уровня пола (земли) до уровня головок рельсов кранового пути | ![]() |
2.3.1 Скорость подъема (опускания) груза Vn (E) Load-lifting (-lowering) speed | Скорость вертикального перемещения груза массой, соответствующей грузоподъемности Q, в установившемся режиме движения | ![]() |
2.3.2 Скорость посадки Vm (E) Precision load-lowering speed | Наименьшая скорость опускания груза массой, соответствующей грузоподъемности Q, при монтаже или укладке в установившемся режиме движения | ![]() |
2.3.3 Скорость поворота (E) Slewing speed | Угловая скорость вращения поворотной части крана в установившемся режиме движения. Примечание - Определяется при наибольшем вылете с грузом массой, соответствующей номинальной грузоподъемности, при установке крана на горизонтальной площадке и скорости ветра не более 3 м/с на высоте 10 м. | ![]() |
2.3.4 Скорость передвижения крана Vk (E) Travelling speed | Скорость передвижения крана в установившемся режиме движения. Определяется при передвижении крана по горизонтальному пути с грузом массой, соответствующей грузоподъемности Q, и при скорости ветра не более 3 м/с на высоте 10 м | ![]() |
2.3.5 Скорость передвижения тележки Vt (E) Crab traversing speed | Скорость передвижения грузовой тележки в установившемся режиме движения. Примечание - Определяется при движении тележки по горизонтальному пути с грузом массой, соответствующей грузоподъемности Q, и при скорости ветра не более 3 м/с на высоте 10 м. | ![]() |
2.3.6 Скорость изменения вылета Vr (E) Derricking speed | Средняя скорость горизонтального перемещения груза в установившемся режиме движения. Примечание - Определяется при изменении вылета от наибольшего до наименьшего при установке крана на горизонтальном пути и скорости ветра не более 3 м/с на высоте 10 м. | ![]() |
2.3.7 Время изменения вылета t (E) Derricking time | Время, необходимое для изменения вылета от наибольшего до наименьшего. Примечание - Определяется при изменении вылета под нагрузкой, равной номинальной грузоподъемности для наибольшего вылета при установке крана на горизонтальном пути при скорости ветра не более 3 м/с на высоте 10 м. | - |
2.3.8 Скорость транспортная V0 (E) Transport (road) speed | Наибольшая скорость передвижения крана в транспортном положении, обеспечиваемая собственным приводом или при буксировке | ![]() |
2.3.9 Время рабочего цикла (E) Operation cycle time | Время, затрачиваемое на осуществление одного рабочего цикла | - |
2.3.10 Скорость инспекции Vs (E) Inspection speed | Пониженная скорость постоянной величины, обеспечивающая возможность контроля состояния (инспекции) канатов и крановых узлов | - |
2.4.1 Уровень стоянки крана (E) Crane datum level | Горизонтальная поверхность основания или поверхность головок рельсов, на которую опирается неповоротная часть крана. Примечание - Для кранов, у которых опоры расположены на разной высоте, уровень стоянки крана определяется по нижней опоре крана. | ![]() |
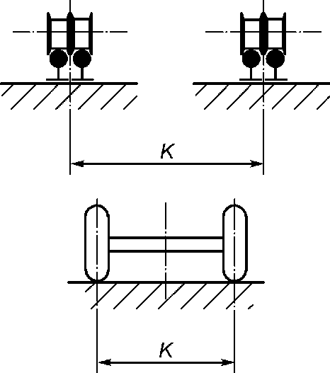
2.4.2 Пролет крана S (E) Span | Расстояние по горизонтали между осями рельсов кранового пути для кранов мостового типа | ![]() |
2.4.3 Колея крана K (E) Track centers | Расстояние по горизонтали между осями рельсов или колее (гусениц) ходовой части крана | ![]() |
2.4.4 Колея тележки KТ (E) Track centers | Расстояние между осями рельсов для передвижения тележки | ![]() |
2.4.5 База b (E) Base | Продольное расстояние между осями опор крана (тележки) | ![]() |
2.4.6 База выносных опор b0 (E) Base on outriggers | Расстояние между вертикальными осями выносных опор, измеренное по продольной оси крана | ![]() |
2.4.7 Расстояние между выносными опорами K0 (E) Distance between outriggers | Расстояние между вертикальными осями выносных опор, измеренное поперек продольной оси крана | ![]() |
2.4.8 Уклон пути i (E) Gradient | Уклон, на котором допускается работа крана, определяют отношением i = h/b, выраженным в процентах, соответствующим разности уровней двух точек пути, находящихся на расстоянии b, равном базе крана. Примечание - Значение разности уровней измеряется при отсутствии нагрузки на данный участок пути. | ![]() |
2.4.9 Уклон преодолеваемый j (E) Gradeability | Уклон пути j = h/b, выраженный в процентах, преодолеваемый краном с постоянной транспортной скоростью | ![]() |
2.4.10 Контур опорный (E) Support contour | Контур, образуемый горизонтальными проекциями прямых линий, соединяющих вертикальные оси опорных элементов крана (колес или выносных опор) | ![]() |
2.4.11 Радиус закругления rc (E) Track curvature radius | Наименьший радиус закругления оси внутреннего рельса на криволинейном участке пути | ![]() |
2.4.12 Наименьший радиус поворота rmin (E) Minimum turning radius | Радиус окружности, описываемый внешним передним колесом крана при изменении направления движения | ![]() |
2.5.1 Группа классификации крана (режима работы) (E) Classification group | Характеристика крана, учитывающая его использование по грузоподъемности и времени, а также число циклов работы | - |
2.5.2 Рабочий цикл (E)* | Совокупность операций от момента подъема груза до готовности к подъему следующего груза | - |
2.5.3 Характерный технологический цикл (ХТЦ) работы крана (E)* | Типичная для условий эксплуатации крана траектория движения грузозахватного органа, включающая полный цикл работы крана. Для конкретного крана на основании наблюдений может быть установлен один или несколько ХТЦ | - |
2.5.4 Конфигурация крана (E) Configuration | Комбинация и положение элементов конструкции (противовесов, положение опор и/или выносных опор, запасовки каната механизма подъема и других основных элементов крана), собранных, установленных и смонтированных на кране в соответствии с инструкцией изготовителя | - |
3.1.1 Подъем (опускание) груза (E) Lifting (lowering) of load | Вертикальное перемещение груза | ![]() |
3.1.2 Посадка груза (E) Precision load-lowering | Опускание груза с наименьшей скоростью при его монтаже или укладке | ![]() |
3.1.3 Подъем (опускание) стрелы (E) Derricking (luffing) | Угловое движение стрелы в вертикальной плоскости | ![]() |
3.1.4 Изменение вылета (E) Change in radius | Перемещение грузозахватного органа путем подъема, опускания или телескопирования стрелы или путем передвижения грузовой тележки | ![]() |
3.1.4.1 Горизонтальный ход груза (E) Level luffing | Изменение вылета, осуществляемое подъемом стрелы, при котором груз автоматически перемещается по траектории, близкой к горизонтали | ![]() |
3.1.5 Передвижение крана продольное (E) Travelling | Перемещение всего крана в рабочем положении вдоль кранового пути | ![]() |
3.1.6 Передвижение поперечное (E) Traversing | Перемещение грузовой тележки по мосту, несущему канату, стреле или консоли перпендикулярно крановому пути | ![]() |
3.1.7 Поворот (вращение) (E) Slewing | Угловое движение поворотной части крана мостового или стрелового типа в горизонтальной плоскости | ![]() |
3.1.8 Телескопирование (E) Telescoping | Выдвижение одной или большего количества секций из базовой секции стрелы или башни для увеличения ее длины или высоты | - |
3.2.1 Устойчивость крана (E) Crane stability | Способность крана противодействовать опрокидывающим моментам | - |
3.2.2 Устойчивость грузовая (E) Stability under working conditions | Способность крана противодействовать опрокидывающим моментам, создаваемым весом груза, силами инерции, ветровой нагрузкой рабочего состояния и другими факторами | - |
3.2.3 Устойчивость собственная (E) Stability under no-load condition (crane assembled) | Способность крана противодействовать опрокидывающим моментам, создаваемым ветровой нагрузкой нерабочего состояния и другими факторами | - |
3.3.1 Испытания статические (E) Static tests | Испытания крана путем статического приложения нагрузки к грузозахватному органу, на X% превышающей максимальную грузоподъемность крана или соответствующий максимальный грузовой момент | - |
3.3.2 Испытания динамические (E) Dynamic tests | Испытания крана путем выполнения рабочих движений под нагрузкой, на Y% превышающей максимальную грузоподъемность крана или соответствующий максимальный грузовой момент | - |
3.3.3 Испытания на устойчивость (E) Stability test | Испытания крана путем статического приложения нагрузки к грузозахватному органу, на Z% превышающей номинальную грузоподъемность крана в положении наименьшей расчетной устойчивости | - |
4.1 Механизм подъема (E) Hoisting mechanism | Приводное устройство для подъема и опускания груза | ![]() |
4.2 Механизм главного подъема (E)* | Механизм подъема, рассчитанный на максимальную грузоподъемность крана, имеющего несколько механизмов подъема различной грузоподъемности | - |
4.3 Механизм вспомогательного подъема (E)* | Механизм подъема, рассчитанный на грузоподъемность меньшую, чем у механизма главного подъема, на кране, имеющем несколько механизмов подъема различной грузоподъемности | - |
4.4 Механизм передвижения крана (E) Crane travel mechanism | Приводное устройство для передвижения крана | - |
4.5 Механизм передвижения тележки или тали (E) Crab or hoist traverse mechanism | Приводное устройство для передвижения грузовой тележки или тали | ![]() |
4.6 Механизм изменения вылета (E) Derricking mechanism | Приводное устройство для изменения вылета путем изменения угла наклона стрелы и (или) гуська либо передвижения грузовой тележки или тали по стреле | ![]() |
4.7 Механизм выдвижения (телескопирования) стрелы (E)* | Приводное устройство для изменения длины стрелы крана | - |
4.8 Механизм поворота (E) Slewing mechanism | Приводное устройство для вращения поворотной части крана в горизонтальной плоскости | - |
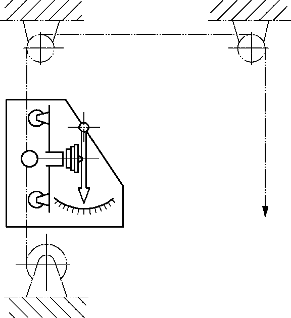
4.9 Лебедка (E) Winch | Механизм, тяговое усилие которого передается посредством гибкого элемента (каната, цепи) от приводного барабана, например, барабанная лебедка, лебедка с канатоведущими шкивами, шпилевая лебедка | ![]() |
4.10 Таль (E) Hoist | Грузоподъемный механизм, все основные элементы которого (привод, редуктор, канатный барабан или зубчатая звездочка, тормоз и т.д.) смонтированы в одном корпусе, снабженном механизмом передвижения или без него | ![]() |
4.11 Ходовое устройство (E) Undercarriage | Основание стрелового или башенного крана для установки поворотной платформы или башни крана, включающее приводное устройство для передвижения крана | - |
4.12 Портал (E) Portal | Несущая конструкция, опирающаяся посредством стоек на крановый путь или другое основание и предназначенная для пропуска железнодорожного или автомобильного транспорта | ![]() |
4.12.1 Полупортал (E) Semi-portal | Несущая конструкция, опирающаяся с одной стороны непосредственно, а с другой - посредством стоек на крановый путь и предназначенная для пропуска железнодорожного или автомобильного транспорта | ![]() |
4.13 Тележка ходовая балансирная (E) Bogie | Опорная конструкция, оборудованная колесами или катками, имеющая шарнирное соединение для равномерной передачи нагрузок на колеса или катки | ![]() |
4.14 Мост (E) Bridge | Несущая конструкция кранов мостового типа, предназначенная для движения по ней грузовой тележки, или конструкция между опорами козлового или полукозлового крана | - |
4.15 Тележка грузовая (E) Crab (trolley) | Конструкция, предназначенная для перемещения подвешенного груза по мосту, стреле или несущему канату | |
4.16 Поворотная часть крана (E)* | Часть крана, поворачивающаяся с подвешенным грузом вокруг вертикальной оси относительно неповоротной части | - |
4.17 Неповоротная часть крана (E)* | Часть крана, неподвижная при его работе и передающая внешние нагрузки на грунт или иное основание | - |
4.18 Платформа поворотная (E) Rotating platform | Поворотная конструкция крана для размещения механизмов | ![]() |
4.19 Опорно-поворотное устройство (опорно-поворотный круг) (E) Slewing ring | Узел для передачи нагрузок (грузового момента, вертикальных и горизонтальных сил) от поворотной части крана на неповоротную; он может также включать зубчатый венец для вращения крана | - |
4.20 Башня (E) Tower | Вертикальная конструкция крана, поддерживающая стрелу и (или) поворотную платформу и обеспечивающая необходимую высоту расположения опоры стрелы | ![]() |
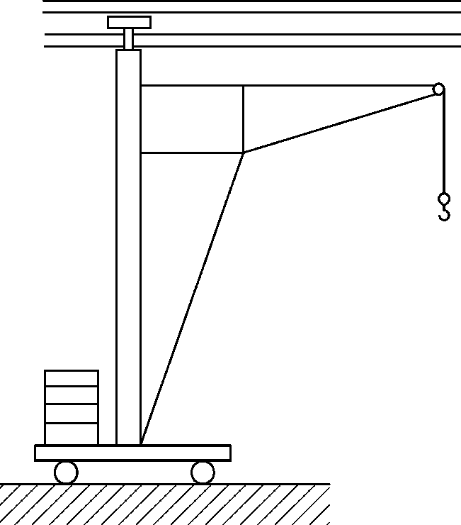
4.21 Колонна (E) Pillar | Вертикальная конструкция, поддерживающая поворотную стрелу с рабочим грузом и обеспечивающая необходимую высоту подъема | ![]() |
4.22 Стрела (E) Jib (boom) | Конструкция крана, обеспечивающая необходимое значение вылета и (или) высоту подъема грузозахватного органа | ![]() |
4.22.1 Стрела балочная (E)* | Стрела (с постоянной длиной, телескопическая или выдвижная) балочной конструкции | - |
4.22.2 Стрела постоянной длины (E)* | Стрела крана, изменение длины которой осуществляется путем установки одной или нескольких секций | - |
4.22.3 Стрела подъемная (E)* | Стрела (постоянной длины или телескопическая) с изменяющимся углом наклона при изменении вылета | - |
4.22.4 Стрела решетчатая (E)* | Стрела, имеющая ферменную конструкцию | - |
4.22.5 Стрела телескопическая (E)* | Стрела, состоящая из опорной секции, из которой для увеличения длины выдвигается телескопически одна или более секций | - |
4.22.6 Стрела шарнирно-сочлененная (E)* | Стрела, выполненная из нескольких шарнирно-сочлененных элементов с возможным изменением их взаимного положения в вертикальной плоскости при работе | - |
4.23 Оборудование стреловое (E)* | Оборудование крана, состоящее из стрелы, поддерживающих ее элементов, канатно-блочного оборудования, крюковой подвески и других конструктивных элементов | - |
4.23.1 Краноманипуляторная установка (КМУ) (E) Loader | Грузоподъемное устройство с силовым приводом, представляющее собой колонну, вращающуюся на основании, и стреловое оборудование, установленное на колонне, включающее грузозахватный орган (органы), механизмы, систему управления и опорную раму | ![]() |
4.24 Оборудование башенно-стреловое (E) Mast (tower) attachment | Сменное оборудование стрелового самоходного крана, состоящее из башни, стрелы (с гуськом или без гуська) и других необходимых устройств | ![]() |
4.25 Консоль (E) Console (cantilever) | Часть металлоконструкции крана мостового типа, выступающая за его опору и воспринимающая определенную рабочую нагрузку | - |
4.25.1 Консоль противовесная (E)* | Элемент крана, размещенный со стороны, противоположной стреле, и предназначенный для закрепления противовеса | - |
4.26 Опора качающаяся (E)* | Опора кабельного крана, имеющая возможность изменять угол наклона к горизонтали при изменении усилий в несущих канатах | - |
4.27 Опора некачающаяся (E)* | Опора кабельного крана, не имеющая возможности изменять угол наклона к горизонтали при изменении усилий в несущих канатах | - |
4.28 Противовес (E) Counterweight | Груз (неподвижный или подвижный), предназначенный для полного или частичного уравновешивания сил и моментов, действующих в кранах или их частях во время работы (например, прикрепляемый к противовесной консоли или поворотной платформе, подвешиваемый на канатах и т.п.) | ![]() |
4.29 Балласт (E) Ballast | Груз, прикрепленный на ходовую раму или портал для обеспечения устойчивости крана за счет понижения общего центра масс крана | ![]() |
4.30 Тормоз (E) Brake | Устройство для снижения скорости движения, остановки и (или) удержания механизмов в неподвижном состоянии | - |
4.30.1 Тормоз барабана (E) Drum brake | Тормоз, воздействующий непосредственно на барабан лебедки | - |
4.30.2 Тормоз колодочный (E) Shoe brake | Тормоз, у которого торможение осуществляется прижатием тормозных колодок к вращающемуся тормозному шкиву (барабану) в радиальном направлении | - |
4.30.3 Тормоз дисковый (E) Disk brake | Тормоз, у которого торможение осуществляется прижатием тормозных колодок (дисков) к вращающемуся тормозному диску | - |
4.30.4 Тормоз ленточный (E)* | Тормоз, у которого торможение осуществляется прижатием ленты к тормозному шкиву | - |
4.30.5 Тормоз конический (E)* | Тормоз, у которого торможение осуществляется прижатием подвижного конуса к неподвижному | - |
4.30.6 Тормоз нормально закрытого типа (E)* | Тормоз, автоматически размыкающийся только при воздействии на него привода тормоза | - |
4.30.7 Тормоз нормально открытого типа (E)* | Тормоз, замыкающийся только при воздействии на него привода тормоза | - |
4.30.8 Тормоз управляемый (E)* | Тормоз, замыкающийся или размыкающийся только при воздействии крановщика (оператора крана) на орган управления тормозом | - |
4.31 Рельсовый тормоз (E) Rail brake | Устройство крана на рельсовом ходу, которое воздействует на рельс для удержания крана от перемещения вдоль кранового пути в любом месте под действием ветра рабочего состояния | - |
4.32 Рельсовый захват (противоугонный захват) (E) Rail clamp | Устройство крана на рельсовом ходу, которое зажимает рельс в любом месте на рельсах для удержания крана от перемещения вдоль кранового пути под действием ветра нерабочего состояния | ![]() |
4.33 Штормовое противоугонное устройство (E)* | Устройство, которое фиксирует кран на рельсах в месте его стоянки относительно основания кранового пути для исключения перемещения вдоль кранового пути под действием штормового ветра нерабочего состояния | - |
4.34 Блок (холостая звездочка) (E) Sheave (pulley) | Свободно вращающийся элемент, с одним или несколькими ручьями (блок) или с одним или несколькими рядами зубьев (звездочка) для направления и (или) изменения направления каната (цепи) без существенного изменения натяжения каната (цепи) | ![]() |
4.34.1 Уравнительный блок (E) Compensating sheave (pulley) | Блок, уравнивающий усилия в ветвях или участках каната в полиспастной системе | - |
4.34.2 Уравнительная звездочка (E)* | Звездочка, уравнивающая усилия в ветвях или участках цепи в полиспастной системе | - |
4.35 Полиспаст (E) Reeving system | Система подвижных и неподвижных блоков (звездочек), соединенных гибкой связью (канатом или цепью), для изменения усилий в канате (цепи), скоростей и направлений движения | ![]() |
4.35.1 Полиспаст сдвоенный (E)* | Полиспаст, оба конца каната (цепи) которого закреплены на одном или двух барабанах | ![]() |
4.35.2 Полиспаст стреловой (E)* | Полиспаст для подъема и опускания стрелы | - |
4.36 Подвеска крюковая блочная (E) Hook assembly | Устройство, состоящее из грузового крюка, траверсы и блоков (звездочек) для подвески на канатах (цепях) полиспаста | ![]() |
4.37 Орган грузозахватный (E) Load-handling device | Устройство массой mFA, являющееся непосредственной составной частью грузоподъемного механизма и предназначенное для захватывания, поддержания или подвешивания груза | ![]() |
4.38 Шкив канатоведущий (E)* | Вращающийся канатный шкив с канавками (канавкой), служащий для привода одной или нескольких ветвей каната за счет сил трения между шкивом и канатом | - |
4.39 Опора выносная (E) Outrigger | Устройство, предназначенное для увеличения опорного контура крана в рабочем состоянии | ![]() |
4.40 Опора крана предохранительная (E)* | Детали для опоры крана или грузовой тележки на рельсы в случае поломки ходового колеса или оси ходовой тележки крана | - |
4.41 Канат вантовый (E)* | Неподвижный канат, предназначенный для удержания мачты мачтового крана, неподвижной башни кабельного крана | - |
4.42 Канат грейфера поддерживающий (E)* | Канат для подъема грейфера | - |
4.43 Канат грейфера замыкающий (E)* | Канат для замыкания и размыкания грейфера | - |
4.44 Канат несущий (E)* | Канат кабельного крана, используемый в качестве несущей конструкции для передвижения грузовой тележки | - |
4.45 Канат оттяжки (E)* | Канат, связывающий два (неподвижных друг относительно друга) элемента крана | - |
4.46 Канат стреловой (E)* | Канат стрелового полиспаста | - |
4.47 Канат тяговый (E)* | Канат для передвижения грузовой тележки крана | - |
4.48 Сбрасывающий щиток крана (E)* | Устройство, предотвращающее возможность попадания под ходовые колеса крана посторонних предметов | - |
4.49 Машинное помещение (E) Machinery room | Закрытое пространство для размещения одного или большего количества приводных механизмов, которое позволяет человеку войти внутрь для осмотра и обслуживания | - |
4.50 Аппаратное помещение (E) Electrical equipment room | Закрытое пространство для размещения электрической аппаратуры, которое позволяет человеку войти внутрь для осмотра и обслуживания | - |
4.51 Путь крановый (E) Rail track | Крановый путь в виде одного или более (обычно двух) параллельных рельсов для передвижения грузоподъемных кранов на рельсовом ходу, направляющий их движение, воспринимающий и передающий нагрузки от них на строительные конструкции (сооружения), а также обеспечивающий безопасную работу кранов на всем пути их передвижения | - |
5.1 Устройство безопасности (E)* | Устройство механического, электрического, гидравлического или иного (электронного или неэлектронного) типа, устанавливаемое на кране и предназначенное для ограничения движений или функций крана или предупреждающее и (или) обеспечивающее крановщика (оператора крана) информацией, способствующей компетентному управлению краном в пределах конструктивных параметров | - |
5.2 Ограничитель (E) Limiting device (limiter) | Устройство, используемое для ограничения движений или функций крана | - |
5.2.1 Ограничитель функций крана (E) Function limiter | Ограничитель, который вызывает остановку и (или) ограничение обозначенных функций крана | - |
5.2.2 Ограничитель грузоподъемности (E) rated capacity limiter | Устройство, используемое для автоматического предотвращения перемещения краном грузов, превышающих его номинальную грузоподъемность, с учетом влияния динамики. На некоторых типах кранов функции ограничителя грузоподъемности может выполнять ограничитель грузового момента | ![]() |
5.2.3 Ограничитель рабочего движения (E) Motion limiter | Устройство, ограничивающее и (или) инициирующее остановку рабочих движений крана. Примеры: ограничитель высоты подъема, ограничитель глубины опускания, ограничитель поворота, ограничитель передвижения, ограничитель передвижения тележки, ограничитель наклона стрелы | ![]() |
5.2.4 Ограничитель рабочей зоны (E)* | Устройство, используемое для предотвращения попадания грузозахватного приспособления и (или) частей крана в запрещенную зону (например, координатная защита, ограничитель опасного приближения к линиям электропередачи и т.п.). Примечание - Ограничение рабочей зоны может достигаться комбинацией различных ограничителей. | - |
5.2.5 Буфер (E) Buffer | Устройство для поглощения энергии удара крана, тележки или других элементов крана об упоры | ![]() |
5.3 Указатель (E) Indicating device (indicator) | Устройство, предупреждающее и (или) обеспечивающее крановщика (оператора крана) информацией, способствующей компетентному управлению краном в пределах конструктивных параметров | ![]() |
5.3.1 Указатель рабочих параметров (E) Operating parameter indicator | Устройство, которое выдает крановщику (оператору крана) визуальную и (или) звуковую информацию о величине рабочих параметров | - |
5.3.2 Указатель грузоподъемности (E) Rated capacity indicator | Устройство, которое в пределах установленных допусков обеспечивает непрерывную информацию о том, что номинальная грузоподъемность не превышена | ![]() |
5.4 Регистратор параметров работы крана (E) Recorder of crane's working parameters | Устройство, предназначенное для непрерывной регистрации, обработки и сохранения информации о параметрах работы крана в течение установленного срока | - |
5.5 Устройство защиты от столкновения (E)* | Устройство, применяемое для предотвращения столкновения крана или его частей от соударения с соседними грузоподъемными устройствами при маневрировании в одном и том же пространстве. Примечание - В некоторых случаях функцию устройства для защиты от столкновения может выполнять ограничитель рабочей зоны. | |
Примечание - Примеры использования терминов, относящихся к нагрузкам на краны, даны на рисунках 1 - 4. | ||
6.1 Грузоподъемность Q (E) Load | Вертикальная статическая нагрузка от груза максимальной массы, на которую спроектирован кран | - |
6.2 Грузоподъемность полезная mPL (E) Payload | Нагрузка от груза массой mPL, соответствующая грузоподъемности Q, поднимаемого краном и подвешенного с помощью съемных грузозахватных приспособлений, а при их отсутствии подвешенного непосредственно к несъемным грузозахватным приспособлениям. Примечание - Если краны применяются для поднятия затворов на гидроэлектростанциях или для поднятия грузов с поверхности воды, в полезную грузоподъемность могут быть включены усилия, вызванные всасыванием воды или сцеплением воды вследствие всасывания. | - |
6.3 Грузоподъемность нетто mNL (E) Net load | Нагрузка от груза массой mNL, поднимаемого краном с помощью грузозахватного органа. Примечание - Масса mNL представляет собой сумму масс груза, соответствующего полезной грузоподъемности mPL и съемных грузозахватных приспособлений mNA: mNL = mPL + mNA. | - |
6.4 Съемное грузозахватное приспособление (E) Non-fixed load-lifting attachment | Любое оборудование массой mNA, соединяющее груз, соответствующий полезной грузоподъемности, с краном и не являющееся частью ни крана, ни груза | - |
6.5 Несъемное грузозахватное приспособление (грузозахватный орган) (E) Fixed load-lifting attachment | Оборудование массой mFA, являющееся непосредственной составной частью крана и предназначенное для захватывания или подвешивания груза | - |
6.6 Грузоподъемность на подъемном средстве mHL (E) Hoist medium load | Груз массой mHL, поднимаемый краном и подвешенный к нижнему концу подъемного средства. Примечание - Масса mHL представляет собой сумму масс груза, соответствующего полезной грузоподъемности mPL, съемных грузозахватных приспособлений mNA и грузозахватного органа mFA: mHL = mPL + mNA + mFA | - |
6.7 Подъемное средство (E) Hoist medium | Канаты, цепи и любое другое оборудование массой mHM, свисающее с крана, например с грузовой тележки или оголовка стрелы, и приводимое в движение лебедкой для подъема и опускания груза, подвешенного к нижнему концу подъемного средства. Примечание - Подъемные средства являются частью крана. | - |
6.8 Грузоподъемность брутто mGL (E) Gross load | Нагрузка от груза массой mGL, представляющей собой сумму масс груза, соответствующего полезной грузоподъемности mPL, съемных грузозахватных приспособлений mNA, грузозахватного органа mFA и подъемных(ого) средств(а) mHM: mGL = mPL + mNA + mFA + mHM | - |
6.9 Номинальная грузоподъемность (E) Rated capacity | Масса груза, закрепленного на грузозахватном органе (например, крюке или грейфере) или суммарная масса съемного грузозахватного приспособления и поднимаемого им груза, на подъем которого рассчитан кран в заданных условиях эксплуатации при текущей конфигурации крана, а для кранов, грузоподъемность которых зависит от положения грузозахватного органа, то и при текущем положении грузозахватного органа | - |
6.10 Максимальная грузоподъемность (E) Maximum rated capacity | Максимальная величина номинальной грузоподъемности | - |
6.11 Характеристика грузовая (E)* | Зависимость номинальной грузоподъемности крана от положения стрелового оборудования, установленная для определенной конфигурации крана и условий применения | - |
6.12 Груз рабочий (E)* | Груз, поднимаемый краном, с массой, не превышающей величину номинальной грузоподъемности | - |
6.13 Нагрузка на колесо (E)* | Величина наибольшей вертикальной нагрузки, передаваемой одним ходовым колесом на крановый путь или на ось | - |
7.1 Крановщик (оператор крана) (E) Crane operator | Лицо, имеющее право воздействовать на органы управления крана с целью выполнения им рабочих операций | - |
7.2 Компетентное управление (E)* | Управление краном в полном соответствии с руководством по эксплуатации и требованиями безопасности | - |
7.3 Рабочие параметры крана (параметры назначения) (E)* | Установленные изготовителем технические характеристики крана (например, грузоподъемность, скорости движений, температура эксплуатации и т.д.), выход за пределы которых (по отдельности или в совокупности) может привести кран в неработоспособное или предельное состояние | - |
7.4 Опасная зона (E)* | Любая область внутри или вокруг крана, где человек подвергается дополнительной опасности вследствие работы на кране или нахождения вблизи него | - |
7.5 Жизненный цикл (E)* | Период времени от начала проектирования крана до завершения утилизации, включающий взаимосвязанные стадии (проектирование, изготовление, хранение, монтаж, наладка, эксплуатация, в том числе модернизация, ремонт, техническое и сервисное обслуживание) | - |
7.6 Эксплуатация (E)* | Стадия жизненного цикла крана до его списания, на которой реализуются, поддерживаются и восстанавливаются его качества, включающая использование крана по назначению, транспортирование, хранение, техническое обслуживание, монтаж (демонтаж) и ремонт | - |
7.6.1 Эксплуатирующая организация (эксплуатант) (E)* | Организация (юридическое лицо) или индивидуальный предприниматель, а также физическое лицо, имеющее кран на правах собственности или на ином законном основании и осуществляющее его эксплуатацию | - |
7.6.2 Специализированная организация (E)* | Организация (юридическое лицо) или индивидуальный предприниматель, а также физическое лицо, предметом деятельности которых является осуществление монтажа, наладки, ремонта, реконструкции или модернизации крана или его оборудования | |
7.7 Срок службы крана (E)* | Расчетная календарная продолжительность эксплуатации крана, установленная изготовителем, от ее начала до перехода крана в предельное состояние | - |
7.8 Состояние крана предельное (E)* | Неработоспособное состояние крана, при котором его дальнейшая эксплуатация недопустима или нецелесообразна либо восстановление его работоспособного состояния невозможно или нецелесообразно | - |
7.9 Состояние крана неработоспособное (E)* | Состояние крана, при котором значение хотя бы одного параметра, характеризующего способность выполнять заданные функции, не соответствует требованиям нормативно-технической и (или) конструкторской (проектной) документации | - |
7.10 Характеристическое число (E)* | Безразмерная величина, являющаяся мерой ресурса крана, определяемая как произведение числа рабочих циклов, выполняемых краном, на коэффициент распределения масс поднятых грузов | |
7.10.1 Характеристическое число нормативное (E)* | Безразмерная величина, являющаяся мерой ресурса крана, на который он рассчитан, определяемая с учетом параметров группы классификации | - |
7.10.2 Характеристическое число текущее (E)* | Безразмерная величина, являющаяся мерой ресурса крана на текущий момент, определяемая с учетом всех рабочих циклов, выполненных от начала эксплуатации и значений масс грузов, поднятых в каждом рабочем цикле | - |
7.11 Техническое освидетельствование (E)* | Комплекс административно-технических мер, направленных на подтверждение работоспособности и промышленной безопасности крана в эксплуатации | - |
7.12 Реконструкция (E)* | Изменение конструкции крана или его основных показателей назначения, вызывающее необходимость внесения изменений в эксплуатационные документы (например, изменение типа привода, длины стрелы, высоты башни, длины пролета, грузоподъемности, устойчивости), переоборудование крана для работы с другими грузозахватными органами или грузозахватными приспособлениями, а также другие изменения, вызывающие перераспределение и изменение нагрузок на расчетные элементы металлоконструкции и (или) приводы | - |
7.13 Модернизация (E)* | Изменение, усовершенствование, направленное на улучшение потребительских свойств, показателей назначения и (или) безопасности крана, например, замена старой системы управления на новую, с более плавным регулированием и более высокими номинальными скоростями. Примечание - Модернизация является разновидностью реконструкции. | - |
7.14 Эксплуатационная документация (E)* | Техническая документация (часть общей конструкторской или проектной документации), которая поставляется заводом-изготовителем вместе с краном (например, паспорт, техническое описание, руководство по эксплуатации, инструкция по монтажу и т.д.) | - |

Грузоподъемность брутто mGL | Подъемное средство | mHM | Грузовой канат, свисающий с оголовка стрелы | Грузовой канат, свисающий с грузовой тележки | |||||
Грузоподъемность на подъемном средстве mHL | Несъемные грузозахватные приспособления (грузозахватные органы) | mFA | Крюковая подвеска | Крюковая подвеска | Нижний блок | Нижний блок | Нижний блок | ||
Грузоподъемность нетто mNL | Съемные грузозахватные приспособления | mNA | Бадья и цепь | Сеть | Канатные стропы | Электромагнит и цепь | Грейфер | ||
Полезная грузоподъемность | mPL | Содержимое бадьи | Содержимое сети | Тара и содержимое | Металлолом | Содержимое грейфера | |||

Грузоподъемность брутто mGL | Подъемное средство | mHM | Грузовой канат, свисающий с оголовка стрелы | Грузовой канат, свисающий с грузовой тележки | |||||
Грузоподъемность на подъемном средстве mHL | Несъемные грузозахватные приспособления (грузозахватный орган) | mFA | Нижний блок | Клещевой захват и блок <1> | Грейфер <1> | - | - | ||
Грузоподъемность нетто mNL | Съемные грузозахватные приспособления | mNA | Клещевой захват | - | - | Грейфер <2> | Крюк траверсы и стропы <2> | ||
Полезная грузоподъемность | mPL | Обработанный камень | Обработанный камень | Содержимое грейфера | Содержимое грейфера | Тара и содержимое | |||

Грузоподъемность брутто mGL | Подъемное средство | mHM | Канат главного подъема и канат вспомогательного подъема | Подъемный канат | Подъемный канат | ||
Грузоподъемность на подъемном средстве mHL | Несъемные грузозахватные приспособления | mFA | Нижний блок и крюковая подвеска | Клещевой захват | Клещевой захват | ||
Грузоподъемность нетто mNL | Съемные грузозахватные приспособления | mNA | Ковш | - | - | ||
Полезная грузоподъемность | mPL | Содержимое ковша | Слиток | Слиток | |||

Грузоподъемность брутто mGL | Подъемное средство | mHM | - | Подъемный канат | Подъемный канат | ||
Грузоподъемность на подъемном средстве mHL | Несъемные грузозахватные приспособления | mFA | Поворотное оборудование и грейфер | Вилы и вертикальная тележка | Головной блок | ||
Грузоподъемность нетто mNL | Съемные грузозахватные приспособления | mNA | - | - | Спредер | ||
Полезная грузоподъемность | mPL | Содержимое грейфера | Поддон с тарой | Контейнер | |||