Главная // Актуальные документы // ГОСТ (Государственный стандарт)
СПРАВКА
Источник публикации
М.: ФГБУ "РСТ", 2022
Примечание к документу
Текст данного документа приведен с учетом поправки, опубликованной в "ИУС", N 3, 2023.

Документ введен в действие с 01.03.2023.

Взамен ГОСТ 34016-2016.
Название документа
"ГОСТ 34016-2022. Межгосударственный стандарт. Машины грузоподъемные. Грузозахватные приспособления. Требования безопасности"
(введен в действие Приказом Росстандарта от 22.09.2022 N 980-ст)


"ГОСТ 34016-2022. Межгосударственный стандарт. Машины грузоподъемные. Грузозахватные приспособления. Требования безопасности"
(введен в действие Приказом Росстандарта от 22.09.2022 N 980-ст)


Содержание


Введен в действие
Приказом Федерального
агентства по техническому
регулированию и метрологии
от 22 сентября 2022 г. N 980-ст
МЕЖГОСУДАРСТВЕННЫЙ СТАНДАРТ
МАШИНЫ ГРУЗОПОДЪЕМНЫЕ.
ГРУЗОЗАХВАТНЫЕ ПРИСПОСОБЛЕНИЯ
ТРЕБОВАНИЯ БЕЗОПАСНОСТИ
Lifting machines. Load-lifting attachment.
Safety requirements
(ISO 17096:2015, NEQ)
ГОСТ 34016-2022
МКС 53.020.20
Дата введения
1 марта 2023 года
Предисловие
Цели, основные принципы и общие правила проведения работ по межгосударственной стандартизации установлены ГОСТ 1.0 "Межгосударственная система стандартизации. Основные положения" и ГОСТ 1.2 "Межгосударственная система стандартизации. Стандарты межгосударственные, правила и рекомендации по межгосударственной стандартизации. Правила разработки, принятия, обновления и отмены"
Сведения о стандарте
1 РАЗРАБОТАН Акционерным обществом "РАТТЕ" (АО "РАТТЕ") и Обществом с ограниченной ответственностью СКБ "ВЫСОТА" (ООО "СКБ "ВЫСОТА")
2 ВНЕСЕН Федеральным агентством по техническому регулированию и метрологии
3 ПРИНЯТ Межгосударственным советом по стандартизации, метрологии и сертификации (протокол от 31 августа 2022 г. N 153-П)
За принятие проголосовали:
Краткое наименование страны по МК (ИСО 3166) 004-97
Код страны по МК (ИСО 3166) 004-97
Сокращенное наименование национального органа по стандартизации
Армения
AM
ЗАО "Национальный орган по стандартизации и метрологии" Республики Армения
Беларусь
BY
Госстандарт Республики Беларусь
Казахстан
KZ
Госстандарт Республики Казахстан
Киргизия
KG
Кыргызстандарт
Россия
RU
Росстандарт
Узбекистан
UZ
Узстандарт
4 Приказом Федерального агентства по техническому регулированию и метрологии от 22 сентября 2022 г. N 980-ст межгосударственный стандарт ГОСТ 34016-2022 введен в действие в качестве национального стандарта Российской Федерации с 1 марта 2023 г.
5 Настоящий стандарт разработан с учетом основных нормативных положений международного стандарта ISO 17096:2015 "Краны подъемные. Безопасность. Приспособления для подъема груза ("Cranes - Safety - Load lifting attachments", NEQ)
6 ВЗАМЕН ГОСТ 34016-2016
Информация о введении в действие (прекращении действия) настоящего стандарта и изменений к нему на территории указанных выше государств публикуется в указателях национальных стандартов, издаваемых в этих государствах, а также в сети Интернет на сайтах соответствующих национальных органов по стандартизации.
В случае пересмотра, изменения или отмены настоящего стандарта соответствующая информация будет опубликована на официальном интернет-сайте Межгосударственного совета по стандартизации, метрологии и сертификации в каталоге "Межгосударственные стандарты"
Введение
Настоящий стандарт устанавливает требования безопасности к несъемным и съемным грузозахватным приспособлениям, используемым совместно с различными грузоподъемными машинами (грузоподъемными кранами, строительными машинами и др.), с учетом основных нормативных положений, содержащихся в международном стандарте ISO 17096:2016.
Применение положений данного стандарта на добровольной основе может быть использовано при подтверждении и оценке соответствия грузоподъемных кранов, строительных машин, промышленных погрузчиков и приспособлений для грузоподъемных операций требованиям Технического регламента Таможенного союза ТР ТС 010/2011 "О безопасности машин и оборудования".
1 Область применения
Настоящий стандарт устанавливает минимальные требования безопасности к грузозахватным приспособлениям (ГЗП):
- несъемным, в том числе к сменным грузозахватным органам, подвешенным к нижнему концу подъемных средств либо закрепленным на оголовках стрел грузоподъемных машин и являющимся их неотъемлемой частью;
- съемным, присоединяемым к несъемным ГЗП (грузозахватным органам) грузоподъемных машин.
Настоящий стандарт распространяется на стадии проектирования и изготовления ГЗП, в том числе ГЗП, применяемых в металлургическом производстве, на объектах использования атомной энергии, предназначенных для работы в условиях повышенной агрессивности атмосферы, повышенной концентрации вредных веществ, во взрыво- и пожароопасных средах, для транспортирования ядовитых или взрывчатых веществ и других опасных грузов в части, не противоречащей специальным требованиям к этим ГЗП.
Стандарт не распространяется на ГЗП, применяемые на судах и иных плавучих сооружениях, на воздушных судах, в космических аппаратах, в шахтах горнодобывающей промышленности, в интересах обороны и безопасности государства или относящиеся к вооружению и военной технике.
В настоящем стандарте не рассматриваются требования к конструкции канатных, цепных и текстильных стропов.
2 Нормативные ссылки
В настоящем стандарте использованы нормативные ссылки на следующие межгосударственные стандарты:
ГОСТ 9.032 Единая система защиты от коррозии и старения. Покрытия лакокрасочные. Группы, технические требования и обозначения
ГОСТ 9.104 Единая система защиты от коррозии и старения. Покрытия лакокрасочные. Группы условий эксплуатации
ГОСТ 9.301 Единая система защиты от коррозии и старения. Покрытия металлические и неметаллические неорганические. Общие требования
ГОСТ 9.402 Единая система защиты от коррозии и старения. Покрытия лакокрасочные. Подготовка металлических поверхностей к окрашиванию
ГОСТ 12.2.003 Система стандартов безопасности труда. Оборудование производственное. Общие требования безопасности
ГОСТ 12.2.049 Система стандартов безопасности труда. Оборудование производственное. Общие эргономические требования
ГОСТ 12.4.026 Система стандартов безопасности труда. Цвета сигнальные, знаки безопасности и разметка сигнальная. Назначение и правила применения. Общие технические требования и характеристики. Методы испытаний
ГОСТ 12.4.040 Система стандартов безопасности труда. Органы управления производственным оборудованием. Обозначения
ГОСТ 1575 Краны грузоподъемные. Ряды основных параметров
ГОСТ 2224 Коуши стальные для стальных канатов. Технические условия
ГОСТ 2991 Ящики дощатые неразборные для грузов массой до 500 кг. Общие технические условия
ГОСТ 6619 Крюки пластинчатые однорогие и двурогие. Технические условия
ГОСТ 12969 Таблички для машин и приборов. Технические требования
ГОСТ 12971 Таблички прямоугольные для машин и приборов. Размеры
ГОСТ 15150 Машины, приборы и другие технические изделия. Исполнения для различных климатических районов. Категории, условия эксплуатации, хранения и транспортирования в части воздействия климатических факторов внешней среды
ГОСТ 18477 Контейнеры универсальные. Типы, основные параметры и размеры
ГОСТ 23002 Единая контейнерная транспортная система. Спредеры для контейнеров серии 1. Общие технические требования
ГОСТ 24599 Грейферы канатные для навалочных грузов. Общие технические условия
ГОСТ 25573 <1> Стропы грузовые канатные для строительства. Технические условия
--------------------------------
<1> В Российской Федерации действует ГОСТ Р 58753-2019.
ГОСТ 29329 <2> Весы для статического взвешивания. Общие технические требования
--------------------------------
<2> В Российской Федерации действует ГОСТ Р 53228-2008 "Весы неавтоматического действия. Часть 1. Метрологические и технические требования. Испытания".
ГОСТ 32578 Краны грузоподъемные. Металлические конструкции. Требования к материалам
ГОСТ 32579.1-2013 Краны грузоподъемные. Принципы формирования расчетных нагрузок и комбинации нагрузок. Часть 1. Общие положения
ГОСТ 33169 Краны грузоподъемные. Металлические конструкции. Подтверждение несущей способности
ГОСТ 33709.1 Краны грузоподъемные. Словарь. Часть 1. Общие положения
ГОСТ 33715 Краны грузоподъемные. Съемные грузозахватные приспособления и тара. Эксплуатация
ГОСТ 34022 Краны грузоподъемные. Эксплуатационные документы
ГОСТ 34587 Краны грузоподъемные. Металлические конструкции. Требования к изготовлению
ГОСТ 34680 Краны грузоподъемные. Крюки кованые и штампованные. Технические требования
ГОСТ 34875 Грузозахватные приспособления. Стропы текстильные из искусственных волокон. Технические требования
ГОСТ EN 818-1 Цепи стальные из круглых коротких звеньев для подъема грузов. Безопасность. Часть 1. Общие требования к приемке
ГОСТ EN 818-4 Цепи стальные из круглых коротких звеньев для подъема грузов. Безопасность. Часть 4. Стропальные цепи класса 8
ГОСТ EN 818-7 Цепи короткозвенные грузоподъемные. Требования безопасности. Часть 7. Цепи калиброванные. Класс T (типы T, DAT и DT)
ГОСТ EN 1677-1 <3> Детали средств строповки. Безопасность. Часть 1. Кованые детали, класс прочности 8
ГОСТ EN 1677-2 <3> Детали средств строповки. Безопасность. Часть 2. Кованые крюки с предохранительным замком, класс прочности 8
--------------------------------
<3> Не действует в Российской Федерации.
Примечание - При пользовании настоящим стандартом целесообразно проверить действие ссылочных стандартов и классификаторов на официальном интернет-сайте Межгосударственного совета по стандартизации, метрологии и сертификации (www.easc.by) или по указателям национальных стандартов, издаваемым в государствах, указанных в предисловии, или на официальных сайтах соответствующих национальных органов по стандартизации. Если на документ дана недатированная ссылка, то следует использовать документ, действующий на текущий момент, с учетом всех внесенных в него изменений. Если заменен ссылочный документ, на который дана датированная ссылка, то следует использовать указанную версию этого документа. Если после принятия настоящего стандарта в ссылочный документ, на который дана датированная ссылка, внесено изменение, затрагивающее положение, на которое дана ссылка, то это положение применяется без учета данного изменения. Если ссылочный документ отменен без замены, то положение, в котором дана ссылка на него, применяется в части, не затрагивающей эту ссылку.
3 Термины и определения
В настоящем стандарте применены термины по ГОСТ 33709.1 и ГОСТ 33715, а также следующие термины с соответствующими определениями:
3.1 вакуумный захват: ГЗП, принцип действия которого основан на применении силы, образуемой разрежением (вакуумом) между рабочими узлами захвата (присосами) и поверхностью поднимаемого груза.
3.2 вакуумный несамовсасывающийся захват: ГЗП, использующее внешний источник энергии для создания вакуума.
3.3 вакуумный самовсасывающийся захват: ГЗП, использующее перемещаемый груз для создания вакуума.
3.4 вилочный захват: ГЗП, состоящее, как правило, из двух вил и предназначенное для грузов, находящихся на поддонах, подкладках или в контейнерах, имеющих просветы для ввода вил.
3.5 грузовая траверса: ГЗП, у которого захваты или другие элементы для удержания груза присоединены к линейной, плоскостной или пространственной конструкции, навешиваемой на грузоподъемную машину.
3.6 грузовой постоянный магнит: ГЗП с постоянным магнитным полем, достаточным для захвата и удержания грузов из ферромагнитных материалов.
3.7 грузовой электрический магнит: ГЗП, при прохождении через которое электрического тока создается магнитное поле, достаточное для захвата и удержания грузов из ферромагнитных материалов.
3.8 грузоподъемная машина: Техническое устройство циклического действия, основной или дополнительной функцией которого является подъем и перемещение груза, удерживаемого ГЗП.
3.9 С-образный захват: ГЗП в виде скобы, предназначенное для перемещения полых грузов, действие которого основано на удержании груза за счет опирания его внутренней поверхности на нижний элемент скобы.
4 Сокращения
В настоящем стандарте применены следующие сокращения:
ЗИП - запасные части, инструмент и приспособления;
КД - конструкторские документы;
РЭ - руководство по эксплуатации (ГЗП);
ТУ - технические условия (на изготовление ГЗП);
ЭД - эксплуатационные документы (ГЗП).
5 Общие требования
5.1 ГЗП проектируют с учетом требований и (или) мер безопасности, приведенных в настоящем стандарте и с учетом указаний ГОСТ 12.2.003 в части общих требований безопасности (требования к основным элементам конструкции, органам управления и средствам защиты) и ГОСТ 12.2.049 - в части требований к органам управления.
5.2 При проектировании ГЗП, предназначенных для эксплуатации в нормальных условиях (исполнение У по ГОСТ 15150) должна быть предусмотрена температура рабочего состояния в диапазоне от плюс 40 °C до минус 40 °C, нерабочего состояния и хранения на открытом воздухе - до минус 50 °C.
При проектировании ГЗП, предназначенных для эксплуатации при температурах ниже минус 40 °C, должно быть предусмотрено исполнение ХЛ по ГОСТ 15150.
Диапазон температур для ГЗП, предназначенных для эксплуатации в условиях, отличающихся от приведенных в настоящем пункте, а также показатели влажности и агрессивности окружающей среды должны быть приведены в техническом задании на их разработку (договоре, контракте).
5.3 Грузоподъемность ГЗП должна соответствовать ряду номинальных грузоподъемностей, установленных ГОСТ 1575.
Допускается устанавливать грузоподъемность ГЗП в соответствии с техническим заданием на их разработку (договором, контрактом), учитывающим массу отдельных грузовых мест, параметры транспортных средств и особенности технологических процессов, для которых они предназначены.
5.4 При наличии в составе ГЗП гибких соединительных элементов из стальных цепей классов точности 4(M) и 5(P) по ГОСТ EN 818-1 грузоподъемность ГЗП должна быть ограничена в зависимости от температуры перемещаемых нагретых грузов:
- свыше 300 °C, но не более 500 °C - грузоподъемность уменьшают на 25%;
- свыше 500 °C - на 50%.
В случае применения в составе ГЗП стальных цепей классов точности 8 (T8), 10 (T10) по ГОСТ EN 818-4 или ГОСТ EN 818-7 грузоподъемность ГЗП должна быть ограничена в зависимости от температуры перемещаемых нагретых грузов:
- свыше 200 °C, но не более 300 °C - грузоподъемность уменьшают на 10%;
- свыше 300 °C, но не более 400 °C - на 25%.
Применение таких ГЗП для перемещения грузов, имеющих температуру свыше 400 °C, не допускается.
5.5 Грузоподъемность ГЗП, в состав которых включены гибкие соединительные элементы из канатов со стальным сердечником, при перемещении грузов, имеющих температуру от 250 °C до 400 °C, уменьшают на 25%; применение таких ГЗП для грузов, имеющих температуру свыше 400 °C, не допускается.
5.6 ГЗП, в состав которых включены гибкие соединительные элементы из канатов с органическим сердечником, допускается применять при перемещении грузов, имеющих температуру не выше 100 °C, а ГЗП, имеющие в составе гибкие соединительные элементы из канатов с металлическим сердечником, с заделкой концов каната опрессовкой алюминиевыми втулками - не выше 150 °C.
Примечание - Допустимые температуры применения ГЗП, имеющих в составе гибкие соединительные элементы из текстильного каната, текстильной ленты или текстильных нитей, определены в ГОСТ 34875.
5.7 Прочность, устойчивость формы и, при необходимости, долговечность ГЗП должны быть подтверждены расчетами и испытаниями, с учетом максимальной группы классификации режима работы грузоподъемных машин, с которыми они будут применяться. Расчет выносливости выполняют для стальных элементов ГЗП, число циклов нагружения которых превышает 100 000, и для элементов, выполненных из легких сплавов, - при любом числе циклов.
5.8 Прочностные свойства несущих элементов ГЗП должны соответствовать следующим требованиям:
- ГЗП должно быть сконструировано так, чтобы выдерживать статическую нагрузку, в три раза превышающую предельную рабочую нагрузку, не допуская падения груза, даже если возникла деформация несущих элементов;
- ГЗП должно быть сконструировано так, чтобы выдержать статическую нагрузку в два раза превышающую предельную рабочую нагрузку без появления деформации несущих элементов.
5.9 ГЗП должно быть сконструировано так, чтобы оно продолжало нормально работать под наклоном, как минимум 6°. ГЗП, предназначенное для работы под наклоном, должно нормально функционировать под наклоном, как минимум на 6° превышающим предельный рабочий наклон.
5.10 Проверка прочности несущих элементов ГЗП должна быть основана на принципах, установленных ГОСТ 32579.1 и ГОСТ 33169. Возможность использования ГЗП с кранами классов ответственности 1 и 2 по ГОСТ 32579.1 должна быть указана в РЭ.
5.10.1 Конструкция линейных траверс, подвешиваемых на крюк с использованием гибких соединительных элементов, должна, по возможности, обеспечивать работу распорок на центральное сжатие.
5.10.2 Расчетная длина сварного соединения ГЗП принимается фактической, если концы сварного шва выведены на выводные планки, в противном случае длина шва уменьшается на 10%.
Стыковые сварные соединения, удовлетворяющие условию прочности, одновременно удовлетворяют и условию выносливости.
5.11 Минимальный коэффициент использования (коэффициент запаса) стального каната для каждой отдельной ветви гибких соединительных элементов ГЗП должен быть не менее шести, при условии максимального угла между ветвями не более 90°.
5.12 Элементы ГЗП, изготовляемые из стальных канатов, воспринимающие нагрузки от массы груза и от собственной массы ГЗП или его составных частей, не должны иметь никаких сращиваний, кроме мест заделки концов канатов.
Способы заделки концов стальных канатов выбирают для обеспечения соответствующего уровня безопасности ГЗП в целом, с учетом 6.12, 6.25 и нормативных документов, устанавливающих требования к грузовым канатным стропам.
5.13 Прочность подвижных стальных канатов, которые входят в состав ГЗП, должны соответствовать характеристикам каната механизма подъема крана, совместно с которым используется ГЗП. Если ГЗП предназначено для использования с грузоподъемными кранами разных групп классификации режима работы, выбор канатов осуществляют применительно к более высокой группе.
5.14 При расчете на действие номинальной нагрузки запас прочности цепей для каждой отдельной ветви гибких соединительных элементов ГЗП по отношению к разрушающей нагрузке, указанной в их сертификате, должен быть не менее четырех при условии максимального угла между ветвями 90°.
5.15 При использовании в составе ГЗП текстильных канатов и лент запас прочности текстильного каната или ленты для каждой отдельной ветви по отношению к ее разрушающей нагрузке должен быть не менее семи при условии максимального угла между ветвями 90°.
5.16 Расчет ГЗП, имеющего гибкие соединительные элементы из стальных и текстильных канатов, цепей с числом ветвей более двух, при отсутствии гарантии равномерности распределения нагрузок между ветвями, выполняют исходя из условия, что груз удерживается только двумя ветвями. В случае применения гибких соединительных элементов из текстильной ленты или из синтетических нитей с числом ветвей более двух расчет проводят из условия, что груз удерживается тремя ветвями.
5.17 Крюки, концевые элементы и соединительные звенья, применяемые в конструкции ГЗП должны соответствовать требованиям ГОСТ 25573, ГОСТ 34680, ГОСТ EN 1677-1 и ГОСТ EN 1677-2.
5.18 При проверке прочности криволинейных участков стальных петель ГЗП, изготовленных из сортового круглого проката, запас прочности не должен быть менее запаса прочности основных несущих элементов ГЗП.
5.19 ГЗП должны выдерживать нагрузки, возникающие при их опускании со скоростью не менее 1 м/с и соударении с поверхностью, имеющей твердое покрытие, а в отдельных случаях, нагрузки, возникающие при горизонтальном соударении (например, о борт судна).
5.20 Сращивание текстильных канатов и прошивку лент выполняют в соответствии с указаниями ГОСТ 34875.
5.21 РЭ, помимо сведений, установленных ГОСТ 34022, должно содержать прямые и косвенные признаки отказов и предельных состояний, а также способы их обнаружения с наибольшей простотой и достоверностью.
5.22 В РЭ должна быть указана испытательная нагрузка и схема ее приложения.
5.23 Требования к несъемным ГЗП, в том числе сменным грузозахватным органам (траверсам, спредерам, канатным грейферам, вилам, управляемым захватам для металлопроката, бревен, труб и т.п.), должны быть изложены в ТУ на грузоподъемные машины, а требования к их эксплуатации - в их РЭ.
5.24 ГЗП изготовляют в соответствии с требованиями настоящего стандарта, ТУ и КД, содержащим указания о применяемых материалах, сварке, контроле качества сварки, испытаниях и оформлении документации.
5.25 При изготовлении металлоконструкций ГЗП используют материалы, в том числе сварочные, удовлетворяющие требованиям ГОСТ 32578 и обеспечивающие работоспособность ГЗП при условиях температурного режима эксплуатации, прочности и жесткости, установленных требованиями настоящего раздела.
5.26 Сварку элементов металлоконструкций ГЗП выполняют в соответствии с требованиями ГОСТ 34587. Квалификация сварщиков должна соответствовать требованиями нормативных документов государств, принявших настоящий стандарт.
5.27 Изготовление, сборка элементов ГЗП с применением резьбовых (болтовых) соединений, а также контроль качества этих и сварных соединений должны соответствовать требованиям ГОСТ 34587.
5.28 В соединениях на болтах без контролируемого натяжения минимальное расстояние от центра отверстия до края элемента следует принимать равным: вдоль усилия - 3d (d - диаметр болта), поперек усилия - 1,5d. Минимальное расстояние между центрами отверстий следует принимать равным: вдоль усилия - 3,5d, поперек усилия - 2d. Допускается уменьшение минимального расстояния от центра отверстия до края элемента вдоль усилия до 1,5d и минимального расстояния между центрами отверстий вдоль усилия до 2d.
5.29 В коробчатых и трубчатых металлоконструкциях ГЗП, работающих на открытом воздухе, должны быть предусмотрены меры против скопления в них влаги.
5.30 Подготовка металлических поверхностей к окраске - в соответствии с требованиями ГОСТ 9.402. Наружные поверхности деталей ГЗП не должны иметь острых кромок и заусенцев.
5.31 Наружные металлические поверхности ГЗП должны иметь лакокрасочное или гальваническое покрытие, за исключением гибких соединительных элементов и рабочих поверхностей зажимных захватов, удерживающих груз силой трения. Указания о недопустимости окраски этих поверхностей должны быть приведены в КД, ТУ и ЭД.
5.32 Принятые службой качества продукции ГЗП, после испытания статической нагрузкой, грунтуют и окрашивают по классу покрытий VII и условию эксплуатации I в соответствии с требованиями ГОСТ 9.032 и ГОСТ 9.104 согласно указаниям, приведенным в КД.
5.33 ГЗП должны иметь предупредительную окраску по ГОСТ 12.4.026. Составные части ГЗП, к которым крепятся рабочие органы (захваты), в том числе угловые части траверс и спредеров на длине от 400 до 2000 мм должны быть окрашены в желтый или оранжевый цвет и обозначены чередующимися наклонными под углом 45° - 60° полосами черного цвета. Ширина полос от 20 до 100 мм в зависимости от размера составной части при соотношении ширины полос желтого и черного цветов от 1:1 до 1,5:1.
5.34 На элементах конструкции ГЗП, при необходимости, должны быть нанесены символы органов управления по ГОСТ 12.4.040.
5.35 Усилия на рычагах и рукоятках механизмов управления не должны превышать 100 Н.
5.36 Средства управления ГЗП с электрическим и электрогидравлическим приводом должны соответствовать требованиям электробезопасности.
5.37 Механизмы ГЗП, которые управляются вручную, должны быть оснащены рукоятками, установленными таким образом, чтобы не повредить пальцы и кисти рук рабочего. Установка рукояток не требуется, если сами средства управления имеют форму рукоятки.
5.38 Одноименные и равнопрочные узлы и детали в одном ГЗП (в одной партии) должны быть взаимозаменяемыми.
5.39 Отклонение длин гибких соединительных элементов (ветвей) равной длины, используемых для комплектации одного ГЗП, не должно превышать 1% от длины ветви.
6 Требования к конструкции
6.1 Конструкция ГЗП должна соответствовать требованиям обеспечения заданной безопасности и препятствовать самопроизвольному расцеплению, раскрытию, падению или высыпанию груза во время его подъема и перемещения, в том числе при сбоях системы управления ГЗП или грузоподъемной машины.
6.2 Конструкция и технические требования к спредерам, которыми оснащают грузоподъемные машины, предназначенные для перегрузки контейнеров серии 1 по ГОСТ 18477 <1>, должны соответствовать ГОСТ 23002.
--------------------------------
<1> Применение ГОСТ 18477-79 в Российской Федерации прекращено в части крупнотоннажных контейнеров с 1 января 2010 г. в связи с утверждением и введением в действие ГОСТ Р 53350-2009 "Контейнеры грузовые серии 1. Классификация, размеры и масса".
6.3 Технические требования и требования безопасности к канатным грейферам для навалочных грузов установлены в ГОСТ 24599.
6.4 ГЗП, в зависимости от типа, должны иметь устройство для присоединения к крюку, оголовку стрелы либо непосредственно к грузовым канатам грузоподъемной машины или подвешенной к ним распорной раме. Размеры концевого звена или петли для навешивания на крюк должны соответствовать размерам крюка грузоподъемной машины, для работы с которым предназначено ГЗП.
6.5 Для безопасного хранения и (или) проведения технического обслуживания крюковых подвесок, съемных ГЗП массой более 50 кг и сменных грузозахватных органов должно быть обеспечено их устойчивое положение. ГЗП считается устойчивым, если при наклоне под углом 10° в любом направлении не происходит его опрокидывания. Данное требование может быть выполнено конструктивно либо при помощи дополнительного оборудования, такого как стенд (стапель, подставка). При необходимости перемещения автопогрузчиком ГЗП должно иметь проемы для ввода вил автопогрузчика. Центр тяжести ГЗП должен быть между проемами. Площадь опорной пяты подставок для хранения, транспортирования должна обеспечить минимальное давление на опираемую поверхность.
6.6 Направляющие элементы ГЗП и (или) захваты (штыки, поворотные замки и ловители спредеров, скобы, крюки и т.п.), выступающие вниз, должны быть предохранены от повреждения конструктивно или путем использования дополнительного оборудования (стенд, стапель, подставка).
6.7 Расположение разъемных соединений ГЗП и элементов, фиксирующих положение перемещаемых составных частей, должно исключать их зацеп за элементы конструкции транспортного средства или тары, способный привести к падению груза или повреждению ГЗП.
6.8 Головки и выступающие концы болтов, шпилек, штырей, гаек, смазочных устройств и т.п. элементов, а также органы управления, если в процессе использования ГЗП в работе не исключено их повреждение, должны быть утоплены или иметь прочное ограждение.
6.9 Расположение и конструкция проушин ГЗП должны быть такими, чтобы отклонение оси ветви гибкого соединительного элемента или грузового каната грузоподъемной машины от проектного рабочего положения (например, из-за применения ветвей различной длины, изменения способа запасовки, неточности изготовления и т.д.) не приводило бы к воздействию на проушины изгибающих моментов.
6.10 Разъемные соединения ГЗП должны иметь фиксирующие (стопорные) устройства, исключающие самопроизвольное рассоединение.
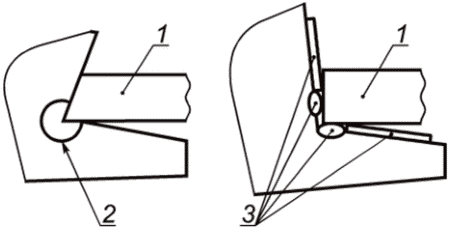
6.11 Конструкция захватов ГЗП, предназначенных для груза, имеющего кромки, которые при воздействии захватов могут быть повреждены (смяты, притуплены), должна исключать их взаимный контакт (рисунок 1).
1 - груз; 2 - специальный вырез;
3 - износостойкие пластины или наплавка
Рисунок 1 - Примеры способов предотвращения
повреждения кромок груза
6.12 Петли канатных ветвей, входящих в состав ГЗП, сопрягаемые со скобами, штырями и концевыми звеньями (кольцами, хвостовиками крюков и т.п.), у которых радиус кривизны R охватываемой петлей детали менее 2,5 диаметров каната d, должны быть выполнены с применением кованых либо штампованных коушей по ГОСТ 2224, либо болтовых (точеных) коушей. Рабочий диаметр D1 последних должен быть не менее пяти диаметров каната (рисунок 2).
Рисунок 2 - Примеры исполнения петель канатных ветвей
6.13 Петли канатных ветвей, сопрягаемые с элементами ГЗП или груза (цапфами, штырями и т.п.), радиус кривизны которых R >= 2,5d, где d - диаметр каната, либо петли, надеваемые на крюк, могут быть выполнены без применения коушей (рисунок 3).
Рисунок 3 - Пример канатной петли без применения коуша
6.14 Крюки ГЗП, за исключением специальных, должны быть снабжены защелкой (предохранительным замком), препятствующей произвольному выпадению крюка из строповочного элемента груза либо выпадению грузового стропа из зева крюка.
6.15 Крюки ГЗП должны быть коваными, штампованными или пластинчатыми. При изготовлении крюков из листовой или полосовой стали направление прокатки должно быть параллельно вертикальной оси крюка.
6.16 Крюки ГЗП грузоподъемностью свыше 3 т, за исключением крюков специального исполнения, должны быть установлены в траверсе на упорных подшипниках качения.
6.17 Узлы и детали ГЗП массой более 25 кг должны иметь места для строповки (рымы, отверстия, цапфы и т.п.), обеспечивающие ориентацию изделия "на весу" в положение, удобное для сборки.
6.18 Органы управления должны иметь надежно действующую систему для удерживания ГЗП и его элементов в соответствующем положении.
6.19 При отсутствии органов управления ГЗП необходимо снабжать устройствами (например, упорами), исключающими смещение его захватов на величину, не соответствующую размерам груза и условиям технологического процесса.
6.20 ГЗП, ориентация которых относительно груза осуществляется стропальщиком, должны иметь ручки-скобы, при необходимости откидные или выдвижные, либо другие элементы, обеспечивающие безопасность и удобство для захвата рукой.
6.21 Узлы для крепления гибких ветвей и концов грузового каната, с которых периодически в течение рабочего цикла грузоподъемной машины снимается нагрузка, должны иметь устройства, исключающие выход гибких ветвей и каната из проектного рабочего положения и обеспечивающие каждый последующий безопасный подъем без их перегиба, залома или перекручивания.
6.22 Конструкция составных частей и элементов ГЗП должна обеспечивать возможность контроля параметров, изменяющихся в процессе эксплуатации (размеров отверстий, штырей и осей, формы захватных органов, состояния крепежных элементов, наплавки и т.д.).
6.23 Сварной шов треугольного неразъемного звена, применяемого для гибких соединительных элементов, должен быть расположен в центре нижней прямолинейной части звена, имеющей упоры, предотвращающие перемещение по ней гибких соединительных элементов (рисунки 4 и 5), а шов овального неразъемного звена - на прямолинейной части (рисунок 6).
Рисунок 4 - Звено треугольное неразъемное
грузоподъемностью до 12,5 т
Рисунок 5 - Звено треугольное неразъемное
грузоподъемностью свыше 12,5 т
Рисунок 6 - Звено овальное неразъемное
6.24 Проволоки гибких соединительных элементов из стальных канатов, которые могут вызвать загрязнение груза или обслуживающего персонала в процессе перегрузочных работ, должны иметь цинковое покрытие.
Допускается применение канатов с полимерным покрытием.
6.25 Петля на конце канатной ветви, выполняемая с применением зажимов при креплении к ГЗП, для которых данная заделка конца каната является предпочтительной, должна удовлетворять следующим требованиям:
- количество зажимов, в зависимости от диаметра каната, должно быть не менее:
3 шт. - для каната диаметром до 16 мм включительно,
4 шт. - для каната диаметром свыше 16 до 28 мм включительно,
5 шт. - для каната диаметром свыше 28 до 40 мм включительно,
6 шт. - для каната диаметром свыше 40 до 63 мм включительно;
- расстояние A между осями U-образных резьбовых скоб зажимов должно быть не менее 6d и не более 12d, где d - диаметр каната (рисунок 7), при этом шаг должен быть равным, с погрешностью не более 0,5d. Если в петле используется коуш, первый зажим должен располагаться непосредственно за ним.
- колодки зажимов должны устанавливаться на рабочую ветвь (рисунок 7);
- длина свободного конца каната за последним зажимом должна быть такой, чтобы для контроля прочности соединяемых ветвей в процессе эксплуатации обеспечить возможность установки дополнительного зажима с образованием канатной петли (рисунок 8).
Рисунок 7 - Установка зажимов колодки на рабочую ветвь
Рисунок 8 - Установка зажимов с образованием канатной петли
6.25.1 Нормальной затяжкой гаек считается такая, при которой диаметр каната, находящегося в зажиме, уменьшается на 1/3 его величины.
Величину момента затяжки, в зависимости от диаметра резьбы, следует принимать по таблице 1.
Таблица 1
Рекомендуемые моменты затяжки гаек канатных зажимов
Диаметр каната, мм
6
Св. 6
до 8 включ.
Св. 8
до 10 включ.
Св. 10
до 16 включ.
Св. 16
до 22 включ.
Св. 22
до 28 включ.
Св. 28
до 38 включ.
Св. 38
до 50 включ.
Св. 50
до 63 включ.
Резьба стержней скобы
М6
М8
М10
М12
М16
М20
М24
М30
М36
Момент затяжки, Нм
3,5
9,0
17,0
33,0
107,0
212,0
363,0
676,0
1196,0
Примечания
1 При затяжке гаек рекомендуется пользоваться динамометрическим ключом.
2 Перед установкой зажима необходимо смазать резьбу скобы и рабочие торцовые поверхности гаек консистентной смазкой.
3 После первого приложения нагрузки следует еще раз проверить момент затяжки и, при необходимости, подтянуть гайки до рекомендуемого момента. В процессе эксплуатации зажимов необходимо следить за затяжкой гаек и периодически их подтягивать.
6.26 Конструкция крюковых подвесок и других подобных ГЗП должна обеспечивать:
- свободный поворот крюка на опорах под нагрузкой;
- свободное вращение канатных блоков (от руки);
- защиту подшипниковых узлов от попадания пыли, грязи и утечки смазки;
- возможность установки отключающего устройства, взаимодействующего с ограничителем предельного верхнего положения ГЗП;
- возможность крепления дополнительных грузов, выполняющих функции балласта;
- предотвращение спадания каната с блоков, при этом зазор между ребордами блока и ограждением должен быть не более 20% от диаметра каната;
- возможность их безопасного подведения стропальщиком к строповочным элементам груза (тары) или съемного ГЗП с учетом 6.20.
6.27 Рабочие поверхности захватов, подверженные интенсивному абразивному износу, должны иметь износоустойчивые элементы (вставки из закаленных вкладышей или накладок, наплавку специальными электродами и т.п.).
6.28 К элементам ГЗП, требующим технического обслуживания, должен быть обеспечен безопасный доступ, включая доступ для смазки трущихся поверхностей.
6.29 Оси, пальцы и шкворни шарнирных соединений должны быть надежно предохранены от осевого перемещения и проворачивания (например, посредством установки планок, шплинтов и т.п.). Оседержатель, выполненный в виде планки или платика, рекомендуется располагать с ненагруженной стороны соединения.
6.30 Пальцы, соединяющие элементы ГЗП переменной конфигурации и извлекаемые при ее изменении, следует соединять гибкой и прочной связью с одним из сопрягаемых элементов во избежание их утери.
6.31 В узлах, передающих крутящий момент, применяют разъемные соединения, исключающие проскальзывание (например, шлицевые, шпоночные, фланцевые, болтовые).
6.32 Болтовые, шпоночные соединения должны быть предохранены от самопроизвольного развинчивания или разъединения.
6.33 Элементы ГЗП, выдвигаемые или переустанавливаемые вручную, должны быть оборудованы:
- рукоятками для выполнения операции вручную;
- запорными устройствами для рабочего и транспортного положений;
- ограничителями выдвижения.
6.34 Конструкция навешиваемых на крюк грузоподъемной машины ГЗП, поворот которых в процессе работы в вертикальной плоскости недопустим, должна обеспечивать фиксацию ГЗП относительно корпуса крюковой подвески.
7 Специальные требования для отдельных категорий ГЗП
7.1 Фрикционные захваты (зажимы)
7.1.1 Величина усилия зажима фрикционных захватов, удерживающих груз за счет силы трения и предотвращающая его от выскальзывания, должна как минимум в два раза превышать предельную рабочую нагрузку.
7.1.2 Конструкция фрикционных захватов должна исключать их непреднамеренное отсоединение и падение при подъеме и перемещении груза, в том числе при столкновении с препятствием либо в момент преднамеренных смены положения и (или) поворота, при этом следует предусмотреть как минимум два фактора, препятствующих выскальзыванию груза.
7.1.3 Зажимной механизм должен быть сконструирован таким образом, чтобы обеспечить прижимную силу в случае деформации груза (например, разрушение поверхности, упругой и пластической деформации).
Примечание - Данное условие может быть выполнено, например, при помощи ножничного механизма, принцип работы которого основан на действии устройства компенсации давления и силы тяжести.
7.1.4 Фрикционные захваты должны исключать выскальзывание захватываемого груза, имеющего следующие отклонения от его номинальной толщины:
а) 10% - при минимальной толщине до 50 мм включительно;
б) 5 мм - при минимальной толщине свыше 50 до 100 мм включительно;
в) 5% - при минимальной толщине более 100 мм.
Примечание - В связи с большим разнообразием конструкций фрикционных захватов невозможно точно указать диапазон безопасности толщин. В связи с этим следует с осторожностью относиться к приведенным диапазонам толщин и учитывать, что их количество может быть увеличено в зависимости от обстоятельств.
7.1.5 У ГЗП, имеющего более одного фрикционного захвата, предельная нагрузка на каждый из захватов должна учитывать предполагаемую долю нагрузки от захваченного груза (включая любое неравенство доли из-за перераспределения нагрузки).
7.1.6 Способ соединения ГЗП, имеющего более одного фрикционного захвата, с грузоподъемной машиной должен гарантировать, что нагрузки между захватами при подъеме груза будут распределены и выравнены правильно. Если конструкцией определено, что подобное выравнивание невозможно, то в РЭ должны быть четкие указания по осуществлению захвата конкретного груза.
7.1.7 Зажимы, удерживающие груз гидравлически или пневматически, должны быть оснащены устройством, компенсирующим падение давления ниже рабочего уровня. Если данное требование обеспечить невозможно, должно быть предусмотрено устройство, подающее оптический или звуковой сигнал о недопустимом падении давления в системе.
7.1.8 Для несамооткрывающихся зажимов отцепление груза должно быть обеспечено управляющим устройством, предусматривающим минимум два последовательных действия оператора.
Это требование неприменимо, если отцепление груза осуществляют только после того, как груз будет опущен, либо в запретной для нахождения людей зоне.
7.2 Вакуумные захваты
7.2.1 Вакуумные захваты должны выдерживать нагрузку, как минимум в два раза превышающую предельную рабочую нагрузку в конце рабочего диапазона и в начале диапазона падения вакуума соответственно при всех возможных углах наклона. Максимальный угол наклона должен быть увеличен в соответствии с 5.9.
Примечание - Рабочим диапазоном является диапазон вакуума, с которым возможно производить работу. Диапазон падения вакуума граничит с рабочим диапазоном. В некоторых вакуумных подъемных системах, в особенности таких, как самовсасывающие вакуумные захваты, падение и повышение вакуума зависит от массы груза.
7.2.2 Несамовсасывающие вакуумные захваты должны быть оснащены устройством измерения давления (вакуумметром), показывающим рабочий диапазон и диапазон падения вакуума.
7.2.3 Самовсасывающие вакуумные захваты должны быть оснащены индикатором, указывающим оператору, что достигнут конец рабочего диапазона.
7.2.4 Измерительное устройство (вакуумметр) или индикатор захвата соответственно должны быть полностью видны оператору захвата или при его отсутствии - оператору грузоподъемной машины. Размер и местоположение измерительного устройства должны позволять без труда считывать показания в точках захвата и открепления груза. Устройство должно иметь различимую красную отметку, обозначающую границу рабочего диапазона вакуума, после перехода которой использовать захват в работе недопустимо.
7.2.5 Вакуумные захваты должны быть оснащены следующими средствами, предотвращающими потерю вакуума:
а) для захватов с вакуумным насосом - бак резервного вакуума с обратным клапаном между баком и насосом, расположенным как можно ближе к баку;
б) для захватов с системой вентури - бак запаса давления или бак резервного вакуума с обратным клапаном между баком резервного вакуума и системой вентури, расположенным как можно ближе к резервному баку;
в) для турбинных захватов - поддерживающая батарея или дополнительная вращающаяся масса;
г) для самовсасывающего захвата - запасной ход, как минимум равный 5% от общего хода поршня.
Примечание - Потери вакуума могут произойти, например, из-за утечек либо, в случае несамовсасывающих вакуумных захватов, из-за сбоя питания.
7.2.6 На вакуумных захватах должно быть установлено устройство, автоматически предупреждающее о достижении диапазона падения давления, когда потери вакуума не могут быть компенсированы (индикатор состояния разреженности). Предупреждающий сигнал должен быть визуальным либо акустическим в зависимости от обстоятельств использования вакуумных захватов. Предупредительный сигнал должен сохраняться даже при отключении питания вакуумного захвата и предупреждать оператора и людей, находящихся в рабочей зоне, о том, что рабочий вакуум составляет 80% или менее от предусмотренного значения рабочего вакуума и/или о выходе из строя вакуумного насоса.
Примечание - Предупреждающее устройство не является устройством измерения давления (7.2.2) или индикатором (7.2.3).
7.2.7 В случае перебоев с питанием вакуумный захват должен удерживать груз не менее 5 мин. Это необязательно в запретных для нахождения людей зонах и для турбинных вакуумных захватов, если выполнены все нижеперечисленные условия:
а) оператор контролирует груз через пульт управления, расположение которого гарантирует, что оператор находится вне зоны падения, в случае если груз упадет;
б) в дополнение к 7.2.6 предупреждающее устройство должно срабатывать и в случае любого сбоя питания;
в) производитель должен указать, что подъем груза от основания до геометрического центра грузовых присосов выше 1,8 м запрещен соответствующей маркировкой и инструкциями по эксплуатации.
7.2.8 Для вакуумных захватов, предназначенных для использования в зонах, где не исключено внешнее механическое воздействие на захват или перемещаемый груз, необходимы резервное удерживающее устройство либо два бака резервного вакуума, каждый с обратным клапаном. Каждый бак резервного вакуума должен быть соединен с отдельным вакуумным грузовым присосом. Каждый грузовой присос должен соответствовать требованиям 7.2.1.
7.2.9 Освобождение груза должно быть обеспечено управляющим устройством, предусматривающим минимум два последовательных действия оператора.
Это условие не является обязательным, если освобождение груза невозможно до полного опускания груза либо если он находится в запретной для нахождения людей зоне.
7.2.10 Управление наклонными или поворотными движениями должно осуществляться при помощи устройств управления с автоматическим возвратом в исходное положение.
7.2.11 Форма грузового присоса должна соответствовать форме предполагаемого груза. В случаях, когда используется более одного грузового присоса, соединенного с траверсой, расположение и предельная рабочая нагрузка грузового присоса должны соответствовать предполагаемому грузу. Разделенная нагрузка между каждым грузовым присосом не должна превышать предельную рабочую нагрузку с учетом жесткости и нагрузки на вакуумный захват.
7.3 Грузовые магниты
7.3.1 Общие требования
7.3.1.1 Освобождение груза магнитом должно осуществляться управляющим устройством, предусматривающим минимум два последовательных действия оператора.
Это условие не является обязательным, если освобождение груза невозможно, пока груз не будет опущен, либо если он находится в запретной для нахождения людей зоне.
7.3.1.2 Расположение грузовых магнитов, устанавливаемых на траверсе, должно соответствовать конфигурации груза. Распределенная нагрузка между каждым грузовым магнитом не должна превышать предельную рабочую нагрузку с учетом деформации груза и грузовой траверсы.
7.3.2 Электрические грузовые магниты, питаемые от батареи
7.3.2.1 Электрические грузовые магниты, питаемые от батареи, должны обеспечивать отрывное усилие, в два раза превышающее предельную рабочую нагрузку в условиях, указанных производителем.
7.3.2.2 В конструкции электрических грузовых магнитов, питаемых от батареи, должно быть предусмотрено автоматическое устройство, которое контролирует уровень заряда батареи и подает предупредительный сигнал минимум за 10 минут до того, как уровень заряда упадет до предельного минимума, когда происходит освобождение груза. Предупреждающий сигнал должен быть визуальным либо акустическим.
7.3.2.3 Должно быть предусмотрено предохранительное устройство, которое после срабатывания устройства предупреждения о низком заряде батареи и выключении магнита, предотвращает повторное включение магнита до тех пор, пока батарея не будет заряжена до минимального уровня, при котором предупреждающее устройство о низком заряде не активируется.
7.3.2.4 В конструкции электрических грузовых магнитов, питаемых от батареи, должен быть предусмотрен индикатор, показывающий, включен или выключен магнит.
Примечание - Индикатор не обязательно должен показывать, что магнитное поле является достаточным для работы.
7.3.3 Электрические грузовые магниты, питаемые от внешней сети
7.3.3.1 Электрические грузовые магниты, питаемые от внешней сети, должны обеспечивать отрывное усилие, в два раза превышающее предельную рабочую нагрузку в условиях, указанных производителем.
7.3.3.2 Системой управления электрических грузовых магнитов, питаемых от внешней сети, должно быть предусмотрено автоматическое устройство, предупреждающее о неработоспособности основного источника питания. Предупреждающий сигнал должен быть визуальным либо акустическим. Устройство не требуется при работе в запретных для нахождения людей зонах.
7.3.3.3 Конструкцией электрических грузовых магнитов, питаемых от внешней сети, должна быть предусмотрена резервная аккумуляторная батарея, обеспечивающая подачу энергии и работу магнитов в случае сбоя питания. Она должна обеспечить ток, необходимый для удержания рабочей нагрузки не менее 10 мин. Это не является необходимым в запретных для нахождения людей зонах.
7.3.3.4 Требования 7.3.3.2 и 7.3.3.3 необязательно соблюдать, если выполнены следующие условия:
а) подъем грузовым магнитом выше 1,8 м от основания до геометрического центра груза запрещен, что должно быть подтверждено соответствующими маркировками, нанесенными на корпус магнита и указано в РЭ;
б) масса груза не превышает 20 кг.
7.3.3.5 В случаях, когда обслуживающему персоналу затруднительно покинуть зону падения удерживаемого грузовым магнитом груза (например, в зоне воздействия электромагнитного поля или на судах во время погрузки и разгрузки), между контрольным шкафом, магнитным ГЗП (например, траверсой и каждым из магнитов) и блоком управления питанием должны быть предусмотрены резервные гибкие кабельные линии питания постоянного тока. В качестве альтернативы должно быть предусмотрено резервное механическое удерживающее устройство.
7.3.3.6 Грузовые магниты, предназначенные для поднятия таких грузов как плиты, листы, либо бруски из пачки или штабеля, должны иметь устройства, регулирующие мощность от источника питания и обеспечивающие сброс избыточной нагрузки. После того, как избыточная нагрузка сброшена, контролирующее устройство разрешает восстановление полной мощности.
7.3.3.7 Системой управления электрических грузовых магнитов, питаемых от внешней сети, должен быть предусмотрен индикатор, показывающий включен или выключен магнит. Для магнитов с регулятором мощности индикатор должен показывать полное или частичное размагничивание.
Примечание - Индикатор не обязательно должен показывать, что магнитное поле является достаточным для работы.
7.3.4 Постоянные грузовые магниты
Постоянные грузовые магниты должны соответствовать следующим требованиям:
а) обеспечивать отрывное усилие, как минимум в три раза превышающее предельную рабочую нагрузку в условиях, указанных производителем;
б) контрольный прибор должен четко указывать включен или выключен магнит.
7.3.5 Постоянные грузовые электромагниты
7.3.5.1 Постоянные грузовые электромагниты должны обеспечивать отрывное усилие, как минимум в три раза превышающее предельную рабочую нагрузку в условиях, указанных производителем.
7.3.5.2 Постоянные грузовые электромагниты должны быть оснащены индикатором, который показывает, включен или выключен магнит. Для магнитов с регулируемой мощностью индикатор должен показывать полное или частичное размагничивание.
Примечание - Индикатор не обязательно должен показывать, что магнитное поле является достаточным для работы.
7.4 С-образные захваты
7.4.1 С-образные захваты без груза должны висеть с наклоном нижнего рычага в пределах 5° к горизонтали, чтобы облегчить доступ к грузу.
7.4.2 Одно из следующих средств должно предохранять груз от соскальзывания или от падения (груза либо его части) с нижнего рычага:
а) С-образный захват в нагруженном положении наклонен назад под углом 5° и более к горизонтали;
б) нижний рычаг С-образного захвата, предназначенного для рулонов листовой стали, в нагруженном положении должен быть горизонтален или наклонен назад;
в) цепь, ремень, балка для закрытия С-образного захвата;
г) система креплений для фиксации груза;
д) концевой упор (ограничитель) на нижнем рычаге.
7.5 Вилочные захваты
7.5.1 Вилочные захваты без груза должны висеть с наклоном вил под углом 5° к горизонтали, чтобы облегчить доступ к грузу.
7.5.2 В пределах намеченного диапазона нагрузки и положения центра тяжести груза вилочные захваты должны быть наклонены назад под углом, большим или равным 5° к горизонтали, чтобы предохранить груз от соскальзывания с вил захвата.
7.5.3 Вилочные захваты для хрупких штабелируемых материалов (например, кирпичи или плитка) при использовании в зоне, опасной для нахождения людей, должны иметь в конструкции удерживающее устройство (например, сеть или корзину).
Резервные удерживающие устройства должны предохранять груз либо части груза от высвобождения и падения.
Размеры отверстий снизу и по бокам резервных удерживающих устройств должны быть такими, чтобы в них не могла пройти сфера диаметром 50 мм, а максимальный размер отверстия не должен превышать половины минимального размера единицы перемещаемого груза (например, плитки).
7.5.4 Резервное удерживающее устройство должно выдерживать равномерно распределенную нагрузку, равную 50% от предельной рабочей нагрузки во всех горизонтальных направлениях и 200% от предельной рабочей нагрузки в вертикальном направлении.
7.5.5 Вилочные захваты для единичных грузов (например, обернутые пластиковые грузы на поддонах), которые применяют в зоне, опасной для нахождения людей, должны иметь удерживающие устройства (например, цепи, ремни, бруски) для предохранения груза от соскальзывания.
7.6 Грузовые траверсы
7.6.1 Для грузовых траверс, предназначенных для работы под наклоном, в паспорте и на видимом для стропальщика месте траверсы должен быть указан максимально разрешимый угол наклона от горизонтали. Если грузовая траверса предназначена для работы в горизонтальном положении, ее конструкция должна допускать наклон до 6° от горизонтали.
7.6.2 Подвижные детали конструкции траверсы должны быть оснащены устройствами, удерживающими их в нужном положении под нагрузкой. Эти детали должны быть эффективны в пределах 6° от максимального угла наклона, разрешенного для траверсы. В случае если устройства работают на основе трения, расчетный коэффициент трения должен быть не менее двух.
7.6.3 Грузовые траверсы, имеющие механизмы поворота и наклона, которые могут создать неконтролируемые и представляющие опасность движения, должны быть оснащены устройствами остановки и фиксации траверсы и (или) груза в заданном положении.
7.6.4 Если расстояния между движущимися деталями траверсы контролируются электрическими элементами, необходимо оснащение защитным устройством, с целью исключения падения груза и других возможных опасностей.
7.6.5 Жесткость базовой составной части траверсы должна обеспечивать неизменяемость формы груза, воздействие на который сжимающих усилий может привести к его упругой и пластической деформации и (или) разрушению.
Допустимые вертикальные упругие прогибы продольных балок и распорок траверс при воздействии нагрузки, создаваемой массой номинального груза, без учета коэффициента перегрузки и динамических нагрузок, должны быть приведены в РЭ. В общем случае, прогибы не должны превышать:
- для траверс длиной до 12 м - 1/300;
- для траверс длиной свыше 12 м - 1/400.
7.6.6 Размеры траверс должны быть таковы, чтобы их наружные элементы не выступали (либо выступали не более чем на 150 мм с каждой стороны) за контуры груза (рисунок 9). Допускается отступление от этого требования, если оно препятствует сохранной перегрузке груза (рисунок 10).
1 - груз; 2 - траверса
Рисунок 9 - Максимальная величина выступания
наружных элементов траверсы за контур груза
1 - перегружаемый автомобиль; 2 - траверса
Рисунок 10 - Увеличение выступания наружных элементов
траверсы за контур груза в целях его сохранности
7.6.7 Присоединение грузовых траверс к грузоподъемной машине
7.6.7.1 Конструкция разъемных соединений грузовых траверс с грузоподъемной машиной и их компонентов с траверсой или между собой должна исключать их случайное разъединение при подъеме, опускании и на весу с учетом требований 6.10.
7.6.7.2 Должны быть предусмотрены средства, предотвращающие любое непреднамеренное движение, либо повреждение деталей траверсы во время хранения, соединения с грузоподъемной машиной и отсоединения от грузоподъемной машины.
7.6.8 Подвеска груза на грузовые траверсы
7.6.8.1 Грузовая траверса с грузом, подвешенным к деталям, движущимся вдоль траверсы, должна быть оснащена средствами, предотвращающими их непреднамеренное движение и (или) падение.
7.6.8.2 Детали, перемещаемые вдоль траверсы, должны быть оснащены средствами для их удержания в установленном положении.
7.6.8.3 В случаях ручного позиционирования передвижных деталей траверсы положение данных деталей должно быть определено хорошо видимой для стропальщика соответствующей разметкой.
8 Требования к надежности и ремонтопригодности
8.1 Показатели надежности (долговечность, безотказность, сохраняемость и ремонтопригодность) устанавливают отдельно для каждого конкретного изделия, при этом должны быть учтены следующие рекомендации:
- ресурс ГЗП, за исключением неремонтопригодных ГЗП, должен быть не менее 150 000 циклов, при этом минимальные сроки службы грейферов, захватов и траверс должны быть не менее установленных ГОСТ 33715;
- наработка ГЗП до отказа должна быть не менее 45 000 циклов;
- ГЗП должны сохранять работоспособное состояние после транспортирования и в период хранения;
- ГЗП должны быть ремонтопригодны. Исключение могут составлять ГЗП, имеющие соединительные элементы, выполненные посредством сварки, заплетки или сшивки, которые могут быть невосстанавливаемыми. Их ресурс равен наработке до отказа.
8.2 Конструкция механизированных ГЗП должна обеспечивать поузловой ремонт и возможность замены отказавшего узла (детали) без доставки ГЗП в ремонтные мастерские.
9 Комплектность
9.1 Комплектность поставки должна быть приведена в паспорте на конкретное ГЗП.
9.2 В комплект поставки ГЗП в общем случае входят:
- ГЗП;
- ЭД;
- сменное оборудование (при необходимости);
- ЗИП (при необходимости).
Допускается по согласованию между потребителем и изготовителем поставлять:
- ГЗП без гибких соединительных элементов;
- отдельные составные части ГЗП (например, захваты);
- оборудование для обеспечения устойчивости ГЗП в условиях 6.5.
В случаях, предусмотренных техническими регламентами, потребителю должна быть предоставлена копия обоснования безопасности.
9.3 ЗИП поставляют в случаях:
- наличия в составе ГЗП быстроизнашивающихся деталей (например, шипов и шайб для их крепления в захвате для ящиков, стопорных шайб в роликовой скобе и т.п.);
- неодинакового ресурса составных частей изделия (например, замка грузового автомата захвата для рулонов стали);
- необходимости использования специального инструмента для технического обслуживания и ремонта (например, оправок для опрессовки стопорных шайб в специальном захвате);
- необходимости использования специальных приспособлений при техническом обслуживании и ремонте ГЗП (например подставки для хранения и транспортирования захвата для рулонов стали, балансира для спаренной работы кранов и т.п.).
9.4 В состав ЭД ГЗП должны входить:
а) На ГЗП имеющие приводы, тяги, поворотные захваты, кантователи и т.п. элементы и узлы и электрифицированные ГЗП, в т.ч. спредеры, грейферы, грузовые магниты, вакуумные захваты:
- паспорт, составленный с учетом положений ГОСТ 34022;
- РЭ, разработанное с учетом требований ГОСТ 34022, настоящего стандарта и конструктивного исполнения ГЗП.
Примечание - В отношении грузовых магнитов, грузоподъемность которых зависит от материала груза, его толщины и поверхности, а также воздушного зазора между грузом и магнитом, в РЭ необходимо указывать номинальную грузоподъемность в зависимости от различных параметров. Должно быть также указано, что грузоподъемность зависит не только от магнитных сил, но также может быть ограничена грузоподъемностью крюковой подвески;
б) На ГЗП, состоящие из одного-двух элементов (например, единичный захват):
- паспорт, совмещенный с РЭ. С партией данных ГЗП объемом от 10 до 50 шт. включительно, должны быть поставлены не менее двух экземпляров ЭД. Количество экземпляров этой документации устанавливается соглашением между изготовителем и потребителем.
Примечание - Партией ГЗП считается совокупность изделий с одним условным обозначением (одинаковыми техническими данными и характеристиками) в количестве не менее 2 шт., поставляемых одновременно одному потребителю.
9.5 Допускается поставка РЭ на электронных носителях и размещение его на интернет-сайте изготовителя. При этом должна быть обеспечена его однозначная идентификация для конкретного изделия и возможность скачивания документа в неизменяемом формате.
Примечание - Идентификация изделия может быть достигнута путем нанесения штрихкодов, электронных меток или другим способом электронной системы регистрации.
10 Правила приемки
10.1 Каждое ГЗП должно быть подвергнуто приемо-сдаточным испытаниям по программе, приведенной в таблице 2.
10.2 Службе технического контроля, проводящей приемо-сдаточные испытания, должны быть представлены:
- ГЗП, подлежащее испытаниям;
- КД (рабочие чертежи) и ЭД;
- согласительные документы, подтверждающие разрешение разработчика на замену материалов или изменение отдельных элементов конструкции (при наличии изменений);
- сертификаты на материалы или данные лабораторного анализа, полученные в процессе изготовления;
- документы, подтверждающие характеристики и качество покупных изделий, включая документы о подтверждении соответствия в случаях, предусмотренных техническими регламентами;
- акты пооперационного контроля, если он предусмотрен.
Крюки собственного производства должны быть снабжены маркировкой, соответствующей требованиям стандартов, ТУ и сопроводительной технологической документации.
10.3 Грузоподъемные цепи, стальные канаты, текстильные канаты и ленты, применяемые для изготовления гибких соединительных элементов ГЗП, должны иметь свидетельство, содержащее следующую информацию:
- наименование и адрес изготовителя;
- марка цепи, стального каната, текстильного каната или ленты, включающая номинальный размер, конструкцию и данные о материале;
- использовавшийся метод проведения испытаний;
- минимальная разрывная (или разрушающая) нагрузка.
Таблица 2
Перечень операций при приемо-сдаточных испытаниях
Наименование испытаний и проверок
Разделы и пункты требований настоящего стандарта либо КД, ТУ на конкретное изделие
Методы контроля
Проверка общего вида, комплектности, правильности маркировки, соответствия требованиям безопасности
По 11.1
Проверка качества сборки и регулировки
КД
По 11.2
Проверка наличия смазки в трущихся парах
6.28, КД
По 11.3
Проверка на функционирование без груза
КД
По 11.4
Проверка основных размеров и массы
КД
Проверка материалов деталей
5.2, 5.24, 5.25, КД, ТУ
По 11.8
Проверка сварных швов
5.24, 5.25, 5.26, 5.27, 6.23, КД, ТУ
По 11.9
Проверка качества подготовки поверхности, перед окрашиванием
Испытание на статическую прочность
КД, 5.3, 5.7
Осмотр и проверка основных параметров и размеров после испытания на статическую прочность
КД
Проверка качества покрытий
5.31, 5.32, 5.33, КД
По 11.11, 11.12
10.4 Результаты приемо-сдаточных испытаний признают удовлетворительными, если все проверенные параметры ГЗП соответствуют требованиям КД, ТУ и настоящего стандарта.
10.5 При неудовлетворительных результатах приемо-сдаточных испытаний дальнейший порядок приемки предъявленных ГЗП или комплектующих изделий устанавливает служба технического контроля изготовителя в зависимости от характера выявленных дефектов.
10.6 В случае обнаружения брака приемку необходимо возобновлять только после анализа и устранения причин появления обнаруженных дефектов.
11 Методы контроля и испытаний
11.1 Проверку общего вида ГЗП, комплектности, наличия и правильности маркировки, соответствия требованиям безопасности осуществляют внешним (визуальным) осмотром.
11.2 Качество сборки и регулировки проверяют внешним осмотром, измерениями и проворачиванием подвижных частей ГЗП.
11.3 Наличие смазки в трущихся парах и шарнирных соединениях проверяют внешним осмотром, перемещением подвижных частей ГЗП, выборочным продавливанием смазки или разборкой отдельных узлов.
11.4 Проверку на функционирование без груза проводят путем перемещения подвижных частей ГЗП в заданных пределах перемещения вручную или с помощью грузоподъемной машины от двух до пяти раз.
11.5 Проверку основных и габаритных размеров осуществляют методом визуального и измерительного контроля с применением универсальных средств измерений линейных величин с точностью измерения от +/- 0,05 до +/- 1,0 мм включительно.
11.6 Проверку основных размеров или конфигурации отдельных рабочих частей ГЗП (высоты и глубины захватов, взаимного расположения отдельных элементов и т.п.) рекомендуется выполнять с помощью специальных калиброванных шаблонов.
11.7 Массу изделий проверяют с использованием весов для статического взвешивания обычного класса точности по ГОСТ 29329. Верхний предел взвешивания весов не должен более чем в пять раз превышать массу ГЗП.
11.8 Марки материалов деталей следует проверять по сертификатам завода-изготовителя либо по данным лабораторного анализа. При включении в состав ГЗП комплектующих изделий импортной поставки последние должны иметь сертификат качества (декларацию), подтверждающий проведение их приемки и испытаний в соответствии с требованиями международных, региональных или национальных стандартов. При этом показатели безопасности не должны быть ниже установленных настоящим стандартом и стандартами, приведенными в 5.17.
11.9 Качество сварных соединений должно быть проверено методом визуального и измерительного контроля, а также иными методами неразрушающего контроля в случае, если данные методы предусмотрены КД.
Дефектные участки швов должны быть удалены механическим способом на длину дефектного места плюс 10 мм с каждой стороны при условии сохранения основного металла и после предъявления техническому контролю заварены и вновь предъявлены техническому контролю. Вторичная разделка и заварка швов на одних и тех же участках недопустима.
11.10 Проверку качества подготовки и контроль степени очистки металлической поверхности перед окрашиванием проводят в соответствии с требованиями ГОСТ 9.402.
11.11 Качество лакокрасочных покрытий должно быть проверено визуально и соответствовать классу покрытий VI по ГОСТ 9.032.
11.12 Качество металлических покрытий должно быть проверено визуально в соответствии с требованиями ГОСТ 9.301.
11.13 Методы испытания ГЗП на статическую прочность, изложенные в ТУ, РЭ, программах приемочных, приемо-сдаточных и других видов испытаний, в том числе величина испытательной нагрузки, схема ее приложения, время выдержки под нагрузкой, должны удовлетворять требованиям настоящего стандарта и содержать необходимые меры безопасности для персонала, проводящего испытания.
Сведения о необходимости, объеме и периодичности испытания на статическую прочность в процессе эксплуатации ГЗП должны быть приведены в РЭ.
11.14 Каждое ГЗП должно быть испытано статической нагрузкой, превышающей грузоподъемность этого ГЗП на 25%, в следующей последовательности:
- испытательный груз, зацепленный (подхваченный, зажатый, присосанный, примагниченный) рабочим органом испытуемого ГЗП или подвешенный к нему, с возможно меньшими ускорениями поднимают грузоподъемной машиной на высоту от 50 до 100 мм и выдерживают в таком положении не менее 10 мин;
- по истечении указанного времени испытательный груз опускают на площадку.
Примечание - Статическая испытательная нагрузка по отношению к номинальной грузоподъемности для ГЗП, перечисленных в разделе 7, может отличаться от приведенной в настоящем пункте, при этом должен быть проведен анализ риска возникновения непредвиденных ситуаций и поломок ГЗП, связанный с применением испытательной нагрузки, составляющей менее 125% номинальной грузоподъемности.
11.15 Элементы ГЗП (крюки, соединительные элементы, звенья, ветви и т.п.) при серийном изготовлении для поставки сторонним предприятиям в качестве комплектующих изделий подлежат испытанию у изготовителя статической нагрузкой, превышающей номинальную грузоподъемность элемента на 75%. Испытанию подвергают не менее 2% от каждой партии изготавливаемых элементов, но не менее двух единиц.
При индивидуальном изготовлении подлежат испытанию элементы каждого ГЗП или каждое ГЗП.
11.16 При испытании специальных грузозахватных приспособлений, зацепка которыми испытательных грузов невозможна, методикой испытания должна быть предусмотрена схема надежного присоединения испытательного груза необходимой массы к изделиям, для которых предназначены грузозахватные приспособления. Масса изделий в данном случае является составной частью испытательного груза. Отклонения по массе не должны превышать 3%.
Примечание - При невозможности приобрести (доставить) изделие, для которого предназначено испытуемое ГЗП, либо из соображений возможного повреждения дорогостоящего оборудования испытания проводят с использованием имитатора груза или соответствующего нагрузочного приспособления.
11.17 Статическую прочность конструкции грейфера следует проверять путем симметричного нагружения челюстей испытательным грузом. При необходимости набора массы испытательного груза, часть предварительно взвешенного груза укладывают внутрь грейфера, а к челюстям снизу подвешивают дополнительный груз. Допустимо также подвешивание к челюстям всей массы испытательного груза. Схема подвешивания груза должна быть приведена в руководстве по эксплуатации грейфера или отражена в методике испытаний.
11.18 Испытания ГЗП, перечисленных в разделе 7, проводят с использованием методов, полностью имитирующих технологические операции зацепки, захвата, подхвата, присоса, удерживания и подъема груза, обеспечивающих воздействие максимальных нагрузок, которые могут возникнуть при использовании ГЗП по назначению с предусмотренными производителем параметрами и положениями груза и (или) его частей, в том числе должны быть сымитированы сбои, связанные с внезапным прекращением подачи электрической энергии и вакуума, а также изменения угла наклона ГЗП.
В процессе испытаний должна быть проверена работоспособность средств индикации, сигнализации, указателей, ограничителей, резервных удерживающих устройств, а также устойчивость ГЗП при хранении согласно 6.5.
11.18.1 Методы испытаний ГЗП, перечисленных в разделе 7, должны включать в себя необходимые меры безопасности и удовлетворять требованиям, установленным 11.13 и 11.18.
11.18.2 Фрикционный захват должен быть испытан с использованием листового образца, имеющего самый меньший из возможных коэффициент трения, масса которого не превышает 5% максимальной рабочей нагрузки захвата и толщиной, равной минимальному значению в диапазоне толщины.
Проверка работоспособности захватов, имеющих запирающие устройства, должна быть выполнена следующими способами:
- путем опускания поднятого груза на основание с последующим подъемом без какого-либо участия стропальщика;
- при поднятом ГЗП с грузом запирающий механизм необходимо перевести в открытое положение, при этом захват должен удерживать груз, далее запирающий механизм необходимо вернуть в закрытое положение и опустить груз на основание.
11.18.3 Испытания ГЗП, за исключением приемо-сдаточных испытаний и испытаний на статическую прочность в процессе эксплуатации, проводят в наихудших условиях окружающей среды, допускаемых производителем при эксплуатации и которые могут негативно сказаться на удерживании груза рабочими поверхностями ГЗП (например, при наличии масла или влаги).
11.18.4 При испытании траверс схема присоединения (зацепки, строповки) испытательного груза (компоновка грузов) должна быть выполнена таким образом, чтобы не препятствовать восприятию основными элементами металлоконструкции траверсы сжимающих или изгибающих усилий, возникающих при использовании траверсы по назначению.
11.18.5 Резервные механические удерживающие устройства должны быть испытаны с имитацией аварийной ситуации, вызванной деформацией ГЗП или соскальзыванием (выскальзыванием), сползанием, смещением и наклоном более допускаемого угла, деформированием, неудержанием и последующим падением испытательного груза массой, соответствующей номинальной грузоподъемности.
11.18.6 ГЗП и резервные механические удерживающие устройства должны удерживать груз даже в случае их деформации.
11.19 Результаты испытания ГЗП статической нагрузкой анализируют после снятия с них нагрузки и приведения в состояние, безопасное для осмотра.
ГЗП признают не выдержавшим испытание в следующих случаях:
- при наличии остаточных деформаций и иных дефектов в элементах ГЗП, явившихся следствием испытания грузом,
- при падении (выпадении), соскальзывании (выскальзывании), сползании, смещении более допустимых расстояний и наклоне более допускаемого угла, деформировании, неудержании испытательного груза или его части.
При этом фиксируют значения деформаций, перемещений, отклонений и (или) устанавливают причины, предопределившие отрицательный результат испытания. Обнаруженные дефекты гибких соединительных элементов ГЗП, значения которых превышают установленные в ГОСТ 33715, также являются основанием для браковки.
Испытание прекращают или приостанавливают при возникновении аварийной ситуации, угрожающей безопасности лиц, участвующих в испытании. Продолжение испытаний допускается только после устранения причин, вызвавших прекращение или приостановку испытания.
11.20 Результаты испытания ГЗП статической нагрузкой, проведенного в процессе приемочных испытаний, должны быть оформлены актом испытания. При положительных результатах в нем должно быть подтверждено, что ГЗП выдержало испытание, отвечает требованиям настоящего стандарта, ТУ и КД, находится в работоспособном состоянии и может быть использовано по назначению.
При отрицательных результатах испытания в акте отражают выявленные дефекты. Вероятные причины их появления используют для доработки конструкции ГЗП и (или) изменении технологии изготовления.
Сведения о результатах испытания ГЗП статической нагрузкой, проведенного в процессе приемо-сдаточных испытаний, вносят в паспорт и ГЗП регистрируют в порядке, установленном изготовителем.
12 Маркировка
12.1 Каждое ГЗП должно иметь маркировку, наносимую непосредственно на изделие, а также клеймо технического контроля изготовителя, место и способ нанесения которых указывают в КД. Должна быть обеспечена сохранность маркировки в течение всего срока службы изделия.
12.2 Если нанесение маркировки непосредственно на ГЗП нецелесообразно или невозможно, она должна быть нанесена на надежно закрепленную табличку, которая должна быть четко различимой, установлена в месте, где существует наименьший риск ее повреждения (например, в результате задевания за груз, тару или транспортные средства) и не снижать уровень прочности ГЗП.
12.3 Маркировочная табличка должна соответствовать требованиям ГОСТ 12969 и ГОСТ 12971, быть хорошо видима и защищена от возможных повреждений при эксплуатации.
12.4 Составные части ГЗП, не являющиеся оригинальными (покупные изделия), должны иметь нанесенную изготовителем маркировку, а в случаях, когда это не представляется возможным, - табличку или несъемное кольцо с биркой, на которых указывают наименование, условное обозначение и товарный знак или наименование изготовителя.
На чалочных крюках должны быть нанесены:
- наименование или товарный знак предприятия-изготовителя;
- допускаемая нагрузка;
- год испытания.
Маркировка кованых и штампованных крюков с хвостовой частью должна соответствовать требованиям ГОСТ 34680.
Маркировка пластинчатых крюков должна соответствовать требованиям ГОСТ 6619, при этом пластинчатый крюк и вилка для его подвешивания должны иметь одинаковые обозначения.
12.5 На всех ГЗП должны быть указаны: номинальная грузоподъемность, обозначение материалов, для которых они предназначены, предупреждения об опасности и указания по технике безопасности (если последние три вида сведений необходимы для безопасной эксплуатации).
Грузоподъемность должна быть указана на видимом месте основной конструкции ГЗП.
12.6 Маркировка стальных канатных ветвей гибких элементов ГЗП, изготовляемых способом заплетки, должна быть нанесена на бирку, вплетаемую в прядь одной из петель канатной ветви.
12.7 Маркировку стальных канатных ветвей, изготовляемых способом опрессовки, допускается наносить непосредственно на втулку. В этом случае следует наносить маркировку на обоих концах канатной ветви.
12.8 Маркировка на ГЗП с неразъемно присоединенным гибким соединительным элементом (ветвью), вертикальным в рабочем положении <1>, одновременно является маркировкой гибкого соединительного элемента. Эту маркировку необходимо возобновлять после каждой замены и испытаний гибкого соединительного элемента (ветви) ГЗП.
--------------------------------
<1> Вертикальным считается гибкий соединительный элемент (ветвь), отклоняемый от вертикали на угол не более 5°.
12.9 Постоянные данные маркировки должны быть нанесены фотохимическим или другими способами, обеспечивающими четкость и сохранность их в течение всего срока службы ГЗП.
Переменные данные должны быть нанесены ударным способом.
12.10 Маркировка ГЗП, в общем случае, должна содержать следующие сведения:
- товарный знак или наименование изготовителя;
- наименование ГЗП и грузоподъемность, т;
- обозначение изделия, обозначение ТУ или настоящего стандарта;
- номер (по журналу регистрации изготовителя);
- дата испытаний;
- масса ГЗП;
- знак обращения на рынке.
12.11 Грейфер должен быть снабжен табличкой с указанием изготовителя или его товарного знака, номера по системе нумерации изготовителя, собственной массы, вида материала, для перевалки которого он предназначен, допустимой массы зачерпываемого или захватываемого груза.
12.12 Маркировка номинальной грузоподъемности, наносимая на съемные составные части ГЗП, должна соответствовать грузоподъемности (допускаемой нагрузке) только этой составной части (ветви, карабина, захвата, концевого или соединительного звена и т.п.).
12.13 Маркировка номинальной грузоподъемности съемных захватов, каждый из которых не может быть использован самостоятельно (захваты для ящиков, проката, труб и т.п.), должна соответствовать грузоподъемности комплекта захватов или всего ГЗП. Эти данные должны быть нанесены на каждый захват.
12.14 Данные о массе наносят на элементы ГЗП (захваты или концевые звенья), зацепляемые (отцепляемые) вручную и имеющие массу более 5 кг каждый.
12.15 На ГЗП, состоящие из нескольких съемных составных частей (например, траверсы, включающие рамы, балки, подвески, канаты, скобы и т.п.), рекомендуется наносить схему сборки и (или) запасовки, с указанием основных параметров этих составных частей, таких как:
- длины и допустимые нагрузки на канатные и цепные ветви;
- типоразмеров скоб;
- различных вариантов расположения захватов и т.п.
ИС МЕГАНОРМ: примечание.
В официальном тексте документа, видимо, допущена опечатка: имеется в виду п. 12.10, а не п. 10.10.
12.16 В дополнение к сведениям, указанным в 10.10, для ГЗП, перечисленных в разделе 7, в маркировке должны быть указаны:
а) на ГЗП, который удерживает груз при помощи прижимного усилия - допустимый диапазон размеров зажимаемых деталей;
б) на зажимах для плит и самовсасывающих вакуумных захватах - минимальная рабочая нагрузка;
в) на оборудовании, механически присоединяемом к грузу, - информация о разъемах, указывающих о присоединении к грузу (например, разъемы, встроенные в сборные бетонные детали);
г) на С-образных и вилочных захватах - пределы расположения центра тяжести груза;
д) на вилочных захватах, если минимальная нагрузка необходима для обеспечения безопасного наклона в соответствии с 7.5.2, - данная минимальная нагрузка;
е) на турбинных вакуумных захватах с временем удержания в случае сбоя питания менее 5 мин и на иных ГЗП, где это обусловлено их конструкцией и безопасностью технологического процесса, в котором они задействованы, - предупреждение "ВНИМАНИЕ - груз не должен подниматься выше 1,8 м";
ж) на грузовых магнитах:
- допустимая температура нагрева груза (металла);
- значения номинальной грузоподъемности в зависимости от характера груза, указываемые в процентном отношении массы поднимаемого груза к паспортной грузоподъемности магнита:
- стальные плиты и болванки - 100%,
- рельсы и бруски - 50%,
- копровый шар - от 40% до 60%,
- чугунные чушки - от 4% до 6%,
- скрап стальной - от 2% до 7%,
- скрап чугунный - 3%,
- стружка - от 1,5% до 2%.
13 Упаковка
13.1 ГЗП обязательной консервации и упаковке подлежат при необходимости их сохранности при транспортировании и хранении.
13.2 Необходимость и вид транспортной тары устанавливаются требованиями ТУ или соглашением между изготовителем и потребителем.
Ящики для транспортирования ГЗП должны соответствовать требованиям ГОСТ 2991.
14 Хранение
14.1 Условия хранения ГЗП должны соответствовать требованиям ЭД и обеспечивать сохранность и исправное состояние ГЗП и их конструктивных элементов, включая соединительные элементы из искусственных волокон, электрическое, гидравлическое или пневматическое оборудование.
14.2 ГЗП следует хранить в подвешенном положении либо на стеллажах, специальных площадках, подставках или стендах.
15 Указания по эксплуатации
15.1 Эксплуатацию ГЗП необходимо проводить в соответствии с требованиями ЭД, стандартов и нормативных правовых документов государств, принявших настоящий стандарт.
15.2 Съемные ГЗП должны иметь эксплуатационную маркировку (инвентарный номер, грузоподъемность, дату испытаний и т.п.), наносимую краской на хорошо просматриваемую боковую поверхность цветом, контрастным к фону.
УДК 621.873:531.2:006.354
МКС 53.020.20
NEQ
Ключевые слова: грузоподъемные машины, грузозахватные приспособления, безопасность, магниты, траверсы, захваты