Главная // Актуальные документы // ГОСТ (Государственный стандарт)СПРАВКА
Источник публикации
М.: ФГБУ "РСТ", 2021
Примечание к документу
Отдельные положения данного документа включены в
Перечень международных и региональных (межгосударственных) стандартов, а в случае их отсутствия - национальных (государственных) стандартов, в результате применения которых на добровольной основе обеспечивается соблюдение требований технического
регламента Таможенного союза "О безопасности упаковки" (ТР ТС 005/2011) и в
Перечень международных и региональных (межгосударственных) стандартов, а в случае их отсутствия - национальных (государственных) стандартов, содержащих правила и методы исследований (испытаний) и измерений, в том числе правила отбора образцов, необходимые для применения и исполнения требований технического
регламента Таможенного союза "О безопасности упаковки" (ТР ТС 005/2011) и осуществления оценки соответствия объектов технического регулирования (
Решение Коллегии Евразийской экономической комиссии от 29.01.2024 N 9).
Документ включен в
Перечень международных и региональных (межгосударственных) стандартов, а в случае их отсутствия - национальных (государственных) стандартов, в результате применения которых на добровольной основе обеспечивается соблюдение требований технического
регламента Таможенного союза "О безопасности упаковки" (ТР ТС 005/2011), и
Перечень международных и региональных (межгосударственных) стандартов, а в случае их отсутствия - национальных (государственных) стандартов, содержащих правила и методы исследований (испытаний) и измерений, в том числе правила отбора образцов, необходимые для применения и исполнения требований технического
регламента Таможенного союза "О безопасности упаковки" (ТР ТС 005/2011) и осуществления оценки соответствия объектов технического регулирования (
Решение Коллегии Евразийской экономической комиссии от 20.01.2020 N 12).
Документ
введен в действие с 01.01.2022.
Название документа
"ГОСТ ISO 21898-2013. Межгосударственный стандарт. Упаковка. Контейнеры мягкие (МК) для неопасных грузов"
(введен в действие Приказом Росстандарта от 24.08.2021 N 762-ст)
"ГОСТ ISO 21898-2013. Межгосударственный стандарт. Упаковка. Контейнеры мягкие (МК) для неопасных грузов"
(введен в действие Приказом Росстандарта от 24.08.2021 N 762-ст)
по техническому регулированию
и метрологии
от 24 августа 2021 г. N 762-ст
МЕЖГОСУДАРСТВЕННЫЙ СТАНДАРТ
УПАКОВКА
КОНТЕЙНЕРЫ МЯГКИЕ (МК) ДЛЯ НЕОПАСНЫХ ГРУЗОВ
Packaging. Soft containers (SC) for non-dangerous goods
(ISO 21898:2004, Packaging - Flexible intermediate bulk
containers (FIBCs) for non-dangerous goods, IDT)
ГОСТ ISO 21898-2013
Дата введения
1 января 2022 года
Цели, основные принципы и общие правила проведения работ по межгосударственной стандартизации установлены
ГОСТ 1.0 "Межгосударственная система стандартизации. Основные положения" и
ГОСТ 1.2 "Межгосударственная система стандартизации. Стандарты межгосударственные, правила и рекомендации по межгосударственной стандартизации. Правила разработки, принятия, обновления и отмены"
1 ПОДГОТОВЛЕН Открытым акционерным обществом "СветлогорскХимволокно" (ОАО "СветлогорскХимволокно") на основе собственного перевода на русский язык англоязычной версии стандарта, указанного в
пункте 5
2 ВНЕСЕН Государственным комитетом по стандартизации Республики Беларусь
3 ПРИНЯТ Межгосударственным советом по стандартизации, метрологии и сертификации (протокол от 7 июня 2013 г. N 43)
За принятие проголосовали:
Краткое наименование страны по МК (ИСО 3166) 004-97 | Код страны по МК (ИСО 3166) 004-97 | Сокращенное наименование национального органа по стандартизации |
Армения | AM | ЗАО "Национальный орган по стандартизации и метрологии" Республики Армения |
Беларусь | BY | Госстандарт Республики Беларусь |
Киргизия | KG | Кыргызстандарт |
Молдова | MD | Институт стандартизации Молдовы |
Россия | RU | Росстандарт |
Таджикистан | TJ | Таджикстандарт |
Украина | UA | Минэкономразвития Украины |
4
Приказом Федерального агентства по техническому регулированию и метрологии от 24 августа 2021 г. N 762-ст межгосударственный стандарт ГОСТ ISO 21898-2013 введен в действие в качестве национального стандарта Российской Федерации с 1 января 2022 г.
5 Настоящий стандарт идентичен международному стандарту ISO 21898:2004 "Упаковка. Эластичные промежуточные контейнеры (FIBCs) для безопасных насыпных грузов" ("Packaging - Flexible intermediate bulk containers (FIBCs) for non-dangerous goods", IDT).
Международный стандарт разработан подкомитетом SC 3 "Требования к эксплуатации и методам испытаний упаковочных средств, упаковки и единичных грузов" Технического комитета по стандартизации ISO/TC 122 "Упаковка" Международной организации по стандартизации (ISO).
Официальные экземпляры международного стандарта, на основе которого подготовлен настоящий межгосударственный стандарт, и международных стандартов, на которые даны ссылки, имеются в национальном органе по стандартизации.
Наименование настоящего стандарта изменено относительно наименования указанного международного стандарта в связи с особенностями межгосударственной системы стандартизации.
Сведения о соответствии ссылочных международных стандартов межгосударственным стандартам приведены в дополнительном
приложении ДА
6 ВВЕДЕН ВПЕРВЫЕ
Информация о введении в действие (прекращении действия) настоящего стандарта и изменений к нему на территории указанных выше государств публикуется в указателях национальных стандартов, издаваемых в этих государствах, а также в сети Интернет на сайтах соответствующих национальных органов по стандартизации.
В случае пересмотра, изменения или отмены настоящего стандарта соответствующая информация будет опубликована на официальном интернет-сайте Межгосударственного совета по стандартизации, метрологии и сертификации в каталоге "Межгосударственные стандарты"
Настоящий стандарт устанавливает требования к материалам, конструкции, испытаниям, сертификации и маркировке мягких контейнеров (МК) для упаковки неопасных грузов: сухих в виде порошка, гранул или пастообразной массы, предназначенных для подъема их за верхнюю часть неразъемными или отсоединяемыми устройствами.
Прилагается руководство по выбору и безопасной эксплуатации МК.
В настоящем стандарте использованы нормативные ссылки на следующие стандарты [для датированных ссылок применяют только указанное издание ссылочного стандарта, для недатированных - последнее издание (включая все его изменения)]:
ISO 12048, Packaging - Complete, filled transport packages - Compression and stacking tests using a compression tester (Упаковка. Тара транспортная с товарами. Испытание на сжатие и штабелирование с использованием прибора для измерения сжимающего усилия)
ISO 13934-1, Textiles - Tensile properties of fabrics - Part 1: Determination of maximum force and elongation at maximum force using the strip method (Текстиль. Свойства тканей при растяжении. Часть 1. Определение максимального усилия и относительного удлинения при максимальном усилии методом полосы)
ISO/IEC 17025, General requirements for the competence of testing and calibration laboratories (Общие требования к компетентности испытательных и калибровочных лабораторий)
В настоящем стандарте применены следующие термины с соответствующими определениями:
3.1 Общие положения
3.1.1 мягкий контейнер для неопасных грузов; МК (flexible intermediate bulk container; FIBC): Мягкий контейнер, изготовленный из мягких материалов, таких как ткань, синтетическая пленка или бумага, предназначенный для контакта с упаковываемой продукцией: непосредственно (без вкладыша) или с внутренним вкладышем. Пустой контейнер легко складывается.
3.1.2 прочный мягкий контейнер для повторного использования (heavy-duty reusable flexible intermediate bulk container): Мягкий контейнер, разработанный и предназначенный для многократного наполнения, ремонтируемый в промышленных условиях и на месте эксплуатации при условии, что предел прочности на разрыв восстановленного участка будет не менее первоначального.
3.1.3 стандартный мягкий контейнер для повторного использования (standard-duty reusable flexible intermediate bulk container): Мягкий контейнер, разработанный и предназначенный для ограниченного числа наполнений.
Примечание 1 - Мягкий контейнер этого типа не может быть повторно использован в случае повреждения, так как он не подлежит ремонту.
Примечание 2 - Замена вкладыша не считается ремонтом.
3.1.4 одноразовый мягкий контейнер (single-trip flexible intermediate bulk container): Мягкий контейнер, разработанный и предназначенный только для одного наполнения.
Примечание - Мягкий контейнер этой категории нельзя повторно использовать. Мягкий контейнер этой категории не подлежит ремонту и замене вкладыша.
3.1.5 тип мягкого контейнера (FIBC type): Мягкий контейнер сходной конструкции с одинаковыми номинальными размерами поперечного сечения, изготовленный из аналогичных материалов и с применением сходной технологии (обеспечивающей необходимые эксплуатационные показатели).
Примечание 1 - В пределах одного типа длина окружности может быть увеличена до 10% по сравнению с экземплярами, проходящими типовые испытания, при условии сохранения такой же конфигурации. Если соответствующий тип изделия имеет разгрузочный рукав определенного размера, такой рукав может быть заменен на разгрузочный рукав меньшего диаметра.
Примечание 2 - Наличие или отсутствие вкладыша не является изменением типа.
3.1.6 безопасная рабочая нагрузка; БРН (safe working load; SWL): Максимальная эксплуатационная нагрузка мягкого контейнера, указанная в технических характеристиках.
3.1.7 коэффициент безопасности; КБ (safety factor; SF): Коэффициент соотношения между значением окончательной нагрузки при испытаниях на циклический подъем и значением безопасной рабочей нагрузки, округленный с понижением до целого числа.
Примечание 1 - Ниже представлены данные коэффициента безопасности (см.
B.3.3):
| | |
Значение безопасной рабочей нагрузки | 500 кг | 500 кг |
Окончательная нагрузка при испытаниях на циклический подъем | 2400 кгс | 2600 кгс |
Коэффициент | 4,8 | 5,2 |
Округленный коэффициент соотношения | 4 | 5 |
Примечание 2 - В
примере 1 показаны результаты тестов одноразового мягкого контейнера, не соответствующие настоящему стандарту, а в
примере 2 - результаты одноразового мягкого контейнера, соответствующие требованиям настоящего стандарта.
3.1.8 подъемное устройство (lifting device): Встроенные и (или) стационарные подъемные устройства, которые являются частью мягкого контейнера и испытываются совместно с ним.
Примечание - Отсоединяемые подъемные устройства считаются подъемными инструментами.
3.2 Комплектующие детали мягкого контейнера
3.2.1 оболочка (walls): Бесшовный рукав, состоящий из одного или более слоев или изготовленный из нескольких соединенных вместе частей.
3.2.2 основание (base): Часть мягкого контейнера, соединенная с оболочкой или единая с ней и являющаяся основанием стоящего мягкого контейнера.
3.2.3 простое основание (plain base): Основание без отверстия.
3.2.4 основание с отверстием (base with opening): Плоское, конусообразное или другой формы основание с открывающимся отверстием.
3.2.5 полностью открывающееся основание (full open base): Продолжение оболочки, формирующее основание мягкого контейнера после закрытия.
3.2.6 крышка (top): Верхняя часть мягкого контейнера, исключая транспортировочные устройства, формирующая верх мягкого контейнера после закрытия.
3.2.7 корпус (body): Оболочка и основание мягкого контейнера.
3.2.8 вкладыш (inner liner): Встроенный или съемный контейнер, который устанавливается внутри мягкого контейнера.
3.3 Эксплуатационные устройства
3.3.1 загрузочное отверстие (filling opening): Отверстие для наполнения мягкого контейнера.
3.3.2 загрузочный рукав (filling spout): Трубообразная часть крышки для наполнения мягкого контейнера.
3.3.3 загрузочная щель (filling slit): Длинное щелевое отверстие в крышке для наполнения мягкого контейнера.
3.3.4 разгрузочное отверстие (outlet): Отверстие для разгрузки мягкого контейнера.
3.3.5 разгрузочный рукав (discharging spout): Трубообразная часть основания для разгрузки мягкого контейнера.
3.3.6 закрывающие элементы (closing parts): Тканая лента, шнуры, скобы и т.д., которые используются для закрытия загрузочных и разгрузочных устройств.
3.4 Загрузочно-разгрузочные устройства
3.4.1 поддерживающие и подъемные устройства (supporting and lifting devices): Тканая лента, петли, скобы, снасти, рамки или другие устройства, являющиеся составной частью мягкого контейнера, встроенные или съемные, предназначенные для поддержки или подъема мягкого контейнера.
3.4.2 четырехточечная подвеска (four-point lifting): Четыре приспособления, используемые одновременно для подъема мягкого контейнера.
3.4.3 двухточечная подвеска (two-point lifting): Два приспособления, используемые одновременно для подъема мягкого контейнера.
3.4.4 одноточечная подвеска (one-point lifting): Одно или несколько приспособлений для подъема, объединенных в одной точке для подъема.
3.5 устройства защиты и безопасности (safety and protection devices): Клапаны, устройства вентиляции и дополнительные компоненты, которые защищают загрузочные, разгрузочные и погрузочно-разгрузочные устройства.
3.6 материалы с покрытием и ламинированные материалы (coated and laminated materials): Материалы с поверхностным покрытием или включающие два (или более) соединенных вместе слоя для защиты содержимого мягкого контейнера или для защиты окружающей среды от потери груза, содержащегося в мягком контейнере.
3.7 Специальная обработка
3.7.1 стабилизация (stabilization): Модификация материалов мягкого контейнера для более эффективной защиты от погодных условий и износа.
Пример - Добавление ультрафиолетового (УФ) абсорбента и (или) антиоксиданта.
3.7.2 антистатическая обработка (electrostatic conductivity treatment): Обработка с целью снятия статического электричества с мягкого контейнера.
3.7.3 обработка репеллентом (insect-repellent treatment): Обработка для повышения эффективности защиты мягкого контейнера и его содержимого от насекомых.
3.7.4 обработка огнезащитным средством (flame-retardant treatment): Обработка для придания мягкому контейнеру огнестойкости.
4 Материалы, конструкция и дизайн
4.1 Материалы
Все типы МК изготавливают из мягких материалов, имеющих соответствующие технические характеристики. Изготовитель МК должен иметь документ, подтверждающий качество каждой партии материала.
Свойства материалов могут быть изменены, например с целью повышения устойчивости материалов к теплу и солнечному свету, а также для снижения воздействия статического электричества.
Все материалы должны быть испытаны на разрушающее усилие в соответствии с международными стандартами и должны сохранить не менее 85% от первоначального разрушающего усилия после полного погружения в воду на (25 +/- 1) ч. Эти измерения должны быть проведены после первой сушки испытательного образца, а также после его кондиционирования в течение (60 +/- 5) мин при температуре (23 +/- 2) °C и относительной влажности воздуха (50 +/- 5)%.
Несущие нагрузку материалы МК после тестирования в соответствии с методами, описанными в
приложении A, должны сохранять не менее 50% от первоначальных значений разрушающего усилия и растяжения материалов.
Подбор материалов для соединения должен быть проведен с учетом дальнейшего восстановления.
4.2 Конструкция
Все стыки должны быть закреплены и (или) прошиты либо иметь заделанный конец шириной не менее 20 мм. Все концы швов должны быть надежно зафиксированы. Поверхности, соединенные свариванием, склеиванием или термической сваркой, должны быть чистыми.
4.3 Допустимая высота наполнения
Допустимая высота наполнения МК должна составлять от 0,5 до 2 значений величины самого короткого горизонтального размера МК.
Примечание - Для МК с круглым поперечным сечением самым коротким горизонтальным размером является диаметр МК. Для МК с прямоугольным основанием самым коротким горизонтальным размером является самая короткая сторона.
Все типы МК должны пройти следующие испытания на:
a) циклический подъем за верхнюю часть;
b) сжатие/штабелирование.
Не менее трех образцов каждого типа МК должны быть испытаны для последующей сертификации. Образцы испытывают следующим образом:
- образец 1: циклический подъем за верхнюю часть с использованием МК, имеющего самый короткий вертикальный размер;
- образец 2: циклический подъем за верхнюю часть с использованием МК, имеющего самый длинный вертикальный размер;
- образец 3: испытание на сжатие с использованием МК, имеющего самый длинный вертикальный размер.
В целях соответствия настоящему стандарту все три образца должны выдержать испытания.
Если для типа МК предусмотрен один постоянный вертикальный размер, то должны подвергаться и пройти испытания только образцы 1 и 3.
Один представленный на испытания образец должен быть обозначен и сохранен для рассмотрения жалоб или арбитражных разбирательств.
Испытания должны быть проведены в испытательной лаборатории, соответствующей требованиям ISO/IEC 17025.
5.2 Подготовка мягкого контейнера к испытаниям
Для проведения испытаний на циклический подъем за верхнюю часть и на сжатие/штабелирование МК должен быть наполнен изготовителем или поставщиком до указанного уровня (см.
4.3) с допустимым пределом

.
МК должен быть наполнен:
a) полимерными гранулами со следующими механическими свойствами:
1) насыпная плотность от 500 до 900 кг/м3;
2) размер гранул от 3 до 12 мм;
3) угол откоса от 30° до 35°;
b) любым содержимым, если известно, что его использование не представляет опасности.
Примечание - Если выбран вариант по
перечислению b), тип МК сертифицируют только для конкретного указанного продукта.
Перед испытанием наполненный МК должен быть выдержан при температуре и относительной влажности окружающего воздуха. В случае разногласий испытания должны быть проведены после выдержки МК при стандартной температуре (23 +/- 2) °C и относительной влажности (50 +/- 5)%.
5.3 Требования к испытаниям
5.3.1 Испытание на циклический подъем за верхнюю часть
Испытания на циклический подъем за верхнюю часть проводятся в соответствии с
приложением B и с учетом следующих критериев:
a) в подъемных устройствах не должно быть неисправностей, ведущих к прекращению удерживания груза;
b) в ходе испытаний при наличии вкладыша не должно быть его выступов за пределы внешней поверхности МК, кроме как через застежки, если конструкция предполагает такую особенность;
c) не должно быть потери содержимого;
d) не должно быть повреждений корпуса, что приведет к снижению безопасности МК при транспортировании и хранении.
Небольшая потеря содержимого из стыков и застежек не считается повреждением МК при условии, что после поднятия МК с земли дальнейшая потеря отсутствует.
5.3.2 Испытание на сжатие/на штабелирование
Испытание на сжатие/на штабелирование проводится в соответствии с
приложением C и с учетом следующих критериев:
a) не должно быть потери содержимого;
b) не должно быть повреждений корпуса, что приведет к нарушению безопасности МК для транспортирования и хранения.
Небольшая потеря содержимого из стыков и застежек не считается повреждением МК при условии, что после поднятия МК с земли дальнейшая потеря отсутствует.
Рекомендуется, чтобы любой тип МК, соответствующий требованиям настоящего стандарта, был сертифицирован органом, аккредитованным на соответствие действующим положениям (например, приведенным в ISO/IEC Guide 65), с выдачей сертификата соответствия, основанного на отчетах об успешных испытаниях. ISO/IEC Guide 65 может быть использовано, но это не является обязательным требованием настоящего стандарта. Если испытания и сертификация проводится одной организацией, конкретные физические лица, несущие ответственность за испытания и основанную на них сертификацию, должны быть указаны в документации.
a) название(я) и адрес(а) органа по сертификации, испытательной(ых) лаборатории(ий) вместе со ссылками на соответствующие протоколы испытаний, дату(ы);
b) материал, используемый в качестве груза при испытаниях на циклический подъем за верхнюю часть и на сжатие/штабелирование.
Сертификат на МК действителен в течение трех лет с даты его выдачи.
МК, сертифицированный и маркированный в соответствии с настоящим стандартом как одноразовый, не может быть использован повторно.
МК, сертифицированный и маркированный в соответствии с настоящим стандартом как для повторного использования (прочный или стандартный), может быть повторно использован только с тем грузом, что и при первом использовании.
Повторное использование МК с грузом, отличающимся от первого использования, не соответствует требованиям настоящего стандарта.
Все МК должны быть маркированы прочно прикрепленными и хорошо видимыми ярлыками либо нанесением прочной печати на корпус изделия, которые должны быть хорошо видны и читаемы после его наполнения. Маркировка должна включать следующие данные:
a) наименование и адрес изготовителя;
b) используемое изготовителем обозначение каждого типа МК;
c) наименование и адрес поставщика, если необходимо;
d) безопасную рабочую нагрузку, кг;
e) коэффициент безопасности, например 5 : 1, 6 : 1 или 8 : 1 при необходимости;
f) ссылку на настоящий стандарт;
g) класс МК: "прочный для повторного использования", "стандартный для повторного использования" или "одноразовый";
h) номер сертификата типовых испытаний (который будет уникальным для каждого типа), а также месяц и год проведения типовых испытаний;
i) название органа по сертификации;
j) дату изготовления МК (месяц и год);
k) пиктограммы рекомендованных подъемных методов;
l) особенности дополнительной специальной обработки, указанной в
3.7;
m) описание груза, если МК сертифицирован для конкретного груза.
Наименование и адрес изготовителя: |
Обозначение, используемое изготовителем: |
Безопасная рабочая нагрузка: _______ кг | Коэффициент безопасности: _______:1 |
| Сертификат N: |
| Дата выдачи сертификата: |
| Орган, выдавший сертификат: |
| Стандарт на проведение испытаний: ГОСТ ISO 21898-2013 |
| Класс МК: |
| Дата изготовления МК: |
| Специальная обработка (если требуется): |
| Сертифицирован только для (если требуется): |
Рекомендации по погрузке-разгрузке/пиктограммы: |
Наименование и адрес поставщиков (если требуется) |
(обязательное)
ИСПЫТАНИЕ НА СТОЙКОСТЬ К УЛЬТРАФИОЛЕТОВЫМ ЛУЧАМ
A.1 Общие положения
Материалы часто подвергаются быстрой фотохимической деструкции под воздействием солнечных лучей. Этого не происходит только в случаях проведения износостойкой стабилизации. Ускоренное старение, стимулирующее износ от солнечных лучей, может быть вызвано излучением света ультрафиолетового типа. Образцы материалов МК (например, тканевые материалы, веревки, швейные нити, клей), несущих нагрузку, на определенный период времени подвергаются воздействию источника УФ-лучей со специальным спектральным распределением. Существует ряд факторов неопределенности, присущих данному процессу, поэтому при сравнении следует учитывать метод использования и воздействия среды, в которой изделие будет использоваться.
Определенные типы УФ-стабилизирующих добавок быстро вымываются, особенно в щелочной среде. Это необходимо учитывать в соответствующих ситуациях.
На эффективность УФ-стабилизирующих добавок могут повлиять цвет и тип используемого красителя. Следовательно, каждая комбинация УФ-стабилизирующих добавок и красителя испытывается отдельно.
A.2 Принцип
Образцы для испытания поочередно подвергаются воздействию УФ-лучей и конденсации в повторяющемся цикле.
A.3 Прибор
Прибор должен соответствовать ASTM G154 при использовании ультрафиолетовой лампы категории B (UVB).
A.4 Порядок действий
Образец облучают флуоресцентной ультрафиолетовой лампой в течение не менее 200 ч, используя цикл 8-часового воздействия УФ-излучением при температуре 60 °C с последующей 4-часовой конденсацией при температуре 50 °C.
После окончания облучения испытывают образец на разрушающее усилие и относительное удлинение при разрыве в соответствии с ISO 13934-1 с учетом требований к кондиционированию, изложенных в
5.2.2. Сравнивают показатели с результатами испытаний, проведенными на исходных образцах, которые хранились в темном и прохладном месте.
A.5 Представление результатов
Представляют результаты испытаний на разрушающее усилие в ньютонах на испытательных образцах до и после воздействия УФ-излучения.
(обязательное)
ИСПЫТАНИЕ НА ЦИКЛИЧЕСКИЙ ПОДЪЕМ ЗА ВЕРХНЮЮ ЧАСТЬ
B.1 Принцип
Наполненный МК подвешивают на подъемное устройство с плоской нажимной плитой поверх содержимого. Эти действия выполняются двумя альтернативными методами:
a) нажимная плита крепится либо снизу, либо сверху; МК временно отодвигают от рамы, к которой прилагается сила, направленная вверх против сопротивления нажимной плиты;
b) МК временно отодвигают от рамы, закрепленной на время испытания, после чего сила, направленная вниз, прилагается к нажимной плите.
B.2 Требования к прибору
B.2.1 Общие положения
B.2.1.1 Нажимная плита должна быть плоской, лишь края могут быть загнуты ко дну для предотвращения бокового смещения. Плита должна быть такого размера, который позволяет покрывать от 60% до 80% содержимого контейнера.
B.2.1.2 Во время испытания подвесная рама должна быть устроена таким образом, чтобы наполненный МК мог находиться в подвешенном положении, не касаясь земли, используя подъемные устройства в соответствии с рекомендациями изготовителя. У МК с четырехточечной подвеской подвесная рама должна иметь поперечное сечение, как указано на
рисунке B.1. У МК с одноточечной подвеской подвесная рама должна иметь поперечное сечение, как указано на
рисунке B.2. У МК с двухточечной подвеской подвесная рама должна иметь поперечное сечение, как указано на
рисунке B.1 или
B.2.
B.2.1.3 Способы приложения силы (направленной вверх или вниз) должны:
a) обеспечивать как минимум расчетную нагрузку во время испытания;
b) обеспечивать скорость нагружения, равную (70 +/- 20) кН/мин;
c) оснащаться средствами регистрации прилагаемой нагрузки.
B.2.1.4 Подвесная рама и нажимная плита (а также все крепления, используемые в отношении последней) должны выдерживать испытания с минимальной деформацией.
B.2.2 Устройства, используемые при воздействии силы, направленной вверх
B.2.2.1 Устройства соответствующего типа, показанные на
рисунках B.3 -
B.9, использующиеся в ходе испытания на подъем за верхнюю часть МК с верхним или нижним креплением нажимной плиты и с приложением направленной вверх силы, как указано в
B.1 [перечисление a)]. См. следующие рисунки:
-
рисунок B.3 (схема МК с четырехточечной подвеской и верхним креплением нажимной плиты);
-
рисунок B.4 (схема МК (с прорезью) с двухточечной подвеской и верхним креплением нажимной плиты);
-
рисунок B.5 (вид МК с подъемными устройствами, являющимися продолжением корпуса, и верхним креплением нажимной плиты);
-
рисунок B.6 (вид МК с одноточечной подвеской и нижним креплением нажимной плиты на одной опоре);
-
рисунок B.8 (вид МК с двухточечной подвеской и нижним креплением нажимной плиты на одной опоре);
B.2.2.2 Использование устройства, показанного на
рисунках B.6 -
B.9, с креплениями нажимной плиты снизу предусматривает подсоединение, которое проходит через корпус МК и его содержимое. Для такого рода соединений удобно использование стержней.
Должны быть приняты тщательные меры предосторожности:
a) нити ткани должны быть раздвинуты, а не разрезаны для прохождения стержня;
b) необходимо проверить, чтобы ни один из стержней не проходил через основание ближе чем на 20 мм к любому из стыков и швов основания. Если шов или стык проходит через центр основания, следует использовать два стержня, как показано на
рисунках B.7 и
B.9.
Рекомендуется:
- использовать коническое вспомогательное устройство, прикрученное к верху любого соединительного стержня, и удалять его, когда МК находится в положении, предназначенном для испытания;
- использовать гайки для соединения стержней с нажимной плитой с креплениями.
B.2.3 Устройства, используемые в случае приложения силы, направленной вниз
B.3 Порядок действий
B.3.1 Выбирают, наполняют и готовят каждый МК для испытания на циклический подъем за верхнюю часть в соответствии с
5.1 -
5.3.
Любая часть крышки, не рассчитанная на поддержание общей прочности МК, может быть удалена для более свободного соединения с устройством для испытаний. Площадь удаленной поверхности не должна препятствовать эффективной работе испытательного устройства.
B.3.2 Выбирают подходящую по размерам нажимную плиту в соответствии с
B.2.1.1 и устанавливают ее поверх содержимого. Этот размер должен быть достаточным, а размещение таким, чтобы края плиты не соприкасались с материалом контейнера во время испытания.
B.3.3 Надлежащим образом прилагают силу, направленную вверх или вниз. Увеличивают силу со скоростью (70 +/- 20) кН/мин до тех пор, пока не будет зафиксирован эквивалент указанной испытательной нагрузки. Прекращают приложение силы.
Период остановки до повторения цикла составляет не более 30 с. Повторяют цикл испытаний до тех пор, пока не наберется нужное количество циклов испытания. Осуществляют заключительный цикл испытания при соответствующей нагрузке, указанной для заключительного цикла испытания.
Выполняют соответствующее количество циклов испытания для:
- типов прочного МК для повторного использования - 70 циклов при испытательной нагрузке 6 x БРН и заключительный цикл при нагрузке 8 x БРН;
- типов стандартного МК для повторного использования - 70 циклов при испытательной нагрузке 4 x БРН и заключительный цикл при нагрузке 6 x БРН;
- типов одноразового МК - 30 циклов при испытательной нагрузке 2 x БРН и заключительный цикл при нагрузке 5 x БРН.
Для получения дополнительной информации после окончания этого испытания можно увеличивать дальнейшую нагрузку до повреждения МК. После завершения нагрузка, при которой произошло повреждение, а также другие результаты должны быть зафиксированы в протоколе испытаний. При этом не предусматривается обязательное указание в протоколе испытаний или на ярлыке МК нагрузки, при которой произошло повреждение, если оно превышает указанную испытательную нагрузку.
B.4 Представление результатов
Представляют результаты испытаний, включая случаи потери груза, повреждения подъемных устройств или выступ вкладыша при наличии таковых.
На
рисунках B.1 и
B.2 все размеры номинальны, если они указаны без допуска.
Размеры в миллиметрах
Все обозначенные закругления должны быть 1 мм
с допустимым отклонением +0,5 мм. Горизонтальная
протяженность (50 +/- 0,5) мм
Рисунок B.1 - Поперечное сечение подвесной рамы
для испытания на циклический подъем МК
с двухточечной и четырехточечной подвесками
Размеры в миллиметрах
Все обозначенные закругления должны быть 1 мм
с допустимым отклонением +0,5 мм
Рисунок B.2 - Поперечное сечение подвесной рамы
для испытания на циклический подъем МК
с одноточечной и двухточечной подвесками
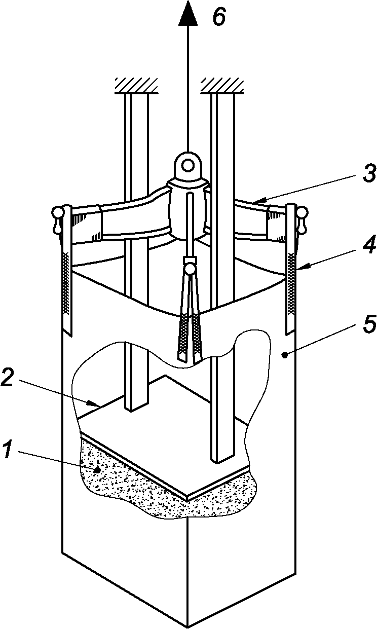
1 - наполнитель; 2 - нажимная плита; 3 - подвесная рама;
4 - устройство подъема МК; 5 - МК; 6 - подъемный механизм
Рисунок B.3 - Схема МК с четырехточечной подвеской
и верхним креплением нажимной плиты
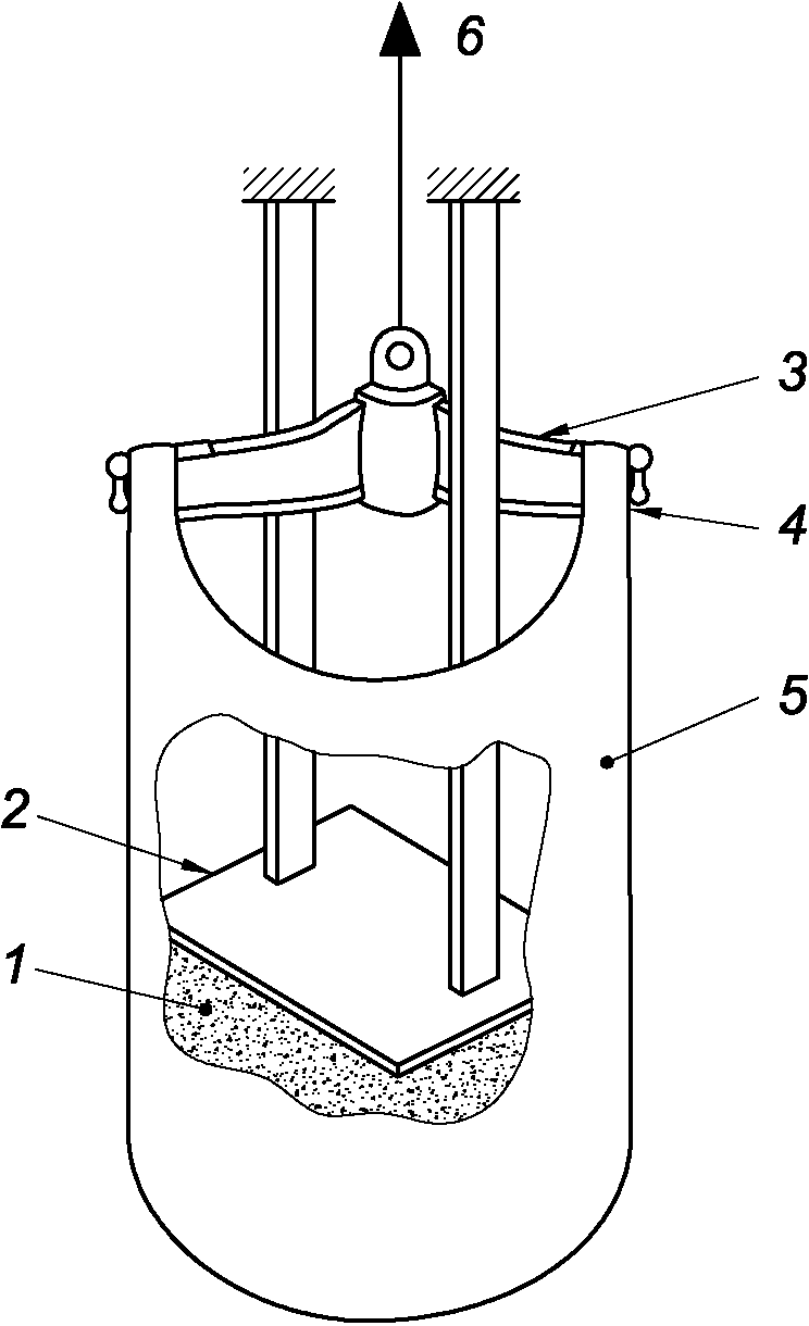
1 - наполнитель; 2 - нажимная плита; 3 - подвесная рама;
4 - устройство подъема МК; 5 - МК; 6 - подъемный механизм
Рисунок B.4 - Схема МК (с прорезью) с двухточечной подвеской
и верхним креплением нажимной плиты
1 - наполнитель; 2 - нажимная плита; 3 - подвесная рама;
4 - МК; 5 - подъемный механизм
Рисунок B.5 - Вид МК с подъемными устройствами, являющимися
продолжением корпуса, и верхним креплением нажимной плиты
1 - наполнитель; 2 - нажимная плита; 3 - подвесная рама;
4 - МК; 5 - подъемный механизм
Рисунок B.6 - Вид МК с одноточечной подвеской
и нижним креплением нажимной плиты на одной опоре
1 - нажимная плита; 2 - подвесная рама; 3 - наполнитель;
4 - МК; 5 - подъемный механизм
но с двумя опорами, прикрепляющими нажимную плиту
1 - наполнитель; 2 - нажимная плита; 3 - подвесная рама;
4 - устройство подъема МК; 5 - МК; 6 - подъемный механизм
Рисунок B.8 - Вид МК с двухточечной подвеской
и нижним креплением нажимной плиты на одной опоре
1 - наполнитель; 2 - нажимная плита; 3 - подвесная рама;
4 - устройство для подъема МК; 5 - МК;
6 - подъемный механизм
только на двух опорах крепления нажимной плиты
1 - наполнитель; 2 - нажимная плита; 3 - механизм приложения
силы; 4 - подвесная рама; 5 - устройство для подъема МК;
6 - МК
Рисунок B.10 - Вид МК с двухточечной подвеской
при испытаниях с приложением силы, направленной вниз
(обязательное)
ИСПЫТАНИЕ НА СЖАТИЕ/НА ШТАБЕЛИРОВАНИЕ
C.1 Принцип
К наполненному МК прикладывают соответствующую испытательную нагрузку с использованием устройства для испытаний на сжатие либо статическую нагрузку. По окончании периода испытаний МК проверяют на потерю груза, повреждение корпуса, что может привести к небезопасной транспортировке и хранению.
C.2 Прибор
Используют прибор, указанный в ISO 12048, или плиту с соответствующей статической нагрузкой.
C.3 Порядок действий
Наполняют и подготавливают МК для испытаний в соответствии с указаниями, изложенными в
5.2.1 и
5.2.2, используя один из методов, описанных в ISO 12048, или применяют нагрузку к пластине, расположенной поверх МК.
C.4 Расчет применяемой нагрузки
Нагрузка, прилагаемая к МК, должна в 4 раза превосходить соответствующую БРН. Сжимающая нагрузка, в 4 раза превосходящая соответствующую БРН, не принимается как допустимая эксплуатационная нагрузка штабелирования. Другие факторы, влияющие на штабелирование, - это фактическое наполнение, используемое в работе, а также размеры и конструкция МК, метод штабелирования и т.д.
C.5 Продолжительность испытаний
Продолжительность воздействия нагрузки должна быть 6 ч.
C.6 Представление результатов
Представляют результаты испытаний, включая в протокол сведения о потере груза или повреждении корпуса (при наличии).
(справочное)
РУКОВОДСТВО ПО ВЫБОРУ И ЭКСПЛУАТАЦИИ МЯГКОГО КОНТЕЙНЕРА
D.1 Общая информация
По конструкции МК подразделяют на три категории:
a) прочные для повторного использования, например изготовленные из полимерной ткани и полностью ламинированные с одной или двух сторон полимерными материалами, такими как поливинилхлорид;
b) стандартные для повторного использования, например изготовленные из полиолефиновой ткани, ламинированной или неламинированной, с вкладышем из полимерной пленки или без такового, используемые для ограниченного числа наполнения и разгрузки МК;
c) одноразовые, например, изготовленные из полиолефиновой ткани или бумаги, ламинированные или неламинированные, с вкладышем из полимерной пленки или без него.
Соединение и сшивание материалов выполняется методом стачивания, сварки, приклеивания, хотя могут быть использованы и другие методы.
МК должны быть разработаны таким образом, чтобы при наполнении или подъеме с помощью подъемных устройств нагрузка распределялась бы следующим образом:
- в случаях, когда оболочка служит продолжением для формирования стропа или когда другие подъемные устройства присоединены к верхней части оболочки, нагрузку воспринимают образованные материалом контейнера стропы или другие грузонесущие элементы, прикрепленные к верхней части оболочки;
- нагрузку воспринимают отдельно встроенные подъемные устройства, проходящие снизу МК, поддерживающие его и формирующие опору.
В
таблице D.1 представлен исчерпывающий список действий, которые необходимо предпринять перед выбором и эксплуатацией МК.
Таблица D.1
Указания по эксплуатации МК
Применение мягких контейнеров | Эксплуатационные ограничения |
Выберите МК, соответствующий выполняемой работе, проконсультировавшись с изготовителем или поставщиком | Не приобретайте МК, не проконсультировавшись с изготовителем или поставщиком |
Прочитайте ярлык с инструкциями на МК | Не превышайте БРН |
Проверьте МК для повторного использования перед заполнением | Не допускайте неравномерного заполнения МК |
Убедитесь в том, что разгрузочный рукав закрыт перед наполнением | При транспортировке избегайте резких остановок и движений |
Проверьте устойчивость наполненного МК | Не допускайте резкого подъема и (или) его резкой остановки |
Правильно закрывайте верхнюю крышку | Не допускайте волочения МК |
Используйте подъемное оборудование соответствующей грузоподъемности для подъема груза | Следите, чтобы под МК никто не находился |
Настройте соответствующую ширину захвата погрузчика с вилочным захватом | Не позволяйте МК свисать над краем приемника или платформы |
Наклоняйте вилы погрузчика под правильным углом | Не наклоняйте вилы погрузчика вперед |
Убедитесь в том, что крюки и подъемные устройства имеют соответствующий размер, а округлость краев составляет не меньше толщины подвеса с минимальным радиусом 5 мм | Не убирайте погрузчик с вилочным захватом до того, пока не снимете нагрузку с подъемных устройств |
Принимайте соответствующие меры для защиты от пыли | Не штабелируйте МК, если не уверены в его устойчивости |
Учитывайте опасность статического электричества | Не используйте МК в новых условиях без консультации с изготовителем или поставщиком |
Защищайте МК от дождя и длительного пребывания под солнечными лучами | Не используйте одноразовый МК повторно |
Проверьте надежность закрепления МК при транспортировании | Не ремонтируйте прочный МК, если невозможно обеспечить соответствие его требованиям, предъявляемым к новым изделиям такого типа |
D.2 Выбор мягкого контейнера
При выборе МК следует обратить внимание на следующее:
a) физические и химические показатели предполагаемого содержимого МК:
1) объемная плотность;
2) текучесть;
3) степень разрыхления;
4) форма и размер частиц;
5) совместимость с материалами, используемыми при изготовлении МК;
6) температура при наполнении;
7) является ли содержимое пищевым продуктом (в этом случае применяются особые условия);
b) методы наполнения, обработки, перевозки, хранения и разгрузки МК;
c) количество требуемых циклов обращения, количество подъемов МК при каждом цикле обращения, а также ожидаемые условия окружающей среды;
d) учет воздействия на окружающую среду.
D.3 Хранение пустых мягких контейнеров
Необходимо хранить пустые МК таким образом, чтобы избежать случайных повреждений, воздействия солнечных лучей или других природных явлений, а также контакта с веществами, которые могут ухудшать свойства материалов МК.
Вкладыш (при наличии в комплекте) может быть вложен в МК или поставляться отдельно. В любом случае следует принять меры во избежание загрязнения.
Вкладыш уязвим для повреждений, которые не всегда могут быть сразу обнаружены, поэтому в его отношении необходимо соблюдать правила обработки и хранения с особой тщательностью.
D.4 Наполнение мягкого контейнера
Как правило, МК наполняется в подвешенном состоянии с использованием подъемных устройств, при этом его основание должно быть расположено на поверхности земли (поддона) или чуть приподнято. Другие методы могут использоваться после предварительной консультации с изготовителем или поставщиком.
Если МК имеет разгрузочный рукав или любое другое разгрузочное приспособление, оно должно быть обязательно закрыто при наполнении.
Следует проконсультироваться с изготовителем или поставщиком, прежде чем наполнять МК материалом, температура которого превышает 60 °C.
D.5 Устойчивость наполненного мягкого контейнера
МК должен быть наполнен так, чтобы отношение высоты наполнения к основанию составляло 0,5 - 2,0 с учетом размера основания:
a) диаметра МК с кругообразным поперечным сечением; или
b) длины короткой стороны МК с прямоугольным поперечным сечением.
Примечание 1 - Текучесть содержимого, свободное пространство и естественное вовлечение воздуха, а также другие важные факторы влияют на устойчивость наполненного МК.
Примечание 2 - Устойчивость наполненного МК всегда можно усилить вибрацией, во время или после которой освобождается захваченный воздух, что приводит к уплотнению.
D.6 Подъем наполненного мягкого контейнера
Перед подъемом любого МК:
a) следует проверить его на наличие повреждений, в противном случае это будет небезопасно;
b) подъемные петли или подъемные устройства должны быть расположены в соответствии с инструкциями изготовителя или поставщика;
c) крючки, прутки или погрузчики с вилочным захватом, используемые для подъема, проверяются с целью убедиться в том, что все углы округлые и с радиусом, превышающим диаметр или толщину подвеса МК, и (или) что они хорошо защищены обертыванием.
Скругленная кромка должна иметь радиус не менее 5 мм. Необходимые характеристики указаны на
рисунке D.1.
1 - подвеска МК (например, тканевая петля); 2 - подъемное
устройство (например, погрузчик с вилочным захватом);
3 - подвеска МК (веревка); 4 - подъемное устройство
(погрузчик с вилочным захватом или кран)
Примечание 1 - Значение r должно превышать t. Минимальное значение r - 5 мм.
Примечание 2 - Когда МК подвешен, под ним никто не должен находиться.
D.7 Хранение заполненного мягкого контейнера
Следует избегать хранения заполненного контейнера при температурах, превышающих 50 °C, без одобрения изготовителя или поставщика.
Все крышки должны быть надежно закрыты перед хранением.
Кроме тех МК, которые были специально разработаны для хранения на открытом воздухе, все МК, которые хранятся подобным образом:
a) должны быть накрыты во избежание накопления воды на поверхности;
b) не должны храниться стоящими в воде;
c) должны быть защищены от солнечных лучей.
D.8 Разгрузка наполненного мягкого контейнера
МК может быть разгружен методом всасывания либо определенными методами выдувания, но обычно их разгружают под действием силы тяжести.
Как правило, на выбор метода очистки влияют степень текучести содержимого и стоимость вспомогательного оборудования.
Во время разгрузки МК под действием силы тяжести под МК никто не должен находиться, а также не должен помещать руки между основанием и приемной емкостью и т.п., за исключением случаев, когда МК закреплен.
D.9 Проверка прочного и стандартного мягкого контейнера
Перед повторным использованием следует учесть возможность загрязнения предыдущим содержимым.
Перед повторным использованием МК должен быть тщательно проверен на наличие повреждения стыков, истирания поверхности, порезов, царапин или других повреждений оболочки. Также следует тщательно проверить подъемные устройства и аксессуары, входящие в их состав. При проверке следует обратить внимание на следующее:
a) истирание: последствия истирания могут быть самыми разнообразными, при этом следует рассчитывать на некоторую потерю в прочности. В самых сложных случаях материал истирается до такой степени, что верхние волокна ткани разрушаются. На монтажных петлях и других подъемных устройствах могут быть обнаружены участки истирания, причиненные острыми краями подъемно-транспортного оборудования; такие участки приводят к значительной потере прочности;
b) порезы: порезы на подъемных устройствах приводят к большой потере прочности;
c) распад под влиянием ультрафиолетовых лучей и химических процессов: эти повреждения можно определить по размягчению материала (иногда обесцвечиванию) - внешняя поверхность может быть истерта или порвана, а в крайних случаях измельчена в порошок;
d) повреждение покрытия: некоторые МК изготовлены из полиолефиновой ткани с покрытием, при этом такое покрытие может быть как с внутренней, так и с внешней поверхности контейнера. Следует обратить внимание на возможное загрязнение содержимого недопустимым количеством фрагментов покрытия в случае повреждения последней, а также на повышенную опасность проникновения влаги (особенно если содержимое гигроскопично) в случае повреждения внешнего либо внутреннего покрытия.
При обнаружении повреждений следует немедленно изъять МК из употребления.
D.10 Ремонт прочного мягкого контейнера
Ремонт необходимо проводить таким образом, чтобы отремонтированный МК соответствовал требованиям новых МК, указанным на ярлыке.
Перед ремонтом необходимо всегда консультироваться с изготовителем или поставщиком. Факторы, определяющие, какому типу ремонта подлежит МК и подлежит ли он ремонту вообще:
a) используемые материалы;
b) тип и площадь повреждения;
c) возраст МК;
d) условия эксплуатации МК;
e) место повреждения.
(справочное)
КОНСТРУКЦИЯ МЯГКОГО КОНТЕЙНЕРА
В данном приложении представлены некоторые виды конструкции МК. В приложение не включены все существующие конструкции, при этом конструкции, не включенные в данное приложение, не хуже приведенных в нем.
Рисунок E.1 - Образцы мягкого контейнера
с плоским основанием
Рисунок E.2 - Основание с рукавом
Рисунок E.3 - Основание, образованное сужением оболочки
Рисунок E.4 - Коническое основание с рукавом
Рисунок E.5 - Крышка с загрузочным рукавом
Рисунок E.6 - Крышка с загрузочной щелью
Рисунок E.7 - Крышка с ограждением
a) каждое подъемное приспособление крепится в двух местах
b) каждое подъемное приспособление крепится в одном месте
Рисунок E.8 - Четырехточечная подвеска
a) два трубообразных подъемных приспособления
b) подъемное приспособление, сделанное из оболочки
Рисунок E.9 - Двухточечная подвеска
Рисунок E.10 - Подъем в одной точке - подъемное
приспособление, сформированное из оболочки
Рисунок E.11 - Веревочные подъемные приспособления
a) два подъемных приспособления, зафиксированные на стенах
b) два подъемных приспособления, зафиксированные
на основании
Рисунок E.12 - Два подъемных приспособления
(справочное)
СВЕДЕНИЯ О СООТВЕТСТВИИ ССЫЛОЧНЫХ МЕЖДУНАРОДНЫХ СТАНДАРТОВ
МЕЖГОСУДАРСТВЕННЫМ СТАНДАРТАМ
Таблица ДА.1
Обозначение ссылочного международного стандарта | Степень соответствия | Обозначение и наименование соответствующего межгосударственного стандарта |
ISO 12048 | NEQ | |
ISO 13934-1 | - | |
ISO/IEC 17025 | IDT | |
Примечание - В настоящей таблице использованы следующие условные обозначения степени соответствия стандартов: - NEQ - неэквивалентный стандарт; - IDT - идентичный стандарт. |
--------------------------------
<*> На территории Российской Федерации действует
ГОСТ Р ИСО 13934-1-2015 "Материалы текстильные. Свойства тканей при растяжении. Часть 1. Определение максимального усилия и относительного удлинения при максимальном усилии методом полоски".
[1] | ASTM G154-06 | Standard Practice for Operating Fluorescent Light Apparatus for UV Exposure of Nonmetallic Materials (Стандартная практика эксплуатации прибора люминесцентного излучения для УФ-воздействия на неметаллические материалы) |
[2] | ISO/IEC Guide 65:1996 | General requirements for bodies operating product certification systems (Общие требования к органам, действующим в системе сертификации продукции) |
УДК 621.798.15(083.74)(476) | | IDT |
Ключевые слова: контейнеры мягкие, неопасные грузы, безопасная рабочая нагрузка, коэффициент безопасности, подъемное устройство, требования к испытаниям, руководство по выбору и эксплуатации |