Главная // Актуальные документы // Поправка / ПоправкиСПРАВКА
Источник публикации
М.: ФГБУ "Институт стандартизации", 2023
Примечание к документу
Документ
введен в действие с 01.01.2024.
Название документа
"ГОСТ Р 54448-2023. Национальный стандарт Российской Федерации. Нагреватели трубчатые радиационные газовые с одной горелкой и системы трубчатых радиационных газовых нагревателей с несколькими горелками, не предназначенные для бытового применения. Требования безопасности и энергоэффективность"
(утв. и введен в действие Приказом Росстандарта от 29.09.2023 N 1017-ст)
"ГОСТ Р 54448-2023. Национальный стандарт Российской Федерации. Нагреватели трубчатые радиационные газовые с одной горелкой и системы трубчатых радиационных газовых нагревателей с несколькими горелками, не предназначенные для бытового применения. Требования безопасности и энергоэффективность"
(утв. и введен в действие Приказом Росстандарта от 29.09.2023 N 1017-ст)
Утвержден и введен в действие
агентства по техническому
регулированию и метрологии
от 29 сентября 2023 г. N 1017-ст
НАЦИОНАЛЬНЫЙ СТАНДАРТ РОССИЙСКОЙ ФЕДЕРАЦИИ
НАГРЕВАТЕЛИ ТРУБЧАТЫЕ РАДИАЦИОННЫЕ ГАЗОВЫЕ С ОДНОЙ ГОРЕЛКОЙ
И СИСТЕМЫ ТРУБЧАТЫХ РАДИАЦИОННЫХ ГАЗОВЫХ НАГРЕВАТЕЛЕЙ
С НЕСКОЛЬКИМИ ГОРЕЛКАМИ, НЕ ПРЕДНАЗНАЧЕННЫЕ
ДЛЯ БЫТОВОГО ПРИМЕНЕНИЯ
ТРЕБОВАНИЯ БЕЗОПАСНОСТИ И ЭНЕРГОЭФФЕКТИВНОСТЬ
Gas-fired overhead radiant tube heaters and radiant tube
heater systems for non-domestic use. Safety
and energy efficiency
ГОСТ Р 54448-2023
Дата введения
1 января 2024 года
1 ПОДГОТОВЛЕН Федеральным государственным бюджетным учреждением "Российский институт стандартизации" (ФГБУ "Институт стандартизации") на основе собственного перевода на русский язык немецкоязычной версии стандарта, указанного в
пункте 4
2 ВНЕСЕН Техническим комитетом по стандартизации ТК 345 "Аппаратура бытовая, работающая на жидком, твердом и газообразном видах топлива"
3 УТВЕРЖДЕН И ВВЕДЕН В ДЕЙСТВИЕ
Приказом Федерального агентства по техническому регулированию и метрологии от 29 сентября 2023 г. N 1017-ст
4 Настоящий стандарт является модифицированным по отношению к стандарту ДИН ЕН 416:2020 "Нагреватели трубчатые радиационные газовые с одной горелкой и системы нагревателей трубчатых радиационных газовых с несколькими горелками, не предназначенные для бытового применения. Требования безопасности и энергоэффективность" (DIN EN 416:2020 "Gasbefeuerte Dunkelstrahler und Dunkelstrahlersysteme

gewerbliche und industrielle Anwendung - Sicherheit und Energieeffizienz", MOD) путем изменения отдельных фраз (слов, ссылок) и включения дополнительных положений, которые выделены в тексте курсивом, а также путем исключения приложений F, H, ZA ввиду нецелесообразности их применения.
Наименование настоящего стандарта изменено относительно наименования указанного стандарта для приведения в соответствие с ГОСТ Р 1.5-2012
(пункт 3.5).
Сведения о соответствии ссылочных национальных и межгосударственных стандартов международным и европейским стандартам, использованным в качестве ссылочных в примененном стандарте, приведены в дополнительном
приложении ДА.
Сопоставление структуры настоящего стандарта со структурой примененного в нем стандарта приведено в дополнительном
приложении ДБ
Правила применения настоящего стандарта установлены в статье 26 Федерального закона от 29 июня 2015 г. N 162-ФЗ "О стандартизации в Российской Федерации". Информация об изменениях к настоящему стандарту публикуется в ежегодном (по состоянию на 1 января текущего года) информационном указателе "Национальные стандарты", а официальный текст изменений и поправок - в ежемесячном информационном указателе "Национальные стандарты". В случае пересмотра (замены) или отмены настоящего стандарта соответствующее уведомление будет опубликовано в ближайшем выпуске ежемесячного информационного указателя "Национальные стандарты". Соответствующая информация, уведомление и тексты размещаются также в информационной системе общего пользования - на официальном сайте Федерального агентства по техническому регулированию и метрологии в сети Интернет (www.rst.gov.ru)
Настоящий стандарт устанавливает требования и методы испытаний в части конструкции, безопасности, классификации, маркировки и рационального использования энергии трубчатых радиационных газовых нагревателей с одной горелкой или систем трубчатых радиационных газовых нагревателей с несколькими горелками для коммерческого и промышленного применения (далее - аппарат или системы), в которой каждый блок горелок регулируется системой автоматического управления процессом горения.
Настоящий стандарт распространяется на аппараты с одной горелкой типов A2, A3, B12, B13, B22, B23, B42, B43, B52, B53, C12, C13, C32, C33, C52 и C53, предназначенные для применения в коммерческих и промышленных зданиях, в которых подача воздуха для горения и/или отвод продуктов сгорания достигается механическими средствами, размещенными перед предохранителем потока (если последний предусмотрен).
| | ИС МЕГАНОРМ: примечание. В официальном тексте документа, видимо, допущена опечатка: п. 4.3 отсутствует. | |
Настоящий стандарт распространяется на системы темных инфракрасных излучателей с несколькими сегментами темных инфракрасных излучателей типов B52, B52x, B53 и B53x (см. 4.3), предназначенных для применения в коммерческих и промышленных зданиях, в которых подача воздуха для горения и/или удаления продуктов сгорания выполняется механическим способом.
Настоящий стандарт распространяется на аппараты, оснащенные вторичным теплообменником дымовых газов, расположенном в системе удаления продуктов сгорания.
Настоящий стандарт не применяют для аппаратов, если они:
a) рассчитаны на применение в жилых помещениях;
b) предназначены для наружной установки;
c) с эффективной тепловой мощностью более 120 кВт (из расчета чистой теплотворной способности соответствующего эталонного газа);
d) рассчитанных на применение неметаллических дымоходов в системе удаления продуктов сгорания, кроме каналов за возможным дополнительным теплообменником дымовых газов, работающим в конденсационном режиме.
Кроме того, настоящий стандарт не применяют для систем темных инфракрасных излучателей с несколькими сегментами темных инфракрасных излучателей, если:
e) аппараты и системы работают с постоянным образованием конденсата в системе удаления продуктов сгорания, разработанных для нормальных условий эксплуатации, за исключением применения дополнительного теплообменника дымовых газов.
Настоящий стандарт применим к системам, предназначенным для проверки типа.
В настоящем стандарте использованы нормативные ссылки на следующие стандарты:
ГОСТ 7.67 (ИСО 3166-1:1997) Система стандартов по информации, библиотечному и издательскому делу. Коды названий стран
ГОСТ 5542 Газы горючие природные для промышленного применения и коммунально-бытового назначения. Технические условия
ГОСТ 6211 Основные нормы взаимозаменяемости. Резьба трубная коническая
ГОСТ 6357 Основные нормы взаимозаменяемости. Резьба трубная цилиндрическая
ГОСТ 14254 (IEC 60529:2013) Степени защиты, обеспечиваемые оболочками (код IP)
ГОСТ 15763 Соединение трубопроводов резьбовое на (PN) до 63 МПа (до 630 кгс/см2). Общие технические условия
ГОСТ 16093 (ИСО 965-1:1998, ИСО 965-3:1998) Основные нормы взаимозаменяемости. Резьба метрическая. Допуски. Посадки с зазором
ГОСТ 23358 Соединения трубопроводов резьбовые. Прокладки уплотнительные. Конструкция и размеры
ГОСТ 24705 (ИСО 724:1993) Основные нормы взаимозаменяемости. Резьба метрическая. Основные размеры
ГОСТ 31369 (ISO 6976:2016) Газ природный. Вычисление теплоты сгорания, плотности, относительной плотности и числа Воббе на основе компонентного состава
ГОСТ 32028 (EN 161+A3:2013) Клапаны отсечные автоматические для газовых горелок и газовых приборов
ГОСТ 32029 (EN 257:1992) Термостаты (терморегуляторы) механические для газовых приборов. Общие технические требования и методы испытаний
ГОСТ 32032 (EN 1106:2010) Краны для газовых аппаратов. Общие технические требования и методы испытаний
ГОСТ 33259 Фланцы арматуры, соединительных частей и трубопроводов на номинальное давление до PN 250. Конструкция, размеры и общие технические требования
ГОСТ EN 126 Устройства управления многофункциональные для газовых приборов
ГОСТ EN 298 Автоматические системы контроля горения для горелок и аппаратов, сжигающих газообразное или жидкое топливо
ГОСТ EN 15502-2-1 Котлы газовые для центрального отопления. Часть 2-1. Специальный стандарт для приборов типа C и приборов типа B2, B3 и B5 с номинальной тепловой мощностью 1000 кВт
ГОСТ IEC 60335-2-102 Бытовые и аналогичные электроприборы. Безопасность. Часть 2-102. Дополнительные требования к приборам, работающим на газовом, жидком и твердом топливе и имеющим электрические соединения
ГОСТ Р 52209 Соединения для газовых горелок и аппаратов. Общие технические требования и методы испытаний
ГОСТ Р 52318 Трубы медные круглого сечения для воды и газа. Технические условия
ГОСТ Р 52960 Аккредитация судебно-экспертных лабораторий. Руководство по применению ГОСТ Р ИСО/МЭК 17025
ГОСТ Р 54824 (ЕН 88-1:2007) Регуляторы давления и соединенные с ними предохранительные устройства для газовых аппаратов. Часть 1. Регуляторы с давлением на входе до 50 кПа включительно
ГОСТ Р 55207 (EN 12067-2:2004) Регуляторы соотношения газ/воздух для газовых горелок и газопотребляющих аппаратов. Часть 2. Регуляторы электронного типа
ГОСТ Р 59375.1-2021 Конструкции для удаления дымовых газов. Требования к металлическим конструкциям для удаления дымовых газов. Часть 1. Строительные компоненты конструкций для удаления дымовых газов
ГОСТ Р 59376-2022 Конструкции для удаления дымовых газов. Металлические конструкции для удаления дымовых газов. Методы испытаний
Примечание - При пользовании настоящим стандартом целесообразно проверить действие ссылочных стандартов в информационной системе общего пользования - на официальном сайте Федерального агентства по техническому регулированию и метрологии в сети Интернет или по ежегодному информационному указателю "Национальные стандарты", который опубликован по состоянию на 1 января текущего года, и по выпускам ежемесячного информационного указателя "Национальные стандарты" за текущий год. Если заменен ссылочный стандарт, на который дана недатированная ссылка, то рекомендуется использовать действующую версию этого стандарта с учетом всех внесенных в данную версию изменений. Если заменен ссылочный стандарт, на который дана датированная ссылка, то рекомендуется использовать версию этого стандарта с указанным выше годом утверждения (принятия). Если после утверждения настоящего стандарта в ссылочный стандарт, на который дана датированная ссылка, внесено изменение, затрагивающее положение, на которое дана ссылка, то это положение рекомендуется применять без учета данного изменения. Если ссылочный стандарт отменен без замены, то положение, в котором дана ссылка на него, рекомендуется применять в части, не затрагивающей эту ссылку.
В настоящем стандарте применены следующие термины с соответствующими определениями:
3.1 Системы и их компоненты
3.1.1 темный инфракрасный излучатель (Dunkelstrahler): Газовый обогреватель, предназначенный для установки на уровне выше головы, применяемый для обогрева пространства под аппаратом посредством излучения от нагретой трубы или нескольких труб, накрытых сверху отражателем, которые нагреваются проходящими внутри продуктами сгорания.
3.1.2
аппарат с одной горелкой (

mit einem Brenner): Темный инфракрасный излучатель с одной горелкой, которая включает в себя независимый контроль пламени и в которой воздух для горения подается с помощью вентилятора.
3.1.3 многотрубная система темного инфракрасного излучателя (Mehrrohr-Dunkelstrahlersystem): Система темного инфракрасного излучателя, включающая один или несколько темных инфракрасных излучателей с блоками горелок, в которых каждый блок содержит в себе независимый датчик контроля пламени.
Примечание - Для удаления продуктов сгорания или подачи воздуха для горения можно использовать один или несколько вентиляторов.
Система D: Система темного инфракрасного излучателя, в которой отдельные сегменты темного инфракрасного излучателя без вентилятора соединены с вытяжным вентилятором через сборную трубу.
Система E: Система темного инфракрасного излучателя, в которой отдельные сегменты темного инфракрасного излучателя, оборудованные вентилятором, соединены со сборной трубой без вентилятора, а вентиляторы сегментов темного инфракрасного излучателя могут располагаться на входе или выходе из сегментов.
Система F: Система темного инфракрасного излучателя, в которой отдельные сегменты темного инфракрасного излучателя оснащены вентилятором, соединены со сборной трубой с вентилятором, а вентиляторы сегментов темного инфракрасного излучателя могут располагаться на входе или выходе из сегментов.
3.1.4 сегмент темного инфракрасного излучателя (Dunkelstrahlersegment): Излучающая труба, на которой расположена только одна горелка и содержит только те продукты горения, которые вырабатываются этой горелкой, при этом сегмент темного инфракрасного излучателя вместе с другими сегментами темного инфракрасного излучателя соединен со сборной трубой.
3.1.5 сборная труба (Sammelrohr): Труба, содержащая продукты сгорания двух или более сегментов темного инфракрасного излучателя для вывода наружу.
3.1.6 блок с одной горелкой (einzelne Brennereinheit): Блок, состоящий из основной горелки и, при необходимости, запальной горелки.
Примечание - Кроме того, блок включает в себя все компоненты, необходимые для розжига горелки (горелок), для контроля пламени и регулирования подачи газа в горелку(и).
3.1.7 подключение газа (входной патрубок) (Gasanschluss): Часть системы, предназначенная для подключения к системе газоснабжения.
3.1.8 механическое уплотнение (механическое средство создания герметичного соединения) (mechanische Dichtung/mechanisches Mittel zur Herstellung der Dichtheit): Средства обеспечения герметичности сборочной единицы из нескольких (как правило, металлических) деталей без использования жидких веществ (например, жидкостей, паст или клейкой ленты и т.д.).
Примечание - К ним относятся, например:
a) металлические прокладки;
b) конические уплотнения;
c) кольцевые уплотнения ("уплотнительные кольца");
d) плоские прокладки.
3.1.9
газопроводящий тракт (

Teil): Часть блока горелки, которая содержит или передает газ между входным патрубком блока горелки и горелкой(ами).
3.1.10 дроссель (Vordrossel): Устройство с отверстием, которое устанавливают в газоподводящий тракт для создания перепада давления и, таким образом, снижения давления газа на горелке до заданного значения при заданном давлении подачи и уменьшения заданного расхода газа.
3.1.11
устройство предварительной регулировки расхода газа (Voreinstellglied

den Gasdurchfluss): Исполнительный элемент, через который подают газовый поток на заданную горелку, с помощью которого можно установить заданное значение потока газа на горелку, соответствующее условиям поставки.
Примечания
1 Регулировка может быть бесступенчатой (регулировочным винтом) или дискретными шагами (путем замены дросселя).
2 Регулировочный винт регулирующего устройства регулятора давления считается регулятором давления потока газа по умолчанию.
3 Операция регулировки этого устройства называется "регулировка расхода газа".
4 Регулятор расхода газа с заводской пломбировкой считается несуществующим.
5 Фиксация предварительной регулировки расхода газа с помощью таких средств, как винт, называется "фиксацией предустановки".
6 Мера предосторожности, относящаяся к устройству предварительной регулировки, при котором любая попытка изменить регулировки приведет к поломке пломбировочного устройства или материала и становится видимым, называется "опломбированием устройства предварительной регулировки".
7 Устройство предварительной регулировки расхода газа считается отсутствующим, если оно было опломбировано изготовителем в положении, в котором он не будет работать в диапазоне присоединительных давлений, применимых к соответствующей категории оборудования.
8 Вывод из эксплуатации устройства (предварительной) регулировки или устройства управления (для которого температура, давление и т.д.) и герметизация в этом положении называется "выводом из эксплуатации устройства (предварительной) регулировки или устройства управления", и устройство работает так, как если бы устройство предварительной регулировки или контроллер удален.
3.1.12
форсунка 
: Компонент, подающий газ в горелку.
3.1.13 основная горелка (Hauptbrenner): Горелка, отвечающая за обеспечение тепловой функции аппарата.
Примечание - Основная горелка обычно называется "горелкой".
3.1.14 горелка предварительного смешения (Vormischbrenner): Горелка, в которой газ и теоретически необходимое для полного сгорания количество воздуха смешиваются перед выходным отверстием горелки.
3.1.15
устройство зажигания 
: Любое средство (например, пламя, электрические запальные устройства или другие устройства), используемое для воспламенения газа на запальной горелке или основной горелке.
Примечание - Это устройство может работать с перерывами или в постоянном режиме.
3.1.16
запальная горелка 
: Горелка, пламя которой предназначено для зажигания другой горелки.
3.1.17
устройство настройки подачи воздуха (Einstellglied

die Luftbeimischung): Устройство, которое делает возможным настройку избытка первичного потока воздуха до необходимого значения в зависимости от разрешенных условий эксплуатации.
3.1.18
теплообменник дымовых газов 
: Теплообменник, установленный непосредственно в системе отвода дымовых газов, для передачи тепла от продуктов сгорания к тепловому радиатору.
3.2.1 контур продуктов сгорания (Verbrennungsproduktekreislauf): Путь, включающий камеру сгорания, радиационную трубу, линию отвода дымовых газов, фитинг либо соединение с ветрозащитным устройством (если таковое имеется).
3.2.2
каналы подачи воздуха для горения и удаления продуктов сгорания (Verbrennungsluftzufuhr und

) (en: air supply and combustion products evacuation ducts): Устройства подачи воздуха для горения к горелке и продуктов сгорания к оконечному устройству или фитингу.
Примечание - Фитинги не используются для устройств типа C1 или C3. Следует различать:
a) полностью окруженные воздуховоды, в которых канал отвода продуктов сгорания по всей длине окружен воздухом для горения; а также
b) раздельные каналы, где канал отвода продуктов сгорания и канал подачи воздуха для горения не являются ни концентрическими, ни полностью окруженными.
3.2.3 камера сгорания (Brennkammer): Часть аппарата, в котором происходит процесс сгорания газовоздушной смеси.
3.2.4 выходное устройство дымового канала (Abgasaustritt): Часть системы типа B, которая соединена с дымовым каналом для отвода продуктов сгорания.
3.2.5
защита потока 
: Устройство, установленное в контуре сжигания для снижения влияния тяги дымохода на мощность горелки и горение.
3.2.6 ветрозащитное устройство (Windschutzeinrichtung)/(en: terminal): Устройство (устройства), прикрепленное к внешней стороне здания, с помощью которого осуществляется подача воздуха для горения/отвода продуктов сгорания, к которому могут быть подключены аппараты типов C1 и C3 (один или два аппарата).
3.2.7
защитная решетка для ветрозащитного устройства (Schutzgitter

die Windschutzeinrichtung) (en: terminal guard): Устройство, защищающее ветрозащитное устройство от механических повреждений, вызванных внешними воздействиями.
3.2.8 труба для удаления продуктов сгорания (POCED): Канал для отвода продуктов сгорания, предназначенный для использования только с конкретным аппаратом/системой и поставляемый вместе либо с аппаратом/системой, либо указанный в инструкциях производителя.
3.3 Устройства регулировки, контроля и безопасности
3.3.1 топочный автомат (Feuerungsautomat): Автоматическая система управления горелками, которая включает в себя программирующее устройство и все элементы датчика контроля пламени.
Примечание - Различные функциональные блоки топочного автомата могут быть размещены в одном или нескольких корпусах.
3.3.2
устройство для контроля соотношения газ/воздух (Einrichtung zur

des

) (en: air proving device): Устройство, предназначенное для обеспечения защитного отключения в случае ненормальных условий подачи воздуха или выпуска продуктов сгорания.
3.3.3
блок управления 
: Устройство, которое выполняет программу, реагируя на сигналы устройств управления и безопасности, выдает команды переключения, контролирует последовательность запуска, следит за работой горелки и обеспечивает контролируемое отключение, а при необходимости, защитное отключение при отказе.
Примечание - Блок управления работает по заданной программной последовательности, всегда подключен к датчику пламени, обеспечивает последовательность таких операций, как включение, пуск, контроль и отключение горелки, и называется "программатором".
3.3.4
датчик пламени 
: Устройство, которое регистрирует и сигнализирует о наличии пламени.
Примечание - Датчик пламени может состоять из сенсора пламени, усилителя и реле для передачи сигнала. Указанные части, с возможным исключением сенсора пламени, могут быть размещены в едином корпусе, предназначенном для использования вместе с программным блоком.
3.3.5 сигнал пламени (Flammensignal): Сигнал, подаваемый датчиком пламени, обычно когда датчик пламени регистрирует пламя.
3.3.6 регулятор давления (Druckregler): Устройство, поддерживающее постоянное давление на выходе в заданных пределах, вне зависимости от колебаний давления на входе.
3.3.7 регулируемый регулятор давления (einstellbarer Druckregler): Регулятор для изменения настройки выходного давления.
3.3.8 регулятор расхода (Mengenregler): Устройство, поддерживающее постоянный расход газа в пределах заданного диапазона значений, независимо от колебаний давления на входе.
3.3.9 нулевой регулятор (Nulldruckregler): Устройство, поддерживающее заданное давление на выходе между регулятором и газовым дросселем на нулевом давлении в фиксированных пределах, независимо от колебаний в заданном диапазоне давления на входе и разряжения на выходе из газового дросселя.
3.3.10
устройство контроля пламени 
: Устройство, которое по сигналу от датчика пламени поддерживает подачу газа открытой и отключает при отсутствии контролируемого пламени.
3.3.11 автоматический запорный клапан (automatisches Absperrventil): Устройство, автоматически открывающее, закрывающее или изменяющее поток газа при получении сигнала от цепи управления и/или цепи аварийной защиты.
3.3.12
устройство для установки рабочего диапазона (Einstelleinrichtung zur Anpassung an den

) (en: range-rating device): Компонент в блоке горелки, который используют для регулировки тепловой мощности блока горелки в пределах, установленных производителем, чтобы удовлетворять фактическим тепловым потребностям установки.
Примечание - Регулировка может быть плавной (например, с помощью регулировочного винта) или дискретной (например, путем чередования дросселей).
3.4 Функционирование аппарата
3.4.1
тепловая мощность Qin, кВт (
Qin): Количество теплоты, подведенное к аппарату в единицу времени соответствующее объемному или массовому расходу, исходя из низшей или высшей теплотворной способности.
3.4.2
номинальная тепловая нагрузка Qin,nom, кВт (
Qin,nom): Тепловая мощность, заявленная производителем.
3.4.3 объемный расход V, м3/ч, л/мин, дм3/ч или дм3/с (Volumendurchfluss V): Объем газа, подаваемого в аппарат в установившемся режиме в единицу времени.
3.4.4 массовый расход M, кг/ч или г/ч (Massendurchfluss M): Масса газа, подаваемого в аппарат во время работы в единицу времени.
3.4.5 пусковой газ (Startgas): Газ, который подается с ограниченным расходом на основную горелку или на отдельную запальную горелку.
3.4.6 расход пускового газа (Startgasdurchfluss): Ограниченный расход газа, который подается либо на основную горелку, либо на отдельную запальную горелку при запуске агрегата.
3.4.7 пламя пускового газа (Startgasflamme): Пламя, которое генерируется потоком пускового газа либо в основной горелке, либо в отдельной запальной горелке.
3.4.8
устойчивость пламени 
: Свойство пламени удерживаться на выходных отверстиях горелки или в зоне приема пламени, предусмотренной конструкцией.
3.4.9 отрыв пламени (Flammenabheben): Полный или частичный отрыв основания пламени от отверстия горелки или зоны образования пламени в соответствии с конструкцией.
Примечание - Отрыв пламени может привести к тому, что пламя погаснет (например, погаснет газовоздушная смесь).
3.4.10
проскок пламени 
: Проникновение пламени внутрь горелки.
3.4.11
проскок пламени на форсунку (

zur

): Воспламенение газа на форсунке из-за проскока пламени внутрь горелки или распространение пламени вне горелки.
3.4.12
образование сажи 
: Явление, возникающее при неполном сгорании и из-за отложений сажи на поверхности деталей, контактирующих с продуктами горения или пламенем.
3.4.13 желтые концы пламени (gelbe Flammenspitzen): Пожелтение синего конуса вентилируемого пламени.
3.4.14
продувка 
: Принудительное пропускание воздуха через камеру сгорания и дымоходы под давлением для вытеснения любой оставшейся топливно-воздушной смеси и/или продуктов сгорания, при этом делается различие между:
a) предварительная продувка: Продувка происходит между пусковым сигналом и запуском устройства зажигания;
b) окончательная продувка: Продувка, выполняемая немедленно после остановки аппарата.
3.4.15 первое время безопасности (erste Sicherheitszeit): Промежуток времени между открытием газового клапана и подачей газа к запальной горелке или пускового газа в основную горелку до сигнала на закрытие газового клапана подачи газа к запальной горелке или основной горелки при отсутствии воспламенения, если детектор пламени фиксирует отсутствие пламени в конце этого промежутка времени.
Примечание - Если второе время безопасности отсутствует, используют только термин "время безопасности".
3.4.16 второе время безопасности (zweite Sicherheitszeit): Если первое время безопасности применимо только к запальной горелке или пламени пускового газа, то второе время безопасности - это промежуток времени между подачей питания на главный газовый клапан и сигналом на перекрытие основного газового клапана, если детектор пламени фиксирует отсутствие сигнала пламени в конце этого периода.
3.4.17
время безопасности при погасании пламени (Sicherheitszeit beim

der Flamme): Промежуток времени между погасанием контролируемого пламени и подачей сигнала автоматом горения на прекращение подачи газа на горелку путем отключения питания.
3.4.18
рабочее состояние аппарата (Betriebszustand des

): Состояние аппарата, при котором горелка находится под управлением программатора, а ее датчик пламени работает в штатном режиме.
3.4.19 управляемое отключение (Regelabschaltung): Процесс, при котором подача питания на газовый клапан или газовые клапаны в результате управления функция немедленно прерывается.
3.4.20 защитное отключение (Sicherheitsabschaltung): Процесс, вызванный срабатыванием устройства или защитного датчика безопасности, или при ошибке в автомате управления газовой горелкой, во время которого происходит немедленное отключение горелки путем отключения от источника питания газового клапана или газовых клапанов и устройства розжига.
3.4.21
энергонезависимая блокировка (nicht

): Состояние блока горелки в случае аварийного отключения, после которого повторный пуск блока горелки возможен только посредством ручного снятия блокировки и никак иначе.
3.4.22
энергозависимая блокировка 
: Состояние блока горелки в случае аварийного отключения, после которого повторный пуск блока горелки возможен только посредством ручного снятия блокировки либо путем отключения основного источника питания и его последующего включения.
3.4.23
повторный розжиг 
: Процесс, при котором после исчезновения сигнала пламени устройство розжига снова включается без прерывания общей подачи газа.
Примечание - Данный процесс заканчивается после восстановления рабочего состояния или энергозависимого или энергонезависимого выключения питания, если по истечении защитного времени пламя не появляется.
3.4.24 автоматический перезапуск (Automatischer Wiederanlauf): Процесс, который после защитного отключения автоматически повторяет полную последовательность запуска.
Примечание - Данный процесс заканчивается восстановлением рабочего состояния или энергозависимого или энергонезависимого выключения питания в случае, если по истечении защитного времени не появляется пламя или не была устранена причина ошибочного прерывания подачи газа.
3.5.1
теплота сгорания 
: Количество тепла, образуемого при полном сгорании единицы объемного или массового расхода газа при постоянном давлении, равном 101,325 кПа (1013,250 мбар), при стандартных условиях подачи компонентов горючего газа (смеси газов) и отвода продуктов сгорания.
Различают:
a) высшую теплоту сгорания Hs, при которой вода, образующаяся при сгорании газа, конденсируется;
b) низшую теплоту сгорания Hi, при которой вода, образующаяся при сгорании газа, находится в парообразном состоянии.
Примечание - Единицы измерения:
| | ИС МЕГАНОРМ: примечание. Обозначения перечислений даны в соответствии с официальным текстом документа. | |
a) мегаджоуль на кубический метр (мДж/м) сухого газа при стандартных условиях; или
b) мегаджоуль на килограмм (мДж/кг) сухого газа.
3.5.2 относительная плотность (relative Dichte): Отношение массы равных объемов сухого газа и сухого воздуха, измеренных при одинаковых значениях давления и температуры.
3.5.3 число Воббе (Wobbeindex): Отношение теплоты сгорания газа на единицу объема и квадратный корень его относительной плотности при одинаковых нормальных условиях.
Примечания
1 Различают высшее число Воббе, Ws, и низшее число Воббе, Wi. Число Воббе будет высшее или низшее в зависимости от того, является ли использованная теплота сгорания высшей или низшей.
2 Число Воббе измеряют либо в МДж/м3 сухого газа при стандартных условиях или в МДж/кг сухого газа.
3.5.4
испытательное давление 
: Давление газа, предназначенное для проверки функциональной безопасности аппаратов, работающих на газообразном топливе; испытательные давления подразделяют на номинальное и предельное давления.
Примечание - Единица измерения - мбар. 1 мбар = 102 Па.
3.5.5 номинальное давление pn (Nenndruck pn): Давление, при котором аппараты работают в номинальных условиях на соответствующем стандартном проверочном газе.
3.5.6 предельное давление (Grenzdruck)
максимальное давление pmax и минимальное давление pmin, Па (
pmax und Mindestdruck
pmin): Давления, представляющие крайние значения в режиме питания прибора.
Примечание - Единица измерения - мбар. 1 мбар = 102 Па.
3.5.7 пара давлений (Druckpaar): Комбинация из двух четко выраженных давлений газоснабжения, которое применяется при наличии значительного различия между числами Воббе в пределах одного семейства или группы газов, в которой:
a) максимальное давление соответствует газу с низшим числом Воббе;
b) минимальное давление соответствует газу с высшим числом Воббе.
Примечание - Единица измерения - мбар. 1 мбар = 102 Па.
3.6 Условия эксплуатации и измерений
3.6.1 нормальные условия (Bezugsbedingungen): В настоящем стандарте используют следующие нормальные условия:
a) для значений теплоты сгорания температура 15 °C;
b) при определении объемов газа и воздуха в сухом состоянии, температура 15 °C при абсолютном давлении 101,325 кПа (1013,250 мбар).
3.6.2 холодное состояние (Kaltzustand): Состояние аппарата, которое требуется для некоторых видов испытаний и характеризуется тем, что незажженный блок горелки перед розжигом выдерживают при комнатной температуре до достижения термического равновесия.
3.6.3 горячее состояние (Warmzustand): Состояние аппарата, которое требуется для некоторых видов испытаний и достигаемое нагревом аппарата до теплового равновесия при номинальном подводе тепла.
3.6.4 эквивалентное сопротивление потоку, мбар (Vergleichs-Durchflusswiderstand): Сопротивление потоку, измеряемое на выходе системы и эквивалентное сопротивлению фактической тяги.
3.6.5 тепловое равновесие (thermischer Beharrungszustand): Рабочее состояние системы, соответствующее конкретной настройке тепловой нагрузки, при которой температура дымовых газов °C не изменяется более чем на +/- 2% в течение 10 мин.
3.6.6 мощность излучения (Strahlungsabgabe): Мощность излучения, проходящая через плоскость измерения - параллельно и на 10 см ниже опорной плоскости отопительного прибора.
1 - теплогенератор; 2 - измеритель излучения;
3 - вертикальное расстояние от опорной плоскости излучения
RRP до плоскости измерения MP, равное 100 мм; 4, 5,
6 - измерительная решетка, размером 100 x 100 мм
(500 x 100 мм)
Рисунок 1 - Плоскость измерения
MP
3.6.7 плоскость начала отсчета уровня излучения; RRP (Strahlungsbezugsebene) (en: radiation reference plane): Плоская горизонтальная поверхность, ограниченная нижним краем отражателя, или, если излучающие части выходят за нижний край отражателя, плоская горизонтальная поверхность, касающаяся самой нижней излучающей части.
1 - теплогенератор; 2 - измеритель радиации уровня излучения
REP; RRP - опорная плоскость излучения; MP - плоскость
измерения излучения
Рисунок 2 - Опорная плоскость излучения
RRP и плоскость
излучения излучателя REP
3.6.8 плоскость эмиссии излучения; REP (Strahlungsemissionsebene) (en: radiation emitter plane): Горизонтальная плоскость, определяемая осью радиационных труб темного излучателя.
3.6.9 плоскость измерения; MP (Messebene) (en: measuring plane): Плоскость, расположенная параллельно плоскости начала отсчета уровня излучения и ниже ее на (100 +/- 3) мм, при этом верхняя грань измерителя излучения перемещается по измерительной сетке.
3.6.10
измерительная решетка (Messgitter): Равномерное расположение прямых линий в плоскости измерения, параллельных и перпендикулярных продольной оси аппарата, узловые точки измерительной решетки располагаются на пересечениях этих линий (см.
рисунок 3), расстояния между этими точками соответствуют требованиям
раздела 7.
1 - теплогенератор; 2 - узел; 3 - измерительная ячейка Fij
Рисунок 3 - Измерительная решетка
3.6.11
мощность излучения E, Вт/м2 (
E): Мощность излучения, падающая на единицу площади поверхности.
3.7.1 коэффициент излучения; RF (Strahlungsfaktor RF): Соотношение мощности лучистого тепла, излучаемого устройством через плоскость начала отсчета уровня излучения, и полезной тепловой нагрузки аппарата, работающего со стандартным эталонным газом.
3.7.2 сезонный коэффициент излучения; RFs (jahreszeitbedingter Strahlungsfaktor RFs): Сезонно-взвешенный коэффициент излучения, рассчитываемый как соотношение между коэффициентом теплового излучения аппарата при номинальной полезной подводимой теплоте и коэффициентом теплового излучения аппарата при минимальной полезной тепловой мощности (в случае аппаратов с регулировкой тепловой нагрузки).
3.7.3
сезонная эффективность теплоотдачи 
(jahreszeitbedingter

): Сезонно-взвешенная эффективность мощности тепловыделения аппарата с учетом влияния мощности излучения и/или коэффициента излучения на желаемую температуру в помещении.
3.7.4
тепловой КПД NCV, 
(thermischer Wirkungsgrad

): Соотношение между тепловой мощностью системы сгорания аппарата и полезной тепловой мощностью аппарата на основе теплотворной способности соответствующего проверочного газа; можно рассматривать как эффективность сгорания NCV.
3.7.5
тепловой КПД GCV, 
(thermischer Wirkungsgrad

): Соотношение между тепловой мощностью системы сгорания аппарата и полной тепловой мощностью аппарата, рассчитанной на основе высшей теплотворной способности соответствующего эталонного газа; может рассматриваться как эффективность сгорания GCV.
3.7.6
сезонная тепловая эффективность GCV, 
(jahreszeitbedingter thermischer Wirkungsgrad GCV,

): Сезонно-взвешенный тепловой КПД GCV, рассчитанный как отношение теплового КПД аппарата при номинальной общей подводимой теплоте к единичному тепловому КПД при минимальном суммарном подводимом тепле (в случае аппаратов с регулировкой подводимой теплоты), с поправкой на возможный коэффициент потерь оболочки
Fenv, когда горелка теплогенератора установлена снаружи в ограждающих конструкциях здания.
3.7.7
сезонный коэффициент эффективности отопления помещений GCV, 
(saisonaler Raumheizungs-Jahresnutzungsgrad GCV,

): Это отношение суммарной годовой комбинированной тепловой эффективности и эффективности тепловыделения, скорректированной с помощью поправочных коэффициентов, с учетом вклада адаптируемости тепловой мощности аппарата, вклада вспомогательного энергопотребления аппарата и вклада энергопотребления возможного постоянного запального пламени аппарата (при наличии).
3.7.8
коэффициент потери оболочки Fenv (
Fenv): Коэффициент потерь энергии, учитывающий потери энергии аппарата в случае установки горелки (теплогенератора) аппарата вне ограждающих конструкций отапливаемого здания.
3.7.9 потребление вспомогательной энергии (Hilfsenergieverbrauch): Количество вспомогательной мощности, потребляемой устройством, т.е. электрическая энергия - для привода компонентов устройства, таких как воздуходувки, клапаны и элементы управления.
3.8.1 страна прямого назначения (direktes Bestimmungsland): Страна, для которой сертифицирован аппарат и которая указана изготовителем в технической документации как предполагаемая страна назначения.
Примечание - В качестве страны назначения могут быть указаны две или более стран, если аппарат в текущем состоянии настройки может использоваться в каждой из этих стран.
3.8.2 страна непрямого назначения (indirektes Bestimmungsland): Страна, для которой сертифицирован аппарат, но в которой он не может эксплуатироваться со своими текущими настройками; при монтаже аппарата важно провести регулировку и изменения, чтобы аппарат мог правильно и безопасно эксплуатироваться в этой стране.
В настоящем стандарте используют обозначения, приведенные в
таблице 1.
Таблица 1
Основные обозначения и сокращения
Обозначение | Наименование показателя | Единица измерения |
C1 | Средняя удельная теплоемкость сухих продуктов сгорания | МДж/(м3·К) |
Cpd | Удельная теплоемкость сухих продуктов сгорания | МДж/кг·К |
Cps | Удельная теплоемкость вторичной жидкости | МДж/кг·К |
Cpw | Удельная теплоемкость конденсированного водяного пара | МДж/кг·К |
COmeas | Измеренная концентрация CO (сухой, без воздуха) | ppm |
d | Относительная плотность сухого газа к сухому воздуху | - |
dh | Относительная плотность влажного газа относительно сухого воздуха | - |
dr | Относительная плотность стандартного тестового газа к сухому воздуху | - |
D | Номинальный диаметр выходного отверстия устройства | мм |
el | Потребляемая мощность | кВт |
elmax | Потребляемая мощность при номинальной тепловой нагрузке | кВт |
elmin | Потребляемая мощность при минимальной тепловой нагрузке | кВт |
elsb | Энергопотребление в режиме ожидания | кВт |
E | Излучение | Вт/м2 |
Eij | Освещенность в узле | Вт/м2 |
| Средняя освещенность клетки | Вт/м2 |
Fij | Площадь измерительной ячейки | м2 |
Fenv | Коэффициент потерь оболочки | - |
h | Длина пути (средняя длина струи) между теплогенератором и интегрирующей сферой | м |
hm | Влажность во время измерения NOx | г/кг |
Hi | Низшая теплотворная способность газа | МДж/м3 (или МДж/кг) |
Hs | Высшая теплотворная способность газа | МДж/м3 (или МДж/кг) |
k | Количество строк | - |
L | Количество воздуха в дымовых газах | м3/м3 |
Lmin | Расход воздуха на единицу объема дымовых газов | м3/м3 |
mcond | Количество конденсата вторичного теплообменника на единицу объема дымовых газов | кг/м3 |
| | ИС МЕГАНОРМ: примечание. Текст во второй графе дан в соответствии с официальным текстом документа. | |
|
| Количество CO2 на единицу объема дымовых газов | кг/м3 |
| Количество водяного пара на единицу объема дымовых газов | кг/м3 |
| Количество N2 на единицу объема дымовых газов | кг/м3 |
| Количество O2 на единицу объема дымовых газов | кг/м3 |
mHXs | Массовый расход вторичной жидкости во вторичном теплообменнике | кг/с |
mw | Массовый расход водяного пара в продуктах дымовых газов ниже по потоку вторичного теплообменника | кг/с |
Mfg | Массовый расход дымовых газов | кг/с |
Mmeas | Определенный массовый расход в условиях испытаний | кг/ч |
Mo | Массовый расход газа при нормальных условиях | кг/ч или г/ч |
n | Количество столбцов решетки | - |
NOx1 | Значение NOx сухого газа в нейтральных условиях горения при O2, равном 0% | мг/кВт·ч |
NOx5 | Значение NOx при x% сухого газа O2 в пересчете на нейтральные условия горения | мг/кВт·ч |
NOxm | Значение NOx, измеренное при hM и TM | мг/кВт·ч |
NOxmin | Значение NOx, измеренное при минимальной тепловой нагрузке | мг/кВт·ч |
NOxnom | Значение NOx, измеренное при номинальной тепловой нагрузке | мг/кВт·ч |
NOxref | Значение NOx, скорректированное для стандартных условий | мг/кВт·ч |
NOxseas,GCV | Сезонные NOx на основе GCV | мг/кВт·ч |
NOxseas,NCV | Сезонные NOx на основе NCV | мг/кВт·ч |
p | Давление на входе блока горелки | мбар |
pa | Атмосферное давление | мбар |
pg | Давление подключения газа на газовом счетчике | мбар |
pn | Номинальное давление | мбар |
| Парциальное давление водяного пара | мбар |
pmax | Максимальное давление | мбар |
pmin | Минимальное давление | мбар |
| Скорректированное максимальное испытательное давление | мбар |
| Скорректированное минимальное испытательное давление | мбар |
pw | Давление насыщенного пара испытательного газа | мбар |
P | Мощность | кВт |
q1 | Теплота сухих продуктов сгорания | кВт |
q2 | Теплота водяного пара, содержащегося в продуктах сгорания | кВт |
Q | Теплота | кВт |
QHXc | Тепловая энергия в конденсате | МДж/м3 |
QHXd | Снижение тепловой энергии в сухих продуктах сгорания | МДж/м3 |
QHXf | Потери тепловой энергии с продуктами сгорания во вторичном теплообменнике | кВт |
QHXs | Прирост тепловой энергии во вторичном контуре теплообменника | кВт |
QHXw | Тепловая энергия в остаточном водяном паре | МДж/м3 |
Qin | Тепловая нагрузка | кВт |
Qin, heater i | Тепловая нагрузка сегмента трубы (NCV) | кВт |
Qin,system | Тепловая нагрузка всей системы трубчатого нагревателя (NCV) | кВт |
Qin,nom | Номинальная тепловая мощность | кВт |
Qin,min | Минимальная тепловая нагрузка | кВт |
Qo | Скорректированная тепловая нагрузка | кВт |
Qout,em | Мощность тепловыделения излучением | кВт |
Qout,gen | Тепловая мощность системы сжигания | кВт |
QL | Потери на удаление дымовых газов | % |
QL1 | Теплота сухих продуктов сгорания | % |
QL2 | Теплота водяного пара, содержащегося в продуктах сгорания | % |
Qm | Фактическая тепловая нагрузка по отношению к фактической высшей теплотворной способности | кВт |
Qpilot | Потребление тепла запальной горелкой | кВт |
Q(R)C | Выходная мощность излучения при нормальных условиях | Вт |
Q(R)m | Измеренная мощность излучения | Вт |
rh | Относительная влажность | - |
RF | Коэффициент излучения | - |
RFmin,i | Коэффициент излучения на сегменте трубы с минимальной тепловой нагрузкой | - |
RFnom,i | Коэффициент излучения на отрезке трубы при номинальной тепловой нагрузке | - |
RFs | Сезонный коэффициент излучения | - |
R1 | Сопротивление обмотки двигателя вентилятора в начале испытания | Ом |
R2 | Сопротивление обмотки двигателя вентилятора в конце испытания | Ом |
S | Чувствительность измерителя излучения | мВ/Вт/м2 |
ta | Температура окружающей среды | °C |
ta comb | Температура воздуха для горения | °C |
| Температура воздуха для горения в помещении | °C |
tcomp,max | Максимальная температура компонента | °C |
tcomp,meas | Измеряемая температура компонента | °C |
tflue | Температура дымовых газов | °C |
| Средняя температура дымовых газов | °C |
tg | Температура газа | °C |
tHXfin | Температура дымовых газов на входе вторичного теплообменника | °C |
tHXfout | Температура отработавших газов на выходе вторичного теплообменника | °C |
tHXins | Температура жидкости на входе вторичного теплообменника | °C |
tHXouts | Температура жидкости на выходе из вторичного теплообменника | °C |
trad | Эталонная излучающая температура поверхности | °C |
trm | Комнатная температура | °C |
trm, 1 | Комнатная температура в начале испытания вентилятора | °C |
trm, 2 | Комнатная температура в конце испытания вентилятора | °C |
U | Напряжение датчика излучения | мВ |
U(c) | Корректирующее напряжение для каждого узла | мВ |
Uc(x) | Коррекция столбца сетки | мВ |
Vcorr | Скорректированный расход | м3/с |
V | Измеренный объемный расход газа, указанный в условиях на счетчике | м3/с |
Vat | Объем сухих дымовых газов | м3/м3 |
Vaf | Объем влажных дымовых газов | м3/м3 |
VCO, M | Измеренная концентрация CO | % |
VCO, N | Концентрация CO (сухой, безвоздушный) | % |
| | ИС МЕГАНОРМ: примечание. Текст в первой графе дан в соответствии с официальным текстом документа. | |
|
| Измеренная концентрация CO2 | % |
| Концентрация CO2 (сухой, безвоздушный) | % |
VO | Объемный расход газа при нормальных условиях | м3/с (или л/мин, дм3/мин, дм3/с) |
| Измеренная концентрация кислорода (сухой, без воздуха) | % |
Vf | Объем сухих продуктов сгорания на единицу объема газа в м3 | м3 |
Vmeas | Расход в условиях испытаний | м3/с |
Vnom | Расход газа при номинальной тепловой нагрузке | м3/с |
Vt | Объем сухих дымовых газов | м3/с |
VX | Содержание O2 в эталонном сухом газе (%) (например, 3% O2) | % |
VY | Содержания водяного пара в пробе сухого газа | % |
Wi | Нижнее число Воббе | МДж/м3 (или МДж/кг) |
Ws | Верхнее число Воббе | МДж/м3 (или МДж/кг) |
| Угол раскрытия интегрирующей сферы (85°) | ° |
| Избыток воздуха в дымовых газах | - |
| Тепловой КПД конденсационного теплообменника | % |
| Тепловой КПД | % |
| Тепловой КПД при минимальной тепловой нагрузке | % |
| Тепловая эффективность по отношению к высшей теплотворной способности (GCV) | % |
| Тепловая эффективность по отношению к низшей теплотворной способности (NCV) | % |
| Сезонная энергоэффективность отопления помещений | % |
| Сезонная тепловая эффективность | % |
| Эффективность сезонного тепловыделения | % |
| Сезонная эффективность обогрева помещения в активном режиме | % |
| Суммарный коэффициент передачи | - |
4 Классификация аппаратов
4.1 Классификация по газам и категориям
Газы подразделяют на три семейства, которые разделяют на группы в соответствии со значением показателя Воббе. В
таблице 2 представлены семейства и группы газов, применяемые в настоящем стандарте.
Таблица 2
Семейства и группы газов | Число Воббе высшее (МДж/м3) при 15 °C и 101,325 кПа |
минимальное значение | максимальное значение |
1-е семейство (искусственные газы): | 22,4 | 24,8 |
группа a | | |
2-е семейство (природные газы): | 39,1 | 54,7 |
группа H | 45,7 | 54,7 |
группа L | 39,1 | 44,8 |
группа E | 40,9 | 54,7 |
3-е семейство (сжиженные газы): | 72,9 | 87,3 |
группа B/P | 72,9 | 87,3 |
группа P | 72,9 | 76,8 |
группа B | 81,8 | 87,3 |
Аппараты классифицируют по категориям в зависимости от применяемых газов.
Категория I
Аппараты категории I рассчитаны исключительно для применения газов одного семейства или одной группы:
a) аппараты, рассчитанные на применение газов только первого семейства:
категория I1a: аппараты, использующие только газы группы a первого семейства при заданном присоединительном давлении (эта категория не используется);
b) аппараты, рассчитанные на применение газов только второго семейства:
категория I2H: аппараты, использующие только газы группы H второго семейства при заданном давлении подачи,
категория I2L: аппараты, использующие только газы группы L второго семейства при заданном давлении подключения,
категория I2E: аппараты, использующие только газы группы E второго семейства при заданном давлении подключения,
категория I2E+: аппараты, использующие только газы группы E второго семейства при заданном давлении и работающие только с парой давлений без регулировки на аппарате. Газовый регулятор аппарата (если имеется) не работает в диапазоне двух нормальных давлений из этой пары;
c) аппараты, рассчитанные на применение газов только третьего семейства:
категория I3B/P: аппараты, способные использовать газы третьего семейства (пропан и бутан) при заданном давлении,
категория I3+: аппараты, способные использовать газы третьего семейства (пропан и бутан) и работающие с парой давлений без регулировки аппарата.
Тем не менее, для определенных типов аппаратов, указанных в конкретных стандартах, может допускаться регулировка основного воздуха горения при переходе с пропана на бутан и обратно. Регуляторы давления газа на аппарате не допускаются,
категория I3P: аппараты, использующие только газы группы P третьего семейства (пропан) при заданном давлении.
Категория II
Аппараты категории II рассчитаны на применение газов двух семейств:
a) аппараты, рассчитанные на применение газов из первого и второго семейств:
категория II1a2H: аппараты, способные работать на газах группы a первого семейства и газах группы H второго семейства. Газы первого семейства используются в таких же условиях, что и газы категории I1a. Газы второго семейства применяются в тех же условиях, что и газы для категории I2H;
b) аппараты, рассчитанные на применение газов из второго и третьего семейств:
категория II2H3B/P: аппараты, способные использовать газы группы H второго семейства и газы третьего семейства. Газы второго семейства используются в тех же условиях, что и газы для категории II3B/P,
категория II2H3+: аппараты, способные использовать газы группы H второго семейства и газы третьего семейства. Газы второго семейства используются в тех же условиях, что и газы для категории II2H. Газы третьего семейства используются в тех же условиях, что и газы для категории I3+,
категория II2H3P: аппараты, способные использовать газы группы H второго семейства и газы группы P третьего семейства. Газы второго семейства используются в тех же условиях, что и газы для категории I2H. Газы третьего семейства используются в тех же условиях, что и газы для категории I3P,
категория II2L3B/P: аппараты, способные использовать газы группы L второго семейства и газы третьего семейства. Газы второго семейства используются в тех же условиях, что и газы для категории I2L. Газы третьего семейства используются в тех же условиях, что и газы для категории I3BP,
категория II2L3P: аппараты, способные использовать газы группы L второго семейства и газы группы P третьего семейства. Газы второго семейства используются в тех же условиях, что и газы для категории I2L. Газы третьего семейства используются в тех же условиях, что и газы для категории I3P,
категория II2E3B/P: аппараты, способные использовать газы группы E второго семейства и газы третьего семейства. Газы второго семейства используются в тех же условиях, что и газы для категории I2E. Газы третьего семейства используются в тех же условиях, что и газы для категории I3B/P,
категория II2E+3+: аппараты, способные использовать газы группы E второго семейства и газы третьего семейства. Газы второго семейства используются в тех же условиях, что и газы для категории I2E+. Газы третьего семейства используются в тех же условиях, что и газы для категории I3+,
категория II2E+3P: аппараты, способные использовать газы группы E второго семейства и газы третьего семейства. Газы второго семейства используются в тех же условиях, что и газы для категории I2E+. Газы третьего семейства используются в тех же условиях, что и газы для категории I3P.
Категория III
Аппараты категории III рассчитаны на применение газов всех трех семейств.
Эта категория аппаратов не является общепринятой.
4.2 Классификация по способу удаления продуктов сгорания
4.2.1 Общие положения
Аппараты в зависимости от способа удаления продуктов сгорания и забора воздуха горения подразделяют на следующие типы.
4.2.2 Тип A
Аппарат, не предназначенный для подсоединения к дымоходу или другому оборудованию для удаления продуктов сгорания в пространство вне помещения, в котором установлен аппарат. Воздух для горения забирается непосредственно из помещения.
Варианты аппаратов типа A, на которые распространяется настоящий стандарт:
a) тип A2: аппарат с вентилятором после камеры сгорания;
b) тип A3: аппарат с вентилятором перед камерой сгорания.
Системы типа A используются только для агрегатов с одной горелкой.
4.2.3 Тип B
Аппарат, предназначенный для подключения к дымоходу для удаления продуктов сгорания в пространство вне помещения, в котором установлен аппарат. Воздух для горения забирается непосредственно из помещения.
Варианты аппаратов типа B, на которые распространяется настоящий стандарт:
a) тип B1 - аппарат типа B, оснащенный стабилизатором тяги (относится к типам B12, B13);
b) тип B2 - аппарат типа B без стабилизатора тяги (относится к типам B22, B23);
c) тип B4 - аппарат типа B, оснащенный стабилизатором тяги, который рассчитан на подсоединение через дымоход к оконечному устройству дымохода (относится к типам B42, B43);
d) тип B5 - аппарат типа B без стабилизатора тяги, который рассчитан на подсоединение через дымоход к оконечному устройству дымохода (относится к типам B52, B53);
e) тип B12 - аппарат типа B1, рассчитанный на дымоход с естественной тягой, оснащенный вентилятором после камеры сгорания (теплообменника) и стабилизатором тяги;
f) тип B13 - аппарат типа B1, рассчитанный на дымоход с естественной тягой, оснащенный вентилятором перед камерой сгорания (теплообменником);
g) тип B22 - аппарат типа B2, оснащенный вентилятором после камеры сгорания (теплообменника);
h) тип B23 - аппарат типа B2, оснащенный вентилятором перед камерой сгорания (теплообменником);
i) тип B42 - аппарат типа B4, рассчитанный на дымоход с естественной тягой, оснащенный вентилятором перед камерой сгорания (теплообменником и датчиком тяги);
j) тип B43 - аппарат типа B4, рассчитанный на дымоход с естественной тягой, оснащенный вентилятором перед камерой сгорания (теплообменником);
k) тип B52 - аппарат типа B5, оснащенный вентилятором после камеры сгорания (теплообменника);
l) тип B53 - аппарат типа B5, оснащенный вентилятором перед камерой сгорания (теплообменником).
Для четырех типов устройств, объясненных выше, в которых воздух для горения и/или дымовые газы подаются или отводятся механическими средствами, см.
B.1 приложения B.
Для аппаратов темных излучателей с несколькими горелками настоящий стандарт распространяется:
i) на тип B52 - аппарат типа B5, оснащенный вентилятором после камеры сгорания (теплообменника);
ii) тип B52x - аппарат типа B5, оснащенный вентилятором после камеры сгорания (теплообменника) с вентилятором в коллекторе в дополнение к вентиляторам в каждом ответвлении;
iii) тип B53 - аппарат типа B5, оснащенный вентилятором перед камерой сгорания (теплообменником);
iv) тип B53x - аппарат типа B5, оснащенный вентилятором перед камерой сгорания (теплообменником), вентилятором в коллекторе в дополнение к вентиляторам в каждом ответвлении.
4.2.4 Тип C
Аппарат, в котором контур сгорания изолирован от жилой зоны здания, в котором установлен аппарат.
Варианты аппаратов типа C, на которые распространяется настоящий стандарт:
a) тип C1 - аппарат типа C, рассчитанный на подсоединение при помощи воздуховодов к горизонтальному выпускному устройству, которое одновременно забирает свежий воздух для подачи его на горелку и отводит продукты сгорания наружу через каналы концентрической формы, либо через каналы в непосредственной близости друг от друга, с целью обеспечения постоянных условий при сопоставимых ветровых условиях;
b) тип C3 - аппарат типа C, рассчитанный на подсоединение через каналы к вертикальному выпускному устройству, которое одновременно забирает и подает свежий воздух в горелку и отводит продукты сгорания наружу через каналы концентрической формы, либо через каналы в непосредственной близости друг от друга, с целью обеспечения постоянных условий при сопоставимых ветровых условиях;
c) тип C12 - аппарат типа C1, оснащенный вентилятором после камеры сгорания (теплообменником);
d) тип C13 - аппарат типа C1, оснащенный вентилятором перед камерой сгорания (теплообменником);
e) тип C32 - аппарат типа C3, оснащенный вентилятором после камеры сгорания (теплообменником);
f) тип C33 - аппарат типа C3, оснащенный вентилятором перед камерой сгорания (теплообменником).
Схемы подключения дымоходов удаления продуктов сгорания для аппаратов, в которых предусмотрена подача воздуха горения и/или удаление продуктов сгорания с помощью естественной тяги или принудительной тяги - согласно
B.2 приложения B.
5 Требования к конструкции и изготовлению
5.1.1 Перевод на другие газы
5.1.1.1 Общие сведения
Ниже указаны единственно допустимые операции при переводе аппарата с газа одной группы или семейства на газ другой группы или семейства и/или для адаптации аппарата под другие давления распределения газа для каждой категории.
Рекомендуется обеспечить выполнение этих операций без отключения аппарата от газовой сети.
Для перехода в пределах категории I на другие газы или другие давления подключения газа или другие пары давлений газа допускаются только следующие меры или их комбинации:
a) замена форсунок, диафрагм или дросселей;
b) замена или регулировка устройств предварительной настройки воздуха или трубок Вентури;
c) регулировка давления горелки;
d) замена пружины регулятора давления или регулятора давления;
e) регулировка соотношения газ-воздух на устройствах управления соотношения газ/воздух;
f) изменения параметров конфигурации посредством обмена данными (см.
[1]).
Другие изменения устройств не допускаются.
5.1.1.3 Категории II и III
В дополнение к требованиям
5.1.1.2 разрешены только следующие дополнительные рабочие операции или комбинации рабочих операций для переоборудования категорий оборудования для использования с газами первого и второго семейств, а также категорий оборудования для работы с газами первого, второго и третьего семейств:
a) регулировка расхода газа запальной горелки (горелок) либо с помощью регулировочного элемента или заменой форсунок, или дросселей и заменой при необходимости одной или нескольких комплектных запальных горелок или некоторых их частей;
b) замена автоматических запорных клапанов (при необходимости);
c) настройка отсечки по низкому давлению, если имеется;
d) вывод из эксплуатации регулятора давления в условиях по
5.2.6;
e) вывод из эксплуатации устройства предварительной настройки расхода газа ниже условия согласно
5.2.2.
Другие изменения устройства не допускаются.
5.1.2 Материалы и методы конструктивного исполнения
Качество и толщина материалов, используемых для изготовления аппаратов, включая POCED, метод сборки различных частей должны быть определены таким образом, чтобы конструктивные и эксплуатационные характеристики не менялись в течение обычного срока службы при нормальных условиях эксплуатации аппарата. В частности, все детали аппарата и контур горения должны соответствовать механическим, химическим и температурным условиям, которым может подвергаться аппарат при нормальной работе.
Материалы, используемые в аппарате, должны быть негорючими.
Не допускается применение материалов, содержащих асбест, кадмий или хром VI.
При изготовлении аппаратов нельзя использовать твердый припой, содержащий кадмий.
Припой с температурой плавления ниже 450 °C не должен использоваться для газопроводящих частей.
Не допускается использовать медь в газопроводящих частях, если эти части могут работать при температурах свыше 100 °C.
Если образуется конденсат, он не должен:
a) снижать эксплуатационную безопасность;
b) капать из аппарата, это требование не распространяется на поток конденсата, возникающий на выходе из конструкции для отвода продуктов сгорания или из вторичного теплообменника в POCED.
5.1.3 Доступность для технического обслуживания и использования
Детали, доступные во время эксплуатации и технического обслуживания в соответствии с инструкциями по эксплуатации и техническому обслуживанию, не должны иметь острых краев и углов, которые могут привести к повреждению или травме во время эксплуатации и технического обслуживания.
Компоненты и элементы управления должны быть расположены таким образом, чтобы их можно было регулировать, обслуживать или заменять, не снимая аппарат с монтажного положения. При необходимости должны быть предусмотрены отверстия для доступа или съемные крышки.
Детали, предназначенные для технического обслуживания или очистки, должны быть легко доступны, просты по своему устройству, чтобы их можно было легко и правильно собрать. Должна быть обеспечена возможность повторного, правильного монтажа данных устройств. Неправильная сборка деталей должна быть невозможной во избежание опасных условий, которые могут привести к повреждению аппарата и его регулирующих устройств.
Части аппарата, которые не предназначены для демонтажа пользователем и демонтаж которых может повлиять на безопасность, следует демонтировать только с помощью инструментов.
5.1.4 Гибкое подключение газа
Для компенсации динамического теплового расширения трубчатых нагревателей требуется гибкое газовое соединение, которое выполняется с помощью гибких газовых шлангов. Гибкие газовые шланги, используемые для установки трубчатых нагревателей, должны быть изготовлены из нержавеющей стали. Минимальный диаметр шланга должен быть не меньше диаметра газового штуцера.
Минимальная длина гибкого шланга должна быть не менее 0,5 м.
Максимальная длина гибкого шланга с фитингами не должна превышать 2 м.
Если гибкие газовые шланги поставляются производителем как часть аппарата, они должны соответствовать требованиям
ГОСТ Р 52209 (см. также
[2]).
Если установщик предоставляет гибкие газовые шланги, они должны соответствовать национальным стандартам и требованиям. Необходимо соблюдать правила установки в стране назначения.
5.1.5 Герметичность контуров газа и горения
5.1.5.1 Герметичность газового контура
Отверстия под винты, болты и т.п. для монтажа компонентов не должны проникать в газопроводящие детали. Толщина стенки между отверстиями (включая резьбовые отверстия) и газопроводящими частями может быть не менее 1 мм.
Герметичность узлов и конструкций, связанных с газонесущими частями, которые при необходимости могут быть разобраны в соответствии с инструкциями по эксплуатации и техническому обслуживанию для регулярного технического обслуживания, должна быть обеспечена использованием механических уплотнений, таких как уплотнения металл-металл, уплотнительные кольца или прокладки, но не герметики, такие как лента, мастика или пасты. Герметичность должна сохраняться после разборки и сборки.
Герметики могут быть использованы для неразъемных резьбовых соединений. Герметик должен оставаться эффективным в нормальных условиях эксплуатации.
5.1.5.2 Герметичность частей для удаления дымовых газов (аппараты типа B)
Герметичность частей для удаления дымовых газов аппарата должна быть обеспечена только механическим путем.
Исключением являются те детали, которые нет необходимости снимать во время регулярного технического обслуживания, и которые необходимо соединять мастикой или пастой таким образом, чтобы обеспечивать герметичность при нормальных условиях эксплуатации (см.
6.2.1.2). В случае соединений коллектора и патрубка для герметизации коллектора и патрубка должны быть использованы одни и те же герметики.
5.1.5.3 Герметичность частей для удаления дымовых газов (аппараты типа C)
Герметичность деталей, которые необходимо снимать для технического обслуживания, и герметичность аппаратов с устройствами подачи воздуха для горения/отвода продуктов сгорания должна быть достигнута механическими средствами. Пасты, жидкости и ленты исключены. Необходимая замена прокладки (уплотнения) для очистки или обслуживания допускается в соответствии с инструкциями производителя.
Части корпуса, не предназначенные для снятия при обслуживании, могут быть соединены таким образом, чтобы была обеспечена постоянная герметичность при эксплуатации в нормальных условиях.
Подача воздуха для горения/отвода продуктов сгорания, ветрозащитное устройство или соединительный элемент должны правильно подходить друг другу и образовывать герметичный узел. Те детали, которые подлежат удалению для периодического обслуживания, должны быть спроектированы и собраны таким образом, чтобы после повторной установки была обеспечена герметичность.
Фитинг должен обеспечивать плотное соединение с аппаратом и обеспечивать подачу воздуха для горения/отвода продуктов сгорания.
5.1.6 Подача воздуха для горения и отвод продуктов сгорания
5.1.6.1 Общие положения
Все аппараты должны быть спроектированы так, чтобы обеспечивать необходимую подачу воздуха для горения во всех диапазонах от момента розжига до любых возможных значений теплопроизводительности, указанных производителем.
Если не указано иное, аппараты, оборудованные вентилятором, могут снабжаться средствами регулировки в контуре сгорания, предназначенными для приспособления аппаратов к потерям давления в установленных воздуховодах, с помощью дросселей либо путем установки средств регулировки до заданных значений в соответствии с подробными инструкциями производителя.
В соответствии с типом аппарата производитель должен предоставить для испытаний вместе с аппаратом любые оконечные устройства и/или патрубки.
Если аппарат оборудован каналом удаления продуктов сгорания POCED, который может быть установлен в соответствии с инструкциями производителя так, чтобы дымоход аппарата, когда он оборудован оконечным устройством, поставленным с аппаратом, или указан в инструкциях производителя, выходит наружу за внешнюю поверхность здания более чем на 1,5 м, то этот дымоход, вместе со связанным каналом подачи воздуха (аппараты типов C
1 и C
3), не должен подвергаться деформации при испытаниях ветровой нагрузки в соответствии с
ГОСТ Р 59376-2022,
пункт 4.3.2.
5.1.6.2 Каналы подачи воздуха и удаления продуктов сгорания
Сборка различных частей во время установки должна осуществляться так, чтобы необходимые работы заключались только в подгонке каналов подачи воздуха и продуктов сгорания по длине (возможно, путем обрезки). Такая подгонка не должна нарушать правильность работы аппарата.
Соединения аппарата, труб подачи воздуха, удаления продуктов сгорания и оконечного устройства или патрубка должны быть выполнены с помощью обычных инструментов, если необходимо. Производитель должен предоставить все необходимые принадлежности и инструкции по монтажу.
Оконечные выводы из отдельных труб для подачи воздуха для горения и удаления продуктов сгорания должны помещаться внутри квадрата со стороной 50 см для аппаратов типов C1 и C3.
Примечание - В соответствии с национальными требованиями могут предусматриваться точки отбора проб в контуре сгорания.
5.1.6.3 Отверстия подачи воздуха
Все отверстия для подачи воздуха в аппарат должны быть адекватно защищены от несанкционированного доступа. Также в такие отверстия не должен проходить шар диаметром 16 мм, к которому приложено усилие 5 Н. Поперечное сечение воздуховодов не должно быть регулируемым.
5.1.6.4 Патрубок удаления дымовых газов
Поперечное сечение патрубка удаления дымовых газов не должно быть регулируемым.
Вывод для продуктов сгорания у аппаратов типа A должен быть спроектирован и скомпонован так, чтобы он был защищен от случайного блокирования (например, от падающих сверху предметов).
5.1.6.5 Аппараты типов B12 и B13
Стабилизатор тяги должен быть встроен в аппарат или поставляться производителем в комплекте с аппаратом.
Разъем дымохода должен быть охватывающим и допускать, если необходимо, при помощи переходника, поставляемого с аппаратом, подключение к дымовой трубе, диаметр которой соответствует стандартам, действующим в стране, в которой аппарат должен быть установлен.
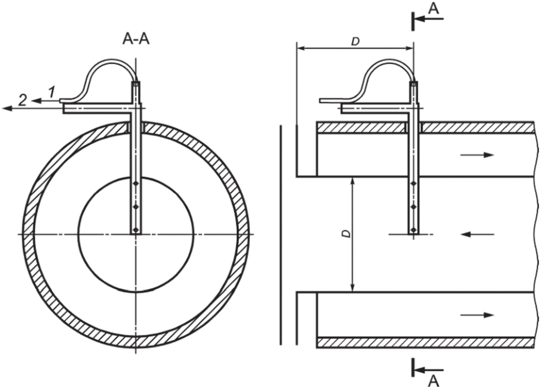
Примечание - Для получения информации о диаметрах дымоходов для стран, использующих аппараты, см.
A.1.
Должна обеспечиваться возможность вставить в разъем трубу наружным диаметром (D - 2) мм на глубину не менее D/4, но не настолько глубоко, чтобы нарушить удаление продуктов сгорания. Однако для вертикального соединения глубину вставки можно уменьшить до 15 мм.
Примечание - D - номинальный внутренний диаметр разъема аппарата.
5.1.6.6 Аппараты типов B22 и B23
Разъем дымохода должен быть охватывающим и позволять, если необходимо, при помощи переходника, поставляемого с аппаратом, подключение к дымовой трубе, диаметр которой отвечает стандартам, действующим в стране, в которой аппарат должен быть установлен.
Должна обеспечиваться возможность вставить в разъем трубу наружным диаметром (D - 2) мм на глубину не менее D/4, но не настолько глубоко, чтобы нарушить удаление продуктов сгорания. Однако для вертикального соединения глубину вставки можно уменьшить до 15 мм.
Примечание - D - номинальный внутренний диаметр разъема аппарата.
Производитель должен указать минимальное и максимальное эквивалентные сопротивления. Инструкции производителя должны содержать детали расчета эквивалентного сопротивления (т.е. следует сделать поправку на изгибы) и массовый расход дымовых газов в кг/с (см.
приложение D). В дополнение, производитель должен указать давление в дымоходе, Па, и температуру дымового газа, °C.
В случае, когда аппарат рассчитан на подключение к дымоходу со стенным выводом, производитель должен или поставить разъем дымохода, или указать используемый тип вывода. Конструкция разъема вывода должна быть такой, чтобы не пропускать шар диаметром 16 мм, к которому приложено усилие 5 Н.
5.1.6.7 Аппараты типов B42 и B43
Стабилизатор тяги должен быть встроен в аппарат или поставляться производителем в комплекте с аппаратом.
Труба для подачи воздуха для горения или удаления продуктов сгорания (POCED) должна быть поставлена производителем в комплекте с аппаратом либо указана в инструкциях производителя. Спецификация должна включать в себя описание газохода, включая любые изгибы, материалы конструкции и любые критические допуски, например по длине, диаметру, толщине, глубине входа и т.п.
5.1.6.8 Аппараты типов B52 и B53
Канал удаления продуктов сгорания (POCED) должен быть поставлен производителем в комплекте с аппаратом или указан в инструкциях производителя. Спецификация должна включать в себя описание газохода, включая любые изгибы, материалы конструкции и любые критические допуски, например по длине, диаметру, толщине, глубине входа и т.п.
Производитель должен указать минимальное и максимальное эквивалентные сопротивления. Инструкции производителя должны содержать детали расчета эквивалентного сопротивления (например, допуск на изгибы) и т.п.
В случае, когда аппарат рассчитан на подключение к дымоходу со стенным выводом, производитель должен или поставить разъем дымохода, или указать используемый тип вывода. Конструкция разъема вывода должна быть такой, чтобы не пропускать шар диаметром 16 мм, к которому приложено усилие 5 Н.
5.1.7 Входное подключение газа
Подключение газа должно быть спроектировано таким образом, чтобы не было ненужного прохождения газа из канала подвода воздуха в газовый контур. Подключение газа должно быть доступным.
Свободное пространство вокруг соединения должно быть достаточным после снятия, если это необходимо для того, чтобы можно было использовать инструменты, необходимые для выполнения соединения. Все соединения должны быть выполнены без специальных инструментов.
Должна быть предусмотрена возможность подключения аппарата к сети газоснабжения через неподвижное металлическое вспомогательное устройство:
a) резьбовое соединение согласно
ГОСТ 6211 или
ГОСТ 6357. В данном случае конец входного газового патрубка должен иметь плоскую кольцевую поверхность шириной не менее 3 мм для размеров резьбы 1/3", 1/2" и 3/8" и шириной не менее 2,5 мм для резьбы 1/4", чтобы позволить установить уплотняющую шайбу по
ГОСТ 23358. Более того, если конец входного газового патрубка имеет резьбу с номинальными размерами 1/2", в него должен входить калибр диаметром 12,3 мм на глубину как минимум 4 мм;
c) обжимной фитинг, подходящий для медных трубок, по
ГОСТ Р 52318;
d) прямая трубка длиной минимум 30 мм, торец которой цилиндрический, гладкий и чистый, чтобы позволить соединение с обжимным фитингом, как указано в
перечислении c);
5.1.8 Подтверждение работы
Все горелочные устройства должны быть оснащены устройством для наблюдения за пламенем всех запальных горелок во время запуска и технического обслуживания.
Если средством наблюдения является смотровое окно, расположенное в зоне высоких температур, оно должно быть снабжено термостойким стеклом или аналогичным материалом и герметизировано подходящим термостойким уплотнителем.
Пользователь должен всегда иметь возможность визуально определить, работает ли аппарат или перешел в режим кратковременной или долговременной блокировки, для этого применяются:
a) зеркала или окна; их оптические характеристики не должны ухудшаться после выполнения всех испытаний, указанных в настоящем стандарте;
b) индикаторные лампы; их назначение должно быть четко и постоянно указано на аппарате либо на заводской табличке или этикетке, предусмотренных согласно
10.1.2.
Цепи световой индикации должны быть спроектированы и расположены таким образом, чтобы:
- показывать, когда присутствует контролируемое пламя, а наличие сигнала контролируемой запальной горелки показывает, когда работает основная горелка;
- любые перебои в подаче питания на цепи световой индикации не должны влиять на работу каких-либо предохранительных устройств или самого аппарата.
5.1.9 Электрическая безопасность
Электрооборудование аппарата должно быть спроектировано и изготовлено таким образом, чтобы устранить опасность, связанную с электрическим током, и должно соответствовать требованиям ГОСТ IEC 60335-2-102.
Если аппарат оборудован электронными компонентами или системами, выполняющими защитные функции, они должны соответствовать требованиям к уровню электромагнитной совместимости
ГОСТ EN 298.
Если производитель указывает характер электрической защиты на паспортной табличке аппарата, данная спецификация должна соответствовать
ГОСТ 14254. Должна быть указана степень:
a) персональной защиты от контакта с опасными электрическими компонентами внутри корпуса аппарата;
b) электрической защиты внутри корпуса аппарата от вредных воздействий в результате проникновения воды.
5.1.10 Эксплуатационная безопасность в случае блуждающих токов, прекращения и восстановления питания
Прекращение и последующее восстановление подачи электропитания в любое время при запуске или во время работы аппарата не должны приводить к опасному состоянию аппарата, постоянной или временной блокировке или аварийному отключению после автоматического перезапуска.
Прекращение и последующее восстановление подачи тока не должны подавлять состояние блокировки, кроме случаев, когда аппарат рассчитан на перезагрузку путем отключения и включения подачи тока на аппарат (например, кратковременная блокировка). Такой перезапуск должен быть возможен только в том случае, если прекращение и последующая подача питания не могут вызывать опасное состояние аппарата.
Примечание - Требования по непрерывной и безопасной эксплуатации аппарата в случае нормального и аномального колебания вспомогательной энергии указаны в
6.2.7.2, перечисление d).
5.1.11 Двигатели и вентиляторы
Направление вращения двигателей и вентиляторов должно быть четко обозначено. Ременные приводы (там, где они используются) должны быть сконструированы и расположены так, чтобы обеспечить защиту оператора.
Должен быть предусмотрен способ регулировки натяжения ремня. Доступ к таким средствам должен быть возможен только с помощью общедоступных инструментов.
Двигатели и вентиляторы должны быть установлены так, чтобы свести к минимуму шум и вибрацию.
Точки смазки (если имеются) должны быть легкодоступны.
5.2 Требования к устройствам регулировки, управления и защиты
5.2.1 Общие сведения
Работа предохранительного устройства не должна блокироваться любыми устройствами управления.
Отказ устройства регулировки, управления или безопасности не должен приводить к опасной ситуации.
Любая часть аппарата или системы, которая не может быть изменена пользователем или установщиком, должна быть соответствующим образом защищена. Для этой цели можно использовать краску, если она выдерживает температуру, возникающую при нормальной работе системы.
Аппарат не должен содержать каких-либо органов управления, которые должны быть задействованы пользователем, когда система находится в нормальном рабочем состоянии.
5.2.2 Устройство предварительной настройки расхода газа
Для аппаратов требуются устройства предварительной настройки расхода газа, с использованием нескольких групп газов первого семейства, и опционально используют для аппаратов других газовых групп.
Регулировочное устройство должно быть:
a) опломбировано, если регулировка происходит в процессе производства;
b) может быть опломбировано при регулировке во время установки или технического обслуживания.
5.2.3 Регулятор диапазона
Установка регулятора диапазона на аппарате является опциональной.
Для аппаратов категории II1a2H регулятор расхода газа и регулятор диапазона может быть одним и тем же устройством. Тем не менее, если регулятор расхода газа должен быть опломбирован, полностью или частично, когда аппарат работает на газе второго семейства, регулятор расхода газа или его опломбированная часть больше не должна использоваться монтажником в качестве регулятора диапазона.
5.2.4 Регулировочный элемент для подмешивания воздуха
Регуляторы подмешивания воздуха, в процессе производства, должны быть предварительно настроены и опломбированы при соответствующей настройке для газа, на который настраивается аппарат.
5.2.5 Органы ручного управления
5.2.5.1 Применение
Клапаны с ручным управлением, кнопки или электрические переключатели, необходимые для ввода в эксплуатацию и нормальной работы аппарата, должны быть поставлены в комплекте с аппаратом.
5.2.5.2 Ручные клапаны
Ручные клапаны должны соответствовать требованиям
ГОСТ 32032. Ручные клапаны должны поворачиваться на 90°, если они не встроены в устройство контроля пламени.
Клапаны с ручным управлением должны быть сконструированы или расположены таким образом, чтобы предотвратить случайное срабатывание и в то же время позволить легко управлять клапанами, когда это необходимо. Они должны быть сконструированы таким образом, чтобы в рабочем состоянии можно было легко различить положение "включено" и "выключено".
Если на входе в установку имеется ручной клапан, он должен работать при давлении, в 1,5 раза превышающем максимальное давление подачи, и должен быть легко доступен.
Устройства управления с ручным управлением, которые используются только для включения и выключения, должны быть снабжены фиксированным упором во включенном и выключенном положении.
Регуляторы давления должны соответствовать требованиям
ГОСТ Р 54824.
Если не установлен регулятор нулевого давления в аппаратах, использующих газы первого или второго семейства, должны иметь подачу газа к горелке и ко всем запальным горелкам от одного встроенного регулятора давления газа, расположенного перед автоматическими запорными клапанами, если только он не является частью многофункционального регулирующего устройства.
Регулятор давления газа можно использовать опционально для аппарата, работающего на газе третьего семейства.
Конструкция и доступность регулятора давления должны быть такими, чтобы его можно было легко отрегулировать для работы с другим газом или вывести из эксплуатации. В то же время необходимо принять меры предосторожности, чтобы затруднить несанкционированное вмешательство в настройку.
У аппаратов категорий I2E+, II2E+3+ и II2E+3P регулятор давления газа должен работать в диапазоне двух нормальных давлений пары давлений второго семейства от 2,04 до 2,55 кПа (20 до 25 мбар) и не должен настраиваться по выбору. Для аппаратов категорий II2E+3+ и II2E+3P должна быть предусмотрена возможность частичного отключения в случае, когда аппараты работают на газах второго семейства, так чтобы регулятор не действовал в диапазоне двух нормальных давлений пары давлений второго семейства от 2,04 до 2,55 кПа (20 до 25 мбар).
5.2.7 Многофункциональные органы управления
Многофункциональные органы управления должны соответствовать
ГОСТ EN 126.
5.2.8 Автоматические отсечные клапаны
Автоматические отсечные клапаны должны соответствовать
ГОСТ 32028.
Подача газа на основную горелку должна управляться двумя автоматическими отсечными клапанами, соединенными в газовом контуре последовательно: один клапан класса A или B, а другой классов A, B, C или J. Если используют клапан класса J, следует установить фильтр грубой очистки так, чтобы через фильтр не проходил концевой калибр на 0,2 мм. Этот фильтр грубой очистки следует устанавливать перед клапаном класса J.
Подача пускового газа должна управляться одним автоматическим отсечным клапаном класса A или B.
Автоматический отсечной клапан может стоять в линии подачи газа перед основной горелкой, если он принадлежит к классу B, то подача пускового газа может осуществляться сразу после этого клапана. В случае, когда подача пускового газа управляется одним автоматическим отсечным клапаном, потребляемая тепловая мощность на момент зажигания не должна превышать 1 кВт или 5% от потребляемой тепловой мощности основной горелки, в зависимости от того, что меньше.
Примечание - Изображения, представленные на
рисунке 4, даны в качестве примера. Допустимы любые другие исполнения, если они обеспечивают, по крайней мере, тот же уровень безопасности.
a) Аппарат с запальной горелкой с тепловой мощностью
не более 1 кВт или 5% от тепловой мощности основной горелки
b) Аппарат с непосредственным розжигом основной горелки
BA - запальная горелка; BP - основная горелка
Рисунок 4 - Конфигурация автоматических запорных клапанов
5.2.9 Газовые фильтры
На входе каждой горелки, оснащенной автоматическим(и) отсечным(и) клапаном(ами), должен монтироваться сетчатый фильтр, чтобы предотвратить попадание посторонних предметов.
Примечание - Сетчатый фильтр может быть встроен в автоматический запорный клапан выше по потоку.
Максимальный размер ячейки газового фильтра не должен превышать 1,5 мм, а ячейка фильтра не должна пропускать калиброванный штифт размером 1 мм.
В газовых контурах, оборудованных двумя или более автоматическими отсечными клапанами, следует установить только один газовый фильтр, при условии, что он обеспечивает достаточную защиту для всех клапанов.
Для клапанов с функцией самоочистки и клапанов размером до 1/2" (или DN15) фильтр можно не использовать.
Если перед автоматическим отсечным клапаном установлен регулятор давления газа, газовый фильтр должен быть установлен перед регулятором давления газа.
5.2.10 Термостаты
Встроенные механические термостаты должны соответствовать требованиям
ГОСТ 32029.
5.2.11 Защита от нехватки воздуха
5.2.11.1 Общие сведения
Аппараты должны быть оснащены устройствами управления воздухом. Это не относится к аппаратам с устройством контроля соотношения газ/воздух, компенсирующим недостаток воздуха для горения другими способами.
5.2.11.2 Блоки горелок
Каждая горелка должна быть оснащена подходящим устройством для контроля достаточного потока воздуха во время предварительной продувки, зажигания и работы аппаратов (см.
6.2.6.2 и
6.2.6.3).
Датчик должен быть установлен на каждом узле горелки и не должен зависеть от измерения статического давления.
Устройство контроля воздуха должно быть проверено в состоянии безвоздушного потока перед запуском. В случае неудачи проверки устройства при отсутствии потока воздуха, запуск не допускается.
Прекращение подачи воздуха в любое время во время предварительной продувки, розжига и работы горелки должно вызвать долговременную или кратковременную блокировку или аварийное отключение так, чтобы повторный пуск мог происходить только после автоматического перезапуска цикла (см.
5.2.12.2).
Косвенные процедуры управления воздушным потоком не допускаются.
5.2.11.3 Коллектор для сбора
Для систем типа F с несколькими горелками коллектор должен быть оборудован подходящими средствами контроля достаточного расхода воздуха во время предварительной продувки, розжига и работы системы (см.
6.2.6.2 и
6.2.8).
Датчик измерительного устройства должен быть установлен в определенной точке коллектора и не должен зависеть от измерений статического давления.
Устройство контроля воздуха должно быть проверено при отсутствии потока воздуха перед запуском. В случае неудачи проверки устройства при отсутствии потока воздуха запуск не допускается.
Сбой потока воздуха в коллекторе в любой момент во время продувки, розжига и работы горелки должен привести к долговременной блокировке системы.
Косвенные процедуры управления потоком воздуха не допускаются.
5.2.12 Автоматические системы управления
5.2.12.1 Последовательность работы системы
Для систем типа F с несколькими горелками должна произойти следующая последовательность событий, чтобы система начала работать:
a) Уровень 0: Полностью обесточенная система;
b) Этап 1:
i) Потребность в тепле;
ii) Все датчики контроля потока воздуха испытаны при отсутствии потока воздуха;
iii) Включен вентилятор коллектора;
iv) Проверка достаточного потока воздуха в коллекторе;
c) Этап 2:
i) При наличии сигнала на включение блока горелки проверяется, включены ли датчики контроля потока воздуха и горелка находится в состоянии "недостаточно воздуха";
ii) Включение вентилятора коллектора;
iii) Необходимо предварительно продуть и убедиться, что через коллектор проходит достаточный поток воздуха;
После сигнала на отключение горелки, при нормальной работе блока горелки, между событиями
5.2.12.1 c) iv) и
c) v) блок горелки должен вернуться в состояние готовности или выше на уровень "0", если это необходимо.
5.2.12.2 Топочный автомат
5.2.12.2.1 Общие сведения
Каждый модуль горелки должен быть оборудован системой автоматического контроля горелки, соответствующей
ГОСТ EN 298.
Для систем типа E с несколькими горелками топочный автомат должен быть спроектирован таким образом, чтобы все горелки работали одновременно. В случае отключения одной горелки все другие горелки должны быть отключены. Контроль участка запрещен.
5.2.12.2.2 Аппараты с ручным управлением
Неправильная или непоследовательная установка устройств ручного управления (например, кнопок и выключателей) не должна влиять на безопасную работу автоматической системы контроля горелки.
Аппарат устанавливают, как описано в
6.1.6, и подключают к соответствующему стандартному газу для испытаний (см.
таблицу 3) при номинальной тепловой нагрузке в соответствии с
6.1.3.2.3. Пусковое устройство включают 10 раз вручную, приводят в действие каждые 5 с. Быстрое срабатывание (включение и отключение) выключателя пускового устройства не должно приводить к опасной ситуации.
5.2.12.2.3 Предварительная продувка
Перед каждой попыткой воспламенения или открытием автоматических запорных клапанов необходимо предварительно продуть аппарат или систему. В случае систем типа F необходимо предварительно продуть соответствующий патрубок.
Горелка зажигается в соответствии с техническими инструкциями. Измеряют время между отображением полного расхода воздуха для горения и включением системы зажигания. Продолжительность предварительной продувки должна быть не менее 10 с.
5.2.12.2.4 Детектор пламени
Детектор пламени должен включать в себя средства подачи питания на газовые клапаны и на устройство зажигания, если во время запуска обнаружено пламя или состояние симулирования пламени.
Если в рабочем состоянии происходит сбой пламени, детектор пламени должен перейти в одно из следующих состояний:
a) кратковременная блокировка или
b) долговременная блокировка, или
c) одно из следующих действий, при условии, что такое действие не может привести систему в опасное состояние:
i) защитное отключение с последующим автоматическим перезапуском цикла или
ii) повторное включение.
Если подача газа на основную горелку прекращается во время работы модуля горелки, должно быть измерено время между моментом погасания основной горелки и сигналом на закрытие клапана. Интервал времени с момента, когда система детектора пламени обнаружит пропадание пламени, до отключения автоматических запорных клапанов горелки не должно быть более 2 с.
Несмотря на это требование, если используется система повторного зажигания, это время может быть увеличено, чтобы разрешить попытку повторного зажигания, но не должно превышать первого времени безопасности.
5.2.12.2.5 Образование пламени пускового газа
Пламя пускового газа должно быть образовано либо на основной горелке, либо на отдельной запальной горелке.
Время безопасности для пламени пускового газа должно быть указано в техническом руководстве.
Искра зажигания (или другое средство воспламенения) не должна быть запитана до завершения периода предварительной продувки и должна погаснуть в момент или до окончания первого времени безопасности.
Автоматический запорный клапан пускового газа не должен быть запитан до тех пор, пока не будет установлена искра зажигания (или другое средство воспламенения).
Если пламя пускового газа не обнаружено до окончания первого времени безопасности, происходит кратковременная или долговременная блокировка.
Автоматический запорный клапан основного газа не должен работать для подачи газа к основной горелке до тех пор, пока не обнаружено пламя пускового газа.
Предохранительный запорный клапан на входе в систему подачи газа на основную горелку может быть открыт для пуска газа, если подача пускового газа осуществляется после первого предохранительного запорного клапана магистрального газа.
5.2.12.2.6 Прямой розжиг основной горелки
В техническом руководстве должно быть указано время безопасности для розжига основной горелки.
Искра (или другое средство воспламенения) не должна возникать, пока не истечет время предварительной продувки, и должна погаснуть в момент или до окончания времени безопасности.
Если для воспламенения поступающего газа используют раскаленную поверхность запальника, источник воспламенения должен быть включен до того, как откроются газовые клапаны, для того чтобы была возможность воспламенить поступающий газ. Главные газовые клапаны не должны быть под напряжением до появления искры зажигания (или активации других средств воспламенения). Если основное пламя не обнаружено, к концу времени зажигания основного пламени должна произойти кратковременная или долговременная блокировка.
5.2.12.2.7 Аварийное и управляемое отключение
Детектор пламени и устройство управления подачей воздуха должны закрыть все автоматические запорные клапаны соответствующей горелки. При отключении воздуходувка не должна выключаться до срабатывания автоматических запорных клапанов. Продувку можно сделать опционально.
5.2.12.2.8 Устройства дистанционного управления
В случае, когда аппаратом предусмотрена возможность управлять дистанционно с помощью регуляторов температуры или таймера, должна быть возможность выполнить электрические соединения для этих устройств управления, без вмешательства во внутренние соединения аппарата.
5.2.12.3 Устройства контроля газовоздушной смеси
Устройства управления газовоздушной смесью должны быть спроектированы и изготовлены таким образом, чтобы отказы, предсказуемые при нормальных обстоятельствах, не приводили к изменениям, которые могут снизить безопасность составных устройств управления.
| | ИС МЕГАНОРМ: примечание. Текст дан в соответствии с официальным текстом документа. | |
Если используется пневматическое устройство регулирования соотношения газ/воздух, оно должно соответствовать требованиям соответствуют стандарту
ГОСТ Р 54824.
| | ИС МЕГАНОРМ: примечание. Текст дан в соответствии с официальным текстом документа. | |
Если используется электронное устройство контроля соотношения газ/воздух, оно должно соответствовать требованиям соответствуют стандарту ГОСТ Р 55207.
Трубки управления должны быть изготовлены из металла с подходящими механическими соединениями или из других материалов, по крайней мере, с сопоставимыми свойствами, и в этом случае они считаются защищенными от разрывов, случайного отсоединения и утечек после испытаний на герметичность. Если эти требования выполнены, специальные испытания не требуются.
Трубопроводы управления воздухом и продуктами сгорания должны иметь площадь поперечного сечения не менее 12 мм2 с минимальной внутренней толщиной 1 мм. Если приняты меры предосторожности, исключающие образование конденсата в трубопроводах управления и это продемонстрировано, минимальная площадь поперечного сечения трубопроводов управления воздухом может составлять 5 мм2. Все регулирующие трубы должны быть устроены и закреплены таким образом, чтобы нигде не мог скапливаться застойный конденсат. Кроме того, трубы должны располагаться таким образом, чтобы не допустить образования складок, протечек и разрывов. Если используется несколько контрольных пробирок, должно быть очевидно правильное расположение порта для каждой пробирки. Если используют несколько трубопроводов управления, должно быть понятным соответствующее расположение точки подсоединения для каждой трубки.
Устройства контроля соотношения газ/воздух должны быть отрегулированы при изготовлении аппарата, и должны быть приняты соответствующие меры предосторожности для предотвращения других регулировок. Если допускаются регулировки на месте монтажа, соответствующие инструкции должны быть включены в руководство по установке (см.
10.2.2). В частности, должны быть указаны порядок регулировки, значения регулировки, требуемое оборудование и требуемая точность этого оборудования. Необходимо объяснить влияние неточной настройки.
Примечания
1 Следующие примеры считаются соответствующими дополнительными мерами предосторожности:
a) физическое удаление установочных винтов (или другие методы предотвращения работы);
b) физическое предотвращение доступа к установочным винтам (например, заполнение портов доступа);
c) добавление предупреждающего знака с соответствующим текстом на газовый клапан и/или в непосредственной близости от регулировочных винтов. Этот знак должен быть хорошо виден любому настройщику газового клапана во время доступа к установочным винтам.
2 Устройства управления газовоздушной смесью обычно имеют две настройки (регулировка дроссельной заслонки и нулевой точки), требования этого раздела относятся к обеим настройкам.
Если инструкция по установке аппарата допускает регулировку устройства регулирования соотношения газ/воздух, в инструкции должна быть указана процедура регулировки. Если газовый клапан блока управления соотношением газ/воздух требует регулировки на месте, необходимо предусмотреть возможность указания того, что настройки клапана были изменены.
Примечание - Цветная точка на регуляторе является примером подходящего положения.
Инструкции по установке аппарата должны включать инструкции по проверке настроек, если во время установки или ремонта имеется указание на то, что устройство регулирования соотношения газ/воздух было отрегулировано. В руководстве по установке устройства должно быть указано, какие действия следует предпринять в случае неверных настроек.
Если инструкция по установке устройства допускает регулировку устройства регулирования соотношения газ/воздух, необходимо описать процедуру регулировки.
5.3.1 Общие сведения
Установка аппарата в соответствии с инструкциями производителя позволяет зажигать аппарат из любого легко доступного положения с помощью электрического или другого удобного устройства зажигания, встроенного в аппарат.
Горелки зажигания, устройства зажигания должны быть спроектированы и расположены таким образом, чтобы они были защищены от ухудшения горения или угасания тяги, продуктов сгорания, перегрева, конденсации, коррозии и других воздействий на материалы.
Горелки зажигания, устройства зажигания и их монтажные крепления должны быть спроектированы так, чтобы они были зафиксированы по отношению к каждому компоненту и горелке, с которыми они должны работать и не смещались в процессе работы.
5.3.2 Устройство зажигания для основной горелки
Основная горелка должна быть оборудована запальной горелкой или другим устройством для прямого зажигания.
Площадь поперечного сечения выходных отверстий горелки не должна регулироваться.
Горелка должна располагаться так, чтобы исключить их смещение от центральной оси. Должна отсутствовать возможность демонтажа узлов горелок без инструментов.
5.5 Точки измерения давления
5.5.1 Точка измерения давления газа
Аппарат должен быть оборудован как минимум двумя диагностическими точками замера давления. Одна должна быть предусмотрена перед первым контрольно-предохранительным устройством, а другая после последнего регулятора расхода газа и в тщательно выбранном положении, чтобы обеспечить измерения.
Для аппаратов, работающих только на газе третьего семейства, не оборудованных регулятором, может быть установлена только одна диагностическая точка давления.
Диагностические точки измерения давления должны иметь наружный диаметр 9-0,5 мм и полезную длину не менее 10 мм, чтобы обеспечить установку трубки. Минимальный диаметр отверстия должен быть не более 1 мм.
5.5.2 Точка измерения атмосферного давления
Кроме того, в каждом сегменте трубопровода должна быть установлена точка измерения давления воздуха для измерения давления всасывания (см.
B.2).
Каждая форсунка и съемный дроссель должны иметь нестираемую маркировку. Должна быть предусмотрена возможность замены форсунок и дросселей без необходимости демонтировать трубку в сборе из ее монтажного положения. Форсунки должны демонтироваться только с помощью инструментов.
5.7 Теплообменник дымовых газов
На выходе дымовых газов может быть установлен теплообменник дымовых газов. Теплообменник должен располагаться непосредственно в конце системы трубчатого или непрерывного трубчатого нагревателя или в конце системы отвода собранных дымовых газов (между выходом дымовых газов и дымовой трубой). Теплообменник должен иметь два отдельных массовых потока (среды) с дымовым газом в качестве первичной экзотермической среды. Обмениваемое тепло передается вторичной среде, которая с помощью вспомогательной энергии направляется к радиатору.
Теплопередача может быть прямой или полупрямой и организована по следующим принципам: параллельный, обратный поток, перекрестный или крестообразный поток.
Требования к теплообменникам дымовых газов - см.
приложение Q.
6 Эксплуатационные требования
6.1.1 Характеристики испытательных газов (эталонные и предельные газы)
Аппараты спроектированы для использования газов с различными характеристиками. Одна из целей настоящего стандарта заключается в том, чтобы проконтролировать, является ли удовлетворительной производительность аппарата при каждой категории или группе газов и при давлениях, для которых он сконструирован (при необходимости - с использованием устройств регулировки).
Приведенные в настоящем стандарте испытательные газы, испытательные давления и категории газов соответствуют
ГОСТ 5542.
Характеристики стандартных испытательных газов и предельных газов приведены в
таблицах 4 и
5. Значения в
таблице 4 по
ГОСТ 31369, при температуре 15 °C.
6.1.2 Условия для подготовки испытательных газов
Состав газов, используемых для испытаний, должен максимально соответствовать параметрам, указанным в
таблице 4. Для подготовки испытательных газов:
a) показатель Воббе для использованного газа должен находиться в пределах +/- 2% от значения, указанного в
таблице 4 для соответствующего испытательного газа (этот допуск включает ошибку, обусловленную измерительной аппаратурой);
b) ингредиенты, использованные для приготовления смесей, должны иметь как минимум чистоту, указанную в
таблице 3.
Таблица 3
Состав газов, используемых для испытаний
Газ | Чистота, % |
Азот (N2) | 99 |
Водород (H2) | 99 |
Метан (CH4) | |
Пропилен (C3H6) | |
Пропан (C3H8) | |
| |
<a> При общей концентрации H 2, CO и C 2 ниже 1% и общей концентрации N 2 и CO 2 менее 2%. <b> Можно использовать любую смесь изобутана. |
Таблица 4
Характеристики испытательных газов
<a> (газ сухой
при температуре 15 °C и давлении 101,325 кПа)
Семейство газа | Группа газов | Испытательные газы | Обозначение газа | Состав, % от объема | Число Воббе низшее Wi | Теплота сгорания низшая Hi | Число Воббе высшее Ws | Теплота сгорания высшая Hs | Относительная плотность газа d |
МДж/м3 |
1-е | a | Эталонный газ с неполным сгоранием, отрывом пламени и предельный газ с сажеобразованием | G110 | CH4 = 26; H2 = 50; N2 = 24 | 21,76 | 13,95 | 24,75 | 15,87 | 0,411 |
Предельный газ для проскока пламени | G112 | CH4 = 17; H2 = 59; N2 = 24 | 19,48 | 11,81 | 22,36 | 13,56 | 0,367 |
2-е | H | Эталонный газ | G20 | CH4 = 100 | 45,67 | 34,02 | 50,72 | 37,78 | 0,555 |
Предельный газ для неполного сгорания с сажеобразованием | G21 | CH4 = 87; C3H8 = 13 | 49,60 | 41,01 | 54,76 | 45,28 | 0,684 |
Предельный газ для проскока пламени | G222 | CH4 = 77; H2 = 23 | 42,87 | 28,53 | 47,87 | 31,86 | 0,443 |
Предельный газ для отрыва пламени | G23 | CH4 = 92,5; N2 = 7,5 | 41,11 | 31,46 | 45,66 | 34,95 | 0,586 |
L | Эталонный газ и предельный газ для проскока пламени | G25 | CH4 = 86; N2 = 14 | 37,38 | 29,25 | 41,52 | 32,49 | 0,612 |
Предельный газ для неполного сгорания с сажеобразованием | G26 | CH4 = 80; C3H8 = 7; N2 = 13 | 40,52 | 33,36 | 44,83 | 36,91 | 0,678 |
Предельный газ для отрыва пламени | G27 | CH4 = 82; N2 = 18 | 35,17 | 27,89 | 39,06 | 30,98 | 0,629 |
E | Эталонный газ | G20 | CH4 = 100 | 45,67 | 34,02 | 50,72 | 37,78 | 0,555 |
Предельный газ для неполного сгорания с сажеобразованием | G21 | CH4 = 87; C3H8 =13 | 49,60 | 41,01 | 54,76 | 45,28 | 0,684 |
Предельный газ для проскока пламени | G222 | CH4 = 77; H2 = 23 | 42,87 | 28,53 | 47,87 | 31,86 | 0,443 |
Предельный газ для отрыва пламени | G231 | CH4 = 85; N2 = 15 | 36,82 | 28,91 | 40,90 | 32,11 | 0,617 |
| 3B/P и 3B | Эталонный и предельный газы с неполным сгоранием и сажеобразованием | G30 | nC4H10 = 50; iC4H10 = 50 | 80,58 | 116,09 | 87,33 | 125,81 | 2,075 |
Предельный газ для отрыва пламени | G31 | C3H8 = 100 | 70,69 | 88,00 | 76,84 | 95,65 | 1,550 |
Предельный газ для проскока пламени | G32 | C3H6 = 100 | 68,14 | 82,78 | 72,86 | 88,52 | 1,476 |
3P | Эталонный и предельный газы для неполного сгорания <b> и отрыва пламени | G31 | C3H8 = 100 | 70,69 | 88,00 | 76,84 | 95,65 | 1,550 |
Предельный газ для проскока пламени <b> | G32 | C3H6 = 100 | 68,14 | 82,78 | 72,86 | 88,52 | 1,476 |
<b> Могут устанавливаться требования к появлению желтых верхушек для предельного газа в соответствующих стандартах на аппараты. |
Таблица 5
Теплотворная способность испытательных газов третьего ряда
Обозначение испытательного газа | Теплота сгорания низшая Hi, МДж/кг | Теплота сгорания высшая Hs, МДж/кг |
G30 | 45,65 | 49,47 |
G31 | 46,34 | 50,37 |
G32 | 45,77 | 48,94 |
Данные условия не являются обязательными для каждого из компонентов в конечной смеси испытательного газа, которая была бы приготовлена из компонентов, удовлетворяющих условиям
таблицы 3. Следовательно, для приготовления смеси можно начать с газа, уже содержащего в подходящих пропорциях несколько компонентов окончательной смеси.
Для газов второго семейства:
c) для испытаний, проведенных на эталонных газах G20 и G25, можно применять газ, принадлежащий, соответственно, группе H, или группе L, или группе E, даже если его состав не удовлетворяет указанным выше условиям при условии, что после добавления пропана или азота (в зависимости от обстоятельств), окончательная смесь имеет показатель Воббе в пределах +/- 2% значения, указанного в
таблице 4 для соответствующего эталонного газа;
d) для приготовления предельных газов в качестве основного газа вместо метана может использоваться другой газ:
1) для предельных газов G21, G22 и G23 может использоваться природный газ группы H;
2) для предельных газов G27 и G231 может использоваться природный газ группы H либо L, либо E;
3) для предельных газов G26 может использоваться предельный газ группы L.
Во всех случаях окончательная смесь, полученная путем добавления пропана или азота, должна иметь показатель Воббе в пределах +/- 2% от значения, приведенного в
таблице 4 для соответствующего предельного газа, а содержание водорода в окончательной смеси должно соответствовать
таблице 4.
6.1.3 Практическое применение испытательных газов
6.1.3.1 Выбор испытательных газов
Для испытаний, описанных в других разделах, необходимо упростить процедуру испытания, разрешается заменить эталонный газ фактически поставляемым газом из коммунальной системы газоснабжения. В этом случае коммунальный газ, используемый для выполнения определенных испытаний, должен принадлежать к семейству газов или группе газов, эталонного испытательного газа, а его показатель Воббе в пределах +/- 5% от показателя Воббе стандартного эталонного газа.
Если испытания должны проводиться только с одним из стандартных эталонных газов, испытательный газ должен быть выбран из G20, G25, G30 или G31 в соответствии с категорией аппарата.
6.1.3.2 Условия давления подачи и настройки модуля горелки
6.1.3.2.1 Первоначальная настройка горелки
Перед проведением всех испытаний модуль горелки должен быть укомплектован необходимым оборудованием (форсунками), соответствующим семейству или группе газов, к которым принадлежит указанный испытательный газ. Любое устройство настройки расхода газа настраивают в соответствии с инструкциями производителя, используя соответствующие эталонные газы (см.
6.1.5.1) и соответствующие нормальные давления, указанные в
6.1.4. Начальная настройка модуля горелки производится с учетом ограничений, указанных в
5.1.1.
6.1.3.2.2 Давление подачи
Кроме случаев, когда требуется настройка давления подачи (как указано в
6.1.3.2.3 и
6.1.3.2.4), номинальные, максимальные и минимальные давления подачи, используемые для испытания, должны соответствовать
6.1.4.
Если не указано иное, первоначальную настройку модуля горелки изменять нельзя.
6.1.3.2.3 Настройка потребляемой тепловой мощности
Для испытаний, требующих настройку горелки в соответствии с номинальной потребляемой тепловой мощностью и/или любой другой потребляемой тепловой мощностью, указанной производителем, следует обеспечить, чтобы давление перед форсункой(ами) было такое, чтобы полученная потребляемая тепловая мощность находилась в пределах +/- 2% от мощности, указанной (путем замены заданного регулятора или регулятора аппарата, если он регулируемый, либо давления подачи аппарата).
Указанная потребляемая тепловая мощность должна определяться в соответствии с
6.2.2 и с аппаратом, на который подаются соответствующие эталонные газы.
6.1.3.2.4 Скорректированное давление
В случае когда для получения номинальной потребляемой тепловой мощности в пределах +/- 2% необходимо использовать давление на входе
p, отличное от нормального давления
pn, то испытания, которые обычно проводят при минимальном (
pmin) или максимальном испытательном давлении (
pmax), необходимо провести при скорректированном испытательном давлении

и

.
Скорректированные испытательные давления рассчитывают по формуле

(1)
где pn - нормальное испытательное давление;

- скорректированное минимальное испытательное давление;
pmin - минимальное испытательное давление;
pmax - максимальное испытательное давление;
p - давление на входе аппарата;

- скорректированное максимальное испытательное давление.
6.1.4 Испытательное давление
Значения испытательного давления (т.е. требующиеся на входном газовом патрубке аппарата) указаны в
таблицах 6 и
7.
Таблица 6
Испытательное давление без пары давлений
<a>
Категория аппарата с индексом | Испытательный газ | pn, кПа (мбар) | pmin, кПа (мбар) | pmax, кПа (мбар) |
Первое семейство: 1a | G110, G112 | 0,8 (8) | 0,6 (6) | 1,5 (15) |
Второе семейство: 2H | G20, G21 G222, G23 | 2 (20) | 1,7 (17) | 2,5 (25) |
Второе семейство: 2L | G25, G26, G27 | 2,5 (25) | 2 (20) | 3 (30) |
Второе семейство: 2E | G20, G21 G222, G231 | 2 (20) | 1,7 (17) | 2,5 (25) |
Третье семейство: 3B/P | G30, G31, G32 | | 2,5 (25) | 3,5 (35) |
G30, G31, G32 | 5 (50) | 4,25 (42,5) | 57,5 |
Третье семейство: 3P | G31, G32 | 3,7 (37) | 2,5 (25) | 4,5 (45) |
G31, G32 | 5 (50) | 4,25 (42,5) | 5,75 (57,5) |
| G30, G31, G32 | | 2(20) | 3,5 (35) |
<a> По испытательным давлениям, соответствующим газам, распределяемым в национальном или местном масштабе в соответствии с условиями страны, в которой должен быть установлен прибор. <b> Аппараты этой категории могут применяться без регулировки при указанном давлении подачи 2,8 - 3 кПа (28 - 30 мбар). <c> Эти испытания с газами G31 и G32 проводят только при нормальном давлении pn = 2,9 кПа (29 мбар), так как эти испытательные газы менее вредные, чем любой газ из группы B. Это условие распространяется только на нормальные изменения в подаче газа. |
Таблица 7
Испытательное давление при наличии пары давлений
Категория аппарата с индексом | Испытательный газ | pn, кПа (мбар) | pmin, кПа (мбар) | pmax, кПа (мбар) |
Второе семейство: 2E+ | G20, G21, G222 | 2 (20) | 1,7 (17) | 2,5 (25) |
G231 | | 1,7 (17) | 3 (30) |
Третье семейство: 3+ (пара 28 - 30/37) | G30 | | 2 (20) | 3,5 (35) |
G30, G32 | 3,7 (37) | 2,5 (25) | 4,5 (45) |
Третье семейство: 3+ (пара 50/67) | G30 | 5 (50) | 4,25 (42,5) | 5,75 (57,5) |
G31, G32 | 6,7 (67) | 5 (50) | 8 (80) |
Третье семейство: 3+ (пара 112/148) | G30 | 11,2 (112) | 6 (60) | 14 (140) |
G31, G32 | 14,8 (148) | 10 (100) | 18 (180) |
<a> Это давление соответствует применению газа с низким показателем Воббе, однако испытания при этом давлении не проводятся. <b> Аппараты этой категории могут применяться без регулировки при указанном давлении подачи 2,8 - 3 кПа (28 - 30 мбар). |
Эти давления и соответствующие форсунки применяют в соответствии с национальными условиями страны, в которой должен быть установлен аппарат.
В определенных обстоятельствах производитель аппарата вправе указать нормальное давление на входе аппарата, отличное от давления, которое указано в
таблицах 6 и
7. В этих случаях альтернативное давление и соответствующие форсунки используются для испытаний аппарата, а значения
pmin и
pmax определены в соответствии с
6.1.3.2.
6.1.5 Испытательные процедуры
6.1.5.1 Испытания, требующие применения эталонного газа
Испытания, указанные в
6.2.2,
6.2.4 и
6.2.7, следует проводить с каждым из эталонных газов, соответствующих стране, в которой должен быть установлен аппарат.
Другие испытания проводят только с одним из эталонных газов категории аппаратов (см.
6.1.1) при одном из нормальных испытательных давлений, приведенных в
6.1.4, для выбранного эталонного газа (далее - эталонный газ).
Испытательное давление должно соответствовать одному из давлений, указанных производителем, и аппарат должен быть оборудован соответствующими форсунками.
6.1.5.2 Испытания, требующие применения предельных газов
Данные испытания следует проводить на предельных газах, соответствующих категории аппарата (см.
таблицу 4), а также с форсунками и настройками, соответствующими эталонному газу группы или семейства, к которой принадлежит каждый предельный газ.
6.1.6 Общие условия испытаний
6.1.6.1 Помещение для испытаний
Аппарат устанавливают в хорошо проветриваемом помещении без сквозняков с температурой воздуха (20 +/- 5) °C. Допускается больший диапазон температур, если это не влияет на результаты испытаний.
Помещение для испытаний считается хорошо проветриваемым, если концентрация CO2 в помещении для испытаний менее 1000 ppm. Помещение считается свободным от сквозняков, если скорость воздуха менее 0,2 м/с. Помещение для испытаний должно быть защищено от прямых солнечных лучей.
6.1.6.2 Удаление продуктов сгорания
6.1.6.2.1 Общие сведения
В зависимости от типа аппарата каждое ветрозащитное устройство и/или уплотнение должно быть поставлено для испытаний вместе с аппаратом.
6.1.6.2.2 Аппараты типов A
2 и A
3
Если существует опция, при которой аппарат оборудуется дымоходом, она также должна быть испытана согласно надлежащим компоновкам дымоходов, указанных для аппарата типа B.
Для проверки теплового КПД аппарата типа A необходимо установить вертикальный вытяжной канал длиной 1 м с таким же номинальным диаметром, что и выпускной патрубок.
6.1.6.2.3 Аппараты типов B12, B13 и B42, B43:
a) аппараты с вертикальным выводом дымохода должны испытываться:
1) с вертикальным вспомогательным дымоходом длиной 1 м с таким же номинальным диаметром, что и у дымоходов аппарата типов B12 и B13, либо
2) в случае с аппаратами типов B42 и B43 с вертикальным вспомогательным дымоходом, поставленным или указанным производителем аппарата, с минимальным эквивалентным сопротивлением, указанным в инструкциях производителя;
b) аппараты с горизонтальным выводом дымохода должны оборудоваться согласно инструкциям производителя; должны включать максимальную длину горизонтальной секции и способ присоединения к вертикальному дымоходу. После этого должен быть установлен вертикальный дымоход согласно настоящему подпункту.
Вертикальный дымоход должен быть изготовлен из листового металла с толщиной листов не менее 1 мм. Если в методе испытаний не указано иное, дымоход должен быть неизолированным.
6.1.6.2.4 Аппараты типов B22, B23 и B52, B53
Аппараты, рассчитанные на подключение к дымоходу с стенным выводом, следует испытывать с дымоходом того же диаметра, что и вывод дымохода, и с максимальным эквивалентным сопротивлением, указанным производителем.
Аппараты, рассчитанные на подключение к вертикальному дымоходу, должны испытываться следующим образом:
a) аппараты с вертикальным выводом дымохода должны испытываться:
1) с вертикальным вспомогательным дымоходом длиной 1 м с таким же номинальным диаметром, что и у дымоходов аппарата типов B22 и B23, либо
2) в случае с аппаратами типов B52 и B53 с вертикальным вспомогательным дымоходом, поставленным или указанным производителем аппарата, с минимальным эквивалентным сопротивлением, указанным в инструкциях производителя;
b) аппараты с горизонтальным выводом дымохода должны оборудоваться согласно инструкциям производителя; должны включать максимальную длину горизонтальной секции и способ присоединения к вертикальному дымоходу. После этого должен быть установлен вертикальный дымоход согласно настоящему подпункту. Затем необходимо установить вертикальный отвод дымовых газов в соответствии с
6.1.6.2.3 a).
Вертикальный отвод дымовых газов должен быть изготовлен из листового металла толщиной менее 1 мм. Если в методе испытаний не указано иное, выход дымовых газов не должен быть изолирован.
6.1.6.3 Испытательная установка
Аппарат должен быть установлен в соответствии с инструкцией по монтажу, уделяя особое внимание зазорам, которые должны быть выдержаны вокруг аппарата.
Для удобства проведения испытаний аппарат может быть установлен на высоте выше пола, отличной от указанной в инструкции по монтажу, если это не повлияет на эксплуатационные характеристики системы.
В системах с несколькими горелками одна горелка в сборе должна быть установлена на подходящей секции устанавливаемой излучающей трубы, ее материал и размеры указаны в руководстве по эксплуатации на систему, и должна быть оснащена дросселем для регулировки давления всасывания в пределах предельных значений, указанных в технических инструкциях.
Узел подключают к вентилятору, свойства которого при использовании в испытательном оборудовании с характеристиками, эквивалентными указанным в техническом руководстве на систему.
При необходимости допускается установка большего количества труб с дросселем для уменьшения влияния других частей системы на испытываемый блок с одной горелкой.
6.1.6.4 Влияние термостатов
Следует принять меры предосторожности, чтобы термостаты или элементы управления не изменяли и не ухудшали расход газа, если только такая операция не требуется для испытаний.
6.1.6.5 Электропитание
Аппарат подключают к электропитанию при номинальном напряжении, кроме случаев, когда указано другое условие испытаний.
6.1.6.6 Аппараты с установленным диапазоном
Для аппаратов, рассчитанных на установленный диапазон, все испытания проводят при максимальной и минимальной потребляемой тепловой мощности.
6.1.6.7 Двухступенчатые, многоступенчатые и модулирующие устройства
Для аппаратов, предназначенных для работы с двухступенчатой, многоступенчатой или модулирующей тепловой мощностью, все испытания должны проводиться при максимальной и минимальной тепловой мощности, если не указано иное.
6.2 Эксплуатационная безопасность
6.2.1 Герметичность
6.2.1.1 Герметичность газового контура
Газовый контур должен быть герметичным. Контур считается герметичным, если скорость утечки воздуха ниже следующего условия испытаний и независимо от количества компонентов, установленных последовательно или параллельно на модуле горелок не более 100 см3/ч.
Для горелочных устройств, использующих только газы первого и/или второго ряда, испытания проводят при давлении воздуха 5,1 кПа на присоединении аппарата; впускной клапан необходимо испытывать давлением воздуха 15,3 кПа.
Для горелочных устройств, использующих газ третьего семейства, все испытания проводят при давлении воздуха 15,3 кПа. Однако, если модуль горелки аппарата рассчитан на работу с газами третьего семейства на паре давлений 11,4/15,1 кПа, испытания необходимо проводить при давлении 22,4 кПа. Каждый регулятор может быть заблокирован в максимально открытом положении для предотвращения повреждения.
Проверяют соответствие, когда:
a) каждый клапан в основной линии подачи газа испытан по очереди на герметичность в закрытом положении при всех остальных клапанах в открытом состоянии;
b) все газовые клапаны открыты, а форсунки для запальных горелок и основной горелки загерметизированы.
Если газовый выход запальной горелки невозможно загерметизировать, испытание проводят при заблокированной линии подаче газа на запальную горелку, в удобном месте. В этом случае также проводят дополнительное испытание с мыльным раствором, чтобы удостовериться в отсутствии утечки из запальной горелки, когда она работает при нормальном рабочем давлении.
Для определения величины утечки используется объемный метод, погрешность которого равна 0,01 дм3/ч.
Данные испытания проводят в первую очередь при поставке аппарата и повторно после завершения всех испытаний, указанных в настоящем стандарте, после снятия и установки пять раз подряд узла (который согласно инструкциям производителя можно снимать) в газовом контуре с газонепроницаемым соединением.
6.2.1.2 Герметичность контура сгорания и правильное удаление продуктов сгорания
6.2.1.2.1 Общие сведения
6.2.1.2.2 Правильный отвод продуктов сгорания (аппараты типов B
1, B
2, B
4, B
5)
Аппарат устанавливают по
6.1.6 и подсоединяют к дымоходу по
6.1.6.2.2. Данное испытание проводят на одном из эталонных газов для категории, соответствующей номинальной потребляемой тепловой мощности.
Возможность утечки определяют пробоотборником, подключенным к анализатору CO2. Используемый аппарат должен иметь чувствительность порядка 0,01% CO2.
Повышение уровня CO2 выше содержания в окружающем воздухе более чем на 0,05% должно считаться неудовлетворительным.
6.2.1.2.3 Герметичность контура сгорания (агрегаты типов B
22, B
52)
Испытание должно быть выполнено с аппаратом при температуре окружающей среды и максимальном эквивалентном сопротивлении, удаление продуктов сгорания должно быть организовано в соответствии с информацией в руководстве по эксплуатации.
В случае темных обогревателей с излучающей трубой выход продуктов сгорания аппарата и вход воздуха должны быть закрыты. Перекрывают подачу газа на все запальные горелки и на основную горелку. Подают воздух в аппарат с давлением 0,05 кПа и измеряют расход воздуха, когда давление в радиационной трубе будет устойчивым при нормальном рабочем давлении (когда нормальное рабочее давление равно статическому давлению, измеренному на горелке).
Скорость утечек воздуха на любом участке цикла горения, в том числе на его POCED, за вентилятором не должна быть более 0,5 м3/ч на кВт номинальной тепловой мощности агрегата.
В системах с несколькими горелками участок трубы должен быть изолирован от коллектора, выпускное отверстие и все впускные отверстия для воздуха в сегменте трубки должны быть закрыты. Участок трубы должен быть подключен к источнику воздуха, а воздух - подведен в сегмент трубы. Расход воздуха регистрируют, когда давление в участке трубы превышает нормальное рабочее давление в два раза или 0,05 кПа (в зависимости от того, что больше).
Нормальное рабочее давление на участке трубы должно быть определено путем измерения статического давления на горелке в условиях испытаний, указанных в
6.2.2.2.
Скорость утечек воздуха на любом участке цикла горения, в том числе на его POCED, за вентилятором не должна быть более 0,5 м3/ч на кВт номинальной тепловой мощности агрегата.
6.2.1.2.4 Герметичность контура сгорания (агрегаты типов B
13, B
23, B
43, B
53)
Испытание должно быть выполнено с аппаратом при температуре окружающей среды с подключенным POCED с максимальным эквивалентным сопротивлением, указанным в руководстве по эксплуатации.
Темные излучатели с одной радиационной трубой должны быть подключены к трубе POCED с максимальным эквивалентным сопротивлением, как указано в руководстве по эксплуатации. Аппараты типов B13 и B43 не могут быть присоединены к трубе POCED. Выход дымохода/темного излучателя и все воздухозаборные устройства должны быть закрыты.
Подают воздух в аппарат с давлением 0,05 кПа и измеряют расход воздуха, когда давление в радиационной трубе будет устойчивым при нормальном рабочем давлении (когда нормальное рабочее давление равно статическому давлению, измеренному на горелке).
Для систем с несколькими горелками установка должна быть собрана с максимальным коллектором и трубой POCED с максимальным эквивалентным сопротивлением, как указано в руководстве по эксплуатации. Выход дымохода и все воздухозаборные устройства должны быть закрыты. Вход газа запальной горелки и основной горелки должен быть закрыт.
Подают воздух в аппарат с давлением 0,05 кПа и измеряют расход воздуха, когда давление в радиационной трубе будет устойчивым при нормальном рабочем давлении (когда нормальное рабочее давление равно статическому давлению, измеренному на горелке).
Аппараты типов B
13 и B
43 также должны соответствовать требованиям
6.2.1.2.2.
Величина утечки воздуха на любом участке цикла горения, в том числе на его POCED, за вентилятором не должна быть более 0,5 м3/ч на кВт номинальной тепловой мощности аппарата.
6.2.1.2.5 Герметичность контура сгорания, включая каналы подачи воздуха и удаления продуктов сгорания вместе с уплотнительными швами (аппараты типов C
1, C
3 и C
5)
Собирают аппарат в соответствии с инструкциями производителя. Блокируют вывод дымохода и патрубок забора воздуха. Блокируют подвод газа на все запальные горелки и на основную горелку, при этом:
a) для аппаратов типов C13, C33 и C53 подают воздух в аппарат с испытательным давлением, равным максимальному эквивалентному сопротивлению;
b) для аппаратов типов C12, C32 и C52 подают воздух в аппарат с испытательным давлением, равным испытательному давлению 51 Па.
Величина утечки воздуха, включая каналы подачи воздуха и отвода выхлопных газов, а также все уплотнения, не должна превышать 0,5 м3/ч на кВт номинальной тепловой мощности аппарата.
Аппарат должен быть испытан с использованием каждого из стандартных испытательных газов для категории устройства с нормальным давлением для испытаний данной категории. Для аппаратов с фиксированной тепловой мощностью настройки для этого испытания не должны изменяться. Все регулировочные устройства должны быть установлены в положение, указанное производителем. Полученный объемный расход газа V при определенных условиях (pa, pg, tg, d) должен быть скорректирован, как если бы испытание проводилось в стандартных условиях испытания (1013,25 мбар, 15 °C, сухой газ) и скорректированную тепловую мощность рассчитывают с использованием следующих формул:
- если объемный расход газа Vmeas измерен в м3/ч:

(2)
- если массовый расход газа Mmeas измерен в кг/ч:

(3)
где Qo - скорректированная тепловая мощность (101,325 кПа, 15 °C, сухой газ) по отношению к теплотворной способности (или высшая теплотворная способность), кВт;
Vmeas - измеренный объемный расход газа с учетом режимов влажности, температуры и давления на расходомере, (м3/ч);
Mmeas - измеренный массовый расход газа в килограммах в час (кг/ч);
Hi, где применимо, - высшая теплотворная способность сухого стандартного газа при 15 °C, 101,325 кПа, МДж/м3 или МДж/кг;
Hs, где применимо, - высшая теплотворная способность сухого стандартного газа при 15 °C, 101,325 кПа, МДж/м3 или МДж/кг;
tg - максимальная температура газа, измеренная во время испытания, в градусах Цельсия (°C);
pg - давление подачи газа на манометре, кПа;
d - удельный вес сухого газа по отношению к сухому воздуху;
dr - относительная плотность стандартного поверочного газа к сухому воздуху;
pa - атмосферное давление, кПа, измеренное во время испытания.
Примечание - Приведенный выше расчет скорректированной тепловой нагрузки Qo применим к аппарату, в котором поток газа регулируется постоянным давлением газа, с помощью устройства предварительной настройки или регулятора давления и газового сопла, и где газ выходит в отверстие или объем примерно при атмосферном давлении.
Если используют мокрый счетчик газа либо если используемый газ насыщен водяным паром, значение d заменяют значением плотности влажного газа по отношению к сухому воздуху dh и вычисляют по формуле

(4)
где dh - удельный вес влажного газа по отношению к сухому воздуху;
d - удельный вес сухого газа по отношению к сухому воздуху;
pg - давление подачи газа, кПа;
pa - атмосферное давление, кПа;
pw - давление насыщенного пара испытательного газа, кПа, при температуре tg.
Давление насыщенного пара pw, кПа, при температуре tg рассчитывают по следующей формуле:

(5)
6.2.2.2 Номинальная тепловая мощность
Испытания проводят при нормальном давлении
pn, указанном производителем в соответствии с требованиями
6.1.4.
Каждый блок горелки оборудуют последовательно каждой из предписанных форсунок и настраивают в соответствии с
6.1.3.2.1. Потребляемую тепловую мощность определяют по
6.2.2.1 для каждого эталонного газа.
Измерения проводят на аппарате в тепловом равновесии, где любые регуляторы температуры должны быть отключены.
Определенная тепловая мощность Qo должна находиться в диапазоне +/- 5% от номинальной тепловой мощности.
6.2.2.3 Тепловая мощность пускового газа
Испытания следует проводить при нормальном давлении
pn, указанном производителем в руководстве по эксплуатации, по
6.1.4, используя устройство, обеспечивающее независимую работу пламени пускового газа.
Каждая горелка должна быть последовательно оборудована предписанными форсунками в соответствии с
6.1.3.2.1. Тепловая мощность для отдельных стандартных испытательных газов должна быть рассчитана в соответствии с описанием в
6.2.2.1.
Измерения следует проводить сразу после розжига запальной горелки.
Тепловая нагрузка, определенная при нормальном давлении, должна быть в пределах +/- 5% от указанной изготовителем заданной тепловой мощности пускового газа.
Если сопло имеет диаметр 0,5 мм или меньше, допуск предельного отклонения может быть увеличен до +/- 10%.
6.2.2.4 Эффективность устройства установки диапазона
Для модуля горелок, оснащенных регулятором диапазона, отличным от предустановленного устройства для регулировки потока газа, испытания проводят в соответствии с
6.2.2.2, для двух крайних положений устройства установки диапазона.
Должно быть проверено:
a) достигается ли номинальная тепловая мощность в пределах +/- 5% при настройке регулятора диапазона на максимальный расход и
b) достигается ли минимальная тепловая мощность в пределах +/- 5%, указанная изготовителем, при настройке регулятора диапазона на минимальный расход;
c) для аппаратов, работающих на газах третьего семейства, расход при настройке максимального потока газа может быть достигнут при работе полностью открытого устройства.
6.2.3 Предельные температуры
6.2.3.1 Температура стен и потолка
6.2.3.1.1 Предельная температура
При испытании устройства в условиях, указанных в
6.2.3.1.2 и
6.2.3.1.3, температура стен и потолка не должна превышать температуру окружающей среды более чем на 50 °C.
6.2.3.1.2 Установка (стенд для измерения температур)
Установка состоит из вертикальной деревянной стенки и горизонтальной потолочной панели. Вертикальная стенка имеет высоту не менее 1200 мм и ширину не менее 1200 мм. Потолочная панель имеет 1200 мм в глубину и такую же ширину, как и стенка. Стенка и потолочная панель выполнены из древесины толщиной 25 мм, выкрашенной в матовый черный цвет.
Для аппаратов со стеновым монтажом потолочная панель изготовлена так, что один ее край прилегает к лицевой поверхности стенки [см.
рисунок 5 a)].
a) Компоновка установки с настенным монтажом аппаратов
b) Компоновка для установок с большим горизонтальным зазором
1 - лицевая поверхность стены;
2 - сечение в точке термоэлемента
Рисунок 5 - Приспособление для измерения температур
стенки и потолка
Эта компоновка не подходит для других установок (например с подвесным потолком), если производителем предусмотрен большой горизонтальный зазор. В этом случае, чтобы заполнить щель между потолочной панелью и стенкой, может потребоваться деревянная доска толщиной 25 мм [см.
рисунок 5 b)].
В каждую панель с шагом 100 мм встроены термоэлементы, которые утоплены в панель со стороны, противоположной аппарату, причем места перехода устроены на расстоянии 3 мм от поверхности панели, примыкающей к аппарату.
Аппарат монтируют на установку в соответствии с инструкциями производителя по зазорам (см.
10.2.2.1).
Если аппарат слишком длинный, чтобы обеспечить измерение температур стены и потолка от аппарата в целом, испытания проводят так, чтобы установка примыкала к части(ям) аппарата в области максимального эффекта нагрева.
Если производитель устанавливает большой горизонтальный зазор, потолочная панель должна быть расположена по центру над частями аппарата, обеспечивающими максимальный эффект нагрева. Любой зазор между потолочной панелью и стенкой должен быть закрыт согласно
рисунку 5 b).
В случае, когда инструкции производителя устанавливают альтернативные компоновки установки (например, монтаж на стене, подвеска на потолке и т.п.), повторяют испытания с соответствующим вариантом монтажа аппарата на установку.
На аппарат подают один из эталонных газов, указанных в
6.1.1 согласно категории, причем настройка аппарата проводится согласно
6.1.3.2.1.
Испытания проводят таким образом, чтобы аппарат работал на номинальной потребляемой мощности. Все измерения выполняют после получения температурного равновесия. Ограничитель на блоке горелки должен быть отрегулирован для достижения минимального давления всасывания, указанного в техническом руководстве. Рекомендуется, чтобы для этого испытания аппарат был размещен в помещении с температурой окружающего воздуха, равной примерно 20 °C.
6.2.3.2 Температура компонентов
Максимальная температура компонентов системы не должна превышать максимальную температуру, указанную в конструкторской документации отдельных компонентов.
Температуру компонентов измеряют после достижения температурного равновесия в испытаниях, перечисленных в
6.2.3.1, и после того, как аппарат отключен после окончания испытаний. Температуры регистрируют немедленно после отключения аппарата и регистрации максимальных температур.
Температуру компонентов измеряют прикрепленными термоэлементами. Термоэлементы должны использоваться с пределами точности термоЭДС в соответствии с классом 2 (см.
[3]).
Тем не менее, если электрический компонент сам по себе вызывает подъем температуры (например, автоматические отсечные клапаны), температура компонента не измеряется.
В этом случае термоэлементы размещают так, чтобы обеспечить измерение температуры воздуха вокруг устройства.
Измерения максимальной температуры на компонентах Tcomp,meas, °C, следует считать удовлетворительными, если соблюдены требования согласно формуле
Tcomp,meas <= tcomp,max + trm - 25, (6)
где tcomp,max - максимальная температура, °C, указанная в технической документации;
trm - температура окружающей среды в помещении, °C.
6.2.3.3 Температура двигателя вентилятора
6.2.3.3.1 Общие сведения
Максимальная температура двигателя вентилятора не должна превышать максимальную температуру, указанную в проектной документации двигателя вентилятора.
Для аппаратов с одной горелкой необходимо определить температуру двигателя вентилятора. Аппарат устанавливают в соответствии с
6.1.6 и запитывают через устройство, позволяющее изменять напряжение в диапазоне от 85% (как минимум) до 110% (максимум) от диапазона напряжения, установленного производителем (например, трансформатор переменного напряжения).
Испытание проводят в неподвижном воздухе, аппарат настраивают на номинальную теплопроизводительность на одном из значений, указанных в
6.1.1, при этом используют стандартный эталонный газ, в соответствии с его категорией. Напряжение должно быть на самом неблагоприятном уровне в пределах установленных вышеуказанных ограничений.
Измерения температуры проводят после того, как аппарат достиг теплового равновесия и был отключен обычными элементами управления. Сопротивление обмоток измеряется как можно скорее после отключения и далее через короткие промежутки времени так, чтобы можно было построить кривую сопротивления в зависимости от времени с момента отключения для того, чтобы определить максимальное значение сопротивления.
Повышение температуры обмоток

, °C, вычисляют по формуле

(7)
где R1 - сопротивление в начале испытания, Ом;
R2 - максимальное сопротивление в конце испытания, Ом;
trm1 - температура помещения в начале испытания, °C;
trm2 - температура помещения в конце испытания, °C;
C - температура 234,5 °C для меди.
6.2.3.3.2 Предельные температуры
При испытании аппарата в условиях, указанных в
6.2.3.3.3, наружная температура в любой части POCED, в соответствии с техническими инструкциями при нахождении на расстоянии менее 25 мм от горючих элементов здания, не должна превышать температуру окружающей среды более чем на 50 °C.
Согласно инструкции по установке, POCED должен быть заключен в другую магистраль, рукав или изоляцию при прохождении через горючую стену или потолок. Согласно
6.2.3.3.4 внешняя температура этой линии, рукава или изоляции не должна превышать температуру окружающей среды более чем на 50 °C.
При испытании аппарата, установленного в соответствии с инструкциями производителя, температура наружного воздуха в любой части POCED при нахождении на расстоянии менее чем в 25 мм от горючих частей конструкции здания, не должна превышать температуру окружающей среды более чем на 50 °C.
Испытания необходимо проводить, когда аппарат установлен в соответствии с техническими инструкциями. Любая часть POCED должна находиться на расстоянии менее 25 мм от горючих частей здания.
Аппарат устанавливают в соответствии с
6.1.6 и располагают термопары на внешней поверхности частей канала для удаления продуктов сгорания POCED, которые могут находиться ближе 25 мм от горючих частей конструкции здания. Термоэлементы должны использоваться с пределами точности термоЭДС в соответствии с классом 2 (см.
[3]).
Аппарат работает на одном из эталонных газов, указанных в
6.1.1 согласно своей категории, и настроен в соответствии с
6.1.3.2.1.
Испытание проводят, когда аппарат работает со своей номинальной потребляемой тепловой мощностью. Все измерения проводят, когда аппарат достиг теплового равновесия. Рекомендуется, чтобы для этого испытания аппарат был помещен в помещение с температурой окружающего воздуха примерно 20 °C.
В конце этого испытания необходимо определить, не превысило ли максимальное повышение температуры POCED пределов, указанных в
6.2.3.3.2.
Данное испытание проводят, если в соответствии с монтажными инструкциями производителя канал удаления продуктов сгорания POCED проходит через горючую стену или потолок, при этом он должен быть заключен в другой канал, кожух или изоляцию, при этих условиях испытаний температура окружающей среды не должна повышаться более чем на 50 °C.
Испытания необходимо проводить, когда аппарат установлен в соответствии с техническими инструкциями. Согласно инструкции производителя по установке, POCED должен быть заменен другой магистралью, рукавом или закрыт изоляцией, если проходит через горючую стену или потолок.
Устанавливают аппарат в соответствии с
6.1.6. Короб, кожух или изоляция, в которые заключен канал для удаления продуктов сгорания, должны быть установлены в соответствии с инструкциями производителя. Эти короб, кожух или изоляция должны иметь такие размеры и компоновку, чтобы вмещать секцию канала удаления продуктов сгорания длиной 350 мм, так близко к аппарату, как позволяют инструкции производителя.
Прикрепляют термоэлементы к наружной стороне короба, рукава или изоляции и затем закрывают этот короб, рукав или изоляцию слоем изоляции толщиной 25 мм. Термоэлементы должны использоваться с пределами точности термоЭДС в соответствии с классом 2 (см.
[3]).
Аппарат работает на одном из эталонных газов, указанных в
6.1.1 согласно своей категории, и настроен в соответствии с
6.1.3.2.1.
Испытание проводят, когда аппарат работает со своей номинальной потребляемой тепловой мощностью. Все измерения проводятся, когда аппарат достиг теплового равновесия. Рекомендуется, чтобы для этого испытания аппарат был помещен в помещение с температурой окружающего воздуха примерно 20 °C.
В конце этого испытания необходимо определить, не превышает ли максимальное повышение температуры дымохода, муфты или изоляции, окружающих POCED, указанных в
6.2.3.3.2 пределов.
6.2.4 Зажигание, перекрестное зажигание и стабильность пламени
6.2.4.1 Зажигание и перекрестное зажигание
6.2.4.1.1 Испытания со всеми газами
При следующих условиях испытаний должно быть обеспечено правильное и безупречное зажигание и перекрестное зажигание.
Данные испытания проводят при холодной изоляции, а также при изоляции в состоянии теплового равновесия.
Испытания проводят на аппаратах типов A
2, A
3, B
12, B
13, B
42 и B
43, установленных в соответствии с
6.1.6.2.
Аппараты типов B22, B23, B52 и B53 устанавливают следующим образом:
a) аппарат, рассчитанный на подключение к дымоходу со стенным вводом, должен быть подключен к дымоходу с минимальным и максимальным эквивалентными сопротивлениями, указанными производителем;
b) аппарат, рассчитанный на подключение к вертикальному дымоходу с выводом выше уровня крыши, должен быть подключен:
1) к дымоходу высотой 1 м и к дымоходу с минимальным и максимальным эквивалентными сопротивлениями, указанными производителем для аппаратов типов B22 и B23; либо
2) для аппаратов типов B52 и B53 - к вертикальному дымоходу с минимальным и максимальным эквивалентными сопротивлениями, указанными производителем.
| | ИС МЕГАНОРМ: примечание. В официальном тексте документа, видимо, допущена опечатка: перечисление c) отсутствует. | |
Блок горелки должен быть сначала настроен в соответствии с
6.1.3.2.1 и параметрами, указанными в
6.2.4.1.1, перечисления a) - c). В системах с несколькими горелками дроссель на блоке горелки должен быть отрегулирован таким образом, чтобы максимальное и минимальное рабочее давление всасывания создавалось попеременно в соответствии с техническими инструкциями по монтажу.
Если устройство может использовать газы из разных групп или семейств, необходимо использовать предельные газы. Газы, которые следует выбирать для каждой категории, перечислены в
таблице 8.
Таблица 8
Испытательные газы в соответствии с категориями применения
Категория | Эталонный газ | Предельный газ с неполным сгоранием | Предельный газ с проскоком пламени | Предельный газ с отрывом пламени | Предельный газ с образованием сажи |
I2H | G20 | G21 | G222 | G23 | G21 |
I2L | G25 | G26 | G25 | G27 | G26 |
I2E, I2E+ | G20 | G21 | G222 | G231 | G21 |
I3B/P, I3+ | G30 | G30 | G32 | G31 | G30 |
I3P | G31 | G31 | G32 | G31 | G31, G32 |
II1a2H | G110, G20 | G21 | G112 | G23 | G21 |
II2H3B/P, II2H3+ | G20, G30 | G21 | G222, G32 | G23, G31 | G30 |
II2H3P | G20, G31 | G21 | G222, G32 | G23, G31 | G31, G32 |
II2L3B/P | G25, G30 | G26 | G32 | G27, G31 | G30 |
II2L3P | G25, G31 | G26 | G32 | G27, G31 | G31, G32 |
II2E3B/P, II2E+3+ | G20, G30 | G21 | G222, G32 | G231, G31 | G30 |
II2E+3P | G20, G31 | G21 | G222, G32 | G231, G31 | G31, G32 |
Примечание - Испытания на предельных газах проводят при форсунке и настройке, соответствующих эталонному газу группы, к которой принадлежит предельный газ, примененный в испытаниях. |
| | ИС МЕГАНОРМ: примечание. Обозначения перечислений даны в соответствии с официальным текстом документа. | |
a) Испытание N 1
Аппарат работает на применимых эталонных и предельных газах (см.
таблицу 4) при нормальном давлении, указанном в
6.1.4.
В этих условиях необходимо убедиться в том, что зажигание основной горелки или запальной горелки (если установлена) происходит правильно, и что правильно осуществляется зажигание основной горелки от запальной горелки, а также перекрестное зажигание различных частей горелки.
b) Испытание N 2
Для этих испытаний исходная настройка основной и запальной горелок не изменены, и аппарат работает на эталонном газе при давлении на входе аппарата, уменьшенном на 70% от нормального давления или минимального давления, указанного в
6.1.4, что ниже.
В этих условиях подачи проверяют правильность зажигания основной и запальной горелок (если есть), а также правильность зажигания основной горелки от запальной горелки, а также перекрестное зажигание различных частей горелки.
c) Испытание N 3
Без изменения исходных настроек основной или запальной горелок соответствующие предельные газы с отрывом и проскоком пламени последовательно заменяют на эталонный газ и давление на входе аппарата снижают до минимального давления, указанного в
6.1.4.
В этих условиях проверяется правильность зажигания основной горелки или запальной горелки (если есть), а также правильность зажигания основной горелки от запальной горелки, а также перекрестное зажигание различных частей горелки.
6.2.4.1.2 Уменьшение факела запальной горелки
Когда расход газа запальной горелки уменьшен до минимума, необходимого для поддержания подачи газа к основной горелке, при этих условиях испытаний должно быть обеспечено правильное и корректное зажигание основной горелки без чрезмерного шума.
Данное испытание проводят как в холодном состоянии, так и в состоянии теплового равновесия аппарата в соответствии с
6.1.6.
Модуль горелки первоначально настроен согласно
6.1.3.2.1, и на него подаются соответствующие эталонные газы (см.
таблицу 4) при номинальной потребляемой тепловой мощности.
Далее расход газа на запальной горелке снижают до минимума, необходимого для поддержания подачи газа на основную горелку.
Необходимое уменьшение расхода газа на запальной горелке может быть обеспечено следующим образом:
a) настройкой регулятора расхода газа на запальной горелке (если есть); если это невозможно,
b) с помощью регулятора, установленного для этой цели на линию подачи газа к запальной горелке.
Далее проверяют правильность зажигания основной горелки от запальной горелки.
В случаях когда запальная горелка имеет несколько выходных отверстий, которые могут быть засорены, испытание проводят с предварительно перекрытыми всеми отверстиями запальной горелки, кроме одной, которая выдает пламя, фиксируемое детектором пламени.
6.2.4.1.3 Неисправность закрытия запорного газового клапана основной горелки
Если газовая линия спроектирована таким образом, что подача газа к запальной горелке осуществляется между двумя газовыми клапанами основной горелки, то при следующих условиях испытаний должно быть продемонстрировано, что воспламенение запальной горелки не приводит к возникновению опасной ситуации.
Данное испытание проводят как в холодном состоянии, так и в состоянии теплового равновесия аппарата в соответствии с
6.1.6.
Модуль горелки первоначально настроен согласно
6.1.3.2.1, и на него подают соответствующие эталонные газы (см.
таблицу 4) при номинальной потребляемой тепловой мощности. При этом автоматический газовый клапан в основном газовом контуре, ближе к основной горелке, держится открытым. Далее проверяют правильность зажигания аппарата.
6.2.4.1.4 Испытание с задержкой зажигания
При следующих условиях испытаний зажигание каждой запальной горелки или основной горелки при прямом зажигании должно происходить безопасно и без чрезмерного шума при задержке зажигания до 50% времени безопасности, указанного в техническом руководстве.
Данное испытание проводят как в холодном состоянии, так и в состоянии теплового равновесия аппарата в соответствии с
6.1.6.
Аппарат первоначально настроен согласно
6.1.3.2.1, и на него подают соответствующие эталонные газы (см.
таблицу 4) при номинальной потребляемой тепловой мощности.
Далее проверяют зажигание запальной и основной горелок (в случае прямого зажигания). Данное испытание проводят, постепенно увеличивая задержку зажигания максимум до 50% от времени безопасности, заявленного производителем.
Для задержки зажигания, как правило, необходимо предусмотреть независимое управление автоматическими отсечными клапанами основной горелки или запальной горелки и работой устройства зажигания. Возможная компоновка испытания предусматривает подачу напряжения на соответствующие газовые клапаны и на устройство зажигания независимо от системы автоматического управления горелками. В целях безопасности задержку зажигания следует увеличивать поэтапно. Блок горелки не должен иметь повреждений, которые могли бы повлиять на безопасную работу.
6.2.4.2 Время безопасности
6.2.4.2.1 Время безопасности для образования пламени пускового газа
Пламя пускового газа может создаваться либо на основной горелке, либо на отдельной запальной горелке. В технической документации должно быть указано время безопасности для образования пламени пускового газа.
Подача газа к горелке должна быть перекрыта. Попытка зажечь горелку должна быть выполнена по информации в руководстве по эксплуатации и обслуживанию, проводят измерение времени между открытием и закрытием клапана. Измеренное время сравнивают с временем безопасности, указанным в технической документации. Время безопасности для образования пламени пускового газа не должно быть более 20 с.
6.2.4.2.2 Время безопасности для розжига основной горелки
В технической документации должно быть указано время безопасности для розжига основной горелки.
Подача газа к горелке должна быть перекрыта. Попытка зажечь горелку должна быть выполнена по информации в руководстве по эксплуатации и обслуживанию, проводят измерение времени между открытием и закрытием клапана. Измеренное время сравнивают с временем безопасности, указанным в технической документации. Время безопасности для розжига основной горелки должно быть не более 10 с.
6.2.4.3 Устойчивость пламени
Пламя должно быть устойчивым при следующих условиях испытаний. Небольшая склонность к подъему пламени во время воспламенения приемлема, но пламя должно быть устойчивым при нормальной работе.
Эти испытания проводят на аппаратах типов A
2, A
3, B
12, B
13, B
42 и B
43, установленных в соответствии с
6.1.6.
Аппараты типов B22, B23, B52 и B53 должны быть установлены следующим образом:
a) аппарат, рассчитанный на подключение к дымоходу со стенным выводом, должен быть подключен к дымоходу с минимальным и максимальным эквивалентными сопротивлениями, указанными производителем;
b) аппарат, рассчитанный на подключение к вертикальному дымоходу с выводом выше уровня крыши, должен быть подключен:
1) к дымоходу высотой 1 м и к дымоходу с минимальным и максимальным эквивалентными сопротивлениями, указанными производителем для аппаратов типов B22 и B23 либо
2) для аппаратов типов B52 и B53 - к вертикальному дымоходу с минимальным и максимальным эквивалентными сопротивлениями, указанными производителем.
Модуль горелки первоначально настраивают в соответствии с
6.1.3.2.1; также должны быть проведены испытания по
6.2.4.3, перечисления a) и
b). В системах с несколькими горелками дроссель на модуле горелок должен быть отрегулирован таким образом, чтобы максимальное и минимальное рабочее давление всасывания создавалось попеременно в соответствии с техническими инструкциями по монтажу.
a) Испытание 1
Без изменения исходных настроек основной и запальной горелок соответствующие газы с проскоком пламени заменяют последовательно на эталонный газ и давление на входе аппарата понижают до минимального давления, указанного в
6.1.4. Эти испытания выполняют в течение 10 минут. После этой проверки необходимо немедленно сделать пять дополнительных попыток розжига, каждая попытка розжига должна начинаться в конце безопасного времени предыдущей попытки. Во время этих испытаний не должно происходить обратного проскока пламени.
При этих условиях необходимо проверить устойчивость пламени.
b) Испытание 2
Без изменения исходных настроек основной и запальной горелок, соответствующие газы с отрывом пламени и проскоком пламени заменяются последовательно на эталонный газ и давление на входе аппарата повышают до максимального давления, указанного в
6.1.4. Испытания выполняют в течение 10 минут.
При этих условиях необходимо проверить устойчивость пламени.
6.2.4.4 Дополнительные испытания
6.2.4.4.1 Общие сведения
Аппарат должен быть испытан с помощью стандартного эталонного газа, соответствующего его категории, при номинальной тепловой нагрузке и работать с наименьшей нагрузкой, заданной устройством управления, если это предусмотрено техническими инструкциями.
Испытания проводят с минимальной и максимальной длиной линий подачи воздуха и удаления продуктов сгорания, либо с соответствующими значениями потери давления, если не указано иное.
6.2.4.4.2 Аппараты типов B12, B13, B42 и B43
Пламя должно быть стабильным в условиях испытаний, указанных в
6.2.7.3.1.
6.2.4.4.3 Аппараты типов B22, B23, B52 и B53
Пламя должно быть стабильным в условиях испытаний, указанных в
6.2.7.3.2.
6.2.4.4.4 Аппараты типов C1 и C3
При следующих условиях испытаний должно быть обеспечено зажигание запальной горелки, зажигание основной горелки от запальной горелки или непосредственное зажигание основной горелки, полное зажигание основной горелки и устойчивость пламени запальной горелки при сжигании одной или запальной горелки и главной горелки, если они работают одновременно. Легкие возмущения пламени допускаются, но пламя не должно гаснуть.
Аппарат устанавливают в соответствии с указаниями в технических инструкциях вместе с устройствами, поставленными производителем на применимой испытательной установке, показанной на
рисунке 6 для аппаратов типа C
1 и на
рисунках 7 и
8 для аппаратов типа C
3.
1 - вертикальная плоскость; 2 - горизонтальная плоскость
Угол

(ветры горизонтального направления), 30° и минус 30°.
Угол

(косые ветры), 15°, 30°, 45°, 60°, 75°, 90° (перпендикулярно к стене, на которой проводят испытания). Для аппаратов, оборудованных несимметричным оконечным устройством, испытание продолжают со следующими значениями: 105°, 120°, 135°, 150°, 165°, 180°.
Угол

получают либо путем изменения положения генератора ветра (зафиксированная стена), либо вращением испытательной стенки вокруг центральной вертикальной оси.
Испытательная стенка состоит из прочной вертикальной стены размерами не менее 1,8 x 1,8 м со съемной панелью в ее центре. Устройство подачи воздуха горения и удаления продуктов сгорания устанавливается так, чтобы его геометрический центр находился в центре испытательной стенки, а его проекция от стенки соответствовала указаниям производителя.
Характеристики ветрового генератора и его удаление от испытательной стенки, у которой он установлен, выбирают так, чтобы на уровне испытательной стенки после съема центральной панели:
a) фронт потока воздуха представлял собой квадрат со стороной примерно 90 см или окружность диаметром 60 см;
b) должно быть возможным получить скорости ветра 1 м/с, 2,5 м/с и 12,5 м/с с погрешностью 10%;
c) поток воздуха должен быть строго параллельным полу без остаточного вращения.
Если размер центральной съемной панели не позволяет проверить выполнение этих условий, их проверяют без установки испытательной стены на расстоянии, соответствующем имеющемуся на практике расстоянию между испытательной стеной и выходным соплом источника потока воздуха.
Рисунок 6 - Испытательная установка для аппаратов типа C
с горизонтальным оконечным устройством, установленным
на вертикальной стенке
Рисунок 7 - Испытательная установка для аппаратов типа C
с вертикальным оконечным устройством, установленным
на плоской крыше
Рисунок 8 - Испытательная установка для аппаратов типа C
с вертикальным оконечным устройством, установленным
на крыше
| | ИС МЕГАНОРМ: примечание. В официальном тексте документа, видимо, допущена опечатка: п. 6.2.4.3.3 отсутствует. Возможно, имеется в виду п. 6.2.4.4.4. | |
| | ИС МЕГАНОРМ: примечание. Обозначения перечислений даны в соответствии с официальным текстом документа. | |
a) Первая серия испытаний
Ветрозащитное устройство подвергают воздействию ветра с тремя различными скоростями 1; 2,5 и 12,5 м/с - и с направлениями в трех плоскостях, показанных на
рисунках 6 -
8, в зависимости от типа аппарата и положения устройства.
Для каждой из трех плоскостей падения:
1) находят три комбинации скорости ветра и угла падения, обеспечивающие самую низкую концентрацию CO2, и проверяют соблюдены ли вышеуказанные требования,
2) определяют три комбинации с самой высокой концентрацией CO в сухих не разбавленных воздухом продуктов сгорания (для оценки по
6.2.7.3.3).
b) Вторая серия испытаний
Аппарат находится в тепловом равновесии.
Для каждой из девяти комбинаций, при которых получают самую низкую концентрацию CO2, зафиксированную в первой серии испытаний, проверяют выполнение заданных требований.
c) Третья серия испытаний
Если в технических инструкциях предусмотрено защитное устройство, то его устанавливают в соответствии с инструкцией и далее повторяют девять испытаний первой серии, которые показали максимальную концентрацию CO в сухих не разбавленных воздухом продуктах сгорания. Результаты максимальной концентрации CO в продуктах сгорания должны повторяться.
6.2.5 Регулятор давления
При испытании при следующих условиях скорость не должна отклоняться более чем на +7,5% и -10% для газов первого семейства и не более чем на +/- 5% для газов второго и третьего семейства от первоначальной скорости потока, полученной при этих условиях.
Если блок горелки имеет регулируемый регулятор давления газа, его необходимо настроить на номинальную подводимую теплоту со стандартным испытательным газом при номинальном давлении, соответствующем этому газу, как указано в
6.1.4.
При сохранении исходной настройки давление подачи должно варьироваться между соответствующими минимальными и максимальными значениями. Эта проверка для всех стандартных поверочных газов, для которых регулятор давления не выводится из эксплуатации.
6.2.6 Устройства контроля газовоздушной смеси
6.2.6.1 Течь неметаллических контрольных трубок
Если контрольные трубки изготовлены не из металла или других материалов, по крайней мере, с сопоставимыми свойствами, существующие отдельные повреждения или утечки из этих трубок не должны приводить к опасной ситуации.
Это подразумевает либо отключение, либо безопасную работу без утечки газа во внешнюю среду аппарата. Это должно быть подтверждено следующим испытанием. Аппарат должен быть установлен, как описано в
6.1.6. При номинальной тепловой нагрузке он должен быть испытан стандартным эталонным газом. Эксплуатационная безопасность должна быть проверена в различных возможных ситуациях.
В частности:
a) при смоделированной утечке из трубки воздушного давления;
b) имитации течи в напорной трубе камеры сгорания;
c) смоделированной утечке в газонапорной трубке.
6.2.6.2 Контроль потока воздуха для горения или потока дымовых газов
При уменьшенном расходе концентрация CO не должна превышать заданного значения. Устройство должно быть испытано в установившемся режиме при номинальной тепловой нагрузке. Если указаны несколько скоростей потока, для каждой из этих скоростей требуются дополнительные испытания. Должны быть испытаны следующие методы снижения расхода:
a) постепенное блокирование каналов впуска воздуха;
b) постепенное блокирование каналов удаления продуктов сгорания;
c) если может иметь место внутренняя рециркуляция отработавших газов, проводят дополнительное испытание путем постепенного уменьшения скорости вращения вентилятора, например за счет снижения напряжения на вентиляторе.
Концентрации CO и CO2 должны измеряться непрерывно.
Способы блокирования для достижения уменьшенного расхода не должны вызывать обратного потока продуктов сгорания.
Для каждого из трех методов снижения расхода необходимо проверить, соответствуют или хотя бы выполняются требования одной из альтернативных стратегий мониторинга.
Есть две альтернативные стратегии наблюдения по воздуху: первичный мониторинг или непрерывный мониторинг. Основываясь на этой стратегии мониторинга, система должна удовлетворять следующим двум требованиям при уменьшенном расходе;
d) непрерывный контроль:
Отключение до того, как концентрация CO в сухих не разбавленных воздухом продуктах сгорания превысит:
1) 0,20% в диапазоне модуляции, указанном в руководстве по установке или
2) COmeas·Q/Qin,min <= 0,20% ниже минимального значения диапазона модуляции,
где Q - мгновенная тепловая нагрузка, кВт;
Qin,min - тепловая нагрузка при минимальном расходе, кВт.
Измеряют концентрацию CO в сухих не разбавленных воздухом продуктах сгорания;
e) контроль запуска: Запуск невозможен, если концентрация CO (продукты сгорания сухие, не разбавленные воздухом) превышает 0,1%.
6.2.6.3 Регулировка соотношения давлений газ/воздух
Если соотношение газ/воздух регулируется, управление должно быть активировано, когда регулировкой достигнуты крайние пределы, и достигнутый диапазон отношения давлений должен перекрывать указанный в технической документации диапазон регулировки отношения воздуха к газу с настройками максимального и минимального отношения давления газа к воздуху во время эксплуатации.
Испытания по
6.2.7.2 должны быть повторены при следующих условиях:
значение CO2 при максимальной тепловой нагрузке устанавливается на максимальное значение CO2, а при минимальной тепловой нагрузке настроено на минимальный уровень CO2;
значение CO2 при максимальной тепловой нагрузке устанавливается на минимальное значение CO2, а при минимальной тепловой нагрузке установлено на максимальный уровень CO2.
Необходимо проверить, что значения CO, указанные в
6.2.7.2, не превышены.
6.2.7.1 Общие сведения
Данные испытания проводят на аппаратах типов A
2, A
3, B
12, B
13, B
42 и B
43, установленных в соответствии с
6.1.6.
Аппараты типов B22, B23, B52 и B53 устанавливают следующим образом:
a) аппарат, рассчитанный на подключение к дымоходу со стенным вводом, должен быть подключен к дымоходу с минимальным и максимальным эквивалентными сопротивлениями, указанными производителем;
b) аппарат, рассчитанный на подключение к вертикальному дымоходу с выводом выше уровня крыши, должен быть подключен:
1) к дымоходу высотой 1 м и к дымоходу с минимальным и максимальным эквивалентными сопротивлениями, указанными производителем для аппаратов типов B22 и B23; либо
2) для аппаратов типов B52 и B53 - к вертикальному дымоходу с минимальным и максимальным эквивалентными сопротивлениями, указанными производителем.
Аппарат первоначально настраивают на номинальную потребляемую тепловую мощность в соответствии с
6.1.3.2.1.
Сбор продуктов сгорания проводят так, чтобы обеспечить представительную выборку без влияния на производительность аппарата, с целью определения концентрации CO и CO2.
Концентрация оксида углерода CO измеряется прибором, способным определять концентрацию CO в диапазоне от 5·10-5 до 100·10-5 объемных частей.
Концентрация оксида углерода CO и двуокиси углерода CO2 измеряется методом с точностью +/- 6%.
Для всех испытаний проба берется, когда аппарат достигает теплового равновесия и работает в указанных условиях.
Концентрацию оксида углерода в сухих (без примеси воздуха) продуктах сгорания (нейтральное горение) VCO,N, %, вычисляют по формуле

(8)
где VCO,N - концентрация CO в сухих не разбавленных воздухом продуктах сгорания, %;

- расчетное содержание CO
2 в сухих не разбавленных воздухом продуктах сгорания, %;
VCO,M и

- концентрации монооксида углерода и диоксида углерода, %, измеренные в пробе во время испытания на сжигание.
Значения

(нейтральное горение) приведены для испытательных газов в
таблице 9.
Таблица 9
Значения

Обозначение газа | G110 | G20 | G21 | G25 | G26 | G30 | G31 |
 , % | 7,6 | 11,7 | 12,2 | 11,5 | 11,8 | 14,0 | 13,7 |
Концентрацию CO в сухих не разбавленных воздухом продуктах сгорания рассчитывают по формуле
| | ИС МЕГАНОРМ: примечание. Формула дана в соответствии с официальным текстом документа. | |

(9)
где
VCO,M и

- концентрации кислорода и монооксида углерода, измеренные в образце, %.
Рекомендуется использовать эту формулу, если она обеспечивает лучшую точность, чем формула, основанная на концентрации CO2.
6.2.7.2 Все аппараты (условия без ветра)
В системах с несколькими горелками дроссель узла горелки должен быть отрегулирован таким образом, чтобы попеременно создавать максимальное и минимальное рабочее давление всасывания в соответствии с техническими инструкциями, если не указано иное.
Примечание - При работе устройства с периодически неустойчивой тепловой нагрузкой или соответствующими периодическими колебаниями сигнала CO, значение CO можно определить в течение времени, взяв 100 показаний, равномерно распределенных по периоду. Затем среднее значение этих значений представляет собой окончательное измеренное значение для дальнейших процедур в соответствии с настоящим стандартом.
Концентрация CO в сухих не разбавленных воздухом продуктах сгорания не должна превышать 0,1% в следующих условиях испытаний.
Без изменения начальных настроек в горелку подают соответствующие стандартные проверочные газы в соответствии с ее категорией, давление на входе в горелку должно быть повышено до максимального давления, указанного в
6.1.4.
Концентрация CO в сухих не разбавленных воздухом продуктах сгорания не должна превышать 0,2% в следующих условиях испытаний.
Без изменения начальных настроек в горелку подают соответствующие стандартные проверочные газы в соответствии с ее категорией, давление на входе в горелку должно быть снижено до 70% нормального давления или до минимального давления, указанного в
6.1.4.
Концентрация CO в сухих не разбавленных воздухом продуктах сгорания не должна превышать 0,2% в следующих условиях испытаний.
Без изменения начальных настроек в горелку подают соответствующие предельные газы неполного сгорания, которые последовательно заменяют стандартным поверочным газом, давление на входе в горелку должно быть увеличено до максимального давления, указанного в
6.1.4.
При необходимости соответствующий предельный газ сажеобразования должен быть последовательно заменен предельным газом для неполного сгорания, горелка должна быть включена в течение трех циклов по 30 минут каждый и выключена. После проверки систему необходимо проверить, не должно появляться значительных отложений сажи на внутренней стороне радиационной трубы и вентилятора.
Концентрация CO в сухих не разбавленных воздухом продуктах сгорания не должна превышать 0,2% в следующих условиях испытаний.
Без изменения исходных настроек в горелку подают соответствующие стандартные проверочные газы в соответствии с ее категорией, аппарат должен работать на номинальной тепловой мощности.
Испытания проводят с подачей на систему тока напряжением 85% от минимального значения и далее напряжением 110% от максимального диапазона напряжения, указанного производителем в технической документации. В этих условиях должно быть продемонстрировано, что система срабатывает и остается работоспособной.
Концентрация CO в сухих не разбавленных воздухом продуктах сгорания не должна превышать 0,2% в следующих условиях испытаний.
Без изменения исходных настроек в горелку подают соответствующие стандартные проверочные газы в соответствии с ее категорией, аппарат должен работать на номинальной тепловой мощности.
В целях этого испытания электрический ток подают на вентилятор через подходящее устройство, обеспечивающее изменение напряжения.
После того, как система начинает работать в условиях теплового равновесия, постепенно уменьшают напряжение на вентиляторе, пока вентилятор не будет выключен контроллером отказа подачи воздушного потока. Отбирают пробы продуктов сгорания, пока не будет отключена подача газа.
Для целей этого испытания для систем с несколькими горелками дроссель узла горелки отрегулирован таким образом, чтобы создавалось только минимальное давление всасывания, указанное производителем.
Для систем типа F испытание проводят отдельно на вентиляторе коллектора, а затем на вентиляторе блока горелки. В целях этого испытания электрический ток подают на вентиляторы через подходящее устройство, обеспечивающее изменение напряжения. Дроссель в патрубке должен быть установлен таким образом, чтобы достигалось минимальное и максимальное давление всасывания, в соответствии с технической документацией.
6.2.7.3 Дополнительные испытания в особых условиях
6.2.7.3.1 Устройства типов B
12, B
13, B
42 и B
43
Концентрация CO в сухих не разбавленных воздухом продуктах сгорания не должна превышать 0,1% в следующих условиях испытаний.
Без изменения исходных настроек по
6.1.3.2 в горелки подают соответствующие стандартные проверочные газы в соответствии с их категорией, аппарат должен работать на номинальной тепловой мощности.
Испытание, указанное в
6.2.7.2 a), следует проводить при перекрытом выпускном отверстии для отвода продуктов сгорания.
Испытание по
6.2.7.2 b) следует проводить прикладывая постоянный нисходящий поток со скоростью 3 м/с и 1 м/с в испытательном дымоходе с помощью подходящей установки, создающей нисходящий поток (см.
рисунок 9).
A и B - клапан дефлектора для получения восходящей
и обратной тяги; 1 - трубка Пито для измерения скорости
потока; 2 - гибкий участок; 3 - вентилятор
Рисунок 9 - Испытание аппарата в условиях аномальной тяги
6.2.7.3.2 Аппараты типов B
22, B
23, B
52 и B
53
Концентрация CO в сухих не разбавленных воздухом продуктах сгорания не должна превышать 0,2% в следующих условиях испытаний.
Без изменения исходных настроек, указанных в
6.1.3.2, на аппарат подают соответствующие категории аппарата эталонные газы (см.
таблицу 4), после чего прибор работает на номинальной потребляемой тепловой мощности:
a) аппарат, рассчитанный на подключение к дымоходу со стенным оконечным устройством, испытывают следующим образом:
1) Аппарат, подсоединенный к дымоходу с максимальным эквивалентным сопротивлением, указанным производителем, которое постепенно ограничивается на выходе до тех пор, пока газ не отключается контроллером отказа подачи воздуха.
В точке отключения давление увеличивается, выходное давление устройства должно быть не менее 0,75 мбар.
Для установок с несколькими горелками типа F это может быть устройство управления подачей воздуха на блок горелки или устройство управления воздухом на коллекторе.
Для систем типов D и E с несколькими горелками испытание проводят с дросселем, установленным на минимальное давление всасывания, по технической документации производителя (т.е. по минимальному расходу).
2) На выход дымохода прилагается отрицательное давление так, чтобы снизить давление на выходе аппарата на 51 Па ниже давления, достигнутого дымоходом с минимальным эквивалентным сопротивлением, указанным производителем.
В точке отключения давление возрастает, на выходе из аппарата должно быть не менее 51 Па. Для систем типов D и E с несколькими горелками испытание проводят с дросселем при максимальном давлении всасывания, согласно технической документации (т.е. согласно максимальному расходу);
b) аппарат, рассчитанный на подключение к вертикальному дымоходу с оконечным устройством выше уровня крыши, испытывают, когда агрегат подключен к дымоходу с максимально эквивалентным сопротивлением в соответствии с информацией в технической документации и выпуск которого постепенно уменьшается до тех пор, пока подача газа не будет отключена устройством защиты от нехватки воздуха. В момент отключения повышение давления на выходе из аппарата должно быть не менее 0,5 мбар.
1) Для систем с несколькими горелками типа F это может быть устройство управления подачей воздуха на блок горелки или устройство управления воздухом на коллекторе.
Для систем типов D и E с несколькими горелками испытание проводят с дросселем при минимальном давлении всасывания, по технической документации (т.е. по минимальному расходу).
2) В случае дымососа на выходе из дымохода, снижение давления на выходе из дымохода установки устанавливают на 0,5 мбар ниже давления дымохода с минимальным эквивалентным сопротивлением, указанным производителем. Для систем с несколькими горелками испытание необходимо проводить с дросселем блока горелок, установленным на максимальное давление всасывания в соответствии с техническими инструкциями (т.е. соответствующее максимальному расходу).
6.2.7.3.3 Аппараты типов C
1 и C
3
Для каждого из испытаний должно быть вычислено среднеарифметическое значение концентраций CO, определенных из девяти комбинаций скорости ветра и угла падения, которые дают самую высокую концентрацию CO в продуктах сгорания. Концентрация CO в сухих безвоздушных продуктах сгорания не более 0,2%.
Без изменения первоначальных настроек в блок горелки должны быть поданы соответствующие стандартные проверочные газы в соответствии с его категорией аппарат должен работать на номинальной тепловой мощности.
6.2.8 Устройство управления воздухом в коллекторе
Для систем с несколькими горелками и общим коллектором испытание проводят на установке по
6.1.6.3 с общим коллектором при максимальном сопротивлении трубы, указанном в техническом руководстве.
Вентилятор в коллекторе должен работать без подачи газа на узел горелки. При этих условиях необходимо определить расход через коллектор.
Скорость вентилятора необходимо постепенно снижать до тех пор, пока поток воздуха через коллектор не достигнет 80%, что соответствует расходу, определенному для вентилятора при нормальной работе в холодном состоянии.
Аппарат устанавливают в соответствии с
6.1.6 и подсоединяют к дымоходу, описанному в
6.1.6.2.
Для аппаратов, рассчитанных на работу с газами второго семейства, испытания проводят с испытательным газом G20, если категория аппарата такова, что в качестве эталонного газа используют этот испытательный газ. Если G20 не используют в качестве стандартного эталонного газа, испытания проводят только с газом G25.
Для аппаратов, рассчитанных на работу с газами третьего семейства, испытания проводят с испытательным газом G30, причем максимальную концентрацию NO
x (см.
таблицу 6) умножают на коэффициент 1,30.
Для аппаратов, рассчитанных на работу на пропане, испытания проводят с испытательным газом G31, причем максимальную концентрацию NOx умножают на коэффициент 1,20.
Аппарат настраивают на номинальную потребляемую тепловую мощность.
Измерения NOx проводят после того, как аппарат переходит в состояние теплового равновесия.
Измеренные значения должны быть основаны на сухих, не содержащих воздуха продуктах сгорания.
Приложение F может быть преобразовано.
Мокрые счетчики газа не применяют.
Исходные условия для воздуха для горения:
a) температура: 20 °C;
b) относительная влажность Hо = 10 г [H2O/кг(воздуха)].
Если условия испытаний отличаются от этих исходных условий, значения NOx с поправкой на исходные условия NOx,ref, мг/кВт·ч, вычисляют по формуле

(10)
где NOx,ref - значение NOx, мг/кВт·ч, приведенное к исходным условиям;
NOx,m - значение NOx, измеренное при hm и ta, мг/кВт·ч, в диапазоне от 50 до 300 мг/кВт·ч.
Примечание - Если NO
x измеряется в
ppm, должно быть выполнено преобразование в мг/кВт·ч в соответствии с
приложением F;
hm - влажность при измерении NOx,m, г/кг, в диапазоне от 5 до 15 г/кг;
ta - температура окружающей среды, °C, при измерении NOx,m в диапазоне от 15 °C до 25 °C.
Примечание - При работе аппарата с периодически неустойчивой тепловой нагрузкой или соответствующими колебаниями сигнала NOx, значение NOx можно определить, взяв 100 показаний, равномерно распределенных по периоду. Затем вычисляют среднее значение, которое представляет собой окончательное измеренное значение для дальнейших процедур в соответствии с настоящим стандартом.
Измеренные значения NO
x, скорректированные с учетом стандартных условий и преобразованные в сухие не разбавленные воздухом продукты сгорания. Продукты сгорания взвешивают в соответствии с
6.3.2.
Проверяют, соответствуют ли взвешенные значения NO
x значениям, указанным в
таблице 6, в зависимости от выбранного класса NO
x.
6.3.2.1 Общие сведения
Весовые характеристики измеренных значений NO
x вычисляют в соответствии с
6.3.2.2,
6.3.2.3.
6.3.2.2 Одноступенчатые аппараты
Концентрация NO
x должна быть измерена, скорректирована и преобразована в соответствии с
6.3.1 при номинальной тепловой мощности
Qin,nom.
6.3.2.3 Двухступенчатые, многоступенчатые и модулирующие аппараты
Концентрация NO
x должна быть измерена, скорректирована и преобразована в соответствии с
6.3.1 при минимальной тепловой мощности.
Концентрация NO
x должна быть измерена, скорректирована и преобразована в соответствии с
6.3.1 при номинальной и минимальной тепловой нагрузке.
Сезонное значение NOx (NOx,seas), мг/кВт, вычисляют по формуле
NOx,seas = 0,15·NOx,nom + 0,85·NOx,min, (11)
где NOx,seas - сезонно-взвешенное значение NOx на основе NCV, мг/кВт·ч;
NOx,nom - измеренное значение NOx при номинальной подводимой теплоте на основе NCV, мг/кВт·ч;
NOx,min - измеренное значение NOx при минимальной тепловой нагрузке на основе NCV (мг/кВт·ч).
6.3.3 Показания значений оксидов азота, NOx
В технической документации для аппарата должен быть указан класс NO
x в соответствии с
таблицей 10.
Таблица 10
Класс NOx | Максимальная концентрация NOx, мг/кВт·ч (NCV) |
1 | 260 |
2 | 200 |
3 | 150 |
4 | 100 |
5 | 50 |
При измерении в соответствии с методом испытаний по
6.3.1 концентрация(и) NO
x в сухих не разбавленных воздухом продуктах сгорания должна быть такой, чтобы значение NO
x, определенное по
6.3.2, не превышало максимальной концентрации NO
x, указанного класса NO
x в технической документации.
Примечание - Значение NO
x на основе GCV отличается от значения, приведенного в
таблице 6 класса 2 на основе NCV.
Взвешенное значение NOx преобразуется на основе ВТС следующим образом:
Значение NO
xseas,NCV рассчитывают в соответствии с
6.3.2.
Значение NOxseas,GCV, мг/кВт, рассчитывают по формуле

(12)
где NOxseas,GCV - сезонно-взвешенное значение концентрации NOx, основанное на теплотворной способности соответствующего семейства газов (мг/кВт·ч, GCV);
NOxseas,NCV - сезонно-взвешенное значение концентрации NOx, основанное на теплотворной способности соответствующего семейства газов (мг/кВт·ч, NCV);
Hi/
Hs - отношение между низшей теплотворной способностью и высшей теплотворной способностью для соответствующего семейства газов с учетом данных
таблицы 2.
6.4 Определение потребления электрической мощности
6.4.1 Общие сведения
Потребляемую вспомогательную мощность аппаратов или системы следует измерять при номинальной подводимой тепловой мощности, минимальной тепловой мощности и в режиме ожидания. Измерения должны включать потребляемую мощность всех электрических компонентов между устройством ручного отключения газа и головкой горелки, включая газовый клапан, органы управления горелкой, включая любой вентилятор подачи воздуха для горения. При этом устройства управления и контроля, необходимые для работы системы, должны быть включены.
6.4.2 Вспомогательная энергия при номинальной нагрузке
Потребляемая мощность при номинальной нагрузке (
elmax). Испытания проводят при соблюдении условий испытаний по
6.1.5. Измеряют часовое потребление вспомогательной энергии, выраженное в киловаттах (кВт), и определяют среднее значение.
6.4.3 Вспомогательная энергия при минимальной нагрузке
Потребляемая мощность при минимальной нагрузке (
elmin). Испытания проводят при соблюдении условий испытаний по
6.1.5. Измеряют часовое потребление вспомогательной энергии, выраженное в киловаттах (кВт), и определяют среднее значение.
6.4.4 Вспомогательная энергия в режиме ожидания
Потребляемая мощность в режиме ожидания (elsb). Испытания проводят при подключении источника питания к аппарату, но без розжига горелки(ок). Измеряют часовую потребляемую мощность, указанную в киловаттах (кВт), и определяют среднее значение.
7.1 Общий принцип измерения и расчета коэффициента излучения
Энергоэффективность газовых инфракрасных обогревателей и систем лучистого обогрева повышается за счет суммирования коэффициента излучения и теплового КПД аппарата. Коэффициент излучения определяет энергоэффективность аппарата с точки зрения показателей теплоотдачи. Термическая эффективность аппарата a указывает общую выходную мощность аппарата, используемого в здании.
Для определения мощности излучения и коэффициента излучения RF газового трубчатого нагревателя или системы трубчатых нагревателей необходимо использовать радиометрический метод.
Мощность излучения необходимо измерять с помощью стандартизированной и калиброванной интегрирующей сферы (см. приложение H,
рисунок H.1) при постоянной эталонной температуре с использованием радиометрического датчика в различных точках на сетке измерительной плоскости под теплогенератором (см.
рисунки 1 и
2). Должна быть зарегистрирована интенсивность излучения во всех положениях измерительной решетки, а измеренные значения необходимо интегрировать по площади измерительной решетки. Чтобы рассчитать мощность излучения газового трубчатого нагревателя, измеренное значение должно быть скорректировано с учетом потерь на поглощение излучения во время измерения.
Коэффициент излучения RF газового трубчатого обогревателя необходимо рассчитывать по измеренной мощности излучения, деленной на тепловую нагрузку, измеренную во время измерения излучения.
7.2 Испытательное помещение
Размер испытательного помещения должен позволять установить аппарат и дополнительное испытательное оборудование. Помещение должно быть достаточно большим и иметь подходящие условия вентиляции для работы аппарата во время испытания без существенного изменения атмосферы в помещении.
Рабочая зона должна:
a) обеспечивать достаточную вентиляцию, чтобы ограничить концентрацию CO2 в помещении менее 1000 ppm;
b) поддерживать температуру воздуха в помещении на уровне (20 +/- 5) °C на протяжении всего испытания;
c) быть изолирована от влияния других источников излучения, таких как другие инфракрасные обогреватели или солнце;
d) обеспечивать работу аппарата и расположение датчика без воздействия на них сквозняков, скорость движения воздуха менее 0,2 м/с.
Пол, стены и потолок помещения должны быть хорошо изолированы от внешних воздействий (например, от падающего солнечного света через окна) и иметь внутренние поверхности, обработанные для снижения радиационного отражения.
7.3 Испытательный стенд для определения мощности излучения
Аппарат или система должны быть установлены и подвешены на высоте не менее 1,2 м над полом в соответствии с инструкцией по монтажу производителя и требованиями
6.1.
Аппарат должен быть установлен горизонтально, а направление излучения должно быть направлено вертикально вниз.
Измерительная плоскость во всех случаях установки должна быть плоской горизонтальной плоскостью на 10 см ниже самого нижнего края базовой плоскости излучения (см.
рисунки 1 и
2).
Аппараты типов B и C должны быть установлены с системой удаления дымовых газов. Установленная система удаления дымовых газов должна иметь среднюю допустимую длину, минимальную и максимальную длину в соответствии с указаниями в технической документации.
Аппараты типа C также должны быть оснащены системой подачи воздуха для горения. Установленная система подачи воздуха для горения должна иметь среднюю допустимую длину, минимальную и максимальную длину в соответствии с указаниями в технической документации.
7.3.2 Расположение механического устройства и измерителя радиации (радиометра)/измерительной решетки
Испытательная установка должна обеспечить установку аппарата горизонтально в соответствии с инструкцией по монтажу производителя и требованиями
6.1, иметь устойчивое подвижное расположение для проведения испытаний, которое дает возможность правильно настраивать радиометр в плоскости измерения. Крепежный материал не должен загораживать поле зрения радиометра испускаемому излучению и повреждать теплогенератор. Конструкция испытательного стенда должна быть достаточно прочной, чтобы выдерживать поглощаемое лучистое тепло от аппарата, не влияя на относительное положение радиометра. Необходимо позаботиться о том, чтобы радиометр был теплоизолирован от испытательного стенда для предотвращения передачи тепла от испытательного стенда к датчику.
Величину уровня измерения определяют индивидуально для каждого теплогенератора. Интенсивность излучения, измеренная на краях плоскости измерения, должна быть менее 1% от максимального значения интенсивности излучения теплогенератора, измеренное непосредственно под ним (как правило, 1%). В случае темных излучателей ожидается, что самая высокая интенсивность будет непосредственно под трубой, где происходит горение, на расстоянии 1 - 5 м от горелки инфракрасной трубы.
Радиометр должен быть позиционирован в узловых точках измерительной решетки с максимальным отклонением расположения по трем осям 0,3 см. Ось радиометра не должна отклоняться от вертикали более чем на 2°. Расстояние от верхней части радиометра до базовой плоскости излучения должна составлять (10 +/- 0,3) см.
Примечание - Направление распределения излучения под теплогенератором представлено прямоугольной измерительной решеткой с мелкими шагами, заданными через равные промежутки. В любом случае получается не менее 100 позиций измерений. Применяют правило 1% для определения размера решетки измерения.
Измерительная решетка:
a) для трубчатых нагревателей длиной до 10 м можно использовать стандартную решетку с шагом 10 x 10 см;
b) в случае больших темных излучателей (длина более 10 м) градиенты сигнала по продольной оси превышают единицу. Расстояние в 10 м от горелки, вероятно, является относительно небольшим. Для этих теплогенераторов используют решетку с шагом 10 x 10 см для первых 10 м теплогенератора за горелкой. Для остальной части теплогенератора используют решетку шириной 10 см и максимальной длиной 50 см.
7.3.3 Измеритель излучения и калибровка
7.3.3.1 Общие положения
Измеритель излучения состоит из позолоченной сферы Ulbricht с внутренним экраном для обнаружения и интегрирования входящего излучения на пироэлектрическом датчике. Входящее излучение под разными углами должно быть в пределах интегрирующей сферы после отражения по закону косинусов Ламберта. Полученное от пироэлектрического датчика излучение регулярно генерируется прерывателем с регулируемой и контролируемой скоростью. Выходной сигнал датчика должен контролироваться электроникой, чтобы обеспечить получение непрерывного сигнала.
В зависимости от температуры измеритель излучения необходимо охлаждать водой, для защиты датчика и прерывателя, во время измерения и калибровки, а также обеспечить постоянную контрольную температуру измерителя радиации (20 +/- 0,5) °C. Во время калибровки и измерения необходимо контролировать температуру. Внутренняя камера сферы должна продуваться сухим азотом, при постоянном использовании во время измерения и калибровки.
Примечание - Целью продувки азотом является предотвращение загрязнения внутренней поверхности, например пылью, для предотвращения любого изменения физического сигнала из-за конденсации водяного пара во время испытаний или калибровки или путем поглощения излучения водяным паром или двуокисью углерода.
Техническое описание подходящего измерителя радиации включено в
приложение H. Если используют другое устройство для измерения радиации, его пригодность для измерения тепловой мощности трубчатых нагревателей должна быть изучена, определена и задокументирована испытательной лабораторией, сертифицированной в соответствии с
ГОСТ Р 52960, чтобы продемонстрировать, что связанные с этим результаты, полученные другим радиометром, идентичны результатам системы, описанной в
приложении H.
В предыдущем испытании угловая чувствительность измерителя радиации в диапазоне длин волн от 0,8 до 20 мкм. Угловая чувствительность должна лежать в пределах отклонений закона косинусов Ламберта согласно
приложению H.
Измеритель радиации, включая все электронные и управляющие устройства (такие как контроллер колеса прерывателя, усилители, системы сбора данных и кабели), используемые во время измерения, должны использоваться не реже одного раза в 6 месяцев в соответствии с требованиями
приложения I для калибровки. Отчет о калибровке в соответствии с требованиями
приложения I, срок действия которого не превышает 6 месяцев, должен быть представлен для проверки данных калибровки измерителя радиации.
Описание подходящей системы и процедуры калибровки включено в
приложение I. Если используется другая система и метод калибровки, их пригодность для измерения тепловой мощности трубчатых нагревателей должна быть изучена, определена и задокументирована испытательной лабораторией, сертифицированной в соответствии с
ГОСТ Р 52960, чтобы продемонстрировать, что связанные с этим результаты, полученные с помощью системы калибровки, идентичны результатам системы, описанной в
приложении I.
7.3.3.2 Настройки радиометра теплового излучения
7.3.3.2.1 Температура измерителя излучения
Температура измерителя излучения должна контролироваться водяным охлаждением с термостатом во время работы и поддерживаться в диапазоне (20 +/- 0,5) °C на протяжении всего измерения и калибровки.
7.3.3.2.2 Продувка сферы азотом
Поток азота устанавливают на (25 +/- 10) л/ч во время измерения и калибровки. Температура потока азота на входе в радиометр должна быть в пределах (20 +/- 3) °C. Это достигается за счет термической защиты трубки подачи N2 от излучения испытуемого теплогенератора при размещении трубы подачи азота непосредственно рядом или в контакте с подающей трубкой водяного охлаждения. Азот должен быть сухим и иметь уровень чистоты не менее 99,9% (качество N2-3.0 или лучше).
7.3.3.2.3 Частота колеса прерывателя
Частота, с которой колесо прерывателя прерывает поступающее и регистрируемое излучение, должна быть как можно ниже, чтобы получить хорошее отношение сигнал/шум электрического сигнала, и настолько высокой, насколько необходимо для обеспечения постоянной работы двигателя.
Частоту вращения, с которой колесо прерывает прием излучения, следует контролировать и поддерживать с точностью +/- 1 Гц. Частота должна быть установлена так, чтобы не быть кратной 50 (или 60 в случае сетевого питания 60 Гц). Это необходимо для правильной работы усилителя с учетом частоты сетевого питания. Частота вращения колесика прерывателя должна быть одинаковой во время измерения и калибровки.
7.3.3.2.4 Характеристики чувствительного датчика
Датчик радиационного измерителя, включая защитное окно перед ним, должен иметь постоянную чувствительность в минимальном диапазоне длин волн от 0,8 до 20 мкм и диапазон излучения от 10 до 1000 Вт/м2. Рекомендуется использовать пироэлектрический детектор, изготовленный, например, из танталата лития (LiTaO3) вместе с подходящим окном для передачи излучения с постоянной передачей в спектральном диапазоне от 0,8 до 20 мкм. Si является подходящим оконным материалом. Пироэлектрический детектор должен использоваться в режиме напряжения.
В этом режиме рабочий диапазон детектора зависит от частоты вращения колесика прерывателя. Частоту вращения колесика прерывателя следует поддерживать по возможности постоянной. Влияние частоты колесика прерывателя на выходной сигнал во время измерения остается постоянным. Выход зонда должен иметь электронное управление, чтобы обеспечить сигнал между 0 и чтобы получить 10 В.
Установка и использование детектора должны осуществляться в соответствии с инструкциями производителя. Вся электропроводка должна быть защищена от электромагнитных помех.
7.3.3.2.5 Теплозащитный кожух для измерителя излучения
Поскольку измеритель излучения чрезвычайно чувствителен к небольшим изменениям внутренней температуры датчика, в дополнение к постоянному водяному охлаждению, требуется соответствующая тепловая защита дозиметра, чтобы свести к минимуму его нагрев во время процедуры испытаний.
Термозащита выполнена в корпусе из полированного алюминия с хорошими отражающими свойствами, квадратной формы с размерами 180 x 180 мм или альтернативно круглой формы диаметром 200 мм с одинаковой площадью проекции 324 см2. Передняя сторона теплозащитного корпуса покрыта неотражающим изоляционным материалом (толщина 25 мм).
Самое верхнее положение изоляционного материала должно совпадать с самым верхним положением измерителя радиации, чтобы избежать затенения на входе измерителя радиации.
Теплоизоляция должна быть установлена между измерителем радиации и корпусом тепловой защиты.
На
рисунке 10 показана конструкция подходящего теплозащитного кожуха.
Рисунок 10 - Пример теплоизоляционного корпуса
(размеры в мм)
7.3.3.3 Получение сигнала
Для обеспечения точного сбора больших объемов сигналов данных и во избежание ручных ошибок локальные данные о мощности излучения и температуре должны регистрироваться электронным устройством. Если измеритель излучения при перемещении из одного положения в другое на измерительной решетке, датчик сообщает о характерном нарастании или падении сигнала с течением времени. Перед записью текущего сигнала для расчета каждого отдельного положения измерительной решетки необходимо проверить постоянство сигнала. Сигнал должен быть получен, когда среднее значение серии из пяти сигналов, выбранных через равные промежутки времени в течение 2,5 с (т.е. каждые 0,5 с), находится в пределах +/- 1% от среднего значения, соответствующего следующей серии из пяти сигналов. Если это не так, получают пять сигналов до тех пор, пока среднее значение не окажется в пределах +/- 1% от предыдущего ряда.
Примечание - При работе устройства с периодически неустойчивой тепловой нагрузкой или колебаниями соответствующего сигнала излучения, сигнал излучения можно определить с течением времени, взяв 100 показаний, которые равномерно распределяются по периоду времени (например, в течение периода времени 5 мин, каждые 3 с измеренное значение записывается, чтобы получить 100 сигналов измерения за период измерения). Среднее из этих значений представляет собой окончательное измеренное значение для дальнейших процедур в соответствии с этим стандартом.
Аппарат должен быть подключен к стандартному испытательному газу соответствующей газовой группы (G20 или G31) и должен быть настроен в пределах +/- 2% от его номинальной тепловой мощности. Модулируемые аппараты, зональные или двухступенчатые аппараты должны быть настроены на номинальную тепловую нагрузку на первой ступени, а на втором этапе доводят до полной минимальной тепловой мощности. Измерение начинают, как только достигнуто тепловое равновесие или установлено тепловое равновесие. Если устройство подключено к сетевому газу, после перехода с G20 или G31 следует подождать, пока не будет достигнуто новое тепловое равновесие. Тепловое равновесие достигается, когда температура выхлопных газов находится в течение 10 мин в пределах менее чем +/- 0,5% или, наоборот, если показание измерителя радиации, когда он находится в середине теплогенератора, колеблется не более чем на +/- 1% за 10 минут.
7.4.2 Метод измерения
Процесс измерения начинают с определения размеров плоскости измерения. Чтобы определить границы плоскости измерения, прибор для измерения излучения необходимо перемещать в обоих осевых направлениях на такое расстояние над плоскостью измерения, чтобы измеренное значение локальной освещенности составляло менее 1% от максимального значения, измеренного в области с самой высокой температурой трубы непосредственно под агрегатом. В зависимости от размеров теплогенератора необходимо выбрать измерительную решетку 10 x 10 см или комбинацию измерительных решеток размерами 10 x 10 см и 10 x 50 см.
В течение цикла измерения на одном уровне тепловой нагрузки со стандартным поверочным газом температуру и влажность воздуха в помещении измеряют не менее трех раз (в начале, в середине и в конце окончания времени измерения). Температура и влажность воздуха, необходимые для расчета поглощения, должны быть взяты как среднее значение этих измерений. Индивидуальные измерения температуры воздуха должны в основном соответствовать требованиям
7.2.
Для измерения мощности излучения измеритель излучения должен перемещаться от узла к узлу по измерительной плоскости. Должны быть зарегистрированы сигнал местного облучения и связанная с ним температура измерителя излучения. Температура измерителя излучения должна регистрироваться и поддерживаться на постоянном уровне (20 +/- 0,5) °C на протяжении всего измерения. Измерение необходимо проводить индивидуально для каждого столбца решетки. Перед измерениями в следующем столбце решетки необходимо выполнить эталонные измерения в первой строке, выходящие за пределы 1% значений, и записать их для последующей корректировки измерений (если применимо) - см. также
рисунок 11.
1 - проверяемый теплогенератор; 2 - столбец решетки;
3 - ряд решетки; 4 - строки значения 1%; 5 - измерение
ячейки Fij; 6 - узел измерительной решетки (1,1) - узел
первой строки и первого столбца
Рисунок 11 - Плоскость измерения
Электрический сигнал от датчика измеряют, когда среднее значение набора из 5 сигналов, равномерно распределенных в течение 2,5 с (т.е. каждые 0,5 с), находится в диапазоне значений +/- 1% от среднего значения следующего набора из 5 сигналов. В этом случае за показание принимают среднее значение последней строки.
Тепловая нагрузка на аппарате во время измерения должна быть измерена в соответствии с настоящим стандартом и рассчитана по
уравнению (15). Чтобы определить тепловую нагрузку во время измерения, расход газа за все время измерения определяют поверенным газовым счетчиком.
Если аппарат является одноступенчатым генератором тепла, то должны быть зарегистрированы значения тепловой нагрузки, мощности излучения и выбросов сгорания при номинальной тепловой нагрузке.
В случае двухступенчатого или модулируемого теплогенератора с зональным управлением должны быть зарегистрированы значения тепловой нагрузки, мощности излучения, теплового КПД и выбросов при сжигании при номинальном подводимом тепле и минимальном подводимом тепле (если применимо).
7.5 Расчет коэффициента излучения
7.5.1 Расчет тепловой мощности
Фактическую тепловую мощность аппарата Qm, Вт, при измерении объемного расхода газа V в м3/ч, рассчитывают по формуле

(13)
где Qm - фактическая тепловая нагрузка по отношению к фактической высшей теплотворной способности, Вт;
Vmeas - измеренный объемный расход газа с учетом влажности, температуры и давления по манометру, м3/ч;
Hi(actual) - фактическая теплотворная способность поверочного газа в МДж/м3;
tg - температура газа на датчике в градусах Цельсия, °C;
pg - давление газа на входе в измерительное устройство, Па;
pa - атмосферное давление, измеренное во время испытания, Па;
pw - давление насыщенного пара испытательного газа, Па, при температуре
tg (см. информацию о расчете в
6.2.2.1). Для сухого газа
pw = 0 Па.
Примечание - Тепловую мощность определяют объемным расходом газа при нормальных условиях и высшей теплотворной способности газа, использованного для испытания. Уравнение не соответствует приведенному в
6.2.2 уравнению для расчета номинальной подводимой теплоты, которое не подходит для данного случая.
7.5.2 Расчет мощности излучения
Выходная мощность излучения
Q(R)M соответствует сумме всех произведений между площадями поверхностей отдельных узловых модулей и среднеарифметическим измеренных значений плотности излучения в четырех узловых точках, образующих поверхность этого измерительного модуля (см.
рисунки 1 и
11).
Интенсивность теплового излучения Eij, Вт/м2, измеренную в узловых точках, рассчитывают по формуле

(14)
где U - напряжение датчика, мкВ;
Uc - поправка узла в мкВ - см.
7.5.2.1;
S - чувствительность измерителя излучения в мкВ/(Вт/м2);
c - постоянная для компенсации возможного смещения.
Если Eij < 0, делается поправка на Eij = 0.
Если коррекция узла не требуется, Uc = 0.
Среднюю плотность излучения для измерительного модуля

, Вт/м
2, измеренную в узловых точках, рассчитывают по формуле

(15)
где

и

- координаты узловых точек измерительной решетки.
Выходную мощность излучения Q(R)M, Вт, рассчитывают по формуле

(16)
где
Fij - площадь измерительного модуля (см.
рисунок 3), м
2;

- средняя плотность излучения для измерительного модуля
Fij, Вт/м
2.
7.5.2.2 Обработка отрицательных показаний излучения
Измеритель излучения иногда может показывать небольшие отрицательные показания в состоянии покоя в пределах плоскости измерения из-за небольшого количества тепла, выделяемого внутренними компонентами измерителя радиации, и других небольших перепадов температур. В процессе измерения может наблюдаться небольшое отклонение этого измерения в сторону более отрицательных показаний. Поскольку эти отрицательные измерения связаны с местными обстоятельствами (такими как уровень излучения и производительность системы охлаждения), в случае значительных изменений отрицательных результатов измерений можно внести корректировку в метод измерения.
До и после измерения каждого столбца решетки (см.
рисунок 11) в опорной строке решетки выполняется эталонное измерение. Строка эталонной решетки - это первая строка, выходящая за пределы 1% измерения. Первое измерение в строке опорной решетки в позиции (1,1) считается нулевой плоскостью. Поправку на каждый узел решетки рассчитывают по формуле

(17)
где U(c) - корректирующее напряжение для каждого узла в мкВ;
U - напряжение датчика, мкВ;
n - количество столбцов сетки.
7.5.2.3 Коррекция измеренной мощности излучения по поглощению излучения H2O и CO2
Мощность излучения теплогенератора, регистрируемая измерителем излучения, частично определяется H2O и CO2 как компонентами воздушной прослойки между теплогенератором и датчиком.
Скорость поглощения определяется:
a) средней температурой излучающей поверхности аппарата;
b) геометрическим размером теплогенератора, видимого через отверстие радиометра;
c) концентрацией H2O в воздухе;
d) концентрацией CO2 в воздухе;
e) суммарной мощностью излучения, зарегистрированной измерителем излучения;
f) характерным расстоянием между устройством и датчиком.
Поправочный коэффициент поглощения или общий коэффициент передачи

рассчитывают с использованием расчетного метода по
приложению L.
7.5.3 Расчет коэффициента излучения
7.5.3.1 Общие положения
Коэффициент излучения аппарата RF или системы вычисляют по формуле

(18)
при этом

(19)
где RF - коэффициент излучения аппарата;
Q(R)c - мощность излучения при нормальных условиях (в сухом воздухе), Вт;
Q(R)M - измеренная мощность излучения, Вт;
Qm - измеренная тепловая нагрузка, Вт;

- суммарный коэффициент передачи.
7.5.3.2 Коэффициент излучения при номинальной подводимой теплоте, RFnom
Коэффициент излучения при номинальной подводимой теплоте RFnom рассчитывают как отношение между мощностью излучения при номинальной тепловой нагрузке и тепловой нагрузкой (на основе теплотворной способности газа). Для аппаратов с зональным управлением должны быть измерены максимальные и минимальные значения тепловой нагрузки.
7.5.3.3 Коэффициент излучения при минимальной тепловой нагрузке RFmin
Для аппаратов с плавным или двухступенчатым регулированием необходимо также определить коэффициент излучения при минимальной тепловой нагрузке RFmin.
Коэффициент излучения при минимальной тепловой нагрузке рассчитывают как отношение мощности излучения при минимальной тепловой нагрузке к измеренной тепловой нагрузке (исходя из теплотворной способности газа).
7.6 Определение теплового КПД
7.6.1 Общие условия испытаний
Для аппаратов или систем типов B и C тепловой КПД определяют методом потерь отработавших газов путем определения концентрации CO
2 (или O
2) и температуры воздуха на входе и температуры продуктов сгорания. Для аппаратов типа A следует при необходимости на выходе из установки установить вертикальную трубу отвода дымовых газов длиной 1 м, а термический КПД аппарата должен быть проверен так же, как и для аппаратов типа B. Помещение для испытаний должно соответствовать требованиям
7.2.
Установка аппарата или системы должна соответствовать требованиям, указанным в
7.3.1.
Настройка аппарата или системы должна соответствовать требованиям, указанным
7.4.1.
Концентрацию CO2 (или O2, где применимо) и температуру продуктов сгорания измеряют с помощью подходящего чувствительного датчика, включая устройство для измерения температуры в канале продуктов сгорания.
Скорость отбора продуктов сгорания для измерения температуры составляет около 100 дм
3/ч (100 л/ч). Соответствующие датчики для различных типов отвода дымовых газов приведены в
приложении M.
7.6.2 Проведение испытаний
После того, как аппарат был установлен и отрегулирован в соответствии с
7.6.1, он должен работать до тех пор, пока не будет достигнуто состояние равновесия. После этого следует измерить температуру и концентрацию CO
2 в продуктах сгорания и количество воздуха для горения.
Расход газа определяют путем подсчета серии оборотов газового счетчика (целое число) в течение периода не менее 100 с.
Допустимая погрешность при определении теплового КПД, рассчитанного по измеренным значениям, должна составлять максимум +/- 2%. Допустимые погрешности измерения приведены в
приложении Q.
7.6.4 Дополнительные испытания двухступенчатых, многоступенчатых или модулируемых аппаратов
В случае двухступенчатых, многоступенчатых или модулируемых аппаратов необходимо провести дополнительные испытания по определению теплового КПД, как минимум, на требования, указанные в
7.6.1 -
7.6.3.
Примечание - При работе аппарата с периодически неустойчивой тепловой нагрузкой или соответствующих колебаний теплового КПД тепловой КПД с течением времени можно определить, взяв 100 показаний, равномерно распределенных в течение периода. Среднее из этих значений представляет собой окончательное измеренное значение для дальнейших процедур в соответствии с настоящим стандартом.
7.6.5 Расчет теплового КПД
Тепловой КПД (на основе высшей теплотворной способности) в процентах от неконденсируемого аппарата с номинальной и минимальной тепловой нагрузками, указанными изготовителем для соответствующего типа газа, вычисляют по следующим формулам:
для бутана
G20

(20)
G25

(21)
G30

(22)
для пропана
G31

(23)
где

- тепловой КПД, связанный с высшей теплотворной способностью (GCV);
% CO2 - содержание CO2 в продуктах сгорания, %;

- средняя температура воздуха для горения в градусах Цельсия, °C;

- средняя температура продуктов сгорания в градусах Цельсия, °C.
Вывод уравнений основан на процедуре, указанной в
приложении N.
Тепловой КПД на основе теплоты сгорания (NCV) вычисляют с помощью формулы

(24)
7.7.1 Общие сведения
Ввиду сложности испытаний рекомендуется представлять результаты испытаний в протоколе испытаний.
Примечание -
Приложение K содержит образец отчета об испытаниях.
7.7.2 Отредактированный образец отчета об испытаниях
Примечание -
Приложение L содержит отредактированный пример отчета об испытаниях.
8 Требования к тепловой эффективности (рациональное использование энергии)
Метод испытаний для определения радиационного фактора и теплового КПД трубчатых нагревателей и системы трубчатых нагревателей представлены в
разделе 7.
Расчеты для сезонной степени использования устройств указаны в
8.2.
8.2 Требуемая сезонная годовая эффективность
8.2.1 Общие сведения
При определении сезонной годовой эффективности учитывают следующие влияющие факторы:
a) коэффициент излучения при номинальной и минимальной тепловых нагрузках;
b) тепловой КПД при номинальной и минимальной тепловых нагрузках;
c) использование постоянного запальника (если есть);
d) потребление электроэнергии;
e) возможность регулирования тепловой мощности.
Сезонная эффективность обогрева помещения

газовых лучистых обогревателей и радиационных трубчатых газовых систем, используемых как локальные обогреватели, должна быть не менее 74%.
8.2.2 Расчет сезонной эффективности обогрева помещений
8.2.2.1 Общие положения
Сезонную эффективность обогрева помещений

, %, вычисляют по формуле

(25)
| | ИС МЕГАНОРМ: примечание. Текст дан в соответствии с официальным текстом документа. | |

- сезонная эффективность обогрева помещения в активном режиме, %;
F(1) - поправочный коэффициент, учитывающий отрицательный вклад в сезонную эффективность обогрева помещений за счет вкладов, скорректированных с учетом вариантов регулирования мощности, %;
F(4) - поправочный коэффициент, учитывающий отрицательный вклад в сезонную эффективность обогрева помещений от потребления электроэнергии на собственные нужды, %;
F(5) - поправочный коэффициент, учитывающий отрицательный вклад в сезонную эффективность обогрева помещений от потребления энергии постоянной пилотной горелкой (если таковая имеется), %.
Сезонную эффективность обогрева помещений в активном режиме

, %, вычисляют по формуле

(26)
где

- средневзвешенная сезонная тепловая эффективность, %;

- взвешенная эффективность теплового излучения, %.
Средневзвешенную сезонную тепловую эффективность

, %, вычисляют по формуле

(27)
где

- тепловой КПД при номинальной подводимой теплоте на основе GCV, %;

- тепловой КПД при минимальной тепловой нагрузке на основе GCV, %;
Fenv - потери оболочки темного излучателя, %.
Если инструкция по монтажу предписывает установку горелки трубчатого нагревателя в отапливаемом внутреннем помещении, потери оболочки равны нулю (0).
Если инструкции по установке допускают установку горелки трубчатого нагревателя вне отапливаемой зоны, а горелка трубчатого нагревателя монтируется вне обогреваемой зоны, коэффициент потерь оболочки зависит от теплопередающей способности оболочки горелки в соответствии с
таблицей 11.
Таблица 11
Коэффициент потерь корпуса горелки
Теплопроводность оболочки (U), Вт/м2·К | Коэффициент потери оболочки, % |
U <= 0,5 | 2,2 |
0,5 < U <= 1,0 | 2,4 |
1,0 < U <= 1,4 | 3,2 |
1,4 < U <= 2,0 | 3,6 |
2,0 > U | 6,0 |
Эффективность теплоотдачи трубчатого нагревателя

, %, вычисляют по формуле

(28)
где RFS - взвешенный сезонный коэффициент излучения.
Для индивидуальных трубчатых нагревателей коэффициент излучения RFS вычисляют по формуле

(29)
где RFnom - коэффициент излучения трубчатого нагревателя при номинальной тепловой нагрузке;
RFmin - коэффициент излучения темного излучателя с минимальной тепловой нагрузкой.
Для систем трубчатого нагревателя коэффициент излучения
RFS вычисляют по
формуле (30)

(30)
где RFnom,i - коэффициент излучения темного сегмента радиатора при номинальной тепловой нагрузке;
RFmin,i - коэффициент излучения темного сегмента радиатора с минимальной тепловой нагрузкой;
Qin,heater,i - тепловая нагрузка сегмента излучающей трубы на основе GCV, кВт;
Qin,system - тепловая нагрузка всей системы трубчатого нагревателя на основе GCV, кВт.
Уравнения (28) и
(30) применимы к системам трубчатых нагревателей только в том случае, если конструкция горелок, радиационных труб и отражателей, используемых в отдельных сегментах системы трубчатых нагревателей, а также настройки, определяющие производительность сегмента трубчатого нагревателя, идентичны параметрам конструкции и мощности однотрубного нагревателя.
8.2.2.2 Поправочный коэффициент F(1)
Поправочный коэффициент F(1) (см.
таблицу 12) учитывает способность аппарата регулировать тепловую мощность в зависимости от фактической потребности в тепле.
Таблица 12
Поправочный коэффициент F(1)
Если аппарат может регулировать тепловую мощность | Если F(1) вычисляют как | С ограничениями: |
Одноступенчатый | F(1) = 5,0% | - |
Двухступенчатый | | 2,5% <= F(1) <= 5,0% |
Модулируемый | | 0% <= F(1) <= 5,0% |
где Qin nom - номинальная тепловая нагрузка, кВт;
Qin min - минимальная тепловая нагрузка, кВт.
8.2.2.3 Поправочный коэффициент F(4)
Поправочный коэффициент F(4), %, учитывает потребление вспомогательной энергии во время работы и в режиме ожидания.

(31)
где CC - коэффициент преобразования электрической энергии в первичную; текущее значение коэффициента CC для электроэнергии для местных обогревателей составляет 2,5;
elmav - потребляемая мощность при номинальной тепловой нагрузке, кВт;
elmin - потребляемая мощность при минимальной тепловой нагрузке, кВт. Если блок не имеет регулировки мощности, необходимо использовать потребляемую мощность при номинальной подводимой теплоте;
elsb - потребляемая мощность в дежурном режиме, кВт.
8.2.2.4 Поправочный коэффициент F(5)
Поправочный коэффициент F(5), %, учитывает потребление энергии запальной горелки с постоянным пламенем зажигания.

(32)
где Qpilot - потребляемая мощность пилотной горелки, кВт. Для аппаратов без постоянного контроля запальной горелки Qpilot равно 0 (ноль);
Qin,nom - номинальная тепловая мощность, кВт.
Аппараты должны быть спроектированы и изготовлены таким образом, чтобы они могли безопасно эксплуатироваться и не представляли опасности для людей, домашних животных или имущества при нормальном использовании. Эта опасность должна быть выражена через риски, которые считаются неотъемлемыми рисками, связанными со сжиганием (использованием) газа и с отоплением помещений.
В настоящем стандарте представлены на рассмотрение риски аппаратов для известных технических решений.
Для технических решений, не предусмотренных настоящим стандартом или другими гармонизированными стандартами, касающимися газовых теплогенераторов, должна быть проведена надлежащая оценка риска и включена в техническую документацию для выявления рисков и принятия решения о необходимых мерах по устранению этих рисков.
При выборе наиболее подходящих решений оценка в технической документации должна основываться на следующих принципах в порядке, указанном ниже:
a) устранение или уменьшение рисков, насколько это возможно (безопасное проектирование и изготовление);
b) применение необходимых мер предосторожности в отношении рисков, которых невозможно избежать;
c) информирование пользователя об остаточных рисках из-за неадекватности применяемых мер защиты и, при необходимости, о любых требуемых специальных мерах предосторожности.
Процесс оценки риска и отклонения, лежащие в основе допущений в этой оценке, должны быть зафиксированы в технической документации.
10 Маркировка и инструкции
10.1 Маркировка аппарата и упаковки
10.1.1 Обозначение
Системы обозначаются как:
a) их категория;
b) номинальная нагрузка или диапазон регулируемых нагрузок;
c) тип удаления продуктов сгорания.
10.1.2 Табличка с данными
Блок горелки аппарата должен иметь одну или несколько идентификационных табличек и/или наклеек, которые постоянно прикреплены таким образом, чтобы монтажник мог их видеть и прочитать нанесенную на них информацию.
Таблички и/или наклейки аппаратов должны содержать, как минимум, следующую информацию, нанесенную на постоянной этикетке:
a) наименование или товарный знак производителя.
Примечания
1 В качестве опознавательного знака производителя допускается штрих-код;
2 "Производитель" означает организацию или компанию, которая берет на себя ответственность за изделие;
b) торговая марка или торговое обозначение аппарата;
c) модель аппарата;
d) маркировка знаком соответствия EAC и другие маркировки, требуемые по закону, в том числе идентификационный номер нотифицированного органа по сертификации и две последние цифры года, в котором нанесена маркировка;
e) серийный номер, желательно с указанием года изготовления;
f) страна(ы) прямого назначения, обозначение символами по ГОСТ 7.67;
| | ИС МЕГАНОРМ: примечание. Текст дан в соответствии с официальным текстом документа. | |
g) категория(и) аппарата в соответствии со страной(ами) прямого назначения. Категории должны быть указаны в соответствии с настоящим стандартом, например II2H3P. Если необходимо, должен использоваться символ "cat";
h) тип газа с указанием давления газа и/или парой давления газа, на которую настроен аппарат, в мбар (например, G20 - 20 мбар). При необходимости для обозначения давления подключения газа используют символ p.
Если требуется регулировка аппарата, при переключении с одного давления на другое давление в диапазоне пары давлений третьего семейства, достаточно указать давление текущей настройки аппарата;
| | ИС МЕГАНОРМ: примечание. В официальном тексте документа, видимо, допущена опечатка: п. 4.3 отсутствует. | |
i) тип дымохода в соответствии с 4.3 (например, тип A1);
j) номинальная тепловая мощность Qn, кВт, и/или диапазон номинальной тепловой мощности для аппарата с зональным регулированием или регулируемой тепловой нагрузкой, с указанием символа расчета по низшей или высшей теплотворной способности газа (например, Qn = 10,5 - 21,0 кВт·Hi).
Примечание -

можно использовать, когда дана тепловая нагрузка
Qn нескольких горелок;
k) для регулируемых аппаратов давление подачи газа к горелке, мбар, для каждого семейства газов или группы газов, для которых используется аппарат, а также с учетом минимальной настройки (если применимо);
l) характер и напряжение используемого тока, а также используемый максимальный ток (в В, А, Гц и кВт) для всех условий подачи электрического тока и класса электрической защиты в соответствии с
ГОСТ 14254 (например 230 В; 50 Гц; 0,1 А; 30 Вт; IP20);
m) класс NO
x аппарата в соответствии с
6.3.3 (например, класс NO
x 1).
Не допускается размещение любой другой информации на корпусе аппарата, если это вносит неясности в отношении текущего состояния настройки аппарата, соответствующей категории/категорий аппарата и страны/стран назначения.
Стойкость маркировки должна быть подтверждена испытанием по
7.14 ГОСТ IEC 60335-1-
2015.
10.1.3 Прочая маркировка
При поставке аппарат должен иметь на видном месте, по возможности рядом с паспортной табличкой, постоянно прикрепленную табличку с указанием типа и давления семейства газов, или группы газов, для которой установлено приложение. Эта информация может быть размещена на табличке.
Кроме того, аппарат должен иметь подходящую этикетку или постоянно прикрепленную наклейку и содержать следующий нестираемый текст: "Аппарат должен быть установлен в соответствии с действующими нормами и правилами подключения и установки. Аппарат использовать только в хорошо проветриваемых помещениях. Перед установкой и эксплуатацией аппарата ознакомьтесь с руководством по установке и эксплуатации".
Аппарат также должен содержать всю полезную информацию, касающуюся существующего электрооборудования и, в частности, используемые значения тока и напряжения, а также иметь нанесенный соответствующий код изоляции по
ГОСТ 14254.
Изготовитель также должен предоставить подходящую табличку или прочную этикетку с инструкцией для пользователя, которая должна быть нанесена нестираемым текстом и содержать информацию по безопасной эксплуатации устройства, включая действия по его запуску, зажиганию и выключению.
В легкодоступных и заметных местах на аппарате должны быть предусмотрены постоянные предупреждающие надписи, требующие, чтобы перед проведением сервисных и профилактических работ на аппарате он был выключен, а линия подачи газа отсоединена.
10.1.4 Маркировка упаковки горелки
На упаковке блока горелки должна быть как минимум следующая информация:
a) тип газа, давление и/или пара давлений, на которые настроен аппарат (например, G20 - 20 мбар). При необходимости для давления подключения газа следует использовать символ p. Если требуется вмешательство в аппарат для переключения с одного давления на другое в пределах пары давлений третьего семейства, следует указывать только давление, соответствующее текущей настройке аппарата;
b) категория (категории) оборудования по отношению к стране (странам) назначения в соответствии с
4.2 (например, II2H3P). При необходимости символ "Кат.";
| | ИС МЕГАНОРМ: примечание. В официальном тексте документа, видимо, допущена опечатка: п. 4.3 отсутствует | |
c) тип дымохода в соответствии с 4.3 (например, тип B23);
d) прямая страна(ы) назначения, для которой предназначен аппарат, обозначенная символами по ГОСТ 7.67;
Не допускается размещение любой другой информации на корпусе аппарата, если это вносит неясности в отношении текущего состояния настройки аппарата, соответствующей категории/категорий аппарата и страны/стран назначения.
10.1.5 Использование символов на системе и упаковке
10.1.5.1 Электропитание
Маркировка параметров электрического тока должна соответствовать
ГОСТ IEC 60335-1.
10.1.5.2 Тип газа
Чтобы представить все коды категорий, соответствующие настройкам прибора, следует использовать обозначение для эталонного газа, которое является общим для всех этих кодов, в соответствии с
таблицей 13.
Таблица 13
Тип газа | Обозначение газа | Соответствующий индекс категории |
| G110 | 1a |
G120 | 1b |
G130 | 1c |
G150 | 1e |
Второе семейство | G20 | |
G25 | |
Третье семейство | G30 | |
G31 | |
<a> Если при текущей настройке аппарат может использовать газ из разных групп, все эталонные газы, соответствующие этим группам, должны быть указаны. <b> Когда аппарат настраивается на газ G20. <c> Когда аппарат настраивается на газ G25. <d> Применимо только для аппаратов, которые нуждаются в перенастройке при переходе между G30 и G31, либо для аппаратов, которые требуют настройки и которые настраиваются на газ G30. <e> Применимо только для аппаратов, которые не нуждаются в перенастройке при переходе между G30 и G31, либо для аппаратов, которые настраиваются на газ G31. <f> Для аппаратов, которые нуждаются в настройке при переходе между G30 и G31, этикетка с данными по настройке на другой газ и другое давление пары давлений должна быть приложена в технических инструкциях. |
Чтобы соответствовать требованиям членов CEN, официально в дополнение к символу могут использоваться официальные средства идентификации соответствующих стран. Этот дополнительные виды перечислены в
приложении E.
10.1.5.3 Давление подачи газа
Давление подачи газа может быть выражено уникальным цифровым значением (в Па). Тем не менее, если необходимо объяснить данное значение, следует использовать символ p.
В соответствии с
4.2 категория также может быть указана со своим обозначением в соответствии с
ГОСТ 5542. Тем не менее, если требуется разъяснение этого обозначения, термин "Категория" может быть представлен как "Кат".
10.1.5.5 Дополнительная информация
Символы "Номинальная тепловая мощность горелки
Qn" и "Номинальная тепловая мощность всех горелок системы

" не являются обязательными, но упоминаются под заголовком "Предпочтительные", поэтому до исключения любого другого обозначения следует избегать использования ряда различных маркировок.
10.2.1 Общие сведения
Инструкции должны быть написаны на официальном языке (языках) страны (стран) назначения, которые указаны в системе, и должны применяться в этой стране или странах.
Если инструкции составлены на официальном языке, на котором говорят в более чем одной стране, страна или страны, в которых они применяются, должны обозначаться кодами по
10.1.5.4.
Инструкции для стран, отличных от указанных в системе, используют при условии, что в каждое руководство включено следующее предварительное замечание:
"Эти инструкции действительны только в том случае, если в системе указан следующий код страны. Если этот код отсутствует в системе, необходимо соблюдать технические инструкции, содержащие необходимую информацию о модификации системы в соответствии с условиями использования в стране".
10.2.2 Техническое руководство
10.2.2.1 Технические инструкции по установке и регулировке
В дополнение к информации согласно
10.1.2 технические инструкции могут содержать информацию, в которой следует указать, что устройство или система также сертифицированы для работы в странах, отличных от тех, которые указаны на устройстве
<1>.
--------------------------------
<1> Непрямая страна назначения.
Когда такая информация доступна, инструкции должны включать предупреждение о том, что изменения в системе и типе установки необходимы для безопасного и безошибочного использования аппарата в каждой из этих дополнительных стран. Это предупреждение повторяется на официальных языках каждой из этих стран. Кроме того, в инструкциях должно быть указано, как использовать информацию, инструкции и необходимые детали для безопасной и бесперебойной работы, полученные в соответствующих странах.
Технические инструкции по установке и регулировке предназначены для установщика.
Они должны поставляться вместе с устройством. Инструкции должны быть написаны ясным и простым языком, используемые выражения должны быть общеупотребительными. При необходимости текст должен сопровождаться диаграммами и/или фотографиями.
В технических инструкциях должно быть указано следующее: "Перед установкой необходимо убедиться, что местные условия распределения, тип газа и давление газа и настройка аппарата совпадают".
В технических инструкциях должны быть указаны:
a) тип подключения дымохода и правила установки в стране, в которой должен быть установлен аппарат (если такие правила существуют); кроме того, должны быть указаны размеры выхода дымовых газов для установки в странах без специальных правил;
b) конструкция системы удаления продуктов сгорания;
c) метод сборки трубной секции или трубной секции (трубок) и, в частности, тип соединения трубной секции (секций) и все, что будет использоваться, уплотнительные материалы, если они необходимы для обеспечения герметичности;
d) использование и расположение терморегуляторов, датчиков температуры и других устройств контроля;
e) установка устройства или системы, включая минимальные зазоры вокруг системы и ее POCED (устройства типов B4, B5, C1 и C3); при необходимости информация об изоляции или рукавах и минимальной высоте подвеса над землей, которая должна соответствовать национальным правилам установки;
f) порядок установки POCED (устройств типов B4, B5, C1 и C3), включая необходимые несущие элементы, способ крепления к зданиям и декларацию, что POCED выдерживает собственный вес;
g) отвод выхлопных газов, включая максимальное и минимальное эквивалентные сопротивления POCED после каждого вентилятора.
Минимальное и максимальное эквивалентные сопротивления соответствуют поставляемым POCED или указываются изготовителем с минимальным и максимальным гидравлическими сопротивлениями. Особое внимание следует уделять сопротивлению потоку каждого ветрозащитного устройства, поставляемого или описанного производителем;
h) потери тепла с дымовыми газами, если необходимо (см.
приложение N);
i) требования к подаче воздуха и отводу продуктов сгорания;
j) источник питания и электрические соединения, включая правильное заземление и полные схемы соединений и проводки;
k) подача газа и газовые соединения, необходимость гибкого газового шланга для компенсации теплового расширения прибора, если это применимо;
l) инструкции по настройке устройств контроля газа/воздуха (если разрешено) или других устройств управления, инструкции по проверке устройств и меры, которые необходимо принять в случае неправильных настроек (если применимо) и, в частности, четкие указания относительно процесса настройки, необходимых средств и их точность, а также объяснения последствий неточных настроек;
m) порядок ввода в эксплуатацию устройства или системы.
В частности, в случае устройств, которые предполагается эксплуатировать без отвода дымовых газов, требования к вентиляции должны быть указаны в технической документации, поставляемой вместе с правилами установки страны, в которой должно быть установлено устройство, а также в
[4]. Для систем с несколькими горелками технические инструкции должны также содержать следующую информацию:
n) средства проверки "обесточенного" состояния реле давления не реже одного раза в 24 часа;
o) максимальное количество горелок и горелочных ответвлений в системе;
p) минимальные технические характеристики радиационных труб, которые будут использоваться в системе;
q) технические характеристики вентилятора(ов) в системе;
r) сведения о средствах определения давления всасывания на каждом участке трубы и, если требуется, установка испытательных центров для этой цели;
s) схема системы;
t) способ удаления любого конденсата, который может образовываться при работе системы;
u) диапазон рабочего давления всасывания, в котором может работать каждая горелка.
В частности, инструкции должны включать детали регулировки любых ограничителей, включенных в патрубки системы. Эта процедура должна включать средства для того, чтобы убедиться, что горелочные устройства работают при рабочем давлении всасывания, указанном в технической документации.
Инструкции должны содержать примечание о том, что устройство или система не могут быть изменены вне технических инструкций без консультации с производителем.
Вместе с устройством должна быть предоставлена вся необходимая информация для проектирования устройства или системы и, в частности, для безопасной работы устройства или системы во всех нормальных рабочих конфигурациях.
В инструкциях должно быть указано, что после установки при всех возможных нормальных рабочих конфигурациях установщик должен проверить функции в соответствии с техническими инструкциями.
Кроме того, инструкция по установке должна содержать полную схему подключения горелки и таблицу технических данных.
Перечень технических данных должен содержать:
a) номинальную тепловую мощность агрегата и, если применимо, диапазон уровней теплопотребления для агрегатов с зональным регулированием, двухуровневым, многоуровневым или модулирующим тепловыделением в кВт (NCV);
b) расход газа каждой пилотной горелки;
c) тип используемого газа (например, индекс Воббе);
d) давление горелки, а для блока горелок с регулируемым регулятором давления газа - давление газа, которое должно быть измерено перед горелкой, но после любого регулирующего устройства, в зависимости от типа используемого устройства;
e) размеры форсунок;
f) количество форсунок;
g) размеры газового подключения;
h) размеры выхода дымовых газов;
i) физические размеры;
j) вес;
k) детали электродвигателя;
l) смещение нагнетателя;
m) другую техническую информацию, которая может быть запрошена установщиком или пусконаладчиком;
n) максимальное и минимальное давление всасывания, на которое рассчитаны горелки.
В инструкции по установке должно быть указано, что непосредственно возле каждого блока горелки должен быть установлен кран подключения устройства, который можно закрыть, если необходимо отсоединить всю горелку от газовой линии для обслуживания или ремонта.
Кроме того, в инструкциях к устройству с пламегасителем должен быть указан метод испытаний, с помощью которого можно обнаружить утечку выхлопных газов из регулятора потока.
10.2.2.2 Руководство по эксплуатации и техническому обслуживанию
Инструкции по эксплуатации и техническому обслуживанию должны сопровождать аппарат или систему. Эти инструкции, предназначенные для пользователя, должны содержать всю информацию, необходимую для безопасного и разумного использования аппарата. Эти инструкции могут быть объединены с инструкциями по установке.
Инструкция должна быть написана ясным и простым языком, используемые выражения должны быть общеупотребительными. При необходимости должны быть представлены схемы и/или фотографии для иллюстрации текста.
В инструкциях также должна содержаться информация об уходе и безопасной эксплуатации аппарата, включая детали процесса розжига и выключения.
В инструкциях должны быть указаны любые ограничения на использование аппарата.
Инструкция по эксплуатации должна содержать как минимум следующую информацию:
a) что аппарат или система будут устанавливаться и обслуживаться только квалифицированным установщиком;
b) что в случае необходимости потребуется квалифицированный монтажник;
c) предупреждения о неправильном использовании;
d) инструкции по уходу и безопасной эксплуатации;
e) инструкции по очистке и уходу за устройством;
f) процедуры запуска, работы и остановки;
g) ограничения на использование устройства;
h) запрет на манипуляции с опечатанными компонентами;
i) указание рекомендуемой периодичности технического обслуживания и объема этих действий, предусмотренный изготовителем рекомендуемый объем этих мер;
j) краткая ссылка на правила установки (подключение газа, вентиляция) страны, в которой устройство установлено;
k) меры безопасности, которые необходимо принять, если устройство больше не работает должным образом.
Руководство по техническому обслуживанию должно содержать всю необходимую информацию для правильного обслуживания аппарата. Инструкции должны быть отправлены всем квалифицированным установщикам по запросу. Инструкции могут быть частью технического руководства по установке.
Инструкции по техническому обслуживанию должны содержать, как минимум, следующее:
1) объем и периодичность программы технического обслуживания, рекомендованные изготовителем;
2) подробные сведения о специальных инструментах, необходимых для всех процедур технического обслуживания;
3) порядок более сложной разборки или доступа к обслуживаемым частям, или компоненты;
4) полные функциональные электрические схемы и принципиальные схемы;
5) краткий перечень деталей с артикульными номерами, по данным производителя, так как может потребоваться замена деталей в течение срока службы аппарата;
6) инструкция также должна содержать примечание о том, что установка запасных частей, не указанных и не рекомендованных в руководстве по техническому обслуживанию, может быть выполнена по рекомендации производителя аппарата;
7) перечень устранения неисправностей должен быть включен в качестве помощи при обслуживании;
8) однолинейная или блок-схема, показывающая расположение регуляторов газа для более сложных дисплеев устройств;
9) окончательная проверка, особенно на наличие утечек газа;
10) ссылка на необходимость повторного ввода устройства в эксплуатацию после технического обслуживания.
10.2.2.3 Инструкции по переоборудованию
Инструкции по переоборудованию должны быть отправлены всем утвержденным установщикам по запросу. Однако они также могут быть частью инструкции по установке.
Детали, необходимые для перехода на другой тип газа, семейство газов, группу или другие значения давления газа, должны сопровождаться четкими и соответствующими инструкциями по замене деталей, а также по очистке, регулировке и проверке аппарата.
Кроме того, необходимо предоставить самоклеящуюся наклейку для крепления к блоку горелки с информацией о типе газа и давлении газа, для которого он настроен, и, если применимо, тепловой нагрузке, установленной при вводе в эксплуатацию.
В инструкциях по переходу на другие газы должно быть указано, что все соответствующие уплотнения при наладочных работах подлежат замене.
10.2.2.4 Инструкции по установке соединителей
Если соединения поставляют для интеграции с аппаратом, инструкции по настройке, эксплуатации и техническому обслуживанию соединений необходимо предоставить вместе с ними. Эти инструкции должны содержать требования согласно
10.2.2.1 и
10.2.2.2, если применимо.
Вся информация, содержащаяся в
10.1 и
10.2, должна быть указана на языке страны/стран, в которых устройство установлено. Теплотворную способность газов указывают в виде теплотворной способности или высшей теплотворной способности согласно нормам соответствующей страны.
10.4 Информационные требования
Следующая информация должна быть предоставлена с устройством в техническом руководстве и руководстве пользователя:
| | ИС МЕГАНОРМ: примечание. В официальном тексте документа, видимо, допущена опечатка: таблица M.1 отсутствует. | |
b) соответствующие инструкции по утилизации.
(справочное)
Примечание - Это приложение не распространяется на POCED (дымоходы).
A.1 Подключение дымоходов в разных странах
Таблица A.1 показывает национальные условия для диаметров дымоходов.
Таблица A.1
Стандартные диаметры дымоходов
Страна | |
AT | 60 | 70 | 80 | 90 | 100 | 110 | 120 | 130 | 140 | 150 | 160 | 180 | 200 | |
BE | |
BG | | | | | | | | | | | | | | |
CH | 60 | 70 | 80 | 90 | 100 | 110 | 120 | 130 | 140 | 150 | 160 | 180 | 200 | |
CY | |
CZ | |
DE | 60 | 70 | 80 | 90 | 100 | 110 | 120 | 130 | 150 | 200 | |
DK | |
EE | |
ES | |
FI | 90 | 100 | 110 | 130 | 150 | 180 | 200 | |
FR | 66 | 83 | 97 | 111 | 125 | 139 | 153 | 167 | 180 | |
GB | 76 | 102 | 127 | 153 | Металлические трубы (все допуски 0, -1) | |
GR | 60 | 70 | 80 | 90 | 100 | 110 | 120 | 130 | 150 | 180 | 200 | |
HU | | | | | |
IE | 76 | 102 | 127 | 153 | Металлические трубы (все допуски 0, -1) |
| 84 | 109 | 137 | 162 | Фиброцементные трубы (все допуски +/- 3) |
IS | |
IT | 60 | 80 | 100 | 110 | 120 | 150 | |
LT | |
LU | |
LV | |
MT | |
NL | 60 | 70 | 80 | 90 | 100 | 110 | 130 | 150 | 180 | 200 | |
NO | |
PL | 60 | 70 | 80 | 90 | 100 | 110 | 120 | 130 | 150 | 200 | |
PT | 60 | 85 | 90 | 95 | 105 | 110 | 115 | 120 | 125 | 130 | 135 | 145 | 155 | 205 | 255 | 305 | 355 |
SE | |
SI | 60 | 70 | 80 | 90 | 100 | 110 | 120 | 130 | 140 | 150 | 160 | 180 | 200 | |
SK | |
(справочное)
ОБЩЕПРИНЯТЫЕ СИСТЕМЫ АППАРАТОВ (ДЫМОХОДОВ)
В настоящем приложении приведены схемы аппаратов и соответствующие им варианты исполнения дымоходов.
B.1 Аппараты с одной горелкой
B.1.1 Аппараты типа B с вентилятором в контуре сгорания
1 - горелка
a) Тип B12
1 - горелка
b) Тип B13
Рисунок B.1 - Аппараты типов B12 и B13
1 - горелка
a) Тип B22
1 - горелка
b) Тип B23
Рисунок B.2 - Аппараты типов B22 и B23
1 - горелка
a) Тип B42
1 - горелка
b) Тип B43
Рисунок B.3 - Аппараты типов B42 и B43
1 - горелка
a) Тип B52
1 - горелка
b) Тип B53
Рисунок B.4 - Аппараты типов B52 и B53
B.1.2 Аппараты типа C с вентилятором в контуре сжигания
1 - горелка
a) Тип C12
1 - горелка
b) Тип C13
Рисунок B.5 - Аппараты типов C12 и C13
1 - горелка
a) Тип C32
1 - горелка
b) Тип C33
Рисунок B.6 - Аппараты типов C32 и C33
B.2 Системы теплогенерации с несколькими трубами
B.2.1 Система типа D
1 - горелка 1; 2 - горелка 2; 3 - патрубки; 4 - вентилятор
Рисунок B.7 - Общепринятая система D1
1 - дроссель; 2 - коллектор для сбора;
3 - отвод дымовых газов; 4 - вентилятор; 5 - горелка
Рисунок B.8 - Системы типа D
B.2.2 Система типа E
| | ИС МЕГАНОРМ: примечание. В официальном тексте документа, видимо, допущена опечатка: п. 4.3 отсутствует. | |
Примечание - На рисунке показана система типа B23, также рассматривается тип B22 (см. 4.3).
1 - дроссель; 2 - коллектор для сбора;
3 - отвод дымовых газов; 4 - горелка; 5 - вентилятор
Рисунок B.9 - Система типа E
B.2.3 Системы типа F
1 - дроссель; 2 - коллектор для сбора;
3 - отвод дымовых газов; 4 - дымосос; 5 - горелка;
6 - вентилятор
Рисунок B.10 - Система общего типа F
(справочное)
C.1 Преобразование в категории в пределах ограниченного диапазона индекса Воббе
Устройства одной категории могут продаваться как устройства другой категории, если они имеют более узкий диапазон индекса Воббе, соответствуют требованиям
5.1.1,
5.2.2,
5.2.3 и
5.2.6 и если статус модернизации страны (стран) назначения и информация на паспортной табличке соответствуют настройке.
Эту эквивалентность, как правило, признают без проведения новых испытаний устройства. Однако могут потребоваться дополнительные испытания с давлениями и испытательными газами, действующими в настоящее время в предполагаемой стране (или странах) назначения:
a) если давление подачи в стране, для которой испытано устройство, отличается от давления в предполагаемой стране назначения; или
b) если аппарат, оснащенный элементами предварительной настройки
<1>, которые могут быть опломбированы, был испытан в условиях исходной категории с испытательными газами, отличными от газов, используемых в соответствующей стране назначения; или
c) когда требования к регуляторам давления (см.
5.2.6), относящиеся к исходной категории, отличаются от требований к новой категории.
--------------------------------
<1> В
приложении C слова "предварительная настройка" относятся к предварительным регуляторам газа и опломбированным регуляторам первичного воздуха.
Во всех случаях дополнительные испытания в основном такие же, как указано в
6.1.5.1.
Примеры
1 Устройство категории I2E для G20 при 20 мбар может быть классифицировано как устройство категории I2H для G20 при 20 мбар. Однако, если давление отличается, проверки, указанные в 6.1.5.1, должны быть выполнены после замены форсунок, при необходимости.
2 Устройство категории I2E+ для G20 при 20 мбар может быть отнесено к категории устройств I2H для G20 при 20 мбар, если оно прошло соответствующие испытания, указанные в 6.1.5.1, после любой необходимой замены форсунки и после регулировки давления согласно 5.2.6.
C.2 Преобразование в категории с идентичным диапазоном индекса Воббе
Оборудование одной категории может продаваться как система другой категории, если она охватывает более узкий диапазон индекса Воббе, при условии, что выполняются требования
5.1.1,
5.2.2,
5.2.3 и
5.2.6, а статус модернизации соответствует стране(ам) назначения и информация на этикетке устройства соответствует настройке.
Эту эквивалентность признают, как правило, без необходимости проведения новых испытаний устройства. Однако могут потребоваться дополнительные испытания с давлениями и испытательными газами, действующими в настоящее время в предполагаемой стране (или странах):
a) если давление подачи в стране, для которой испытано устройство, отличается от давления в предполагаемой стране назначения; или
1) если аппарат, оснащенный элементами предварительной настройки
<2>, которые могут быть опломбированы, был испытан в условиях исходной категории с испытательными газами, отличными от газов, используемых в соответствующей стране назначения; или
2) когда требования к регуляторам давления (см.
5.2.6), относящиеся к исходной категории, отличаются от требований к новой категории.
Во всех случаях дополнительные испытания в основном такие же, как указано в
6.1.5.1.
Примеры
1 Аппарат категории I2E+ может быть отнесен к категории приборов категории I2Esi или I2Er, если он прошел соответствующие испытания, указанные в 6.1.5.1, с испытательным давлением и с испытательными газами, соответствующими категориям I2Esi или I2Er <2>, с необходимыми насадками и настройками. Эти настройки должны соответствовать требованиям 5.2.6.
2 Аппарат категории IEsi или I2Er может быть классифицирован как аппарат категории I2E+, если он выдерживает испытания, указанные в 6.1.5.1 для испытательных давлений категории I2E+ <2>. Кроме того, все регулировочные устройства запирают и пломбируют в соответствующих положениях согласно требованиям 5.2.6.
--------------------------------
<2> Если предполагаемой страной назначения является Бельгия, необходимо учитывать условия
приложения F.
C.3 Преобразование в категории с более широким диапазоном индекса Воббе
Аппарат одной категории может быть отнесен к категории аппаратов другой категории, охватывающей более широкий диапазон индекса Воббе, если он соответствует всем требованиям к конструкции предлагаемой новой категории.
Кроме того, аппарат должен быть испытан по
6.1.5.1 с испытательными газами и испытательными давлениями для предлагаемой новой категории. При необходимости должны быть соблюдены особые условия, указанные в
приложении F.
(справочное)
РАСЧЕТ МАССОВОГО РАСХОДА ДЫМОВЫХ ГАЗОВ
D.1 Массовый расход дымовых газов

(D.1)
где

- количество водяного пара, H
2O, кг/м
3;

- количество азота, N
2, кг/м
3;

- количество кислорода, O
2, кг/м
3;

- количество углекислого газа, CO
2, кг/м
3;
Qin - измеренная тепловая мощность, кВт;
Hi - низшая теплота сгорания, кВт·ч/м3.
Таблица D.1
Характеристики значений для расчетов
массового расхода дымового газа
Газ | Количество дымовых газов  , м 3/м 3 |  , % | Требуемый расход воздуха при  , м 3/м 3 | Низшая теплота сгорания Hi, кВт·ч/м3 |
сухих Vat | влажных Vaf |
Первое семейство | Группа A (G110) | 3,40 | 4,42 | 7,66 | 3,66 | 4,09 |
Группа b (G120) | 3,82 | 4,93 | 8,37 | 4,16 | 5,59 |
Второе семейство | Группа L/LL (G25) | 7,46 | 9,18 | 11,51 | 8,19 | 8,57 |
Группа H/E (G20) | 8,52 | 10,52 | 11,73 | 9,52 | 9,97 |
Третье семейство | Группа B/P (G30) (G31) | 28,45 | 33,45 | 14,06 | 30,95 | 34,39 |
21,80 | 25,80 | 13,80 | 23,80 | 25,90 |
D.2 Количество воздуха в дымовом газе
Количество воздуха в дымовом газе L, м3/м3, вычисляют по формуле

(D.2)
где Lmin - минимальная потребность в воздухе, м3/м3;
Vat - количество сухого дымового газа, м3/м3;

- вычисленное содержание двуокиси углерода, %, в сухих без примеси воздуха продуктах сгорания;

- концентрация двуокиси углерода, измеренная в пробе во время испытания на сгорание, %.
D.3 Коэффициент избытка воздуха в дымовом газе 
Коэффициент избытка воздуха в дымовом газе

вычисляют по формуле

(D.3)
где L - количество воздуха в дымовом газе, м3/м3;
Lmin - требуемый расход воздуха, м3/м3.
D.4 Количество водяного пара в дымовом газе
Количество водяного пара в дымовом газе

, кг/м
3, вычисляют по формуле

(D.4)
где Vat - количество сухого дымового газа, м3/м3;
Vaf - количество влажного дымового газа, м3/м3.
D.5 Количество азота в дымовом газе
Количество азота в дымовом газе

, кг/м
3, вычисляют по формуле

(D.5)
где

- коэффициент избытка воздуха в дымовом газе;
Lmin - требуемый расход воздуха, м3/м3.
D.6 Количество кислорода в продуктах сгорания
Количество кислорода

, кг/м
3, в продуктах сгорания вычисляют по формуле

(D.6)
где

- коэффициент избытка воздуха в продуктах сгорания;
Lmin - требуемый расход воздуха, м3/м3.
D.7 Сухое количество дымовых газов
Сухое количество дымовых газов Vt, кг/м3, с коэффициентом избытка воздуха вычисляют по формуле

(D.7)
где Vat - количество сухого дымового газа, м3/м3;

- коэффициент избытка воздуха в сухом дымовом газе равен 1;
Lmin - требуемый расход воздуха, м3/м3.
D.8 Количество двуокиси углерода в дымовом газе
Количество двуокиси углерода в дымовом газе

, кг/м
3, вычисляют по формуле

(D.8)
где

- количество азота в дымовом газе, кг/м
3;

- количество кислорода в дымовом газе, кг/м
3;
Vt - сухое количество дымового газа, кг/м3.
(справочное)
ОБОЗНАЧЕНИЕ ТИПОВ ГАЗА, ИСПОЛЬЗУЕМЫХ В РАЗНЫХ СТРАНАХ
Таблица E.1
Помощь в определении типов газа,
используемых в разных странах
Тип газа |
| G110 | G120 | G130 | G150 | G20 | G25 | G30 | G31 |
AT | | | | | Erdgas | | |
BE | | | | | Aardgas, Gaz naturel | Aardgas, Gaz naturel | Butaan, Butane | Propaan, Propane |
CH | | | | Propan-Luft Butan-Luft | Erdgas H | | Butan | Propan |
CY | | | | | | | | |
CZ | | | | | | | | |
DE | | | | | Erdgas E Wo(12,0 - 15,7) kWh/m3 0 °C | Erdgas LL Wo(10,0 - 13,1) kWh/m3 0 °C |  B/P |
Butan | Propan |
DK | Bygas | | | | Naturgas | | F-Gas | F-Gas |
EE | | | | | | | | |
ES | Gas manu facturado | | Aire pro panado | Aire metanado | Gas natural | | Butano | Propano |
FI | | | | | Maakaasu, Naturgas | | Butaani, Butan | Propaani, Propan |
| | | Air  / Air butane | | Gaz naturel Lacq | Gaz naturel Groningue | Butane | Propane |
GB | | | | | Natural Gas | | Butane | Propane |
GR | | | | | | | | |
HU | | | | | | | | |
IE | | | | | Natural Gas | | Butane | Propane |
IS | | | | | | | | |
IT | Gas di  | | | | Gas naturale/ Gas metano | | GPL | |
LT | | | | | | | | |
LU | | | | | | | | |
LV | | | | | | | | |
MT | | | | | | | | |
NL | | | | | | Aardgas | Butaan | Propaan |
NO | | | | | | | Butan | Propan |
PL | | | | | | | | |
PT | | | | |  Natural | | Butano | Propano |
SE | | | | | | | | |
SI | | | | | Zemeljski plin | |  naftni plin (UNP) |
Butan | Propan |
SK | | | | | | | | |
<1> Значение символов, соответствующих типам газа, должно быть подробно объяснено в технических инструкциях. Если производитель намеревается добавить дополнительные обозначения к маркировке на системе и упаковке, текст должен соответствовать описанию в настоящей таблице. В случае пары давления в семействе газа должны быть указаны оба описания. |
(обязательное)
F.1 Коэффициенты пересчета выбросов NOx
Таблица F.1
Пересчет величины выбросов NOx для газов первого семейства
Показатель | G110 |
Мг/кВт·ч | Мг/МДж |
O2 = 0% | | 1,714 | 0,476 |
| 0,834 | 0,232 |
O2 = 3% | | 2,000 | 0,556 |
| 0,974 | 0,270 |
<a> 1 ppm = 2,054 мг/м 3 и 1 ppm = 1 см 3/м 3. |
Таблица F.2
Пересчет величины выбросов NOx для газов второго семейства
Показатель | G20 | G25 |
мг/кВт·ч | мг/МДж | мг/кВт·ч | мг/МДж |
O2 = 0% | | 1,764 | 0,490 | 1,797 | 0,499 |
| 0,859 | 0,239 | 0,875 | 0,243 |
O2 = 3% | | 2,059 | 0,572 | 2,098 | 0,583 |
| 1,002 | 0,278 | 1,021 | 0,284 |
<a> 1 ppm = 2,054 мг/м 3 и 1 ppm = 1 см 3/м 3. |
Таблица F.3
Пересчет величины выбросов NOx для газов третьего семейства
Показатель | G30 | G31 |
мг/кВт·ч | мг/МДж | мг/кВт·ч | мг/МДж |
O2 = 0% | | 1,792 | 0,498 | 1,778 | 0,494 |
| 0,872 | 0,242 | 0,866 | 0,240 |
O2 = 3% | | 2,091 | 0,581 | 2,075 | 0,576 |
| 1,018 | 0,283 | 1,010 | 0,281 |
<a> 1 ppm = 2,054 мг/м 3 и 1 ppm = 1 см 3/м 3. |
F.2 Пересчет выбросов NOx
Блок-схема для пересчета выбросов NOx для эталонных условий мг/МДж, мг/кВт·ч и ppm (частей на миллион); сухой газ с определенным процентным содержанием O2.
Таблица F.4
Соотношение символов в настоящем стандарте
| | Разъяснение |
VCO,M | (CO)m | Измеренные концентрации в пробе, взятой во время испытаний на сгорание (ppm, V/V): |
| (NOx)m |
VNO,M | (NO)m |
| (NO2)m |
| (CO2) | Измеренные концентрации в пробе, взятой во время испытаний на сгорание (%, V/V) |
| (O2) |
| (CO2)n | Максимальное содержание двуокиси углерода в сухих продуктах сгорания без примеси воздуха (%, V/V) |
| (O2)md | Коррекция измеренного значения при частично сухой (mpd) пробе газа до сухой (md) пробы газа |
| (CO2)md |
y | y | Содержание водяного пара в сухой пробе газа (%, V/V) |
x | x | Эталонный уровень O2 в сухом газе (%) (например 3, % O2) |
X1 | X1 | Значение NOx при нейтральных условиях сгорания, сухой газ при 0% O2 (ppm, мг/Мдж или мг/кВт·ч) |
X5 | X5 | Значение NOx при x% O2 в сухом газе, в пересчете с нейтральных условий сгорания (ppm, мг/МДж или мг/кВт·ч) |
(справочное)
РАЗЛИЧНЫЕ ТИПЫ УПРАВЛЕНИЯ ТЕПЛОВОЙ МОЩНОСТЬЮ
На
рисунке G.1 представлено графическое представление различных методов управления тепловой мощностью, описанных в настоящем стандарте. См. также
6.1.6.7.
Рисунок
G.1 - Обзор различных типов
управления тепловой мощностью
(справочное)
КОНСТРУКЦИЯ ИЗМЕРИТЕЛЯ ИЗЛУЧЕНИЯ
H.1 Основные конструктивные особенности измерителя излучения
На
рисунке H.1 показаны основные конструктивные особенности измерителя излучения.
1 - канал водяного охлаждения; 2 - колесо-прерыватель;
3 - тахометр колеса-прерывателя; 4 - двигатель
колеса-прерывателя; 5 - камера для электрических соединений;
6 - розетка; 7 - вход продувки азотом; 8 - входное отверстие
измерителя радиации

;
9 - интегрирующая
позолоченная сфера (интегрирующая сфера); 10 - позолоченный
радиационный экран

;
11 - окно пропуска излучения
(Si) чувствительного датчика; 12 - датчик температуры
радиационного измерителя; 13 - пироэлектрический датчик;
14 - выход охлаждающей воды; 15 - вход охлаждающей воды
Рисунок
H.1 - Конструктивные особенности
измерителя излучения
Излучение поступает в радиометр через входное отверстие и отражается от внутренней поверхности интегрирующей сферы. Для того, чтобы на датчик не попадало прямое излучение, в центре встроенной сферы установлен горизонтальный позолоченный диск (затвор). Диаметр и толщина материала входного отверстия четко определены. Необходимо убедиться, что отверстие шара не повреждено. Внутренняя поверхность сферы и затенение из того же материала прошли пескоструйную обработку в соответствии с технической спецификацией и позолочены в процессе гальванического покрытия для диффузного отражения поступающего инфракрасного излучения. Излучение регистрируется пироэлектрическим детектором. Излучение, принимаемое пироэлектрическим детектором, регулярно прерывается колесом-прерывателем. Мощность детектора контролируется электроникой для обеспечения непрерывного сигнала в диапазоне от 0 до 10 В.
H.2 Технический проект измерителя радиации
На
рисунке H.1 показана подходящая конструкция измерителя радиации. Измеритель радиации состоит из интегрирующей сферы, состоящей из четырех латунных пластин, свинченных вместе в единый блок. Сфера имеет позолоченный экран, предотвращающий прямое попадание на пироэлектрический датчик прямого излучения теплогенератора.
Измеритель радиации имеет водяное охлаждение для защиты электроники, детектора и колеса-прерывателя. Температура этих частей должна поддерживаться на уровне (20 +/- 0,5) °C. Корпус измерителя радиации снабжен внутренними каналами для водяного охлаждения. Температура радиометра контролируется датчиком Pt100, расположенным рядом с зондом, с хорошей передачей тепла корпусу радиометра.
Внутренние части интегрирующей сферы должны постоянно продуваться азотом (99,9% N2) через внутренние отверстия с расходом примерно 25 л/ч в процессе измерения и калибровки для предотвращения попадания продуктов сгорания, пыли и конденсата на поверхность сферы и т.п.
H.3 Пироэлектрический детектор
Пироэлектрический детектор (LiTaO3) должен использоваться вместе с подходящим окном для пропускания излучения (окном из Si с защитным слоем) со спектральным диапазоном от 0,8 до 20 мкм. Пироэлектрический детектор используется в режиме напряжения. В этом режиме чувствительность детектора зависит от частоты вращения колеса прерывателя. Детектор обычно можно использовать в диапазоне частот от 30 до 4 кГц с положительной полярностью (мощность положительного сигнала увеличивается с увеличением освещенности). Для обеспечения точности диапазон частот должен находиться в пределах от 30 до 220 Гц, но желательно, чтобы он был как можно ниже. Частота, на которой колесо-прерыватель прерывает падающее излучение, должна быть отрегулирована таким образом, чтобы она не была кратна 50. Это необходимо для правильной работы усилителя с учетом частоты сетевого питания.
Чувствительность детектора может быть изменена частотой вращения колеса-прерывателя. Частота должна быть как можно более постоянной из-за влияния частоты колеса-прерывателя на выходной сигнал.
Установка и использование извещателя должны быть выполнены в соответствии с инструкцией по установке. Вся электропроводка должна быть защищена от электромагнитных помех.
H.4 Интегрирующая сфера
H.4.1 Общие положения
Для правильного обнаружения падающего излучения от устройств с разным размером и распределением температуры интегрирующая сфера должна иметь угловую чувствительность, очень близкую к свойству идеального косинуса закона косинуса Ламберта в диапазоне от 0,8 до 20 мкм. Это достигается соблюдением спецификаций, размеров и допусков, приведенных на
рисунке H.2 <1> и в последующем описании.
--------------------------------
<1> Характеристики поверхности и покрытия интегрирующей сферы с ее затемнением, а также размеры, положения и допуски, включая связанные с этим процесс изготовления и гальванического покрытия для обеспечения диффузного отражения и угловую чувствительность, близкую к закону идеального косинуса для инфракрасных излучателей, были разработаны в рамках исследовательского проекта PTB (Physikalisch-Technische Bundesanstalt) в 2015/2016 гг.
H.4.2 Размеры интегрирующей сферы
K = 5 H7 мм; L = 5 H7 мм; M = (0,2 +/- 0,01) мм;
N = (1,0 +/- 0,01) мм; P = 8,0 мм; R = 20(+0/-0,01) мм;
S = 19,44 мм; T = 14,92 мм; V = 22° +/- 0,1°; W = 6,52 мм;
X = 120° +/- 1°; Y = 3,0 мм; Z = 10,0 мм
Рисунок
H.2 - Размеры и допуски интегрированной сферы
H.4.3 Поверхность интегрирующей сферы
Для достижения как можно большего, 100%-ного, рассеянного отражения падающего излучения все внутренние поверхности интегрирующей сферы, включая затенение и затеняющие ножки, должны быть обработаны следующим образом:
a) все упомянутые поверхности должны быть сначала изготовлены с шероховатостью поверхности Rz 6,3;
b) на следующем этапе поверхности подвергаются пескоструйной обработке до Rz 60 корундом 650 - 800 мкм. Процесс пескоструйной обработки должен быть однородным;
c) следующим шагом является электролитическое покрытие [(8 +/- 1) мкм] никелем (Ni);
d) заключительный этап - электролитическое покрытие 2 - 3 мкм золотом (Au) 24 карата;
e) при окончательном контроле необходимо проверить, однородна ли шероховатость поверхности и находится ли она в пределах Rz 50 - 60 мкм.
К оцинкованным поверхностям нельзя прикасаться руками. Это разрушает свойства поверхности. Если требуется очистка, это должно быть сделано путем промывки пропанолом.
H.4.4 Испытание на угловую чувствительность интегрирующей сферы
Прежде чем использовать для тестирования лучистых обогревателей, готовую интегрирующую сферу необходимо проверить на угловую чувствительность к входящему излучению в диапазоне от 0,8 до 20 мкм, чтобы продемонстрировать, что она обеспечивает почти косинусоидальный сигнал для детектора. Это должно быть продемонстрировано отчетом об испытаниях, в котором фактический сигнал интегрирующей сферы сравнивается с идеальным сигналом в соответствии со свойством закона косинуса Ламберта. Из-за толщины стенки входного отверстия сферы 0,2 мм для определения фактического теоретического сигнала требуется небольшая зависящая от угла коррекция закона косинуса Ламберта. Эта поправка может быть определена математически на основе размеров конструкции на
рисунке H.2. Для этого инфракрасный излучатель, генерирующий инфракрасный сигнал от 0,8 до 20 мкм, должен перемещаться полукругами от 0° до 180° по двум ортогональным осям перед отверстием интегрирующей сферы. Измеряемые сигналы должны приблизительно соответствовать идеальной косинусоидальной кривой.
Отчет об испытаниях должен состоять из таблицы с результатами измерений и графика, показывающего фактическую кривую в сравнении со свойством закона косинуса Ламберта. Фактические сигналы должны удовлетворять требованию, чтобы коэффициент детерминации R2 был не ниже 0,94. В отчете об испытаниях указан несмываемый номер на интегрирующей сфере.
Рисунок H.3 - Результаты измерения угловой чувствительности
или интегрирующая сфера (образец)
Пространство под интегрирующей сферой, где расположены колесо-прерыватель и датчик, должно состоять из окрашенных в черный цвет неотражающих поверхностей с коэффициентом излучения более 0,98.
(справочное)
КАЛИБРОВКА ИЗМЕРИТЕЛЕЙ РАДИАЦИИ
I.1 Калибровка измерителей радиации
| | ИС МЕГАНОРМ: примечание. В официальном тексте документа, видимо, допущена опечатка: п. 7.4.3 отсутствует. | |
Измерители радиации должны быть откалиброваны с использованием так называемого черного тела. Интенсивность излучения внутри абсолютно черного тела (Вт/м
2) сравнивается с выходным сигналом (B) радиометра. Калибровочная кривая представляет собой прямую линию с небольшим смещением в системе координат (
y =
ax +
b), показывающую выходной сигнал (V) как функцию освещенности (Вт/м
2) (см.
рисунок I.7). Для калибровки радиометр должен работать в том же режиме, что и для измерения излучения под теплогенератором с использованием той же проводки, того же усилителя и других используемых компонентов. Настройки усилителя и колеса делителя также должны оставаться неизменными при калибровке и измерении под теплогенератором. Измеритель радиации должен быть полностью работоспособен во время калибровки, включая водяное охлаждение и продувку азотом для поддержания надлежащей температуры и расхода в соответствии с 7.4.3.
I.2 Устройство и метод калибровки абсолютно черного тела
I.2.1 Общие положения
В этом методе используется черное тело со сферической полостью из керамического материала с внутренним диаметром 300 мм, которое можно нагреть до температуры не менее 600 °C. Сферическая полость имеет отверстие (апертуру) того же диаметра, что и калибруемый радиометр.
На
рисунке I.1 показано схематическое изображение калибровочной печи черного тела, на
рисунке I.2 показан вид калибровочной печи снаружи и изнутри.
1 - калибровочная печь с термостатом; 2 - калибровочная
печь с термостатом защиты от перегрева; 3 - электрические
нагревательные элементы; 4 - керамический кронштейн;
5 - черное тело с датчиком фактической температуры;
6 - теплоизоляция; 7 - заглушка для отверстия;
8 - апертурная трубка; 9 - сферическая керамическая
полость; 10 - положение измерителя радиации
во время калибровки
Рисунок
I.1 - Схематическое изображение калибровочной печи
для абсолютно черного тела
1 - апертурная заглушка; 2 - датчик температуры абсолютно
черного тела (Pt100); 3 - калибровочная печь; 4 - апертурная
трубка; 5 - радиационный метр; 6 - механическая направляющая
для поддержки измерителя радиации; 7 - трубки водяного
охлаждения и продувки азотом; 8 - сферическая
керамическая полость; 9 - термостат духовки
Рисунок
I.2 - Пример калибровочной печи,
внешний и внутренний вид
Температура калибровочной печи (черного тела) определяется датчиком температуры Pt100 (см.
[6]), класса точности A, AA или 1/10B диапазона температур 0 °C - 600 °C, который размещается в середине черного тела.
Для калибровки радиометр вводится через отверстие в сферическую полость в черном теле (которое нагревается до заданной температуры и стабилизируется) так, чтобы передняя поверхность радиометра находилась на одном уровне с поверхностью внутренней сферической полости. Радиометр должен плотно входить в апертурную трубку с максимальной разницей диаметров 5 мм. Следует избегать любого контакта радиометра с горячей апертурной трубкой.
| | ИС МЕГАНОРМ: примечание. В официальном тексте документа, видимо, допущена опечатка: п. 7.4.3 отсутствует. | |
Излучение от внутренней горячей поверхности черного тела теперь передается на радиометр, который дает соответствующий выходной сигнал (V). Чтобы черное тело не остыло из-за более холодного воздуха из испытательной комнаты, керамическая заглушка отверстия должна быть удалена из отверстия как можно быстрее, а излучающее устройство должно быть помещено в отверстие в течение максимум 4 с. В соответствии с 7.4.3 продувка азотом должна быть достаточной только для продувки интегрирующей сферы и сведения к минимуму эффекта охлаждения черного тела во время калибровки.
Во время калибровки необходимо контролировать температуру измерителя радиации и выходной сигнал. Калибровочное значение усредняется при постоянной температуре радиометра с удовлетворительным постоянством в течение периода, превышающего 4 с.
I.2.2 Калибровка температуры при нормальных условиях
| | ИС МЕГАНОРМ: примечание. В официальном тексте документа, видимо, допущена опечатка: п. 7.4.3 отсутствует. | |
Калибровку при эталонных условиях 20 °C необходимо проводить в климатической камере. Температура должна быть установлена на проектную уставку 20,0 °C с погрешностью +/- 0,5 °C. Отверстие измерителя радиации должно быть закрыто, чтобы предотвратить попадание света или других источников излучения. Перед началом калибровки измеритель радиации должен быть помещен в калибровочное положение и стабилизирован в печи при температуре 20,0 °C в течение не менее 8 ч. После перевода измерителя радиации в рабочее состояние необходимо выдержать дополнительное время стабилизации температуры в течение 30 мин. Во время этой калибровки не должна течь охлаждающая вода, а поток азота должен соответствовать 7.4.3.
В качестве альтернативы калибровку можно выполнить в эталонных условиях, оставив радиометр в печи на ночь без циркуляции охлаждающей воды, чтобы обеспечить достижение устойчивого состояния. Поэтому измеритель радиации следует как можно глубже втолкнуть в печь. Температура может колебаться от 18 °C до 22 °C из-за условий комнатной температуры. В этом случае для калибровки необходимо использовать фактически измеренную температуру. После ввода измерителя радиации в эксплуатацию необходимо выдержать время стабилизации температуры еще 30 мин. Во время этой калибровки не должна течь охлаждающая вода, а поток азота должен соответствовать 7.4.3.
В качестве альтернативы также допустима следующая процедура: измеритель радиации должен быть помещен в помещение с комнатной температурой (20 +/- 5) °C. Поток азота должен соответствовать 7.4.3. Охлаждающая вода должна проходить через измеритель радиации с нормальным расходом, а температура воды должна быть установлена на номинальное заданное значение 20,0 °C с погрешностью +/- 0,5 °C. Измеритель радиации должен быть размещен плотно в цилиндрическом пространстве в изолированном корпусе из изоляционного материала с проводимостью не менее

и термическим сопротивлением не менее
R = 1,7 м
2К/Вт (например,

изоляционная пена или другой материал). См.
рисунок I.3 для примера такого корпуса. Как только дозиметр находится в рабочем состоянии, перед началом калибровки соблюдается время стабилизации температуры не менее 30 мин.
1 - изоляция с толщиной стенки 50 мм; 2 - изоляция
с толщиной стенки не менее 65 мм; 3 - размещение измерителя
радиации в цилиндрическом пространстве
(Изготовлен из экструдированного твердого пенополистирола

производства концерна BASF. Для других
материалов могут потребоваться другие размеры)
Рисунок
I.3 - Окно калибровки
альтернативных эталонных условий
На рисунке I.3 показано схематическое изображение возможного корпуса для калибровки эталонной температуры.
I.2.3 Температурная калибровка при более высоких температурах
Для темных излучателей достаточно калибровки до максимальной температуры черного тела 420 °C
<1>. Температура черного тела считается стабильной, если она не изменяется более чем на 0,5 °C в течение часа. Температура черного тела измеряется в центре сферы с помощью калиброванного датчика температуры с общей погрешностью [
T менее (300 +/- 3) °C и
T более 300 °C +/- 1% измерения] датчика и комбинации калибров.
--------------------------------
<1> По состоянию на 2016 г. этой температуры достаточно. В будущем для новых разработок может потребоваться более высокая максимальная температура для калибровки.
Для определения температуры абсолютно черного тела используется Pt100 (см.
[6]) с классом точности A, AA или 1/10B или лучше в диапазоне температур от 0 °C до 600 °C вместе с показанием не менее 0,1 °C и точностью +/- 0,05%. Датчик должен быть откалиброван с глубиной погружения не менее 25 см. Pt100 должен быть предварительно состарен производителем, чтобы обеспечить постоянный сигнал во времени. Требуется сертификат калибровки Pt100 в диапазоне от 20 °C до 550 °C, включая дисплей измерений. Если сертификат калибровки включает таблицу или кривую поправок, эту поправку необходимо использовать для определения фактической температуры абсолютно черного тела, необходимой для калибровки и расчета.
Для повышения точности измерений важно, чтобы ожидаемые измеренные значения соответствовали рабочему диапазону радиометра. Пример: если выходной диапазон измерителя излучения составляет от 0 до 10 В, самые высокие значения, ожидаемые во время измерения, должны находиться в верхнем выходном диапазоне (выше 70% от максимального показания). На практике это означает, что во время калибровки при 420 °C показания измерителя радиации должны быть выше 7 В.
Примечание - Черное тело

с температурой 420 °C обеспечивает такое же излучение, как темный излучатель

с локальной температурой трубки 650 °C.
Калибровка должна выполняться для темных излучателей со следующими температурами абсолютно черного тела (см.
таблицу I.1) и освещенностями. Допускается отклонение температуры на +/- 5% от запланированной температуры, если фактическая температура регистрируется и используется при расчете.
Таблица I.1
Калибровка трубчатых нагревателей
Температура абсолютно черного тела, °C | Освещенность, Вт/м2 |
20 | 0 |
200 | Примерно 2500 |
300 | Примерно 7000 |
420 | Примерно 12 000 |
I.2.4 Расчет калибровки
Интенсивность излучения E, Вт/м2 при температуре T (К), исходя из температуры измерителя излучения 20 °C, вычисляют по формуле Стефана-Больцмана

(
I.1)
где E - излучение калибровочной печи при температуре 20,0 °C, Вт/м2;
T - температура калибровочной печи (К);

, Вт/(м
2К
4).
Чувствительность при каждой температуре вычисляют по формуле

(
I.2)
где S - чувствительность радиометра, В/(Вт/м2);

- разница в освещенности, Вт/м
2;

- разница напряжения датчика, В.
Калибровку необходимо проводить во всем диапазоне освещенности трубчатого нагревателя. Это достигается путем калибровки при различных температурах абсолютно черного тела. Измерения должны быть выполнены не менее четырех раз для каждой температуры, и должно быть рассчитано среднее значение. Перед проведением измерений калибровочная печь и измеритель радиации должны находиться в устойчивом состоянии при каждой температуре измерения.
Чувствительность 1/
S для всего диапазона излучения определяют из этих индивидуальных данных чувствительностей 1/
S с помощью графических методов и статистических средств. Излучение отображается в зависимости от выходного напряжения измерителя радиации (см.
рисунок I.7) на диаграмме. Коэффициент корреляции задается наиболее подходящей прямой линией по формуле
y =
ax +
b (см.
I.6 для получения более подробной информации об используемом методе).
Прямая линия теоретически должна проходить через начальную точку. Из-за внешних воздействий на чувствительный элемент измерителя радиации (таких как тепло, выделяемое двигателем измельчающего колеса) будет небольшое смещение от начальной точки, измеренной при эталонных условиях 20,0 °C. Хотя это постоянный коэффициент, это смещение необходимо добавить к формуле y = ax как константу b, чтобы получить формулу y = ax + b. Калибровочная кривая дается наиболее подходящей прямой линией, выраженной в виде формулы
y = ax + b.
I.3 Подробная процедура калибровки в качестве отредактированного примера
I.3.1 Калибровочные измерения
Этап A. Калибровочное измерение начинают при нормальных условиях 20,0 °C в соответствии с
I.2.2. Фактическая температура черного тела, температура радиометра и показания напряжения радиометра собираются путем регистрации данных в течение 20 - 30 с. Этот процесс повторяется четыре раза, и определяются средние значения.
Шаг B. Калибровочную печь устанавливают на требуемую температуру калибровки до тех пор, пока она не стабилизируется (см. также
I.2.3). Апертурная пробка снимается и радиометр помещается в течение примерно 4 с. Собираются фактические показания температуры черного тела и радиометра, а также показания напряжения радиометра (предпочтительно путем регистрации данных). Апертурная трубка снова закрывается сразу же после удаления измерителя радиации, чтобы предотвратить слишком сильное падение температуры. Этот процесс повторяется не менее четырех раз, ожидая стабилизации калибровочной печи и радиометра между каждым измерением.
Примечание - На практике между измерениями требуется время стабилизации не менее 15 мин.
Шаг C. Шаг B повторяется для всех температур калибровки.
Шаг D. Калибровка завершается повторением шага A, чтобы убедиться, что во время калибровки не произошло дрейфа датчика. Среднее значение измерений A и D рассчитывается для определения среднего напряжения радиометра при стандартных условиях.
Регистрация данных должна быть начата до размещения радиометра. Это позволяет получать полезные данные с первых нескольких секунд после размещения измерителя радиации. Требуемые измерения позже выбираются из зарегистрированных данных. Достаточно скорости регистрации данных 510 считываний в секунду.
См.
рисунок I.4 (столбцы 1 - 4) для примера регистрации данных во время калибровочного измерения при 420 °C. Отображается только тот выбор, который необходимо применить.
Время, с | Температура печи, °C | Температура измерителя излучения, °C | Напряжение измерителя излучения, В | Выбор времени, с | Выбор средней температуры печи, °C | Выбор средней температуры измерителя излучения, °C | Выбор среднего напряжения измерителя излучения, В | Дополнительная информация |
1 | 2 | 3 | 4 | 5 | 6 | 7 | 8 |
| Мин. 4,0 | Мин. 19,8 Макс. 20,2 | Дата: | 29.09.2022 |
Диапазон температур: | 420 °C |
Данные калибровки: | 6,0 | 417,6 | 20,01 | 7,55500 | Имя файла: | 420-а |
| Частота колеса-прерывателя: | 60 Гц |
13,20 | 417,75 | 20,02 | 3,37988281 | | | | | Относительная влажность: | 64% |
13,34 | 417,75 | 20,04 | 3,87451172 | | | | | Температура в помещении: | 18 °C |
13,48 | 417,74 | 20,00 | 4,32714844 | | | | | Расход азота: | 7 л/ч |
13,62 | 417,74 | 20,01 | 4,84472656 | | | | | Блокировка регулировки усилителя |
13,76 | 417,73 | 20,02 | 5,37304688 | | | | | Фазы грубо: | 4 |
13,90 | 417,73 | 20,02 | 5,86425781 | | | | | Фаза точно: | 0 |
14,04 | 417,72 | 20,04 | 6,28808594 | | | | | Чувствительность: | 2 (10 мВ) |
14,18 | 417,72 | 20,03 | 6,65722656 | | | | | Константа времени: | C (300 мс) |
14,33 | 417,72 | 20,02 | 6,93847656 | | | | | S1: | 2 В |
14,47 | 417,71 | 20,03 | 7,15527344 | | | | | S2: | медленный |
14,61 | 417,71 | 20,02 | 7,30664063 | | | | | S3: | напряжение |
14,75 | 417,70 | 20,00 | 7,41308594 | | | | | Датчик: | sn800005 |
14,89 | 417,70 | 20,01 | 7,47753906 | | | | | Интегрирующая сфера: | AB002 |
15,03 | 417,69 | 20,01 | 7,52441406 | | | | | |
15,17 | 417,69 | 20,00 | 7,54980469 | 15,17 | 417,69 | 20,00 | 7,54980469 |
15,31 | 417,68 | 20,00 | 7,56445313 | 15,31 | 417,68 | 20,00 | 7,56445313 |
15,45 | 417,68 | 20,00 | 7,57031250 | 15,45 | 417,68 | 20,00 | 7,57031250 |
15,59 | 417,68 | 20,00 | 7,57519531 | 15,59 | 417,68 | 20,00 | 7,57519531 |
15,73 | 417,67 | 19,99 | 7,57910156 | 15,73 | 417,67 | 19,99 | 7,57910156 |
15,87 | 417,67 | 19,98 | 7,57519531 | 15,87 | 417,67 | 19,98 | 7,57519531 |
16,01 | 417,66 | 20,00 | 7,57324219 | 16,01 | 417,66 | 20,00 | 7,57324219 |
16,15 | 417,66 | 20,01 | 7,56933594 | 16,15 | 417,66 | 20,01 | 7,56933594 |
16,29 | 417,65 | 20,00 | 7,57031250 | 16,29 | 417,65 | 20,00 | 7,57031250 |
16,43 | 417,65 | 20,02 | 7,56640626 | 16,43 | 417,65 | 20,02 | 7,56640626 |
16,57 | 417,64 | 20,02 | 7,56054688 | 16,57 | 417,64 | 20,02 | 7,56054688 |
16,72 | 417,64 | 20,03 | 7,55664063 | 16,72 | 417,64 | 20,03 | 7,55664063 |
16,86 | 417,64 | 20,03 | 7,55566406 | 16,86 | 417,64 | 20,03 | 7,55566406 |
17,00 | 417,63 | 20,00 | 7,55273438 | 17,00 | 417,63 | 20,00 | 7,55273438 |
17,14 | 417,63 | 20,04 | 7,54882813 | 17,14 | 417,63 | 20,04 | 7,54882813 |
17,28 | 417,62 | 20,04 | 7,54785156 | 17,28 | 417,62 | 20,04 | 7,54785156 |
17,42 | 417,62 | 20,03 | 7,54687500 | 17,42 | 417,62 | 20,03 | 7,54687500 |
17,56 | 417,61 | 19,99 | 7,54394531 | 17,56 | 417,61 | 19,99 | 7,54394531 |
17,70 | 417,61 | 19,99 | 7,54101563 | 17,70 | 417,61 | 19,99 | 7,54101563 |
17,84 | 417,60 | 20,00 | 7,53808594 | 17,84 | 417,60 | 20,00 | 7,53808594 |
17,98 | 417,60 | 20,01 | 7,53615625 | 17,98 | 417,60 | 20,01 | 7,53515625 |
18,12 | 417,60 | 20,00 | 7,53515625 | 18,12 | 417,60 | 20,00 | 7,53515625 |
18,26 | 417,59 | 20,01 | 7,53613281 | 13,26 | 417,59 | 20,01 | 7,53613281 |
18,40 | 417,59 | 20,00 | 7,53417969 | 18,40 | 417,59 | 20,00 | 7,53417969 |
18,54 | 417,58 | 20,00 | 7,53320313 | 18,54 | 417,58 | 20,00 | 7,53320313 |
18,68 | 417,58 | 20,04 | 7,53417969 | 18,68 | 417,58 | 20,04 | 7,53417969 |
18,82 | 417,57 | 20,02 | 7,53515625 | 18,82 | 417,57 | 20,02 | 7,53515625 |
18,96 | 417,57 | 20,00 | 7,53222656 | 18,96 | 417,57 | 20,00 | 7,53222656 |
19,11 | 417,56 | 20,04 | 7,53222656 | 19,11 | 417,56 | 20,04 | 7,53222656 |
19,25 | 417,56 | 20,04 | 7,53320313 | 19,25 | 417,56 | 20,04 | 7,53320313 |
19,39 | 417,56 | 20,04 | 7,53613281 | 19,39 | 417,56 | 20,04 | 7,53613281 |
19,53 | 417,55 | 20,04 | 7,53613281 | 19,53 | 417,55 | 20,04 | 7,53613281 |
19,67 | 417,55 | 20,03 | 7,53906250 | 19,67 | 417,55 | 20,03 | 7,53906250 |
19,81 | 417,54 | 20,03 | 7,54394531 | 19,81 | 417,54 | 20,03 | 7,54394531 |
19,95 | 417,54 | 20,04 | 7,54882813 | 19,95 | 417,54 | 20,04 | 7,54882813 |
20,09 | 417,53 | 20,02 | 7,55371094 | 20,09 | 417,53 | 20,02 | 7,55371094 |
20,23 | 417,53 | 20,02 | 7,55761719 | 20,23 | 417,53 | 20,02 | 7,55761719 |
20,37 | 417,52 | 20,02 | 7,56347656 | 20,37 | 417 52 | 20 02 | 7,56347656 |
20,51 | 417,52 | 20,02 | 7,56835938 | 20,51 | 417,52 | 20,02 | 7,56835938 |
20,65 | 417,52 | 20,02 | 7,57519531 | 20,65 | 417,52 | 20,02 | 7,57519531 |
20,79 | 417,51 | 20,00 | 7,58300781 | 20,79 | 417,51 | 20,00 | 7,58300781 |
20,93 | 417,51 | 20,00 | 7,58886719 | 20,93 | 417,51 | 20,00 | 7,58886719 |
21,07 | 417,50 | 19,99 | 7,59667969 | 21,07 | 417,50 | 19,99 | 7,59667969 |
21,21 | 417,50 | 20,01 | 7,60253906 | 21,21 | 417,50 | 20,01 | 7,60253906 |
21,35 | 417,49 | 20,05 | 7,61036156 | | | | |
21,50 | 417,49 | 20,10 | 7,61523438 | | | | |
21,64 | 417,48 | 20,12 | 7,62402344 | | | | |
21,78 | 417,48 | 20,14 | 7,63085938 | | | | |
21,92 | 417,48 | 20,12 | 7,64062500 | | | | |
22,06 | 417,47 | 20,13 | 7,65039063 | | | | |
22,20 | 417,47 | 20,12 | 7,66917969 | | | | |
22,34 | 417,46 | 20,21 | 7,68894531 | | | | |
22,48 | 417,46 | 20,20 | 7,71523438 | | | | |
Рисунок
I.4 - Пример регистрации данных и выбора данных
калибровочного измерения при температуре 420 °C
I.3.2 Выбор средних значений
См.
рисунок I.4 для типичной документации по калибровочному измерению при 420 °C. На
рисунке I.5 показано графическое представление выбора данных таблицы на
рисунке I.4. Для определения правильных средних значений необходимо соблюдать следующие требования и процедуры:
- показания напряжения измерителя радиации приведены в столбце 4 на
рисунке I.4. Измеренные значения определяются, как только кривая напряжения становится стабильной, - см. столбец 6 (см. также
рисунок I.5). Определяют среднее напряжение этой выборки;
- выбранный диапазон используемой кривой напряжения должен быть стабильным не менее 4 с (столбец 5 и
рисунок I.5. В этом примере продолжительность равна 6 с). В противном случае измерение должно быть отклонено и должно быть проведено новое измерение;
- температура измерителя радиации должна быть постоянной и составлять 20,0 °C с пределом погрешности +/- 0,2 °C для выбранного диапазона (см. столбец 6 и
рисунок I.5). По мере повышения температуры радиометра растет и напряжение радиометра, отмечая конец данных, пригодных для калибровки. Если температура поднимается слишком рано, измерение следует отменить и провести новое измерение;
- среднее значение температуры духовки определяется для сделанного выбора. См. столбец 7;
- эта процедура повторяется до тех пор, пока не будут получены четыре пригодных для использования калибровочных показания для всех калибровочных температур.
X - время, с; Y - напряжение на радиометре, В;
Z - температура на радиометре, °C

- напряжение на радиометре;

- калибровочный сигнал;

- температура на радиометре
Рисунок
I.5 - Графическое представление выбора
Рисунок
I.6 - Таблица, обобщающая результаты калибровки
I.3.3 Определение чувствительности 1/S по температуре
Все полученные данные калибровки должны быть записаны в таблицу для расчета чувствительности 1/
S (см.
рисунок I.4 в качестве примера такой таблицы). Чтобы вычислить правильно чувствительность 1/
S по температуре, необходимо соблюдать следующие требования и процедуры:
- чувствительность 1/
S определяют для каждого скорректированного среднего значения напряжения и фактической температуры абсолютно черного тела с использованием
уравнений I.1 и
I.2;
- определяют среднее значение четырех измерений температуры. Эти четыре отдельных значения 1/S для 420 °C, 300 °C и 200 °C не должны отличаться более чем на 1% от среднего значения этих четырех измерений;
- определяют среднее значение эталонных измерений при 20 °C в начале и в конце. Проверяют, не дрейфовали ли значения во время калибровки при более высоких температурах.
I.3.4 Определение чувствительности 1/S радиометра
См.
рисунок I.7. Для определения средней чувствительности 1/с измерителя радиации проводится линейная регрессия измеренных значений. Рекомендуется наносить напряжение радиометра и соответствующую энергию на график, а среднюю чувствительность 1/
S определять с помощью функции линейной регрессии. Параметр "Через начало" должен быть отключен, чтобы получить правильную линию
y =
ax +
b.
Рисунок
I.7 - График, показывающий калибровочную кривую
для определения средней чувствительности 1/S
I.3.5 Документирование результатов калибровки
Результаты калибровки должны быть задокументированы в отчете. На
рисунке I.7 приведен пример такого отчета. Этот отчет должен содержать, как минимум, следующую информацию:
- дата калибровки;
- установка измельчительного колеса;
- расход N2 при калибровке;
- все настройки синхронного усилителя;
- серийный номер интегрирующей сферы;
- серийный номер извещателя;
- сводка измерений;
- линия чувствительности;
- калибровочное уравнение y = ax + b.
(обязательное)
ПОПРАВКА ИЗМЕРЕННОЙ МОЩНОСТИ ИЗЛУЧЕНИЯ
НА ПОГЛОЩЕНИЕ H2O И CO2
J.1 Общие положения
Мощность излучения теплогенератора, регистрируемая измерителем радиации, частично поглощается H2O и CO2 в воздушной прослойке между теплогенератором и датчиком. Излучение между источником излучения и другой поверхностью зависит от частоты или длины волны. Электромагнитный спектр исследуют с помощью спектроскопии поглощения.
HITRAN (High Resolution Transmission) - это всемирный научный стандарт для расчета или моделирования атмосферного молекулярного пропускания и излучения в газообразных средах во всем видимом и электромагнитном инфракрасном спектре. Расчет эффективности поглощения излучения в этом стандарте выполнен с использованием технической аппроксимации на основе результатов HITRAN.
Примечание - Первоначальная версия стандарта HITRAN была разработана Кембриджскими исследовательскими лабораториями ВВС в конце 1960-х годов для получения подробных сведений об инфракрасных свойствах атмосферы. HITRAN в настоящее время поддерживается и развивается Гарвард-Смитсоновским центром астрофизики, Кембридж, Массачусетс, США, и используется в качестве стандарта всеми соответствующими научными и метрологическими институтами, такими как PTB в Германии. Также доступен онлайн-инструмент под названием HITRANonline. Базу данных можно бесплатно загрузить из Гарвард-Смитсоновского центра астрофизики.
Точное научное решение для расчета поглощения излучения между генератором тепла и сферой Ульбриха невозможно в рамках метода испытаний для определения мощности излучения оборудования в соответствии с настоящим стандартом. В дополнение к мощности молекулярного поглощения, рассчитанной с помощью HITRAN для соответствующей длины волны, необходимо сделать различные технические упрощения.
Примечания
1 В настоящем стандарте сделаны следующие необходимые технические упрощения для расчета поглощения в приближенном подходе:
a) излучающий лучистый нагреватель считается черным телом, поэтому спектральная яркость определяется законом Планка;
b) источником выбросов считается теплогенератор с плоской прямоугольной поверхностью и однородной температурой 400 °C;
c) плоскость отсчета аппарата для определения длины пути воздушной прослойки между теплогенератором и измерителем излучения - центральная ось излучающих труб теплогенератора (плоскость излучения);
d) средняя длина пути (средняя длина луча) для расчета поглощения определяется расстоянием по вертикали между плоскостью лучистого излучения теплогенератора и интегрирующей сферой и косинусно-взвешенным интегрированием рассматриваемой энергетической освещенности, регистрируемой интегрирующей сферой (средняя тепловая длина генератора 6 м);
e) отражение через газ и интегрирующую сферу при обычной комнатной температуре 20 °C пренебрежимо мало;
f) интегрирующая сфера, используемая в качестве измерительного прибора, имеет широкое поле зрения, угол раскрытия определяется ее конструктивными особенностями;
g) на основании закона Бера-Ламберта прошедшее излучение с длиной волны

подавляется однородной средой экспоненциально с длиной пути;
h) только H2O и CO2 считаются важными частицами для расчета поглощения, всеми другими газовыми следами или частицами можно пренебречь;
i) концентрацию CO2 в атмосфере можно считать почти постоянной на уровне около 800 ppm, влияние колебания концентрации +/- 400 ppm пренебрежимо мало.
2 Общий коэффициент пропускания вычисляют по формуле

(
J.1)
где

- суммарный коэффициент передачи;

- угол раскрытия интегрирующей сферы (85°);
trad - температура поверхности отсчета излучения;
h - длина пути (ранее также называемая средней длиной луча) между генератором тепла и интегрирующей сферой;
A - поверхность радиатора;
LBB - мощность излучения абсолютно черного тела;

- длина волны.
Уравнение (J.1) можно использовать для научного расчета общего коэффициента передачи. Для практического применения в рамках настоящего стандарта используется описанный ниже упрощенный технический подход (см.
уравнение J.2) для расчета коэффициента передачи.
При использовании базы данных HITRAN и результатов расчетов для соответствующих атмосферных температурных условий (15 °C - 25 °C), атмосферного давления, относительной влажности (30% - 80%), вертикальных расстояний между лучистым обогревателем и интегрирующей сферой, а также геометрические размеры темных излучателей показывают трехмерную матрицу значений общего коэффициента пропускания, применимую в рамках настоящего стандарта. Результаты этих научных расчетов можно с достаточной точностью рассчитать полиномом второй степени только с двумя основными влияющими факторами - вертикальным расстоянием
d и парциальным давлением

.
Общий коэффициент передачи рассчитывается с использованием уравнения

(
J.2)
где

- сумма суммарного коэффициента передачи;
d - расстояние по вертикали между плоскостью выхода излучения и интегрирующей сферой, см;

- парциальное давление водяного пара, мбар;
ai...j - удельные полиномиальные коэффициенты для темных излучателей.
a1 = 1,00394678986,
a2 = -0,00121713262386,
a3 = -0,00220649114869,
a4 = 1,0493020087E-5,
a5 = 3,53507155992E-5,
a6 = -2,32100589285E-5.
Парциальное давление пара

, мбар, при комнатной температуре
ta рассчитывается следующим образом:

(
J.3)
где rh - относительная влажность, %;
ta - комнатная температура, °C.
J.2 Процедура расчета
Мощность излучения Q(R)C, Вт, скорректированная на поглощение водяным паром и двуокисью углерода, рассчитывается на основе измеренной мощности излучения Q(R)M по формуле

(
J.4)
(справочное)
РЕГИСТРАЦИЯ ДАННЫХ О ПРОИЗВОДИТЕЛЬНОСТИ
ТЕМНОГО ИНФРАКРАСНОГО ИЗЛУЧАТЕЛЯ
K.1 Общая информация, подлежащая регистрации
K.1.1 Данные испытаний и устройств
Испытательная лаборатория: ____________________________
Техник: ______________________________ Дата испытания: __________________
Радиатор: ____________________________ Трубчатый теплогенератор: ________
Тип устройства: ______________________ Модель: __________________________
Поставщик:____________________________ Изготовитель: ____________________
Длина теплогенератора: _________ м Ширина теплогенератора: _____ м
Номинальная тепловая нагрузка: ___ кВт Категория газа:_____
Длина отвода дымовых газов: ________ м
Теплотворная способность испытательного газа

при 15 °C
и 1013,25 мбар:_____кВт·ч/м3
K.1.2 Технические данные прибора для измерения радиации
Название/номер измерителя радиации: _______________________________________
Тип датчика: ______________________________________________________________
Система охлаждения: _______________________________________________________
Сертификат о калибровке: __________________________________________________
Чувствительность измерителя радиации: _____________________________________
Тип продувочного газа: ____ Расход продувочного газа: ________ л/ч
Температура датчика: ___ °C Калибровка датчика температуры: ___ °C
Частота прерывателя: ___ Гц Блокировка напряжения питания усилителя: __ В
K.1.3 Технические данные измерительной плоскости
Количество точек замера (параллельно продольной оси): _____________________
Количество точек замера (перпендикулярно продольной оси): _________________
Длина измерительной решетки: ___ м Ширина измерительной решетки: ___ м
Количество измерительных модулей: __ Измерение измерительного модуля: __ м2
Площадь измерительной решетки:_____ м2
Расстояние по вертикали d между уровнем измерения и уровнем выброса
теплогенератора: _____ см
Освещенность контуров менее 1% от максимального значения: Да/нет
K.2 Результаты измерений
K.2.1 Информация об испытании
Параметр | Номер испытания |
1 | 2 | 3 | 4 | 5 |
Дата испытания | | | | | |
Время начала испытания | | | | | |
Время окончания испытания | | | | | |
K.2.2 Условия окружающей среды при испытании
Параметр | Номер испытания |
1 | 2 | 3 | 4 | 5 |
Температура воздуха в начале испытания, °C | | | | | |
Температура воздуха в конце испытания, °C | | | | | |
Влажность окружающей среды в начале испытания, % | | | | | |
Влажность окружающей среды в конце испытания, % | | | | | |
Атмосферное давление (Па) в начале испытания, кПа | | | | | |
Атмосферное давление (Па) в конце испытания, кПа | | | | | |
K.2.3 Данные о подводимой тепловой мощности и количестве подводимого газа
Параметр | Номер испытания |
1 | 2 | 3 | 4 | 5 |
Категория газа | | | | | |
Индекс Воббе Wi, кВт·ч/м3 | | | | | |
Низшая теплота сгорания Hi, кВт·ч/м3 | | | | | |
Расход газа, м3/ч, в условиях окружающей среды | | | | | |
Температура газа tg, °C | | | | | |
Расход газа, м3/ч, при 15 °C и 101,325 кПа | | | | | |
Измеренная подводимая тепловая мощность QM, кВт | | | | | |
Измеренная подводимая тепловая мощность/Номинальная подводимая тепловая мощность QM/Qm, % | | | | | |
Давление газа на входе, кПа | | | | | |
Давление газа на сопле горелки, кПа | | | | | |
Относительное давление в камере сгорания горелки, кПа | | | | | |
K.2.4 Данные о дымовых газах
Параметр | Номер испытания |
1 | 2 | 3 | 4 | 5 |
Объем CO2, % | | | | | |
CO, млн-1 | | | | | |
CO после коррекции, млн-1 | | | | | |
Объем O2, % | | | | | |
Температура, °C | | | | | |
K.2.5 Данные поглощения излучения водяным паром и углекислым газом
Параметр | Номер испытания |
1 | 2 | 3 | 4 | 5 |
Расстояние по вертикали между опорной плоскостью излучения (RRP) и интегрирующей сферой, см | | | | | |
Вертикальное расстояние d между плоскостью излучения (REP) и интегрирующей сферой, см | | | | | |
Парциальное давление водяного пара  при давлении окружающей среды, кПа | | | | | |
Поправочный коэффициент на поглощение излучения водяным паром и углекислым газом в воздухе  | | | | | |
K.2.6 Данные измерения выходной мощности излучения
Параметр | Номер испытания |
1 | 2 | 3 | 4 | 5 |
Температура датчика tS в начале испытания, °C | | | | | |
Температура датчика tS в конце испытания, °C | | | | | |
Измеренная мощность излучения Q(R)M, Вт | | | | | |
Измеренная выходная мощность излучения после коррекции на поглощение Q(R)C, Вт | | | | | |
Лучистый КПД, Rf | | | | | |
_______________________________ __________________
инициалы, фамилия подпись
(справочное)
L.1 Общая информация
Испытательная лаборатория: А |
Техник: Б | Дата испытания: 05.04.2022 |
Радиатор: нет | Трубчатый теплогенератор: да |
Тип устройства: В | Модель: Г |
Поставщик: Д | Изготовитель: Е |
Длина теплогенератора: 4,6 м | Ширина теплогенератора: 0,6 м |
Номинальная тепловая нагрузка: 19,4 кВт | Категория газа: G20 |
Длина отвода дымовых газов: м |
Теплотворная способность испытательного газа Ht при 15 °C и 1013,25 мбар: 9,45 кВт·ч/м3 |
L.2 Технические данные измерителя радиации
Название/номер измерителя радиации: А |
Тип датчика: Пироэлектрический датчик |
Система охлаждения: Вода |
Сертификат о калибровке: 003/2004 |
Чувствительность измерителя радиации: 1,6960 x 10-4 В/Вт/м2 |
Тип продувочного газа: Азот | Расход продувочного газа: 25 л/ч |
Температура датчика: 20,0 °C | Калибровка датчика температуры: 20,2 °C |
Частота прерывателя: 180 Гц | Блокировка напряжения питания усилителя: +/- 15 В |
L.3 Технические характеристики измерительной плоскости
Количество точек измерения (параллельно продольной оси): 58 |
Количество точек измерения (перпендикулярно продольной оси): 10 |
Длина измерительной сетки: 5,7 м | Ширина сетки измерения: 0,9 м |
Количество измерительных ячеек: 580 | Измерение площади ячейки: 0,01 м2 |
Площадь сетки измерения: 5,8 м2 | |
Расстояние по вертикали d между уровнем измерения и уровнем выброса теплогенератора: 15 см |
Освещенность контуров менее 1% от максимального значения: да/нет |
L.4 Результаты измерений
L.4.1 Детали испытания
Параметр | Номер испытания |
1 | 2 | 3 | 4 | 5 |
Дата испытания | 06.04.2022 | | | | |
Начало испытания | 10:48 | | | | |
Конец испытания | 13:12 | | | | |
L.4.2 Окружающие условия испытания
Параметр | Номер испытания |
1 | 2 | 3 | 4 | 5 |
Начальная температура воздуха, °C | 19,5 | | | | |
Конечная температура воздуха, °C | 20,1 | | | | |
Влажность окружающей среды при запуске, % | 36,1 | | | | |
Влажность окружающей среды в конце, % | 35,1 | | | | |
Атмосферное давление (Па) в начале, мбар | 1017 | | | | |
Атмосферное давление (Па) в конце, мбар | 1014 | | | | |
L.4.3 Данные о газовой/тепловой нагрузке
Параметр | Номер испытания |
1 | 2 | 3 | 4 | 5 |
Категория газа | G20 | | | | |
Индекс Воббе Wi, кВт·ч/м3 | 12,69 | | | | |
Теплотворная способность Hi, кВт·ч/м3 | 9,45 | | | | |
Расход газа (м3/ч) при окружающих условиях | 1,912 | | | | |
Температура газа tg, °C | 16,0 | | | | |
Расход газа при 15 °C и 1013 мбар, м3/ч | 1,985 | | | | |
Тепловая нагрузка Q, кВт | 18 758 | | | | |
Тепловая мощность/номинальная тепловая мощность Q/Qn, % | 97,0 | | | | |
Давление газа на входе, мбар | 25,0 | | | | |
Давление газа на сопле, мбар | 11,92 | | | | |
Относительное давление в камере сгорания, мбар | - | | | | |
L.4.4 Данные о дымовых газах
Параметр | Номер испытания |
1 | 2 | 3 | 4 | 5 |
Объем CO2, % | - | | | | |
CO (частей на миллион) | - | | | | |
CO с поправкой (частей на миллион) | - | | | | |
Объем O2, % | - | | | | |
Температура, °C | - | | | | |
L.4.5 Данные о поглощении водяного пара и CO2
Параметр | Номер испытания |
1 | 2 | 3 | 4 | 5 |
Расстояние по вертикали между опорной плоскостью излучения (RRP) и интегрирующей сферой, см | 10 | | | | |
Вертикальное расстояние d между плоскостью излучения (REP) и интегрирующей сферой, см | 15 | | | | |
Парциальное давление водяного пара  при давлении окружающего воздуха, мбар | 12,378 | | | | |
Поправочный коэффициент радиации для водяного пара и CO 2 в воздухе  | 0,9766 | | | | |
L.4.6 Данные измерения радиации
Параметр | Номер испытания |
1 | 2 | 3 | 4 | 5 |
Начальная температура зонда tS, °C | 24,3 | | | | |
Конечная температура зонда tS, °C | 23,4 | | | | |
Измеренная мощность излучения Q(R)M, Вт | 11 259 | | | | |
Измеренная мощность излучения после поправки на поглощение Q(R)C, Вт | 11 529 | | | | |
Радиационный фактор Rf | 0,61 | | | | |
_______________________________ __________________
инициалы, фамилия подпись
(обязательное)
Для устройств типа B с диаметром выходного отверстия не менее 100 мм следует использовать испытательный щуп, показанный на
рисунке M.1. Зонд должен быть размещен в дымоходе на расстоянии 800 мм позади выхода дымохода агрегата, как показано на
рисунке M.2, и на расстоянии 200 мм от любой ветрозащитной полосы, ограничителя тяги или пола дымохода.
C - датчик температуры в испытательном щупе
Dnom, мм | d1 = 0,97D | d2 = 0,90D | d3 = 0,83D | d4 = 0,75D | d5 = 0,66D | d6 = 0,56D | d7 = 0,43D | d8 = 0,25D |
100 | 97 | 90 | 83 | 75 | 66 | 56 | 43 | 25 |
110 | 107 | 99 | 91 | 82 | 74 | 62 | 47 | 27 |
120 | 116 | 108 | 100 | 90 | 79 | 67 | 52 | 30 |
130 | 126 | 117 | 108 | 98 | 86 | 73 | 56 | 33 |
150 | 145 | 135 | 125 | 113 | 99 | 84 | 65 | 38 |
180 | 175 | 162 | 149 | 135 | 119 | 101 | 77 | 45 |
200 | 194 | 180 | 166 | 150 | 132 | 112 | 86 | 50 |
250 | 242 | 225 | 208 | 188 | 165 | 140 | 108 | 63 |
300 | 291 | 270 | 249 | 225 | 198 | 168 | 129 | 75 |
400 | 388 | 360 | 332 | 300 | 264 | 224 | 173 | 100 |
500 | 485 | 450 | 415 | 375 | 330 | 280 | 216 | 125 |
Рисунок
M.1 - Пробоотборник для аппаратов типов
B22, B23, B52, B53, C32, C33, C52 и C53 с диаметром
выходного отверстия 100 мм или более
A - кронштейн; B - к пробоотборному насосу; C - к пирометру;
D - испытательный щуп (см.
рисунок M.1);
E - листовой
металл; F - регулируемая прокладка
Рисунок
M.2 - Положение испытательного щупа для аппаратов
типов B22, B23, B52, B53, C32, C33, C52 и C53 с диаметром
выходного отверстия 100 мм и более
Если выходной диаметр меньше 100 мм, следует использовать испытательный щуп, показанный на
рисунке M.3. Он должен располагаться так же, как и зонд большего диаметра, насколько это возможно.
A - термопара
Рисунок
M.3 - Пробоотборник для аппаратов типов B
22, B
23,
B52, B53, C32, C33, C52 и C53 с диаметром выходного
отверстия менее 100 мм
Для аппаратов типов C
12 и C
13 следует использовать испытательный щуп, показанный на
рисунке M.4. Если возможно, зонд располагают так, как показано на
рисунке M.5.
Примечание - Для аппаратов типов C12 и C13, для которых указанное выше расположение неприемлемо, позиция должна быть согласована между изготовителем и испытательной организацией, и должны быть выполнены достаточные измерения для получения согласованных результатов.
A - хромель/алюмелевая проволока для термопары;
B - изоляционный цемент; C - керамическая втулка с двойным
отверстием; D - три пробоотборных отверстия

, мм
Примечания
1 Материал - нержавеющая сталь с полированной отделкой.
2 Размер Y следует выбирать в зависимости от диаметра приточного воздуховода и его изоляции.
3 Размеры зонда диаметром 6 мм (подходящего для выходных каналов продукта диаметром D более 75 мм):
a) наружный диаметр зонда (d) 6 мм;
b) толщина стенки 0,6 мм;
c) диаметр отверстий для отбора проб (x) 1,0 мм;
d) керамическая втулка с двойными отверстиями

x диаметр отверстия 0,5 мм;
e) кабель термопары

. Для выходных каналов продукта диаметром менее 75 мм следует использовать датчик меньшего размера и
d и
x выбраны так, что:
f) площадь, перекрытая зондом, составляет менее 5% поперечного сечения воздуховода;
g) общая площадь пробоотборных колодцев менее трех четвертей поперечного сечения зонда.
Рисунок
M.4 - Испытательный щуп
для аппаратов типов C12 и C13
1 - для отображения температуры;
2 - к пробоотборному насосу; D - диаметр канала
Рисунок
M.5 - Расположение испытательного щупа
для аппаратов типов C12 и C13
(обязательное)
НЕОБХОДИМАЯ ИНФОРМАЦИЯ О ПРОДУКТЕ
Таблица N.1
Требуемая информация о продукте
Название модели | ... |
Тип теплогенератора | Лучистые трубчатые или непрерывные многогорелочные радиационные трубчатые системы |
Топливо | Природный газ, G20 |
Выбросы NOx от обогревателя | ..., мг/кВт·ч (GCV) |
Таблица N.2
Основные данные для работы на указанном топливе
Пункт | Обозначение | Величина | Единица измерения |
1 Перегрев |
Номинальная тепловая мощность | Qin,nom | | кВт |
Минимальная тепловая мощность | Qin,min | | кВт |
Минимальная тепловая мощность в процентах от номинальной тепловой мощности | - | | % |
Номинальная подводимая тепловая энергия (если применимо) | Qin,nom,system | | кВт |
Номинальная тепловая мощность сегмента трубчатого нагревателя (если применимо) | Qin,heater,i | | кВт |
(при необходимости повторить для нескольких сегментов трубы) | | | |
Количество одинаковых сегментов трубы | n | | |
2 Радиационный фактор |
Коэффициент излучения при номинальной тепловой мощности | RFnom | | - |
Коэффициент излучения при минимальной тепловой мощности | RFmin | | - |
Коэффициент излучения сегмента трубы при номинальной тепловой мощности (если применимо) | RFnom,i | | - |
(при необходимости повторить для нескольких сегментов темного излучателя) | | | - |
3 Тепловой КПД (GCV) |
Тепловой КПД при номинальной тепловой мощности | | | % |
Тепловой КПД при минимальной тепловой мощности | | | % |
Тепловой КПД сегмента трубы при номинальной подводимой теплоте (если применимо) | | | % |
(при необходимости повторить для нескольких темных сегментов радиатора) | | | % |
4 Потери корпуса |
Класс изоляции оболочки | U | | Вт/м2·К |
Коэффициент потерь оболочки | Fenv | | % |
5 Теплогенератор для установки снаружи здания | Да/нет |
6 Потребление вспомогательной энергии |
максимальное | elmax | | кВт |
минимальное | elmin | | кВт |
| elsb | | кВт |
7 Тип регулирования тепловой мощности |
одноступенчатый | Да/нет |
двухступенчатый | Да/нет |
модулируемый | Да/нет |
8 Постоянное пилотное пламя | Нет |
9 Контакты: | Наименование и адрес изготовителя или его уполномоченного представителя |
(справочное)
ВЫВОД УРАВНЕНИЙ ДЛЯ ОПРЕДЕЛЕНИЯ ТЕПЛОВОГО КПД
| | ИС МЕГАНОРМ: примечание. В официальном тексте документа, видимо, допущена опечатка: п. 7.7.5 отсутствует. | |
Тепловой КПД аппарата или системы по высшей теплотворной способности

, выраженный в процентах, основан на косвенном методе. Формулы для расчета теплового КПД неконденсационного оборудования для различных газов приведены в 7.7.5. Эти формулы основаны на подходе, заменяющем данные о свойствах газа в уравнениях.

(
O.1)
где Hi - теплотворная способность газа при 1013,25 мбар и 15 °C, сухой, в МДж/м3;
Hs - высшая теплотворная способность газа при давлении 1013,25 мбар и температуре 15 °C, сухой, в МДж/м3;
q1 - теплота сухих продуктов сгорания (доля теплоты, выделяющаяся на единицу объема газа), %;
q2 - теплота водяного пара, содержащаяся в продуктах сгорания (доля теплоты, выделяющаяся на единицу объема газа), %;

(
O.2)
и

(
O.3)
где C1 - средняя удельная теплоемкость сухих продуктов сгорания, МДж/м3·К;
ta comb - средняя температура воздуха для горения, °C;
tflue - средняя температура продуктов сгорания, °C;
Vf - объем сухих продуктов сгорания на единицу объема газа, м
3.
Vf рассчитывается путем деления объема

, образующегося при сгорании одного кубического метра газа (см.
таблицу O.1), на концентрацию CO
2 в продуктах сгорания

по формуле

(
O.4)
Таблица O.1
Значения

Обозначение газа | Значение , м 3 |
G110 | 0,26 |
G120 | 0,32 |
G20 | 1 |
G25 | 0,86 |
G30 | 4 |
G31 | 3 |
(обязательное)
ТЕПЛООБМЕННИК ПРОДУКТОВ СГОРАНИЯ
P.1 Общие положения
Примечания
1 Теплообменник может быть присоединен к отводу дымовых газов аппаратов B22, B23, B52, B53, C12, C13, C52 и C53 для рекуперации полезного тепла из дымовых газов. Тепло передается вторичной среде, которая передает тепло соответствующему радиатору.
2 Теплопередача может осуществляться косвенным, полупрямым и параллельным потоком, противотоком, перекрестным потоком и перекрестным противотоком.
Если установка оборудована теплообменником, предполагается, что теплообменник представляет собой теплообменник отработавших газов. Теплообменник должен соответствовать требованиям системы отвода дымовых газов и
P.2 -
P.12.
Все компоненты должны соответствовать требованиям
5.1.2.
P.3 Коррозионная стойкость
Все компоненты, находящиеся в непосредственном контакте с продуктами сгорания или конденсатом, должны быть изготовлены из материалов, которые:
a) являются материалами, перечисленными в
таблице P.1 или
b) испытаны с использованием метода испытания на коррозию в соответствии с
ГОСТ Р 59375.1-
2021, приложение А.
Таблица P.1
Металлические материалы для теплообменников дымовых газов
Материал | Условное обозначение | Минимальная номинальная толщина, без конденсации <b>, мм | Минимальная номинальная толщина с конденсацией <b>, мм |
|
EN AW-4047A | EN AW-Al Si 12 (A) и CU < 0,1%, Zn < 0,15% (литой алюминий) | 0,5 | 1,5 |
EN AW-1200A | EN AW-AL 99,0 (A) | 0,5 | 1,5 |
EN AW-6060 | EN AW-Al MgSi | 0,5 | 1,5 |
|
1.4401 | X5CrNiMo 17-12-2 | 0,4 | 0,4 |
| X2CrNiMo 17-12-2 | 0,4 | 0,4 |
1.4432 | X2CNiMo 17-12-3 | 0,4 | 0,4 |
1.4539 | X1NiCrMoCu 25-20-5 | 0,4 | 0,4 |
<a> Эквивалент материала 1.4404 = 1.4571 (обозначение X6CrNiMoTi 17-12-2). <b> Конденсационная колонна должна использоваться, когда при нормальных условиях эксплуатации в контуре продуктов сгорания образуется конденсат. |
P.4 Теплоизоляция
Теплоизоляция может использоваться для уменьшения потерь тепла от теплообменника. Если используется теплоизоляция, она должна выдерживать обычные ожидаемые термические и механические нагрузки без деформации и сохранять свои изоляционные свойства под воздействием тепла и старения.
Изоляция должна быть выполнена из негорючего материала. Тем не менее, легковоспламеняющиеся материалы разрешены, если:
a) изоляция наносится на поверхности, находящиеся в контакте с водой, или
b) температура поверхности, на которую наносится изоляция, не превышает 85 °C при нормальной эксплуатации, или
c) изоляция защищена негорючей оболочкой с подходящей толщиной стенок.
P.5 Газонепроницаемость
При испытании в составе аппарата и системы отвода дымовых газов утечка должна соответствовать требованиям
6.2.1.2.
P.6 Слив конденсата
Теплообменник должен быть оборудован выходом для подключения системы отвода конденсата. Соединение должно быть выполнено таким образом, чтобы дымовые газы не могли выйти из теплообменника через слив конденсата.
Если теплообменник дымовых газов сконструирован так, что стандартные рабочие температуры превышают точку росы дымовых газов, отвод конденсата не требуется. Если ожидается образование конденсата в отводе дымовых газов за теплообменником, необходимо установить слив конденсата.
P.7 Неметаллическая система отвода выхлопных газов
После конденсационного теплообменника отработавших газов можно использовать неметаллическую систему отвода отработавших газов.
Если указано ненулевое термическое сопротивление, то термическое сопротивление, указанное в инструкциях по установке, должно быть получено путем испытания при соответствующей температуре перегрева (см.
[7], пункт 5).
Если используется неметаллический вытяжной канал, он должен быть оснащен предохранительным ограничителем температуры, чтобы гарантировать, что максимально допустимая температура для системы вытяжного канала не будет превышена. Требования к проектированию устройства отключения при перегреве должны быть представлены в
[8].
P.8 Антифриз
Теплообменник должен быть установлен в незамерзающем помещении. Если это невозможно, теплообменник должен быть сконструирован таким образом, чтобы вторичная среда и конденсат были защищены от замерзания. В этих обстоятельствах для предотвращения замерзания можно применить защитное устройство или антифриз.
P.9 Расстояние до легковоспламеняющихся материалов
Минимальные расстояния до легковоспламеняющихся материалов должны быть указаны в инструкциях производителя теплообменника отработавших газов. Эти расстояния должны быть подтверждены в соответствии с
ГОСТ Р 59375.1.
P.10 Средства, связанные с безопасностью
Для обеспечения безопасной работы в случае ошибки необходимо установить предохранительное устройство (см.
[7] и
[8]). Безопасная работа также может быть обеспечена, если конструкция теплообменника предотвращает перегрев вторичной среды, например, путем ограничения количества тепла, которое может быть передано вторичной среде.
P.11 Рабочее давление при использовании воды в качестве вторичной среды
Допустимое рабочее давление теплообменника должно как минимум соответствовать максимальному рабочему давлению всей системы, но не должно превышать 3 бар.
P.12 Расчет эффективности теплопередачи
P.12.1 Требования к испытаниям
Производительность теплообменника определяется в установившемся режиме. Агрегат должен работать при номинальной подводимой теплоте в соответствии с
6.1.6.
Необходимо измерить следующие параметры:
a) температуру дымовых газов на входе и выходе;
b) температуры на входе и выходе вторичной среды;
c) расход вторичной жидкости;
d) расход конденсата;
e) температуру конденсата.
Датчики температуры должны иметь класс точности A или выше (см.
[6]). Температуру следует измерять в среде и на максимальном расстоянии 300 мм от соединений теплообменника. Точки измерения и питающие трубки должны быть изолированы.
P.12.2 Расчеты теплопередачи
P.12.2.1 Эффективность теплопередачи
Тепловой КПД, %, теплообменника рассчитывают по уравнению

(
P.1)
где

- тепловой КПД теплообменника, %;
QHXs - потребляемая мощность во вторичной жидкой среде, кВт;
QHXf - остаточная тепловая мощность дымовых газов после трубчатого теплогенератора (системы) и перед входом в теплообменник, кВт.
P.12.2.2 Определение прироста тепловой энергии через вторичный теплоноситель
Мощность, кВт, поглощаемая вторичным теплоносителем, рассчитывается по уравнению
QHXs = mHXs·Cps·(tHXouts - tHXins), (P.2)
где mHXs - массовый расход вторичной жидкости, кг/с;
Cps - удельная теплоемкость вторичной жидкости, кДж/кг·К;
tHXins - температура вторичного флюида на входе, °C;
tHXouts - температура вторичной жидкости на выходе, °C.
P.12.2.3 Определение остаточной тепловой мощности дымовых газов
Тепловая мощность дымовых газов, остающихся за трубчатым теплогенератором (системой), определяется непосредственно из теплового КПД теплогенератора по уравнению

(
P.3)
где QHXf - тепловая мощность дымовых газов после трубчатого теплогенератора (системы), кВт;
| | ИС МЕГАНОРМ: примечание. Обозначения даны в соответствии с официальным текстом документа. | |
Qth,GCV - тепловая нагрузка устройства (GCV) - см.
3.4.

- тепловой КПД теплогенератора или теплогенерирующей системы (GCV), %.
P.12.3 Минимальные требования
Измеренный КПД теплообменника отработавших газов должен быть не менее 40%.
(обязательное)
Если в отдельных разделах не указано иное, измерения должны выполняться с помощью приборов с максимально допустимыми отклонениями измерений, указанными ниже:
электричество: | |
- вольтметр | +/- 2% показания |
- амперметр | +/- 2% показания |
- ваттметр | +/- 2% показания |
температура (комбинация зонда и манометра): | |
- помещение (5 °C - 35 °C) | +/- 1 К |
- воздух (0 °C - 200 °C) | +/- 2 К |
- вода (0 °C - 100 °C) | +/- 3 К |
- дымовой газ (0 °C - 200 °C) | +/- 2 К |
- дымовой газ (200 °C - 500 °C) | +/- 1% показания |
- газ | +/- 1 К |
- поверхность | +/- 5 К (0 °C - 500 °C); |
давление: | |
- атмосферное | +/- 5 мбар (от 900 до 1050 мбар) |
- газа | +/- 3% показания |
- атмосферное (> 200 Па) | +/- 5% показания |
- воздуха (0 - 200 Па) | +/- 10 Па; |
время: | |
- до 1 ч | +/- 0,2 с |
- более 1 ч | +/- 0,1% показания; |
скорость воздуха: | |
- до 5 м/с | +/- 0,5 м/с |
- 5 - 12 м/с | +/- 10% показания; |
расстояние: | |
- микроны | +/- 0,05 мм (0 - 25 мм) |
- калипер | +/- 0,1 мм (0 - 150 мм) |
- рулетка | +/- 1 мм (10 - 100 см) |
- рулетка | +/- 5 мм (1 - 10 м); |
анализ продуктов сгорания: | |
- O2 | +/- 6% показания |
- CO | +/- 6% показания |
- CO2 | +/- 6% показания |
- NOx | +/- 8% показания |
- сажа | +/- 1 градация Бахараха; |
расход: | |
- расход газа | +/- 1% показания |
- воздушный поток | +/- 2% показания |
- масса (расход газа) | +/- 1% показания; |
газы: | |
- теплотворная способность газа | +/- 1% измеренного значения |
- плотность газа | +/- 0,5% от показаний; |
разное: | |
- шкала (вес) | +/- 2% от показаний |
- влажность | +/- 5% относительной влажности |
Для определения скорости утечки при испытаниях на герметичность необходимо использовать метод, точность которого ограничивает предел погрешности определения максимум до 10 см3/ч.
Указанные погрешности измерения относятся к отдельным измерениям. Для измерений, которые требуют комбинации отдельных измерений, может быть необходимо, чтобы меньшие погрешности измерения, связанные с отдельными измерениями, достигли требуемой общей неопределенности.
Примечание - Неопределенность измерения измерительного устройства для испытательной установки описана в соответствующих приложениях и требованиях.
(справочное)
СВЕДЕНИЯ О СООТВЕТСТВИИ ССЫЛОЧНЫХ НАЦИОНАЛЬНЫХ
И МЕЖГОСУДАРСТВЕННЫХ СТАНДАРТОВ МЕЖДУНАРОДНЫМ
И ЕВРОПЕЙСКИМ СТАНДАРТАМ, ИСПОЛЬЗОВАННЫМ
В КАЧЕСТВЕ ССЫЛОЧНЫХ В ПРИМЕНЕННОМ СТАНДАРТЕ
Таблица ДА.1
Обозначение ссылочного национального, межгосударственного стандарта | Степень соответствия | Обозначение и наименование ссылочного международного, европейского стандарта |
ГОСТ 7.67-2003 (ИСО 3166-1:1997) | MOD | ISO 3166-1:1997 "Коды для представления названий стран и единиц их административно-территориального деления. Часть 1. Коды стран" |
(IEC 60529:2013) | MOD | EN 60529:1991 "Степени защиты, обеспечиваемые оболочками (Код IP)" |
(ИСО 6976:2016) | MOD | ISO 6976:2016 "Газ природный. Вычисление теплоты сгорания, плотности, относительной плотности и числа Воббе на основе компонентного состава" |
(EN 161:2001) | MOD | EN 161:2011+A3:2013 "Автоматические отсечные клапаны для газовых горелок и газовых приборов" |
(EN 257:1992) | MOD | EN 257:1992 "Терморегуляторы механические для газовых приборов" |
(EN 1106:2010) | MOD | EN 1106:2010 "Краны с ручным управлением для газовых аппаратов" |
| NEQ | ISO 7005-1:2011 "Фланцы трубные. Часть 1. Стальные фланцы для трубных систем промышленного и общего назначения" ISO 7005-2:1988 "Фланцы металлические. Часть 2. Фланцы из литейного чугуна" |
| IDT | EN 126:2012 "Устройства регулирующие многофункциональные для газовых нагревательных приборов" |
| IDT | EN 298:2012 "Автоматические системы контроля горения для горелок и аппаратов, сжигающих газообразное или жидкое топливо" |
| IDT | EN 15502-2-1:2012 "Котлы газовые для центрального отопления. Часть 2-1. Специальный стандарт для приборов типа C и приборов типа B2, B3 и B5 с номинальной тепловой мощностью 1000 кВт" |
| IDT | IEC 60335-1:2012 "Приборы электрические бытового и аналогичного назначения. Безопасность. Часть 1. Общие требования" |
ГОСТ IEC 60335-2-102-2014 | IDT | IEC 60335-2-102:2012 "Бытовые и аналогичные электрические приборы. Безопасность. Часть 2-102. Дополнительные требования к приборам, работающим на газовом, жидком и твердом топливе и имеющим электрические соединения" |
(ЕН 88-1:2007) | MOD | EN 88-1:2007 "Регуляторы давления и связанные с ними устройства безопасности для газовых приборов. Часть 1. Регуляторы давления для давлений на входе до и включая 50 кПа" |
ГОСТ Р 55207-2012 (ЕН 12067-2:2007) | MOD | EN 12067-2:2004 "Регуляторы распределения газовоздушной смеси для газовых горелок и газовых приборов. Часть 2. Электронное исполнение" |
| MOD | DIN EN 1856-1:2009 "Конструкции для удаления дымовых газов. Требования к металлическим конструкциям для удаления дымовых газов. Часть 1. Строительные компоненты конструкций для удаления дымовых газов" |
| MOD | DIN EN 1859:2009+A1:2013 "Конструкции для удаления дымовых газов. Металлические конструкции для удаления дымовых газов. Методы испытаний" |
Примечание - В настоящей таблице использованы следующие условные обозначения степени соответствия стандартов: - IDT - идентичные стандарты; - MOD - модифицированные стандарты; - NEQ - неэквивалентные стандарты. |
(справочное)
СОПОСТАВЛЕНИЕ СТРУКТУРЫ НАСТОЯЩЕГО СТАНДАРТА
СО СТРУКТУРОЙ ПРИМЕНЕННОГО В НЕМ СТАНДАРТА
Таблица ДБ.1
Структура настоящего стандарта | Структура стандарта DIN EN 416:2020 |
Приложения | | Приложения | A |
| B |
| C |
| D |
| E |
- | F |
| G |
- | H |
| I |
| J |
| K |
| L |
| M |
| N |
| O |
| P |
| Q |
| R |
| S |
| - |
| - |
| Библиография |
Примечание - Сопоставление структуры стандартов приведено начиная с приложения A, т.к. разделы и их структурные элементы идентичны. |
| ЕН 14459:2015 | Функции управления в электронных системах для газовых горелок и газовых приборов. Методы классификации и оценки (Control functions in electronic systems for gas burners and gas burning appliances. Methods for classification and assessment) |
| ЕН 14800:2007 | Комплекты металлических шлангов, защищенные от коррозии, предназначенные для подсоединения бытовых приборов, работающих на газообразном топливе (Corrugated safety metal hose assemblies for the connection of domestic appliances using gaseous fuels) |
| ЕН 60584-1:2013 | Термопары. Часть 1. Основные значения тепловых напряжений (Thermocouples - Part 1: EMF specifications and tolerances) |
| ЕН 13410:2001 | Системы отопления с газовыми инфракрасными обогревателями. Вентиляция коммерческих и промышленных зданий (Gas-fired overhead radiant heaters - Ventilation requirements for non domestic premises) |
[5] | CR 1404:1994 | Определение выбросов от приборов, работающих на газообразном топливе, при проведении типовых испытаний (Determination of emissions from appliances burning gaseous fuels during type-testing) |
| МЭК 60751:2022 | Промышленные платиновые термометры сопротивления и платиновые датчики температуры (Industrial platinum resistance thermometers and platinum temperature sensors) |
| ЕН 13216-1:2004 | Конструкции удаления дымовых газов. Методы испытаний конструкций удаления дымовых газов. Часть 1. Общие методы испытаний (Chimneys - Test methods for system chimneys - Part 1: General test methods; German version EN 13216-1:2004) |
| ЕН 14597:2012 | Устройства регулирования и ограничители температуры для теплогенерирующих систем (Temperature control devices and temperature limiters for heat generating systems) |
[9] | ЕН 12828:2012+А1:2014 | Системы отопления в зданиях. Проектирование систем водяного отопления (Heating systems in buildings - Design for water-based heating systems) |
| ЕН 573-1:2005 | Алюминий и алюминиевые сплавы. Химический состав и форма деформированных изделий. Часть 1. Цифровая система обозначения (Aluminium and aluminium alloys - Chemical composition and form of wrought products - Part 1: Numerical designation system) |
| ЕН 10088-1 | Стали нержавеющие. Часть 1. Перечень нержавеющих сталей (Stainless steels - Part 1: List of stainless steels) |
УДК 697.245:006.354 | |
Ключевые слова: нагреватели трубчатые газовые, лучистое отопление, горелки газовые, запальное устройство, тепловая мощность, коэффициент полезного действия, испытания |