Главная // Актуальные документы // ГОСТ (Государственный стандарт)СПРАВКА
Источник публикации
М.: Стандартинформ, 2014
Примечание к документу
Текст данного документа приведен с учетом
поправки, опубликованной в "ИУС", N 2, 2019;
поправки, опубликованной в "ИУС", N 3, 2019.
Документ
введен в действие с 1 января 2015 года.
Название документа
"ГОСТ 32032-2013 (EN 1106:2010). Межгосударственный стандарт. Краны для газовых аппаратов. Общие технические требования и методы испытаний"
(введен в действие Приказом Росстандарта от 22.11.2013 N 1890-ст)
"ГОСТ 32032-2013 (EN 1106:2010). Межгосударственный стандарт. Краны для газовых аппаратов. Общие технические требования и методы испытаний"
(введен в действие Приказом Росстандарта от 22.11.2013 N 1890-ст)
агентства по техническому
регулированию и метрологии
от 22 ноября 2013 г. N 1890-ст
МЕЖГОСУДАРСТВЕННЫЙ СТАНДАРТ
КРАНЫ ДЛЯ ГАЗОВЫХ АППАРАТОВ
ОБЩИЕ ТЕХНИЧЕСКИЕ ТРЕБОВАНИЯ И МЕТОДЫ ИСПЫТАНИЙ
Taps for gas burning appliances.
General technical requirements and test methods
(EN 1106:2010, MOD)
ГОСТ 32032-2013
(EN 1106:2010)
Дата введения
1 января 2015 года <*>
--------------------------------
Цели, основные принципы и порядок проведения работ по межгосударственной стандартизации установлены
ГОСТ 1.0-92 "Межгосударственная система стандартизации. Основные положения" и
ГОСТ 1.2-2009 "Межгосударственная система стандартизации. Стандарты межгосударственные, правила и рекомендации по межгосударственной стандартизации. Правила разработки, принятия, применения, обновления и отмены".
1. Подготовлен Федеральным государственным унитарным предприятием "Всероссийский научно-исследовательский институт стандартизации и сертификации в машиностроении" (ВНИИНМАШ).
2. Внесен Федеральным агентством по техническому регулированию и метрологии.
3. Принят Межгосударственным советом по стандартизации, метрологии и сертификации (Протокол от 14 ноября 2013 г. N 44-2013).
За принятие проголосовали:
Краткое наименование страны по МК (ИСО 3166) 004-97 | Код страны по МК (ИСО 3166) 004-97 | Сокращенное наименование национального органа по стандартизации |
Казахстан | KZ | Госстандарт Республики Казахстан |
Киргизия | KG | Кыргызстандарт |
Россия | RU | Росстандарт |
Узбекистан | UZ | Узстандарт |
4.
Приказом Федерального агентства по техническому регулированию и метрологии от 22 ноября 2013 г. N 1890-ст межгосударственный стандарт ГОСТ 32032-2013 (EN 1106:2010) введен в действие в качестве национального стандарта Российской Федерации с 1 января 2015 г.
5. Настоящий стандарт модифицирован по отношению к европейскому региональному стандарту EN 1106:2010 Manually operated taps for gas burning appliances (Краны с ручным управлением для газовых аппаратов) путем изменения отдельных фраз (слов, ссылок), которые выделены курсивом.
Наименование настоящего стандарта изменено относительно наименования указанного регионального стандарта.
Сведения о соответствии межгосударственных стандартов ссылочным международным европейским (региональным) стандартам приведены в дополнительном
Приложении ДА.
Степень соответствия - модифицированная (MOD).
6. Введен впервые.
Информация об изменениях к настоящему стандарту публикуется в ежегодном информационном указателе "Национальные стандарты", а текст изменений и поправок - в ежемесячном информационном указателе "Национальные стандарты". В случае пересмотра (замены) или отмены настоящего стандарта соответствующее уведомление будет опубликовано в ежемесячном информационном указателе "Национальные стандарты". Соответствующая информация, уведомление и тексты размещаются также в информационной системе общего пользования - на официальном сайте Федерального агентства по техническому регулированию и метрологии в сети Интернет.
Настоящий стандарт устанавливает требования к безопасности, конструкции, эксплуатационным характеристикам и методы испытаний кранов с ручным управлением (далее - краны), предназначенных для использования в газовых аппаратах, работающих на природном или сжиженных углеводородных газах.
Настоящий стандарт распространяется на краны с номинальным диаметром условного прохода до 50 мм и максимальным давлением на входе до 50 кПа (500 мбар) включительно.
Настоящий стандарт не распространяется на запорную арматуру с ручным управлением, устанавливаемую на подводящих газопроводах.
Методы испытаний, приведенные в настоящем стандарте, применяют при проведении испытаний типовых образцов.
В настоящем стандарте использованы нормативные ссылки на следующие межгосударственные стандарты:
ГОСТ 9.030-74. Единая система защиты от коррозии и старения. Резины. Методы испытаний на стойкость в ненапряженном состоянии к воздействию жидких агрессивных сред
ГОСТ 9.908-85. Единая система защиты от коррозии и старения. Металлы и сплавы. Методы определения показателей коррозии и коррозионной стойкости
ГОСТ 6211-81. Основные нормы взаимозаменяемости. Резьба трубная коническая
ГОСТ 6357-81. Основные нормы взаимозаменяемости. Резьба трубная цилиндрическая
ГОСТ 12815-80. Фланцы арматуры, соединительных частей и трубопроводов на

от 0,1 до 20,0 МПа (от 1 до 200 кгс/см2). Типы. Присоединительные размеры и размеры уплотнительных поверхностей
ГОСТ 12969-67. Таблички для машин и приборов. Технические требования
ГОСТ 16093-2004 (ИСО 965-1:1998, ИСО 965-3:1998). Основные нормы взаимозаменяемости. Резьба метрическая. Допуски. Посадки с зазором
ГОСТ 19424-97. Сплавы цинковые литейные в чушках. Технические условия
ГОСТ 24705-2004 (ИСО 724:1993). Основные нормы взаимозаменяемости. Резьба метрическая. Основные размеры
ГОСТ МЭК 730-1-95. Автоматические электрические управляющие устройства бытового и аналогичного назначения. Общие требования и методы испытаний.
Примечание. При пользовании настоящим стандартом целесообразно проверить действие ссылочных стандартов в информационной системе общего пользования - на официальном сайте Федерального агентства по техническому регулированию и метрологии в сети Интернет или по ежегодному информационному указателю "Национальные стандарты", который опубликован по состоянию на 1 января текущего года, и по выпускам ежемесячного информационного указателя "Национальные стандарты" за текущий год. Если ссылочный стандарт заменен (изменен), то при пользовании настоящим стандартом следует руководствоваться заменяющим (измененным) стандартом. Если ссылочный стандарт отменен без замены, то положение, в котором дана ссылка на него, применяется в части, не затрагивающей эту ссылку.
В настоящем стандарте применены следующие термины с соответствующими определениями:
3.1. Кран: устройство, управляемое вручную непосредственно или косвенным образом, имеющее одно или несколько выходных отверстий, предназначенное для регулирования и отключения подачи газа.
Примечание. В качестве примеров на
рисунках 1 -
5 приведены детали, обычно используемые в кранах.
1 - корпус; 2 - конусная пробка; 3 - стопорный штифт;
4 - рабочий шпиндель; 5 - плоские грани для ручки;
6 - гайка; 7 - пружина; 8 - впускное отверстие;
9 - перекрытие; 10 - выходное отверстие; 11 - вход
для уменьшенного расхода газа; 12 - канал
для уменьшенного расхода газа; 13 - уплотняющая
поверхность; 14 - уплотнительное кольцо; 15 - винт
для уменьшения расхода газа; 16 - заглушка;
17 - винт для уменьшения расхода газа; 18 - кран;
19 - винт для уменьшения расхода газа
Рисунок 1. Схема пробкового конического крана
1 - ось; 2 - стопорный штифт; 3 - пружина; 4 - диск;
5 - корпус; 6 - входное отверстие; 7 - направляющая
стопорного штифта; 8 - выходное отверстие
Рисунок 2. Схема дискового крана
1 - кнопка; 2 - шток; 3 - пружина штока; 4 - шайба;
5 - стопор штока; 6 - корпус крана; 7 - входное отверстие;
8 - пружина; 9 - тарелка; 10 - кольцо уплотнительное;
11 - выходное отверстие
Рисунок 3. Схема линейного тарельчатого крана
1 - рабочий шпиндель; 2 - крышка; 3 - вставка;
4 - уплотнение пробки; 5 - корпус; 6 - пробка; 7 - пружина;
8 - стопорный штифт; 9 - плоские грани для ручки;
10 - выходное отверстие; 11 - основной поток газа;
12 - уменьшенный поток газа
Рисунок 4. Схема пробкового цилиндрического крана
1 - стопорный штифт; 2 - уплотнение; 3 - корпус; 4 - игла;
5 - входное отверстие; 6 - выходное отверстие
Рисунок 5. Схема игольчатого крана
3.2. Устройство предварительной настройки расхода газа: устройство, предназначенное для предварительной настройки определенного значения расхода газа.
Примечание. Настройка может проводиться дискретно (заменой деталей с калиброванными отверстиями) или плавно (регулировочным винтом).
3.3. Запорный элемент: подвижная деталь крана, которая открывает, изменяет или закрывает подачу газа к горелке.
3.4. Внешняя герметичность: герметичность внутренних полостей крана, по которым проходит газ по отношению к окружающей атмосфере.
3.5. Внутренняя герметичность: герметичность запорного элемента (в закрытом положении), отделяющего полость крана, по которой проходит газ, относительно другой полости или выходного отверстия крана.
3.6. Давление на входе: давление газа на входе в кран.
3.7. Давление на выходе: давление газа на выходе из крана.
3.8. Перепад давления: разность между давлениями на входе и на выходе крана.
3.9. Максимальное давление на входе: наибольшее давление на входе, указанное изготовителем, при котором допускается эксплуатация крана.
3.10. Минимальное давление на входе: наименьшее давление на входе, указанное изготовителем, при котором допускается эксплуатация крана.
3.11. Расход газа: объем газа, проходящий через кран в единицу времени.
3.12. Номинальный расход: расход воздуха, приведенный к стандартным условиям испытаний, указанный изготовителем.
3.13. Расходная характеристика: кривая, отображающая зависимость расхода воздуха от угла открытия крана.
3.14. Максимальная температура окружающей среды: наибольшая температура окружающего воздуха, указанная изготовителем, при которой допускается эксплуатация крана.
3.15. Минимальная температура окружающей среды: наименьшая температура окружающего воздуха, указанная изготовителем, при которой допускается эксплуатация крана.
3.16. Рабочий цикл: совокупность действий по переводу крана из закрытого в открытое положение и обратно.
3.17. Перекрытие: кратчайшее расстояние между газопроводящими полостями и атмосферой, измеряемое по длине уплотнительной поверхности.
4.1. Классы кранов
Краны подразделяют на классы в зависимости от количества рабочих циклов в течение срока службы:
до 5000 циклов (например, котлы отопительные);
до 10000 циклов (например, конвекторы);
до 40000 циклов (например, плиты газовые бытовые).
4.2. Группы кранов
Краны подразделяют на группы в зависимости от изгибающих напряжений, которые они должны выдерживать (см.
таблицу 3).
Краны группы 1 - краны, предназначенные для использования в аппаратах или установках, где они не подвергаются воздействию изгибающих напряжений, возникающих при монтаже трубопроводов (например, при использовании расположенных рядом жестких опор).
Краны группы 2 - краны, предназначенные для использования в любом положении внутри или снаружи аппарата, как правило, без применения опор.
Краны, отвечающие требованиям, предъявляемым к кранам группы 2, также отвечают требованиям, предъявляемым к кранам группы 1.
5. Единицы измерения и условия испытаний
5.1. Размеры
Размеры приведены в миллиметрах (мм).
5.2. Давления
Статические давления относительно атмосферного давления приведены в паскалях (Па) или килопаскалях (кПа), миллибарах (мбар) или барах (бар).
5.3. Изгибающий и крутящий моменты
Изгибающий и крутящий моменты приведены в ньютон-метр (Н·м).
5.4. Условия проведения испытаний
Испытания следует проводить воздухом, имеющем температуру (20 +/- 5) °C и при температуре окружающей среды (20 +/- 5) °C.
Все измеренные значения должны быть приведены к стандартным условиям испытаний: температура 15 °C, давление 101,325 кПа (1013,25 мбар), сухой воздух.
Испытания крана проводят в монтажном положении, указанном изготовителем. Если возможны различные монтажные положения, то испытания проводят в наиболее неблагоприятном из них.
Все измерения следует проводить после достижения стабильных температурных условий.
6. Требования к конструкции
6.1. Общие положения
6.1.1. Краны должны быть сконструированы, изготовлены и собраны таким образом, чтобы они нормально функционировали при установке и эксплуатации в соответствии с технической документацией изготовителя.
6.1.2. Краны не должны иметь острых кромок и углов, которые могли бы вызвать поломки, травмы или неправильную эксплуатацию. Все детали должны быть чистыми внутри и снаружи.
6.1.3. Конструкция крана должна исключать возможность доступа к внутренним деталям без использования инструмента.
6.1.4. Отверстия для винтов, штифтов и т.д., которые используют для сборки узлов крана или для монтажа, не должны проникать в газовые каналы. Толщина стенки между этими отверстиями и газовыми каналами должна быть не менее 1 мм.
6.1.5. Необходимые при изготовлении крана технологические отверстия, соединяющие газовые каналы с атмосферой, но не влияющие на работу крана, должны быть постоянно закрыты металлическими заглушками. При этом дополнительно могут быть использованы соединительные составы.
6.1.6. Съемные детали, в том числе в местах измерений и испытаний, которые могут быть демонтированы при проведении технического обслуживания и регулировке должны быть сконструированы таким образом, чтобы герметичность достигалась с помощью механических средств (например, уплотнение металл по металлу, уплотнительные кольца) без использования жидких соединительных составов, паст или лент.
Съемные детали, не предназначенные для демонтажа, должны быть опломбированы таким образом, чтобы было видно несанкционированное вмешательство (например, лаком).
6.1.7. Демонтаж и повторная установка деталей, которые могут быть демонтированы при проведении технического обслуживания и регулировке, следует проводить с использованием стандартных инструментов. Конструкция или маркировка деталей должны быть выполнены так, чтобы при соблюдении инструкций изготовителя была невозможна их неправильная установка.
Резьбовые соединения съемных деталей должны иметь метрическую резьбу в соответствии с
ГОСТ 24705 и допуски на резьбу в соответствии с
ГОСТ 16093, если другой тип резьбы не требуется для правильного функционирования крана.
Винты-саморезы, образующие стружку при формировании резьбы, не должны использоваться для соединения деталей, проводящих газ, или деталей, которые могут быть демонтированы при проведении технического обслуживания.
Допускается использование винтов-саморезов, не образующих стружку, при условии, что они могут быть заменены винтами с метрической резьбой по
ГОСТ 24705.
6.1.8. Соединительные составы, применяемые для неразъемных соединений, должны оставаться эффективными при нормальных условиях эксплуатации.
Для соединения деталей крана, по которым проходит газ, не допускается использовать пайку или другие способы, если температура плавления соединительных материалов ниже 450 °C, кроме случаев, когда применяют дополнительное уплотнение.
6.1.9. Если краны приводят в действие приложением к ручке управления крутящего момента, они должны открываться поворотом против часовой стрелки и закрываться поворотом по часовой стрелке, за исключением кранов, обеспечивающих подачу газа к нескольким горелкам.
6.1.10. Конструкция кранов должна обеспечивать возможность управления вручную без использования инструментов.
6.1.11. Коническую пробку следует вставлять в коническое отверстие в корпусе крана со стороны большого диаметра, и при этом она должна выходить за пределы конического отверстия в основании корпуса со стороны малого диаметра. Для этого должно быть предусмотрено соответствующее пространство.
6.1.12. При нормальной эксплуатации крана должно быть исключена возможность воздействия на запорный элемент с усилием, позволяющим сдвинуть его со своего места в положение, при котором утечки превысят значения, указанные в таблице 1.
Максимально допустимые утечки
Номинальный диаметр впускного отверстия DN, мм | Максимально допустимая утечка, см3/ч |
Внутренняя герметичность | Внешняя герметичность |
DN < 10 | 20 | 20 |
10 <= DN <= 25 | 40 | 40 |
25 < DN <= 50 | 60 | 60 |
6.1.13. Если ручка управления нажимается для преодоления ограничения диапазона вращения, то при этом необходимо исключить прямое осевое давление на запорный элемент (кроме пружины).
6.1.14. Игольчатые краны (см.
рисунок 5) должны отвечать следующим требованиям:
- при открытии крана игла не должна выпадать из своего гнезда, а при закрытии должна упираться в опору;
- направление закрытия должно быть указано стрелкой (указание положения "малое пламя" не требуется);
- винт должен иметь резьбу, обеспечивающую закрытие крана не менее чем за полоборота и не более чем за один оборот;
- при вывинчивании иглы из корпуса должна быть исключена возможность ее полного удаления.
6.2. Материалы
6.2.1. Общие положения
Качество используемых материалов, размеры и методы сборки различных узлов должны быть такими, чтобы их конструкция и рабочие характеристики обеспечивали безопасность. Рабочие характеристики не должны существенно изменяться в течение всего срока службы крана, если он установлен и используется в соответствии с инструкциями изготовителя.
При этих условиях все детали должны выдерживать любые механические, химические и тепловые нагрузки, которым они могут подвергаться в процессе эксплуатации.
6.2.2. Цинковые сплавы
Для газопроводящих деталей кранов с максимальным рабочим давлением до 20 кПа (200 мбар) допускается использовать цинковые сплавы, если их качество соответствует сплаву ZnAl4A по
ГОСТ 19424 и температура этих деталей не превышает 80 °C. Если на входе или на выходе основного потока газа используют резьбовые соединения из цинковых сплавов, то они должны иметь наружную резьбу.
6.2.3. Корпус
Детали корпуса, отделяющие газопроводящие полости от атмосферы, должны быть изготовлены из металла.
Данное требование не распространяется на уплотнительные кольца, прокладки и прочие уплотнения.
6.2.4. Устойчивость к коррозии и защита поверхности
Все детали, включая пружины, контактирующие с газом или атмосферой, должны быть изготовлены из коррозионно-стойких материалов или надлежащим образом защищены. Антикоррозионная защита пружин и других движущихся частей не должна быть повреждена во время эксплуатации.
6.2.5. Пропитка
Если пропитка является частью производственного процесса, то она должна проводиться с использованием соответствующей процедуры (например, вакуумом или внутренним давлением, с использованием соответствующих уплотнительных материалов).
6.2.6. Сальниковые уплотнения для подвижных деталей
Сальниковые уплотнения запорного элемента и подвижных деталей, проходящих через тело крана в атмосферу, должны быть изготовлены из твердого, механически стабильного материала без остаточной деформации. Использование герметизирующих паст не допускается.
Для уплотнения подвижных деталей не должны использоваться сальники, регулируемые вручную.
Примечание. Регулируемые сальники, установленные изготовителем и защищенные от дальнейшей регулировки, считаются нерегулируемыми.
Сильфоны не должны использоваться в качестве единственного уплотняющего элемента от атмосферы.
6.2.7. Запорный элемент
Детали, перекрывающие газ, должны иметь механическую опору, воспринимающую уплотняющее усилие, или должны быть изготовлены из металла.
Направляющие элементы допускается изготавливать из неметаллических материалов.
6.3. Газовые соединения
6.3.1. Общие положения
Газовые соединения выполняют с использованием стандартных инструментов, например, с помощью подходящих гаечных ключей.
Эквивалентные присоединительные размеры приведены в таблице 2.
Таблица 2
Присоединительные размеры
Номинальный диаметр условного прохода DN, мм | Обозначение резьбы, дюйм | Условный проход фланцевого соединения, мм |
6 | 1/8 | 6 |
8 | 1/4 | 8 |
10 | 3/8 | 10 |
15 | 1/2 | 15 |
20 | 3/4 | 20 |
25 | 1 | 25 |
32 | | 32 |
40 | | 40 |
50 | 2 | 50 |
6.3.2. Соединения трубопроводов
6.3.2.1. Резьбовые соединения
Отверстия на входе и выходе газа из крана должны иметь трубные резьбы по
ГОСТ 6357 или
ГОСТ 6211.
6.3.2.2. Муфтовые соединения
Если соединения выполняют с использованием резьбовых соединительных муфт, то муфты должны поставляться вместе с краном или должна быть предоставлена полная информация о соединении, если резьбы не соответствуют
ГОСТ 6357 или
ГОСТ 6211.
6.3.2.3. Фланцевые соединения
Присоединительные фланцы кранов должны соответствовать
ГОСТ 12815. Если краны имеют фланцы, не обеспечивающие соединения с фланцами по
ГОСТ 12815, они должны быть оборудованы переходниками, позволяющими выполнить соединение со стандартными фланцами и резьбами, или должна быть предоставлена полная информация о сопрягаемых деталях.
6.3.2.4. Компрессионные фитинги
Перед выполнением соединения, в котором используют компрессионные фитинги, не требуется изменять форму трубы. Вкладыши должны соответствовать трубам, для которых они предназначены. Допускается использовать несимметричные вкладыши при условии, что их неправильная установка невозможна.
6.3.2.5. Соединения кранов внутри газовых приборов
Допускается применение других соединений кранов внутри газовых приборов при условии, что:
- демонтаж крана может быть выполнен только с помощью инструментов;
- испытывается соединение в целом, включая крепежные детали;
- соединения недоступны для пользователя.
6.4. Элементы конструкции
6.4.1. Положение ручки управления краном, соответствующее определенному расходу газа, должно быть нанесено способом, обеспечивающим их четкость и долговечность.
Для обозначения положений крана рекомендуются следующие символы:
- полный круг - закрыто;
- звезда - зажигание (при наличии);
- большое пламя - полностью открыто;
- малое пламя - положение "малое пламя".
Допускается не наносить обозначение, если ручка управления имеет такую конструкцию, при которой нанесение маркировки невозможно (например, для кнопки управления нажатием).
В положении "закрыто" кран должен иметь нерегулируемый упор.
6.4.2. Углы поворота крана
6.4.2.1. Положение "малое пламя", если оно имеется в конструкции крана, должно располагаться либо после положения "полностью открыто", либо между положениями "закрыто" и "полностью открыто".
Угол поворота игольчатого крана между положениями "закрыто" и "полностью открыто" должен быть не менее 180° и не более 360°.
6.4.2.2. Краны с положением "малое пламя" после положения "полностью открыто" должны удовлетворять следующим требованиям:
- угол поворота из положения "закрыто" в положение "полностью открыто" должен составлять (90 +/- 5)°;
- угол поворота из положения "полностью открыто" в положение "малое пламя" должен составлять более 70°; это требование не относится к кранам с несколькими выходными отверстиями;
- должны иметь упор в положении "малое пламя".
6.4.2.3. Краны с положением "малое пламя" между положениями "закрыто" и "полностью открыто" должны удовлетворять следующим требованиям:
- угол поворота из положения "закрыто" в положение "полностью открыто" должен составлять более 90°;
- угол поворота из положения "малое пламя" в положение "полностью открыто" должен составлять более 70°; это требование не относится к кранам с несколькими выходными отверстиями;
- положение "малое пламя" должно устанавливаться при повороте крана в направлении "закрыто";
- должны иметь упор в положении "полностью открыто".
6.4.2.4. Кран с одним выпускным отверстием без положения "малое пламя" должен иметь угол поворота из положения "закрыто" в положение "полностью открыто" (90 +/- 5)°.
6.4.3. Конструкция крана должна исключать закупорку смазкой газовых каналов.
6.4.4. Крайние положения перемещения крана должны быть ограничены упорами.
При управлении игольчатыми кранами не должна возникать возможность удаления иглы полностью из корпуса при вывинчивании. При закрывании положительный упор получается за счет контакта иглы с седлом.
6.4.5. Предохранительный фиксатор
Открытие крана не должно проводиться без предварительного его выведения из фиксированного положения.
Допускается открытие крана без предварительного его выведения из фиксированного положения, если имеется автоматика контроля пламени горелок.
Краны с двумя выходными отверстиями для двух отдельных горелок должны исключать возможность одновременной подачи газа на обе горелки.
Переключение с одного выходного отверстия на другое должно быть возможно только за счет прохода через фиксированное закрытое положение.
6.4.6. Перекрытие в кранах, за исключением игольчатых, должно быть не менее 3 мм (см.
рисунок 1).
6.4.7. Угол конуса для кранов с коническим запорным элементом должен быть не менее 9°25'.
6.4.8. Устройство предварительной настройки
Конструкция крана должна обеспечивать:
- свободный доступ к устройствам предварительной настройки (при их наличии);
- исключение возможности падения устройств в газовые каналы крана;
- возможность работы с устройствами с помощью стандартного инструмента;
- фиксацию устройств в заданном положении после настройки.
7. Эксплуатационные требования
7.1. Общие положения
Кран должен работать правильно при всех комбинациях следующих условий:
- во всем диапазоне давлений на входе;
- в диапазоне температуры окружающей среды от 0 °C до 60 °C или в более широких пределах, указанных изготовителем;
- во всех монтажных положениях, указанных изготовителем.
7.2. Герметичность
Краны должны быть герметичными.
Кран считают герметичным, если максимально допустимые утечки при проведении испытаний не превышают значений, указанных в
таблице 1.
Краны должны оставаться герметичными после демонтажа и повторной сборки.
7.3. Кручение и изгиб
7.3.1. Общие положения
Краны должны иметь достаточный запас прочности, чтобы выдерживать механические нагрузки при монтаже и эксплуатации.
После проведения испытаний крана не должна появляться остаточная деформация, и утечки не должны превышать значений, указанных в
таблице 1.
7.3.2. Крутящий момент
При испытаниях в соответствии с
8.3.2 или
8.3.3 кран должен выдерживать приложенный к нему крутящий момент, значение которого приведено в таблице 3.
Таблица 3
Крутящий и изгибающий моменты
Номинальный диаметр впускного отверстия DN, мм | | Изгибающий момент, Н·м |
Группа 1 и 2 | Группа 1 | Группа 2 |
Время приложения нагрузки, с |
| 10 | 900 | 10 |
6 | 15 (7) | 15 | 7 | 25 |
8 | 20 (10) | 20 | 10 | 35 |
10 | 35 (15) | 35 | 20 | 70 |
15 | 50 (15) | 70 | 40 | 105 |
20 | 85 | 90 | 50 | 225 |
25 | 125 | 160 | 80 | 340 |
32 | 160 | 260 | 130 | 475 |
40 | 200 | 350 | 175 | 610 |
50 | 250 | 520 | 260 | 1100 |
<1> Значения в скобках следует использовать для испытаний кранов с фланцевыми или хомутовыми соединениями для бытовых плит. |
7.3.3. Изгибающий момент
| | ИС МЕГАНОРМ: примечание. Текст дан в соответствии с официальным текстом документа. | |
При испытаниях в соответствии с
8.3.4 кран должен выдерживать приложенный к нему изгибающий, значение которого приведено в
таблице 3. Краны группы 1 должны быть дополнительно испытаны в соответствии с
8.3.5.
7.4. Номинальный расход
Максимальный расход газа, измеренный в соответствии с
8.4, должен быть не менее 95% номинального расхода, указанного изготовителем.
Номинальный расход измеряют в положении "полностью открыто" и, если это применимо, в положении "малое пламя".
7.5. Момент вращения и усилие нажатия ручки (кнопки)
7.5.1. Требования к моменту вращения
При испытаниях в соответствии с
8.5.1 момент вращения не должен превышать значений, указанных в таблице 4.
Таблица 4
Максимальный момент вращения
Номинальный диаметр впускного отверстия DN, мм | Момент вращения, Н·м |
5000 циклов | 10000 циклов | 40000 циклов |
DN <= 12 | 0,6 | 0,4 | 0,2 |
12 < DN <= 25 | 0,6 | 0,6 | 0,4 |
25 < DN <= 50 | 1,0 | 0,6 | 0,4 |
Если изготовитель оснащает кран вращающейся рукояткой, то крутящий момент на каждый миллиметр диаметра рукоятки не должен превышать 0,017 Н·м.
Примечание. Если кран оснащается каким-либо дополнительным устройством, например, для пьезорозжига, то крутящий момент для этого дополнительного устройства не учитывается.
7.5.2. Требования к усилию нажатия ручки (кнопки)
При испытаниях в соответствии с
8.5.2 усилие нажатия не должно превышать значений, указанных в таблице 5.
Таблица 5
Максимальное рабочее усилие нажатия
Номинальный диаметр впускного отверстия DN, мм | Рабочее усилие нажатия, Н |
5000 циклов | 10000 циклов | 40000 циклов |
DN < 10 | 45 | 45 | 30 |
10 <= DN <= 50 | 60 | 60 | 45 |
Если используется кнопка с блокировкой, то усилие нажатия не должно превышать 0,5 Н.
7.5.3. Требования к моменту вращения, обеспечивающего защитную блокировку
Если кран имеет блокировку в положении "закрыто", то при испытаниях в соответствии с
8.5.3 он не должен открываться при приложении к нему момента вращения, равного 1 Н·м. Этот момент вращения не должен влиять на удобство пользования с краном.
7.6. Продолжительность срока службы
7.6.1. Показатели долговечности
Наработка до отказа должна соответствовать количеству циклов, указанному предприятием-изготовителем, в соответствии с классификацией кранов.
Критерии отказа:
- нарушение герметичности;
- превышение нормированных значений момента вращения или усилия нажатия.
7.6.2. Эластомеры
Эластомеры (прокладки и т.д.), находящиеся в соприкосновении с газом, должны быть однородными, без пор, включений, абразивных частиц, раковин и других видимых поверхностных дефектов.
7.6.2.1. Маслостойкость
Устойчивость эластомеров к маслам проверяют погружением в масло. Изменение массы образца должно быть в пределах от минус 10% до плюс 15%.
7.6.2.2. Газостойкость
Стойкость эластомеров к воздействию углеводородных газов проверяют погружением в пентан. После этого испытания изменение массы должно быть в пределах от минус 5% до плюс 10%.
7.6.3. Маркировка
Маркировка должна быть стойкой к трению, влажности и температуре и не должна обесцвечиваться.
7.6.4. Прочность лакокрасочного покрытия
Поверхности, защищенные только лакокрасочным покрытием, должны выдерживать испытание на прочность по
8.6.4 до и после испытания на влагостойкость без проникания шарика сквозь защитный слой краски до обнаженного металла.
7.6.5. Влагостойкость
Материалы и покрытия деталей и узлов крана должны быть подвергнуты испытанию на влагостойкость, и после испытания они не должны иметь признаков коррозии, пузырей и других поверхностных повреждений, видимых визуально.
8.1. Последовательность испытаний
Испытания крана проводят в соответствии с требованиями настоящего стандарта.
8.2. Герметичность
Пределы погрешности используемых измерительных приборов не должны превышать +/- 1 см3 и +/- 10 Па (+/- 0,1 мбар).
Погрешность измерения утечки должна быть не более +/- 5 см3/ч.
Для определения внутренней утечки запорных элементов испытания проводят с начальным испытательным давлением 0,6 кПа (6 мбар), а затем для определения внутренних и внешних утечек испытания повторяют при давлении, которое в 1,5 раза превышает максимальное давление на входе, но не менее 15 кПа (150 мбар).
Если краны предназначены для работы с газами третьего семейства с номинальным давлением 11,2 кПа (112 мбар) или 14,8 кПа (148 мбар), испытательное давление должно составлять не менее 22 кПа (220 мбар).
При испытаниях на герметичность следует использовать методы, которые дают сопоставимые результаты. Примеры таких методов приведены:
- в
Приложении A (объемный метод) - при испытательном давлении до 15 кПа (150 мбар) включительно;
- в
Приложении B (метод падения давления) - при испытательном давлении более 15 кПа (150 мбар).
Способ пересчета результатов, полученных методом падения давления, в значения, получаемые объемным методом, приведен в
Приложении C.
8.2.2. Внешняя герметичность
Перед испытаниями запорные детали, которые могут быть демонтированы, должны быть сняты и снова собраны пять раз в соответствии с инструкциями изготовителя.
Испытания следует проводить в положении крана "полностью открыто", выходное отверстие заглушено. Воздух подают со стороны входного отверстия. Давление воздуха повышают согласно
8.2.1.
Утечка воздуха не должна превышать значений, указанных в
таблице 1.
8.2.3. Внутренняя герметичность
При закрытом положении запорного элемента на вход крана в указанном направлении подают поток воздуха с давлением согласно
8.2.1 и измеряют утечки, которые не должны превышать значений, указанных в
таблице 1.
8.3. Испытания на кручение и изгиб
8.3.1. Общие положения
Для испытаний используют трубы по
ГОСТ 3262 длиной не менее 40DN.
Для герметизации соединений следует применять только незатвердевающие пасты.
Моменты затяжки болтов фланцевых соединений по
ГОСТ 12815 указаны в таблице 6.
Таблица 6
Проход условный DN, мм | 6 | 8 | 10 | 15 | 20 | 25 | 32 | 40 | 50 |
Момент затяжки, Н·м | 20 | 20 | 30 | 30 | 30 | 30 | 50 | 50 | 50 |
До начала испытаний изгибающим и крутящим моментами краны следует проверить на внешнюю и внутреннюю герметичность.
Если входное и выходное соединения крана находятся не на одной оси, то испытание повторяют с перевернутым краном.
Краны, у которых соединения на входных и выходных отверстиях имеют разные номинальные диаметры, следует подвергать отдельно испытаниям на воздействие крутящего и изгибающего моментов.
Краны с компрессионными фитингами испытывают изгибающим моментом через адаптер на резьбовом соединении.
Примечания
1. Испытания крутящим моментом не проводят на кранах с фланцевыми соединениями, если это единственный способ для выполнения соединения.
2. Испытания изгибающим моментом не проводят на кранах с фланцевыми или хомутовыми соединениями для крепления к трубопроводам приборов для приготовления пищи.
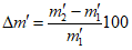
8.3.2. Испытания крутящим моментом в течение 10 с кранов групп 1 и 2 с резьбовыми соединениями.
Схема испытания крутящим моментом кранов групп 1 и 2 приведена на рисунке 6.
d - наружный диаметр; 1, 2 - труба; 3 - испытуемый образец
Рисунок 6. Схема испытания кранов групп 1 и 2
крутящим моментом
Испытания следует проводить в следующей последовательности:
- ввернуть трубу 1 (рисунок 6) в кран с моментом, не превышающим крутящий момент, указанный в
таблице 3. Зажать трубу 1 на расстоянии не менее 2d от крана;
- ввернуть трубу 2 в кран с моментом, не превышающим крутящий момент, указанный в
таблице 3;
- обеспечить опору для трубы 2 таким образом, чтобы к крану не прикладывался изгибающий момент;
- приложить необходимый крутящий момент к трубе 2 в течение 10 с. Значение крутящего момента следует увеличивать постепенно и плавно. Последние 10% крутящего момента следует прикладывать в течение периода времени не более 1 мин. Не следует превышать значения крутящего момента, указанного в
таблице 3;
- после снятия усилия проверить сборочный узел на наружную и внутреннюю герметичность и визуально на наличие деформации;
- если соединения на входном и выходном отверстиях не располагаются на одной оси, испытания следует повторить, поменяв соединения местами.
8.3.3. Испытания крутящим моментом в течение 10 с кранов групп 1 и 2 с компрессионными соединениями
8.3.3.1. Компрессионные соединения с фитингами овальной формы
Для испытания используют стальную трубу с новым латунным фитингом овальной формы соответствующего размера.
Корпус крана закрепляют неподвижно и к каждой трубной гайке прикладывают в течение 10 с испытательный крутящий момент, указанный в
таблице 3.
Кран проверяют на наличие деформаций, не принимая во внимание деформации овального седла или сопрягающихся поверхностей от приложенного крутящего момента.
Затем кран проверяют на внешнюю и внутреннюю герметичность в соответствии с
8.2.2 и
8.2.3.
8.3.3.2. Конические компрессионные соединения
Испытания проводят в соответствии с
8.3.3.1 с использованием короткой стальной трубы с коническим наконечником. При этом не принимают во внимание любые деформации конусного седла или сопрягающихся поверхностей от приложенного крутящего момента.
8.3.3.3. Фланцевые или седлообразные соединения для крепления крана на газопроводе аппаратов для приготовления пищи
Кран присоединяют к газопроводу в соответствии с рекомендациями изготовителя и затягивают крепежные винты с рекомендованным моментом. Выполняют компрессионное соединение с фитингом овальной или конической формы и затягивают с крутящим моментом, указанным в скобках в
колонке 2 таблицы 3, в соответствии с процедурами, описанными в
8.3.3.1 или
8.3.3.2.
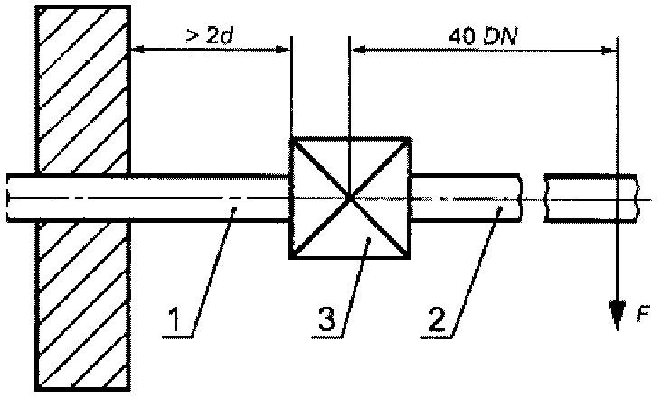
8.3.4. Испытания изгибающим моментом в течение 10 с кранов групп 1 и 2
При испытаниях изгибающим моментом используют тот же кран, что и при испытаниях крутящим моментом.
В соответствии с рисунком 7 на расстоянии 40 DN от центра крана прилагают усилие с учетом массы трубы, необходимое для создания изгибающего момента, указанного в
таблице 3 для времени испытаний 10 с.
d - наружный диаметр; DN - номинальный диаметр
условного прохода; 1, 2 - труба; 3 - испытуемый образец
Рисунок 7. Схема испытания кранов изгибающим моментом
После снятия нагрузки необходимо визуально проверить кран на отсутствие деформаций, а затем на внешнюю и внутреннюю герметичность в соответствии с
8.2.2 и
8.2.3.
Если соединения на входе и выходе расположены не на одной оси, испытания следует повторить, поменяв соединения местами.
8.3.5. Испытания изгибающим моментом в течение 900 с кранов группы 1
При испытаниях изгибающим моментом используют тот же кран, что и при испытаниях крутящим моментом.
В соответствии с рисунком 7 на расстоянии 40 DN от центра крана прилагают усилие с учетом массы трубы, необходимое для создания изгибающего момента, указанного в
таблице 3 для времени испытаний 900 с.
Не снимая нагрузки необходимо визуально проверить кран на отсутствие деформаций, а затем на внутреннюю герметичность в соответствии с
8.2.3.
После снятия нагрузки необходимо проверить кран на внешнюю герметичность в соответствии с
8.2.2.
Если соединения на входе и выходе расположены не на одной оси, испытания следует повторить, поменяв соединения местами.
8.4. Измерение номинального расхода
8.4.1. Испытательный стенд
Испытание проводят на стенде, схема которого изображена на
рисунке 8.
1 - регулятор давления; 2 - термометр; 3 - расходомер;
4 - манометр; 5 - манометр; 6 - дифференциальный манометр;
7 - образец для испытаний; 8 - кран
Рисунок 8. Стенд для измерения расхода газа
Точность измерения расхода газа должна быть не менее +/- 2%.
Допускается использовать другие методы измерения расхода с точностью не менее той, что указана в настоящем стандарте.
8.4.2. Проведение испытания
Для измерения номинального расхода кран следует установить в положение "полностью открыто". Давление воздуха на входе должно быть постоянным. Расход воздуха регулируется так, чтобы обеспечить заданный изготовителем перепад давлений на кране между входом и выходом.
Для измерения минимального расхода газа, нормируемого изготовителем, кран должен быть установлен в положение "малое пламя".
8.4.3. Пересчет расхода
Измеренный расход пересчитывают на стандартные условия по формуле (1):

, (1)
где q - измеренный расход воздуха, м3/ч;

- приведенный расход воздуха, м3/ч;

- атмосферное давление, Па;
p - испытательное давление, Па;
t - температура воздуха, °C.
8.5. Момент вращения и усилие нажатия
8.5.1. Момент вращения ручки управления (см.
7.5) измеряют с помощью соответствующего измерительного прибора, погрешность которого составляет +/- 10% от максимального значения момента, указанного в
таблице 4, для соответствующего размера крана. Движения в направлении открытия и закрытия проводят с постоянной угловой скоростью приблизительно равной 1,5 рад/с. Измеренный момент вращения не должен превышать значений, указанных в
таблице 4.
8.5.2. Усилие нажатия ручки (кнопки) управления измеряют с помощью соответствующего динамометра, погрешность которого составляет +/- 10% от максимального значения усилия нажатия, указанного в
таблице 5 для соответствующего размера крана. Измеренное усилие нажатия не должно превышать значений, указанных в
таблице 5.
8.5.3. Проверку надежности фиксации крана в положении "закрыто" следует проводить 10 раз, прикладывая во время каждого испытания момент вращения 1 Н·м в течение 10 с. После проверки кран должен сохранить рабочие характеристики.
8.6. Продолжительность срока службы
8.6.1. Испытания на долговечность
8.6.1.1. Статические испытания на долговечность
Два крана (один в открытом, а другой в закрытом положении) последовательно испытывают на долговечность при следующих температурных условиях:
- 48 ч при 0 °C или при минимальной рабочей температуре, указанной изготовителем, если она ниже;
- 48 ч при 60 °C или при максимальной рабочей температуре, указанной изготовителем, если она выше.
После этого испытания без приведения кранов в действие определяют момент вращения ручки или усилие нажатия кнопки.
8.6.1.2. Динамическое испытание на долговечность
При проведении испытаний количество циклов выбирают в зависимости от класса крана, указанного изготовителем:
5000 рабочих циклов;
10000 рабочих циклов;
40000 рабочих циклов,
при следующих условиях:
50% рабочих циклов выполняют при максимальной рабочей температуре, указанной изготовителем;
50% рабочих циклов выполняют при температуре (20 +/- 5) °C.
Примечание. Для сокращения продолжительности испытаний испытательные процедуры и допустимая частота рабочих циклов (количество рабочих циклов в минуту) определяются изготовителем. Момент вращения и усилие нажатия не должны превышать 130% от значений, указанных в
таблицах 4 и
5.
8.6.2. Эластомеры, контактирующие с газом
8.6.2.1. Общие положения
Испытания проводят на готовом изделии или на деталях готового изделия.
8.6.2.2. Устойчивость к смазочным материалам
Испытания на устойчивость к смазочным материалам выполняют по
ГОСТ 9.030 (метод A) путем определения изменения массы после погружения предварительно взвешенных деталей на 168 ч с допускаемым предельным отклонением минус 2 ч в стандартное масло СЖР-2 при максимальной рабочей температуре, указанной для крана.
Относительное изменение массы деталей

, %, вычисляют по формуле

, (2)
где

- масса деталей до погружения в масло, г;

- масса деталей после погружения в масло, г.
Относительное изменение массы не должно превышать нормируемое значение.
8.6.2.3. Газостойкость
Испытания на устойчивость к воздействию углеводородных газов выполняют следующим образом:
- детали взвешивают и погружают в жидкий пентан на 72 ч с допускаемым предельным отклонением минус 2 ч при температуре (23 +/- 2) °C так, чтобы они были полностью покрыты жидкостью;
- детали извлекают из пентана, помещают их в сушильный шкаф и выдерживают 168 ч с допускаемым предельным отклонением минус 2 ч при температуре (40 +/- 2) °C и атмосферном давлении;
- детали вновь взвешивают.
Относительное изменение массы деталей

, %, вычисляют по формуле

, (3)
где

- масса деталей до погружения в пентан, г;

- масса деталей, извлеченных из сушильного шкафа, г.
Относительное изменение массы не должно превышать нормируемого значения.
8.6.3. Маркировка
Устойчивость маркировки испытывают в соответствии с
ГОСТ МЭК 730-1 (приложение А).
8.6.4. Испытание на стойкость лакокрасочного покрытия
Проверку стойкости деталей крана следует проводить по
ГОСТ 9.908. Механическую прочность лакокрасочного покрытия проводят с помощью приспособления в соответствии с
рисунком 9.
1 - пружина с усилием 10 Н; 2 - наконечник
(стальной шарик диаметром 1 мм)
Рисунок 9. Приспособление для проверки
механической прочности лакокрасочного покрытия
Жестко закрепленным стальным шариком диаметром 1 мм проводят по испытуемой поверхности со скоростью от 30 до 40 мм/с и контактным усилием 10 Н.
После окончания испытаний визуально проверяют отсутствие царапин и других повреждений лакокрасочного покрытия. Испытания повторяют после испытания на влагостойкость.
8.6.5. Испытание на влагостойкость
При испытании на влагостойкость кран помещают на 48 ч в климатическую камеру с температурой окружающего воздуха (40 +/- 2) °C и с относительной влажностью более 95%. После испытания кран извлекают из камеры и визуально осматривают его на наличие признаков коррозии, отслоения или вспучивания лакокрасочного покрытия. Затем кран выдерживают в течение 24 ч при температуре (20 +/- 5) °C и проводят повторный осмотр.
9. Маркировка, руководство по монтажу и эксплуатации
9.1. Маркировка корпуса крана
На видном месте каждого крана прикрепляют табличку по
ГОСТ 12969 или наносят маркировку, содержащую следующие сведения:
- знак обращения на рынке;
- наименование предприятия-изготовителя и (или) торговую марку, наименование страны происхождения продукции;
- модель (тип) крана;
- дату изготовления (по крайней мере год);
- серийный номер;
- вид и номинальное давление используемого газа;
- направление потока газа.
Направление потока газа должно быть четко обозначено (литьем или рельефной стрелкой). Выполнение этого условия не требуется, если кран предназначен для использования с газовыми аппаратами одного типа и ошибка в этом случае невозможна.
В случае нехватки места допускается не указывать рабочее давление крана, если оно не превышает 10 кПа (100 мбар).
9.2. Руководство по монтажу и эксплуатации
Руководство должно поставляться с каждой партией товара на языке(ах) страны, в которую поставляются краны. Оно должно содержать всю необходимую информацию по эксплуатации, монтажу и обслуживанию, в частности:
- описание изделия;
- тип газа, для которого предназначен данный кран;
- максимальное рабочее давление;
- номинальный расход с указанием перепада давлений;
- минимальное и максимальное значения температуры окружающей среды;
- положение(я) при монтаже;
- группу крана (1 или 2);
- количество рабочих циклов;
- вид соединения;
- устройство блокировки (при наличии).
9.3. Предупредительное уведомление
К каждой партии кранов должно быть приложено предупредительное уведомление следующего содержания: "Изучите руководство по эксплуатации перед использованием. Кран устанавливается в соответствии с действующим руководством".
(рекомендуемое)
ОБЪЕМНЫЙ МЕТОД ИСПЫТАНИЙ НА ГЕРМЕТИЧНОСТЬ
A.1. Аппаратура для испытаний на герметичность
Аппаратура для испытаний на герметичность приведена на
рисунке A.1.
1 - сжатый воздух; 2 - градуированная шкала;
3 - испытуемый образец; 4 - измерительная бюретка;
5 - сосуд с постоянным уровнем; 6 - сосуд с водой;
7, 14 - сосуды для слива лишней воды; 8 - 13 - краны
Рисунок A.1. Аппаратура для испытаний на герметичность
объемным методом
Устройство заполняют водой. Расстояние L между уровнем воды в сосуде с постоянным уровнем 5 и концом трубки в измерительном сосуде 4 регулируют таким образом, чтобы высота уровня воды соответствовала испытательному давлению.
A.2. Порядок испытаний
Давление сжатого воздуха на входе в кран 8 регулируют до испытательного.
Все краны с 8-го по 12-й закрывают.
Испытуемый образец 3 подсоединяют к системе. Выпускной кран 13 закрывают.
Открывают кран 9, когда вода в сосуде с постоянным уровнем 5 перетечет в сосуд для слива лишней жидкости 7, кран закрывают.
Открывают краны 8 и 11. Подают сжатый воздух и устанавливают давление в измерительной бюретке 4 и испытуемом образце 3.
Открывают кран 10. Следует подождать в течение 15 мин, чтобы воздух в испытательном устройстве и образце достиг теплового равновесия.
На наличие какой-либо утечки будет указывать вода, переливающаяся из трубки в измерительную бюретку 4.
(рекомендуемое)
МЕТОД ИСПЫТАНИЙ НА ГЕРМЕТИЧНОСТЬ ПО ПОТЕРЕ ДАВЛЕНИЯ
B.1. Аппаратура для испытаний на герметичность
Аппаратура для испытаний на герметичность приведена на рисунке B.1.
1 - трубка со шкалой в миллиметрах; 2 - термически
изолированный сосуд под давлением; 3 - трехходовой кран;
4 - кран; 5 - патрубок для присоединения образца
для испытаний; 6 - компрессор; 7 - воздушный
объем 1 дм3; 8 - вода; 9 - теплоизоляция;
10 - напорная трубка
Рисунок B.1. Аппаратура для испытаний на герметичность
методом потери давления
Устройство состоит из теплоизолированного сосуда под давлением 2, который заполняют водой таким образом, чтобы объем воздуха над уровнем воды составлял 1 дм3. Стеклянная трубка 1 с наружным диаметром 5 мм должна быть открыта сверху, а ее нижний конец должен находиться в воде в сосуде 2. Эта трубка служит для измерения потери давления.
Испытательное давление прикладывают ко второй трубке 10, входящей в воздушную камеру сосуда под давлением 2. К патрубку 5 подсоединяют испытуемый образец посредством гибкой трубки длиной 1 м и внутренним диаметром 5 мм.
B.2. Порядок испытаний
Регулируют давление воздуха, создаваемое компрессором 6, через трехходовой кран 3 до испытательного давления. Подъем уровня воды в измерительной трубке 1 должен соответствовать испытательному давлению.
Подсоединяют образец для испытаний к патрубку 5 и регулируют давление посредством открывания трехходового крана 3.
Следует подождать в течение 10 мин, пока не установится тепловое равновесие, после чего начинают 5-минутный период испытаний. В конце этого периода времени потери давления считывают по измерительной трубке со шкалой 1.
(рекомендуемое)
ПЕРЕСЧЕТ ПОТЕРИ ДАВЛЕНИЯ В ИНТЕНСИВНОСТЬ УТЕЧЕК
Расчет интенсивности утечки

, см3/ч, в зависимости от потери давления, вычисляют по формуле:

,
где

- суммарный внутренний объем установки для испытаний, включая образец для испытаний, см3;
p' - абсолютное давление воздуха в начале испытаний, кПа;
p" - абсолютное давление воздуха в конце испытаний, кПа.
Потери давления измеряют в течение 5 мин и пересчитывают в интенсивность утечки за час.
(справочное)
СВЕДЕНИЯ О СООТВЕТСТВИИ МЕЖГОСУДАРСТВЕННЫХ СТАНДАРТОВ
ССЫЛОЧНЫМ МЕЖДУНАРОДНЫМ (РЕГИОНАЛЬНЫМ) СТАНДАРТАМ
Таблица ДА
Сведения о соответствии межгосударственных стандартов
ссылочным международным (региональным) стандартам
Обозначение и наименование ссылочного межгосударственного стандарта | Степень соответствия | Обозначение и наименование ссылочного международного (регионального) стандарта |
ГОСТ 9.030-74. Единая система защиты от коррозии и старения. Резины. Методы испытаний на стойкость в ненапряженном состоянии к воздействию жидких агрессивных сред | NEQ | ISO 1817:1985. Резина вулканизированная. Определение воздействия жидкостей |
ГОСТ 617-2006. Трубы медные и латунные круглого сечения общего назначения. Технические условия | NEQ | ISO 274:1975. Трубы медные круглого сечения. Размеры |
ГОСТ 3262-75. Трубы стальные водогазопроводные. Технические условия | NEQ | ISO 65:1985. Трубы из углеродистой стали для нарезки резьбы по ISO 7-1 |
ГОСТ 6211-81. Основные нормы взаимозаменяемости. Резьба трубная коническая | NEQ | EN 10226-1:2004. Трубная резьба для соединений, уплотняемых по резьбе. Часть 1. Конусная наружная резьба и цилиндрическая внутренняя резьба. Размеры, допуски и маркировка |
ГОСТ 6357-81. Основные нормы взаимозаменяемости. Резьба трубная цилиндрическая | NEQ | EN 10226-1:2004. Трубная резьба для соединений, уплотняемых по резьбе. Часть 1. Конусная наружная резьба и цилиндрическая внутренняя резьба. Размеры, допуски и маркировка |
ГОСТ 12815-80. Фланцы арматуры, соединительных частей и трубопроводов на Pу от 0,1 до 20,0 МПа (от 1 до 200 кгс/см2). Типы. Присоединительные размеры и размеры уплотнительных поверхностей | NEQ | ISO-7005-2-88. Металлические фланцы. Часть 1. Стальные фланцы |
ГОСТ 16093-2004. Основные нормы взаимозаменяемости. Резьба метрическая. Допуски. Посадки с зазором | NEQ | ISO 228-1-94. Трубная резьба с герметичными соединениями не на резьбе. Часть 1. Размеры, допуски и обозначения |
ГОСТ 24705-2004. Основные нормы взаимозаменяемости. Резьба метрическая. Основные размеры | NEQ | ISO 262:1973. Резьбы метрические общего назначения по ISO. Выбранные размеры для винтов, болтов и гаек |
ГОСТ МЭК 730-1-95. Автоматические электрические управляющие устройства бытового и аналогичного назначения. Общие требования и методы испытаний | IDT | IEC 730-1:1986. Устройства автоматические электрические управляющие бытового или аналогичного назначения. Часть 1. Общие требования |
Примечание. В настоящей таблице использованы следующие условные обозначения степени соответствия стандартов: - IDT - идентичные стандарты; - MOD - модифицированные стандарты; - NEQ - неэквивалентные стандарты. |