Главная // Актуальные документы // НоменклатураСПРАВКА
Источник публикации
М.: ООО Издательство "БСТ", 2015
Примечание к документу
Текст данного документа приведен с учетом
поправки, утв. Ассоциацией "Национальное объединение строителей", "НОСТРОЙ" 02.06.2017.
Название документа
"СТО НОСТРОЙ 2.7.131-2013. Стандарт организации. Строительные конструкции зданий и сооружений. Устройство конструкций с применением особо легкого полистиролбетона. Правила, контроль выполнения и требования к результатам работ"
(утв. и введен в действие Протоколом Ассоциации "Национальное объединение строителей", "НОСТРОЙ" от 13.12.2013 N 49)
"СТО НОСТРОЙ 2.7.131-2013. Стандарт организации. Строительные конструкции зданий и сооружений. Устройство конструкций с применением особо легкого полистиролбетона. Правила, контроль выполнения и требования к результатам работ"
(утв. и введен в действие Протоколом Ассоциации "Национальное объединение строителей", "НОСТРОЙ" от 13.12.2013 N 49)
Утвержден и введен в действие
Протоколом Совета Национального
объединения строителей
от 13 декабря 2013 г. N 49
СТАНДАРТ ОРГАНИЗАЦИИ
СТРОИТЕЛЬНЫЕ КОНСТРУКЦИИ ЗДАНИЙ И СООРУЖЕНИЙ
УСТРОЙСТВО КОНСТРУКЦИЙ С ПРИМЕНЕНИЕМ
ОСОБО ЛЕГКОГО ПОЛИСТИРОЛБЕТОНА
ПРАВИЛА, КОНТРОЛЬ ВЫПОЛНЕНИЯ И ТРЕБОВАНИЯ
К РЕЗУЛЬТАТАМ РАБОТ
Structural components of building and constructions
Arrangement of structures with the use
of very light polystyrene concrete
Rules, control of performance and requires
to the results of works
СТО НОСТРОЙ 2.7.131-2013
1 РАЗРАБОТАН | Закрытым акционерным обществом "Научно-исследовательский, проектно-конструкторский и технологический институт "ВНИИжелезобетон" |
2 ПРЕДСТАВЛЕН НА УТВЕРЖДЕНИЕ | Комитетом по промышленному строительству Национального объединения строителей, протокол от 10 декабря 2013 г. N 25 |
3 УТВЕРЖДЕН И ВВЕДЕН В ДЕЙСТВИЕ | Решением Совета Национального объединения строителей, протокол от 13 декабря 2013 г. N 49 |
4 ВВЕДЕН | ВПЕРВЫЕ |
Настоящий стандарт разработан в рамках Программы стандартизации Национального объединения строителей в соответствии с Градостроительным
кодексом Российской Федерации и требованиями Федерального
закона от 30 декабря 2009 г. N 384-ФЗ "Технический регламент о безопасности зданий и сооружений" и предназначен для разъяснения порядка применения требований указанного закона при устройстве ограждающих конструкций сборных из полистиролбетона для строящихся жилых и общественных зданий.
Настоящий стандарт подлежит применению при строительстве энергоэффективных зданий в целях, указанных в
ст. 12 Федерального закона от 27 декабря 2002 г. N 184-ФЗ "О техническом регулировании", в том числе:
- рационального использования материальных, трудовых и денежных ресурсов при строительстве зданий (при повышении энергоэффективности);
- энергосбережения до 40% при эксплуатации зданий за счет повышения уровня теплозащиты ограждающих конструкций, утепляемых полистиролбетоном (в комплексе с инженерными мероприятиями);
- обеспечения научно-технического прогресса за счет использования полистиролбетона с повышенными физико-механическими характеристиками и оптимизированных технических решений ограждающих конструкций;
- обеспечения комфортности, пожарной и экологической безопасности при эксплуатации зданий.
В настоящем стандарте нормированы требования к устройству ограждающих конструкций из полистиролбетона, обладающих повышенными энергосберегающими характеристиками, что отвечает требованиям Федерального
закона от 23 ноября 2009 г. N 261-ФЗ "Об энергосбережении и о повышении энергетической эффективности и о внесении изменений в отдельные законодательные акты Российской Федерации".
Стандарт разработан с учетом 12-летнего опыта применения изделий из полистиролбетона, получившего широкое распространение при строительстве энергосберегающих зданий различного назначения на территории Москвы, Московской области, Санкт-Петербурга, Ленинградской области, Уральского и других регионов Российской Федерации.
Авторский коллектив: член-кор. РААСН, проф. В.А. Рахманов (руководитель), канд. техн. наук В.И. Мелихов (заместитель руководителя), канд. техн. наук Н.Е. Мишуков, канд. техн. наук Г.С. Савельева, инж. А.В. Воронин (ЗАО "ВНИИжелезобетон").
1.1 Настоящий стандарт распространяется на ограждающие конструкции зданий сборные из полистиролбетонных изделий и устанавливает технические требования к устройству конструкций, правилам, контролю выполнения и результатам работ. Положения
разделов 4 -
6,
9 являются рекомендуемыми.
1.2 Положения настоящего стандарта применяются при строительстве зданий различного назначения, в том числе жилых и общественных, согласно требований
ГОСТ Р 51263.
В настоящем стандарте использованы нормативные ссылки на следующие стандарты и своды правил:
ГОСТ 12.1.004-91 Система стандартов безопасности труда. Пожарная безопасность. Общие требования
| | ИС МЕГАНОРМ: примечание. В официальном тексте документа, видимо, допущена опечатка: имеется в виду ГОСТ 12.1.007-76, а не ГОСТ 12.01.007-76. | |
ГОСТ 12.01.007-76 Система стандартов безопасности труда. Вредные вещества. Классификация и общие требования безопасности
| | ИС МЕГАНОРМ: примечание. В официальном тексте документа, видимо, допущена опечатка: имеется в виду ГОСТ Р 12.1.019-2009, а не ГОСТ 12.1.019-2009. | |
ГОСТ 12.1.019-2009 Система стандартов безопасности труда. Электробезопасность. Общие требования и номенклатура видов защиты
ГОСТ 12.1.030-81 Система стандартов безопасности труда. Электробезопасность. Защитное заземление, зануление
ГОСТ 12.4.011-89 Система стандартов безопасности труда. Средства защиты работающих. Общие требования и классификация
ГОСТ 530-2012 Кирпич и камень керамические. Общие технические условия
ГОСТ 3826-82 Сетки проволочные тканые с квадратными ячейками. Технические условия
ГОСТ 4784-97 Алюминий и сплавы алюминиевые деформируемые. Марки
ГОСТ 5781-82 Сталь горячекатаная для армирования железобетонных конструкций. Технические условия
ГОСТ 6727-80 Проволока из низкоуглеродистой стали холоднотянутая для армирования железобетонных конструкций. Технические условия
ГОСТ 7076-99 Материалы и изделия строительные. Метод определения теплопроводности и термического сопротивления при стационарном тепловом режиме
ГОСТ 7502-98 Рулетки измерительные металлические. Технические условия
ГОСТ 7945-86 Ковши для отделочных работ. Технические условия
ГОСТ 7948-80 Отвесы стальные строительные. Технические условия
ГОСТ 9533-81 Кельмы, лопатки и отрезовки. Технические условия
ГОСТ 9573-2012 Плиты из минеральной ваты на синтетическом связующем теплоизоляционные. Технические условия
ГОСТ 10403-80 Гладилки стальные строительные. Технические условия
ГОСТ 13015-2012 Изделия бетонные и железобетонные для строительства. Общие технические требования. Правила приемки, маркировки, транспортирования и хранения
ГОСТ 19177-81 Прокладки резиновые пористые уплотняющие. Технические условия
ГОСТ 23407-78 Ограждения инвентарные строительных площадок и участков производства строительно-монтажных работ. Технические условия
ГОСТ 24544-81 Бетоны. Методы определения деформаций усадки и ползучести
ГОСТ 30244-94 Материалы строительные. Методы испытаний на горючесть
ГОСТ 30971-2012 Швы монтажные узлов примыкания оконных блоков к стеновым проемам. Общие технические условия
ГОСТ 31356-2007 Смеси сухие строительные на цементном вяжущем. Методы испытаний
ГОСТ 31357-2007 Смеси сухие строительные на цементном вяжущем. Общие технические условия
СП 2.13130.2012 "Системы противопожарной защиты. Обеспечение огнестойкости объектов защиты"
СНиП 12-03-2001 Безопасность труда в строительстве. Часть 1. Общие требования
СНиП 12-04-2002 Безопасность труда в строительстве. Часть 2. Строительное производство
СТО НОСТРОЙ 2.6.15-2011 Конструкции сборно-монолитные железобетонные. Элементы сборные железобетонные стен и перекрытий с пространственным арматурным каркасом. Технические условия
СТО НОСТРОЙ 2.7.16-2011 Конструкции сборно-монолитные железобетонные. Стены и перекрытия с пространственным арматурным каркасом. Правила выполнения, приемки и контроля монтажных, арматурных и бетонных работ
СТО НОСТРОЙ 2.33.51-2011 Организация строительного производства. Подготовка и производство строительных и монтажных работ
СТО НОСТРОЙ 2.6.54-2011 Конструкции монолитные бетонные и железобетонные. Технические требования к производству работ, правила и методы контроля
Примечание - При пользовании настоящим стандартом целесообразно проверить действие ссылочных нормативных документов в информационной системе общего пользования - на официальных сайтах национального органа Российской Федерации по стандартизации и НОСТРОЙ в сети Интернет или по ежегодно издаваемым информационным указателям, опубликованным по состоянию на 1 января текущего года. Если ссылочный документ заменен (изменен), то при пользовании настоящим стандартом следует руководствоваться новым (измененным) документом. Если ссылочный документ отменен без замены, то положение, в котором дана ссылка на него, применяется в части, не затрагивающей эту ссылку.
3 Термины, определения и сокращения
В настоящем стандарте применяются следующие термины с соответствующими определениями и сокращениями:
3.1 железобетонные конструкции зданий: Несущие наружные стены, колонны, пилоны, покрытия и перекрытия (чердачные, над проездами, холодными подвалами и подпольями), цоколи и фундаменты, утепляемые полистиролбетонными изделиями.
3.2 клеевые композиции из сухих смесей: Порошкообразные составы, затворяемые водой в построечных условиях и применяемые в ограждающих конструкциях для кладки полистиролбетонных изделий.
3.3 кондуктор для резки полистиролбетонных изделий: Приспособление с жесткими стальными направляющими элементами, обеспечивающими получение доборных элементов из полистиролбетонных блоков и плит с заданными допусками основных размеров.
3.4 листы гипсоволокнистые обычные (ГВЛ): Гипсоволокнистые листы, применяемые преимущественно для внутренней отделки зданий и помещений с сухим и нормальным влажностными режимами. |
3.5 листы гипсоволокнистые влагостойкие (ГВЛВ): Гипсоволокнистые листы, лицевая и тыльная поверхности которых обладают повышенным сопротивлением проникновению влаги. |
3.6 ненесущие полистиролбетонные наружные стены: Ограждающие конструкции зданий с облицовочными слоями, утепляемые полистиролбетонными изделиями, поэтажно опирающиеся на железобетонные перекрытия в пределах одного этажа высотой не более 6 м, воспринимающие собственный вес, а также ветровую нагрузку.
3.7 несущие полистиролбетонные наружные стены: Ограждающие конструкции малоэтажных (до двух этажей включительно) зданий, утепляемые с использованием полистиролбетонных стеновых блоков и перемычек из конструкционно-теплоизоляционного полистиролбетона, воспринимающие нагрузки от собственного веса, ветра и вышележащих конструкций.
3.8 ограждающие конструкции с применением полистиролбетонных изделий: Ненесущие или несущие наружные стены зданий, включающие кладку из полистиролбетонных блоков и перемычек, и покрытия и перекрытия (чердачные, над холодными подвалами, подпольями, проездами), утепляемые полистиролбетонными плитами, в совокупности образующие теплосберегающую оболочку здания.
3.9 облицовочные слои: Наружные (из штукатурки, кирпичной кладки, базальтовых мат или плит, декоративных фасадных плит) или внутренние (из штукатурки или ГВЛ) конструктивные слои наружных стен (с основным утепляющим слоем из ПСБ изделий), выполняющих огнезащитные, теплоизолирующие, а также (со стороны фасада) архитектурные функции.
3.10 полистиролбетон (ПСБ): Особо легкий бетон поризованной структуры на цементном вяжущем и заполнителе из вспененного гранулированного полистирола с использованием воздухововлекающих добавок, поризующих цементный камень, и других добавок - модификаторов свойств бетона. |
3.11 сборные полистиролбетонные изделия: Блоки стеновые, плиты, перемычки и другие элементы ограждающих конструкций зданий, изготавливаемые из полистиролбетона в заводских условиях.
4 Требования к полистиролбетону и полистиролбетонным изделиям
4.1 Требования к полистиролбетону
4.1.1 Полистиролбетон, используемый в сборных изделиях (блоки, перемычки и плиты), по степени теплозащитных и конструктивных качеств, а также физико-техническим характеристикам должен отвечать требованиям ГОСТ Р 51263-2012 (
пункты 4 и
5).
4.2 Номенклатура, типоразмеры и виды изделий из полистиролбетона
4.2.1 Полистиролбетонные изделия, поставляемые на строительную площадку, должны отвечать техническим условиям изготовителя, утвержденным в установленном порядке.
4.2.2 Комплектная
номенклатура полистиролбетонных изделий, рекомендуемая для наиболее эффективного использования в ограждающих конструкциях зданий, приведена в приложении А.
4.2.3 Полистиролбетонные изделия подразделяют на:
- блоки стеновые - неармированные изделия плотностью 225 - 600 кг/м3, включающие рядовые, простеночные, подоконные и доборные;
- плиты - неармированные изделия толщиной не более 200 мм плотностью менее 250 кг/м3, применяемые для утепления железобетонных покрытий и перекрытий;
- перемычки - армированные изделия плотностью 250 - 600 кг/м3, предназначенные для перекрытия оконных и дверных проемов в наружных стенах зданий.
4.2.4 Рядовые стеновые блоки - изделия прямоугольного сечения, наиболее широко применяемые в наружных стенах зданий.
4.2.5 Простеночные и подоконные стеновые блоки в отличие от рядовых блоков имеют четверти, предназначенные для формирования (совместно с перемычками) оконных или дверных проемов, и обеспечивающих проектное положение оконных (дверных) блоков.
4.2.6 Стеновые блоки, изготавливаемые в заводских условиях, подразделяются на два вида: обычные и повышенной заводской готовности - с облицовкой цементно-песчаным штукатурным слоем толщиной 15 - 25 мм.
4.2.7 Доборные блоки или плиты - изделия, имеющие ограниченное применение, которые изготовляют в заводских условиях или получают резкой в построечных условиях рядовых блоков или плит.
4.2.8 Полистиролбетонные изделия предназначены для ручного монтажа в ограждающих конструкциях зданий, что обеспечивается при их максимальных габаритных размерах (не более 0,625 м для блоков, 1,0 м для плит и 3,0 м для перемычек) и весе (не более 30 кг для блоков и 80 кг - для перемычек).
4.2.9 Допуски по габаритным размерам полистиролбетонных изделий (кроме толщины блоков и длины перемычек), предназначенных для монтажа на клеевых композициях, не должны превышать +/- 1,5 мм по высоте для всех типов изделий и +/- 2,0 мм по длине блоков и плит, а также ширине плит.
4.2.10 Допуски по габаритным размерам доборных изделий, получаемых резкой рядовых блоков или плит, не должны превышать +/- 1,5 мм, что обеспечивается при использовании специальных кондукторов.
5 Требования к дополнительным материалам и изделиям ограждающих конструкций
5.1 Состав ограждающих конструкций
5.1.1 Устройство ограждающих конструкций с применением изделий из полистиролбетона рассматривается в комплексе с другими взаимосвязанными материалами, обеспечивающими (при повышенной теплозащите) надежность эксплуатационных характеристик и целостность конструкций при ветровых воздействиях и пожаре, которые включают:
а) облицовочные негорючие слои стеновых ограждающих конструкций:
1) наружные - из кирпичной кладки, или армированной штукатурки, или хризолитцементных листов, или декоративных плит, в том числе монтируемых на относе для вентилируемых фасадов;
2) внутренние - из гипсоволокнистых листов (ГВЛ или ГВЛВ) или армированной штукатурки;
б) клеевые композиции для кладки сборных полистиролбетонных изделий;
в) связевые изделия - детали из проволоки или штукатурных сеток (стальных, базальтовых), укладываемых в горизонтальные швы кладок из полистиролбетонных изделий с выпусками в совпадающие швы кирпичной кладки или в штукатурку и обеспечивающие в наружных стенах надежную совместную работу облицовочных слоев и теплоизолирующего слоя из полистиролбетонных изделий;
г) связево-монтажные изделия - стальные детали плоского прямоугольного или круглого сечения, в том числе с использованием дюбелей, стальные перфорированные ленты, применяемые для крепления кладки из полистиролбетонных изделий к несущим конструкциям здания или оконным (дверным) блокам и навесного оборудования к кладке из полистиролбетонных изделий;
д) стальные изделия (закладные в железобетонных несущих конструкциях, арматурные сетки для кирпичной кладки, уголки и полосы для опирания кирпичной кладки над проемами);
е) теплоизоляционные материалы (негорючие минераловатные плиты) для устройства термовкладышей, заполнения зазоров под перекрытием, полостей между перемычками и по внешнему контуру оконных или дверных блоков;
ж) базальтовые маты или плиты для огнезащиты полистиролбетонных блоков в зданиях с навесным вентилируемым фасадом;
и) герметизирующие изделия (втулки, шнуры, мастики);
к) гидроизоляционные и пароизоляционные рулонные материалы.
5.2.1 Для кладки и склеивания полистиролбетонных изделий рекомендуется использовать клеевые композиции плотностью 600 - 800 кг/м
3 (в затвердевшем состоянии) из сухих смесей по ТУ 5745-005-86549669-12
[1].
5.2.2 Технические требования к клеевым композициям для кладки полистиролбетонных элементов и их основным показателям в затвердевшем состоянии приведены в таблице 5.1.
Таблица 5.1
Технические требования к клеевым композициям
Наименование показателя затвердевшей клеевой композиции | Значение показателя | Методы испытаний |
Объемная масса (плотность), кг/м3 | 600 | 800 | |
Прочность на сжатие в 28 сут., МПа, не менее | 2,0 | 2,5 | |
Коэффициент теплопроводности, Вт/(м·°C), не более: | | | |
- в сухом состоянии | 0,17 | 0,19 |
- для условий эксплуатации "Б" | 0,20 | 0,22 |
Морозостойкость, не менее | F35 | F50 | |
Горючесть | Негорючий | |
Адгезионная прочность к полистиролбетону, МПа, не менее | 0,1 | |
Токсичность композиции и ее компонентов | Нетоксичны, экологически безопасны | |
Коэффициент водостойкости, не менее | 0,95 | |
Рекомендуемая толщина клеевого шва, мм | 2 - 4 | - |
5.2.3 Клеевые композиции применяются при положительных температурах (от +5 °C до +40 °C) и в зимний период (при температурах от минус 20 °C до +5 °C). Сохраняемость их первоначальной подвижности (по
ГОСТ 31357) в зависимости от температуры применения составляет от 15 до 120 мин.
5.2.4 Допускается использование для кладки полистиролбетонных изделий клеевых композиций плотностью от 1000 до 1700 кг/м
3 с показателями (кроме теплопроводности) не ниже, указанных в
таблице 5.1.
5.3 Облицовочные и комплектующие материалы
5.3.1 Для фасадной облицовки наружных стен применяют лицевой кирпич керамический типов КО и КУ с размерами соответственно 250 x 120 x 65 и 250 x 120 x 88 мм согласно требованиям
ГОСТ 530 марки по прочности не ниже M100 и по морозостойкости не ниже F75 полнотелый или пустотелый с ограниченной пустотностью (не более 25%) и утолщенной (не менее 20 мм) наружной стенкой. Для кирпичной кладки используется раствор марки не ниже M50.
5.3.2 Штукатурный слой на наружной или внутренней поверхности стен выполняют по стальной сетке цементно-песчаным или цементно-песчано-известковым раствором класса по прочности на сжатие не ниже M50, морозостойкости не ниже F50, отвечающих требованиям
ГОСТ 28013 и
СП 82-101-98 [2].
5.3.3 Для внутренней облицовки стен используют гипсоволокнистые листы типа ГВЛ или ГВЛВ по
ГОСТ Р 51829 или цементно-песчаную или цементно-песчано-известковую штукатурку, упомянутые в
пункте 5.3.2.
5.3.4 В качестве комплектующих материалов (теплоизолирующих, герметизирующих, уплотняющих, шпаклевочных, крепежных) используют:
- негорючие минераловатные плиты полужесткие по
ГОСТ 9573 плотностью 125 кг/м
3 для устройства противопожарных рассечек и термовкладышей;
- негорючие прокладки из мягкой минваты по
ГОСТ 4640 плотностью 55 - 75 кг/м
3 для устройства сжимаемого теплоизолирующего шва под перекрытием и заполнения щелей между перемычками и подоконными сливами;
- герметизирующие прокладки в виде гернитовых резиновых пористых шнуров по
ГОСТ 19177, тиоколовую мастику
[3] - для гидроизоляции сжимаемой прокладки (шва);
- клеевую смесь для приклеивания ГВЛ и ГВЛВ к полистиролбетонным блокам;
- шовно-шпаклевочную мастику для заделки швов между ГВЛ (ГВЛВ);
- шовно-шпаклевочную мастику по ТУ 5745-005-86549669-12
[1] на основе сухих смесей для заделки швов между цементно-песчаной облицовкой полистиролбетонных блоков повышенной заводской готовности, технические требования к которой приведены в
таблице 5.2;
- стальные саморезы диаметром 6 мм длиной 25 - 40 мм для крепления слоев ГВЛ друг к другу;
- уголки стальные гнутые равнополочные 100 x 100 x 4 мм по
ГОСТ 19771.
Таблица 5.2
Технические требования к шовно-шпаклевочной мастике
Наименование показателей | Значение показателя | Методы испытаний |
Наибольшая крупность зерен в сухих смесях, мм, не более | 0,315 | |
Подвижность затворенной смеси, см | 3 - 5 | |
Время сохранения подвижности затворенной смеси, мин, не менее | 60 | |
Плотность затвердевшей мастики в возрасте 28 сут., кг/м3 | 1400 - 1600 | |
Прочность мастики при сжатии в возрасте 28 сут., МПа, не менее | 3,0 | |
Адгезионная прочность мастики к основанию в возрасте 28 сут., МПа, не менее | 0,3 | |
Марка по морозостойкости мастики, не менее | F50 | |
Линейная усадка мастики, мм/м, не более, | 0,5 | |
5.3.5 В качестве специальных огнезащитных материалов используют:
- базальтовые маты или плиты толщиной 20 - 50 мм, устанавливаемые с наружной стороны кладки из полистиролбетонных блоков для стен с вентилируемым навесным фасадом;
- асбестовые прокладки толщиной 5 мм, устанавливаемые в обрамлениях деревянных или пластиковых оконных и дверных стеклопакетов;
- листы хризолитцементные плоские толщиной 10 мм марки ЛПН по
ГОСТ 18124, устанавливаемые с внешней (фасадной) стороны полистиролбетонных перемычек при использовании полистиролбетонных блоков с заводской цементно-песчаной облицовкой для зданий с навесным вентилируемым фасадом.
5.3.6 В качестве рулонных гидро- и пароизоляционных материалов используют:
- гидроизоляционные материалы, отвечающие требованиям
СНиП 3.04.01;
- пленки рулонные гидро- и пароизоляционные полиэтиленовые или полипропиленовые толщиной 0,5 - 2,0 мм с коэффициентом паропроницаемости не более 0,0005 мг/(м·ч·Па).
5.4 Связевые и связево-монтажные изделия
5.4.1 Крепление слоев наружных стен осуществляют связевыми изделиями, расположенными в совпадающих горизонтальных швах кладок кирпичной и блочной полистиролбетонной (при кирпичной облицовке) или во всех горизонтальных швах блочной полистиролбетонной кладки (при штукатурной облицовке).
5.4.2 В качестве горизонтальных связей используют сетки стальные штукатурные из проволоки диаметром 1,0 - 1,2 мм с ячейкой 20 x 20 мм, или базальтовые диаметром 1 мм с ячейкой 25 x 25 мм огнестойкие, например с бентонитовым замасливателем. Допускается использование в качестве гибких связей стальных анкеров из проволоки диаметром 3 мм Вр-I по
ГОСТ 6727.
5.4.3 Для крепления базальтовых огнезащитных матов к полистиролбетонным блокам используются стальные дюбели, тарельчатые шайбы и шурупы.
5.4.4 Для соединения несущих стен, колонн и перекрытий с полистиролбетонными элементами, для закрепления оконных (дверных) блоков и навесного оборудования рекомендуется использование связево-монтажных изделий: стальных крепежных пластин, планшайб, перфорированных стальных лент сечением 26 x 1 мм, дюбелей, шайб и шурупов.
6 Технические решения ограждающих конструкций зданий
6.1 Особенности ограждающих конструкций зданий при применении полистиролбетонных изделий
6.1.1 Изделия из полистиролбетона используются в ограждающих конструкциях зданий с кирпичным, оштукатуриваемым и навесным вентилируемым фасадами.
6.1.2 Ограждающие конструкции зданий, в которых применяются изделия из полистиролбетона, подразделяются на:
- ненесущие наружные стены, включающие в себя кладку из полистиролбетонных блоков и перемычек, а также полистиролбетонные плиты теплоизоляционные в торцах железобетонных перекрытий, прилегающих к фасаду зданий
(пункт 6.3);
- несущие полистиролбетонные наружные стены малоэтажных зданий, включающие в себя блочную кладку из полистиролбетонных изделий повышенной плотности и прочности
(пункт 6.4.2);
- несущие железобетонные наружные стены зданий, утепляемые полистиролбетонными блоками и перемычками
(пункт 6.4.1);
- железобетонные покрытия и перекрытия: чердачные, над холодными подвалами, подпольями, а также проездами, утепляемые полистиролбетонными плитами
(пункт 6.5).
6.1.3 Изделия из полистиролбетона применяются при строительстве зданий высотой до 75 м (25 этажей включительно) в наружных ограждающих конструкциях (наружные стены, утепляемые покрытия и перекрытия), в совокупности образующих теплосберегающую оболочку, по принципиальным техническим решениям, отраженным в Техническом свидетельстве ТС N 2832-10
[4].
6.1.4 Рекомендации по применению сборных полистиролбетонных изделий и полистиролбетона в ограждающих конструкциях зданий приведены в таблице 6.1.
Таблица 6.1
Рекомендации по применению полистиролбетонных изделий
и полистиролбетона в ограждающих конструкциях зданий
Тип ограждающих конструкций зданий | Тип полистиролбетонных изделий | Вид полистиролбетона | Показатели полистиролбетона |
Марка по средней плотности | Марка или класс по прочности на сжатие |
Покрытия; перекрытия: чердачные, над проездами, холодными подвалами и подпольями; торцы железобетонных перекрытий; цоколи и фундаменты | Плиты | Теплоизоляционный | D150 - D225 | M2 - M5 (B0,35) |
Ненесущие наружные стены зданий высотой до 75 м включительно <1> | Блоки стеновые, перемычки | Теплоизоляционно-конструкционный | D250 - D350 | B0,5 - B1,0 |
Несущие наружные стены малоэтажных (1 - 2 этажа) зданий <2> | Блоки стеновые | Конструкционно-теплоизоляционный | D400 - D600 | B1,5 - B2,5 |
Перемычки |
<1> При технико-экономическом обосновании допускается применять блоки из полистиролбетона марки по средней плотности D225 и класса по прочности B0,35 - B0,5 в ненесущих наружных стенах зданий. <2> При технико-экономическом обосновании допускается применение полистиролбетона в несущих стенах зданий большей этажности. |
6.1.5 Не рекомендуется применение полистиролбетона для внутренних стен и перегородок зданий, а также межэтажных перекрытий (кроме утепляемых чердачного и нижнего, устраиваемых над проездами, холодными подпольями и неотапливаемыми подвалами).
6.1.6 В наружных стенах помещений с влажным и мокрым влажностным режимом воздуха по классификации СП 50.13330.2012
(пункт 4.3) применение изделий из полистиролбетона допускается при использовании для внутреннего слоя материалов с пониженной паропроницаемостью, обеспечивающих его сопротивление паропроницанию не менее 1,6 м
2·ч·Па/мг.
6.1.7 Утепление плитами из полистиролбетона цоколей и фундаментов зданий допускается при устройстве гидроизоляционной защиты от грунтовых вод с использованием тиоколовых мастик
[3].
6.1.8 Для снижения теплопотерь зданий с кирпичным или вентилируемым фасадом через железобетонные перекрытия у их торцов (в пределах толщины наружных стен) устраиваются термовкладыши из негорючей минеральной ваты.
6.1.9 В ненесущих стенах между верхом кладки из полистиролбетонных блоков и перекрытием должен быть зазор величиной 20 - 30 мм, обеспечивающий независимость деформаций железобетонных плит перекрытия и наружных стен. Зазор рекомендуется заполнять негорючей мягкой минеральной ватой средней плотностью 75 кг/м3.
6.1.10 В ненесущих стенах крепление верха кладки из полистиролбетонных блоков к примыкающей к ней плите перекрытия осуществляется стальными штырями или полосами, забиваемыми в блочную кладку у торцов железобетонных плит перекрытий или через отверстия в перекрытиях, в которых размещены термовкладыши. Расстояние от места забивки штырей или полос до края полистиролбетонного блока принимается не менее 100 мм.
6.1.11 Кирпичная фасадная облицовка может использоваться в одном из двух вариантов: кладка в 0,5 кирпича с усиленными связями или в 1 кирпич.
При использовании кирпичной облицовки в 0,5 кирпича она должна опираться на железобетонные перекрытия всей поверхностью без свеса, а при облицовке в 1 кирпич допускается свес до 15 мм
(пункт 6.3.3).
6.1.12 В наружных стенах из полистиролбетонных блоков с облицовкой фасадной стороны кирпичом или армированной штукатуркой (ГВЛ или ГВЛВ с внутренней стороны) балконные железобетонные плиты выполняются как продолжение плиты перекрытия с термовкладышами.
В местах расположения двери для балкона или лоджии устраивается порог
(пункт 6.2) с использованием полистиролбетонного стенового блока (или его части), облицованного на толщину 20 - 25 мм мелкозернистым бетоном класса по прочности не ниже B20 с армированием в два ряда мелкоячеистой стальной сеткой (с целью защиты порога от ударов, которые возможны при эксплуатации балкона или лоджии).
Для устройства порогов может быть использован фибробетон марки по прочности не ниже B30, изготовляемый и применяемый в соответствии с указаниями
[5].
6.1.13 Для обеспечения антивандальной защиты наружных стен с применением полистиролбетона рекомендуется для первых этажей зданий фасадную облицовку выполнять из полнотелого кирпича марки не менее M75 или керамогранитных (гранитных) плит, а в помещениях со свободным доступом, например, на лестничных клетках, с внутренней стороны стены облицовывать кирпичом или утолщенной керамической плиткой.
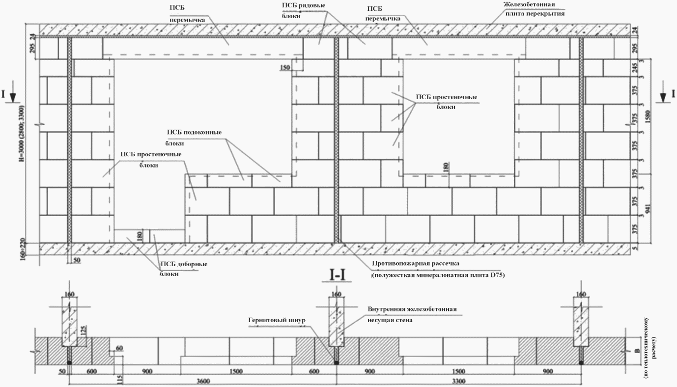
6.2 Раскладка полистиролбетонных блоков и перемычек в наружных стенах
6.2.1 На рисунках 6.1 и
6.2 приведены технические решения раскладки полистиролбетонных блоков и перемычек по фасаду в ненесущих стенах соответственно для блоков высотой 295 и 375 мм.
Рисунок 6.1 - Раскладка полистиролбетонных блоков высотой
295 мм и перемычек при монтаже наружной стены здания
с внутренними поперечными несущими стенами
Рисунок 6.2 - Раскладка полистиролбетонных блоков высотой
375 мм и перемычек при монтаже наружной стены здания
с внутренними поперечными несущими стенами
Полистиролбетонные блоки, прилегающие к оконным (дверным) проемам и к внутренним несущим стенам, должны иметь четверти. В зоне прилегания к несущим стенам по всей высоте этажа здания устраиваются противопожарные рассечки из полужесткой негорючей минваты средней плотностью 125 кг/м3 толщиной 50 мм.
6.2.2 Приведенные на
рисунках 6.1 и
6.2 технические решения раскладки полистиролбетонных блоков применимы к ненесущим стенам зданий с различными видами фасадов и внутренними железобетонными несущими поперечными стенами, колоннами или пилонами.
6.2.3 При возведении стен полистиролбетонные изделия всех видов (кроме перемычек, подоконных и простеночных блоков с четвертями) могут укладываться в любом положении.
6.3 Ненесущие наружные стены
6.3.1 Конструктивные решения ненесущих наружных стен из полистиролбетонных блоков и перемычек для зданий с кирпичной фасадной облицовкой и несущими железобетонными стенами приведены на рисунках 6.3 и
6.4.
Рисунок 6.3, лист 1 - Ненесущая стена
из ПСБ блоков с наружной кирпичной облицовкой
толщиной 0,5 кирпича и внутренней облицовкой ГВЛ.
Вертикальные разрезы по оконному проему и глухому простенку
Рисунок 6.3, лист 2 - Ненесущая стена из ПСБ блоков
с наружной кирпичной облицовкой толщиной 0,5 кирпича
и внутренней облицовкой ГВЛ. Горизонтальные разрезы
по оконному проему и перекрытию
Рисунок 6.4 - Ненесущая стена из ПСБ блоков
с наружной кирпичной облицовкой толщиной в 1 кирпич
и внутренней облицовкой ГВЛ
Представленные решения для полистиролбетонных блоков высотой 295 и 375 мм увязаны с примером раскладки блоков и перемычек, показанных на
рисунках 6.1 и
6.2.
6.3.2 Кирпичная кладка и полистиролбетонные блоки отстоят друг от друга на расстоянии 2 - 3 мм, и между ними может предусматриваться: воздушный зазор (что улучшает теплозащитные свойства) или кладочная клеевая композиция или раствор, что определяется как требованиями пожарной безопасности, так и требованиями по обеспечению сопротивления ветровым нагрузкам. Воздушный зазор между кладками должен предусматриваться на максимально возможной площади глухой части фасада здания, но не более 3 м2, в секциях, разделяемых полосами из негорючей клеевой композиции шириной 10 - 20 мм на всю толщину воздушного зазора.
6.3.3 На участке между перекрытием и верхом оконного (дверного) проема кирпичную облицовку следует опирать на стальной уголок 100 x 100 x 4 мм, расположенный над проемом, или на железобетонную перемычку.
Уголок для большей устойчивости имеет опорные пластины из стального листа, привариваемого к нему на концевых участках и заходящего в горизонтальные швы кладки из полистиролбетонных элементов (блоков, перемычек) в простенках. Опорные пластины крепятся к полистиролбетонным блокам дюбелями FUR 8 x 80T. При ширине проема более 1,5 м опорный стальной уголок должен дополнительно закрепляться в полистиролбетонную перемычку с использованием дюбеля FUR 8 x 80T, устанавливаемого в середине пролета на монтажной пене, которая заполняет полость предварительно просверленного отверстия (по способу
[6]) или с использованием химического анкера, в который через раззенкованное отверстие в уголке завинчивается стальной шуруп с потайной головкой.
Опорные стальные уголки над проемами применяются с обязательной антикоррозионной покраской в соответствии с
СП 28.13330, либо оцинкованными.
На
рисунках 6.3 и
6.4 также показано опирание фасадной кирпичной кладки на перекрытия. Предусматривается полное опирание (без консольных свесов) полистиролбетонных стеновых блоков и фасадной кирпичной облицовки на перекрытие, что повышает их устойчивость при ветровом давлении, в том числе на стадии возведения стены.
6.3.4 На рисунке 6.5 приведено техническое решение ненесущей стены из ПСБ блоков для зданий с несущими железобетонными колоннами и кирпичной облицовкой фасада.
Рисунок 6.5 - Ненесущая стена из ПСБ блоков для зданий
с несущими железобетонными колоннами и кирпичной облицовкой
фасада. Горизонтальный разрез
6.3.5 Техническое решение ненесущей стены из полистиролбетонных блоков с заводской цементно-песчаной облицовкой для зданий с кирпичной фасадной облицовкой представлено на рисунке 6.6.
Рисунок 6.6 - Ненесущая стена из ПСБ блоков
с заводской цементно-песчаной облицовкой и наружной
кирпичной облицовкой толщиной в 0,5 кирпича.
Вертикальный разрез по оконному проему
Швы между заводской цементно-песчаной облицовкой, образующиеся на поверхности стены после монтажа блоков, заделываются (с заглаживанием) шовно-шпаклевочной мастикой
(таблица 5.2), получаемой затворением водой сухих смесей на основе портландцемента и мелкозернистого песка.
6.3.6 При применении деревянных и пластиковых оконных (дверных) коробок их должны отделять от полистиролбетонных блоков негорючими прокладками, например, из асбестовых лент, а для заделки полостей необходимо использовать мягкую негорючую минеральную вату или монтажную пену и пароизоляционную ленту согласно
ГОСТ 30971.
6.3.7 Облицовка внутренней стороны полистиролбетонных стен гипсоволокнистыми листами (ГВЛ) толщиной 10 (12,5) мм предусматривает применение двух листов общей толщиной 20 (25) мм на вертикальных участках стен или трех листов общей толщиной 30 мм на откосах. Первый слой ГВЛ крепится к полистиролбетонным блокам с использованием клеевых маяков, приготовленных из сухой клеевой смеси. Второй слой ГВЛ крепится к первому стальными саморезами.
6.3.8 Кирпичная облицовка связана с полистиролбетонными блоками с помощью гибких стальных или базальтовых штукатурных сеток, которые устанавливаются в каждый горизонтальный клеевой шов между стеновыми полистиролбетонными блоками с выпусками на 2/3 толщины кирпичной облицовки.
6.3.9 Номинальная толщина вертикальных клеевых швов кладки из полистиролбетонных блоков составляет 2 мм, горизонтальных швов - 3 мм.
Расчетная толщина шва между плитами перекрытий и первым рядом кладки из полистиролбетонных блоков составляет 5 - 8 мм, с учетом укладываемой в этот шов штукатурной сетки по
ГОСТ 3826.
6.3.10 В подоконной части стены полистиролбетонные блоки высотой 295 мм укладываются в три ряда. Верхние блоки, прилегающие к проему, должны иметь четверти размером 30 x 115 мм. Простеночные блоки с боковых сторон проемов также должны иметь четверти размером 60 x 115 мм.
6.3.11 В надоконной части стены для устройства четверти укладываются несколько (в зависимости от толщины блоков) разновысоких полистиролбетонных перемычек шириной 115 - 180 мм, одна высотой 295 мм и остальные высотой 235 мм с воздушными прослойками между ними. При этом перемычка высотой 295 мм выполняет функции верхней горизонтальной четверти проема. На перемычки укладываются полистиролбетонные доборные блоки.
6.3.12 Между перекрытием и доборными стеновыми блоками предусмотрен зазор толщиной 20 - 30 мм, заполняемый сжимаемым негорючим материалом (например, негорючей минеральной ватой плотностью 55 - 75 кг/м
3 по
ГОСТ 4640), предназначенный для того, чтобы не допустить передачу давления на полистиролбетонные элементы стен при прогибе железобетонной плиты перекрытия.
6.3.13 На горизонтальных разрезах по перекрытию
(рисунок 6.3, лист 2) показано, что в плитах перекрытия предусматриваются термовкладыши из эффективного негорючего утеплителя толщиной не менее 175 мм. Между термовкладышами расположены железобетонные шпонки, соединяющие основную и консольную части плиты перекрытия.
6.3.14 Техническое решение наружной стены из полистиролбетонных блоков для зданий с оштукатуриваемым фасадом приведено на рисунке 6.7.
Рисунок 6.7 - Ненесущая стена из ПСБ блоков с наружной
штукатуркой и внутренней облицовкой ГВЛ. Вертикальные
разрезы по оконному проему и глухому простенку
6.3.15 Для обеспечения несущей способности оштукатуриваемых стен при воздействии ветровых нагрузок штукатурка армируется стальной оцинкованной (с фасадной стороны здания) и неоцинкованной (с внутренней стороны) сеткой из проволоки диаметром 1,0 - 1,2 мм с ячейкой не более 10 x 10 мм. Эта сетка должна быть надежно закреплена вязальной проволокой (со стороны фасадов - вязальной оцинкованной проволокой) к выпускам связевой сетки или арматурной проволоки, расположенных в горизонтальных швах кладки из полистиролбетонных блоков (см.
рисунок 6.16).
6.3.16 Для ненесущих наружных стен с оштукатуриванием фасадной стороны рекомендуется использовать неполное опирание полистиролбетонных блоков на перекрытия или фасадные ригели. При этом консольный свес нижнего ряда блоков стены верхнего этажа не должен превышать 1/3 ширины блока. Для блоков толщиной 375 мм рекомендуется применять свес на 100 мм
(рисунок 6.7).
Толщина слоя штукатурки на откосах проемов должна быть не менее 30 мм у оконных и дверных блоков и не менее 20 мм у края откосов с обязательным армированием штукатурного слоя стальными сетками.
Перемычки разновысокие оштукатуриваются с боковой и нижней сторон по стальной мелкоячеистой сетке, при этом нижний штукатурный слой имеет толщину 30 мм. Со стороны внутреннего горизонтального откоса вместо штукатурки можно использовать ГВЛ в 3 слоя по 10 мм.
Торец фасадной части перекрытия утепляется вставкой из полистиролбетонной доборной теплоизоляционной плиты плотностью D175 - D200 или слоем негорючего эффективного утеплителя.
6.3.17 Техническое решение наружной стены с навесным вентилируемым фасадом приведено на рисунке 6.8.
Рисунок 6.8, лист 1 - Ненесущая стена
из ПСБ блоков с вентилируемым фасадом.
Вертикальные разрезы по оконному проему
(термовкладышу и шпонке в перекрытии)
Рисунок 6.8, лист 2 - Ненесущая стена из ПСБ блоков
с вентилируемым фасадом. Вертикальный разрез по глухому
простенку и горизонтальный разрез по перекрытию
6.3.18 Для зданий с навесными вентилируемыми фасадами необходимо:
- крепить несущие реечные металлоконструкции только к торцам железобетонных перекрытий;
- обеспечить огнезащиту кладки из полистиролбетонных блоков и перемычек облицовкой толщиной не менее 20 мм из базальтовых матов (плит) или цементно-песчаной штукатурки, армированной стальной сеткой, в том числе при применении ПСБ блоков с заводской цементно-песчаной облицовкой.
6.4 Несущие наружные стены
6.4.1 Утепляемые полистиролбетоном железобетонные стены многоэтажных зданий.
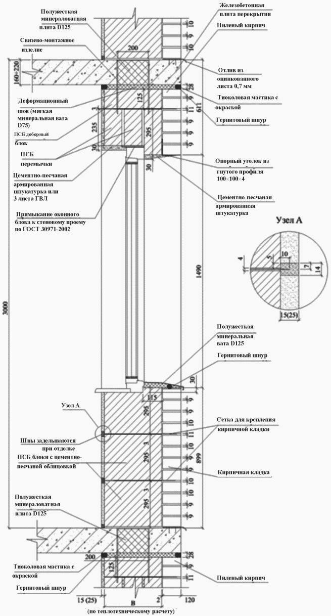
6.4.1.1 Техническое решение несущей железобетонной стены, утепляемой полистиролбетонными блоками и перемычками, с кирпичной фасадной облицовкой представлено на рисунке 6.9 (лист 1).
Рисунок 6.9, лист 1 - Несущая железобетонная стена,
утепляемая ПСБ блоками и перемычками, с наружной кирпичной
облицовкой толщиной 0,5 кирпича. Вертикальные разрезы
по оконному проему и глухому простенку
Связь блоков с железобетонной стеной обеспечивается Г-образной перфорированной стальной лентой толщиной 1 мм, один конец, которой размещается в горизонтальном клеевом шве блочной кладки, а другой - пристреливается стальными дюбелями и закрепляется стальной планшайбой толщиной 3 мм.
Связь между блочной и кирпичной кладками обеспечивается стальной или базальтовой штукатурной сеткой по аналогии с решениями, показанными на
рисунках 6.3,
6.4 и
6.19.
Торец железобетонного перекрытия утепляется негорючей полужесткой минеральной ватой средней плотностью 125 кг/м
3 (рисунок 6.9, лист 1).
6.4.1.2 Техническое решение несущей железобетонной стены, утепляемой изделиями из полистиролбетона плотностью D225 - D250 с оштукатуриваемым фасадом приведено на рисунке 6.9 (лист 2).
Рисунок 6.9, лист 2 - Несущая железобетонная стена,
утепляемая ПСБ изделиями, с цементно-песчаной облицовкой.
Вертикальный разрез по оконному проему
Связь полистиролбетонных блоков с железобетонной стеной и фасадной штукатуркой обеспечивается по аналогии с решениями, описанными в
пункте 6.4.1.1.
Торец железобетонного перекрытия утепляется доборными полистиролбетонными плитами теплоизоляционными по аналогии с решением, показанным на
рисунке 6.7.
6.4.2 Стены малоэтажных зданий из теплоизоляционно-конструкционного полистиролбетона.
6.4.2.1 Несущие стены из полистиролбетонных блоков плотностью 450 - 600 кг/м3 с фасадным оштукатуриванием наружной стороны по стальной сетке или кирпичной облицовкой в 0,5 кирпича рекомендуется применять для зданий высотой 1 - 2 этажа с использованием сборных железобетонных многопустотных плит перекрытий.
Минимальная плотность и прочность полистиролбетона в блоках определяется в зависимости от значений нагрузок, рассчитываемых по рекомендациям
СП 20.13330.
6.4.2.2 Техническое решение несущей стены из полистиролбетонных блоков здания с кирпичным фасадом представлено на рисунке 6.10 и с оштукатуренным фасадом на
рисунке 6.11.
Рисунок 6.10 - Несущая стена из полистиролбетонных блоков
с фасадной облицовкой толщиной в 0,5 кирпича. Вертикальный
разрез по оконному проему
Рисунок 6.11 - Несущая стена из полистиролбетонных блоков
с фасадной штукатуркой. Вертикальный разрез
по оконному проему
6.4.2.3 Для обеспечения нормируемого приведенного сопротивления теплопередаче наружной стены при использовании полистиролбетонных блоков с плотностью 450 - 600 кг/м
3 принята двухслойная блочная кладка общей толщиной, определяемой теплотехническим расчетом по
СП 50.13330 для региона, в котором ведется строительство. Кладка блоков выполняется с их взаимной перевязкой.
6.4.2.4 Железобетонная плита перекрытия опирается на полистиролбетонные блоки и усиленные полистиролбетонные перемычки или на доборные стеновые полистиролбетонные элементы, уложенные на эти перемычки. Полистиролбетонные перемычки усиливаются в растянутой зоне внешним армированием из стальных уголков 100 x 100 x 8 мм, позволяющим передавать на перемычки нагрузку от плиты перекрытия вместе с полезной нагрузкой
(рисунок 6.10).
Глубина опирания плит перекрытия на стену должна быть не менее 150 мм и при этом составлять не менее одной трети толщины стены (без учета облицовочного слоя). По противопожарным требованиям все пустоты сборных плит перекрытия, ориентированные к наружной стене, заделываются на глубину опирания плиты минеральной ватой, смоченной в цементно-песчаном растворе, или закладываются бетонными вкладышами.
6.4.2.5 Кирпичная облицовка несущих стен из сплошных полистиролбетонных блоков опирается на фундаментные железобетонные конструкции зданий.
6.5 Утепляемые покрытия и перекрытия
6.5.1 Технические решения по утеплению полистиролбетонными плитами кровельных покрытий зданий, чердачных перекрытий и перекрытий над холодными подвалами (подпольями, проездами) представлены на рисунках 6.12,
6.13,
6.14.
Рисунок 6.12 - Утепление покрытия здания с использованием
плитного полистиролбетона
Рисунок 6.13 - Утепление чердачного перекрытия
с использованием теплоизоляционных плит из полистиролбетона
Рисунок 6.14 - Утепление перекрытия над холодными подвалами
(подпольями, проездами) с использованием теплоизоляционных
плит из полистиролбетона
Для утепления используются плиты из полистиролбетона плотностью 175 - 225 кг/м3 марок по прочности на сжатие M2,5 - M5, укладываемые с перекрытием вертикальных швов.
Толщина теплоизоляционного слоя (число слоев теплоизоляционных плит) определяется теплотехническим расчетом по
СП 50.13330.
6.5.2 Утепляемое покрытие над отапливаемым чердаком рекомендуется устраивать из полистиролбетонных плит плотностью 175 - 200 кг/м3 с образованием уклонов для водостока, например, керамзитовым или кварцевым песком.
При этом над полистиролбетонными плитами устраивается выравнивающая растворная цементно-песчаная стяжка толщиной не более 8 мм
(рисунок 6.12).
6.5.3 При утеплении перекрытия неотапливаемого чердака по теплоизоляционному слою из полистиролбетонных плит устраивается армированная цементно-песчаная стяжка толщиной 15 - 25 мм, распределяющая нагрузку от людей и оборудования в чердачном помещении
(рисунок 6.13).
6.5.4 Для восприятия нагрузок от людей и оборудования по теплоизоляционному слою на перекрытии над неотапливаемым подвалом (холодным подпольем, проездом) следует устраивать цементно-песчаную армированную стяжку толщиной 40 мм
(рисунок 6.14).
6.5.5 Во всех приведенных вариантах теплоизоляционный слой из полистиролбетона укладывается на железобетонное перекрытие по слою пароизоляции, предохраняющей полистиролбетон от увлажнения.
6.6 Узлы креплений в наружных стенах
6.6.1 Конструкция узла крепления кирпичной облицовки к стене из полистиролбетонных блоков представлена на рисунке 6.15.
Рисунок 6.15 - Крепление кирпичного облицовочного слоя
к стене из ПСБ блоков с использованием штукатурной сетки
Крепление кирпичной облицовки выполняется с помощью связей из штукатурной стальной или базальтовой сетки, располагаемой в клеевых горизонтальных швах толщиной 3 мм между полистиролбетонными рядовыми или доборными блоками и в растворных швах (толщиной 10 - 12 мм) кирпичной кладки. Сетка укладывается сплошной полосой с выпусками на 2/3 ширины облицовки с загибом за продольную сетку, расположенную в шве кирпичной кладки.
Кирпичная облицовка должна быть приклеена к кладке из полистиролбетонных блоков клеевыми вертикальными и горизонтальными полосами шириной 50 - 70 мм, формирующих противопожарные рассечки и создающих замкнутые воздушные прослойки, повышающие термическое сопротивление стен. К полистиролбетонным перемычкам кирпичная кладка должна приклеиваться сплошным швом.
В указанных случаях используются клеевые композиции, требования к которым приведены в
подразделе 5.2.
6.6.2 Рисунок 6.16 отражает техническое решение крепления отделочных слоев из армированной штукатурки и кирпичной кладки к полистиролбетонным стенам с использованием связевых изделий (скоб) из проволоки диаметром 3 мм Вр-I.
Рисунок 6.16 - Крепление облицовочных штукатурных
и кирпичных слоев в стене из ПСБ блоков с использованием
проволочных хомутов
Скобы размещаются в клеевых горизонтальных швах кладки из ПСБ блоков с шагом по горизонтали 300 мм.
К выпускам скоб с одной стороны привязывается вязальной проволокой штукатурная сетка, с другой - к стальной сетке с продольными стержнями диаметром 5 мм и поперечными - диаметром 3 мм Вр-I, армирующей кирпичную кладку.
Связевые изделия (сетки, скобы, стержни), используемые с фасадной стороны, должны быть оцинкованы.
6.6.3 Техническое решение крепления деревянных (пластиковых) оконных и дверных блоков к стенам из полистиролбетонных блоков представлено на рисунке 6.17.
Рисунок 6.17 - Крепление оконных (дверных) блоков
к стенам из полистиролбетона
Столярные блоки крепятся, как правило, по боковым и нижним сторонам. В исключительных случаях, при необходимости усиления полистиролбетонных перемычек, армированных только в растянутой зоне плоским горизонтальным стальным каркасом, возможно также крепление к перемычкам верхней части столярных блоков.
Крепление оконных (дверных) блоков к стенам выполняется с помощью круглых заостренных штырей из стальных стержней диаметром 16 мм А-I по
ГОСТ 5781 и
ГОСТ 380, забиваемых в полистиролбетон.
В тех случаях, когда по расчету на ветровые нагрузки из условия недопущения смятия полистиролбетона требуется увеличение площади поверхности штырей, через которую передается давление ветра на полистиролбетон, используются плоские штыри (связево-монтажные изделия) толщиной 4 - 5 мм и шириной до 50 мм.
Круглые или плоские штыри забивают в полистиролбетон стен через заблаговременно подготовленные (высверленные или выбранные фрезой) отверстия или пазы в дверных или оконных блоках. Штыри со стороны, забиваемой в полистиролбетон, имеют заостренные концы и располагаются не ближе 100 мм от боковой поверхности полистиролбетонной части стены.
6.6.4 Принципиальные технические решения крепления в ненесущих стенах ПСБ перемычек и простенков из ПСБ блоков к железобетонным перекрытиям показаны на рисунке 6.18.
Рисунок 6.18 - Крепление кладки из ПСБ блоков
к железобетонным перекрытиям
Крепление обеспечивается стальными связево-монтажными изделиями, которые представляют собой штыри Г-образные, П-образные или ступенчатые прямоугольного сечения (толщиной 5 - 6 мм и шириной 50 - 60 мм) с заостренными концами, или стержни диаметром 16 - 24 мм.
Связево-монтажные изделия располагаются с шагом не менее 600 мм в технологических проемах, выполненных в железобетонных перекрытиях для устройства термовкладышей.
6.6.5 Крепление ПСБ блоков к несущим железобетонным наружным стенам и торцам внутренних стен (рисунок 6.19) осуществляется путем использования стальной перфорированной ленты, согнутой под прямым углом. При этом один конец ленты размещается в шве блочной кладки, а второй крепится через имеющиеся в ленте отверстия к несущим железобетонным конструкциям посредством использования дюбелей, шурупов и планшайб (варианты 1 и 2).
Рисунок 6.19 - Крепление кладки из ПСБ блоков
к несущим железобетонным стенам и колоннам
Крепление ненесущих полистиролбетонных стен к внутренним несущим железобетонным колоннам или пилонам производится путем забивки в полистиролбетон плоских связево-монтажных изделий с заранее просверленными отверстиями и фиксации их дюбелями и шурупами в просверленных в железобетоне отверстиях (вариант 3).
6.6.6 Вариант решения по надежному креплению ГВЛ (ГВЛВ) к блочной кладке приведен на рисунке 6.20.
Рисунок 6.20 - Крепление ГВЛ к кладке из ПСБ блоков
с использованием штукатурной сетки
Штукатурная стальная или базальтовая сетка установлена в клеевом шве кладки из полистиролбетонных блоков с выпуском и последующим ее загибом и размещением в промежутке между первым и вторым слоем ГВЛ. Первый слой ГВЛ также крепится к ПСБ блоками маяками из клея, поставляемого в комплекте с ГВЛ (ГВЛВ).
Закрепление ГВЛ с использованием сеток следует производить в двух местах по высоте стены (на нижнем и верхнем рядах блоков или перемычек). При этом необходимо, чтобы лист первого слоя ГВЛ был разрезан на высоту ПСБ блоков и в промежуток между листами ГВЛ заведена, затем загнута и заправлена штукатурная сетка. Выпуск сетки в каждом конкретном случае должен составлять 100 - 150 мм.
6.6.7 Примеры технических решений крепления навесного оборудования и устройств с внутренней и фасадной стороны полистиролбетонных стен представлены на рисунках 6.21 и
6.22.
Рисунок 6.21 - Крепление отопительного оборудования
Рисунок 6.22 - Крепление навесных устройств к фасадам стен
На
рисунке 6.21 приведены примеры крепления навесного отопительного оборудования максимальным весом 80 кг/погонный метр при использовании пластмассовых дюбелей на монтажной пене со стальными шурупами. При нагрузках от отопительного оборудования достаточны только крепления с помощью дюбелей.
С наружной стороны фасада нагрузки от оборудования и устройств могут быть значительными. В этом случае участок стены над перекрытием следует выполнять из кирпичной армированной кладки толщиной 250 мм с устройством вставки из эффективного утеплителя. При необходимости арматура кирпичной кладки приваривается к закладным деталям перекрытия.
6.6.8 Техническое решение крепежа на оштукатуренных фасадах стен навесного оборудования (кондиционеры, телевизионные тарельчатые антенны, растяжки и т.п.), показанное на
рисунке 6.22, предусматривает использование универсальных дюбелей типа FUR на монтажной пене наряду с крепежными стержнями. На этом
рисунке приведено также решение крепления навесных устройств или растяжек в торец железобетонного перекрытия с использованием стальных дюбелей.
7 Правила производства работ при устройстве ограждающих конструкций с применением полистиролбетонных изделий
7.1 Подготовительные работы
7.1.1 Проведению работ по устройству ограждающих конструкций зданий из полистиролбетона должна предшествовать (в соответствии с
СП 48.13330) приемка (согласно СТО НОСТРОЙ 2.6.15, СТО НОСТРОЙ 2.7.16,
СТО НОСТРОЙ 2.33.51,
СТО НОСТРОЙ 2.6.54) работ по возведению наземных несущих железобетонных конструкций (или части из них - в соответствии с проектом производства работ и календарным планом, например для двух - трех этажей многоэтажных зданий).
7.1.2 ПСБ блоки и теплоизоляционные плиты при транспортировании и временном складировании должны находиться, как правило, в проектном положении, а перемычки обязательно в положении, соответствующем проектному.
Запрещается производить разгрузку ПСБ изделий сбрасыванием.
7.1.3 ПСБ изделия должны храниться рассортированными по типам и маркам и уложенными на деревянных поддонах в штабели высотой не более 2 м (допускается высота штабеля 2,4 м, если ПСБ изделия упакованы поставщиком в полиэтиленовую пленку). ПСБ изделия должны быть защищены от увлажнения и соприкасания с грунтом.
7.1.4 Хранение и производство работ с ПСБ изделиями должны быть предусмотрены меры по исключению попаданий на них органических растворителей и нефтепроизводных продуктов.
7.1.5 В соответствии с проектом производства работ должна предусматриваться комплексная механизация и монтироваться:
- мачтовый грузопассажирский строительный подъемник ПГС-800-16 для подъема на этажи здания ПСБ изделий, облицовочного кирпича и других комплектующих и облицовочных материалов;
- фасадный подъемник (люлька), используемый при наружной облицовке стен, в том числе надпроемных участков из ПСБ изделий.
7.1.6 Для осуществления фасадной кладки кирпича и штукатурных работ (наружных и внутренних) раствор следует готовить на стройплощадке из сухих смесей или доставлять на объект с централизованных растворосмесительных установок.
7.1.7 Подачу материалов на перекрытие осуществляют мачтовым грузопассажирским строительным подъемником (см.
7.1.5), а к рабочему месту на перекрытии - с помощью ручной двухколесной тележки.
7.2 Возведение стен с кирпичной облицовкой фасада
7.2.1 При возведении наружных стен зданий из ПСБ блоков с кирпичной фасадной облицовкой, для обеспечения совпадения горизонтальных швов блочной и кирпичной кладок и размещения в них связевых сеток для крепления кирпичной кладки (см.
рисунки 6.3 и
6.16), блочную и кирпичную кладку производят одновременно. В этом случае предусматривается следующая технологическая последовательность кладок:
- кладка с использованием клеевых композиций одного горизонтального ряда полистиролбетонных блоков;
- кладка трех - пяти рядов облицовочного кирпича на растворе до совпадения горизонтальных швов кирпичной и блочной кладки;
- установка в совпадающие по высоте горизонтальные швы блочной и кирпичной кладок продольных и поперечных армирующих стальных связей (сеток или проволочных хомутов) и крепление их к сетке, армирующей кирпичную кладку;
- кладка следующего ряда полистиролбетонных блоков;
- кладка следующих трех - пяти рядов облицовочного кирпича;
- установка и закрепление следующих рядов стальных горизонтальных связей (сеток) и т.д.
7.2.2 Кладку первого ряда ПСБ блоков необходимо выполнять в следующей последовательности:
- очистить поверхность плиты перекрытия в местах укладки блоков;
- уложить оцинкованную штукатурную сетку в горизонтальные шов между нижним рядом ПСБ блоков и железобетонным перекрытием, на которое они опираются;
- расстелить цементно-песчаный раствор на мелком песке на перекрытие (данный раствор используется только для нижнего выравнивающего шва);
- установить рядом с растворной постелью первый нижний маячный ряд блоков торцом вверх, при этом сначала на торцы блоков наносят приготовленную клеевую композицию, а затем устанавливают блоки в проектное положение.
7.2.3 Последующие ряды блоков должны укладываться с перевязкой швов, и клеевая композиция наносится на верхнюю грань уложенного ряда, а также на торцы раскладываемых блоков.
7.2.4 В каждом ряду кладку следует начинать с установки в проектное положение маячных блоков, располагаемых в углах. По маячным блокам натягивают причалку и по ней производят установку остальных блоков с использованием клеевой композиции.
7.2.5 Склеиваемые поверхности полистиролбетонных блоков и перемычек должны быть протерты влажной тряпкой для снятия пыли, а при наличии цементной корки последняя должна быть удалена металлической щеткой. Перед нанесением кладочной клеевой композиции поверхности изделий должны быть смочены водой.
7.2.6 Приготовление клеевой композиции из сухой строительной смеси осуществляется в соответствии с инструкцией ее производителя в смесителях принудительного действия или в цилиндрических емкостях объемом не более 10 л с использованием ручной электрической дрели со специальной смесительной насадкой. Количество приготавливаемой композиции не должно превышать объема выработки в течение времени ее жизнеспособности.
Из растворосмесителя композиция перегружается в металлический ящик емкостью 80 л, который ручной тележкой подается к месту укладки полистиролбетонных изделий.
Производство работ при температурах от +5 °C до минус 20 °C должно выполняться в соответствии с требованиями соответствующего раздела ППР.
7.2.7 Номинальная толщина клеевых горизонтальных швов, армированных штукатурной сеткой, должна составлять не более 3 мм (при использовании проволочных хомутов - не более 4 мм), а вертикальных - не более 2 мм.
Клеевая постель должна быть ровной и не доходить на 1,5 - 2,0 см до граней блока. Разравнивание клеевой композиции производится при помощи зубчатого шпателя (гребенки).
Кладку блоков следует производить сразу после нанесения клеевой композиции на склеиваемые поверхности и установки горизонтальных связевых элементов (сеток или проволочных анкеров).
Консистенция свежеприготовленной клеевой композиции должна обеспечивать в горизонтальных швах соприкосновение нижней поверхности блоков с сеткой или проволочными анкерами, а вертикальных швах - соприкосновение с пластмассовыми фиксаторами толщиной 1,5 мм.
Выверка проектного положения склеиваемого ПСБ блока должна производиться в течение 10 мин после начала склеивания. Выравнивание блоков производится методом простукивания резиновым молотком через обрезок доски толщиной 10 - 15 мм.
При применении для внутренней облицовки гипсоволокнистых листов (ГВЛ, ГВЛВ) необходимо обязательное выравнивание вертикальной поверхности кладки из блоков под ГВЛ или ГВЛВ с использованием правила.
7.2.8 После кладки первого ряда ПСБ блоков, до начала кладки облицовочного кирпича, необходимо устанавливать и закреплять угловые и промежуточные порядовки. Они должны выполняться по отвесу и нивелиру. Засечки для каждого ряда на всех порядовках должны быть в одной горизонтальной плоскости. При кладке кирпичной облицовки верхний причальный шнур устанавливается для каждого ряда, с натяжением его на уровне верха укладываемых кирпичей с отступом от вертикальной плоскости кладки на 1 - 2 мм.
7.2.9 Кладка кирпичной облицовки должна выполняться с соблюдением требований
СП 70.13330.
При кладке облицовочного кирпича необходимо следить за тем, чтобы выпуски сеток из блочной кладки размещались в горизонтальных швах кирпичной кладки по уровню.
Раствор на рабочее место следует подавать в металлических ящиках объемом 0,35 м3 с заполнением их раствором по 0,25 м3.
7.2.10 Устройство кирпичной и блочной кладок для верхних рядов стены (выше 1 м) должно производиться с подмостей и с использованием крана-укосины для подачи материалов на подмости. Схемы организации рабочего места показаны на рисунках 7.1 и
7.2.
1, 2, 3 - устанавливаемые, установленные и нижележащие блоки
стены; 4 - катучие подмости; 5 - блоки, подготовленные
для установки; 6 - кран-укосина; 7 - тележка с блоками;
8 - ящик с клеевой композицией; 9 - облицовочный кирпич
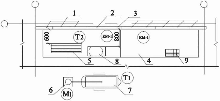
Рисунок 7.1 - Схема организации рабочего места
Рисунок 7.2 - Подача блоков на подмости краном-укосиной
7.2.11 На фасадах наружных ненесущих стен зданий с использованием изделий из полистиролбетона в обязательном порядке должны устраиваться температурно-деформационные швы: горизонтальные - под перекрытиями и вертикальные - для кирпичного фасада с шагом 3 - 9 м.
7.2.12 Допускается выполнять сначала кладку из блоков, оставляя выпуски связевой сетки или концов проволочных анкеров из горизонтальных швов, а затем кирпичную кладку, обеспечивая горизонтальное (без уступов) расположение связевых элементов в шве кирпичной кладки.
В зоне продольных стержней сетки, армирующей кирпичную кладку, горизонтальная штукатурная сетка разрезается, подворачивается и прижимается к продольным стержням, что обеспечивает проектную толщину шва кирпичной кладки.
7.2.13 После установки полистиролбетонных перемычек и доборных стеновых блоков, между последними и железобетонным перекрытием должен оставляться зазор (деформационный шов) толщиной 20 - 30 мм, заполняемый минеральной ватой (D75) и гернитовым шнуром.
7.2.14 Кладка ПСБ блоков и перемычек и наружная кирпичная облицовка надпроемных участков стен должны производиться с площадки фасадного подъемника, а также с горизонтальных площадок лоджий или балконов. Указанные работы следует проводить в следующей последовательности:
- устанавливают в проектное положение несущие элементы для кирпичной кладки - окрашенные или оцинкованные опорные уголки стальные равнополочные 100 x 100 x 4 мм (см.
рисунки 6.3 и
6.6);
- стальные уголки в середине пролета крепят дюбелем на монтажной пене к полистиролбетонным перемычками дополнительно на концевых участках к полкам уголка с привариваемыми стальными пластинами, которые размещаются в швах блочной кладки;
- после набора необходимой прочности монтажной пены производят кладку лицевого кирпича;
- устанавливают с использованием клеевой композиции полистиролбетонные перемычки и доборные полистиролбетонные блоки над перемычками;
- кирпичную кладку фиксируют связевыми стальными элементами с полистиролбетонными перемычками, например, как показано на
рисунках 6.3 и
6.20.
7.2.15 При забивке связево-монтажных элементов сверху в полистиролбетонные перемычки
(рисунок 6.18) необходимо в обязательном порядке использовать вертикальные стальные штанги, имеющие на концах горизонтальные деревянные доски толщиной 30 - 40 мм площадью не менее 150 - 300 см
2, используемые в качестве подпорки под местом забивки и исключающие повреждение изделий.
7.2.16 Потребность в основных материалах и изделиях (без внутренней облицовки) приведена в таблице 7.1. Для расчетов принят укрупненный измеритель конечной продукции - 100 м2 фасада.
Таблица 7.1
Потребность в основных материалах и изделиях при монтаже
стен с кирпичной фасадной облицовкой
Наименование | Потребность на 100 м2 фасада при высоте блоков h, мм |
295 | 375 |
Блочная кладка наружных стен: | | |
- полистиролбетонные изделия (для расчетов приняты блоки стеновые размером 375 x 295 x 595 мм), шт.; | 570 | 447 |
- сухая композиция (смесь) при применении: | | |
"холодного" клея, кг | 863 | 690 |
"теплого" клея, кг | 562 | 450 |
Облицовка фасада кирпичом: | |
- кирпич керамический облицовочный размером 250 x 120 x 65 мм, шт.; | 5000 |
- раствор цементно-песчаный марки M100, м3 | 2,27 |
Связевые элементы при применении: | | |
- сетки штукатурной, м2 | 125 | 100 |
- стальных скоб диаметром 3 мм Вр-I, шт. | 1100 | 850 |
7.2.17 Основные средства механизации, инструмент, инвентарь и приспособления приведены в таблице 7.2. Вместо них могут быть применены и другие средства, имеющие аналогичные технические характеристики.
Таблица 7.2
Основные механизмы, оборудование, инструменты
и приспособления, используемые при монтаже стен
с кирпичной фасадной облицовкой
Наименование | Тип, марка, ГОСТ, N чертежа, завод-изготовитель | Техническая характеристика | Назначение |
Установка для перемешивания и подачи раствора СО-126 | | Объем - 0,25 м3, производительность - 2,5 м3/ч | Перемешивание и подача раствора |
Подъемник фасадный (люлька) | Изготовитель - "Тверской экспериментально-механический завод" | Длина рабочего настила - 4 м. Грузоподъемность - 300 кг. Высота подъема до 150 м | Средство подмащивания для монтажных работ |
Подъемник грузопассажирский | ПГС-800-16 | Грузоподъемность - 800 кг | Подача блоков на перекрытия |
Растворосмеситель | РН-80 | Загрузка - 80 л, выход - 60 л | Приготовление клеевых композиций |
Кран-укосина | РЧ треста Мособлоргтехстрой, Арх. N 3155 | Грузоподъемность - 200 кг | Подача блоков на подмости |
Катучие подмости | РЧ треста Мособлоргтехстрой, Арх. N 3154 | Высота помещений до 4,2 м | При кладке верхних ярусов |
Тележка двухколесная | Т-200 СКБ Мосстроя | Грузоподъемность - 200 кг | Перевозка блоков и материалов |
Отвес, шнур капроновый | ОТ400-1, | Масса отвеса не более 0,4 кг, длина 98 м. Длина шнура - 5 м, диаметр 3 мм | Разграничение захваток, проверка вертикальности |
Кельма | Типа КБ | - | Разравнивание клеев и растворов |
Правило | 1-1500 | Длина 1500 мм | Проверка лицевой поверхности кладки |
Ватерпас | Тип 70-1500 "STABILA" | Длина 1500 мм, точность измерения 0,5 мм/м | Проверка горизонтальных плоскостей |
Лазерный уровень | BL 20 СКБ "Строй-прибор" | Точность измерения 0,1 мм/м | Проверка горизонтальных плоскостей |
Ограждения инвентарные участков монтажных работ | | - | Безопасность работ |
7.3 Возведение стен с оштукатуриванием фасада
7.3.1 При возведении стен с оштукатуриваемым фасадом кладку полистиролбетонных блоков следует производить в соответствии с
пунктами 7.2.1 -
7.2.5,
7.2.9 и
7.2.10.
7.3.2 Оштукатуривание фасада по полистиролбетонной блочной кладке должно выполняться согласно требований
СП 82-101-98 [2].
7.3.3 На оштукатуренных фасадах в обязательном порядке должны устраиваться температурно-деформационные швы: горизонтальные под перекрытиями и вертикальные через 3 м.
Торцы железобетонных перекрытий утепляют доборными плитами из полистиролбетона (см.
6.3.14).
7.3.4 Наружное оштукатуривание стен должно производиться с горизонтальных площадок лоджий или балконов, а вне их - с площадки фасадного подъемника.
7.3.5 Потребность в основных материалах и изделиях приведена в таблице 7.3. Для расчетов принят укрупненный измеритель конечной продукции - 100 м2 фасада (без внутренней облицовки).
Таблица 7.3
Потребность в основных материалах и изделиях при монтаже
стен с оштукатуриванием фасада здания
Наименование видов работ и материалов | Потребность на 100 м2 фасада при высоте блоков h, мм |
295 | 375 |
Блочная кладка наружных стен: | | |
- полистиролбетонные изделия (для расчетов приняты блоки стеновые размером 375 x 295 x 595 мм), шт; | 570 | 447 |
- сухая композиция (смесь) при применении: | | |
"холодного" клея, кг | 863 | 690 |
"теплого" клея, кг; | 562 | 450 |
- связевые изделия при применении: | | |
сетки штукатурной, м2 | 133 | 106 |
стальных скоб диаметром 3 Вр-I, шт. | 1100 | 850 |
Оштукатуривание стен снаружи: | |
- раствор цементно-песчаный марки M50, м3 | 2,05 |
- штукатурная стальная оцинкованная сетка, м2 | 106 |
7.3.6 Основные средства механизации, инструмент, инвентарь и приспособления приведены в таблице 7.4. Могут быть применены и другие средства, имеющие аналогичные технические характеристики.
Таблица 7.4
Основные механизмы, оборудование, инструменты
и приспособления, используемые при монтаже стен
с оштукатуриванием фасада здания
Наименование | Тип, марка, ГОСТ, N чертежа, завод-изготовитель | Технические характеристики | Назначение |
Установка для перемешивания и подачи раствора СО-126 | | Объем 0,25 м3, производительность 2,5 м3/ч | Перемешивание и подача раствора |
Подъемник фасадный (люлька) | Изготовитель - "Тверской экспериментально-механический завод" | Длина рабочего настила 4 м, грузоподъемность 300 кг, высота подъема до 150 м | Средство подмащивания для монтажных работ |
Подъемник грузопассажирский | ПГС-800-16 | Грузоподъемность 800 кг | Подача блоков на перекрытия |
Растворосмеситель | РН-80 | Загрузка 80 л, выход 60 л | Приготовление клеевых композиций |
Кран-укосина | РЧ треста Мособлоргтехстрой Арх. N 3155 | Грузоподъемность 200 кг | Подача блоков на подмости |
Катучие подмости | РЧ треста Мособлоргтехстрой Арх. N 3154 | Высота помещений до 4,2 м | При кладке верхних ярусов |
Тележка двухколесная | Т-200 СКБ Мосстроя | Грузоподъемность 200 кг | Перевозка блоков и материалов |
Отвес, шнур капроновый | ОТ400-1, | Масса отвеса не более 0,4 кг, длина 98 м Длина шнура 5 м, диаметр 3 мм | Разграничение захваток, проверка вертикальности |
Кельма штукатурная | Типа КШ | Габаритные размеры 320 x 150 x 70 мм | Нанесение и разравнивание раствора |
Отрезовка | Типа ОШ | Габаритные размеры 250 x 56 x 55 мм | Заделка раковин, трещин |
Сокол дюралюминиевый | - | Габаритные размеры 400 x 400 x 150 мм | Перенос раствора и разравнивание штукатурного слоя |
Ковш для отделочных работ | КШ-0,6 ГОСТ 7945 | Масса 0,3 кг | Набрасывание раствора на оштукатуриваемую поверхность |
Лопата растворная | ЛР | Масса 2,1 кг | Перелопачивание раствора |
Гладилка стальная малая | ГОСТ 10403 | Габаритные размеры 300 x 125 x 68 мм | Разравнивание и заглаживание накрывочного слоя |
Терка поролоновая | | Габаритные размеры 200 x 120 x 76 мм | Затирка накрывочного слоя |
Правило | 1-1500 | Длина 1500 мм | Проверка лицевой поверхности кладки |
Лазерный уровень | BL 20 СКБ "Стройприбор" | Точность измерения 0,1 мм/м | Проверка горизонтальных плоскостей |
Дрель | Интерскол ДУ 1000-ЭР | Максимальный диаметр сверла (пробойника) 20 мм | Сверление отверстий в стене |
Рулетка стальная | Р20УЗК, | Длина 20 м, Масса 0,35 кг | Измерение линейных размеров |
Шуруповерт | | Аккумуляторный, безударный, напряжение питания 12 В | Монтаж листов ГВЛ |
Отвертка с рычажным наконечником | Отвертка Профи ООО "ИНФОТЕКС" | Реверсивная рычажная | Завинчивание (отвинчивание) винтов |
Ограждения инвентарные участков монтажных работ | | - | Безопасность работ |
7.4 Возведение стен с устройством навесного вентилируемого фасада
7.4.1 Для наружных стен из полистиролбетонных изделий с навесным вентилируемым фасадом отличительной особенностью является крепление навесных несущих конструкций к торцам железобетонных перекрытий, а также использование конструктивных решений, обеспечивающих пожаробезопасность за счет применения огнезащиты их наружной поверхности базальтовыми плитами (матами) или оштукатуриванием наружной поверхности ПСБ блоков и перемычек или использованием ПСБ блоков повышенной заводской готовности с цементно-песчаной облицовкой.
7.4.2 Кладку полистиролбетонных изделий для стен с навесным вентилируемым фасадом производят в соответствии с указаниями
пунктов 7.2.1 -
7.2.5,
7.2.9 и
7.2.10.
7.4.3 Выполнение работ по установке несущих и угловых кронштейнов, вертикальных направляющих профилей, опорных кронштейнов и горизонтальных направляющих профилей, фасадных элементов (пожарных рассечек, отливов и откосов, а также декоративных фасадных плит) производится по отдельной Инструкции или Проекту производства работ, в составе проектной документации, отражающей архитектурно-конструктивные особенности фасада здания.
7.4.4 Установка базальтовых огнезащитных матов (плит).
7.4.4.1 Перед началом установки матов (плит) сменная захватка, на которой будут проводить работы, должна быть защищена от попадания атмосферной влаги.
7.4.4.2 Установка матов должна производиться на сухую поверхность кладки из полистиролбетонных изделий. Маты или плиты крепятся к кладке из ПСБ блоков клеевыми маяками толщиной 1 - 2 мм. Затем (после затвердения клея) через маты просверливают отверстия в стене. Диаметр и глубина просверливаемого отверстия должен соответствовать типоразмеру дюбеля.
7.4.4.3 Для установки матов (плит) на уже закрепленные к перекрытиям кронштейны в необходимых местах в матах делают прорези.
7.4.4.4 Установка базальтовых матов ведется снизу вверх. Их устанавливают плотно друг к другу, чтобы не было пустот в швах.
Затем укладывают ветровлагозащитную пленку, соединяя ее по швам степлером.
7.4.4.5 Для крепления базальтовых матов применяют пластмассовые дюбели тарельчатого типа, шляпки которых прижимают маты к фасаду. Длина дюбелей зависит от толщины матов, расход дюбелей - не менее 5 шт. на один квадратный метр стены: 3 шт. - под гидроветрозащитную паропроницаемую пленку, 2 шт. - поверх гидроветрозащитной паропроницаемой пленки для ее закрепления (рисунок 7.3).
Рисунок 7.3 - Монтаж утеплителя и установка
тарельчатых дюбелей
7.4.4.6 В случае применения пленки, маты предварительно крепят двумя дюбелями и только после укрытия пленкой крепят остальными, предусмотренными проектом. Полотнища пленки устанавливаются с перехлестом 100 мм.
Нахлест гидроветрозащитной паропроницаемой пленки в местах стыков производится по рискам, нанесенным на ее поверхность.
Наличие зазоров между пленками или матами и стеной не допускается, так как ведет к образованию "карманов холода" и конденсации влаги на поверхности стены.
7.4.5 При оштукатуривании ПСБ блоков с внешней стороны (вместо применения базальтовых огнезащитных матов) производство работ должно выполняться согласно
7.3.
7.4.6 При использовании блоков повышенной заводской готовности с цементно-песчаной облицовкой должна производиться шпаклевка с затиркой швов кладки и оштукатуривание фасадной поверхности ПСБ перемычек
(рисунок 6.6).
Возможно также (вместо оштукатуривания фасадных поверхностей ПСБ перемычек) приклеивание к ПСБ перемычкам хризолитцементных листов (ХЦЛ) плоских непрессованных по
ГОСТ 18124 - толщиной 10 мм, предварительно выпиленных по размеру перемычки, с последующим дополнительным механическим закреплением ХЦЛ к блокам дюбелями на монтажной пене. При этом после монтажа ХЦЛ производится шпаклевка и затирка швов по его периметру.
7.4.7 Установку конструкций навесного фасада проводят после завершения работ по устройству огнезащиты ПСБ изделий базальтовыми матами (плитами) или после затирки швов (при использовании ПСБ блоков повышенной заводской готовности).
7.4.8 Если вместо базальтовых мат или плит используются полистиролбетонные блоки с готовой цементно-песчаной облицовкой или они оштукатуриваются с внешней стороны блоков после их кладки или ПСБ перемычки защищаются хризолитцементными листами, то шпаклевка, затирка швов или оштукатуривание производится только после установки несущих и угловых кронштейнов.
7.4.9 Установка несущих кронштейнов.
7.4.9.1 Несущие кронштейны закрепляются в железобетонных шпонках плит перекрытий, согласно техническому решению, показанному на
рисунках 6.8.
7.4.9.2 Расстояния между кронштейнами по горизонтали определяется проектом.
7.4.9.3 В местах крепления кронштейнов (железобетонные шпонки плиты перекрытия) при помощи электродрели или перфоратора сверлят отверстия под анкеры, вставляют анкеры и крепят кронштейны к перекрытию.
Диаметр отверстий должен соответствовать типу применяемого анкера, глубина отверстий должна превышать не менее, чем на 15 мм длину заделки анкера в стену.
7.4.9.4 Кронштейны крепятся к плитам перекрытия при помощи устойчивых к коррозии анкеров указанных в проекте. Крепление осуществляется через алюминиевую шайбу АД-052, которая увеличивает надежность данного соединения. Для исключения контакта материала перекрытия и кронштейнов, под кронштейны устанавливаются терморазрывы пластиковые - ПД-034к.
Установка анкеров производится в соответствии с указаниями предприятия-изготовителя. Марка несущего кронштейна определяется прочностным расчетом системы и должна быть указана в проекте.
7.4.10 Потребность в основных материалах и изделиях (без монтажа навесных конструкций и облицовочных плит и внутренней облицовки) приведена в таблице 7.5. Для расчетов принят укрупненный измеритель конечной продукции - 100 м2 фасада.
Таблица 7.5
Потребность в основных материалах и изделиях при монтаже
наружных стен здания с навесным вентилируемым фасадом
Наименование видов работ и основных материалов | Потребность на 100 м2 фасада (без проемов) при высоте блоков h, мм |
295 | 375 |
Устройство блочной кладки наружных стен: | | |
- полистиролбетонные изделия (для расчетов приняты блоки стеновые размером 375 x 295 x 595 мм), шт; | 570 | 447 |
- сухая композиция (смесь) при применении клея, кг; | 562 - 863 | 450 - 690 |
- стальные скобы диаметром 3 Вр-I, шт.; | 1100 | 850 |
- штукатурная стальная (базальтовая) сетка, м2 | 133 | 106 |
Монтаж вентилируемого фасада: | |
кронштейн несущий, шт. | 80 |
базальтовые маты, м2 | 70 |
тарельчатые дюбели, шт. | 500 |
влаговетрозащитная пленка, м2 | 120 |
Оштукатуривание наружных стен <1>: | |
- раствор цементно-песчаный марки M50, м3 | 2,05 |
- штукатурная стальная сетка, м2 | 106 |
<1> Потребность в данных материалах учитывается только в случае оштукатуривания наружной поверхности стен (в этом случае базальтовые маты, тарельчатые дюбели и влаговетрозащитная пленка не используется). |
7.4.11 Основные средства механизации, инструмент, инвентарь и приспособления приведены в таблице 7.6. Вместо приведенных могут быть применены другие средства, имеющие аналогичные технические характеристики.
Таблица 7.6
Основные механизмы, оборудование, инструменты
и приспособления, используемые при монтаже стен
здания с навесным фасадом
Наименование | Тип, марка, ГОСТ, N чертежа, завод-изготовитель | Технические характеристики | Назначение |
Подъемник фасадный (люлька) | Изготовитель - "Тверской экспериментально-механический завод" | Длина рабочего настила 4 м, грузоподъемность 300 кг | Средство подмащивания для монтажных работ |
Подъемник грузопассажирский | ПГС-800-16 | Грузоподъемность 800 кг | Подача блоков на перекрытия |
Растворосмеситель | РН-80 | Загрузка 80 л, выход 60 л | Приготовление клеевых композиций |
Кран-укосина | РЧ треста Мособлоргтехстрой Арх. N 3155 | Грузоподъемность 200 кг | Подача блоков на подмости |
Катучие подмости | РЧ треста Мособлоргтехстрой Арх. N 3154 | Высота помещений до 4,2 м | При кладке верхних ярусов |
Тележка двухколесная | Т-200 СКБ Мосстроя | Грузоподъемность 200 кг | Перевозка блоков и материалов |
Отвес, шнур | ОТ400-1, Шнур капроновый | Масса отвеса <= 0,4 кг, длина 98 м. Длина шнура - 5 м, диаметр 3 мм | Разграничение захваток, проверка вертикальности |
Кельма | Типа КБ | - | Разравнивание клеев и растворов |
Правило | 1-1500 | Длина 1500 мм | Проверка лицевой поверхности кладки |
Ватерпас | Тип 70-1500 "STABILA" | Длина 1500 мм, точность измерения 0,5 мм/м | Проверка горизонтальных плоскостей |
Лазерный нивелир | BL 40 VHR СКБ "Стройприбор" | Точность измерения 0,1 мм/м | Измерение высот |
Лазерный уровень | BL 20 СКБ "Стройприбор" | Точность измерения 0,1 мм/м | Проверка горизонтальных плоскостей |
Дрель | Интерскол ДУ 1000-ЭР | Максимальный диаметр сверла (пробойника) 20 мм | Сверление отверстий |
Рулетка стальная | Р20УЗК, | Длина 20 м, Масса 0,35 кг | Измерение линейных размеров |
Электродрель с насадками для завинчивания (шуруповерт) | Интерскол ДУ-800-ЭР | Потребляемая мощность 800 Вт, максимальный диаметр сверления 20 мм | Сверление отверстий и завинчивание винтов |
Клепальные клещи | Типа "ЭНКОР" | Диаметр заклепок до 6 мм | Установка заклепок |
Клепальный пистолет аккумуляторный | Типа ERT 130 "RIVETEC" | Сила заклепки 85 кгс, рабочий ход 20 мм | Установка вытяжных заклепок |
Ограждения инвентарные участков монтажных работ | | - | Безопасность работ |
7.5 Внутренняя облицовка наружных стен
7.5.1 В качестве внутренней облицовки стен из ПСБ блоков используются гипсоволокнистые листы в два слоя или выполняют оштукатуривание по металлической сетке общей толщиной 20 мм или 25 мм. На внутренних откосах облицовка осуществляется в три слоя ГВЛ по 10 мм или два слоя по 12,5 мм или армированной штукатуркой общей толщиной 30 мм.
7.5.2 Основным вариантом закрепления первого слоя ГВЛ является использование клеевых маяков, альтернативным - закрепление первого слоя ГВЛ металлическими шурупами.
7.5.3 После разметки, резку гипсоволокнистого листа производят на ровной, твердой поверхности специальным ножом для резки ГВЛ. По линии разметки, используя в качестве направляющей металлическую линейку или рейку, несколько раз с усилием проводят специальным ножом до образования надреза, гарантирующего последующий излом по намеченным размерам.
Надрезанный лист укладывается на край стола и путем надлома отделяют части листа друг от друга.
Достаточно плотная структура ГВЛ позволяет производить качественную резку также при помощи электролобзика.
7.5.4 При приклеивании листов ГВЛ на них в отдельных точках (не менее 5 шт. на 1 м2) необходимо наносить клеевые маяки с последующим прижатием ГВЛ и подбивкой их к полистиролбетонной стене резиновым молотком. Толщина клеевых маяков должна составлять 1 - 2 мм.
7.5.5 При креплении шурупами следует производить:
- проектную разметку отверстий для установки дюбелей с приложенными к стене листами ГВЛ;
- сверление в стене отверстий под дюбели с последующей их установкой на монтажной пене;
- сверление отверстий в ГВЛ под металлические шурупы с необходимой раззенковкой для потайной головки шурупа;
- зачистку поверхности стен от затвердевшей монтажной пены, выступающей из-под установленных в отверстия пластмассовых дюбелей;
- закрепление листов ГВЛ шурупами.
7.5.6 После установки первого листа ГВЛ производится:
- заделка его стыков;
- облицовка вторым (и третьим на откосах) слоями ГВЛ с их закреплением самонарезающими шурупами;
- заделка стыков и сопряжений (второго или третьего) слоя облицовки;
- подготовка наружной поверхности последнего (второго или третьего) листа под чистовую отделку.
7.5.7 Гипсоволокнистые листы допускается крепить к ПСБ блокам с помощью универсальных рамных дюбелей. Дюбели устанавливаются с расстоянием 300 - 600 мм между собой.
7.5.8 При установке ГВЛ необходимо обеспечить зазор между ними в 5 - 7 мм. Листы крепятся к стенам вразбежку (с несовпадением стыков по слоям).
7.5.9 Крепление второго и третьего слоя ГВЛ к предыдущему осуществляется саморезами (шурупами) диаметром 5 x 30 мм с потайными головками. Крепление листа шурупами необходимо вести в двух взаимно перпендикулярных направлениях или от середины к краям. Шурупы устанавливаются с отступом от края листа не менее чем на 10 мм.
7.5.10 В зазор, образованный состыкованными листами, при помощи шпателя укладывается шовная шпаклевка и заподлицо (в одной плоскости) с поверхностью обшивки производится ее затирка для удаления неровностей и выступов. Места укладки шпаклевки и обработанные затиркой покрывают грунтовочным составом. Поверхность ГВЛ должна быть обработана специальным укрепляющим составом, поэтому грунтование всей поверхности проводится только при необходимости.
7.5.11 Работы по монтажу ГВЛ должны осуществляться при температуре не ниже +10 °C и относительной влажности воздуха не более 60%.
7.5.12 Потребность в ГВЛ приведена в таблице 7.7.
Таблица 7.7
Потребность в ГВЛ для внутренней облицовки наружных стен
Наименование | Потребность на 100 м2 фасада |
Установка гипсоволокнистых листов в два слоя: | |
- листы ГВЛ (ГВЛВ) размером 2000 x 1000 мм, толщиной 10 или 12,5 мм, шт. | 125 (с учетом откосов) |
7.5.13 Основные средства механизации, инструмент, инвентарь и приспособления, используемые для внутренней облицовки, приведены в таблице 7.8. Вместо указанных в таблице могут быть применены другие средства, имеющие аналогичные технические характеристики.
Таблица 7.8
Основные средства механизации, инструменты, инвентарь
и приспособления для выполнения внутренней облицовки ГВЛ
Наименование | Тип, марка, ГОСТ, N чертежа, завод-изготовитель | Техническая характеристика | Назначение |
Дрель | Интерскол ДУ 1000-ЭР | Максимальный диаметр сверла (пробойника) 20 мм | Сверление отверстий |
Рулетка стальная | Р20УЗК, | Длина 20 м, масса 0,35 кг | Измерение линейных размеров |
Нож для ГВЛ | - | Со сменными лезвиями | Резка ГВЛ |
Электродрель с насадками для завинчивания | Интерскол ДУ-800-ЭР | Потребляемая мощность 800 Вт, максимальный диаметр сверления 20 мм | Сверление отверстий и завинчивание винтов |
7.5.14 Общая технологическая последовательность при использовании в качестве внутренней облицовки стен из ПСБ блоков штукатурки (альтернативный вариант - вместо ГВЛ) должна соответствовать указаниям
7.3. При этом для армирования используется неоцинкованная штукатурная сетка.
7.5.15 Для оштукатуривания используют цементно-песчаный раствор M50 с ориентировочным расходом 2,05 м3 на 100 м2 поверхности.
7.5.16 Потребность в основных механизмах, оборудовании, инструменте и приспособлениях приведена в
таблице 7.4 (без фасадных подъемников).
7.6 Устройство утепляемых покрытий и перекрытий
7.6.1 При проведении работ по утеплению железобетонных покрытий и перекрытий зданий с применением плитного полистиролбетона следует учитывать требования
СП 70.13330 и
СНиП 3.04.01.
7.6.2 При утеплении железобетонного покрытия над отапливаемым чердаком или совмещенного покрытия многоэтажного здания с внутренними водостоками работы должны выполняться в следующей последовательности снизу вверх (на примере реализации конструктивного решения, приведенного на
рисунке 6.12):
- над железобетонной несущей плитой устраивают цементно-песчаную стяжку толщиной 5 - 40 мм с уклоном 1,5% с использованием раствора марки не менее M75 и заглаживанием ее верхней поверхности;
- по верхней поверхности цементно-песчаной стяжки устраивают пароизоляцию из полиэтиленовой пленки толщиной 1,0 - 1,5 мм;
- по пароизоляционной пленке укладывают на клеевой композиции полистиролбетонные плиты теплоизоляционные плотностью 175 - 225 кг/м3, толщина и количество которых определяется проектом;
- по верхней поверхности плиты полистиролбетонной теплоизоляционной устраивают выравнивающую неармированную цементно-песчаную стяжку толщиной 5 - 8 мм из раствора марки не менее 50;
- гидроизоляционный ковер в 3 - 4 слоя по битуму укладывают на выравнивающую цементно-песчаную стяжку.
После укладки и заглаживания цементно-песчаного раствора в стяжках его твердение до набора 50% прочности должно производиться под полиэтиленовой пленкой.
7.6.3 ПСБ плиты укладываются с использованием клеевых композиций, требования к которым приведены в
подразделе 5.2.
7.6.4 При утеплении покрытий и перекрытий с применением полистиролбетонных плит теплоизоляционных последние склеиваются между собой по контактирующим вертикальным и горизонтальным поверхностям при толщине клеевого шва 1 - 3 мм.
7.6.5 При устройстве утепления в два и более слоев плит должно обеспечиваться смещение вертикальных швов разных горизонтальных рядов плит относительно друг друга на расстояние не менее 100 мм.
7.6.6 При утеплении перекрытий: чердачного, над проездами, холодными подвалами и подпольями - склеиваемые плиты из полистиролбетона должны укладываться и фиксироваться строго горизонтально с контролем по нивелиру.
7.6.7 При резке на стройплощадке полистиролбетонных плит на доборные изделия необходимых размеров должны применяться специальные кондукторы, обеспечивающие строгую (отклонение не более 0,5 мм) перпендикулярность смежных поверхностей этих изделий.
7.7 Устройство креплений в наружных стенах
7.7.1 Крепление стен из ПСБ блоков к несущим железобетонным конструкциям (перекрытиям, внутренним стенам или колоннам) должно производиться согласно рабочему проекту. Примеры технических решений крепления стен приведены на
рисунках 6.3 -
6.6 и
6.18.
7.7.2 Крепление полистиролбетонных стен к несущим железобетонным перекрытиям производится забивкой молотком через технологические проемы в железобетонных перекрытиях стальных связево-монтажных изделий заостренных с одного конца (см.
6.6.4).
7.7.3 Анкерующие (крепежные) изделия с заостренным концом забиваются обычным молотком в полистиролбетонные блоки или перемычки на глубину до 200 - 250 мм на расстоянии не менее 50 мм от ближайшей грани.
Другим концом они крепятся к несущим железобетонным конструкциям (как правило, пристреливаются монтажными дюбелями). Допускается их приварка к закладным деталям, заранее устанавливаемым в железобетонных конструкциях (для пластинчатых крепежных элементов) или заделка раствором в высверленное сквозное отверстие в перекрытии (для круглых стержней).
7.7.4 При забивке крепежных изделий сверху в полистиролбетонные перемычки необходимо в обязательном порядке использовать вертикальные стальные штанги, имеющие на концах горизонтальные деревянные доски толщиной 30 - 40 мм площадью не менее 150 - 300 мм, подпирающие снизу перемычки под местом забивки.
7.7.5 Оконные и дверные блоки к стенам из ПСБ блоков должны крепиться по боковым и нижним сторонам
(рисунок 6.17). Крепление выполняется с помощью круглых заостренных штырей из стальных стержней диаметром 16 мм А-I, забиваемых в ПСБ блоки. Штыри забиваются в полистиролбетонные блоки через предварительно высверленные отверстия в оконных и дверных блоках. Количество штырей, расстояние между ними, глубина забивки определяется проектом.
Для более надежного крепления штырей следует применять способ
[6], который заключается в том, что в стене необходимо предварительно рассверлить отверстия по предварительной разметке и перед забивкой штырей заполнить отверстия монтажной полиуретановой пеной. Штыри следует забивать сразу после заполнения отверстия пеной и удерживать их в проектном положении до ее затвердения при строгой фиксации устанавливаемого блока.
Возможно также использование пластмассовых дюбелей с потайными головками, устанавливаемых на монтажной пене.
7.7.6 В случаях, когда по расчету на ветровые нагрузки из условия недопущения смятия полистиролбетона требуется увеличение площади поверхности связево-монтажных элементов, через которую передается давление на полистиролбетон, должны использоваться плоские стальные штыри с концами толщиной 4 - 5 мм и шириной 40 - 60 мм с заостренными концами.
7.7.7 В качестве противопожарной защиты полистиролбетона в местах его контакта с оконными (дверными) блоками следует использовать прокладки из базальтового волокна или асбестокартона толщиной не менее 5 мм, приклеиваемые в проемах к оконным (дверным) блокам.
7.7.8 Крепление навесного отопительного оборудования следует осуществлять при использовании пластмассовых дюбелей на монтажной пене.
Для этого первоначально должны быть просверлены отверстия соответствующего диаметра под дюбели, которые заполняются монтажной пеной, затем устанавливают в них пластмассовые дюбели и только после затвердения пены производится навешивание отопительного оборудования, завинчивание и закрепление шурупов.
Для обеспечения надежности крепления оборудования к внутренней поверхности наружных стен дополнительно используются опорные пластины
(рисунок 6.21), которые крепят также с использованием дюбелей на монтажной пене.
7.7.9 При установке навесного оборудования (кондиционеры, телевизионные тарельчатые антенны и т.п.) на фасадах, соответствующий участок стены над перекрытием выполняется кирпичная армированная кладка толщиной 250 мм с вставкой из эффективного негорючего утеплителя
(рисунок 6.22). В процессе кирпичной кладки ее швы армируются пространственным каркасом, выпуски которого привариваются к закладным деталям перекрытия.
7.7.10 Для установки на оштукатуренных фасадах стен навесного оборудования, предусматривается использование универсальных дюбелей на монтажной пене с заделкой на полную или частичную глубину, но не менее 150 мм. Для этого просверленное отверстие диаметром 20 мм заполняется монтажной пеной, в него вставляется стержень диаметром 14 мм А-Ш, который не следует трогать до полного затвердения монтажной пены.
7.7.11 Крепление фасадных навесных устройств и растяжек осуществляется, как правило, непосредственно в торец железобетонных перекрытий. В данном случае крепление элементов в железобетоне производится в последовательности, указанной в
7.4.9.
8.1 Общие требования к контролю
8.1.1 Контроль качества производства работ при устройстве ограждающих конструкций с применением особо легкого полистиролбетона включает в себя контроль рабочей документации, входной контроль качества используемых материалов и изделий, смежных несущих железобетонных конструкций, операционный контроль технологических процессов при проведении работ по устройству ограждающих конструкций и их приемочный контроль.
8.1.2 Контроль рабочей документации выполняют технические службы строительной организации, производящей работы по устройству ограждающих конструкций. Он предусматривает проверку:
- наличия и комплектности рабочей документации на ограждающие конструкции и смежные с ними несущие железобетонные конструкции;
- наличия проектов производства работ по устройству ограждающих конструкций;
- достаточности содержащейся в документации технической информации для производства работ.
Возникающие технические и организационные вопросы по рабочей документации рассматриваются и согласовываются с ее разработчиками.
8.1.3 Основные требования и рекомендации по проведению контроля качества работ по устройству монолитных ограждающих конструкций с применением полистиролбетона приведены в
таблицах 8.6,
8.12 и
8.13.
8.2 Входной контроль материалов и изделий
8.2.1 Входной контроль качества используемых материалов и изделий предусматривает проверку соответствующими структурами строительных или привлекаемых организаций наличия паспортов и сертификатов соответствия на облицовочный кирпич, сухие строительные смеси для кладочных растворов кирпичной облицовки, штукатурки и клеевых композиций, полистиролбетонные изделия, ГВЛ (ГВЛВ), штукатурные и армирующие сетки, связевые изделия (сетки, проволока, стержни, полосы), базальтовые маты (плиты), крепежные изделия (дюбеля, саморезы, шурупы) и монтажную пену.
При использовании для кирпичной облицовки и оштукатуривания растворных смесей, приготавливаемых на стройплощадке, необходимо иметь паспорта на песок, цемент и добавки, применяемые для приготовления таких смесей.
8.2.2 Партии полистиролбетонных изделий, поступающих на строительную площадку, должны быть снабжены паспортами согласно
ГОСТ 13015, в которых для полистиролбетона указывается в соответствии с
ГОСТ Р 51263: его фактическая марка по средней плотности (D) в кг/м
3, класс прочности при сжатии (B) или марка в МПа или в кгс/см
2, морозостойкость (F) в циклах и теплопроводность в сухом состоянии

в Вт/(м·°C).
8.2.3 При входном контроле качества облицовочного кирпича, полистиролбетонных изделий и ГВЛ производится их визуальный осмотр на наличие поверхностных дефектов (трещин, недопустимых неровностей, сколов и т.п.), а также проверяются основные линейные и поверхностные геометрические характеристики с учетом допусков, указанных в соответствующих ГОСТ или ТУ.
Материалы и изделия, не соответствующие требованиям ГОСТ и ТУ, отбраковываются и должны быть заменены изготовителем на кондиционные.
8.2.4 Строительная организация - производитель работ по возведению ограждающих конструкций имеет право проводить (с привлечением организаций - изготовителей материалов или изделий) периодический отбор проб или образцов материалов и изделий (перед началом работ и до трех раз при их проведении) и проверку их физико-технических показателей аттестованными испытательными организациями.
В случае несоответствия требуемых по проектной документации показателей качества материала и изделий производитель работ выставляет организации-изготовителю рекламацию с требованием поставки продукции необходимого качества.
8.2.5 Перед началом кладки полистиролбетонных изделий в ограждающих конструкциях зданий производится проверка геометрических характеристик смежных железобетонных несущих конструкций (несущие стены, колонны, пилоны и утепляемых покрытий и перекрытий) в соответствии с требованиями
СП 70.13330. При этом особое внимание должно быть обращено на отклонения торцов железобетонных перекрытий над ненесущими наружными стенами по вертикали, которые не должны быть более 15 мм.
Также должно быть проверено наличие в торцах железобетонных перекрытий термовкладышей из негорючей минеральной ваты и заложенных в проекте закладных стальных деталей с антикоррозионном покрытием.
8.2.6 Допускаемые отклонения линейных габаритных размеров полистиролбетонных изделий, не должны превышать, указанных в таблице 8.1.
Таблица 8.1
Допускаемые отклонения габаритных размеров ПСБ изделий
Габаритные размеры | Предельные отклонения, мм |
Блоки | Перемычки | Плиты |
H = 375 мм | H = 295 мм |
Длина L | +/- 3,0 | +/- 3,0 | +/- 5,0 | +5; -10 |
Высота H | +/- 1,5 | +/- 1,0 | +/- 2,0 | +/- 5 |
Ширина (толщина) B | +/- 1,0 | +/- 2,0 | +/- 1,5 | +/- 5 |
8.2.7 Значения действительных отклонений геометрических параметров полистиролбетонных блоков и перемычек не должны превышать предельных, указанных в таблице 8.2.
Таблица 8.2
Допускаемые отклонения геометрических параметров
ПСБ блоков и перемычек
Вид отклонения геометрического параметра | Геометрический параметр | Предельные отклонения, мм |
Отклонение от прямолинейности | Прямолинейность профиля калиброванных поверхностей блоков | 1,0 |
Прямолинейность некалиброванных поверхностей блоков и перемычек: | |
а) предназначенных для склеивания | 2,0 |
б) предназначенных под отделку: | |
1) на участке длиной до 1000 мм | 5,0 |
2) на всей длине от 1000 до 1500 мм | 7,0 |
3) свыше 1500 мм | 8,0 |
Отклонение от перпендикулярности | Перпендикулярность граней смежных плоскостей на участке длиной 300 мм | 1,0 |
Отклонение от плоскостности | Плоскостность лицевых поверхностей изделий при измерениях от условной плоскости, проходящей через три угловые точки блока (перемычки) длиной | |
до 1,2 м | 1,0 |
свыше 1,2 м до 2,1 м | 1,5 |
свыше 2,1 м до 3,0 м | 2,0 |
8.2.8 Значения действительных отклонений геометрических параметров полистиролбетонных теплоизоляционных плит не должны превышать предельных, указанных в таблице 8.3.
Таблица 8.3
Допускаемые отклонения геометрических параметров
ПСБ теплоизоляционных плит
Вид отклонения геометрического параметра | Геометрический параметр | Предельные отклонения, мм |
Отклонение от прямолинейности | Прямолинейность профиля плит на всю длину | +/- 3 |
Отклонение от перпендикулярности | Перпендикулярность граней смежных плоскостей на участке длиной 500 мм | +/- 3 |
Разность длин диагоналей | Длина диагоналей плит | +/- 5 |
8.2.9 Фактические размеры раковин, местных наплывов и впадин на поверхностях полистиролбетонных изделий не должны превышать указанных в таблице 8.4.
Таблица 8.4
Допускаемые размеры дефектов поверхности ПСБ изделий
Раковины, мм | Местные наплывы и впадины, мм |
диаметр | глубина | наибольший размер на поверхности | высота | глубина |
15 | 5 | 15 | 2 | 5 |
8.2.10 Допускаемые отклонения от номинальных размеров и показателей внешнего вида лицевой поверхности облицовочного кирпича согласно
ГОСТ 530 не должны превышать на одном изделии величин, указанных в таблице 8.5.
Таблица 8.5
Допускаемые отклонения внешнего вида
лицевой поверхности кирпича
Наименование показателя | Величина |
Отклонения от размеров, мм, не более: | |
- по длине | +4; -4 |
- по ширине | +3; -3 |
- по толщине | +3; -2 |
Неперпендикулярность граней и ребер кирпича, отнесенная к длине 120 мм, не более | 2 |
Непараллельность граней, мм, не более | - |
Непрямолинейность лицевых поверхностей и ребер, мм, не более | |
- по ложку | 3 |
- по тычку | 2 |
Отбитость или притупленность углов и ребер длиной от 5 до 15 мм, шт., не более | 1 |
Отдельные посечки шириной не более 0,5 мм и длиной до 40 мм на 1 дм2 лицевой поверхности, шт., не более | 2 |
8.2.11 Допускаемые отклонения от номинальных размеров ГВЛ (ГВЛВ) согласно
ГОСТ Р 51829 не должны быть более указанных в таблице 8.6. При этом листы должны иметь прямоугольную форму в плане и отклонение от прямоугольности не должно быть более 4 мм.
Таблица 8.6
Входной контроль получаемых или изготавливаемых на стройке
материалов (с регистрацией в журналах параметров качества
материалов - по данным паспортов и испытаний
Материал или технологическая операция | Место отбора проб или контроля | Контролируемые параметры | Частота контроля | Метод контроля | Средства измерений | Исполнители | Ожидаемые результаты |
Сборные полистиролбетонные изделия (стеновые блоки, перемычки, плиты) | Из поступившей партии | Тип, марка, геометрия, наличие дефектов | По мере поступления | | Стальная рулетка | Мастер | Соответствие материала требованиям ГОСТ и паспортным данным |
Клеевая композиция для кладки ПСБ изделий | Из поступившей партии | Объемная масса, прочность | По мере поступления | ТУ 5745-005-86549669-12 [1] | Сосуд 2 л, весы | Мастер | Соответствие материала требованиям ТУ и паспортным данным |
Кирпич облицовочный | Из поступившей партии | Вид, марка, геометрия, наличие дефектов | По мере поступления | | Линейка | Мастер | Соответствие материала требованиям ГОСТ и паспортным данным |
Кладочная и штукатурная растворная смесь товарная или изготовленная на стройплощадке | Из поступившей или изготовленной партии | Подвижность | По мере поступления или изготовления | | Эталонный конус | Мастер | Соответствие требованиям ГОСТ и паспортным данным |
ГВЛ (ГВЛВ) | Из поступившей партии или нарезанных листов | Номинальные размеры | По мере поступления или изготовления | | Стальная рулетка 5 м, линейка | Мастер | Отклонения, не более: по длине - 0; -5 мм, ширине - 0; -4 мм, толщине - +/- 0,3 мм |
Связевые к связево-монтажные изделия | Из поступившей или изготовленной партии | Геометрические размеры | Для каждой партии | Контрольные замеры | Линейка 0,5 м | Мастер | Соответствие проектным требованиям |
Стальная арматура, штукатурная сетка | Из поступившей или изготовленной партии | Дефекты, наличие ржавчины | Для каждой партии | | Рулетка 5 м, линейка | Мастер | Соответствие проектным требованиям и ГОСТ |
Хризотилцементные листы | Из поступившей партии или нарезанных листов | Проектные размеры | Для каждой партии | | Стальная рулетка, линейка | Мастер | Соответствие проектным требованиям и ГОСТ |
8.2.12 Качество растворов для кирпичной кладки и оштукатуривания наружных стен и методы контроля их основных показателей должны соответствовать требованиям
ГОСТ 28013 и
СП 82-101-98 [2].
8.2.13 Прочность штукатурки и надежность сцепления ее с полистиролбетонным основанием должна проверяться простукиванием поверхности молотком. При простукивании отставшая штукатурка издает глухой звук. Поврежденную и отставшую штукатурку отбивают, поверхность основания очищают и вновь оштукатуривают.
8.2.14 Качество клеевых композиций для кладок полистиролбетонных изделий и методы контроля их основных показателей должны соответствовать требованиям, изложенным в
5.3.2 настоящего стандарта и ТУ 5745-005-86549669-12
[1].
8.2.15 Основные требования по проведению входного контроля приведены в
таблице 8.6.
8.3 Операционный контроль
8.3.1 Операционный контроль при кладке полистиролбетонных изделий должен осуществляться в ходе выполнения производственных операций и обеспечивать своевременное выявление дефектов и принятие мер по их устранению и предупреждению.
8.3.2 Операционный контроль качества работ по приготовлению клеевых композиций и клеевых соединений блоков включает следующие операции:
- контроль технологии приготовления и качества клеевых композиций, правильности их нанесения на изделия, геометрических характеристик швов кладок из ПСБ изделий на клеях;
- проверка качества крепления стен к несущим конструкциям здания и оконных (дверных) блоков к кладке из ПСБ изделий.
8.3.3 В процессе работы мастер должен проверять правильность перевязки швов кладки, вертикальность, горизонтальность и прямолинейность поверхностей и углов, качество поверхности кладки, а также размещение в горизонтальных швах связевых элементов.
Вертикальность поверхностей и углов проверяют внешним осмотром, уровнем и отвесом не реже двух раз на каждом ярусе кладки. Горизонтальность рядов контролируют правилом и уровнем не реже двух раз на каждом ярусе кладки. Для этого правило кладут на кладку, ставят на него уровень и, выровняв его по горизонту, определяют величину отклонения кладки от горизонтали. Если она превышает величину установленного допуска, то отклонение устраняют в процессе последующей кладки.
8.3.4 Допустимые отклонения в размерах и положении кладки из ПСБ блоков и перемычек приведены в таблице 8.7.
Таблица 8.7
Допустимые отклонения кладки из ПСБ блоков и перемычек
Наименования показателя | Величина отклонения, мм |
Отклонение проектных размеров: | |
- по отметкам опорных поверхностей | -10 |
- по ширине простенков | -15 |
- по ширине проемов | +15 |
Отклонение поверхностей и углов кладки по вертикали на один этаж | 10 |
Отклонение рядов кладки по горизонтали на 10 м длины стены | 15 |
Неровности на вертикальной поверхности кладки, обнаруженные при накладывании рейки длиной 2 м | 10 |
Толщина клеевых швов кладки: | |
- неармированных | +/- 0,5 |
- армированных | -0,5; +1,0 |
8.3.5 Контроль качества кладки из полистиролбетонных изделий производится внешним осмотром и испытанием на осевое растяжение склеенных контрольных полистиролбетонных образцов-кубов размером 10 x 10 x 10 см, выпиленных из изделий в 3-х и 28-ми суточном возрасте. Образцы хранятся в тех же условиях, что и кладка из блоков.
8.3.6 Состав и содержание производственного контроля качества фасадной кирпичной облицовки приведены в таблице 8.8. Результаты контроля должны обязательно отражаться в журнале работ.
Таблица 8.8
Состав и содержание производственного контроля
кирпичной облицовки
Предмет контроля | Способ контроля | Время проведения контроля | Ответственный за контроль | Технологические характеристики оценки качества |
Отклонение толщины горизонтальных и вертикальных швов | Измерительный, линейкой | В процессе производства работ | Мастер, прораб | Предельные отклонения: -2; +2 мм |
Отклонение рядов кладки от горизонтали на 10 м длины | Измерительный, геодезическая исполнительная схема | В процессе производства работ | Мастер, прораб | Не более 15 мм |
Неровности вертикальной поверхности кладки | Технический осмотр, при накладывании рейки длиной 2 м | В процессе производства работ | Мастер, прораб | Не более 10 мм |
Правильность перевязки швов, их толщина и заполнение | Технический осмотр, измерительный | В процессе производства работ | Мастер, прораб | Сплошной |
8.3.7 Требования, которые должны соблюдаться при производстве облицовочных штукатурных работ, указаны в таблице 8.9.
Таблица 8.9
Требования к штукатурной облицовке
Технические требования | Предельные отклонения | Контроль (метод, объем, вид регистрации) |
Допускаемые несовпадения профиля на стыках архитектурных деталей и швов | Не более 4 мм | Измерительный, не менее 5 измерений на 50 - 100 м2 поверхности или на отдельном участке меньшей площади в местах, выявленных сплошным визуальным осмотром, журнал работ |
Неровности плоскости (при контроле двухметровой рейкой) | Не более 3 мм |
Отклонения ширины шва облицовки | +/- 0,5 мм |
Отклонения облицовочной поверхности от вертикали | Не более 5 мм на этаж | Измерительный, не менее 5 измерений на 50 - 70 м2 поверхности, журнал работ |
Отклонения расположения швов от вертикали и горизонтали | Не более 2 мм на 1 м длины |
8.3.8 При производстве и приемке работ по устройству облицовки из ГВЛ (ГВЛВ) следует проверять отсутствие у них трещин, отбитых углов.
Головки винтов должны быть утоплены в листы на глубину 0,5 - 1,0 мм.
На поверхности не должно быть наплывов шпаклевочного раствора. В местах сопряжений шпаклевка должна быть уложена без разрывов по всему контуру сопряжения на всю глубину стыка. Заделанные стыки между ГВЛ не должны быть заметны.
Требования к готовым облицовкам из ГВЛ (ГВЛВ) приведены в таблице 8.10.
Таблица 8.10
Требования к облицовке ГВЛ (ГВЛВ)
Контролируемый параметр | Предельное значение | Измерение |
Отклонение от вертикальной облицованной поверхности | 1 мм на 1 м высоты | Не более чем через 3 м длины поверхности |
Отклонения от совпадения поверхностей двух смежных листов обшивки на стыке | 1 мм | Видимых несовпадений |
Неровности поверхности плавного очертания: | | Видимых неровностей |
глубина | 2 мм |
количество | 2 шт. на 4 м2 |
8.3.9 Перечень основных технических процессов, операций и контролируемых параметров при устройстве навесного вентилируемого фасада, монтаже базальтовых матов приведены в таблице 8.11.
Таблица 8.11
Технологические процессы и контролируемые параметры
при устройстве вентилируемого фасада
Технологические процессы и операции | Контролируемый параметр | Допускаемое значение, требования | Способ контроля и инструмент |
1. Разметка фасада. Установка опорных кронштейнов |
Разметка крайних точек горизонтальной линии фасада | Точность разметки | +/- 2,0 мм | Нивелир |
Разметка крайних точек вертикальной линии фасада | Точность разметки | +/- 2,0 мм | Теодолит |
Разметка промежуточных линий точек крепления кронштейнов | Точность разметки | +/- 2,0 мм | Лазерный нивелир, отвес, рулетка |
Сверление отверстий под дюбели | Глубина H | H = длина дюбеля + 10,0 мм | Глубинометр, нутромер |
Диаметр D | D = диаметр дюбеля + 0,2 мм |
Расстояние от угла здания | Не менее 100,0 мм | Рулетка |
Расстояние между соседними отверстиями | Не менее, чем глубина сверления | Рулетка, глубиномер |
Чистота отверстия | Отсутствие пыли | Визуально |
Отклонение фактического расположения точек крепления кронштейнов от проектного | +/- 10,0 мм | Рулетка |
Паронитовые прокладки | Наличие прокладок | Визуально |
Крепление несущих кронштейнов | Наличие под анкером шайбы | Шайба из нержавеющей стали | Визуально |
2. Установка базальтовых матов |
Транспортировка и хранение матов | Влажность, отсутствие механических повреждений | Влажность не более 10% | Влагомер |
Резка в размер | Точность | +/- 1,0 мм | Рулетка |
Крепление к стене | Незаполненный шов | Не более 2,0 мм | Шаблон |
Точность стыковки | Шахматное расположение тарельчатых дюбелей, перехлест матов, отсутствие сплошного шва | Визуально |
Количество дюбелей на 1 м2 | Согласно проекту (5 - 7 шт.) | Визуально |
Крепление ветрогидрозащитной пленки | Степень защиты | Отсутствие незащищенных плит утеплителя и открытых торцов утеплителя | Визуально |
Перехлест полотнищ на стыках | Величина перехлеста от 100 до 150 мм | Рулетка |
8.3.10 При устройстве связево-монтажных изделий и креплений ПСБ изделий к железобетонным конструкциям проверяются тип материалов и характеристики связево-монтажных изделий, их проектное количество и расположение, а также надежность закрепления.
8.3.11 При устройстве теплоизоляции из полистиролбетонных плит на железобетонных покрытиях и перекрытиях должны выполняться требования СНиП 3.04.01-87 (
пункты 2.36 и
2.38).
8.3.12 Основные требования по проведению операционного контроля приведены в таблице 8.12.
Таблица 8.12
Операционный контроль (с записями в журнал
и оформлением актов скрытых работ)
Материал или технологическая операция | Место отбора проб или контроля | Контролируемые параметры | Частота контроля | Метод контроля | Средства измерений | Исполнители | Ожидаемые результаты |
Изготовление клеевой композиции | По изготовленной партии | Объемная масса, консистенция | 2 раза в смену | По ТР | Весы, объемная тара | Оператор, мастер | Обеспечение требуемых свойств клеевой композиции |
Кладка полистиролбетонных блоков и перемычек: - толщина горизонтальных и вертикальных швов; - наличие связевых и армирующих сеток; - параметры кладки | На участке производства работ | Согласно технологическому регламенту (ТР) и ППР | Постоянно | Визуальный по ТР | Линейка, рулетка, уровень, правило | Монтажник, мастер | Соответствие проекту и ППР |
Кирпичная кладка фасадная: - наличие связевых и армирующих сеток; - геометрические параметры фасада; - устройство деформационных швов и противопожарных рассечек | На участке производства работ | Горизонтальные Швы. Вертикальность и горизонтальность, прямолинейность стен и углов, отклонение толщины, расшивка швов, отклонение рядов кладки от горизонтали на 10 м длины | При устройстве кладки | Визуальный и при использовании измерительных инструментов согласно геодезической исполнительной схеме | Рулетка, уровень, правило | Каменщик, мастер (прораб), авторский надзор | Соответствие проекту. При необходимости принимаются меры по соблюдению требований ППР |
Крепление связевых и связево-монтажных изделий к несущим конструкциям | На участке производства работ | Проектное положение, надежность закрепления | Постоянно при устройстве креплений | Визуальный и измерительными инструментами | Рулетка 5 м, линейка 0,5 м | Мастер (прораб) | Соответствие проекту. При необходимости принимаются меры по надежному креплению |
Штукатурные работы: - установка штукатурных сеток; - оштукатуривание стен | На участке производства работ | Правильность навешивания и надежность закрепления. Последовательность нанесения штукатурки согласно ППР или ТР | Для каждого простенка | Визуальный, измерительный инструмент | Рулетка, отвес, шнур капроновый | Мастер | Соответствие ППР или ТР |
Монтаж ГВЛ (ГВЛВ) | На участке производства работ | Надежность закрепления и фиксации в проектном положении, примыкание смежных листов | Постоянно | Визуальный, измерительный инструмент | Рулетка 5 м, отвес, шнур капроновый | Мастер (прораб) | Соответствие проекту. При необходимости принимаются меры по устранению дефектов, в т.ч. больших зазоров между смежными листами по захваткам |
Устройство деформационного шва, термовкладышей, установка трубчатых прокладок "Вилатерм" | На участке производства работ | Соответствие ППР | Для каждого участка под перекрытием и при переносе монтажных работ на следующий этаж | Визуально | - | Мастер | Обеспечение проектных требований по заделке деформационных швов и проемов для термовкладышей в плитах перекрытий |
Устройство навесного вентилируемого фасада: - монтаж комплектующих конструктивных несущих и направляющих элементов; - установка огнезащитных матов (плит); - установка фасадных декоративных плит | На участке производства работ | Соответствие ППР | Для каждого этажа | Визуально, измерительными инструментами | Лазерный нивелир, теодолит, отвес, рулетка, глубиномер | Мастер (прораб) | Соответствие проекту. При необходимости принимаются меры по устранению дефектов |
Устройство утепляемых покрытий и перекрытий | На участке производства работ | Соответствие ППР | Для каждого утепляемого участка | Визуально, измерительными инструментами | Рулетка, стальная линейка | Мастер | Соответствие проекту |
Устройство армированного пояса для несущих стен в местах опирания пустотного настила: - установка армирующих сеток - заливка раствором | На участке производства работ | Соответствие ППР Подвижность раствора | Для каждого участка под перекрытием | | Эталонный конус для определения подвижности | Мастер | Соответствие проекту |
8.4 Оценка соответствия выполненных работ и возведенных ограждающих конструкций требованиям нормативов и проекта
8.4.1 Оценка соответствия выполненных работ по устройству ограждающих конструкций из особо легкого полистиролбетона производится приемочной комиссией в составе представителей заказчика и генеральной подрядной строительной организации и оформляется подписанием акта приемки по форме. К акту прилагаются:
- документы (паспорта, сертификаты), удостоверяющие качество полистиролбетонных изделий, сухих строительных смесей, в том числе для клеевых композиций, облицовочных (кирпич, ГВЛ) и комплектующих деталей и материалов;
| | ИС МЕГАНОРМ: примечание. В официальном тексте документа, видимо, допущена опечатка: в СП 70.13330.2012 приложение 1 отсутствует. | |
- акты на скрытые работы, в которых следует ссылаться на разделы проекта здания, отражающие конструктивно-технические решения несущих и ограждающих конструкций, ППР и журналы производства работ (по форме
СП 70.13330.2012 (приложение 1)).
8.4.2 Требования к законченным ограждающим конструкциям.
8.4.2.1 Геометрические параметры законченных ограждающих конструкций по допускаемым отклонениям должны соответствовать указанным в СТО НОСТРОЙ 2.6.54-2011
(приложение Щ), а показатели прочности, морозостойкости, термического сопротивления и воздухопроницаемости должны соответствовать проектным значениям, в том числе данным теплотехнического паспорта.
8.4.2.2 Поверхности конструкций должны соответствовать требованиям, установленным в проектной документации. Требования к фасадам зданий должны соответствовать паспорту на его фасад.
8.4.2.3 На поверхностях ограждающих конструкций не допускается обнажение рабочей и конструктивной арматуры.
8.4.2.4 На лицевых поверхностях под окраску не допускаются жировые и ржавые пятна.
8.4.2.5 В стеновых ограждающих конструкциях не допускаются трещины шириной более 0,1 мм.
8.4.2.6 Качество кровельных гидроизоляционных покрытий должно отвечать требованиям
СНиП 3.04.01.
8.4.2.7 При отклонениях показателей качества готовых ограждающих конструкций дополнительные меры по его обеспечению должны быть согласованы с проектной организацией.
8.4.3 Контроль соответствия выполненных работ требованиям нормативной технической документации и проекта должен проводиться согласно указаниям таблицы 8.13.
Таблица 8.13
Оценка соответствия выполненных работ требованиям нормативов
и проекта (с оформление протоколов испытаний и актов
на выполнение работ и приемку конструкций)
Материал или технологическая операция | Место отбора проб или контроля | Контролируемые параметры | Частота контроля | Метод контроля | Средства измерений | Исполнители | Ожидаемые результаты |
Клеевая композиция для кладки полистиролбетонных изделий | С участков возведения стен | Средняя плотность | 1 раз при строительстве здания | Испытание на образцах для определения прочности | Сушильный шкаф, контрольные формы, весы | Строительная лаборатория | Результаты сопоставляются с требуемой по проекту плотностью |
Кладка из полистиролбетонных изделий | Участки возведения стен | Наличие деформационных швов, противопожарных рассечек | Постоянно при возведении стен | Визуальный | - | Прораб | Соответствие требованиям проекта |
Раствор (для кирпичной кладки, штукатурный, для устройства стяжек) | С участков применения раствора | Марка по прочности и морозостойкости | 2 раза в месяц | Испытание контрольных образцов 7 x 7 x 7 см | Контрольные формы, морозильная камера, испытательный пресс | Строительная лаборатория | Соответствие требованиям ГОСТ, проекта и паспортным данным |
Фасадная кирпичная поверхность | Фасады здания | Наличие деформационных швов, противопожарных рассечек, герметизация швов | Постоянно при возведении стен | Визуальный | - | Прораб | Соответствие проекту |
Оштукатуренная поверхность стен | Фасады здания | Прочность штукатурки и сцепления штукатурки с основанием, отклонения от вертикали и горизонтали, неровности поверхности | По мере окончания работ | Контрольными образцами по ГОСТ 28013 и неразрушающими методами контроля | Рейка-отвес, контрольные формы, прибор неразрушающего метода контроля (склерометр ОМШ-1) | Строительная лаборатория | Соответствие проекту |
Наружная поверхность вентилируемого фасада | Фасады здания | Отклонения от вертикальности и горизонтальности, прямолинейность стен и углов Неровности поверхности плавного очертания | По мере окончания работ | Визуальный и измерительными инструментами | Рейка-отвес, уровень, рулетка 20 м | Мастер, прораб, авторский надзор | Соответствие проекту |
Внутренняя поверхность стен из ГВЛ (ГВЛВ) | Наружные стены с внутренней стороны | Отклонения от вертикальности и горизонтальности, прямолинейность стен и углов | По мере окончания работ | Измерительными инструментами | Рейка-отвес, уровень, рулетка 20 м | Мастер, прораб, авторский надзор | Соответствие требованиям проекта и при необходимости устранение огрехов. Не более, чем через 3 м длины поверхности 1 мм на 1 м высоты |
Неровности поверхности плавного очертания | То же | Визуальный и измерительными инструментами | То же | Мастер | Глубина не более 2 мм Количество неровностей не более 2 шт., на 4 м2 |
Затирка и шпаклевка смежных стыков | "" | То же | "" | То же | Внутренние поверхности стен, подготовленные для окончательной отделки (под окраску или наклеивание обоев) |
Теплозащитные характеристики конструкций | Наружные стены, утепляемые покрытия и перекрытия | Приведенное сопротивление теплопередаче | Каждое здание | | Тепловизор, расчет | Привлекаемые специализированные организации | Соответствие проекту |
9 Техника безопасности и противопожарные мероприятия
9.1 При организации и проведении работ по устройству ограждающих конструкций зданий из полистиролбетонных изделий должны выполняться требования
СНиП 12-03,
СНиП 12-04 и
ГОСТ 12.4.011.
| | ИС МЕГАНОРМ: примечание. В официальном тексте документа, видимо, допущена опечатка: имеется в виду ГОСТ Р 12.1.019-2009, а не ГОСТ 12.1.019. | |
9.4 Безопасность монтажных работ на высоте должна обеспечиваться выполнением правил
ПОТр М-012-2000 [11].
9.5 При выполнении монтажно-отделочных работ по устройству ограждающих конструкций с применением полистиролбетонных изделий должно обеспечиваться надежное крепление лесов и средств механизации только к капитальным железобетонным конструкциям.
9.6 При устройстве системы навесных вентилируемых фасадов на относе не допускается крепление несущих реечных металлоконструкций к блокам из полистиролбетона.
9.7 Высоту каждого яруса кладки из полистиролбетонных блоков устанавливают с таким расчетом, чтобы уровень кладки после каждого перемещения был не менее чем на один ряд блоков выше уровня подмостей. Кладку полистиролбетонных блоков и перемычек следует вести только с перекрытий, подмостей или фасадных подъемников. При возведении стен находиться на них людям не допускается.
При производстве кладочных и отделочных работ с горизонтальных площадок, лесов, лоджий или балконов последние должны быть оборудованы страховочными перилами.
При возведении стен из полистиролбетонных блоков и их облицовке в опасных зонах монтажники должны использовать предохранительные пояса, прикрепляясь ими к несущим железобетонным конструкциям здания.
9.8 При выполнении на стройплощадке сварочных и других процессов, связанных с применением открытого огня, необходимо предусматривать мероприятия, исключающие его воздействие на изделия из полистиролбетона.
9.9 При работе с клеевыми композициями на основе сухих смесей в процессе растаривания мешка сухой смеси, дозирования и перемешивания клея следует принимать меры предосторожности от попадания частиц сухой смеси и клея в глаза, органы дыхания и на открытые участки кожи. В случае попадания на открытые участки кожи или в глаза, следует смыть их чистой водой без применения моющих средств.
(рекомендуемое)
КОМПЛЕКТНАЯ НОМЕНКЛАТУРА ПОЛИСТИРОЛБЕТОННЫХ ИЗДЕЛИЙ
Таблица А.1
Вид и эскиз изделий | Размеры, мм | Класс (марка) по прочности на сжатие | Марка по средней плотности |
B | H | L |
Рядовые блоки | 250 - 590 | 295 (298) 375 | 595 - 625 | B0,35 - B0,75 | D250 - D300 |
297 - 312 |
Доборные блоки | 250 - 590 | | 375 | B0,35 - B0,75 | D250 - D300 |
Простеночные блоки | 250 - 590 | 295 (298) 375 | 595 - 625 | B0,35 - B0,75 | D250 - D300 |
297 - 312 |
Подоконные блоки | 250 - 590 | 295 (298) 375 | 595 - 625 | B0,35 - B0,75 | D250 - D300 |
297 - 312 |
Перемычки | 180 | 295 | 1198 (1195) | B0,35 - B0,75 | D250 - D350 |
140 | 295 |
180 | 235 |
140 | 235 |
115 | 295 |
140 | 180 |
115 | 235 |
180 | 295 | 1498 (1495) | B0,35 - B0,75 | D250 - D350 |
140 | 295 |
180 | 235 |
140 | 235 |
115 | 295 |
140 | 180 |
115 | 235 |
180 | 295 | 1798 (1795) | B0,35 - B0,75 | D250 - D350 |
140 | 295 |
180 | 235 |
140 | 235 |
115 | 295 |
140 | 180 |
115 | 235 |
180 | 295 | 2098 (2095) | B0,35 - B0,75 | D250 - D350 |
140 | 295 |
180 | 235 |
140 | 235 |
115 | 295 |
140 | 180 |
115 | 235 |
| 180 | 295 | 2398 (2395) | B0,35 - B1,5 | D250 - D500 |
140 | 295 |
180 | 235 |
140 | 235 |
115 | 295 |
140 | 180 |
115 | 235 |
180 | 295 | 2698 (2695) | B0,5 - B1,5 | D250 - D500 |
140 | 295 |
180 | 235 |
140 | 235 |
115 | 295 |
140 | 180 |
115 | 235 |
180 | 295 | 2900; 2998 (2995) | B0,75 - B1,5 | D250 - D500 |
140 | 295 |
180 | 235 |
140 | 235 |
115 | 295 |
140 | 180 |
115 | 235 |
Плиты теплоизоляционные | 600 - 750 | 50 - 200 | 900 - 1000 | M2 - M5 | D150 - D225 |
Примечания 1 В скобках указаны размеры изделий, выпускаемые производителем по ее согласованию с проектной или строительной организацией. 2 В приведенную номенклатуру ПСБ изделий не включены блоки повышенной заводской готовности с цементно-песчаной облицовкой. |
| Технические условия ТУ 5745-005-86549669-12 | Смеси сухие строительные "Юникон" |
| Свод правил | Приготовление и применение растворов строительных |
| Технические условия ТУ 5775-057-0566764-2003 | Тиоколовая мастика АМ-05К |
| Техническое свидетельство от 22 марта 2010 г. N 2832-10 "Теплоэффективная строительная система "Юникон" |
| Ведомственные строительные нормы | Проектирование и основные положения технологий производства фибробетонных конструкций |
| Патент на изобретение N 2430218 (ОАО "ВНИИжелезобетон", приоритет от 30 декабря 2008 г.) Способ установки крепежного элемента навесного оборудования в наружной стене здания |
| Технические условия ТУ 22-4755-80 | Машина для приготовления и подачи жестких растворов СО-126 |
| Технические условия ТУ 5741-254-00284807-06 | Изделия полистиролбетонные системы "Юникон". Технические условия |
| Федеральный закон от 22 июля 2008 г. N 123-ФЗ "Технический регламент о требованиях пожарной безопасности" |
| |
| | ИС МЕГАНОРМ: примечание. В официальном тексте документа, видимо, допущена опечатка: ПОТ Р М-012-2000 имеет название "Межотраслевые правила по охране труда при работе на высоте". | |
|
| |
УДК 693 | |
от 30 декабря 2009 г. N 624. |
Ключевые слова: полистиролбетон, блоки, перемычки, плиты, полистиролбетонные ограждающие конструкции, кирпичный фасад, оштукатуриваемый фасад, навесной вентилируемый фасад, клеевые композиции, правила производства работ, контроль качества, противопожарная защита, техника безопасности |