Главная // Актуальные документы // ГОСТ (Государственный стандарт)СПРАВКА
Источник публикации
М.: Издательство стандартов, 1994
Примечание к документу
Документ утратил силу на территории Российской Федерации с 01.03.2020 в связи с изданием
Приказа Росстандарта от 30.08.2019 N 599-ст. Взамен введен в действие
ГОСТ Р 58515-2019.
С 1 июля 2003 года до вступления в силу технических регламентов акты федеральных органов исполнительной власти в сфере технического регулирования носят рекомендательный характер и подлежат обязательному исполнению только в части, соответствующей целям, указанным в
пункте 1 статьи 46 Федерального закона от 27.12.2002 г. N 184-ФЗ.
Текст документа приведен с учетом
поправки, опубликованной, в "ИУС", N 7, 1987.
Документ
введен в действие с 1 января 1982 года.
Взамен ГОСТ 9533-71.
Название документа
"ГОСТ 9533-81. Государственный стандарт Союза ССР. Кельмы, лопатки и отрезовки. Технические условия"
(утв. Постановлением Госстроя СССР от 18.12.1980 N 197)
"ГОСТ 9533-81. Государственный стандарт Союза ССР. Кельмы, лопатки и отрезовки. Технические условия"
(утв. Постановлением Госстроя СССР от 18.12.1980 N 197)
Утвержден и введен в действие
от 18 декабря 1980 г. N 197
ГОСУДАРСТВЕННЫЙ СТАНДАРТ СОЮЗА ССР
КЕЛЬМЫ, ЛОПАТКИ И ОТРЕЗОВКИ
ТЕХНИЧЕСКИЕ УСЛОВИЯ
Trowels, tuck pointing tools. Specifications
ГОСТ 9533-81
Группа Ж36
Дата введения
1 января 1982 года
1. Разработан и внесен Министерством строительного, дорожного и коммунального машиностроения.
Разработчики: А.П. Полунин (руководитель темы), Э.В. Зайцева, Н.И. Федоров.
2. Утвержден и введен в действие
Постановлением Государственного комитета СССР по делам строительства от 18.12.1980 N 197.
3. Взамен ГОСТ 9533-71.
4. Ссылочные нормативно-технические документы
─────────────────────┬─────────┬──────────────────────┬───────────
Обозначение НТД, на │ Номер │ Обозначение НТД, на │ Номер
который дана ссылка │ пункта │ который дана ссылка │ пункта
─────────────────────┼─────────┼──────────────────────┼───────────
ИС МЕГАНОРМ: примечание.
В официальном тексте документа, видимо, допущена опечатка:
имеется в виду ГОСТ 7417-75, а не ГОСТ 7417-85.
ИС МЕГАНОРМ: примечание.
Взамен ГОСТ 16523-89 Постановлением Госстандарта РФ от
04.04.1999 N 113 с 1 января 2000 года введен в действие
ИС МЕГАНОРМ: примечание.
Взамен ГОСТ 380-88 Постановлением Госстандарта РФ от
02.06.1997 N 205 с 1 января 1998 года введен в действие
ГОСТ 380-88 │
2.2 │ ГОСТ 16523-89 │
2.2
ИС МЕГАНОРМ: примечание.
Взамен ГОСТ 1435-90 Постановлением Госстандарта РФ от
09.02.2001 N 64-ст с 1 сентября 2001 года введен в действие
5. Переиздание.
Настоящий стандарт распространяется на кельмы, лопатки и отрезовки, применяемые при производстве бетонных, каменных, штукатурных, плиточных и других видов отделочных работ.
1. ТИПЫ И ОСНОВНЫЕ РАЗМЕРЫ
1.1. Кельмы, лопатки и отрезовки в зависимости от назначения должны изготовляться следующих типов, указанных в табл. 1.
Таблица 1
───┬────────────────────┬─────────────────────────────────────────
Тип│ Наименование │ Назначение
───┼────────────────────┼─────────────────────────────────────────
КБ │Кельма для бетонных │ Для разравнивания раствора и бетонной
│и каменных работ │смеси, заполнения вертикальных швов и
│ │подрезки раствора, выступающего из швов
КП │Кельма для печных │Для разравнивания раствора, заполнения
│и каменных работ │вертикальных швов и подрезки раствора,
│ │выступающего из швов; для разравнивания
│ │раствора при кладке вентиляционных и
│ │дымовых каналов
КШ │Кельма для штука- │Для набрасывания и разравнивания
│турных работ │раствора
КО │Кельма для отделоч- │Для набрасывания, разравнивания раствора
│ных работ │и выполнения других операций при про-
│ │изводстве отделочных работ
ЛП │Лопатка для плиточ- │Для нанесения и разравнивания раствора
│ных работ │и выполнения других операций при произ-
│ │водстве плиточных работ
ЛК │Лопатка для ксило- │Для разравнивания и заглаживания ксило-
│литовых работ │литовой массы и выполнения других опера-
│ │ций при производстве ксилолитовых работ
ОШ │Отрезовка для шту- │Для разделки архитектурных деталей, за-
│катурных и плиточных│делки небольших раковин, трещин и выпол-
│работ │нения других операций при производстве
│ │штукатурных и плиточных работ
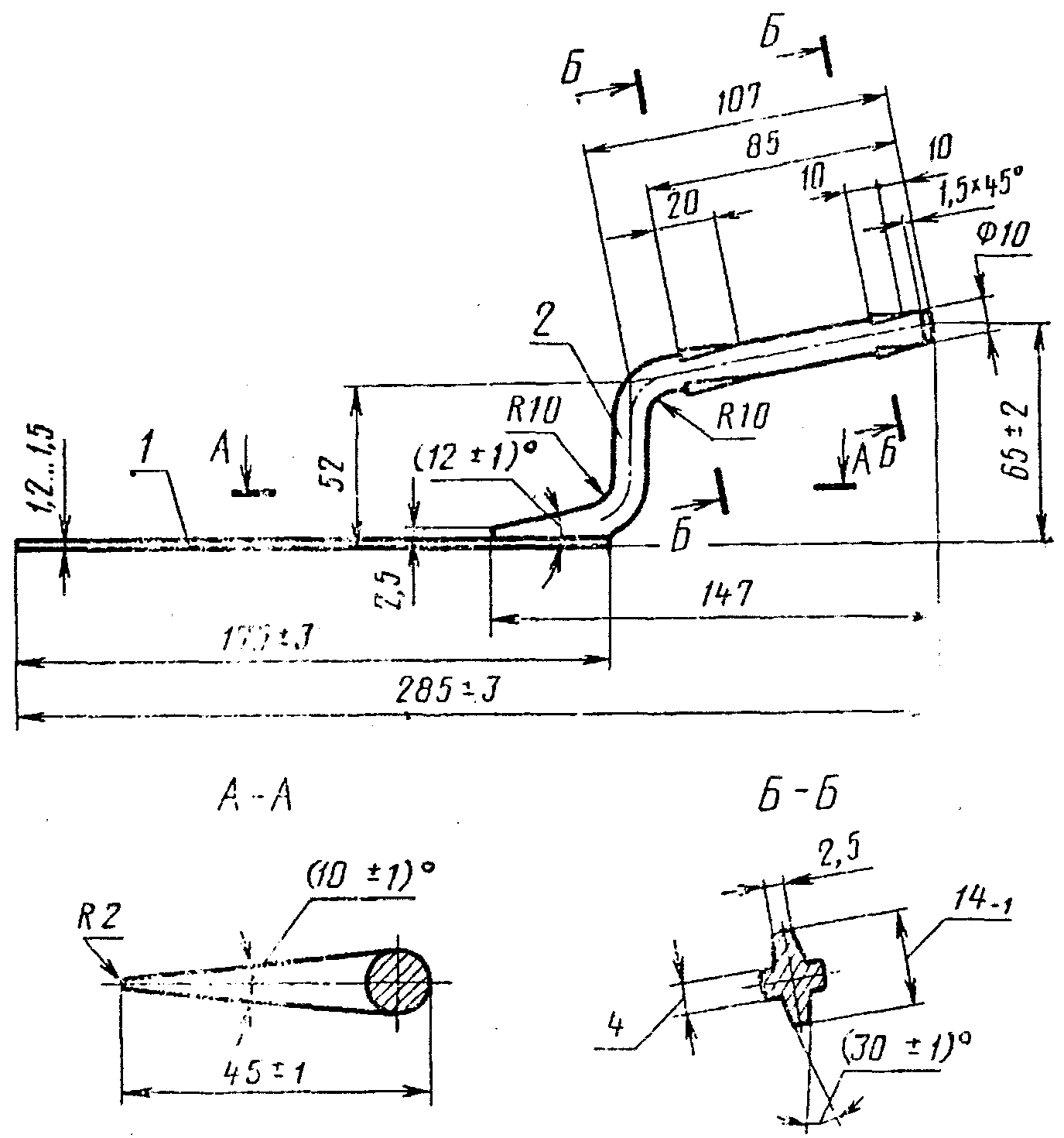
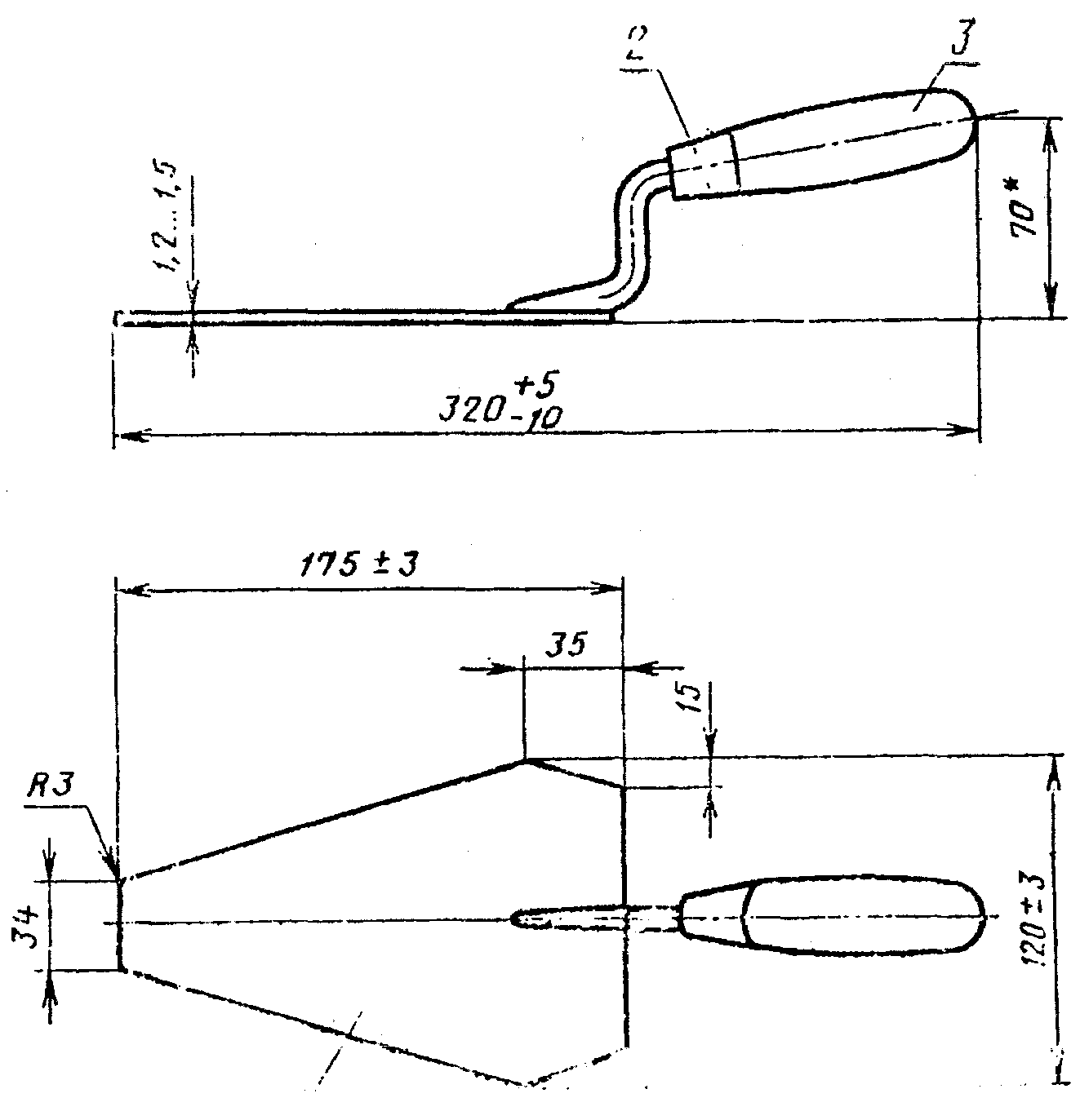
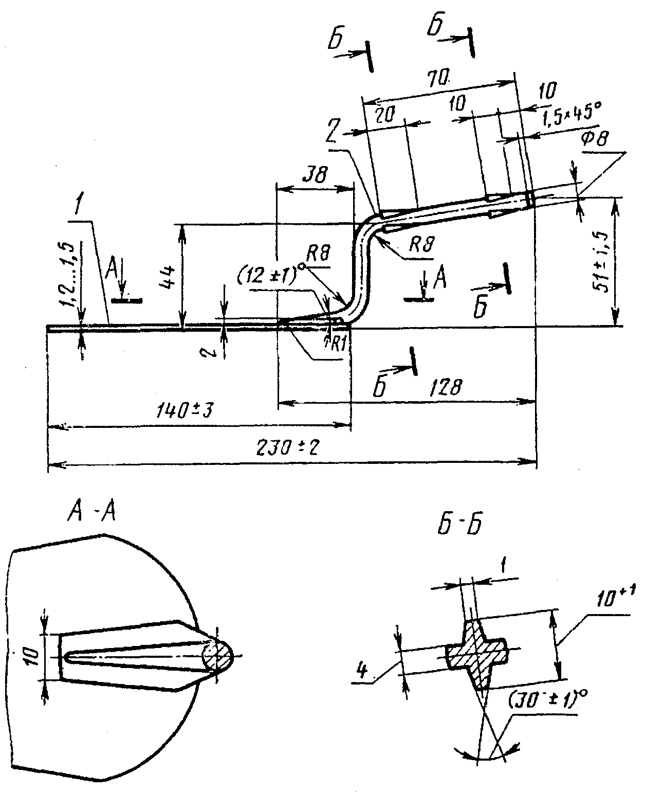
1.2. Основные размеры кельм, лопаток и отрезовок должны соответствовать указанным на черт. 1 -
8 и в
табл. 2.
Черт. 1. Кельма типа КБ
Исполнение 1
--------------------------------
* Размер для справок
1 - полотно с кронштейном; 2 - колпачок; 3 - ручка; 4 - грибок
Черт. 2. Исполнение 2
--------------------------------
* Размер для справок
1 - полотно с кронштейном; 2 - колпачок; 3 - ручка; 4 - грибок
Черт. 3. Кельма типа КП
--------------------------------
* Размер для справок
1 - полотно с кронштейном; 2 - колпачок; 3 - ручка; 4 - грибок
Черт. 4. Кельма типа КШ
--------------------------------
* Размер для справок
1 - полотно с кронштейном; 2 - колпачок; 3 - ручка
мм
────────────┬────────────┬─────────────┬────────────┬─────────────
Типоразмер │ L │ A │ l │ R
│ +5 ├─────────────┴────────────┤
│ -10 │ +/- 3 │
│ │ │
────────────┼────────────┼─────────────┬────────────┼─────────────
КШ1 │ 327 │ 150 │ 190 │ 60
КШ2 │ 312 │ 140 │ 175 │ 45
Черт. 5. Кельма типа КО
--------------------------------
* Размер для справок
1 - полотно с кронштейном; 2 - колпачок; 3 - ручка
Черт. 6. Лопатка типа ЛП
--------------------------------
* Размер для справок
1 - полотно с кронштейном; 2 - колпачок; 3 - ручка
Черт. 7. Лопатка типа ЛК
--------------------------------
* Размер для справок
1 - полотно с кронштейном; 2 - колпачок; 3 - ручка
Черт. 8. Отрезовка типа ОШ
--------------------------------
* Размер для справок
1 - полотно с кронштейном; 2 - колпачок; 3 - ручка
1.3. Конструкции и размеры деталей кельм, лопаток или отрезовок указаны на
черт. 1 -
17 и в
таблице Приложения.
1.4. Условные обозначения кельм, лопаток или отрезовок должны состоять из обозначения типа или типоразмера изделия, его исполнения и обозначения настоящего стандарта.
Пример условного обозначения кельмы типа КБ исполнения 1:
КБ1 ГОСТ 9533-81
2. ТЕХНИЧЕСКИЕ ТРЕБОВАНИЯ
2.1. Кельмы, лопатки и отрезовки должны изготовляться в соответствии с требованиями настоящего стандарта по рабочим чертежам и образцам-эталонам, согласованным с базовой организацией по стандартизации ручного инструмента и утвержденным в установленном порядке.
2.2. Материалы для изготовления деталей кельм, лопаток и отрезовок должны соответствовать указанным в табл. 3.
Таблица 3
────────────────────┬─────────────────────────────────────────────
Наименование детали │ Материал
────────────────────┼─────────────────────────────────────────────
ИС МЕГАНОРМ: примечание.
Взамен ГОСТ 1435-90 Постановлением Госстандарта РФ от
09.02.2001 N 64-ст с 1 сентября 2001 года введен в действие
Полотно │Сталь марок У7А, У8А, У9А, У10А по ГОСТ 1435
│Сталь марок У7, У7А, У8, У8А, У8ГА, У8Г по
│нормальная Б, плоскостность - нормальная ПН.
ИС МЕГАНОРМ: примечание.
Взамен ГОСТ 380-88 Постановлением Госстандарта РФ от
02.06.1997 N 205 с 1 января 1998 года введен в действие
Кронштейн и грибок │Сталь марок 20, 25, 30 по
ГОСТ 1050 или ма-
│рок Ст2, Ст3 по ГОСТ 380 всех способов рас-
│повышенная Б.
Колпачок │Сталь марок 05кп, 08кп, 08пс, 08, 10кп,
│10пс, 10, 15кп, 15пс, 15, 20, 20пс или 20кп
│по
ГОСТ 1050 или сталь марок Ст3кп, Ст3пс по
│ГОСТ 19904 точность прокатки - нормальная Б,
│плоскостность - нормальная ПН.
Ручка │Древесина твердых лиственных пород и ударо-
│прочные пластмассы типа стеклонаполненных
│полиамидов.
Примечания. 1. Допускается изготовлять грибки из заклепок по
ГОСТ 10299. При этом заклепки должны быть из стали марок, указанных в таблице.
| | ИС МЕГАНОРМ: примечание. Взамен ГОСТ 16523-89 Постановлением Госстандарта РФ от 04.04.1999 N 113 с 1 января 2000 года введен в действие ГОСТ 16523-97. | |
2. Листовая сталь для изготовления колпачков должна соответствовать в части нормируемых показателей - 1-й категории, II группе отделки (для холоднокатаной), III группе отделки (для горячекатаной), вытяжке Г по ГОСТ 16523.
2.3. Полотна кельм, лопаток и отрезовок должны быть термически обработанными и иметь твердость 40 ... 52

.
Твердость полотна в зоне сварки полотна с кронштейном не должна быть менее 27

на расстоянии до 20 мм по обе стороны от оси полотна.
2.4. Древесина для ручек должна быть здоровой, без трещин, гнили и прорости.
На поверхности ручки допускается не более двух здоровых вполне сросшихся сучков диаметром до 10 мм.
| | ИС МЕГАНОРМ: примечание. В официальном тексте документа, видимо, допущена опечатка: имеется в виду ГОСТ 2695-83, а не ГОСТ 2695-71. | |
Остальные дефекты и пороки не должны превышать норм, установленных для пиломатериалов 1-го сорта по
ГОСТ 2695-71.
2.5. Влажность древесины для ручек не должна быть более 12%.
2.6. Кронштейны кельм, лопаток и отрезовок должны соединяться с полотнами дуговой сваркой в среде углекислого газа или ацетиленокислородной сваркой. Швы сварных соединений должны быть ровными, плотными, без шлаковых включений, непроваров, наплывов, прожогов и отступлений от размеров шва.
Кронштейны отрезовок допускается соединять с полотнами контактно-рельефной сваркой.
Полотна кельм с кронштейнами могут быть изготовлены цельнокованными.
2.7. Сварное соединение должно выдерживать статическую нагрузку Р не менее:
2450 Н (250 кгс) - для кельм и лопаток;
1176 Н (120 кгс) - для отрезовки.
2.8. Деревянные ручки кельм, лопаток и отрезовок должны иметь на переднем конце колпачки. Ручки кельм типов КБ и КП должны дополнительно иметь на заднем конце колпачки и грибки.
Примечание. Колпачки не устанавливаются на ручки, изготавливаемые из пластмассы.
2.9. Колпачки должны быть плотно насажены на ручки.
Превышение поверхности колпачка над ручкой не допускается.
2.10. Ручки должны быть плотно насажены на кронштейны, выдерживать сопротивление крутящему моменту не менее 9,8 Н х м (1 кгс х м) и стягивающее усилие не менее:
для кельм и лопаток:
735 Н (75 кгс) - с деревянной ручкой;
490 Н (50 кгс) - с пластмассовой ручкой;
для отрезовок:
294 Н (30 кгс) - с деревянной ручкой;
196 Н (20 кгс) - с пластмассовой ручкой.
2.11. Отклонение от симметричности кронштейна и полотна относительно общей оси симметрии не должно быть более 2 мм.
2.12. Отклонение от перпендикулярности кронштейна в заданном направлении относительно плоскости полотна не должно быть более 1 мм.
2.13. Отклонение от плоскостности полотна не должно быть более 2 мм.
2.14. Отклонение от прямолинейности кромок полотен (за исключением закругленных участков) не должно быть более 0,5 мм на всей длине полотна.
2.15. Полотна и кронштейны кельм, лопаток и отрезовок должны иметь лакокрасочное покрытие.
Допускается применять другие виды покрытий, обеспечивающих антикоррозионную защиту изделий.
Полотна, изготовленные из термообработанной полированной ленты, должны иметь покрытие в зоне сварки.
2.16. Колпачки и грибки должны иметь покрытие Ц12хр или Хим. Окс. прм по
ГОСТ 9.306.
Металлические и окисные покрытия должны соответствовать
ГОСТ 9.301, условия эксплуатации - группе Ж по
ГОСТ 9.303.
Допускается применять другие виды покрытий по
ГОСТ 9.303.
2.17. Деревянные ручки должны быть окрашены эмалями ярких тонов или покрыты лаком НЦ-218, НЦ-221, НЦ-222 или НЦ-228 по
ГОСТ 4976.
2.18. Лакокрасочные покрытия должны соответствовать классу V по
ГОСТ 9.032, условия эксплуатации - группе Y1 по
ГОСТ 9.104.
2.19. Ручки, изготовленные из пластмассы, на поверхности должны иметь рельефную насечку.
3.1. Кельмы, лопатки и отрезовки должны быть приняты техническим контролем предприятия-изготовителя.
3.2. Приемку и поставку кельм, лопаток и отрезовок производят партиями.
Размер партии устанавливается соглашением сторон. Партия должна состоять из изделий одного наименования и типа или типоразмера, изготовленных из одинакового материала и по одной технологии.
3.3. Потребитель имеет право проводить контрольную проверку качества кельм, лопаток и отрезовок, применяя при этом порядок отбора образцов и методы испытаний, указанные в настоящем стандарте.
3.4. При проверке кельм, лопаток и отрезовок на соответствие требованиям пп.
1.2, 2.1 (в части соответствия рабочим чертежам),
2.3 -
2.5; 2.11 -
2.14 применяют двухступенчатый контроль, для чего от партии отбирают кельмы, лопатки или отрезовки в выборку в соответствии с табл. 4.
Таблица 4
мм
────────────┬────────┬───────────┬──────────┬─────────┬───────────
Объем партии│Ступени │Объем одной│Объем двух│Приемоч- │Браковочное
кельм, лопа-│контроля│выборки │выборок │ное число│ число
ток или от- │ │кельм, ло- │кельм, ло-│ │
резовок, шт.│ │паток или │паток или │ │
│ │отрезовок │отрезовок │ │
│ ├───────────┴──────────┤ │
│ │ шт. │ │
────────────┼────────┼───────────┬──────────┼─────────┼───────────
91 - 150 │ Первая │ 13 │ 26 │ 0 │ 3
│ Вторая │ 13 │ │ 3 │ 4
-───────────┼────────┼───────────┼──────────┼─────────┼───────────
151 - 280 │ Первая │ 20 │ 40 │ 1 │ 4
│ Вторая │ 20 │ │ 4 │ 5
────────────┼────────┼───────────┼──────────┼─────────┼───────────
281 - 500 │ Первая │ 32 │ 64 │ 2 │ 5
│ Вторая │ 32 │ │ 6 │ 7
────────────┼────────┼───────────┼──────────┼─────────┼───────────
501 - 1200 │ Первая │ 50 │ 100 │ 3 │ 7
│ Вторая │ 50 │ │ 8 │ 9
────────────┼────────┼───────────┼──────────┼─────────┼───────────
1201 - 3200 │ Первая │ 80 │ 160 │ 5 │ 9
│ Вторая │ 80 │ │ 12 │ 13
────────────┼────────┼───────────┼──────────┼─────────┼───────────
3201 - 10000│ Первая │ 125 │ 250 │ 7 │ 13
│ Вторая │ 125 │ │ 13 │ 19
3.5. Партию кельм, лопаток или отрезовок принимают, если количество дефектных кельм, лопаток или отрезовок в первой выборке меньше или равно приемочному числу, и бракуют без назначения второй выборки, если количество дефектных кельм, лопаток или отрезовок больше или равно браковочному числу.
Если количество дефектных кельм, лопаток или отрезовок в первой выборке больше приемочного числа, но меньше браковочного, проводят вторую выборку.
Партию кельм, лопаток или отрезовок принимают, если количество дефектных кельм, лопаток или отрезовок в двух выборках меньше или равно браковочному числу, и бракуют, если количество дефектных изделий в двух выборках больше или равно браковочному числу.
3.6. Проверка кельм, лопаток и отрезовок на соответствие требованиям, приведенным в
пп. 2.1 (в части соответствия образцам-эталонам),
2.6, 2.8, 2.9, 2.15 -
2.19, должна производиться методом сплошного контроля.
3.7. Для проверки кельм, лопаток и отрезовок на соответствие требованиям, приведенным в пп.
2.7 или
2.10, от партии отбирают не менее 5 шт. каждого изделия.
Если при проверке отобранных для проверки образцов хотя бы одна кельма, лопатка или отрезовка не будет удовлетворять требованиям, приведенным в пп.
2.7 и
2.10, следует проводить повторные испытания удвоенного количества изделий, отобранных от той же партии.
При неудовлетворительных результатах повторной проверки кельмы, лопатки или отрезовки приемке не подлежат.
4.1. Размеры кельм, лопаток и отрезовок и их деталей должны проверяться с помощью измерительных средств, погрешности измерения которых не превышают:
значений, указанных в
ГОСТ 8.051 для линейных размеров;
35% от допуска на контролируемый размер - для угловых размеров;
25% от допуска на контролируемый размер - для отклонения формы и расположения поверхностей.
4.2. Сплошной контроль должен осуществляться визуально - методом сравнения с образцами-эталонами.
4.3. Определение твердости термически обработанных полотен кельм, лопаток и отрезовок - по
ГОСТ 9013.
4.4. Влажность древесины ручек определяют по
ГОСТ 16483.7 или при помощи влагомера.
4.5. Прочность соединения кронштейна с полотном
(п. 2.7) проверяют на специальном приспособлении с помощью динамометра общего применения 2-го класса точности методом статического изгиба в течение 2 мин по схеме, указанной на чертеже:
4.6. Сопротивление прокручиванию ручки и прочность соединения ручки с кронштейном
(п. 2.10) проверяют на специальных приспособлениях с помощью динамометра общего применения 2-го класса точности методом статической нагрузки в течение 2 мин. При проверке изделий на прочность соединения ручки с кронштейном нагрузка должна быть приложена вдоль оси ручки.
4.7. Определение качества сварных соединений - методом сравнения с образцом-эталоном.
4.8. Контроль металлических и окисных покрытий - по
ГОСТ 9.302. Требования к внешнему виду лакокрасочного покрытия - по
ГОСТ 22133.
5. МАРКИРОВКА, УПАКОВКА, ТРАНСПОРТИРОВАНИЕ И ХРАНЕНИЕ
5.1. На поверхности каждой кельмы, лопатки или отрезовки, за исключением рабочей поверхности, должны быть нанесены:
товарный знак предприятия-изготовителя;
тип или типоразмер изделия;
цена (при изготовлении изделия для розничной торговли).
Примечание. Способ нанесения указанных маркировочных знаков должен обеспечивать их сохранность в течение всего срока службы кельм, лопаток или отрезовок.
5.2. Упаковка и транспортирование кельм, лопаток и отрезовок - по
ГОСТ 18088.
Допускается другая упаковка, обеспечивающая сохранность кельм, лопаток и отрезовок от механических повреждений и воздействия влаги во время транспортирования и хранения.
5.3. Условия хранения кельм, лопаток и отрезовок - по группе условий хранения С
ГОСТ 15150.
Рекомендуемое
Черт. 1. Полотно с кронштейном кельмы типа КБ
Исполнение 1
--------------------------------
* Размер для справок
1 - полотно; 2 - кронштейн
Масса - не более 0,36 кг.
Черт. 2. Полотно с кронштейном цельнокованные кельмы типа КБ
Исполнение 2
--------------------------------
* Размер для справок
1 - полотно; 2 - кронштейн
Масса - не более 0,36 кг.
Черт. 3. Полотно с кронштейном кельмы типа КБ
Исполнение 3
--------------------------------
* Размер для справок
1 - полотно; 2 - кронштейн
Масса - не более 0,31 кг.
Черт. 4. Полотно с кронштейном кельмы типа КП
--------------------------------
* Размер для справок
1 - полотно; 2 - кронштейн
Масса - не более 0,30 кг.
Черт. 5. Полотно с кронштейном цельнокованные
кельмы типа КП
--------------------------------
* Размер для справок
Масса - не более 0,30 кг.
Черт. 6. Полотно с кронштейном кельмы типа КШ
--------------------------------
* Размер для справок
───────────────┬─────────────┬────────────┬───────────────────────
Типоразмер │ L │ l │ Масса, кг, не более
кельмы ├─────────────┴────────────┤
│ +/- 3 │
───────────────┼─────────────┬────────────┼───────────────────────
КШ1 │ 286 │ 190 │ 0,30
КШ2 │ 271 │ 175 │ 0,27
Черт. 7. Полотно с кронштейном кельмы типа КО
Исполнение 1
--------------------------------
* Размер для справок
1 - полотно; 2 - кронштейн
Масса - не более 0,27 кг.
Черт. 8. Полотно с кронштейном цельнокованные
кельмы типа КО
Исполнение 2
Масса - не более 0,27 кг.
Черт. 9. Полотно с кронштейном кельмы типа ЛП
1 - полотно; 2 - кронштейн
Масса - не более 0,30 кг.
Черт. 10. Полотно с кронштейном лопатки типа ЛК
--------------------------------
* Размер для справок
1 - полотно; 2 - кронштейн
Масса - не более 0,26 кг.
Черт. 11. Полотно с кронштейном отрезовки типа ОШ
1 - полотно; 2 - кронштейн
Масса - не более 0,09 кг.
Черт. 12. Ручка для кельм типов КБ и КП
Масса - не более 0,045 кг.
Черт. 13. Грибок для кельм типов КБ и КП
Масса - не более 0,015 кг.
Черт. 14. Ручка для кельм типов КШ, КО и
лопаток типов ЛК и ЛП
Масса - не более 0,05 кг.
Черт. 15. Колпачок для кельм и лопаток
Масса - не более 0,016 кг.
Черт. 16. Ручка для отрезовки
Масса - не более 0,023 кг.
Черт. 17. Колпачок для отрезовки
Масса - не более 0,012 кг.