Главная // Актуальные документы // ГОСТ (Государственный стандарт)СПРАВКА
Источник публикации
М.: Издательство стандартов, 1994
Примечание к документу
Документ утратил силу на территории Российской Федерации с 01.03.2020 в связи с изданием
Приказа Росстандарта от 30.08.2019 N 603-ст. Взамен введен в действие
ГОСТ Р 58519-2019.
С 1 июля 2003 года до вступления в силу технических регламентов акты федеральных органов исполнительной власти в сфере технического регулирования носят рекомендательный характер и подлежат обязательному исполнению только в части, соответствующей целям, указанным в
пункте 1 статьи 46 Федерального закона от 27.12.2002 N 184-ФЗ.
Документ
введен в действие с 1 января 1991 года.
Взамен ГОСТ 25782-83.
Название документа
"ГОСТ 25782-90. Государственный стандарт Союза ССР. Правила, терки и полутерки. Технические условия"
(утв. Постановлением Госстроя СССР от 06.07.1990 N 58)
"ГОСТ 25782-90. Государственный стандарт Союза ССР. Правила, терки и полутерки. Технические условия"
(утв. Постановлением Госстроя СССР от 06.07.1990 N 58)
Утвержден и введен в действие
Постановлением Госстроя СССР
от 6 июля 1990 г. N 58
ГОСУДАРСТВЕННЫЙ СТАНДАРТ СОЮЗА ССР
ПРАВИЛА, ТЕРКИ И ПОЛУТЕРКИ
ТЕХНИЧЕСКИЕ УСЛОВИЯ
Darbies, floats and semifloats. Specifications
ГОСТ 25782-90
Группа Ж36
Дата введения
1 января 1991 года
1. Разработан и внесен Министерством тяжелого машиностроения СССР.
Разработчики: А.И. Полунин, В.Б. Игумнов, Э.В. Зайцева, Б.Г. Толков.
2. Утвержден и введен в действие Постановлением Государственного строительного комитета СССР от 06.07.90 N 58.
3. Срок проверки - 1996 г.
4. Взамен ГОСТ 25782-83.
Ссылочные нормативно-технические документы
─────────────────────────────────────────┬────────────────────────
Обозначение НТД, на который дана ссылка │ Номер пункта
─────────────────────────────────────────┼────────────────────────
ИС МЕГАНОРМ: примечание.
Взамен ГОСТ 1050-74 Постановлением Госстандарта СССР от
24.11.1988 N 3811 с 1 января 1991 года введен в действие
ИС МЕГАНОРМ: примечание.
Взамен ГОСТ 4784-74 Постановлением Госстандарта РФ от
08.12.1998 N 433 введен в действие с 1 июля 2000 года
ИС МЕГАНОРМ: примечание.
ГОСТ 5689-79 утратил силу на территории Российской Федерации
Изменения N 1, утв. Постановлением Госстандарта РФ от 24.10.2000
N 266-ст ("ИУС", N 1, 2001).
ИС МЕГАНОРМ: примечание.
Взамен ГОСТ 8026-75 Постановлением Госстандарта РФ от
23.03.1992 N 233 с 1 января 1993 года введен в действие
ИС МЕГАНОРМ: примечание.
Взамен ГОСТ 16588-79 Постановлением Госстандарта СССР от
28.12.1991 N 2290 с 1 января 1993 года введен в действие
ИС МЕГАНОРМ: примечание.
Взамен ГОСТ 25347-82 Приказом Росстандарта от 18.02.2014
6. Переиздание.
Настоящий стандарт распространяется на правила, терки и полутерки, применяемые при производстве штукатурных работ.
1. ТЕХНИЧЕСКИЕ ТРЕБОВАНИЯ
1.1.1. Правила, терки и полутерки должны изготовляться в соответствии с требованиями настоящего стандарта по рабочим чертежам и образцам-эталонам, утвержденным в установленном порядке.
1.1.2. Правила, терки и полутерки в зависимости от назначения должны изготовляться следующих типов, указанных в табл. 1.
Таблица 1
─────┬───────────────────┬────────────────────────────────────────
Тип │ Наименование │ Назначение
─────┼───────────────────┼────────────────────────────────────────
ПП │Правило с прямой │ Для разравнивания грунтовочного и
│кромкой │накрывочного слоев штукатурного намета
ПЗ │Правило с зубчатой │ Для разравнивания грунтовочного слоя и
│кромкой │образования борозд для лучшего сцепления
│ │с последующим слоем штукатурного намета
ПУ │Правило усеночное │ Для отделки наружных углов при выполне-
│ │нии штукатурных работ
ПЛ │Правило лузговое │ Для отделки внутренних углов при выпол-
│ │нении штукатурных работ
Т │Терка │ Для затирки накрывочного слоя
ТЦ │Терка цельнолитая │штукатурного намета
ПТ │Полутерок │ Для заглаживания и затирки накрывочного
ПТЦ │Полутерок │слоя штукатурного намета
│цельнолитой │
1.1.3. Варианты возможного исполнения правил, терок и полутерков, а также их основные размеры приведены на черт. 1 -
8 и в
табл. 2 -
6.
Форму ручек и оснований правил, терок и полутерков стандарт не устанавливает.
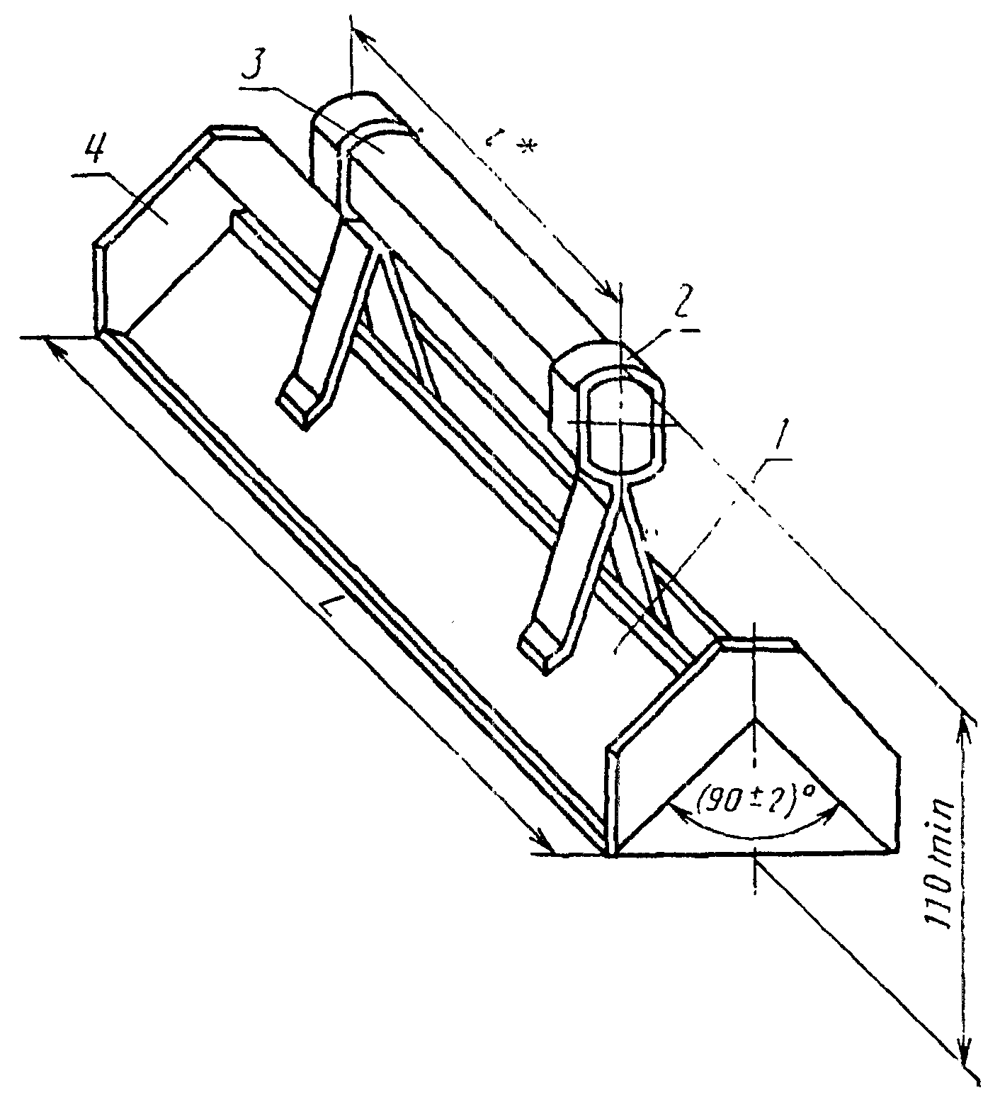
Правило с прямой кромкой
Тип ПП
1 - основание; 2 - стойка; 3 - ручка
Черт. 1
Размеры в мм
──────────────┬──────────────┬──────────────┬─────────────────────
Типоразмер │ L │ l <*> │ Масса, кг, не более
──────────────┼──────────────┼──────────────┼─────────────────────
ПП1200 │1200 │800 │1,7
ПП1600 │1600 │1200 │2,2
ПП1800 │1800 │1400 │2,5
------------------------------------
<*> Размер для справок.
Правило с зубчатой кромкой
Тип ПЗ
1 - основание; 2 - стойка; 3 - ручка
Черт. 2
Таблица 3
Размеры в мм
──────────────┬──────────────┬──────────────┬─────────────────────
Типоразмер │ L │ l <*> │ Масса, кг, не более
──────────────┼──────────────┼──────────────┼─────────────────────
ПЗ1200 │1200 │800 │1,60
ПЗ1600 │1600 │1200 │2,15
ПЗ1800 │1800 │1400 │2,40
------------------------------------
<*> Размер для справок.
Правило усеночное
Тип ПУ
1 - основание; 2 - стойка; 3 - ручка; 4 - нож
Черт. 3
Таблица 4
Размеры в мм
──────────────┬──────────────┬──────────────┬─────────────────────
Типоразмер │ L │ l <*> │ Масса, кг, не более
──────────────┼──────────────┼──────────────┼─────────────────────
ПУ800 │800 │400 │1,20
ПУ1000 │1000 │400 │1,35
ПУ1200 │1200 │500 │1,60
ПУ1500 │1500 │800 │1,95
------------------------------------
<*> Размер для справок.
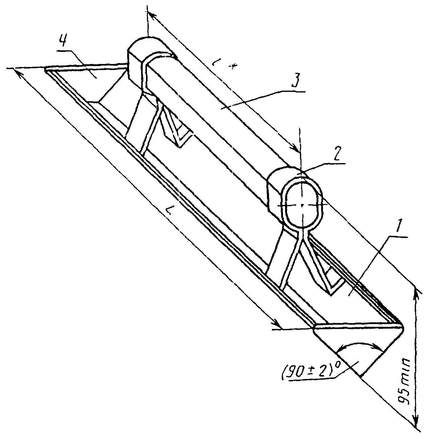
Правило лузговое
Тип ПЛ
1 - основание; 2 - стойка; 3 - ручка; 4 - нож
Черт. 4
Таблица 5
Размеры в мм
──────────────┬──────────────┬──────────────┬─────────────────────
Типоразмер │ L │ l <*> │ Масса, кг, не более
──────────────┼──────────────┼──────────────┼─────────────────────
ПЛ800 │800 │400 │1,06
ПЛ1000 │1000 │400 │1,30
ПЛ1200 │1200 │500 │1,60
ПЛ1500 │1500 │800 │1,90
------------------------------------
<*> Размер для справок.
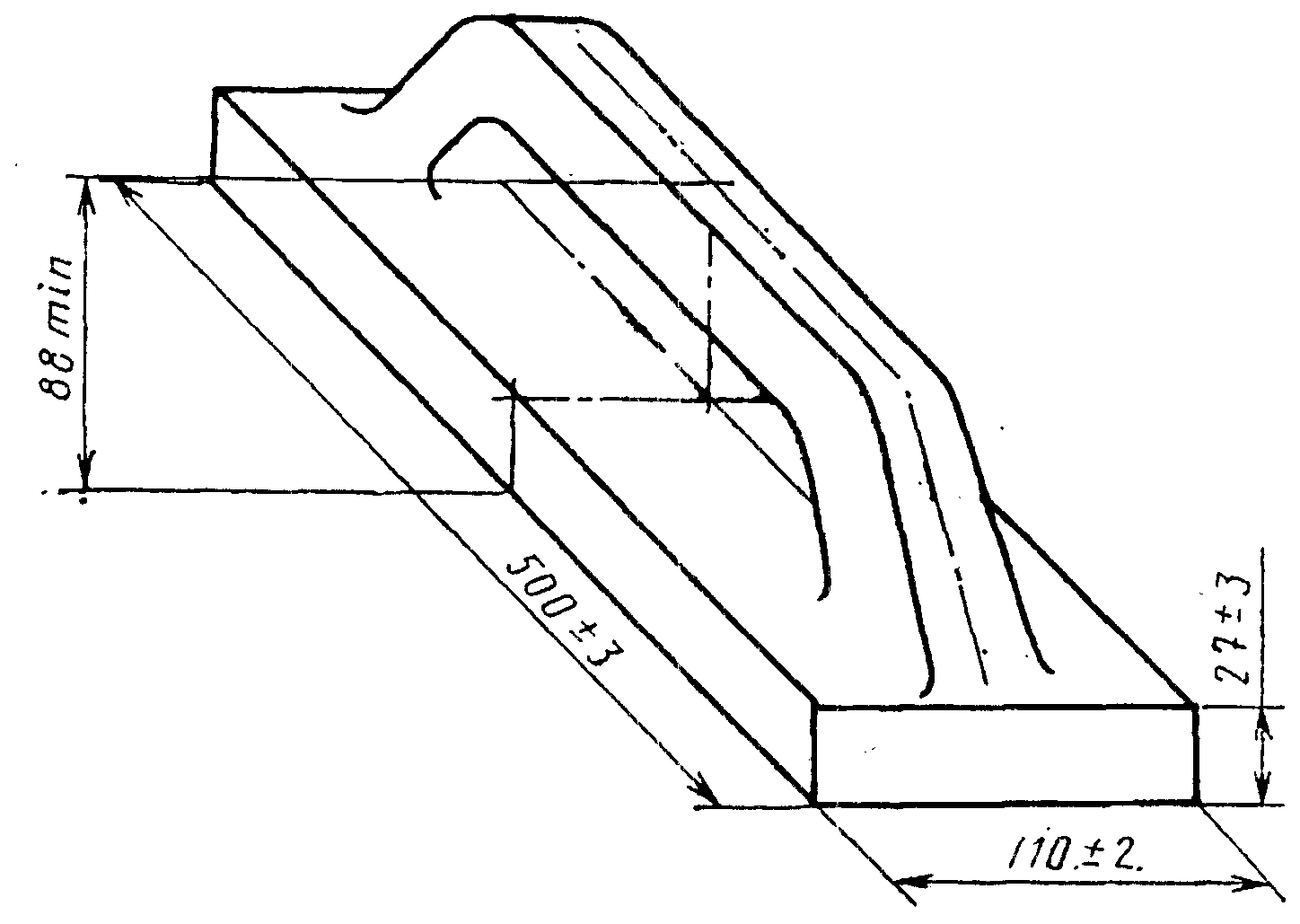
Терка
Тип Т
1 - основание; 2 - стойка; 3 - ручка
Черт. 5
Терка цельнолитая
Тип ТЦ
Черт.6
Полутерок
Тип ПТ
1 - основание; 2 - стойка; 3 - ручка; 4 - полотно
Черт. 7
Размеры в мм
──────────────┬──────────────┬──────────────┬─────────────────────
Типоразмер │ L │ l <*> │ Масса, кг, не более
──────────────┼──────────────┼──────────────┼─────────────────────
ПТ500 │500 │400 │0,75
ПТ750 │750 │400 │1,20
ПТ1000 │1000 │800 │1,40
------------------------------------
<*> Размер для справок.
Полутерок цельнолитой
Тип ПТЦ
| | ИС МЕГАНОРМ: примечание. Взамен ГОСТ 25347-82 Приказом Росстандарта от 18.02.2014 N 29-ст с 1 июля 2015 года введен в действие ГОСТ 25347-2013. | |
1.1.4. Неуказанные предельные отклонения размеров металлических деталей должны соответствовать 14-му квалитету по ГОСТ 25347.
1.1.5. Условные обозначения правил, терок и полутерков при заказе должны состоять из обозначения типа или типоразмера изделия и обозначения настоящего стандарта.
Пример условного обозначения правила с прямой кромкой длиной 1200 мм:
Правило с прямой кромкой ПП 1200 ГОСТ 25782-90
1.2. Характеристики и свойства
1.2.1. Соединение стоек правил и полутерков с основанием должно выдерживать усилие на отрыв не менее 392 Н (40 кгс).
1.2.2. Соединение ручек терок с основанием должно выдерживать усилие на отрыв не менее 98 Н (10 кгс).
1.2.3. Соединение основания с полотном терок и полутерков должно выдерживать усилие на сдвиг не менее 98 Н (10 кгс).
1.2.4. Ручки правил и полутерков со стойками должны соединяться плотно и выдерживать статическую нагрузку не менее 98 Н (10 кгс), направленную вдоль оси ручки.
1.2.5. Допуск плоскостности рабочей поверхности основания или полотна должен быть 2 мм на 1000 мм длины правил и полутерков и 0,8 мм на всей длине терок (за исключением терок с войлочным или поролоновым основанием).
1.2.6. Допуск симметричности поверхности ручек и поверхности стоек относительно общей поверхности симметрии правил, терок и полутерков 2,5 мм.
1.2.7. Выступание ножей усеночных и лузговых правил за рабочую поверхность основания не допускается.
1.2.8. Поверхности цельнолитых терок и полутерков из пенополиуретана не должны иметь облоя, сколов и трещин.
С рабочей поверхности терок и полутерков должна быть снята глянцевая поверхность интегрального слоя на глубину не более 1,5 мм.
По согласованию с потребителем допускается изготовление терок и полутерков без снятия глянцевой поверхности интегрального слоя.
1.2.9. Пластмассовые ручки не должны иметь грата, коробления, сколов, трещин, раковин, холодных стыков.
1.2.10. Ручки, изготовленные из древесины, не должны иметь трещин, гнили, прорости и червоточин.
Допускается не более двух здоровых, сросшихся, несквозных сучков диаметром не более 5 мм.
Остальные пороки древесины не должны превышать норм, установленных для пиломатериалов 1-го сорта по
ГОСТ 2695 или
ГОСТ 8486.
1.2.11. Влажность ручек, изготовленных из древесины, перед нанесением покрытия не должна быть более 18%.
1.2.12. Ручки правил, терок и полутерков, изготовленные из древесины, должны быть покрыты лаком по
ГОСТ 4976 или эмалями.
По согласованию с потребителем допускается ручки, изготовленные из древесины лиственных пород, покрывать олифой "оксоль" по
ГОСТ 190.
Лакокрасочные покрытия должны соответствовать классу V по
ГОСТ 9.032, условия эксплуатации - группе VI по
ГОСТ 9.104.
1.2.13. Ножи усеночных и лузговых правил должны иметь покрытия по
ГОСТ 9.306.
1.3. Требования к сырью и материалам
1.3.1. Материалы для изготовления деталей правил, терок и полутерков должны соответствовать указанным в табл. 7.
Таблица 7
────────────────────┬─────────────────────────────────────────────
Наименование изде- │ Материал
лия и его детали │
────────────────────┼─────────────────────────────────────────────
ИС МЕГАНОРМ: примечание.
Взамен ГОСТ 4784-74 Постановлением Госстандарта РФ от
08.12.1998 N 433 с 1 июля 2000 года введен в действие
Основание и стойка │ Алюминиевые сплавы марок АД31 или 1915 по
правил и полутерков │ГОСТ 4784
Основание терок │ Алюминий марки АД1 или алюминиевые сплавы
│марок Д1, Д16, АД31 или В95 по ГОСТ 4784
Полотно терок │ Пенопласт плиточный поливинилхлоридный с
│кажущейся плотностью не менее 115 кг/м3 или
│пенопласт полистирольный плиточный или
│эластичный пенополиуретан марки ППУ-Э-40-08,
│выпускаемые по технической документации,
│утвержденной в установленном порядке, войлок
Полотно полутерков │ Пенопласт плиточный поливинилхлоридный с
│кажущейся плотностью не менее 115 кг/м3 или
│пенопласт полистирольный плиточный, выпус-
│каемые по технической документации, утверж-
│денной в установленном порядке
Ручка правил и │ Пиломатериалы лиственных пород по
ГОСТ 2695
полутерков │или хвойных пород по
ГОСТ 8486; стеклоплас-
│тик, выпускаемый по технической документации,
│утвержденной в установленном порядке
ИС МЕГАНОРМ: примечание.
ГОСТ 5689-79 утратил силу на территории Российской Федерации
Изменения N 1, утв. Постановлением Госстандарта РФ от 24.10.2000
N 266-ст ("ИУС", N 1, 2001).
Ручка терок │ Фенопласт по ГОСТ 5689, полиэтилен низкого
│массы и полиамиды литьевые, выпускаемые по
│технической документации, утвержденной в
│установленном порядке; пиломатериалы
ИС МЕГАНОРМ: примечание.
Взамен ГОСТ 1050-74 Постановлением Госстандарта СССР от
24.11.1988 N 3811 с 1 января 1991 года введен в действие
Нож усеночных и │ Сталь любых марок по ГОСТ 1050
лузговых правил │
Терка и полутерок │ Пенополиуретан марки ППУ-322 (компоненты А и
цельнолитые │Б), выпускаемый по технической документации,
│утвержденной в установленном порядке
Примечание. Не допускается применять березу для изготовления ручек правил с основанием длиной св. 1600 мм.
1.4.1. На каждом правиле, терке и полутерке должны быть нанесены:
- товарный знак предприятия-изготовителя;
- тип или типоразмер изделия;
- цена (для розничной продажи).
Примечание. Способ нанесения указанных маркировочных знаков должен обеспечивать их сохранность в течение всего срока службы изделия.
По согласованию с потребителем допускается другая упаковка, обеспечивающая сохранность правил, терок и полутерков от механических повреждений и воздействия влаги во время транспортирования и хранения.
Масса ящиков брутто - не более 30 кг (для изделий, предназначенных для розничной продажи).
1.5.2. В транспортную тару должен быть вложен упаковочный лист, в котором должно быть указано:
- наименование предприятия-изготовителя;
- условное обозначение изделия;
- число изделий;
- штамп технического контроля;
- дата выпуска.
1.5.3. Маркировка транспортной тары - по
ГОСТ 14192.
2.1. Для проверки соответствия правил, терок и полутерков требованиям настоящего стандарта предприятие-изготовитель должно проводить приемосдаточные испытания.
2.2. Приемку и поставку правил, терок и полутерков производят партиями.
Объем партии устанавливают соглашением сторон.
Партия должна состоять из правил, терок и полутерков одного типоразмера, изготовленных из одних и тех же материалов, обработанных по одному технологическому процессу и одновременно предъявленных к приемке по одному документу.
| | ИС МЕГАНОРМ: примечание. В официальном тексте документа, видимо, допущена опечатка: пункт 1.3.1.4 отсутствует. | |
2.3. При проведении приемосдаточных испытаний правил, терок и полутерков на соответствие
пп. 1.1.1,
1.2.1 -
1.2.13, 1.3.1.4 применяют двухступенчатый контроль в соответствии с табл. 8.
Таблица 8
───────────┬────────┬────────────┬────────────┬──────────┬───────────
Объем │Ступень │Объем одной │ Объем двух │Приемочное│Браковочное
партии, шт.│контроля│выборки, шт.│выборок, шт.│число, шт.│число, шт.
───────────┼────────┼────────────┼────────────┼──────────┼───────────
51 - 90 │Первая │8 │16 │0 │2
├────────┤ │ ├──────────┼───────────
│Вторая │ │ │1 │2
───────────┼────────┼────────────┼────────────┼──────────┼───────────
91 - 150 │Первая │13 │26 │0 │3
├────────┤ │ ├──────────┼───────────
│Вторая │ │ │3 │4
───────────┼────────┼────────────┼────────────┼──────────┼───────────
151 - 280 │Первая │20 │40 │1 │4
├────────┤ │ ├──────────┼───────────
│Вторая │ │ │4 │5
───────────┼────────┼────────────┼────────────┼──────────┼───────────
281 - 500 │Первая │32 │64 │2 │5
├────────┤ │ ├──────────┼───────────
│Вторая │ │ │6 │7
───────────┼────────┼────────────┼────────────┼──────────┼───────────
501 - 1200 │Первая │50 │100 │3 │7
├────────┤ │ ├──────────┼───────────
│Вторая │ │ │8 │9
2.4. Партию правил, терок и полутерков принимают, если количество дефектных правил, терок или полутерков в первой выборке меньше или равно приемочному числу, и бракуют без назначения второй выборки, если количество дефектных правил, терок и полутерков больше или равно браковочному числу.
Если количество дефектных правил, терок или полутерков в первой выборке больше приемочного числа, но меньше браковочного, производят вторую выборку.
Партию правил, терок и полутерков принимают, если количество дефектных правил, терок и полутерков в двух выборках меньше или равно приемочному числу, и бракуют, если количество дефектных изделий в двух выборках больше или равно браковочному числу.
2.5. Потребитель имеет право проводить контрольную проверку качества правил, терок и полутерков, соблюдая при этом приведенный порядок отбора образцов и применяя методы испытаний, установленные настоящим стандартом.
3. МЕТОДЫ КОНТРОЛЯ (ИСПЫТАНИЙ)
3.1. Линейные размеры правил, терок и полутерков должны проверяться при помощи универсальных измерительных средств с абсолютной погрешностью +/- 1 мм, диаметр сучков и глубина интегрального слоя - с абсолютной погрешностью +/- 0,1 мм.
3.2. Угловые размеры должны измеряться при помощи угломера по
ГОСТ 5378 или шаблонами.
| | ИС МЕГАНОРМ: примечание. Взамен ГОСТ 8026-75 Постановлением Госстандарта РФ от 23.03.1992 N 233 с 1 января 1993 года введен в действие ГОСТ 8026-92. | |
3.3. Допуск плоскостности (
п. 1.2.5) должен проверяться при помощи щупов на поверочной плите по
ГОСТ 10905 или лекальной линейкой по ГОСТ 8026.
3.4. Допуск симметричности (
п. 1.2.6) должен проверяться при помощи шаблонов.
Примечание. Требование
п. 1.2.10 проверяют до нанесения покрытия.
| | ИС МЕГАНОРМ: примечание. Взамен ГОСТ 16588-79 Постановлением Госстандарта СССР от 28.12.1991 N 2290 с 1 января 1993 года введен в действие ГОСТ 16588-91. | |
3.6. Влажность древесины (
п. 1.2.11) определяют по ГОСТ 16588 или при помощи влагомера.
3.7. Прочность соединения деталей правил, терок и полутерков и прочность конструкций цельнолитых терок и полутерков (
пп. 1.2.1 -
1.2.4) проверяют с помощью динамометра общего применения 2-го класса точности методом приложения статической нагрузки

в течение 2 мин по схемам, приведенным на черт. 9 - 12, или тарированного груза.
Схема определения прочности соединения стоек
правил и полутерков с основанием
Черт. 9
Схема определения прочности соединения ручек
терок с основанием и определения прочности конструкции
цельнолитых терок и полутерков
Черт. 10
Схема определения прочности соединения ручек
правил и полутерков со стойками
Черт. 11
Схема определения прочности соединения
основания терок и полутерков с полотном
Черт. 12
Падение показаний на динамометре в момент приложения нагрузки не более 10% не является браковочным признаком.
4. ТРАНСПОРТИРОВАНИЕ И ХРАНЕНИЕ
4.1. Упакованные правила, терки и полутерки могут транспортироваться транспортом любого вида при обеспечении мер, предохраняющих изделия от механических повреждений и воздействия влаги.
4.2. Хранение правил, терок и полутерков - по группе условий хранения 2
ГОСТ 15150.