Главная // Актуальные документы // ГОСТ (Государственный стандарт)СПРАВКА
Источник публикации
М.: ИПК Издательство стандартов, 2003
Примечание к документу
С 1 июля 2003 года до вступления в силу технических регламентов акты федеральных органов исполнительной власти в сфере технического регулирования носят рекомендательный характер и подлежат обязательному исполнению только в части, соответствующей целям, указанным в
пункте 1 статьи 46 Федерального закона от 27.12.2002 N 184-ФЗ.
Документ
введен в действие с 1 января 1998 года.
Взамен ГОСТ 15960-79.
Название документа
"ГОСТ 15960-96. Межгосударственный стандарт. Материалы асбестовые фрикционные эластичные и изделия из них. Технические условия"
(введен Постановлением Госстандарта России от 03.07.1997 N 241)
"ГОСТ 15960-96. Межгосударственный стандарт. Материалы асбестовые фрикционные эластичные и изделия из них. Технические условия"
(введен Постановлением Госстандарта России от 03.07.1997 N 241)
Государственного комитета
Российской Федерации
по стандартизации,
метрологии и сертификации
от 3 июля 1997 г. N 241
МЕЖГОСУДАРСТВЕННЫЙ СТАНДАРТ
МАТЕРИАЛЫ АСБЕСТОВЫЕ ФРИКЦИОННЫЕ ЭЛАСТИЧНЫЕ
И ИЗДЕЛИЯ ИЗ НИХ
ТЕХНИЧЕСКИЕ УСЛОВИЯ
Friction flexible asbestos materials and products of them.
Specifications
ГОСТ 15960-96
ОКП 25 7163
Дата введения
1 января 1998 года
1. Разработан МТК 73 "Асбестовые и безасбестовые фрикционные, уплотнительные теплоизоляционные материалы и изделия" (АООТ "НИИАТИ фирма ТИИР").
Внесен Госстандартом России.
2. Принят Межгосударственным советом по стандартизации, метрологии и сертификации (Протокол N 10 от 04.10.96).
За принятие проголосовали:
┌──────────────────────────┬─────────────────────────────────────┐
│ Наименование государства │ Наименование национального органа │
│ │ по стандартизации │
├──────────────────────────┼─────────────────────────────────────┤
│Азербайджанская Республика│Азгосстандарт │
│Республика Белоруссия │Госстандарт Белоруссии │
│Республика Казахстан │Госстандарт Республики Казахстан │
│Республика Молдова │Молдовастандарт │
│Российская Федерация │Госстандарт России │
│Республика Таджикистан │Таджикгосстандарт │
│Туркменистан │Главная государственная инспекция │
│ │Туркменистана │
│Украина │Госстандарт Украины │
└──────────────────────────┴─────────────────────────────────────┘
3. Постановлением Государственного комитета Российской Федерации по стандартизации, метрологии и сертификации от 3 июля 1997 г. N 241 межгосударственный стандарт ГОСТ 15960-96 введен непосредственно в качестве государственного стандарта Российской Федерации с 1 января 1998 г.
4. Взамен ГОСТ 15960-79.
5. Переиздание. Май 2003 г.
Настоящий стандарт распространяется на вальцованные эластичные фрикционные асбестовые материалы (ленты) и изделия из них (накладки), применяемые в тормозных и фрикционных узлах машин и механизмов при сухом трении с поверхностной температурой трения до 200 °С.
Изделия из эластичного фрикционного материала работоспособны в районах с умеренным, тропическим и холодным климатом.
В настоящем стандарте использованы ссылки на следующие стандарты:
ГОСТ 12.1.005-88 Система стандартов безопасности труда. Общие санитарно-гигиенические требования к воздуху рабочей зоны
ГОСТ 12.4.028-76 Система стандартов безопасности труда. Респираторы ШБ-1 "Лепесток". Технические условия
ГОСТ 427-75 Линейки измерительные металлические. Технические условия
ГОСТ 1050-88 Прокат сортовой, калиброванный, со специальной отделкой поверхности из углеродистой качественной конструкционной стали. Общие технические условия
ГОСТ 1412-85 Чугун с пластинчатым графитом для отливок. Марки
ГОСТ 2789-73 Шероховатость поверхности. Параметры и характеристики
ГОСТ 2874-82 <*> Вода питьевая. Гигиенические требования и контроль за качеством
ГОСТ 3443-87 Отливки из чугуна с различной формой графита. Методы определения структуры
ГОСТ 7502-98 Рулетки измерительные металлические. Технические условия
ГОСТ 10541-78 Масла моторные универсальные и для автомобильных карбюраторных двигателей. Технические условия
ГОСТ 11358-89 Толщиномеры и стенкомеры индикаторные с ценой деления 0,01 и 0,1 мм. Технические условия
ГОСТ 12026-76 Бумага фильтровальная лабораторная. Технические условия
ГОСТ 24104-88
<**> Весы лабораторные общего назначения и образцовые. Общие технические условия
| | ИС МЕГАНОРМ: примечание. Взамен ГОСТ 27513-87 Приказом Росстандарта от 04.10.2018 N 702-ст с 1 июля 2019 года введен в действие ГОСТ 27513-2018. | |
ГОСТ 27513-87 Изделия фрикционные. Маркировка, упаковка, транспортирование и хранение.
--------------------------------
<*> На территории Российской Федерации действует
ГОСТ Р 51232-98 (здесь и далее).
3. Основные параметры и размеры
3.1. В зависимости от назначения изделий эластичные фрикционные асбестовые материалы изготовляют трех марок (таблица 1).
Таблица 1
┌──────────────────┬───────────────┬──────────────────────────────────────┐
│ Обозначение марки│ Код ОКП │ Применяемость материалов и изделий │
│ │ │ │
├──────────────────┼───────────────┼──────────────────────────────────────┤
│ЭМ-1 │ 25 7163 5200 │Для тормозных и фрикционных узлов, │
│(8-45-62) │ │работающих при давлении до 1,5 МПа │
│ЭМ-2 │ 25 7163 2600 │Для тормозных и фрикционных узлов, │
│(6КВ-10, 6КВ-56а) │ 25 7163 2800 │работающих при давлении до 2,5 МПа │
│ЭМ-3 │ 25 7163 4400 │Для тормозных узлов, работающих при │
│(6-147Н-59) │ │давлении до 0,8 МПа │
└──────────────────┴───────────────┴──────────────────────────────────────┘
3.2. Размеры лент должны соответствовать указанным в таблице 2.
В миллиметрах
┌───────────┬──────────────┬──────────────────────────────────────────────┐
│Обозначение│ Толщина │ Ширина │
│ марки ├──────┬───────┼──────────────────────────────────────┬───────┤
│ │Номин.│ Пред. │ Номин. │ Пред. │
│ │ │ откл. │ │ откл. │
├───────────┼──────┼───────┼──────────────────────────────────────┼───────┤
│ЭМ-1 │ 5 │+/- 0,4│50, 55, 60, 65, 70, 80, 90 │+/- 1,5│
│(8-45-62) │ 6 │ │50, 55, 60, 65, 70, 80, 90, 100, 120 │ │
│ │ 8 │+/- 0,6│50, 55, 60, 65, 70, 80, 90, 100, 110, │ │
│ │ │ │120, 140, 160 │ │
│ │ 10 │ │60, 65, 70, 80, 90, 100, 110, 120, │ │
│ │ │ │140, 160 │ │
├───────────┼──────┼───────┼──────────────────────────────────────┤ │
│ЭМ-2 │ 5 │+/- 0,4│50, 55, 60, 65, 70, 80, 90 │ │
│(6КВ-10) │ 6 │ │50, 55, 60, 65, 70, 80, 90, 100, 120 │ │
│ │ 8 │+/- 0,6│50, 55, 60, 65, 70, 80, 90, 100, 110, │ │
│ │ │ │120, 140, 160 │ │
│ │ 10 │ │60, 65, 70, 80, 90, 100, 110, 120, │ │
│ │ │ │140, 160 │ │
├───────────┼──────┼───────┼──────────────────────────────────────┤ │
│ЭМ-2 │ 5 │+/- 0,4│50, 55, 60, 65, 70, 80, 90 │ │
│(6КВ-56а) │ 6 │ │50, 55, 60, 65, 70, 80, 90, 100, 120 │ │
│ │ 8 │+/- 0,6│50, 55, 60, 65, 70, 80, 90, 100, 110, │ │
│ │ │ │120, 140, 160 │ │
│ │ 10 │ │60, 65, 70, 80, 90, 100, 110, 120, │ │
│ │ │ │140, 160 │ │
├───────────┼──────┼───────┼──────────────────────────────────────┤ │
│ЭМ-3 │ 5 │+/- 0,4│50, 55, 60, 65, 70, 80, 90 │ │
│(6-147Н-59)│ 6 │ │50, 55, 60, 65, 70, 80, 90, 100, 120 │ │
│ │ 8 │+/- 0,6│50, 55, 60, 65, 70, 80, 90, 100, 110, │ │
│ │ │ │120, 140, 160 │ │
│ │ 10 │ │60, 65, 70, 80, 90, 100, 110, 120, │ │
│ │ │ │140, 160 │ │
└───────────┴──────┴───────┴──────────────────────────────────────┴───────┘
3.3. Размеры накладок должны соответствовать указанным в таблице 3.
В миллиметрах
┌─────────────┬────────────────┬────────────────┬────────────────┐
│ Код ОКП │ Ширина │ Толщина │ Длина │
│ ├──────┬─────────┼──────┬─────────┼──────┬─────────┤
│ │Номин.│ Пред. │Номин.│ Пред. │Номин.│ Пред. │
│ │ │ откл. │ │ откл. │ │ откл. │
├─────────────┼──────┼─────────┼──────┼─────────┼──────┼─────────┤
│ 25 7134 2617│ 56 │ +/- 1,5 │ 5,0 │ +/- 0,4 │250,0 │ +/- 3,0 │
│ │ │ +1,0 │ │ │ │ │
│ 25 7134 2623│ 70 │ -2,0 │ 5,0 │ +/- 0,4 │107,7 │ +/- 2,0 │
│ │ │ +0,5 │ │ │ │ │
│ 25 7134 2628│ 90 │ -2,0 │ 5,0 │ +/- 0,4 │113,5 │ +/- 2,0 │
│ 25 7134 2633│ 90 │ +/- 1,5 │ 5,0 │ +/- 0,5 │823,0 │ +/- 3,0 │
│ 25 7134 2817│ 56 │ +/- 1,5 │ 5,0 │ +/- 0,4 │250,0 │ +/- 3,0 │
│ │ │ +1,0 │ │ │ │ │
│ 25 7134 2823│ 70 │ -2,0 │ 5,0 │ +/- 0,4 │107,7 │ +/- 2,0 │
│ │ │ +0,5 │ │ │ │ │
│ 25 7134 2828│ 90 │ -2,0 │ 5,0 │ +/- 0,4 │113,5 │ +/- 2,0 │
│ 25 7134 2833│ 90 │ +/- 1,5 │ 5,0 │ +/- 0,5 │823,0 │ +/- 3,0 │
│ │ │ │ │ +0,4 │ │ │
│ 25 7134 4402│ 20 │ +/- 1,0 │ 4,0 │ -0,2 │127,5 │ +/- 4,0 │
│ │ │ │ │ +0,4 │ │ │
│ 25 7134 4403│ 20 │ +/- 1,0 │ 4,0 │ -0,2 │184,0 │ +/- 4,0 │
│ │ │ │ │ +0,4 │ │ │
│ 25 7134 4405│ 22 │ +/- 1,0 │ 4,0 │ -0,2 │129,0 │ +/- 4,0 │
│ │ │ │ │ +0,4 │ │ │
│ 25 7134 4406│ 25 │ +/- 1,0 │ 4,0 │ -0,2 │184,0 │ +/- 4,0 │
│ │ │ │ │ +0,4 │ │ │
│ 25 7134 4407│ 29 │ +/- 1,0 │ 4,0 │ -0,2 │124,0 │ +/- 4,0 │
│ │ │ │ │ +0,4 │ │ │
│ 25 7134 4408│ 29 │ +/- 1,0 │ 4,0 │ -0,2 │152,0 │ +/- 4,0 │
│ │ │ │ │ +0,4 │ │ │
│ 25 7134 4409│ 29 │ +/- 1,0 │ 4,0 │ -0,2 │148,0 │ +/- 4,0 │
│ │ │ │ │ +0,4 │ │ │
│ 25 7134 4411│ 31 │ +/- 1,0 │ 5,0 │ -0,2 │172,0 │ +/- 2,5 │
│ │ │ │ │ +0,4 │ │ │
│ 25 7134 4412│ 30 │ +/- 1,0 │ 5,0 │ -0,2 │198,0 │ +/- 4,0 │
└─────────────┴──────┴─────────┴──────┴─────────┴──────┴─────────┘
Примечание. По согласованию с потребителем допускается изготовлять накладки других размеров.
Пример условного обозначения ленты из фрикционного эластичного асбестового материала марки ЭМ-1 толщиной 5 мм и шириной 90 мм:
Лента ЭМ-1 5 x 90 ГОСТ 15960-96
То же для накладки из материала марки ЭМ-2 толщиной 5 мм, шириной 56 мм, длиной 250 мм:
Накладка ЭМ-2 5 x 56 x 250 ГОСТ 15960-96
4. Технические требования
4.1. Материалы и изделия должны быть изготовлены в соответствии с требованиями настоящего стандарта по технологическому регламенту, утвержденному в установленном порядке.
Для накладок допускается согласовывать чертежи между изготовителем и потребителем.
4.2. Материалы и изделия изготовляют в виде вальцованных накладок, шлифованных без отверстий под заклепки и в виде нешлифованных вальцованных прямых лент длиной от 1000 мм и свернутых в рулоны длиной до 8000 мм. В рулоне допускается не более двух отрезков длиной не менее 2000 мм.
4.3. Характеристики
4.3.1. По физико-механическим показателям материалы и изделия должны соответствовать значениям, указанным в таблице 4.
┌─────────────────────────────────────┬───────────────────────────────────┐
│ Наименование показателя │ Значение для марки │
│ ├───────────┬───────────┬───────────┤
│ │ ЭМ-1 │ ЭМ-2 │ ЭМ-3 │
├─────────────────────────────────────┼───────────┼───────────┼───────────┤
│1. Коэффициент трения: │ │ │ │
│ по чугуну СЧ 15 │0,40 - 0,60│0,39 - 0,54│ - │
│ по стали 20 │ - │ - │0,41 - 0,60│
│2. Линейный износ, мм, не более: │ │ │ │
│ по чугуну СЧ 15 │ 0,08 │ 0,17 │ - │
│ по стали 20 │ - │ - │ 0,17 │
│3. Увеличение массы при воздействии │ 0,5 │ 1,5 │ 0,7 │
│воды, %, не более │ │ │ │
│4. Увеличение массы при воздействии │ 0,5 │ 2,0 │ 1,1 │
│масла, %, не более │ │ │ │
│5. Устойчивость материалов на изгиб │ Отсутствие разлома материала. │
│ │Допускаются разрывы поверхностного │
│ │ слоя глубиной не более 0,5 мм │
└─────────────────────────────────────┴───────────────────────────────────┘
4.3.2. На рабочей поверхности изделий не допускаются трещины длиной более 1/3 ширины изделия.
4.3.3. Допускаемые отклонения внешнего вида, не влияющие на эксплуатационные свойства материалов и изделий, не должны превышать указанных в таблице 5.
┌──────────────────────────────────────┬──────────────────────────────────┐
│ Наименование отклонения │Общая площадь отклонений на одной │
│ │ накладке или на 1 м ленты, см2, │
│ │ не более │
├──────────────────────────────────────┼──────────────────────────────────┤
│1. Углубления до 1 мм на поверхностях:│ │
│ рабочей │ 0,5 │
│ нерабочей │ 1,0 │
│ боковых кромках │ 1,0 │
│ торцевых кромках │ 0,5 │
│2. Включение комочков ингредиентов на │ │
│поверхностях: │ │
│ рабочей │ 0,5 │
│ нерабочей │ 1,0 │
│3. Поверхностные вздутия: │ │
│ для накладок │ Не допускаются │
│ для лент │ 0,5, при этом количество вздутий │
│ │ не более трех │
├──────────────────────────────────────┴──────────────────────────────────┤
│ Примечания. 1. В одном изделии не допускается более двух отклонений. │
│ 2. У ленты обе стороны считаются рабочими. │
│ 3. По согласованию с потребителем допускается устанавливать внешний│
│вид изделий по контрольным образцам, утвержденным в установленном│
│порядке. │
└─────────────────────────────────────────────────────────────────────────┘
| | ИС МЕГАНОРМ: примечание. Взамен ГОСТ 27513-87 Приказом Росстандарта от 04.10.2018 N 702-ст с 1 июля 2019 года введен в действие ГОСТ 27513-2018. | |
4.4. Маркировка, упаковка лент, накладок и упаковочной единицы - по ГОСТ 27513.
На ярлыке или штампе упаковочной единицы указывают размер лент или обозначение накладки, количество в квадратных метрах или штуках. Для сертифицированной продукции на ярлык или штамп или сопроводительную техническую документацию дополнительно наносят изображение знака соответствия.
5. Требования безопасности
5.1. Изделия из материалов не взрывоопасны и при непосредственном контакте не оказывают вредного воздействия на организм человека.
5.2. При механической обработке и испытании изделий в воздух рабочей зоны возможно выделение асбесторезиновой пыли, обладающей фиброгенным действием.
Асбесторезиновая пыль не обладает раздражающим, сенсибилизирующим, канцерогенным действием и способностью к кумуляции в организме человека в соответствии с
ГОСТ 12.1.005. Пыль не образует токсичных соединений в воздушной среде и сточных водах в присутствии других веществ.
Предельно допустимая концентрация (ПДК) асбесторезиновой пыли в воздухе рабочей зоны производственных помещений 10 мг/м3 (максимально разовая) и 4 мг/см3 (среднесменная), класс опасности III (Ф).
5.3. Контроль за содержанием асбесторезиновой пыли в воздухе рабочей зоны осуществляют в соответствии с требованиями.
5.4. Работающие с изделиями из эластичных фрикционных материалов обеспечиваются специальной одеждой и защитными средствами, защита органов дыхания - респираторами типа "Лепесток" по
ГОСТ 12.4.028.
5.5. Участок механической обработки и испытания изделий должен быть оборудован приточно-вытяжной вентиляцией, фиксированные места выделения пыли - местными отсосами.
Воздух, удаляемый от станков механической обработки, перед выбросом в атмосферу должен подвергаться очистке в соответствии с требованиями нормативной документации.
5.6. Материалы и изделия из эластичных фрикционных материалов горючи. Температура самовоспламенения 415 °С.
Средства пожаротушения - вода, воздушно-механическая и химические пены.
5.7. Отходы после механической обработки изделий (класс опасности IV) должны собираться в бумажные или полиэтиленовые мешки и вывозиться на полигон захоронения. Захоронение отходов проводят в соответствии с требованиями санитарных служб.
6.1. Материалы и изделия принимают партиями. Партия должна состоять из рулонов лент или отрезков прямой ленты одной марки и размера не более 500 м2 или накладок одного размера не более 10000 шт. Каждая партия материалов и изделий должна сопровождаться документом о качестве, содержащим:
товарный знак и (или) наименование предприятия-изготовителя;
марку материала;
размер ленты или обозначение накладок;
дату изготовления;
номер партии;
количество в квадратных метрах или штуках;
штамп службы технического контроля;
обозначение настоящего стандарта;
результаты проведенных испытаний;
подтверждение о соответствии материалов и изделий требованиям настоящего стандарта.
6.2. Каждую партию материалов и изделий подвергают приемосдаточным испытаниям в следующем объеме:
по внешнему виду - 100%;
по размерам - не менее пяти накладок, отрезков прямой ленты или рулонов лент;
по физико-механическим показателям - три накладки, отрезка или рулона лент.
6.3. Потребитель имеет право проводить выборочный контроль изделий на соответствие требованиям
таблиц 2 -
5 и
4.4.
Объем и периодичность испытаний устанавливает предприятие-потребитель в зависимости от текущего уровня качества.
6.4. При получении неудовлетворительных результатов испытаний хотя бы по одному из показателей проводят повторные испытания по этому показателю на удвоенном объеме выборки, взятом от той же партии изделий.
Результаты повторных испытаний распространяют на всю партию.
7.1. Внешний вид материалов и изделий контролируют визуально.
Размеры допускаемых отклонений по внешнему виду, указанных в
таблице 5, определяют измерительным инструментом, обеспечивающим погрешность не более 0,1 мм.
7.2. Контроль размеров
7.2.1. Ширину лент, отрезков лент и накладок измеряют в трех местах штангенциркулем по
ГОСТ 166 с ценой деления 0,1 мм по длине изделия (по краям и в середине).
За результат принимают среднеарифметическое результатов трех измерений, округленное до первого десятичного знака, при этом результат каждого измерения должен соответствовать размерам, указанным в
таблицах 2 и
3.
7.2.2. Толщину лент, отрезков лент и накладок измеряют толщиномером ТР 25-100Б, ТР 25-60Б с ценой деления 0,1 мм по
ГОСТ 11358 в трех местах, указанных в 7.2.1.
За результат принимают среднеарифметическое результатов трех измерений, округленное до первого десятичного знака, при этом результат каждого измерения должен соответствовать размерам, указанным в
таблицах 2 и
3.
7.2.3. Длину ленты, отрезков прямой ленты и накладок определяют металлической рулеткой с ценой деления 1 мм по
ГОСТ 7502 или металлической линейкой по
ГОСТ 427.
Для определения физико-механических показателей используют накладки, отрезки или рулоны лент, отобранные по
6.2.
От каждого отобранного отрезка ленты или рулона отрезают по одному образцу длиной не менее 1 м.
7.4. Определение коэффициента трения и линейного износа
Коэффициент трения и линейный износ определяют на лабораторной машине трения.
Метод определения коэффициента трения основан на измерении силы трения, возникающей при фрикционном взаимодействии испытуемых образцов и металлического контртела.
Метод определения линейного износа основан на измерении толщины образцов в результате износа при заданном постоянном моменте трения в течение заданного промежутка времени и заданной температуры до и после испытаний.
7.4.1. Отбор образцов
7.4.1.1. Для проведения испытания от каждой пробы, отобранной в соответствии с
7.3, вырезают два образца с поверхностью трения 22 x 27 мм и предельным отклонением +/- 0,5 мм. Толщина образцов должна быть равна толщине изделия.
При испытании накладок шириной менее 22 мм из каждой отобранной накладки вырезают четыре образца размером 11 x 27 мм с предельным отклонением +/- 0,25 мм. Испытания проводят на двух образцах размером 22 x 27 мм, каждый составленный из двух образцов размером 11 x 27 мм.
7.4.1.2. Металлическое контртело используют многократно. С целью устранения канавок, рисок и прижогов допускается шлифовка рабочей поверхности контртела, при этом его толщина должна быть не менее 10 мм.
7.4.2. Оборудование и средства измерения
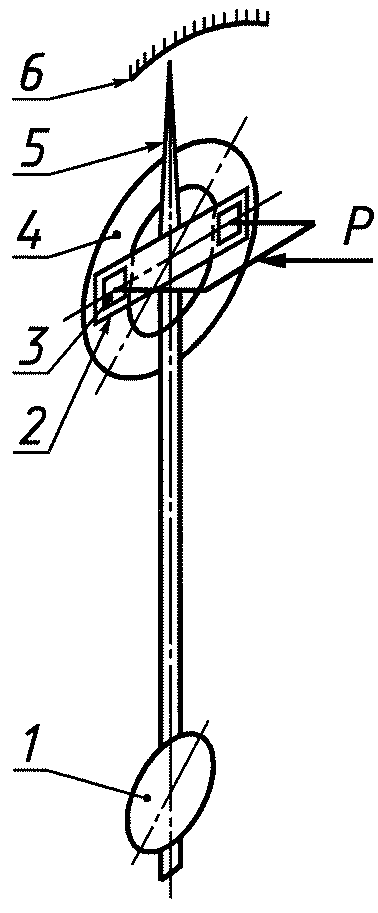
Лабораторная машина трения, схема которой приведена на рисунке 1.
1 - маятник; 2 - держатель образцов; 3 - образец;
4 - металлическое контртело; 5 - стрелка;
6 - шкала момента трения
Рисунок 1
Узел трения состоит из металлического контртела в виде кольца, в контакте с которым находятся два фрикционных образца.
Трение образцов должно происходить по сухому чугунному кольцу (серый чугун марки СЧ 15 по
ГОСТ 1412) для материала марок ЭМ-1 и ЭМ-2 или по стальному кольцу для материала марки ЭМ-2 (сталь 20 по
ГОСТ 1050).
Структура чугуна должна соответствовать следующим баллам по
ГОСТ 3443:
по графиту - (ПГф1 - ПГф2); (ПГд45 - ПГд90); (ПГр1 - ПГр3); (ПГ4 - ПГ6);
по металлической основе - П70 (Ф30) - П (Ф0); ПД1,0 - ПД1,6.
Твердость чугуна по Бринеллю должна быть (170 - 190) HB.
Параметр начальной шероховатости рабочей поверхности контртела Ra = 2,5 мкм по
ГОСТ 2789.
Для измерения толщины образцов применяют микрометр типа МК 25 по
ГОСТ 6507.
7.4.3. Условия испытаний и приработки
Линейная скорость по средней линии образцов (7,25 +/- 0,25) м/с.
Давление на образцы при определении коэффициента трения и приработке (0,27 +/- 0,02) МПа.
Температура (110 +/- 10) °С.
Момент трения при определении линейного износа (11,6 +/- 0,5) Н x м.
7.4.4. Проведение испытания
Перед испытанием образцы прирабатывают к чугунному или стальному кольцу при условиях, указанных в 7.4.3.
Приработка считается законченной, если на рабочей поверхности образцов образовались следы износа на площади не менее 90%. Контроль проводят визуально.
7.4.4.1. Определение коэффициента трения
Для определения коэффициента трения измеряют момент трения при достижении температуры (110 +/- 10) °С через каждые (5 +/- 1) мин в течение (45 +/- 1) мин (10 измерений) и вычисляют среднеарифметическое 10 измерений для каждой пары образцов отдельно.
7.4.4.2. Обработка результатов
Коэффициент трения f вычисляют по формуле

, (1)
где

- среднеарифметическое результатов 10 измерений момента трения, Н x м;
N - номинальная нагрузка на образцы, равная 321 Н;

- средний радиус трения образцов, равный 0,1 м.
Вычисления проводят с точностью до третьего десятичного знака.
За результат испытаний принимают среднеарифметическое значение коэффициента трения всех испытуемых пар образцов, округленное до второго десятичного знака, при этом единичное значение коэффициента трения не должно превышать 10%.
Погрешность метода определения коэффициента трения - не более +/- 9%.
7.5. Определение линейного износа
Линейный износ определяют на образцах, испытанных по
7.4.4.1 при постоянном моменте трения.
После проведения испытаний по
7.4.4.1 образцы извлекают из гнезд держателя образцов. На нерабочую поверхность каждого образца наносят четыре метки по углам и измеряют толщину микрометром в отмеченных точках.
Образцы вновь устанавливают в гнезда образцедержателей, которые они занимали при испытании по
7.4.4.1, и проводят испытания в течение (120 +/- 5) мин.
После испытания образцы извлекают из гнезд и измеряют толщину образцов в отмеченных ранее четырех точках.
7.5.1. Обработка результатов
Линейный износ образцов

, в миллиметрах, вычисляют по формуле

, (2)
где

- среднеарифметическое результатов измерений толщины обоих образцов до испытания, мм;

- среднеарифметическое результатов измерений толщины обоих образцов после испытания, мм.
Вычисления проводят с точностью до третьего десятичного знака.
За результат испытания принимают среднеарифметическое линейного износа всех пар образцов, округленное до второго десятичного знака, при этом единичные значения износа не должны выходить за норму более 10%.
Погрешность метода определения износа - не более +/- 10%.
7.6. Определение увеличения массы образца при воздействии воды и масла
7.6.1. Аппаратура и материалы
Весы лабораторные общего назначения по
ГОСТ 24104 с погрешностью взвешивания не более 0,005 г.
Масло моторное марок

или М-6з/10В по
ГОСТ 10541 или масло моторное другой марки вязкостью (9,5 - 11) мм2/с при температуре 100 °С.
Бумага фильтровальная по
ГОСТ 12026 или аналогичный адсорбирующий материал.
7.6.2. Проведение испытания
Испытывают образцы размером 30 x 60 мм.
При испытании накладок шириной менее 30 мм за ширину образца принимают ширину накладки.
Образцы, предварительно взвешенные с погрешностью +/- 0,01 г, помещают на (4 +/- 0,25) ч в питьевую воду или моторное автомобильное масло.
Испытания проводят при температуре

.
После испытания излишки воды или масла тщательно удаляют с поверхности образцов фильтровальной бумагой или аналогичным адсорбирующим материалом и взвешивают с той же погрешностью.
7.6.3. Обработка результатов
Увеличение массы при воздействии воды или масла X, в процентах, вычисляют по формуле

, (3)
где m - масса образца до испытания, г;

- масса образца после испытаний, г.
Вычисления проводят с точностью до второго десятичного знака.
За результат испытания принимают среднеарифметическое результатов всех определений, округленное до первого десятичного знака, при этом увеличение массы каждого образца должно соответствовать значению, указанному в
таблице 4.
7.7. Определение устойчивости материалов на изгиб
Устойчивость материалов на изгиб определяют, сгибая их на 180° вокруг стержня диаметром, в 40 раз большим их толщины.
8. Транспортирование и хранение
| | ИС МЕГАНОРМ: примечание. Взамен ГОСТ 27513-87 Приказом Росстандарта от 04.10.2018 N 702-ст с 1 июля 2019 года введен в действие ГОСТ 27513-2018. | |
8.1. Транспортирование и хранение - по ГОСТ 27513.
Материалы и изделия должны храниться в закрытых складских помещениях, на расстоянии не менее 1 м от отопительных приборов.
9.1. Изготовитель гарантирует соответствие эластичных асбестовых фрикционных материалов и изделий из них требованиям настоящего стандарта при соблюдении условий транспортирования и хранения.
9.2. Гарантийный срок хранения материалов и изделий - 5 лет со дня их изготовления.
(рекомендуемое)
Таблица А.1
┌──────────────┬─────────────┬─────────────┬─────────────┬────────┬───────┐
│ Марка ЭМ-1 │ Марка ЭМ-2 │ Марка ЭМ-2 │ Марка ЭМ-3 │Толщина,│Ширина,│
│ (8-45-62) │ (6КВ-10) │ (6КВ-56а) │ (6-147Н-59) │ мм │ мм │
├──────────────┼─────────────┼─────────────┼─────────────┼────────┼───────┤
│ 25 7163 5205 │25 7163 2605 │25 7163 2805 │25 7163 4405 │ 5 │ 50 │
│ 25 7163 5206 │25 7163 2606 │25 7163 2806 │25 7163 4406 │ 5 │ 55 │
│ 25 7163 5207 │25 7163 2607 │25 7163 2807 │25 7163 4407 │ 5 │ 60 │
│ 25 7163 5208 │25 7163 2608 │25 7163 2808 │25 7163 4408 │ 5 │ 65 │
│ 25 7163 5209 │25 7163 2609 │25 7163 2809 │25 7163 4409 │ 5 │ 70 │
│ 25 7163 5211 │25 7163 2611 │25 7163 2811 │25 7163 4411 │ 5 │ 80 │
│ 25 7163 5212 │25 7163 2612 │25 7163 2812 │25 7163 4412 │ 5 │ 90 │
│ 25 7163 5223 │25 7163 2623 │25 7163 2823 │25 7163 4423 │ 6 │ 50 │
│ 25 7163 5224 │25 7163 2624 │25 7163 2824 │25 7163 4424 │ 6 │ 55 │
│ 25 7163 5225 │25 7163 2625 │25 7163 2825 │25 7163 4425 │ 6 │ 60 │
│ 25 7163 5226 │25 7163 2626 │25 7163 2826 │25 7163 4426 │ 6 │ 65 │
│ 25 7163 5227 │25 7163 2627 │25 7163 2827 │25 7163 4427 │ 6 │ 70 │
│ 25 7163 5228 │25 7163 2628 │25 7163 2828 │25 7163 4428 │ 6 │ 80 │
│ 25 7163 5229 │25 7163 2629 │25 7163 2829 │25 7163 4429 │ 6 │ 90 │
│ 25 7163 5231 │25 7163 2631 │25 7163 2831 │25 7163 4431 │ 6 │ 100 │
│ 25 7163 5233 │25 7163 2633 │25 7163 2833 │25 7163 4433 │ 6 │ 120 │
│ 25 7163 5241 │25 7163 2641 │25 7163 2841 │25 7163 4441 │ 8 │ 50 │
│ 25 7163 5242 │25 7163 2642 │25 7163 2842 │25 7163 4442 │ 8 │ 55 │
│ 25 7163 5243 │25 7163 2643 │25 7163 2843 │25 7163 4443 │ 8 │ 60 │
│ 25 7163 5244 │25 7163 2644 │25 7163 2844 │25 7163 4444 │ 8 │ 65 │
│ 25 7163 5245 │25 7163 2645 │25 7163 2845 │25 7163 4445 │ 8 │ 70 │
│ 25 7163 5246 │25 7163 2646 │25 7163 2846 │25 7163 4446 │ 8 │ 80 │
│ 25 7163 5247 │25 7163 2647 │25 7163 2847 │25 7163 4447 │ 8 │ 90 │
│ 25 7163 5248 │25 7163 2648 │25 7163 2848 │25 7163 4448 │ 8 │ 100 │
│ 25 7163 5249 │25 7163 2649 │25 7163 2849 │25 7163 4449 │ 8 │ 110 │
│ 25 7163 5251 │25 7163 2651 │25 7163 2851 │25 7163 4451 │ 8 │ 120 │
│ 25 7163 5252 │25 7163 2652 │25 7163 2852 │25 7163 4452 │ 8 │ 140 │
│ 25 7163 5253 │25 7163 2653 │25 7163 2853 │25 7163 4453 │ 8 │ 160 │
│ 25 7163 5259 │25 7163 2659 │25 7163 2859 │25 7163 4459 │ 10 │ 60 │
│ 25 7163 5261 │25 7163 2661 │25 7163 2861 │25 7163 4461 │ 10 │ 65 │
│ 25 7163 5262 │25 7163 2662 │25 7163 2862 │25 7163 4462 │ 10 │ 70 │
│ 25 7163 5263 │25 7163 2663 │25 7163 2863 │25 7163 4463 │ 10 │ 80 │
│ 25 7163 5264 │25 7163 2664 │25 7163 2864 │25 7163 4464 │ 10 │ 90 │
│ 25 7163 5265 │25 7163 2665 │25 7163 2865 │25 7163 4465 │ 10 │ 100 │
│ 25 7163 5266 │25 7163 2666 │25 7163 2866 │25 7163 4466 │ 10 │ 110 │
│ 25 7163 5267 │25 7163 2667 │25 7163 2867 │25 7163 4467 │ 10 │ 120 │
│ 25 7163 5268 │25 7163 2668 │25 7163 2868 │25 7163 4468 │ 10 │ 140 │
│ 25 7163 5269 │25 7163 2669 │25 7163 2869 │25 7163 4469 │ 10 │ 160 │
└──────────────┴─────────────┴─────────────┴─────────────┴────────┴───────┘
(рекомендуемое)
ДОПОЛНИТЕЛЬНЫЕ ПОКАЗАТЕЛИ ЭЛАСТИЧНЫХ МАТЕРИАЛОВ
Таблица Б.1
┌──────────────────────────────────┬──────────────────────────────────────┐
│ Наименование показателя │ Значение для марок │
│ ├────────────┬────────────┬────────────┤
│ │ ЭМ-1 │ ЭМ-2 │ ЭМ-3 │
├──────────────────────────────────┼────────────┼────────────┼────────────┤
│ 1. Плотность, кг/м3 │2000 - 2150 │2100 - 2250 │2100 - 2200 │
│ 2. Коэффициент трения по стали 45│ 0,44 │ 0,40 │ - │
│ 3. Линейный износ по стали 45 при│ 0,12 │ 0,50 │ - │
│постоянном моменте трения, мм, не │ │ │ │
│более │ │ │ │
└──────────────────────────────────┴────────────┴────────────┴────────────┘