Главная // Актуальные документы // ГОСТ (Государственный стандарт)СПРАВКА
Источник публикации
М.: ИПК Издательство стандартов, 2000
Примечание к документу
Отдельные положения данного документа включены в
Перечень международных и региональных (межгосударственных) стандартов, а в случае их отсутствия - национальных (государственных) стандартов, в результате применения которых на добровольной основе обеспечивается соблюдение требований технического
регламента Таможенного союза "О безопасности продукции, предназначенной для детей и подростков" (ТР ТС 007/2011) и отдельные положения данного документа включены в Перечень международных и региональных (межгосударственных) стандартов (
п. п. 80,
88), а в случае их отсутствия - национальных (государственных) стандартов, содержащих правила и методы исследований (испытаний) и измерений, в том числе правила отбора образцов, необходимые для применения и исполнения требований технического
регламента Таможенного союза "О безопасности продукции, предназначенной для детей и подростков" (ТР ТС 007/2011) и осуществления оценки соответствия объектов технического регулирования (
Решение Коллегии Евразийской экономической комиссии от 14.03.2023 N 31).
С 01.07.2003 до вступления в силу технических регламентов акты федеральных органов исполнительной власти в сфере технического регулирования носят рекомендательный характер и подлежат обязательному исполнению только в части, соответствующей целям, указанным в
п. 1 ст. 46 Федерального закона от 27.12.2002 N 184-ФЗ.
Документ
введен в действие с 01.01.2001.
Взамен ГОСТ 3303-82.
Название документа
"ГОСТ 3303-94. Межгосударственный стандарт. Грелки резиновые. Технические условия"
(введен в действие Постановлением Госстандарта России от 23.12.1999 N 682-ст)
"ГОСТ 3303-94. Межгосударственный стандарт. Грелки резиновые. Технические условия"
(введен в действие Постановлением Госстандарта России от 23.12.1999 N 682-ст)
Постановлением Государственного
комитета Российской Федерации
по стандартизации метрологии
от 23 декабря 1999 г. N 682-ст
МЕЖГОСУДАРСТВЕННЫЙ СТАНДАРТ
ГРЕЛКИ РЕЗИНОВЫЕ
ТЕХНИЧЕСКИЕ УСЛОВИЯ
Rubber hot-water bottles. Specifications
ГОСТ 3303-94
Дата введения
1 января 2001 года
1. Разработан Научно-исследовательским институтом "Эластик".
Внесен Государственным комитетом Украины по стандартизации, метрологии и сертификации.
2. Принят Межгосударственным советом по стандартизации, метрологии и сертификации (Протокол N 6 от 21.10.94).
За принятие проголосовали:
Наименование государства | Наименование национального органа стандартизации |
Азербайджанская Республика | Азгосстандарт |
Республика Армения | Армгосстандарт |
Республика Беларусь | Госстандарт Беларуси |
Республика Грузия | Грузстандарт |
Республика Казахстан | Госстандарт Республики Казахстан |
Киргизская Республика | Киргизстандарт |
Республика Молдова | Молдовастандарт |
Российская Федерация | Госстандарт России |
Республика Узбекистан | Узгосстандарт |
3. Постановлением Государственного комитета Российской Федерации по стандартизации и метрологии от 23 декабря 1999 г. N 682-ст межгосударственный стандарт ГОСТ 3303-94 "Грелки резиновые. Технические условия" введен в действие непосредственно в качестве государственного стандарта Российской Федерации, с уточнением раздела 1 в части отнесения к обязательным требованиям
4.1.1 -
4.1.5, с 1 января 2001 г.
4. Взамен ГОСТ 3303-82.
Настоящий стандарт распространяется на резиновые грелки, предназначенные для местного согревания тела, промывания и спринцевания, поставляемые для народного хозяйства и на экспорт.
Климатическое исполнение грелок - В категории 4.2 по
ГОСТ 15150.
Обязательные требования к качеству продукции изложены в
4.1.1 -
4.1.5.
В настоящем стандарте использованы ссылки на следующие стандарты:
ГОСТ 9.024-74 Единая система защиты от коррозии и старения. Резины. Методы испытания на стойкость к термическому старению
ГОСТ 12.0.004-90 Система стандартов безопасности труда. Организация обучения безопасности труда. Общие положения
ГОСТ 12.1.005-88 Система стандартов безопасности труда. Общие санитарно-гигиенические требования к воздуху рабочей зоны
ГОСТ 12.3.002-75 Система стандартов безопасности труда. Процессы производственные. Общие требования безопасности
ГОСТ 12.4.011-89 Система стандартов безопасности труда. Средства защиты работающих. Общие требования и классификация
ГОСТ 12.4.021-75 Система стандартов безопасности труда. Системы вентиляционные. Общие требования
ГОСТ 17.2.3.02-78 Охрана природы. Атмосфера. Правила установления допустимых выбросов вредных веществ промышленными предприятиями
ГОСТ 270-75 Резина. Метод определения упругопрочностных свойств при растяжении
ГОСТ 427-75 Линейки измерительные металлические. Технические условия
ГОСТ 1770-74 Посуда мерная лабораторная стеклянная. Цилиндры, мензурки, колбы, пробирки. Технические условия
ГОСТ 2405-88 Манометры, вакуумметры, мановакуумметры, напоромеры, тягомеры и тягонапоромеры. Общие технические условия
ГОСТ 2874-82 <*> Вода питьевая. Гигиенические требования и контроль за качеством
--------------------------------
| | ИС МЕГАНОРМ: примечание. Взамен ГОСТ 7502-89 Постановлением Госстандарта России от 27.07.1999 N 220-ст с 1 июля 2000 года введен в действие ГОСТ 7502-98. | |
ГОСТ 7502-89 Рулетки измерительные металлические. Технические условия
ГОСТ 7933-89 Картон для потребительской тары. Общие технические условия
| | ИС МЕГАНОРМ: примечание. ГОСТ 9421-80 утратил силу с 1 июля 2014 года в части картона для изготовления тары для пищевой продукции в связи с введением в действие ГОСТ 32096-2013 (Приказ Росстандарта от 01.08.2013 N 471-ст). | |
ГОСТ 9421-80 Картон тарный плоский склеенный. Технические условия
ГОСТ 10131-93 Ящики из древесины и древесных материалов для продукции пищевых отраслей промышленности, сельского хозяйства и спичек. Технические условия
ГОСТ 11358-89 Толщиномеры и стенкомеры индикаторные с ценой деления 0,01 и 0,1 мм. Технические условия
ГОСТ 13511-91 Ящики из гофрированного картона для пищевых продуктов, спичек, табака и моющих средств. Технические условия
| | ИС МЕГАНОРМ: примечание. ГОСТ 13512-91 и ГОСТ 13513-86 утратили силу на территории Российской Федерации с 1 марта 2012 года в связи с введением в действие ГОСТ Р 54463-2011 (Приказ Росстандарта от 30.09.2011 N 433-ст). | |
ГОСТ 13512-91 Ящики из гофрированного картона для кондитерских изделий. Технические условия
ГОСТ 13513-86 Ящики из гофрированного картона для продукции мясной и молочной промышленности. Технические условия
ГОСТ 13841-95 Ящики из гофрированного картона для химической продукции. Технические условия
ГОСТ 15150-69 Машины, приборы и другие технические изделия. Исполнения для различных климатических районов. Категории, условия эксплуатации, хранения и транспортирования в части воздействия климатических факторов внешней среды
ГОСТ 16511-86 Ящики деревянные для продукции электрохимической промышленности. Технические условия
ГОСТ 18242-72 <*> Статистический приемочный контроль по альтернативному признаку. Планы контроля
--------------------------------
ГОСТ 18251-87 Лента клеевая на бумажной основе. Технические условия
ГОСТ 18270-72 Кислота уксусная особой чистоты. Технические условия
ГОСТ 18321-73 Статистический контроль качества. Методы случайного отбора штучной продукции
ГОСТ 18573-86 Ящики деревянные для продукции химической промышленности. Технические условия
ГОСТ 21650-76 Средства скрепления тарно-штучных грузов в транспортных пакетах. Общие технические требования
ГОСТ 22852-77 Ящики из гофрированного картона для продукции приборостроительной промышленности. Технические условия
ГОСТ 24597-81 Пакеты тарно-штучных грузов. Основные параметры и размеры
ГОСТ 25644-96 Средства моющие синтетические порошкообразные. Общие технические требования
ОСТ 42-21-2-85 Стерилизация и дезинфекция изделий медицинского назначения. Методы, средства и режимы.
3. Классификация, основные параметры и размеры
3.1. В зависимости от назначения резиновые грелки изготовляют двух типов:
- А - для местного согревания тела;
- Б - комбинированные, применяемые для местного согревания тела, а также для промывания и спринцевания.
Примечание. Грелки типа А могут выпускаться в тканевых чехлах на основе хлопчатобумажных, синтетических и смешанных волокон.
3.2. Форма, вместимость и основные размеры грелок рекомендуются в соответствии с таблицей 1 и
рисунками 1,
2.
Таблица 1
Размер в миллиметрах
Вместимость, л | | | | |
Номин. | Пред. откл. |
1, | 0,1 | 195 | 50 | 155 | 1,5 |
2,0 | 0,2 | 260 | 50 | 185 |
3,0 | 0,3 | 295 | 50 | 200 |
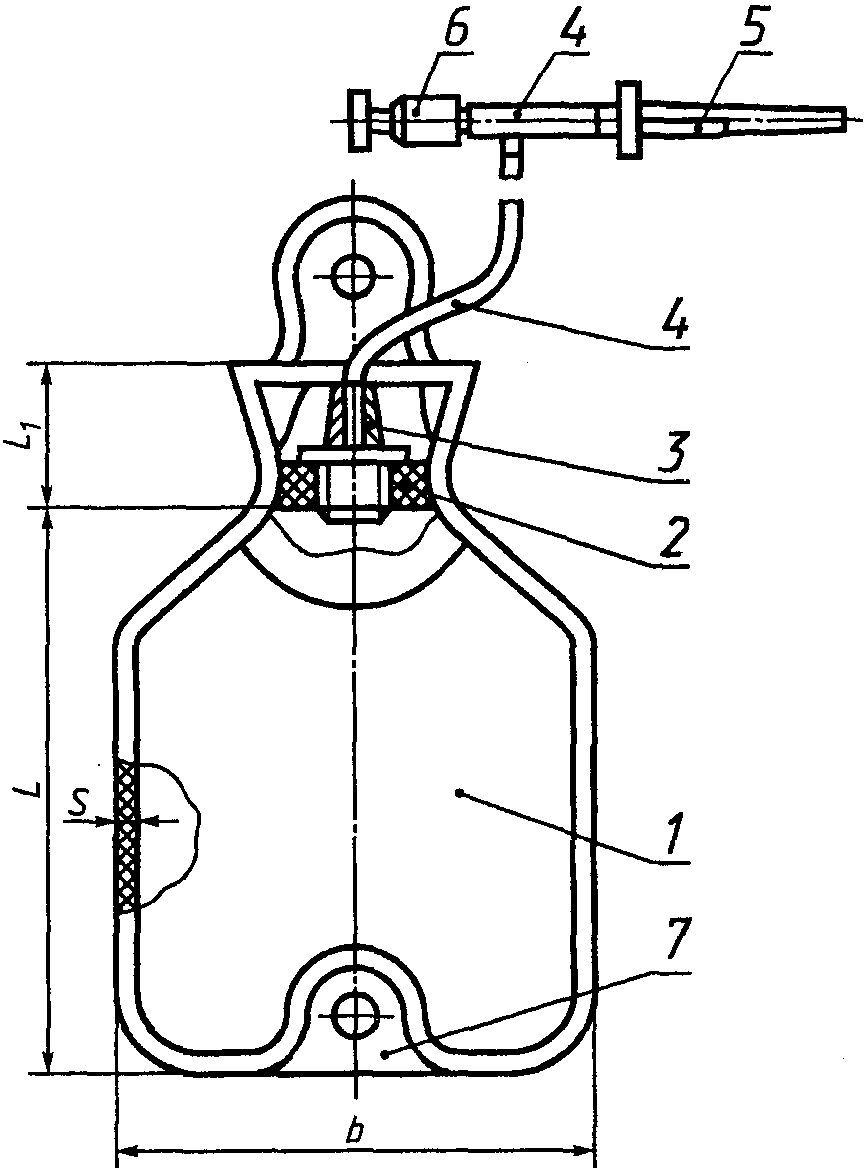
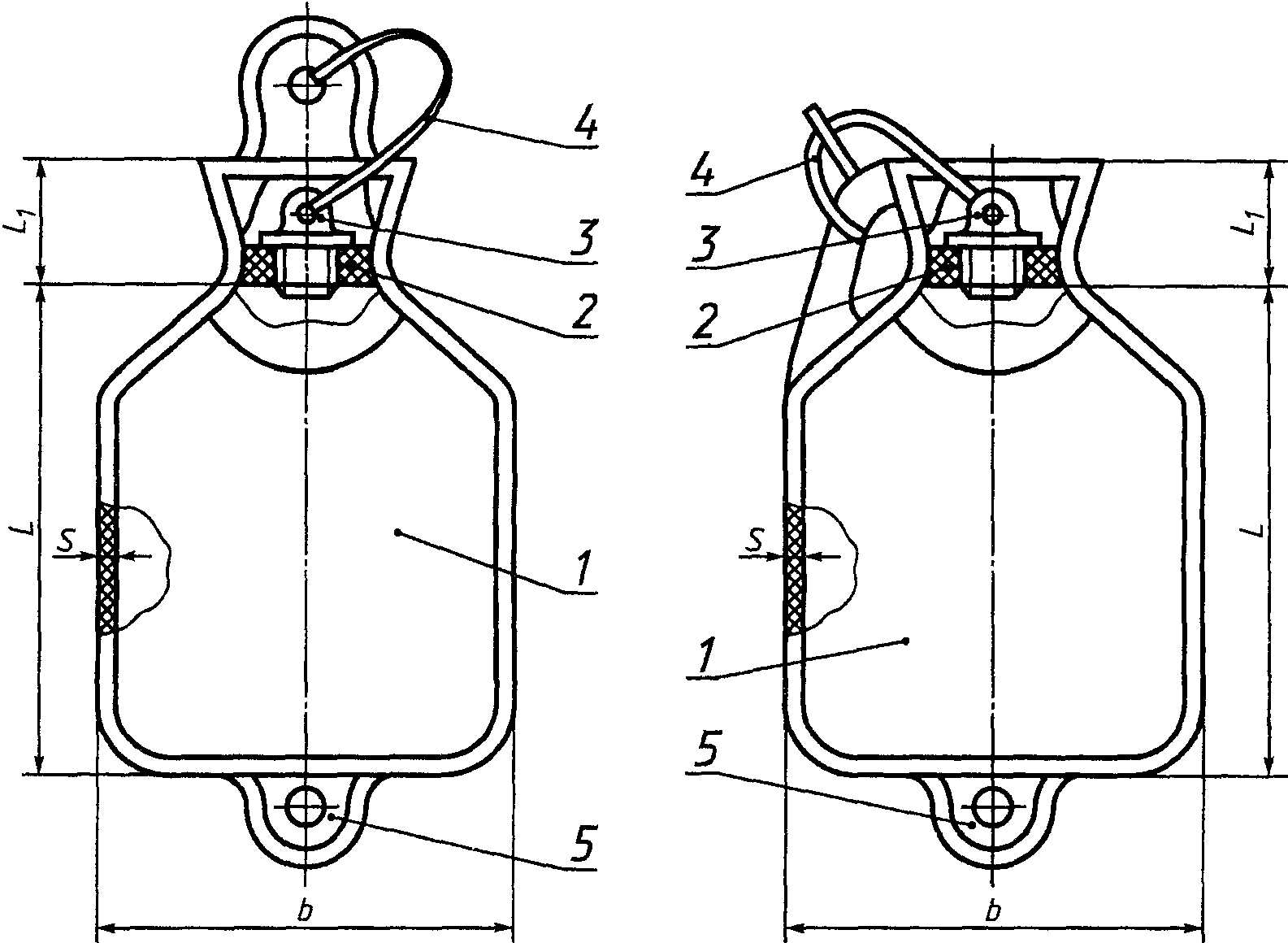
Грелки с выступающей петлей
Грелка с втянутой петлей
1 - корпус грелки; 2 - втулка; 3 - пробка;
4 - резиновая ленточка; 5 - петля
Рисунок 1. Грелки типа А в сборе
Грелки с выступающей петлей
Грелка с втянутой петлей
1 - корпус горелки; 2 - втулка; 3 - винтовой затвор
со сквозным отверстием; 4 - резиновая трубка;
5 - наконечник; 6 - поворотный кран; 7 - петля
Рисунок 2. Грелки типа Б в сборе
3.3. Для грелок типа Б рекомендуется использовать резиновую трубку внутренним диаметром (8,0 +/- 0,5) мм, толщиной стенки (1,5 +/- 0,5) мм и длиной не менее 1400 мм. Трубка может состоять из двух отрезков при длине меньшего отрезка не менее 100 мм.
Пример условного обозначения грелки для местного согревания тела вместимостью 3,0 л:
Грелка А 3 ГОСТ 3303-94
То же, грелки в чехле:
Грелка

3 ГОСТ 3303-94
4. Технические требования
4.1. Характеристики
4.1.1. Грелки должны быть герметичными.
4.1.2. Грелки должны быть стойкими к многократной дезинфекции одним из следующих дезинфицирующих агентов;
- 1%-ного (по массе) раствора хлорамина;
- 3%-ного (по массе) раствора перекиси водорода по
ГОСТ 177;
- 3%-ного (по массе) раствора перекиси водорода по
ГОСТ 177 с добавлением 0,5%-ного (по массе) раствора моющего средства по
ГОСТ 25644.
После 100 циклов дезинфекции грелки не должны деформироваться, на их поверхности не должны появляться трещины.
4.1.3. Грелки типа А должны быть стойкими к воздействию воды по
ГОСТ 2874 температурой (70 +/- 2) °С.
После обработки грелки должны быть герметичными.
4.1.4. Грелки типа Б должны быть стойкими к воздействию 1%-ных (по массе) водных растворов уксусной кислоты по
ГОСТ 18270 и марганцовокислого калия по
ГОСТ 20490 температурой (70 +/- 2) °С.
После обработки указанными растворами грелки должны быть герметичными. Изменение цвета резины отклонением от нормы не считают.
4.1.5. Грелки в упаковке предприятия-изготовителя должны выдерживать климатические воздействия при транспортировании от минус 50 до плюс 50 °С.
4.1.6. Нечеткость отдельных элементов рисунка, деформированность рифов от наличия литника, разноцветность в виде отдельных точек или разводов другого цвета и за счет выцветания ингредиентов, следы клея на втулке и внутренней поверхности горловины грелки, разнотонность для корпуса грелки типа Б и трубки отклонениями от норм не считают.
4.1.7. На корпусе грелок не рекомендуются внешневидовые отклонения, превышающие указанные в таблице 2.
Таблица 2
Наименование показателя | Значение |
Включения | Размером более 2 мм в количестве более 8 шт. на каждой стороне |
Недопрессовка на утолщенных частях корпуса грелки, венчиках и местах стыка на горловине грелки | Размером более 10 мм |
Срезы на утолщенных частях грелки и венчика | Размером более 1,5 мм |
Заделки поверхностных повреждений | Размером более 10 мм в количестве более 2 шт. |
Местные утонения или утолщения на корпусе грелки | От 0,8 до 2,2 мм |
Выпрессовка | Размером более 2 мм |
Наплывы в горловине над втулкой | Шириной более 5 мм, длиной более 50 мм |
Недооформленность рифов | Размером более 10 мм на трех не расположенных рядом рифах |
4.2. Требования к материалам и комплектующим изделиям
4.2.1. Комплектующие изделия и ткани для чехлов должны соответствовать требованиям нормативной документации.
4.2.2. Рецептуры резин для изготовления грелок и материалы для изготовления комплектующих изделий, ткани на основе синтетических и смешанных волокон для изготовления чехлов должны иметь соответствующее разрешение органов здравоохранения.
Количество химических веществ, мигрирующих из резины, не должно превышать норм, установленных в "Методических
указаниях по санитарно-гигиенической оценке резиновых и латексных изделий медицинского назначения", утвержденных Минздравом СССР 19.12.86.
4.2.3. Наконечники грелок типа Б должны выдерживать стерилизацию 6%-ным (по массе) раствором перекиси водорода по
ОСТ 42-21-2. После стерилизации наконечники должны соответствовать требованиям нормативной документации.
4.2.4. Физико-механические показатели резин, применяемые для изготовления грелок, приведены в таблице 3.
Таблица 3
Наименование | Значение |
Условная прочность при растяжении, МПа (кгс/см2), не менее | 6,5 (65) |
Относительное удлинение при разрыве, %, не менее | 500 |
Относительная остаточная деформация после разрыва, %, не более | 50 |
Изменение относительного удлинения после старения при температуре (70 +/- 1) °С в течение (72 +/- 1) ч или при температуре (100 +/- 1) °С в течение (24 +/- 0,5) ч, % | +/- 25 |
4.3.1. Грелки должны поставляться комплектно в соответствии с таблицей 4.
Таблица 4
Наименование | Количество, шт., для грелок типа |
А | Б |
Грелка в сборе | 1 | 1 |
или | | |
корпус грелки с вмонтированной втулкой | 1 | 1 |
Пробка | 1 | 1 |
Резиновая ленточка | 1 | 1 |
Винтовой затвор со сквозным отверстием | - | 1 |
Наконечники: | | |
для детей | - | 1 |
для взрослых | - | 1 |
маточный | - | 1 |
Резиновая трубка | - | 1 |
Поворотный кран | - | 1 |
Инструкция по эксплуатации (Приложение А) | - | 1 |
Ярлык | 1 | 1 |
Примечание. Допускается инструкцию и ярлык объединять в один документ. |
4.4.1. На грелке оттиском гравировки на пресс-форме или маркировочной краской, или на ярлыке, или сочетанием указанных способов должны быть указаны:
- товарный знак предприятия-изготовителя;
- наименование изделия;
- тип грелки;
- вместимость;
- обозначение настоящего стандарта;
- дата изготовления (квартал, год - две последние цифры);
- штамп технического контроля или номер упаковщика.
4.4.2. На каждую коробку или ящик должен быть наклеен ярлык с указанием:
- наименования предприятия-изготовителя и его товарного знака;
- условного обозначения изделия;
- даты изготовления (квартала, года - две последние цифры);
- количества изделий.
4.4.3. Транспортная маркировка - по
ГОСТ 14192 с нанесением следующих дополнительных обозначений:
- наименования изделия;
- количества изделий.
4.4.4. Маркировка грелок, предназначенных на экспорт, должна соответствовать условиям договора между предприятием-изготовителем и внешнеэкономической организацией или условием контракта.
| | ИС МЕГАНОРМ: примечание. ГОСТ 9421-80 утратил силу с 1 июля 2014 года в части картона для изготовления тары для пищевой продукции в связи с введением в действие ГОСТ 32096-2013 (Приказ Росстандарта от 01.08.2013 N 471-ст). | |
| | ИС МЕГАНОРМ: примечание. ГОСТ 13512-91 и ГОСТ 13513-86 утратили силу на территории Российской Федерации с 1 марта 2012 года в связи с введением в действие ГОСТ Р 54463-2011 (Приказ Росстандарта от 30.09.2011 N 433-ст). | |
4.5.1. Грелки одного типа и вместимости упаковывают в коробки из картона по
ГОСТ 7933, ГОСТ 9421 или в ящики из гофрированного картона по
ГОСТ 13511, ГОСТ 13512, ГОСТ 13513.
Грелки типа А с упакованными в бумагу
(ГОСТ 8273) или пакет из полиэтиленовой пленки
(ГОСТ 10354) пробками и резиновыми ленточками либо грелки в собранном виде упаковывают в коробки в количестве не более 10 шт., в ящики - не более 50 шт.
Грелки типа Б упаковывают в коробки в количестве не более 5 комплектов, в ящики - не более 30 комплектов.
4.5.2. Каждая коробка или ящик должны быть оклеены клеевой лентой по
ГОСТ 18251 или перевязаны шпагатом по
ГОСТ 17308, или другими средствами в соответствии с нормативной документацией, обеспечивающими сохранность изделий.
4.5.4. Допускается транспортировать грелки, упакованные по 4.5.1, в контейнерах и крытых автофургонах, а также при внутригородских перевозках без упаковки в ящики по 4.5.3.
4.5.5. Допускается грелки, упакованные по 4.5.3, транспортировать по
ГОСТ 21650. Габаритные размеры и масса пакетов должны соответствовать требованиям
ГОСТ 24597.
4.5.6. Упаковка, масса грузового места грелок, предназначенных на экспорт, должны соответствовать условиям договора между предприятием-изготовителем и внешнеэкономической организацией или условиям контракта.
5. Требования безопасности и охраны окружающей среды
5.1. Грелки при эксплуатации не выделяют вредных и токсичных веществ.
5.2. Производственные процессы изготовления грелок должны соответствовать требованиям
ГОСТ 12.3.002.
5.3. Требования к технологическому оборудованию должны соответствовать санитарным правилам организации технологических процессов, гигиеническим требованиям к производственному оборудованию N 1042, утвержденным Минздравом СССР.
5.4. Концентрация стирола в воздухе рабочей зоны производственных помещений при переработке резиновых смесей для грелок не должна превышать предельно допустимой концентрации 30/10 мг/м3, класс опасности - III по
ГОСТ 12.1.005. Определение стирола - в соответствии с "Техническими условиями на методы определения вредных веществ в воздухе". - Вып. IX. М.: ВЦНИИОТ ВЦСПС, 1975.
5.5. Периодичность контроля воздуха рабочей зоны должна соответствовать
ГОСТ 12.1.005.
Санитарно-бытовые условия помещений должны соответствовать
СНиП 2.09.04.
5.7. Защита работающих должна быть по
ГОСТ 12.4.011 и в соответствии с типовыми отраслевыми нормами бесплатной выдачи рабочим и служащим специальной одежды, специальной обуви и других средств индивидуальной защиты N 241/XI-91, утвержденными Президиумом ВЦСПС 18.08.80.
5.8. Инструктаж по технике безопасности работающих проводят в соответствии с
ГОСТ 12.0.004 и отраслевыми руководящими материалами по охране труда, утвержденными в установленном порядке.
5.9. Защита окружающей среды должна быть обеспечена контролем за соблюдением предельно допустимых выбросов (ПДВ) или временно согласованных выбросов (ВСВ) в соответствии с
ГОСТ 17.2.3.02.
5.10. Отходы производства грелок используют для изготовления товаров народного потребления и резинотехнических изделий.
Отходы, не перерабатываемые во вторсырье, должны направляться на специальные полигоны в соответствии с санитарными нормами N 3180, утвержденными Минздравом СССР 29.12.84, или в накопители твердых бытовых отходов, в зависимости от классификации отходов, установленной органами и учреждениями госсаннадзора.
6.1. Грелки принимают партиями. Партией считают грелки одного типа в количестве суточного выпуска, но не более 15000 шт.
6.2. Для проверки соответствия грелок требованиям настоящего стандарта изготовитель проводит приемосдаточные, периодические и типовые испытания.
6.3. При проведении приемосдаточных испытаний проверяют герметичность грелок сжатым воздухом по
4.1.1, внешний вид грелок по
4.1.6,
4.1.7, длину резиновой трубки по
3.3, комплектность по
4.3, маркировку по
4.4, упаковку по
4.5 сплошным контролем или выборочно в соответствии с таблицей 5.
Таблица 5
Контролируемый параметр | Приемочный уровень дефектности (AQL), % | Вид дефекта |
Герметичность при испытании сжатым воздухом | 0,65 | Значительный |
| 1,50 | Малозначительный А |
| 2,50 | Малозначительный Б |
Длина резиновой трубки, комплектность, маркировка, упаковка | 2,50 | То же |
Контроль осуществляют в соответствии с ГОСТ 1824 по одноступенчатому плану выборочного контроля, уровень контроля - 1, вид контроля - нормальный. Объем выборки, приемочные и браковочные числа устанавливают в соответствии с
ГОСТ 18242 в зависимости от объема партии и AQL. Выборку осуществляют из полностью сформированной партии. Правила отбора единиц в выборку - по
ГОСТ 18321.
Нормальный вид контроля является основным.
Переход на усиленный контроль осуществляют в том случае, когда в ходе нормального контроля две из пяти последовательных партий были забракованы.
Если при усиленном контроле пять очередных партий будут приняты, переходят на нормальный контроль.
Партию считают годной, если найденное число дефектных единиц в выборке для данного вида контроля меньше или равно приемочному числу. Если число дефектных единиц равно или больше браковочного числа, партию бракуют.
6.4. Периодические испытания проводят на грелках, выдержавших приемосдаточные испытания. При проведении периодических испытаний проверяют:
- герметичность при испытании водой по
4.1.1 - один раз в квартал на 0,1 % грелок от партии, но не менее 15 шт.;
- герметичность грелок типа Б по
4.1.1 - один раз в год на 0,1% грелок от партии, но не менее 15 шт.;
- толщину стенок грелок по
3.2 - не реже одного раза в месяц на 0,1% грелок от партии, но не менее 15 шт.
6.5. Физико-механические показатели резин, используемых в производстве грелок по
4.2.4, рекомендуется проверять на одной закладке резиновой смеси не реже одного раза в месяц.
6.6. Типовые испытания проводят при изменении рецептуры, технологии изготовления и замене оснастки.
При изменении рецептуры, технологии изготовления изделие испытывают по программе приемосдаточных, периодических испытаний и по
4.1.2 (стойкость к дезинфекции),
4.1.3 (стойкость к горячей воде),
4.1.4 (стойкость к лекарственным средам) - на 0,5% грелок от партии, но не менее 5 шт.,
4.1.5 (устойчивость к климатическим факторам при транспортировании) - на трех коробках или ящиках от партии.
При замене оснастки проводят типовые испытания по вместимости грелок по
3.2 и линейным измерениям в соответствии с чертежами - на двух грелках, изготовленных на каждой новой оснастке.
6.7. При получении неудовлетворительных результатов испытаний хотя бы по одному из показателей проводят повторные испытания на удвоенной выборке, взятой от той же партии.
Результаты повторных испытаний распространяют на всю партию.
При неудовлетворительных результатах повторных испытаний по одному из показателей их переводят в приемосдаточные по этому же показателю до получения положительных результатов испытаний не менее чем на пяти партиях подряд, после чего испытания по этому показателю переводят в периодические.
7.1. Размеры и вместимость грелок всех типов по
3.2 рекомендуется проверять:
- линейные измерения - линейкой по
ГОСТ 427;
- толщину стенки - толщиномером с ценой деления 0,01 мм по
ГОСТ 11358 или штангенциркулем с отсчетом по нониусу 0,05 мм по
ГОСТ 166, для чего грелку разрезают по шву на две половины и измеряют толщину каждой стенки не менее чем в пяти равноудаленных друг от друга точках. Результат каждого испытания должен соответствовать норме;
- вместимость - стеклянным цилиндром по
ГОСТ 1770.
| | ИС МЕГАНОРМ: примечание. Взамен ГОСТ 7502-89 Постановлением Госстандарта России от 27.07.1999 N 220-ст с 1 июля 2000 года введен в действие ГОСТ 7502-98. | |
7.2. Длину трубки к грелкам типа Б по
3.3 рекомендуется проверять рулеткой по ГОСТ 7502.
7.3. При определении герметичности грелок типа А по
4.1.1 их испытывают двумя способами:
- грелки наполняют сжатым воздухом до избыточного давления не менее 0,02 МПа и погружают в ванну с водой. При этом не должны появляться пузыри воздуха;
- грелки наполняют на 3/4 объема водой, плотно завинчивают пробку и вытирают насухо. Находясь не менее 1 ч под действием груза в 25 кг или испытывая давление не менее 0,007 МПа, грелки не должны давать течи.
Создаваемое давление должно контролироваться манометром класса точности 2,5 по
ГОСТ 2405, измеряемое давление должно составлять от 25% до 75% диапазона показаний манометра.
7.4. Герметичность грелок типа Б по
4.1.1 определяют следующим образом: грелки наполняют на 3/4 объема водой, закрывают поворотный кран и подвешивают за петлю не менее чем на 3 ч. В местах соединения деталей грелки не должно быть капель воды.
7.5. Стойкость грелок к многократной дезинфекции по
4.1.2 (режимы дезинфекции, условия ее проведения, применяемое оборудование) - по
ОСТ 42-21-2. Количество циклов дезинфекции - 100 с интервалами между обработками не менее 15 мин.
7.6. Стойкость грелок к горячей воде по
4.1.3 определяют следующим образом: заполняют грелку на 3/4 объема водой температурой (70 +/- 2) °С, плотно завинчивают пробку, вытирают насухо, помещают в термостат, обеспечивающий поддержание температуры испытаний в рабочем объеме с предельной погрешностью +/- 2 °С, и выдерживают при температуре (70 +/- 2) °С в течение (24 +/- 1) ч.
По истечении указанного времени грелки вынимают и испытывают на герметичность вторым способом по
7.3.
7.7. Стойкость грелок к лекарственным средам по
4.1.4 определяют следующим образом: заполняют грелку на 3/4 объема раствором температурой (70 +/- 2) °С, плотно завинчивают пробку, вытирают насухо, помещают в термостат, обеспечивающий поддержание температуры испытаний в рабочем объеме с предельной погрешностью +/- 2 °С, и выдерживают при температуре (70 +/- 2) °С в течение (24 +/- 1) ч. По истечении указанного времени грелки вынимают, заменяют пробку на систему винтовой затвор - трубка - поворотный кран и испытывают по
7.4 на соответствие требованиям
4.1.1.
7.8. Устойчивость грелок при транспортировании к воздействию климатических факторов по
4.1.5 определяют выдерживанием упакованных в транспортную тару грелок в испытательной камере при температуре воздуха минус (50 +/- 3) °С и (50 +/- 3) °С в течение 4 ч с последующей выдержкой в нормальных климатических условиях по
ГОСТ 15150 в течение 4 ч после каждого испытания.
После испытания грелки должны соответствовать требованиям
4.1.1.
7.9. Наличие внешневидовых отклонений на поверхности грелок по
4.1.6,
4.1.7, комплектность по
4.3, маркировку по
4.4, упаковку по
4.5 проверяют визуально.
7.10. Размеры внешневидовых отклонений по
4.1.7 рекомендуется проверять линейкой по
ГОСТ 427, толщиномером ценой деления 0,01 мм по
ГОСТ 11358, штангенциркулем с отсчетом по нониусу 0,05 мм по
ГОСТ 166.
Для определения размеров местных утонений (утолщений) каждую стенку грелки, как правило, складывают вдвое и измеряют в двух равноудаленных точках. Результат каждого измерения делят на два.
7.11. Стойкость наконечников грелок типа Б к стерилизации по
4.2.3 определяют по ОСТ 41-21-2.
Предстерилизационную очистку в течение 0,5 мин проводят моющим раствором, содержащим 27,5%-ный раствор перекиси водорода (17 см3), моющее средство типа "Лотос" (5 г), воду питьевую (978 см3), ополаскивают под проточной водой.
Стерилизацию проводят 6%-ным (по массе) раствором перекиси водорода при температуре не менее 18 °С в течение 360 мин.
После предстерилизационной очистки и стерилизации наконечники проверяют на соответствие нормативной документации.
7.12. Физико-механические показатели резины по
4.2.4 определяют по
ГОСТ 270 и
ГОСТ 9.024 на лабораторных образцах типа I или II, изготовленных на резиновой смеси.
8. Транспортирование и хранение
8.1. Грелки, упакованные в соответствии с требованиями настоящего стандарта, транспортируют любым видом транспорта, в крытых транспортных средствах, при температуре от минус 50 до плюс 50 °С по
ГОСТ 15150, группа 5 (ОЖ4), в соответствии с правилами, действующими на данном виде транспорта.
8.2. Грелки следует хранить в упакованном виде в закрытом складском помещении по группе условий хранения 2 (С) по
ГОСТ 15150 при температуре от 0 до 25 °С и относительной влажности воздуха не выше 80% на расстоянии не менее 1 м от нагревательных приборов, защищенными от воздействия прямых солнечных лучей.
8.3. При транспортировании и хранении грелки не должны подвергаться действию масел, растворителей, кислот, щелочей и других веществ, разрушающих резину.
9.1. Изготовитель гарантирует соответствие грелок требованиям настоящего стандарта при соблюдении условий транспортирования, хранения, эксплуатации.
9.2. Гарантийный срок хранения грелок - 3,5 года с момента изготовления.
9.3. Гарантийный срок эксплуатации - два года со дня ввода в эксплуатацию.
(обязательное)
ИНСТРУКЦИЯ ПО ЭКСПЛУАТАЦИИ ГРЕЛОК ТИПА Б
1. Введение
Настоящая инструкция предназначена для ознакомления потребителя со сведениями, необходимыми для обеспечения правильного использования и хранения грелки типа Б.
В инструкции указаны назначение, комплектность, правила использования и хранения грелки типа Б.
2. Назначение
Грелка типа Б предназначена для местного согревания тела (грелка с пробкой), промываний и спринцеваний (грелка с комплектующими деталями).
Комплектность
а) грелка в сборе | 1 шт. |
или | |
1) корпус грелки с вмонтированной втулкой | 1 шт. |
2) пробка | 1 шт. |
3) резиновая ленточка | 1 шт. |
4) винтовой затвор со сквозным отверстием | 1 шт. |
5) наконечники: | |
для детей | 1 шт. |
для взрослых | 1 шт. |
маточный | 1 шт. |
6) резиновая трубка | 1 шт. или 2 отрезка |
7) поворотный кран | 1 шт. |
б) инструкция по эксплуатации | 1 шт. |
в) ярлык | 1 шт. |
3. Правила пользования
а) Промыть грелку горячей водой температурой не выше 90 °С, снаружи протереть два раза марлевым тампоном, смоченным в 1%-ном (по массе) растворе хлорамина или 3%-ном (по массе) растворе перекиси водорода, или 3%-ном (по массе) растворе перекиси водорода с добавлением 0,5%-ного раствора (по массе) моющего средства ("Новость", "Астра", "Прогресс", "Лотос"), затем промыть проточной водой.
При применении грелки для местного согревания тела во втулку вкрутить пробку.
б) При применении грелки для промывания и спринцевания пробку заменить на винтовой затвор со сквозным отверстием, на свободный конец которого надеть резиновую трубку. В другой конец резиновой трубки вставить наконечник. При наличии двух отрезков трубки использовать длинный отрезок.
При пользовании поворотным краном резиновую трубку разрезать на два отрезка, если трубка цельная. Отрезок большей длины одним концом надеть на свободный конец винтового затвора, а другим - на поворотный кран. Отрезок меньшей длины одним концом надеть на свободный выход поворотного крана, в другой вставить наконечник.
в) Перед каждым применением для промывания и спринцевания грелку вместе с присоединенной для этих целей системой по подпункту б) продезинфицировать одним из вышеуказанных растворов по подпункту а), присоединить простерилизованный наконечник.
г) Режимы дезинфекции, предстерилизованной очистки и стерилизации, применяемые химикаты, последовательность обработки - по
ОСТ 42-21-2.
д) При индивидуальном пользовании возможна дезинфекция грелки с системой растворами по подпункту а) не перед каждым применением. При этом грелку с системой промыть горячей водой температурой не выше 90 °С, присоединить наконечник, обработанный 1%-ным (по массе) раствором хлорамина в течение 30 мин или 3%-ным (по массе) раствором перекиси водорода в течение 80 мин и промыть горячей проточной водой.
е) После каждого применения наконечник грелки, используемой в лечебном учреждении, погрузить в один из дезинфицирующих растворов по подпункту а) согласно
ОСТ 42-21-2.
После каждого применения наконечник для индивидуального пользования промыть проточной водой с мылом, ополоснуть.
ж) После применения грелки для местного согревания тела освободить от воды и подвесить за петлю. Грелку для промывания и спринцевания вместе с системой для этих целей промыть горячей проточной водой и подвесить за петлю. При этом поворотный кран открыть для удаления воды.
4. Хранение
Грелку следует хранить в подвешенном за петлю состоянии в помещении при температуре от 0 до 25 °С на расстоянии не менее 1 м от нагревательных приборов.
Грелка не должна подвергаться действию прямых солнечных лучей, масел, бензина и других растворителей.
Изготовитель гарантирует качество грелки при соблюдении условий хранения и эксплуатации.
Гарантийный срок хранения грелки - 3,5 года с момента изготовления, гарантийный срок эксплуатации - два года с момента ввода в эксплуатацию.