Главная // Актуальные документы // ГОСТ (Государственный стандарт)СПРАВКА
Источник публикации
М.: Стандартинформ, 2016
Примечание к документу
Документ включен в
Перечень международных и региональных (межгосударственных) стандартов, а в случае их отсутствия - национальных (государственных) стандартов, в результате применения которых на добровольной основе обеспечивается соблюдение требований технического
регламента Таможенного союза "О безопасности оборудования, работающего под избыточным давлением" (ТР ТС 032/2013) и отдельные положения данного документа в
Перечень международных и региональных (межгосударственных) стандартов, а в случае их отсутствия - национальных (государственных) стандартов, содержащих правила и методы исследований (испытаний) и измерений, в том числе правила отбора образцов, необходимые для применения и исполнения требований технического
регламента Таможенного союза "О безопасности оборудования, работающего под избыточным давлением" (ТР ТС 032/2013) и осуществления оценки соответствия объектов технического регулирования (
Решение Коллегии Евразийской экономической комиссии от 11.06.2019 N 96).
Документ
введен в действие с 1 августа 2016 года.
Название документа
"ГОСТ 33368-2015. Межгосударственный стандарт. Магистральный трубопроводный транспорт нефти и нефтепродуктов. Фильтры. Общие технические условия"
(введен в действие Приказом Росстандарта от 08.12.2015 N 2115-ст)
"ГОСТ 33368-2015. Межгосударственный стандарт. Магистральный трубопроводный транспорт нефти и нефтепродуктов. Фильтры. Общие технические условия"
(введен в действие Приказом Росстандарта от 08.12.2015 N 2115-ст)
агентства по техническому
регулированию и метрологии
от 8 декабря 2015 г. N 2115-ст
МЕЖГОСУДАРСТВЕННЫЙ СТАНДАРТ
МАГИСТРАЛЬНЫЙ ТРУБОПРОВОДНЫЙ ТРАНСПОРТ
НЕФТИ И НЕФТЕПРОДУКТОВ
ФИЛЬТРЫ
ОБЩИЕ ТЕХНИЧЕСКИЕ УСЛОВИЯ
Oil and oil products trunk pipeline transportation.
Filters. General technical specifications
ГОСТ 33368-2015
Дата введения
1 августа 2016 года
Цели, основные принципы и основной порядок проведения работ по межгосударственной стандартизации установлены
ГОСТ 1.0-92 "Межгосударственная система стандартизации. Основные положения" и
ГОСТ 1.2-2009 "Межгосударственная система стандартизации. Стандарты межгосударственные, правила, рекомендации по межгосударственной стандартизации. Правила разработки, принятия, применения, обновления и отмены"
1 РАЗРАБОТАН Обществом с ограниченной ответственностью "Научно-исследовательский институт транспорта нефти и нефтепродуктов Транснефть" (ООО "НИИ Транснефть")
2 ВНЕСЕН подкомитетом ПК 7 "Магистральный трубопроводный транспорт нефти и нефтепродуктов" межгосударственного технического комитета по стандартизации МТК 523 "Техника и технологии добычи и переработки нефти и газа"
3 ПРИНЯТ Межгосударственным советом по стандартизации, метрологии и сертификации (протокол от 22 июля 2015 г. N 78-П)
За принятие проголосовали:
Краткое наименование страны по МК (ИСО 3166) 004-97 | Код страны по МК (ИСО 3166) 004-97 | Сокращенное наименование национального органа по стандартизации |
Армения | AM | Минэкономики Республики Армения |
Беларусь | BY | Госстандарт Республики Беларусь |
Казахстан | KZ | Госстандарт Республики Казахстан |
Киргизия | KG | Кыргызстандарт |
Россия | RU | Росстандарт |
Таджикистан | TJ | Таджикстандарт |
4
Приказом Федерального агентства по техническому регулированию и метрологии от 8 декабря 2015 г. N 2115-ст межгосударственный стандарт ГОСТ 33368-2015 введен в действие в качестве национального стандарта Российской Федерации с 1 августа 2016 г.
5 ВВЕДЕН ВПЕРВЫЕ
Информация об изменениях к настоящему стандарту публикуется в ежегодном информационном указателе "Национальные стандарты" (по состоянию на 1 января текущего года), а текст изменений и поправок - в ежемесячном информационном указателе "Национальные стандарты". В случае пересмотра (замены) или отмены настоящего стандарта соответствующее уведомление будет опубликовано в ежемесячном информационном указателе "Национальные стандарты". Соответствующая информация, уведомление и тексты размещаются также в информационной системе общего пользования - на официальном сайте Федерального агентства по техническому регулированию и метрологии в сети Интернет (www.gost.ru)
1.1 Настоящий стандарт распространяется на фильтры, размещаемые на нефтеперекачивающих станциях магистральных нефтепроводов и нефтепродуктопроводов номинальным диаметром до DN 1200 на номинальное давление до PN 10,0 МПа включительно, предназначенные для очистки перекачиваемой нефти и нефтепродуктов от содержащихся в них твердых предметов и частиц.
1.2 Настоящий стандарт не распространяется на фильтры, применяемые для тонкой очистки авиатоплива (от 5 до 20 мкм).
1.3 Настоящий стандарт предназначен для применения организациями стран, входящих в Межгосударственный совет по стандартизации, метрологии и сертификации, осуществляющими проектирование, разработку, изготовление, приемку, транспортирование, хранение, эксплуатацию и утилизацию фильтров для магистральных нефтепроводов и нефтепродуктопроводов.
В настоящем стандарте использованы нормативные ссылки на следующие межгосударственные стандарты:
ГОСТ 2.102-2013 Единая система конструкторской документации. Виды и комплектность конструкторских документов
ГОСТ 2.103-68 Единая система конструкторской документации. Стадии разработки
ГОСТ 9.014-78 Единая система защиты от коррозии и старения. Временная противокоррозионная защита изделий. Общие требования
ГОСТ 9.407-84 Единая система защиты от коррозии и старения. Покрытия лакокрасочные. Метод оценки внешнего вида
ГОСТ 12.1.007-76 Система стандартов безопасности труда. Вредные вещества. Классификация и общие требования безопасности
ГОСТ 12.1.010-76 Система стандартов безопасности труда. Взрывобезопасность. Общие требования
ГОСТ 12.2.003-91 Система стандартов безопасности труда. Оборудование производственное. Общие требования безопасности
ГОСТ 12.2.044-80 Система стандартов безопасности труда. Машины и оборудование для транспортирования нефти. Требования безопасности
ГОСТ 12.2.063-81 <1> Система стандартов безопасности труда. Арматура промышленная трубопроводная. Общие требования безопасности
--------------------------------
<1> На территории Российской Федерации действует
[1].
ГОСТ 12.3.009-76 Система стандартов безопасности труда. Работы погрузочно-разгрузочные. Общие требования безопасности
ГОСТ 15.309-98 Система разработки и постановки продукции на производство. Испытания и приемка выпускаемой продукции. Основные положения
ГОСТ 27.002-89 Надежность в технике. Основные понятия. Термины и определения
ГОСТ 27.003-90 Надежность в технике. Состав и общие правила задания требований по надежности
--------------------------------
<2> На территории Российской Федерации действует
[2].
ГОСТ 511-82 Топливо для двигателей. Моторный метод определения октанового числа
ГОСТ 1639-2009 Лом и отходы цветных металлов и сплавов. Общие технические условия
ГОСТ 1667-68 Топливо моторное для среднеоборотных и малооборотных дизелей. Технические требования
ГОСТ 2405-88 Манометры, вакуумметры, мановакуумметры, напоромеры, тягомеры и тягонапоромеры. Общие технические условия
ГОСТ 2787-75 Металлы черные вторичные. Общие технические условия
ГОСТ 2999-75 Металлы и сплавы. Методы измерения твердости по Виккерсу
ГОСТ 4543-71 Прокат из легированной конструкционной стали. Технические условия
ГОСТ 5520-79 Прокат листовой из углеродистой, низколегированной и легированной стали для котлов и сосудов, работающих под давлением. Технические условия
ГОСТ 6533-78 Днища эллиптические отбортованные стальные для сосудов, аппаратов и котлов. Основные размеры
ГОСТ 6996-66 Сварные соединения. Методы определения механических свойств
ГОСТ 8226-82 Топливо для двигателей. Исследовательский метод определения октанового числа
ГОСТ 8479-70 Поковки из конструкционной углеродистой и легированной стали. Общие технические условия
ГОСТ 9012-59 (ИСО 410-82, ИСО 6506-81) Металлы. Метод измерения твердости по Бринеллю
ГОСТ 10227-86 Топлива для реактивных двигателей. Технические условия
ГОСТ 10433-75 Топливо нефтяное для газотурбинных установок. Технические условия
ГОСТ 12816-80 Фланцы арматуры, соединительных частей и трубопроводов на P
у от 0,1 до 20,0 МПа (от 1 до 200 кгс/см
2). Общие технические требования
ГОСТ 12971-67 Таблички прямоугольные для машин и приборов. Размеры
ГОСТ 13716-73 Устройства строповые для сосудов и аппаратов. Технические условия
ГОСТ 14249-89 Сосуды и аппараты. Нормы и методы расчета на прочность
ГОСТ 15150-69 Машины, приборы и другие технические изделия. Исполнения для различных климатических районов. Категории, условия эксплуатации, хранения и транспортирования в части воздействия климатических факторов внешней среды
ГОСТ 19007-73 Материалы лакокрасочные. Метод определения времени и степени высыхания
ГОСТ 21752-76 Система "Человек-машина". Маховики управления и штурвалы. Общие эргономические требования
ГОСТ 23170-78 Упаковка для изделий машиностроения. Общие требования
ГОСТ 26349-84 Соединения трубопроводов и арматура. Давления номинальные. Ряды
ГОСТ 28338-89 (ИСО 6708-80) Соединения трубопроводов и арматура. Номинальные диаметры. Ряды
ГОСТ 30546.1-98 Общие требования к машинам, приборам и другим техническим изделиям и методы расчета их сложных конструкций в части сейсмостойкости
Примечание - При пользовании настоящим стандартом целесообразно проверить действие ссылочных стандартов в информационной системе общего пользования - на официальном сайте Федерального агентства по техническому регулированию и метрологии в сети Интернет или по ежегодному информационному указателю "Национальные стандарты", который опубликован по состоянию на 1 января текущего года, и по выпускам ежемесячного информационного указателя "Национальные стандарты" за текущий год. Если ссылочный стандарт заменен (изменен), то при пользовании настоящим стандартом следует руководствоваться заменяющим (измененным) стандартом. Если ссылочный стандарт отменен без замены, то положение, в котором дана ссылка на него, применяется в части, не затрагивающей эту ссылку.
В настоящем стандарте применены термины по
ГОСТ 27.002, а также следующие термины с соответствующими определениями:
3.1 быстроразъемный концевой затвор: Устройство, размещаемое в концевой части фильтра, состоящее из крышки и поворотного механизма, обеспечивающее доступ во внутреннюю полость фильтра и герметизацию внутренней полости относительно внешней среды.
3.2 максимальный перепад давлений на фильтре: Перепад давлений на фильтре, при котором допускается эксплуатация фильтра с загрязненным фильтрующим элементом при номинальном расходе и заданном значении вязкости нефти или нефтепродуктов.
3.3 минимальный перепад давлений на фильтре: Перепад давлений на фильтре с незагрязненным фильтрующим элементом при номинальном расходе и заданном значении вязкости нефти или нефтепродуктов.
3.4 номинальное давление PN: Давление при температуре рабочей среды 20 °C, при котором обеспечивается заданный срок службы корпусных деталей фильтра, имеющих определенные размеры, обоснованные расчетом на прочность при выбранных материалах и характеристиках их прочности при температуре 20 °C.
3.5 номинальный диаметр DN: Диаметр, применяемый для трубопроводных систем в качестве характеристики присоединяемых частей фильтра.
Примечание - Номинальный диаметр может быть равен внутреннему диаметру присоединяемого трубопровода и соответствующему ближайшему значению из ряда чисел, принятых в установленном порядке.
3.6 номинальный расход через фильтр: Расход через фильтр при заданных значениях перепада давлений, обеспечивающий заданный режим эксплуатации нефтепровода или нефтепродуктопровода.
3.7 пробное давление PПР: Давление, при котором следует проводить гидравлическое испытание фильтра на прочность и плотность водой при температуре не менее 5 °C и не более 70 °C.
3.8 рабочее давление: Давление, при котором возможна длительная работа фильтра при выбранных материалах и заданной температуре.
3.9 расчетное давление: Давление, на которое производится расчет на прочность.
3.10 тонкость фильтрации: Максимальный размер нерастворенных твердых частиц загрязнителя, обнаруженных в отфильтрованной нефти или нефтепродуктах.
3.11 фильтр: Специальное устройство, обеспечивающее очистку перекачиваемой нефти или нефтепродуктов от механических примесей, посторонних предметов, глины, парафино-смолистых отложений и окалины, образующихся во время ремонта и эксплуатации линейной части магистрального нефтепровода или нефтепродуктопровода.
3.12 фильтрующий элемент: Часть фильтра, непосредственно осуществляющая очистку перекачиваемой среды.
В настоящем стандарте применены следующие сокращения:
ЗИП - запасные части, инструменты и принадлежности;
КД - конструкторская документация;
НД - нормативная документация;
ОТК - отдел технического контроля;
ТУ - технические условия;
ФГВ - вертикальный фильтр;
ФГГ - горизонтальный фильтр.
5.1 Фильтры в зависимости от конструктивного исполнения корпуса подразделяют на следующие типы:
- ФГГ;
- ФГВ.
5.2 ФГГ должны быть изготовлены в надземном исполнении.
5.3 ФГВ в зависимости от размещения подразделяют на следующие типы:
- подземного размещения;
- надземного размещения.
5.4 По номинальному давлению - в соответствии с
ГОСТ 26349.
5.5 По способу подвода рабочей среды ФГГ подразделяют на следующие типы:
- осевые;
- боковые.
5.6 В НД и ТУ предприятий-изготовителей должны быть установлены следующие параметры фильтра:
- номинальный диаметр присоединяемого трубопровода - по
ГОСТ 28338;
- номинальный расход нефти или нефтепродуктов через фильтр, м3/ч;
- тонкость фильтрации, мм;
- минимальный перепад давления на фильтре, МПа;
- максимальный перепад давления на фильтре, МПа.
6.1 Основные показатели и характеристики
6.1.1 Показатели назначения
6.1.1.1 Фильтры должны быть предназначены для работы с рабочей средой:
а) товарной нефтью с параметрами:
- плотность - от 700 до 900 кг/м3;
- давление насыщенных паров - не более 66700 Па (500 мм рт. ст.);
- вязкость - от

до

;
- массовая доля парафина - не более 7,0%;
- массовая доля серы - не более 3,5%;
- массовая доля воды - не более 1,0%;
- массовая доля воды в отдельных случаях - 5,0%;
- концентрация хлористых солей - не более 900 мг/дм3;
- массовая доля механических примесей - не более 0,05%;
б) нефтепродуктами, а именно:
1) автомобильным бензином <1> с параметрами:
--------------------------------
- октановое число, определяемое моторным методом, - по
ГОСТ 511;
- октановое число, определяемое исследовательским
- концентрация свинца - не более 2,5 мг/дм3;
- концентрация марганца - не более 0,25 мг/дм3;
- концентрация фактических смол на 100 см3 бензина - не более
5,0 мг;
- индукционный период бензина - не менее 360 мин;
- массовая доля серы - не более 0,05%;
- объемная доля бензола - не более 1%;
- плотность при температуре 15 °C - по ASTM D1298-12b
[5],
- концентрация железа - до 0,01 г/дм3;
3) топливом для реактивных двигателей - по
ГОСТ 10227;
--------------------------------
6.1.1.2 Температура рабочей среды:
- от минус 15 °C до 80 °C - для нефти;
- от минус 20 °C до 60 °C - для нефтепродуктов.
6.1.1.4 Фильтры должны быть предназначены для эксплуатации в макроклиматических районах с умеренным У и холодным ХЛ климатом, категория размещения 1 и типом атмосферы II по
ГОСТ 15150.
6.1.1.5 Фильтр должен пройти испытания на прочность совместно с примыкающими магистральными и технологическими трубопроводами давлением не выше PПР с выдержкой в течение 24 ч и на герметичность давлением не выше PN с выдержкой в течение 12 ч.
6.1.1.6 Номинальное давление фильтров - в соответствии с
ГОСТ 26349.
6.1.1.7 Давление PПР должно соответствовать следующим требованиям:
- для ФГГ - 1,5PN;
- для ФГВ - 1,25PN.
6.1.1.8 Тонкость фильтрации ФГГ определяется в зависимости от максимального размера механических примесей в рабочей среде и должна быть при работе со средой "товарная нефть и нефтепродукты" не более:
- 4,0 мм;
- 5,0 мм;
- 8,0 мм;
- 12,0 мм.
6.1.1.9 Тонкость фильтрации ФГВ определяется в зависимости от максимального размера механических примесей в рабочей среде:
1) товарная нефть должна быть не более:
- 4,0 мм;
- 5,0 мм;
- 8,0 мм;
- 12,0 мм;
- 12,5 мм;
2) нефтепродукты должны быть не более:
- 0,2 мм;
- 0,4 мм;
- 0,5 мм;
- 0,6 мм;
- 0,8 мм;
- 1,0 мм;
- 2,0 мм;
- 4,0 мм;
- 8,0 мм;
- 12,0 мм;
- 12,5 мм.
6.1.1.10 Минимальный перепад давления для фильтров - 0,03 МПа.
6.1.1.11 Максимальный перепад давления должен быть:
- 0,1 МПа - для ФГГ;
- 0,05 МПа - для ФГВ.
6.1.1.12 Значения максимального расхода нефти через фильтр - в соответствии с
приложением А.
6.1.1.13 Максимальный расход нефтепродуктов через фильтр в зависимости от
DN и
PN должен быть рассчитан для конкретного нефтепродукта [см.
6.1.1.1, перечисление б)] и указан в технической документации на фильтр.
6.1.2 Конструктивные требования
6.1.2.1 Конструкция фильтра должна обеспечивать надежность и безопасность эксплуатации в течение всего срока службы и предусматривать возможность проведения технического освидетельствования, очистки, полного опорожнения, продувки, ремонта, эксплуатационного контроля металла и соединений.
6.1.2.2 ФГГ должен представлять собой горизонтальный цилиндрический корпус, установленный на опоры. Внутри цилиндрического корпуса размещается фильтрующий элемент.
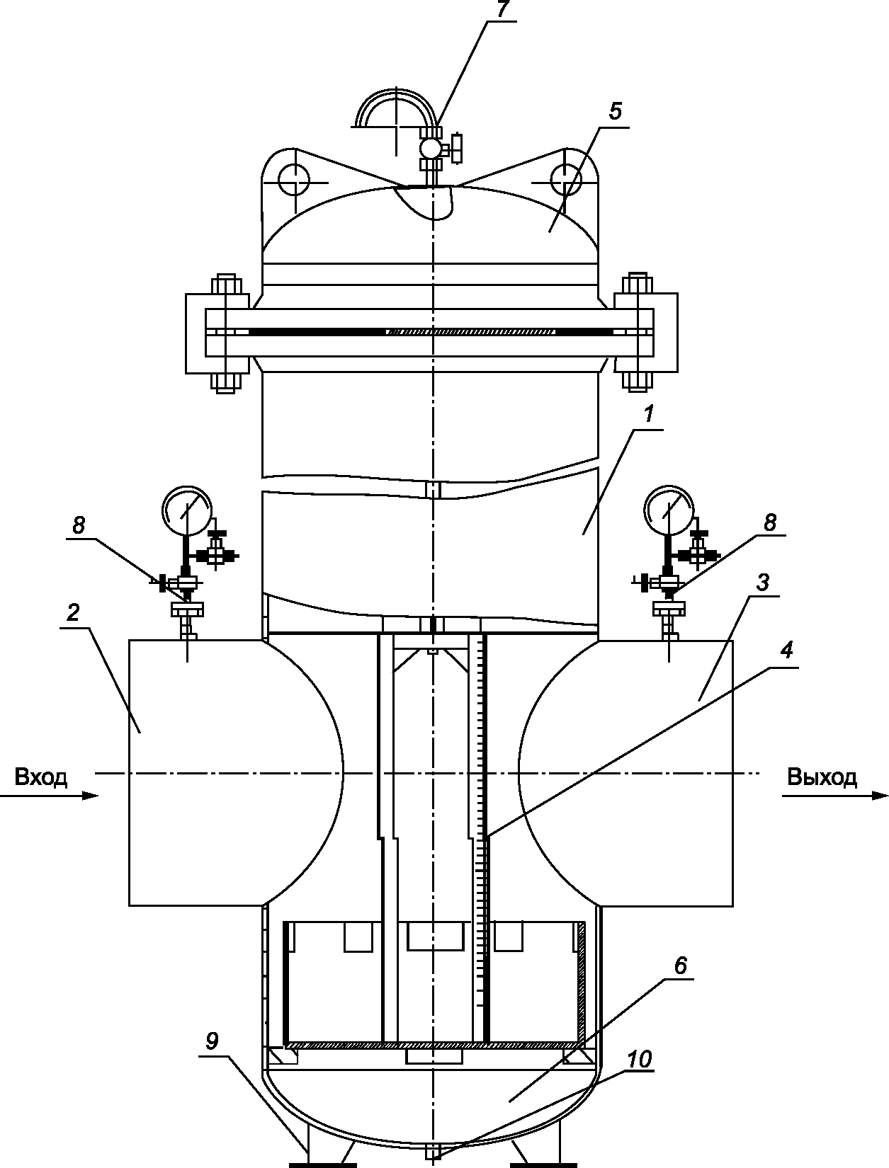
6.1.2.3 Конструктивное исполнение ФГГ приведено на рисунке 1.
1 - корпус; 2 - фильтрующий элемент; 3 - осевой патрубок
входа/выхода нефти или нефтепродуктов; 4 - боковой патрубок
входа/выхода нефти или нефтепродуктов; 5 - быстроразъемный
концевой затвор; 6 - патрубок для контроля давления;
7 - патрубок с установленной запорной арматурой
для контроля давления; 8 - патрубок для присоединения
дренажного трубопровода; 9 - строповое устройство;
10 - седловая опора
Рисунок 1 - Конструктивное исполнение ФГГ
6.1.2.4 Для извлечения/установки фильтрующего элемента, а также для обеспечения герметизации внутренней полости ФГГ относительно внешней среды на концевой части корпуса должен быть предусмотрен быстроразъемный концевой затвор.
6.1.2.5 Внутри корпуса должен быть предусмотрен механизм, обеспечивающий установку и извлечение фильтрующего элемента.
6.1.2.6 На ФГГ должны быть предусмотрены следующие патрубки:
- осевой патрубок входа/выхода нефти или нефтепродуктов, соответствующий диаметру присоединяемого трубопровода;
- боковой патрубок входа/выхода нефти или нефтепродуктов, соответствующий диаметру присоединяемого трубопровода;
- патрубок для контроля давления в фильтре перед его открыванием, а также для удаления воздуха при гидравлическом испытании, с установленной на нем запорной арматурой;
- патрубок для присоединения дренажного трубопровода;
- два патрубка для установки манометров, расположенные на патрубках входа и выхода нефти или нефтепродуктов.
6.1.2.7 Угол охвата седловой опоры для ФГГ должен составлять не менее 120°.
6.1.2.8 ФГГ следует изготовлять номинальным диаметром до
DN 1200 по
ГОСТ 28338 и номинальным давлением до
PN 10,0 МПа по
ГОСТ 26349.
6.1.2.9 ФГВ должен представлять собой вертикальный цилиндрический корпус, установленный на опоры. Внутри цилиндрического корпуса должен быть размещен фильтрующий элемент, с боковых сторон корпуса должны быть расположены патрубки входа и выхода нефти или нефтепродуктов.
6.1.2.10 Конструктивное исполнение ФГВ приведено на
рисунке 2.
1 - корпус; 2 - боковой патрубок входа нефти
или нефтепродуктов; 3 - боковые патрубки выхода нефти
или нефтепродуктов; 4 - фильтрующий элемент;
5 - быстроразъемный концевой затвор; 6 - эллиптическое
днище; 7 - патрубок с установленной запорной арматурой
для контроля давления; 8 - патрубки для установки
манометров; 9 - опора; 10 - патрубок
для присоединения дренажного трубопровода
Рисунок 2 - Конструктивное исполнение ФГВ
6.1.2.11 В верхней концевой части корпуса ФГВ должен быть предусмотрен быстроразъемный концевой затвор, обеспечивающий возможность извлечения и установку фильтрующего элемента, а также герметизацию внутренней полости фильтра относительно внешней среды.
6.1.2.12 На ФГВ должны быть предусмотрены следующие патрубки:
- боковой патрубок входа нефти или нефтепродуктов;
- боковой патрубок выхода нефти или нефтепродуктов;
- патрубок с установленной запорной арматурой для контроля давления в фильтре перед его открыванием, а также для удаления воздуха при гидравлическом испытании;
- патрубок для присоединения дренажного трубопровода (при наличии системы дренажа);
- два патрубка для установки манометров, расположенные на патрубках входа и выхода.
6.1.2.13 В нижней части к корпусу ФГВ должно быть приварено эллиптическое днище. Основные размеры днищ должны соответствовать требованиям
ГОСТ 6533.
6.1.2.14 ФГВ может быть изготовлен с системой самоочистки.
6.1.2.15 Конструктивное исполнение самоочищающегося ФГВ приведено на
рисунке 3.
| | ИС МЕГАНОРМ: примечание. Нумерация дана в соответствии с официальным текстом документа. | |
1 - нижний корпус; 2 - верхний корпус; 3 - боковой патрубок
входа нефти или нефтепродукта; 4 - боковой патрубок выхода
нефти или нефтепродукта; 5 - быстроразъемный концевой
затвор; 6 - фильтрующий элемент; 7 - патрубок выхода
загрязненной нефти или нефтепродукта; 8 - эллиптическое
днище; 9 - опора; 10 - патрубок для присоединения
дренажного трубопровода; 11 - неподвижный отвод статорной
части отвода загрязненной рабочей среды; 12 - неподвижная
чашка статорной части отвода загрязненной рабочей среды;
14 - вращающая чашка для отвода загрязненной рабочей
среды; 15 - опорная перегородка; 16 - технологическая
перегородка; 17 - штифт; 18 - шток роторной части;
19 - сальниковый узел; 20 - подшипник бугельный;
21 - электропривод
Рисунок 3 - Конструктивное исполнение самоочищающегося ФГВ
6.1.2.16 На самоочищающемся ФГВ должны быть предусмотрены следующие патрубки:
- боковой патрубок входа нефти или нефтепродуктов;
- боковой патрубок выхода нефти или нефтепродуктов;
- патрубок для присоединения дренажного трубопровода;
- патрубок выхода загрязненной нефти или нефтепродукта.
6.1.2.17 В нижней части к корпусу самоочищающегося ФГВ должно быть приварено эллиптическое днище. Основные размеры днищ должны соответствовать требованиям
ГОСТ 6533.
6.1.2.18 ФГВ и самоочищающийся ФГВ следует изготавливать номинальным диаметром до
DN 1000 по
ГОСТ 28338 и номинальным давлением до
PN 6,3 МПа по
ГОСТ 26349.
6.1.2.19 Для возможности проведения осмотра и доступа к внутренним частям ФГВ должен быть оснащен люк-лазом. Люк-лаз должен быть размещен в нижней части фильтра. Диаметр люк-лаза должен быть не менее 600 мм. Люк-лаз должен быть оборудован быстроразъемным концевым затвором. Крышка затвора должна быть снабжена подъемно-поворотным или другим устройством для открывания и закрывания в соответствии с
правилами устройства и безопасной эксплуатации сосудов в соответствии с требованиями стандартов государств, входящих в Содружество Независимых Государств.
6.1.2.20 Требования к массе фильтров устанавливаются предприятием-изготовителем в КД.
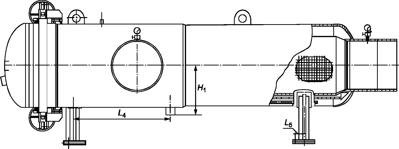
6.1.2.22 Конструктивные и монтажные размеры ФГГ - в соответствии с
приложением Б.
6.1.2.23 Требования конструктивных размеров ФГВ устанавливаются предприятием-изготовителем в КД.
6.1.2.24 Технические требования к фланцам фильтров и фланцам арматуры должны соответствовать
ГОСТ 28759.5 и
ГОСТ 12816.
6.1.2.25 Применение фланцев с гладкой уплотнительной поверхностью не допускается.
6.1.2.26 Конструктивное исполнение фильтрующего элемента должно обеспечивать следующие требования:
- исполнение - сетчатое или щелевое;
- фильтрующий элемент должен быть съемным;
- фильтрующий элемент должен быть регенерируемым, многократного использования. После очистки фильтрующий элемент должен восстанавливать первоначальные гидравлические характеристики и обеспечивать заданную тонкость фильтрации;
- конструкция фильтрующего элемента должна быть полнопоточной - обеспечивать фильтрацию всего потока нефти или нефтепродуктов;
- элементы конструкции для установки и извлечения фильтрующего элемента должны быть изготовлены из неискрообразующих материалов.
6.1.2.27 Конструкция фильтра должна обеспечивать выемку и установку фильтрующих элементов без демонтажа корпуса фильтра из трубопровода.
6.1.2.28 Для обеспечения доступа во внутреннюю полость фильтра должен быть установлен быстроразъемный концевой затвор.
6.1.2.29 Конструкция быстроразъемных концевых затворов должна быть следующих исполнений:
- байонетный;
- фланцевый;
- хомутовый;
- секторный.
6.1.2.30 Фильтр должен обеспечивать следующие конструкционные и эксплуатационные характеристики по работе быстроразъемного концевого затвора:
- вращение стяжных винтов при открытии/закрытии - свободное, без заеданий;
- перемещение крышки при открытии/закрытии - свободное.
6.1.2.31 Управление быстроразъемным концевым затвором должно осуществляться вручную или электроприводом с ручным дублированием. Быстроразъемный концевой затвор должен быть оборудован предохранительным устройством, исключающим возможность его открывания при наличии давления в фильтре.
6.1.2.32 Арматура, устанавливаемая на патрубках фильтра (вентиль, кран или другое устройство, позволяющее осуществлять контроль за давлением в фильтре перед его открыванием), должна соответствовать требованиям на соответствующий вид арматуры класса герметичности А по
[7].
6.1.2.33 Конструкция фильтра для очистки нефтепродуктов на патрубках ввода и отвода по требованию заказчика должна иметь устройства для отбора проб.
6.1.2.34 Конструкция патрубков подвода и отвода нефти или нефтепродуктов должна обеспечивать сварное или фланцевое соединение с трубопроводами.
Фланцевое соединение допускается для патрубков диаметром не более 500 мм, давлением PN до 4,0 МПа.
6.1.2.35 На фильтрах должны быть предусмотрены элементы для строповки. Строповые устройства должны соответствовать ГОСТ 13716. Грузоподъемность каждого стропового устройства должна быть не менее силы, действующей на устройство при минимальном количестве строповых устройств, одновременно участвующих в подъеме фильтра.
6.1.2.36 Конструкция, места расположения строповых устройств должны быть установлены в КД. Конструкция и размещение строповых устройств должны обеспечивать исключение контакта строповых тросов с поверхностью фильтра при осуществлении погрузочно-разгрузочных работ с целью сохранения антикоррозионного покрытия.
6.1.2.37 Съемные детали фильтров массой более 5 кг должны иметь устройства для удобного их снятия.
6.1.2.38 Фильтры должны быть снабжены опорами для крепления к фундаменту для обеспечения устойчивого положения.
6.1.2.39 Фильтр должен иметь наружное антикоррозионное покрытие, нанесенное в заводских условиях.
6.1.2.40 По согласованию с заказчиком допускается поставлять фильтры, покрытые грунтовочным материалом, являющимся частью выбранного антикоррозионного покрытия, при условии возможности последующего нанесения покровного слоя на месте монтажа.
6.1.2.41 Перед нанесением антикоррозионного покрытия все крепежные и соединительные детали должны быть покрыты консервационной смазкой или иметь защитные колпаки.
6.1.2.42 Антикоррозионное покрытие должно воспринимать воздействие окружающей среды без отслаивания, растрескивания и нарушения сплошности при хранении, транспортировании изолированного фильтра и его последующей эксплуатации.
6.1.2.43 Перед нанесением антикоррозионного покрытия наружная поверхность фильтров должна быть подвергнута механической, абразивно-струйной или дробеметной обработке.
6.1.2.44 Перед началом очистки фильтров металлическая поверхность должна быть сухой, очищенной от любых загрязнений (масло, жир, временное консервационное покрытие). На поверхности фильтров не должно быть дефектов (вмятины, раковины, задиры, трещины). Металлическая поверхность не должна иметь острых выступов, заусенцев, капель металлов, шлаков, окалины. При невозможности устранения перечисленных дефектов механическим методом фильтры бракуются и не подлежат изоляции.
6.1.2.45 После абразивной очистки поверхность фильтров должна соответствовать степени очистки не ниже Sa 2
1/
2 в соответствии с
[8]. Очищенная поверхность камер должна иметь шероховатость
Rz от 40 до 120 мкм. Запыленность поверхности камер после очистки должна быть не более степени 3 в соответствии с
[9].
6.1.2.46 Температура поверхности фильтров при выполнении работ по очистке и нанесению покрытия должна быть не менее 5 °C, относительная влажность воздуха - не более 90%. Для предотвращения конденсации влаги, температура металлической поверхности перед нанесением покрытия должна быть на 3 °C выше точки росы. Время между проведением очистки и нанесением покрытия должно составлять не более 2 ч.
6.1.2.47 При наличии мест повреждений антикоррозионного покрытия, полученных при транспортировании фильтров, проведении погрузочно-разгрузочных и строительно-монтажных работ, допускается проводить ремонт покрытия с применением ремонтных материалов, аналогичных материалам, используемым для нанесения основного покрытия. Работы по ремонту мест повреждений покрытия должны выполняться в соответствии с технологической инструкцией по ремонту антикоррозионного покрытия, утвержденной в установленном порядке.
6.1.2.48 Выбор системы наружного антикоррозионного покрытия и его номинальной толщины в зависимости от климатической зоны, категории размещения оборудования и коррозионной агрессивности атмосферы проводят в соответствии с требованиями
ГОСТ 9.407.
6.1.2.49 Применяемые лакокрасочные материалы должны соответствовать требованиям
ГОСТ 19007.
6.1.2.50 Материалы деталей фильтров и их покрытия должны быть стойкими к перекачиваемому продукту.
6.1.2.51 Качество поступающих материалов должно быть подтверждено сертификатами предприятия-изготовителя.
6.1.2.52 Антикоррозионное покрытие не должно препятствовать неразрушающему контролю стенок фильтра.
6.1.2.53 Антикоррозионное покрытие для подземной установки должно состоять из одного, двух или нескольких слоев на основе двухкомпонентных полиуретановых, модифицированных полиуретановых, эпоксидных композиций или аналогичных изоляционных материалов.
6.1.2.54 Антикоррозионное покрытие следует наносить на очищенную абразивным способом металлическую поверхность фильтра в соответствии с указаниями производителей изоляционных материалов по нанесению.
6.1.2.55 Наружное антикоррозионное покрытие должно иметь номинальную толщину:
- не менее 2,0 мм - для фильтров до DN 700 включительно;
- не менее 2,5 мм - для фильтров от DN 800 и более.
6.1.2.56 Покрытие должно быть однородным, не иметь пропусков, пузырей, вздутий и мест отслоений. На поверхности покрытия допускаются локальные утолщения и наплывы, не снижающие толщину покрытия менее установленных требований.
6.1.2.57 Концевые участки фильтра должны быть свободными от защитного покрытия для последующего выполнения сварочных работ. Длина концевых участков без покрытия должна составлять от 80 +/- 20 до 100 +/- 20 мм. По согласованию с потребителем допускается поставка с длиной неизолированных концевых участков от 120 до 150 мм.
6.1.2.58 Угол скоса покрытия к металлической поверхности должен составлять не более 30°.
6.1.2.59 По требованию заказчика фильтр подлежит внутреннему антикоррозионному покрытию, нанесенному в заводских условиях.
6.1.3 Требования к изготовлению
6.1.3.1 Фильтры следует изготавливать в соответствии с требованиями настоящего стандарта, а также действующих
правил проектирования, изготовления, приемки сосудов и аппаратов стальных сварных,
правил устройства и безопасной эксплуатации сосудов в соответствии с требованиями стандартов государств, входящих в Содружество Независимых Государств.
6.1.3.2 При изготовлении фильтра следует применять систему контроля качества (входной, операционный и приемочный контроль), обеспечивающую выполнение работ в соответствии с требованиями НД.
6.1.3.3 Перед изготовлением фильтра и его составных частей необходимо проводить входной контроль основных и сварочных материалов и полуфабрикатов.
6.1.3.4 Качество сварных соединений должно соответствовать требованиям
правил проектирования, изготовления, приемки сосудов и аппаратов стальных сварных, устройств и безопасной эксплуатации сосудов в соответствии с требованиями стандартов государств, входящих в Содружество Независимых Государств.
6.1.3.5 При изготовлении фильтров следует применять технологии сварки, сварочное оборудование и сварочные материалы, аттестованные в соответствии с требованиями стандартов государств, входящих в Содружество Независимых Государств.
6.1.3.6 Сварочные работы должны выполняться сварщиками, аттестованными в соответствии с
правилами аттестации сварщиков и специалистов сварочного производства в соответствии с требованиями НД государств, входящих в Содружество Независимых Государств, и имеющими удостоверение установленной формы.
6.1.3.7 Сварку следует выполнять после подтверждения правильности сборки и отсутствия/устранения дефектов на всех поверхностях, подлежащих сварке в соответствии с требованиями стандартов государств, входящих в Содружество Независимых Государств.
6.1.3.8 Все сварочные работы при изготовлении фильтра и его элементов следует производить при положительных температурах в закрытых помещениях.
6.1.3.9 В сварных соединениях не допускаются следующие наружные дефекты:
- трещины всех видов и направлений;
- свищи и пористость наружной поверхности шва;
- подрезы;
- наплывы, прожоги и незаплавленные кратеры;
- смещение и совместный увод кромок свариваемых элементов свыше предусмотренных требованиями
правил проектирования, изготовления сосудов и аппаратов стальных сварных в соответствии с требованиями стандартов государств, входящих в Содружество Независимых Государств;
- поверхность шва не должна иметь грубую чешуйчатость (превышение гребня над впадиной не должно быть более 1 мм).
6.1.3.10 Стыковые сварные соединения фильтра, определяющие его прочность (продольные швы обечаек, хордовые и меридиональные швы эллиптических днищ, кольцевые сварные соединения корпуса фильтра и затвора), необходимо подвергать металлографическим исследованиям. Металлографические макроисследования и микроисследования следует проводить на одном образце от каждого контрольного сварного соединения.
6.1.3.11 Механические свойства сварных соединений должны отвечать следующим требованиям:
- временное сопротивление разрыву должно быть не ниже минимального значения временного сопротивления разрыву основного металла по стандарту, ТУ или стандарту организаций для данной марки стали;
- минимальное значение угла изгиба должно быть 120° при отсутствии трещин или надрывов длиной более 3,0 мм и глубиной более 12,5% толщины образца, но не более 3 мм;
- твердость металла шва сварных соединений низкоуглеродистой стали должна быть не более 250 HV
10 по
ГОСТ 2999 либо 250 HB (шарик 5 мм) по
ГОСТ 9012;
- твердость металла шва сварных соединений низколегированной стали должна быть не более 275 HV
10 по
ГОСТ 2999 либо 275 HB (шарик 5 мм) по
ГОСТ 9012.
6.1.3.12 Испытания на ударный изгиб сварного соединения следует проводить на образцах с V-образным надрезом по
ГОСТ 6996 при температуре минус 40 °C для фильтров в климатическом исполнении У по
ГОСТ 15150 и минус 60 °C для фильтров в климатическом исполнении ХЛ по
ГОСТ 15150. Значение ударной вязкости:
- не ниже 24,5 Дж/см2 - для толщины стенок до 25 мм включительно;
- не ниже 40 Дж/см2 - для толщины стенок свыше 25 мм.
6.1.3.13 Сварные соединения должны иметь плавный переход от основного металла к металлу шва. Высота усиления от 0,5 до 3,5 мм без наплавления и непроваров.
6.1.3.14 В сварных соединениях не допускаются следующие внутренние дефекты:
- трещины всех видов и направлений, в том числе микротрещины, выявленные при микроисследовании;
- свищи;
- непровары (несплавления), расположенные в сечении сварного соединения;
- поры, шлаковые, вольфрамовые и окисные включения, выявленные радиографическим или ультразвуковым методом.
Максимальные допустимые размеры пор и включений приведены в таблице 1.
Таблица 1
Максимальные допустимые размеры пор и включений
В миллиметрах
Толщина свариваемых элементов | Поры или включения | Суммарная длина |
Ширина (диаметр) | Длина |
До 3 | 0,3 | 0,6 | 3,0 |
Св. 3 до 5 | 0,4 | 0,8 | 4,0 |
Св. 5 до 8 | 0,5 | 1,0 | 5,0 |
Св. 8 до 11 | 0,6 | 1,2 | 6,0 |
Св. 11 до 14 | 0,8 | 1,5 | 8,0 |
Св. 14 до 20 | 1,0 | 2,0 | 10,0 |
Св. 20 до 26 | 1,2 | 2,5 | 12,0 |
Св. 26 до 34 | 1,5 | 3,0 | 15,0 |
Св. 34 до 45 | 2,0 | 4,0 | 20,0 |
Св. 45 до 67 | 2,5 | 5,0 | 25,0 |
Св. 67 до 90 | 3,0 | 6,0 | 30,0 |
Св. 90 до 120 | 4,0 | 8,0 | 40,0 |
Св. 120 до 200 | 5,0 | 10,0 | 50,0 |
6.1.3.15 Не допускается расстояние между порами и включениями более трех максимальных диаметров.
6.1.3.16 Все сварные швы фильтра подлежат клеймению. Клеймо должно быть нанесено в соответствии с
правилами устройства и безопасной эксплуатации сосудов в соответствии с требованиями стандартов государств, входящих в Содружество Независимых Государств.
6.1.3.17 У продольных швов клеймо должно быть размещено в начале и в конце шва на расстоянии 100 мм от кольцевого шва. На обечайке с продольным швом длиной менее 400 мм допускается ставить одно клеймо. Для кольцевого шва клеймо выбивают в месте пересечения кольцевого шва с продольным швом и далее через каждые 2 м, но при этом должно быть не менее двух клейм на каждом шве. На кольцевой шов фильтра диаметром не более 700 мм допускается ставить одно клеймо. Место клеймения заключают в хорошо видимую рамку, выполняемую несмываемой отличительной краской.
6.1.3.18 По согласованию с заказчиком вместо клеймения сварных швов допускается прилагать к паспорту фильтра схему расположения швов с указанием номеров клейм сварщиков и личной подписью исполнителей.
6.1.3.19 Отверстия под патрубки и штуцера должны быть расположены вне сварных швов. Расстояние между краем шва приварки внутренних и внешних устройств и деталей и краем ближайшего шва корпуса должно быть не менее толщины наиболее толстой стенки, но не менее 20 мм.
6.1.3.20 Допускается пересечение стыковых швов корпуса угловыми швами приварки внутренних и внешних устройств (опорных элементов и т.п.).
6.1.3.21 Корпус должен быть изготовлен из обечаек. Обечайки следует изготавливать не более чем с двумя продольными швами, из листов максимально возможной длины. Допускаются вставки шириной не менее 400 мм. Ширина листа обечайки между кольцевыми швами должна быть не менее 800 мм, ширина замыкающей вставки не менее 400 мм.
6.1.3.22 Продольные швы смежных обечаек и швы переходов должны быть смещены относительно друг друга на величину трехкратной толщины наиболее толстого элемента, но не менее чем на 100 мм между осями швов.
6.1.3.23 Длина патрубков входа и выхода нефти или нефтепродуктов, предназначенных для сварного соединения с трубопроводами, должна быть не менее 400 мм. Длина патрубков для присоединения трубопроводов дренажной линии должна быть не менее 150 мм.
6.1.3.24 После сборки и сварки обечаек корпус фильтра должен удовлетворять следующим требованиям:
- отклонение по длине - не более +/- 0,3% номинальной длины;
- отклонение от прямолинейности - не более 1,5 мм на длине 1 м, а общее отклонение - не более 0,2% длины фильтра;
- отклонение внутреннего/наружного диаметра корпуса - не более +/- 1%.
6.1.3.25 Концевые участки патрубков фильтра, предназначенные для сварного соединения с трубопроводами, должны удовлетворять следующим требованиям:
1) отклонение профиля наружной поверхности от окружности в зоне сварного соединения на концевых участках длиной 200 мм от торцов и по дуге периметра 200 мм не должно превышать 0,15% номинального диаметра;
2) отклонение от перпендикулярности торца относительно образующей (косина реза) не должно превышать 1,6 мм;
3) предельное отклонение от номинального наружного диаметра на концах под сварное соединение на длине не менее 200 мм от торца не должно превышать +/- 1,6 мм;
4) разность наибольшего и наименьшего диаметров концевого участка патрубка фильтра не должна превышать +/- 3,0 мм;
5) отношение разности наибольшего и наименьшего диаметров к номинальному диаметру не должно превышать по концевым участкам патрубка фильтра:
- 1% - при толщине стенки менее 20 мм;
- 0,8% - при толщине стенки от 20 до 25 мм;
- 0,5% - при толщине стенки более 25 мм;
6) не допускается отклонение от прямолинейности концов более чем на 0,5 мм на длине 400 мм.
6.1.3.26 После сварки фильтр подлежит термообработке.
6.1.3.27 Корпусные детали следует подвергать термообработке в зависимости от толщины стенок:
- до 18 мм - высокотемпературный отпуск (максимальный нагрев до температуры не менее 630 °C);
- свыше 18 мм - нормализация или закалка с отпуском.
6.1.3.28 После термообработки материалы должны иметь следующую твердость:
- твердость низкоуглеродистой стали должна быть не более 200 HV
10 по
ГОСТ 2999 либо 200 HB (шарик 5 мм) по
ГОСТ 9012;
- твердость низколегированной стали должна быть не более 240 HV
10 по
ГОСТ 2999 либо 240 HB (шарик 5 мм) по
ГОСТ 9012;
- твердость в зоне термического влияния после сварки низкоуглеродистой стали должна быть не более 250 HV
10 по
ГОСТ 2999 либо 250 HB (шарик 5 мм) по
ГОСТ 9012;
- твердость в зоне термического влияния после сварки низколегированной стали должна быть не более 275 HV
10 по
ГОСТ 2999 либо 275 HB (шарик 5 мм) по
ГОСТ 9012.
6.1.3.29 Для замеров твердости применяют приборы (твердомеры), прошедшие поверку и имеющие сертификат соответствия.
6.1.3.30 Резьбовые соединения не должны иметь заусенцев и забоин. Разрыв ниток на стяжных винтах и гайках затвора не допускается.
6.1.3.31 Эллиптические днища всего ряда номинальных давлений должны соответствовать требованиям
ГОСТ 6533.
6.1.3.32 Корпусные фланцы всего ряда номинальных давлений и диаметров должны соответствовать требованиям
ГОСТ 28759.5.
6.1.3.33 При невозможности применения разделок кромок патрубков, обеспечивающих равнопрочное соединение с трубопроводом в соответствии с
6.1.4, изготовителем должны быть предусмотрены переходные кольца.
6.1.3.34 Для изготовления переходных колец применяют следующие изделия:
- трубы;
- обечайки, вальцованные из листовой стали;
- поковки.
6.1.3.35 Переходные кольца, изготовленные из обечаек и поковок, должны быть термообработаны.
6.1.3.36 Переходные кольца должны иметь не более двух продольных швов.
6.1.3.37 Материалы переходных колец должны соответствовать требованиям настоящего стандарта.
6.1.4 Требования к соединению с трубопроводами
6.1.4.1 Конструкция патрубков входа и выхода нефти или нефтепродуктов, патрубков для присоединения трубопроводов дренажной линии должна обеспечивать условия выполнения сварных соединений с трубопроводами. Разделка кромок присоединительных концов должна удовлетворять нижеприведенным требованиям.
6.1.4.2 Толщина стенок патрубков для каждого проходного сечения должна быть рассчитана на рабочее давление по критериям прочности по
ГОСТ 14249.
6.1.4.3 На деталях толщиной стенки до 5 мм разделку кромок допускается не выполнять.
6.1.4.4 При выполнении разделок кромок должно выполняться следующее условие:

(1)
где a - толщина присоединительной кромки патрубка, мм;

- нормативное временное сопротивление металла патрубка, МПа;
Sт - номинальная толщина стенки присоединяемой трубы, мм;

- нормативное временное сопротивление металла присоединяемой трубы, МПа.
6.1.4.5 Патрубки (переходные кольца) с наружным диаметром, равным диаметру присоединяемой трубы, должны иметь механически обработанные кромки. Типы механической обработки патрубков (переходных колец), размеры кольцевого притупления и размеры высоты фаски приведены на
рисунке 4 и в
таблицах 2 и
3.
a - присоединительный размер патрубка (переходного кольца);
B - высота фаски; c - ширина кольцевого притупления;
S - толщина стенки; Sп - толщина стенки после
цилиндрической или специальной проточки; Sо - остаточная
толщина, за вычетом прибавки на увеличенный диаметр;
Sтр - толщина трубы; Dтр - диаметр присоединяемой трубы;
Dн - наружный диаметр патрубка (переходного кольца);
Dп - присоединительный диаметр патрубка
(переходного кольца)
Рисунок 4, лист 1 - Типы механической обработки патрубков
(переходных колец)
a - присоединительный размер патрубка (переходного кольца);
B - высота фаски; c - ширина кольцевого притупления;
S - толщина стенки; Sп - толщина стенки после
цилиндрической или специальной проточки; Sо - остаточная
толщина, за вычетом прибавки на увеличенный диаметр;
Sтр - толщина трубы; Dтр - диаметр присоединяемой трубы;
Dн - наружный диаметр патрубка (переходного кольца);
Dп - присоединительный диаметр патрубка
(переходного кольца)
Рисунок 4, лист 2 - Типы механической обработки патрубков
(переходных колец)
Таблица 2
Размеры кольцевого притупления
Номинальный диаметр, мм | Ширина кольцевого притупления, мм |
От 50 до 350 | 1,0 +/- 0,5 |
400 | 1,5 +/- 0,5 |
От 500 до 1200 | 1,8 +/- 0,8 |
Таблица 3
Толщина стенки присоединяемой трубы, мм | Высота фаски, мм |
От 15,0 до 19,0 | 9 +/- 0,5 |
От 19,0 до 21,5 | 10 +/- 0,5 |
От 21,5 до 32,0 | 12 +/- 0,5 |
Св. 32,0 | 16 +/- 0,5 |
Выбор типов кромок определяется исходя из следующих условий:
а) в зависимости от толщины стенки присоединяемой трубы следует применять следующие типы кромок:
- до 5 мм включительно - типы 1 и 4;
- от 5 до 15 мм включительно - тип 2;
- свыше 15 мм - тип 3;
б) если разность толщин стенок патрубка (переходного кольца) и присоединяемой трубы не превышает 2,0 мм, то внутренний скос не производится (типы 2 и 3). Если разность толщин стенок патрубка (переходного кольца) и присоединяемой трубы превышает 2,0 мм, а отношение толщины стенки патрубка (переходного кольца) и трубы не превышает 1,5, то производится внутренний скос кромки (тип 5 и 6);
в) если отношение толщины стенки патрубка (переходного кольца) и присоединяемой трубы превышает 1,5, следует применять цилиндрическую проточку (типы 7 и 8). Толщина стенки после проточки должна находиться в пределах от 1,2 до 1,5 толщины стенки присоединяемой трубы.
6.1.4.6 Патрубки (переходные кольца) с наружным диаметром более, чем диаметр присоединяемой трубы, должны иметь механически обработанные кромки. Типы механической обработки патрубков (переходных колец), размеры кольцевого притупления и размеры высоты фаски приведены на
рисунке 4 и в
таблицах 2 и
3.
Выбор типов кромок определяется исходя из следующих условий:
а) в зависимости от толщины стенки присоединяемой трубы следует применять следующие типы кромок:
- до 5 мм включительно - типы 9 и 12;
- до 15 мм включительно - тип 10;
- свыше 15 мм - тип 11;
б) если разность остаточной толщины патрубка (переходного кольца) и присоединяемой трубы не превышает 2,0 мм, то внутренний скос не производится (типы 10 и 11). Если разность остаточной толщины стенки патрубка (переходного кольца) и присоединяемой трубы превышает 2,0 мм, а отношение остаточной толщины стенки патрубка (переходного кольца) и трубы не превышает 1,5, то производится внутренний скос кромки (типы 13 и 14);
в) если отношение остаточной толщины стенки патрубка (переходного кольца) и присоединяемой трубы превышает 1,5, следует применять цилиндрическую проточку (типы 15 и 16). Толщина стенки после проточки должна находиться в пределах от 1,2 до 1,5 толщины стенки присоединяемой трубы.
6.1.4.7 Если отношение толщин стенки детали и трубы превышает 1,5, то по согласованию с заказчиком/изготовителем должны быть предусмотрены переходные кольца.
6.1.4.8 Прочность соединяемых элементов (нормативное временное сопротивление) не должна отличаться от установленных значений более чем на 9,8 МПа.
6.1.4.9 При невозможности применения разделки кромок патрубков, обеспечивающей равнопрочное соединение с трубопроводом, изготовителем должны быть предусмотрены переходные кольца. Пример соединения патрубка фильтра с трубопроводом при помощи переходного кольца приведен на рисунке 5.
1 - трубопровод; 2 - переходное кольцо;
3 - патрубок фильтра
Рисунок 5 - Пример соединения патрубка фильтра
с трубопроводом при помощи переходного кольца
6.1.4.10 Кольца представляют собой цилиндрическую обечайку длиной не менее 250+5 мм для патрубков с номинальным диаметром до DN 500 включительно и 400+10 мм для патрубков с номинальным диаметром свыше DN 500. Один конец кольца должен быть механически обработан для стыковки с торцом патрубка фильтра, а другой конец обработан для стыковки с присоединяемым трубопроводом. Разделка кромок кольца должна соответствовать разделкам кромок патрубка и присоединяемого трубопровода и обеспечивать равнопрочное сварное соединение с трубопроводом и патрубком.
6.1.5 Требования надежности
6.1.5.1 В настоящем стандарте состав, порядок и общие правила задания требований по надежности установлены в соответствии с
ГОСТ 27.003. Конструкция и качество изготовления фильтра должны обеспечивать следующие показатели надежности:
- безотказность;
- долговечность;
- ремонтопригодность;
- сохраняемость.
6.1.5.2 Показателями безотказности являются:
- наработка до отказа - не менее 500 циклов открытия/закрытия затвора;
- вероятность безотказной работы за цикл - не менее 0,998.
6.1.5.3 Показателями долговечности являются:
- назначенный срок службы - 30 лет;
- назначенный ресурс по затвору - 1500 циклов открытия/закрытия;
- количество циклов открытия/закрытия до замены уплотнительных элементов затвора - не менее 150.
6.1.5.4 Показателем ремонтопригодности является среднее время восстановления.
Среднее время восстановления должно быть не более:
- 3,5 ч - для фильтров DN 200 и DN 400;
- 4,5 ч - для фильтров от DN 500 до DN 800;
- 5 ч - для фильтров от DN 1000 до DN 1200.
6.1.5.5 Срок сохраняемости фильтра должен быть не менее двух лет.
6.1.5.6 Отказами фильтра в условиях эксплуатации могут быть:
- потеря герметичности по отношению к внешней среде по корпусным деталям;
- потеря герметичности в концевом затворе;
- потеря герметичности в разъемных соединениях;
- невыполнение функции "закрыто" затвора;
- невыполнение функции "открыто" затвора.
6.1.5.7 К критериям предельных состояний относятся:
- начальная стадия нарушения цельности корпусных деталей (потение, капельная течь);
- необходимость приложить усилие на штурвале (маховике) концевого затвора для достижения герметичности последнего, превышающее предельную величину, равную 250 Н (25 кгс);
- несоответствие времени открытия/закрытия концевого затвора нормам, установленным настоящим стандартом;
- невыполнение функции предохранительного устройства, исключающего возможность открывания концевого затвора при наличии давления в фильтре;
- превышение предельно допустимых дефектов металла корпусных деталей и сварных швов, предусмотренных настоящим стандартом;
- изменение/уменьшение толщин стенок корпусных деталей до минимальных допускаемых прочностным расчетом величин;
- нарушение геометрии корпусных деталей свыше максимальных допустимых отклонений предусмотренных настоящим стандартом.
6.1.5.8 Условия продления срока службы фильтра должны быть указаны в руководстве по эксплуатации фильтра.
6.1.6 Требования стойкости к внешним воздействиям и живучести
6.1.6.1 Фильтры должны быть предназначены для эксплуатации в макроклиматических районах с умеренным У и холодным ХЛ климатом, категория размещения 1 и типом атмосферы II по
ГОСТ 15150.
6.1.6.2 Относительная влажность окружающего воздуха при транспортировании, хранении, монтаже и эксплуатации фильтров может достигать 100%.
6.1.6.3 Фильтры в зависимости от сейсмичности района размещения по шкале MSK-64
[10] должны соответствовать одному из следующих исполнений:
- несейсмостойкое (С0) для районов с сейсмичностью до 6 баллов включительно;
- сейсмостойкое (С) для районов с сейсмичностью свыше 6 до 9 баллов включительно;
- повышенной сейсмостойкости (ПС) для районов с сейсмичностью свыше 9 до 10 баллов включительно.
6.1.6.4 На сейсмостойкость должны быть рассчитаны корпус, патрубки, опоры и крепежные детали фильтра, а также другие ответственные элементы конструкции по усмотрению предприятия-изготовителя, повреждение, смещение или деформация которых может привести к разрушению, отказу фильтра или к снижению его эксплуатационных качеств и надежности.
При расчете необходимо принимать, что на фильтр одновременно действуют эквивалентные нагрузки в вертикальном и горизонтальном направлениях, а также учитывать действие рабочих нагрузок.
Низшую собственную частоту колебаний фильтра следует вычислять по схеме жесткого закрепления патрубков по верифицированным методикам и подтверждать в соответствии с
ГОСТ 30546.1.
Значение эквивалентного расчетного максимального ускорения для 9 баллов, действующего на элементы конструкции изделия в горизонтальных направлениях, должно определяться по ГОСТ 30546.1
(рисунок 2) по кривой с 2% относительным демпфированием.
Значение эквивалентного расчетного максимального ускорения, действующего на фильтр в вертикальном направлении, должно приниматься равным 0,7 значения для горизонтального направления.
Расчетные сейсмические нагрузки на элементы конструкции фильтра следует определять умножением эквивалентного расчетного максимального ускорения на инерционные характеристики фильтра.
6.1.6.5 Изготовитель должен определить в соответствии с требованиями действующих НД государств, входящих в состав Содружества Независимых Государств, допускаемые нагрузки на патрубки фильтров от присоединяемых трубопроводов и значения нагрузок указать в эксплуатационной документации.
6.1.6.6 Фильтры должны быть предназначены для эксплуатации в районах с показателями ветровой нагрузки:
- нормативное значение ветрового давления - не менее 0,48 кПа;
- скорость ветра (верхнее значение) - 50 м/с.
При скоростях ветра, вызывающих колебание фильтра с частотой, равной частоте собственных колебаний, необходимо проводить поверочный расчет на резонанс.
Расчетные усилия и перемещения при резонансе должны определяться как геометрическая сумма резонансных усилий и перемещений, а также усилий и перемещений от других видов нагрузок и воздействий, включая расчетную ветровую нагрузку.
6.1.7 Требования эргономики
6.1.7.1 Фильтры должны быть оборудованы стационарными площадками с лестницами и ограждением, входящими в комплект поставки, для обслуживания узлов и деталей. Площадки обслуживания должны соответствовать требованиям ГОСТ 12.2.044.
6.1.7.2 Основные размеры маховиков должны соответствовать эргономическим требованиям
ГОСТ 21752.
6.1.7.3 Усилие на маховике быстроразъемного концевого затвора при его открытии и закрытии не должно быть более 150 Н (15 кгс). Усилие на маховике быстроразъемного концевого затвора в момент запирания (или страгивания при открытии) не должно превышать 250 Н (25 кгс).
6.1.7.4 Вращение маховика быстроразъемного концевого затвора по часовой стрелке должно соответствовать закрытию быстроразъемного концевого затвора, а вращение против часовой стрелки - открытию быстроразъемного концевого затвора.
6.1.7.5 Номинальный диаметр корпуса манометра, устанавливаемого на фильтр, должен быть не менее 160 мм.
6.2 Требования к сырью, материалам и покупным изделиям
6.2.1 Материалы, из которых изготовлены детали фильтра, воспринимающие давление рабочей среды и разделяющие рабочую и окружающую среду, должны соответствовать требованиям НД и иметь разрешение к применению в соответствии с требованиями стандартов государств, входящих в Содружество Независимых Государств.
6.2.2 Материалы по химическому составу и механическим свойствам должны удовлетворять требованиям стандартов государств, входящих в Содружество Независимых Государств, ТУ или стандартов организаций и подтверждаться сертификатами предприятий-изготовителей, при их отсутствии протоколами испытаний предприятия-изготовителя по методике, предусмотренной НД на соответствующий материал.
6.2.3 При выборе материалов для данного вида климатического исполнения фильтров должно приниматься нижнее значение температуры окружающего воздуха. Расчетная температура стенки фильтра - 80 °C.
6.2.4 Материалы должны быть стойкими к рабочей среде и условиям окружающей среды. Скорость коррозии материала корпуса и сварных швов должна быть не более 0,1 мм/год при воздействии рабочей среды и внешних факторов, указанных в
6.1.1 и
6.1.6.
6.2.5 Значение эквивалента углерода CЭ, характеризующего свариваемость стали, не должно превышать 0,43.
Значение эквивалента углерода CЭ определяют по формуле

(2)
где C, Mn, Cr, Mo, V, Ni, Cu - массовые доли в стали соответственно углерода, марганца, хрома, молибдена, ванадия, никеля и меди, %.
Медь, никель, хром, содержащиеся в сталях как примеси, при расчете CЭ не учитывают, если их суммарное содержание не превышает 0,20%.
6.2.6 Материалы основных элементов фильтра должны быть изготовлены:
а) из листовой стали:
- марок 17ГС, 17Г1С категорий 4 - 8, 12 - 14 по
ГОСТ 19281, категорий 6 - 8, 12 - 14 по
ГОСТ 5520 для климатических исполнений У и ХЛ по
ГОСТ 15150;
б) из поковки по
ГОСТ 8479 категории прочности не ниже КП 245 группы IV из стали:
- марки 09Г2С категорий 6, 7, 9, 14 по
ГОСТ 19281 для климатических исполнений У и ХЛ по
ГОСТ 15150;
- марки 16ГС категорий 4 - 8, 12 - 14 по
ГОСТ 19281 для климатических исполнений У и ХЛ по
ГОСТ 15150. Поковки должны быть термообработаны;
д) стяжной винт и ходовые гайки - из стали 20ХН3А, 40Х по
ГОСТ 4543.
6.2.7 Материалы крепежных деталей следует выбирать с коэффициентом линейного расширения, близким по значению коэффициенту линейного расширения материала соединяемого элемента. При этом разница в значениях коэффициентов линейного расширения не должна превышать 10%.
6.2.8 Материалы, применяемые для изготовления фильтров, сборочных единиц, деталей должны быть указаны в КД.
6.2.9 Гайки и шпильки для соединений следует изготавливать из сталей с разной твердостью так, чтобы твердость гаек была ниже твердости шпилек не менее чем на 15 HB по
ГОСТ 9012.
6.2.10 Величина ударной вязкости KCV гаек и шпилек должна быть не менее 30 Дж/см
2 при температуре минус 40 °C для исполнения У по
ГОСТ 15150 и минус 60 °C - для исполнения ХЛ по
ГОСТ 15150.
6.2.11 Уплотнительные элементы затвора должны быть выполнены из масло-бензостойких материалов. Материал уплотнительных элементов должен быть предназначен для работы со средой с параметрами, указанными в
6.1.1.2, а также при температурах окружающей среды по климатическому исполнению
ГОСТ 15150.
6.2.12 Допускается замена материалов на другие марки, свойства которых не ухудшают качества деталей и фильтра в целом и соответствуют требованиям настоящего стандарта.
6.2.13 Материальное исполнение, качество деталей и фильтра в целом должны обеспечивать его надежную эксплуатацию в течение назначенного срока службы - не менее 30 лет.
6.2.14 В комплект поставки фильтров входят два манометра. Оба манометра выбирают одного типа, предела измерения, одинаковых классов точности и с одинаковой ценой деления.
6.2.15 Класс точности манометров должен быть не хуже 0,6 во всем диапазоне измерений по
ГОСТ 2405. Измеряемые величины должны находиться в пределах второй трети шкалы манометра.
6.3.1 В комплект поставки ФГГ должны входить:
- фильтр в собранном виде в соответствии с требованиями КД;
- комплект прокладок к быстроразъемному концевому затвору;
- площадки обслуживания для фильтров DN 500 и более (для блочного исполнения, по указанию при заказе);
- кран консольный с талью (для блочного исполнения, по указанию при заказе);
- лоток для фильтров DN 400 и более (для блочного исполнения);
- тяговый механизм (с лебедкой) для фильтров DN 300 и более (для блочного исполнения, по указанию при заказе);
- поддон для сбора нефтешлама (для блочного исполнения);
- два манометра диаметром 160 мм, класса точности не хуже 0,6 по
ГОСТ 2405;
- кран шаровой DN 25 для установки на патрубке удаления воздуха из ФГГ;
- комплект ЗИП;
- комплект искронедающего инструмента для чистки фильтра в пенале (для блочного исполнения);
- фундаментные болты для крепления фильтра в проектном положении.
6.3.2 В комплект поставки ФГВ должны входить:
- фильтр в собранном виде в соответствии с требованиями КД;
- ответные фланцы, рабочие прокладки и крепежные детали, не требующие замены при монтаже;
- комплект прокладок к затвору;
- два манометра диаметром 160 мм, класса точности не хуже 0,6 по
ГОСТ 2405;
- комплект ЗИП.
6.3.3 В комплект поставки самоочищающегося ФГВ должны входить:
- фильтр в собранном виде в соответствии с требованиями КД;
- электропривод;
- ответные фланцы, рабочие прокладки и крепежные детали, не требующие замены при монтаже;
- комплект прокладок к затвору;
- два манометра диаметром 160 мм, класса точности не хуже 0,6 по
ГОСТ 2405;
- комплект ЗИП.
6.3.4 Предприятие-изготовитель должно направлять с фильтром следующую эксплуатационную и разрешительную документацию:
- сборочный чертеж со спецификацией;
- копию сертификата соответствия
[11];
- заключение о соответствии наружного антикоррозионного покрытия требованиям НД;
- ведомость ЗИП;
- расчет на прочность или выписку из расчета на прочность;
- расчет на сейсмостойкость или выписку из расчета на сейсмостойкость (для фильтров сейсмостойкого исполнения и исполнения повышенной сейсмостойкости);
- паспорт фильтра согласно требованиям НД по промышленной безопасности для сосудов. К паспорту должны быть приложены протокол результатов исправления дефектов (при наличии исправлений), схема расположения сварных швов с указанием и личной подписью исполнителей (при отсутствии клеймения);
- руководство по эксплуатации, включающее требования безопасности, порядок эксплуатации, объем, методы и периодичность контроля, ремонта, диагностирования и освидетельствования, инструкцию по монтажу со схемой монтажной маркировки;
- техническую документацию на комплектующие изделия в объеме поставки предприятия-изготовителя (тяговый механизм, кран консольный, манометры и т.д.);
- свидетельство о консервации;
- акт проведения гидравлического испытания фильтра на прочность и герметичность;
- акт о проведении контрольной сборки или контрольной проверки размеров;
- упаковочный лист и комплектовочную ведомость с полным перечнем упаковочных единиц;
- чертежи быстроизнашивающихся деталей (уплотнительные элементы).
6.4.1 Условное обозначение фильтра включает:
- наименование и вид исполнения фильтра (ФГГ, ФГВ);
- обозначение номинального диаметра в соответствии с
ГОСТ 28338;
- номинальное давление
PN по
ГОСТ 26349. Допускается по требованию заказчика предусматривать нестандартные ряды номинальных давлений;
- исполнение по комплектности поставки для ФГГ;
- исполнение по отводу нефти или нефтепродуктов для ФГГ;
- расположение патрубка подвода нефти или нефтепродуктов для ФГГ;
- исполнение сейсмостойкости по MSK-64
[10];
- наличие теплоизоляции;
6.4.2 Схема условного обозначения ФГГ приведена на рисунке 6.
ФГГ- XXXX- XX- X- X- X- XX- X- XX
─┬─ ──┬─ ─┬ ─┬ ─┬ ─┬ ─┬ ─┬ ─┬
│ │ │ │ │ │ │ │ │ Вид климатического исполнения
│ │ │ │ │ │ │ │ └──────────────────────────────────
│ │ │ │ │ │ │ │ Наличие теплоизоляции
│ │ │ │ │ │ │ └──────────────────────────────────────
│ │ │ │ │ │ │ Вид исполнения
│ │ │ │ │ │ │ по сейсмостойкости
│ │ │ │ │ │ └───────────────────────────────────────────
│ │ │ │ │ │ Расположение патрубка
│ │ │ │ │ │ подвода нефти или нефтепродуктов
│ │ │ │ │ └───────────────────────────────────────────────
│ │ │ │ │ Исполнение по отводу нефти
│ │ │ │ │ или нефтепродуктов
│ │ │ │ └───────────────────────────────────────────────────
│ │ │ │ Исполнение по комплектности
│ │ │ │ поставки ФГГ
│ │ │ └───────────────────────────────────────────────────────
│ │ │ Номинальное давление PN
│ │ └────────────────────────────────────────────────────────────
│ │ Номинальный диаметр DN
│ └──────────────────────────────────────────────────────────────────
│ Тип фильтра
└─────────────────────────────────────────────────────────────────────────
Рисунок 6 - Схема условного обозначения ФГГ
6.4.3 Схема условного обозначения ФГВ и самоочищающегося ФГВ приведена на рисунке 7.
ФГВ (ФГВС)- XXX- XX- XX- X- XX
────┬───── ─┬─ ─┬ ─┬ ─┬ ─┬
│ │ │ │ │ │ Вид климатического исполнения
│ │ │ │ │ └───────────────────────────────────
│ │ │ │ │ Наличие теплоизоляции
│ │ │ │ └────────────────────────────────────────
│ │ │ │ Вид исполнения по сейсмостойкости
│ │ │ └──────────────────────────────────────────────
│ │ │ Номинальное давление PN
│ │ └────────────────────────────────────────────────────
│ │ Номинальный диаметр DN
│ └───────────────────────────────────────────────────────────
│ Тип фильтра
└──────────────────────────────────────────────────────────────────────
Рисунок 7 - Схема условного обозначения ФГВ
и самоочищающегося ФГВ
Примеры
1 ФГГ номинальным диаметром DN 1200 на номинальное давление PN 4,0 МПа, блочного исполнения, с осевым отводом нефти или нефтепродуктов, с правым расположением патрубка подвода нефти или нефтепродуктов, в несейсмостойком исполнении С0 по MSK-64 [10], не подлежащий теплоизоляции, вид климатического исполнения У1 по ГОСТ 15150:
ФГГ-1200-4,0-Б-О-Пр-С0-У1.
2 ФГГ номинальным диаметром DN 500 на номинальное давление PN 6,3 МПа, блочного исполнения, с осевым отводом нефти или нефтепродуктов, с левым расположением патрубка подвода нефти или нефтепродуктов, в сейсмостойком исполнении С по MSK-64 [10], подлежащий теплоизоляции, вид климатического исполнения ХЛ1 по ГОСТ 15150:
ФГГ-500-6,3-Б-О-Л-С-Т-ХЛ1.
3 ФГВ номинальным диаметром DN 500 на номинальное давление PN 1,6 МПа, в несейсмостойком исполнении С0 по MSK-64 [10], подлежащий теплоизоляции, вид климатического исполнения У1 по ГОСТ 15150:
ФГВ-500-1,6-С0-Т-У1.
4 Самоочищающийся ФГВ номинальным диаметром DN 300 на номинальное давление PN 1,6 МПа, в несейсмостойком исполнении С0 по MSK-64 [10], подлежащий теплоизоляции, вид климатического исполнения ХЛ1 по ГОСТ 15150:
ФГВС-300-1,6-С0-Т-ХЛ1.
| | ИС МЕГАНОРМ: примечание. Нумерация пунктов дана в соответствии с официальным текстом документа. | |
6.4.5 Каждый фильтр должен иметь стандартную типовую табличку, выполненную в соответствии с требованиями
ГОСТ 12971, размерами не менее 100 x 60 мм. Табличка должна быть размещена на видном месте. Для фильтров, не подлежащих теплоизоляции, табличка должна крепиться на приварном подкладном листе, приварной скобе, приварных планках или кронштейне. Для фильтров, подлежащих теплоизоляции, табличка должна быть прикреплена на приварной скобе, планке или кронштейне, размеры которых должны обеспечивать доступ к табличке после нанесения теплоизоляции.
6.4.6 На табличку должны быть нанесены:
- наименование или товарный знак предприятия-изготовителя;
- обозначение фильтра в соответствии с
6.4.2 и
6.4.3;
- порядковый номер фильтра по системе нумерации предприятия-изготовителя;
- масса фильтра, кг;
- год изготовления;
- клеймо ОТК.
Маркировку наносят на табличку клеймением ударным способом. Глубина маркировки должна быть в пределах от 0,2 до 0,3 мм.
6.4.7 На наружной поверхности стенки фильтра под табличкой должна быть нанесена следующая маркировка:
- обозначение фильтра;
- наименование или товарный знак предприятия-изготовителя;
- порядковый номер фильтра по системе нумерации предприятия-изготовителя;
- год изготовления;
- клеймо технического контроля.
Маркировка фильтра должна быть нанесена клеймением или гравировкой. Глубина маркировки должна быть в пределах от 0,2 до 0,3 мм. Маркировка должна быть заключена в рамку, выполненную атмосферостойкой краской, и защищена бесцветным лаком или тонким слоем смазки.
6.4.8 Кроме основной маркировки несмываемой краской должны быть нанесены:
- условные обозначения на строповые устройства;
- стрелки красного цвета на двух противоположных сторонах фильтра, указывающие направление потока нефти или нефтепродуктов;
- монтажные метки (риски), фиксирующие в плане главные оси фильтра, для выверки ее проектного положения на фундаменте;
- отметки, указывающие положение центра масс на обечайке фильтра, при этом отметки расположить на двух противоположных сторонах фильтра;
- диаметр отверстий под регулировочные болты вблизи от одного из отверстий (при наличии регулировочных болтов в опорной конструкции фильтра).
6.4.9 Каждый отгружаемый фильтр должен иметь транспортную маркировку, выполненную в соответствии с
ГОСТ 14192. Транспортная маркировка должна содержать:
- наименование грузополучателя;
- наименование пункта назначения;
- количество грузовых мест и порядковый номер места (через дробь);
- наименование грузоотправителя;
- массы брутто и нетто грузового места, кг;
- габаритные размеры грузового места, см.
6.4.10 Транспортная маркировка на неупакованные узлы изделия должна быть выполнена на фанерных или металлических ярлыках размерами 148 x 210 мм согласно
ГОСТ 14192. Ярлыки должны быть надежно закреплены на видном месте.
6.4.11 На упакованном фильтре должны быть нанесены манипуляционные знаки:
- "Центр тяжести";
- "Место строповки".
6.5.1 Фильтры поставляют заказчику узлами без упаковки.
6.5.2 Все отверстия, патрубки, штуцера должны быть закрыты заглушками или пробками для обеспечения защиты от загрязнений и повреждений внутренней полости фильтра и механической обработки патрубков.
6.5.3 Все съемные, сменные детали и узлы фильтра должны быть упакованы в деревянные ящики. Упаковка должна соответствовать требованиям настоящего стандарта и
ГОСТ 23170.
6.5.4 Крепежные детали при отправке их в ящиках должны быть законсервированы согласно инструкции предприятия-изготовителя, а шпильки (болты) фланцевых соединений дополнительно упакованы в оберточную или парафинированную бумагу.
6.5.5 КД и эксплуатационную документацию, прилагаемую к фильтру, завертывают в водонепроницаемую бумагу или бумагу с полиэтиленовым покрытием и вкладывают в герметичный пакет, изготовленный из полиэтиленовой пленки толщиной не менее 150 мкм по
ГОСТ 10354. Швы пакета должны быть сварены (заклеены). Пакет дополнительно должен быть обернут водонепроницаемой бумагой или полиэтиленовой пленкой, края которых должны быть сварены (заклеены).
6.5.6 При отгрузке фильтра эксплуатационная и разрешительная документация должна крепиться внутри фильтра или на фильтре. При этом на фильтр должна быть нанесена надпись - "Документация здесь".
6.5.7 Каждое грузовое место должно иметь свой упаковочный лист, который вкладывают в пакет из водонепроницаемой бумаги или бумаги с полиэтиленовым покрытием. Пакет дополнительно завертывают в водонепроницаемую бумагу и размещают в специальном кармане. Карман должен крепиться около маркировки груза.
6.5.8 КД и эксплуатационная документация, а также второй экземпляр упаковочного листа должны быть упакованы непосредственно в фильтр.
6.5.9 Консервацию фильтра следует проводить по технологии предприятия-изготовителя с учетом требований настоящего стандарта и условий транспортирования и хранения. Средства временной антикоррозионной защиты фильтра должны относиться ко II группе по
ГОСТ 9.014.
6.5.10 На все обработанные поверхности, а также резьбовые участки деталей должна быть нанесена временная антикоррозионная защита варианта ВЗ-4 по
ГОСТ 9.014.
6.5.11 Консервация должна обеспечивать защиту от коррозии при транспортировании, хранении и монтаже в течение двух лет со дня отгрузки фильтра с предприятия-изготовителя.
6.5.12 При хранении свыше двух лет или обнаружении дефектов временной антикоррозионной защиты при контрольных осмотрах в процессе хранения необходимо произвести переконсервацию согласно
ГОСТ 9.014.
6.5.13 Методы консервации и применяемые для этого материалы должны обеспечивать возможность расконсервации фильтра в сборе и транспортируемых блоков (узлов) без их разборки.
6.5.14 Расконсервацию следует проводить согласно
ГОСТ 9.014.
7 Требования безопасности
7.1.1 Конструкция, монтаж и эксплуатация фильтров должны соответствовать требованиям
ГОСТ 12.1.010,
ГОСТ 12.2.003, ГОСТ 12.2.044,
правилам проектирования, изготовления, приемки и безопасной эксплуатации сосудов и аппаратов стальных сварных в соответствии с требованиями стандартов государств, входящих в Содружество Независимых Государств.
7.1.2 Конструкция быстроразъемного концевого затвора фильтра должна быть оборудована предохранительным устройством, исключающим возможность открывания затвора при наличии давления в фильтре.
7.1.3 Арматура трубопроводная, применяемая на фильтрах, в части требований безопасности должна соответствовать требованиям ГОСТ 12.2.063 <1>.
--------------------------------
<1> На территории Российской Федерации действует
[1].
7.2 Требования безопасности при эксплуатации
7.2.1 Эксплуатация фильтра при параметрах, выходящих за пределы, указанные в эксплуатационной документации, не допускается.
7.2.2 С фильтром должна предоставляться декларация о соответствии фильтра требованиям
[11].
7.2.3 После установки фильтров на месте эксплуатации должно быть выполнено заземление и обеспечена молниезащита площадки.
7.2.4 К эксплуатации фильтров должен допускаться только квалифицированный персонал, прошедший отбор и обучение в соответствии с требованиями правил безопасной эксплуатации сосудов и аппаратов стальных сварных и сдавший экзамен на право обслуживания данного оборудования.
7.2.5 Проведение ремонтных работ на фильтрах, находящихся под давлением, не допускается. Перед открытием затвора фильтра необходимо убедиться в отсутствии давления в фильтре.
7.2.6 При выполнении ремонтных работ должен применяться инструмент, исключающий искрообразование.
7.2.7 Освещенность рабочих мест органов управления и приборов контроля при эксплуатации фильтров должна соответствовать требованиям к освещенности в соответствии с требованиями НД государств, входящих в Содружество Независимых Государств.
7.2.8 Фильтры должны быть оборудованы стационарными площадками с лестницами и ограждением, входящими в комплект поставки. Площадки обслуживания должны соответствовать требованиям ГОСТ 12.2.044.
7.2.9 Запрещается эксплуатация крана консольного и лебедки без руководства по эксплуатации.
7.2.10 Консольный кран и лебедка должны соответствовать требованиям промышленной безопасности, а также иметь соответствующий сертификат соответствия установленного образца в соответствии с требованиями НД государств, входящих в Содружество Независимых Государств.
7.2.11 К эксплуатации консольного крана и лебедки допускаются лица, прошедшие соответствующее обучение и имеющие при себе действующее удостоверение на право выполнения данной работы.
7.2.12 На консольных кранах и лебедках должны быть размещены таблички с указанием регистрационного номера, грузоподъемности и датой следующего частичного и полного освидетельствования.
7.2.13 Консольные краны и лебедки допускаются к подъему и перемещению только тех грузов, масса которых не превышает грузоподъемность крана.
7.2.14 Запрещается работа консольного крана при наличии следующих дефектов:
- трещин в ответственных частях металлоконструкций (стреле, раме и т.п.);
- неисправности тормозов;
- недопустимого износа стальных канатов, крюка и механизма подъема;
- поломки собачки храпового механизма стрелового барабана лебедки;
- пробуксовки муфты отбора мощности.
7.2.15 Фильтры не должны являться источниками шума, вибрации, ультразвуковых колебаний.
7.2.16 Перед открытием концевого затвора фильтра лоток должен быть надежно соединен с фильтром кабелем заземления. Запрещено отсоединять кабель заземления до закрытия фильтра.
7.2.17 Фильтрующие элементы должны вытягиваться из корпуса фильтра плавно и без рывков.
7.3 Требования безопасности при транспортировании и хранении
7.3.1 Требования безопасности при погрузочно-разгрузочных работах должны соответствовать
ГОСТ 12.3.009.
7.3.2 Строповку фильтров следует проводить в соответствии со схемой строповки, которая приведена на сборочном чертеже, и по отметкам на фильтре.
7.3.3 В руководстве по эксплуатации должны быть установлены требования, обеспечивающие безопасность при транспортировании и хранении фильтров:
- транспортирование и хранение фильтров следует проводить с учетом всех требований по безопасности, предусмотренных предприятием - изготовителем фильтров;
- после истечения установленного срока хранения фильтр должен быть подвергнут повторной консервации. При планируемом применении по назначению - техническому диагностированию и испытаниям на работоспособность и герметичность;
- транспортирование фильтров следует проводить в соответствии с правилами, действующими на конкретных видах транспорта;
- погрузка, разгрузка, транспортирование и складирование фильтров должны проводиться персоналом, аттестованным в установленном порядке, с соблюдением требований безопасности при выполнении данных работ.
8 Требования охраны окружающей среды
8.1 Фильтры должны быть герметичны по отношению к внешней среде. Протечки не допускаются.
8.2 Детали, вышедшие из строя и отработавшие свой ресурс, предварительно очищенные и отпаренные, передаются на утилизацию специализированным предприятиям, имеющим лицензию на осуществление деятельности по обезвреживанию и размещению отходов I - IV класса опасности по
ГОСТ 12.1.007.
8.3 Материалы и вещества, применяемые для упаковки и консервации, должны быть безопасными для людей и окружающей среды.
8.4 Значения по допустимым (по уровню и времени) химическим, механическим, радиационным, электромагнитным воздействиям на окружающую среду должны отвечать требованиям стандартов государств, входящих в Содружество Независимых Государств.
8.5 Концентрация загрязняющих веществ в объектах окружающей среды (водная среда, атмосферный воздух, почва) с учетом их устойчивости должны отвечать требованиям стандартов государств, входящих в Содружество Независимых Государств.
9.1.1 Фильтры должны отвечать требованиям КД, утвержденной в установленном порядке, а также правилам проектирования, изготовления, приемки, устройства и безопасной эксплуатации сосудов в соответствии с требованиями
ГОСТ 2.103.
9.1.2 Приемка и контроль качества фильтров (сборочные единицы и детали), материалов, комплектующих изделий и отдельных операций должны проводиться органами технического контроля предприятия-изготовителя на соответствие требованиям настоящего стандарта и КД, утвержденной в установленном порядке, в присутствии представителя заказчика. Результатом приемки является клеймо ОТК на детали, сборке, фильтре и штамп ОТК с подписью в паспорте фильтра.
9.1.3 К изготовлению и сборке допускают материалы и детали, качество которых отвечает требованиям НД, которые приняты органами технического контроля предприятия - изготовителя фильтра.
9.1.4 Входному контролю должны подвергаться материалы и покупные изделия, качество которых подтверждено сертификатами, а при необходимости путем проведения испытаний силами предприятия - изготовителя фильтра.
9.1.5 Операционному контролю подвергают сборочные единицы и детали фильтра в процессе их изготовления на предприятии-изготовителе, качество которых подтверждено путем соответствия требованиям настоящего стандарта, правил устройства и безопасной эксплуатации сосудов и КД, утвержденной в установленном порядке.
9.2.1 Для контроля качества и приемки фильтры подвергают следующим испытаниям:
- приемо-сдаточным;
- периодическим;
- типовым.
9.2.2 Каждый серийно выпускаемый фильтр на предприятии-изготовителе должен быть подвергнут приемо-сдаточным испытаниям, которые включают проверку:
- идентификации материалов;
- габаритных и присоединительных размеров;
- работоспособности быстроразъемного концевого затвора;
- работоспособности системы самоочистки (для самоочищающихся ФГВ);
- качества сварных швов;
- термообработки;
- прочности и герметичности;
- запасовки/извлечения фильтрующего элемента;
- качества поверхности;
- качества наружного антикоррозионного покрытия;
- комплектности фильтра;
- комплектности и содержания сопроводительной документации;
- маркировки;
- консервации;
- упаковки.
9.2.3 Приемо-сдаточные испытания проводят с целью контроля соответствия фильтра требованиям комплекта КД, ТУ или стандартам организаций.
9.2.4 Приемо-сдаточные испытания должны проводиться службой технического контроля предприятия-изготовителя в соответствии с программой и методикой приемо-сдаточных испытаний. Участие в проведении приемо-сдаточных испытаний представителей заказчика определяется в ТУ или иных документах (договор, приказ, распоряжение и т.д.).
9.2.5 Результаты приемо-сдаточных испытаний оформляют протоколом испытаний. Требования к форме протокола установлены в
ГОСТ 15.309.
9.2.6 Основанием для принятия решения о приемке фильтра должны являться положительные результаты приемо-сдаточных испытаний, о чем должна быть произведена запись в паспорте.
9.2.7 Периодические испытания проводятся с целью подтверждения возможности продолжения изготовления фильтров по действующей КД и продолжения их приемки. Периодичность испытаний, количество образцов (объем выборки) устанавливается НД предприятия-изготовителя.
9.2.8 Порядок проведения испытаний устанавливают в соответствии с НД предприятия-изготовителя, программой и методикой периодических испытаний. Периодическим испытаниям подвергают продукцию, выдержавшую приемо-сдаточные испытания.
9.2.9 Результаты периодических испытаний оформляют актом.
9.2.10 Типовые испытания проводят с целью оценки эффективности и целесообразности предлагаемых изменений в конструкции фильтров или технологии изготовления, которые могут повлиять на технические характеристики фильтра, в том числе на безопасность, на взаимозаменяемость и совместимость, ремонтопригодность, на производственную и эксплуатационную технологичность.
9.2.11 Типовые испытания проводят по программе и методикам предприятий-изготовителей. Объем и периодичность типовых испытаний определяется внесенными в конструкцию или технологию изготовления изменениями.
9.2.12 Результаты типовых испытаний считаются положительными, если полученные фактические данные по всем видам проверок, включенным в программу типовых испытаний, свидетельствуют о достижении требуемых значений показателей фильтров (технологического процесса изготовления), установленных в программе и методике, и достаточны для оценки эффективности и целесообразности предлагаемых изменений.
9.2.13 Результаты испытаний оформляют актом и протоколом типовых испытаний с отражением всех результатов в порядке, установленном предприятием-изготовителем.
9.3 Окончательная отбраковка фильтров по результатам приемки
9.3.1 Если при испытаниях будет обнаружено несоответствие фильтра хотя бы по одному из проверяемых параметров, то он бракуется до выявления причин возникновения несоответствий и их устранения.
9.3.2 После устранения обнаруженных несоответствий фильтр подвергают повторным испытаниям по всем параметрам.
9.3.3 При положительных результатах повторных испытаний фильтр считается принятым.
9.3.4 Если при повторных испытаниях вновь будет обнаружено несоответствие фильтра хотя бы по одному из проверяемых параметров, то он подлежит окончательной отбраковке.
| | Применение на добровольной основе раздела 10 обеспечивает соблюдение требований технического регламента Таможенного союза "О безопасности оборудования, работающего под избыточным давлением" (ТР ТС 032/2013) (Решение Коллегии Евразийской экономической комиссии от 11.06.2019 N 96). | |
10.1 Проверка и контроль показателей фильтра должны осуществляться методами и средствами измерения, установленными программой и методикой приемо-сдаточных испытаний для фильтров, и соответствовать требованиям настоящего стандарта.
10.2 Идентификация материалов фильтра проводится методом документального контроля. Материалы, качество которых не подтверждено сертификатами качества или отсутствуют данные на отдельные виды испытаний, должны быть подвергнуты необходимым испытаниям и приняты службой качества предприятия-изготовителя до запуска материала в производство.
10.3 Проверка габаритных и присоединительных размеров должна проводиться после проведения гидравлических испытаний на прочность и герметичность и окончательной обработки патрубков.
10.4 Обязательному контролю подлежат следующие габаритные и присоединительные размеры фильтра:
- общая длина фильтра и длина составных частей фильтра;
- внутренний и наружный диаметры корпуса фильтра;
- внутренний и наружный диаметры патрубков;
- длина расширенной части фильтра;
- длина патрубков, предназначенных для сварного соединения с трубопроводами;
- расстояние от плоскости затвора фильтра до патрубка подвода/отвода продукта;
- расстояние от оси фильтра до опоры;
- разделка кромок патрубков под приварку.
10.5 Проверка работоспособности быстроразъемного концевого затвора фильтра проводится на соответствие требованиям КД и настоящего стандарта в следующем объеме:
- испытания поворотного устройства быстроразъемного концевого затвора на прочность и жесткость;
- проверка времени открытия/закрытия быстроразъемного концевого затвора;
- проверка усилия на штурвале при открытии/закрытии быстроразъемного концевого затвора фильтра;
- проверка блокирующего устройства быстроразъемного концевого затвора;
- проверка предохранительного устройства быстроразъемного концевого затвора.
10.6 Проверка работоспособности системы самоочистки проводится в следующем порядке:
- подача в фильтр специально загрязненной жидкости (сорбент, опилки, крупнозернистый песок и т.д.) с известной массой загрязняющих частиц;
- создание перепада давления в соответствии с
6.1.1.11, при котором включается система самоочистки;
- замер массы отфильтрованных механических примесей.
10.7 Оценка качества сварных соединений фильтра должна проводиться с использованием следующих методов контроля:
- визуально-измерительный контроль;
- механические испытания;
- металлографические исследования;
- радиографический и ультразвуковой контроль;
- цветная или магнитопорошковая дефектоскопия.
10.8 Для выявления наружных дефектов все сварные соединения подлежат визуально-измерительному контролю.
10.9 Механическим испытаниям должны быть подвергнуты стыковые сварные соединения в целях проверки соответствия их механических свойств требованиям настоящего стандарта. Механические испытания должны проводиться в соответствии с требованиями стандартов государств, входящих в Содружество Независимых Государств, и в следующем объеме:
- на растяжение - на двух образцах из каждого контрольного соединения;
- на изгиб - на двух образцах из каждого контрольного соединения;
- на ударный изгиб - на трех образцах из каждого контрольного сварного соединения.
10.10 Стыковые сварные соединения фильтра, определяющие его прочность, необходимо подвергать металлографическим исследованиям. Металлографические макроисследования и микроисследования проводят на одном образце от каждого контрольного сварного соединения.
10.11 Для выявления внутренних дефектов все сварные швы фильтра, работающего под давлением, должны подлежать контролю ультразвуковой дефектоскопией и радиографическим методом контроля в объеме 100% каждым методом.
10.12 Цветной и магнитопорошковой дефектоскопии следует подвергать сварные швы, недоступные для осуществления контроля радиографическим или ультразвуковым методом.
10.13 Допускается пересечение стыковых швов корпуса угловыми швами приварки внутренних и внешних устройств (опорных элементов и т.п.) при условии контроля всего перекрываемого участка шва корпуса и прилегающих к нему участков шириной не менее 50 мм радиографическим и ультразвуковым методом.
10.14 Материалы основных элементов фильтра должны быть подвергнуты ультразвуковому контролю в объеме 100% по классу сплошности 1 в соответствии с
ГОСТ 22727.
10.15 Проверку термообработки сборочных единиц и деталей фильтра осуществляют методом документального контроля. В паспорте фильтра должна быть отметка, подтверждающая проведение термообработки. Вид и режим термообработки, а также свойства металла сборочных единиц и деталей фильтра после проведения термообработки должны соответствовать требованиям, установленным в КД.
10.16 Прочность и герметичность фильтра проверяют гидравлическими испытаниями.
10.17 Гидравлические испытания фильтров должны быть проведены до нанесения защитного антикоррозионного покрытия.
Величину пробного давления при гидравлическом испытании фильтра на прочность принимают в соответствии с
6.1.1.6. Время выдержки фильтра под пробным давлением должно быть не менее 60 мин.
После выдержки под пробным давлением давление снижают до PN и проводят испытания на герметичность. Время выдержки при испытании на плотность (герметичность) должно быть достаточным для осмотра наружной поверхности фильтра, всех ее разъемных и сварных соединений, но не менее 30 мин.
10.18 Проверку запасовки и извлечения фильтрующего элемента проводят в соответствии с эксплуатационной документацией на фильтр, при этом должно проверяться отсутствие люфта фильтрующего элемента в его рабочем положении.
10.19 Проверку качества поверхности деталей, сборочных единиц и элементов фильтра проводят с помощью визуально-измерительного контроля.
Проверку качества поверхности фильтра под нанесение защитного антикоррозионного покрытия проводят на соответствие требованиям
ГОСТ 9.407,
ГОСТ 19007 и настоящего стандарта.
10.20 Проверку качества наружного антикоррозионного покрытия фильтра проводят в соответствии с требованиями
ГОСТ 9.407,
ГОСТ 19007 и настоящего стандарта.
10.21 Проверку комплектности фильтра проводят визуально на соответствие требованиям паспорта на фильтр или
6.3.
10.22 Проверку комплектности и содержания сопроводительной документации проводят визуально на соответствие требованиям стандартов на эксплуатационную документацию и КД и с учетом требований НД по промышленной безопасности для сосудов в соответствии с требованиями стандартов государств, входящих в Содружество Независимых Государств.
10.23 Проверку маркировки, консервации и упаковки фильтра проводят с помощью визуального контроля на соответствие требованиям
6.4,
6.5 и КД.
10.24 Требования к испытательному оборудованию и окружающей среде
10.24.1 Механические воздействия на фильтр, со стороны испытательного оборудования, не предусмотренные эксплуатационной документацией, должны быть исключены.
10.24.2 Для гидравлического испытания фильтра применяют воду температурой не ниже 5 °C и не выше 40 °C. Разность температур стенки фильтра и окружающего воздуха во время испытаний не должна вызывать конденсации влаги на поверхности стенок фильтра.
10.24.3 При всех методах контроля на прочность и проверку на герметичность для измерения давления должны применяться поверенные, опломбированные и имеющие паспорт манометры.
10.24.4 Давление при гидравлическом испытании должно контролироваться двумя манометрами. Оба манометра выбирают одного типа, предела измерения, одинаковых классов точности, цены деления. Класс точности манометров должен быть не хуже 1 по
ГОСТ 2405 во всем диапазоне измерений. Предел измерений манометров должен превышать максимальное значение пробного давления.
10.24.5 Испытания должны проводиться на испытательном оборудовании, аттестованном в установленном порядке, укомплектованном средствами защиты и приборами, имеющем эксплуатационную документацию и паспорт.
11 Транспортирование и хранение
11.1 Фильтр должен быть предназначен для транспортирования железнодорожным, автомобильным и водным транспортом в соответствии с требованиями правил перевозки грузов, действующими на каждом виде транспорта.
11.2 Условия транспортирования и хранения фильтра в части воздействия климатических факторов должны соответствовать группе 8 (ОЖ3) по
ГОСТ 15150.
11.3 Условия транспортирования фильтра в части воздействия механических факторов должны соответствовать жестким условиям (Ж) по
ГОСТ 23170.
11.4 При транспортировании и хранении фильтр должен быть защищен от механических повреждений и деформаций. Перемещение фильтра волоком запрещается.
11.5 При выполнении погрузочно-разгрузочных работ должны выполняться требования
ГОСТ 12.3.009. Условия хранения должны обеспечивать сохраняемость геометрических размеров, прочности, герметичности и работоспособности фильтра, а также заводской упаковки и антикоррозионного покрытия в течение всего срока сохраняемости.
11.6 Фильтр хранят в неповрежденной заводской упаковке не менее двух лет без повторной консервации. По истечении двух лет при необходимости проводят повторную консервацию.
11.7 При хранении фильтр должен быть установлен на подкладки, исключающие непосредственное соприкосновение с грунтом.
12 Указания по эксплуатации
12.1 Установку и монтаж фильтра осуществляют на подготовленную бетонную площадку в соответствии с инструкцией по монтажу, пуску, регулированию и обкатке фильтра, разработанной предприятием-изготовителем. Монтаж должен проводиться специализированными организациями, обеспеченными техническими средствами, необходимыми для качественного выполнения работ, оформившими акт готовности к реализации проекта монтажа фильтра и имеющими разрешение на применение конкретных видов (типов) технических устройств при работе на опасных производственных объектах в соответствии с требованиями стандартов государств, входящих в Содружество Независимых Государств.
12.2 К эксплуатации допускаются фильтры, имеющие защитное антикоррозионное покрытие, нанесенное в соответствии с
6.1.2.
12.3 Установка и крепление ФГГ на фундаменте должны обеспечивать перемещение фильтра вдоль оси от температурных деформаций магистрального нефтепровода и нефтепродуктопровода.
12.4 Перед эксплуатацией наружная поверхность фильтров должна быть теплоизолирована.
В состав конструкции тепловой изоляции для поверхностей фильтра (с отрицательной температурой) в качестве обязательных элементов должны входить: теплоизоляционный слой, покровный слой.
Для теплоизоляционного слоя следует применять негорючие теплоизоляционные материалы и изделия с плотностью не более 200 кг/м3 и расчетной теплопроводностью в конструкции не более 0,05 Вт/(м·К).
В качестве покровного слоя применяют листовую оцинкованную сталь.
При выборе теплоизоляционных материалов и покровных слоев следует учитывать стойкость элементов теплоизоляционной конструкции к химическим агрессивным факторам окружающей среды, включая возможное воздействие нефти или нефтепродуктов, содержащихся в изолируемом объекте.
Теплоизоляционные конструкции должны быть съемными.
В руководстве по эксплуатации должен быть предусмотрен раздел, указывающий на требования при устройстве (демонтаже, восстановлении) теплоизоляционного покрытия.
12.5 Эксплуатация фильтра должна осуществляться в соответствии с требованиями стандартов по эксплуатации сосудов на территории государств, входящих в Содружество Независимых Государств.
12.6 Не допускается эксплуатация фильтра при расходе, превышающем номинальный расход жидкости через фильтр, или при перепаде давления, превышающем максимальный перепад давления на фильтре.
12.7 Запрещается эксплуатация фильтров при отсутствии на них паспортов.
12.8 Фильтры должны подвергаться комплексному опробованию, в том числе испытаниям на прочность и герметичность после монтажа, до пуска в работу.
12.9 Фильтры должны подвергаться техническому освидетельствованию после монтажа, до пуска в работу, периодически в процессе эксплуатации. При необходимости - внеочередному техническому диагностированию. Объем, методы и периодичность технического диагностирования, среднего и капитального ремонта фильтров должны быть определены изготовителем и указаны в руководстве по эксплуатации.
12.10 Все работы, связанные с техническим обслуживанием, средним и капитальным ремонтом, следует проводить в плановом порядке, в установленные сроки и в полном объеме согласно руководству по эксплуатации.
12.11 После выработки назначенного срока службы или назначенного ресурса, установленного в настоящем стандарте, фильтр в обязательном порядке должен быть подвергнут техническому диагностированию с целью определения его технического состояния и возможности дальнейшего использования.
12.12 Перед проведением капитального ремонта фильтр должен быть подвергнут техническому диагностированию согласно руководству по эксплуатации на фильтр. По результатам технического диагностирования должен определяться объем капитального ремонта.
12.13 После капитального ремонта фильтр должен быть подвергнут техническому освидетельствованию, по результатам которого определяется дальнейший срок службы и сроки очередного освидетельствования.
12.14 К эксплуатации и обслуживанию фильтров должен допускаться персонал, аттестованный в установленном порядке.
12.15 При эксплуатации фильтров должны выполняться требования безопасности, указанные в
разделе 7.
12.16 Детали фильтра, вышедшие из строя и отработавшие свой ресурс, предварительно очищенные и отпаренные, передают на утилизацию специализированным предприятиям, имеющим разрешения на соответствующий вид деятельности.
12.17 Перед отправкой на утилизацию (вторичную переработку) фильтр необходимо освободить от рабочей среды по технологии владельца фильтра, обеспечивающей безопасное ведение работ. Следует проверить все материалы на взрывобезопасность и удалить из них все предметы, содержащие взрывоопасные горючие и легковоспламеняющиеся вещества.
12.18 Перед отправкой на утилизацию необходимо осуществить разборку фильтра с сортировкой металла по типам и маркам.
12.19 Детали из черных металлов подлежат утилизации по
ГОСТ 2787.
12.20 Детали из цветных металлов подлежат утилизации по
ГОСТ 1639.
13.1 Предприятие-изготовитель должно гарантировать соответствие фильтра:
- требованиям настоящего стандарта;
- установленным требованиям к проектированию, изготовлению, приемке, устройству и безопасной эксплуатации сосудов.
13.2 Гарантийный срок хранения без переконсервации - два года.
13.3 Гарантийный срок эксплуатации - два года со дня ввода фильтра в эксплуатацию.
13.4 В течение гарантийного срока предприятие-изготовитель должно безвозмездно устранять дефекты производства, выявленные в процессе эксплуатации, а при невозможности устранения дефектов выполнить замену поставленного изделия.
(обязательное)
ЗНАЧЕНИЯ МАКСИМАЛЬНОГО РАСХОДА НЕФТИ ЧЕРЕЗ ФИЛЬТР
А.1 Максимальный расход нефти через ФГГ в зависимости от DN приведен в таблице А.1.
Таблица А.1
Максимальный расход нефти через ФГГ в зависимости от DN
Номинальный диаметр присоединяемых трубопроводов DN | Максимальный расход нефти через ФГГ, м3/ч |
200 | 200 |
250 | 300 |
300 | 500 |
350 | 600 |
400 | 800 |
500 | 1200 |
600 | 1800 |
700 | 2500 |
800 | 3000 |
1000 | 5100 |
1200 | 7600 |
А.2 Максимальный расход нефти через ФГВ в зависимости от DN приведен в таблице А.2.
Таблица А.2
Максимальный расход нефти через ФГВ в зависимости от DN
Номинальный диаметр присоединяемых трубопроводов DN | Максимальный расход нефти через ФГВ, м3/ч |
80 | 60 |
100 | 100 |
150 | 200 |
200 | 400 |
250 | 500 |
300 | 900 |
350 | 1100 |
400 | 1600 |
500 | 2500 |
700 | 3600 |
800 | 4500 |
1000 | 7000 |
(обязательное)
КОНСТРУКТИВНЫЕ И МОНТАЖНЫЕ РАЗМЕРЫ ГОРИЗОНТАЛЬНОГО ФИЛЬТРА
Конструктивные размеры ФГГ должны соответствовать требованиям, приведенным в
таблице Б.1.
1 - корпус; 2 - фильтрующий элемент; 3 - осевой патрубок
входа/выхода нефти или нефтепродуктов; 4 - боковой патрубок
входа/выхода нефти или нефтепродуктов; 5 - быстроразъемный
концевой затвор; 6 - патрубок для контроля давления;
7 - патрубок для установки манометра; 8 - патрубок
для присоединения дренажного трубопровода; 9 - строповое
устройство; 10 - седловая опора; H - расстояние от оси ФГГ
до опоры; L - расстояние от фланца корпуса до кромки
осевого патрубка; L1 - расстояние от фланца корпуса
до оси бокового патрубка; L2 - расстояние между опорами;
L3 - расстояние до опоры; Dp - внутренний диаметр корпуса
Рисунок Б.1 - Общий вид ФГГ
Таблица Б.1
Конструктивные размеры ФГГ
Наименование показателя и единицы измерений | Конструктивные размеры фильтра в зависимости от номинального диаметра DN |
200 | 250 | 300 | 350 | 400 | 500 | 600 | 700 | 800 | 1000 | 1050 | 1200 |
Номинальный диаметр патрубков подвода/отвода продукта | 200 | 250 | 300 | 350 | 400 | 500 | 600 | 700 | 800 | 1000 | 1050 | 1200 |
Внутренний диаметр корпуса Dp, мм | 500 | 500 | 600 | 700 | 700 | 1000 | 1200 | 1200 | 1300 | 1600 | 1600 | 1600 |
Расстояние от фланца корпуса до кромки осевого патрубка L, мм | 2600 | 2600 | 3300 | 4200 | 4400 | 4400 | 4500 | 4500 | 5300 | 6850 | 6850 | 7410 |
Расстояние от фланца корпуса до оси бокового патрубка L1, мм | 1100 | 1400 | 1400 | 1500 | 1800 | 1905 | 1900 | 1900 | 1900 | 1930 | 1930 | 1950 |
Расстояние от оси ФГГдо опоры H, мм | 950 | 950 | 1000 | 1000 | 1050 | 1100 | 1200 | 1300 | 1400 | 1500 | 1500 | 1600 |
Расстояние между опорами L2, мм | 1100 | 1100 | 1600 | 2100 | 2300 | 2300 | 2400 | 2500 | 2800 | 4440 | 4440 | 5000 |
Расстояние до опоры L3, мм | 1000 | 1000 | 1200 | 1200 | 1200 | 1200 | 1200 | 1200 | 1760 | 1760 | 1760 | 1760 |
а) Габаритные и присоединительные размеры дренажного
патрубка и анкерных болтов
б) Габаритные размеры патрубка подвода нефти
Рисунок Б.2, лист 1 - Монтажные размеры при блочном
заказе ФГГ
в) Габаритные и монтажные размеры лебедки, лотка
и крана консольного <1>
--------------------------------
<1> Установка лебедки, лотка и крана консольного определяется проектом и оговаривается при заказе.
L4 - расстояние от дренажного патрубка до оси опоры ФГГ;
L5 - расстояние от анкерных болтов до оси опоры ФГГ;
L6 - расстояние от патрубка подвода нефти до оси ФГГ;
L7 - длина лебедки; L8 - расстояние от лебедки до корпуса
фильтра; L9 - расстояние от лотка до корпуса фильтра;
L10 - длина лотка; B1 - ширина лебедки; B2 - ширина лотка;
H1 - расстояние от дренажного патрубка к оси ФГГ
Таблица Б.2
Монтажные размеры при блочном заказе ФГГ
Наименование показателя и единицы измерений | Монтажные размеры в зависимости от номинального диаметра DN |
200 | 250 | 300 | 350 | 400 | 500 | 600 | 700 | 800 | 1000 | 1050 | 1200 |
Длина лебедки L7, мм | 950 | 950 | 950 | 950 | 950 | 1600 | 1600 | 1700 | 1700 | 1700 | 1700 | 1700 |
Расстояние от лебедки до корпуса фильтра L8, мм | 7000 | 7000 | 7000 | 7000 | 7000 | 7000 | 7000 | 7840 | 7840 | 12550 | 12550 | 12550 |
Расстояние от лотка до корпуса фильтра L9, мм | 425 | 425 | 425 | 440 | 450 | 840 | 940 | 940 | 1030 | 1055 | 1055 | 1055 |
Длина лотка L10, мм | 2030 | 2030 | 2400 | 3200 | 3400 | 4000 | 4000 | 4200 | 4200 | 8290 | 8290 | 8290 |
Ширина лотка B2, мм | 650 | 650 | 650 | 650 | 800 | 800 | 800 | 905 | 1000 | 1100 | 1200 | 1300 |
Ширина лебедки B1, мм | 800 | 800 | 800 | 800 | 800 | 800 | 800 | 1200 | 1200 | 1520 | 1520 | 1520 |
Расстояние от анкерных болтов до оси опоры ФГГ L5, мм | 0 | 0 | 0 | 0 | 0 | 70 | 70 | 70 | 80 | 100 | 100 | 100 |
Расстояние от патрубка подвода нефти до оси ФГГ L6, мм | 675 | 675 | 730 | 780 | 780 | 950 | 1050 | 1050 | 1150 | 1250 | 1300 | 1300 |
Расстояние от дренажного патрубка к оси опоры ФГГ L4, мм | 400 | 600 | 750 | 1250 | 1300 | 1300 | 1400 | 1400 | 1400 | 1960 | 2000 | 2000 |
Расстояние от дренажного патрубка до оси ФГГ H1, мм | 420 | 420 | 470 | 530 | 530 | 700 | 800 | 800 | 850 | 1000 | 1000 | 1020 |
Радиус вылета быстроразъемного концевого затвора, мм | 950 | 950 | 1030 | 1330 | 1330 | 1360 | 1890 | 1890 | 2100 | 2220 | 2220 | 2220 |
Количество штурвалов быстроразъемного концевого затвора, шт. | 1 | 1 | 1 | 1 | 1 | 2 | 2 | 2 | 2 | 2 | 2 | 2 |
Расположение штурвалов быстроразъемного концевого затвора относительно патрубка подвода нефти или нефтепродуктов | Со стороны патрубка подвода нефти или нефтепродуктов |
| | Арматура трубопроводная. Общие требования безопасности |
| | Топливо дизельное ЕВРО. Технические условия |
| | Топлива для двигателей внутреннего сгорания. Неэтилированный бензин. Технические условия |
| | Топлива моторные. Бензин неэтилированный. Технические условия |
| ASTM D1298-12b | Standard test method for density, relative density, or API gravity of crude petroleum and liquid petroleum products by hydrometer method (Стандартный метод определения плотности, относительной плотности или плотности в градусах API сырой нефти и жидких нефтепродуктов ареометром) |
| ASTM D4052-11 | Standard test method for density, relative density, and API gravity of liquids by digital density meter (Стандартный метод определения плотности, относительной плотности и плотности API (в градусах американского нефтяного института) жидкостей с помощью цифрового ареометра) |
| ISO 5208:2008 | Арматура промышленная. Испытания металлической арматуры под давлением (Industrial valves - Pressure testing of metallic valves) |
| ISO 8501-1:2012 | Подготовка стальной поверхности перед нанесением красок и относящихся к ним продуктов. Визуальная оценка чистоты поверхности. Часть 1. Степени ржавости и степени подготовки непокрытой стальной поверхности и стальной поверхности после полного удаления прежних покрытий (Preparation of steel substrates before application of paints and related products - Visual assessment of surface cleanliness - Part 1: Rust grades and preparation grades of uncoated steel substrates and of steel substrates after overall removal of previous coatings) |
| ISO 8503-3:2007 | Подготовка стальной поверхности перед нанесением красок и относящихся к ним продуктов. Характеристики шероховатости стальной поверхности после пескоструйной или дробеструйной очистки. Часть 3. Метод калибровки компараторов профиля поверхности ISO и определения профиля поверхности. Методика с применением фокусирующего микроскопа (Preparation of steel substrates before application of paints and related products - Surface roughness characteristics of blast-cleaned steel substrates - Part 3: Method for the calibration of ISO surface profile comparators and for the determination of surface profile - Focusing microscope procedure) |
| MSK-64 | Шкала сейсмической интенсивности MSK-1964 |
| | Технический регламент Таможенного союза "О безопасности машин и оборудования" |