Главная // Актуальные документы // ГОСТ (Государственный стандарт)СПРАВКА
Источник публикации
В данном виде документ опубликован не был.
Первоначальный текст документа опубликован в издании
М.: Стандартинформ, 2013.
Информацию о публикации документов, создающих данную редакцию, см. в справке к этим документам.
Примечание к документу
Отдельные положения данного документа включены в
Перечень стандартов, в результате применения которых на добровольной основе обеспечивается соблюдение требований технического
регламента Таможенного союза "О безопасности железнодорожного подвижного состава" и в
Перечень стандартов, содержащих правила и методы исследований (испытаний) измерений, в том числе правила отбора образцов, необходимые для применения и исполнения требований технического
регламента Таможенного союза "О безопасности железнодорожного подвижного состава" И осуществления оценки соответствия объектов технического регулирования (
Решение Комиссии Таможенного союза от 15.07.2011 N 710).
Текст данного документа приведен с учетом
поправки, введенной в действие с 23.08.2021, опубликованной в "ИУС", N 1, 2022.
Изменение N 1, утв. Приказом Росстандарта от 13.06.2017 N 536-ст, введено в действие с 1 июля 2017 года.
Название документа
"ГОСТ 31847-2012. Межгосударственный стандарт. Колесные пары специального подвижного состава. Общие технические условия"
(введен в действие Приказом Росстандарта от 26.11.2012 N 1166-ст)
(ред. от 13.06.2017)
"ГОСТ 31847-2012. Межгосударственный стандарт. Колесные пары специального подвижного состава. Общие технические условия"
(введен в действие Приказом Росстандарта от 26.11.2012 N 1166-ст)
(ред. от 13.06.2017)
агентства по техническому
регулированию и метрологии
от 26 ноября 2012 г. N 1166-ст
МЕЖГОСУДАРСТВЕННЫЙ СТАНДАРТ
КОЛЕСНЫЕ ПАРЫ СПЕЦИАЛЬНОГО ПОДВИЖНОГО СОСТАВА
ОБЩИЕ ТЕХНИЧЕСКИЕ УСЛОВИЯ
Wheel sets for the special-purpose rolling stock.
General specifications
ГОСТ 31847-2012
| | Список изменяющих документов Росстандарта от 13.06.2017 N 536-ст) | |
Дата введения
1 января 2014 года
Цели, основные принципы и основной порядок проведения работ по межгосударственной стандартизации установлены
ГОСТ 1.0-92 "Межгосударственная система стандартизации. Основные положения" и
ГОСТ 1.2-2009 "Межгосударственная система стандартизации. Стандарты межгосударственные, правила и рекомендации по межгосударственной стандартизации. Правила разработки, принятия, применения, обновления и отмены".
1. Подготовлен Федеральным государственным унитарным предприятием "Всероссийский научно-исследовательский институт стандартизации и сертификации в машиностроении" (ВНИИНМАШ).
2. Внесен Федеральным агентством по техническому регулированию и метрологии.
3. Принят Межгосударственным советом по стандартизации, метрологии и сертификации (протокол от 15 ноября 2012 г. N 42).
За принятие проголосовали:
Краткое наименование страны по МК (ИСО 3166) 004-97 | Код страны по МК (ИСО 3166) 004-97 | Сокращенное наименование национального органа по стандартизации |
Азербайджан | AZ | Азстандарт |
Беларусь | BY | Госстандарт Республики Беларусь |
Казахстан | KZ | Госстандарт Республики Казахстан |
Кыргызстан | KG | Кыргызстандарт |
Молдова | MD | Молдова-Стандарт |
Российская Федерация | RU | Росстандарт |
Таджикистан | TJ | Таджикстандарт |
Узбекистан | UZ | Узстандарт |
Украина | UA | Госпотребстандарт Украины |
4.
Приказом Федерального агентства по техническому регулированию и метрологии от 26 ноября 2012 г. N 1166-ст межгосударственный стандарт ГОСТ 31847-2011 введен в действие в качестве национального стандарта Российской Федерации с 1 января 2014 г.
5. Настоящий стандарт подготовлен на основе применения ГОСТ Р 51775-2001.
6. Введен впервые.
Информация об изменениях к настоящему стандарту публикуется в ежегодно издаваемом информационном указателе "Национальные стандарты", а текст изменений и поправок - в ежемесячно издаваемом информационном указателе "Национальные стандарты". В случае пересмотра (замены) или отмены настоящего стандарта соответствующее уведомление будет опубликовано в ежемесячно издаваемом информационном указателе "Национальные стандарты". Соответствующая информация, уведомление и тексты размещаются также в информационной системе общего пользования - на официальном сайте Федерального агентства по техническому регулированию и метрологии в сети Интернет.
Настоящий стандарт устанавливает требования к приводным и неприводным колесным парам специального подвижного состава: мотовозов, дрезин, специальных автомотрис, железнодорожно-строительных машин для строительства, ремонта и содержания железнодорожного пути (далее - СПС).
(в ред.
Изменения N 1, утв. Приказом Росстандарта от 13.06.2017 N 536-ст)
Настоящий стандарт не распространяется на колесные пары, изготавливаемые по
ГОСТ 11018 и
ГОСТ 4835.
Требования
подпунктов 4.6.1.3 -
4.6.1.7,
4.6.2.5,
пунктов 4.7.2 -
4.7.8,
4.7.10,
4.7.13,
4.7.15,
4.7.17,
6.3.1,
6.3.2,
6.3.6,
6.3.11,
6.3.14,
6.3.16,
6.5.4 настоящего стандарта обеспечивают соблюдение требований безопасности, установленных нормативно-правовыми актами государств, упомянутых в предисловии как проголосовавших за принятие межгосударственного стандарта в сфере технического регулирования на железнодорожном транспорте.
(в ред.
Изменения N 1, утв. Приказом Росстандарта от 13.06.2017 N 536-ст)
В настоящем стандарте использованы ссылки на следующие межгосударственные стандарты:
ГОСТ 9.010-80 Единая система защиты от коррозии и старения. Воздух сжатый для распыления лакокрасочных материалов. Технические требования и методы контроля
ГОСТ 12.0.003-2015 Система стандартов безопасности труда. Опасные и вредные производственные факторы. Классификация
(в ред.
Изменения N 1, утв. Приказом Росстандарта от 13.06.2017 N 536-ст)
ГОСТ 12.1.005-88 Система стандартов безопасности труда. Общие санитарно-гигиенические требования к воздуху рабочей зоны
ГОСТ 12.3.002-2014 Система стандартов безопасности труда. Процессы производственные. Общие требования безопасности
(в ред.
Изменения N 1, утв. Приказом Росстандарта от 13.06.2017 N 536-ст)
ГОСТ 398-2010 Бандажи черновые для железнодорожного подвижного состава. Технические условия
(ссылка в ред.
Изменения N 1, утв. Приказом Росстандарта от 13.06.2017 N 536-ст)
ГОСТ 427-75 Линейки измерительные металлические. Технические условия
(в ред.
Изменения N 1, утв. Приказом Росстандарта от 13.06.2017 N 536-ст)
(в ред.
Изменения N 1, утв. Приказом Росстандарта от 13.06.2017 N 536-ст)
--------------------------------
<*> Сноска исключена с 1 июля 2017 года. -
Изменение N 1, утв. Приказом Росстандарта от 13.06.2017 N 536-ст.
ГОСТ 1643-81 Основные нормы взаимозаменяемости. Передачи зубчатые цилиндрические. Допуски
ГОСТ 1758-81 Основные нормы взаимозаменяемости. Передачи зубчатые конические и гипоидные. Допуски
ГОСТ 2310-77 Молотки слесарные стальные. Технические условия
ГОСТ 2789-73 Шероховатость поверхности. Параметры и характеристики
Ссылка исключена с 1 июля 2017 года. -
Изменение N 1, утв. Приказом Росстандарта от 13.06.2017 N 536-ст
ГОСТ 4491-2016 Центры колесные литые железнодорожного подвижного состава. Общие технические условия
(ссылка в ред.
Изменения N 1, утв. Приказом Росстандарта от 13.06.2017 N 536-ст)
ГОСТ 4835-2013 Колесные пары железнодорожных вагонов. Технические условия
(ссылка в ред.
Изменения N 1, утв. Приказом Росстандарта от 13.06.2017 N 536-ст)
ГОСТ 5267.10-90 Профиль для бандажных колец. Сортамент
| | ИС МЕГАНОРМ: примечание. Взамен ГОСТ 6360-83 Приказом Росстандарта от 22.10.2020 N 897-ст с 01.07.2021 введен в действие ГОСТ 6360-2020. | |
ГОСТ 6360-83 Масла МТ-16П и М-16ПЦ. Технические условия
ГОСТ 8420-74 Материалы лакокрасочные. Методы определения условной вязкости
Ссылка исключена с 1 июля 2017 года. -
Изменение N 1, утв. Приказом Росстандарта от 13.06.2017 N 536-ст
ГОСТ 9070-75 Вискозиметры для определения условной вязкости лакокрасочных материалов. Технические условия
ГОСТ 10054-82 Шкурка шлифовальная бумажная водостойкая. Технические условия
Ссылка исключена с 1 июля 2017 года. -
Изменение N 1, утв. Приказом Росстандарта от 13.06.2017 N 536-ст
ГОСТ 11018-2011 Колесные пары тягового подвижного состава железных дорог колеи 1520 мм. Общие технические условия
(ссылка в ред.
Изменения N 1, утв. Приказом Росстандарта от 13.06.2017 N 536-ст)
ГОСТ 13754-81 Основные нормы взаимозаменяемости. Передачи зубчатые конические с прямыми зубьями. Исходный контур
ГОСТ 13755-2015 (ISO 53:1998) Основные нормы взаимозаменяемости. Передачи зубчатые цилиндрические эвольвентные. Исходные контуры
(ссылка в ред.
Изменения N 1, утв. Приказом Росстандарта от 13.06.2017 N 536-ст)
ГОСТ 16202-81 Основные нормы взаимозаменяемости. Передачи зубчатые конические с круговыми зубьями. Исходный контур
Ссылка исключена с 1 июля 2017 года. -
Изменение N 1, утв. Приказом Росстандарта от 13.06.2017 N 536-ст
ГОСТ 21790-2005 Ткани хлопчатобумажные и смешанные одежные. Общие технические условия
Ссылка исключена с 1 июля 2017 года. -
Изменение N 1, утв. Приказом Росстандарта от 13.06.2017 N 536-ст
ГОСТ 30803-2014 Колеса зубчатые тяговых передач тягового подвижного состава. Технические условия
(ссылка в ред.
Изменения N 1, утв. Приказом Росстандарта от 13.06.2017 N 536-ст)
Ссылка исключена с 1 июля 2017 года. -
Изменение N 1, утв. Приказом Росстандарта от 13.06.2017 N 536-ст
ГОСТ 15.309-98 Система разработки и постановки продукции на производство. Испытания и приемка выпускаемой продукции. Основные положения
(ссылка введена
Изменением N 1, утв. Приказом Росстандарта от 13.06.2017 N 536-ст)
ГОСТ 3647-80 Материалы шлифовальные. Классификация. Зернистость и зерновой состав. Методы контроля
(ссылка введена
Изменением N 1, утв. Приказом Росстандарта от 13.06.2017 N 536-ст)
ГОСТ 868-82 Нутромеры индикаторные с ценой деления 0,01 мм. Технические условия
(ссылка введена
Изменением N 1, утв. Приказом Росстандарта от 13.06.2017 N 536-ст)
(ссылка введена
Изменением N 1, утв. Приказом Росстандарта от 13.06.2017 N 536-ст)
ГОСТ 12503-75 Сталь. Методы ультразвукового контроля. Общие требования
(ссылка введена
Изменением N 1, утв. Приказом Росстандарта от 13.06.2017 N 536-ст)
ГОСТ 20415-82 Контроль неразрушающий. Методы акустические. Общие положения
(ссылка введена
Изменением N 1, утв. Приказом Росстандарта от 13.06.2017 N 536-ст)
ГОСТ 22261-94 Средства измерений электрических и магнитных величин. Общие технические условия
(ссылка введена
Изменением N 1, утв. Приказом Росстандарта от 13.06.2017 N 536-ст)
ГОСТ 21105-87 <*> Контроль неразрушающий. Магнитопорошковый метод
(ссылка введена
Изменением N 1, утв. Приказом Росстандарта от 13.06.2017 N 536-ст)
--------------------------------
<*> На территории Российской Федерации действует
ГОСТ Р 56512-2015 "Контроль неразрушающий. Магнитопорошковый метод. Типовые технологические процессы".
(сноска введена
Изменением N 1, утв. Приказом Росстандарта от 13.06.2017 N 536-ст)
ГОСТ 23479-79 Контроль неразрушающий. Методы оптического вида. Общие требования
(ссылка введена
Изменением N 1, утв. Приказом Росстандарта от 13.06.2017 N 536-ст)
ГОСТ 23706-93 (МЭК 51-6-84) Приборы аналоговые показывающие электроизмерительные прямого действия и вспомогательные части к ним. Часть 6. Особые требования к омметрам (приборам для измерения полного сопротивления) и приборам для измерения активной проводимости
(ссылка введена
Изменением N 1, утв. Приказом Росстандарта от 13.06.2017 N 536-ст)
ГОСТ 32216-2013 Специальный железнодорожный подвижной состав. Общие технические требования
(ссылка введена
Изменением N 1, утв. Приказом Росстандарта от 13.06.2017 N 536-ст)
ГОСТ 33200-2014 Оси колесных пар железнодорожного подвижного состава. Общие технические условия
(ссылка введена
Изменением N 1, утв. Приказом Росстандарта от 13.06.2017 N 536-ст)
ГОСТ 33783-2016 Колесные пары железнодорожного подвижного состава. Методы определения показателей прочности.
(ссылка введена
Изменением N 1, утв. Приказом Росстандарта от 13.06.2017 N 536-ст)
Примечание. При пользовании настоящим стандартом целесообразно проверить действие ссылочных стандартов в информационной системе общего пользования - на официальном сайте Федерального агентства по техническому регулированию и метрологии в сети Интернет или по ежегодно издаваемому информационному указателю "Национальные стандарты", который опубликован по состоянию на 1 января текущего года, и по соответствующим ежемесячно издаваемым информационным указателям, опубликованным в текущем году. Если ссылочный стандарт отменен без замены, то положение, в котором дана ссылка на него, применяется в части, не затрагивающей эту ссылку.
В настоящем стандарте применяют следующие термины с соответствующими определениями:
3.1. колесная пара: Узел в сборе, состоящий из оси с неподвижно установленными на ней двумя колесами (неприводная колесная пара) и включающий дополнительно один или два зубчатых колеса, а также другие детали и сборочные единицы, которые не могут быть демонтированы без его расформирования (приводная колесная пара).
3.2. обод колеса: Бандаж составного или обод цельного колеса.
3.3. шейка оси: Часть оси для установки подшипника буксы.
3.4. подступичные части оси: Части оси под установку колес и зубчатого колеса.
3.5. предподступичная часть оси: Часть оси между шейкой и подступичной частью оси.
3.6. середина оси: Поперечная плоскость симметрии оси.
3.7. непостоянство диаметра в поперечном или продольном сечении посадочной поверхности: Разность между наибольшим и наименьшим диаметрами, измеренными в поперечном или продольном сечениях соответственно.
3.8. допуск непостоянства диаметра в поперечном или продольном сечении: Наибольшее допустимое непостоянство диаметра в поперечном или продольном сечениях соответственно.
3.9. формирование колесной пары: Технологический процесс установки методом тепловой или прессовой посадки на ось колес, зубчатого колеса и других деталей.
3.10. заказчик: Предприятие или организация, или их объединение, по договору с которым осуществляется разработка, производство и/или поставка колесных пар.
(п. 3.10 введен
Изменением N 1, утв. Приказом Росстандарта от 13.06.2017 N 536-ст)
4. Технические требования
4.1. Неприводная колесная пара должна состоять из оси и двух колес
(рисунок 1). Приводная колесная пара должна иметь дополнительно одну или два зубчатых колеса осевого редуктора
(рисунок 2).
S - расстояние между внутренними торцами (гранями)
ободьев колес; B - ширина обода колеса; K - плоскость
симметрии оси; T - допуск симметричности размера S;
D - диаметр колес по кругу катания; E - допуск радиального
биения круга катания колеса; F - допуск торцевого биения
внутреннего торца обода колеса; G - ось центров
Рисунок 1. Колесная пара в сборе (неприводная)
S - расстояние между внутренними торцами (гранями)
ободьев колес; B - ширина обода колеса; C - расстояние
между упорным торцом предподступичной части оси и внутренним
торцом обода колеса; D - диаметр колес по кругу катания;
E - допуск радиального биения круга катания колеса;
F - допуск торцевого биения внутреннего торца обода колеса;
G - ось центров
Рисунок 2. Колесная пара с зубчатым колесом
осевого редуктора (приводная)
4.2. Исключен с 1 июля 2017 года. -
Изменение N 1, утв. Приказом Росстандарта от 13.06.2017 N 536-ст.
4.3.1. Ось колесной пары должна соответствовать требованиям
ГОСТ 33200.
(п. 4.3.1 в ред.
Изменения N 1, утв. Приказом Росстандарта от 13.06.2017 N 536-ст)
4.3.2. Упрочнение поверхности оси накатыванием проводят в порядке и по сечениям в соответствии с
ГОСТ 33200 и типом выбранной оси.
(в ред.
Изменения N 1, утв. Приказом Росстандарта от 13.06.2017 N 536-ст)
4.3.3. Параметры шероховатости поверхностей оси должны быть:
- шеек под подшипники качения, подступичных частей под установку колес и подступичной части под установку зубчатого колеса Ra <*> <= 1,25 мкм;
--------------------------------
<*> Здесь и далее допускается вместо параметра шероховатости Ra принимать соответствующий параметр Rz по
ГОСТ 2789.
- средней части - Ra <= 2,5 мкм;
- торцов:
под упорные подшипники качения и скольжения - Ra <= 2,5 мкм;
нерабочих - Ra <= 6,3 мкм;
- галтелей:
подшипниковых шеек - Ra <= 1,25 мкм;
подступичных шеек - Ra <= 2,5 мкм.
4.3.4. Допуск непостоянства диаметра <**> оси в поперечных и продольных сечениях должен быть, мм, не более:
--------------------------------
<**> Здесь и далее допускается вместо непостоянства диаметра в поперечном сечении измерять отклонение от круглости, вместо непостоянства диаметра в продольном сечении измерять профиль продольного сечения. Допуск круглости и профиля продольного сечения должен равняться половине значения допуска непостоянства диаметра в поперечном или продольном сечении.
0,03 - для шеек под подшипники качения при втулочной прессовой посадке подшипников;
0,02 - то же, при горячей посадке подшипников;
0,05 - подступичных и предподступичных частей оси под установку колес и зубчатого колеса.
В случае конусообразности больший диаметр должен быть обращен к середине оси.
4.3.5. Допуск радиального биения поверхностей оси под подшипники качения, ступицы колес и зубчатого колеса относительно оси центров (
рисунки 1 и
2) должен быть не более 0,05 мм.
4.3.6. Допуск торцевого биения торцов предподступичных частей оси должен быть не более 0,05 мм.
4.4.1. Колесо и его элементы должны соответствовать требованиям:
- профиль для бандажных колец - по ГОСТ 5267.10;
(п. 4.4.1 в ред.
Изменения N 1, утв. Приказом Росстандарта от 13.06.2017 N 536-ст)
--------------------------------
<***> Сноска исключена с 1 июля 2017 года. -
Изменение N 1, утв. Приказом Росстандарта от 13.06.2017 N 536-ст.
4.4.2. Разность значений твердости ободьев колес для одной колесной пары должна быть не более 24 HB.
4.4.3. Разность размеров по ширине обода колеса (размер B,
рисунки 1 и
2) должна быть не более 2 мм. Ширину бандажа составного колеса измеряют по окружности на расстоянии не менее 150 мм от крайних цифр маркировки.
4.4.4. Посадочные поверхности колеса и колесного центра
4.4.4.1. Параметры шероховатости должны быть:
- отверстия ступицы колеса или колесного центра:
при прессовом методе формирования - Ra <= 5 мкм;
при тепловом методе формирования - Ra <= 2,5 мкм;
- наружной поверхности колесного центра под посадку бандажа - Ra <= 5 мкм.
4.4.4.2. Допуск непостоянства диаметра должен быть, мм, не более:
0,05 - для отверстия ступицы колеса или колесного центра в поперечном и продольном сечениях. В случае конусообразности больший диаметр должен быть обращен к внутреннему торцу ступицы;
0,2 - для наружной поверхности обода колесного центра под посадку бандажа в поперечном сечении;
0,1 - то же, в продольном сечении.
В случае конусообразности направление конусности обода колесного центра должно совпадать с направлением конусности внутренней посадочной поверхности бандажа, а разность диаметров посадочной поверхности в продольном сечении должна быть не более 0,05 мм.
4.4.4.3. Допускаемое отклонение от номинального диаметра отверстия ступицы колеса и разность толщины ступицы колеса по торцам должны соответствовать требованиям
ГОСТ 10791.
(в ред.
Изменения N 1, утв. Приказом Росстандарта от 13.06.2017 N 536-ст)
4.4.4.4. Окончательную подготовку посадочных поверхностей отверстия ступицы колеса (колесного центра) и оси проводят непосредственно перед формированием колесной пары.
4.4.5. Бандаж
4.4.5.1. Параметр шероховатости посадочной поверхности бандажа должен быть Ra <= 5 мкм. На обработанной внутренней поверхности бандажа на расстоянии не менее 10 мм от упорного бурта и выточки под бандажное кольцо черновины не допускаются. На остальной части посадочной поверхности бандажа допускается не более двух черновин общей площадью не более 16 см2 при максимальной длине не более 40 мм.
4.4.5.2. Радиусы сопряжения элементов профиля выточки бандажа под бандажное кольцо должны быть не менее 2,5 мм, радиус сопряжения посадочной поверхности и упорного бурта должен быть не менее 1,5 мм. Параметр шероховатости поверхностей выточки под бандажное кольцо и под упорный бурт должен быть Ra <= 10 мкм. На кромках выточки под бандажное кольцо, выходящих на внутреннюю посадочную поверхность бандажа и упорного бурта с двух сторон, должны быть фаски размером 1,5 мм под углом 45°. Допускается вместо фасок кромки скруглять радиусом 2 мм.
4.4.5.3. Допуск непостоянства диаметра посадочной поверхности бандажа в поперечном сечении должен быть не более 0,2 мм, а в продольном сечении - не более 0,1 мм. В случае

посадочной поверхности бандажа направление конусности должно соответствовать требованиям к сопрягаемой поверхности колесного центра по
4.4.4.2.
4.4.6. Отклонение диаметра сопряжения бандажа с колесным центром от номинального значения не должно быть более плюс 3 мм и менее минус 1,5 мм.
4.4.7. Заготовки колесных центров, цельнокатаных колес и бандажей должны быть подвергнуты ультразвуковому контролю.
4.4.8. Перед сборкой бандаж подвергают магнитной дефектоскопии для обнаружения дефектов на посадочной поверхности по
ГОСТ 21105.
(в ред.
Изменения N 1, утв. Приказом Росстандарта от 13.06.2017 N 536-ст)
--------------------------------
<*> Сноска исключена с 1 июля 2017 года. -
Изменение N 1, утв. Приказом Росстандарта от 13.06.2017 N 536-ст.
4.4.9. Посадка бандажа на колесный центр
4.4.9.1. Посадку бандажа на колесный центр проводят тепловым методом с натягом от 1,2 до 1,6 мм на каждые 1000 мм диаметра обода колесного центра. Усадка обода колесного центра (уменьшение посадочного диаметра под бандаж) вследствие пластических деформаций после сборки должна быть не более 20% максимального натяга.
4.4.9.2. Температура нагрева бандажа перед посадкой на обод колесного центра должна быть от 220 °C до 270 °C.
4.4.9.3. Бандажное кольцо вводят утолщенной стороной в выточку бандажа непосредственно после его посадки. Устанавливать кольцо при бандаже, остывшем до температуры ниже 200 °C, не допускается. Прижимной бурт бандажа окончательно обжимают при температуре не ниже 100 °C на специальном прессе с усилием на ролик от 440 до 490 кН (от 45 до 50 тс). После обжатия бурта бандажное кольцо должно быть плотно зажато в выточке без зазора по торцу. Допускается зазор между торцами кольца не более 2 мм.
4.4.9.4. После установки бандажного кольца колесо охлаждают на воздухе. Принудительное охлаждение колеса запрещается. Плотность посадки бандажа проверяют после остывания колеса.
4.4.9.5. Для контроля в эксплуатации за сдвигом бандажа относительно колесного центра на наружные торцы бандажа и обода колесного центра наносят контрольные метки вдоль радиуса колеса. На бандаж на отрезке длиной 25 мм на расстоянии не менее 10 мм от кромки упорного бурта наносят керном 4 - 5 меток глубиной от 1,5 до 2,0 мм с равными интервалами между ними. На ободе колесного центра наносят метку в виде канавки радиусом не менее 0,5 мм и глубиной до 1,0 мм.
4.4.9.6. На контрольные отметки по
4.4.9.5 наносят контрольные полосы шириной от 12 до 15 мм: на бандаж (на всю его толщину) эмалью красного, а на обод колесного центра - белого (желтого) цвета.
4.5. Требования к зубчатому колесу
4.5.1. Зубчатое колесо должно соответствовать требованиям
ГОСТ 30803, допуски цилиндрических зубчатых передач -
ГОСТ 1643, допуски конических и гипоидных зубчатых передач - ГОСТ 1758, исходный контур конических зубчатых передач с прямыми зубьями - ГОСТ 13754, исходный контур зубчатых цилиндрических эвольвентных передач -
ГОСТ 13755, исходный контур зубчатых конических передач с круговыми зубьями - ГОСТ 16202.
(в ред.
Изменения N 1, утв. Приказом Росстандарта от 13.06.2017 N 536-ст)
4.5.2. Параметр шероховатости поверхности отверстия зубчатого колеса должен быть:
- при тепловом методе - Ra <= 2,5 мкм;
- при прессовом методе - Ra <= 5 мкм.
4.5.3. Допуск непостоянства диаметра отверстия зубчатого колеса в поперечном и продольном сечениях не должен быть более 0,05 мм. При наличии конусообразности отверстия зубчатого колеса направление конусности должно соответствовать направлению конусности посадочной поверхности оси.
4.6. Требования к формированию колесной пары
4.6.1. Прессовый метод формирования
4.6.1.1. Перед запрессовкой элементов колесных пар их подбирают по размерам. Рекомендуемое значение натяга при прессовом методе посадки - от 0,07 до 0,15 мм на каждые 100 мм диаметра сопрягаемых деталей с учетом обеспечения конечных усилий запрессовки по
4.6.1.4.
4.6.1.2. Температура элементов колесной пары (ось, колеса, колесные центры, зубчатое колесо) перед запрессовкой должна быть одинаковой.
4.6.1.3. Формирование колесных пар прессовым методом проводят на специальном гидравлическом прессе, оборудованном двумя манометрами (один для процесса запрессовки, другой - для распрессовки) и самопишущим прибором для записи диаграмм запрессовки.
Класс точности самопишущего прибора должен быть не ниже 1,5, погрешность отображения диаграммы - не более 2,5%, толщина линии записи - не более 0,6 мм, ширина диаграммной ленты - не менее 100 мм, масштаб записи по длине должен быть не менее 1:2, 1,0 мм по высоте диаграммы должен соответствовать усилию не более 24,5 кН (2,5 тс).
Усилие при запрессовке контролируют манометром класса точности не ниже 1,5.
Абзац исключен с 1 июля 2017 года. -
Изменение N 1, утв. Приказом Росстандарта от 13.06.2017 N 536-ст.
--------------------------------
<*> Сноска исключена с 1 июля 2017 года. -
Изменение N 1, утв. Приказом Росстандарта от 13.06.2017 N 536-ст.
Абзац исключен с 1 июля 2017 года. -
Изменение N 1, утв. Приказом Росстандарта от 13.06.2017 N 536-ст.
4.6.1.4. Посадку колес и колесных центров, а также зубчатого колеса на ось проводят с конечными усилиями запрессовки, которые должны соответствовать указанным в таблице 1.
В килоньютонах (тонно-силах)
Деталь колесной пары | Конечное усилие запрессовки на каждые 100 мм номинального диаметра посадочной поверхности |
колеса | колесного центра | оси |
| | | | | |
Ось: | | | | | | |
- приводная | 392 (40) | 636 (65) | 343 (35) | 491 (50) | - | - |
- неприводная | 382 (39) | 636 (65) | 294 (30) | 421 (43) | - | - |
Зубчатое колесо | - | - | - | - | 196 (20) | 294 (30) |
Скорость движения плунжера гидравлического пресса при запрессовке не должна превышать 3 мм/с.
4.6.1.5. Нормальная индикаторная диаграмма запрессовки по своей форме должна иметь форму плавной, нарастающей, несколько выпуклой вверх кривой по всей длине с начала до конца запрессовки.
Длина диаграммы запрессовки должна быть не менее 85% теоретической длины L, вычисляемой по формуле

, (1)
где

- длина участка контакта ступицы колеса (колесного центра) с осью, мм;
H - дополнительное продвижение ступицы (если предусмотрено в конструкторских документах);
i - масштаб диаграммы по длине.
4.6.1.6. Допускаются следующие отклонения от нормальной формы диаграммы запрессовки:
а) в начальной точке диаграммы запрессовки - скачкообразное повышение усилия до 49 кН (5 тс) с последующим горизонтальным участком диаграммы до 5% теоретической длины L;
б) в любой точке диаграммы запрессовки:
- наличие площадок или впадин на диаграмме, число которых должно соответствовать числу масляных канавок на ступице колеса (колесного центра);
- вогнутость кривой диаграммы запрессовки с непрерывным нарастанием усилия при условии, что вся кривая, кроме площадок или впадин, указанных выше, располагается выше прямой, соединяющей начальную точку диаграммы с конечной точкой, указывающей на шаблоне - диаграмме для конкретного типа оси минимально допускаемое усилие запрессовки

;
в) в конце диаграммы запрессовки:
- горизонтальная прямая на участке, не превышающем 15% теоретической длины диаграммы L, или падение усилия не более 3% усилия запрессовки

на участке, не превышающем 10% теоретической длины диаграммы L. Усилие запрессовки

вычисляют по формуле

, (2)
где

- номинальный диаметр посадочной поверхности колеса, колесного центра или оси;

- максимальное конечное усилие запрессовки в соответствии с
таблицей 1;
- скачкообразное повышение усилия, если в конструкции или технологией формирования предусмотрена запрессовка до упора в какой-либо элемент оси;
- колебание усилия с амплитудой не более 3% усилия запрессовки

на участке, не превышающем 10% теоретической длины диаграммы L.
4.6.1.7. Если конечное усилие запрессовки до 10% меньше или больше предельного значения диапазона, установленного в
таблице 1 (без учета допускаемого скачкообразного повышения усилия по
4.6.1.6, а) изготовитель в присутствии уполномоченного представителя заказчика должен провести проверку прессовой посадки трехкратным приложением контрольной осевой нагрузки в обратном направлении от усилия запрессовки. Для проверки уменьшенного конечного усилия запрессовки контрольная осевая нагрузка должна быть равна 1.2 фактического усилия запрессовки. Для проверки увеличенного конечного усилия запрессовки контрольная осевая нагрузка должна соответствовать максимальному усилию запрессовки, указанному в
таблице 1.
4.6.1.8. В случае, если получена неудовлетворительная диаграмма запрессовки колеса, центра или зубчатого колеса на ось, прессовое соединение бракуют и оно подлежит распрессовке. Распрессованное колесо, центр или зубчатое колесо допускается повторно запрессовывать на то же место при условии, что на посадочных поверхностях нет задиров. Запрессовывать колесо, центр или зубчатое колесо на ось без дополнительной механической обработки одной из сопрягаемых поверхностей разрешается не более двух раз.
4.6.1.9. Качество диаграммы запрессовки проверяют шаблоном-диаграммой
(рисунок 3).
(в ред.
Изменения N 1, утв. Приказом Росстандарта от 13.06.2017 N 536-ст)
1 - поле удовлетворительных диаграмм запрессовки;
2 - максимальная кривая; 3 - минимальная кривая
Рисунок 3. Шаблон-диаграмма запрессовки
4.6.1.10. На бланке диаграммы запрессовки колеса (колесного центра) указывают:
- дату запрессовки;
- тип колесной пары;
- номер оси;
- диаметры сопрягаемых поверхностей;
- конечное усилие запрессовки;
- обозначение правой или левой стороны колесной пары;
- значение натяга;
- длину ступицы;
- порядковый номер диаграммы;
- фамилию и подпись прессовщика;
- фамилию и подпись мастера и контролера службы технического контроля;
- фамилию и подпись инспектора-приемщика.
4.6.11. Диаграммы принятых запрессовок хранят в течение 25 лет, забракованных - одного года.
(в ред.
Изменения N 1, утв. Приказом Росстандарта от 13.06.2017 N 536-ст)
4.6.2. Тепловой метод формирования
4.6.2.1. Порядок формирования соединения деталей колесных пар тепловым методом, подготовка поверхностей деталей и антикоррозионного покрытия - в соответствии с
Приложением А.
4.6.2.2. Рекомендуемое значение натяга при тепловом методе посадки:
для ходовых колес и колесных центров - от

до

диаметра сопряжения деталей;
для зубчатого колеса - от

до

диаметра сопряжения деталей.
4.6.2.3. Посадочную поверхность оси покрывают антикоррозионным покрытием в соответствии с
Приложением А.
4.6.2.4. Устанавливаемые на ось колесной пары цельные и составные колеса, колесные центры равномерно нагревают до температуры от 240 °C до 260 °C.
Температура нагрева зубчатого колеса из легированной стали должна быть не выше 200 °C. Допускается температура нагрева зубчатого колеса из стали марки 55 Ф не выше 260 °C.
(в ред.
Изменения N 1, утв. Приказом Росстандарта от 13.06.2017 N 536-ст)
--------------------------------
<*> Сноска исключена с 1 июля 2017 года. -
Изменение N 1, утв. Приказом Росстандарта от 13.06.2017 N 536-ст.
Разность температур различных участков детали при ее нагревании должна быть не выше 10 °C.
4.6.2.5. Прочность каждого соединения должна быть проверена на сдвиг контрольной осевой нагрузкой:
(636 +/- 20) кН [(65 +/- 2) тс] - на каждые 100 мм диаметра подступичных частей оси под посадку ходовых колес (цельных и составных);
(491 +/- 20) кН [(50 +/- 2) тс] - на каждые 100 мм диаметра подступичных частей приводной оси под посадку колесных центров;
(421 +/- 20) кН [(43 +/- 2) тс] - на каждые 100 мм диаметра подступичных частей неприводной оси под посадку колесных центров:
(294 +/- 20) кН [(30 +/- 2) тс] - на каждые 100 мм диаметра подступичной части оси под посадку зубчатого колеса.
Сдвиг в соединении не допускается.
4.6.3. Комбинированный метод формирования
При комбинированном методе формирования колесной пары колесо (колесный центр) может быть посажено тепловым методом на ось, а зубчатое колесо - прессовым методом или зубчатое колесо может быть посажено на ось тепловым методом, а колесо (колесный центр) - прессовым методом.
4.6.4. Конструкцией колесной пары должны быть предусмотрены каналы для подачи масла под давлением в зону соединения колеса (колесного центра) и зубчатого колеса с осью для расформирования колесной пары (маслосъем). Рекомендуемый метод распрессовки соединения приведен в
Приложении Б.
4.7. Требования к колесной паре в целом
4.7.1. Номинальные размеры колесной пары (
рисунки 1 и
2) должны быть:
S = 1440 мм;
B = 140 мм при использовании локомотивных колес, 130 мм при использовании вагонных колес.
Значения диаметров цельнокатаных колес (бандажей) приведены в таблице 2.
Таблица 2
В миллиметрах
Диаметр цельнокатаного колеса (бандажа) по кругу катания D |
600 | 650 | 710 | 860 | 950 | 957 | 1050 |
4.7.2. Параметры профилей ободьев колес должны соответствовать
ГОСТ 11018.
Допуск на ширину бандажа (обода) колеса B (
рисунки 1,
2) должен быть, мм:

- при B = 140 мм;

- при B = 130 мм.
4.7.3. Разность диаметров D для одной колесной пары должна быть не более 0,5 мм.
4.7.4. Расстояние между внутренними торцами ободьев колес S должно быть

.
(в ред.
Изменения N 1, утв. Приказом Росстандарта от 13.06.2017 N 536-ст)
4.7.5. Допуск торцевого биения внутренних торцов ободьев колес относительно оси центров должен быть не более 1,0 мм.
4.7.6. Допуск радиального биения круга катания колес относительно оси центров должен быть не более 0,5 мм.
4.7.7. Параметр шероховатости поверхности катания и гребней колес должен быть Ra <= 10 мкм, внутренних торцов ободьев колес - Ra <= 20 мкм.
4.7.8. На внутренних торцах ободьев колес у сформированной колесной пары допускаются рассредоточенные черновины глубиной не более 1,0 мм, общей площадью не более 50 см2, не выходящие на радиус сопряжения с гребнем колеса.
4.7.9. Разность расстояний от внутренних торцов ободьев колес до торцов шеек или предподступичных частей оси (разность размеров C) для одной колесной пары не должна быть более 2,0 мм.
Допускается использовать в качестве базы ось K
(рисунок 1). Допуск симметричности размера между внутренними торцами ободьев колес должен быть равен допускам на размер S.
4.7.10. Для СПС с конструкционной скоростью от 100 до 120 км/ч колесные пары подвергают статической балансировке. Значение остаточного статического дисбаланса колесной пары, приведенного к диаметру 1000 мм, должно быть не более 25 кг·см.
(в ред.
Изменения N 1, утв. Приказом Росстандарта от 13.06.2017 N 536-ст)
4.7.11. Колесные пары должны быть окрашены в соответствии с требованиями
ГОСТ 32216.
(в ред.
Изменения N 1, утв. Приказом Росстандарта от 13.06.2017 N 536-ст)
--------------------------------
<*> Сноска исключена с 1 июля 2017 года. -
Изменение N 1, утв. Приказом Росстандарта от 13.06.2017 N 536-ст.
4.7.12. К каждой колесной паре прилагают формуляр, в котором указывают:
- наименование (обозначение) колесной пары с указанием типа СПС;
- заводской номер колесной пары;
- наименование или условный номер предприятия-изготовителя;
- дату изготовления колесной пары;
- обозначение конструкторского документа колесной пары;
- данные по оси, цельным колесам, колесным центрам и бандажам (предприятие - изготовитель отливок, поковок, номер плавки), предприятие - изготовитель элементов колесной пары и обозначения их конструкторских документов.
В формуляре также указывают следующие размеры после чистовой обработки:
- диаметр колес по кругу катания;
- диаметры основных частей оси (шеек под подшипники качения и скольжения, предподступичных и подступичных частей, средней части оси);
- посадочные диаметры ступиц колес (колесных центров), зубчатого колеса;
- наружные посадочные диаметры колесных центров и внутренние посадочные диаметры бандажей (для составных колес);
- толщины гребней и ободьев (бандажей) колес;
- расстояние между внутренними торцами ободьев (бандажей) колес.
По согласованию с заказчиком к колесной паре вместо формуляра может быть приложен паспорт, с указанием в нем тех же данных.
4.7.13. На колесные пары после формирования наносят четкие знаки маркировки и клейма согласно рисунку 4. Высота цифр и букв должна быть от 6 до 10 мм.
(в ред.
Изменения N 1, утв. Приказом Росстандарта от 13.06.2017 N 536-ст)
--------------------------------
<**> Сноска исключена с 1 июля 2017 года. -
Изменение N 1, утв. Приказом Росстандарта от 13.06.2017 N 536-ст.
1 - знак формирования; 2 - приемочные клейма по технической
документации на изготовление; 3 - условный номер
предприятия, сформировавшего колесную пару;
4 - дата формирования колесной пары; 5 - знаки
маркировки и клейма, относящиеся к изготовлению оси
Рисунок 4. Знаки и клейма, наносимые
на правом торце оси при формировании
Росстандарта от 13.06.2017 N 536-ст)
Комбинированный метод формирования колесной пары обозначают знаками маркировки: ТК - при тепловом методе посадки колеса (колесного центра) и прессовом методе посадки зубчатого колеса на ось, ТЗ - комбинированный при тепловом методе посадки зубчатого колеса и прессовом методе посадки колеса (колесного центра) на ось. Клейма в форме круга с буквами, обозначающими метод формирования колесной пары: "Ф" - прессовый, "ФТ" - тепловой или "ТК", "ТЗ" - комбинированный устанавливают на правом торце оси.
4.7.14. Знаки маркировки и клейма на готовую колесную пару наносят на правом торце оси. Для приводной колесной пары с односторонним не центральным приводом правым торцом считают торец оси со стороны зубчатого колеса. При центральном или двухстороннем приводе, а также для неприводной колесной пары правой стороной колесной пары (оси) считают сторону, на торце оси которой нанесены знаки и клейма, относящиеся к изготовлению оси.
При подтверждении соответствия колесные пары маркируют знаком соответствия (обращения на рынке) в местах, где размещают клейма, относящиеся к ремонту колесной пары, а также в формуляре. Если конструктивные особенности колесной пары не позволяют выполнить маркировку знака соответствия (обращения на рынке) на торце оси, знак соответствия (обращения на рынке) ставят на другую поверхность, указанную в конструкторской документации или только в формуляре.
(в ред.
Изменения N 1, утв. Приказом Росстандарта от 13.06.2017 N 536-ст)
4.7.15. Сопротивление усталости оси и колес (колесных центров) должно обеспечивать безотказность колесной пары соответствующего СПС при эксплуатации.
Коэффициент запаса сопротивления усталости оси не менее:
2,0 - для буксовой шейки и предподступичной части;
1,3 - для подступичной части;
1,2 - для заподступичной и средней части.
Коэффициент запаса сопротивления усталости колеса (цельного или составного), не менее 1,3.
Коэффициенты запаса сопротивления усталости, полученные методом кругового изгиба, должны обеспечиваться при следующих пределах выносливости:
- материала оси в составе колесной пары, не менее:
а) 145 МПа - в сечениях буксовой шейки и предподступичной части оси;
б) 140 МПа - в сечениях подступичной части оси;
в) 160 МПа - в сечениях заподступичной и средней частей оси;
- материала колеса в составе колесной пары, не менее:
а) 110 МПа - без обточки диска;
б) 150 МПа - с обточкой диска.
Допускаемые коэффициенты запаса статической прочности колесной пары при создании ее новой конструкции должны быть:
- оси - не менее 1,0;
- колес - не менее 1,0.
(абзацы введены
Изменением N 1, утв. Приказом Росстандарта от 13.06.2017 N 536-ст)
4.7.16. Форма дисков колес должна обеспечивать в эксплуатации сохранение размера между внутренними торцами ободьев колес (бандажей) в пределах допуска по
4.7.4 при нагреве элементов колесной пары вследствие длительного или экстренного торможения, а также при уменьшении толщины ободьев колес (бандажей) из-за износа и ремонтных обточек.
(в ред.
Изменения N 1, утв. Приказом Росстандарта от 13.06.2017 N 536-ст)
4.7.17. Электрическое сопротивление колесной пары должно быть не более 0,01 Ом.
5.1. Для проверки соответствия колесных пар требованиям настоящего стандарта, конструкторской и технологической документации проводят приемосдаточные (ПС), типовые (Т) испытания в соответствии с требованиями
ГОСТ 15.309.
(в ред.
Изменения N 1, утв. Приказом Росстандарта от 13.06.2017 N 536-ст)
Контролируемые параметры, виды и методы испытаний приведены в таблице 3.
Таблица 3
Контролируемый параметр | Пункт стандарта, содержащий требования, которые проверяют при испытаниях | Метод испытаний |
приемо-сдаточных | типовых |
Внешний вид и качество обработки поверхностей | | |
Геометрические размеры и их отклонения, форма | 4.3.4, 4.3.5, 4.3.6, 4.4.3, 4.4.4.2, 4.4.4.3, 4.4.5.2, 4.4.5.3, 4.4.6, 4.5.3, 4.7.1, 4.7.2 - 4.7.6, 4.7.9 | |
Качество накатывания поверхностей | - | | |
(в ред. Изменения N 1, утв. Приказом Росстандарта от 13.06.2017 N 536-ст) |
Химический состав и механические свойства | | |
Наличие дефектов | | |
Ультразвуковой и магнитный контроль | | |
Статический дисбаланс | | |
Значение натяга сопрягаемых поверхностей | | |
Температура нагрева сопрягаемых поверхностей | | |
Прочность (плотность) посадки | | |
Профиль ободьев колес (бандажей) по кругу катания | | |
(в ред. Изменения N 1, утв. Приказом Росстандарта от 13.06.2017 N 536-ст) |
Усадка колесного центра вследствие пластической деформации | - | | |
Изменение размера 5 от нагрева при колодочном торможении и уменьшении толщины бандажей (ободьев) колес | - | | |
Сопротивление усталости, безотказность деталей и их сопряжений | - | | |
Маркировка и клеймение | | |
Качество окраски | | |
Электрическое сопротивление | | |
(в ред.
Изменения N 1, утв. Приказом Росстандарта от 13.06.2017 N 536-ст)
5.2. Приемо-сдаточные испытания
5.2.1. Приемо-сдаточные испытания деталей колесной пары (
4.3,
4.4) и каждой колесной пары в сборе проводят до их окраски с предъявлением формуляра колесной пары, диаграмм проверки колес на сдвиг при тепловом методе формирования или диаграмм запрессовки.
(в ред.
Изменения N 1, утв. Приказом Росстандарта от 13.06.2017 N 536-ст)
5.2.2. На деталях и колесной паре, прошедших приемо-сдаточные испытания, должны быть видны невооруженным взглядом знаки маркировки и клейма.
5.2.3. В случае несоответствия хотя бы одному проверяемому требованию детали колесной пары и колесную пару бракуют.
5.3. Исключен с 1 июля 2017 года. -
Изменение N 1, утв. Приказом Росстандарта от 13.06.2017 N 536-ст.
5.4. Типовые испытания
5.4.1. Типовые испытания проводят при:
- изменении конструкции (толщины обода, диска или ступицы, формы и геометрии диска, спицы);
- применении материалов (оси, колесного центра, колеса, бандажа) с измененными механическими свойствами;
- изменении технологического процесса изготовления деталей колесной пары, метода формирования колесной пары;
- исключено с 1 июля 2017 года. -
Изменение N 1, утв. Приказом Росстандарта от 13.06.2017 N 536-ст;
- исключено с 1 июля 2017 года. -
Изменение N 1, утв. Приказом Росстандарта от 13.06.2017 N 536-ст.
5.4.2. Условия проведения типовых испытаний должны соответствовать условиям эксплуатации колесных пар по основным параметрам (статическая и динамическая нагрузки от колесной пары на рельсы, скорость движения, сила тяги и торможения).
5.4.3. Типовые испытания проводят по программам и методикам в соответствии с
ГОСТ 15.309.
(п. 5.4.3 в ред.
Изменения N 1, утв. Приказом Росстандарта от 13.06.2017 N 536-ст)
6.1. Соответствие заготовок, готовых деталей и колесной пары в сборе требованиям
раздела 4 настоящего стандарта при приемо-сдаточных, периодических и типовых испытаниях проверяет аттестованный персонал изготовителя с участием, при необходимости, представителя заказчика.
6.2. Результаты испытаний колесной пары и ее деталей фиксируют в протоколе испытаний.
(в ред.
Изменения N 1, утв. Приказом Росстандарта от 13.06.2017 N 536-ст)
6.3. Методы контроля при приемо-сдаточных испытаниях
6.3.1. Внешний вид и качество обработки поверхностей определяют визуально сравнением с эталоном качества поверхности.
6.3.2. Геометрические размеры, отклонения формы и поверхностей контролируют измерительными инструментами, в том числе калибрами и эталонами, обеспечивающими точность на класс выше, чем значение допуска, установленное настоящим стандартом.
6.3.3. Механические свойства и химический состав металла деталей колесных пар подтверждает поставщик заготовок. При необходимости контролируют механические свойства и проводят химический анализ на соответствие
ГОСТ 398,
ГОСТ 4491,
ГОСТ 10791,
ГОСТ 33200 и
ГОСТ 30803.
(в ред.
Изменения N 1, утв. Приказом Росстандарта от 13.06.2017 N 536-ст)
6.3.4. Наличие дефектов на посадочной поверхности бандажа и внутренних торцах ободьев колес определяют визуальным осмотром с измерением суммарной площади черновин и их глубины.
6.3.5. Отсутствие поверхностных и внутренних дефектов оси, колесного центра (колеса), бандажа и зубчатого колеса проверяют методами визуального контроля - по
ГОСТ 23479, магнитного контроля - по
ГОСТ 21105, акустического контроля - по
ГОСТ 20415 и ультразвукового контроля по
ГОСТ 12503.
(п. 6.3.5 в ред.
Изменения N 1, утв. Приказом Росстандарта от 13.06.2017 N 536-ст)
--------------------------------
<*> Сноска исключена с 1 июля 2017 года. -
Изменение N 1, утв. Приказом Росстандарта от 13.06.2017 N 536-ст.
6.3.6. Статический дисбаланс колесной пары проверяют с использованием специального измерительного устройства.
6.3.7. Значение натяга посадки сопрягаемых деталей определяют перед формированием колесной пары измерением посадочных диаметров их мест сопряжения микрометрическим нутромером по
ГОСТ 868 и микрометрической скобой по
ГОСТ 11098 в трех сечениях по длине посадки и в двух взаимно перпендикулярных плоскостях. За значение диаметра измеряемого места сопряжения деталей следует принимать среднее значение результатов из каждых шести измерений.
(п. 6.3.7 в ред.
Изменения N 1, утв. Приказом Росстандарта от 13.06.2017 N 536-ст)
6.3.8. Правильность фактических сочетаний конусообразностей посадочных поверхностей следует проверять сопоставлением результатов измерений по
6.3.7 со значениями измерений в двух крайних сечениях по длине посадки посадочных поверхностей в двух взаимно перпендикулярных плоскостях. За значение диаметра в крайнем сечении посадки следует принимать среднее значение из двух измерений в каждом сечении.
(п. 6.3.8 в ред.
Изменения N 1, утв. Приказом Росстандарта от 13.06.2017 N 536-ст)
6.3.9. Размеры (абсолютные и их разность) определяют как среднеарифметическое результатов не менее трех измерений в равноудаленных местах.
6.3.10. Температуру нагрева деталей колесной пары перед их формированием контролируют с помощью приборов и устройств, позволяющих контролировать рост температуры (по диаграмме нагрева), не допуская ее превышения выше предельной.
6.3.11. Прочность посадки деталей колесной пары проверяют:
при прессовом методе посадки - шаблоном-диаграммой по длине,
- форме диаграммы запрессовки по
4.6.1.5,
4.6.1.6 и ее соответствию конечным усилиям запрессовки, указанным в
таблице 1;
- при тепловом методе посадки - трехкратным приложением к соединению регламентированной контрольной осевой (сдвигающей) нагрузки по
4.6.2 с записью диаграммы нагружения.
6.3.12. Плотность посадки бандажа и обжатия бандажного кольца проверяют после остывания колеса по звуку от ударов слесарным молотком по
ГОСТ 2310 по поверхности катания и бандажному кольцу в разных точках. Глухой звук не допускается.
6.3.13. Профиль ободьев колеса (бандажа) проверяют шаблоном, соответствующим конструкторским документам на конкретную колесную пару. Предельные отклонения на размеры шаблона +/- 0,1 мм. В допускаемый зазор между шаблоном и профилем обода колеса не должен проходить щуп толщиной более 0,5 мм по поверхности катания и толщине гребня, 1 мм - по высоте гребня, при этом шаблон должен быть прижат к внутреннему торцу бандажа (обода колеса). Допускается зазор 0,5 мм между концом шаблона и внутренней гранью обода при отсутствии просвета между шаблоном и поверхностью катания.
6.3.14. Качество маркировки и клеймения проверяют визуально. Колесную пару с нечитаемыми маркировкой и клеймением не принимают.
6.3.15. Методы контроля качества окраски колесных пар - по технологической документации завода-изготовителя.
(п. 6.3.15 в ред.
Изменения N 1, утв. Приказом Росстандарта от 13.06.2017 N 536-ст)
--------------------------------
<**> Сноска исключена с 1 июля 2017 года. -
Изменение N 1, утв. Приказом Росстандарта от 13.06.2017 N 536-ст.
6.3.16. Порядок проверки электрического сопротивления на колесной паре - в соответствии с
Приложением В.
6.4. Исключен с 1 июля 2017 года. -
Изменение N 1, утв. Приказом Росстандарта от 13.06.2017 N 536-ст.
6.5. Методы контроля показателей при типовых испытаниях колесных пар
6.5.1. Усадку колесного центра (уменьшение фактического натяга) определяют измерением диаметров посадочных поверхностей сопрягаемых деталей в трех плоскостях под углом 120° перед посадкой и после снятия бандажа. Уменьшение натяга должно быть не более предусмотренного в
4.4.9.1.
6.5.2. Изменение расстояния между внутренними торцами ободьев (бандажей) колес от нагрева при колодочном торможении о поверхности катания колес определяют расчетным или экспериментальным методом с воспроизведением длительного или экстренного торможения.
6.5.3. Изменение расстояния между внутренними торцами ободьев колес вследствие уменьшения толщины обода (бандажа) из-за износа и ремонтных обточек профиля катания определяют расчетным или экспериментальным методами сравнения этого расстояния у колесных пар с максимальной и минимальной допустимой толщиной обода (бандажа).
6.5.4. Сопротивление усталости и безотказность оси, колес, колесных центров с бандажами, качество соединения колес (колесных центров) с осью, качество посадки зубчатого колеса, прочность посадки бандажа на колесный центр проверяют по
ГОСТ 33783.
(в ред.
Изменения N 1, утв. Приказом Росстандарта от 13.06.2017 N 536-ст)
--------------------------------
<*> Сноска исключена с 1 июля 2017 года. -
Изменение N 1, утв. Приказом Росстандарта от 13.06.2017 N 536-ст.
6.5.5. Качество накатывания поверхностей оси проверяют в соответствии с требованиями
ГОСТ 33200.
(п. 6.5.5 введен
Изменением N 1, утв. Приказом Росстандарта от 13.06.2017 N 536-ст)
7. Транспортирование и хранение
7.1. Колесные пары и их элементы перевозят на платформах или автомашинах, располагая их симметрично продольной оси транспортного средства. После погрузки на платформу или в автомашину колесные пары укрепляют деревянными клиньями, прибитыми к доскам - прокладкам, прикрепленным к полу платформы (кузова). Для предотвращения ударов колесных пар друг о друга их прочно привязывают к полу стальной отожженной проволокой диаметром 6 мм.
7.2. Перед транспортированием и при хранении колесных пар шейки осей и зубья осевых шестерен покрывают антикоррозионным составом и защищают предохранительными щитками из деревянных планок, нанизанных на проволоку или веревку или прибитых к металлической или киперной ленте. При хранении дополнительно обертывают шейки и зубчатые колеса мешковиной или пергамином.
Состояние антикоррозионного покрытия при хранении колесных пар проверяют ежемесячно.
7.3. При перевозке и хранении колесных пар и их элементов запрещается:
- касаться металлическими предметами шеек оси;
- сбрасывать колесные пары и их элементы с платформ или автомашин;
- ударять друг о друга или устанавливать колесные пары одна на другую;
- привязывать проволоку за шейку оси при укреплении колесных пар;
- захватывать крюками и цепями подъемных механизмов шейки и предподступичные части осей колесных пар;
- хранить колесные пары на земле без установки на рельсы (подкладки).
7.4. На каждую колесную пару отправитель прикрепляет металлическую или деревянную табличку с выбитыми или нанесенными краской наименованием отправителя, датой отправки, номером колесной пары и реквизитами получателя.
8.1. Изготовитель гарантирует соответствие готовых колесных пар требованиям настоящего стандарта при условии соблюдения правил эксплуатации, транспортирования и хранения, установленных в
разделе 7.
(в ред.
Изменения N 1, утв. Приказом Росстандарта от 13.06.2017 N 536-ст)
8.2. Гарантийный срок эксплуатации колесной пары по прочности сопряжений - 25 лет.
(в ред.
Изменения N 1, утв. Приказом Росстандарта от 13.06.2017 N 536-ст)
В случае переформирования колесной пары гарантия прекращается.
8.3. Гарантийный срок эксплуатации деталей колесной пары:
(в ред.
Изменения N 1, утв. Приказом Росстандарта от 13.06.2017 N 536-ст)
- других деталей (зубчатые колеса и др.) - по НД на конкретную деталь.
9. Требования безопасности труда и охрана окружающей среды
9.1. Безопасность труда при изготовлении деталей, формировании и погрузке колесных пар СПС - по
ГОСТ 12.3.002.
9.2. Защита работающих и охрана окружающей среды от воздействия опасных и вредных производственных факторов при проведении работ по формированию колесных пар - по
ГОСТ 12.0.003.
9.3. Концентрация вредных веществ и уровни опасных и вредных производственных факторов на рабочих местах в производственных помещениях не должны превышать предельно допустимых значений по
ГОСТ 12.1.005.
9.4. Технологические операции, являющиеся источником выделения вредных веществ (окраску, очистку, обмывку), проводят в помещениях, оборудованных вытяжной вентиляцией.
(обязательное)
ПОРЯДОК ФОРМИРОВАНИЯ СОЕДИНЕНИЙ ДЕТАЛЕЙ КОЛЕСНЫХ ПАР
ТЕПЛОВЫМ МЕТОДОМ, ПОДГОТОВКА ПОВЕРХНОСТЕЙ
И АНТИКОРРОЗИОННОГО ПОКРЫТИЯ
А.1. Порядок формирования соединений деталей колесных пар
Формирование соединений деталей колесных пар выполняют в следующей последовательности:
- подбирают составные части, предназначенные для формирования, по значениям диаметров для обеспечения требуемого натяга;
- подготавливают антикоррозионное покрытие и посадочные поверхности деталей;
- наносят покрытие на поверхность оси;
- проводят сушку нанесенного слоя покрытия;
- проводят контроль качества антикоррозионного покрытия;
- проводят формирование соединения:
- проводят контроль качества соединения.
А.2. Требования к антикоррозионному покрытию
Антикоррозионное покрытие должно удовлетворять следующим требованиям:
- обеспечивать снижение интенсивности разрушения сопряженных поверхностей ось - ступица от действия фреттинг-коррозии;
- обеспечивать требуемую прочность соединения при температуре в зоне сопряжения от минус 60 °C до 70 °C в течение всего периода эксплуатации;
- не препятствовать замыканию электрических рельсовых цепей;
- не снижать усталостную прочность оси и обеспечивать устойчивость к образованию трещин.
А.3. Подготовка антикоррозионного покрытия и посадочных поверхностей деталей
А.3.1. При формировании колесной пары используют следующие антикоррозионные покрытия: натуральную олифу по
ГОСТ 7931, подсолнечное масло по
ГОСТ 1129, льняное масло по
ГОСТ 5791, лак Ф-40 по НД изготовителя.
А.3.2. Растительное масло (подсолнечное или льняное) подвергают термообработке. Для этого его выдерживают 2 - 3 ч при температуре 140 °C - 150 °C.
После охлаждения до температуры не выше 20 °C масло должно отстояться не менее 48 ч. Осадок масла не используют.
А.3.3. При подготовке лака проверяют его условную вязкость. Условная вязкость лака Ф-40 - время его непрерывного истечения из вискозиметра по
ГОСТ 9070 должна быть от 12 до 17 с. Вязкость лака Ф-40 определяют согласно
ГОСТ 8420 вискозиметром по
ГОСТ 9070 и секундомером по НД изготовителя.
| | ИС МЕГАНОРМ: примечание. Взамен ГОСТ 6360-83 Приказом Росстандарта от 22.10.2020 N 897-ст с 01.07.2021 введен в действие ГОСТ 6360-2020. | |
А.3.4. Посадочные поверхности деталей при наличии следов коррозии очищают от пятен коррозии шкуркой по
ГОСТ 10054, зернистостью не более Р220 по
ГОСТ 3647 <*>. При этом очищаемые поверхности смазывают машинным маслом по ГОСТ 6360.
(в ред.
Изменения N 1, утв. Приказом Росстандарта от 13.06.2017 N 536-ст)
--------------------------------
<*> На территории Российской Федерации действует ГОСТ Р 52381-2005.
А.3.5. Поверхность оси или удлиненной ступицы колесного центра, подлежащую покрытию, предварительно промывают уайт-спиритом по
ГОСТ 3134 или авиационным бензином по
ГОСТ 1012 безворсовой салфеткой по
ГОСТ 21790 и просушивают на воздухе от 5 до 10 мин. После промывки поверхность оси или удлиненной ступицы колесного центра обезжиривают ацетоном по
ГОСТ 2768 и просушивают на воздухе от 5 до 10 мин.
А.4. Нанесение покрытия на поверхность оси
А.4.1. Температура окружающей среды при нанесении на ось растительного масла и олифы должна быть не ниже 5 °C, при нанесении лака Ф-40 - не ниже 15 °C.
А.4.2. Олифу или растительное масло наносят на поверхность оси краскораспылителем, кистью КМ 1 по
ГОСТ 10597 или безворсовой салфеткой по
ГОСТ 21790 перед посадкой деталей на ось.
А.4.3. Для краскораспылителя применяют сжатый воздух по
ГОСТ 9.010, группа 1.
А.4.4. Лак Ф-40 наносят краскораспылителем на посадочные поверхности оси, закрепленные в центрах токарного станка или специального приспособления, обеспечивающего их вращение со скоростью

. Подача краскораспылителя к покрываемой поверхности должна быть от 10 до 12 мм/об. Расстояние от сопла распылителя до покрываемой поверхности должно быть от 200 до 350 мм, число проходов распылителя - от 8 до 10. Толщина пленки лакового покрытия должна быть от 10 до 25 мкм.
А.4.5. Хлопья лака, образующиеся при нанесении лака Ф-40, не должны попадать на посадочную поверхность.
А.5. Сушка нанесенного слоя покрытия
А.5.1. Для сушки нанесенного слоя олифы или растительного масла ось (или часть оси, на которую нанесено покрытие) или удлиненную ступицу колесного центра необходимо нагреть в электрической печи до температуры 130 °C - 140 °C и выдержать при этой температуре 3,5 - 4 ч.
А.5.2. Полимеризацию лака Ф-40 проводят от 1 до 1,5 ч при температуре от 160 °C до 180 °C.
А.5.3. Сушка и полимеризация слоя покрытия с использованием открытого пламени не допускается.
А.5.4. Допускается сушка и полимеризация нанесенного покрытия с использованием тепла детали и индукционного электронагревателя. После нанесения покрытия его сушку проводят при температуре окружающей среды не ниже 15 °C не менее 2 ч. После этого проводят формирование соединения.
А.5.5. Процесс полимеризации лаковой пленки и сушки нанесенного покрытия проводят с автоматической записью диаграммы нагрева на протяжении всего процесса. Оформление и хранение диаграммы нагрева - в соответствии с
А.9.
А.6. Контроль качества антикоррозионного покрытия
А.6.1. Качество антикоррозионного покрытия проверяют после нанесения и высыхания лака Ф-40. При полимеризации с использованием тепла детали и индукционного электронагревателя - сразу после нанесения лака.
А.6.2. Покрытие должно быть светло-коричневого цвета, ровное, гладкое, без подтеков, пропусков, засорений, пузырьков воздуха.
А.6.3. Толщину пленки лакового покрытия по
А.4.4 определяют магнитным измерителем толщины МИН-10 по НД изготовителя.
А.6.4. При наличии дефектов покрытие должно быть удалено ацетоном по
ГОСТ 2768 и нанесено вновь.
А.7. Формирование соединения
А.7.1. Нагрев устанавливаемых на ось деталей проводят индукционными электронагревателями, в электрических печах, которые должны быть обеспечены их автоматическим отключением по достижении заданной температуры нагрева детали и автоматической записью температуры нагрева во времени на диаграммной ленте прибора на протяжении всего процесса нагрева. Оформление и хранение диаграммы нагрева - в соответствии с
А.9.
А.7.2. Местный нагрев колесного центра в сборе с бандажом не допускается.
А.7.3. Температуру нагрева детали измеряют термопарой, помещенной на ступице в отверстие маслосъема.
Допускается при индукционном нагреве измерять температуру накладным термометром или термопарой, помещенной на ступице, если конструктивное исполнение элементов колесной пары не позволяет измерить температуру нагрева в отверстии маслосъема.
А.7.4. При соединении составных частей необходимо обеспечить положение деталей, при котором слой покрытия может быть защищен от повреждения.
А.7.5. При соединении деталей приложение осевой нагрузки не допускается.
А.7.6. Охлаждение колесных пар после формирования проводят естественным путем при температуре не ниже 5 °C.
А.8. Проверка прочности соединения контрольной осевой нагрузкой
А.8.1. После формирования соединения по
А.7 и остывания деталей до температуры окружающей среды прочность каждого соединения должна быть проверена контрольной осевой нагрузкой в соответствии с требованиями конструкторской документации на изготовление и ремонт колесных пар, а также требованиями настоящего стандарта.
Соединение, не выдержавшее испытания, расформировывают. Метод расформирования приведен в
Приложении Б.
А.8.2. Проверку прочности соединения проводят на гидравлическом прессе с записью диаграммы нагружения. Оформление и хранение диаграммы нагружения - в соответствии с
А.9.
А.9. Требования к диаграммам нагрева и нагружения
А.9.1. На диаграмме нагрева должны быть приведены следующие данные:
- порядковый номер диаграммы в текущем году;
- дата формирования колесной пары:
- тип колесной пары;
- номер оси;
- тип и номер устанавливаемой на ось детали;
- колесо с бандажом или без бандажа;
- наличие наплавки на посадочной поверхности детали;
- первое или повторное формирование тепловым методом.
А.9.2. На диаграмме нагружения должны быть приведены следующие данные:
- порядковый номер диаграммы в текущем году:
- дата формирования колесной пары и проверки на сдвиг или проворот установленных на ось деталей;
- тип колесной пары:
- номер оси;
- тип и номер устанавливаемой на ось детали;
- диаметр подступичной части оси и отверстия детали, измеренные с точностью до 0,01 мм;
- значение натяга и конечная осевая нагрузка в кН (тс) при проверке на сдвиг установленных на ось деталей;
- колесо с бандажом или без бандажа;
- наличие наплавки на посадочной поверхности детали;
- первое или повторное формирование тепловым методом.
А.9.3. Данные по
А.9.1 и
А.9.2 указывают как на принятой, так и на забракованной диаграммах.
А.9.4. Толщина линии записи диаграммы должна быть не более 0,6 мм, ширина диаграммной ленты - не менее 100 мм, масштаб записи по длине должен быть не менее 1:2, а 1,0 мм по высоте диаграммы должен соответствовать осевой нагрузке не более 24,5 кН (2,5 тс).
А.9.5. На диаграмме делают надпись "принята", на непринятой - "брак" с указанием причин брака.
А.9.6. Принятые диаграммы должны храниться в недоступном для неуполномоченных лиц месте, защищенном от разрушающих воздействий в течение 10 лет, забракованные диаграммы - в течение одного года.
(рекомендуемое)
МЕТОД РАСПРЕССОВКИ СОЕДИНЕНИЯ ПОСЛЕ ЕГО ФОРМИРОВАНИЯ
ПРЕССОВЫМ ИЛИ ТЕПЛОВЫМ МЕТОДОМ
Б.1. Для распрессовки соединения после его формирования прессовым или тепловым методом без повреждения посадочных поверхностей используют гидравлический пресс с одновременной подачей масла в зону соединения.
Б.2. При распрессовке соединения может быть применено устройство для подачи масла в зону соединения поверхностей
(рисунок Б.1), где гидроцилиндр устанавливается между осью и плунжером гидравлического пресса.
P - сила, прилагаемая к плунжеру гидропресса;
1 - корпус; 2 - плунжер; 3 - трубка высокого давления;
4 - маслоподводяший канал; 5 - колесо; 6 - ось;
7 - упорная плита
Рисунок Б.1. Схема устройства для распрессовки колесных пар
Б.3. Для расформирования соединения может быть применен индукционный нагрев составных частей и деталей (кроме зубчатых колес) до температуры не выше 200 °C.
(обязательное)
ПОРЯДОК ПРОВЕРКИ ЭЛЕКТРИЧЕСКОГО СОПРОТИВЛЕНИЯ
НА КОЛЕСНОЙ ПАРЕ
В.1. Колеса колесной пары устанавливают на два отдельных специально изготовленных основания, ограничивающих ее перемещение.
Под основания укладывают прокладки из текстолита, древесины или другого электроизоляционного материала с удельным электрическим сопротивлением не менее 10 Ом·м.
Схема установки колесной пары приведена на
рисунке В.1.
1 - колесная пара; 2 - основание;
3 - электроизоляционный материал; 4 - зажимы
Рисунок В.1. Схема установки колесной пары
В.2. Измерение электрического сопротивления проводят при температуре окружающего воздуха от 5 °C до 35 °C. До проведения измерения электрического сопротивления колесная пара и измерительный прибор должны быть выдержаны не менее 6 ч при указанных температурах в помещении, где проводится измерение.
(абзац введен
Изменением N 1, утв. Приказом Росстандарта от 13.06.2017 N 536-ст)
Для измерения электрического сопротивления используют аналоговые омметры, соответствующие требованиям
ГОСТ 23706, с рабочими условиями применения не ниже четвертой группы по
ГОСТ 22261. Допускается использовать другие типы омметров, обеспечивающих точность измерения, установленную в настоящем стандарте.
(абзац введен
Изменением N 1, утв. Приказом Росстандарта от 13.06.2017 N 536-ст)
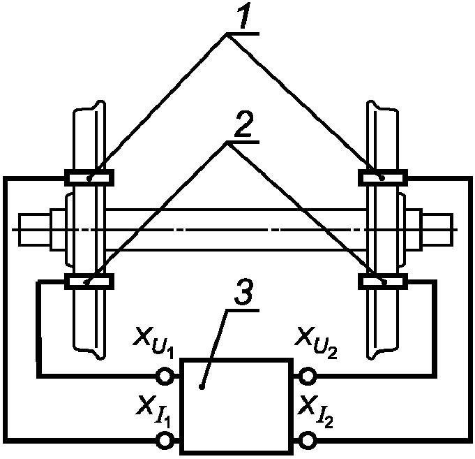
Омметр должен быть присоединен к бандажам (ободьям) колес колесной пары по четырехзажимной схеме. Рекомендуемая схема крепления электрического контакта на бандаже (ободе) колеса приведена на рисунке В.2.
1 - зажимы тока

,

;
2 - зажимы напряжения

,

; 3 - омметр
Рисунок В.2. Четырехзажимная схема измерения
электрического сопротивления колесной пары
Рекомендуемая схема крепления электрического контакта на бандаже (ободе) колеса приведена на рисунке В.3.
1 - упорный винт; 2 - медная планка; 3 - соединительный
провод; 4 - скоба; 5 - электроизоляционный материал;
6 - бандаж (обод) колеса
Рисунок В.3. Схема крепления электрического контакта
на бандаже (ободе) колеса
На каждом колесе колесной пары устанавливают по два зажима в соответствии с
рисунком В.1. Расстояние между внутренними краями медных пластин зажимов, измеренное при помощи линейки по
ГОСТ 427, должно быть от 10 до 100 мм.
В.3. Места крепления зажимов на каждом колесе, а также контактирующие с ними поверхности медных пластин зажимов необходимо обезжирить уайт-спиритом по
ГОСТ 3134, ацетоном по
ГОСТ 2768 или другим обезжиривающим составом.
Если на контактирующих поверхностях колеса или медных пластин зажимов имеются следы коррозии или окисления, то перед обезжириванием их необходимо зачистить шкуркой зернистостью не более 6 по
ГОСТ 10054.
В.4. Зажимы закрепляют на бандажах (ободьях) колес так, чтобы усилие смещения контактов относительно поверхности колеса, контролируемое динамометром по
ГОСТ 13837 с диапазоном измерений от 0,01 до 0,1 кН, было не менее 0,03 кН.
В.5. Подключение омметра осуществляют в соответствии с руководством по его эксплуатации.
В.6. Измеряют электрическое сопротивление колесной пары. Результат фиксируют по прибору, затем проводят переключение полярности цепей тока и напряжения омметра, снова определяют значение электрического сопротивления и вычисляют среднеарифметическое значений, полученных в результате двух измерений. Вычисленное значение принимают за результат измерения.
В.7. При проведении контроля электрического сопротивления колесной пары абсолютное значение погрешности измерений должно быть не более 1,0 мОм.
(п. В.7 введен
Изменением N 1, утв. Приказом Росстандарта от 13.06.2017 N 536-ст)