Главная // Актуальные документы // ГОСТ (Государственный стандарт)СПРАВКА
Источник публикации
М.: Стандартинформ, 2021
Примечание к документу
Документ включен в Перечень международных и региональных (межгосударственных) стандартов (
п. п. 66,
121,
150), а в случае их отсутствия - национальных (государственных) стандартов, содержащих правила и методы исследований (испытаний) и измерений, в том числе правила отбора образцов, необходимые для применения и исполнения требований технического
регламента Евразийского экономического союза "О безопасности газа горючего природного, подготовленного к транспортированию и (или) использованию" (ТР ЕАЭС 046/2018) и осуществления оценки соответствия объектов технического регулирования (
Решение Коллегии Евразийской экономической комиссии от 13.09.2021 N 112).
Текст данного документа приведен с учетом
поправки, опубликованной в "ИУС", N 9, 2023.
Документ
введен в действие с 01.01.2022.
Название документа
"ГОСТ 34721-2021. Межгосударственный стандарт. Газ природный. Определение плотности пикнометрическим методом"
(введен в действие Приказом Росстандарта от 16.04.2021 N 221-ст)
"ГОСТ 34721-2021. Межгосударственный стандарт. Газ природный. Определение плотности пикнометрическим методом"
(введен в действие Приказом Росстандарта от 16.04.2021 N 221-ст)
по техническому регулированию
и метрологии
от 16 апреля 2021 г. N 221-ст
МЕЖГОСУДАРСТВЕННЫЙ СТАНДАРТ
ГАЗ ПРИРОДНЫЙ
ОПРЕДЕЛЕНИЕ ПЛОТНОСТИ ПИКНОМЕТРИЧЕСКИМ МЕТОДОМ
Natural gas. Determination of density by picknometric method
ГОСТ 34721-2021
Дата введения
1 января 2022 года
Цели, основные принципы и общие правила проведения работ по межгосударственной стандартизации установлены
ГОСТ 1.0 "Межгосударственная система стандартизации. Основные положения" и
ГОСТ 1.2 "Межгосударственная система стандартизации. Стандарты межгосударственные, правила и рекомендации по межгосударственной стандартизации. Правила разработки, принятия, обновления и отмены"
1 РАЗРАБОТАН Обществом с ограниченной ответственностью "Научно-исследовательский институт природных газов и газовых технологий - Газпром ВНИИГАЗ" (ООО "Газпром ВНИИГАЗ")
2 ВНЕСЕН Межгосударственным техническим комитетом по стандартизации МТК 52 "Природный и сжиженные газы"
3 ПРИНЯТ Межгосударственным советом по стандартизации, метрологии и сертификации (протокол от 19 марта 2021 г. N 138-П)
За принятие стандарта проголосовали:
Краткое наименование страны по МК (ИСО 3166) 004-97 | Код страны по МК (ИСО 3166) 004-97 | Сокращенное наименование национального органа по стандартизации |
Азербайджан | AZ | Азстандарт |
Армения | AM | ЗАО "Национальный орган по стандартизации и метрологии" Республики Армения |
Беларусь | BY | Госстандарт Республики Беларусь |
Киргизия | KG | Кыргызстандарт |
Молдова | MD | Институт стандартизации Молдовы |
Россия | RU | Росстандарт |
Таджикистан | TJ | Таджикстандарт |
Украина | UA | Минэкономразвития Украины |
4
Приказом Федерального агентства по техническому регулированию и метрологии от 16 апреля 2021 г. N 221-ст межгосударственный стандарт ГОСТ 34721-2021 введен в действие в качестве национального стандарта Российской Федерации с 1 января 2022 г.
5 ВВЕДЕН ВПЕРВЫЕ
Информация о введении в действие (прекращении действия) настоящего стандарта и изменений к нему на территории указанных выше государств публикуется в указателях национальных стандартов, издаваемых в этих государствах, а также в сети Интернет на сайтах соответствующих национальных органов по стандартизации.
В случае пересмотра, изменения или отмены настоящего стандарта соответствующая информация будет опубликована на официальном интернет-сайте Межгосударственного совета по стандартизации, метрологии и сертификации в каталоге "Межгосударственные стандарты"
1.1 Настоящий стандарт распространяется на природный газ, поступающий с промысловых установок подготовки, подземных хранилищ газа и газоперерабатывающих заводов в магистральные газопроводы (в том числе газ, транспортируемый по ним), поставляемый в системы газораспределения и используемый в качестве сырья и топлива промышленного и коммунально-бытового назначения, применяемый в качестве компримированного газомоторного топлива для двигателей внутреннего сгорания, а также регазифицированный сжиженный природный газ.
1.2 Настоящий стандарт устанавливает требования к процедурам определения плотности природного газа пикнометрическим методом в диапазоне значений от 0,668 до 1,050 г/дм
3 (кг/м
3) при стандартных условиях (температуре 20,0 °C и давлении 101,325 кПа) и вычисление относительной плотности природного газа.
В настоящем стандарте использованы нормативные ссылки на следующие межгосударственные стандарты:
ГОСТ 12.0.004 Система стандартов безопасности труда. Организация обучения безопасности труда. Общие положения
ГОСТ 12.1.004 Система стандартов безопасности труда. Пожарная безопасность. Общие требования
ГОСТ 12.1.005 Система стандартов безопасности труда. Общие санитарно-гигиенические требования к воздуху рабочей зоны
ГОСТ 12.1.007 Система стандартов безопасности труда. Вредные вещества. Классификация и общие требования безопасности
ГОСТ 12.1.019 Система стандартов безопасности труда. Электробезопасность. Общие требования и номенклатура видов защиты
ГОСТ 12.1.044 (ИСО 4589-84) Система стандартов безопасности труда. Пожаровзрывоопасность веществ и материалов. Номенклатура показателей и методы их определения
ГОСТ 12.4.009 Система стандартов безопасности труда. Пожарная техника для защиты объектов. Основные виды. Размещение и обслуживание
ГОСТ 12.4.021 Система стандартов безопасности труда. Системы вентиляционные. Общие требования
ГОСТ 17.2.3.02 <*> Правила установления допустимых выбросов загрязняющих веществ промышленными предприятиями
--------------------------------
<*> В Российской Федерации действует
ГОСТ Р 58577-2019 "Правила установления нормативов допустимых выбросов загрязняющих веществ проектируемыми и действующими хозяйствующими субъектами и методы определения этих нормативов".
ГОСТ 982 Масла трансформаторные. Технические условия
ГОСТ 1770 (ИСО 1042-83, ИСО 4788-80) Посуда мерная лабораторная стеклянная. Цилиндры, мензурки, колбы, пробирки. Общие технические условия
ГОСТ 2603 Реактивы. Ацетон. Технические условия
ГОСТ 3164 Масло вазелиновое медицинское. Технические условия
ГОСТ 4204 Реактивы. Кислота серная. Технические условия
ГОСТ 4220 Калий двухромовокислый. Технические условия
ГОСТ 5556 Вата медицинская гигроскопическая. Технические условия
ГОСТ 5632 Легированные нержавеющие стали и сплавы коррозионно-стойкие, жаростойкие и жаропрочные. Марки
ГОСТ 5962 Спирт этиловый ректификованный из пищевого сырья. Технические условия
ГОСТ 6709 <*> Вода дистиллированная. Технические условия
--------------------------------
<*> В Российской Федерации действует
ГОСТ Р 58144-2018 "Вода дистиллированная. Технические условия".
ГОСТ 9147 Посуда и оборудование лабораторные фарфоровые. Технические условия
ГОСТ 9293 (ИСО 2435-73) Азот газообразный и жидкий. Технические условия
ГОСТ 9433 Смазка ЦИАТИМ-221. Технические условия
ГОСТ 12026 Бумага фильтровальная лабораторная. Технические условия
ГОСТ 17299 Спирт этиловый технический. Технические условия
ГОСТ 18300 <**> Спирт этиловый ректификованный технический. Технические условия
--------------------------------
<**> В Российской Федерации действует
ГОСТ Р 55878-2013 "Спирт этиловый технический гидролизный ректификованный. Технические условия".
ГОСТ 18481 Ареометры и цилиндры стеклянные. Общие технические условия
ГОСТ 22524 Пикнометры стеклянные. Технические условия
ГОСТ 25336 Посуда и оборудование лабораторные стеклянные. Типы, основные параметры и размеры
ГОСТ 30852.5 (МЭК 60079-4:1975) Электрооборудование взрывозащищенное. Часть 4. Метод определения температуры самовоспламенения
ГОСТ 30852.11 (МЭК 60079-12:1978) Электрооборудование взрывозащищенное. Часть 12. Классификация смесей газов и паров с воздухом по безопасным экспериментальным максимальным зазорам и минимальным воспламеняющим токам
ГОСТ 30852.19 (МЭК 60079-20:1996) Электрооборудование взрывозащищенное. Часть 20. Данные по горючим газам и парам, относящиеся к эксплуатации электрооборудования
ГОСТ 31369 (ИСО 6976:1995) Газ природный. Вычисление теплоты сгорания, плотности, относительной плотности и числа Воббе на основе компонентного состава
ГОСТ 31610.0 (IEC 60079-0:2011) Взрывоопасные среды. Часть 0. Оборудование. Общие требования
ГОСТ OIML R 76-1 Государственная система обеспечения единства измерений. Весы неавтоматического действия. Часть 1. Метрологические и технические требования. Испытания
ГОСТ OIML R 111-1 Государственная система обеспечения единства измерений. Гири классов E
1, E
2, F
1, F
2, M
1, M
1-2, M
2, M
2-3 и M
3. Часть 1. Метрологические и технические требования
Примечание - При пользовании настоящим стандартом целесообразно проверить действие ссылочных стандартов и классификаторов на официальном интернет-сайте Межгосударственного совета по стандартизации, метрологии и сертификации (www.easc.by) или по указателям национальных стандартов, издаваемым в государствах, указанных в
предисловии, или на официальных сайтах соответствующих национальных органов по стандартизации. Если на документ дана недатированная ссылка, то следует использовать документ, действующий на текущий момент, с учетом всех внесенных в него изменений. Если заменен ссылочный документ, на который дана датированная ссылка, то следует использовать указанную версию этого документа. Если после принятия настоящего стандарта в ссылочный документ, на который дана датированная ссылка, внесено изменение, затрагивающее положение, на которое дана ссылка, то это положение применяется без учета данного изменения. Если ссылочный документ отменен без замены, то положение, в котором дана ссылка на него, применяется в части, не затрагивающей эту ссылку.
В настоящем стандарте применены термины по
[1], а также следующие термины с соответствующими определениями:
3.1 пикнометрический метод: Метод определения плотности газа, основанный на вычислении разности масс пикнометра с исследуемым газом и газом сравнения с известной плотностью.
3.2 пикнометр: Стеклянный сосуд специальной формы с известной вместимостью, применяемый для определения плотности веществ, находящихся в газообразном, жидком или твердом состояниях.
4 Требования безопасности
4.1 Природный газ является газообразным малотоксичным пожаровзрывоопасным продуктом. По токсикологической характеристике природный газ относят к веществам 4-го класса опасности по
ГОСТ 12.1.007.
4.2 Предельно допустимые концентрации вредных веществ природного газа в воздухе рабочей зоны установлены в
ГОСТ 12.1.005.
4.3 Концентрацию вредных веществ в воздухе рабочей зоны при работе с природным газом определяют в соответствии с требованиями
ГОСТ 12.1.005.
4.4 Природный газ образует с воздухом взрывоопасные смеси. Концентрационные пределы воспламенения природного газа в смеси с воздухом, выраженные в процентах объемной доли метана: нижний - 4,4%, верхний - 17,0% по
ГОСТ 30852.19. Для природного газа конкретного состава концентрационные пределы воспламенения определяют по
ГОСТ 12.1.044. Категория взрывоопасности и группа взрывоопасных смесей для смеси природного газа с воздухом - IIA и T1 по
ГОСТ 30852.11 и
ГОСТ 30852.5 соответственно.
4.6 Работающие с природным газом должны быть обучены правилам безопасности труда в соответствии с
ГОСТ 12.0.004.
4.7 Санитарно-гигиенические требования к показателям микроклимата и допустимому содержанию вредных веществ в воздухе рабочей зоны должны соответствовать
ГОСТ 12.1.005.
4.8 Все процедуры с природным газом проводят в зданиях и помещениях, обеспеченных вентиляцией, отвечающей требованиям
ГОСТ 12.4.021, соответствующих требованиям пожарной безопасности по
ГОСТ 12.1.004 и имеющих средства пожаротушения по
ГОСТ 12.4.009. Искусственное освещение и электрооборудование зданий и помещений должны соответствовать требованиям взрывобезопасности по
ГОСТ 31610.0.
4.9 В настоящем стандарте не предусмотрено рассмотрение всех вопросов безопасности, связанных с его применением.
5 Требования охраны окружающей среды
5.1 Правила установления допустимых выбросов природного газа в атмосферу - по
ГОСТ 17.2.3.02.
5.2 В настоящем стандарте не предусмотрено рассмотрение всех вопросов охраны окружающей среды, связанных с его применением.
6 Требования к квалификации персонала
6.1 Отбор проб природного газа, подготовку и проведение испытаний по настоящему стандарту, а также обработку и оформление результатов проводят лица, изучившие руководства по эксплуатации используемых средств измерений (далее - СИ), оборудования, а также требования настоящего стандарта.
6.2 Лица, указанные в
6.1, должны изучить метод, изложенный в настоящем стандарте, методы отбора проб природного газа по
ГОСТ 31370, пройти обязательный инструктаж по охране труда, промышленной и пожарной безопасности, быть обучены безопасным методам и приемам выполнения работ, а также иметь допуск к работе с горючими газами и газами, находящимися под давлением.
7 Условия проведения испытаний
Плотность природного газа определяют пикнометрическим методом в лабораторном помещении при следующих условиях:
- температуре окружающего воздуха (20 +/- 5) °C;
- атмосферном давлении окружающего воздуха в диапазоне от 81,3 до 105,3 кПа (от 610 до 790 мм рт. ст.).
Условия проведения испытаний должны быть в пределах, указанных в руководствах по эксплуатации соответствующих СИ.
8.1 Для отбора проб природного газа на газопроводе оборудуют точку отбора, соответствующую требованиям
ГОСТ 31370.
8.2 Пробоотборные линии и другие элементы пробоотборной системы, контактирующие с природным газом, должны быть изготовлены из нержавеющей стали марок 12Х18Н10Т, 08Х18Н12Т по
ГОСТ 5632 или других материалов, аналогичных им по свойствам, химически инертных к компонентам природного газа и не сорбирующих их.
8.3 Уплотнения между элементами пробоотборной системы, контактирующие с природным газом, должны быть изготовлены из нержавеющей стали марок, указанных в
8.2, или из фторопласта по
ГОСТ 10007, или из других материалов, аналогичных им по свойствам, химически инертных к компонентам природного газа и не сорбирующих их.
8.4 Отбор проб природного газа проводят методом косвенного отбора в контейнеры для отбора проб (баллоны), соответствующие требованиям
ГОСТ 31370.
8.5 Полностью открывают запорный вентиль пробоотборного устройства, соответствующего требованиям
ГОСТ 31370, на несколько секунд, затем подсоединяют трубку, соответствующую требованиям
8.2, которая должна быть по возможности короткой и рассчитанной на давление природного газа в точке отбора. Продувают трубку природным газом, полностью открывая запорный вентиль на несколько секунд, и подсоединяют пробоотборный контейнер (баллон).
8.6 Продувку и заполнение пробоотборного контейнера (баллона) природным газом до рабочего давления проводят в соответствии с
ГОСТ 31370, отсоединяют контейнер (баллон).
8.7 Температура природного газа в пробоотборной линии и пробоотборном контейнере (баллоне) при отборе пробы должна быть не ниже температуры природного газа в точке отбора. Если температура пробоотборной линии и контейнера (баллона), принимаемая равной температуре окружающей среды, ниже температуры природного газа в точке отбора, то стальную трубку, вентиль и пробоотборный контейнер (баллон) теплоизолируют или подогревают нагревательными элементами, соответствующими требованиям
ГОСТ 31370.
8.8 Контейнер (баллон) с отобранной пробой природного газа транспортируют в лабораторию, соблюдая правила безопасности. Отобранные пробы природного газа хранят в отапливаемом помещении. Перед подачей природного газа в пикнометр пробоотборный контейнер (баллон) должен быть выдержан при комнатной температуре не менее 2 ч.
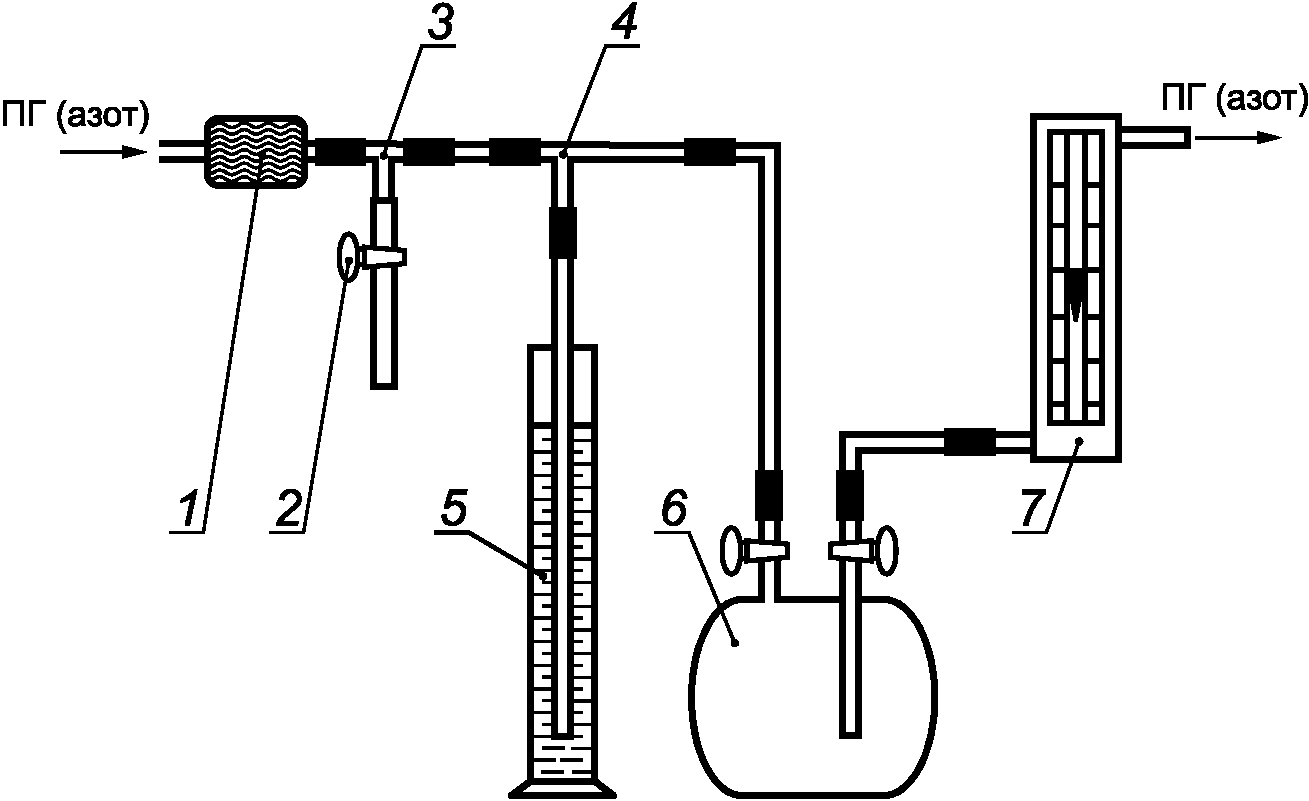
8.9 Подают природный газ из пробоотборного контейнера в пикнометр при помощи установки для заполнения пикнометра, представленной на
рисунке 1.
1 - трубка с гигроскопической ватой; 2 - винтовой зажим;
3, 4 - Т-образные трубки; 5 - маностат; 6 - пикнометр;
7 - индикатор расхода природного газа (азота)
Рисунок 1 - Установка для заполнения пикнометра
Примечание - Заполняют пикнометр природным газом через короткую отводную трубку. Заполняют пикнометр азотом через длинную отводную трубку, если перед этим он был заполнен природным газом, и через короткую отводную трубку, если перед этим пикнометр был заполнен воздухом (при проверке герметичности, определении вместимости методом "водного числа" и после удаления воды осушкой воздухом по окончании определения вместимости).
8.10 При отсутствии в комплекте пробоотборного контейнера (баллона) вентиля тонкой регулировки к контейнеру (баллону) подсоединяют трубку, соответствующую требованиям
8.5. Подсоединяют к трубке последовательно вентиль тонкой регулировки, соответствующий требованиям
8.2 и рассчитанный на давление природного газа в точке отбора, гибкую поливинилхлоридную или силиконовую трубку и установку для заполнения пикнометра (см.
рисунок 1). Гибкая трубка должна быть как можно более короткой. После присоединения установки продувают пробоотборную линию природным газом при давлении немного выше атмосферного в количестве от 10 до 15 объемов пробоотборной линии через боковой отвод Т-образной трубки
3 (см.
рисунок 1).
8.11 Если пробоотборный контейнер (баллон) оснащен вентилем тонкой регулировки, то контейнер непосредственно подсоединяют к установке при помощи гибкой трубки и продувают пробоотборную линию по
8.10.
9 Требования к оборудованию, средствам измерений, материалам и реактивам
Для определения плотности природного газа пикнометрическим методом используют следующие СИ, оборудование, материалы и реактивы:
- весы лабораторные по
ГОСТ OIML R 76-1: класса точности I с пределами допускаемой погрешности (при поверке) +/- 0,001 г и действительной ценой деления не более 0,0001 г; с пределами допускаемой погрешности (при поверке) +/- 0,1 г и действительной ценой деления не более 0,01 г;
- индикатор расхода газа, обеспечивающий измерение расхода природного газа, азота и метана в диапазоне от 100 до 200 см3/мин;
- СИ давления, обеспечивающие измерение атмосферного давления с пределом 0,2 кПа (1,5 мм рт. ст.);
- СИ температуры, обеспечивающие измерение температуры окружающего воздуха рядом с весами в диапазоне от 0 °C до 50 °C с пределом допускаемой погрешности не более 0,2 °C;
- СИ температуры, обеспечивающие измерение температуры природного газа в точке отбора в диапазоне от 0 °C до 50 °C с пределом допускаемой погрешности не более 1,0 °C;
- микрокомпрессор или другой источник, обеспечивающий подачу воздуха, не загрязненного примесями масла, газов, пыли и др.;
- регулятор давления баллонный;
- вентиль тонкой регулировки;
- пробоотборники переносные или стационарные пробоотборные системы в соответствии с ГОСТ 31370-2008
(приложение K);
- пикнометры стеклянные газовые ПГ-100 и ПГ-200 по
ГОСТ 22524 номинальной вместимостью 100 и 200 см
3 соответственно;
- чашка фарфоровая выпарительная N 5 или N 6 по
ГОСТ 9147;
- зажим винтовой;
- склянка (для счетчика пузырьков) типа СН-1 или СВТ, вместимостью 25 - 100 см
3 по
ГОСТ 25336;
- баня водяная;
- вата медицинская гигроскопическая по
ГОСТ 5556;
- калий двухромовокислый по
ГОСТ 4220, квалификации ч.;
- кислота серная по
ГОСТ 4204, квалификации ч.;
- смесь хромовая (добавляют 5 г кристаллического двухромовокислого калия к 100 г концентрированной серной кислоты и, помешивая стеклянной палочкой, нагревают в фарфоровой чашке на водяной бане до растворения двухромовокислого калия. Хромовую смесь хранят в сосуде из стекла со стеклянной пробкой. Смесь пригодна до тех пор, пока она не приобретет зеленый цвет);
- азот газообразный с объемной долей азота не менее 99,999% по
ГОСТ 9293, квалификации о.с.ч.;
- метан газообразный с объемной долей метана не менее 99,9%;
- стандартный образец газовой смеси (далее - СО) с аттестованным значением плотности от 0,668 до 1,050 г/дм3 (кг/м3) с доверительными границами абсолютной погрешности (при P = 0,95) или абсолютной расширенной неопределенностью (при k = 2) в пределах +/- 0,004 г/дм3. СО должен быть утвержденного типа.
Примечания
1 Допускается использовать СО с вычисленным по
ГОСТ 31369 значением плотности, находящимся в диапазоне значений от 0,668 до 1,050 г/дм
3 (кг/м
3), с абсолютной расширенной неопределенностью, вычисленной по
ГОСТ 31369, в пределах +/- 0,004 г/дм
3.
2 Допускается использовать другие СИ, оборудование, материалы и реактивы, не уступающие по своим метрологическим, техническим и квалификационным характеристикам СИ, оборудованию, материалам и реактивам, перечисленным выше.
10 Сущность метода испытаний
10.1 Плотность природного газа определяют путем последовательного взвешивания пикнометра, вместимость которого определяют предварительно, заполненного газом сравнения (чистым азотом) и природным газом при известных условиях. Плотность природного газа вычисляют, используя вместимость пикнометра и плотность чистого азота, установленную с высокой точностью.
10.2 Вместимость пикнометра определяют методом "водного числа" последовательным взвешиванием его с чистым азотом и с дистиллированной водой при известных условиях. Поскольку значения плотности для чистых азота и воды при различных условиях установлены с высокой точностью, по полученным значениям массы пикнометра с азотом и с водой можно вычислить его вместимость.
11 Подготовка к проведению испытаний
11.1 Подготовка пикнометра
11.1.1 Подготовку пикнометра проводят в случае его загрязнения, потери герметичности, при использовании нового пикнометра, получения неудовлетворительных результатов при контроле точности результатов испытаний или в других случаях, когда целесообразность проведения процедуры подготовки пикнометра определяет пользователь настоящего стандарта.
11.1.2 Очищают краны пикнометра от вакуумной смазки (при ее наличии), протирая ватным тампоном или тканью, пропитанной ацетоном. Промывают пикнометр два раза ацетоном и сушат воздухом. При необходимости промывают пикнометр хромовой смесью, дистиллированной водой, спиртом или ацетоном, и сушат продувкой воздухом. Смазывают краны тонким слоем вакуумной смазки и притирают.
11.2 Подготовка установки для заполнения пикнометра азотом (природным газом)
11.2.1 Собирают установку для заполнения пикнометра азотом (природным газом), представленную на
рисунке 1, используя поливинилхлоридные или силиконовые муфты.
11.2.2 Прямая стеклянная трубка 1, заполненная гигроскопической ватой, предназначена для очистки азота (природного газа) от механических примесей.
11.2.3 Используют винтовой зажим 2 для более точной регулировки расхода природного газа (азота).
11.2.4 Маностат 5 представляет собой цилиндр с опущенной в него трубкой внутренним диаметром от 3 до 4 мм, заполненный трансформаторным или вазелиновым маслом таким образом, чтобы трубка была погружена в масло на глубину от 150 до 200 мм и расстояние от нижнего конца трубки до дна цилиндра составляло не менее 10 мм.
11.2.5 Присоединяют баллон с азотом (пробоотборный контейнер с природным газом) к установке и выставляют необходимый расход азота (природного газа) через установку.
Присоединение пробоотборного контейнера с природным газом и установление расхода природного газа проводят с учетом требований
8.10 -
8.11.
Подсоединяют к баллону с азотом, снабженному баллонным регулятором давления, последовательно трубку и вентиль тонкой регулировки, соответствующие требованиям
8.2 и рассчитанные на максимальное давление азота в баллоне, гибкую поливинилхлоридную или силиконовую трубку и установку для заполнения пикнометра (см.
рисунок 1). Гибкая трубка должна быть как можно более короткой. Выставляют избыточное давление азота, не превышающее 1,0 МПа, при помощи баллонного регулятора давления. Выставляют расход азота при помощи вентиля тонкой регулировки.
11.2.6 Расход азота (природного газа), определяют по индикатору расхода 7.
11.3 Проверка герметичности пикнометра
11.3.1 Проверяют герметичность пикнометра сразу после процедуры подготовки по
11.1 с использованием установки, собранной по
11.2.
11.3.2 Продувают пикнометр азотом через установку для заполнения пикнометра от 2 до 3 мин с расходом от 100 до 150 см3/мин.
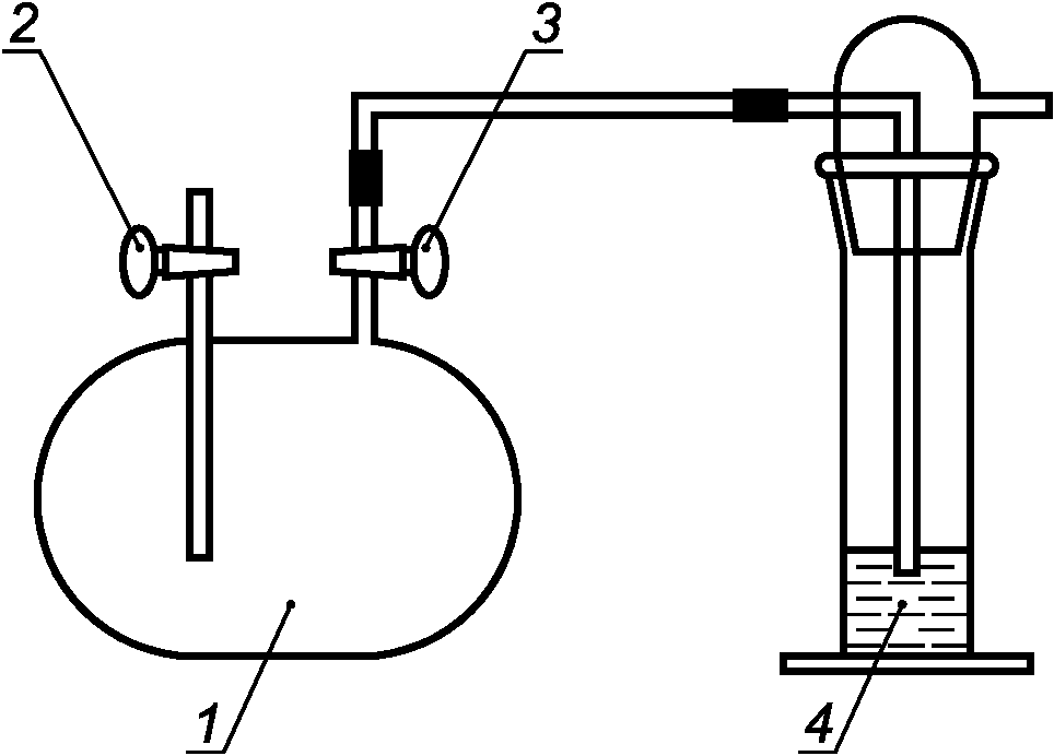
11.3.3 Затем создают в пикнометре избыточное давление, закрывая сначала кран на выходе, а после появления пузырьков азота в маностате - на входе пикнометра. Отсоединяют пикнометр от установки и соединяют со счетчиком пузырьков
4 как показано на схеме, представленной на
рисунке 2. Заполняют счетчик пузырьков
4 трансформаторным или вазелиновым маслом таким образом, чтобы внутренняя трубка была погружена в масло на 1 мм. Счетчик пузырьков служит для выравнивания давления азота в пикнометре с атмосферным давлением.
1 - пикнометр; 2 - входной кран пикнометра; 3 - выходной
кран пикнометра; 4 - счетчик пузырьков
Рисунок 2 - Установка для выравнивания давления
в пикнометре с атмосферным давлением
11.3.4 Выдерживают пикнометр
1 (см.
рисунок 2) в закрытом состоянии в течение 15 мин, затем открывают выходной кран
3 пикнометра. Появление пузырьков в счетчике пузырьков указывает на достаточную герметичность пикнометра. При отсутствии пузырьков в счетчике пузырьков после открытия выходного крана пикнометра проводят его подготовку по
11.1 и повторную проверку на герметичность.
11.3.5 Пикнометр, не прошедший повторную проверку на герметичность, отбраковывают.
11.4 Определение вместимости пикнометра методом "водного числа"
11.4.1 Определение массы пикнометра с азотом
11.4.1.1 Продувают пикнометр азотом в течение 20 мин через установку, приведенную на
рисунке 1, с объемным расходом от 100 до 150 см
3/мин, установленным винтовым зажимом.
11.4.1.2 Затем создают в пикнометре избыточное давление азота по
11.3.3. Отсоединяют пикнометр от установки, переносят к весам и соединяют со счетчиком пузырьков. Температура окружающего воздуха в комнате, где проводится взвешивание, не должна быть ниже температуры воздуха возле установки для заполнения пикнометра более чем на 2 °C.
Примечание - При всех процедурах пикнометр берут за концы отводных трубок, вытирают снаружи салфеткой из безворсовой ткани (предпочтительно льняной).
11.4.1.3 Выдерживают пикнометр со счетчиком пузырьков рядом с весами 15 мин, открывают выходной кран и выравнивают давление азота внутри пикнометра с атмосферным давлением (до прекращения выделения пузырьков). Затем закрывают выходной кран пикнометра, отсоединяют пикнометр от счетчика пузырьков и взвешивают на весах с ценой деления 0,0001 г. Записывают барометрическое давление и температуру окружающего воздуха (рядом с весами).
11.4.2 Определение массы пикнометра с дистиллированной водой
11.4.2.1 Заполняют пикнометр свежепрокипяченной и охлажденной до комнатной температуры дистиллированной водой таким образом, чтобы на стенках внутри пикнометра, в отводных трубках и каналах кранов не оставалось пузырьков воздуха. Протирают наружную поверхность пикнометра насухо, не оставляя ворсинок.
11.4.2.2 Выдерживают заполненный водой пикнометр с открытыми кранами рядом с весами 15 мин. Затем закрывают краны, удаляют излишки воды из отводных трубок фильтровальной бумагой.
11.4.2.3 Взвешивают пикнометр с дистиллированной водой на весах с ценой деления 0,0001 г.
11.4.2.4 Если масса пикнометра с водой превышает предел взвешивания данных весов, допускается взвешивать пикнометр на весах с ценой деления 0,01 г. Записывают барометрическое давление и температуру окружающей среды (рядом с весами).
11.4.2.5 После взвешивания удаляют воду из пикнометра, промывают пикнометр спиртом и сушат продувкой воздухом.
11.4.3 Определение вместимости пикнометра
11.4.3.1 Вычисляют вместимость пикнометра V, дм3, по формуле

, (1)
где mв - масса пикнометра с дистиллированной водой, г;
mа - масса пикнометра с азотом, г;

- плотность дистиллированной воды при температуре взвешивания, г/дм
3, определяют по
таблице А.1 приложения А;
1,1648 - плотность азота при стандартных условиях (температуре 293,15 К (20,0 °C) и давлении 101,325 кПа), г/дм3;
К - поправочный коэффициент, учитывающий отличие фактических условий проведения испытаний (t, Pб) от стандартных, вычисленный с точностью до четвертого десятичного знака по формуле

, (2)
где Pб - барометрическое давление, кПа;
t - температура окружающей среды (рядом с весами) при взвешивании пикнометра с азотом, °C.
11.4.3.2 Результаты отдельных определений вместимости пикнометра округляют до четвертого десятичного знака.
11.4.3.3 За результат определения вместимости пикнометра принимают округленное до четвертого десятичного знака среднее арифметическое результатов двух определений вместимости пикнометра, полученных в условиях повторяемости, расхождение между которыми не превышает 0,0002 дм3.
11.4.3.4 Периодичность определения вместимости пикнометра - не реже одного раза в 6 мес.
12.1 Определяют массу пикнометра с азотом по
11.4.1.
12.2 При определении массы пикнометра с природным газом учитывают следующие изменения:
- источник азота заменяют источником природного газа;
- природный газ на выходе из индикатора расхода направляют на сброс в вытяжной шкаф или за пределы помещения.
12.3 Определяют массу пикнометра с природным газом сразу после определения массы пикнометра с азотом. При этом абсолютная разность между барометрическим давлением при взвешивании пикнометра с азотом и пикнометра с природным газом не должна превышать 0,3 кПа (2,2 мм рт. ст.). Абсолютная разность температур окружающей среды рядом с весами при взвешивании пикнометра с азотом и пикнометра с природным газом не должна превышать 2 °C.
12.4 При невыполнении условий по
12.3 определяют массу пикнометра с азотом и природным газом повторно, когда выполнение указанных условий будет возможно.
12.5 Плотность природного газа

при стандартных условиях, г/дм
3, вычисляют по формуле

, (3)
где mг - масса пикнометра с природным газом, г;
Kср - поправочный коэффициент, учитывающий отличие фактических условий проведения испытаний (t, Pб) от стандартных при определении массы пикнометра с азотом и природным газом, соответственно, вычисленный с точностью до четвертого десятичного знака по формуле

, (4)
где Pб ср - среднее барометрическое давление при взвешивании пикнометров с азотом и природным газом соответственно, округленное до первого десятичного знака, кПа;
tср - среднее значение температуры окружающей среды (рядом с весами) при взвешивании пикнометров с азотом и природным газом соответственно, округленное до первого десятичного знака, °C.
Результат вычисления плотности природного газа округляют до четвертого десятичного знака.
12.6 Затем проводят второе определение плотности природного газа в соответствии с
12.1 -
12.5.
Примечание - Допускается для проведения испытаний использовать один или два пикнометра одинаковой номинальной вместимости, если результаты двух определений соответствуют требованиям приемлемости по
14.1. В противном случае проводят повторные испытания с использованием одного пикнометра.
12.7 Проверяют приемлемость полученных результатов двух последовательно проведенных определений по
14.1. При несоответствии полученных результатов требованиям приемлемости проводят дополнительные испытания по
12.1 -
12.6. Проверку приемлемости полученных результатов проводят по результатам двух последовательно проведенных определений. Если при проведении четырех определений плотности природного газа не получены удовлетворительные результаты, то испытания прекращают, при этом пробу признают нестабильной и бракуют.
12.8 Обработка и оформление результатов испытаний - по
разделу 14.
12.9 Контроль точности результатов испытаний - по
разделу 15.
13 Метрологические характеристики (показатели точности)
Доверительные границы абсолютной погрешности результатов определения плотности природного газа по настоящему стандарту и среднее квадратическое отклонение повторяемости в зависимости от номинальной вместимости пикнометра приведены в
таблице 1.
Таблица 1
Доверительные границы абсолютной погрешности и среднее
квадратическое отклонение повторяемости результатов
определения плотности природного газа
Номинальная вместимость пикнометра, дм3 | Доверительные границы абсолютной погрешности,  , г/дм 3 (кг/м 3) при P = 0,95 | Среднее квадратическое отклонение повторяемости,  , г/дм 3 (кг/м 3) |
0,1 | +/- 0,008 | 0,0042 |
0,2 | +/- 0,004 | 0,0021 |
Примечание - Значения абсолютной расширенной неопределенности  , г/дм 3 (кг/м 3), результатов определения плотности природного газа по настоящему стандарту (при коэффициенте охвата k = 2) принимают равными значениям доверительных границ суммарной абсолютной погрешности определений (при доверительной вероятности P = 0,95), приведенным в таблице 1, для соответствующего номинальной вместимости пикнометра. |
14 Обработка и оформление результатов испытаний
14.1 За результат определения плотности природного газа принимают среднее арифметическое результатов двух определений, полученных в условиях повторяемости, если выполняется условие приемлемости, выражаемое соотношением

, (5)
где

,

- результаты двух определений плотности природного газа, полученные в условиях повторяемости, г/дм
3 (кг/м
3);
2,77 - коэффициент критического диапазона для двух результатов определений;

- среднее квадратическое отклонение повторяемости (см.
таблицу 1), г/дм
3 (кг/м
3).
14.2 Результат определения плотности природного газа

, г/дм
3 (кг/м
3), представляют в виде

,
P = 0,95, (6)
где

- среднее арифметическое результатов определений плотности природного газа, признанных приемлемыми по
14.1, округленное до третьего десятичного знака, г/дм
3 (кг/м
3);

- доверительные границы абсолютной погрешности определений плотности природного газа пикнометрическим методом по
таблице 1, г/дм
3 (кг/м
3).
Примечание - Допускается результат определения плотности

, г/дм
3 (кг/м
3), представлять в виде

, (7)
где

- абсолютная расширенная неопределенность

результатов определений плотности природного газа пикнометрическим методом по
таблице 1 (при коэффициенте охвата
k = 2), г/дм
3 (кг/м
3).
14.3 Формулы для вычисления значений плотности природного газа при давлении 101,325 кПа и температурах 0 °C и 15 °C из значений плотности при стандартных условиях, а также вычисления относительной плотности природного газа при температурах 0 °C, 15 °C, 20 °C и давлении 101,325 кПа приведены в
приложении Б.
14.4 При необходимости результаты определения плотности природного газа оформляют протоколом испытаний, содержащим:
а) идентификацию пробы природного газа, в том числе:
- время, место, дату и метод отбора пробы природного газа (по возможности);
- точку отбора пробы природного газа;
- идентификационный (заводской, серийный и т.п.) номер баллона (или сосуда), используемого для отбора пробы природного газа;
- условия при отборе природного газа - температуру и давление природного газа в точке отбора, температуру, давление, влажность окружающего воздуха;
б) обозначение настоящего стандарта;
в) дату проведения испытаний;
г) общую информацию:
- дату оформления протокола испытаний;
- наименование и адрес испытательной лаборатории (или организации, к которой относится испытательная лаборатория);
- информацию об аккредитации испытательной лаборатории (при наличии);
- подпись уполномоченного лица испытательной лаборатории.
15 Контроль точности результатов испытаний
15.1 Контроль точности результатов определений плотности природного газа пикнометрическим методом, а также его периодичность осуществляют в соответствии с процедурами, прописанными в документах, регламентирующих деятельность испытательной лаборатории.
15.2 Для контроля погрешности (неопределенности) используют метан с объемной долей метана не менее 99,9%. Установленное значение плотности чистого метана при стандартных условиях измерений составляет 0,668 г/дм
3. Допускается использовать СО газовой смеси с аттестованным значением плотности или расчетным значением плотности по
ГОСТ 31369, соответствующим диапазону по
1.2, с доверительными границами абсолютной погрешности (абсолютной расширенной неопределенности) в пределах +/- 0,004 г/дм
3. Определяют плотность чистого метана или СО газовой смеси в соответствии с настоящим стандартом.
15.3 Абсолютное значение разности между определенным по настоящему стандарту и приведенным в
15.2 значением плотности чистого метана должно быть в пределах значений доверительных границ абсолютной погрешности (абсолютной расширенной неопределенности) результатов определений, указанных в
таблице 1.
15.4 Абсолютное значение разности между определенным по настоящему стандарту и приписанным (вычисленным) или установленным в сертификате (паспорте) СО газовой смеси значением плотности СО должно быть в пределах значений границ допускаемого расхождения

, которые вычисляют по формуле

, (8)
где

- действительное значение границ абсолютной погрешности плотности СО газовой смеси, г/дм
3.
Вычисленное значение

округляют до третьего десятичного знака.
Примечание - Если в качестве метрологической характеристики СО газовой смеси указана величина абсолютной расширенной неопределенности, абсолютное значение разности между измеренным и приписанным (вычисленным) или установленным в сертификате (паспорте) СО значением плотности должно быть в пределах значений границ допускаемого расхождения

, которые вычисляют по формуле

, (9)
где

- действительное значение абсолютной расширенной неопределенности плотности СО, г/дм
3 (при коэффициенте охвата
k = 2). Вычисленное значение

округляют до третьего десятичного знака.
15.5 Если абсолютное значение разности определенного по настоящему стандарту и установленного или расчетного значения плотности метана (СО газовой смеси) выходит за пределы указанных значений, то проводят повторный контроль точности.
15.6 При повторном превышении допускаемого расхождения выявляют и устраняют причины данного превышения.
(обязательное)
ПЛОТНОСТЬ ДИСТИЛЛИРОВАННОЙ ВОДЫ ПРИ АТМОСФЕРНОМ ДАВЛЕНИИ
101,325 кПа И ЗНАЧЕНИЯХ ТЕМПЕРАТУРЫ ОТ 15 °C ДО 25 °C
Таблица А.1
Значения плотности дистиллированной воды при атмосферном
давлении 101,325 кПа и значениях температуры
от 15 °C до 25 °C.
Температура, °C | Плотность дистиллированной воды, г/дм3 (кг/м3) |
0,0 | 0,1 | 0,2 | 0,3 | 0,4 |
0,5 | 0,6 | 0,7 | 0,8 | 0,9 |
15 | 999,103 | 999,087 | 999,072 | 999,057 | 999,041 |
999,026 | 999,010 | 998,994 | 998,978 | 998,962 |
16 | 998,946 | 998,930 | 998,913 | 998,897 | 998,880 |
998,863 | 998,847 | 998,830 | 998,813 | 998,795 |
17 | 998,778 | 998,761 | 998,743 | 998,725 | 998,708 |
998,690 | 998,672 | 998,654 | 998,635 | 998,617 |
18 | 998,599 | 998,580 | 998,561 | 998,543 | 998,524 |
998,505 | 998,486 | 998,467 | 998,447 | 998,428 |
19 | 998,408 | 998,389 | 998,369 | 998,349 | 998,329 |
998,309 | 998,289 | 998,269 | 998,248 | 998,228 |
20 | 998,207 | 998,186 | 998,166 | 998,145 | 998,124 |
998,103 | 998,081 | 998,060 | 998,039 | 998,017 |
21 | 997,995 | 997,974 | 997,952 | 997,930 | 997,908 |
997,886 | 997,864 | 997,841 | 997,819 | 997,796 |
22 | 997,773 | 997,751 | 997,728 | 997,705 | 997,682 |
997,659 | 997,635 | 997,612 | 997,589 | 997,565 |
23 | 997,541 | 997,518 | 997,494 | 997,470 | 997,446 |
997,422 | 997,397 | 997,373 | 997,349 | 997,324 |
24 | 997,299 | 997,275 | 997,250 | 997,225 | 997,200 |
997,175 | 997,149 | 997,124 | 997,099 | 997,073 |
25 | 997,048 | - | - | - | - |
- | - | - | - | - |
(справочное)
ПЕРЕСЧЕТ ПЛОТНОСТИ И РАСЧЕТ ОТНОСИТЕЛЬНОЙ ПЛОТНОСТИ
ПРИРОДНОГО ГАЗА ПРИ РАЗЛИЧНЫХ ТЕМПЕРАТУРАХ
И ДАВЛЕНИИ 101,325 кПа
Б.1 Плотность природного газа при температурах 0 °C и 15 °C и давлении 101,325 кПа

и

, соответственно, г/дм
3 (кг/м
3), вычисляют по следующим формулам:

; (Б.1)

, (Б.2)
где 1,07378 и 1,01747 - коэффициенты пересчета в зависимости от температуры.
Б.2 Относительную плотность природного газа вычисляют по следующим формулам:

; (Б.3)

; (Б.4)

, (Б.5)
где d0, d15, d20 - относительная плотность природного газа соответственно при температурах 0 °C, 15 °C, 20 °C и давлении 101,325 кПа,
1,292923; 1,225410 и 1,204449 - плотность сухого воздуха стандартного состава, соответственно при температурах 0 °C, 15 °C и 20 °C и давлении 101,325 кПа, г/дм3 (кг/м3).
| Рекомендации по межгосударственной стандартизации РМГ 29-2013 | Государственная система обеспечения единства измерений. Метрология. Основные термины и определения |
УДК 543.27.001.4: 006.354 | |
Ключевые слова: природный газ, определение плотности пикнометрическим методом |