Главная // Актуальные документы // ГОСТ (Государственный стандарт)
СПРАВКА
Источник публикации
М.: Издательство стандартов, 1992
Примечание к документу
Документ утратил силу с 1 января 2014 года в связи с изданием Приказа Росстандарта от 27.12.2012 N 2014-ст. Взамен введен в действие ГОСТ 19804-2012.

С 1 июля 2003 года до вступления в силу технических регламентов акты федеральных органов исполнительной власти в сфере технического регулирования носят рекомендательный характер и подлежат обязательному исполнению только в части, соответствующей целям, указанным в пункте 1 статьи 46 Федерального закона от 27.12.2002 N 184-ФЗ.

Введен в действие с 1 июля 1992 года.

Взамен ГОСТ 19804.0-78.
Название документа
"ГОСТ 19804-91. Сваи железобетонные. Технические условия"
(утв. Постановлением Госстроя СССР от 28.11.1991 N 23)

"ГОСТ 19804-91. Сваи железобетонные. Технические условия"
(утв. Постановлением Госстроя СССР от 28.11.1991 N 23)


Содержание


Утвержден
Постановлением Госстроя СССР
от 28 ноября 1991 г. N 23
ГОСУДАРСТВЕННЫЙ СТАНДАРТ СОЮЗА ССР
СВАИ ЖЕЛЕЗОБЕТОННЫЕ
ТЕХНИЧЕСКИЕ УСЛОВИЯ
Reinforced concrete piles. Specifications
ГОСТ 19804-91
Группа Ж33
ОКП 58 1700
Дата введения
1 июля 1992 года
ИНФОРМАЦИОННЫЕ ДАННЫЕ
1. Разработан и внесен Государственным институтом по проектированию оснований и фундаментов (Фундаментпроект) Госстроя СССР.
Разработчики: М.Н. Пинк, канд. техн. наук (руководитель темы); В.К. Демидов; А.А. Колесов, канд. техн. наук; В.Ф. Соколова; Е.И. Иттенберг; О.Г. Филиппов; Н.А. Ремезова; В.А. Якушин, канд. техн. наук; М.М. Капкин, канд. техн. наук; Е.М. Чериковер, канд. техн. наук; Б.В. Бахолдин, канд. техн. наук; Л.М. Иванов; М.В. Самуэльсон; Т.В. Барабанова; В.И. Пименова; В.И. Деньщиков; В.Н. Сафонов.
2. Утвержден и введен в действие Постановлением Государственного комитета СССР по строительству и инвестициям от 28.11.1991 N 23.
3. Взамен ГОСТ 19804.0-78.
4. Ссылочные нормативно-технические документы
───────────────────┬──────────────┬───────────────────┬───────────
Обозначение НТД, на│ Номер │Обозначение НТД, на│ Номер
который дана ссылка│ пункта │который дана ссылка│ пункта
───────────────────┼──────────────┼───────────────────┼───────────
ГОСТ 5781-821.3.5ГОСТ 17625-833.8
ГОСТ 6727-801.3.5ГОСТ 18105-863.2
ГОСТ 7348-811.3.5ГОСТ 19804.2-791.1, 1.2.2
ИС МЕГАНОРМ: примечание.
Взамен ГОСТ 8829-85 Постановлением Госстроя России от 17.07.1997
N 18-39 с 1 января 1998 года введен в действие ГОСТ 8829-94.
ГОСТ 8829-85 │3.1ГОСТ 19804.3-801.1, 1.2.2
ИС МЕГАНОРМ: примечание.
Взамен ГОСТ 10060-87 Постановлением Минстроя России от
05.03.1996 N 18-17 с 1 сентября 1996 года введены в действие
ГОСТ 10060.0-95, ГОСТ 10060.1-95, ГОСТ 10060.2-95,
ГОСТ 10060.3-95, ГОСТ 10060.4-95.
ГОСТ 10060-87 │3.3 │ГОСТ 19804.4-78 │1.1, 1.2.2
ГОСТ 10180-78 │3.2ГОСТ 19804.5-831.1, 1.2.2
ИС МЕГАНОРМ: примечание.
Взамен ГОСТ 10884-81 Постановлением Госстандарта РФ от
13.04.1995 N 214 с 1 января 1996 года введен в действие
ГОСТ 10884-94.
ГОСТ 10884-81 │1.3.5ГОСТ 19804.6-831.1, 1.2.2
ГОСТ 10922-901.3.8, 3.5ГОСТ 19804.7-831.1, 1.2.2
ГОСТ 12730.0-783.4ГОСТ 22362-773.6
ГОСТ 12730.5-843.4ГОСТ 22690-883.2
ИС МЕГАНОРМ: примечание.
Взамен ГОСТ 22904-78 с 1 января 1995 года Межгосударственной
научно-технической комиссией по стандартизации и техническому
нормированию в строительстве (МНТКС) 10 ноября 1993 года принят
ГОСТ 22904-93.
ГОСТ 13015.0-831.3.1, 1.3.12 │ГОСТ 22904-78 │3.8
ГОСТ 13015.1-812.1, 2.2ГОСТ 23009-781.2.5
ГОСТ 13015.2-811.5ГОСТ 26134-843.3
ГОСТ 13015.3-812.4ГОСТ 26433.0-853.7
ГОСТ 13015.4-844.1ГОСТ 26433.1-893.7
ГОСТ 13840-681.3.6ГОСТ 26633-911.3.2
ГОСТ 17624-873.2 │ │
Настоящий стандарт распространяется на железобетонные забивные, буроопускные и опускные сваи, изготовляемые из тяжелого бетона и предназначенные для свайных фундаментов зданий или сооружений.
Область применения свай приведена в Приложении 1.
Требования настоящего стандарта являются обязательными, за исключением требований, изложенных в пп. 1.2.1 и 1.2.2, которые являются рекомендуемыми.
1. ТЕХНИЧЕСКИЕ ТРЕБОВАНИЯ
1.1. Сваи следует изготовлять в соответствии с требованиями настоящего стандарта, технологической документации, утвержденной предприятием-изготовителем, по рабочим чертежам серий 1.011.1-9, 1.011.1-10, УД-40-88, 3.500.1-1, 3.501.1 и ГОСТ 19804.2 - ГОСТ 19804.7.
Допускается изготовлять сваи, отличающиеся типами и размерами от приведенных в настоящем стандарте, по техническим условиям и рабочим чертежам, согласованным с институтом "Фундаментпроект" и утвержденным в установленном порядке.
1.2. Основные параметры и размеры
1.2.1. Сваи подразделяют на следующие типы:
С - квадратного сплошного сечения, цельные и составные, с поперечным армированием ствола;
СП - квадратного сечения с круглой полостью, цельные;
СК - полые круглого сечения диаметрами 400 - 800 мм, цельные и составные;
СО - сваи-оболочки диаметрами 1000 - 3000 мм, цельные и составные;
1СД - сваи-колонны квадратного сплошного сечения, двухконсольные, расположенные по крайним осям здания;
2СД - то же, расположенные по средним осям здания;
СЦ - квадратного сплошного сечения, цельные, без поперечного армирования ствола, с напрягаемой арматурой в центре сваи.
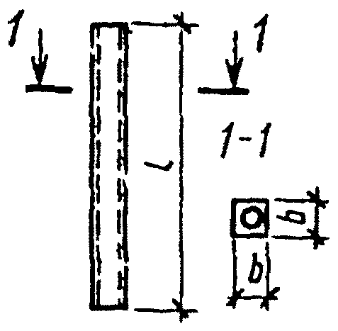
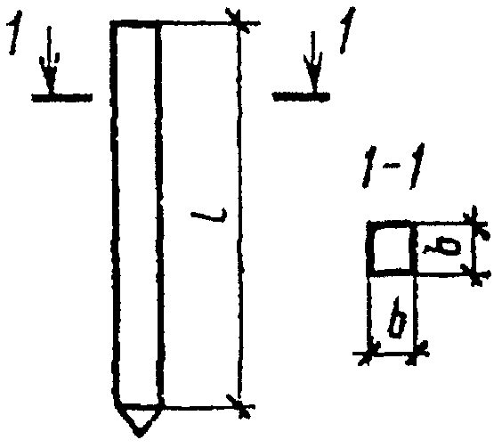
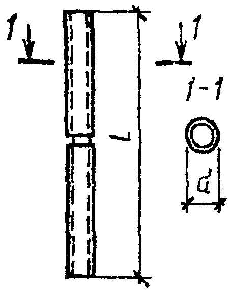
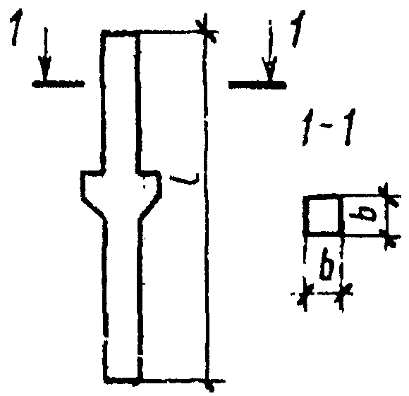
1.2.2. Форма и основные размеры свай должны соответствовать указанным в табл. 1.
Таблица 1
Тип и характеристика сваи
Эскиз сваи
Основные размеры сваи, мм
Обозначение стандарта или серии рабочих чертежей
b или d
l
Тип С. Цельная с ненапрягаемой арматурой
200
250
300
350
400
3000 - 6000
4500 - 6000
3000 - 12000
4000 - 16000
4000 - 18000
Серия 1.011.1-10, вып. 1;
УД-40-88;
3.500.1-1
Тип С. Цельная с напрягаемой арматурой
200
250
300
350
400
3000 - 6000
4500 - 6000
3000 - 15000
8000 - 20000
13000 - 20000
Серия 3.500.1-1
Тип С. Составная с ненапрягаемой арматурой
300
14000 - 24000
Серия 1.011.1-10,
вып. 8
350
14000 - 28000
400
Тип С. Составная с напрягаемой арматурой
300
14000 - 20000
Серия 1.011.1-9
350
14000 - 24000
400
14000 - 28000
Тип СП. Цельная с ненапрягаемой и напрягаемой арматурой
300
3000 - 12000
400
Тип СК. Цельная с ненапрягаемой арматурой
400
4000 - 18000
Серия 3.501.1
500
600
800
4000 - 12000
Тип СО. Цельная с ненапрягаемой арматурой
1000
6000 - 12000
1200
1500
1600
3000
Тип СК. Составная с ненапрягаемой арматурой
400
14000 - 26000
Серия 3.501.1
500
14000 - 30000
600
14000 - 40000
800
14000 - 48000
Тип СО. Составная с ненапрягаемой арматурой
1000
14000 - 48000
1200
1500
1600
3000
Тип 1СД
200
5000 - 6000
300
5000 - 7500
Тип 2СД
300
5000 - 7500
Тип СЦ
250
5000 - 6000
300
3000 - 9000
Примечания. 1. Сваи типов СК и СО изготовляют с наконечником и без него.
2. Допускается изготовлять цельные сваи типа С без острия. При этом область применения свай по грунтовым условиям должна соответствовать области применения свай типа СП.
3. Сваи квадратного сплошного сечения допускается изготовлять с технологическим уклоном двух противоположных граней не более 1:15 без изменения площади поперечного сечения. При этом сваи длиной более 12000 мм следует изготовлять только в разъемных формах.
1.2.3. Показатели расхода бетона и стали на сваи должны соответствовать указанным в рабочих чертежах на эти сваи.
1.2.4. Марки бетона по морозостойкости и водонепроницаемости свай в зависимости от режима их эксплуатации и значений расчетных температур наружного воздуха в районе строительства следует назначать в рабочих чертежах конкретного здания или сооружения согласно указаниям Приложения 2.
1.2.5. Сваи обозначают марками в соответствии с требованиями ГОСТ 23009. Марка сваи состоит из буквенно-цифровых групп, разделенных дефисами.
В первой группе указывают обозначение типа сваи, ее длину в дециметрах и размер стороны (диаметр) поперечного сечения в сантиметрах; для сваи типа СД после длины дополнительно указывают размер от верха сваи до ее консоли в дециметрах.
Во второй группе указывают: для предварительно напряженной сваи - класс напрягаемой арматурной стали; для сваи с ненапрягаемой арматурой - порядковый номер варианта армирования в соответствии с рабочими чертежами.
В третьей группе указывают:
для сваи типа СК или СО - наличие наконечника, обозначаемое строчной буквой "н";
для составной сваи - тип стыка, обозначаемый строчными буквами: б - болтовой стык, св - сварной стык, с - стаканный стык;
для свай всех типов (при необходимости) - дополнительные характеристики, отражающие особые условия применения или конструктивные особенности.
Пример условного обозначения (марки) сваи типа С длиной 6000 мм, размером поперечного сечения 350 мм, с напрягаемой арматурной сталью класса А-V:
С60.35-АV
То же, типа СО длиной 14000 мм, диаметром 1000 мм, третьего варианта армирования, с болтовыми стыками:
СО140.100-3-б
То же, типа 1СД длиной 7500 мм, размером от верха сваи до ее консоли 3500 мм, размером поперечного сечения 300 мм, четвертого варианта армирования:
1СД75.35.30-4
Примечание. Допускается принимать обозначения марок свай в соответствии с рабочими чертежами на эти сваи до их пересмотра.
1.3. Характеристики
1.3.1. Сваи должны удовлетворять требованиям ГОСТ 13015.0:
по показателям фактической прочности бетона: в проектном возрасте, передаточной и отпускной (пп. 7.2, 7.4 - 7.7);
по морозостойкости и водонепроницаемости бетона (п. 7.8);
к маркам сталей для арматурных и закладных изделий, в том числе для монтажных петель (пп. 8.5, 8.6);
по защите от коррозии (пп. 7.15, 8.7).
Сваи должны удовлетворять установленным при проектировании требованиям по трещиностойкости и выдерживать контрольные испытания, указанные в рабочих чертежах на эти сваи.
1.3.2. Сваи следует изготовлять из тяжелого бетона по ГОСТ 26633 классов по прочности на сжатие, указанных в рабочих чертежах на эти сваи.
При опирании свай на скальные и крупнообломочные грунты класс бетона по прочности на сжатие следует принимать не ниже В25 независимо от длины сваи.
1.3.3. В качестве крупного заполнителя для бетона свай должен применяться фракционированный щебень из естественного камня или гравия, при этом размер фракции не должен быть более 40 мм.
1.3.4. Передачу усилий обжатия на бетон (отпуск натяжения арматуры) в сваях с напрягаемой арматурой следует производить после достижения бетоном требуемой передаточной прочности.
Нормируемая передаточная прочность бетона должна быть не менее 70% прочности, соответствующей классу бетона по прочности на сжатие.
1.3.5. Нормируемая отпускная прочность бетона свай должна быть равна 100% класса бетона по прочности на сжатие.
1.3.6. Для армирования свай следует применять арматурную сталь следующих видов и классов:
ИС МЕГАНОРМ: примечание.
Взамен ГОСТ 10884-81 Постановлением Госстандарта РФ от 13.04.1995 N 214 с 1 января 1996 года введен в действие ГОСТ 10884-94.
в качестве напрягаемой продольной арматуры - термомеханически упрочненную стержневую классов Ат-V, Ат-VСК, Ат-IV, Ат-IVС и АТ-IVК по ГОСТ 10884, горячекатаную стержневую классов А-V и А-IV - по ГОСТ 5781;
арматурные канаты класса К-7 по ГОСТ 13840;
высокопрочную проволоку периодического профиля класса Вр-II по ГОСТ 7348;
в качестве ненапрягаемой продольной арматуры - стержневую горячекатаную периодического профиля классов А-III, A-II и Ас-II по ГОСТ 5781, термомеханически упрочненную классов Ат-IIIС и Ат-IVС по ГОСТ 10884;
в качестве конструктивной арматуры (спирали, сетки, хомуты) - проволоку обыкновенную периодического профиля класса Вр-I по ГОСТ 6727, стержневую горячекатаную гладкую класса А-I по ГОСТ 5781.
Допускается в качестве ненапрягаемой продольной арматуры применять арматурную сталь класса А-I по ГОСТ 5781.
1.3.7. Значения действительных отклонений напряжений в напрягаемой арматуре не должны превышать предельных, указанных в рабочих чертежах на эти сваи.
1.3.8. Форма и размеры арматурных и закладных изделий и их положение в сваях должны соответствовать указанным в рабочих чертежах на эти сваи.
1.3.9. Сварные арматурные и закладные изделия должны удовлетворять требованиям ГОСТ 10922 (при классе точности свай 8) и настоящего стандарта.
1.3.10. Значения действительных отклонений от линейных размеров арматурных изделий и от размеров, определяющих положение этих изделий в сваях, не должны превышать предельных, указанных в табл. 2.
Таблица 2
мм
──────────────────────────────────────────────────────┬───────────
Наименование геометрического параметра │Пред. откл.
──────────────────────────────────────────────────────┼───────────
Сваи с ненапрягаемой арматурой │
Расстояние от крайнего поперечного стержня (спирали,│ +/- 10
сетки, хомута) до конца каркаса │
Шаг спирали, сеток, хомутов при значении шага: │
до 50 включ. │ +/- 10
св. 50 до 100 включ. │ +/- 15
" 100 │ +/- 25
Сваи с напрягаемой арматурой │
Расстояние от крайней сетки (хомута, витка спирали) │ +/- 10
до торца сваи │
Шаг спирали, сеток хомутов при значении шага: │
до 50 включ. │ +/- 10
св. 50 до 100 включ. │ +/- 25
" 100 │ +/- 50
1.3.11. Значения действительных отклонений геометрических параметров свай не должны превышать предельных, указанных в табл. 3.
Таблица 3
мм
───────────────────────┬──────────────────────────────┬───────────
Наименование отклонения│ Наименование геометрического │Пред. откл.
геометрического │ параметра сваи │
параметра сваи │ │
───────────────────────┼──────────────────────────────┼───────────
Отклонение от линей- │ Длина призматической (цилин-│
ного размера │дрической) части сваи с ненап-│
│рягаемой арматурой при длине │
│сваи: │
│ до 8000 включ. │ +/- 25
│ св. 8000 до 16000 включ. │ +/- 30
│ " 16000 │ +/- 40
│ То же, свай с напрягаемой │ +/- 50
│арматурой │
│ Размер (наружный диаметр) │
│поперечного сечения сваи: │
│ до 250 включ. │ +15; -6
│ св. 250 до 500 включ. │ +20; -8
│ " 500 " 1000 │ +25; -10
│ " 1000 " 1600 │ +30; -12
│ " 1600 " 2500 │ +40; -15
│ " 2500 │ +50; -16
│ Толщина стенки сваи типов │
│СП, СК и СО: │
│ до 120 включ. │ +10; -5
│ св. 120 до 250 включ. │ +25; -6
│ Длина острия или наконечника│ +/- 30
│ Расстояние от центра острия │ 15
│или наконечника до боковой по-│
│верхности сваи │
│ Расстояние от центра подъем-│ 50
│ной (монтажной) петли, штыря, │
│втулки и отметки для строповки│
│до концов сваи │
───────────────────────┼──────────────────────────────┼───────────
Отклонение от прямо- │ - │
линейности профиля бо- │ │
ковых граней призмати- │ │
ческой части ствола │ │
(направляющих цилиндри-│ │
ческой поверхности) │ │
сваи на всей длине: │ │
до 8000 включ. │ │ +/- 25
св. 8000 до 16000 │ │ +/- 30
включ. │ │
" 16000 │ │ +/- 40
Отклонение от перпен-│ - │
дикулярности торцевой │ │
плоскости: │ │
в голове сваи и │ │ 0,015
сваи-оболочки │ │размера по-
│ │перечного
│ │сечения
│ │сваи
в зоне стыка состав- │ │ 0,01 раз-
ной сваи сплошного │ │мера попе-
квадратного сечения │ │речного се-
│ │чения сваи
в зоне стыка состав- │ │ 0,005
ной сваи-оболочки │ │размера по-
│ │перечного
│ │сечения
│ │сваи
1.3.12. На поверхности свай не допускается обнажение рабочей и конструктивной арматуры. Концы напрягаемой арматуры после отпуска натяжения должны быть срезаны заподлицо с торцевой поверхностью сваи.
Значения действительных отклонений толщины защитного слоя бетона до продольной арматуры не должны превышать предельных, мм:
+15; -5 - в сваях сплошного квадратного сечения с ненапрягаемой арматурой;
+10; -5 - то же, в сваях с напрягаемой арматурой на концевых участках;
+15; -5 - то же, в сваях с напрягаемой арматурой в средней части;
+/-5 - в сваях квадратного сечения с круглой полостью и в сваях-оболочках на концевых участках;
+10; -5 - то же, в средней части.
1.3.13. Требования к качеству бетонных поверхностей и внешнему виду свай (в том числе по ширине раскрытия поверхностных технологических трещин) - по ГОСТ 13015.0. При этом размеры раковин, местных впадин на бетонной поверхности и околов бетона ребер свай не должны превышать, мм:
диаметр или наибольший размер раковины ....... 20
глубина впадины .............................. 10
глубина окола бетона ребра ................... 20
суммарная длина околов бетона на 1 м ребра,
за исключением открытой поверхности
(выравниваемой в процессе вибрирования)
трапецеидальных свай ........................ 100
суммарная длина околов бетона на 1 м ребра
открытой поверхности трапецеидальных свай .... не
регламентируется
Высота наплывов на торцевой поверхности свай не должна быть более 5 мм.
1.4. Комплектность
Составные сваи поставляют потребителю в комплекте с соединительными изделиями, указанными в стандартах или рабочих чертежах на сваи.
1.5. Маркировка
Маркировка свай - по ГОСТ 13015.2. Маркировочные надписи и знаки следует наносить на боковые поверхности свай на расстоянии 500 мм от торца или на торце свай.
2. ПРИЕМКА
2.1. Приемка свай - по ГОСТ 13015.1 и настоящему стандарту. При этом сваи принимают:
по результатам периодических испытаний - по показателям трещиностойкости свай, морозостойкости и водонепроницаемости бетона;
по результатам приемосдаточных испытаний - по показателям прочности бетона (классу бетона по прочности на сжатие, передаточной и отпускной прочности), соответствия арматурных и закладных изделий рабочим чертежам, прочности сварных соединений, точности геометрических параметров, толщины защитного слоя бетона до арматуры, ширины раскрытия технологических трещин, категории бетонной поверхности.
2.2. Периодические испытания свай для контроля их трещиностойкости проводят перед началом массового изготовления свай и в дальнейшем при внесении в них конструктивных изменений и изменений технологии изготовления в соответствии с требованиями ГОСТ 13015.1.
В процессе серийного производства свай испытания на трещиностойкость проводят не реже одного раза в год.
2.3. Сваи по показателям точности геометрических параметров, толщины защитного слоя бетона до арматуры, категории бетонной поверхности и ширины раскрытия технологических трещин следует принимать по результатам выборочного контроля.
2.4. В документе о качестве свай по ГОСТ 13015.3 дополнительно должны быть приведены марки бетона по морозостойкости и водонепроницаемости (если эти показатели оговорены в заказе на изготовление свай).
3. МЕТОДЫ КОНТРОЛЯ
ИС МЕГАНОРМ: примечание.
Взамен ГОСТ 8829-85 Постановлением Госстроя России от 17.07.1997 N 18-39 с 1 января 1998 года введен в действие ГОСТ 8829-94.
3.1. Испытания свай на трещиностойкость следует проводить нагружением по ГОСТ 8829 или без нагружения (при воздействии только собственного веса сваи) по схемам, установленным стандартами или рабочими чертежами на сваи конкретных типов. Число свай одного типа, отбираемых для испытаний на трещиностойкость, должно быть не менее двух.
3.2. Прочность бетона сваи определяют по ГОСТ 10180 на серии образцов, изготовленных из бетонной смеси рабочего состава и хранившихся в условиях, установленных ГОСТ 18105.
При испытании свай методами неразрушающего контроля фактическую, передаточную и отпускную прочность бетона на сжатие следует определять ультразвуковым методом по ГОСТ 17624 или приборами механического действия по ГОСТ 22690, а также другими методами, предусмотренными на методы испытаний бетона.
ИС МЕГАНОРМ: примечание.
Взамен ГОСТ 10060-87 Постановлением Минстроя России от 05.03.1996 N 18-17 с 1 сентября 1996 года введены в действие ГОСТ 10060.0-95, ГОСТ 10060.1-95, ГОСТ 10060.2-95, ГОСТ 10060.3-95, ГОСТ 10060.4-95.
3.3. Морозостойкость бетона свай следует контролировать по ГОСТ 10060 или ультразвуковым методом по ГОСТ 26134 на серии образцов, изготовленных из бетонной смеси рабочего состава.
3.4. Водонепроницаемость бетона свай определяют по ГОСТ 12730.0 и ГОСТ 12730.5.
3.5. Контроль сварных арматурных и закладных изделий - по ГОСТ 10922.
3.6. Силу натяжения арматуры, контролируемую по окончании натяжения, измеряют по ГОСТ 22362.
3.7. Размеры, отклонения от прямолинейности боковых граней и от перпендикулярности торцевых граней свай, ширину раскрытия поверхностных технологических трещин, размеры раковин, наплывов и околов бетона свай следует проверять методами, установленными ГОСТ 26433.0 и ГОСТ 26433.1.
3.7.1. Положение острия (или наконечника) сваи относительно центра ее поперечного сечения проверяют измерением расстояния между осью острия (наконечника) и двумя стальными пластинами или угольниками, закрепленными струбцинами в нижней прямоугольной части сваи, или при помощи специального кондуктора.
ИС МЕГАНОРМ: примечание.
Взамен ГОСТ 22904-78 с 1 января 1995 года Межгосударственной научно-технической комиссией по стандартизации и техническому нормированию в строительстве (МНТКС) 10 ноября 1993 года принят ГОСТ 22904-93.
3.8. Размеры и положение арматурных и закладных изделий, а также толщину защитного слоя бетона следует определять по ГОСТ 17625 и ГОСТ 22904.
Толщину защитного слоя бетона следует проверять по верхней и двум боковым граням сваи на двух участках, расположенных между подъемными петлями на расстоянии не менее 100 мм от петли вдоль оси сваи, а для свай с ненапрягаемой арматурой и в торце сваи - в местах расположения продольных стержней.
4. ТРАНСПОРТИРОВАНИЕ И ХРАНЕНИЕ
4.1. Транспортирование и хранение сваи - по ГОСТ 13015.4 и настоящему стандарту.
4.2. Сваи следует хранить в штабелях горизонтальными рядами с одинаковой ориентацией торцов свай.
4.3. Между горизонтальными рядами свай (при складировании и транспортировании) должны быть уложены прокладки, расположенные рядом с подъемными петлями, или, в случае отсутствия петель, в местах, предусмотренных для захвата свай при их транспортировании. При складировании полых круглых свай и свай-оболочек на концах прокладок должны быть укреплены брусья, препятствующие скатыванию свай.
4.4. Высота штабеля свай не должна превышать ширину штабеля более чем в два раза и не должна быть более:
2,5 м - для свай квадратного сечения;
4 рядов - для полых круглых свай диаметром 400 - 600 мм;
2 " - для полых круглых свай диаметром 800 мм и свай-
оболочек.
4.5. Погрузку и разгрузку свай квадратного сечения следует производить за подъемные петли.
4.6. Подъем свай квадратного сечения на копер следует производить стропом, закрепленным за сваю у фиксирующего штыря или у верхней подъемной петли, если это допускается требованиями рабочих чертежей на сваи конкретного типа, при этом строповка непосредственно за подъемную петлю или штырь запрещается.
4.7. Подъем буроопускных свай для погружения в грунт осуществляют тросом, продетым в отверстие, образованное металлической втулкой и расположенное на расстоянии 250 мм от верхнего торца сваи.
4.8. Погрузку, разгрузку и подъем полых свай круглого сечения и свай-оболочек на копер следует производить захватами в местах, отмеченных краской в соответствии со схемами, приведенными в рабочих чертежах на сваи конкретного типа.
4.9. При спланированной поверхности строительной площадки допускается перемещение сваи к копру на расстояние не более 6 м.
Приложение 1
Обязательное
ОБЛАСТЬ ПРИМЕНЕНИЯ СВАЙ
1. Область применения свай в зависимости от конструкции надфундаментной части здания или сооружения и грунтовых условий площадки строительства приведена в табл. 4, в районах вечномерзлых грунтов - в табл. 5.
Таблица 4
───────────┬──────────────────────────────────────────────────────
Характерис-│ Область применения свай
тика и тип ├────────────┬─────────────────────────────────────────
сваи │по конструк-│ по грунтовым условиям
│ции надфун- ├───────────────────┬─────────────────────
│даментной │Грунты, прорезаемые│ Грунты под нижними
│части │ сваями │ концами свай
───────────┼────────────┼───────────────────┼─────────────────────
Забивная │ Для зданий│ Нескальные следу-│ Скальные
цельная ти-│или сооруже-│ющих подгрупп: пес-│ Нескальные следую-
па С │ний │чаные, пылевато- │щих подгрупп: крупно-
Забивная │ │глинистые, биоген- │обломочные, песчаные,
цельная и │ │ные, насыпные, на- │пылевато-глинистые
составная │ │мывные │(кроме илов)
типа СК или│ │ │
СО │ │ │
───────────┼────────────┼───────────────────┼─────────────────────
Забивная │ Для зданий│ Пески мелкие и │ Нескальные следую-
составная │или сооруже-│пылеватые, рыхлые и│щих подгрупп: песча-
типа С │ний (кроме │средней плотности; │ные, пылевато-гли-
Забивная │гидротехни- │супеси пластичные и│нистые (кроме илов)
типа СП │ческих) │текучие; суглинки и│ Допускается опира-
│ │глины от тугоплас- │ние на скальные грун-
│ │тичных до текучих; │ты: аргиллиты или
│ │илы; биогенные │алевролиты
│ │грунты │
│ │ Допускается для │
│ │цельных и нижних │
│ │секций составных │
│ │свай прорезание │
│ │прослоев плотных │
│ │песчаных и твердых │
│ │пылевато-глинистых │
│ │грунтов толщиной не│
│ │более 0,5 м │
───────────┼────────────┼───────────────────┼─────────────────────
Забивная │ Для зданий│ Пески средней │ Нескальные следую-
типа СЦ │или сооруже-│крупности, мелкие и│щих подгрупп: песча-
│ний, в фун- │пылеватые, рыхлые и│ные, пылевато-гли-
│даментах │средней плотности; │нистые (кроме илов)
│которых: │супеси пластичные и│
│сваи погру- │текучие; суглинки и│
│жены на всю │глины от тугоплас- │
│глубину в │тичных до текучих; │
│грунт; │илы; биогенные │
│сваи высту- │грунты │
│пают над по-│ │
│верхностью │ │
│грунта на │ │
│высоту не │ │
│более 2 м и │ │
│расположены │ │
│внутри поме-│ │
│щения с по- │ │
│ложительной │ │
│расчетной │ │
│температурой│ │
│воздуха; на │ │
│сваи не пе- │ │
│редаются │ │
│растягиваю- │ │
│щие усилия │ │
───────────┼────────────┼───────────────────┼─────────────────────
Забивная │ В качестве│ Пески средней │
типа СД │колонн сель-│крупности, мелкие и│
│скохозяй- │пылеватые средней │
│ственных │плотности; супеси │
│зданий высо-│пластичные; суглин-│
│той до 6 м, │ки и глины от полу-│
│пролетом до │твердых до мягко- │
│21 м │пластичных │
Таблица 5
───────────┬──────────────────────────────────────────────────────
Характерис-│ Область применения свай
тика и тип ├───────────┬──────────┬───────────────────────────────
сваи │по принципу│по способу│ по грунтовым условиям
│использова-│погружения├────────────────┬──────────────
│ния вечно- │в грунт │Грунты, прореза-│Грунты под
│мерзлых │ │емые сваями │нижними конца-
│грунтов в │ │ │ми свай
│качестве │ │ │
│основания │ │ │
───────────┼───────────┼──────────┼────────────────┼──────────────
Забивная │ Принцип II│ Забивной│ Нескальные │ Скальные
типа С с │ С допуще-│в предва- │следующих под- │ Нескальные
ненапрягае-│нием оттаи-│рительно │групп: пылева- │следующих под-
мой армату-│вания веч- │оттаянные │то - глинистые, │групп: крупно-
рой │номерзлых │зоны грун-│песчаные, био- │обломочные,
│грунтов в │та │генные, насып- │песчаные, пы-
│процессе │ │ные, намывные │левато - гли-
│эксплуата- │ │ │нистые (кроме
│ции здания │ │ │илов)
│или соору- │ │ │
│жения │ │ │
───────────┼───────────┼──────────┼────────────────┴──────────────
Опускная │ Принцип I │ С оттаи-│ Нескальные следующих под-
типа С с │ С сохра- │ванием │групп: твердомерзлые мелкие и
ненапрягае-│нением │грунта; │пылеватые пески, содержащие
мой армату-│вечномерз- │диаметр │крупнообломочные включения не
рой │лых грун- │зоны от- │более 15% (по массе) при сред-
│тов в тече-│таивания │ней температуре грунтов по дли-
│ние всего │должен │не сваи ниже минус 1,5 °С;
│заданного │быть не │твердомерзлые пылевато-гли-
│периода │более 2b, │нистые грунты при средней тем-
│эксплуата- │где b - │пературе грунтов по длине сваи
│ции здания │размер │от минус 1,5 °С и ниже
│или соору- │наибольшей│
│жения │стороны │
│ │поперечно-│
│ │го сечения│
│ │сваи │
───────────┼───────────┼──────────┼───────────────────────────────
Буроопус-│ Принцип I│ Опуска- │ Нескальные грунты следующих
кная типа С│ С сохра- │нием в за-│подгрупп:
│нением │ранее про-│ крупнообломочные и песчаные,
│вечномерз- │буренную │твердомерзлые при средней тем-
│лых грунтов│скважину, │пературе грунта по длине сваи
│в течение │диаметр │минус 0,5 °С и ниже и суммарной
│всего за- │которой не│влажности:
│данного │менее чем │ 40% │ 100%
│периода │на 50 мм │ пылевато-глинистые, плас-
│эксплуата- │больше │тичномерзлые при средней темпе-
│ции здания │диагонали │ратуре грунта по длине сваи
│или соору- │сечения │минус 0,5 °С и ниже
│жения │сваи, с │
│ │заполне- │
│ │нием сква-│
│ │жины грун-│
│ │товым │
│ │раствором │
2. Полые круглые сваи и сваи-оболочки следует применять преимущественно при наличии слабых грунтов большой мощности, при необходимости передачи на сваи больших горизонтальных и вертикальных усилий, а также в качестве односвайных фундаментов под колонны.
Составные полые круглые сваи и сваи-оболочки следует применять в случаях, когда требуемая длина полых круглых свай и свай-оболочек более 12 м. Для их сборки следует использовать секции таких длин, при которых получается минимальное число стыков.
3. Составные сваи сплошного квадратного сечения должны состоять из двух элементов.
4. Стыки составных свай и свай-оболочек должны обеспечивать передачу усилий, возникающих при погружении свай в период строительства и эксплуатации.
5. Область применения свай по сейсмичности строительной площадки не ограничивается, кроме свай квадратного сечения составных, без поперечного армирования ствола и с круглой полостью, которые допускается применять для строительства на площадках с сейсмичностью до 6 баллов включ.
Приложение 2
Обязательное
МАРКИ БЕТОНА ПО МОРОЗОСТОЙКОСТИ И ВОДОНЕПРОНИЦАЕМОСТИ СВАЙ
Таблица 6
─────────────────────────────────────┬─────────────────────────────────────────────────
Условия эксплуатации свай в свайном │ Марка бетона, не ниже
фундаменте │
──────────────┬───────────┬──────────┼─────────────────────────────┬───────────────────
Характерис- │ Расчетная│Показатель│ по морозостойкости │ по
тика режима │ зимняя │агрессив- │ │водонепроницаемости
эксплуатации │температура│ности и ├──────────────┬──────────────┼─────────┬─────────
│ наружного │жидкой │Сваи типов СК,│Сваи типов С, │ Сваи │ Сваи
│ воздуха │среды по │ СО и СП <*> │ СД и СЦ │ типов │ типов С,
│ (средняя │суммарному│ │ │СК, СО и │ СД и СЦ
│температура│содержанию│ │ │СП <*>
│ наиболее │ хлоридов,├──────────────┴──────────────┴─────────┴─────────
│ холодной │сульфатов,│ для зданий или сооружений класса по степени
│пятидневки)│нитратов и│ ответственности
│ в районе │ других ├────┬────┬────┬────┬────┬────┬──┬──┬───┬──┬──┬───
│строитель- │солей, г/л│ I │ II │ III│ I │ II │ III│ I│II│III│ I│II│III
│ства, °С │ │ │ │ │ │ │ │ │ │ │ │ │
──────────────┼───────────┼──────────┼────┼────┼────┼────┼────┼────┼──┼──┼───┼──┼──┼───
Сваи, нахо- │ Ниже ми- │ До 5 │F400│F300│F200│F300│F200│F150│W6│W4│W4 │W6│W4│W2
дящиеся в от- │нус 40 │ От 5 до │F500│F400│F300│F400│F300│F200│W8│W6│W4 │W6│W4│W4
крытых водое- │ │15 и св. │ │ │ │ │ │ │ │ │ │ │ │
мах при пере- │ │150 │ │ │ │ │ │ │ │ │ │ │ │
менном уровне │ │ От 15 до│F600│F500│F400│F500│F400│F300│W8│W8│W6 │W8│W6│W4
воды-среды, │ │35 и от 70│ │ │ │ │ │ │ │ │ │ │ │
а также сваи, │ │до 150 │ │ │ │ │ │ │ │ │ │ │ │
расположенные │ │включ. │ │ │ │ │ │ │ │ │ │ │ │
в сезонно - │ │ От 35 до│F600│F600│F500│F600│F500│F400│W8│W8│W8 │W8│W8│W6
оттаивающем │ │70 │ │ │ │ │ │ │ │ │ │ │ │
слое грунта ├───────────┼──────────┼────┼────┼────┼────┼────┼────┼──┼──┼───┼──┼──┼───
в районах │ Ниже ми- │ До 5 │F300│F200│F150│F200│F150│F100│W4│W4│W4 │W2│W2│W2
вечной мерз- │нус 20 до │ От 5 до │F400│F300│F200│F300│F200│F150│W6│W4│W4 │W4│W2│W2
лоты │минус 40 │15 и св. │ │ │ │ │ │ │ │ │ │ │ │
│включ. │150 │ │ │ │ │ │ │ │ │ │ │ │
│ │ От 15 до│F500│F400│F300│F400│F300│F200│W8│W6│W4 │W6│W4│W2
│ │35 и от 70│ │ │ │ │ │ │ │ │ │ │ │
│ │до 150 │ │ │ │ │ │ │ │ │ │ │ │
│ │включ. │ │ │ │ │ │ │ │ │ │ │ │
│ │ От 35 до│F600│F500│F400│F500│F400│F300│W8│W8│W6 │W8│W6│W4
│ │70 │ │ │ │ │ │ │ │ │ │ │ │
├───────────┼──────────┼────┼────┼────┼────┼────┼────┼──┼──┼───┼──┼──┼───
│ Ниже ми- │ До 5 │F150│F100│F75 │F150│F100│F75 │W4│W4│W4 │W2│W2│W2
│нус 5 до │ От 5 до │F200│F150│F100│F200│F150│F100│W4│W4│W4 │W2│W2│W2
│минус 20 │15 и св. │ │ │ │ │ │ │ │ │ │ │ │
│включ. │150 │ │ │ │ │ │ │ │ │ │ │ │
│ │ От 15 до│F300│F200│F150│F300│F200│F200│W4│W4│W4 │W4│W2│W2
│ │35 и от 70│ │ │ │ │ │ │ │ │ │ │ │
│ │до 150 │ │ │ │ │ │ │ │ │ │ │ │
│ │включ. │ │ │ │ │ │ │ │ │ │ │ │
│ │ От 35 до│F400│F300│F200│F400│F300│F300│W6│W4│W4 │W6│W4│W4
│ │70 │ │ │ │ │ │ │ │ │ │ │ │
├───────────┼──────────┼────┼────┼────┼────┼────┼────┼──┼──┼───┼──┼──┼───
│ Минус 5 и│ До 5 │F150│F100│F75 │F100│F75 │F50 │W4│W4│W4 │W2│W2│W2
│выше │ От 5 до │F200│F150│F100│F150│F100│F75 │W4│W4│W4 │W2│W2│W2
│ │15 и св. │ │ │ │ │ │ │ │ │ │ │ │
│ │150 │ │ │ │ │ │ │ │ │ │ │ │
│ │ От 15 до│F300│F200│F150│F200│F150│F100│W4│W4│W4 │W2│W2│W2
│ │35 и от 70│ │ │ │ │ │ │ │ │ │ │ │
│ │до 150 │ │ │ │ │ │ │ │ │ │ │ │
│ │включ. │ │ │ │ │ │ │ │ │ │ │ │
│ │ От 35 до│F400│F300│F200│F300│F200│F150│W6│W4│W4 │W4│W4│W2
│ │70 │ │ │ │ │ │ │ │ │ │ │ │
──────────────┼───────────┼──────────┼────┼────┼────┼────┼────┼────┼──┼──┼───┼──┼──┼───
Сваи, нахо- │ Ниже ми- │ До 5 │F300│F200│F150│F200│F150│F100│W4│W4│W4 │W6│W4│W2
дящиеся вне │нус 40 │ От 5 до │F400│F300│F200│F300│F200│F150│W6│W4│W4 │W6│W4│W2
помещений, яв-│ │15 и св. │ │ │ │ │ │ │ │ │ │ │ │
ляющиеся одно-│ │150 │ │ │ │ │ │ │ │ │ │ │ │
временно над- │ │ От 15 до│F500│F400│F300│F400│F300│F200│W8│W6│W4 │W6│W4│W4
земными опора-│ │35 и от 70│ │ │ │ │ │ │ │ │ │ │ │
ми конструкций│ │до 150 │ │ │ │ │ │ │ │ │ │ │ │
(высокий свай-│ │включ. │ │ │ │ │ │ │ │ │ │ │ │
ный ростверк, │ │ От 35 до│F600│F500│F400│F500│F400│F300│W8│W8│W6 │W8│W6│W4
эстакады и │ │70 │ │ │ │ │ │ │ │ │ │ │ │
др.) ├───────────┼──────────┼────┼────┼────┼────┼────┼────┼──┼──┼───┼──┼──┼───
│ Ниже ми- │ До 5 │F200│F150│F100│F150│F100│ F75│W4│W4│W4 │W2│W2│W2
│нус 20 до │ От 5 до │F300│F200│F150│F200│F150│F100│W4│W4│W4 │W2│W2│W2
│минус 40 │15 и св. │ │ │ │ │ │ │ │ │ │ │ │
│включ. │150 │ │ │ │ │ │ │ │ │ │ │ │
│ │ От 15 до│F400│F300│F200│F300│F200│F150│W6│W4│W4 │W4│W2│W2
│ │35 и от 70│ │ │ │ │ │ │ │ │ │ │ │
│ │до 150 │ │ │ │ │ │ │ │ │ │ │ │
│ │включ. │ │ │ │ │ │ │ │ │ │ │ │
│ │ От 35 до│F500│F400│F300│F400│F300│F200│W8│W6│W4 │W6│W4│W2
│ │70 │ │ │ │ │ │ │ │ │ │ │ │
├───────────┼──────────┼────┼────┼────┼────┼────┼────┼──┼──┼───┼──┼──┼──
│ Ниже ми- │ До 5 │F150│F100│ F75│F100│F75 │ F50│W4│W4│W4 │W2│W2│W2
│нунус 5 до │ От 5 до │F200│F150│F100│F150│F100│ F75│W4│W4│W4 │W2│W2│W2
│минус 20 │15 и св. │ │ │ │ │ │ │ │ │ │ │ │
│включ. │150 │ │ │ │ │ │ │ │ │ │ │ │
│ │ От 15 до │F300│F200│F150│F200│F150│F100│W4│W4│W4 │W2│W2│W2
│ │35 и от 70│ │ │ │ │ │ │ │ │ │ │ │
│ │до 150 │ │ │ │ │ │ │ │ │ │ │ │
│ │включ. │ │ │ │ │ │ │ │ │ │ │ │
│ │ От 35 до │F400│F300│F200│F300│F200│F150│W6│W4│W4 │W4│W2│W2
│ │70 │ │ │ │ │ │ │ │ │ │ │ │
├───────────┼──────────┼────┼────┼────┼────┼────┼────┼──┼──┼───┼──┼──┼───
│ Минус 5 и│ До 5 │F150│F100│ F75│ F75│F50 │ F50│W4│W4│W4 │W2│W2│W2
│выше │ От 5 до │F200│F150│F100│F100│F75 │ F75│W4│W4│W4 │W2│W2│W2
│ │15 и св. │ │ │ │ │ │ │ │ │ │ │ │
│ │150 │ │ │ │ │ │ │ │ │ │ │ │
│ │ От 15 до │F300│F200│F150│F150│F100│F100│W4│W4│W4 │W2│W2│W2
│ │35 и от 70│ │ │ │ │ │ │ │ │ │ │ │
│ │до 150 │ │ │ │ │ │ │ │ │ │ │ │
│ │включ. │ │ │ │ │ │ │ │ │ │ │ │
│ │ От 35 до │F400│F300│F200│F200│F150│F150│W4│W4│W4 │W2│W2│W2
│ │70 │ │ │ │ │ │ │ │ │ │ │ │
──────────────┼───────────┼──────────┼────┼────┼────┼────┼────┼────┼──┼──┼───┼──┼──┼───
Сваи, погру-│ Ниже ми- │ До 5 │F200│F150│F100│F150│F100│ F75│W6│W4│W4 │W6│W4│W2
жаемые на всю │нус 40 │ От 5 до │F300│F200│F150│F200│F150│F100│W6│W4│W4 │W6│W4│W2
глубину в │ │15 и св. │ │ │ │ │ │ │ │ │ │ │ │
грунт │ │150 │ │ │ │ │ │ │ │ │ │ │ │
│ │ От 15 до │F400│F300│F200│F300│F200│F150│W6│W6│W4 │W6│W4│W2
│ │35 и от 70│ │ │ │ │ │ │ │ │ │ │ │
│ │до 150 │ │ │ │ │ │ │ │ │ │ │ │
│ │включ. │ │ │ │ │ │ │ │ │ │ │ │
│ │ От 35 до │F500│F400│F300│F400│F300│F200│W8│W6│W4 │W6│W4│W4
│ │70 │ │ │ │ │ │ │ │ │ │ │ │
├───────────┼──────────┼────┼────┼────┼────┼────┼────┼──┼──┼───┼──┼──┼───
│ Ниже ми- │ До 5 │F150│F100│ F75│F100│F75 │F50 │W4│W4│W4 │W2│W2│W2
│нус 20 до │ От 5 до │F200│F150│F100│F150│F100│F75 │W4│W4│W4 │W2│W2│W2
│минус 40 │15 и св. │ │ │ │ │ │ │ │ │ │ │ │
│включ. │150 │ │ │ │ │ │ │ │ │ │ │ │
│ │ От 15 до │F300│F200│F150│F200│F150│F100│W4│W4│W4 │W2│W2│W2
│ │35 и от 70│ │ │ │ │ │ │ │ │ │ │ │
│ │до 150 │ │ │ │ │ │ │ │ │ │ │ │
│ │включ. │ │ │ │ │ │ │ │ │ │ │ │
│ │ От 35 до │F400│F300│F200│F300│F200│F150│W6│W4│W4 │W4│W2│W2
│ │ 70 │ │ │ │ │ │ │ │ │ │ │ │
├───────────┼──────────┼────┼────┼────┼────┼────┼────┼──┼──┼───┼──┼──┼───
│ Ниже ми- │ До 5 │F150│F100│F75 │F75 │F50 │F50 │W4│W4│W4 │W2│W2│W2
│нус 5 до │ От 5 до │F200│F150│F100│F100│F75 │F75 │W4│W4│W4 │W2│W2│W2
│минус 20 │15 и св. │ │ │ │ │ │ │ │ │ │ │ │
│включ. │150 │ │ │ │ │ │ │ │ │ │ │ │
│ │ От 15 до │F300│F200│F150│F150│F100│F100│W4│W4│W4 │W2│W2│W2
│ │35 и от 70│ │ │ │ │ │ │ │ │ │ │ │
│ │до 150 │ │ │ │ │ │ │ │ │ │ │ │
│ │включ. │ │ │ │ │ │ │ │ │ │ │ │
│ │ От 35 до │F400│F300│F200│F200│F150│F150│W6│W4│W4 │W2│W2│W2
│ │70 │ │ │ │ │ │ │ │ │ │ │ │
├───────────┼──────────┼────┼────┼────┼────┼────┼────┼──┼──┼───┼──┼──┼───
│ Минус 5 и│ До 5 │F150│F100│ F75│ F75│F50 │F50 │W4│W4│W4 │W2│W2│W2
│выше │ От 5 до │F200│F150│F100│F100│F75 │F75 │W4│W4│W4 │W2│W2│W2
│ │15 и св. │ │ │ │ │ │ │ │ │ │ │ │
│ │150 │ │ │ │ │ │ │ │ │ │ │ │
│ │ От 15 до │F300│F200│F150│F150│F100│F100│W4│W4│W4 │W2│W2│W2
│ │35 и от 70│ │ │ │ │ │ │ │ │ │ │ │
│ │до 150 │ │ │ │ │ │ │ │ │ │ │ │
│ │включ. │ │ │ │ │ │ │ │ │ │ │ │
│ │ От 35 до │F400│F300│F200│F200│F150│F150│W6│W4│W4 │W2│W2│W2
│ │70 │ │ │ │ │ │ │ │ │ │ │ │
──────────────┼───────────┼──────────┼────┼────┼────┼────┼────┼────┼──┼──┼───┼──┼──┼───
Сваи, высту-│ Ниже ми- │ До 5 │F150│F100│F75 │F100│F75 │F50 │W4│W4│W4 │W2│W2│W2
пающие над по-│нус 40 │ От 5 до │F200│F150│F100│F150│F100│F75 │W4│W4│W4 │W2│W2│W2
верхностью │ │15 и св. │ │ │ │ │ │ │ │ │ │ │ │
грунта и нахо-│ │150 │ │ │ │ │ │ │ │ │ │ │ │
дящиеся внутри│ │ От 15 до │F300│F200│F150│F200│F150│F100│W4│W4│W4 │W2│W2│W2
помещений с │ │35 и от 70│ │ │ │ │ │ │ │ │ │ │ │
положительными│ │до 150 │ │ │ │ │ │ │ │ │ │ │ │
температурами;│ │включ. │ │ │ │ │ │ │ │ │ │ │ │
│ │ От 35 до │F400│F300│F200│F300│F200│F150│W6│W4│W4 │W4│W2│W2
│ │70 │ │ │ │ │ │ │ │ │ │ │ │
├───────────┼──────────┼────┼────┼────┼────┼────┼────┼──┼──┼───┼──┼──┼──
подверженные│ Ниже ми- │ До 5 │F150│F100│ F75│ F75│F50 │ F50│W4│W4│W4 │W2│W2│W2
воздействию │нус 20 до │ От 5 до │F200│F150│F100│F100│F75 │ F75│W4│W4│W4 │W2│W2│W2
температур ни-│минус 40 │15 и св. │ │ │ │ │ │ │ │ │ │ │ │
же 0 °С в пе- │включ. │150 │ │ │ │ │ │ │ │ │ │ │ │
риод строи- │ │От 15 до │F300│F200│F150│F150│F100│F100│W4│W4│W4 │W2│W2│W2
тельства │ │35 и от 70│ │ │ │ │ │ │ │ │ │ │ │
│ │до 150 │ │ │ │ │ │ │ │ │ │ │ │
│ │включ. │ │ │ │ │ │ │ │ │ │ │ │
│ │ От 35 до │F400│F300│F200│F200│F150│F150│W6│W4│W4 │W2│W2│W2
│ │ 70 │ │ │ │ │ │ │ │ │ │ │ │
├───────────┼──────────┼────┼────┼────┼────┼────┼────┼──┼──┼───┼──┼──┼───
│ Ниже ми- │ До 5 │F150│F100│ F75│ F75│F50 │ F50│W4│W4│W4 │W2│W2│W2
│нус 5 до │ От 5 до │F200│F150│F100│F100│F75 │ F75│W4│W4│W4 │W2│W2│W2
│минус 20 │15 и св. │ │ │ │ │ │ │ │ │ │ │ │
│включ. │150 │ │ │ │ │ │ │ │ │ │ │ │
│ │От 15 до │F300│F200│F150│F150│F100│F100│W4│W4│W4 │W2│W2│W2
│ │35 и от 70│ │ │ │ │ │ │ │ │ │ │ │
│ │до 150 │ │ │ │ │ │ │ │ │ │ │ │
│ │включ. │ │ │ │ │ │ │ │ │ │ │ │
│ │ От 35 до │F400│F300│F200│F200│F150│F150│W6│W4│W4 │W2│W2│W2
│ │ 70 │ │ │ │ │ │ │ │ │ │ │ │
├───────────┼──────────┼────┼────┼────┼────┼────┼────┼──┼──┼───┼──┼──┼───
│ Минус 5 и│ До 5 │F150│F100│ F75│ F75│F50 │ F50│W4│W4│W4 │W2│W2│W2
│выше │От 5 до │F200│F150│F100│F100│F75 │ F75│W4│W4│W4 │W2│W2│W2
│ │15 и св. │ │ │ │ │ │ │ │ │ │ │ │
│ │150 │ │ │ │ │ │ │ │ │ │ │ │
│ │От 15 до │F300│F200│F150│F150│F100│F100│W4│W4│W4 │W2│W2│W2
│ │35 и от 70│ │ │ │ │ │ │ │ │ │ │ │
│ │до 150 │ │ │ │ │ │ │ │ │ │ │ │
│ │включ. │ │ │ │ │ │ │ │ │ │ │ │
│ │ От 35 до │F400│F300│F200│F200│F150│F150│W6│W4│W4 │W2│W2│W2
│ │ 70 │ │ │ │ │ │ │ │ │ │ │ │
--------------------------------
<*> Применение свай типа СП в открытых водоемах при переменном уровне воды-среды, а также в сезонно-оттаивающем слое грунта в районах вечной мерзлоты не допускается.