
Код ОКП | Марка плиты | Основные размеры плиты, мм | Расход материалов | Масса плиты (справочная), т | ||||
b | l | h | а | Бетон, м3 | Сталь, кг | |||
58 1321 2012 | ФЛ6.24-4 | 600 | 2380 | - | 0,37 | 1,84 | 0,93 | |
58 1321 2013 | ФЛ6.12-4 | 1180 | 0,18 | 0,91 | 0,45 | |||
58 1321 2014 | ФЛ8.24-1 | 800 | 2380 | 150 | 0,46 | 2,5 | 1,15 | |
58 1321 2015 | ФЛ8.24-3 | 3,42 | ||||||
58 1321 2016 | ФЛ8.24-4 | 4,81 | ||||||
58 1321 2017 | ФЛ8.12-1 | 1180 | 0,22 | 1,24 | 0,55 | |||
58 1321 2018 | ФЛ8.12-3 | 1,7 | ||||||
58 1321 2019 | ФЛ8.12-4 | 2,39 | ||||||
58 1321 2020 | ФЛ10.30-1 | 1000 | 2980 | 250 | 0,69 | 4,71 | 1,75 | |
58 1321 2021 | ФЛ10.30-2 | 6,67 | ||||||
58 1321 2022 | ФЛ10.30-3 | 9,04 | ||||||
58 1321 2023 | ФЛ10.30-4 | 11,03 | ||||||
58 1321 2024 | ФЛ10.24-1 | 2380 | 0,55 | 3,76 | 1,38 | |||
58 1321 2025 | ФЛ10.24-2 | 5,34 | ||||||
58 1321 2026 | ФЛ10.24-3 | 7,16 | ||||||
58 1321 2027 | ФЛ10.24-4 | 8,82 | ||||||
58 1321 2028 | ФЛ10.12-1 | 1180 | 0,26 | 1,87 | 0,65 | |||
58 1321 2029 | ФЛ10.12-2 | 2,66 | ||||||
58 1321 2030 | ФЛ10.12-3 | 3,41 | ||||||
58 1321 2031 | ФЛ10.12-4 | 4,4 | ||||||
58 1321 2032 | ФЛ10.8-1 | 780 | 0,17 | 1,24 | 0,42 | |||
58 1321 2033 | ФЛ10.8-2 | 1,76 | ||||||
58 1321 2034 | ФЛ10.8-3 | 2,26 | ||||||
58 1321 2035 | ФЛ10.8-4 | 2,92 | ||||||
58 1321 2036 | ФЛ12.30-1 | 1200 | 2980 | 350 | 0,82 | 7,88 | 2,05 | |
58 1321 2037 | ФЛ12.30-2 | 12,76 | ||||||
58 1321 2038 | ФЛ12.30-3 | 17,46 | ||||||
58 1321 2039 | ФЛ12.30-4 | 21,43 | ||||||
58 1321 2040 | ФЛ12.24-1 | 2380 | 0,65 | 6,3 | 1,63 | |||
58 1321 2041 | ФЛ12.24-2 | 10,2 | ||||||
58 1321 2042 | ФЛ12.24-3 | 13,83 | ||||||
58 1321 2043 | ФЛ12.24-4 | 17,13 | ||||||
58 1321 2044 | ФЛ12.12-1 | 1180 | 0,31 | 3,13 | 0,78 | |||
58 1321 2045 | ФЛ12.12-2 | 5,09 | ||||||
58 1321 2046 | ФЛ12.12-3 | 6,57 | ||||||
58 1321 2047 | ФЛ12.12-4 | 8,55 | ||||||
58 1321 2048 | ФЛ12.8-1 | 780 | 300 | 0,2 | 2,08 | 0,5 | ||
58 1321 2049 | ФЛ12.8-2 | 3,38 | ||||||
58 1321 2050 | ФЛ12.8-3 | 4,37 | ||||||
58 1321 2051 | ФЛ12.8-4 | 5,69 | ||||||
58 1321 2052 | ФЛ14.30-1 | 1400 | 2980 | 400 | 0,96 | 12,43 | 2,4 | |
58 1321 2053 | ФЛ14.30-2 | 19,09 | ||||||
58 1321 2054 | ФЛ14.30-3 | 23,46 | ||||||
58 1321 2055 | ФЛ14.30-4 | 34,65 | ||||||
58 1321 2056 | ФЛ14.24-1 | 2380 | 0,76 | 9,85 | 1,90 | |||
58 1321 2057 | ФЛ14.24-2 | 15,12 | ||||||
58 1321 2058 | ФЛ14.24-3 | 18,76 | ||||||
58 1321 2059 | ФЛ14.24-4 | 27,72 | ||||||
58 1321 2060 | ФЛ14.12-1 | 1180 | 0,36 | 4,68 | 0,91 | |||
58 1321 2061 | ФЛ14.12-2 | 7,18 | ||||||
58 1321 2062 | ФЛ14.12-3 | 9,37 | ||||||
58 1321 2063 | ФЛ14.12-4 | 13,84 | ||||||
58 1321 2064 | ФЛ14.8-1 | 780 | 0,23 | 3,11 | 0,58 | |||
58 1321 2065 | ФЛ14.8-2 | 4,78 | ||||||
58 1321 2066 | ФЛ14.8-3 | 6,23 | ||||||
58 1321 2067 | ФЛ14.8-4 | 9,22 | ||||||
58 1321 2068 | ФЛ16.30-1 | 1600 | 2980 | 500 | 1,09 | 15,82 | 2,71 | |
58 1321 2069 | ФЛ16.30-2 | 26,42 | ||||||
58 1321 2070 | ФЛ16.30-3 | 37,32 | ||||||
58 1321 2071 | ФЛ16.30-4 | 46,11 | ||||||
58 1321 2072 | ФЛ16.24-1 | 2380 | 0,86 | 12,55 | 2,15 | |||
58 1321 2073 | ФЛ16.24-2 | 21,13 | ||||||
58 1321 2074 | ФЛ16.24-3 | 29,85 | ||||||
58 1321 2075 | ФЛ16.24-4 | 36,57 | ||||||
58 1321 2076 | ФЛ16.12-1 | 1180 | 0,41 | 6,02 | 1,03 | |||
58 1321 2077 | ФЛ16.12-2 | 10,55 | ||||||
58 1321 2078 | ФЛ16.12-3 | 14,90 | ||||||
58 1321 2079 | ФЛ16.12-4 | 17,51 | ||||||
58 1321 2080 | ФЛ16.8-1 | 780 | 0,26 | 3,84 | 0,65 | |||
58 1321 2081 | ФЛ16.8-2 | 7,02 | ||||||
58 1321 2082 | ФЛ16.8-3 | 9,93 | ||||||
58 1321 2083 | ФЛ16.8-4 | 11,15 | ||||||
58 1321 2084 | ФЛ20.30-1 | 2000 | 2980 | 700 | 2,04 | 15,60 | 5,10 | |
58 1321 2085 | ФЛ20.30-2 | 25,16 | ||||||
58 1321 2086 | ФЛ20.30-3 | 36,85 | ||||||
58 1321 2087 | ФЛ20.30-4 | 50,04 | ||||||
58 1321 2088 | ФЛ20.24-1 | 2380 | 1,62 | 12,47 | 4,05 | |||
58 1321 2089 | ФЛ20.24-2 | 20,12 | ||||||
58 1321 2090 | ФЛ20.24-3 | 29,48 | ||||||
58 1321 2091 | ФЛ20.24-4 | 39,99 | ||||||
58 1321 2092 | ФЛ20.12-1 | 1180 | 0,78 | 6,19 | 1,95 | |||
58 1321 2093 | ФЛ20.12-2 | 10,02 | ||||||
58 1321 2094 | ФЛ20.12-3 | 14,69 | ||||||
58 1321 2095 | ФЛ20.12-4 | 19,95 | ||||||
58 1321 2096 | ФЛ20.8-1 | 780 | 0,50 | 4,04 | 1,25 | |||
58 1321 2097 | ФЛ20.8-2 | 6,57 | ||||||
58 1321 2098 | ФЛ20.8-3 | 9,70 | ||||||
58 1321 2099 | ФЛ20.8-4 | 13,00 | ||||||
58 1321 2100 | ФЛ24.30-1 | 2400 | 2980 | 900 | 2,39 | 27,44 | 5,98 | |
58 1321 2101 | ФЛ24.30-2 | 43,86 | ||||||
58 1321 2102 | ФЛ24.30-3 | 67,09 | ||||||
58 1321 2103 | ФЛ24.30-4 | 73,10 | ||||||
58 1321 2104 | ФЛ24.24-1 | 2380 | 1,00 | 21,80 | 4,75 | |||
58 1321 2105 | ФЛ24.24-2 | 34,97 | ||||||
58 1321 2106 | ФЛ24.24-3 | 53,48 | ||||||
58 1321 2107 | ФЛ24.24-4 | 58,70 | ||||||
58 1321 2108 | ФЛ24.12-1 | 1180 | 500 | 0,91 | 10,69 | 2,30 | ||
58 1321 2109 | ФЛ24.12-2 | 17,44 | ||||||
58 1321 2110 | ФЛ24.12-3 | 26,27 | ||||||
58 1321 2111 | ФЛ24.12-4 | 29,31 | ||||||
58 1321 2112 | ФЛ24.8-1 | 780 | 0,58 | 7,10 | 1,45 | |||
58 1321 2113 | ФЛ24.8-2 | 11,52 | ||||||
58 1321 2114 | ФЛ24.8-3 | 17,62 | ||||||
58 1321 2115 | ФЛ24.8-4 | 19,51 | ||||||
58 1321 2116 | ФЛ28.24-1 | 2800 | 2380 | 1000 | 2,36 | 32,01 | 5,90 | |
58 1321 2117 | ФЛ28.24-2 | 50,37 | ||||||
58 1321 2118 | ФЛ28.24-3 | 79,86 | ||||||
58 1321 2119 | ФЛ28.24-4 | 97,06 | ||||||
58 1321 2120 | ФЛ28.12-1 | 1180 | 1,13 | 15,03 | 2,82 | |||
58 1321 2121 | ФЛ28.12-2 | 24,80 | ||||||
58 1321 2122 | ФЛ28.12-3 | 39,12 | ||||||
58 1321 2123 | ФЛ28.12-4 | 47,02 | ||||||
58 1321 2124 | ФЛ28.8-1 | 780 | 0,72 | 10,30 | 1,80 | |||
58 1321 2125 | ФЛ28.8-2 | 16,72 | ||||||
58 1321 2126 | ФЛ28.8-3 | 26,05 | ||||||
58 1321 2127 | ФЛ28.8-4 | 31,33 | ||||||
58 1321 2128 | ФЛ32.12-1 | 3200 | 1180 | 1200 | 1,29 | 23,24 | 3,23 | |
58 1321 2129 | ФЛ32.12-2 | 37,41 | ||||||
58 1321 2130 | ФЛ32.12-3 | 53,03 | ||||||
58 1321 2131 | ФЛ32.8-1 | 780 | 0,82 | 15,76 | 2,05 | |||
58 1321 2132 | ФЛ32.8-2 | 24,89 | ||||||
58 1321 2133 | ФЛ32.8-3 | 35,81 | ||||||
Ширина плиты, мм | Толщина стены не менее, мм | Наибольшее допускаемое давление на основание, МПа (кгс/см2), для групп по несущей способности | |||
1 | 2 | 3 | 4 | ||
600 | 160 | 0,45 (4,5) | |||
300 | 0,60 (6,0) | ||||
800 | 160 | 0,15 (1,5) | 0,35 (3,5) | 0,45 (4,5) | |
300 | 0,25 (2,5) | 0,57 (5,7) | 0,60 (6,0) | ||
500 | 0,60 (6,0) | ||||
1000 | 160 | 0,15 (1,5) | 0,25 (2,5) | 0,35 (3,5) | 0,45 (4,5) |
300 | 0,22 (2,2) | 0,36 (3,6) | 0,45 (4,5) | 0,50 (5,0) | |
1200 - 3200 | 160 | 0,15 (1,5) | 0,25 (2,5) | 0,35 (3,5) | 0,45 (4,5) |
Ширина плиты, мм | Класс бетона по прочности на сжатие плиты для групп по несущей способности | |||
1 | 2 | 3 | 4 | |
600 | По группе 4 | В10 | ||
800 | В10 | По группе 3 | В12,5 | В12,5 |
1000; 1200 | В10 | |||
1400 | В12,5 | В15 | В15 | |
1600 | В25 | |||
2000 | В15 | |||
2400 | В20 | |||
2800 | В12,5 | В15 | В20 | В25 |
3200 | В20 | В25 | - | |
ИС МЕГАНОРМ: примечание. Взамен ГОСТ 10884-81 Постановлением Госстандарта РФ от 13.04.1995 N 214 с 1 января 1996 года введен в действие ГОСТ 10884-94. |
Наименование отклонения геометрического параметра | Наименование геометрического параметра | Пред. откл. |
Отклонение от линейного размера | Длина и ширина плиты: | |
до 1000 | +/- 10 | |
св. 1000 " 1600 | +/- 12 | |
" 1600 " 3200 | +/- 15 | |
Высота плиты | +/- 10 | |
Размер, определяющий положение монтажной петли над плоскостью плиты | +10, -5 | |
Размер, определяющий положение элементов стальных закладных изделий: | ||
в плоскости плиты | 10 | |
из плоскости плиты | 3 | |
Отклонение от прямолинейности | Прямолинейность профиля верхней горизонтальной поверхности плиты в любом сечении на всей длине или ширине: | |
до 1000 | 2,5 | |
св. 1000 " 1600 | 3,0 | |
" 1600 " 3000 | 4,0 |
ИС МЕГАНОРМ: примечание. Взамен ГОСТ 17624-78 Постановлением Госстроя СССР от 26.12.1986 N 67 с 1 января 1988 года введен в действие ГОСТ 17624-87. |
ИС МЕГАНОРМ: примечание. Взамен ГОСТ 10060-76 Постановлением Госстроя СССР от 31.12.1986 N 82 с 1 января 1988 года введен в действие ГОСТ 10060-87. Взамен ГОСТ 10060-87 Постановлением Минстроя России от 05.03.1996 N 18-17 с 1 сентября 1996 года введены в действие ГОСТ 10060.0-95, ГОСТ 10060.1-95, ГОСТ 10060.2-95, ГОСТ 10060.3-95, ГОСТ 10060.4-95. |

Типоразмер плиты | Схема установки петель | Размеры, мм | Марка петли | |
а1 | а2 | |||
ФЛ6.24 | I | 200 | 590 | М10-150 |
ФЛ6.12 | II | М8-100 | ||
ФЛ8.24 | III | 300 | М10-150 | |
ФЛ8.12 | IV | |||
ФЛ10.30 | III | 590 | М12-150 | |
ФЛ10.24 | ||||
ФЛ10.12 | IV | М10-150 | ||
ФЛ10.8 | 390 | М8-100 | ||
ФЛ12.30 | III | 400 | 590 | М14-150 |
ФЛ12.24 | М12-150 | |||
ФЛ12.12 | IV | М10-150 | ||
ФЛ12.8 | 390 | М8-100 | ||
ФЛ14.30 | III | 500 | 590 | М14-150 |
ФЛ14.24 | М12-150 | |||
ФЛ14.12 | IV | М10-150 | ||
ФЛ14.8 | 390 | |||
ФЛ16.30 | III | 600 | 590 | М14-150 |
ФЛ16.24 | ||||
ФЛ16.12 | IV | М10-150 | ||
ФЛ16.8 | 390 | |||
ФЛ20.30 | V | 500 | 590 | М16-200 |
ФЛ20.24 | ||||
ФЛ20.12 | VI | М12-150 | ||
ФЛ20.8 | 390 | М10-150 | ||
ФЛ24.30 | V | 700 | 590 | М16-200 |
ФЛ24.24 | ||||
ФЛ24.12 | VI | М14-150 | ||
ФЛ24.8 | 390 | М12-150 | ||
ФЛ28.24 | V | 590 | М16-200 | |
ФЛ28.12 | VI | |||
ФЛ28.8 | 390 | М12-150 | ||
ФЛ32.12 | 900 | 590 390 | М16-200 | |
ФЛ32.8 | М12-150 | |||

Марка плиты | Марка арматурной сетки или блока | Монтажная петля | Выборка арматурной стали (без монтажных петель), кг | Расход стали на монтажные петли, кг | ||||||||
Марка | Количество | Класс А-III по ГОСТ 5781-82 | Класс Вр-I по ГОСТ 6727-80 | Всего | ||||||||
Диаметр, мм | ||||||||||||
6 | 8 | 10 | 12 | 14 | 4 | 5 | ||||||
ФЛ6.24-4 | С6.24-4 | М10-150 | - | - | - | - | - | 1,84 | - | 1,84 | 0,86 | |
ФЛ6.12-4 | С6.12-4 | М8-100 | - | - | - | - | - | 0,91 | - | 0,91 | 0,44 | |
ФЛ8.24-1 | С8.24-1 | М10-150 | - | - | - | - | - | 2,5 | - | 2,5 | 0,86 | |
ФЛ8.12-1 | С8.12-1 | - | - | - | - | - | 1,24 | - | 1,24 | |||
ФЛ8.24-3 | С8.24-3 | - | - | - | - | - | 0,86 | 2,56 | 3,42 | |||
ФЛ8.12-3 | С8.12-3 | - | - | - | - | - | 0,42 | 1,28 | 1,7 | |||
ФЛ8.24-4 | С8.24-4 | 3,95 | - | - | - | - | 0,86 | - | 4,81 | |||
ФЛ8.12-4 | С8.12-4 | 1,97 | - | - | - | - | 0,42 | - | 2,39 | |||
ФЛ10.30-1 | С10.30-1 | М12-150 | - | - | - | - | - | 1,08 | 3,63 | 4,71 | 1,26 | |
ФЛ10.24-1 | С10.24-1 | М12-150 | - | - | - | - | - | 0,86 | 2,90 | 3,76 | ||
ФЛ10.12-1 | С10.12-1 | М10-150 | - | - | - | - | - | 0,42 | 1,45 | 1,87 | 0,86 | |
ФЛ10.8-1 | С10.8-1 | М8-100 | - | - | - | - | - | 0,27 | 0,97 | 1,24 | 0,44 | |
ФЛ10.30-2 | С10.30-2 | М12-150 | 5,59 | - | - | - | - | 1,08 | - | 6,67 | 1,26 | |
ФЛ10.24-2 | С10.24-2 | М12-150 | 4,48 | - | - | - | - | 0,86 | - | 5,34 | 1,26 | |
ФЛ10.12-2 | С10.12-2 | М10-150 | 2,24 | - | - | - | - | 0,42 | - | 2,66 | 0,86 | |
ФЛ10.8-2 | С10.8-2 | М8-100 | 1,49 | - | - | - | - | 0,27 | - | 1,76 | 0,44 | |
ФЛ10.30-3 | С10.30-3 | М12-150 | - | 7,96 | - | - | - | 1,08 | - | 9,04 | 1,26 | |
ФЛ10.24-3 | С10.24-3 | М12-150 | - | 6,3 | - | - | - | 0,86 | - | 7,16 | 1,26 | |
ФЛ10.12-3 | С10.22-3 | М10-150 | - | 2,99 | - | - | - | 0,42 | - | 3,41 | 0,86 | |
ФЛ10.8-3 | С10.8-3 | М8-100 | - | 1,99 | - | - | - | 0,27 | - | 2,26 | 0,44 | |
ФЛ10.30-4 | С10.30-4 | М12-150 | - | 9,95 | - | - | - | 1,08 | - | 11,03 | 1,26 | |
ФЛ10.24-4 | С10.24-4 | М12-150 | - | 7,96 | - | - | - | 0,86 | - | 8,82 | 1,26 | |
ФЛ10.12-4 | С10.12-4 | М10-150 | - | 3,98 | - | - | - | 0,42 | - | 4,4 | 0,86 | |
ФЛ10.8-4 | С10.8-4 | М8-100 | - | 2,65 | - | - | - | 0,27 | - | 2,92 | 0,44 | |
ФЛ12.30-1 | С12.30-1 | М14-150 | 6,26 | - | - | - | - | 1,62 | - | 7,88 | 1,80 | |
ФЛ12.24-1 | С12.24-1 | М12-150 | 5,01 | - | - | - | - | 1,29 | - | 6,3 | 1,26 | |
ФЛ12.12-1 | С12.12-1 | М10-150 | 2,5 | - | - | - | - | 0,63 | - | 3,13 | 0,86 | |
ФЛ12.8-1 | С12.8-1 | М8-100 | 1,67 | - | - | - | - | 0,41 | - | 2,08 | 0,44 | |
ФЛ12.30-2 | С12.30-2 | М14-150 | - | 11,14 | - | - | - | 1,62 | - | 12,76 | 1,80 | |
ФЛ12.24-2 | С12.24-2 | М12-150 | - | 8,91 | - | - | - | 1,29 | - | 10,2 | 1,26 | |
ФЛ12.12-2 | С12.12-2 | М10-150 | - | 4,46 | - | - | - | 0,63 | - | 5,09 | 0,86 | |
ФЛ12.8-2 | С12.8-2 | М8-100 | - | 2,97 | - | - | - | 0,41 | - | 3,38 | 0,44 | |
ФЛ12.30-3 | С12.30-3 | М14-150 | - | - | 15,84 | - | - | 1,62 | - | 17,46 | 1,80 | |
ФЛ12.24-3 | С12.24-3 | М12-150 | - | - | 12,54 | - | - | 1,29 | - | 13,83 | 1,26 | |
ФЛ12.12-3 | С12.12-3 | М10-150 | - | - | 5,94 | - | - | 0,63 | - | 6,57 | 0,86 | |
ФЛ12.8-3 | С12.8-3 | М8-100 | - | - | 3,96 | - | - | 0,41 | - | 4,37 | 0,44 | |
ФЛ12-30-4 | С12.30-4 | М14-150 | 2 | - | - | 19,81 | - | - | 1,62 | - | 21,43 | 1,80 |
ФЛ12.24-4 | С12.24-4 | М12-150 | - | - | 15,84 | - | - | 1,29 | - | 17,13 | 1,26 | |
ФД12.12-4 | С12.12-4 | 410-150 | - | - | 7,92 | - | - | 0,63 | - | 8,55 | 0,86 | |
ФЛ12.8-4 | С12.8-4 | М8-100 | - | - | 5,28 | - | - | 0,41 | - | 5,69 | 0,44 | |
ФЛ14.30-1 | С14.30-1 | М14-150 | - | 10,81 | - | - | - | 1,62 | - | 12,43 | 1,80 | |
ФЛ14.24-1 | С14.24-1 | М12-150 | - | 8,56 | - | - | - | 1,29 | - | 9,85 | 1,26 | |
ФЛ14.12-1 | С14.12-1 | М10-150 | - | 4,05 | - | - | - | 0,63 | - | 4,68 | 0,86 | |
ФЛ14.8-1 | С14.8-1 | М10-150 | - | 2,7 | - | - | - | 0,41 | - | 3,11 | 0,86 | |
ФЛ14.30-2 | С14.30-2 | М14-150 | - | - | 17,47 | - | - | 1,62 | - | 19,09 | 1,80 | |
ФЛ14.24-2 | С14.24-2 | М12-150 | - | - | 13,83 | - | - | 1,29 | - | 15,12 | 1,26 | |
ФЛ14.12-2 | С14.12-2 | М10-150 | - | - | 6,55 | - | - | 0,63 | - | 7,18 | 0,86 | |
ФЛ14.8-2 | С14.8-2 | М10-150 | - | - | 4,37 | - | - | 0,41 | - | 4,78 | 0,86 | |
ФЛ14.30-3 | С14.30-3 | М14-150 | - | - | 21,84 | - | - | 1,62 | - | 23,46 | 1,80 | |
ФЛ14.24-3 | С14.24-3 | М12-150 | - | - | 17,47 | - | - | 1,29 | - | 18,76 | 1,26 | |
ФЛ14.12-3 | С14.12-3 | М10-150 | - | - | 8,74 | - | - | 0,63 | - | 9,37 | 0,86 | |
ФЛ14.8-3 | С14.8-3 | М10-150 | - | - | 5,82 | - | - | 0,41 | - | 6,23 | 0,86 | |
ФЛ14.30-4 | С14.30-4 | М14-150 | - | - | - | 33,03 | - | 1,62 | - | 34,65 | 1,80 | |
ФЛ14.24-4 | С14.24-4 | М12-150 | - | - | - | 26,43 | - | 1,29 | - | 27,72 | 1,26 | |
ФЛ14.12-4 | С14.12-4 | М10-150 | - | - | - | 13,21 | - | 0,63 | - | 13,84 | 0,86 | |
ФЛ14.8-4 | С14.8-4 | М10-150 | - | - | - | 8,81 | - | 0,41 | - | 9,22 | 0,86 | |
ФЛ16.30-1 | С16.30-1 | М14-150 | - | 14,2 | - | - | - | 1,62 | - | 15,82 | 1,80 | |
ФЛ16.24-1 | С16.24-1 | М14-150 | - | 11,26 | - | - | - | 1,29 | - | 12,55 | 1,80 | |
ФЛ16.12-1 | С16.12-1 | М10-150 | - | 5,39 | - | - | - | 0,63 | - | 6,02 | 0,86 | |
ФЛ16.8-1 | С16.8-1 | М10-150 | - | 3,43 | - | - | - | 0,41 | - | 3,84 | 0,86 | |
ФЛ16.30-2 | С16.30-2 | М14-150 | - | - | 24,8 | - | - | 1,62 | - | 26,42 | 1,80 | |
ФЛ16.24-2 | С16.24-2 | М14-150 | - | - | 19,84 | - | - | 1,29 | - | 21,13 | 1,80 | |
ФЛ16.12-2 | С16.12-2 | М10-150 | - | - | 9,92 | - | - | 0,63 | - | 10,55 | 0,86 | |
ФЛ16.8-2 | С16.8-2 | М10-150 | - | - | 6,61 | - | - | 0,41 | - | 7,02 | 0,86 | |
ФЛ16.30-3 | С16.30-3 | М14-150 | - | - | - | 35,7 | - | 1,62 | - | 37,32 | 1,80 | |
ФЛ16.24-3 | С16.24-3 | М14-150 | - | - | - | 28,56 | - | 1,29 | - | 29,85 | 1,80 | |
ФЛ16.12-3 | С16.12-3 | М10-150 | - | - | - | 14,27 | - | 0,63 | - | 14,9 | 0,86 | |
ФЛ16.8-3 | С16.8-3 | М10-150 | - | - | - | 9,52 | - | 0,41 | - | 9,93 | 0,86 | |
ФЛ16.30-4 | С16.30-4 | М14-150 | - | - | - | - | 44,49 | 1,62 | - | 46,11 | 1,80 | |
ФЛ16.24-4 | С16.24-4 | М14-150 | - | - | - | - | 35,28 | 1,29 | - | 36,57 | 1,80 | |
ФЛ16.12-4 | С16.12-4 | М10-150 | - | - | - | - | 16,88 | 0,63 | - | 17,51 | 0,86 | |
ФЛ16.8-4 | С16.8-4 | М10-150 | - | - | - | - | 10,74 | 0,41 | - | 11,15 | 0,86 | |
ФЛ20.30-1 | АБ20.30-1 | М16-200 | 4 | 10,25 | - | - | - | - | 3,22 | 2,13 | 15,6 | 5,56 |
ФЛ20.24-1 | АБ20.24-1 | М16-200 | 8,21 | - | - | - | - | 2,56 | 1,7 | 12,47 | 5,56 | |
ФЛ20.12-1 | АБ20.12-1 | М12-150 | 2 | 4,1 | - | - | - | - | 1,24 | 0,85 | 6,19 | 1,26 |
ФЛ20.8-1 | АБ20.8-1 | М10-150 | 2,73 | - | - | - | - | 0,78 | 0,53 | 4,04 | 0,86 | |
ФЛ20.30-2 | АБ20.30-2 | М16-200 | 4 | 3,46 | 18,48 | - | - | - | 3,22 | - | 25,16 | 5,56 |
ФЛ20.24-2 | АБ20.24-2 | М16-200 | 2,77 | 14,79 | - | - | - | 2,56 | - | 20,12 | 5,56 | |
ФЛ20.12-2 | АБ20.12-2 | М12-150 | 2 | 1,39 | 7,39 | - | - | - | 1,24 | - | 10,02 | 1,26 |
ФЛ20.8-2 | АБ20.8-2 | М10-150 | 0,86 | 4,93 | - | - | - | 0,78 | - | 6,57 | 0,86 | |
ФЛ20.30-3 | АБ20.30-3 | М16-200 | 4 | 3,28 | - | 30,35 | - | - | 3,22 | - | 36,85 | 5,56 |
ФЛ20.24-3 | АБ20.24-3 | М16-200 | 2,63 | - | 24,29 | - | - | 2,56 | - | 29,48 | 5,56 | |
ФЛ20.12-3 | АБ20.12-3 | М12-150 | 2 | 1,31 | - | 12,14 | - | - | 1,24 | - | 14,69 | 1,26 |
ФЛ20.8-3 | АБ20.8-3 | М10-150 | 0,82 | - | 8,1 | - | - | 0,78 | - | 9,7 | 0,86 | |
ФЛ20.30-4 | АБ20.30-4 | М16-200 | 4 | - | - | 46,28 | - | - | 3,76 | - | 50,04 | 5,56 |
ФЛ20.24-4 | АБ20.24-4 | М16-200 | - | - | 37,01 | - | - | 2,98 | - | 39,99 | 5,56 | |
ФЛ20.12-4 | АБ20.12-4 | М12-150 | 2 | - | - | 18,51 | - | - | 1,44 | - | 19,95 | 1,26 |
ФЛ20.8-4 | АБ20.8-4 | М10-150 | - | - | 12,11 | - | - | 0,89 | - | 13,0 | 0,86 | |
ФЛ24.30-1 | АБ24.30-1 | М16-200 | 4 | - | 20,74 | - | - | - | 3,56 | 3,14 | 27,44 | 5,56 |
ФЛ24.24-1 | АБ24.24-1 | М16-200 | - | 16,59 | - | - | - | 2,79 | 2,42 | 21,8 | 5,56 | |
ФЛ24.12-1 | АБ24.12-1 | М14-150 | 2 | - | 8,3 | - | - | - | 1,3 | 1,09 | 10,69 | 1,80 |
ФЛ24.8-1 | АБ24.8-1 | М12-150 | - | 5,53 | - | - | - | 0,84 | 0,73 | 7,1 | 1,26 | |
ФЛ24.30-2 | АБ24.30-2 | М16-200 | 4 | 5,22 | - | 34,43 | - | - | 4,21 | - | 43,86 | 5,56 |
ФЛ24.24-2 | АБ24.24-2 | М16-200 | 4,1 | - | 27,54 | - | - | 3,33 | - | 34,97 | 5,56 | |
ФЛ24.12-2 | АБ24.12-2 | М14-150 | 2 | 2,05 | - | 13,77 | - | - | 1,62 | - | 17,44 | 1,80 |
ФЛ24.8-2 | АБ24.8-2 | М12-150 | 1,31 | - | 9,18 | - | - | 1,03 | - | 11,52 | 1,26 | |
ФЛ24.30-3 | АБ24.30-3 | М16-200 | 4 | - | 10,4 | - | 52,48 | - | 4,21 | - | 67,09 | 5,56 |
ФЛ24.24-3 | АБ24.24-3 | М16-200 | - | 8,17 | - | 41,98 | - | 3,33 | - | 53,48 | 5,56 | |
ФЛ24.12-3 | АБ24.12-3 | М14-150 | 2 | - | 3,71 | - | 20,99 | - | 1,57 | - | 26,27 | 1,80 |
ФЛ24.8-3 | АБ24.8-3 | М12-150 | - | 2,6 | - | 13,99 | - | 1,03 | - | 17,62 | 1,26 | |
ФЛ24.30-4 | АБ24.30-4 | М16-200 | 4 | - | - | 17,4 | 51,68 | - | 4,32 | - | 73,4 | 5,56 |
ФЛ24.24-4 | АБ24.24-4 | М16-200 | - | - | 13,92 | 41,34 | - | 3,44 | - | 58,7 | 5,56 | |
ФЛ24.12-4 | АБ24.12-4 | М14-150 | 2 | - | - | 6,96 | 20,67 | - | 1,68 | - | 29,31 | 1,80 |
ФЛ24.8-4 | АБ24.8-4 | М12-150 | - | - | 4,64 | 13,78 | - | 1,09 | - | 19,51 | 1,26 | |
ФЛ28.24-1 | АБ28.24-1 | М16-200 | 4 | - | 28,79 | - | - | - | 3,22 | - | 32,01 | 5,56 |
ФЛ28.12-1 | АБ28.12-1 | М16-200 | 2 | - | 13,57 | - | - | - | 1,46 | - | 15,03 | 2,78 |
ФЛ28.8-1 | АБ28.8-1 | М12-150 | - | 9,32 | - | - | - | 0,98 | - | 10,3 | 1,26 | |
ФЛ28.24-2 | АБ28.24-2 | М16-200 | 4 | - | - | 47,09 | - | - | 3,28 | - | 50,37 | 5,56 |
ФЛ28.12-2 | АБ28.12-2 | М16-200 | 2 | - | - | 23,23 | - | - | 1,57 | - | 24,8 | 2,78 |
ФЛ28.8-2 | АБ28.8-2 | М12-150 | - | - | 15,69 | - | - | 1,03 | - | 16,72 | 1,26 | |
ФЛ28.24-3 | АБ28.24-3 | М16-200 | 4 | - | - | 14,31 | - | 62,33 | 3,22 | - | 79,86 | 5,56 |
ФЛ28.12-3 | АБ28.12-3 | М16-200 | 2 | - | - | 6,44 | - | 31,17 | 1,51 | - | 39,12 | 2,78 |
ФЛ28.8-3 | АБ28.8-3 | М12-150 | - | - | 4,29 | - | 20,78 | 0,98 | - | 26,05 | 1,26 | |
ФЛ28.24-4 | АБ28.24-4 | М16-200 | 4 | - | - | - | - | 93,84 | 3,22 | - | 97,06 | 5,56 |
ФЛ28.12-4 | АБ28.12-4 | М16-200 | 2 | - | - | - | - | 45,51 | 1,51 | - | 47,02 | 2,78 |
ФЛ28.8-4 | АБ28.8-4 | М12-150 | - | - | - | - | 30,35 | 0,98 | - | 31,33 | 1,26 | |
ФЛ32.12-1 | АБ32.12-1 | М16-200 | 2 | - | 3,07 | 18,51 | - | - | 1,66 | - | 23,24 | 2,78 |
ФЛ32.8-1 | АБ32.8-1 | М12-150 | - | 2,3 | 12,34 | - | - | 1,12 | - | 15,76 | 1,26 | |
ФЛ32.12-2 | АБ32.12-2 | М16-200 | 2 | - | - | - | 35,7 | - | 1,71 | - | 37,41 | 2,78 |
ФЛ32.8-2 | АБ32.8-2 | М12-150 | - | - | - | 23,77 | - | 1,12 | - | 24,89 | 1,26 | |
ФЛ32.12-3 | АБ32.12-3 | М16-200 | 2 | - | - | - | - | 51,26 | 1,77 | - | 53,03 | 2,78 |
ФЛ32.8-3 | АБ32.8-3 | М12-150 | - | - | - | - | 34,64 | 1,17 | - | 35,81 | 1,26 | |
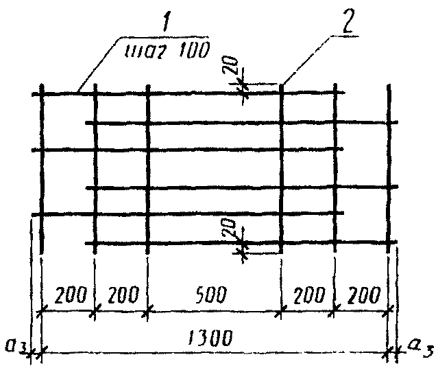
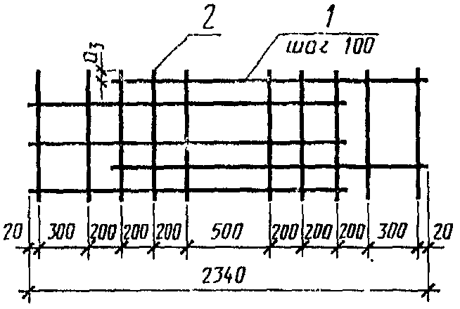
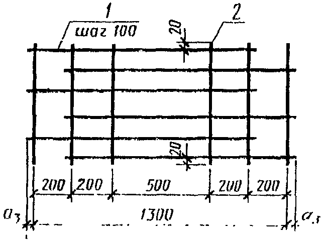
Марка сетки | Позиция | Чертеж сетки | Диаметр, мм, класс | Длина, мм | Количество | а3, мм |
С6.24-4 | 1 | ![]() | 4ВрI | 540 | 24 | 20 |
2 | 2340 | 3 | ||||
С6.12-4 | 1 | 540 | 12 | |||
2 | 1140 | 3 | ||||
С8.24-1 | 1 | ![]() | 4ВрI | 740 | 24 | 20 |
2 | 2340 | 4 | ||||
С8.12-1 | 1 | 740 | 12 | |||
2 | 1140 | 4 | ||||
С8.24-3 | 1 | 5ВрI | 740 | 24 | ||
2 | 4ВрI | 2340 | 4 | |||
С8.12-3 | 1 | 5ВрI | 740 | 12 | ||
2 | 4ВрI | 1140 | 4 | |||
С8.24-4 | 1 | 6АIII | 740 | 24 | ||
2 | 4ВрI | 2340 | 4 | |||
С8.12-4 | 1 | 6АIII | 740 | 12 | ||
2 | 4ВрI | 1140 | 4 | |||
С10.30-1 | 1 | ![]() | 5ВрI | 840 | 30 | 20 |
2 | 4ВрI | 2940 | 4 | |||
С10.24-1 | 1 | 5ВрI | 840 | 24 | ||
2 | 4ВрI | 2340 | 4 | |||
С10.12-1 | 1 | 5ВрI | 840 | 12 | ||
2 | 4ВрI | 1140 | 4 | |||
С10.8-1 | 1 | 5ВрI | 840 | 8 | ||
2 | 4ВрI | 740 | 4 | |||
С10.30-2 | 1 | 6АIII | 840 | 30 | ||
2 | 4ВрI | 2940 | 4 | |||
С10.24-2 | 1 | 6АIII | 840 | 24 | ||
2 | 4ВрI | 2340 | 4 | |||
С10.12-2 | 1 | 6АIII | 840 | 12 | ||
2 | 4ВрI | 1140 | 4 | |||
С10.8-2 | 1 | 6АIII | 840 | 8 | ||
2 | 4ВрI | 740 | 4 | |||
С10.30-3 | 3 | 8АIII | 840 | 24 | 35 | |
2 | 4ВрI | 2940 | 4 | |||
С10.24-3 | 3 | 8АIII | 840 | 19 | 45 | |
2 | 4ВрI | 2340 | 4 | |||
С10.12-3 | 3 | 8АIII | 840 | 9 | 70 | |
2 | 4ВрI | 1140 | 4 | |||
С10.8-3 | 3 | 8АIII | 840 | 6 | 60 | |
2 | 4ВрI | 740 | 4 | |||
С10.30-4 | 1 | 8АIII | 840 | 30 | 20 | |
2 | 4ВрI | 2940 | 4 | |||
С10.24-4 | 1 | 8АIII | 840 | 24 | ||
2 | 4ВрI | 2340 | 4 | |||
С10.12-4 | 1 | 8АIII | 840 | 12 | ||
2 | 4ВрI | 1140 | 4 | |||
С10.8-4 | 1 | 8АIII | 840 | 8 | ||
2 | 4ВрI | 740 | 4 | |||
С12.30-1 | 1 | ![]() | 6АIII | 940 | 30 | 20 |
2 | 4ВрI | 2940 | 6 | |||
С12.24-1 | 1 | 6АIII | 940 | 24 | ||
2 | 4ВрI | 2340 | 6 | |||
С12.12-1 | 1 | 6АIII | 940 | 12 | ||
2 | 4ВрI | 1140 | 6 | |||
С12.8-1 | 1 | 6АIII | 940 | 8 | ||
2 | 4ВрI | 740 | 6 | |||
С12.30-2 | 1 | 8АIII | 940 | 30 | ||
2 | 4ВрI | 2940 | 6 | |||
С12.24-2 | 1 | 8АIII | 940 | 24 | ||
2 | 4ВрI | 2340 | 6 | |||
С12.12-2 | 1 | 8АIII | 940 | 12 | ||
2 | 4ВрI | 1140 | 6 | |||
С12.8-2 | 1 | 8АIII | 940 | 8 | ||
2 | 4ВрI | 740 | 6 | |||
С12.30-3 | 3 | ![]() | 10АIII | 1070 | 24 | 35 |
2 | 4ВрI | 2940 | 6 | |||
С12.24-3 | 3 | 10АIII | 1070 | 19 | 45 | |
2 | 4ВрI | 2340 | 6 | |||
С12.12-3 | 3 | 10АIII | 1070 | 9 | 70 | |
2 | 4ВрI | 1140 | 6 | |||
С12.8-3 | 3 | 10АIII | 1070 | 6 | 60 | |
2 | 4ВрI | 740 | 6 | |||
С12.30-4 | 1 | 10АIII | 1070 | 30 | 20 | |
2 | 4ВрI | 2940 | 6 | |||
С12.24-4 | 1 | 10АIII | 1070 | 24 | ||
2 | 4ВрI | 2340 | 6 | |||
С12.12-4 | 1 | 10АIII | 1070 | 12 | ||
2 | 4ВрI | 1140 | 6 | |||
С12.8-4 | 1 | 10АIII | 1070 | 8 | ||
2 | 4ВрI | 740 | 6 | |||
С14.30-1 | 3 | ![]() | 8АIII | 1140 | 24 | 35 |
2 | 4ВрI | 2940 | 6 | |||
С14.24-1 | 3 | 8АIII | 1140 | 19 | 45 | |
2 | 4ВрI | 2340 | 6 | |||
С14.12-1 | 3 | 8АIII | 1140 | 9 | 70 | |
2 | 4ВрI | 1140 | 6 | |||
С14.8-1 | 3 | 8АIII | 1140 | 6 | 60 | |
2 | 4ВрI | 740 | 6 | |||
С14.30-2 | 3 | 10АIII | 1180 | 24 | 35 | |
2 | 4ВрI | 2940 | 6 | |||
С14.24-2 | 3 | 10АIII | 1180 | 19 | 45 | |
2 | 4ВрI | 2340 | 6 | |||
С14.12-2 | 3 | 10АIII | 1180 | 9 | 70 | |
2 | 4ВрI | 1140 | 6 | |||
С14.8-2 | 3 | 10АIII | 1180 | 6 | 60 | |
2 | 4ВрI | 740 | 6 | |||
С14.30-3 | 1 | 10АIII | 1180 | 30 | 20 | |
2 | 4ВрI | 2940 | 6 | |||
С14.24-3 | 1 | 10АIII | 1180 | 24 | ||
2 | 4ВрI | 2340 | 6 | |||
С14.12-3 | 1 | 10АIII | 1180 | 12 | ||
2 | 4ВрI | 1140 | 6 | |||
С14.8-3 | 1 | 10АIII | 1180 | 8 | ||
2 | 4ВрI | 740 | 6 | |||
С14.30-4 | 1 | ![]() | 12АIII | 1240 | 30 | 20 |
2 | 4ВрI | 2940 | 6 | |||
С14.24-4 | 1 | 12АIII | 1240 | 24 | ||
2 | 4ВрI | 2340 | 6 | |||
С14.12-4 | 1 | 12АIII | 1240 | 12 | ||
2 | 4ВрI | 1140 | 6 | |||
С14.8-4 | 1 | 12АIII | 1240 | 8 | ||
2 | 4ВрI | 740 | 6 | |||
С16.30-1 | 1 | ![]() | 8АIII | 1240 | 29 | 70 |
2 | 4ВрI | 2940 | 6 | |||
С16.24-1 | 1 | 8АIII | 1240 | 23 | ||
2 | 4ВрI | 2340 | 6 | |||
С16.12-1 | 1 | 8АIII | 1240 | 11 | ||
2 | 4ВрI | 1140 | 6 | |||
С16.8-1 | 1 | 8АIII | 1240 | 7 | ||
2 | 4ВрI | 740 | 6 | |||
С16.30-2 | 1 | ![]() | 10АIII | 1340 | 30 | 20 |
2 | 4ВрI | 2940 | 6 | |||
С16.24-2 | 1 | 10АIII | 1340 | 24 | ||
2 | 4ВрI | 2340 | 6 | |||
С16.12-2 | 1 | 10АIII | 1340 | 12 | ||
2 | 4ВрI | 1140 | 6 | |||
С16.8-2 | 1 | 10АIII | 1340 | 8 | ||
2 | 4ВрI | 740 | 6 | |||
С16.30-3 | 1 | 12АIII | 1340 | 30 | ||
2 | 4ВрI | 2940 | 6 | |||
С16.24-3 | 1 | 12АIII | 1340 | 24 | ||
2 | 4ВрI | 2340 | 6 | |||
С16.12-3 | 1 | 12АIII | 1340 | 12 | ||
2 | 4ВрI | 1140 | 6 | |||
С16.8-3 | 1 | 12АIII | 1340 | 8 | ||
2 | 4ВрI | 740 | 6 | |||
С16.30-4 | 1 | ![]() | 14АIII | 1270 | 29 | 70 |
2 | 4ВрI | 2940 | 6 | |||
С16.24-4 | 1 | 14АIII | 1270 | 23 | ||
2 | 4ВрI | 2340 | 6 | |||
С16.12-4 | 1 | 14АIII | 1270 | 11 | ||
2 | 4ВрI | 1140 | 6 | |||
С16.8-4 | 1 | 14АIII | 1270 | 7 | ||
2 | 4ВрI | 740 | 6 | |||
Н20.30-1 | 1 | ![]() | 6АIII | 1540 | 30 | 20 |
2 | 4ВрI | 2940 | 8 | |||
Н20.24-1 | 1 | 6АIII | 1540 | 24 | ||
2 | 4ВрI | 2340 | 8 | |||
Н20.12-1 | 1 | 6АIII | 1540 | 12 | ||
2 | 4ВрI | 1140 | 8 | |||
Н20.8-1 | 1 | 6АIII | 1540 | 8 | ||
2 | 4ВрI | 740 | 8 | |||
Н20.30-2 | 1 | 8АIII | 1560 | 30 | 20 | |
2 | 4ВрI | 2940 | 8 | |||
Н20.24-2 | 1 | 8АIII | 1560 | 24 | ||
2 | 4ВрI | 2340 | 8 | |||
Н20.12-2 | 1 | 8АIII | 1560 | 12 | ||
2 | 4ВрI | 1140 | 8 | |||
Н20.8-2 | 1 | 8АIII | 1560 | 8 | ||
2 | 4ВрI | 740 | 8 | |||
Н20.30-3 | 1 | ![]() | 10АIII | 1640 | 30 | 20 |
2 | 4ВрI | 2940 | 8 | |||
Н20.24-3 | 1 | 10АIII | 1640 | 24 | ||
2 | 4ВрI | 2340 | 8 | |||
Н20.12-3 | 1 | 10АIII | 1640 | 12 | ||
2 | 4ВрI | 1140 | 8 | |||
Н20.8-3 | 1 | 10АIII | 1640 | 8 | ||
2 | 4ВрI | 740 | 8 | |||
Н20.30-4 | 1 | ![]() | 10АIII | 1740 | 30 | |
2 | 4ВрI | 2940 | 8 | |||
Н20.24-4 | 1 | 10АIII | 1740 | 24 | ||
2 | 4ВрI | 2340 | 8 | |||
Н20.12-4 | 1 | 10АIII | 1740 | 12 | ||
2 | 4ВрI | 1140 | 8 | |||
Н20.8-4 | 1 | 10АIII | 1740 | 8 | ||
2 | 4ВрI | 740 | 8 | |||
Н24.30-1 | 1 | ![]() | 8АIII | 1750 | 30 | |
2 | 4ВрI | 2940 | 8 | |||
Н24.24-1 | 1 | 8АIII | 1750 | 24 | ||
2 | 4ВрI | 2340 | 8 | |||
Н24.12-1 | 1 | 8АIII | 1750 | 12 | ||
2 | 4ВрI | 1140 | 8 | |||
Н24.8-1 | 1 | 8АIII | 1750 | 8 | ||
2 | 4ВрI | 740 | 8 | |||
Н24.30-2 | 1 | ![]() | 10АIII | 1860 | 30 | |
2 | 4ВрI | 2940 | 10 | |||
Н24.24-2 | 1 | 10АIII | 1860 | 24 | ||
2 | 4ВрI | 2340 | 10 | |||
Н24.12-2 | 1 | 10АIII | 1860 | 12 | ||
2 | 4ВрI | 1140 | 10 | |||
Н24.8-2 | 1 | 10АIII | 1860 | 8 | ||
2 | 4ВрI | 740 | 10 | |||
Н24.30-3 | 1 | ![]() | 12АIII | 1970 | 30 | 20 |
2 | 4ВрI | 2940 | 10 | |||
Н24.24-3 | 1 | 12АIII | 1970 | 24 | ||
2 | 4ВрI | 2340 | 10 | |||
Н24.12-3 | 1 | 12АIII | 1970 | 12 | ||
2 | 4ВрI | 1140 | 10 | |||
Н24.8-3 | 1 | 12АIII | 1970 | 8 | ||
2 | 4ВрI | 740 | 10 | |||
Н24.30-4 | 1 | 12АIII | 1940 | 30 | ||
2 | 4ВрI | 2940 | 10 | |||
Н24.24-4 | 1 | 12АIII | 1940 | 24 | ||
2 | 4ВрI | 2340 | 10 | |||
Н24.12-4 | 1 | 12АIII | 1940 | 12 | ||
2 | 4ВрI | 1140 | 10 | |||
Н24.8-4 | 1 | 12АIII | 1940 | 8 | ||
2 | 4ВрI | 740 | 10 | |||
Н28.24-1 | 1 | ![]() | 8АIII | 2170 | 24 | |
2 | 4ВрI | 2340 | 10 | |||
Н28.12-1 | 1 | 8АIII | 2170 | 12 | ||
2 | 4ВрI | 1140 | 10 | |||
Н28.8-1 | 1 | 8АIII | 2170 | 8 | ||
2 | 4ВрI | 740 | 10 | |||
Н28.24-2 | 1 | ![]() | 10АIII | 2270 | 24 | |
2 | 4ВрI | 2340 | 10 | |||
Н28.12-2 | 1 | 10АIII | 2270 | 12 | ||
2 | 4ВрI | 1140 | 10 | |||
Н28.8-2 | 1 | 10АIII | 2270 | 8 | ||
2 | 4ВрI | 740 | 10 | |||
Н28.24-3 | 1 | ![]() | 14АIII | 2150 | 24 | |
2 | 4ВрI | 2340 | 10 | |||
Н28.12-3 | 1 | 14АIII | 2150 | 12 | ||
2 | 4ВрI | 1140 | 10 | |||
Н28.8-3 | 1 | 14АIII | 2150 | 8 | ||
2 | 4ВрI | 740 | 10 | |||
Н28.24-4 | 1 | ![]() | 14АIII | 2270 | 24 | |
2 | 4ВрI | 2340 | 10 | |||
Н28.12-4 | 1 | 14АIII | 2270 | 12 | ||
2 | 4ВрI | 1140 | 10 | |||
Н28.8-4 | 1 | 14АIII | 2270 | 8 | ||
2 | 4ВрI | 740 | 10 | |||
Н32.12-1 | 1 | ![]() | 10АIII | 2500 | 12 | 20 |
2 | 4ВрI | 1140 | 12 | |||
Н32.8-1 | 1 | 10АIII | 2500 | 8 | ||
2 | 4ВрI | 740 | 12 | |||
Н32.12-2 | 1 | 12АIII | 2570 | 12 | ||
2 | 4ВрI | 1140 | 12 | |||
Н32.8-2 | 1 | 12АIII | 2570 | 8 | ||
2 | 4ВрI | 740 | 12 | |||
Н32.12-3 | 1 | 14АIII | 2570 | 12 | ||
2 | 4ВрI | 1140 | 12 | |||
Н32.8-3 | 1 | 14АIII | 2570 | 8 | ||
2 | 4ВрI | 740 | 12 | |||
В20.30-1 | 1 | ![]() | 5ВрI | 740 | 20 | 20 |
2 | 4ВрI | 2890 | 4 | |||
В20.24-1 | 1 | 5ВрI | 740 | 16 | ||
2 | 4ВрI | 2290 | 4 | |||
В20.12-1 | 1 | 5ВрI | 740 | 8 | ||
2 | 4ВрI | 1090 | 4 | |||
В20.8-1 | 1 | 5ВрI | 740 | 5 | ||
2 | 4ВрI | 640 | 4 | |||
В20.30-2 | 1 | 6АIII | 780 | 20 | 40 | |
2 | 4ВрI | 2890 | 4 | |||
В20.24-2 | 1 | 6АIII | 780 | 16 | ||
2 | 4ВрI | 2290 | 4 | |||
В20.12-2 | 1 | 6АIII | 780 | 8 | ||
2 | 4ВрI | 1090 | 4 | |||
В20.8-2 | 1 | 6АIII | 780 | 5 | ||
2 | 4ВрI | 640 | 4 | |||
В20.30-3 | 1 | 6АIII | 740 | 20 | 20 | |
2 | 4ВрI | 2890 | 4 | |||
В20.24-3 | 1 | 6АIII | 740 | 16 | ||
2 | 4ВрI | 2290 | 4 | |||
В20.12-3 | 1 | 6АIII | 740 | 8 | ||
2 | 4ВрI | 1090 | 4 | |||
В20.8-3 | 1 | 6АIII | 740 | 5 | ||
2 | 4ВрI | 640 | 4 | |||
В20.30-4 | 1 | ![]() | 10АIII | 1140 | 20 | 20 |
2 | 4ВрI | 2890 | 6 | |||
В20.24-4 | 1 | 10АIII | 1140 | 16 | ||
2 | 4ВрI | 2290 | 6 | |||
В20.12-4 | 1 | 10АIII | 1140 | 8 | ||
2 | 4ВрI | 1090 | 6 | |||
В20.8-4 | 1 | 10АIII | 1140 | 5 | ||
2 | 4ВрI | 640 | 6 | |||
В24.30-1 | 1 | ![]() | 5ВрI | 840 | 26 | |
2 | 4ВрI | 2540 | 6 | |||
В24.24-1 | 1 | 5ВрI | 840 | 20 | ||
2 | 4ВрI | 1940 | 6 | |||
В24.12-1 | 1 | 5ВрI | 840 | 9 | ||
2 | 4ВрI | 840 | 6 | |||
В24.8-1 | 1 | 5ВрI | 840 | 6 | ||
2 | 4ВрI | 540 | 6 | |||
В24.30-2 | 1 | 6АIII | 840 | 28 | ||
2 | 4ВрI | 2740 | 6 | |||
В24.24-2 | 1 | 6АIII | 840 | 22 | ||
2 | 4ВрI | 2140 | 6 | |||
В24.12-2 | 1 | 6АIII | 840 | 11 | ||
2 | 4ВрI | 1040 | 6 | |||
В24.8-2 | 1 | 6АIII | 840 | 7 | ||
2 | 4ВрI | 640 | 6 | |||
В24.30-3 | 1 | 8АIII | 940 | 28 | 90 | |
2 | 4ВрI | 2740 | 6 | |||
В24.24-3 | 1 | 8АIII | 940 | 22 | ||
2 | 4ВрI | 2140 | 6 | |||
В24.12-3 | 1 | 8АIII | 940 | 10 | ||
2 | 4ВрI | 940 | 6 | |||
В24.8-3 | 1 | 8АIII | 940 | 7 | ||
2 | 4ВрI | 640 | 6 | |||
В24.30-4 | 1 | 10АIII | 940 | 30 | ||
2 | 4ВрI | 2940 | 6 | |||
В24.24-4 | 1 | 10АIII | 940 | 24 | ||
2 | 4ВрI | 2340 | 6 | |||
В24.12-4 | 1 | 10АIII | 940 | 12 | ||
2 | 4ВрI | 1140 | 6 | |||
В24.8-4 | 1 | 10АIII | 940 | 8 | ||
2 | 4ВрI | 740 | 6 | |||
В28.24-1 | 1 | ![]() | 8АIII | 1040 | 20 | 20 |
2 | 4ВрI | 1940 | 6 | |||
В28.12-1 | 1 | 8АIII | 1040 | 8 | ||
2 | 4ВрI | 740 | 6 | |||
В28.8-1 | 1 | 8АIII | 1040 | 6 | ||
2 | 4ВрI | 540 | 6 | |||
В28.24-2 | 1 | 10АIII | 1040 | 21 | ||
2 | 4ВрI | 2040 | 6 | |||
В28.12-2 | 1 | 10АIII | 1040 | 10 | ||
2 | 4ВрI | 940 | 6 | |||
В28.8-2 | 1 | 10АIII | 1040 | 7 | ||
2 | 4ВрI | 640 | 6 | |||
В28.24-3 | 1 | ![]() | 10АIII | 1160 | 20 | 30 |
2 | 4ВрI | 1940 | 6 | |||
В28.12-3 | 1 | 10АIII | 1160 | 9 | ||
2 | 4ВрI | 840 | 6 | |||
В28.8-3 | 1 | 10АIII | 1160 | 6 | ||
2 | 4ВрI | 540 | 6 | |||
В28.24-4 | 1 | 14АIII | 1160 | 20 | ||
2 | 4ВрI | 1940 | 6 | |||
В28.12-4 | 1 | 14АIII | 1160 | 9 | ||
2 | 4ВрI | 840 | 6 | |||
В28.8-4 | 1 | 14ВIII | 1160 | 6 | ||
2 | 4ВрI | 540 | 6 | |||
В32.12-1 | 1 | ![]() | 8АIII | 970 | 8 | 50 |
2 | 4ВрI | 740 | 6 | |||
В32.8-1 | 1 | 8АIII | 970 | 6 | ||
2 | 4ВрI | 540 | 6 | |||
В32.12-2 | 1 | 12АIII | 1040 | 9 | ||
2 | 4ВрI | 840 | 6 | 70 | ||
В32.8-2 | 1 | 12АIII | 1040 | 6 | ||
2 | 4ВрI | 540 | 6 | |||
В32.12-3 | 1 | ![]() | 14АIII | 1160 | 10 | 30 |
2 | 4ВрI | 940 | 6 | |||
В32.8-3 | 1 | 14АIII | 1160 | 7 | ||
2 | 4ВрI | 640 | 6 |
Марка сетки | Арматурная сталь, кг | Масса сетки, кг | ||||||
класса А-III по ГОСТ 5781-82 | класса Вр-I по ГОСТ 6727-80 | |||||||
Диаметр, мм | ||||||||
6 | 8 | 10 | 12 | 14 | 4 | 5 | ||
С6.24-4 | - | - | - | - | - | 1,84 | - | 1,84 |
С6.12-4 | - | - | - | - | - | 0,91 | - | 0,91 |
С8.24-1 | - | - | - | - | - | 2,5 | - | 2,5 |
С8.12-1 | - | - | - | - | - | 1,24 | - | 1,24 |
С8.24-3 | - | - | - | - | - | 0,86 | 2,56 | 3,42 |
С8.12-3 | - | - | - | - | - | 0,42 | 1,28 | 1,7 |
С8.24-4 | 3,95 | - | - | - | - | 0,86 | - | 4,81 |
С8.12-4 | 1,97 | - | - | - | - | 0,42 | - | 2,39 |
С10.30-1 | - | - | - | - | - | 1,08 | 3,63 | 4,71 |
С10.24-1 | - | - | - | - | - | 0,86 | 2,9 | 3,70 |
С10.12-1 | - | - | - | - | - | 0,42 | 1,45 | 1,87 |
С10.8-1 | - | - | - | - | - | 0,27 | 0,97 | 1,24 |
С10.30-2 | 5,59 | - | - | - | - | 1,08 | - | 6,67 |
С10.24-2 | 4,48 | - | - | - | - | 0,86 | - | 5,34 |
С10.12-2 | 2,24 | - | - | - | - | 0,42 | - | 2,66 |
С10.8-2 | 1,49 | - | - | - | - | 0,27 | - | 1,76 |
С10.30-3 | - | 7,96 | - | - | - | 1,08 | - | 9,04 |
С10.24-3 | - | 6,3 | - | - | - | 0,86 | - | 7,16 |
С10.12-3 | - | 2,99 | - | - | - | 0,42 | - | 3,41 |
С10.8-3 | - | 1,99 | - | - | - | 0,27 | - | 2,26 |
С10.30-4 | - | 9,95 | - | - | - | 1,08 | - | 11,03 |
С10.24-4 | - | 7,96 | - | - | - | 0,86 | - | 8,82 |
С10.12-4 | - | 3,98 | - | - | - | 0,42 | - | 4,4 |
С10.8-4 | - | 2,65 | - | - | - | 0,27 | - | 2,92 |
С12.30-1 | 6,26 | - | - | - | - | 1,62 | - | 7,88 |
С12.24-1 | 5,01 | - | - | - | - | 1,29 | - | 6,3 |
С12.12-1 | 2,5 | - | - | - | - | 0,63 | - | 3,13 |
С12.8-1 | 1,67 | - | - | - | - | 0,41 | - | 2,08 |
С12.30-2 | - | 11,14 | - | - | - | 1,62 | - | 12,76 |
С12.24-2 | - | 8,91 | - | - | - | 1,29 | - | 10,2 |
С12.12-2 | - | 4,46 | - | - | - | 0,63 | - | 5,09 |
С12.8-2 | - | 2,97 | - | - | - | 0,41 | - | 3,38 |
С12.30-3 | - | - | 15,84 | - | - | 1,62 | - | 17,46 |
С12.24-3 | - | - | 12,54 | - | - | 1,29 | - | 13,83 |
С12.12-3 | - | - | 5,94 | - | - | 0,63 | - | 6,57 |
С12.8-3 | - | - | 3,96 | - | - | 0,41 | - | 4,37 |
С12.30-4 | - | - | 19,81 | - | - | 1,62 | - | 21,43 |
С12.24-4 | - | - | 15,84 | - | - | 1,29 | - | 17,13 |
С12.12-4 | - | - | 7,92 | - | - | 0,63 | - | 8,55 |
С12.8-4 | - | - | 5,28 | - | - | 0,41 | - | 5,69 |
С14.30-1 | - | 10,81 | - | - | - | 1,62 | - | 12,43 |
С14.24-1 | - | 8,56 | - | - | - | 1,29 | - | 9,85 |
С14.12-1 | - | 4,05 | - | - | - | 0,63 | - | 4,68 |
С14.8-1 | - | 2,7 | - | - | - | 0,41 | - | 3,11 |
С14.30-2 | - | - | 17,47 | - | - | 1,62 | - | 19,09 |
С14.24-2 | - | - | 13,83 | - | - | 1,29 | - | 15,12 |
С14.12-2 | - | - | 6,55 | - | - | 0,63 | - | 7,18 |
С14.8-2 | - | - | 4,37 | - | - | 0,41 | - | 4,78 |
С14.30-3 | - | - | 21,84 | - | - | 1,62 | - | 23,46 |
С14.24-3 | - | - | 17,47 | - | - | 1,29 | - | 18,76 |
С14.12-3 | - | - | 8,74 | - | - | 0,63 | - | 9,37 |
С14.8-3 | - | - | 5,82 | - | - | 0,41 | - | 6,23 |
С14.30-4 | - | - | - | 33,03 | - | 1,62 | - | 34,65 |
С14.24-4 | - | - | - | 26,43 | - | 1,29 | - | 27,72 |
С14.12-4 | - | - | - | 13,21 | - | 0,63 | - | 13,84 |
С14.8-4 | - | - | - | 8,81 | - | 0,41 | - | 9,22 |
С16.30-1 | - | 14,2 | - | - | - | 1,62 | - | 15,82 |
С16.24-1 | - | 11,26 | - | - | - | 1,29 | - | 12,55 |
С16.12-1 | - | 5,39 | - | - | - | 0,63 | - | 6,02 |
С16.8-1 | - | 3,43 | - | - | - | 0,41 | - | 3,84 |
С16.30-2 | - | - | 24,8 | - | - | 1,62 | - | 26,42 |
С16.24-2 | - | - | 19,84 | - | - | 1,29 | - | 21,13 |
С16.12-2 | - | - | 9,92 | - | - | 0,63 | - | 10,55 |
С16.8-2 | - | - | 6,61 | - | - | 0,41 | - | 7,02 |
С16.30-3 | - | - | - | 35,7 | - | 1,62 | - | 37,32 |
С16.24-3 | - | - | - | 28,56 | - | 1,29 | - | 29,85 |
С16.12-3 | - | - | - | 14,27 | - | 0,63 | - | 14,9 |
С16.8-3 | - | - | - | 9,52 | - | 0,41 | - | 9,93 |
С16.30-4 | - | - | - | - | 44,49 | 1,62 | - | 46,11 |
С16.24-4 | - | - | - | - | 35,28 | 1,29 | - | 36,57 |
С16.12-4 | - | - | - | - | 16,88 | 0,63 | - | 17,51 |
С16.8-4 | - | - | - | - | 10,74 | 0,41 | - | 11,15 |
Н20.30-1 | 10,25 | - | - | - | - | 2,16 | - | 12,41 |
Н20.24-1 | 8,21 | - | - | - | - | 1,72 | - | 9,93 |
Н20.12-1 | 4,1 | - | - | - | - | 0,84 | - | 4,94 |
Н20.8-1 | 2,73 | - | - | - | - | 0,54 | - | 3,27 |
Н20.30-2 | - | 18,48 | - | - | - | 2,16 | - | 20,64 |
Н20.24-2 | - | 14,79 | - | - | - | 1,72 | - | 16,51 |
Н20.12-2 | - | 7,39 | - | - | - | 0,84 | - | 8,23 |
Н20.8-2 | - | 4,93 | - | - | - | 0,54 | - | 5,47 |
Н20.30-3 | - | - | 30,35 | - | - | 2,16 | - | 32,51 |
Н20.24-3 | - | - | 24,29 | - | - | 1,72 | - | 26,01 |
Н20.12-3 | - | - | 12,14 | - | - | 0,84 | - | 12,98 |
Н20.8-3 | - | - | 8,1 | - | - | 0,54 | - | 8,64 |
Н20.30-4 | - | - | 32,21 | - | - | 2,16 | - | 34,37 |
Н20.24-4 | - | - | 25,76 | - | - | 1,72 | - | 27,48 |
Н20.12-4 | - | - | 12,88 | - | - | 0,84 | - | 13,72 |
Н20.8-4 | - | - | 8,59 | - | - | 0,54 | - | 9,13 |
Н24.30-1 | - | 20,74 | - | - | - | 2,16 | - | 22,9 |
Н24.24-1 | - | 16,59 | - | - | - | 1,72 | - | 18,31 |
Н24.12-1 | - | 8,3 | - | - | - | 0,84 | - | 9,14 |
Н24.8-1 | - | 5,53 | - | - | - | 0,54 | - | 6,07 |
Н24.30-2 | - | - | 34,43 | - | - | 2,7 | - | 37,13 |
Н24.24-2 | - | - | 27,54 | - | - | 2,15 | - | 29,69 |
Н24.12-2 | - | - | 13,77 | - | - | 1,05 | - | 14,82 |
Н24.8-2 | - | - | 9,18 | - | - | 0,68 | - | 9,86 |
Н24.30-3 | - | - | - | 52,48 | - | 2,7 | - | 55,18 |
Н24.24-3 | - | - | - | 41,98 | - | 2,15 | - | 44,13 |
Н24.12-3 | - | - | - | 20,99 | - | 1,05 | - | 22,04 |
Н24.8-3 | - | - | - | 13,99 | - | 0,68 | - | 14,67 |
Н24.30-4 | - | - | - | 51,68 | - | 2,7 | - | 54,38 |
Н24.24-4 | - | - | - | 41,34 | - | 2,15 | - | 43,49 |
Н24.12-4 | - | - | - | 20,67 | - | 1,05 | - | 21,72 |
Н24.8-4 | - | - | - | 13,78 | - | 0,68 | - | 14,46 |
Н28.24-1 | - | 20,57 | - | - | - | 2,15 | - | 22,72 |
Н28.12-1 | - | 10,28 | - | - | - | 1,05 | - | 11,33 |
Н28.8-1 | - | 6,86 | - | - | - | 0,68 | - | 7,54 |
Н28.24-2 | - | - | 33,61 | - | - | 2,15 | - | 35,76 |
Н28.12-2 | - | - | 16,81 | - | - | 1,05 | - | 17,86 |
Н28.8-2 | - | - | 11,2 | - | - | 0,68 | - | 11,88 |
В28.24-3 | - | - | - | - | 62,33 | 2,15 | - | 64,48 |
Н28.12-3 | - | - | - | - | 31,17 | 1,05 | - | 32,22 |
Н28.8-3 | - | - | - | - | 20,78 | 0,68 | - | 21,46 |
Н28.24-4 | - | - | - | - | 65,81 | 2,15 | - | 67,96 |
Н28.12-4 | - | - | - | - | 32,9 | 1,05 | - | 33,95 |
Н28.8-4 | - | - | - | - | 21,94 | 0,68 | - | 22,62 |
Н32.12-1 | - | - | 18,51 | - | - | 1,25 | - | 19,76 |
Н32.8-1 | - | - | 12,34 | - | - | 0,82 | - | 13,16 |
Н32.12-2 | - | - | - | 27,39 | - | 1,25 | - | 28,64 |
Н32.8-2 | - | - | - | 18,23 | - | 0,82 | - | 19,05 |
Н32.12-3 | - | - | - | - | 37,25 | 1,25 | - | 38,5 |
Н32.8-3 | - | - | - | - | 24,84 | 0,82 | - | 25,66 |
В20.30-1 | - | - | - | - | - | 1,06 | 2,13 | 3,19 |
В20.24-1 | - | - | - | - | - | 0,84 | 1,7 | 2,54 |
В20.12-1 | - | - | - | - | - | 0,4 | 0,85 | 1,25 |
В20.8-1 | - | - | - | - | - | 0,24 | 0,53 | 0,77 |
В20.30-2 | 3,46 | - | - | - | - | 1,06 | - | 4,52 |
В20.24-2 | 2,77 | - | - | - | - | 0,84 | - | 3,61 |
В20.12-2 | 1,39 | - | - | - | - | 0,4 | - | 1,79 |
В20.8-2 | 0,86 | - | - | - | - | 0,24 | - | 1,1 |
В20.30-3 | 3,28 | - | - | - | - | 1,06 | - | 4,34 |
В20.24-3 | 2,63 | - | - | - | - | 0,84 | - | 3,47 |
В20.12-3 | 1,31 | - | - | - | - | 0,4 | - | 1,71 |
В20.8-3 | 0,82 | - | - | - | - | 0,24 | - | 1,06 |
В20.30-4 | - | - | 14,07 | - | - | 1,6 | - | 15,67 |
В20.24-4 | - | - | 11,25 | - | - | 1,26 | - | 12,51 |
В20.12-4 | - | - | 5,63 | - | - | 0,6 | - | 6,23 |
В20.8-4 | - | - | 3,52 | - | - | 0,35 | - | 3,87 |
В24.30-1 | - | - | - | - | - | 1,4 | 3,14 | 4,54 |
В24.24-1 | - | - | - | - | - | 1,07 | 2,42 | 3,49 |
В24.12-1 | - | - | - | - | - | 0,46 | 1,09 | 1,55 |
В24.8-1 | - | - | - | - | - | 0,3 | 0,73 | 1,03 |
В24.30-2 | 5,22 | - | - | - | - | 1,51 | - | 6,73 |
В24.24-2 | 4,1 | - | - | - | - | 1,18 | - | 5,28 |
В24.12-2 | 2,05 | - | - | - | - | 0,57 | - | 2,62 |
В24.8-2 | 1,31 | - | - | - | - | 0,35 | - | 1,66 |
В24.30-3 | - | 10,4 | - | - | - | 1,51 | - | 11,91 |
В24.24-3 | - | 8,17 | - | - | - | 1,18 | - | 9,35 |
В24.12-3 | - | 3,71 | - | - | - | 0,52 | - | 4,23 |
В24.8-3 | - | 2,6 | - | - | - | 0,35 | - | 2,95 |
В24.30-4 | - | - | 17,4 | - | - | 1,62 | - | 19,02 |
В24.24-4 | - | - | 13,92 | - | - | 1,29 | - | 15,21 |
В24.12-4 | - | - | 6,96 | - | - | 0,63 | - | 7,59 |
В24.8-4 | - | - | 4,64 | - | - | 0,41 | - | 5,05 |
В28.24-1 | - | 8,22 | - | - | - | 1,07 | - | 9,29 |
В28.12-1 | - | 3,29 | - | - | - | 0,41 | - | 3,7 |
В28.8-1 | - | 2,46 | - | - | - | 0,3 | - | 2,76 |
В28.24-2 | - | - | 13,48 | - | - | 1,13 | - | 14,61 |
В28.12-2 | - | - | 6,42 | - | - | 0,52 | - | 6,94 |
В28.8-2 | - | - | 4,49 | - | - | 0,35 | - | 4,84 |
В28.24-3 | - | - | 14,31 | - | - | 1,07 | - | 15,38 |
В28.12-3 | - | - | 6,44 | - | - | 0,46 | - | 6,9 |
В28.8-3 | - | - | 4,29 | - | - | 0,3 | - | 4,59 |
В28.24-4 | - | - | - | - | 28,03 | 1,07 | - | 29,1 |
В28.12-4 | - | - | - | - | 12,61 | 0,46 | - | 13,07 |
В28.8-4 | - | - | - | - | 8,41 | 0,3 | - | 8,71 |
В32.12-1 | - | 3,07 | - | - | - | 0,41 | - | 3,48 |
В32.8-1 | - | 2,3 | - | - | - | 0,3 | - | 2,6 |
В32.12-2 | - | - | - | 8,31 | - | 0,46 | - | 8,77 |
В32.8-2 | - | - | - | 5,54 | - | 0,3 | - | 5,84 |
В32.12-3 | - | - | - | - | 14,01 | 0,52 | - | 14,53 |
В32.8-3 | - | - | - | - | 9,8 | 0,35 | - | 10,15 |

Марка блока | Марка сетки | Размеры, мм | Масса блока, кг | |||||
b1 | l1 | b2 | l2 | b3 | l3 | |||
АБ20.30-1 | Н20.30-1 | 1940 | 2940 | - | - | 600 | 25 | 15,6 |
В20.30-1 | - | - | 740 | 2890 | ||||
АБ20.24-1 | Н20.24-1 | 1940 | 2340 | - | - | 25 | 12,47 | |
В20.24-1 | - | - | 740 | 2290 | ||||
АБ20.12-1 | Н20.12-1 | 1940 | 1140 | - | - | 25 | 6,19 | |
В20.12-1 | - | - | 740 | 1090 | ||||
АБ20.8-1 | Н20.8-1 | 1940 | 740 | - | - | 30 | 4,04 | |
В20.8-1 | - | - | 740 | 640 | ||||
АБ20.30-2 | Н20.30-2 | 1940 | 2940 | - | - | 580 | 25 | 25,16 |
В20.30-2 | - | - | 780 | 2890 | ||||
АБ20.24-2 | Н20.24-2 | 1940 | 2340 | - | - | 25 | 20,12 | |
В20.24-2 | - | - | 780 | 2290 | ||||
АБ20.12-2 | Н20.12-2 | 1940 | 1140 | - | - | 25 | 10,02 | |
В20.12-2 | - | - | 780 | 1090 | ||||
АБ20.8-2 | Н20.8-2 | 1940 | 740 | - | - | 30 | 6,57 | |
В20.8-2 | - | - | 780 | 640 | ||||
АБ20.30-3 | Н20.30-3 | 1940 | 2940 | - | - | 600 | 25 | 36,85 |
В20.30-3 | - | - | 740 | 2890 | ||||
АБ20.24-3 | Н20.24-3 | 1940 | 2340 | - | - | 25 | 29,48 | |
В20.24-3 | - | - | 740 | 2290 | ||||
АБ20.12-3 | Н20.12-3 | 1940 | 1140 | - | - | 25 | 14,69 | |
В20.12-3 | - | - | 740 | 1090 | ||||
АБ20.8-3 | Н20.8-3 | 1940 | 740 | - | - | 30 | 9,7 | |
В20.8-3 | - | - | 740 | 640 | ||||
АБ20.30-4 | Н20.30-4 | 1940 | 2940 | - | - | 400 | 25 | 50,04 |
В20.30-4 | - | - | 1140 | 2890 | ||||
АБ20.24-4 | Н20.24-4 | 1940 | 2340 | - | - | 25 | 39,99 | |
В20.24-4 | - | - | 1140 | 2290 | ||||
АБ20.12-4 | Н20.12-4 | 1940 | 1140 | - | - | 25 | 19,95 | |
В20.12-4 | - | - | 1140 | 1090 | ||||
АБ20.8-4 | Н20.8-4 | 1940 | 740 | - | - | 30 | 13,0 | |
В20.8-4 | - | - | 1140 | 640 | ||||
АБ24.30-1 | Н24.30-1 | 2340 | 2940 | - | - | 700 | 180 | 27,44 |
В24.30-1 | - | - | 940 | 2540 | ||||
АБ24.24-1 | Н24.24-1 | 2340 | 2340 | - | - | 180 | 21,8 | |
В24.24-1 | - | - | 940 | 1940 | ||||
АБ24.12-1 | Н24.12-1 | 2340 | 1140 | - | - | 150 | 10,69 | |
В24.12-1 | - | - | 940 | 840 | ||||
АБ24.8-1 | Н24.8-1 | 2340 | 740 | - | - | 80 | 7,1 | |
В24.8-1 | - | - | 940 | 540 | ||||
АБ24.30-2 | Н24.30-2 | 2340 | 2940 | - | - | 700 | 80 | 43,86 |
В24.30-2 | - | - | 940 | 2740 | ||||
АБ24.24-2 | Н24.24-2 | 2340 | 2340 | - | - | 80 | 34,97 | |
В24.24-2 | - | - | 940 | 2140 | ||||
АБ24.12-2 | Н24.12-2 | 2340 | 1140 | - | - | 50 | 17,44 | |
В24.12-2 | - | - | 940 | 1040 | ||||
АБ24.8-2 | Н24.8-2 | 2340 | 740 | - | - | 50 | 11,52 | |
В24.8-2 | - | - | 940 | 640 | ||||
АБ24.30-3 | Н24.30-3 | 2340 | 2940 | - | - | 630 | 80 | 67,09 |
В24.30-3 | - | - | 1080 | 2740 | ||||
АБ24.24-3 | Н24.24-3 | 2340 | 2340 | - | - | 80 | 53,48 | |
В24.24-3 | - | - | 1080 | 2140 | ||||
АБ24.12-3 | Н24.12-3 | 2340 | 1140 | - | - | 80 | 26,27 | |
В24.12-3 | - | - | 1080 | 940 | ||||
АБ24.8-3 | Н24.8-3 | 2340 | 740 | - | - | 50 | 17,62 | |
В24.8-3 | - | - | 1080 | 640 | ||||
АБ24.30-4 | Н24.30-4 | 2340 | 2940 | - | - | 630 | 20 | 73,4 |
В24.30-4 | - | - | 1080 | 2940 | ||||
АБ24.24-4 | Н24.24-4 | 2340 | 2340 | - | - | 20 | 58,7 | |
В24.24-4 | - | - | 1080 | 2340 | ||||
АБ24.12-4 | Н24.12-4 | 2340 | 1140 | - | - | 20 | 29,31 | |
В24.12-4 | - | - | 1080 | 1140 | ||||
АБ24.8-4 | Н24.8-4 | 2340 | 740 | - | - | 20 | 19,51 | |
В24.8-4 | - | - | 1080 | 740 | ||||
АБ28.24-1 | Н28.24-1 | 2740 | 2340 | - | - | 800 | 180 | 32,01 |
В28.24-1 | - | - | 1140 | 1940 | ||||
АБ28.12-1 | Н28.12-1 | 2740 | 1140 | - | - | 180 | 15,03 | |
В28.12-1 | - | - | 1140 | 740 | ||||
АБ28.8-1 | Н28.8-1 | 2740 | 740 | - | - | 80 | 10,3 | |
В28.8-1 | - | - | 1140 | 540 | ||||
АБ28.24-2 | Н28.24-2 | 2740 | 2340 | - | - | 800 | 180 | 50,37 |
В28.24-2 | - | - | 1140 | 2040 | ||||
АБ28.12-2 | Н28.12-2 | 2740 | 1140 | - | - | 80 | 24,8 | |
В28.12-2 | - | - | 1140 | 940 | ||||
АБ28.8-2 | Н28.8-2 | 2740 | 740 | - | - | 30 | 16,72 | |
В28.8-2 | - | - | 1140 | 640 | ||||
АБ28.24-3 | Н28.24-3 | 2740 | 2340 | - | - | 690 | 180 | 79,86 |
В28.24-3 | - | - | 1360 | 1940 | ||||
АБ28.12-3 | Н28.12-3 | 2740 | 1140 | - | - | 150 | 39,12 | |
В28.12-3 | - | - | 1360 | 840 | ||||
АБ28.8-3 | Н28.8-3 | 2740 | 740 | - | - | 80 | 26,05 | |
В28.8-3 | - | - | 1360 | 540 | ||||
АБ28.24-4 | Н28.24-4 | 2740 | 2340 | - | - | 690 | 180 | 97,06 |
В28.24-4 | - | - | 1360 | 1940 | ||||
АБ28.12-4 | Н28.12-4 | 2740 | 1140 | - | - | 150 | 47,02 | |
В28.12-4 | - | - | 1360 | 840 | ||||
АБ28.8-4 | Н28.8-4 | 2740 | 740 | - | - | 80 | 31,33 | |
В28.8-4 | - | - | 1360 | 540 | ||||
АБ32.12-1 | Н32.12-1 | 3140 | 1140 | - | - | 970 | 170 | 23,24 |
В32.12-1 | - | - | 1200 | 740 | ||||
АБ32.8-1 | Н32.8-1 | 3140 | 740 | - | - | 70 | 15,76 | |
В32.8-1 | - | - | 1200 | 540 | ||||
АБ32.12-2 | Н32.12-2 | 3140 | 1140 | - | - | 950 | 150 | 37,41 |
В32.12-2 | - | - | 1240 | 840 | ||||
АБ32.8-2 | Н32.8-2 | 3140 | 740 | - | - | 70 | 24,89 | |
В32.8-2 | - | - | 1240 | 540 | ||||
АБ32.12-3 | Н32.12-3 | 3140 | 1140 | - | - | 890 | 70 | 53,03 |
В32.12-3 | - | - | 1360 | 940 | ||||
АБ32.8-3 | Н32.8-3 | 3140 | 740 | - | - | 30 | 35,81 | |
В32.8-3 | - | - | 1360 | 640 | ||||
Марка монтажной петли | Чертеж | Диаметр, мм, класс | Размеры монтажной петли, мм | Длина, мм | Масса, кг | Нормативное усилие, кН (кгс) | |
а4 | а5 | ||||||
М8-100 | ![]() | 8АI | 180 | 130 | 550 | 0,22 | 2,94 (300) |
М10-150 | 10АI | 230 | 165 | 700 | 0,43 | 6,86 (700) | |
М12-150 | 12АI | 710 | 0,63 | 10,79 (1100) | |||
М14-150 | 14АI | 730 | 0,90 | 14,71 (1500) | |||
М16-200 | 16АI | 280 | 200 | 880 | 1,39 | 19,61 (2000) | |