Главная // Актуальные документы // ГОСТ (Государственный стандарт)СПРАВКА
Источник публикации
М.: Стандартинформ, 2018
Примечание к документу
Текст данного документа приведен с учетом
поправки, введенной в действие с 23.08.2021, опубликованной в "ИУС", N 1, 2022.
Документ
введен в действие с 01.02.2019.
Название документа
"ГОСТ 7566-2018. Межгосударственный стандарт. Металлопродукция. Правила приемки, маркировка, упаковка, транспортирование и хранение"
(введен в действие Приказом Росстандарта от 22.08.2018 N 512-ст)
"ГОСТ 7566-2018. Межгосударственный стандарт. Металлопродукция. Правила приемки, маркировка, упаковка, транспортирование и хранение"
(введен в действие Приказом Росстандарта от 22.08.2018 N 512-ст)
агентства по техническому
регулированию и метрологии
от 22 августа 2018 г. N 512-ст
МЕЖГОСУДАРСТВЕННЫЙ СТАНДАРТ
МЕТАЛЛОПРОДУКЦИЯ
ПРАВИЛА ПРИЕМКИ, МАРКИРОВКА, УПАКОВКА,
ТРАНСПОРТИРОВАНИЕ И ХРАНЕНИЕ
Metal products. Acceptance, marking, packing,
transportation and storage
ГОСТ 7566-2018
Дата введения
1 февраля 2019 года
Цели, основные принципы и основной порядок проведения работ по межгосударственной стандартизации установлены в
ГОСТ 1.0-2015 "Межгосударственная система стандартизации. Основные положения" и
ГОСТ 1.2-2015 "Межгосударственная система стандартизации. Стандарты межгосударственные, правила и рекомендации по межгосударственной стандартизации. Правила разработки, принятия, обновления и отмены"
1 РАЗРАБОТАН Федеральным государственным унитарным предприятием "Центральный научно-исследовательский институт черной металлургии им. И.П. Бардина" (ФГУП "ЦНИИчермет им. И.П. Бардина")
2 ВНЕСЕН Межгосударственным техническим комитетом по стандартизации МТК 120 "Чугун, сталь, прокат"
3 ПРИНЯТ Межгосударственным советом по стандартизации, метрологии и сертификации (протокол от 27 июля 2018 г. N 110-П)
За принятие проголосовали:
Краткое наименование страны по МК (ИСО 3166) 004-97 | Код страны по МК (ИСО 3166) 004-97 | Сокращенное наименование национального органа по стандартизации |
Азербайджан | AZ | Азстандарт |
Беларусь | BY | Госстандарт Республики Беларусь |
Киргизия | KG | Кыргызстандарт |
Россия | RU | Росстандарт |
Узбекистан | UZ | Узстандарт |
4
Приказом Федерального агентства по техническому регулированию и метрологии от 22 августа 2018 г. N 512-ст межгосударственный стандарт ГОСТ 7566-2018 введен в действие в качестве национального стандарта Российской Федерации с 1 февраля 2019 г.
Информация об изменениях к настоящему стандарту публикуется в ежегодном информационном указателе "Национальные стандарты", а текст изменений и поправок - в ежемесячном информационном указателе "Национальные стандарты". В случае пересмотра (замены) или отмены настоящего стандарта соответствующее уведомление будет опубликовано в ежемесячном информационном указателе "Национальные стандарты". Соответствующая информация, уведомление и тексты размещаются также в информационной системе общего пользования - на официальном сайте Федерального агентства по техническому регулированию и метрологии в сети Интернет (www.gost.ru)
Настоящий стандарт разработан взамен межгосударственного стандарта
ГОСТ 7566-94 с целью актуализации требований к правилам приемки, маркировке, упаковке, транспортированию и хранению металлопродукции.
При разработке стандарта проанализированы требования международных стандартов ISO 404:2013 "Сталь и стальная продукция. Общие технические условия поставки" и ISO 10474:2013 "Сталь и стальная продукция. Документы о приемке".
В стандарт включены виды документов о качестве, аналогичные приведенным в стандарте ISO 10474:2013.
Настоящий стандарт устанавливает требования к правилам приемки, маркировке, упаковке, транспортированию и хранению следующих видов металлопродукции из черных металлов и сплавов:
- блюмы, слябы, слитки и заготовки горячекатаные, кованые, непрерывнолитые;
- прокат плоский в листах, рулонах, в том числе полученный путем продольной резки (горячекатаного, холоднокатаного, с металлическими и полимерными покрытиями) и лента, в том числе из электротехнической анизотропной и изотропной стали;
- прокат сортовой (в том числе катанка), арматурный, фасонный, калиброванный (холоднотянутый), круглый со специальной отделкой поверхности, шлифованный;
- гнутые профили;
- проволока.
Настоящий стандарт не распространяется на трубные изделия и профили гнутые замкнутые сварные, к которым применимы требования к правилам приемки, маркировке, упаковке, транспортированию и хранению по
ГОСТ 10692.
В настоящем стандарте использованы нормативные ссылки на следующие межгосударственные стандарты:
ГОСТ 9.014-78 Единая система защиты от коррозии и старения. Временная противокоррозионная защита изделий. Общие требования
ГОСТ 15.309-98 Система разработки и постановки продукции на производство. Испытания и приемка выпускаемой продукции. Основные положения
ГОСТ 515-77 Бумага упаковочная битумированная и дегтевая. Технические условия
ГОСТ 2695-83 Пиломатериалы лиственных пород. Технические условия
ГОСТ 2991-85 Ящики дощатые неразборные для грузов массой до 500 кг. Общие технические условия
ГОСТ 3282-74 Проволока стальная низкоуглеродистая общего назначения. Технические условия
ГОСТ 3560-73 Лента стальная упаковочная. Технические условия
ГОСТ 5530-2004 Ткани упаковочные и технического назначения из лубяных волокон. Общие технические условия
ГОСТ 5632-2014 Легированные нержавеющие стали и сплавы коррозионно-стойкие, жаростойкие и жаропрочные. Марки
ГОСТ 6009-74 Лента стальная горячекатаная. Технические условия
ГОСТ 8486-86 Пиломатериалы хвойных пород. Технические условия
ГОСТ 8828-89 Бумага-основа и бумага двухслойная водонепроницаемая упаковочная. Технические условия
ГОСТ 9998-86 Пленки поливинилхлоридные пластифицированные бытового назначения. Общие технические условия
ГОСТ 10198-91 Ящики деревянные для грузов массой св. 200 до 20 000 кг. Общие технические условия
ГОСТ 10692-2015 Трубы стальные, чугунные и соединительные детали к ним. Приемка, маркировка, упаковка, транспортирование и хранение
ГОСТ 15150-69 Машины, приборы и другие технические изделия. Исполнения для различных климатических районов. Категории, условия эксплуатации, хранения и транспортирования в части воздействия климатических факторов внешней среды
ГОСТ 15846-2002 Продукция, отправляемая в районы Крайнего Севера и приравненные к ним местности. Упаковка, маркировка, транспортирование и хранение
ГОСТ 16272-79 Пленка поливинилхлоридная пластифицированная техническая. Технические условия
ГОСТ 16350-80 Климат СССР. Районирование и статистические параметры климатических факторов для технических целей
ГОСТ 16504-81 Система государственных испытаний продукции. Испытания и контроль качества продукции. Основные термины и определения
ГОСТ 21650-76 Средства скрепления тарно-штучных грузов в транспортных пакетах. Общие требования
ГОСТ 22235-2010 Вагоны грузовые магистральных железных дорог колеи 1520 мм. Общие требования по обеспечению сохранности при производстве погрузочно-разгрузочных и маневровых работ
ГОСТ 26653-2015 Подготовка генеральных грузов к транспортированию. Общие требования
ГОСТ 30136-95 Катанка из углеродистой стали обыкновенного качества. Технические условия
ГОСТ 34028-2016 Прокат арматурный для железобетонных конструкций. Технические условия
Примечание - При пользовании настоящим стандартом целесообразно проверить действие ссылочных стандартов в информационной системе общего пользования - на официальном сайте Федерального агентства по техническому регулированию и метрологии в сети Интернет или по ежегодному информационному указателю "Национальные стандарты", который опубликован по состоянию на 1 января текущего года, и по выпускам ежемесячного информационного указателя "Национальные стандарты" за текущий год. Если ссылочный стандарт заменен (изменен), то при пользовании настоящим стандартом следует руководствоваться заменяющим (измененным) стандартом. Если ссылочный стандарт отменен без замены, то положение, в котором дана ссылка на него, применяется в части, не затрагивающей эту ссылку.
3.1 бандаж, обрешетка: Вспомогательное упаковочное средство, предназначенное для защиты наружной поверхности металлопродукции от механических повреждений.
3.2 внешний рынок: Совокупность потребительских рынков, находящихся за пределами страны - изготовителя металлопродукции, регулируемых международными соглашениями.
3.3 высокопрочная лента: Стальная лента с покрытием или без покрытия с разрывным усилием свыше 600 Н/мм2.
3.4 документ о качестве: Документ, в котором изготовитель удостоверяет, что поставляемая металлопродукция соответствует требованиям нормативных документов или заказа.
Примечание - В зависимости от вида документа о качестве изготовитель приводит или не приводит в нем результаты контроля и испытаний.
3.5 единица металлопродукции: Отдельный экземпляр штучной металлопродукции, который может быть представлен в виде отдельного рулона, мотка, листа, прутка и др.
3.6 заказчик: Юридическое или физическое лицо, сделавшее заказ другой стороне - изготовителю или продавцу металлопродукции.
3.7 инспектирующая организация: Организация, осуществляющая контроль за процессами производства и приемки металлопродукции, а также приемку металлопродукции в соответствии с поручением заказчика или действующим законодательством.
3.8 катанка: Горячекатаная длинномерная металлопродукция с поперечным сечением постоянных размеров от 5 мм по всей длине, получаемая на проволочных или проволочно-сортовых станах, смотанная в мотки, предназначенная для дальнейшей перетяжки, упаковки и других целей.
3.9 контракт: Соглашение между двумя или более сторонами, находящимися в разных странах, по купле-продаже металлопродукции в соответствии с согласованными сторонами условиями и приложением спецификации с перечнем видов металлопродукции.
3.10 контроль неспециальный: Контроль или испытания, осуществляемые изготовителем по его собственным методикам с целью оценки соответствия требованиям нормативных документов и заказа металлопродукции, изготовленной по одному и тому же производственному процессу, при этом периодичность контроля устанавливается изготовителем.
Примечание - Контролируемые единицы металлопродукции, на которых осуществляется неспециальный контроль, могут не принадлежать отгружаемой партии, а быть отобраны от других заказов аналогичного марочного и размерного сортамента.
3.11 контроль специальный: Контроль или испытания, осуществляемые изготовителем перед поставкой с целью оценки соответствия требованиям нормативных документов и заказа металлопродукции, предназначенной для поставки, или контрольной партии, представляющей собой часть поставки.
3.12 лента: Плоская металлопродукция прямоугольного сечения равномерной толщины и шириной менее 500 мм, получаемая путем прокатки или продольной резки и поставляемая, как правило, в рулонах.
3.13 пакет: Пачка листов, упакованная в упаковочный материал (реквизит) сверху и по периметру.
3.14 пачка: Несколько обвязанных заготовок, листов, профилей или прутков.
3.15 поштучно отгружаемая металлопродукция: Металлопродукция, отгружаемая без упаковки (ВУ-1).
3.16 проволока: Длинномерная металлопродукция с поперечным сечением постоянных размеров по всей длине, получаемая путем холодного волочения через обжимной штамп (волоку) или путем прохождения под давлением между валками.
3.17 прокат листовой: Плоская катаная металлопродукция, обычно прямоугольного сечения, со свободной деформацией кромки, с кромкой в состоянии поставки или обрезанной на ножницах или огневой (плазменной) или другой резкой.
3.18 заготовки: Блюмы, слябы, слитки и заготовки горячекатаные, кованые, непрерывнолитые.
3.19 листы: Прокат в листах, прокат широкополосный универсальный и лента в отрезках.
3.20 мотки: Катанка, прокат сортовой (кроме сортового полосового), в том числе калиброванный, со специальной отделкой поверхности (кроме шлифованного), специальные фасонные профили, проволока, смотанная по окружности или намотанная на катушки, лента многорядовая.
3.21 полосы: Прокат сортовой полосовой.
3.22 профили: Прокат фасонный и гнутые профили.
3.23 прутки: Прокат сортовой (кроме сортового полосового), в том числе калиброванный, со специальной отделкой поверхности, шлифованный, прутки кованые, поставляемые в прямолинейных отрезках.
3.24 рулоны: Прокат листовой в рулонах и лента в рулонах.
4.1.1 Приемку металлопродукции осуществляют партиями.
4.1.2 Определение партии, объем контроля и испытаний, методы отбора проб, образцов устанавливают в нормативных документах на конкретные виды металлопродукции.
Проверку качества и приемку партии металлопродукции проводит изготовитель.
Если иное не оговорено в нормативных документах на металлопродукцию или в заказе, при контроле качества поверхности металлопродукции, поставляемой в мотках или рулонах, партию считают соответствующей установленным требованиям, если масса участков с несоответствующим качеством поверхности не превышает 2% массы партии.
При обнаружении дефектных участков на поверхности металлопродукции и их предъявлении изготовитель должен компенсировать заказчику такое же количество качественной металлопродукции. По согласованию изготовителя с заказчиком допускается компенсация другими способами.
Массу участков металлопродукции с дефектами определяют взвешиванием.
Для металлопродукции, поставляемой в рулонах, изготовителю и заказчику допускается определение массы таких участков проводить по методике, приведенной в
приложении А, если не согласована иная методика.
4.1.3 При получении неудовлетворительных результатов испытаний партия металлопродукции по решению изготовителя может быть подвергнута повторным испытаниям в соответствии с
4.2 или доработке с последующим предъявлением на повторную приемку.
4.2.1 Если иное не установлено в нормативных документах на поставку металлопродукции, то при получении неудовлетворительных результатов испытаний при выборочном контроле партии по любому показателю по этому показателю проводят повторные испытания согласно одной из следующих схем, указываемых по требованию заказчика в документе о качестве:
- схема 1 - на пробах, образцах, отобранных от удвоенного количества единиц металлопродукции в партии, не проходивших первичные испытания.
При получении удовлетворительных результатов повторных испытаний все единицы металлопродукции, входящие в партию, считают соответствующими установленным требованиям, за исключением единиц металлопродукции, не выдержавших первичные испытания;
- схема 2 - на пробах, образцах, отобранных от удвоенного количества единиц металлопродукции в партии, не проходивших первичные испытания, а также на удвоенном количестве проб, образцов, отобранных от единиц металлопродукции, не выдержавших первичные испытания.
При получении удовлетворительных результатов повторных испытаний все единицы металлопродукции, входящие в партию, считают соответствующими установленным требованиям.
При получении неудовлетворительных результатов повторных испытаний единиц металлопродукции, не выдержавших первичные испытания, эти единицы металлопродукции считают не соответствующими установленным требованиям и в партию не включаются.
4.2.2 Допускается проводить сплошной контроль по показателям выборочного контроля, по которым эти испытания не выдержаны в следующих случаях:
- при отсутствии возможности отбора удвоенного количества единиц металлопродукции для повторного контроля, за исключением единиц металлопродукции, не выдержавших первичные испытания;
- при получении неудовлетворительных результатов повторных испытаний, за исключением единиц металлопродукции, не выдержавших первичные и повторные испытания.
4.2.3 Если иное не установлено в нормативных документах на конкретные виды металлопродукции, то при получении неудовлетворительных результатов испытаний при сплошном контроле по любому показателю по нему проводят повторные испытания на удвоенном количестве проб, образцов, отобранных от единиц металлопродукции, не выдержавших первичные испытания.
При получении удовлетворительных результатов повторных испытаний единицы металлопродукции, не выдержавшие первичные испытания, считают соответствующими установленным требованиям.
При получении неудовлетворительных результатов повторных испытаний единицы металлопродукции считаются несоответствующими установленным требованиям.
4.2.4 При получении неудовлетворительных результатов повторных испытаний при выборочном или сплошном контроле, а также при получении неудовлетворительных результатов первичных испытаний при сплошном контроле у изготовителя допускается подвергать металлопродукцию повторной термической обработке (если термическая обработка проводилась в соответствии с заказом) и предъявлять ее к повторной приемке как новую партию.
4.2.5 При получении неудовлетворительных результатов контроля химического состава стали по ковшовой пробе контроль химического состава стали изготовителем может быть проведен на пробе, отобранной от готовой металлопродукции с определением массовой доли всех элементов. В документе о качестве в этом случае в строке результатов химического анализа дополнительно указывают фразу: "В готовой металлопродукции".
4.3.1 Каждую отгружаемую партию металлопродукции сопровождают документом о качестве с обозначением его в соответствии с
приложением Б. Вид документа о качестве оговаривают в заказе. Если в заказе не указано, то вид документа о качестве выбирает изготовитель, если иное не оговорено в нормативном документе на поставку металлопродукции.
4.3.2 Допускается при одновременной поставке одному заказчику нескольких партий металлопродукции, отгружаемых в один вагон или одно транспортное средство, оформление одного документа о качестве, содержащего все необходимые данные о каждой партии металлопродукции.
5.1.1 Металлопродукция должна иметь маркировку, содержащую идентификационные данные в соответствии с нормативными документами.
5.1.2 Если в нормативном документе на металлопродукцию не указано иное, то маркировку наносят по одному из следующих вариантов:
- если металлопродукция не подлежит упаковке - непосредственно на поверхность каждой единицы металлопродукции или на прикрепляемую к ней этикетку;
- если металлопродукция упакована в пачки, пакеты, мотки, рулоны, связки мотков и стопы рулонов - на ярлык.
Допускается наносить дополнительную маркировку непосредственно на каждую единицу металлопродукции, упакованную в пачки или пакеты.
5.1.3 Если иное не оговорено в документе на поставку металлопродукции, то вариант нанесения маркировки в зависимости от вида металлопродукции и ее размеров принимается по
таблице 1.
Таблица 1
Варианты нанесения маркировки в зависимости от вида
металлопродукции и ее размеров
Вид металлопродукции | Вариант нанесения маркировки для металлопродукции размером |
непосредственно на каждую единицу металлопродукции или этикетку | на ярлык |
Заготовки | Номинальным размером до 250 мм включ. |
Номинальным размером свыше 250 мм | + |
Листы | Толщиной 4 мм и более | Толщиной до 4 мм |
Рулоны, стопы рулонов | + | Всех размеров по толщине в соответствии с нормативными документами на требования к сортаменту |
Прутки, полосы | Номинальным размером (диаметр, диаметр вписанного круга, сторона квадрата, толщина полосы) 30 мм и более |
+ | Номинальным размером (диаметр, диаметр вписанного круга, сторона квадрата, толщина полосы) до 30 мм |
Мотки, связки мотков | + | Всех номинальных размеров поперечного сечения в соответствии с нормативными документами на требования к сортаменту |
Профили | Всех номеров (типов) профилей |
Примечания 1 Знак "+" означает, что данный вариант маркировки применяется по согласованию изготовителя с заказчиком. 2 Допускается маркировать каждый лист толщиной до 4,0 мм и каждый пруток номинальным размером до 30 мм. 3 Если иное не оговорено в заказе, для заготовок номинальным размером до 250 мм включительно, прутков и полос номинальным размером 30 мм и более, а также профилей вариант нанесения маркировки выбирает изготовитель. |
5.1.4 Для маркировки металлопродукции применяют металлические, пластмассовые, самоклеящиеся и деревянные ярлыки, этикетки из водостойкой пленки или из других синтетических материалов. Материалы ярлыка и этикетки должны обеспечивать их сохранность и сохранность нанесенной на них маркировки, в том числе при транспортировании и разгрузке в условиях всех климатических районов по
ГОСТ 16350.
5.1.5 Рекомендуется применять этикетки и ярлыки с соотношением размеров сторон от 1:1 до 1:2 и площадью не менее 24 см2.
Ярлыки могут иметь отверстия для их крепления проволокой или лентой, расположенные на расстоянии не менее 5 мм от края.
5.1.6 Маркировку наносят одним из следующих способов или их сочетанием:
- клеймением (ручным или машинным);
- накаткой;
- электрографическим;
- краской;
- непрозрачным лаком или чернилами;
- наклеиванием этикеток;
- прикреплением ярлыков;
- прокаткой (прокатная маркировка).
Допускается нанесение маркировки другими способами и/или дополнительной нетекстовой маркировки в виде штрихкода, QR-кода или цветовой маркировки.
Способ нанесения маркировки выбирает изготовитель, если иное не указано в нормативных документах на поставку металлопродукции или в заказе.
5.1.7 Маркировка должна быть четкой и несмываемой. Рекомендуемая высота знаков маркировки - не менее 3 мм, ширина - не менее 1 мм. На этикетках, ярлыках при необходимости нанесения дополнительной информации высота знаков маркировки должна быть не менее 2 мм, ширина - не менее 1 мм. В маркировке непосредственно на поверхности заготовок, профилей и прутков размером сечения более 60 мм и ленты шириной более 50 мм высота знаков маркировки должна быть не менее 4 мм, ширина - не менее 2 мм.
При маркировке краской рекомендуется высота знаков маркировки до 100 мм и ширина - до 70 мм.
Между изготовителем и заказчиком при необходимости может быть согласована глубина маркировки металлопродукции клеймением.
5.1.8 По согласованию изготовителя с заказчиком производится дополнительная цветовая маркировка краской.
Цветовую маркировку краской наносят на торец единицы металлопродукции или на конец пачки металлопродукции в соответствии с требованиями нормативных документов на поставку металлопродукции из стали конкретных марок.
5.1.9 Для арматурного проката допускается прокатная маркировка. Конкретные требования к прокатной маркировке должны оговариваться в нормативных документах на поставку металлопродукции.
5.1.10 На обратную сторону рулонной металлопродукции с односторонним полимерным покрытием наносят обязательную пошаговую маркировку. Конкретные требования в обязательной пошаговой маркировке должны оговариваться в нормативных документах на поставку металлопродукции.
5.1.12 Маркировку металлопродукции, поставляемой на внешний рынок, рекомендуется выполнять:
- на поверхности металлопродукции или этикетке - на языке, указанном в заказе на поставку; в случае отсутствия указаний - на языке изготовителя и/или на английском языке;
- на ярлыке - на языке изготовителя и языке, указанном в заказе на поставку, а в случае отсутствия указаний - на языке изготовителя и/или на английском языке.
Маркировка может дополнительно к указанному в
5.2.4 и
5.3.1 содержать:
- наименование экспортирующей организации;
- номер контракта и/или заказа (спецификации).
5.1.13 По согласованию изготовителя с заказчиком содержание маркировки может изменяться.
5.2 Маркировка, наносимая непосредственно на металлопродукцию или этикетку, при поставке поштучно
5.2.1 Маркировку наносят:
- на расстоянии не более 500 мм от торца заготовки, прутка, полосы, профиля, листа, рулона (на наружной поверхности его верхнего витка) или боковой кромки листа;
- на торце заготовки, прутка, листа, рулона, если это позволяет размер их поперечного сечения.
5.2.2 Допускается при механизированной маркировке в потоке наносить маркировку:
- на другом расстоянии от торца металлопродукции, от торца или боковой кромки листа;
- на боковую кромку верхнего листа каждого пакета, если это позволяет толщина листа.
5.2.3 На листах, а по требованию заказчика и на других видах металлопродукции, место маркировки, нанесенной клеймением, должно быть обведено краской, непрозрачным лаком или битумом.
5.2.4 Если в нормативном документе на поставку металлопродукции или в заказе не указано иное, то маркировка, наносимая непосредственно на металлопродукцию или этикетку, должна содержать:
а) товарный знак и/или наименование изготовителя;
б) марку стали/наименование стали и/или класс прочности. Допускается взамен марки стали указывать ее условное обозначение с его расшифровкой в документе о качестве, если это оговорено в нормативном документе на поставку металлопродукции;
в) сведения о категориях металлопродукции по нормируемым характеристикам (при наличии их в нормативных документах на конкретные виды металлопродукции), если нанесение согласовано в заказе;
г) номер плавки или ее условное обозначение с указанием расшифровки в документе о качестве;
д) номер партии (при делении плавки на партии);
е) номинальный размер (диаметр, диаметр вписанного круга, сторона квадрата, толщина, ширина, длина - по согласованию изготовителя с заказчиком), номер (тип) профиля, а при необходимости другие размеры сечения;
ж) информацию (знак) об оценке соответствия (сертификации или декларирования):
1) для металлопродукции, подлежащей обязательной сертификации (декларированию), в соответствии с техническими регламентами Таможенного союза или государств, принявших настоящий стандарт;
2) при наличии у изготовителя добровольных сертификатов соответствия - по усмотрению изготовителя.
По согласованию изготовителя с заказчиком допускается изменение информации или нанесение дополнительной информации. Конкретные требования по изменению информации и дополнительной информации должны согласовываться в момент оформления заказа.
5.2.4.1 По согласованию изготовителя с заказчиком (указывается в заказе) полную маркировку на металлопродукцию допускается наносить на каждую десятую единицу металлопродукции, но не менее чем на две единицы металлопродукции в вагоне. В этом случае на остальные единицы металлопродукции наносят: номер плавки, марку стали и/или класс прочности, на каждый сляб - габаритные размеры.
5.3 Маркировка, наносимая на ярлык
5.3.1 Маркировка, наносимая на ярлык, по требованию заказчика дополнительно к информации, указанной в
5.2.4, должна содержать:
- массу нетто (фактическую) пачки, пакета, мотка, рулона или связки мотков и стопы рулонов;
- массу брутто [масса упаковочных материалов (реквизитов) и металлопродукции] пачки, пакета, мотка, рулона или связки мотков и стопы рулонов.
По согласованию изготовителя с заказчиком допускается изменение информации или нанесение дополнительной информации. Конкретные требования по изменению информации и дополнительной информации должны согласовываться в момент оформления заказа.
5.3.2 Если в нормативном документе не указано иное, на металлопродукцию в пачках, пакетах, мотках, рулонах навешивают два ярлыка. Допускается на металлопродукцию в мотках навешивать один ярлык.
К пачкам, пакетам, рулонам ярлыки прикрепляют по одному на каждый конец.
На металлопродукцию в связках мотков или стопах рулонов навешивают по одному ярлыку на каждый из мотков или рулонов и один ярлык на связку мотков или стопу рулонов. Ярлыки прикрепляют со стороны, удобной для просмотра, или помещают в специальный карман.
5.3.3 По согласованию изготовителя с заказчиком (при оформлении заказа) на металлопродукцию в пачках, пакетах длиной до 6 м включительно навешивают один ярлык.
5.3.4 Если в нормативных документах на поставку или при оформлении заказа установлена необходимость поштучной маркировки для металлопродукции в пачках, то на пачку навешивают не менее одного ярлыка.
Допускается поштучная маркировка металлопродукции, увязанной в пачки, при этом на пачку навешивают не менее одного ярлыка.
5.3.5 Ярлыки должны быть прочно прикреплены к металлопродукции.
6.1 Виды тары, упаковочных средств, материалов (реквизитов) и специальных изделий для упаковки
6.1.1 В качестве тары используют следующие средства:
- металлические и пластиковые пакеты (поддоны, ящики);
- деревянные и пластиковые ящики (поддоны, бруски);
- поддоны транспортные (для крепления грузов при транспортировании по железной дороге);
- другие виды тары.
6.1.2 В качестве упаковочных средств и материалов используются:
- обвязка (лента, катанка и проволока);
- упаковочная тарная ткань;
- нетканые материалы;
- упаковочная бумага, синтетические пленки;
- упаковочные листовые материалы (стальные, пластиковые и т.д.);
- специальные изделия для упаковки (деревянные и пластиковые бандажи и обрешетки, защитные подкладки на кромки, подкладки под обвязку, торцевые кольца для рулонной металлопродукции, уголки, швеллеры для защиты кромок, короба, картонные шпули, обечайки, металлические или пластиковые катушки, вспомогательные упаковочные средства);
- другие виды упаковочных средств и материалов.
6.1.3 Требования к обвязке
Для обвязки применяют следующие средства:
Рекомендуется использовать для обвязки высокопрочную ленту размерами: 0,8 x 19 мм, 0,8 x 25 мм, 0,8 x 32 мм, 1,0 x 30 мм или 1,0 x 32 мм; ленту полиэстровую (ПЭТ-лента) толщиной от 0,9 до 1,3 мм и шириной до 32 мм и ленту из других неметаллических материалов и других размеров, обеспечивающих прочность обвязки не менее, чем при обвязке лентой по
ГОСТ 3560,
ГОСТ 6009, катанкой по
ГОСТ 30136 или проволокой по
ГОСТ 3282.
Примечание - Рекомендуемые типы лент, применяемых для обвязки, и их механические характеристики приведены в
приложении В; типы лент, применяемых в зависимости от вида металлопродукции, - в
приложении Г; типы лент, применяемых в зависимости от назначения, - в
приложении Д.
Допускается применение обвязочных материалов других размеров и потребительских характеристик, обеспечивающих прочность обвязки.
Выбор размера средства упаковки зависит от объема и массы металлопродукции, подлежащей упаковке.
Концы упаковочной ленты при обвязке следует соединять с помощью замков, просечки (беззамковый тип соединения), точечного сварного шва или любым другим способом, обеспечивающим прочность соединения. Натяжка упаковочных лент должна обеспечивать плотность упаковок и товарный вид скреплений.
При ручной обвязке укрутка концов катанки или проволоки должна быть прочной, не менее чем в два-три оборота.
Обвязку с помощью вязальных машин проводят не менее чем в один оборот, концы катанки или проволоки соединяют с помощью контактной сварки или укруткой не менее чем в два оборота. Средства скрепления должны соответствовать требованиям
ГОСТ 21650.
Концы проволочных обвязок после укрутки должны быть прижаты к металлопродукции и иметь длину не более 150 мм.
Не допускается использование обвязок для захвата груза при перегрузочных операциях.
6.2 Общие требования по упаковке металлопродукции
6.2.1 Если в нормативном документе на поставку металлопродукции или в заказе не указано иное, металлопродукция в зависимости от вида и размеров поставляется поштучно или в упакованном виде в соответствии с условиями поставки (далее - ВУ), указанными в
таблице 2. Обозначение условий поставки должно быть оговорено в заказе. При отсутствии в заказе обозначения условие поставки в соответствии с
таблицей 2 выбирает изготовитель и указывает в документе о качестве.
Таблица 2
Условия поставки металлопродукции
Наименование металлопродукции | Условия поставки |
ВУ-1 | ВУ-2 | ВУ-3 | ВУ-4 | ВУ-5 | ВУ-6 |
Поштучно (без упаковки) | Обвязка | Комбинированная упаковка из различных упаковочных материалов, обвязка | Комбинированная упаковка, включающая внутреннюю (обвязка, один или несколько слоев антикоррозионной бумаги/пленки, уголки) и внешнюю (защитные листы, обрешетка деревянная, диски, уголки) обвязку | То же, что и ВУ-4, с креплением на поддон (для рулонов с вертикальной осью) | То же, что и ВУ-4, с помещением в ящик, контейнер |
Листы толщиной св. 6 мм, прутки и заготовки номинальным размером поперечного сечения 250 мм и более | + | - | - | - | - | - |
Прутки, полосы и заготовки номинальным размером поперечного сечения св. 100 до 250 мм и профили с наибольшей длиной стороны сечения св. 100 мм | + | + | - | - | - | - |
Прутки, полосы, заготовки и профили номинальным размером поперечного сечения 100 мм и менее, холоднотянутые профили из горячекатаной нетравленой заготовки | | + | + | + | - | - |
Металлопродукция горячекатаная нетравленая (листы, рулоны, лента) | + | + | + | + | - | - |
Металлопродукция горячекатаная травленая, оцинкованная (листы, рулоны, лента) | - | + | + | + | - | - |
Металлопродукция холоднокатаная, оцинкованная, с полимерным покрытием (листы, рулоны, лента) | - | - | + | + | + | + |
Металлопродукция холоднокатаная из электротехнической анизотропной стали (рулоны, лента) | - | - | - | + | + | + |
Металлопродукция холоднокатаная из электротехнической изотропной стали (рулоны, лента) | - | - | + | + | + | + |
Прутки и мотки калиброванные, шлифованные, со специальной отделкой поверхности из коррозионно-стойкой стали, горячекатаные листы и рулоны толщиной до 6 мм включ. из коррозионно-стойкой стали травленые | - | - | - | + | + | + |
Прутки и мотки калиброванные, шлифованные, со специальной отделкой поверхности, горячекатаные листы и рулоны толщиной до 6 мм включ. | - | + | + | + | + | + |
Гнутые профили из холоднокатаной и травленой горячекатаной заготовки | - | + | + | + | + | + |
Гнутые профили из проката с покрытиями | - | + | + | + | + | + |
Проволока в мотках | - | + | + | + | + | + |
<*> Поставка металлопродукции осуществляется по согласованию изготовителя с заказчиком. Примечания 1 Знак "+" означает, что данное условие поставки применяется. 2 Знак "-" означает, что данное условие поставки не применяется. |
6.2.2 Способы и виды упаковки металлопродукции должны обеспечивать сохранность металлопродукции, безопасность выполнения погрузочно-разгрузочных операций и безопасность перевозки.
6.2.3 По требованию заказчика металлопродукция должна быть обернута упаковочным материалом, в том числе с применением летучих и/или контактных ингибиторов коррозии для защиты металлопродукции от воздействия окружающей среды.
6.2.4 По требованию заказчика упаковка металлопродукции, поставляемой в районы Крайнего Севера и приравненные к ним местности, должна проводиться в соответствии с
ГОСТ 15846.
6.2.5 По требованию заказчика для защиты от воздействия окружающей среды на металлопродукцию может быть нанесено временное консервационное покрытие, обеспечивающее защиту поверхности на период ее транспортирования и хранения.
6.2.6 Средства скрепления и обвязки пакетов, рулонов, мотков, связок мотков или стоп рулонов, а также металлопродукции, располагаемой на поддонах, должны соответствовать
ГОСТ 26653.
6.2.7 Средства скрепления и обвязки пачек, пакетов, рулонов, мотков или металлопродукции, располагаемой на поддонах, не являются приспособлениями для строповки.
По согласованию изготовителя с заказчиком пачки, пакеты, рулоны, мотки и поддоны должны быть снабжены:
- строповочными средствами, обеспечивающими безопасность погрузочно-разгрузочных операций;
- бандажами и ярлыками с указанием на них грузоподъемности бандажей для обеспечения безопасности погрузочно-разгрузочных операций сортового и фасонного проката в пачках.
6.2.8 Если между изготовителем и заказчиком не согласовано иное, то масса пачки, пакета, рулона, мотка, а также масса металлопродукции, поставляемой без упаковки, должна быть не более:
- при ручной погрузке и выгрузке - 80 кг;
- при механизированной погрузке и выгрузке - в соответствии с заказом: 5, 10, 15, 20, 25, 30 и 35 т, в зависимости от грузоподъемности имеющегося оборудования.
Ручная выгрузка металлопродукции должна быть указана в заказе.
6.2.9 По согласованию изготовителя с заказчиком пачки, пакеты металлопродукции размером поперечного сечения 50 мм и менее и массой до 100 кг могут поставляться в связках с предварительной обвязкой пачек, пакетов. Для профилей за номинальный размер принимают наибольшую сторону сечения.
6.2.10 В соответствии с заказом устанавливают массу грузового места. При отсутствии в заказе указания о массе грузового места ее устанавливает изготовитель.
6.2.11 Дополнительные требования к упаковке и формированию грузовых мест должны соответствовать нормативным документам на поставку конкретных видов металлопродукции или согласовываться при оформлении заказа.
6.2.12 Допускается упаковывать металлопродукцию в соответствии со схемами упаковки, разработанными изготовителем. Схемы упаковки, средства скрепления, упаковочные материалы (реквизиты), специальные изделия и их размеры согласовываются с заказчиком при оформлении заказа.
6.2.13 Требования к упаковке листов и рулонов горячекатаных травленых, холоднокатаных, оцинкованных, металлопродукции из электротехнической стали должны согласовываться в момент получения заказа и размещения заказа на производство металлопродукции.
6.3 Защита поверхности металлопродукции от коррозии
6.3.1 Для защиты поверхности металлопродукции от коррозии, если это предусмотрено нормативными документами на поставку конкретных видов металлопродукции, применяют масла, смазки и ингибиторы в соответствии с
ГОСТ 9.014, индустриальное масло по
ГОСТ 20799 или другие виды консервационных материалов по нормативным документам, согласованным в установленном порядке.
6.3.2 Для защиты металлопродукции от коррозии рекомендуется применять упаковку из многослойного композитного материала на основе антикоррозийной ингибированной бумаги. Допускается применять другие антикоррозионные материалы.
6.3.3 Металлопродукцию, подлежащую промасливанию, по требованию заказчика поставляют без промасливания или с промасливанием только торцов пачки или рулона.
Металлопродукцию из коррозионно-стойких стали и сплавов марок по
ГОСТ 5632 промасливают по усмотрению изготовителя.
6.3.4 Для металлопродукции рекомендуются следующие виды защиты от коррозии:
- холоднокатаной, калиброванной, со специальной отделкой поверхности, оцинкованной и горячекатаной травленой - промасливание. При заказе металлопродукции без промасливания коррозия не является браковочным признаком.
Для листовой металлопродукции также рекомендуются следующие виды защиты от коррозии:
- холоднокатаной и горячекатаной травленой - промасливание, обеспечивающее в течение трех месяцев отсутствие появления коррозии, начиная с момента производства, при условии обеспечения требований к упаковке, транспортированию и хранению;
- из электротехнической стали - электроизоляционное покрытие, обеспечивающее в течение трех месяцев отсутствие появления коррозии, начиная с момента производства, при условии обеспечения требований к упаковке, транспортированию и хранению. При заказе потребителем металлопродукции без электроизоляционного покрытия коррозия не является браковочным признаком;
- оцинкованной - пассивирование и/или промасливание. Если иное не оговорено в нормативных документах на поставку, то в случае промасливания (без пассивирования) консервационное масло наносится на обе стороны металлопродукции для защиты от коррозии в течение трех месяцев, начиная с момента производства, в стандартных условиях упаковки, транспортирования, погрузки и хранения. Пассивирование и пассивирование с промасливанием применяются для защиты оцинкованной металлопродукции от коррозии в течение шести месяцев с момента производства в стандартных условиях упаковки, транспортирования, погрузки и хранения.
6.4 Обвязка металлопродукции
6.4.1 Обвязка заготовок, прутков, полос, профилей в пачки
6.4.1.1 Поперечное сечение пачек в зависимости от размеров и формы поперечного сечения металлопродукции должно по своей форме приближаться к кругу, прямоугольнику, квадрату или шестиграннику. По согласованию изготовителя с заказчиком допускается иное поперечное сечение пачек (указывается в заказе).
6.4.1.2 При упаковке прутков, полос, профилей мерной и кратной мерной длины торцы пачки должны быть выровнены с одной стороны. По согласованию изготовителя с заказчиком (указывается в заказе) с выровненной стороны пачки допускается выступ концов прутков, полос, профилей до 50 мм.
Выступающие концы с другой стороны не должны превышать для металлопродукции:
- мерной длины - предельных отклонений по длине, установленных в нормативных документах на требования к сортаменту конкретных видов металлопродукции;
- кратной мерной длины - величины одного крата.
По согласованию изготовителя с заказчиком (указывается в заказе) допускается упаковка без выравнивания торцов.
Для кованых прутков допускаются выступающие концы с одной стороны пачки до 250 мм.
6.4.1.3 При поставке металлопродукции немерной длины, оставшейся от раскатов, металлопродукцию разной длины упаковывают с выравниванием торцов пачек с одной стороны. По согласованию изготовителя с заказчиком допускается упаковка без выравнивания торцов пачек.
6.4.1.4 Заготовки, прутки, полосы, профили в пачке должны быть плотно уложены и обвязаны в поперечном направлении. Минимальное количество обвязок пачек или связок пачек в зависимости от их массы и длины должно соответствовать
таблице 3. Обвязки должны быть равномерно распределены, через примерно равные расстояния, по длине пачки.
Расстояние крайних обвязок от торца пачки - от 0,2 до 1,5 м.
Примечание - По согласованию изготовителя с заказчиком могут быть установлены иные интервалы обвязок в поперечном направлении.
Таблица 3
Масса упаковки | Количество обвязок, шт., не менее, при длине металлопродукции, м |
до 4 включ. | св. 4 до 6 включ. | св. 6 до 9 включ. | св. 9,0 до 12,2 включ. | св. 12,2 до 18,3 включ. | св. 18,3 |
Пачки массой от 0,1 до 10 т включ. | 2 | 3 | 4 | 5 | 6 | 7 |
Связки пачек массой от 0,1 до 10 т включ. с предварительной упаковкой в пачки массой до 100 кг | (2n + 2) | (3n + 3) | (4n + 4) | (5n + 5) | - | - |
Примечания 1 "n" - число пачек в связке, число перед "n" - количество обвязок на пачке, "плюс число" - количество обвязок в связке. 2 Знак "-" означает, что обвязку пачек в связки не производят. |
6.4.1.5 Прутки размером поперечного сечения до 25 мм включительно и длиной более 12 м в соответствии с заказом допускается поставлять согнутыми пополам - "шпилькой".
6.4.2 Обвязка листов в пачки
6.4.2.1 Листы в пачках должны быть прочно обвязаны в продольном и поперечном направлениях. В местах огибания кромок листов под средства обвязки укладывают подкладки. При обвязке листов пакетовязальными машинами, а также при упаковке пачек листов в ящики подкладки допускается не укладывать.
6.4.2.2 При необходимости ограничения высоты пачки это требование должно быть указано в нормативных документах на поставку металлопродукции или согласовано при заказе.
6.4.2.3 Количество поперечных обвязок в зависимости от длины листов, а продольных - в зависимости от ширины должно соответствовать указанным в
таблице 4.
Таблица 4
Количество продольных и поперечных обвязок пачек
Длина или ширина листа, мм | Минимальное количество обвязок пачек, шт. |
Горячекатаных листов | Горячекатаных травленых и холоднокатаных листов |
Продольных | Поперечных | Продольных | Поперечных |
До 800 включ. | 1 | 1 | 1 | 1 |
Св. 800 до 2000 включ. | 2 | 2 | 2 | 2 |
Св. 2000 до 4000 включ. | 3 | 3 | 4 |
Св. 4000 до 6000 включ. | 4 | 6 |
Св. 6000 | 3 | 5 | 4 | 8 |
Примечание - По согласованию изготовителя с заказчиком минимальное количество обвязок для горячекатаных травленых листов может быть аналогично количеству обвязок для горячекатаных листов. |
6.4.2.4 Допускается не обвязывать в продольном направлении пачки листов шириной менее 1 м или длиной более 8 м, а по требованию заказчика - длиной более 4,5 м.
По требованию заказчика проводят продольную обвязку пачек листов длиной более 8 м в соответствии с
таблицей 4.
6.4.2.5 При механизированной обвязке в потоке пачек горячекатаных листов допускается их обвязка только поперечными обвязками в количестве, равном сумме продольных и поперечных обвязок в соответствии с
таблицей 4.
6.4.2.6 Расстояние обвязки от торца пачки листов - от 0,2 до 1,0 м.
6.4.2.7 По требованию заказчика к пачкам снизу допускают прикреплять специальные деревянные или металлические брусья или поддоны.
6.4.3 Обвязка металлопродукции в мотки или рулоны, в связки мотков или стопы рулонов
6.4.3.1 Мотки должны быть обвязаны не менее чем двумя диаметрально расположенными обвязками.
Мотки массой более 1 т должны быть обвязаны четырьмя диаметрально расположенными обвязками.
Связки мотков должны быть прочно скреплены двумя-четырьмя обвязками.
6.4.3.2 Мотки металлопродукции размером поперечного сечения до 40 мм включительно допускается поставлять в связках не более шести мотков.
6.4.3.3 Рулоны должны быть плотно смотаны и обвязаны одной-двумя круговыми или двумя-шестью радиальными обвязками, а стопа рулонов - двумя-тремя радиальными обвязками. Рулоны в стопу укладывают с прокладками. Рулоны резаной ленты, смотанные на одну моталку, допускается увязывать без прокладок между рулонами.
6.4.3.4 Количество обвязок рулонов горячей смотки с толщиной проката менее 4 мм при плотном прилегании наружного конца допускается устанавливать по согласованию изготовителя с заказчиком.
6.4.3.5 Обвязку рулонов горячей смотки с толщиной проката 4 мм и более при плотном прилегании наружного конца проводят по требованию заказчика. По согласованию изготовителя с заказчиком допускается упаковка рулонов приваркой внешних концов точечной электросваркой без применения обвязочной ленты.
6.5 Упаковывание в упаковочные тару и материалы (реквизиты)
6.5.1 Требования к таре, упаковочным средствам, материалам (реквизитам) и специальным изделиям для упаковки
6.5.1.1 Виды тары, упаковочных средств, материалов и специальных изделий для упаковки приведены в
6.1.
6.5.1.2 Масса металлической упаковки не должна превышать 2,5% массы металлопродукции.
При упаковке в пакеты пачек листов массой менее 2 т и длине листов менее 4 м допускается масса металлической упаковки до 60 кг, а при длине листов от 4 до 6 м - до 90 кг.
6.5.1.3 Металлические или полимерные упаковочные тара и материалы (реквизиты), применяемые для упаковки пакетов листов, состоят из нижнего (по согласованию изготовителя с заказчиком) и верхнего упаковочных листов и швеллеров (упаковочных листов, изогнутых в виде швеллеров, или уголков). Толщина металлических упаковочных листов - от 0,4 до 1,2 мм, полимерных листов - от 2 до 8 мм.
Допускается применять другие способы упаковки, обеспечивающие сохранность листов и товарный вид металлопродукции.
Швеллеры или уголки должны закрывать боковые и торцовые кромки листов в пакетах. Ширина полок швеллеров или уголков должна быть не менее 50 мм.
Допускается взамен верхнего упаковочного листа применять короб металлический или полимерный с толщиной листа до 8 мм и высотой борта не менее 2/3 высоты пакета.
При этом с боков и торцов пакета устанавливают уголки с полками шириной не менее 3/4 высоты и не менее 50 мм для подгибки под низ пакета.
6.5.1.4 При упаковке в пакеты пачек листов с обвязкой или с промасливанием и обвязкой под упаковочную ленту на ребра пачки должны быть положены предохранительные подкладки из листового проката толщиной от 0,5 до 1,2 мм и шириной от 100 до 150 мм.
При механизированной упаковке листов допускается не ставить предохранительные подкладки.
6.5.1.5 При упаковке рулонов подкладки не обязательны.
6.5.1.6 При поставке горячекатаных листов толщиной до 3,9 мм допускается использовать в качестве упаковки верхний и нижний листы пачки, при этом масса упаковки должна быть исключена из массы поставляемой металлопродукции.
6.5.1.7 Металлические, полимерные или другие упаковочные материалы (реквизиты), применяемые для упаковки холоднокатаных рулонов, состоят из внешнего и внутреннего упаковочного листа длиной, равной длине окружности рулона, и высотой, равной ширине листа, и двух торцовых крышек.
6.5.1.8 Торцовые крышки, имеющие форму кольца, должны обеспечивать перекрытие торца рулона. Допускается применение торцовых крышек с допуском по наружному диаметру менее диаметра рулона на 50 мм, с установкой защитных внешних и внутренних гофрированных уголков с шириной полки не менее 50 мм.
Допускается применение торцовых крышек без бортов по окружности:
- при диаметре внешнего упаковочного цилиндра больше диаметра рулона на 50 мм с последующим гибом кромок цилиндров по окружности;
- при использовании стальных гофрированных уголков, обеспечивающих перекрытие между внешним и внутренним упаковочными листами и торцовыми дисками не менее 50 мм.
6.5.1.9 Для упаковки холоднокатаных рулонов (листовой прокат) шириной свыше 500 до 2000 мм и холоднокатаных рулонов (ленты) допускается применять упаковочную тару, состоящую из одного и более упаковочных листов.
6.5.1.10 При установке на поддон рулона в вертикальном положении допускается применять одну торцовую крышку, при установке в горизонтальном положении - две торцовые крышки.
6.5.1.11 Деревянные ящики изготовляют в основном из пиломатериалов хвойных пород по
ГОСТ 8486 и пиломатериалов лиственных пород по
ГОСТ 2695. Направление волокон в пиломатериалах должно быть параллельным кромке.
Не допускается применять доски со сквозными трещинами и сучками, непрочно сидящими в гнезде.
Все пиломатериалы, применяемые при поставке металлопродукции на внешний рынок, должны пройти фитосанитарную обработку.
6.5.1.12 Тип, конструкция ящиков и толщина досок в ящиках для грузов массой до 0,5 т включительно - по
ГОСТ 2991, для грузов массой более 0,5 т - по
ГОСТ 10198 или другим нормативным документам.
6.5.1.13 Упаковочные материалы (реквизиты), применяемые для обертки металлопродукции и выстелки жесткой тары, должны быть влагонепроницаемыми, прочными и нейтральными (бесхлорными и бескислотными) по
ГОСТ 515,
ГОСТ 5530,
ГОСТ 8828,
ГОСТ 9569 или другим нормативным документам, регламентирующим эти свойства упаковочных материалов (реквизитов).
6.5.2 Упаковка прутков калиброванных, холоднотянутых, шлифованных и круглых со специальной отделкой поверхности
6.5.2.1 Прутки размером поперечного сечения до 60 мм включительно, увязанные в пачки, упаковывают в синтетическую пленку, тарную ткань или другие виды упаковочных материалов по нормативным документам изготовителя. Пачки прутков могут быть упакованы в деревянные бандажи/обрешетки.
По требованию заказчика прутки упаковывают в деревянные ящики. Масса одного грузового места не должна превышать 1 т. По согласованию изготовителя с заказчиком (указывается в заказе) масса одного грузового места может быть более 1 т.
6.5.2.2 Прутки со специальной отделкой поверхности любого размера поперечного сечения допускается упаковывать в пачки и материалы с ингибитором коррозии.
Массу пачки согласовывают в заказе.
6.5.3 Упаковка мотков калиброванных, холоднотянутых, шлифованных и со специальной отделкой поверхности
6.5.3.1 Мотки упаковывают в тару. По согласованию изготовителя с заказчиком масса одного грузового места может быть не более 2,5 т.
6.5.3.2 Допускается упаковка мотков в синтетическую пленку по ГОСТ 9998,
ГОСТ 10354 или
ГОСТ 16272, в многослойный композитный материал или другие упаковочные материалы, в том числе ингибированные, по нормативным документам изготовителя.
6.5.3.3 Мотки могут быть увязаны в связки.
6.5.4 Упаковка листов и рулонов
6.5.4.1 Пачки холоднокатаных и горячекатаных травленых листов толщиной до 6 мм включительно массой до 5 т включительно перед укладкой в жесткую тару обвязывают поперечными обвязками в двух местах упаковочной лентой, а массой свыше 5 т - в трех местах.
По согласованию изготовителя с заказчиком допускается не обвязывать либо обвязывать меньшим количеством обвязок пачки перед укладкой в жесткую тару.
6.5.4.2 Упакованные в металлические или полимерные упаковочные пакеты листы плотно обвязывают упаковочной лентой.
Количество продольных и поперечных обвязок на пакетах с холоднокатаными листами должно быть не менее значений, указанных в
таблице 5.
Таблица 5
Количество продольных и поперечных обвязок
Ширина листа, мм | Количество продольных обвязок, шт. | Длина листа, мм | Количество поперечных обвязок, шт. |
До 1000 включ. | 2 | До 1000 включ. | 2 |
Св. 1000 до 2000 включ. | Не менее 3 |
Св. 1000 | 3 <*> | Св. 2000 до 4000 включ. | Не менее 4 |
Св. 4000 до 6000 включ. | Не менее 6 |
<*> По согласованию изготовителя с заказчиком допускается две продольные обвязки. |
6.5.4.3 Количество продольных и поперечных обвязок на пакетах с горячекатаными травлеными листами в зависимости от их длины должно быть не менее значений, указанных в
таблице 6.
Таблица 6
Количество продольных и поперечных обвязок
Длина листов, мм | Количество обвязок, шт. |
Поперечных | Продольных |
До 4000 включ. | 3 | 2 |
Св. 4000 до 6000 включ. | 4 | 2 |
Св. 6000 | Не менее 5 | Не менее 3 |
6.5.4.4 При механизированной упаковке в потоке допускается обвязка пакетов с листами только поперечными обвязками в количестве, равном сумме продольных и поперечных обвязок в соответствии с
таблицами 5,
6.
6.5.4.5 Пакеты с холоднокатаными и горячекатаными травлеными листами толщиной менее 3 мм (по согласованию изготовителя с заказчиком - толщиной менее 5 мм), а также пакеты с горячекатаными нетравлеными листами толщиной менее 2 мм, шириной 1 м и более или длиной 1,5 м и более закрепляют на деревянные поддоны с продольными и поперечными брусьями сечением (от 70 до 110) x (от 70 до 130) мм со скосами или без них. Длина брусьев должна быть равна или менее на 140 - 200 мм упакованного листа. Допускается укладка на отдельные продольные или поперечные брусья с обязательным креплением этих брусьев к пачке.
6.5.4.6 При упаковке холоднокатаных листов на поддонах с поперечными досками допускается длина продольных брусьев короче упаковочного листа до 200 мм.
Количество продольных и поперечных брусьев принимают равным минимальному количеству продольных и поперечных обвязок пакета или пачки, указанному в
таблицах 5 и
6.
При ширине листов менее 1 м и длине менее 1,5 м количество поперечных и продольных брусьев должно быть не менее двух.
При поставке листов других размеров брусья прикрепляют по требованию заказчика.
Допускается применять доски сечением (от 20 до 40) x (от 100 до 150) мм вместо поперечных или продольных брусьев. При этом длина продольных брусьев должна быть равна длине листа или быть менее на 200 мм длины листа.
6.5.4.7 Холоднокатаные рулоны с толщиной проката до 3,9 мм включительно упаковывают в жесткую тару. Рулоны (лента) из электротехнической стали допускается упаковывать в мягкую тару.
6.5.4.8 Рулоны должны быть прочно обвязаны упаковочной лентой по окружности рулона и в радиальном направлении. Количество обвязок по окружности рулона должно быть не менее указанных в
таблице 7 значений, а в радиальном направлении - в
таблице 8.
Таблица 7
Количество обвязок рулонов по окружности
Ширина рулона, мм | Количество обвязок, шт. |
До 500 включ. | 1 |
Св. 500 до 1250 включ. | 2 |
Св. 1250 | Не менее 3 |
Примечание - Для горячекатаных рулонов массой до 7,5 кг на 1 мм ширины допускается от одной до двух обвязок по окружности. |
Таблица 8
Количество обвязок рулонов в радиальном направлении
Внутренний диаметр рулона, мм | Количество обвязок, шт. |
До 600 включ. | 2 - 3 |
Св. 600 | Не менее 4 |
Примечание - Для горячекатаных рулонов массой до 7,5 кг на 1 мм ширины допускается использовать от двух до шести радиальных обвязок. |
6.5.4.9 При механизированной упаковке рулонов допускается обвязка рулонов только в радиальном направлении, количество обвязок должно равняться сумме обвязок по окружности и в радиальном направлении в соответствии с
таблицами 7 и
8.
6.5.4.10 Рулоны (лента) упаковывают в стопы. Между рулонами холоднокатаной ленты укладывают полимерные или деревянные прокладки.
Количество радиальных обвязок стопы должно соответствовать
таблице 8. Рулоны из резаной ленты, смотанные на одну моталку, упаковывают без прокладок.
6.5.4.11 Упакованные холоднокатаные рулоны и горячекатаные травленые рулоны с толщиной проката до 3,9 мм включительно и стопы рулонов устанавливают на деревянные поддоны в горизонтальном или вертикальном положении и прикрепляют к поддону упаковочной лентой, прочность которой определяют по
ГОСТ 26653:
- при горизонтальном положении рулонов - тремя обвязками по наружному диаметру и двумя обвязками в радиальном направлении в очко;
- при вертикальном положении рулона и стопы - четырьмя обвязками в очко или двумя парами упаковочных лент, опоясывающих рулон по периметру, расположенными перпендикулярно друг к другу и скрепленными в месте пересечения упаковочных лент над рулоном.
По согласованию изготовителя с заказчиком допускается другой способ закрепления рулонов на поддоне.
7 Транспортирование и хранение
7.1 Общие положения по подготовке металлопродукции к транспортированию должны соответствовать
ГОСТ 26653.
7.2 Металлопродукцию транспортируют всеми видами транспорта в соответствии с правилами перевозки грузов, действующими на данном виде транспорта, и нормативными документами на погрузку и крепление грузов.
7.3 По железной дороге транспортирование металлопродукции осуществляют в крытых и открытых вагонах по
ГОСТ 22235. Допускается транспортирование листового проката на наклонных платформах (сталевозах).
7.4 При транспортировании металлопродукции всеми видами транспорта, в том числе воздушным, необходимо учитывать требования по допустимой удельной нагрузке на настил грузового помещения транспортного средства.
7.5 Потребителю рекомендуется:
7.5.1 Хранить металлопродукцию в закрытых неотапливаемых и отапливаемых помещениях, под навесами или на открытых площадках в соответствии с требованиями нормативных документов на поставку металлопродукции конкретного вида.
7.5.2 Хранить металлопродукцию, склонную к образованию коррозии в любых макроклиматических районах по
ГОСТ 15150, в крытых помещениях в регулируемых климатических условиях хранения, в которых колебания температуры и влажности воздуха существенно меньше, чем на открытом воздухе.
7.5.3 Не допускать хранение металлопродукции с нарушением целостности ее упаковки. Нарушения целостности упаковки должны быть устранены при их обнаружении.
7.5.4 Если иное не оговорено в нормативных документах на поставку, допускается хранение металлопродукции на открытых площадках при соблюдении следующих условий:
- складская площадка должна иметь уклон, обеспечивающий сток воды, а высота стеллажей, подставок, поддонов для складирования металлопродукции должна исключать соприкосновение металла с покрытием площадки;
- при необходимости накрывать металлопродукцию водонепроницаемым материалом.
7.5.5 При длительном хранении у заказчика (потребителя) следует поверхность металлопродукции покрывать минеральными маслами и другими смазками для защиты от коррозии.
7.6 Дополнительные требования к транспортированию и хранению металлопродукции устанавливают в нормативных документах на конкретные виды металлопродукции.
8.1 Изготовитель гарантирует соответствие металлопродукции требованиям нормативных документов на поставку металлопродукции при соблюдении условий транспортирования и хранения.
8.2 Максимальный срок гарантии качества с момента изготовления при необходимости устанавливают в нормативных документах на поставку металлопродукции в зависимости от ее назначения.
9 Условия использования у заказчика (потребителя) металлопродукции, подлежащей длительному хранению
9.1 В течение длительного хранения заказчик (потребитель) может проводить периодический контроль качества металлопродукции для принятия решения о возможности ее дальнейшего использования по прямому назначению без права предъявления претензий изготовителю.
9.2 Сроки проведения периодического контроля и порядок оформления заключения определяет заказчик (потребитель).
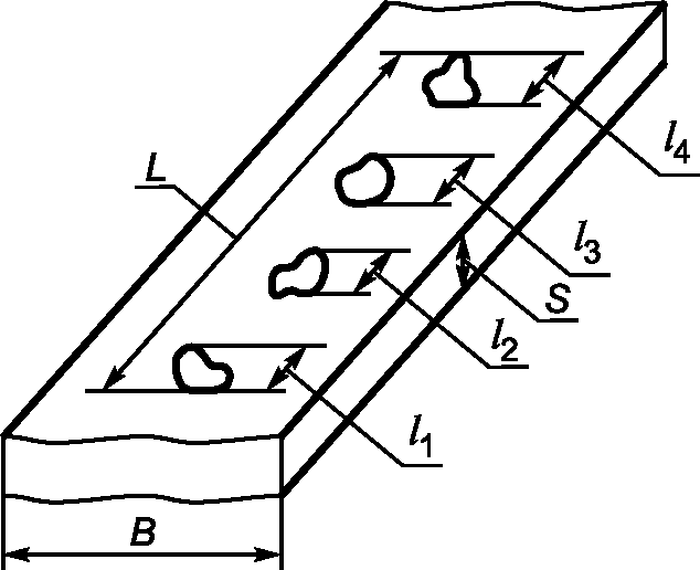
(обязательное)
ОПРЕДЕЛЕНИЯ МАСС УЧАСТКОВ ДЕФЕКТОВ ПОВЕРХНОСТИ
ДЛЯ МЕТАЛЛОПРОДУКЦИИ В РУЛОНАХ
А.1 Массы участков дефектов поверхности металлопродукции в рулонах определяют при периодичности появления дефектов (расстояние между одинаковыми "элементами" повторяющихся дефектов) более чем через 3 м или менее чем через 3 м.
Указанная периодичность появления дефектов обусловлена возможностью использования проката после вырезки участков с дефектами поверхности.
А.2 Массы участков дефектов поверхности металлопродукции в зависимости от периодичности их появления определяют в соответствии с
рисунком А.1 и по
формулам А.1 и
А.2.
А.3 Массу M1, кг, участков металлопродукции с дефектами поверхности при периодичности появления дефектов более чем через 3 м определяют по формуле

(А.1)
где

- плотность стали, г/см
3;
B - ширина металлопродукции, мм;
S - толщина металлопродукции, мм;
n - количество дефектов;
li - протяженность i-го дефекта вдоль направления прокатки, мм.
А.4 Массу, M2, кг, участков металлопродукции с дефектами поверхности при периодичности появления дефектов менее чем через 3 м определяют по формуле

(А.2)
где

- плотность стали, г/см
3;
B - ширина металлопродукции, мм;
S - толщина металлопродукции, мм;
L - расстояние от начала первого дефекта до конца последнего, мм.
(обязательное)
ВИДЫ ДОКУМЕНТОВ О КАЧЕСТВЕ
Б.1 Виды документов о качестве, оформляемых по результатам неспециального контроля <1>
--------------------------------
<1> Обозначение видов документов о качестве принято в соответствии с ISO 10474:2013 "Сталь и изделия из стали. Документы о приемочном контроле".
Б.1.1 Документы, оформляемые по результатам неспециального контроля, - это документы, в которых изготовитель удостоверяет, что поставляемая металлопродукция соответствует требованиям заказа без приведения или с приведением результатов неспециального контроля.
Б.1.2 По результатам неспециального контроля могут быть оформлены следующие виды документов о качестве:
- Документ 2.1 - документ, в котором изготовитель удостоверяет, что поставляемая металлопродукция соответствует требованиям нормативных документов или заказа без приведения результатов неспециального контроля;
- Документ 2.2 - документ, в котором изготовитель удостоверяет, что поставляемая металлопродукция соответствует требованиям нормативных документов или заказа с приведением результатов неспециального контроля.
Б.2 Виды документов о качестве, оформляемых по результатам специального контроля
Б.2.1 Документы, оформляемые по результатам специального контроля, - это документы, в которых изготовитель удостоверяет, что поставляемая металлопродукция соответствует требованиям заказа, и приводит результаты специального контроля.
Б.2.2 По результатам специального контроля могут быть оформлены следующие виды документов о качестве:
- Документ 3.1 - документ, в котором изготовитель удостоверяет, что поставляемая металлопродукция соответствует требованиям нормативных документов или заказа с приведением результатов специального контроля.
Достоверность документа подтверждается уполномоченным представителем изготовителя, не занятым в производственном процессе.
Примечание - Уполномоченным представителем изготовителя, не занятым в производственном процессе, является ОТК - служба технического контроля изготовителя или любая другая служба, персонал или отдельные специалисты, на которых возлагается контроль готовой продукции;
- Документ 3.2 - документ, в котором изготовитель удостоверяет, что поставляемая металлопродукция соответствует требованиям нормативных документов или заказа с приведением результатов специального контроля.
Достоверность документа подтверждается уполномоченным представителем изготовителя, не занятым в производственном процессе, и представителем инспектирующей организации.
Б.3 Предоставление документов о качестве
Б.3.1 Изготовитель должен предоставить заказчику оригинал документа о качестве металлопродукции, оформленный в соответствии с требованиями настоящего стандарта и нормативного документа на поставку.
К документу о качестве металлопродукции могут прилагаться документы об идентификации и прослеживаемости металлопродукции и/или записи о результатах контроля металлопродукции.
Б.3.2 Заказчик (посредник) должен предоставить потребителю оригинал документа о качестве металлопродукции, оформленный изготовителем, без каких-либо изменений, или заверенную копию оригинала документа о качестве.
Б.3.3 В случае предоставления заказчиком (посредником) заверенной копии оригинала документа о качестве металлопродукции только на часть поставляемой металлопродукции в ней должны быть отмечены фактически поставляемая металлопродукция и ее объем.
Если заказчиком (посредником) были изменены характеристики металлопродукции, он должен предоставить потребителю дополнительный документ, в котором указать измененные характеристики.
Б.3.4 Оригиналы документов о качестве должны предоставляться на бумажном носителе, если не согласовано иное. Копии документов о качестве должны предоставляться на бумажном носителе и/или в электронном виде (в том числе в сканированном виде) по усмотрению изготовителя.
Б.4 Перечень видов документов о качестве
Перечень видов документов о качестве, устанавливаемых настоящим стандартом, приведен в
таблице Б.1.
Таблица Б.1
Перечень видов документов о качестве
Обозначение вида документа о качестве | Вид контроля | Содержание документа о качестве | Подпись лица, подтверждающего достоверность документа о качестве |
| Неспециальный | Подтверждение соответствия металлопродукции без указания результатов контроля | Уполномоченный представитель изготовителя |
| Подтверждение соответствия металлопродукции с указанием результатов контроля |
| Специальный | Подтверждение соответствия металлопродукции с указанием результатов испытаний | Уполномоченный представитель изготовителя, не занятый в производственном процессе |
| Уполномоченный представитель изготовителя, не занятый в производственном процессе, и представитель инспектирующей организации |
Примечание - В состав реквизита "Подпись" входят: наименование должности лица, подписавшего документ (полное, если документ оформлен не на бланке, и сокращенное - на бланке); личная подпись; расшифровка подписи (инициалы, фамилия). |
Б.5 Минимальный перечень сведений
Б.5.1 Минимальный перечень сведений, обязательных для указания во всех документах о качестве, направляемых заказчику металлопродукции:
- товарный знак и/или наименование изготовителя;
- наименование заказчика;
- номер заказа;
- дата оформления документа о качестве;
- номер вагона или транспортного средства;
- обозначение нормативного документа;
- наименование металлопродукции, номинальный размер [диаметр, диаметр вписанного круга, сторона квадрата, толщина, ширина, длина (по согласованию изготовителя с заказчиком)], номер (тип) профиля, а при необходимости - другие размеры сечения, количество мест, их общая масса;
- марка стали, наименование стали и/или класс прочности. Допускается взамен марки стали указывать ее условное обозначение с его расшифровкой;
- сведения о категориях проката по свойствам, качеству поверхности, назначении, состоянии поставки и другие требования, предусмотренные нормативными документами на поставку металлопродукции.
Б.5.2 В документе о качестве (
документ 2.2,
3.1,
3.2) дополнительно указывают следующую информацию:
- номер плавки;
- результаты неспециального контроля;
- номер плавки;
- номер партии (при делении плавки на партии);
- химический состав стали по ковшовой пробе или в готовом прокате в соответствии с заказом;
- результаты всех испытаний, в том числе факультативных показателей, а также характеристик, определяемых по требованию заказчика;
- отметку, свидетельствующую о проведении специального контроля и о приемке металлопродукции по качеству, заверенную уполномоченным на предприятии-изготовителе лицом, его подписью, печатью, а при приемке металлопродукции представителем инспектирующей организации - его подписью и печатью;
- информацию (знак) об оценке соответствия (сертификации или декларирования):
1) для металлопродукции, подлежащей обязательной сертификации (декларированию), в соответствии с техническими регламентами Таможенного союза или государств, принявших настоящий стандарт;
2) при наличии у изготовителя добровольных сертификатов соответствия - по усмотрению изготовителя.
По согласованию изготовителя с заказчиком допускается изменение информации или внесение дополнительной информации. Конкретные требования по изменению информации и дополнительной информации должны согласовываться в момент оформления заказа.
(справочное)
ТИПЫ УПАКОВОЧНЫХ ВЫСОКОПРОЧНЫХ ЛЕНТ, ПРИМЕНЯЕМЫХ
ДЛЯ ОБВЯЗКИ, И ИХ МЕХАНИЧЕСКИЕ ХАРАКТЕРИСТИКИ
В.1 Типы упаковочных высокопрочных лент и их механические характеристики приведены в
таблице В.1.
Таблица В.1
Типы упаковочных высокопрочных лент
и их механические характеристики
Тип стальной ленты | Ширина стальной ленты, мм | Усилие разрыва Н, не менее | Относительное удлинение  , %, не менее |
Толщина стальной ленты, мм |
0,50 | 0,60 | 0,70 | 0,80 | 0,90 | 1,00 | 1,12 | 1,27 | 1,45 |
А | 12,7 | 4763 | 5715 | - | - | - | - | - | - | - | 2 |
16,0 | 6000 | 7200 | 8400 | - | - | - | - | - | - |
19,0 | 7125 | 8550 | 9975 | 10 640 | 11 970 | 13 300 | - | - | - |
24,5 | 9188 | 11 025 | 12 863 | 13 720 | 15 435 | 17 150 | 19 208 | - | - |
31,75 | 11 906 | 14 288 | 16 669 | 17 780 | 20 003 | 22 225 | 24 892 | 26 670 | - |
Б | 12,7 | 5080 | 6096 | - | - | - | - | - | - | - | 4 |
16,0 | 6400 | 7680 | 8960 | - | - | - | - | - | - |
19,0 | 7600 | 9120 | 10 640 | 12 160 | 13 680 | 15 200 | - | - | - |
24,5 | 9800 | 11 760 | 13 720 | 15 680 | 17 640 | 19 600 | 21 952 | - | - |
31,75 | 12 700 | 15 240 | 17 780 | 20 320 | 22 860 | 25 400 | 28 448 | 30 480 | - |
В | 12,7 | 5874 | 7049 | - | - | - | - | - | - | - | 3 |
16,0 | 7400 | 8880 | 10 360 | - | - | - | - | - | - |
19,0 | 8788 | 10 545 | 12 303 | 14 060 | 15 818 | 17 575 | - | - | - |
24,5 | 11 331 | 13 598 | 15 864 | 18 130 | 20 396 | 22 663 | 25 382 | - | - |
31,75 | 14 684 | 17 621 | 20 558 | 23 495 | 26 432 | 29 369 | 32 893 | 35 243 | - |
Г | 12,7 | 6160 | 7391 | - | - | - | - | - | - | - | 6 |
16,0 | 7760 | 9312 | 10 864 | - | - | - | - | - | - |
19,0 | 9215 | 11 058 | 12 901 | 14 744 | 16 587 | 18 430 | - | - | - |
24,5 | 11 883 | 14 259 | 16 636 | 16 012 | 21 389 | 23 765 | 26 617 | - | - |
31,75 | 15 399 | 18 479 | 21 558 | 24 638 | 27 718 | 30 798 | 34 493 | 36 957 | - |
Д | 31,75 | - | - | - | - | - | - | 37 800 | 43 150 | 48 430 | 7 |
Примечания 1 Знак "-" означает, что ленту данных размеров не применяют. 2 Тип упаковочной высокопрочной ленты выбирает изготовитель. |
(справочное)
ТИПЫ ЛЕНТ, ПРИМЕНЯЕМЫХ ДЛЯ РАЗЛИЧНЫХ ВИДОВ МЕТАЛЛОПРОДУКЦИИ
Г.1 Типы лент, применяемых для различных видов металлопродукции, приведены в
таблице Г.1.
Виды металлопродукции | Типы лент |
ПЭТ-лента | Высокопрочная лента |
Размеры, мм |
1,0 x 19 | 1,0 x 32 | 1,3 x 25 | 0,8 x 19 | 0,8 x 32 | 1,0 x 32 |
Сортовой и фасонный прокат размером поперечного сечения 100 мм и менее | - | - | - | - | + | + |
Гнутый профиль, холоднотянутый профиль из горячекатаной нетравленой заготовки, листовой прокат и нетравленая лента до 12 мм включительно | - | - | - | - | + | + |
Гнутый профиль из холоднокатаных и травленых горячекатаных заготовок листового проката и ленты толщиной до 10 мм включительно травленых | - | - | - | - | + | - |
Листовой прокат и лента травленые | - | + | - | + | + | + |
Холоднокатаный листовой прокат и лента | + | + | + | + | + | + |
Горячекатаный листовой прокат и травленая лента | - | + | + | + | + | + |
Прокат холоднокатаный калиброванный, шлифованный и прокат круглый со специальной отделкой поверхности | - | + | + | + | + | + |
Прокат холоднокатаный калиброванный, шлифованный и круглый со специальной отделкой поверхности из коррозионно-стойких марок стали | - | + | + | + | + | + |
Травленый листовой прокат и лента из электротехнической стали | + | + | + | + | + | + |
Холоднокатаный листовой прокат и лента с полимерным и цинковым покрытием | + | + | + | + | + | + |
Горячекатаный листовой прокат толщиной до 6 мм включительно из коррозионно-стойкой стали | - | + | - | + | + | + |
Примечания 1 Знак "+" означает, что данную ленту для указанного вида металлопродукции применяют. 2 Знак "-" означает, что данную ленту для указанного вида металлопродукции не применяют. |
(справочное)
ТИПЫ ЛЕНТ, ПРИМЕНЯЕМЫХ В ЗАВИСИМОСТИ ОТ ИХ НАЗНАЧЕНИЯ
Д.1 Типы лент, применяемых в зависимости от их назначения, приведены в
таблице Д.1.
Назначение ленты | Типы лент |
| ПЭТ-лента | Лента высокопрочная |
Размеры, мм |
[0,5 - 2,0] x 32 | 1,0 x 19 | 1,0 x 32 | 1,3 x 25 | 0,8 x 19 | 0,8 x 25 | 0,8 x 32 | 1,0 x 32 | 1,12 x 31,75 | 1,27 x 31,75 |
Обвязка металлопродукции для внутреннего перемещения | + | + | + | + | + | + | + | + | + | - |
Обвязка металлопродукции при упаковке | - | + | + | + | + | + | + | + | - | - |
Для крепления грузов в полувагонах, вагонах, контейнерах, платформах, и в автотранспорте | - | + | + | + | + | + | + | - | + | + |
Примечания 1 Знак "+" означает, что данную ленту для указанного назначения применяют. 2 Знак "-" означает, что данную ленту для указанного назначения не применяют. |