Главная // Актуальные документы // ГОСТ (Государственный стандарт)СПРАВКА
Источник публикации
М.: ФГБУ "РСТ", 2021
Примечание к документу
Текст данного документа приведен с учетом
поправки, опубликованной в "ИУС", N 8, 2022;
поправки, опубликованной в "ИУС", N 9, 2023.
Документ
введен в действие с 01.03.2022.
Название документа
"ГОСТ 33758-2021. Межгосударственный стандарт. Трубы обсадные и насосно-компрессорные и муфты к ним. Основные параметры и контроль резьбовых соединений. Общие технические требования"
(введен в действие Приказом Росстандарта от 23.09.2021 N 1007-ст)
"ГОСТ 33758-2021. Межгосударственный стандарт. Трубы обсадные и насосно-компрессорные и муфты к ним. Основные параметры и контроль резьбовых соединений. Общие технические требования"
(введен в действие Приказом Росстандарта от 23.09.2021 N 1007-ст)
агентства по техническому
регулированию и метрологии
от 23 сентября 2021 г. N 1007-ст
МЕЖГОСУДАРСТВЕННЫЙ СТАНДАРТ
ТРУБЫ ОБСАДНЫЕ И НАСОСНО-КОМПРЕССОРНЫЕ И МУФТЫ К НИМ.
ОСНОВНЫЕ ПАРАМЕТРЫ И КОНТРОЛЬ РЕЗЬБОВЫХ СОЕДИНЕНИЙ
ОБЩИЕ ТЕХНИЧЕСКИЕ ТРЕБОВАНИЯ
Casing, tubing and couplings for them.
Basic parameters and inspection of thread connections.
General technical requirements
ГОСТ 33758-2021
Дата введения
1 марта 2022 года
Цели, основные принципы и общие правила проведения работ по межгосударственной стандартизации установлены
ГОСТ 1.0 "Межгосударственная система стандартизации. Основные положения" и
ГОСТ 1.2 "Межгосударственная система стандартизации. Стандарты межгосударственные, правила и рекомендации по межгосударственной стандартизации. Правила разработки, принятия, обновления и отмены"
1 РАЗРАБОТАН Открытым акционерным обществом "Российский научно-исследовательский институт трубной промышленности" (ОАО "РосНИТИ"), Подкомитетом ПК 7 "Нарезные трубы" Технического комитета по стандартизации ТК 357/МТК 7 "Стальные и чугунные трубы и баллоны"
2 ВНЕСЕН Техническим комитетом по стандартизации ТК 357/МТК 7 "Стальные и чугунные трубы и баллоны"
3 ПРИНЯТ Межгосударственным советом по стандартизации, метрологии и сертификации (протокол от 26 августа 2021 г. N 142-П)
За принятие проголосовали:
Краткое наименование страны по МК (ИСО 3166) 004-97 | Код страны по МК (ИСО 3166) 004-97 | Сокращенное наименование национального органа по стандартизации |
Азербайджан | AZ | Азстандарт |
Армения | AM | ЗАО "Национальный орган по стандартизации и метрологии" Республики Армения |
Беларусь | BY | Госстандарт Республики Беларусь |
Казахстан | KZ | Госстандарт Республики Казахстан |
Киргизия | KG | Кыргызстандарт |
Россия | RU | Росстандарт |
Таджикистан | TJ | Таджикстандарт |
Узбекистан | UZ | Узстандарт |
Украина | UA | Минэкономразвития Украины |
4
Приказом Федерального агентства по техническому регулированию и метрологии от 23 сентября 2021 г. N 1007-ст межгосударственный стандарт ГОСТ 33758-2021 введен в действие в качестве национального стандарта Российской Федерации с 1 марта 2022 г.
Информация о введении в действие (прекращении действия) настоящего стандарта и изменений к нему на территории указанных выше государств публикуется в указателях национальных стандартов, издаваемых в этих государствах, а также в сети Интернет на сайтах соответствующих национальных органов по стандартизации.
В случае пересмотра, изменения или отмены настоящего стандарта соответствующая информация будет опубликована на официальном интернет-сайте Межгосударственного совета по стандартизации, метрологии и сертификации в каталоге "Межгосударственные стандарты"
Настоящий стандарт разработан с целью уточнения и дополнения требований и положений
ГОСТ 33758-2016, по сравнению с которым в настоящем стандарте:
- дополнены справочные значения наружного диаметра и длины муфт в соответствии с
ГОСТ 31446;
- внесены изменения в конструкцию резьбового соединения ОТТМ муфт для труб наружным диаметром 101,60 мм;
- требования к качеству поверхности резьбовых соединений изложены с учетом терминов по
ГОСТ 34004;
- требования, правила приемки и методы контроля резьбовых соединений унифицированы с
ГОСТ 34057;
- уточнены требования по применению калибров;
- актуализированы нормативные ссылки.
В настоящем стандарте изменены обозначения ряда параметров с целью их упорядочения и единообразия с
ГОСТ 34057, исключения одинаковых обозначений разных параметров или разных обозначений одного параметра.
Геометрические параметры и характеристики резьбовых соединений настоящего стандарта соответствуют геометрическим параметрам и характеристикам резьбовых соединений по
ГОСТ 632-80 и
ГОСТ 633-80.
Настоящий стандарт распространяется на резьбовые соединения обсадных и насосно-компрессорных труб и муфт к ним, применяемых в нефтяной и газовой промышленности, и устанавливает требования к основным параметрам и контролю резьбовых соединений.
Настоящий стандарт устанавливает требования к резьбовым соединениям следующих типов:
- НКМ - соединение насосно-компрессорных труб с трапецеидальной резьбой и узлом уплотнения "металл-металл";
- НКТВ - соединение насосно-компрессорных труб с высаженными наружу концами с закругленной треугольной резьбой;
- НКТН - соединение насосно-компрессорных труб с невысаженными концами с закругленной треугольной резьбой;
- ОТТГ - соединение обсадных труб с трапецеидальной резьбой и узлом уплотнения "металл-металл";
- ОТТМ - соединение обсадных труб с трапецеидальной резьбой.
В настоящем стандарте использованы нормативные ссылки на следующие межгосударственные стандарты:
ГОСТ 632 Трубы обсадные и муфты к ним. Технические условия
ГОСТ 633 Трубы насосно-компрессорные и муфты к ним. Технические условия
ГОСТ 9378 (ИСО 2632-1-85, ИСО 2632-85) Образцы шероховатости поверхности (сравнения). Общие технические условия
ГОСТ 10654 Калибры для треугольной резьбы насосно-компрессорных труб и муфт к ним. Типы, основные размеры и допуски
ГОСТ 11708 Основные нормы взаимозаменяемости. Резьба. Термины и определения
ГОСТ 25575 Калибры для соединений с трапецеидальной резьбой обсадных труб и муфт к ним. Типы и основные размеры
ГОСТ 25576 Калибры для соединений с трапецеидальной резьбой насосно-компрессорных труб и муфт к ним. Типы, основные размеры и допуски
ГОСТ 31446 (ISO 11960:2014) Трубы стальные обсадные и насосно-компрессорные для нефтяной и газовой промышленности. Общие технические условия
ГОСТ 34004 Трубы стальные обсадные, насосно-компрессорные, бурильные и трубы для трубопроводов. Дефекты поверхности резьбовых соединений. Термины и определения
ГОСТ 34057 Соединения резьбовые обсадных, насосно-компрессорных труб, труб для трубопроводов и резьбовые калибры для них. Общие технические требования
Примечание - При пользовании настоящим стандартом целесообразно проверить действие ссылочных стандартов и классификаторов на официальном интернет-сайте Межгосударственного совета по стандартизации, метрологии и сертификации (www.easc.by) или по указателям национальных стандартов, издаваемых в государствах, указанных в предисловии, или на официальных сайтах соответствующих национальных органов по стандартизации. Если на документ дана недатированная ссылка, то следует использовать документ, действующий на текущий момент, с учетом всех внесенных в него изменений. Если заменен ссылочный документ, на который дана датированная ссылка, то следует использовать указанную версию этого документа. Если после принятия настоящего стандарта в ссылочный документ, на который дана датированная ссылка, внесено изменение, затрагивающее положение, на которое дана ссылка, то это положение применяется без учета данного изменения. Если ссылочный документ отменен без замены, то положение, в котором дана ссылка на него, применяется в части, не затрагивающей эту ссылку.
3 Термины, определения и обозначения
3.1 В настоящем стандарте применены термины по ГОСТ 11708 и
ГОСТ 34004, а также следующие термины с соответствующими определениями:
3.1.1 вершина резьбы: Часть винтовой поверхности резьбы, соединяющая боковые стороны витка резьбы по верху.
3.1.2 витки резьбы с черновинами: Витки резьбы с вершинами, на которых сохранилась поверхность исходной заготовки.
3.1.3 впадина резьбы: Часть винтовой поверхности резьбы, соединяющая боковые стороны соседних витков резьбы по низу.
3.1.4 высокогерметичное резьбовое соединение: Резьбовое соединение, конструкция которого включает узел уплотнения "металл-металл", повышающий герметичность соединения.
3.1.5 закругленная треугольная резьба: Коническая резьба, профиль которой представляет собой треугольник с закругленными вершинами и впадинами.
3.1.6 заходная фаска: Наружная фаска на трубе или внутренняя фаска на муфте, на которой начинается соответственно наружная или внутренняя резьба.
3.1.7 конец сбега резьбы: Конец впадины непрерывно уменьшающегося витка резьбы, наиболее удаленной от торца трубы.
3.1.8 конусность резьбы: Отношение разности диаметров резьбы в сечениях, перпендикулярных к оси резьбы, к расстоянию между этими сечениями.
3.1.9 линия среднего диаметра резьбы: Воображаемая линия, проходящая через середину высоты исходного профиля закругленной треугольной резьбы, при этом ширина выступа резьбы на ней равна ширине впадины резьбы.
3.1.10 натяг при ручном свинчивании трубы с муфтой: Расчетное расстояние от торца муфты до плоскости конца сбега резьбы на трубе в резьбовом соединении с номинальными геометрическими параметрами.
3.1.11 натяг при контроле калибрами: Расстояние от измерительной плоскости калибра до плоскости торца трубы или муфты.
3.1.12 номинальный диаметр резьбы: Диаметр, условно характеризующий наружный диаметр резьбы и используемый при ее обозначении.
3.1.13 общая длина резьбы: Длина участка изделия, на котором образована резьба, включая сбег резьбы и заходную фаску.
3.1.14 обычная муфта: Муфта наружным диаметром, принятым за основной диаметр по сравнению со специальной муфтой, имеющей меньший наружный диаметр.
Примечание - Термин применяют в случае, если для труб одного наружного диаметра применяют муфты разных наружных диаметров.
3.1.15 резьба с полным профилем: Резьба, вершины и впадины которой соответствуют номинальному профилю резьбы и находятся в пределах отклонений наружного и внутреннего диаметров резьбы.
3.1.16 резьба с неполным профилем: Резьба, витки которой имеют неполную (незавершенную) форму.
3.1.17 резьбовое соединение трубы или муфты (конструктивный элемент): Выполненные механической обработкой на трубе или муфте резьба, торцы, расточки и фаски, в том числе упорные и уплотнительные элементы, с установленной формой и геометрическими параметрами.
3.1.18 резьбовое соединение трубы с муфтой (результат свинчивания): Соединение трубы с муфтой с помощью резьбы.
3.1.19 сбег резьбы: Участок перехода резьбы к гладкой части изделия, на котором резьба имеет неполный профиль.
3.1.20 свинчивание механическое: Свинчивание резьбового соединения с определенным усилием и/или до определенного положения на муфтонаверточном станке или с применением специального инструмента.
3.1.21 свинчивание ручное: Свинчивание резьбового соединения усилием одного человека без применения ключа или других устройств.
Примечание - Ручное свинчивание является условным свинчиванием трубы и муфты с номинальными параметрами резьбового соединения. Устанавливаемые параметры резьбового соединения при ручном свинчивании контролю не подвергают.
3.1.22 специальная муфта: Муфта, имеющая меньший наружный диаметр по сравнению с наружным диаметром обычной муфты.
3.1.23 трапецеидальная резьба: Коническая резьба, профиль которой представляет собой трапецию.
3.1.24 угол уклона резьбы: Угол между линией среднего диаметра резьбы и осью закругленной треугольной резьбы или между образующей конуса резьбы и осью трапецеидальной резьбы.
3.1.25 узел уплотнения "металл-металл": Совокупность конструктивных уплотнительных и упорных элементов резьбового соединения, которые при механическом свинчивании обеспечивают высокую герметичность резьбового соединения.
3.1.26 уплотнительные элементы: Уплотнительная коническая проточка трубы и уплотнительная коническая расточка муфты - конструктивные элементы узла уплотнения "металл-металл".
3.1.27 упорные элементы: Упорный торец трубы и упорный уступ муфты - конструктивные элементы узла уплотнения "металл-металл".
3.2 В настоящем стандарте применены следующие обозначения:
A - натяг при ручном свинчивании трубы с муфтой, мм;
A1, A2, A3, A4, A5 - натяги элементов резьбового соединения по калибрам, мм;
B - ширина торцевой плоскости муфты, мм;
b, b1 - ширина вершин резьбы, мм;
b2, b3 - ширина впадин резьбы, мм;
b4 - ширина фаски на вершине резьбы, мм;
D - наружный диаметр трубы, мм;

- плюсовое предельное отклонение наружного диаметра трубы, мм;
Dв - наружный диаметр высаженного конца трубы, мм;
Dм - наружный диаметр обычной муфты, мм;
Dс - наружный диаметр специальной муфты, мм;
d0 - диаметр фаски в плоскости торца муфты или диаметр цилиндрической расточки муфты, мм;
d1 - наружный диаметр резьбы в плоскости торца трубы, мм;
d2 - внутренний диаметр резьбы в плоскости торца трубы или диаметр уплотнительной конической проточки в плоскости торца трубы, мм;
d3 - внутренний диаметр резьбы в плоскости торца муфты, мм;
d4 - диаметр уплотнительной конической расточки муфты в базовой плоскости, мм;
dвн - внутренний диаметр резьбы в основной плоскости, мм;
dм - внутренний диаметр муфты, мм;
dср - средний диаметр резьбы в основной плоскости, мм;
H - высота исходного профиля, мм;
h - рабочая высота профиля, мм;
h1, h3 - высота профиля резьбы, мм;
h2, h4 - срез по вершинам резьбы трубы и муфты, мм;
h5, h6 - срез по впадинам резьбы трубы и муфты, мм;
hr - глубина уплотнительной проточки трубы, мм;
К - конусность.
Примечание - Конусность может быть выражена в виде отношения одного числа к другому или миллиметров к миллиметрам, или в миллиметрах;
L - общая длина резьбы трубы, мм;
L1 - расстояние от торца трубы до конца сбега резьбы, мм;
Lм - длина муфты, мм;
Lм.ф - фактическая длина муфты, мм;
Lc - минимальная длина резьбы с полным профилем мм;
l0 - расстояние от торца до основной плоскости, мм;
l1 - расстояние от торца муфты до конической расточки 45° или до переходной фаски 60°, мм;
l2 - расстояние от торца муфты до упорного уступа, мм;
l3 - расстояние от торца муфты до базовой плоскости, мм;
l4 - расстояние от свободного торца муфты до торца трубы внутри муфты, мм;
l5 - длина сбега резьбы, мм;
l6 - длина цилиндрической расточки муфты, мм;
l7 - расстояние от торца до начала резьбы, мм;
l8 - длина уплотнительной проточки, мм;
P - шаг резьбы, мм;
r, r1, r2, r3, r4 - радиусы скругления профиля резьбы, мм;
R - радиус скругления, мм;
t - толщина стенки трубы, мм;
tr - расчетная минимальная толщина стенки трубы под резьбой или под уплотнительной проточкой в плоскости торца, мм;
z - зазор, мм;

- угол профиля резьбы, градус;

,

- углы наклона боковых сторон резьбы, градус;

- разность максимального и минимального показаний прибора, мм;

- угол уклона резьбы, градус.
Примечание - В настоящем стандарте приведены номинальные показатели, если не указано иное.
4.1 Геометрические параметры исходных заготовок, предназначенных для нарезания резьбовых соединений, должны обеспечивать выполнение требований настоящего стандарта к геометрическим параметрам резьбовых соединений.
4.2 Резьба соединений трубы и муфты должна быть правой и начинаться на заходной фаске.
4.3 На поверхности резьбового соединения не допускаются трещины, плены, подрезы, рванины, раковины, забоины и другие дефекты по
ГОСТ 34004.
На поверхности резьбового соединения допускаются риски, вмятины и другие несовершенства по
ГОСТ 34004.
Допускается зачистка поверхности резьбового соединения тонким шлифовальным инструментом для удаления несовершенств, при условии соблюдения требований к геометрическим параметрам резьбового соединения и шероховатости поверхности.
4.4 На поверхность резьбового соединения муфт наносят цинковое, фосфатное или другое покрытие, предохраняющие резьбовые соединения от заеданий и задиров при свинчивании.
4.5 При свинчивании резьбовых соединений применяют резьбовые уплотнительные смазки, обеспечивающие герметичность соединения и предохраняющие резьбовые соединения от коррозии и задиров при свинчивании.
5 Резьбовые соединения обсадных труб
Форма и основные геометрические параметры профиля трапецеидальной резьбы резьбовых соединений ОТТМ и ОТТГ приведены на
рисунке 1 и в
таблице 1.
--------------------------------
<*> Размеры для справок.
1 - профиль резьбы муфты; 2 - образующие конуса резьбы;
3 - ось резьбы; 4 - профиль резьбы трубы; 5 - линия,
параллельная оси резьбы;

- угол профиля резьбы;

,

- углы наклона боковых сторон резьбы;
b, b1 - ширина вершин резьбы; b2, b3 - ширина впадин резьбы;

- угол уклона резьбы;
h1 - высота профиля резьбы;
P - шаг резьбы; r, r1, r2, r3 - радиусы скругления
профиля резьбы
Примечания
1 Вершины и впадины резьбы параллельны образующей конуса резьбы.
2 Конусность по внутреннему диаметру резьбы трубы и наружному диаметру резьбы муфты - 1:16 или 0,0625 мм/мм.
Рисунок 1 - Форма и основные геометрические параметры
профиля трапецеидальной резьбы резьбовых
соединений ОТТМ и ОТТГ
Таблица 1
Геометрические параметры профиля трапецеидальной резьбы
резьбовых соединений ОТТМ и ОТТГ
Размеры в миллиметрах
Геометрический параметр | Номинальное значение | Предельное отклонение |
Шаг резьбы P | 5,08 | +/- 0,05 на длине 25,4 мм <**>+/- 0,10 на всей длине резьбы с полным профилем |
Высота профиля резьбы h1 | 1,60 | +/- 0,03 |
Угол профиля резьбы <*> | 13° | - |
Углы наклона боковых сторон резьбы: | | |
| 3° | +/- 1° |
| 10° | +/- 1° |
Ширина вершин резьбы b <*>, b1 <*> | 2,29 | - |
Ширина впадин резьбы b2 <*>, b3 <*> | 2,43 | +0,05 |
Радиус скругления профиля резьбы: | | |
| 0,20 | +0,05 |
| 0,80 | -0,05 |
| 0,20 | -0,05 |
| 0,80 | +0,05 |
Угол уклона резьбы <*> | 1°47'24" | - |
Конусность резьбы К на длине 25,4 мм | 1,59 | |
<*> Параметры указаны для проектирования резьбообразующего инструмента и не подлежат контролю. <**> Предельные отклонения между любыми двумя витками резьбы с полным профилем на длине 25,4 мм и менее. Допускается увеличение предельных отклонений между любыми двумя витками резьбы на длине более 25,4 мм пропорционально увеличению длины, но не более предельных отклонений, указанных для всей длины резьбы с полным профилем. |
Таблица 2
Предельные отклонения конусности резьбы
на длине 25,4 мм
В миллиметрах
Тип резьбового соединения | Предельное отклонение конусности резьбы на длине 25,4 мм |
трубы, при номинальном диаметре резьбы | муфты, при номинальном диаметре резьбы |
до 193,68 включ. | св. 193,68 | до 193,68 включ. | св. 193,68 |
ОТТМ | +0,06 | +0,06 -0,03 | -0,06 | +0,03 -0,06 |
ОТТГ | +0,04 | +0,05 -0,01 | -0,04 | +0,01 -0,05 |
5.2 Основные параметры резьбового соединения ОТТМ
5.2.1 Общий вид резьбового соединения ОТТМ труб с муфтой показан на
рисунке 2.
1 - труба; 2 - муфта; 3 - положение торца муфты при ручном
свинчивании; 4 - положение торца муфты при механическом
свинчивании; 5 - плоскость конца сбега резьбы; A - натяг
при ручном свинчивании трубы с муфтой; D - наружный диаметр
трубы; Dм - наружный диаметр обычной муфты; Dс - наружный
диаметр специальной муфты; dм - внутренний диаметр муфты;
t - толщина стенки трубы; Lм - длина муфты
Примечание - Соединение трубы с муфтой при номинальных параметрах резьбового соединения.
Рисунок 2 - Общий вид резьбового соединения ОТТМ
5.2.2 Основные геометрические параметры резьбовых соединений ОТТМ труб и муфт и предельные отклонения параметров приведены на
рисунках 3 и
4 и в
таблицах 3 и
4.
--------------------------------
<*> Размеры для справок.
D - наружный диаметр трубы; dвн - внутренний диаметр резьбы
в основной плоскости; d1 - наружный диаметр резьбы
в плоскости торца трубы; d2 - внутренний диаметр резьбы
в плоскости торца трубы; L - общая длина резьбы трубы;
l0 - расстояние от торца до основной плоскости;
Lс - минимальная длина резьбы с полным профилем;
13 max - длина сбега резьбы
Рисунок 3 - Основные геометрические параметры
резьбового соединения ОТТМ трубы
--------------------------------
<*> Размеры для справок.
<**> Наружные кромки торцов специальной муфты должны быть скруглены радиусом не более 0,1 мм или притуплены.
B - ширина торцевой плоскости муфты; dвн - внутренний
диаметр резьбы в основной плоскости; dм - внутренний
диаметр муфты; d0 - диаметр фаски в плоскости торца муфты;
d3 - внутренний диаметр резьбы в плоскости торца муфты;
l1 - расстояние от торца муфты до конической расточки 45°;
Lc - минимальная длина резьбы с полным профилем;
R - радиус скругления
Примечание - Для выхода резьбообразующего инструмента посередине муфты может быть выполнена проточка глубиной, превышающей высоту профиля резьбы h1 не более чем на 0,50 мм. Проточка не должна иметь острых кромок. При отсутствии проточки посередине муфты допускается перерез встречных витков резьбы.
Рисунок 4 - Основные геометрические параметры
резьбового соединения ОТТМ муфты
Таблица 3
Основные геометрические параметры резьбового
соединения ОТТМ трубы
В миллиметрах
Обозначение номинального диаметра резьбы | Наружный диаметр трубы D | Внутренний диаметр резьбы в основной плоскости dвн | Наружный диаметр резьбы в плоскости торца трубы d1 | Внутренний диаметр резьбы в плоскости торца трубы d2 | Общая длина резьбы трубы L +/- 2,0 | Расстояние от торца до основной плоскости l0 | Минимальная длина резьбы с полным профилем Lc <*> | Натяг при ручном свинчивании трубы с муфтой A |
101,60 | 101,60 | 98,400 | 99,287 | 96,087 | 66 | 37 | 27 | 11,0 |
114,30 | 114,30 | 111,100 | 111,675 | 108,475 | 74 | 42 | 32 | 14,0 |
127,00 | 127,00 | 123,800 | 124,250 | 121,050 | 76 | 44 | 34 | 14,0 |
139,70 | 139,70 | 136,500 | 136,700 | 133,500 | 80 | 48 | 38 | 14,0 |
146,05 | 146,05 | 142,850 | 143,050 | 139,850 | 80 | 48 | 38 | 14,0 |
168,28 | 168,28 | 165,075 | 165,025 | 161,825 | 84 | 52 | 42 | 14,0 |
177,80 | 177,80 | 174,600 | 174,300 | 171,100 | 88 | 56 | 46 | 14,0 |
193,68 | 193,68 | 190,475 | 189,925 | 186,725 | 92 | 60 | 50 | 14,0 |
219,08 | 219,08 | 215,875 | 214,950 | 211,750 | 98 | 66 | 56 | 14,0 |
244,48 | 244,48 | 241,275 | 240,350 | 237,150 | 98 | 66 | 56 | 14,0 |
273,05 | 273,05 | 269,850 | 268,925 | 265,725 | 98 | 66 | 56 | 14,0 |
298,45 | 298,45 | 295,250 | 294,325 | 291,125 | 98 | 66 | 56 | 14,0 |
323,85 | 323,85 | 320,650 | 319,725 | 316,525 | 98 | 66 | 56 | 14,0 |
339,72 | 339,72 | 336,525 | 335,600 | 332,400 | 98 | 66 | 56 | 14,0 |
Примечание - Натяг A при ручном свинчивании трубы с муфтой является исходным натягом для механического свинчивания. |
Таблица 4
Основные геометрические параметры резьбового
соединения ОТТМ муфты
В миллиметрах
Наружный диаметр трубы D | Наружный диаметр | Длина муфты Lм | Внутренний диаметр резьбы в основной плоскости dвн | Внутренний диаметр муфты dм +/- 0,5 | Диаметр фаски в плоскости торца муфты d0, +1,0 | Внутренний диаметр резьбы в плоскости торца муфты d3 | Ширина торцевой плоскости муфты B <*>, не менее | Расстояние от торца муфты до конической расточки 45° l1, +2,0 | Минимальная длина резьбы с полным профилем Lc |
обычной муфты Dм | специальной муфты Dс |
101,60 | 114,00 | 110,0 | 190,0 | 98,400 | 90,0 | | 99,525 | 1,5 | 86 | 74 |
114,30 | 127,00 | 123,8 | 170,0 | 111,100 | - | 116,5 | 112,225 | 3,0 | - | 76 |
127,00 | 141,30 | 136,5 | 174,0 | 123,800 | - | 129,2 | 124,925 | 4,0 | - | 78 |
139,70 | 153,70 | 149,2 | 182,0 | 136,500 | - | 141,9 | 137,625 | 3,5 | - | 82 |
146,05 | 166,00 | 156,0 | 182,0 | 142,850 | - | 148,3 | 143,975 | 6,5 | - | 82 |
168,28 | 187,70 | 177,8 | 190,0 | 165,075 | - | 170,5 | 166,200 | 6,0 | - | 86 |
177,80 | 194,50 | 187,3 | 198,0 | 174,600 | - | 180,0 | 175,725 | 4,5 | - | 90 |
193,68 | 215,90 | 206,4 | 206,0 | 190,475 | - | 195,9 | 191,600 | 7,5 | - | 94 |
219,08 | 244,50 | 231,8 | 218,0 | 215,875 | - | 221,3 | 217,000 | 9,0 | - | 100 |
244,48 | 269,90 | 257,2 | 218,0 | 241,275 | - | 246,7 | 242,400 | 9,0 | - | 100 |
273,05 | 298,50 | 285,8 | 218,0 | 269,850 | - | 275,3 | 270,975 | 8,5 | - | 100 |
298,45 | 323,85 | - | 218,0 | 295,250 | - | 300,7 | 296,375 | 8,5 | - | 100 |
323,85 | 350,52 | - | 218,0 | 320,650 | - | 326,1 | 321,775 | 9,5 | - | 100 |
339,72 | 365,10 | - | 218,0 | 336,525 | - | 342,0 | 337,650 | 8,5 | - | 100 |
<*> Ширина торцевой плоскости обычной муфты, для специальной муфты ширина торцевой плоскости не нормируется. <**> Предельные отклонения +/- 0,5 мм. |
5.2.3 На минимальной длине резьбы с полным профилем Lc труб не допускаются витки резьбы с черновинами по всей окружности, но допускаются витки резьбы с черновинами общей протяженностью не более 25% длины витка резьбы:
- на одном витке резьбы - для труб наружным диаметром до 193,68 мм включительно;
- на двух витках резьбы - для труб наружным диаметром 219,08 мм и более.
5.2.4 Толщина стенки трубы под резьбой в плоскости торца должна быть не менее:
- 1,5 мм, если значение
tr, рассчитанное по
формуле (1), менее или равно 1,5 мм;
- расчетного значения, если значение
tr, рассчитанное по
формуле (1), более 1,5 мм.
Расчетную минимальную толщину стенки трубы под резьбой tr вычисляют по формуле
tr = 0,875
t - 0,5(1,01
D -
d2), (1)
где tr - расчетная минимальная толщина стенки трубы под резьбой, мм, округленная до 0,1 мм;
t - толщина стенки трубы, мм;
D - наружный диаметр трубы, мм;
d2 - внутренний диаметр резьбы в плоскости торца трубы, мм.
5.2.5 Разностенность в плоскости торца специальных муфт не должна превышать 1,00 мм.
5.2.6 Оси резьбы обоих концов муфты должны совпадать.
Отклонение от соосности резьбы не должно превышать:
- 0,75 мм - в плоскости торца муфты;
- 3,00 мм - на расстоянии 1 м от середины муфты.
5.2.7 При механическом свинчивании труб с муфтами
(рисунок 2) торец муфты должен совпадать с концом сбега резьбы трубы или не доходить до него не более чем на 5,0 мм.
5.3 Основные параметры резьбового соединения ОТТГ
5.3.1 Общий вид резьбового соединения ОТТГ труб с муфтой показан на
рисунке 5.
1 - труба; 2 - муфта; 3 - положение торца муфты
при ручном свинчивании; 4 - положение торца муфты
при механическом свинчивании; 5 - плоскость конца сбега
резьбы; 6 - узел уплотнения "металл-металл"; A - натяг
при ручном свинчивании трубы с муфтой; D - наружный диаметр
трубы; Dм - наружный диаметр обычной муфты; Dс - наружный
диаметр специальной муфты; dм - внутренний диаметр муфты;
t - толщина стенки трубы; Lм - длина муфты
Примечание - Соединение трубы с муфтой - при номинальных параметрах резьбового соединения.
Рисунок 5 - Общий вид резьбового соединения ОТТГ
5.3.2 Основные геометрические параметры резьбового соединения ОТТГ трубы и муфты и предельные отклонения параметров приведены на
рисунках 6 и
7 и в
таблицах 5 и
6.
--------------------------------
<*> Размеры для справок.
<**> Предельные отклонения конусности уплотнительной проточки +/- 0,03 мм.
dвн - внутренний диаметр резьбы в основной плоскости;
d1 - наружный диаметр резьбы в плоскости торца трубы;
d2 - диаметр уплотнительной конической проточки в плоскости
торца трубы; L1 - расстояние от торца трубы до конца сбега
резьбы; l0 - расстояние от торца до основной плоскости;
Lc - минимальная длина резьбы с полным профилем;
13 max - длина сбега резьбы
Рисунок 6 - Основные геометрические параметры
резьбового соединения ОТТГ трубы
--------------------------------
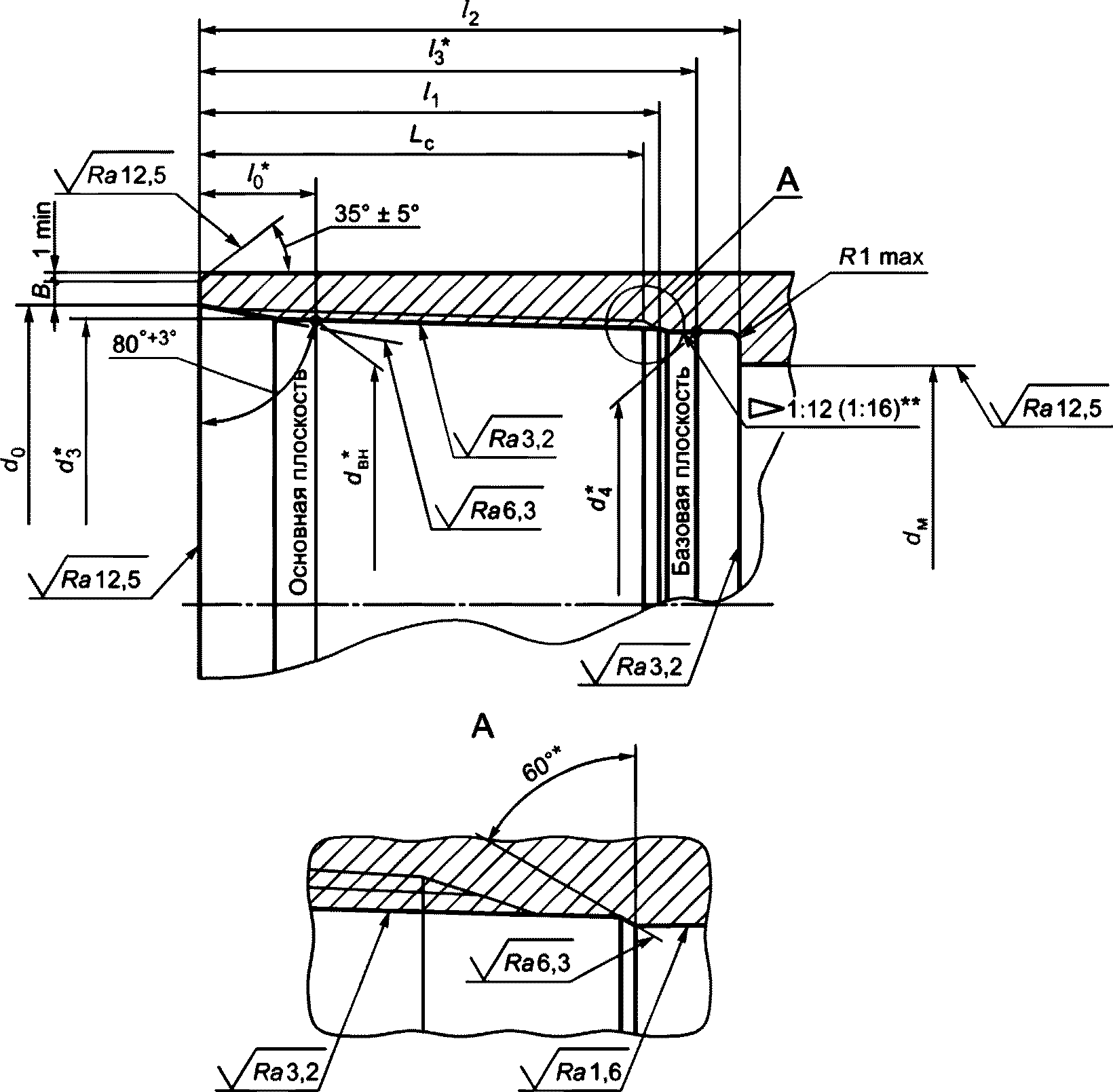
<*> Размеры для справок.
<**> Предельные отклонения конусности уплотнительной расточки +/- 0,06 мм.
<***> Наружные кромки торцов специальной муфты должны быть скруглены радиусом не более 1,0 мм или притуплены.
B - ширина торцевой плоскости; dвн - внутренний диаметр
резьбы в основной плоскости; dм - внутренний диаметр муфты;
d0 - диаметр фаски в плоскости торца муфты; d3 - внутренний
диаметр резьбы в плоскости торца муфты; d4 - диаметр
уплотнительной конической расточки муфты в базовой
плоскости; l1 - расстояние от торца до переходной фаски 60°;
l2 - расстояние от торца муфты до упорного уступа;
l3 - расстояние от торца муфты до базовой плоскости;
Lc - минимальная длина резьбы с полным профилем;
R - радиус скругления
Рисунок 7 - Основные геометрические параметры
резьбового соединения ОТТГ муфты
Таблица 5
Основные геометрические параметры
резьбового соединения ОТТГ трубы
В миллиметрах
Обозначение номинального диаметра резьбы | Наружный диаметр трубы D | Внутренний диаметр резьбы в основной плоскости dвн | Наружный диаметр резьбы в плоскости торца трубы d1 | Диаметр уплотнительной конической проточки в плоскости торца трубы d2 | Расстояние от торца трубы до конца сбега резьбы L1, -1,0 | Расстояние от торца до основной плоскости l0 | Минимальная длина резьбы с полным профилем Lc <*> | Натяг при ручном свинчивании трубы с муфтой A |
114,30 | 114,30 | 111,100 | 110,175 | 106,375 | 98 | 66 | 56 | 10,0 |
127,00 | 127,00 | 123,800 | 122,750 | 118,950 | 100 | 68 | 58 | 10,0 |
139,70 | 139,70 | 136,500 | 135,200 | 131,400 | 104 | 72 | 62 | 10,0 |
146,05 | 146,05 | 142,850 | 141,550 | 137,750 | 104 | 72 | 62 | 10,0 |
168,28 | 168,28 | 165,075 | 163,525 | 159,725 | 108 | 76 | 66 | 10,0 |
177,80 | 177,80 | 174,600 | 172,800 | 169,000 | 112 | 80 | 70 | 10,0 |
193,68 | 193,68 | 190,475 | 188,425 | 184,625 | 116 | 84 | 74 | 10,0 |
219,08 | 219,08 | 215,875 | 213,450 | 209,650 | 122 | 90 | 80 | 10,0 |
244,48 | 244,48 | 241,275 | 238,850 | 235,050 | 122 | 90 | 80 | 10,0 |
250,83 | 250,83 | 241,275 | 238,850 | 235,050 | 122 | 90 | 80 | 10,0 |
273,05 | 273,05 | 269,850 | 267,425 | 263,625 | 122 | 90 | 80 | 10,0 |
323,85 | 323,85 | 320,650 | 318,225 | 314,425 | 122 | 90 | 80 | 10,0 |
Примечание - Натяг A при ручном свинчивании трубы с муфтой является исходным натягом для механического свинчивания. |
Таблица 6
Основные геометрические параметры
резьбового соединения ОТТГ муфты
В миллиметрах
Наружный диаметр трубы D | Наружный диаметр | Длина муфты Lм | Внутренний диаметр резьбы в основной плоскости dвн | Диаметр фаски в плоскости торца муфты d0, +1,0 | Внутренний диаметр резьбы в плоскости торца муфты d3 | Диаметр уплотнительной конической расточки муфты в базовой плоскости d4 | Толщина стенки трубы t | Внутренний диаметр муфты dм, +0,5 -1,0 | Расстояние от торца муфты до упорного уступа l2, +1,0 | Расстояние от торца муфты до базовой плоскости l3 | Расстояние от торца муфты до переходной фаски l1, -1,0 | Минимальная длина резьбы с полным профилем Lc | Ширина торцевой плоскости муфты B <*>, не менее |
обычной муфты Dм | специальной муфты Dс |
114,30 | 127,00 | 123,80 | 205,0 | 111,100 | 116,5 | 112,475 | 106,425 | 8,56 | 97,0 | 96 | 88 | 82 | 72 | 3,0 |
10,20 |
127,00 | 141,30 | 136,50 | 210,0 | 123,800 | 129,2 | 125,175 | 119,000 | 9,19 | 110,0 | 98 | 90 | 84 | 74 | 4,0 |
10,70 |
11,10 |
139,70 | 153,70 | 149,20 | 218,0 | 136,500 | 141,9 | 137,875 | 131,450 | 9,17 | 122,0 | 102 | 94 | 88 | 78 | 3,5 |
10,54 | 119,0 |
146,05 | 166,00 | 156,00 | 218,0 | 142,850 | 148,3 | 144,225 | 137,800 | 8,50 | 132,0 | 102 | 94 | 88 | 78 | 6,5 |
9,50 | 130,0 |
10,70 | 126,0 |
168,28 | 187,70 | 177,80 | 225,0 | 165,075 | 170,5 | 166,450 | 159,775 | 8,94 | 151,0 | 106 | 98 | 92 | 82 | 6,0 |
10,59 | 148,0 |
12,06 |
177,80 | 194,50 | 187,30 | 234,0 | 174,600 | 180,0 | 175,975 | 169,050 | 9,19 | 160,0 | 110 | 102 | 96 | 86 | 4,5 |
10,36 | 158,0 |
11,51 |
12,65 |
13,72 |
15,00 |
193,68 | 215,90 | 206,40 | 242,0 | 190,475 | 195,9 | 191,850 | 184,675 | 9,52 | 175,0 | 114 | 106 | 100 | 90 | 7,5 |
10,92 |
12,70 | 172,0 |
14,27 |
15,11 |
15,88 |
219,08 | 244,50 | 231,80 | 254,0 | 215,875 | 221,3 | 217,250 | 209,700 | 8,94 | 203,0 | 120 | 112 | 106 | 96 | 9,0 |
10,16 |
11,43 | 198,0 |
12,70 |
14,15 |
244,48 | 269,90 | 257,20 | 254,0 | 241,275 | 246,7 | 242,650 | 235,100 | 8,94 | 226,0 | 120 | 112 | 106 | 96 | 9,0 |
10,03 | 223,0 |
11,05 |
11,99 |
13,84 |
15,90 |
250,83 | 269,90 | - | 254,0 | 241,275 | 246,7 | 242,650 | 235,100 | 15,88 | 223,0 | 120 | 112 | 106 | 96 | 9,0 |
273,05 | 298,50 | 285,80 | 254,0 | 269,850 | 275,3 | 271,225 | 263,675 | 8,89 | 256,0 | 120 | 112 | 106 | 96 | 8,5 |
10,16 |
11,43 |
12,57 |
13,84 |
15,11 |
16,50 |
323,85 | 351,00 | - | 254,0 | 320,650 | 326,1 | 322,025 | 314,475 | 9,50 | 306,0 | 120 | 112 | 106 | 96 | 8,5 |
11,00 | 303,0 |
12,40 |
14,00 |
<*> Ширина торцевой плоскости обычной муфты, для специальной муфты ширина торцевой плоскости не нормируется. |
5.3.3 На минимальной длине резьбы с полным профилем Lc труб не допускаются витки резьбы с черновинами по всей окружности, но допускаются витки резьбы с черновинами общей протяженностью не более 25% длины витка резьбы:
- на одном витке резьбы - для труб наружным диаметром до 193,68 мм включительно;
- на двух витках резьбы - для труб наружным диаметром 219,08 мм и более.
5.3.4 Толщина стенки под уплотнительной проточкой в плоскости торца трубы должна быть не менее:
- 2,5 мм для труб наружным диаметром 146,05 мм и толщиной стенки 8,50 мм, наружными диаметрами 168,28; 219,08; 244,48; 273,05 мм и толщинами стенки 8,00; 8,89; 8,94 мм, наружным диаметром 323,85 мм и толщиной стенки 9,50 мм, если значение
tr, рассчитанное по
формуле (2) менее или равно 2,5 мм;
- 3,0 мм для остальных труб, если значение
tr, рассчитанное по
формуле (2) менее или равно 3,0 мм;
- расчетного значения, если значение
tr, рассчитанное по
формуле (2) более 2,5 мм или 3,0 мм соответственно.
tr = 0,875
t - 0,5(1,01
D -
d2), (2)
где tr - расчетная минимальная толщина стенки под уплотнительной проточкой в плоскости торца трубы, мм, округленная до 0,1 мм;
t - толщина стенки трубы, мм;
D - наружный диаметр трубы, мм;
d2 - диаметр уплотнительной проточки в плоскости торца трубы, мм.
5.3.5 Разностенность в плоскости торца специальных муфт не должна превышать 1,00 мм.
5.3.6 Оси резьбы обоих концов муфты должны совпадать.
Отклонение от соосности резьбы не должно превышать:
- 0,75 мм - в плоскости торца муфты;
- 3,00 мм - на расстоянии 1 м от середины муфты.
5.3.7 При механическом свинчивании труб с муфтами
(рисунок 5) должно быть обеспечено сопряжение упорного торца трубы и упорного уступа муфты по всему периметру стыка сопрягаемых поверхностей.
6 Резьбовые соединения насосно-компрессорных труб
6.1.1 Форма и основные геометрические параметры профиля закругленной треугольной резьбы соединений НКТН и НКТВ насосно-компрессорных труб и муфт к ним приведены на
рисунке 8 и в
таблице 7.
--------------------------------
<*> Размеры для справок.
1 - профиль резьбы муфты; 2 - линия, параллельная оси
резьбы; 3 - линия среднего диаметра резьбы; 4 - профиль
резьбы трубы;
5 - ось резьбы;

- угол профиля резьбы;

- угол наклона боковой стороны резьбы;

- угол уклона
резьбы; H - высота исходного профиля; h - рабочая высота
профиля; h1, h3 - высота профиля резьбы; h2, h4 - срез
по вершинам резьбы; h5, h6 - срез по впадинам резьбы;
P - шаг резьбы; r1 - радиус скругления впадин профиля;
r - радиус скругления вершин профиля; z - зазор
Примечание - Конусность по среднему диаметру резьбы трубы и муфты - 1:16 или 0,0625 мм/мм.
Рисунок 8 - Форма и основные геометрические параметры
профиля закругленной треугольной резьбы
соединений НКТН и НКТВ
Таблица 7
Геометрические параметры профиля закругленной
треугольной резьбы соединений НКТН и НКТВ
Размеры в миллиметрах
Геометрический параметр | Номинальное значение | Предельное отклонение | Номинальное значение | Предельное отклонение |
Число витков резьбы на длине 25,4 мм |
10 | 8 |
Шаг резьбы P | 2,540 | +/- 0,075 на длине 25,4 мм <**>; +/- 0,120 на всей длине резьбы с полным профилем | 3,175 | +/- 0,075 на длине 25,4 мм <**>; +/- 0,120 на всей длине резьбы с полным профилем |
Высота исходного профиля H <*> | 2,200 | - | 2,750 | - |
Рабочая высота профиля h <*> | 1,336 | - | 1,734 | - |
Высота профиля резьбы h1, h3 | 1,412 | +0,050 -0,100 | 1,810 | +0,050 -0,100 |
Угол профиля резьбы <*> | 60° | - | 60° | - |
Угол наклона боковой стороны резьбы  | 30° | +/- 1° | 30° | +/- 1° |
Радиус скругления профиля резьбы | | | | |
| 0,432 | +0,045 | 0,508 | +0,045 |
| 0,356 | -0,045 | 0,432 | -0,045 |
Срез по вершинам резьбы h2 <*>, h4 <*> | 0,432 | - | 0,508 | - |
Срез по впадинам резьбы h5 <*>, h6 <*> | 0,356 | - | 0,432 | - |
| 0,076 | - | 0,076 | - |
Угол уклона резьбы <*> | 1°47'24" | - | 1°47'24" | - |
Конусность К резьбы на длине 25,4 мм | трубы | 1,59 | +0,09 -0,06 | 1,59 | +0,09 -0,06 |
муфты | +0,06 -0,09 | +0,06 -0,09 |
<*> Параметры указаны для проектирования резьбообразующего инструмента и не подлежат контролю. <**> Предельные отклонения между любыми двумя витками резьбы с полным профилем на длине 25,4 мм и менее. Допускается увеличение предельных отклонений между любыми двумя витками резьбы на длине более 25,4 мм пропорционально увеличению длины, но не более предельных отклонений, указанных для всей длины резьбы с полным профилем. |
6.1.2 Форма и основные геометрические параметры профиля трапецеидальной резьбы соединения НКМ насосно-компрессорных труб наружным диаметром от 60,32 до 101,6 мм и муфт к ним приведены на
рисунке 9 и в
таблице 8, для труб наружным диаметром 114,3 мм и муфт к ним - на
рисунке 10 и в
таблице 8.
--------------------------------
<*> Размеры для справок.
1 - профиль резьбы муфты; 2 - профиль резьбы трубы;
3 - образующие конуса резьбы; 4 - ось резьбы; 5 - линия,
параллельная оси резьбы;

- угол профиля резьбы;

,

- углы наклона боковых сторон резьбы;
b, b1 - ширина вершин резьбы; b2, b3 - ширина впадин резьбы;
b4 - ширина фаски на вершине резьбы; h1 - высота профиля
резьбы; P - шаг резьбы; r1, r2 - радиусы скругления впадин
профиля;

- угол уклона резьбы
Примечания
1 Допускается замена фаски на вершинах профиля резьбы скруглением радиусом 0,20+0,05 мм.
2 Вершины и впадины резьбы параллельны образующей конуса резьбы.
3 Конусность по внутреннему диаметру резьбы трубы и наружному диаметру резьбы муфты для резьбы с шагом 4,233 мм - 1:12 или 0,0833 мм/мм.
Рисунок 9 - Форма и основные геометрические параметры
профиля трапецеидальной резьбы соединения НКМ
насосно-компрессорных труб наружным диаметром
от 60,32 до 101,60 мм и муфт к ним
--------------------------------
<*> Размеры для справок.
1 - профиль резьбы муфты; 2 - профиль резьбы трубы;
3 - образующие конуса резьбы; 4 - ось резьбы; 5 - линия,
параллельная оси резьбы;

- угол профиля резьбы;

,

- углы наклона боковых сторон резьбы;
b,
b1 - ширина
вершин резьбы; b2, b3 - ширина впадин резьбы;

- угол уклона резьбы;
h1 - высота профиля резьбы;
P - шаг резьбы; r, r3 - радиусы скругления вершин профиля;
r1, r4 - радиусы скругления впадин профиля
Примечания
1 Вершины и впадины резьбы параллельны образующей конуса резьбы.
2 Конусность по внутреннему диаметру резьбы трубы и наружному диаметру резьбы муфты для резьбы с шагом 5,080 мм - 1:16 или 0,0625 мм/мм.
Рисунок 10 - Форма и основные геометрические параметры
профиля трапецеидальной резьбы соединения НКМ
насосно-компрессорных труб наружным диаметром 114,30 мм
и муфт к ним
Таблица 8
Геометрические параметры профиля трапецеидальной резьбы
резьбового соединения НКМ
Размеры в миллиметрах
Геометрический параметр | Номинальное значение | Предельное отклонение | Номинальное значение | Предельное отклонение |
Наружный диаметр труб |
от 60,32 до 101,60 включ. | 114,30 |
Шаг резьбы P | 4,233 | +/- 0,040 на длине 25,4 мм <**>; +/- 0,080 на всей длине резьбы с полным профилем | 5,080 | +/- 0,050 на длине 25,4 мм <**>+/- 0,100 на всей длине резьбы с полным профилем |
Высота профиля резьбы h1: | | | | |
наружная резьба | 1,20 | +0,05 | 1,60 | +/- 0,03 |
внутренняя резьба | 1,30 | +0,05 | 1,60 | +/- 0,03 |
Угол профиля резьбы <*> | 33° | - | 13° | - |
Углы наклона боковых сторон резьбы: | | | | |
| 3° | +/- 1° | 3° | +/- 1° |
| 30° | +/- 1° | 10° | +/- 1° |
Радиус скругления профиля резьбы: | | | | |
| - | - | 0,20 | +0,05 |
| 0,20 | -0,05 | 0,20 | -0,05 |
| 0,25 | -0,05 | - | - |
| - | - | 0,80 | +0,05 |
| - | - | 0,80 | -0,05 |
Ширина вершин резьбы: | | | | |
| 1,659 | - | 2,29 | - |
| 1,600 | - | 2,29 | - |
Ширина впадин резьбы: | | | | |
| 1,800 | +0,05 | 2,43 | +0,05 |
| 1,794 | +0,05 | 2,43 | +0,05 |
Ширина фаски на вершине резьбы b4 | 0,30 | +0,05 | - | - |
Угол уклона резьбы <*> | 2°23'09" | - | 1°47'24" | - |
Конусность К резьбы на длине 25,4 мм | трубы | 2,12 | | 1,59 | +0,04 |
муфты | -0,04 | -0,04 |
<*> Параметры указаны для проектирования резьбообразующего инструмента и не подлежат контролю. <**> Предельные отклонения шага и конусности между любыми двумя витками резьбы с полным профилем на длине 25,4 мм и менее. Допускается увеличение предельных отклонений шага резьбы между любыми двумя витками резьбы на длине более 25,4 мм пропорционально увеличению длины, но не более предельных отклонений, указанных для всей длины резьбы с полным профилем. |
6.2 Основные параметры резьбовых соединений НКТН и НКТВ
6.2.1 Общий вид резьбовых соединений НКТН и НКТВ показан на
рисунках 11 и
12.
1 - труба; 2 - муфта; 3 - положение торца муфты при ручном
свинчивании; 4 - положение торца муфты при механическом
свинчивании; 5 - плоскость конца сбега резьбы; A - натяг
при ручном свинчивании трубы с муфтой; D - наружный диаметр
трубы; Dм - наружный диаметр муфты; Lм - длина муфты;
l4 - расстояние от свободного торца муфты до торца трубы
внутри муфты; t - толщина стенки трубы
Примечание - Соединение трубы с муфтой при номинальных параметрах резьбового соединения.
Рисунок 11 - Общий вид резьбового соединения НКТН
1 - труба; 2 - муфта; 3 - положение торца муфты при ручном
свинчивании; 4 - положение торца муфты при механическом
свинчивании; 5 - плоскость конца сбега резьбы; A - натяг
при ручном свинчивании трубы с муфтой; D - наружный диаметр
трубы; Dв - наружный диаметр высаженного конца трубы;
Dм - наружный диаметр обычной муфты; Lм - длина муфты;
l4 - расстояние от свободного торца муфты до торца трубы
внутри муфты; t - толщина стенки трубы
Примечание - Соединение трубы с муфтой при номинальных параметрах резьбового соединения.
Рисунок 12 - Общий вид резьбового соединения НКТВ
--------------------------------
<*> Размеры для справок.
D - наружный диаметр трубы; Dв - наружный диаметр
высаженного конца трубы (для НКТВ); dср - средний диаметр
резьбы в основной плоскости; d1 - наружный диаметр резьбы
в плоскости торца трубы; d2 - внутренний диаметр резьбы
в плоскости торца трубы; L - общая длина резьбы трубы;
l0 - расстояние от торца до основной плоскости;
l5 - длина сбега резьбы; Lc - минимальная длина резьбы
с полным профилем
Рисунок 13 - Основные геометрические параметры
резьбовых соединений НКТН и НКТВ трубы
--------------------------------
<*> Размеры для справок.
<**> Наружная и внутренняя кромки торцов обычной муфты со специальной фаской и специальной муфты должны быть скруглены или притуплены.
B - ширина торцевой плоскости муфты; d0 - диаметр
цилиндрической расточки муфты; d3 - внутренний диаметр
резьбы в плоскости торца муфты; dср - средний диаметр
резьбы в основной плоскости; l0 - расстояние от торца
до основной плоскости; l6 - длина цилиндрической расточки
муфты; Lc - минимальная длина резьбы с полным профилем
Примечания
1 Для выхода резьбообразующего инструмента на середине муфты может быть выполнена проточка глубиной, превышающей высоту профиля резьбы не более чем на 0,50 мм. Проточка не должна иметь острых кромок. При отсутствии проточки допускается перерез встречных витков резьбы на расстоянии не более (13 - P) мм от середины муфты в обе стороны, где P - шаг резьбы, округленный до целого значения.
2 Вместо цилиндрической расточки допускается выполнение конической расточки с теми же длиной и диаметром, образующая которой параллельна образующей конуса резьбы.
3 На концах обычной муфты может быть выполнена специальная фаска под углом 20°.
Рисунок 14 - Основные геометрические параметры
резьбовых соединений НКТН и НКТВ муфты
Таблица 9
Основные геометрические параметры резьбового
соединения НКТН трубы
В миллиметрах
Обозначение номинального диаметра резьбы | Наружный диаметр трубы D | Шаг резьбы P | Средний диаметр резьбы в основной плоскости dср | Наружный диаметр резьбы в плоскости торца трубы d1 | Внутренний диаметр резьбы в плоскости торца трубы d2 | Общая длина резьбы трубы L | Расстояние от торца до основной плоскости l0 | Длина сбега резьбы l5, не более | Минимальная длина резьбы с полным профилем Lc <*> |
Номинальное значение | Предельное отклонение |
33,4 | 33,40 | 2,540 | 32,065 | 32,382 | 29,568 | 29,0 | +/- 2,5 | 16,3 | 8 | 8,8 |
42,16 | 42,16 | 40,828 | 40,948 | 38,124 | 32,0 | 19,3 | 11,8 |
48,26 | 48,26 | 46,924 | 46,866 | 44,042 | 35,0 | 22,3 | 14,8 |
60,32 | 60,32 | 58,989 | 58,494 | 55,670 | 42,0 | 29,3 | 21,8 |
73,02 | 73,02 | 71,689 | 70,506 | 67,682 | 53,0 | 40,3 | 32,8 |
88,90 | 88,90 | 87,564 | 85,944 | 83,120 | 60,0 | 47,3 | 39,8 |
101,60 | 101,60 | 3,175 | 99,866 | 98,519 | 94,899 | 62,0 | +/- 3,2 | 49,3 | 10 | 39,3 |
114,30 | 114,30 | 112,566 | 111,031 | 107,411 | 65,0 | 52,3 | 42,3 |
< *> Lc = l0 - 7,5 для резьбы с шагом 2,540 мм, Lc = l0 - 10,0 для резьбы с шагом 3,175 мм. |
Таблица 10
Основные геометрические параметры
резьбового соединения НКТВ трубы
В миллиметрах
Обозначение номинального диаметра резьбы | Наружный диаметр трубы D | Наружный диаметр высаженной части трубы Dв | Шаг резьбы P | Средний диаметр резьбы в основной плоскости dср | Наружный диаметр резьбы в плоскости торца трубы d1 | Внутренний диаметр резьбы в плоскости торца трубы d2 | Общая длина резьбы трубы L | Расстояние от торца до основной плоскости l0 | Длина сбега резьбы l5, не более | Минимальная длина резьбы с полным профилем Lc <*> |
Номинальное значение | Предельное отклонение |
26,67 | 26,67 | 33,40 | 2,540 | 32,065 | 32,383 | 29,568 | 29,0 | +/- 2,5 | 16,3 | 8 | 8,8 |
33,40 | 33,40 | 37,30 | 35,970 | 36,100 | 33,276 | 32,0 | 19,3 | 11,8 |
42,16 | 42,16 | 46,00 | 44,701 | 44,634 | 41,819 | 35,0 | 22,3 | 14,8 |
48,26 | 48,26 | 53,20 | 51,845 | 51,662 | 48,833 | 37,0 | 24,3 | 16,8 |
60,32 | 60,32 | 65,90 | 3,175 | 64,148 | 63,551 | 59,931 | 50,0 | +/- 3,2 | 37,3 | 10 | 27,3 |
73,02 | 73,02 | 78,60 | 76,848 | 76,001 | 72,381 | 54,0 | 41,3 | 31,3 |
88,90 | 88,90 | 95,20 | 93,516 | 92,294 | 88,674 | 60,0 | 47,3 | 37,3 |
101,60 | 101,60 | 108,00 | 106,216 | 104,744 | 101,124 | 64,0 | 51,3 | 41,3 |
114,30 | 114,30 | 120,60 | 118,916 | 117,256 | 113,636 | 67,0 | 54,3 | 44,3 |
< *> Lc = l0 - 7,5 для резьбы с шагом 2,540 мм, Lc = l0 - 10,0 для резьбы с шагом 3,175 мм. |
Таблица 11
Основные геометрические параметры
резьбового соединения НКТН муфты
В миллиметрах
Наружный диаметр трубы D | Наружный диаметр обычной муфты Dм | Длина муфты Lм | Шаг резьбы P | Средний диаметр резьбы в основной плоскости dср | Внутренний диаметр резьбы в плоскости торца муфты d3 | Диаметр цилиндрической расточки муфты d0, +0,8 | Минимальная длина резьбы с полным профилем Lc | Длина цилиндрической расточки муфты l6, +1,5 -0,5 | Расстояние от торца до основной плоскости l0 | Ширина торцевой плоскости муфты B, не менее | Натяг при ручном свинчивании трубы с муфтой A |
33,40 | 48,30 | 84,0 | 2,540 | 32,065 | 31,210 | 35,0 | 29,0 | 8,0 | 7,7 | 2,0 | 5,0 |
42,16 | 52,20 | 90,0 | 40,828 | 39,973 | 43,8 | 32,0 | 2,5 |
48,26 | 55,90 | 96,0 | 46,924 | 46,069 | 49,9 | 35,0 | 1,5 |
60,32 | 73,00 | 110,0 | 58,989 | 58,134 | 61,9 | 42,0 | 4,0 |
73,02 | 88,90 | 132,0 | 71,689 | 70,834 | 74,6 | 53,0 | 5,5 |
88,90 | 108,00 | 146,0 | 87,564 | 86,709 | 90,5 | 60,0 | 6,5 |
101,60 | 120,60 | 150,0 | 3,175 | 99,866 | 98,519 | 103,2 | 62,0 | 9,5 | 6,2 | 6,5 | 6,5 |
114,30 | 132,10 | 156,0 | 112,566 | 111,219 | 115,9 | 65,0 | 6,0 |
Примечание - Натяг A при ручном свинчивании трубы с муфтой является исходным натягом для механического свинчивания. |
Таблица 12
Основные геометрические параметры
резьбового соединения НКТВ муфты
В миллиметрах
Наружный диаметр трубы D | Наружный диаметр обычной муфты Dм | Длина муфты Lм | Шаг резьбы P | Средний диаметр резьбы в основной плоскости dср | Внутренний диаметр резьбы в плоскости торца муфты d3 | Диаметр цилиндрической расточки муфты d0, +0,8 | Минимальная длина резьбы с полным профилем Lc | Длина цилиндрической расточки муфты l6, +1,5 -0,5 | Расстояние от торца до основной плоскости l0 | Ширина торцевой плоскости муфты B, не менее | Натяг при ручном свинчивании трубы с муфтой A |
26,67 | 42,20 | 84,0 | 2,540 | 32,065 | 31,210 | 35,0 | 29,0 | 8,0 | 7,7 | 2,0 | 5,0 |
33,40 | 48,30 | 90,0 | 35,970 | 35,115 | 38,9 | 32,0 | 3,0 |
42,16 | 55,90 | 96,0 | 44,701 | 43,846 | 47,6 | 35,0 | 2,5 |
48,26 | 63,50 | 100,0 | 51,845 | 50,990 | 54,8 | 37,0 | 2,5 |
60,32 | 77,80 | 126,0 | 3,175 | 64,148 | 62,801 | 67,5 | 50,0 | 9,5 | 6,2 | 3,5 | 6,5 |
73,02 | 93,20 | 134,0 | 76,848 | 75,501 | 80,2 | 54,0 | 4,5 |
88,90 | 114,30 | 146,0 | 93,516 | 92,169 | 96,9 | 60,0 | 6,5 |
101,60 | 127,00 | 154,0 | 106,216 | 104,869 | 109,6 | 64,0 | 6,5 |
114,30 | 141,30 | 160,0 | 118,916 | 117,569 | 122,3 | 67,0 | 7,5 |
6.2.3 Толщина стенки трубы под резьбой в плоскости торца должна быть не менее:
- 1,0 мм для труб наружным диаметром до 48,26 мм включительно, если значение
tr, рассчитанное по
формуле (3), менее или равно 1,0 мм;
- 2,0 мм для труб остальных наружных диаметров, если значение
tr, рассчитанное по
формуле (3), менее или равно 2,0 мм;
- расчетного значения, если значение
tr, рассчитанное по
формуле (3), более 1,0 или 2,0 мм соответственно.

(3)
где tr - расчетная минимальная толщина стенки трубы под резьбой, мм, округленная до 0,1 мм;
t - толщина стенки трубы, мм;
D - наружный диаметр трубы, мм;

- плюсовое предельное отклонение наружного диаметра трубы, мм, принятое равным 0,8 мм для труб наружным диаметром до 101,60 мм включительно и 0,9 мм для труб наружным диаметром 114,30 мм;
d2 - внутренний диаметр резьбы в плоскости торца трубы, мм.
6.2.4 Оси резьбы обоих концов муфт должны совпадать.
Отклонение от соосности резьбы не должно превышать:
- 0,75 мм - в плоскости торца муфт;
- 3,00 мм - на расстоянии 1 м от середины муфт.
Допускается увеличение отклонения от соосности в плоскости торца муфт до 1,00 мм при одновременном уменьшении отклонения от соосности на расстоянии 1 м от середины муфт до 2,00 мм.
6.2.5 Овальность резьбы муфт не должна превышать:
- 0,100 мм - для муфт к трубам наружным диаметром от 26,67 до 60,32 мм;
- 0,130 мм - для муфт к трубам наружным диаметром от 73,02 до 89,90 мм;
- 0,150 мм - для муфт к трубам наружным диаметром от 101,60 до 114,30 мм.
6.2.6 После механического свинчивания трубы с муфтой расстояние от свободного торца муфты до торца трубы внутри муфты
l4 (
рисунки 11,
12) должно соответствовать значению, рассчитанному по
формуле (4)
l4 = (
Lм.ф -
L) +/- 2
P, (4)
где Lм.ф - фактическая длина муфты, мм;
L - общая длина резьбы трубы, мм;
P - шаг резьбы, мм.
6.3 Основные параметры резьбового соединения НКМ
6.3.1 Общий вид резьбового соединения НКМ показан на
рисунке 15.
1 - труба; 2 - муфта; 3 - положение торца муфты при ручном
свинчивании; 4 - положение торца муфты при механическом
свинчивании; 5 - плоскость конца сбега резьбы; 6 - узел
уплотнения "металл-металл"; A - натяг при ручном свинчивании
трубы с муфтой; D - наружный диаметр трубы; Dм - наружный
диаметр обычной муфты; Dс - наружный диаметр специальной
муфты; dм - внутренний диаметр муфты; t - толщина стенки
трубы; Lм - длина муфты
Примечание - Соединение трубы с муфтой при номинальных параметрах резьбового соединения.
Рисунок 15 - Общий вид резьбового соединения НКМ
6.3.2 Основные геометрические параметры и предельные отклонения параметров резьбового соединения НКМ приведены на
рисунках 16 и
17 и в
таблицах 14 и
15.
--------------------------------
<*> Размеры для справок.
<**> Предельные отклонения конусности уплотнительной проточки +/- 0,03 мм.
dвн - внутренний диаметр резьбы в основной плоскости;
d1 - наружный диаметр резьбы в плоскости торца трубы;
d2 - диаметр уплотнительной конической проточки в плоскости
торца трубы; hr - глубина уплотнительной проточки;
L1 - расстояние от торца трубы до конца сбега резьбы;
l0 - расстояние от торца до основной плоскости;
l5 - длина сбега резьбы; l7 - расстояние от торца до начала
резьбы; l8 - длина уплотнительной проточки;
Lc - минимальная длина резьбы с полным профилем
Примечание - Конусность 1:12 или 0,0833 мм/мм - для труб наружным диаметром от 60,32 до 101,60 мм включительно, конусность 1:16 или 0,0625 мм/мм - для труб наружным диаметром 114,30 мм.
Рисунок 16 - Основные геометрические параметры
резьбового соединения НКМ трубы
--------------------------------
<*> Размеры для справок.
<**> Предельные отклонения конусности уплотнительной расточки +/- 0,06 мм.
B - ширина торцевой плоскости муфты; dвн - внутренний
диаметр резьбы в основной плоскости; dм - внутренний
диаметр муфты; d3 - внутренний диаметр резьбы в плоскости
торца муфты; d0 - диаметр фаски в плоскости торца муфты;
d4 - диаметр уплотнительной конической расточки муфты
в базовой плоскости; l0 - расстояние от торца до основной
плоскости; l1 - расстояние от торца муфты до переходной
фаски 60°; l2 - расстояние от торца муфты до упорного
уступа; l3 - расстояние от торца муфты до базовой плоскости;
Lc - минимальная длина резьбы с полным профилем;
R - радиус скругления
Примечание - Конусность уплотнительной расточки 1:12 или 0,0833 мм/мм - для муфт к трубам наружным диаметром от 60,32 до 101,60 мм включительно 1:16 или 0,0625 мм/мм - для муфт к трубам наружным диаметром 114,30 мм.
Рисунок 17 - Основные геометрические параметры
резьбового соединения НКМ муфты
Таблица 14
Основные геометрические параметры
резьбового соединения НКМ трубы
В миллиметрах
Обозначение номинального диаметра резьбы | Наружный диаметр трубы D | Шаг резьбы P | Внутренний диаметр резьбы в основной плоскости dвн | Наружный диаметр резьбы в плоскости торца трубы d1 | Диаметр уплотнительной конической проточки в плоскости торца трубы d2 | Расстояние от торца трубы до конца сбега резьбы L1, -1,0 | Расстояние от торца до основной плоскости l0 | Длина сбега резьбы l5, не более | Расстояние от торца до начала резьбы l7, -1,0 | Длина уплотнительной проточки l8, -1,0 | Глубина уплотнительной проточки hr, +0,25 | Минимальная длина резьбы с полным профилем Lc <*> |
60,32 | 60,32 | 4,233 | 57,925 | 56,575 | 54,175 | 65 | 45,0 | 10 | 20 | 10 | 1,60 | 36,5 |
73,02 | 73,02 | 70,625 | 69,275 | 66,875 | 65 | 45,0 | 36,5 |
88,90 | 88,90 | 86,500 | 84,317 | 81,917 | 75 | 55,0 | 46,5 |
101,60 | 101,60 | 99,200 | 97,017 | 94,617 | 75 | 55,0 | 46,5 |
114,30 | 114,30 | 5,080 | 111,100 | 110,175 | 106,375 | 98 | 66,0 | 13 | 29 | 14 | 2,00 | 56,0 |
< *> Lc = l0 - 10,0 для резьбы с шагом 5,080 мм, Lc = l0 - 8,5 для резьбы с шагом 4,233 мм. |
Таблица 15
Основные геометрические параметры
резьбового соединения НКМ муфты
В миллиметрах
Наружный диаметр трубы D | Наружный диаметр обычной муфты Dм | Длина муфты Lм | Шаг резьбы P | Внутренний диаметр резьбы в основной плоскости dвн | Внутренний диаметр резьбы в плоскости торца муфты d3 | Диаметр уплотнительной конической расточки муфты в базовой плоскости d4 | Диаметр фаски в плоскости торца муфты d0, +1,0 | Толщина стенки трубы t | Внутренний диаметр муфты dм +/- 0,5 | Расстояние от торца муфты до упорного уступа d2, +1,0 | Расстояние от торца муфты до базовой плоскости l3 | Расстояние от торца муфты до переходной фаски l1, -1,0 | Минимальная длина резьбы с полным профилем Lc | Расстояние от торца до основной плоскости l0 | Ширина торцевой плоскости муфты B, не менее | Натяг при ручном свинчивании трубы с муфтой A |
60,32 | 73,00 | 135,0 | 4,233 | 57,925 | 59,225 | 54,475 | 62,500 | 4,24 | 50,0 | 63,0 | 57 | 53 | 43 | 15,6 | 3,5 | 4,4 |
4,83 | 50,0 |
5,00 | 50,0 |
73,02 | 88,90 | 135,0 | 70,625 | 71,875 | 67,125 | 75,000 | 5,51 | 62,0 | 63,0 | 57 | 53 | 43 | 15,0 | 5,0 | 5,0 |
7,01 | 60,0 |
88,90 | 108,00 | 155,0 | 86,500 | 87,700 | 82,117 | 91,000 | 6,45 | 74,0 | 73,0 | 67 | 63 | 53 | 14,4 | 6,5 | 5,6 |
7,34 | 74,0 |
8,00 | 72,5 |
9,52 | 70,0 |
101,60 | 120,60 | 155,0 | 99,200 | 100,350 | 94,767 | 104,000 | 6,50 | 88,0 | 73,0 | 67 | 63 | 53 | 13,8 | 6,0 | 6,2 |
6,65 | 88,0 |
114,30 | 132,10 | 205,0 | 5,080 | 111,100 | 112,600 | 106,425 | 116,500 | 6,88 | 100,0 | 96,0 | 90 | 82 | 72 | 24,0 | 5,5 | 8,0 |
7,00 | 100,0 |
Примечание - Натяг A при ручном свинчивании трубы и муфты является исходным натягом для механического свинчивания. |
6.3.3 Толщина стенки под уплотнительной проточкой в плоскости торца трубы должна быть не менее:
- 1,2 мм для труб наружным диаметром 60,32 мм, если значение
tr, рассчитанное по
формуле (5), менее или равно 1,2 мм;
- 1,5 мм для труб наружным диаметром 73,02 мм и толщиной стенки 5,51 мм, если значение
tr, рассчитанное по
формуле (5), менее или равно 1,5 мм;
- 1,8 мм для остальных труб, если значение
tr, рассчитанное по
формуле (5), менее или равно 1,8 мм;
- расчетного значения, если значение
tr, рассчитанное по
формуле (5), более 1,2 мм, 1,5 мм или 1,8 мм соответственно.

(5)
где tr - расчетная минимальная толщина стенки под уплотнительной проточкой в плоскости торца трубы, мм, округленная до 0,1 мм;
t - толщина стенки трубы, мм;
D - наружный диаметр трубы, мм;

- плюсовое предельное отклонение наружного диаметра трубы, мм, принятое равным 0,8 мм для труб наружным диаметром до 101,60 мм включительно и 0,9 мм для труб наружным диаметром 114,30 мм;
d2 - диаметр уплотнительной конической проточки в плоскости торца трубы, мм.
6.3.4 Оси резьбы обоих концов муфты должны совпадать.
Отклонение от соосности резьбы не должно превышать:
- 0,75 мм - в плоскости торца муфты;
- 3,00 мм - на расстоянии 1 м от середины муфты.
6.3.5 Овальность резьбы муфт не должна превышать:
- 0,100 мм - для муфт к трубам наружным диаметром 60,32 мм;
- 0,130 мм - для муфт к трубам наружным диаметром от 73,02 до 89,90 мм;
- 0,150 мм - для муфт к трубам наружным диаметром 101,60 мм.
6.3.6 При механическом свинчивании трубы с муфтой (см.
рисунок 15) должно быть обеспечено сопряжение упорного торца трубы и упорного уступа муфты по всему периметру стыка сопрягаемых поверхностей.
7 Правила приемки и контроль резьбовых соединений
7.1.1 Приемку резьбовых соединений для проверки их соответствия требованиям настоящего стандарта проводит предприятие, нарезающее на изделиях резьбу.
7.1.2 Приемку резьбовых соединений проводят по результатам контроля:
- геометрических параметров резьбовых соединений, для которых установлены предельные отклонения;
- соосности резьбы концов муфты;
- овальности резьбы муфт;
- качества поверхности резьбовых соединений;
- шероховатости поверхности резьбовых соединений;
- натягов резьбы и уплотнительных элементов калибрами;
- сплошности покрытия резьбовых соединений муфт;
- правильности механического свинчивания трубы с муфтой.
Контроль параметров, кроме контроля качества поверхности и сплошности покрытия, проводят с периодичностью, установленной в документации нарезчика.
Контроль качества поверхности и сплошности покрытия проводят на каждом резьбовом соединении труб и муфт.
7.1.3 Контроль геометрических параметров, соосности и овальности резьбы, контроль натягов калибрами, шероховатости и качества поверхности резьбовых соединений проводят до нанесения покрытия.
Не допускается проводить контроль резьбовых соединений после механического свинчивания труб и муфт и последующего развинчивания.
Примечание - После механического свинчивания и развинчивания резьбовых соединений вследствие деформации, возникающей при свинчивании, отклонения геометрических параметров соединений могут быть более предельных отклонений, установленных настоящим стандартом.
7.1.4 Перед проведением контроля подвергаемую контролю поверхность изделий тщательно очищают. Изделия, средства измерений и контроля выдерживают при температуре, при которой проводят контроль, в течение времени, достаточного для выравнивания температуры.
7.2 Контроль геометрических параметров
7.2.1 Контроль геометрических параметров резьбы, упорных и уплотнительных элементов резьбовых соединений проводят в соответствии с требованиями настоящего стандарта универсальными и специальными средствами измерений, обеспечивающими необходимую точность измерений.
Примечание - Применение средств измерений должно осуществляться в соответствии с документацией на средства измерений или документацией на методы контроля.
7.2.2 Отклонение шага резьбы, высоту профиля и конусность резьбы измеряют специальными индикаторными приборами на длине резьбы с полным профилем.
Измерения отклонения шага резьбы, конусности проводят начиная от первого или последнего витка резьбы с полным профилем через интервал, равный:
- 25,4 мм - для резьбовых соединений с длиной резьбы с полным профилем 25,4 мм и более;
- 12,7 мм - для резьбовых соединений с длиной резьбы с полным профилем менее 25,4 мм.
Допускается перекрытие интервалов измерений.
Измерения накопленного отклонения шага резьбы проводят между первым и последним витками резьбы с полным профилем на интервале, равном:
- наибольшему кратному 12,7 мм - при четном числе витков на длине 25,4 мм;
- наибольшему кратному 25,4 мм - при нечетном числе витков на длине 25,4 мм.
Измерительные наконечники индикаторных приборов для измерения шага и конусности закругленной треугольной резьбы должны иметь сферическую форму и контактировать с боковыми сторонами резьбы приблизительно по линии среднего диаметра резьбы. Диаметры наконечников должны соответствовать требованиям указанным в
таблице 16.
Таблица 16
Диаметры измерительных наконечников индикаторных приборов
для определения шага и конусности закругленной
треугольной резьбы
В миллиметрах
Геометрический параметр | Шаг резьбы | Диаметр сферического наконечника |
Номинальное значение | Предельное отклонение |
Шаг резьбы, конусность | 3,175 | 1,83 | +/- 0,05 |
2,540 | 1,45 |
Измерительные наконечники индикаторных приборов для измерения высоты профиля закругленной треугольной резьбы должны иметь коническую форму (с углом конуса не более 50°) и не должны контактировать с боковыми сторонами резьбы.
Измерительные наконечники индикаторных приборов для измерения шага и приборов для измерения конусности трапецеидальной резьбы должны иметь сферическую форму и одновременно контактировать с впадиной резьбы и боковой стороной резьбы, имеющей угол наклона 3°. Диаметры наконечников должны соответствовать требованиям, указанным в
таблице 17.
Таблица 17
Диаметры измерительных наконечников индикаторных приборов
для определения шага и конусности трапецеидальной резьбы
В миллиметрах
Геометрический параметр | Шаг резьбы | Диаметр сферического наконечника |
Номинальное значение | Предельное отклонение |
Конусность | 4,233 | 1,44 | +/- 0,05 |
5,080 | 2,29 |
Шаг резьбы | 4,233 | 1,44 |
5,080 | 1,57 |
Измерительные наконечники индикаторных приборов для измерения высоты профиля трапецеидальной резьбы должны иметь коническую (с углом конуса не более 50°) или сферическую форму и не должны контактировать с боковыми сторонами резьбы. Диаметр сферических наконечников должен быть не более 2,29 мм.
7.2.3 Контроль конусности уплотнительных элементов трубы и муфты осуществляют специальными измерительными приборами. Допускается проводить контроль конусности уплотнительных элементов с помощью гладких калибров-колец и калибров-пробок по
ГОСТ 25575 и ГОСТ 25576.
7.2.4 Углы наклона боковых сторон резьбы контролируют средствами измерений непосредственно по профилю резьбы или слепку резьбы. Слепок должен быть выполнен из стабильного материала, не обладающего усадкой.
7.2.5 Толщину стенки трубы под резьбой измеряют по впадине первого витка резьбы с полным профилем.
Допускается проводить измерения от вершины первого витка резьбы с полным профилем, тогда значение толщины стенки определяют как разность измеренного значения и действительного значения высоты профиля резьбы.
Толщину стенки трубы под уплотнительной проточкой измеряют в плоскости расположенной за наружной фаской.
7.3.1 Контроль соосности резьбы концов муфты проводят с применением двух оправок с резьбой и стационарного устройства или специального приспособления.
Резьба оправок должна соответствовать
ГОСТ 25575, ГОСТ 25576 или ГОСТ 10654.
Соосность резьбы определяют в плоскости торца муфты и плоскости, расположенной на расстоянии не менее 250 мм от середины муфты.
Муфту навинчивают на оправку, точно выверенную и центрированную в шпинделе стационарного устройства или специального приспособления. В свободный конец муфты ввинчивают другую оправку длиной не менее 250 мм. Вращая муфту, определяют биение (удвоенное значение величины отклонения от соосности) оправки в плоскости торца муфты и плоскости конца оправки.
Полученное отклонение от соосности в плоскости конца оправки пересчитывают в отклонение соосности на расстоянии 1 м пропорционально расстоянию от середины муфты до конца оправки. При пересчете учитывают отклонение от соосности резьбовой и не резьбовой частей оправки.
7.3.2 Допускается проводить контроль соосности резьбы концов муфты специальными измерительными приборами по впадинам резьбы в плоскостях, расположенных на равном расстоянии от середины муфты.
При применении прибора разность максимального и минимального показаний в выбранных плоскостях не должна превышать значения, рассчитанного по
формуле (6), округленного до 0,01 мм.

(6)
где

- разность максимального и минимального показаний прибора, мм;
D - наружный диаметр трубы, мм.
7.4.1 Контроль овальности резьбы муфт проводят рабочими неполными гладкими калибрами-пробками по ГОСТ 10654 и ГОСТ 25576.
Овальность резьбы определяют по разности расстояний от торца муфты до измерительной плоскости калибра-пробки, измеренных во взаимно перпендикулярных плоскостях.
Разность измеренных расстояний для резьбовых соединений НКТН и НКТВ не должна превышать:
- 1,6 мм - для муфт к трубам наружным диаметром от 26,7 мм до 60,3 мм;
- 2,1 мм - для муфт к трубам наружным диаметром от 73,02 до 88,9 мм;
- 2,4 мм - для муфт к трубам наружным диаметром от 101,6 до 114,3 мм.
Разность измеренных расстояний для резьбового соединения НКМ не должна превышать:
- 1,2 мм - для муфт к трубам наружным диаметром 60,3 мм;
- 1,6 мм - для муфт к трубам наружным диаметром от 73,02 до 88,9 мм;
- 1,8 мм - для муфт к трубам наружным диаметром 101,6 мм.
7.4.2 Допускается проводить контроль овальности резьбы муфт специальными измерительными приборами по разности диаметров резьбы, измеренных во взаимно перпендикулярных плоскостях.
7.5 Контроль качества поверхности
Контроль качества поверхности резьбовых соединений проводят визуально без применения увеличительных приспособлений с оценкой обнаруженных дефектов и несовершенств по
ГОСТ 34004.
7.6 Контроль шероховатости поверхности
Шероховатость поверхности резьбовых соединений определяют методом сравнения с применением образцов шероховатости поверхности по
ГОСТ 9378.
7.7 Контроль натяга калибрами
7.7.1 Общие положения
Контроль натяга проводят рабочими резьбовыми калибрами с полным или неполным профилем или рабочими гладкими калибрами:
- резьбы труб и муфт с резьбовыми соединениями ОТТМ и ОТТГ - гладкими и резьбовыми калибрами-кольцами и калибрами-пробками по
ГОСТ 25575;
- резьбы труб и муфт с резьбовыми соединениями НКТН и НКТВ - резьбовыми калибрами-кольцами и калибрами-пробками по ГОСТ 10654;
- резьбы труб и муфт с резьбовым соединением НКМ проводят гладкими и резьбовыми калибрами-кольцами и калибрами-пробками по ГОСТ 25576 и
ГОСТ 25575;
- уплотнительных элементов труб и муфт с резьбовыми соединениями ОТТГ и НКМ - гладкими калибрами-кольцами и калибрами-пробками по
ГОСТ 25575 и ГОСТ 25576.
Измерение натягов резьбы и уплотнительных элементов выполняют параллельно оси трубы или муфты универсальными средствами измерений, обеспечивающими необходимую точность измерений.
В настоящем разделе установлены номинальные значения натягов резьбы. Проведение контроля натяга резьбы труб, муфт и уплотнительных элементов производится по фактической величине натяга, указанного на калибре или в документе на калибр, скорректированной с учетом износа калибра.
7.7.2 Контроль резьбового соединения ОТТМ
Контроль резьбового соединения ОТТМ осуществляют в соответствии со схемой, показанной на
рисунке 18.
1 - труба; 2 - муфта; 3 - резьбовой и гладкий
калибры-кольца; 4 - плоскость торца муфты; 5 - измерительная
плоскость; 6 - гладкий калибр-пробка; 7 - плоскость торца
трубы; 8 - резьбовой калибр-пробка
Рисунок 18 - Схема контроля калибрами
резьбового соединения ОТТМ
Натяг резьбы трубы по резьбовому или гладкому калибру-кольцу должен быть равен 0
+2,5 мм (см.
рисунок 18 а) (измерительная плоскость калибра-кольца совпадает с торцом трубы или не доходит до торца трубы не более чем на 2,5 мм).
Натяг резьбы муфты должен быть равен:
- по гладкому калибру-пробке - 0
+2,5 мм (см.
рисунок 18 б) (измерительная плоскость калибра-пробки совпадает с торцом муфты или утопает относительно торца муфты не более чем на 2,5 мм);
- по резьбовому калибру-пробке - 12,0
-2,5 мм (см.
рисунок 18 в).
7.7.3 Контроль резьбового соединения ОТТГ
Контроль резьбового соединения ОТТГ калибрами осуществляют в соответствии со схемой, показанной на
рисунке 19.
1 - труба; 2 - муфта; 3 - резьбовой и гладкий
калибры-кольца; 4 - измерительная плоскость; 5 - плоскость
торца трубы; 6 - гладкий калибр-кольцо; 7 - плоскость торца
муфты; 8 - резьбовой калибр-пробка; 9 - гладкий
калибр-пробка;

- расстояние от торца муфты
до измерительной плоскости гладкого калибра-пробки
Рисунок 19 - Схема контроля калибрами
резьбового соединения ОТТГ
Натяг резьбы трубы по резьбовому или гладкому калибру-кольцу должен быть равен 24,0
-2,5 мм (см.
рисунок 19 а).
Натяг уплотнительной проточки трубы по гладкому калибру-кольцу должен быть равен 0
+1,6 мм (см.
рисунок 19 б) (измерительная плоскость калибра-кольца совпадает с торцом трубы или не доходит до торца трубы не более чем на 1,6 мм).
Натяг резьбы муфты должен быть равен:
- по резьбовому калибру-пробке - 8,0
-2,5 мм (см.
рисунок 19 в).
- по гладкому калибру-пробке - 4,0
+2,5 мм (см.
рисунок 19 г).
Натяг уплотнительной расточки муфты по гладкому калибру-пробке должен быть равен

мм (см.
таблицу 6 и
рисунок 19 д).
7.7.4 Контроль резьбовых соединений НКТН и НКТВ
Контроль калибрами резьбовых соединений НКТН и НКТВ осуществляют в соответствии со схемой, показанной на
рисунке 20.
1 - труба; 2 - муфта; 3 - резьбовой калибр-кольцо;
4 - измерительная плоскость калибра; 5 - плоскость торца
трубы; 6 - плоскость торца муфты;
7 - резьбовой калибр-пробка
Рисунок 20 - Схема контроля калибрами
резьбовых соединений НКТН и НКТВ
Натяг резьбы трубы по резьбовому калибру-кольцу (см.
рисунок 20 а) должен быть равен:
- (2,5 +/- 2,5) мм - для труб с шагом резьбы 2,540 мм;
- (3,2 +/- 3,2) мм - для труб с шагом резьбы 3,175 мм.
Натяг резьбы муфты по резьбовому калибру-пробке (см.
рисунок 20 б) должен быть равен:
- (5,0 +/- 2,5) мм - для муфт с шагом резьбы 2,540 мм;
- (6,5 +/- 3,2) мм - для муфт с шагом резьбы 3,175 мм.
7.7.5 Контроль резьбового соединения НКМ
Контроль калибрами резьбового соединения НКМ осуществляют в соответствии со схемой, показанной на
рисунке 21.
1 - труба; 2 - муфта; 3 - резьбовой и гладкий
калибры-кольца; 4 - плоскость торца трубы; 5 - измерительная
плоскость; 6 - плоскость торца муфты; 7 - гладкий
калибр-кольцо; 8 - резьбовой калибр-пробка; 9 - гладкий
калибр-пробка; A1 - натяг резьбы трубы по резьбовому
или гладкому калибру-кольцу; A2 - натяг уплотнительной
проточки трубы по гладкому калибру-кольцу; A3 - натяг резьбы
муфты по резьбовому калибру-пробке; A4 - натяг резьбы муфты
по гладкому калибру-пробке; A5 - натяг уплотнительной
расточки муфты по гладкому калибру-пробке
Рисунок 21 - Схема контроля калибрами
резьбового соединения НКМ
Натяг резьбы трубы
A1 (см.
рисунок 21 а) должен быть равен:
а) 20-1,2 мм - по резьбовым калибрам-кольцам с полным и не полным профилем для труб наружным диаметром от 60,32 до 101,60 мм;
б) 20-2,4 мм - по гладкому калибру-кольцу для труб наружным диаметром от 60,32 до 101,60 мм;
в) 24-2,5 мм - по гладкому и резьбовому калибру-кольцу для труб наружным диаметром 114,30 мм.
Натяг уплотнительной проточки
A2 трубы по гладкому калибру-кольцу (см.
рисунок 21 б и
в) должен быть равен:
а) 0
-1,2 мм (см.
рисунок 21 б) - для труб наружным диаметром от 60,32 до 101,60 мм (измерительная плоскость калибра-кольца совпадает с торцом трубы или заходит за торец трубы не более чем на 1,2 мм);
б) 0
+1,6 мм (см.
рисунок 21 в) - для труб наружным диаметром 114,30 мм (измерительная плоскость калибра-кольца совпадает с торцом трубы или не доходит до торца трубы не более чем на 1,6 мм).
Натяг резьбы
A3 муфты по резьбовому калибру-пробке (см.
рисунок 21 г) должен быть равен:
а) 5,0-1,2 мм - для муфты к трубам наружным диаметром от 60,32 до 101,60 мм;
б) 6,0-2,5 мм - для муфты к трубам наружным диаметром 114,30 мм.
Натяг резьбы
A4 муфты по гладкому калибру-пробке (см.
рисунок 21 д) должен быть равен:
а) 0+1,2 мм - для муфты к трубам наружным диаметром от 60,32 до 101,60 мм (измерительная плоскость калибра-пробки совпадает с торцом муфты или утопает относительно торца муфты не более чем на 1,2 мм);
б) 6,0+2,5 мм - для муфты к трубам наружным диаметром 114,30 мм.
Натяг уплотнительной расточки
A5 муфты по гладкому калибру-пробке (см.
рисунок 21 е) должен быть равен:
а) 45-1,2 мм - для муфты к трубам наружным диаметром 60,32 и 73,02 мм;
б) 55-1,2 мм - для муфты к трубам наружным диаметром 88,90 и 101,60 мм;
в)

мм - для муфты к трубам наружным диаметром 114,30 мм.
Контроль сплошности покрытия (отсутствия участков без покрытия) резьбовых соединений муфт проводят визуально без применения увеличительных приспособлений.
7.9 Контроль правильности механического свинчивания
Контроль правильности механического свинчивания труб с муфтами проводят:
- для резьбового соединения ОТТМ - по расстоянию между торцом муфты и концом сбега резьбы на трубе, измеряемому параллельно оси трубы;
- для резьбовых соединений ОТТГ и НКМ - по сопряжению упорных элементов трубы и муфты по всему периметру стыка сопрягаемых поверхностей при измерении пластинчатым щупом толщиной 0,1 мм;
- для резьбовых соединений НКТН и НКТВ - по расстоянию от свободного торца муфты до торца трубы, измеряемому внутри муфты параллельно ее оси.
Измерения проводят универсальными средствами измерений, обеспечивающими необходимую точность.
(справочное)
СОПОСТАВИМОСТЬ РЕЗЬБОВЫХ СОЕДИНЕНИЙ ПО НАСТОЯЩЕМУ СТАНДАРТУ
С РЕЗЬБОВЫМИ СОЕДИНЕНИЯМИ ПО ГОСТ 34057, ГОСТ 632 И ГОСТ 633
Вид труб | Тип резьбового соединения, с указанием вида резьбы, наличия узла уплотнения "металл-металл" и наружной высадки концов труб |
по настоящему стандарту | | | |
Обсадные трубы | - | SC с короткой закругленной треугольной резьбой | Без обозначения типа, с короткой закругленной треугольной резьбой | - |
- | LC с удлиненной закругленной треугольной резьбой | У с удлиненной закругленной треугольной резьбой | - |
- | BC с трапецеидальной резьбой | - | - |
ОТТМ с трапецеидальной резьбой | - | ОТТМ с трапецеидальной резьбой | - |
ОТТГ с трапецеидальной резьбой и узлом уплотнения "металл-металл" | - | ОТТГ с трапецеидальной резьбой и узлом уплотнения "металл-металл" | - |
- | - | ТБО с трапецеидальной резьбой и узлом уплотнения "металл-металл" | - |
Насосно-компрессорные трубы | НКТН с закругленной треугольной резьбой | NU с закругленной треугольной резьбой | - | Без обозначения типа, с закругленной треугольной резьбой |
НКТВ с закругленной треугольной резьбой для соединения труб с высаженными наружу концами | EU с закругленной треугольной резьбой для соединения труб с высаженными наружу концами | - | В с закругленной треугольной резьбой для соединения труб с высаженными наружу концами |
НКМ с трапецеидальной резьбой и узлом уплотнения "металл-металл" | - | - | НКМ с трапецеидальной резьбой и узлом уплотнения "металл-металл" |
- | - | - | НКБ с трапецеидальной резьбой и узлом уплотнения "металл-металл" |
УДК 622.245.1:006.354 | |
Ключевые слова: трубы обсадные, трубы насосно-компрессорные, муфты, резьбовые соединения, закругленная треугольная резьба, трапецеидальная резьба, высокогерметичное соединение, узел уплотнения "металл-металл", требования, приемка, контроль, калибры |