Главная // Актуальные документы // ГОСТ (Государственный стандарт)СПРАВКА
Источник публикации
В данном виде документ опубликован не был.
Первоначальный текст документа опубликован в издании
М.: Стандартинформ, 2018.
Информацию о публикации документов, создающих данную редакцию, см. в справке к этим документам.
Примечание к документу
Документ включен в
Перечень международных и региональных (межгосударственных) стандартов, а в случае их отсутствия - национальных (государственных) стандартов, в результате применения которых на добровольной основе обеспечивается соблюдение требований технического
регламента Таможенного союза "О безопасности машин и оборудования" (ТР ТС 010/2011), и отдельные положения данного документа в
Перечень международных и региональных (межгосударственных) стандартов, а в случае их отсутствия - национальных (государственных) стандартов, содержащих правила и методы исследований (испытаний) и измерений, в том числе правила отбора образцов, необходимые для применения и исполнения требований технического
регламента Таможенного союза "О безопасности машин и оборудования" (ТР ТС 010/2011) и осуществления оценки соответствия объектов технического регулирования (
Решение Коллегии Евразийской экономической комиссии от 09.03.2021 N 28).
Текст данного документа приведен с учетом
поправки, введенной в действие с 12.10.2021, опубликованной в "ИУС", N 3, 2022;
поправки, введенной в действие с 01.12.2023, опубликованной в "ИУС", N 2, 2024.
Изменение N 1 введено в действие на территории Российской Федерации
Приказом Росстандарта от 12.07.2023 N 512-ст с 01.12.2023.
Название документа
"ГОСТ 34057-2017. Межгосударственный стандарт. Соединения резьбовые обсадных, насосно-компрессорных труб, труб для трубопроводов и резьбовые калибры для них. Общие технические требования"
(введен в действие Приказом Росстандарта от 13.03.2018 N 127-ст)
(ред. от 12.07.2023)
"ГОСТ 34057-2017. Межгосударственный стандарт. Соединения резьбовые обсадных, насосно-компрессорных труб, труб для трубопроводов и резьбовые калибры для них. Общие технические требования"
(введен в действие Приказом Росстандарта от 13.03.2018 N 127-ст)
(ред. от 12.07.2023)
агентства по техническому
регулированию и метрологии
от 13 марта 2018 г. N 127-ст
МЕЖГОСУДАРСТВЕННЫЙ СТАНДАРТ
СОЕДИНЕНИЯ РЕЗЬБОВЫЕ ОБСАДНЫХ, НАСОСНО-КОМПРЕССОРНЫХ ТРУБ,
ТРУБ ДЛЯ ТРУБОПРОВОДОВ И РЕЗЬБОВЫЕ КАЛИБРЫ ДЛЯ НИХ
ОБЩИЕ ТЕХНИЧЕСКИЕ ТРЕБОВАНИЯ
Thread connections for casing, tubing, line pipe and thread
gauges for them. General technical requirements
ГОСТ 34057-2017
| | Список изменяющих документов Приказом Росстандарта от 12.07.2023 N 512-ст) | |
Дата введения
1 августа 2018 года
Цели, основные принципы и основной порядок проведения работ по межгосударственной стандартизации установлены в
ГОСТ 1.0-2015 "Межгосударственная система стандартизации. Основные положения" и
ГОСТ 1.2-2015 "Межгосударственная система стандартизации. Стандарты межгосударственные, правила и рекомендации по межгосударственной стандартизации. Правила разработки, принятия, обновления и отмены"
1 ПОДГОТОВЛЕН Техническим комитетом по стандартизации ТК 357 "Стальные и чугунные трубы и баллоны", Открытым акционерным обществом "Российский научно-исследовательский институт трубной промышленности" (ОАО "РосНИТИ")
2 ВНЕСЕН Техническим комитетом по стандартизации ТК 357 "Стальные и чугунные трубы и баллоны"
3 ПРИНЯТ Межгосударственным советом по стандартизации, метрологии и сертификации (протокол от 30 января 2017 г. N 95-П)
За принятие проголосовали:
Краткое наименование страны по МК (ИСО 3166) 004-97 | Код страны по МК (ИСО 3166) 004-97 | Сокращенное наименование национального органа по стандартизации |
Армения | AM | Минэкономики Республики Армения |
Беларусь | BY | Госстандарт Республики Беларусь |
Казахстан | KZ | Госстандарт Республики Казахстан |
Киргизия | KG | Кыргызстандарт |
Россия | RU | Росстандарт |
Таджикистан | TJ | Таджикстандарт |
Узбекистан | UZ | Узстандарт |
4
Приказом Федерального агентства по техническому регулированию и метрологии от 13 марта 2018 г. N 127-ст межгосударственный стандарт ГОСТ 34057-2017 введен в действие с 1 августа 2018 г.
--------------------------------
<*>
Приказом Федерального агентства по техническому регулированию и метрологии от 13 марта 2018 г. N 127-ст
ГОСТ Р 51906-2015 отменен с 1 августа 2018 г.
6 ВВЕДЕН ВПЕРВЫЕ
Информация об изменениях к настоящему стандарту публикуется в ежегодном информационном указателе "Национальные стандарты", а текст изменений и поправок - в ежемесячном информационном указателе "Национальные стандарты". В случае пересмотра (замены) или отмены настоящего стандарта соответствующее уведомление будет опубликовано в ежемесячном информационном указателе "Национальные стандарты". Соответствующая информация, уведомление и тексты размещаются также в информационной системе общего пользования - на официальном сайте Федерального агентства по техническому регулированию и метрологии в сети Интернет (www.gost.ru)
Настоящий стандарт подготовлен на основе применения
ГОСТ Р 51906-2015, включающего основные положения API Spec 5B, 15-е издание, кроме положений, касающихся резьбового соединения насосно-компрессорных труб "интеграл-джойнт".
По сравнению с API Spec 5B, 15-е издание, настоящий стандарт содержит геометрические параметры резьбовых соединений с закругленной треугольной резьбой и упорного резьбового соединения для обсадных труб наружными диаметрами 146,05; 323,85 и 425,45 мм.
В настоящем стандарте, по сравнению с API Spec 5B, 15-е издание, уточнен порядок применения калибров для контроля резьбовых соединений с дополнением возможности применения калиброванных калибров для контроля резьбы номинальными диаметрами 146,05; 323,85 и 425,45 мм.
Настоящий стандарт распространяется на резьбовые соединения обсадных, насосно-компрессорных труб и труб для трубопроводов, применяемых в нефтяной и газовой промышленности.
Настоящий стандарт устанавливает требования к геометрическим параметрам профиля резьбы и резьбовых соединений, а также требования к резьбовым калибрам для контроля резьбы.
В настоящем стандарте использованы нормативные ссылки на следующие стандарты:
ГОСТ 632-80 Трубы обсадные и муфты к ним. Технические условия
ГОСТ 633-80 Трубы насосно-компрессорные и муфты к ним. Технические условия
Ссылка исключена с 01.12.2023. -
Изменение N 1, введенное в действие Приказом Росстандарта от 12.07.2023 N 512-ст.
ГОСТ 11708 Основные нормы взаимозаменяемости. Резьба. Термины и определения
(в ред.
Изменения N 1, введенного в действие Приказом Росстандарта от 12.07.2023 N 512-ст)
ГОСТ 24672 Калибры для конической резьбы. Технические условия
(в ред.
Изменения N 1, введенного в действие Приказом Росстандарта от 12.07.2023 N 512-ст)
ГОСТ 31446-2017 (ISO 11960:2014) Трубы стальные обсадные и насосно-компрессорные для нефтяной и газовой промышленности. Общие технические условия
(в ред.
Изменения N 1, введенного в действие Приказом Росстандарта от 12.07.2023 N 512-ст)
ГОСТ 33758-2021 Трубы обсадные и насосно-компрессорные и муфты к ним. Основные параметры и контроль резьбовых соединений. Общие технические требования
(в ред.
Изменения N 1, введенного в действие Приказом Росстандарта от 12.07.2023 N 512-ст)
Примечание - При пользовании настоящим стандартом целесообразно проверить действие ссылочных стандартов и классификаторов на официальном интернет-сайте Межгосударственного совета по стандартизации, метрологии и сертификации (www.easc.by) или по указателям национальных стандартов, издаваемым в государствах, указанных в предисловии, или на официальных сайтах соответствующих национальных органов по стандартизации. Если на документ дана недатированная ссылка, то следует использовать документ, действующий на текущий момент, с учетом всех внесенных в него изменений. Если заменен ссылочный документ, на который дана датированная ссылка, то следует использовать указанную версию этого документа. Если после принятия настоящего стандарта в ссылочный документ, на который дана датированная ссылка, внесено изменение, затрагивающее положение, на которое дана ссылка, то это положение применяется без учета данного изменения. Если ссылочный документ отменен без замены, то положение, в котором дана ссылка на него, применяется в части, не затрагивающей эту ссылку.
(примечание в ред.
Изменения N 1, введенного в действие Приказом Росстандарта от 12.07.2023 N 512-ст)
3 Термины, определения, обозначения и сокращения
3.1 Термины и определения
В настоящем стандарте применены термины по
ГОСТ 11708,
ГОСТ 31446 <1>, а также следующие термины с соответствующими определениями:
--------------------------------
<1> В Российской Федерации необходимо использовать также
ГОСТ Р 53442-2015 (ИСО 1101:2012) "Основные нормы взаимозаменяемости. Характеристики изделий геометрические. Установление геометрических допусков. Допуски формы, ориентации, месторасположения и биения".
3.1.1 витки резьбы с черновинами (black crested threads): Витки резьбы с неполными вершинами, на которых сохранилась поверхность исходной заготовки.
3.1.2 выход резьбы (runout of thread): Пересечение внутреннего конуса резьбы и наружной поверхности трубы.
Примечание - Положение выхода резьбы определяется плоскостью, в которой впадина резьбы сходит на нет.
3.1.3 закругленная треугольная резьба (triangular round thread): Коническая резьба, профиль которой представляет собой треугольник с закругленными вершинами и впадинами.
3.1.4 конец сбега резьбы (vanish end of thread): Конец впадины непрерывно исчезающего витка резьбы, наиболее удаленный от торца трубы.
3.1.5 конусность резьбы (taper): Угол при вершине между образующими конуса в одной плоскости. Конусность резьбы характеризуется изменением диаметра резьбы в осевом направлении и определяется по отношению разности диаметров между двумя любыми перпендикулярными оси сечениями к расстоянию между этими сечениями.
3.1.6 минимальная толщина стенки трубы под резьбой (minimal thickness under pipe thread): Условная толщина стенки под впадиной резьбы трубы, характеризующая устойчивость резьбовой части конца трубы к разрушению при воздействии разнонаправленных напряжений.
3.1.7 натяг (standoff): Расстояние, характеризующее посадку одного изделия на другое, и припуск на механическое довинчивание.
3.1.8 натяг при контроле калибрами (standoff of gauging): Расстояние от измерительной плоскости калибра до плоскости торца трубы или муфты, выбранной на начало измерения натяга.
3.1.9 натяг при свинчивании трубы и муфты (make-up standoff of pipe and coupling): Расстояние от торца муфты до плоскости конца сбега резьбы на трубе или до основания треугольного клейма.
3.1.10 номинальный диаметр резьбы (nominal diameter of thread): Диаметр, условно характеризующий наружный диаметр резьбы и используемый при ее обозначении.
3.1.11 общая длина резьбы (total thread length): Длина участка изделия, на котором образована резьба, включая сбег и фаску.
3.1.12 плоскосрезанная треугольная резьба (triangular trincated thread): Коническая резьба, профиль которой представляет собой треугольник с усеченными вершинами и закругленными впадинами.
3.1.13 свинчивание вручную, ручное свинчивание (hand-tight make-up): Свинчивание резьбового соединения усилием одного человека без применения специального инструмента или муфтонаверточного станка или с их применением, но с усилием, соответствующим ручному свинчиванию.
Примечание - В настоящем стандарте под ручным свинчиванием подразумевается условное свинчивание трубы и муфты с номинальными параметрами резьбового соединения. Положение плоскости ручного свинчивания и параметры резьбового соединения при ручном свинчивании приводятся для проектирования резьбовых соединений и контролю не подвергаются.
(примечание введено
Изменением N 1, введенным в действие Приказом Росстандарта от 12.07.2023 N 512-ст)
3.1.14 свинчивание механическое (power-tightmake-up): Свинчивание резьбового соединения с определенным усилием и/или до определенного положения с применением специального инструмента или на муфтонаверточном станке.
3.1.15 средняя линия резьбы (pitch line): Воображаемая линия, проходящая через профиль плоскосрезанной треугольной резьбы или закругленной треугольной резьбы так, что ширина выступа на ней равна расстоянию между выступами, или воображаемая линия, проходящая через середину высоты профиля упорной резьбы.
(в ред.
Изменения N 1, введенного в действие Приказом Росстандарта от 12.07.2023 N 512-ст)
3.1.16 упорная трапецеидальная резьба (battress trapezoidal thread): Коническая резьба, профиль которой представляет собой трапецию, угол наклона одной из боковых сторон которой равен 3°, угол наклона другой стороны - 10°.
3.1.17 эффективная длина резьбы (effective thread length): Рабочая длина резьбы, являющаяся длиной возможного перекрытия наружной и внутренней резьбы в осевом направлении.
3.2 Обозначения
В настоящем стандарте применены следующие обозначения:
A - натяг при ручном свинчивании трубы и муфты;
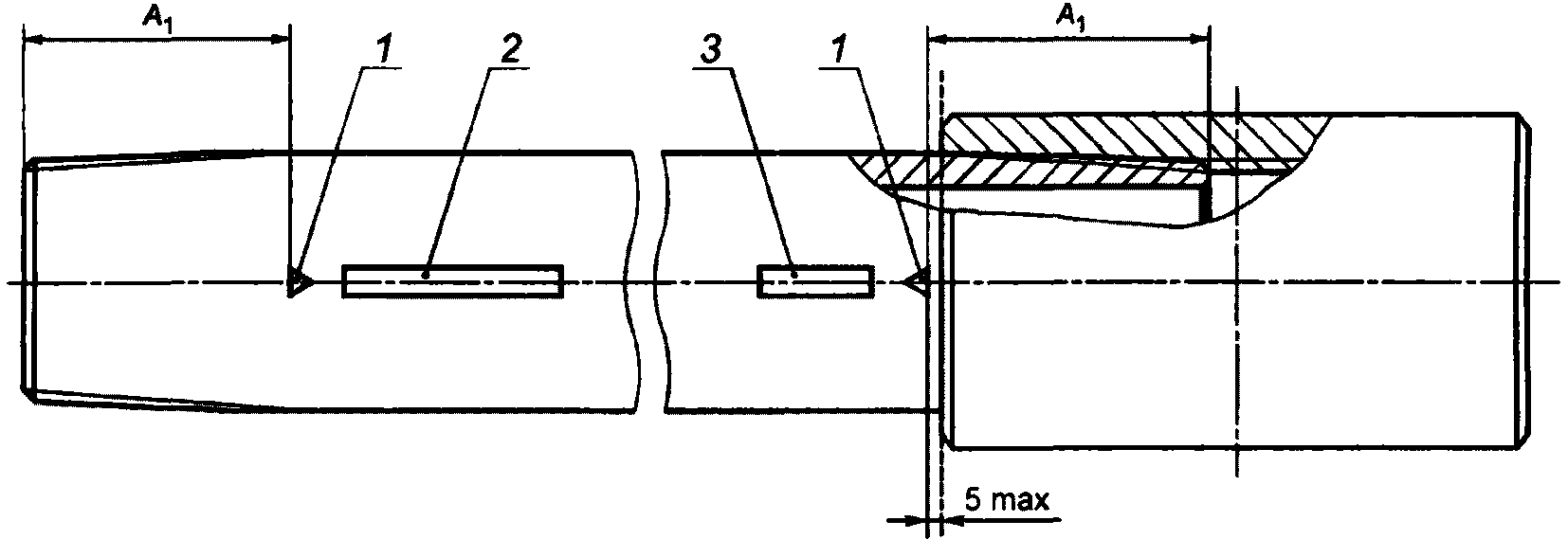
A1 - расстояние от торца трубы до основания треугольного клейма;
B - минимальная ширина торцевой плоскости муфты;
b - ширина канавки или среза профиля резьбы;
D - наружный диаметр трубы;
D0 - наружный диаметр резьбы в плоскости торца калибра-пробки;
D4 - наружный диаметр резьбы трубы или наружный диаметр фланца калибра-пробки;
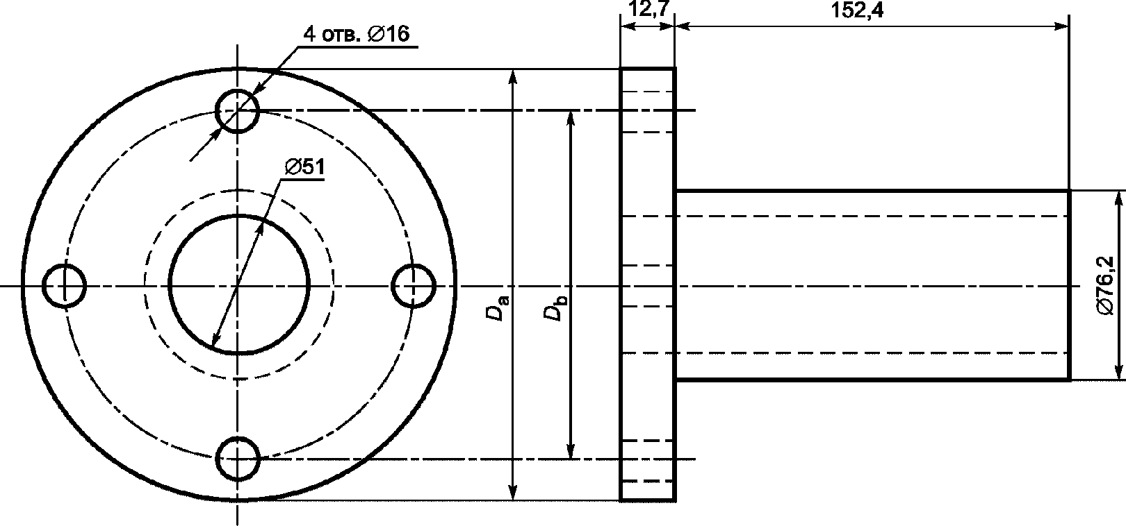
Da - диаметр поддерживающего фланца, мм;
(в ред.
Изменения N 1, введенного в действие Приказом Росстандарта от 12.07.2023 N 512-ст)
Db - диаметр центров отверстий под болты;
Dp - наружный диаметр резьбы калибра-пробки в основной плоскости;
Dr - внутренний диаметр резьбы калибра-кольца в основной плоскости;
(в ред.
Изменения N 1, введенного в действие Приказом Росстандарта от 12.07.2023 N 512-ст)
Du - диаметр проточки калибра-пробки;
(в ред.
Изменения N 1, введенного в действие Приказом Росстандарта от 12.07.2023 N 512-ст)
E1 - средний диаметр резьбы в плоскости ручного свинчивания;
E7 - средний диаметр резьбы в основной плоскости;
frs, fm, fcs, fcn - срез по вершинам или впадинам профиля резьбы;
(в ред.
Изменения N 1, введенного в действие Приказом Росстандарта от 12.07.2023 N 512-ст)
g - расстояние от основной плоскости до плоскости конца сбега или выхода резьбы трубы или до измерительной плоскости калибра;
H - высота исходного профиля резьбы;
hs, hn, hg - высота профиля резьбы;
(в ред.
Изменения N 1, введенного в действие Приказом Росстандарта от 12.07.2023 N 512-ст)
J - расстояние от торца трубы до середины муфты при механическом свинчивании;
L1 - расстояние от торца трубы или малого торца калибра-пробки до плоскости ручного свинчивания;
L2 - эффективная длина резьбы;
L4 - общая длина резьбы от торца трубы до конца сбега резьбы или расстояние от малого торца калибра-пробки до измерительной плоскости;
L7 - длина резьбы с полным профилем или расстояние от малого торца калибра-пробки до основной плоскости;
Lc - минимальная длина резьбы с полным профилем;
M - расстояние от торца муфты до плоскости ручного свинчивания;
P - шаг резьбы;
Q - диаметр расточки или фаски в плоскости торца муфты или калибра-кольца;
q - длина расточки муфты или калибра-кольца;
R, r, r1 - радиусы скругления;
(в ред.
Изменения N 1, введенного в действие Приказом Росстандарта от 12.07.2023 N 512-ст)
S, S1 N, N1 - натяги резьбы или элементов резьбового соединения по калибрам;
srs, srn, scs, scn - срез по вершинам или впадинам профиля резьбы;
(в ред.
Изменения N 1, введенного в действие Приказом Росстандарта от 12.07.2023 N 512-ст)
t - толщина стенки трубы;
t0 - минимальная толщина стенки трубы под впадиной резьбы;
К - конусность резьбы;
(в ред.
Изменения N 1, введенного в действие Приказом Росстандарта от 12.07.2023 N 512-ст)
U - ширина проточки калибра-пробки.
3.3 Сокращения
В настоящем стандарте применены следующие сокращения:
АПИ - Американский нефтяной институт;
LP - тип резьбового соединения труб для трубопроводов с плоскосрезанной треугольной резьбой;
SC - тип резьбового соединения обсадных труб с короткой закругленной треугольной резьбой;
LC - тип резьбового соединения обсадных труб с удлиненной закругленной треугольной резьбой;
NU - тип резьбового соединения насосно-компрессорных труб с невысаженными концами с закругленной треугольной резьбой;
EU - тип резьбового соединения насосно-компрессорных труб с высаженными наружу концами с закругленной треугольной резьбой;
BC - тип резьбового соединения обсадных труб с упорной трапецеидальной резьбой.
4.1 Резьбовое соединение труб для трубопроводов с плоскосрезанной треугольной резьбой LP
4.1.1 Форма и геометрические параметры профиля плоскосрезанной треугольной резьбы резьбового соединения LP приведены на рисунке 1 и в
таблице 1.
1 - средняя линия резьбы; 2 - ось резьбы
Примечание - Конусность резьбы 1:16 на рисунке увеличена.
(примечание в ред.
Изменения N 1, введенного в действие Приказом Росстандарта от 12.07.2023 N 512-ст)
Рисунок 1 - Профиль резьбы резьбового соединения LP
Таблица 1
Геометрические параметры профиля резьбы
резьбового соединения LP
В миллиметрах
Геометрический параметр | Обозначение параметра и формула | Значение параметра при числе витков на длине 25,4 мм |
27 | 18 | 14 | 11 1/2 | 8 |
Шаг резьбы P |
0,941 | 1,411 | 1,814 | 2,209 | 3,175 |
Высота исходного треугольника | H = 0,866P | 0,815 | 1,222 | 1,571 | 1,913 | 2,750 |
Высота профиля | hs = hn = 0,760P | 0,715 | 1,072 | 1,379 | 1,679 | 2,413 |
Срез по впадинам | frs = frn = 0,033P | 0,031 | 0,047 | 0,060 | 0,073 | 0,105 |
Срез по вершинам | fcs = fcn = 0,073P | 0,069 | 0,103 | 0,132 | 0,161 | 0,232 |
Конусность по среднему диаметру резьбы на длине 25,4 мм | К | 1,59 |
(в ред. Изменения N 1, введенного в действие Приказом Росстандарта от 12.07.2023 N 512-ст) |
Примечание - Расчет параметров H, hs и hn выполнен по формулам для симметричной цилиндрической, а не конической резьбы. Расхождения результатов расчетов несущественны для резьбы с указанными шагом и конусностью. |
4.1.2 Геометрические параметры резьбового соединения LP приведены на рисунке 2 и в
таблице 2.
1 - плоскость середины муфты; 2 - торец трубы
при механическом свинчивании; 3 - торец трубы при ручном
свинчивании; 4 - притупление внутренней кромки торца трубы;
5 - плоскость ручного свинчивания; 6 - основная плоскость;
7 - плоскость начала сбега резьбы;
8 - плоскость конца сбега резьбы
Рисунок 2 - Резьбовое соединение LP
Приказом Росстандарта от 12.07.2023 N 512-ст)
Таблица 2
Геометрические параметры резьбового соединения LP
В миллиметрах
Обозначение номинального диаметра резьбы | Наружный диаметр трубы D | Наружный диаметр резьбы трубы D4 | Число витков резьбы на длине 25,4 мм | Шаг резьбы P | Расстояние от торца трубы до плоскости ручного свинчивания L1 | Эффективная длина резьбы L2 | Общая длина резьбы трубы L4 | Средний диаметр резьбы в плоскости ручного свинчивания E1 | Средний диаметр резьбы в основной плоскости E7 | Расстояние от основной плоскости до плоскости конца сбега резьбы g | Расстояние от торца трубы до середины муфты при механическом свинчивании J | Расстояние от торца муфты до плоскости ручного свинчивания M | Диаметр расточки в плоскости торца муфты Q | Длина расточки муфты q | Минимальная ширина торцевой плоскости муфты B | Натяг при ручном свинчивании A | Минимальная длина резьбы с полным профилем Lc |
дюймы | мм |
1/8 | 3,18 | 10,29 | 10,29 | 27 | 0,941 | 4,10 | 6,70 | 9,97 | 9,489 | 9,534 | 5,15 | 3,53 | 3,04 | 11,89 | 1,33 | 0,80 | 2,82 | - |
1/4 | 6,35 | 13,72 | 13,72 | 18 | 1,411 | 5,79 | 10,21 | 15,10 | 12,487 | 12,587 | 7,72 | 5,54 | 5,08 | 15,32 | 3,06 | 0,80 | 4,23 | - |
3/8 | 9,53 | 17,14 | 17,14 | 18 | 1,411 | 6,10 | 10,36 | 15,26 | 15,926 | 16,016 | 7,72 | 5,38 | 4,92 | 18,75 | 2,91 | 0,80 | 4,23 | - |
1/2 | 12,70 | 21,34 | 21,34 | 14 | 1,814 | 8,13 | 13,56 | 19,85 | 19,772 | 19,885 | 9,92 | 7,14 | 6,28 | 22,94 | 4,02 | 1,60 | 5,44 | - |
3/4 | 19,05 | 26,67 | 26,67 | 14 | 1,814 | 8,61 | 13,86 | 20,15 | 25,117 | 25,219 | 9,92 | 6,83 | 6,10 | 28,27 | 3,85 | 1,60 | 5,44 | - |
1 | 25,40 | 33,40 | 33,40 | 11 1/2 | 2,209 | 10,16 | 17,34 | 25,01 | 31,461 | 31,634 | 12,08 | 8,33 | 8,22 | 35,00 | 5,69 | 2,40 | 6,62 | 8,45 |
1 1/4 | 31,75 | 42,16 | 42,16 | 11 1/2 | 2,209 | 10,67 | 17,95 | 25,62 | 40,218 | 40,397 | 12,08 | 9,31 | 8,32 | 43,76 | 5,79 | 2,40 | 6,62 | 9,06 |
1 1/2 | 38,10 | 48,26 | 48,26 | 11 1/2 | 2,209 | 10,67 | 18,38 | 26,04 | 46,287 | 46,493 | 12,08 | 8,89 | 8,74 | 49,86 | 6,20 | 2,40 | 6,62 | 9,48 |
2 | 50,80 | 60,32 | 60,32 | 11 1/2 | 2,209 | 11,07 | 19,22 | 26,88 | 58,325 | 58,558 | 12,08 | 9,63 | 9,17 | 62,71 | 6,04 | 3,20 | 6,62 | 10,32 |
2 1/2 | 63,50 | 73,02 | 73,02 | 8 | 3,175 | 17,32 | 28,89 | 39,91 | 70,159 | 70,485 | 17,37 | 12,48 | 16,24 | 75,41 | 12,48 | 4,80 | 6,35 | 16,11 |
3 | 76,20 | 88,90 | 88,90 | 8 | 3,175 | 19,46 | 30,48 | 41,50 | 86,068 | 86,360 | 17,37 | 12,48 | 15,69 | 91,29 | 11,96 | 4,80 | 6,35 | 17,70 |
3 1/2 | 88,90 | 101,60 | 101,60 | 8 | 3,175 | 20,85 | 31,75 | 42,77 | 98,776 | 99,060 | 17,37 | 12,80 | 15,56 | 103,99 | 11,84 | 4,80 | 6,35 | 18,97 |
4 | 101,60 | 114,30 | 114,30 | 8 | 3,175 | 21,44 | 33,02 | 44,04 | 111,433 | 111,760 | 17,37 | 13,11 | 16,25 | 116,69 | 12,50 | 6,40 | 6,35 | 20,24 |
5 | 127,00 | 141,30 | 141,30 | 8 | 3,175 | 23,80 | 35,72 | 46,74 | 138,412 | 138,760 | 17,37 | 12,00 | 16,59 | 143,69 | 12,82 | 6,40 | 6,35 | 22,94 |
6 | 152,40 | 168,28 | 168,28 | 8 | 3,175 | 24,33 | 38,42 | 49,43 | 165,252 | 165,735 | 17,37 | 12,48 | 18,75 | 170,66 | 14,89 | 6,40 | 6,35 | 25,63 |
8 | 203,20 | 219,08 | 219,08 | 8 | 3,175 | 27,00 | 43,50 | 54,51 | 215,901 | 216,535 | 17,37 | 12,16 | 21,16 | 221,46 | 17,19 | 6,40 | 6,35 | 30,71 |
10 | 254,00 | 273,05 | 273,05 | 8 | 3,175 | 30,73 | 48,90 | 59,91 | 269,772 | 270,510 | 17,37 | 13,11 | 22,83 | 275,44 | 18,78 | 9,50 | 6,35 | 36,11 |
12 | 304,80 | 323,85 | 323,85 | 8 | 3,175 | 34,54 | 53,98 | 64,99 | 320,492 | 321,310 | 17,37 | 12,80 | 24,10 | 326,24 | 20,00 | 9,50 | 6,35 | 41,19 |
14D | 355,60 | 355,60 | 355,60 | 8 | 3,175 | 39,67 | 57,15 | 68,17 | 352,365 | 353,060 | 17,37 | 12,80 | 22,14 | 357,99 | 18,13 | 9,50 | 6,35 | 44,37 |
16D | 406,40 | 406,40 | 406,40 | 8 | 3,175 | 46,02 | 62,23 | 73,25 | 403,244 | 403,860 | 17,37 | 12,48 | 20,87 | 408,79 | 16,91 | 9,50 | 6,35 | 49,45 |
18D | 457,20 | 457,20 | 457,20 | 8 | 3,175 | 50,80 | 67,31 | 78,33 | 454,025 | 454,660 | 17,37 | 12,16 | 21,18 | 459,59 | 17,20 | 9,50 | 6,35 | 54,53 |
20D | 508,00 | 508,00 | 508,00 | 8 | 3,175 | 53,98 | 72,39 | 83,41 | 504,706 | 505,460 | 17,37 | 13,43 | 23,08 | 510,39 | 19,03 | 9,50 | 6,35 | 59,61 |
Примечания 1 Натяг A при ручном свинчивании трубы и муфты является исходным натягом для механического свинчивания. 2 Lc = L4 - 16,56 мм - для резьбы с шагом 2,209 мм, Lc = L4 - 23,80 мм - для резьбы с шагом 3,175 мм. |
4.1.3 Предельные отклонения геометрических параметров профиля резьбы и резьбового соединения LP указаны в таблице 3.
Таблица 3
Предельные отклонения геометрических параметров резьбы
и резьбового соединения LP
В миллиметрах
Геометрический параметр | Предельные отклонения параметра <1> |
Конусность по среднему диаметру резьбы на длине 25,4 мм <2> | +0,13 -0,07 |
(в ред. Изменения N 1, введенного в действие Приказом Росстандарта от 12.07.2023 N 512-ст) |
| |
на длине 25,4 мм | +/- 0,076 |
суммарный | +/- 0,152 |
Высота профиля резьбы <2> hs и hn | +0,051 -0,152 |
Угол профиля резьбы 60° | +/- 1°30' |
Общая длина резьбы трубы L4 | +/- P |
Минимальная длина резьбы с полным профилем Lc | не менее |
(в ред. Изменения N 1, введенного в действие Приказом Росстандарта от 12.07.2023 N 512-ст) |
Угол наружной фаски трубы 60° <2> | +/- 5° |
Угол внутренней фаски муфты 35° <2> | +/- 5° |
Диаметр расточки в плоскости торца муфты Q | +0,79 |
Длина расточки муфты q | +0,79 |
Минимальная ширина торцевой плоскости муфты B | не менее |
<1> Предельные отклонения относятся к наружной и внутренней резьбе, если в заказе на поставку не указано иное. |
(сноска <1> в ред. Изменения N 1, введенного в действие Приказом Росстандарта от 12.07.2023 N 512-ст) |
<2> Неприменимо для резьбы с шагом менее 2,209 мм. <3> Предельные отклонения шага резьбы на длине 25,4 мм относятся к расстоянию между любыми витками резьбы с полным профилем на установленном интервале измерений, предельные отклонения суммарного шага резьбы - ко всей длине резьбы с полным профилем. |
4.2 Резьбовые соединения обсадных и насосно-компрессорных труб с закругленной треугольной резьбой SC, LC, NU и EU
4.2.1 Форма и геометрические параметры профиля закругленной треугольной резьбы резьбовых соединений SC, LC, NU и EU приведены на рисунке 3 и в
таблице 4.
Примечание - В международных и американских стандартах к такому профилю резьбы применяется термин "round" ("круглая").
1 - средняя линия резьбы; 2 - ось резьбы
Примечание - Конусность резьбы 1:16 на рисунке увеличена.
(примечание в ред.
Изменения N 1, введенного в действие Приказом Росстандарта от 12.07.2023 N 512-ст)
Рисунок 3 - Профиль резьбы резьбовых соединений
SC, LC, NU и EU
Таблица 4
Геометрические параметры профиля резьбы резьбовых соединений
SC, LC, NU и EU
В миллиметрах
Геометрический параметр | Обозначение параметра и формула | Значение параметра при числе витков на длине 25,4 мм |
10 | 8 |
Шаг резьбы P |
2,540 | 3,175 |
Высота исходного треугольника | H = 0,866P | 2,200 | 2,750 |
Высота профиля | hs = hn = 0,626P - 0,178 | 1,412 | 1,810 |
Срез по впадинам | srs = srn = 0,120P + 0,051 | 0,356 | 0,432 |
Радиус скругления впадины | r1 | 0,356 | 0,432 |
(в ред. Изменения N 1, введенного в действие Приказом Росстандарта от 12.07.2023 N 512-ст) |
Срез по вершинам | scs = scn = 0,120P + 0,127 | 0,432 | 0,508 |
Радиус скругления вершины | r | 0,432 | 0,508 |
(в ред. Изменения N 1, введенного в действие Приказом Росстандарта от 12.07.2023 N 512-ст) |
Конусность по среднему диаметру резьбы на длине 25,4 мм | К | 1,59 |
(в ред. Изменения N 1, введенного в действие Приказом Росстандарта от 12.07.2023 N 512-ст) |
Примечание - Расчет параметров H, hs и hn выполнен по формулам для симметричной цилиндрической, а не конической резьбы. Расхождения результатов расчетов несущественны для резьбы с указанными шагом и конусностью. |
4.2.2 Геометрические параметры резьбовых соединений SC и LC приведены на рисунке 4 и в
таблицах 5 и
6.
4.2.3 Геометрические параметры резьбового соединения NU и EU приведены на рисунке 4 и в
таблицах 7 и
8.
1 - плоскость середины муфты; 2 - торец трубы
при механическом свинчивании; 3 - торец трубы при ручном
свинчивании; 4 - притупление внутренней кромки торца трубы;
5 - плоскость ручного свинчивания; 6 - основная плоскость;
7 - плоскость начала сбега резьбы; 8 - плоскость конца сбега
резьбы; 9 - треугольное клеймо для труб с резьбовым
соединением SC, наружным диаметром 406,40; 473,08;
508,00 мм, с пределом прочности до 655 МПа включ. и труб
с резьбовым соединением LC, наружным диаметром 508,00 мм;
10 - для труб с резьбовыми соединениями SC и LC - 12°,
для труб с резьбовыми соединениями NU и EU - 15°
Рисунок 4 - Резьбовые соединения SC, LC и NU, EU
Приказом Росстандарта от 12.07.2023 N 512-ст)
Таблица 5
Геометрические параметры резьбового соединения SC
В миллиметрах
Обозначение номинального диаметра резьбы | Наружный диаметр трубы D | Наружный диаметр резьбы трубы D4 | Число витков резьбы на длине 25,4 мм | Шаг резьбы P | Толщина стенки трубы t | Расстояние от торца трубы до плоскости ручного свинчивания L1 | Эффективная длина резьбы L2 | Общая длина резьбы трубы L4 | Средний диаметр резьбы в плоскости ручного свинчивания E1 | Средний диаметр резьбы в основной плоскости E7 | Расстояние от торца трубы до середины муфты при механическом свинчивании J | Расстояние от торца муфты до плоскости ручного свинчивания M | Диаметр расточки в плоскости торца муфты Q | Длина расточки муфты q | Минимальная ширина торцевой плоскости муфты B | Натяг при ручном свинчивании A | Минимальная длина резьбы с полным профилем Lc |
дюймы | мм |
4 1/2 | 114,30 | 114,30 | 114,30 | 8 | 3,175 | 5,2 | 23,39 | 43,56 | 50,80 | 111,846 | 112,566 | 28,58 | 17,88 | 116,68 | 12,70 | 3,97 | 9,52 | 22,22 |
4 1/2 | 114,30 | 114,30 | 114,30 | другие | 39,27 | 59,44 | 66,68 | 111,846 | 112,566 | 12,70 | 17,88 | 116,68 | 12,70 | 3,97 | 9,52 | 38,10 |
5 | 127,00 | 127,00 | 127,00 | 5,6 | 36,09 | 56,26 | 63,50 | 124,546 | 125,266 | 19,05 | 17,88 | 129,38 | 12,70 | 4,76 | 9,52 | 34,92 |
5 | 127,00 | 127,00 | 127,00 | другие | 42,44 | 62,61 | 69,85 | 124,546 | 125,266 | 12,70 | 17,88 | 129,38 | 12,70 | 4,76 | 9,52 | 41,28 |
5 1/2 | 139,70 | 139,70 | 139,70 | все | 45,62 | 65,79 | 73,02 | 137,246 | 137,966 | 12,70 | 17,88 | 142,08 | 12,70 | 3,18 | 9,52 | 44,45 |
5 3/4 | 146,05 | 146,05 | 146,05 | все | 48,80 | 68,96 | 76,20 | 143,596 | 144,316 | 12,70 | 17,88 | 148,40 | 12,70 | 6,00 | 9,52 | 47,62 |
6 5/8 | 168,28 | 168,28 | 168,28 | все | 51,97 | 72,14 | 79,38 | 165,821 | 166,541 | 12,70 | 17,88 | 170,66 | 12,70 | 6,35 | 9,52 | 50,80 |
7 | 177,80 | 177,80 | 177,80 | 5,9 | 32,92 | 53,09 | 60,32 | 175,346 | 176,066 | 31,75 | 17,88 | 180,18 | 12,70 | 4,76 | 9,52 | 31,75 |
7 | 177,80 | 177,80 | 177,80 | другие | 51,97 | 72,14 | 79,38 | 175,346 | 176,066 | 12,70 | 17,88 | 180,18 | 12,70 | 4,76 | 9,52 | 50,80 |
7 5/8 | 193,68 | 193,68 | 193,68 | все | 53,44 | 75,31 | 82,55 | 191,114 | 191,941 | 12,70 | 18,01 | 197,64 | 11,00 | 5,56 | 11,11 | 53,98 |
8 5/8 | 219,08 | 219,08 | 219,08 | 6,7 | 47,09 | 68,96 | 76,20 | 216,514 | 217,341 | 22,22 | 18,01 | 223,04 | 11,00 | 6,35 | 11,11 | 47,62 |
8 5/8 | 219,08 | 219,08 | 219,08 | другие | 56,62 | 78,49 | 85,72 | 216,514 | 217,341 | 12,70 | 18,01 | 223,04 | 11,00 | 6,35 | 11,11 | 57,15 |
9 5/8 | 244,48 | | 244,48 | все | 56,62 | 78,49 | 85,72 | 241,914 | 242,741 | 12,70 | 18,01 | 248,44 | 11,00 | 6,35 | 11,11 | 57,15 |
9 5/8 | 244,48 | | 244,48 | все | 54,91 | 78,49 | 85,72 | 241,808 | 242,741 | 12,70 | 18,11 | 248,44 | 11,00 | 6,35 | 12,70 | 57,15 |
10 3/4 | 273,05 | | 273,05 | 7,1 | 40,74 | 62,61 | 69,85 | 270,489 | 271,316 | 31,75 | 18,01 | 277,02 | 11,00 | 6,35 | 11,11 | 41,28 |
10 3/4 | 273,05 | | 273,05 | другие | 59,79 | 81,66 | 88,90 | 270,489 | 271,316 | 12,70 | 18,01 | 277,02 | 11,00 | 6,35 | 11,11 | 60,32 |
10 3/4 | 273,05 | | 273,05 | другие | 58,09 | 81,66 | 88,90 | 270,383 | 271,316 | 12,70 | 18,11 | 277,02 | 11,00 | 6,35 | 12,70 | 60,32 |
11 3/4 | 298,45 | | 298,45 | все | 59,79 | 81,66 | 88,90 | 295,889 | 296,716 | 12,70 | 18,01 | 302,42 | 11,00 | 6,35 | 11,11 | 60,32 |
11 3/4 | 298,45 | | 298,45 | все | 58,09 | 81,66 | 88,90 | 295,783 | 296,716 | 12,70 | 18,11 | 302,42 | 11,00 | 6,35 | 12,70 | 60,32 |
12 3/4 | 323,85 | 323,85 | 323,85 | все | - | 81,66 | 88,90 | 321,289 | 322,116 | 12,70 | 18,01 | 326,30 | 11,00 | 9,00 | 11,11 | 60,32 |
13 3/8 | 339,72 | | 339,72 | все | 59,79 | 81,66 | 88,90 | 337,164 | 337,991 | 12,70 | 18,01 | 343,69 | 11,00 | 5,56 | 11,11 | 60,32 |
13 3/8 | 339,72 | | 339,72 | все | 58,09 | 81,66 | 88,90 | 337,058 | 337,991 | 12,70 | 18,11 | 343,69 | 11,00 | 5,56 | 12,70 | 60,32 |
16 | 406,40 | 406,40 | 406,40 | все | 72,49 | 94,36 | 101,60 | 403,839 | 404,666 | 12,70 | 18,01 | 411,96 | 9,30 | 5,56 | 11,11 | 73,02 |
18 5/8 | 473,08 | 473,08 | 473,08 | 11,1 | 72,49 | 94,36 | 101,60 | 470,514 | 471,341 | 12,70 | 18,01 | 478,63 | 9,30 | 5,56 | 11,11 | 73,02 |
20 | 508,00 | | 508,00 | все | 72,49 | 94,36 | 101,60 | 505,439 | 506,266 | 12,70 | 18,01 | 513,56 | 9,30 | 5,56 | 11,11 | 73,02 |
20 | 508,00 | 508,00 <4> | 508,00 | все | 70,79 | 94,36 | 101,60 | 505,333 | 506,266 | 12,70 | 18,11 | 513,56 | 9,30 | 5,56 | 12,70 | 73,02 |
(в ред. Изменения N 1, введенного в действие Приказом Росстандарта от 12.07.2023 N 512-ст) |
<1> Для соединений труб из сталей с пределом прочности менее 862 МПа. <2> Для соединений труб из сталей с пределом прочности 862 МПа и выше. <3> Для соединений труб из сталей с пределом прочности менее 655 МПа. <4> Для соединений труб из сталей с пределом прочности 655 МПа и выше. Примечания 1 Натяг A при ручном свинчивании трубы и муфты является исходным натягом для механического свинчивания. 2 Основная плоскость расположена на расстоянии g, равном 15,875 мм от плоскости конца сбега резьбы трубы. 3 Lc = L4 - 28,58 для резьбы с шагом 3,175 мм. |
Таблица 6
Геометрические параметры резьбового соединения LC
В миллиметрах
Обозначение номинального диаметра резьбы | Наружный диаметр трубы D | Наружный диаметр резьбы трубы D4 | Число витков резьбы на длине 25,4 мм | Шаг резьбы P | Расстояние от торца трубы до плоскости ручного свинчивания L1 | Эффективная длина резьбы L2 | Общая длина резьбы трубы L4 | Средний диаметр резьбы в плоскости ручного свинчивания E1 | Средний диаметр резьбы в основной плоскости E7 | Расстояние от торца муфты до плоскости ручного свинчивания M | Расстояние от торца трубы до середины муфты при механическом свинчивании J | Диаметр расточки в плоскости торца муфты Q | Длина расточки муфты q | Минимальная ширина торцевой плоскости муфты B | Натяг при ручном свинчивании A | Минимальная длина резьбы с полным профилем Lc |
дюймы | мм |
4 1/2 | 114,30 | 114,30 | 114,30 | 8 | 3,175 | 48,79 | 68,96 | 76,20 | 111,846 | 112,566 | 17,88 | 12,70 | 116,68 | 12,70 | 3,97 | 9,52 | 47,62 |
5 | 127,00 | 127,00 | 127,00 | 58,32 | 78,49 | 85,72 | 124,546 | 125,266 | 17,88 | 129,38 | 12,70 | 4,76 | 9,52 | 57,15 |
5 1/2 | 139,70 | 139,70 | 139,70 | 61,49 | 81,66 | 88,90 | 137,246 | 137,966 | 17,88 | 142,08 | 12,70 | 3,18 | 9,52 | 60,32 |
5 3/4 | 146,05 | 146,05 | 146,05 | 64,67 | 84,84 | 92,08 | 143,596 | 144,316 | 17,88 | 148,50 | 12,70 | 6,00 | 9,52 | 63,50 |
6 5/8 | 168,28 | 168,28 | 168,28 | 71,02 | 91,19 | 98,42 | 165,821 | 166,541 | 17,88 | 170,66 | 12,70 | 6,35 | 9,52 | 69,85 |
7 | 177,80 | 177,80 | 177,80 | 74,19 | 94,36 | 101,60 | 175,346 | 176,066 | 17,88 | 180,18 | 12,70 | 4,76 | 9,52 | 73,02 |
7 5/8 | 193,68 | 193,68 | 193,68 | 75,67 | 97,54 | 104,78 | 191,114 | 191,941 | 18,01 | 197,64 | 11,00 | 5,56 | 11,11 | 76,20 |
8 5/8 | 219,08 | 219,08 | 219,08 | 85,19 | 107,06 | 114,30 | 216,514 | 217,341 | 18,01 | 223,04 | 11,00 | 6,35 | 11,11 | 85,72 |
9 5/8 | 244,48 | | 244,48 | 91,54 | 113,41 | 120,65 | 241,914 | 242,741 | 18,01 | 248,44 | 11,00 | 6,35 | 11,11 | 92,08 |
9 5/8 | 244,48 | | 244,48 | 89,84 | 113,41 | 120,65 | 241,808 | 242,741 | 18,11 | 248,44 | 11,00 | 6,35 | 12,70 | 92,08 |
20 | 508,00 | | 508,00 | 104,24 | 126,11 | 133,35 | 505,439 | 506,266 | 18,01 | 513,56 | 9,30 | 5,56 | 11,11 | 104,78 |
20 | 508,00 | 508,00 <4> | 508,00 | 102,54 | 126,11 | 133,35 | 505,333 | 506,266 | 18,11 | 513,56 | 9,30 | 5,56 | 12,70 | 104,78 |
(в ред. Изменения N 1, введенного в действие Приказом Росстандарта от 12.07.2023 N 512-ст) |
<1> Для соединений труб из сталей с пределом прочности менее 862 МПа. <2> Для соединений труб из сталей с пределом прочности 862 МПа и выше. <3> Для соединений труб из сталей с пределом прочности менее 655 МПа. <4> Для соединений труб из сталей с пределом прочности 655 МПа и выше. Примечания 1 Натяг A при ручном свинчивании трубы и муфты является исходным натягом для механического свинчивания. 2 Основная плоскость расположена на расстоянии g, равном 15,875 мм от плоскости конца сбега резьбы трубы. 3 Lc= L4 - 28,58 мм для резьбы с шагом 3,175 мм. |
Таблица 7
Геометрические параметры резьбового соединения NU
В миллиметрах
Обозначение номинального диаметра резьбы | Наружный диаметр трубы D | Наружный диаметр резьбы трубы D4 | Число витков резьбы на длине 25,4 мм | Шаг резьбы P | Расстояние от торца трубы до плоскости ручного свинчивания L1 | Эффективная длина резьбы L2 | Общая длина резьбы трубы L4 | Средний диаметр резьбы в плоскости ручного свинчивания E1 | Средний диаметр резьбы в основной плоскости E7 | Расстояние от торца трубы до середины муфты при механическом свинчивании J | Расстояние от торца муфты до плоскости ручного свинчивания M | Диаметр расточки в плоскости торца муфты Q | Длина расточки муфты q | Минимальная ширина торцевой плоскости муфты B | Натяг при ручном свинчивании A | Минимальная длина резьбы с полным профилем Lc |
дюймы | мм |
1,050 | 26,67 | 26,67 | 26,67 | 10 | 2,540 | 11,38 | 23,50 | 27,79 | 25,102 | 25,334 | 12,70 | 11,33 | 28,27 | 7,94 | 1,59 | 5,08 | 7,62 |
1,315 | 33,40 | 33,40 | 33,40 | 10 | 2,540 | 12,17 | 24,28 | 28,58 | 31,833 | 32,065 | 11,33 | 35,00 | 7,94 | 2,38 | 5,08 | 7,62 |
1,660 | 42,16 | 42,16 | 42,16 | 10 | 2,540 | 15,34 | 27,46 | 31,75 | 40,596 | 40,828 | 11,33 | 43,76 | 7,94 | 3,18 | 5,08 | 8,89 |
1,900 | 48,26 | 48,26 | 48,26 | 10 | 2,540 | 18,52 | 30,63 | 34,92 | 46,692 | 46,924 | 11,33 | 49,86 | 7,94 | 1,59 | 5,08 | 12,06 |
2 3/8 | 60,32 | 60,32 | 60,32 | 10 | 2,540 | 24,87 | 36,98 | 41,28 | 58,757 | 58,989 | 11,33 | 61,92 | 7,94 | 4,76 | 5,08 | 18,42 |
2 7/8 | 73,02 | 73,02 | 73,02 | 10 | 2,540 | 35,99 | 48,11 | 52,40 | 71,457 | 71,689 | 11,33 | 74,62 | 7,94 | 4,76 | 5,08 | 29,54 |
3 1/2 | 88,90 | 88,90 | 88,90 | 10 | 2,540 | 42,34 | 54,46 | 58,75 | 87,332 | 87,564 | 11,33 | 90,50 | 7,94 | 4,76 | 5,08 | 35,89 |
4 | 101,60 | 101,60 | 101,60 | 8 | 3,175 | 40,41 | 54,36 | 60,32 | 99,414 | 99,866 | 13,56 | 103,20 | 9,52 | 4,76 | 6,35 | 34,92 |
4 1/2 | 114,30 | 114,30 | 114,30 | 8 | 3,175 | 45,19 | 59,13 | 65,10 | 112,114 | 112,566 | 13,56 | 115,90 | 9,52 | 4,76 | 6,35 | 39,70 |
Примечания 1 Натяг A при ручном свинчивании трубы и муфты является исходным натягом для механического свинчивания. 2 Основная плоскость расположена на расстоянии g, равном 12,700 мм от плоскости конца сбега резьбы трубы. 3 Lc = L4 - 22,86 мм - для резьбы с шагом 2,540 мм, но не менее 7,62 мм, Lc = L4 - 25,40 мм - для резьбы с шагом 3,175 мм. |
Таблица 8
Геометрические параметры резьбового соединения EU
В миллиметрах
Обозначение номинального диаметра резьбы | Наружный диаметр трубы D | Наружный диаметр резьбы трубы D4 | Число витков резьбы на длине 25,4 мм | Шаг резьбы P | Расстояние от торца трубы до плоскости ручного свинчивания L1 | Эффективная длина резьбы L2 | Общая длина резьбы трубы L4 | Средний диаметр резьбы в плоскости ручного свинчивания E1 | Средний диаметр резьбы в основной плоскости E7 | Расстояние от торца трубы до середины муфты при механическом свинчивании J | Расстояние от торца муфты до плоскости ручного свинчивания M | Диаметр расточки в плоскости торца муфты Q | Длина расточки муфты q | Минимальная ширина торцевой плоскости муфты B <1> | Натяг при ручном свинчивании A | Минимальная длина резьбы с полным профилем Lc |
дюймы | мм |
1,050 | 26,67 | 26,67 | 33,40 | 10 | 2,540 | 12,17 | 24,28 | 28,58 | 31,833 | 32,065 | 12,70 | 11,33 | 35,00 | 7,94 | 2,38 | 5,08 | 7,62 |
1,315 | 33,40 | 33,40 | 37,31 | 10 | 2,540 | 15,34 | 27,46 | 31,75 | 35,739 | 35,970 | 11,33 | 38,89 | 7,94 | 2,38 | 5,08 | 8,89 |
1,660 | 42,16 | 42,16 | 46,02 | 10 | 2,540 | 18,52 | 30,63 | 34,92 | 44,470 | 44,701 | 11,33 | 47,62 | 7,94 | 3,18 | 5,08 | 12,06 |
1,900 | 48,26 | 48,26 | 53,19 | 10 | 2,540 | 20,12 | 32,23 | 36,53 | 51,614 | 51,845 | 11,33 | 54,76 | 7,94 | 3,18 | 5,08 | 13,67 |
2 3/8 | 60,32 | 60,32 | 65,89 | 8 | 3,175 | 29,31 | 43,26 | 49,23 | 63,697 | 64,148 | 13,56 | 67,46 | 9,52 | 3,50 | 6,35 | 23,83 |
2 7/8 | 73,02 | 73,02 | 78,59 | 8 | 3,175 | 34,06 | 48,01 | 53,98 | 76,397 | 76,848 | 13,56 | 80,16 | 9,52 | 4,50 | 6,35 | 28,58 |
3 1/2 | 88,90 | 88,90 | 95,25 | 8 | 3,175 | 40,41 | 54,36 | 60,32 | 93,064 | 93,516 | 13,56 | 96,85 | 9,52 | 6,35 | 6,35 | 34,92 |
4 | 101,60 | 101,60 | 107,95 | 8 | 3,175 | 43,59 | 57,53 | 63,50 | 105,764 | 106,216 | 13,56 | 109,55 | 9,52 | 6,35 | 6,35 | 38,10 |
4 1/2 | 114,30 | 114,30 | 120,65 | 8 | 3,175 | 46,76 | 60,71 | 66,68 | 118,464 | 118,916 | 13,56 | 122,25 | 9,52 | 6,35 | 6,35 | 41,28 |
<1> Для обычных муфт. Для специальных муфт - не нормируется. Примечания 1 Натяг A при ручном свинчивании трубы и муфты является исходным натягом для механического свинчивания. 2 Основная плоскость расположена на расстоянии g, равном 12,700 мм от плоскости конца сбега резьбы трубы. 3 Lc = L4 - 22,86 мм - для резьбы с шагом 2,540 мм, но не менее 7,62 мм, Lc = L4 - 25,40 мм - для резьбы с шагом 3,175 мм. |
4.2.4 Предельные отклонения геометрических параметров профиля резьбы и резьбовых соединений указаны в таблице 9 для резьбовых соединений SC и LC, в
таблице 10 - для резьбовых соединений NU и EU.
Таблица 9
Предельные отклонения геометрических параметров резьбы
и резьбовых соединений SC и LC
В миллиметрах
Геометрический параметр | Предельные отклонения параметра <1> |
Конусность по среднему диаметру резьбы К на длине 25,4 мм | +0,13 -0,07 |
(в ред. Изменения N 1, введенного в действие Приказом Росстандарта от 12.07.2023 N 512-ст) |
| |
на длине 25,4 мм | +/- 0,076 |
суммарный | +/- 0,152 |
Высота профиля резьбы hs и hn | +0,051 -0,102 |
Угол профиля 60° | +/- 1°30' |
Общая длина резьбы трубы L4 | +/- P |
Минимальная длина резьбы с полным профилем Lc | Не менее |
(в ред. Изменения N 1, введенного в действие Приказом Росстандарта от 12.07.2023 N 512-ст) |
Угол наружной фаски трубы 60° | +/- 5° |
Диаметр расточки в плоскости торца муфты Q | +0,79 |
Длина расточки муфты q | +0,79 |
Угол внутренней фаски муфты 25° | +/- 5° |
Минимальная ширина торцевой плоскости муфты B | Не менее |
<1> Предельные отклонения относятся к наружной и внутренней резьбе, если в заказе на поставку не указано иное. |
(сноска <1> в ред. Изменения N 1, введенного в действие Приказом Росстандарта от 12.07.2023 N 512-ст) |
<2> Предельные отклонения шага резьбы на длине 25,4 мм относятся к расстоянию между любыми витками резьбы с полным профилем на установленном интервале измерений, предельные отклонения суммарного шага резьбы - ко всей длине резьбы с полным профилем. |
Таблица 10
Предельные отклонения геометрических параметров резьбы
и резьбовых соединений NU и EU
В миллиметрах
Геометрический параметр | Предельные отклонения параметра <1> |
Конусность по среднему диаметру резьбы К на длине 25,4 мм | +0,13 -0,07 |
(в ред. Изменения N 1, введенного в действие Приказом Росстандарта от 12.07.2023 N 512-ст) |
| |
на длине 25,4 мм | +/- 0,076 |
суммарный | +/- 0,152 |
Высота профиля резьбы hs и hn | +0,051 -0,102 |
Угол профиля резьбы 60° | +/- 1°30' |
Общая длина резьбы трубы L4: | |
для резьбы с шагом 3,175 мм | +/- P |
для резьбы с шагом 2,540 мм: | +1,5P -0,75P |
для соединения EU |
для соединения NU | +/- 1,5P |
Минимальная длина резьбы с полным профилем Lc | Не менее |
(в ред. Изменения N 1, введенного в действие Приказом Росстандарта от 12.07.2023 N 512-ст) |
Угол наружной фаски трубы 60° | +/- 5° |
Диаметр расточки в плоскости торца муфты Q | +0,79 |
Длина расточки муфты q | +0,79 |
Угол внутренней фаски муфты 25° | +/- 5° |
Минимальная ширина торцевой плоскости муфты B | Не менее |
<1> Предельные отклонения относятся к наружной и внутренней резьбе, если в заказе на поставку не указано иное. |
(сноска <1> в ред. Изменения N 1, введенного в действие Приказом Росстандарта от 12.07.2023 N 512-ст) |
<2> Предельные отклонения шага резьбы на длине 25,4 мм относятся к расстоянию между любыми витками резьбы с полным профилем на установленном интервале измерений, предельные отклонения суммарного шага резьбы - ко всей длине резьбы с полным профилем. |
4.3 Резьбовое соединение обсадных труб с упорной трапецеидальной резьбой BC
4.3.1 Форма и геометрические параметры профиля упорной трапецеидальной резьбы резьбового соединения BC приведены на
рисунке 5 для резьбы номинальным диаметром от 114,30 до 339,72 мм, на
рисунке 6 - для резьбы номинальным диаметром 406,40 мм и более.
Примечание - В международных и американских стандартах к такому профилю резьбы применяется термин "buttress" ("упорная").
--------------------------------
<1> Предельные отклонения расстояния между выступами для резьбы номинальным диаметром 193,68 мм и менее - плюс 0,08 мм; для резьбы номинальным диаметром 219,08 мм и более - плюс 0,13 мм.
(в ред.
Изменения N 1, введенного в действие Приказом Росстандарта от 12.07.2023 N 512-ст)
<2> Предельные отклонения ширины выступа для резьбы номинальным диаметром 193,68 мм и менее - минус 0,08 мм; для резьбы номинальным диаметром 219,08 мм и более - минус 0,13 мм.
1 - средняя линия резьбы; 2 - ось резьбы
Примечания
1 Конусность резьбы 1:16 на рисунке увеличена.
(примечание 1 в ред.
Изменения N 1, введенного в действие Приказом Росстандарта от 12.07.2023 N 512-ст)
2 Вершины и впадины резьбы параллельны средней линии резьбы.
3 Предельные отклонения радиусов скругления, ширины выступа и расстояния между выступами резьбы указаны для проектирования резьбообразующего инструмента и не подлежат контролю.
(в ред.
Изменения N 1, введенного в действие Приказом Росстандарта от 12.07.2023 N 512-ст)
Рисунок 5 - Профиль трапецеидальной резьбы резьбового
соединения BC для резьбы номинальным диаметром
от 114,30 до 339,72 мм
1 - средняя линия резьбы; 2 - ось резьбы
Примечания
1 Конусность резьбы 1:12 на рисунке увеличена.
(примечание 1 в ред.
Изменения N 1, введенного в действие Приказом Росстандарта от 12.07.2023 N 512-ст)
2 Вершины и впадины резьбы параллельны оси резьбы.
3 Предельные отклонения радиусов скругления, ширины выступа и расстояния между выступами резьбы указаны для проектирования резьбообразующего инструмента и не подлежат контролю.
(в ред.
Изменения N 1, введенного в действие Приказом Росстандарта от 12.07.2023 N 512-ст)
Рисунок 6 - Профиль трапецеидальной резьбы резьбового
соединения BC для резьбы номинальным диаметром
406,40 мм и более
Приказом Росстандарта от 12.07.2023 N 512-ст)
4.3.2 Геометрические параметры резьбового соединения BC приведены на рисунке 7 и в
таблице 11.
4.3.3 Предельные отклонения геометрических параметров профиля резьбы и резьбового соединения BC указаны в
таблице 12.
--------------------------------
<1> Для труб, наружным диаметром 339,72 мм и менее.
<2> Для труб, наружным диаметром 406,40 мм и более.
1 - плоскость середины муфты; 2 - плоскость торца трубы
при механическом свинчивании; 3 - плоскость торца трубы
при ручном свинчивании; 4 - основная плоскость;
5 - плоскость конца выхода резьбы на трубе;
6 - плоскость основания треугольного клейма
Приказом Росстандарта от 12.07.2023 N 512-ст)
Рисунок 7 - Резьбовое соединение BC
Таблица 11
Геометрические параметры резьбового соединения BC
В миллиметрах
Обозначение номинального диаметра резьбы | Наружный диаметр трубы D | Наружный диаметр резьбы трубы D4 | Число витков резьбы на длине 25,4 мм | Шаг резьбы P | Расстояние от основной плоскости до плоскости выхода резьбы g | Длина резьбы с полным профилем L7 | Общая длина резьбы трубы L4 | Средний диаметр резьбы в основной плоскости E7 | Расстояние от торца трубы до середины муфты при механическом свинчивании J | Расстояние от торца трубы до середины муфты при ручном свинчивании Jn | Расстояние от торца трубы до основания треугольного клейма A1 | Диаметр фаски в плоскости торца муфты Q | Минимальная ширина торцевой плоскости муфты B <1> | Натяг при ручном свинчивании A | Минимальная длина резьбы с полным профилем Lc |
дюйм | мм |
4 1/2 | 114,30 | 114,30 | 114,71 | 5 | 5,080 | 50,394 | 42,00 | 92,39 | 113,132 | 12,70 | 22,86 | 100,01 | 117,86 | 3,18 | 2,54 | 31,84 |
5 | 127,00 | 127,00 | 127,41 | 45,17 | 95,57 | 125,832 | 25,40 | 103,19 | 130,56 | 3,97 | 5,08 | 35,01 |
5 1/2 | 139,70 | 139,70 | 140,11 | 46,76 | 97,16 | 138,532 | 25,40 | 104,78 | 143,26 | 3,97 | 5,08 | 36,60 |
5 3/4 | 146,05 | 146,05 | 146,46 | 48,35 | 98,74 | 144,881 | 25,40 | 106,36 | 149,61 | 6,40 | 5,08 | 38,19 |
6 5/8 | 168,28 | 168,28 | 168,68 | 51,52 | 101,92 | 167,107 | 25,40 | 109,54 | 171,83 | 6,35 | 5,08 | 41,36 |
7 | 177,80 | 177,80 | 178,21 | 56,29 | 106,68 | 176,632 | 25,40 | 114,30 | 181,36 | 5,56 | 5,08 | 46,13 |
7 5/8 | 193,68 | 193,68 | 194,08 | 61,05 | 111,44 | 192,507 | 25,40 | 119,06 | 197,23 | 7,94 | 5,08 | 50,89 |
8 5/8 | 219,08 | 219,08 | 219,48 | 64,22 | 114,62 | 217,907 | 25,40 | 122,24 | 222,63 | 9,52 | 5,08 | 54,06 |
9 5/8 | 244,48 | 244,48 | 244,88 | 64,22 | 114,62 | 243,307 | 25,40 | 122,24 | 248,03 | 9,52 | 5,08 | 54,06 |
10 3/4 | 273,05 | 273,05 | 273,46 | 64,22 | 114,62 | 271,882 | 25,40 | 122,24 | 276,61 | 9,52 | 5,08 | 54,06 |
11 3/4 | 298,45 | 298,45 | 298,86 | 64,22 | 114,62 | 297,282 | 25,40 | 122,24 | 302,01 | 9,52 | 5,08 | 54,06 |
12 3/4 | 323,85 | 323,85 | 324,31 | 64,22 | 114,62 | 322,681 | 25,40 | 122,24 | 327,41 | 9,52 | 5,08 | 54,06 |
13 3/8 | 339,72 | 339,72 | 340,13 | 64,22 | 114,62 | 338,557 | 25,40 | 122,24 | 343,28 | 9,52 | 5,08 | 54,06 |
16 | 406,40 | 406,40 | 406,40 | 37,795 | 79,36 | 117,16 | 404,825 | 22,22 | 122,24 | 410,31 | 9,52 | 4,44 | 69,20 |
16 3/4 | 425,45 | 425,45 | 426,00 | 79,36 | 117,16 | 424,425 | 22,22 | 122,24 | 429,60 | 9,52 | 4,44 | 69,20 |
18 5/8 | 473,08 | 473,08 | 473,08 | 79,36 | 117,16 | 471,500 | 22,22 | 122,24 | 476,99 | 9,52 | 4,44 | 69,20 |
20 | 508,00 | 508,00 | 508,00 | 79,36 | 117,16 | 506,425 | 22,22 | 122,24 | 511,91 | 9,52 | 4,44 | 69,20 |
(в ред. Изменения N 1, введенного в действие Приказом Росстандарта от 12.07.2023 N 512-ст) |
<1> Для обычных муфт. Для специальных муфт со специальной фаской - не менее 1,59 мм, для специальных муфт с обычной фаской - не нормируется. Примечания 1 Средний диаметр резьбы в основной плоскости E7 определяется как среднее арифметическое наружного и внутреннего диаметров резьбы. 2 Lc = L7 - 10,16 мм. |
(в ред.
Изменения N 1, введенного в действие Приказом Росстандарта от 12.07.2023 N 512-ст)
Таблица 12
Предельные отклонения геометрических параметров
резьбового соединения BC
В миллиметрах
Геометрический параметр | Предельные отклонения параметра <1> |
Конусность резьбы на длине 25,4 мм <3>: | |
резьбы муфты | +0,11 -0,06 |
резьбы трубы: | |
на длине резьбы с полным профилем | +0,09 -0,04 |
на длине резьбы с неполным профилем | +0,11 -0,04 |
(в ред. Изменения N 1, введенного в действие Приказом Росстандарта от 12.07.2023 N 512-ст) |
| |
на длине 25,4 мм: | |
для труб наружным диаметром 339,72 мм и менее | +/- 0,051 |
для труб наружным диаметром 406,40 мм и более | +/- 0,076 |
суммарный | +/- 0,102 |
Высота профиля резьбы 1,575 | +/- 0,025 |
Угол профиля резьбы 13° | +/- 1° |
Угол наружной фаски трубы 60° | +/- 5° |
Угол внутренней фаски муфты 65° | +5° |
Минимальная длина резьбы с полным профилем Lc | Не менее |
(в ред. Изменения N 1, введенного в действие Приказом Росстандарта от 12.07.2023 N 512-ст) |
Минимальная ширина торцевой плоскости муфты B | Не менее |
Расстояние от торца трубы до основания треугольного клейма A1 | +/- 0,79 |
<1> Предельные отклонения относятся к наружной и внутренней резьбе, если в заказе на поставку не указано иное. |
(сноска <1> в ред. Изменения N 1, введенного в действие Приказом Росстандарта от 12.07.2023 N 512-ст) |
<2> Предельные отклонения шага резьбы на длине 25,4 мм относятся к расстоянию между любыми витками резьбы с полным профилем на установленном интервале измерений, предельные отклонения суммарного шага резьбы - ко всей длине резьбы с полным профилем. |
<3> Конусность резьбы на длине 25,4 мм для резьбы номинальным диаметром от 114,30 до 339,72 мм - 1,59 мм, для резьбы номинальным диаметром 406,40 мм и более - 2,12 мм. |
(сноска <3> введена Изменением N 1, введенным в действие Приказом Росстандарта от 12.07.2023 N 512-ст) |
4.4 Общие требования к резьбовому соединению
4.4.1 Конструкция резьбового соединения
Резьба соединений должна быть правой, геометрические параметры резьбовых соединений с учетом допустимых отклонений должны соответствовать требованиям, установленным в настоящем стандарте.
Примечание - В конструкции резьбовых соединений SC и LC обсадных труб общая длина резьбы трубы L4 определяется расчетом, основанным на обеспечении минимальной толщины стенки трубы под впадиной резьбы, определяемой по следующей формуле
t0 = 0,009D + 1,02 или 2,29, в зависимости от того,
что больше,
где t0 - минимальная толщина стенки трубы под впадиной резьбы, мм;
D - наружный диаметр трубы, мм.
Резьба трубы должна начинаться на наружной фаске (
рисунки 2,
4,
7), при этом малый диаметр фаски должен быть меньше внутреннего диаметра резьбы.
Резьба муфты должна начинаться на внутренней фаске (
рисунки 2,
4,
7) и продолжаться до середины муфты.
4.4.2 Качество поверхности резьбы
4.4.2.1 На поверхности наружной резьбы в пределах длины резьбы Lc и поверхности внутренней резьбы в пределах длины от расточки муфты до плоскости, расположенной на расстоянии (J + P) от середины муфты, не должно быть следов коррозии, видимых задиров, надрезов, вмятин и других несовершенств, которые нарушают непрерывность резьбы и могут привести к отслоению металла или защитного покрытия и образованию задиров при свинчивании.
Допускаются неглубокие риски и царапины, неровности поверхности, не влияющие на непрерывность резьбы и не вызывающие отслоения защитного покрытия резьбы.
Допускается зачистка поверхности резьбы и других элементов резьбового соединения для уменьшения глубины несовершенств или для их удаления, при условии соблюдения требований к геометрическим параметрам резьбы и резьбовых соединений.
На поверхности наружной резьбы резьбового соединения BC в пределах длины резьбы Lc допускается не более двух витков резьбы с черновинами, общей протяженностью на каждом витке не более 25% длины витка резьбы.
4.4.2.2 На поверхности наружной резьбы в пределах длины резьбы с неполным профилем (от конца длины резьбы
Lc и до плоскости конца сбега или выхода резьбы) не допускаются риски, царапины, закаты, раковины, вмятины, следы от инструмента и грузозахватных приспособлений и другие несовершенства глубиной, выходящей за внутренний диаметр резьбы или превышающей 12,5% номинальной толщины стенки трубы, при измерении от наружной поверхности трубы.
На этой длине допускается зачистка поверхности резьбы для выявления или удаления несовершенств, при глубине зачистки, не превышающей допустимую глубину несовершенств.
4.4.2.3 Несовершенства поверхности резьбы в пределах, указанных в
4.4.2.2, допускаются при следующих условиях:
(в ред.
Изменения N 1, введенного в действие Приказом Росстандарта от 12.07.2023 N 512-ст)
а) если несовершенства были выявлены до или во время нарезания резьбы, но не удалены, то конец трубы с несовершенствами должен быть концом, поставляемым без навинченной муфты. Навинчивание муфты на конец трубы с несовершенствами, выявленными до или во время нарезания резьбы, допускается только при условии, указанном в 4.4.2.3,
перечисление в);
(в ред.
Изменения N 1, введенного в действие Приказом Росстандарта от 12.07.2023 N 512-ст)
б) если конец трубы с несовершенствами в пределах, указанных в
4.4.2.2, является концом трубы, поставляемым без навинченной муфты;
(в ред.
Изменения N 1, введенного в действие Приказом Росстандарта от 12.07.2023 N 512-ст)
в) если несовершенства были выявлены до или во время нарезания резьбы и удалены, а зачистка плавно переходит в контур трубы, то на конец трубы допускается навинчивание муфты;
г) если несовершенства на конце трубы под муфтой, обнаруженные потребителем, находятся в пределах, указанных в
4.4.2.2. Если глубина несовершенства превышает допустимые пределы, то оно считается дефектом. Труба с дефектом может быть забракована или отремонтирована посредством отрезания конца трубы с дефектом и нарезания новой резьбы.
(в ред.
Изменения N 1, введенного в действие Приказом Росстандарта от 12.07.2023 N 512-ст)
4.4.2.4 Высота микронеровностей (шероховатость), Ra, поверхности резьбы не должна превышать 3,2 мкм.
4.4.3 Соосность резьбы муфты
Оси резьбы концов муфты должны совпадать.
Отклонение от соосности резьбы в плоскости торца муфты не должно превышать 0,8 мм.
Отклонение от соосности резьбы на расстоянии 1 м от середины муфты не должно превышать 3,1 мм:
- для муфт с резьбовым соединением LP, предназначенных для труб наружным диаметром 168,28 мм и более;
- для муфт с резьбовыми соединениями SC, LC, NU, EU и BC, предназначенных для труб любого наружного диаметра.
4.4.4 Покрытие внутренней резьбы
Резьба муфт с резьбовым соединением LP, предназначенных для труб наружным диаметром 60,32 мм и более, а также муфт с резьбовыми соединениями SC, LC, NU, EU и BC, предназначенных для труб любого наружного диаметра, должна иметь цинковое, оловянное, фосфатное или другое покрытие, для обеспечения свинчивания резьбовых соединений без задиров и заедания.
4.4.5 Треугольное клеймо
Треугольное клеймо в виде равностороннего треугольника с высотой 9,52 мм должно быть нанесено на каждый из концов следующих труб:
- с резьбовым соединением SC, наружным диаметром 406,40; 425,45; 473,08; 508,00 мм, с пределом прочности до 655 МПа вкл. - на расстоянии (
L4 + 1,6) мм от торца трубы (
рисунок 4,
таблица 5);
- с резьбовым соединением LC, наружным диаметром 508,00 мм - на расстоянии (
L4 + 1,6) мм от торца трубы (
рисунок 4,
таблица 6);
Если в заказе на поставку не указано иное, то треугольное клеймо может быть заменено поперечной белой полосой размером 10 x 75 мм.
Дополнительно на конец труб с резьбовым соединением BC без навинченной муфты (ниппельный конец) должна быть нанесена светлой краской продольная полоса размером 25 x 610 мм, на конец труб с навинченной муфтой (муфтовый конец) - полоса размером 25 x 102 мм (рисунок 8).
1 - треугольное клеймо; 2 - полоса размером 25 x 610 мм
на ниппельном конце трубы; 3 - полоса размером 25 x 102 мм
на муфтовом конце трубы; A1 - расстояние от торца трубы
до основания треугольного клейма
Рисунок 8 - Положение треугольного клейма на трубах
с резьбовым соединением BC
Приказом Росстандарта от 12.07.2023 N 512-ст)
4.4.6 Герметичность и свинчивание
Точность формы, геометрических параметров и качество поверхности резьбы должны обеспечивать герметичность резьбового соединения при правильно выполненном механическом свинчивании и использовании резьбовой смазки, соответствующей требованиям нормативно-технической документации
<1>.
Примечание - Герметичным считается соединение, которое при правильном механическом свинчивании с использованием соответствующей резьбовой смазки не имеет утечек при температуре окружающей среды и расчетном давлении для гидростатического испытания.
--------------------------------
<1> В Российской Федерации необходимо использовать
ГОСТ ISO 13678-2022 "Трубы обсадные, насосно-компрессорные, трубопроводные и элементы бурильных колонн, для нефтяной и газовой промышленности. Оценка и испытание резьбовых смазок".
(в ред.
Изменения N 1, введенного в действие Приказом Росстандарта от 12.07.2023 N 512-ст)
При правильном механическом свинчивании резьбовых соединений LP, SC, LC, NU и EU разность между фактической длиной муфты и расстоянием от свободного торца муфты до торца трубы, измеренным внутри муфты, не должна отличаться от номинального значения общей длины резьбы трубы L4:
- для труб с резьбовым соединением LP - более чем на +/- 2P;
- для труб с резьбовыми соединениями NU, EU, SC и LC - более чем на +/- 6,4 мм.
(в ред.
Изменения N 1, введенного в действие Приказом Росстандарта от 12.07.2023 N 512-ст)
При правильном механическом свинчивании резьбовые соединения NU и EU должны выдерживать четырехкратное свинчивание и развинчивание без повреждений витков резьбы.
Абзац исключен с 01.12.2023. -
Изменение N 1, введенное в действие Приказом Росстандарта от 12.07.2023 N 512-ст.
При правильном механическом свинчивании труб и муфт с резьбовым соединением BC торец муфты должен находиться между плоскостью, расположенной на расстоянии не более 5,0 мм до основания треугольного клейма
(рисунок 8), и вершиной треугольного клейма.
(в ред.
Изменения N 1, введенного в действие Приказом Росстандарта от 12.07.2023 N 512-ст)
5 Контроль резьбовых соединений
5.1.1 Контроль резьбовых соединений проводит изготовитель изделий с резьбовыми соединениями или предприятие, нарезающее резьбу. Допускается проведение контроля резьбовых соединений представителем заказчика.
Изготовитель может применять для технологического контроля резьбовых соединений различные средства измерений или методы контроля, но приемку резьбовых соединений он должен осуществлять по результатам контроля, проводимого в соответствии с требованиями настоящего стандарта.
Контроль геометрических параметров резьбовых соединений на соответствие требованиям настоящего стандарта изготовитель или нарезчик резьбы осуществляют до свинчивания резьбовых соединений.
После механического свинчивания и развинчивания резьбовых соединений допускаются отклонения геометрических параметров соединений, превышающие предельные отклонения, установленные в настоящем стандарте.
5.1.2 Контролю подвергают:
а) качество поверхности резьбы;
б) геометрические параметры резьбового соединения, для которых установлены предельные отклонения в
таблицах 3,
9,
10 и
12;
в) выход резьбы (только для резьбового соединения BC);
г) соосность резьбы муфты;
д) натяг резьбы.
5.1.3 Контроль качества поверхности резьбы проводят на каждой трубе и каждой муфте.
5.1.4 Геометрические параметры резьбового соединения, выход резьбы, соосность резьбы муфты и натяг резьбы контролируют в объемах и с периодичностью, установленными в технологической документации изготовителя.
Контроль геометрических параметров проводят на резьбовых соединениях всех типов, кроме резьбового соединения LP с шагом резьбы менее 2,209 мм, на котором проводят только контроль общей длины резьбы трубы.
5.2.1 Контроль качества поверхности резьбы на соответствие требованиям, установленным в
4.4.1, проводят визуально без применения увеличительных приспособлений.
5.2.2 Контроль геометрических параметров резьбовых соединений осуществляют при помощи универсальных и специальных средств измерений, обеспечивающих необходимую точность измерений, в соответствии с нормативной и технической документацией, утвержденной в установленном порядке. При необходимости приборы должны быть снабжены установочными мерами.
Примечание - Применение средств измерений для контроля соответствующих геометрических параметров должно осуществляться в соответствии с технической документацией на эти средства измерений или документацией на методы контроля.
5.2.3 Контроль натяга резьбы проводят в соответствии с
разделом 6 при помощи резьбовых калибров, требования к которым установлены в
разделе 7.
5.2.4 При контроле геометрических параметров резьбового соединения должны соблюдаться следующие условия:
а) перед контролем поверхность резьбового соединения должна быть тщательно очищена;
б) контроль параметров должен проводиться перед нанесением покрытия или после удаления покрытия химическим способом;
в) контроль параметров должен проводиться до механического свинчивания резьбового соединения, т.к. деформации, возникающие при механическом свинчивании, могут привести к отклонениям параметров резьбы, превышающим установленные предельные отклонения;
г) перед контролем приборы, калибры и изделия, подлежащие контролю, должны выдерживаться при температуре, при которой проводится контроль, в течение времени, достаточного для выравнивания температуры.
5.3.1 Измерение геометрических параметров резьбовых соединений проводят:
- длины резьбы - параллельно оси резьбы;
- высоты профиля резьбы - в плоскости, перпендикулярной оси резьбы;
(в ред.
Изменения N 1, введенного в действие Приказом Росстандарта от 12.07.2023 N 512-ст)
- шага резьбы - параллельно оси резьбы, вдоль средней линии резьбы;
- конусности резьбы - вдоль оси резьбы;
- выхода резьбы резьбового соединения BC - в плоскости перпендикулярной оси резьбы;
- соосности резьбы муфты - в плоскости торца муфты и плоскости, расположенной перпендикулярно оси муфты на заданном расстоянии от середины муфты или параллельно оси муфты по впадинам резьбы, расположенным на равном расстоянии от середины муфты.
(в ред.
Изменения N 1, введенного в действие Приказом Росстандарта от 12.07.2023 N 512-ст)
Примечание - Под измерением шага резьбы подразумевается измерение отклонений шага резьбы.
(примечание введено
Изменением N 1, введенным в действие Приказом Росстандарта от 12.07.2023 N 512-ст)
5.3.2 Конусность резьбы определяют:
- на резьбовых соединениях LP, SC, LC, NU, EU - при измерении разности диаметров по средней линии резьбы;
- на резьбовом соединении BC - при измерении разности диаметров по впадинам резьбы.
(п. 5.3.2 в ред.
Изменения N 1, введенного в действие Приказом Росстандарта от 12.07.2023 N 512-ст)
5.4.1 Высоту профиля резьбы, шаг и конусность резьбы труб и муфт с резьбовыми соединениями LP, SC, LC, NU и EU измеряют на витках резьбы с полным профилем.
Высоту профиля резьбы, шаг резьбы труб и муфт, конусность резьбы муфт с резьбовым соединением BC измеряют на витках резьбы с полным профилем, конусность резьбы трубы - на витках резьбы с полным и неполным профилем.
(п. 5.4.1 в ред.
Изменения N 1, введенного в действие Приказом Росстандарта от 12.07.2023 N 512-ст)
5.4.2 При определении высоты профиля, шага и конусности резьбы измерения проводят начиная от первого или последнего витка резьбы с полным профилем через интервал, равный:
- 25,4 мм для резьбы, имеющей расстояние между первым и последним витками с полным профилем, превышающее 25,4 мм;
- 12,7 мм для резьбы, имеющей расстояние между первым и последним витками с полным профилем от 12,7 до 25,4 мм;
- 4P для резьбы с шагом 2,209 мм.
Допускается перекрытие интервалов измерений.
При определении суммарного шага резьбы измерения проводят между первым и последним витками резьбы с полным профилем на интервале, равном:
- наибольшему кратному 12,7 мм - при четном числе витков на длине 25,4 мм;
- наибольшему кратному 25,4 мм - при нечетном числе витков на длине 25,4 мм.
При определении конусности резьбы на длине 12,7 мм или 4P значения конусности на длине 25,4 мм должны быть пересчитаны пропорционально отношению интервала измерений к длине 25,4 мм.
(в ред.
Изменения N 1, введенного в действие Приказом Росстандарта от 12.07.2023 N 512-ст)
5.4.3 Первым витком резьбы с полным профилем является виток, ближайший к торцу трубы или муфты и имеющий по обе стороны вершины и впадины с полным профилем.
Последним витком с полным профилем наружной резьбы должен быть виток, расположенный на расстоянии:
- (L4 - g) от последней впадины резьбы - для резьбовых соединений LP, NU и EU;
- 12,7 мм от последней впадины резьбы - для резьбовых соединений SC и LC;
- L7 от торца трубы - для резьбового соединения BC.
Последним витком с полным профилем внутренней резьбы должен быть виток, расположенный на расстоянии (J + P) от середины муфты.
5.5 Измерительные наконечники
5.5.1 Измерительные наконечники индикаторных приборов для определения конусности и измерения шага резьбы должны иметь сферическую форму и диаметр, указанный в таблицах 13 и
14.
Таблица 13
Диаметры измерительных наконечников приборов для определения
конусности и шага резьбы соединений LP, SC, LC, NU, EU
Тип резьбового соединения | Шаг резьбы, мм | Число витков на длине 25,4 мм | Диаметр измерительного наконечника, мм +/- 0,05 |
SC, LC, NU, EU | 3,175 | 8 | 1,83 |
2,540 | 10 | 1,45 |
LP | 3,175 | 8 | 1,83 |
2,209 | 11 1/2 | 1,27 |
1,814 | 14 | 1,04 |
1,411 | 18 | 0,81 |
0,941 | 27 | 0,53 |
Примечание - Исключено с 01.12.2023. - Изменение N 1, введенное в действие Приказом Росстандарта от 12.07.2023 N 512-ст. |
Таблица 14
Диаметры измерительных наконечников приборов для определения
конусности, шага и выхода резьбы соединения BC
Геометрический параметр | Диаметр измерительного наконечника, мм, +/- 0,05 |
Конусность | 2,29 |
Шаг | 1,57 |
Выход | 1,45 |
Примечание - Исключено с 01.12.2023. - Изменение N 1, введенное в действие Приказом Росстандарта от 12.07.2023 N 512-ст. |
Измерительные наконечники приборов для определения конусности и измерения шага резьбы соединений LP, SC, LC, NU, EU должны контактировать с боковыми сторонами витков резьбы приблизительно по средней линии резьбы.
Измерительные наконечники приборов для определения конусности и измерения шага резьбы соединения BC должны контактировать одновременно с впадинами и боковыми сторонами витков резьбы, имеющими угол наклона 3°.
5.5.2 Измерительные наконечники индикаторных приборов для измерения высоты профиля резьбы соединений LP, SC, LC, NU, EU должны иметь коническую форму с углом конуса не более 50°, для измерения высоты профиля резьбы соединения BC - коническую форму с углом конуса не более 50° или сферическую форму и диаметр не более 2,34 мм.
Измерительные наконечники приборов для измерения высоты профиля резьбы не должны контактировать с боковыми сторонами профиля резьбы.
Приборы для измерения высоты профиля резьбы номинальным диаметром 406,40 мм и более должны иметь основание (опору) ступенчатого типа.
5.5.3 Для определения правильности выхода резьбы резьбового соединения BC применяют индикаторные приборы для измерения сбега резьбы. Измерительные наконечники таких приборов должны иметь сферическую форму и диаметр, указанный в
таблице 14.
Измерительный наконечник прибора помещают в канавку на впадину резьбы под углом 90° к концу резьбы или вершине треугольного клейма, в зависимости от того, расстояние до какого из них от торца трубы меньше. Прибор поворачивают по часовой стрелке до выхода наконечника из канавки резьбы или до захода за вершину треугольного клейма. Если показания прибора не превышают 0,13 мм, выход резьбы считается правильным.
(в ред.
Изменения N 1, введенного в действие Приказом Росстандарта от 12.07.2023 N 512-ст)
5.6.1 Для настройки шагомеров применяют установочные меры, имеющие треугольные выемки-пазы - для треугольной резьбы и трапецеидальные выемки-пазы - для трапецеидальной резьбы. Расстояние между этими выемками должно быть скорректировано с учетом компенсации погрешности измерения шага параллельно образующей конуса резьбы, вместо измерения шага параллельно оси резьбы, в соответствии со значениями, приведенными в таблице 15. Отклонение расстояния между двумя смежными выемками установочной меры не должно превышать +/- 0,0025 мм, между двумя любыми несмежными выемками - +/- 0,0050 мм.
Таблица 15
Компенсированная длина резьбы для измерения шага резьбы
В миллиметрах
Длина резьбы при измерении шага резьбы параллельно оси резьбы | Компенсированная длина резьбы для измерения шага резьбы параллельно образующей конуса резьбы, при конусности |
1:16 | 1:12 |
| 8,839 | - |
12,700 | 12,706 | - |
25,400 | 25,412 | 25,422 |
38,100 | 38,119 | 38,133 |
50,800 | 50,825 | 50,844 |
63,500 | 63,531 | 63,555 |
76,200 | 76,237 | 76,266 |
88,900 | 88,943 | 88,977 |
101,600 | 101,650 | 101,688 |
<1> Эквивалентна 4 P для резьбы с шагом 2,209 мм. |
5.6.2 Для настройки глубиномеров - приборов, измеряющих высоту резьбы, применяют установочные меры с призматическими U- и V-образными канавками для треугольной резьбы и трапецеидальной резьбы номинальным диаметром 339,72 мм и менее или ступенчатые установочные меры с U-образными канавками для трапецеидальной резьбы номинальным диаметром 406,40 мм и более.
Глубина канавок должна быть равной:
- 2,413 мм - для резьбы с шагом 3,175 мм резьбового соединения LP;
- 1,679 мм - для резьбы с шагом 2,209 мм резьбового соединения LP;
- 1,808 мм - для резьбы с шагом 3,175 мм резьбовых соединений SC, LC, NU и EU;
- 1,412 мм - для резьбы с шагом 2,540 мм резьбовых соединений NU и EU;
- 1,575 мм - для резьбы номинальным диаметром 339,72 мм и менее резьбового соединения BC.
Предельные отклонения глубины канавок +/- 0,005 мм.
Угол призмы установочных мер с призматическими V-образными канавками должен быть не более 60°.
Ширина среза профиля канавки по впадине должна быть равной:
- 0,079 мм - для резьбы с шагом 3,175 мм резьбового соединения LP;
- 0,056 мм - для резьбы с шагом 2,209 мм резьбового соединения LP;
- 0,330 мм - для резьбы с шагом 3,175 мм резьбовых соединений SC, LC, NU и EU;
- 0,254 мм - для резьбы с шагом 2,540 мм резьбовых соединений NU и EU.
Контрольные меры для резьбы номинальным диаметром 406,40 мм и более резьбового соединения BC должны иметь U-образную канавку:
- глубиной до первой площадки, равной 1,468 мм;
- глубиной до второй площадки, равной 1,681 мм.
Предельные отклонения ширины среза профиля и глубины канавки +/- 0,005 мм.
Примечание - Настройку глубиномера проводят по мерам с U-образной канавкой, и для всех резьбовых соединений, кроме BC, дополнительно проверяют по мерам с V-образной канавкой. Показание прибора при настройке по мере с V-образной канавкой не должно отличаться от первоначального показания более чем на 0,013 мм. Превышение этого значения свидетельствует об износе или повреждении измерительного наконечника, который должен быть заменен.
Допускается проводить настройку глубиномера по гладкой поверхности.
5.6.3 Исключен с 01.12.2023. -
Изменение N 1, введенное в действие Приказом Росстандарта от 12.07.2023 N 512-ст.
5.6.4 Контроль формы профиля резьбы и геометрических параметров профиля резьбы - углов наклона боковых сторон и угла профиля допускается проводить по слепкам с резьбы. Слепок с резьбы должен быть сделан из стабильного материала, не обладающего усадкой.
6 Контроль резьбы калибрами
6.1 Виды калибров и их взаимосвязь
6.1.1 Применяют следующие виды резьбовых калибров:
- контрольный калибр-пробка;
- контрольный калибр-кольцо;
- рабочий калибр-пробка;
- рабочий калибр-кольцо.
Примечание - Калибры, изготовленные по
ГОСТ Р 51906-2015 <1>, могут применяться наравне с калибрами, изготовленными по настоящему стандарт.
(примечание введено
Изменением N 1, введенным в действие Приказом Росстандарта от 12.07.2023 N 512-ст)
--------------------------------
<1> В Российской Федерации
ГОСТ Р 51906-2015 был отменен с 1 августа 2018 г. в связи с введением в действие настоящего стандарта.
(сноска введена
Изменением N 1, введенным в действие Приказом Росстандарта от 12.07.2023 N 512-ст)
6.1.2 Нарезчик резьбы должен иметь контрольные калибры или иметь доступ к контрольным калибрам для припасовки к ним рабочих калибров для резьбы каждого номинального диаметра и типа резьбового соединения. Комплект контрольных резьбовых калибров состоит из контрольного калибра-пробки и сопряженного с ним контрольного калибра-кольца. Натяг в сопряжении комплекта контрольных калибров должен быть установлен при сертификации или калибровке контрольных калибров.
Изготовитель резьбы должен иметь рабочие калибры для контроля резьбы каждого номинального диаметра и типа резьбового соединения. Состояние рабочих калибров должно обеспечивать соответствие контролируемой резьбы требованиям настоящего стандарта.
Изготовитель должен разработать документированную процедуру измерения износа (изменения натяга рабочих калибров по контрольным калибрам) каждого рабочего калибра-кольца и калибра-пробки, которые используют для контроля резьбы. Эта процедура должна содержать подробное описание контроля, его периодичность и критерии отбраковки, по которым рабочий калибр-кольцо или калибр-пробка не допускаются для дальнейшего применения. Результаты измерений должны быть задокументированы. Записи по процедурам и измерениям должны сохраняться не менее трех лет после последнего применения каждого рабочего калибра. Изготовитель должен также установить и задокументировать периодичность контроля резьбы изделий рабочими калибрами.
6.1.3 Взаимосвязь и взаимное положение контрольных калибров, рабочих калибров и резьбы изделий должны соответствовать схемам, показанным на
рисунках 9 и
10.
Резьбовой контрольный калибр-пробка является эталоном в схеме передачи натяга от контрольного калибра-пробки к контрольному и рабочему калибрам-кольцам. Резьбовой контрольный калибр-пробка предназначен для определения:
- натягов
S и
N контрольного калибра-кольца [
рисунки 9 а) и
10 а)], при этом при сертификации или первичной калибровке калибра исходное значение натяга S должно быть указано в маркировке и документе на контрольный калибр-кольцо, при периодической калибровке - только в документе на контрольный калибр-кольцо;
(в ред.
Изменения N 1, введенного в действие Приказом Росстандарта от 12.07.2023 N 512-ст)
- натяга
N1 рабочего калибра-кольца [
рисунки 9 в) и
10 в)], при этом значение
N1 должно быть указано в маркировке на рабочем калибре-кольце или в документе на рабочий калибр-кольцо.
Примечание - Исходное значение натяга S в сопряжении контрольного калибра-кольца и контрольного калибра-пробки является основой для определения износа или необратимых изменений калибров.
(в ред.
Изменения N 1, введенного в действие Приказом Росстандарта от 12.07.2023 N 512-ст)
Резьбовой контрольный калибр-кольцо является эталоном в схеме передачи натяга от контрольного калибра-кольца к рабочему калибру-пробке. Резьбовой контрольный калибр-кольцо предназначен для определения натяга
S1 рабочего калибра-пробки [
рисунки 9 б) и
10 б)]. Значение
S1 должно быть указано в маркировке на рабочем калибре-пробке или в документе на рабочий калибр-пробку.
(в ред.
Изменения N 1, введенного в действие Приказом Росстандарта от 12.07.2023 N 512-ст)
Примечание - Отклонение натяга S от исходного значения должно учитываться при определении натяга рабочего калибра-пробки.
(примечание введено
Изменением N 1, введенным в действие Приказом Росстандарта от 12.07.2023 N 512-ст)
Резьбовой рабочий калибр-пробка предназначен для контроля натяга муфты, определяемого как [
A + (
S1 -
S)] [
рисунки 9 г) и
10 г)].
Резьбовой рабочий калибр-кольцо предназначен для контроля натяга
N1 трубы [
рисунки 9 е) и
10 е)].
В спорных случаях могут быть использованы контрольный калибр-пробка для контроля натяга
A муфты [
рисунки 9 д) и
10 д)] и контрольный калибр-кольцо для контроля натяга
N трубы [
рисунки 9 ж) и
10 ж)].
Примечание - Применение контрольных калибров для контроля резьбы изделий должно быть сведено к минимуму. Оно должно ограничиваться случаями, вызванными разногласиями в оценке соответствия, которые не могут быть разрешены перепроверкой рабочего калибра по контрольному калибру. При свинчивании контрольных калибров с резьбой изделий должна соблюдаться особая осторожность.
Рисунок 9 - Схема взаимосвязи между контрольными калибрами,
рабочими калибрами и резьбой изделий с резьбовыми
соединениями LP, SC, LC, NU и EU
--------------------------------
<1> Соединение трубы и муфты с номинальными геометрическими параметрами резьбы, свинченное вручную.
1 - плоскость конца сбега резьбы; 2 - плоскость ручного
свинчивания; 3 - плоскость торца трубы; A - натяг
при свинчивании контрольного калибра-пробки и муфты
(расстояние от фланца калибра-пробки до торца муфты)
или натяг при свинчивании вручную трубы и муфты;
A + M - расстояние от фланца контрольного калибра-пробки
до плоскости ручного свинчивания; A + (S1 - S) - натяг
при свинчивании муфты и рабочего калибра-пробки (расстояние
от фланца рабочего калибра-пробки до торца муфты);
A + M + (S1 - S) - расстояние от фланца рабочего
калибра-пробки до плоскости ручного свинчивания;
M - расстояние от торца муфты до плоскости ручного
свинчивания; N - натяг в паре контрольных калибров (разность
номинального значения L4 и расстояния от плоскости конца
сбега резьбы на калибре-пробке до малого торца
калибра-кольца) или натяг при свинчивании трубы
и контрольного калибра-кольца (расстояние между малым торцом
контрольного калибра-кольца и торцом трубы); N1 - натяг
при свинчивании контрольного калибра-пробки и рабочего
калибра-кольца (расстояние между малым торцом контрольного
калибра-пробки и малым торцом рабочего калибра-кольца)
или натяг при свинчивании трубы и рабочего калибра-кольца
(расстояние между малым торцом рабочего калибра-кольца
и торцом трубы); S - натяг в паре контрольных калибров
(расстояние от плоскости конца сбега резьбы калибра-пробки
до большего торца калибра-кольца); S1 - натяг
при свинчивании рабочего калибра-пробки и контрольного
калибра-кольца (расстояние от фланца рабочего калибра-пробки
до большего торца контрольного калибра-кольца)
Примечания
1 При определении N1 находят разность номинальных длин контрольного и рабочего калибров-колец, равную (L4 - S), влияющую на N1.
2 При применении для контроля натяга резьбы трубы с резьбовым соединением LC рабочего калибра-кольца CSG торец трубы будет выступать за малый торец калибра-кольца [в отличие от рисунка e)] на расстояние [(L4 LC - L4 CSG) - N1].
(примечание 2 в ред.
Изменения N 1, введенного в действие Приказом Росстандарта от 12.07.2023 N 512-ст)
Рисунок 10 - Схема взаимосвязи между контрольными калибрами,
рабочими калибрами и резьбой изделий с резьбовым
соединением BC
--------------------------------
<1> Соединение трубы и муфты с номинальными геометрическими параметрами резьбы, свинченное вручную.
1 - плоскость конца сбега резьбы; 2 - основная плоскость;
3 - плоскость торца трубы; A - натяг при свинчивании
контрольного калибра-пробки и муфты (расстояние от фланца
калибра-пробки до торца муфты) или натяг при свинчивании
вручную трубы и муфты; A + (S1 - S) - натяг при свинчивании
муфты и рабочего калибра-пробки (расстояние от фланца
рабочего калибра-пробки до торца муфты); N - натяг в паре
контрольных калибров (разность номинального значения L4
и расстояния от плоскости выхода резьбы калибра-пробки
до малого торца калибра-кольца) или натяг при свинчивании
трубы и контрольного калибра-кольца (расстояние между малым
торцом контрольного калибра-кольца и торцом трубы);
N1 - натяг при свинчивании контрольного калибра-пробки
и рабочего калибра-кольца (расстояние между малым торцом
контрольного калибра-пробки и малым торцом рабочего
калибра-кольца) или натяг при свинчивании трубы и рабочего
калибра-кольца (расстояние между малым торцом рабочего
калибра-кольца и торцом трубы); S - натяг в паре контрольных
калибров (расстояние от плоскости конца выхода резьбы
калибра-пробки до большего торца калибра-кольца); S1 - натяг
при свинчивании рабочего калибра-пробки и контрольного
калибра-кольца (расстояние от фланца рабочего калибра-пробки
до большего торца контрольного калибра-кольца)
Примечание - При определении N1 находят разность номинальных длин контрольного и рабочего калибров-колец, равную (L4 - S), влияющую на N1.
6.3 Предельные отклонения натягов в сопряжении калибров и калибров с изделиями
6.3.1 Пара контрольных калибров может применяться для дальнейшего использования при условии, что натяг в сопряжении между ними отличается от исходного значения натяга
S, определенного при сертификации или первичной калибровке калибров и маркированного на контрольном калибре-кольце, не более чем указано в
таблице 16. Пара контрольных калибров, на которой обнаружено отклонение натяга
S от исходного значения, выходящее за предельные отклонения, указанные в
таблице 16, подлежит ремонту или замене.
Примечание - Увеличение натяга обычно указывает на наличие заусенцев, некоторых посторонних частиц или возможное необратимое изменение геометрических параметров резьбы калибров. Если наблюдается увеличение натяга, калибры должны быть очищены от заусенцев или посторонних частиц и перепроверены. Если увеличение натяга все еще превышает верхний предел, установленный в таблице 16, калибры должны быть отремонтированы или заменены.
Таблица 16
Предельные отклонения натяга
S от исходного значения
Тип резьбового соединения | Число витков резьбы на длине 25,4 мм | Предельные отклонения натяга S от исходного значения, мм |
LP | 27 | +0,094 -0,117 |
18 | +0,142 -0,178 |
14 | +0,180 -0,284 |
11 1/2 | +0,221 -0,345 |
8, при номинальном диаметре резьбы до 219,08 мм включ. | +0,318 -0,495 |
8, при номинальном диаметре резьбы от 273,05 мм | +0,318 -0,635 |
SC LC NU EU | 10 | +0,254 -0,508 |
8, при номинальном диаметре резьбы до 219,08 мм включ. | +0,318 -0,495 |
8, при номинальном диаметре резьбы от 244,48 мм | +0,318 -0,635 |
BC | 5, при номинальном диаметре резьбы до 219,08 мм включ. | +0,318 -0,508 |
5, при номинальном диаметре резьбы от 244,48 мм | +0,318 -0,635 |
6.3.2 За поддержание натяга контрольных калибров в пределах, установленных в
таблице 16, несет ответственность пользователь калибров. Контрольные калибры должны подвергаться периодической проверке натяга в сопряжении пары калибров, при условиях указанных в
7.3.12. Интервал между проверками зависит от частоты использования калибров.
Отремонтированные контрольные калибры перед возобновлением использования должны быть повторно сертифицированы или калиброваны в установленном порядке.
6.3.3 Предельные отклонения натягов N и N1 калибров-колец относительно плоскости торца трубы и натягов A и [A + (S1 - S)] калибров-пробок относительно плоскости торца муфты указаны в таблице 17. Эти предельные отклонения не применимы для натяга в сопряжении трубы и муфты.
Таблица 17
Предельные отклонения натягов
Тип резьбового соединения | Предельные отклонения натяга |
N и N1 | A и [A + (S1 - S)] |
LP | +/- P | +/- P |
SC, LC, NU, EU: | | |
шаг резьбы 3,175 мм (8 витков на длине 25,4 мм) | +/- P | +/- P |
шаг резьбы 2,540 мм (10 витков на длине 25,4 мм) | +/- 1,5P | +/- 1,5P |
BC | +0,5P | -0,5P |
Примечание - Указанные здесь предельные отклонения натягов для резьбовых соединений LP, SC, LC, NU и EU не учитывают требований к уступам калибров-пробок. Поэтому расстояние [ A + M + ( S1 - S)] не может быть измерено непосредственно при свинчивании муфты и рабочего калибра-пробки, показанном на рисунке 9 г). Это расстояние может быть измерено при помощи проточки на рабочем калибре-пробке, выполненной на расстоянии L1 от плоскости торца трубы (см. рисунок 12). |
7.1 Калибры для контроля резьбовых соединений LP, SC, LC, NU и EU
7.1.1 Форма и геометрические параметры профиля резьбы калибров для контроля резьбового соединения LP приведены на
рисунке 11 и в
таблице 18, резьбовых соединений SC, LC, NU, EU - на
рисунке 11 и в
таблице 19.
Впадины резьбы калибров могут быть выполнены заостренными или с канавками шириной, равной ширине вершины резьбы изделия. Канавка должна быть симметричной относительно смежных боковых сторон профиля и иметь глубину, соответствующую исходному треугольнику резьбы. Форму канавки устанавливает изготовитель калибров.
1 - средняя линия резьбы; 2 - ось резьбы; 3 - впадина
с канавкой; 4 - заостренная впадина
Примечания
1 Конусность резьбы 1:16 на рисунке увеличена.
(примечание 1 в ред.
Изменения N 1, введенного в действие Приказом Росстандарта от 12.07.2023 N 512-ст)
2 Вершины и впадины резьбы параллельны средней линии резьбы.
Рисунок 11 - Профиль резьбы калибров для контроля резьбовых
соединений LP, SC, LC, NU и EU
Приказом Росстандарта от 12.07.2023 N 512-ст)
Таблица 18
Геометрические параметры профиля резьбы калибров
для контроля резьбового соединения LP
В миллиметрах
Геометрический параметр | Обозначение параметра и формула | Значение параметра при числе витков на длине 25,4 мм |
27 | 18 | 14 | 11 1/2 | 8 |
Шаг резьбы P |
0,941 | 1,411 | 1,814 | 2,209 | 3,175 |
Высота исходного треугольника | H = 0,866P | 0,814 | 1,223 | 1,571 | 1,914 | 2,750 |
Высота профиля | hg = 0,666P | 0,626 | 0,940 | 1,208 | 1,472 | 2,115 |
(в ред. Изменения N 1, введенного в действие Приказом Росстандарта от 12.07.2023 N 512-ст) |
Срез по вершинам | fcs = fcn = 0,100P | 0,094 | 0,141 | 0,181 | 0,221 | 0,317 |
Ширина канавки | b = 0,12P | 0,115 | 0,170 | 0,220 | 0,265 | 0,380 |
Исключено с 01.12.2023. - Изменение N 1, введенное в действие Приказом Росстандарта от 12.07.2023 N 512-ст. |
Таблица 19
Геометрические параметры профиля резьбы калибров
для контроля резьбовых соединений SC, LC, NU и EU
В миллиметрах
Геометрический параметр | Обозначение параметра и формула | Значение параметра при числе витков на длине 25,4 мм |
10 | 8 |
Шаг резьбы P |
2,540 | 3,175 |
Высота исходного треугольника | H = 0,866P | 2,200 | 2,750 |
Высота профиля резьбы | hg = 0,356P hg = 0,386P | 0,904 | 1,225 |
(в ред. Изменения N 1, введенного в действие Приказом Росстандарта от 12.07.2023 N 512-ст) |
Срез по вершинам | fcs = fcn = 0,255P fcs = fcn = 0,240P | 0,648 | 0,762 |
Ширина канавки | b = 2·0,577·fcs | 0,750 | 0,880 |
Исключено с 01.12.2023. - Изменение N 1, введенного в действие Приказом Росстандарта от 12.07.2023 N 512-ст. |
7.1.2 Геометрические параметры калибров для контроля резьбовых соединений LP, SC, LC, NU и EU приведены на
рисунке 12 и в
таблицах 20,
21,
22 и
23.
Примечание - Соотношения, принятые за основу при расчете геометрических параметров калибров, приведены в
приложении А.
1 - измерительная плоскость контрольного и рабочего
калибров-пробок; 2 - основная плоскость; 3 - плоскость
ручного свинчивания; 4 - измерительная плоскость
рабочего калибра-кольца и контрольного
калибра-пробки; 5 - ось резьбы
Приказом Росстандарта от 12.07.2023 N 512-ст)
Рисунок 12 - Калибры для контроля резьбовых соединений LP,
SC, LC, NU и EU
Таблица 20
Геометрические параметры калибров для контроля
резьбового соединения LP
В миллиметрах
Обозначение номинального диаметра резьбы | Наружный диаметр фланца калибра-пробки D4 | Диаметр проточки калибра-пробки Du | Диаметр расточки в плоскости торца калибра-кольца Q | Длина расточки калибра-кольца q | Число витков резьбы на длине 25,4 мм | Шаг резьбы P | Средний диаметр резьбы в плоскости ручного свинчивания E1 | Средний диаметр резьбы в основной плоскости E7 | Расстояние от основной плоскости до измерительной плоскости g | Расстояние от малого торца калибра-пробки до плоскости ручного свинчивания L1 | Расстояние от малого торца калибра-пробки до измерительной плоскости L4 | Ширина проточки калибра-пробки U | Натяг в сопряжении калибра-кольца с калибром-пробкой S, S1 <1> |
дюйм | мм |
1/8 | 3,18 | 10,29 | 7,3 | 11,89 | 2,34 | 27 | 0,941 | 9,489 | 9,534 | 5,146 | 4,102 | 9,967 | 2,819 | 2,819 |
1/4 | 6,35 | 13,72 | 9,9 | 15,32 | 3,48 | 18 | 1,411 | 12,487 | 12,587 | 7,719 | 5,786 | 15,103 | 4,242 | 4,242 |
3/8 | 9,53 | 17,14 | 13,4 | 18,75 | 3,48 | 18 | 1,411 | 15,926 | 16,016 | 7,719 | 6,096 | 15,255 | 4,242 | 4,242 |
1/2 | 12,70 | 21,34 | 16,9 | 22,94 | 4,50 | 14 | 1,814 | 19,772 | 19,885 | 9,921 | 8,128 | 19,850 | 5,436 | 5,436 |
3/4 | 19,05 | 26,67 | 22,3 | 28,27 | 4,50 | 14 | 1,814 | 25,117 | 25,219 | 9,921 | 8,611 | 20,155 | 5,436 | 5,436 |
1 | 25,40 | 33,40 | 28,3 | 35,00 | 5,46 | 11 1/2 | 2,209 | 31,461 | 31,634 | 12,080 | 10,160 | 25,006 | 6,629 | 6,629 |
1 1/4 | 31,75 | 42,16 | 37,1 | 43,76 | 5,46 | 11 1/2 | 2,209 | 40,218 | 40,397 | 12,080 | 10,668 | 25,616 | 6,629 | 6,629 |
1 1/2 | 38,10 | 48,26 | 43,2 | 49,86 | 5,46 | 11 1/2 | 2,209 | 46,287 | 46,493 | 12,080 | 10,668 | 26,040 | 6,629 | 6,629 |
2 | 50,80 | 60,32 | 55,3 | 62,71 | 5,46 | 11 1/2 | 2,209 | 58,325 | 58,558 | 12,080 | 11,074 | 26,878 | 6,629 | 6,629 |
2 1/2 | 63,50 | 73,02 | 66,4 | 75,41 | 7,85 | 8 | 3,175 | 70,159 | 70,485 | 17,366 | 17,323 | 39,908 | 9,525 | 9,525 |
3 | 76,20 | 88,90 | 82,3 | 91,29 | 7,85 | 8 | 3,175 | 86,068 | 86,360 | 17,366 | 19,456 | 41,496 | 9,525 | 9,525 |
3 1/2 | 88,90 | 101,60 | 95,0 | 103,99 | 7,85 | 8 | 3,175 | 98,776 | 99,060 | 17,366 | 20,853 | 42,766 | 9,525 | 9,525 |
4 | 101,60 | 114,30 | 107,7 | 116,69 | 7,85 | 8 | 3,175 | 111,433 | 111,760 | 17,366 | 21,438 | 44,036 | 9,525 | 9,525 |
5 | 127,00 | 141,30 | 134,7 | 143,69 | 7,85 | 8 | 3,175 | 138,412 | 138,760 | 17,366 | 23,800 | 46,736 | 9,525 | 9,525 |
6 | 152,40 | 168,28 | 161,7 | 170,66 | 7,85 | 8 | 3,175 | 165,252 | 165,735 | 17,366 | 24,330 | 49,433 | 9,525 | 9,525 |
8 | 203,20 | 219,08 | 212,5 | 221,46 | 7,85 | 8 | 3,175 | 215,901 | 216,535 | 17,366 | 27,000 | 54,513 | 9,525 | 9,525 |
10 | 254,00 | 273,05 | 266,4 | 275,44 | 7,85 | 8 | 3,175 | 269,772 | 270,510 | 17,366 | 30,734 | 59,911 | 9,525 | 9,525 |
12 | 304,80 | 323,85 | 317,2 | 326,24 | 7,85 | 8 | 3,175 | 320,492 | 321,310 | 17,366 | 34,544 | 64,991 | 9,525 | 9,525 |
14D | 355,60 | 355,60 | 349,0 | 357,99 | 7,85 | 8 | 3,175 | 352,365 | 353,060 | 17,366 | 39,675 | 68,166 | 9,525 | 9,525 |
16D | 406,40 | 406,40 | 399,8 | 408,79 | 7,85 | 8 | 3,175 | 403,244 | 403,860 | 17,366 | 46,025 | 73,246 | 9,525 | 9,525 |
18D | 457,20 | 457,20 | 450,6 | 459,59 | 7,85 | 8 | 3,175 | 454,025 | 454,660 | 17,366 | 50,800 | 78,326 | 9,525 | 9,525 |
20D | 508,00 | 508,00 | 501,4 | 510,39 | 7,85 | 8 | 3,175 | 504,706 | 505,460 | 17,366 | 53,975 | 83,406 | 9,525 | 9,525 |
<1> Значения S1 установлены для приемочного контроля, проводимого изготовителем калибров. |
(сноска <1> введена Изменением N 1, введенным в действие Приказом Росстандарта от 12.07.2023 N 512-ст) |
(в ред.
Изменения N 1, введенного в действие Приказом Росстандарта от 12.07.2023 N 512-ст)
Таблица 21
Геометрические параметры калибров для контроля
резьбовых соединений SC и LC
В миллиметрах
Обозначение номинального диаметра резьбы | Наружный диаметр фланца калибра-пробки D4 | Диаметр проточки калибра-пробки Du | Диаметр расточки плоскости торца калибра-кольца Q | Длина расточки калибра-кольца q | Число витков резьбы на длине 25,4 мм | Шаг резьбы P | Средний диаметр резьбы в плоскости ручного свинчивания E1 | Средний диаметр резьбы в основной плоскости E7 | Расстояние от основной плоскости до измерительной плоскости g | Расстояние от малого торца калибра-пробки до плоскости ручного свинчивания L1 | Расстояние от малого торца калибра-пробки до измерительной плоскости L4 | Ширина проточки калибра-пробки U | Натяг в сопряжении калибра-кольца с калибром-пробкой S, S1 <1> | Наружный диаметр резьбы калибра-пробки в основной плоскости Dp | Внутренний диаметр резьбы калибра-кольца в основной плоскости Dr |
дюйм | мм |
4 1/2 | 114,30 | 114,30 | 109,2 | 116,69 | 6,35 | 8 | 3,175 | 111,846 | 112,566 | 15,875 | 23,393 | 50,800 | 6,35 | 9,525 | 113,792 | 111,340 |
5 | 127,00 | 127,00 | 121,9 | 129,39 | 124,546 | 125,266 | 42,443 | 69,850 | 126,492 | 124,040 |
5 1/2 | 139,70 | 139,70 | 134,6 | 142,09 | 137,246 | 137,966 | 45,618 | 73,025 | 139,192 | 136,740 |
5 3/4 | 146,05 | 146,05 | 141,0 | 148,5 | 143,596 | 144,316 | 45,630 | 73,025 | 145,542 | 143,090 |
6 5/8 | 168,28 | 168,28 | 163,1 | 170,66 | 165,821 | 166,541 | 51,968 | 79,375 | 167,767 | 165,315 |
7 | 177,80 | 177,80 | 172,7 | 180,19 | 175,346 | 176,066 | 51,968 | 79,375 | 177,292 | 174,840 |
7 5/8 | 193,68 | 193,68 | 188,5 | 196,06 | 191,114 | 191,941 | 53,442 | 82,550 | 193,167 | 190,715 |
8 5/8 | 219,08 | 219,08 | 213,9 | 221,46 | 216,514 | 217,341 | 56,617 | 85,725 | 218,567 | 216,115 |
9 5/8 | 244,48 | 244,48 | 239,3 | 246,86 | 241,914 | 242,741 | 56,617 | 85,725 | 243,967 | 241,515 |
10 3/4 | 273,05 | 273,05 | 267,9 | 275,44 | 270,489 | 271,316 | 59,792 | 88,900 | 272,542 | 270,090 |
11 3/4 | 298,45 | 298,45 | 293,3 | 300,84 | 295,889 | 296,716 | 59,792 | 88,900 | 297,942 | 295,490 |
12 3/4 | 323,85 | 323,85 | 319,0 | 326,29 | 321,289 | 322,116 | 59,792 | 88,900 | 323,342 | 320,890 |
13 3/8 | 339,72 | 339,72 | 334,6 | 342,11 | 337,164 | 337,991 | 59,792 | 88,900 | 339,217 | 336,765 |
16 | 406,40 | 406,40 | 401,3 | 408,79 | 403,839 | 404,666 | 72,492 | 101,600 | 405,892 | 403,440 |
18 5/8 | 473,08 | 473,08 | 467,9 | 475,46 | 470,514 | 471,341 | 72,492 | 101,600 | 472,567 | 470,115 |
20 | 508,00 | 508,00 | 502,9 | 510,39 | 505,439 | 506,266 | 72,492 | 101,600 | 507,492 | 505,040 |
(в ред. Изменения N 1, введенного в действие Приказом Росстандарта от 12.07.2023 N 512-ст) |
<1> Значения S1 установлены для приемочного контроля, проводимого изготовителем калибров. |
(сноска <1> введена Изменением N 1, введенным в действие Приказом Росстандарта от 12.07.2023 N 512-ст) |
(в ред.
Изменения N 1, введенного в действие Приказом Росстандарта от 12.07.2023 N 512-ст)
Таблица 22
Геометрические параметры калибров для контроля
резьбового соединения NU
В миллиметрах
Обозначение номинального диаметра резьбы | Наружный диаметр фланца калибра-пробки D4 | Диаметр проточки калибра-пробки Du | Диаметр расточки в плоскости торца калибра-кольца Q | Длина расточки калибра-кольца q | Число витков резьбы на длине 25,4 мм | Шаг резьбы P | Средний диаметр резьбы в плоскости ручного свинчивания E1 | Средний диаметр резьбы в основной плоскости E7 | Расстояние от основной плоскости до измерительной плоскости g | Расстояние от малого торца калибра-пробки до плоскости ручного свинчивания L1 | Расстояние от малого торца калибра-пробки до измерительной плоскости L4 | Ширина проточки калибра-пробки U | Натяг в сопряжении калибра-кольца с калибром-пробкой S, S1 <1> | Наружный диаметр резьбы калибра-пробки в основной плоскости Dp | Внутренний диаметр резьбы калибра-кольца в основной плоскости Dr |
дюйм | мм |
1,0 | 26,67 | 26,67 | 22,3 | 28,27 | 5,08 | 10 | 2,540 | 25,102 | 25,334 | 12,7 | 11,379 | 27,783 | 5,08 | 7,62 | 26,238 | 24,430 |
1,3 | 33,40 | 33,40 | 29,1 | 35,00 | 5,08 | 10 | 2,540 | 31,833 | 32,065 | 12,167 | 28,575 | 5,08 | 7,62 | 32,969 | 31,161 |
1,6 | 42,16 | 42,16 | 37,8 | 43,76 | 5,08 | 10 | 2,540 | 40,596 | 40,828 | 15,342 | 31,750 | 5,08 | 7,62 | 41,730 | 39,922 |
1,9 | 48,26 | 48,26 | 43,9 | 49,86 | 5,08 | 10 | 2,540 | 46,692 | 46,924 | 18,517 | 34,925 | 5,08 | 7,62 | 47,828 | 46,020 |
2 3/8 | 60,32 | 60,32 | 56,0 | 61,93 | 5,08 | 10 | 2,540 | 58,757 | 58,989 | 24,867 | 41,275 | 5,08 | 7,62 | 59,893 | 58,085 |
2 7/8 | 73,02 | 73,02 | 68,7 | 74,63 | 5,08 | 10 | 2,540 | 71,457 | 71,689 | 35,992 | 52,388 | 5,08 | 7,62 | 72,593 | 70,785 |
3 1/2 | 88,90 | 88,90 | 84,6 | 90,50 | 5,08 | 10 | 2,540 | 87,332 | 87,564 | 42,342 | 58,738 | 5,08 | 7,62 | 88,468 | 86,660 |
4 | 101,60 | 101,60 | 96,5 | 103,20 | 3,18 | 8 | 3,175 | 99,414 | 99,866 | 40,411 | 60,325 | 6,35 | 9,525 | 101,092 | 98,640 |
4 1/2 | 114,30 | 114,30 | 109,2 | 115,90 | 3,18 | 8 | 3,175 | 112,114 | 112,566 | 45,187 | 65,088 | 6,35 | 9,525 | 113,792 | 111,340 |
(в ред. Изменения N 1, введенного в действие Приказом Росстандарта от 12.07.2023 N 512-ст) |
<1> Значения S1 установлены для приемочного контроля, проводимого изготовителем калибров. |
(сноска <1> введена Изменением N 1, введенным в действие Приказом Росстандарта от 12.07.2023 N 512-ст) |
(в ред.
Изменения N 1, введенного в действие Приказом Росстандарта от 12.07.2023 N 512-ст)
Таблица 23
Геометрические параметры калибров для контроля
резьбового соединения EU
В миллиметрах
Обозначение номинального диаметра резьбы | Наружный диаметр фланца калибра-пробки D4 | Диаметр проточки калибра-пробки Du | Диаметр расточки в плоскости торца калибра-кольца Q | Длина расточки калибра-кольца q | Число витков резьбы на длине 25,4 мм | Шаг резьбы P | Средний диаметр резьбы в плоскости ручного свинчивания E1 | Средний диаметр резьбы в основной плоскости E7 | Расстояние от основной плоскости до измерительной плоскости g | Расстояние от малого торца калибра-пробки до плоскости ручного свинчивания L1 | Расстояние от малого торца калибра-пробки до измерительной плоскости L4 | Ширина проточки калибра-пробки U | Натяг в сопряжении калибра-кольца с калибром-пробкой S, S1 <1> | Наружный диаметр резьбы калибра-пробки в основной плоскости Dp | Внутренний диаметр резьбы калибра-кольца в основной плоскости Dr |
дюйм | мм |
1,050 | 26,67 | 33,40 | 29,1 | 35,00 | 5,08 | 10 | 2,540 | 31,833 | 32,065 | 12,7 | 12,167 | 28,575 | 5,08 | 7,62 | 32,969 | 31,161 |
1,315 | 33,40 | 37,31 | 33,0 | 38,89 | 5,08 | 10 | 2,540 | 35,739 | 35,970 | 15,342 | 31,750 | 5,08 | 7,62 | 36,874 | 35,066 |
1,660 | 42,16 | 46,02 | 41,7 | 47,62 | 5,08 | 10 | 2,540 | 44,470 | 44,701 | 18,517 | 34,925 | 5,08 | 7,62 | 45,605 | 43,797 |
1,900 | 48,26 | 53,19 | 48,8 | 54,76 | 5,08 | 10 | 2,540 | 51,614 | 51,845 | 20,117 | 36,512 | 5,08 | 7,62 | 52,749 | 50,941 |
2 3/8 | 60,32 | 65,89 | 60,7 | 67,46 | 3,18 | 8 | 3,175 | 63,697 | 64,148 | 29,312 | 49,212 | 6,35 | 9,525 | 65,374 | 62,922 |
2 7/8 | 73,02 | 78,59 | 73,4 | 80,16 | 3,18 | 8 | 3,175 | 76,397 | 76,848 | 34,061 | 53,975 | 6,35 | 9,525 | 78,074 | 75,622 |
3 1/2 | 88,90 | 95,25 | 90,1 | 96,85 | 3,18 | 8 | 3,175 | 93,064 | 93,516 | 40,411 | 60,325 | 6,35 | 9,525 | 94,742 | 92,290 |
4 | 101,60 | 107,95 | 102,8 | 109,55 | 3,18 | 8 | 3,175 | 105,764 | 106,216 | 43,586 | 63,500 | 6,35 | 9,525 | 107,442 | 104,990 |
4 1/2 | 114,30 | 120,65 | 115,5 | 122,25 | 3,18 | 8 | 3,175 | 118,464 | 118,916 | 46,761 | 66,675 | 6,35 | 9,525 | 120,142 | 117,690 |
<1> Значения S1 установлены для приемочного контроля, проводимого изготовителем калибров. |
(сноска <1> введена Изменением N 1, введенным в действие Приказом Росстандарта от 12.07.2023 N 512-ст) |
(в ред.
Изменения N 1, введенного в действие Приказом Росстандарта от 12.07.2023 N 512-ст)
7.1.3 Предельные отклонения геометрических параметров калибров для контроля резьбового соединения LP указаны в таблице 24, резьбовых соединений SC, LC, NU и EU - в
таблице 25.
Таблица 24
Предельные отклонения геометрических параметров калибров
для контроля резьбового соединения LP
В миллиметрах
Геометрический параметр | Предельные отклонения параметра при числе витков на длине 25,4 мм |
27 | 18 | 14 | 11 1/2 | 8 |
Шаг резьбы P |
0,941 | 1,411 | 1,814 | 2,209 | 3,175 |
Калибр-пробка |
Средний диаметр резьбы E7 | +/- 0,005 | +/- 0,01 | +/- 0,015 | +/- 0,018 | +/- 0,025 |
Конусность по среднему диаметру резьбы <2> | +0,008 | +0,010 | +0,015 | +0,020 | +0,025 |
(в ред. Изменения N 1, введенного в действие Приказом Росстандарта от 12.07.2023 N 512-ст) |
| +/- 0,005 | +/- 0,005 | +/- 0,008 | +/- 0,010 | +/- 0,013 |
Срез по вершинам профиля резьбы fcs, fcn | +0,038 -0,025 | +0,038 -0,025 | +0,038 -0,025 | +0,064 -0,038 | +0,064 -0,038 |
Угол наклона боковой стороны профиля резьбы 30° | +/- 15' | +/- 15' | +/- 10' | +/- 10' | +/- 10' |
Ширина проточки U | +/- 0,94 | +/- 1,42 | +/- 1,80 | +/- 2,21 | +/- 3,17 |
Диаметр проточки Du | +/- 0,51 | +/- 0,51 | +/- 0,51 | +/- 0,51 | +/- 0,51 |
Наружный диаметр фланца D4 | +/- 0,25 | +/- 0,25 | +/- 0,25 | +/- 0,25 | +/- 0,25 |
Расстояние L4 | +/- 0,025 | +/- 0,025 | +/- 0,025 | +/- 0,025 | +/- 0,025 |
Калибр-кольцо |
Конусность по среднему диаметру резьбы <2> | -0,015 | -0,018 | -0,023 | -0,030 | -0,005 -0,036 |
(в ред. Изменения N 1, введенного в действие Приказом Росстандарта от 12.07.2023 N 512-ст) |
| +/- 0,01 | +/- 0,01 | +/- 0,015 | +/- 0,020 | +/- 0,025 |
Срез по вершинам профиля резьбы fcs, fcn | +0,038 -0,025 | +0,038 -0,025 | +0,038 -0,025 | +0,064 -0,038 | +0,064 -0,038 |
Угол наклона боковой стороны профиля резьбы 30° | +/- 20' | +/- 20' | +/- 15' | +/- 15' | +/- 15' |
Расстояние (L4 - S) | +/- 0,050 | +/- 0,050 | +/- 0,050 | +/- 0,050 | +/- 0,050 |
(введено Изменением N 1, введенным в действие Приказом Росстандарта от 12.07.2023 N 512-ст) |
Диаметр расточки Q | +1,59 | +1,59 | +1,59 | +1,59 | +1,59 |
Натяг S, S1 <3>, N <3>, N1 <3> в сопряжении калибра-кольца с калибром-пробкой | +/- 0,940 | +/- 1,422 | +/- 1,803 | +/- 2,210 | +/- 2,540 |
(в ред. Изменения N 1, введенного в действие Приказом Росстандарта от 12.07.2023 N 512-ст) |
<1> Предельные отклонения шага резьбы относятся к расстоянию между любыми витками резьбы, соседними или разделенными любым числом витков, на всей длине резьбы, исключая крайние витки. |
(сноска <1> в ред. Изменения N 1, введенного в действие Приказом Росстандарта от 12.07.2023 N 512-ст) |
<2> Предельные отклонения конусности резьбы относятся ко всей длине резьбы калибра, исключая крайние витки. |
(сноска <2> введена Изменением N 1, введенным в действие Приказом Росстандарта от 12.07.2023 N 512-ст) |
<3> Значения S1, N, N1 установлены для приемочного контроля, проводимого изготовителем калибров. |
(сноска <3> введена Изменением N 1, введенным в действие Приказом Росстандарта от 12.07.2023 N 512-ст) |
Таблица 25
Предельные отклонения геометрических параметров калибров
для контроля резьбовых соединений SC, LC, NU и EU
В миллиметрах
Геометрический параметр | Предельные отклонения параметра |
Калибр-пробка |
Средний диаметр резьбы E7 | +/- 0,025 |
Конусность по среднему диаметру резьбы <2> | + 0,025 |
(в ред. Изменения N 1, введенного в действие Приказом Росстандарта от 12.07.2023 N 512-ст) |
| +/- 0,013 |
Срез по вершинам профиля резьбы fcs, fcn | +0,064 -0,038 |
Угол наклона боковой стороны профиля резьбы 30° | +/- 10' |
Ширина проточки U | +/- 2 |
Диаметр проточки Du | +/- 0,51 |
Наружный диаметр фланца D4 | +/- 0,25 |
Расстояние L4 | +/- 0,025 |
Длина контрольного уступа 15,88 | +0,051 |
Калибр-кольцо |
Конусность по среднему диаметру резьбы <2> | -0,005 -0,030 |
(в ред. Изменения N 1, введенного в действие Приказом Росстандарта от 12.07.2023 N 512-ст) |
| +/- 0,020 |
Срез по вершинам резьбы fcs, fcn | +0,064 -0,038 |
Угол наклона боковой стороны профиля резьбы 30° | +/- 15' |
Расстояние (L4 - S) | +/- 0,050 |
(введено Изменением N 1, введенным в действие Приказом Росстандарта от 12.07.2023 N 512-ст) |
Диаметр расточки Q | +1,57 |
Натяг S, S1 <3>, N <3>, N1 <3> в сопряжении калибра-кольца с калибром-пробкой | +/- 0,635 |
(в ред. Изменения N 1, введенного в действие Приказом Росстандарта от 12.07.2023 N 512-ст) |
<1> Предельные отклонения шага резьбы относятся к расстоянию между любыми витками резьбы, соседними или разделенными любым числом витков, на всей длине резьбы, исключая крайние витки. |
(сноска <1> в ред. Изменения N 1, введенного в действие Приказом Росстандарта от 12.07.2023 N 512-ст) |
<2> Предельные отклонения конусности резьбы относятся ко всей длине резьбы калибра, исключая крайние витки. |
(сноска <2> введена Изменением N 1, введенным в действие Приказом Росстандарта от 12.07.2023 N 512-ст) |
<3> Значения S1, N, N1 установлены для приемочного контроля, проводимого изготовителем калибров. |
(сноска <3> введена Изменением N 1, введенным в действие Приказом Росстандарта от 12.07.2023 N 512-ст) |
7.2 Калибры для контроля резьбового соединения BC
7.2.1 Форма и геометрические параметры профиля резьбы калибров для контроля резьбового соединения BC приведены на
рисунке 13 для резьбы номинальным диаметром до 339,72 мм, на
рисунке 14 - для резьбы номинальным диаметром от 406,40 мм.
Примечание - Соотношения, принятые за основу при расчете геометрических параметров калибров, приведены в
приложении А.
7.2.2 Геометрические параметры калибров для контроля резьбового соединения BC приведены на
рисунке 15 и в
таблице 26.
7.2.3 Предельные отклонения геометрических параметров профиля резьбы и калибров для контроля резьбового соединения BC указаны на
рисунках 13,
14 и в
таблице 27.
--------------------------------
<1> Допускается выполнение фаски с углом 60° +/- 1° и шириной (0,20 + 0,05) мм.
1 - средняя линия резьбы; 2 - ось резьбы
Примечания
1 Конусность резьбы 1:16 на рисунке увеличена.
(примечание 1 в ред.
Изменения N 1, введенного в действие Приказом Росстандарта от 12.07.2023 N 512-ст)
2 Вершины и впадины резьбы параллельны средней линии резьбы.
Рисунок 13 - Профиль резьбы калибров для контроля резьбового
соединения BC номинальным диаметром резьбы до 339,72 мм
--------------------------------
<1> Допускается выполнение фаски с углом 60° +/- 1° и шириной (0,20 + 0,05) мм.
1 - средняя линия резьбы; 2 - ось резьбы
Примечания
1 Конусность резьбы 1:12 на рисунке увеличена.
(примечание 1 в ред.
Изменения N 1, введенного в действие Приказом Росстандарта от 12.07.2023 N 512-ст)
2 Вершины и впадины резьбы параллельны оси резьбы.
Рисунок 14 - Профиль резьбы калибров для контроля резьбового
соединения BC номинальным диаметром резьбы от 406,40 мм
1 - измерительная плоскость контрольного и рабочего
калибров-пробок; 2 - основная плоскость; 3 - измерительная
плоскость рабочего калибра-кольца и контрольного
калибра-пробки; 4 - ось резьбы
Приказом Росстандарта от 12.07.2023 N 512-ст)
Рисунок 15 - Калибры для контроля резьбового соединения BC
Таблица 26
Геометрические параметры калибров для контроля
резьбового соединения BC
В миллиметрах
Обозначение номинального диаметра резьбы | Наружный диаметр фланца калибра-пробки D4 | Диаметр проточки калибра-пробки Du | Диаметр расточки в плоскости большего торца калибра-кольца Q | Число витков резьбы на длине 25,4 мм | Шаг резьбы P | Наружный диаметр резьбы в плоскости торца калибра-пробки D0 | Средний диаметр резьбы в основной плоскости E7 | Расстояние от основной плоскости до измерительной плоскости g <1> | Расстояние от малого торца калибра-пробки до основной плоскости L7 | Расстояние от малого торца калибра-пробки до измерительной плоскости L4 | Ширина проточки калибра-пробки U | Натяг в сопряжении калибра-кольца с калибром-пробкой S, S1 <2> |
дюйм | мм |
4 1/2 | 114,30 | 114,71 | 109 | 117,9 | 5 | 5,080 | 112,083 | 113,132 | 50,394 | 41,999 | 92,392 | 4,762 | 2,540 |
5 | 127,00 | 127,41 | 122 | 130,6 | 124,582 | 125,832 | 50,394 | 45,174 | 95,568 | 5,080 |
5 1/2 | 139,70 | 140,11 | 135 | 143,3 | 137,183 | 138,532 | 50,394 | 46,761 | 97,155 | 5,080 |
5 3/4 | 146,05 | 146,46 | 141 | 149,0 | 143,434 | 144,881 | 50,394 | 48,346 | 98,740 | 5,080 |
6 5/8 | 168,28 | 168,68 | 163 | 171,8 | 165,461 | 167,107 | 50,394 | 51,524 | 101,918 | 5,080 |
7 | 177,80 | 178,21 | 173 | 181,4 | 174,688 | 176,632 | 50,394 | 56,286 | 106,680 | 5,080 |
7 5/8 | 193,68 | 194,08 | 189 | 197,2 | 190,266 | 192,507 | 50,394 | 61,049 | 111,442 | 5,080 |
8 5/8 | 219,08 | 219,48 | 214 | 222,6 | 215,468 | 217,907 | 50,394 | 64,224 | 114,618 | 5,080 |
9 5/8 | 244,48 | 244,88 | 239 | 248,0 | 240,868 | 243,307 | 50,394 | 64,224 | 114,618 | 5,080 |
10 3/4 | 273,05 | 273,46 | 268 | 276,6 | 269,443 | 271,882 | 50,394 | 64,224 | 114,618 | 5,080 |
11 3/4 | 298,45 | 298,86 | 293 | 302,0 | 294,843 | 297,282 | 50,394 | 64,224 | 114,618 | 5,080 |
12 3/4 | 323,85 | 324,30 | 319 | 327,0 | 320,243 | 322,681 | 50,394 | 64,224 | 114,618 | 5,080 |
13 3/8 | 339,72 | 340,13 | 335 | 343,3 | 336,118 | 338,557 | 50,394 | 64,224 | 114,618 | 5,080 |
16 | 406,40 | 406,40 | 401 | 410,3 | 399,788 | 404,825 | 37,795 | 79,362 | 117,158 | 4,445 |
16 3/4 | 425,45 | 426,00 | 421 | 430,0 | 419,389 | 424,425 | 37,795 | 79,362 | 117,158 | 4,445 |
18 5/8 | 473,08 | 473,10 | 468 | 477,0 | 466,463 | 471,500 | 37,795 | 79,362 | 117,158 | 4,445 |
20 | 508,00 | 508,00 | 503 | 511,9 | 501,388 | 506,425 | 37,795 | 79,362 | 117,158 | 4,445 |
(в ред. Изменения N 1, введенного в действие Приказом Росстандарта от 12.07.2023 N 512-ст) |
<1> На расстоянии g резьба калибра-пробки имеет неполный профиль. |
(сноска <1> введена Изменением N 1, введенным в действие Приказом Росстандарта от 12.07.2023 N 512-ст) |
<2> Значения S1 установлены для приемочного контроля, проводимого изготовителем калибров. |
(сноска <2> введена Изменением N 1, введенным в действие Приказом Росстандарта от 12.07.2023 N 512-ст) |
(в ред.
Изменения N 1, введенного в действие Приказом Росстандарта от 12.07.2023 N 512-ст)
Таблица 27
Предельные отклонения геометрических параметров калибров
для контроля резьбового соединения BC
Приказом Росстандарта от 12.07.2023 N 512-ст)
Геометрический параметр | Предельное отклонение параметра |
Калибр-пробка и калибр-кольцо |
Высота профиля резьбы 1,575 мм | +0,013 |
Расстояние между выступами по средней линии резьбы 2,667 мм | +0,025 |
Ширина выступа по средней линии резьбы 2,413 мм | -0,025 |
Углы наклона боковых сторон резьбы при номинальном диаметре резьбы: | |
до 339,72 мм включ.: | |
3° | +1° |
10° | +/- 1° |
от 406,40 мм: | |
3° | +/- 30' |
10° | +/- 30' |
Радиусы скругления R: | |
вершины резьбы | |
0,20 | +0,050 |
0,76 | +0,050 |
впадины резьбы | |
0,20 | -0,050 |
0,76 | -0,200 |
Калибр-пробка |
| +/- 0,013 |
Конусность К <2> при номинальном диаметре резьбы: | |
до 339,72 мм включ. | +0,025 |
от 406,40 мм | +0,038 |
Наружный диаметр резьбы D0 при номинальном диаметре резьбы: | |
до 177,80 мм включ. | +/- 0,013 |
от 193,68 до 339,72 мм включ. | +/- 0,018 |
от 406,40 мм | +/- 0,025 |
Наружный диаметр фланца D4 при номинальном диаметре резьбы: | |
до 339,72 мм включ. | +/- 0,03 |
от 406,40 мм | +/- 0,05 |
Расстояние L4 | +/- 0,025 |
Калибр-кольцо |
| +/- 0,020 |
Конусность К <4> при номинальном диаметре резьбы: | |
до 339,72 мм включ. | -0,005 -0,030 |
от 406,40 мм | -0,005 -0,043 |
Диаметр расточки Q | +0,4 |
Расстояние (L4 - S) | +/- 0,050 |
Натяги S, S1 <5>, N <5>, N1 <5> в сопряжении калибра-кольца с калибром-пробкой | +/- 0,380 |
<1> Предельные отклонения шага резьбы относятся к расстоянию между любыми витками резьбы, соседними или разделенными любым числом витков, на длине резьбы с полным профилем, исключая крайний виток резьбы на малом торце калибра-пробки. <2> Предельные отклонения конусности относятся к наружному диаметру резьбы рабочего калибра-пробки и внутреннему диаметру резьбы контрольного калибра-пробки на длине резьбы с полным профилем, исключая крайние витки, и установлены для периодического контроля, проводимого при эксплуатации калибров. Предельные отклонения конусности относятся к наружному и внутреннему диаметру резьбы контрольного и рабочего калибров-пробок на длине резьбы с полным профилем, исключая крайние витки, и установлены для приемочного контроля, проводимого изготовителем калибров. <3> Предельные отклонения шага резьбы относятся к расстоянию между любыми витками резьбы, соседними или разделенными любым числом витков, на всей длине резьбы, исключая крайние витки резьбы. <4> Предельные отклонения конусности относятся к наружному диаметру резьбы контрольного калибра-кольца и внутреннему диаметру резьбы рабочего калибра-кольца на всей длине резьбы, исключая крайние витки, и установлены для периодического контроля, проводимого при эксплуатации калибров. Предельные отклонения конусности относятся к наружному и внутреннему диаметру резьбы контрольного и рабочего калибров-колец на всей длине резьбы, исключая крайние витки, и установлены для приемочного контроля, проводимого изготовителем калибров. <5> Предельные отклонения S1, N, N1 установлены для приемочного контроля, проводимого изготовителем калибров. |
7.3 Общие требования к калибрам
7.3.1 Предельные отклонения геометрических параметров калибров, подвергаемых контролю, приведены в
таблицах 24,
25 и
27.
Длина резьбы контрольных калибров-пробок должна быть равной (L4 - U). Длина резьбы рабочих калибров-пробок для контроля резьбовых соединений LP, SC, LC, NU, EU должна быть равной L1, для контроля резьбового соединения BC - равной (L4 - U).
Длина резьбы контрольных и рабочих калибров-колец для контроля резьбовых соединений LP, SC, LC, NU, EU должна быть не менее (L4 - g - 1,5P), для контроля резьбового соединения BC - не менее (L4 - 25,4).
Абзац исключен с 01.12.2023. -
Изменение N 1, введенное в действие Приказом Росстандарта от 12.07.2023 N 512-ст.
7.3.2 Твердость калибров-пробок, калибров-колец и присоединяемых пластин-накладок должна соответствовать твердости, указанной в ГОСТ 24672.
7.3.3 Шероховатость Ra поверхности калибров должна соответствовать ГОСТ 24672.
(п. 7.3.3 в ред.
Изменения N 1, введенного в действие Приказом Росстандарта от 12.07.2023 N 512-ст)
7.3.4 Витки резьбы с неполным профилем должны быть сняты до начала витков резьбы с полным профилем:
- на калибрах-пробках и калибрах-кольцах для контроля резьбовых соединений LP, SC, LC, NU, EU и калибрах-кольцах для контроля резьбового соединения BC - на обоих концах калибров;
- на калибрах-пробках для контроля резьбового соединения BC - со стороны малого торца калибра.
На калибрах допускается выполнять одну или несколько грязевых канавок, пересекающих витки резьбы по образующей конуса резьбы и расположенных равномерно по окружности. Одна из грязевых канавок должна располагаться перед началом первого витка полного профиля.
7.3.5 Рабочие калибры не должны браковаться из-за несоответствия второстепенных элементов D4, Du, U, Q, q, длины фланца калибра-пробки и глубины зенковки в калибре-кольце, если это не препятствует надлежащему использованию калибра.
7.3.6 Шаг резьбы калибров для контроля резьбовых соединений LP, SC, LC, NU и EU измеряют параллельно оси резьбы, вдоль средней линии резьбы, на всей длине резьбы, исключая крайние витки резьбы.
Шаг резьбы калибров-колец и калибров-пробок для контроля резьбового соединения BC измеряют параллельно оси резьбы, вдоль средней линии резьбы:
- на всей длине резьбы, исключая крайние витки резьбы на калибрах-кольцах;
- на длине резьбы с полным профилем, исключая крайний виток резьбы на малом торце калибров-пробок.
(в ред.
Изменения N 1, введенного в действие Приказом Росстандарта от 12.07.2023 N 512-ст)
7.3.7 Высоту профиля резьбы hg калибров для контроля резьбовых соединений LP, SC, LC, NU и EU, определяемую как расстояние от вершины резьбы калибра-пробки до вершины резьбы калибра-кольца в диаметральном сечении на длине резьбы с полным профилем, используют для расчета диаметра калибра-кольца и не подвергают измерению. Высоту профиля резьбы калибров для контроля резьбового соединения BC подвергают непосредственному измерению.
(в ред.
Изменения N 1, введенного в действие Приказом Росстандарта от 12.07.2023 N 512-ст)
7.3.8 Исключен с 01.12.2023. -
Изменение N 1, введенное в действие Приказом Росстандарта от 12.07.2023 N 512-ст.
7.3.9 Контрольные калибры-пробки для контроля резьбы номинальным диаметром до 219,08 мм вкл. должны иметь центровочные отверстия, оси или ручки с центровочными отверстиями, позволяющими контролировать калибр в центрах. Для калибров, предназначенных для контроля резьбы номинальным диаметром более 219,08 мм должны быть предусмотрены поддерживающие фланцы с отверстиями под болты, показанные на
рисунке 16, размерами, приведенными в
таблице 28.
(в ред.
Изменения N 1, введенного в действие Приказом Росстандарта от 12.07.2023 N 512-ст)
Рисунок 16 - Поддерживающий фланец для калибров
Таблица 28
Диаметры поддерживающих фланцев
и центров отверстий под болты
В миллиметрах
Обозначение номинального диаметра резьбы | Диаметр поддерживающего фланца Da | Диаметр центров отверстий под болты Db |
дюйм | мм |
9 5/8 | 244,48 | 244,5 | 184,2 |
10 | |
10 3/4 | 273,05 | 273,0 | 244,5 |
11 3/4 | 298,45 |
12 | |
13 3/8 | 339,72 | 340,0 | 273,0 |
14D | |
16 | 406,40 | 406,4 | 314,3 |
16 3/4 | 425,45 | 425,5 | 324,3 |
18D | 457,20 <1> | 457,2 | 406,4 |
18 5/8 | 473,08 |
20 | 508,00 | 508,0 | 441,3 |
<1> Для резьбового соединения LP. |
(в ред.
Изменения N 1, введенного в действие Приказом Росстандарта от 12.07.2023 N 512-ст)
7.3.10 Для контроля резьбы, выполняемой в соответствии с требованиями настоящего стандарта, кроме резьбы номинальным диаметром 146,05, 323,85 и 425,45 мм, применяют сертифицированные в соответствии с положениями
[1] контрольные калибры АПИ, в том числе мастер-калибры АПИ, изготовленные по лицензии АПИ.
Для контроля резьбы номинальными диаметрами 146,05, 323,85 и 425,45 мм, не предусмотренными
[1], применяют контрольные калибры, калиброванные в соответствии с положениями настоящего стандарта.
Допускается применение контрольных калибров, калиброванных в соответствии с положениями настоящего стандарта, для контроля резьбы всех номинальных диаметров.
Рабочие калибры должны быть калиброваны в соответствии с положениями настоящего стандарта.
7.3.11 Калибровка контрольных калибров-пробок и калибров-колец должна быть проведена комплектами (парами), т.е. контрольный калибр-пробка с сопряженным контрольным калибром-кольцом. Контрольный калибр-пробка или контрольный калибр-кольцо в отдельности не могут подвергаться калибровке, кроме случаев, когда они сопровождаются калиброванными ранее парными контрольными калибрами. На каждый контрольный калибр, соответствующий установленным требованиям, должен быть оформлен документ, содержащий результаты измерения натяга в сопряжении контрольный калибр-пробка и контрольный калибр-кольцо и удостоверяющий, что контрольный калибр соответствует установленным требованиям.
7.3.12 Натяги контрольного калибра-кольца по контрольному калибру-пробке и рабочих калибров по контрольным калибрам должны быть определены с соблюдением следующих условий:
(в ред.
Изменения N 1, введенного в действие Приказом Росстандарта от 12.07.2023 N 512-ст)
а) резьба калибров должна быть тщательно очищена и смазана легким высококачественным минеральным маслом;
б) температура калибров должна быть выровнена;
в) калибр-пробка должен быть закреплен, для предотвращения перемещения;
г) свинчивание калибров должно быть проведено с использованием соответствующего рычажного устройства, в котором предусмотрены две ручки, расположенные с диаметрально противоположных сторон калибров;
д) сопрягаемые калибр-пробка и калибр-кольцо должны быть несколько раз свинчены и развинчены для обеспечения равномерного распределения смазки;
е) в процессе свинчивания допускаются легкие удары резиновым молотком. Молоток может быть применен только после плотного соединения калибров по резьбе;
ж) окончательное свинчивание калибров должно быть проведено одним человеком плавно, с медленным равномерным надавливанием, без резких толчков. При этом не допускается применение резинового молотка. Калибры должны быть свинчены до полного плотного сопряжения с внезапной остановкой, при приложении существенного дополнительного усилия может наблюдаться небольшое смещение калибров.
Примечание - Действительное усилие, применяемое для плотного свинчивания при определенном значении S, имеет вторичное значение по сравнению с применением одинакового усилия при свинчивании контрольного калибра-кольца с рабочим калибром-пробкой и при свинчивании рабочих калибров с изделиями.
7.3.13 Маркировка калибров, калиброванных в соответствии с положениями настоящего стандарта, должна включать, как минимум, следующее:
- тип калибра (К-Р для контрольных калибров, Р для рабочих калибров);
- обозначение настоящего стандарта;
- дата изготовления (месяц, год);
- размер калибра - по обозначению номинального диаметра резьбы в дюймах и/или мм (
таблицы 20 -
23 и
26);
- условное обозначение типа резьбового соединения;
- идентификационный номер калибра;
- наименование или товарный знак изготовителя.
Примечание - Сертифицированные контрольные калибры-пробки и калибры-кольца имеют следующую маркировку, содержание и расположение которой соответствует
[1]:
- тип калибра (MASTER для контрольных калибров, WORK для рабочих калибров);
- обозначение стандарта
[1];
- дата изготовления (месяц, год);
- размер калибра - по обозначению номинального диаметра резьбы в дюймах;
- условное обозначение типа резьбового соединения;
- идентификационный номер калибра;
- наименование или товарный знак изготовителя.
Для маркировки калибров приняты следующие условные обозначения типов резьбовых соединений:
- LP на калибрах для контроля резьбового соединения типа LP;
- CSG на калибрах для контроля резьбового соединения типов SC и LC;
(в ред.
Изменения N 1, введенного в действие Приказом Росстандарта от 12.07.2023 N 512-ст)
- исключено с 01.12.2023. -
Изменение N 1, введенное в действие Приказом Росстандарта от 12.07.2023 N 512-ст;
- TBG на калибрах для контроля резьбового соединения типа NU;
- UP TBG на калибрах для контроля резьбового соединении типа EU;
- BCSG на калибрах для контроля резьбового соединения типа BC.
7.3.14 На контрольные калибры-пробки и калибры-кольца, калиброванные в соответствии с положениями настоящего стандарта, после первичной калибровки должна быть нанесена, как минимум, следующая дополнительная маркировка:
- дата калибровки (день, месяц, год);
- исходное значение натяга S на контрольном калибре-кольце.
Маркировка калибров может быть дополнена любыми данными, которые могут быть необходимыми для надлежащей идентификации калибров.
Примечание - Сертифицированные калибры, как минимум, имеют следующую дополнительную маркировку в соответствии с
[1]:
- дата сертификации (день, месяц, год);
- наименование или товарный знак сертификационного органа;
- исходное значение натяга S на контрольном калибре-кольце;
- монограмма АПИ.
(справочное)
СООТНОШЕНИЯ, ПРИНЯТЫЕ ЗА ОСНОВУ ПРИ РАСЧЕТЕ
ГЕОМЕТРИЧЕСКИХ ПАРАМЕТРОВ КАЛИБРОВ
Абзац исключен с 01.12.2023. -
Изменение N 1, введенное в действие Приказом Росстандарта от 12.07.2023 N 512-ст.
А.1 Калибры для контроля резьбового соединения LP (см.
рисунок 12):
(в ред.
Изменения N 1, введенного в действие Приказом Росстандарта от 12.07.2023 N 512-ст)
а) средний диаметр резьбы в основной плоскости E7 равен (D - 0,8P);
б) внутренняя кромка фланца калибра-пробки является плоскостью конца сбега резьбы на трубе;
в) расстояние g равно 5,47P;
г) длина сбега резьбы равна 3,47P;
д) ширина проточки калибра-пробки U равна 3P;
е) наружный диаметр фланца калибра-пробки D4 равен наружному диаметру трубы D;
ж) диаметр расточки калибра-кольца Q равен диаметру расточки муфты Q;
и) диаметр проточки на калибре-пробке Du равен (E7 - 1,52) мм.
А.2 Калибры для контроля резьбовых соединений SC, LC, NU и EU (см.
рисунок 12):
(в ред.
Изменения N 1, введенного в действие Приказом Росстандарта от 12.07.2023 N 512-ст)
а) средний диаметр резьбы в основной плоскости E7 равен (D4 - hs + 0,076) мм;
(в ред.
Изменения N 1, введенного в действие Приказом Росстандарта от 12.07.2023 N 512-ст)
б) внутренняя кромка фланца калибра-пробки является плоскостью конца сбега резьбы на трубе;
в) длина сбега резьбы равна:
- 2,28P для резьбовых соединений SC и LC;
- 1,69P для резьбовых соединений NU и EU с шагом резьбы 2,540 мм;
- 1,88P для резьбовых соединений NU и EU с шагом резьбы 3,175 мм;
г) ширина проточки калибра-пробки U равна 2P;
д) наружный диаметр фланца калибра-пробки D4 равен наружному диаметру резьбы трубы D4;
е) диаметр расточки калибра-кольца Q равен диаметру расточки муфты Q;
ж) диаметр проточки калибра-пробки Du равен (E7 - 1,52) мм;
и) расстояние g на калибре-пробке равно:
- 5P для резьбовых соединений SC, LC и NU, EU с шагом резьбы 2,540 мм;
- 4P для резьбовых соединений NU и EU с шагом резьбы 3,175 мм.
(введено
Изменением N 1, введенным в действие Приказом Росстандарта от 12.07.2023 N 512-ст)
А.3 Калибры для контроля резьбового соединения BC (см.
рисунок 15):
(в ред.
Изменения N 1, введенного в действие Приказом Росстандарта от 12.07.2023 N 512-ст)
а) наружный диаметр резьбы в плоскости торца калибра-пробки D0 равен:
- (E7 - 0,0625L7 + 1,575) мм для резьбы номинальным диаметром 339,72 мм и менее;
- (E7 - 0,0833L7 + 1,575) мм для резьбы номинальным диаметром 406,40 мм и более;
(в ред.
Изменения N 1, введенного в действие Приказом Росстандарта от 12.07.2023 N 512-ст)
б) наружный диаметр фланца калибра-пробки в основной плоскости D4 равен:
- (D + 0,406) мм для резьбы номинальным диаметром 339,72 мм и менее;
- D для резьбы номинальным диаметром 406,40 мм и более;
(в ред.
Изменения N 1, введенного в действие Приказом Росстандарта от 12.07.2023 N 512-ст)
в) средний диаметр резьбы в основной плоскости E7 равен (D4 - 1,575) мм;
(ред.
Изменения N 1, введенного в действие Приказом Росстандарта от 12.07.2023 N 512-ст)
г) внутренняя кромка фланца калибра-пробки является плоскостью выхода резьбы на трубе;
д) расстояние g на калибре-пробке равно:
- 50,394 мм для труб наружным диаметром 339,72 мм и менее;
- 37,795 мм для труб наружным диаметром 406,40 мм и более;
(в ред.
Изменения N 1, введенного в действие Приказом Росстандарта от 12.07.2023 N 512-ст)
е) ширина проточки калибра-пробки U равна 4,762 мм;
ж) наружный диаметр фланца калибра-пробки D4 равен:
- (D + 0,406) мм для резьбы номинальным диаметром 339,72 мм и менее;
(в ред.
Изменения N 1, введенного в действие Приказом Росстандарта от 12.07.2023 N 512-ст)
- D для резьбы номинальным диаметром 406,40 мм и более;
и) диаметр расточки калибра-кольца Q равен диаметру расточки муфты Q;
к) диаметр проточки калибра-пробки Du равен (D4 - 4,76) мм.
А.4 Расчет геометрических параметров резьбы калибров для резьбовых соединений SC, LC, NU и EU проведен на основе среднего диаметра резьбы в основной плоскости E7.
(п. А.4 введен
Изменением N 1, введенным в действие Приказом Росстандарта от 12.07.2023 N 512-ст)
А.5 При свинчивании калибра-кольца и калибра-пробки с номинальными параметрами резьбы натяги N и N1 равны нулю.
(п. А.5 введен
Изменением N 1, введенным в действие Приказом Росстандарта от 12.07.2023 N 512-ст)
(справочное)
СОПОСТАВИМОСТЬ РЕЗЬБОВЫХ СОЕДИНЕНИЙ ПО НАСТОЯЩЕМУ СТАНДАРТУ
Приказом Росстандарта от 12.07.2023 N 512-ст)
Вид труб | Тип резьбового соединения, с указанием вида резьбы, наличия узла уплотнения металл-металл и наружной высадки концов труб |
по настоящему стандарту | | | |
Трубы для трубопроводов | LP с плоскосрезанной треугольной резьбой | - | - | - |
Обсадные трубы | SC с короткой закругленной треугольной резьбой | - | (без типа) с короткой закругленной треугольной резьбой | - |
LC с удлиненной закругленной треугольной резьбой | - | У с удлиненной закругленной треугольной резьбой | - |
BC | - | - | - |
- | ОТТМ с трапецеидальной резьбой | ОТТМ с трапецеидальной резьбой | - |
- | ОТТГ с трапецеидальной резьбой и узлом уплотнения металл-металл | ОТТГ с трапецеидальной резьбой и узлом уплотнения металл-металл | - |
- | - | ТБО с трапецеидальной резьбой и узлом уплотнения металл-металл | - |
Насосно-компрессорные трубы | NU с закругленной треугольной резьбой | НКТН с закругленной треугольной резьбой | - | (без типа) с закругленной треугольной резьбой |
EU с закругленной треугольной резьбой для соединения труб с высаженными наружу концами | НКТВ с закругленной треугольной резьбой для соединения труб с высаженными наружу концами | - | B с закругленной треугольной резьбой для соединения труб с высаженными наружу концами |
- | НКМ с трапецеидальной резьбой и узлом уплотнения металл-металл | - | НКМ с трапецеидальной резьбой и узлом уплотнения металл-металл |
- | - | - | НКБ с трапецеидальной резьбой и узлом уплотнения металл-металл |
(в ред. Изменения N 1, введенного в действие Приказом Росстандарта от 12.07.2023 N 512-ст) |
(в ред.
Изменения N 1, введенного в действие Приказом Росстандарта от 12.07.2023 N 512-ст)
| API Spec 5B | Threading, gauging, and inspection of casing, tubing, and line pipe threads, 16 edition (Нарезание, калибрование и контроль резьбы обсадных, насосно-компрессорных и линейных труб). |
(позиция 1 в ред. Изменения N 1, введенного в действие Приказом Росстандарта от 12.07.2023 N 512-ст) |
УДК 622.245.1:006.354 | | | |
Ключевые слова: насосно-компрессорные трубы, обсадные трубы, трубы для трубопроводов, муфты, резьбовые соединения, плоскосрезанная треугольная резьба, закругленная треугольная резьба, трапецеидальная резьба, геометрические параметры, контроль, калибры |