Главная // Актуальные документы // Приказ
СПРАВКА
Источник публикации
ИУС "Национальные стандарты", N 10, 2023
Примечание к документу
Документ введен в действие на территории Российской Федерации с 01.12.2023 (Приказ Росстандарта от 12.07.2023 N 512-ст).
Название документа
"Изменение N 1 ГОСТ 34057-2017 "Соединения резьбовые обсадных, насосно-компрессорных труб, труб для трубопроводов и резьбовые калибры для них. Общие технические требования"
(принято Протоколом Межгосударственного совета по стандартизации, метрологии и сертификации от 31.05.2023 N 162-П)


"Изменение N 1 ГОСТ 34057-2017 "Соединения резьбовые обсадных, насосно-компрессорных труб, труб для трубопроводов и резьбовые калибры для них. Общие технические требования"
(принято Протоколом Межгосударственного совета по стандартизации, метрологии и сертификации от 31.05.2023 N 162-П)

Принято
Протоколом Межгосударственного
совета по стандартизации,
метрологии и сертификации
от 31 мая 2023 г. N 162-П
ИЗМЕНЕНИЕ N 1 ГОСТ 34057-2017
"СОЕДИНЕНИЯ РЕЗЬБОВЫЕ ОБСАДНЫХ, НАСОСНО-КОМПРЕССОРНЫХ ТРУБ,
ТРУБ ДЛЯ ТРУБОПРОВОДОВ И РЕЗЬБОВЫЕ КАЛИБРЫ ДЛЯ НИХ.
ОБЩИЕ ТЕХНИЧЕСКИЕ ТРЕБОВАНИЯ"
МКС 75.180.99
Принято Межгосударственным советом по стандартизации, метрологии и сертификации (протокол N 162-П от 31.05.2023)
Зарегистрировано Бюро по стандартам МГС N 16788
За принятие изменения проголосовали национальные органы по стандартизации следующих государств: AM, BY, KG, KZ, RU, UZ [коды альфа-2 по МК (ИСО 3166) 004]
Дату введения в действие настоящего изменения устанавливают указанные национальные органы по стандартизации <*>
--------------------------------
<*> Дата введения в действие на территории Российской Федерации - 2023-12-01.
Содержание. Наименование приложения Б. Заменить ссылки: "ГОСТ 33758" на "ГОСТ 33758-2021", "ГОСТ 632" на "ГОСТ 632-80", "ГОСТ 633" на "ГОСТ 633-80".
Раздел 2. Исключить ссылку: ГОСТ 2475-88 и его наименование;
заменить ссылки: датированные на недатированные, кроме ГОСТ 632-80, ГОСТ 633-80;
заменить ссылки: "ГОСТ 31446-2012 Стальные трубы, применяемые в качестве обсадных или насосно-компрессорных труб для скважин в нефтяной и газовой промышленности" на "ГОСТ 31446-2017 (ISO 11960:2014) Трубы стальные обсадные и насосно-компрессорные для нефтяной и газовой промышленности. Общие технические условия";
"ГОСТ 33758-2016" на "ГОСТ 33758-2021";
примечание изложить в новой редакции:
"Примечание - При пользовании настоящим стандартом целесообразно проверить действие ссылочных стандартов и классификаторов на официальном интернет-сайте Межгосударственного совета по стандартизации, метрологии и сертификации (www.easc.by) или по указателям национальных стандартов, издаваемым в государствах, указанных в предисловии, или на официальных сайтах соответствующих национальных органов по стандартизации. Если на документ дана недатированная ссылка, то следует использовать документ, действующий на текущий момент, с учетом всех внесенных в него изменений. Если заменен ссылочный документ, на который дана датированная ссылка, то следует использовать указанную версию этого документа. Если после принятия настоящего стандарта в ссылочный документ, на который дана датированная ссылка, внесено изменение, затрагивающее положение, на которое дана ссылка, то это положение применяется без учета данного изменения. Если ссылочный документ отменен без замены, то положение, в котором дана ссылка на него, применяется в части, не затрагивающей эту ссылку".
Пункт 3.1.13 дополнить примечанием:
"Примечание - В настоящем стандарте под ручным свинчиванием подразумевается условное свинчивание трубы и муфты с номинальными параметрами резьбового соединения. Положение плоскости ручного свинчивания и параметры резьбового соединения при ручном свинчивании приводятся для проектирования резьбовых соединений и контролю не подвергаются".
Пункт 3.1.15. Заменить слова: "равна ширине впадины резьбы" на "равна расстоянию между выступами".
Пункт 3.2. Заменить обозначения:
"Da - диаметр фланца" на "Da - диаметр поддерживающего фланца, мм";
"Du - диаметр проточки калибра-пробки; dr - внутренний диаметр резьбы калибра-кольца в основной плоскости" на "Dr - внутренний диаметр резьбы калибра-кольца в основной плоскости";
"dr - внутренний диаметр резьбы калибра-кольца в основной плоскости" на "Du - диаметр проточки калибра-пробки";
"frs, frn, fcs, fcn - срез по вершинам и впадинам профиля плоскосрезанной треугольной резьбы" на "frs, fm, fcs, fcn - срез по вершинам или впадинам профиля резьбы";
"hs, hn - высота профиля резьбы" на "hs, hn, hg - высота профиля резьбы";
"R, r, r1 - радиусы скругления элементов профиля резьбы или резьбового соединения" на "R, r, r1 - радиусы скругления";
"srs, srn, scs, scn - срез по вершинам и впадинам профиля треугольной закругленной резьбы" на "srs, srn, scs, scn - срез по вершинам или впадинам профиля резьбы";
- конусность" на - конусность резьбы".
Пункты 4.1.1 и 4.2.1. Рисунки 1 и 3. Примечание изложить в новой редакции:
"Примечание - Конусность резьбы 1:16 на рисунке увеличена";
таблицы 1 и 4. Строку "Конусность по среднему диаметру резьбы на длине 100 мм" изложить в новой редакции (2 раза):
"
Конусность по среднему диаметру резьбы на длине 25,4 мм
К
1,59
".
Пункт 4.1.2. Рисунок 2 изложить в новой редакции:
"
".
Пункт 4.1.3. Таблица 3. Первую строку изложить в новой редакции:
"
Конусность по среднему диаметру резьбы на длине 25,4 мм <2>
+0,13
-0,07
";
графа "Геометрический параметр". Шестая строка. Заменить слова: "Минимальная длина резьбы с полными вершинами Lc" на "Минимальная длина резьбы с полным профилем Lc";
сноску <1> изложить в новой редакции:
"<1> Предельные отклонения относятся к наружной и внутренней резьбе, если в заказе на поставку не указано иное".
Пункт 4.2.1. Таблица 4. Графа "Геометрический параметр". Заменить слово: "закругления" на "скругления" (2 раза).
Пункт 4.2.2, Рисунок 4 изложить в новой редакции:
"
";
таблица 5. Графа "Наружный диаметр резьбы трубы D4". Для номинального диаметра резьбы 5 3/4 дюйма заменить значение: "146,10" на "146,05";
для номинального диаметра резьбы 12 3/4 дюйма заменить значение: "323,90" на "323,85";
таблица 6. Графа "Наружный диаметр резьбы трубы D4". Для номинального диаметра резьбы 5 3/4 дюйма заменить значение: "146,10" на "146,05".
Пункт 4.2.4. Таблицы 9 и 10. Первую строку изложить в новой редакции:
"
Конусность по среднему диаметру резьбы К на длине 25,4 мм
+0,13
-0,07
";
графа "Геометрический параметр". Шестая строка. Заменить слова: "Минимальная длина резьбы с полными вершинами Lc" на "Минимальная длина резьбы с полным профилем Lc";
сноску <1> изложить в новой редакции:
"<1> Предельные отклонения относятся к наружной и внутренней резьбе, если в заказе на поставку не указано иное" (2 раза).
Пункт 4.3.1. Рисунок 5. Сноска <1>. Заменить слова: "ширины впадины" на "расстояния между выступами";
примечание 1 изложить в новой редакции:
"1 Конусность резьбы 1:16 на рисунке увеличена";
примечание 3. Заменить слова: "закруглений" на "скругления"; "ширины впадины" на "расстояния между выступами";
рисунок 6. Фрагмент рисунка "Труба" изложить в новой редакции:
"
";
примечание 1 изложить в новой редакции:
"1 Конусность резьбы 1:12 на рисунке увеличена";
примечание 3. Заменить слова: "закругления" на "скругления"; "ширины впадины" на "расстояния между выступами".
Пункт 4.3.2. Рисунок 7. Поясняющие данные. Заменить слова: "4 - плоскость торца трубы при ручном свинчивании" на "3 - плоскость торца трубы при ручном свинчивании";
таблица 11. Заменить наименование графы: "Минимальная длина резьбы с полными вершинами Lc" на "Минимальная длина резьбы с полным профилем Lc";
графа "Наружный диаметр резьбы трубы D4". Для номинального диаметра резьбы 5 3/4 дюйма заменить значение: "146,51" на "146,46";
графа "Средний диаметр резьбы в основной плоскости E7". Для номинального диаметра резьбы 16 3/4 дюйма заменить значение: "424,425" на "423,875".
Пункт 4.3.3. Таблица 12. Первую строку изложить в новой редакции:
"
Конусность резьбы на длине 25,4 мм <3>:
резьбы муфты
+0,11
-0,06
резьбы трубы:
на длине резьбы с полным профилем
+0,09
-0,04
на длине резьбы с неполным профилем
+0,11
-0,04
";
графа "Геометрический параметр". Седьмая строка. Заменить слова: "Минимальная длина резьбы с полными вершинами Lc" на "Минимальная длина резьбы с полным профилем Lc";
сноску <1> изложить в новой редакции:
"<1> Предельные отклонения относятся к наружной и внутренней резьбе, если в заказе на поставку не указано иное";
таблицу дополнить сноской <3>:
"<3> Конусность резьбы на длине 25,4 мм для резьбы номинальным диаметром от 114,30 до 339,72 мм - 1,59 мм, для резьбы номинальным диаметром 406,40 мм и более - 2,12 мм".
Подпункт 4.4.2.3. Первый абзац. Заменить ссылку: "4.4.3.2" на "4.4.2.2";
перечисление а). Заменить ссылку: "4.4.3.3" на "4.4.2.3";
перечисления б) и г). Заменить ссылку: "4.4.3.2" на "4.4.2.2".
Пункт 4.4.5. Рисунок 8 изложить в новой редакции:
"
".
Пункт 4.4.6. Первый абзац. Сноска <1>. Заменить ссылку: "ГОСТ Р ИСО 13678-2015" на "ГОСТ ISO 13678-2022";
второй абзац. Второе перечисление. Исключить слова: "за исключением труб, свинчиваемых по положению муфты относительно треугольного клейма";
четвертый абзац исключить;
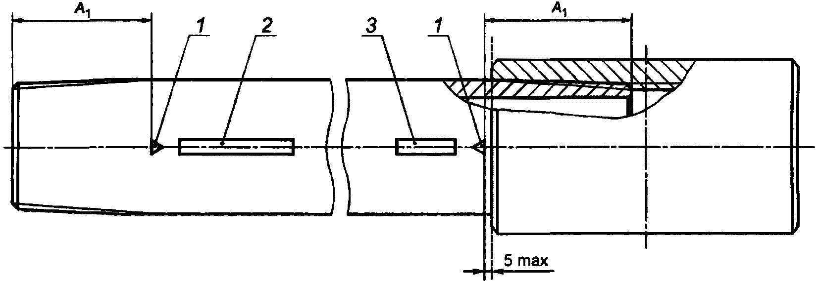
последний абзац изложить в новой редакции:
"При правильном механическом свинчивании труб и муфт с резьбовым соединением BC торец муфты должен находиться между плоскостью, расположенной на расстоянии не более 5,0 мм до основания треугольного клейма (рисунок 8), и вершиной треугольного клейма".
Пункт 5.3.1. Второе и шестое перечисления изложить в новой редакции:
"- высоты профиля резьбы - в плоскости, перпендикулярной оси резьбы";
"- соосности резьбы муфты - в плоскости торца муфты и плоскости, расположенной перпендикулярно оси муфты на заданном расстоянии от середины муфты или параллельно оси муфты по впадинам резьбы, расположенным на равном расстоянии от середины муфты";
дополнить примечанием:
"Примечание - Под измерением шага резьбы подразумевается измерение отклонений шага резьбы".
Пункт 5.3.2 изложить в новой редакции:
"5.3.2 Конусность резьбы определяют:
- на резьбовых соединениях LP, SC, LC, NU, EU - при измерении разности диаметров по средней линии резьбы;
- на резьбовом соединении BC - при измерении разности диаметров по впадинам резьбы".
Пункт 5.4.1 изложить в новой редакции:
"5.4.1 Высоту профиля резьбы, шаг и конусность резьбы труб и муфт с резьбовыми соединениями LP, SC, LC, NU и EU измеряют на витках резьбы с полным профилем.
Высоту профиля резьбы, шаг резьбы труб и муфт, конусность резьбы муфт с резьбовым соединением BC измеряют на витках резьбы с полным профилем, конусность резьбы трубы - на витках резьбы с полным и неполным профилем".
Пункт 5.4.2. Последний абзац изложить в новой редакции:
"При определении конусности резьбы на длине 12,7 мм или 4P значения конусности на длине 25,4 мм должны быть пересчитаны пропорционально отношению интервала измерений к длине 25,4 мм".
Пункт 5.5.1. Таблицы 13 и 14. Примечание исключить.
Пункт 5.5.3. Заменить слова: "во впадину" на "в канавку на впадину"; "из впадины" на "из канавки".
Пункт 5.6.3 исключить.
Пункт 6.1.1 дополнить примечанием:
"Примечание - Калибры, изготовленные по ГОСТ Р 51906-2015 <1>, могут применяться наравне с калибрами, изготовленными по настоящему стандарту";
дополнить сноской <1>:
"--------------------------------
<1> В Российской Федерации ГОСТ Р 51906-2015 был отменен с 1 августа 2018 г. в связи с введением в действие настоящего стандарта".
Подраздел 6.2. Первый абзац. Первое перечисление изложить в новой редакции:
"- натягов S и N контрольного калибра-кольца [рисунки 9 а) и 10 а)], при этом при сертификации или первичной калибровке калибра исходное значение натяга S должно быть указано в маркировке и документе на контрольный калибр-кольцо, при периодической калибровке - только в документе на контрольный калибр-кольцо";
примечание (после первого абзаца). Исключить слова: "Отклонение натяга S от исходного значения должно учитываться при определении значений натяга рабочего калибра-кольца";
второй абзац. Заменить слова: "исходного натяга S1" на "натяга S1";
дополнить примечанием (после второго абзаца):
"Примечание - Отклонение натяга S от исходного значения должно учитываться при определении натяга рабочего калибра-пробки";
рисунок 9, лист 2. Примечание 2 изложить в новой редакции:
"2 При применении для контроля натяга резьбы трубы с резьбовым соединением LC рабочего калибра-кольца CSG торец трубы будет выступать за малый торец калибра-кольца [в отличие от рисунка e)] на расстояние [(L4 LC - L4 CSG) - N1]".
Пункт 7.1.1. Рисунок 11. Заменить обозначение: "hs" на "hg";
примечание 1 изложить в новой редакции:
"1 Конусность резьбы 1:16 на рисунке увеличена";
таблицы 18 и 19. Заменить обозначение: "hs" на "hg" (3 раза);
исключить последнюю строку (2 раза).
Пункт 7.1.2. Рисунок 12. Поясняющие данные изложить в новой редакции:
"1 - измерительная плоскость контрольного и рабочего
калибров-пробок; 2 - основная плоскость; 3 - плоскость
ручного свинчивания; 4 - измерительная плоскость
рабочего калибра-кольца и контрольного
калибра-пробки; 5 - ось резьбы";
таблицы 20 - 23. Наименование графы "Натяг в сопряжении калибра-кольца с калибром пробкой S". Заменить обозначение: "S" на "S, S1 <1>";
заменить слова: "с калибром пробкой" на "с калибром-пробкой";
таблицы дополнить сноской <1>:
"--------------------------------
<1> Значения S1 установлены для приемочного контроля, проводимого изготовителем калибров";
таблица 21. Графы "Обозначение номинального диаметра резьбы" и "Наружный диаметр фланца калибра-пробки D4". Для номинального диаметра резьбы 5 3/4 дюйма заменить значение: "146,10" на "146,05"; для номинального диаметра резьбы 12 3/4 дюйма заменить значение: "323,90" на "323,85";
графа "Средний диаметр резьбы в основной плоскости E7". Для номинального диаметра резьбы 20 дюймов заменить значение: "505,439" на "506,266";
таблица 22. Графа "Обозначение номинального диаметра резьбы, дюйм". Пятая строка. Заменить значение: "2" на "2 3/8";
шестая строка. Заменить значение: "2" на "2 7/8";
седьмая строка. Заменить значение: "3" на "3 1/2";
девятая строка. Заменить значение: "4" на "4 1/2".
Пункт 7.1.3. Таблица 24. Дополнить строкой для калибра-кольца (после строки "Угол наклона боковой стороны профиля резьбы 30°"):
"
Расстояние (L4 - S)
+/- 0,050
+/- 0,050
+/- 0,050
+/- 0,050
+/- 0,050
";
таблица 25. Дополнить строкой для калибра-кольца (после строки "Угол наклона боковой стороны профиля резьбы 30°"):
"
Расстояние (L4 - S)
+/- 0,050
";
таблицы 24 и 25. Графа "Геометрический параметр". Заменить слова: "Конусность по среднему диаметру резьбы на длине (L4 - g)" на "Конусность по среднему диаметру резьбы <2>" (4 раза);
"Натяг S в сопряжении калибра-кольца с калибром-пробкой" на "Натяг S, S1 <3>, N <3>, N1 <3> в сопряжении калибра-кольца с калибром-пробкой" (2 раза);
сноску <1> изложить в новой редакции (2 раза):
"<1> Предельные отклонения шага резьбы относятся к расстоянию между любыми витками резьбы, соседними или разделенными любым числом витков, на всей длине резьбы, исключая крайние витки";
дополнить сносками <2> и <3> (2 раза):
"<2> Предельные отклонения конусности резьбы относятся ко всей длине резьбы калибра, исключая крайние витки.
<3> Значения S1, N, N1 установлены для приемочного контроля, проводимого изготовителем калибров".
Пункт 7.2.1. Рисунок 13. Примечание 1 изложить в новой редакции:
"1 Конусность резьбы 1:16 на рисунке увеличена";
рисунок 14. Примечание 1 изложить в новой редакции:
"1 Конусность резьбы 1:12 на рисунке увеличена".
Пункт 7.2.2. Рисунок 15. Поясняющие данные изложить в новой редакции:
"1 - измерительная плоскость контрольного и рабочего
калибров-пробок; 2 - основная плоскость; 3 - измерительная
плоскость рабочего калибра-кольца и контрольного
калибра-пробки; 4 - ось резьбы";
таблица 26. Наименование графы "Расстояние от основной плоскости до измерительной плоскости g" дополнить знаком сноски: "<1>";
графа "Натяг в сопряжении калибра-кольца с калибром пробкой S". Заменить обозначение: "S" на "S, S1 <2>";
заменить слово: "с калибром пробкой" на "с калибром-пробкой";
графа "Наружный диаметр фланца калибра-пробки D4". Для номинального диаметра резьбы 5 3/4 дюйма заменить значение: "146,10" на "146,46";
графа "Наружный диаметр резьбы в плоскости торца калибра-пробки D0". Для номинального диаметра резьбы 16 3/4 дюйма заменить значение: "319,389" на "418,839";
графа "Средний диаметр резьбы в основной плоскости E7". Для номинального диаметра резьбы 16 3/4 дюйма заменить значение: "424,425" на "423,875";
таблицу дополнить сносками <1> и <2>:
"--------------------------------
<1> На расстоянии g резьба калибра-пробки имеет неполный профиль.
<2> Значения S1 установлены для приемочного контроля, проводимого изготовителем калибров".
Пункт 7.2.3. Таблицу 27 изложить в новой редакции:
"Таблица 27
Предельные отклонения геометрических параметров калибров
для контроля резьбового соединения BC
Геометрический параметр
Предельное отклонение параметра
Калибр-пробка и калибр-кольцо
Высота профиля резьбы 1,575 мм
+0,013
Расстояние между выступами по средней линии резьбы 2,667 мм
+0,025
Ширина выступа по средней линии резьбы 2,413 мм
-0,025
Углы наклона боковых сторон резьбы при номинальном диаметре резьбы:
до 339,72 мм включ.:
+1°
10°
+/- 1°
от 406,40 мм:
+/- 30'
10°
+/- 30'
Радиусы скругления R:
вершины резьбы
0,20
+0,050
0,76
+0,050
впадины резьбы
0,20
-0,050
0,76
-0,200
Калибр-пробка
Шаг резьбы P <1>
+/- 0,013
Конусность К <2> при номинальном диаметре резьбы:
до 339,72 мм включ.
+0,025
от 406,40 мм
+0,038
Наружный диаметр резьбы D0 при номинальном диаметре резьбы:
до 177,80 мм включ.
+/- 0,013
от 193,68 до 339,72 мм включ.
+/- 0,018
от 406,40 мм
+/- 0,025
Наружный диаметр фланца D4 при номинальном диаметре резьбы:
до 339,72 мм включ.
+/- 0,03
от 406,40 мм
+/- 0,05
Расстояние L4
+/- 0,025
Калибр-кольцо
Шаг резьбы P <3>
+/- 0,020
Конусность К <4> при номинальном диаметре резьбы:
до 339,72 мм включ.
-0,005
-0,030
от 406,40 мм
-0,005
-0,043
Диаметр расточки Q
+0,4
Расстояние (L4 - S)
+/- 0,050
Натяги S, S1 <5>, N <5>, N1 <5> в сопряжении калибра-кольца с калибром-пробкой
+/- 0,380
<1> Предельные отклонения шага резьбы относятся к расстоянию между любыми витками резьбы, соседними или разделенными любым числом витков, на длине резьбы с полным профилем, исключая крайний виток резьбы на малом торце калибра-пробки.
<2> Предельные отклонения конусности относятся к наружному диаметру резьбы рабочего калибра-пробки и внутреннему диаметру резьбы контрольного калибра-пробки на длине резьбы с полным профилем, исключая крайние витки, и установлены для периодического контроля, проводимого при эксплуатации калибров.
Предельные отклонения конусности относятся к наружному и внутреннему диаметру резьбы контрольного и рабочего калибров-пробок на длине резьбы с полным профилем, исключая крайние витки, и установлены для приемочного контроля, проводимого изготовителем калибров.
<3> Предельные отклонения шага резьбы относятся к расстоянию между любыми витками резьбы, соседними или разделенными любым числом витков, на всей длине резьбы, исключая крайние витки резьбы.
<4> Предельные отклонения конусности относятся к наружному диаметру резьбы контрольного калибра-кольца и внутреннему диаметру резьбы рабочего калибра-кольца на всей длине резьбы, исключая крайние витки, и установлены для периодического контроля, проводимого при эксплуатации калибров.
Предельные отклонения конусности относятся к наружному и внутреннему диаметру резьбы контрольного и рабочего калибров-колец на всей длине резьбы, исключая крайние витки, и установлены для приемочного контроля, проводимого изготовителем калибров.
<5> Предельные отклонения S1, N, N1 установлены для приемочного контроля, проводимого изготовителем калибров.
Пункт 7.3.1. Последний абзац исключить.
Пункт 7.3.3 изложить в новой редакции:
"7.3.3 Шероховатость Ra поверхности калибров должна соответствовать ГОСТ 24672".
Пункт 7.3.6. Второй абзац. Второе перечисление изложить в новой редакции:
"- на длине резьбы с полным профилем, исключая крайний виток резьбы на малом торце калибров-пробок".
Пункт 7.3.7. Заменить обозначение: "hs" на "hg".
Пункт 7.3.8 исключить.
Пункт 7.3.9. Первый абзац. Заменить слова: "На калибрах" на "Для калибров, предназначенных";
таблица 28. Наименование графы. Заменить слова: "Диаметр фланца Da" на "Диаметр поддерживающего фланца Da".
Пункт 7.3.12. Первый абзац изложить в новой редакции:
"7.3.12 Натяги контрольного калибра-кольца по контрольному калибру-пробке и рабочих калибров по контрольным калибрам должны быть определены с соблюдением следующих условий:".
Пункт 7.3.13. Последний абзац. Второе перечисление изложить в новой редакции:
"- CSG на калибрах для контроля резьбового соединения типов SC и LC";
третье перечисление исключить.
Приложение А. Исключить слова: "Расчет геометрических параметров калибров проведен исходя из следующих соотношений".
Пункты А.1 и А.2. Первый абзац дополнить словами: "(см. рисунок 12)".
Пункт А.2. Перечисление а) изложить в новой редакции:
"а) средний диаметр резьбы в основной плоскости E7 равен (D4 - hs + 0,076) мм";
дополнить перечислением и):
"и) расстояние g на калибре-пробке равно:
- 5P для резьбовых соединений SC, LC и NU, EU с шагом резьбы 2,540 мм;
- 4P для резьбовых соединений NU и EU с шагом резьбы 3,175 мм".
Пункт А.3. Первый абзац дополнить словами: "(см. рисунок 15)";
перечисления а) - в) и д) изложить в новой редакции:
"а) наружный диаметр резьбы в плоскости торца калибра-пробки D0 равен:
- (E7 - 0,0625L7 + 1,575) мм для резьбы номинальным диаметром 339,72 мм и менее;
- (E7 - 0,0833L7 + 1,575) мм для резьбы номинальным диаметром 406,40 мм и более;
б) наружный диаметр фланца калибра-пробки в основной плоскости D4 равен:
- (D + 0,406) мм для резьбы номинальным диаметром 339,72 мм и менее;
- D для резьбы номинальным диаметром 406,40 мм и более;
в) средний диаметр резьбы в основной плоскости E7 равен (D4 - 1,575) мм";
"д) расстояние g на калибре-пробке равно:
- 50,394 мм для труб наружным диаметром 339,72 мм и менее;
- 37,795 мм для труб наружным диаметром 406,40 мм и более";
перечисление ж). Заменить формулу: "(D + 0,41)" на "(D + 0,406)".
Приложение А дополнить пунктами А.4, А.5:
"А.4 Расчет геометрических параметров резьбы калибров для резьбовых соединений SC, LC, NU и EU проведен на основе среднего диаметра резьбы в основной плоскости E7.
А.5 При свинчивании калибра-кольца и калибра-пробки с номинальными параметрами резьбы натяги N и N1 равны нулю".
Приложение Б. Заменить ссылки: "ГОСТ 33758" на "ГОСТ 33758-2021" (2 раза), "ГОСТ 632" на "ГОСТ 632-80" (2 раза), "ГОСТ 633" на "ГОСТ 633-80" (2 раза). Заменить сокращение: "НКТ" на "НКТН".
Элемент "Библиография". Позицию [1] изложить в новой редакции:
"[1]
API Spec 5B
Threading, gauging, and inspection of casing, tubing, and line pipe threads, 16 edition
(Нарезание, калибрование и контроль резьбы обсадных, насосно-компрессорных и линейных труб)".