Главная // Актуальные документы // ГОСТ (Государственный стандарт)СПРАВКА
Источник публикации
М.: Стандартинформ, 2020
Примечание к документу
Документ включен в
Перечень документов в области стандартизации, в результате применения которых на добровольной основе обеспечивается соблюдение требований Федерального
закона от 30.12.2009 N 384-ФЗ "Технический регламент о безопасности зданий и сооружений" (
Приказ Росстандарта от 02.04.2020 N 687).
Текст данного документа приведен с учетом
поправки, опубликованной в "ИУС", N 7, 2023.
Документ
введен в действие с 01.01.2021.
Название документа
"ГОСТ 21.204-2020. Межгосударственный стандарт. Система проектной документации для строительства. Условные графические обозначения и изображения элементов генеральных планов и сооружений транспорта"
(введен в действие Приказом Росстандарта от 18.08.2020 N 500-ст)
"ГОСТ 21.204-2020. Межгосударственный стандарт. Система проектной документации для строительства. Условные графические обозначения и изображения элементов генеральных планов и сооружений транспорта"
(введен в действие Приказом Росстандарта от 18.08.2020 N 500-ст)
агентства по техническому
регулированию и метрологии
от 18 августа 2020 г. N 500-ст
МЕЖГОСУДАРСТВЕННЫЙ СТАНДАРТ
СИСТЕМА ПРОЕКТНОЙ ДОКУМЕНТАЦИИ ДЛЯ СТРОИТЕЛЬСТВА
УСЛОВНЫЕ ГРАФИЧЕСКИЕ ОБОЗНАЧЕНИЯ И ИЗОБРАЖЕНИЯ ЭЛЕМЕНТОВ
ГЕНЕРАЛЬНЫХ ПЛАНОВ И СООРУЖЕНИЙ ТРАНСПОРТА
System of design documents for construction.
Graphical symbols and signs of elements of general
layouts and transport constructions
ГОСТ 21.204-2020
Дата введения
1 января 2021 года
Цели, основные принципы и общие правила проведения работ по межгосударственной стандартизации установлены
ГОСТ 1.0 "Межгосударственная система стандартизации. Основные положения" и
ГОСТ 1.2 "Межгосударственная система стандартизации. Стандарты межгосударственные, правила и рекомендации по межгосударственной стандартизации. Правила разработки, принятия, обновления и отмены"
1 РАЗРАБОТАН Акционерным обществом "Центр технического и сметного нормирования в строительстве" (АО "ЦНС")
2 ВНЕСЕН Техническим комитетом по стандартизации ТК 465 "Строительство"
3 ПРИНЯТ Межгосударственным советом по стандартизации, метрологии и сертификации (протокол от 30 марта 2020 г. N 128-П)
За принятие проголосовали:
Краткое наименование страны по МК (ИСО 3166) 004-97 | Код страны по МК (ИСО 3166) 004-97 | Сокращенное наименование национального органа по стандартизации |
Азербайджан | AZ | Азстандарт |
Армения | AM | Минэкономики Республики Армения |
Беларусь | BY | Госстандарт Республики Беларусь |
Киргизия | KG | Кыргызстандарт |
Россия | RU | Росстандарт |
Таджикистан | TJ | Таджикстандарт |
4
Приказом Федерального агентства по техническому регулированию и метрологии от 18 августа 2020 г. N 500-ст межгосударственный стандарт ГОСТ 21.204-2020 введен в действие в качестве национального стандарта Российской Федерации с 1 января 2021 г.
Информация о введении в действие (прекращении действия) настоящего стандарта и изменений к нему на территории указанных выше государств публикуется в указателях национальных стандартов, издаваемых в этих государствах, а также в сети Интернет на сайтах соответствующих национальных органов по стандартизации.
В случае пересмотра, изменения или отмены настоящего стандарта соответствующая информация будет опубликована на официальном интернет-сайте Межгосударственного совета по стандартизации, метрологии и сертификации в каталоге "Межгосударственные стандарты"
Настоящий стандарт устанавливает основные условные графические обозначения и изображения, применяемые на чертежах генеральных планов предприятий, сооружений (в т.ч. сооружений транспорта) и жилищно-гражданских объектов различного назначения.
В настоящем стандарте использованы нормативные ссылки на следующие межгосударственные стандарты:
ГОСТ 2.303 Единая система конструкторской документации. Линии
ГОСТ 2.749 Единая система конструкторской документации. Элементы и устройства железнодорожной сигнализации, централизации и блокировки
ГОСТ 21.201-2011 Система проектной документации для строительства. Условные графические изображения элементов зданий, сооружений и конструкций
ГОСТ 21.205 Система проектной документации для строительства. Условные обозначения элементов трубопроводных систем зданий и сооружений
ГОСТ 21.207 Система проектной документации для строительства. Условные графические обозначения на чертежах автомобильных дорог
Примечание - При пользовании настоящим стандартом целесообразно проверить действие ссылочных стандартов и классификаторов на официальном интернет-сайте Межгосударственного совета по стандартизации, метрологии и сертификации (www.easc.by) или по указателям национальных стандартов, издаваемым в государствах, указанных в предисловии, или на официальных сайтах соответствующих национальных органов по стандартизации. Если на документ дана недатированная ссылка, то следует использовать документ, действующий на текущий момент, с учетом всех внесенных в него изменений. Если заменен ссылочный документ, на который дана датированная ссылка, то следует использовать указанную версию этого документа. Если после принятия настоящего стандарта в ссылочный документ, на который дана датированная ссылка, внесено изменение, затрагивающее положение, на которое дана ссылка, то это положение применяется без учета данного изменения. Если ссылочный документ отменен без замены, то положение, в котором дана ссылка на него, применяется в части, не затрагивающей эту ссылку.
3.1 Проектируемые здания, сооружения, сети инженерно-технического обеспечения, транспортные устройства, элементы озеленения и благоустройства (далее - элементы генеральных планов и сооружений транспорта) изображают на чертежах с применением условных графических обозначений и упрощенных изображений, установленных настоящим стандартом. Существующие элементы генеральных планов и сооружений транспорта, а также используемые на чертежах условные сокращенные наименования материала покрытий дорог, отмосток, тротуаров и т.п. выполняют в соответствии с
[1].
3.2 Условные графические обозначения и изображения элементов генеральных планов и сооружений транспорта выполняют линиями по
ГОСТ 2.303 с учетом дополнительных требований таблицы 1.
Наименование линии | Обозначение | Толщина линии по отношению к толщине основной линии | Рекомендуемая толщина линии, мм, для чертежей, выполняемых в масштабе |
1:5000, 1:2000 | 1:1000 | 1:500 | 1:200 и крупнее |
1 Сплошная толстая основная | | s | (0,35) | 0,5 | 0,7 | 1,0 | 1,4 |
2 Сплошная тонкая | | s/3 | (0,13) | 0,18 | 0,25 | 0,35 | 0,5 |
3 Сплошная тонкая утолщенная | | 2/3 s | (0,25) | 0,35 | 0,5 | 0,7 | 1,0 |
4 Штриховая тонкая | | s/2 | (0,18) | 0,25 | 0,35 | 0,5 | 0,7 |
5 Штрихпунктирная тонкая | | s/3 | (0,13) | 0,18 | 0,25 | 0,35 | 0,7 |
6 Штрихпунктирная утолщенная | | 2/3 s | (0,25) | 0,35 | 0,5 | 0,7 | 1,0 |
7 Штриховая толстая | | s | (0,35) | 0,5 | 0,7 | 1,0 | 1,4 |
Примечание - В скобках приведена допускаемая толщина линий для планов, выполняемых в масштабе 1:5000. |
3.3 Изображения проектируемых наземных и надземных зданий, сооружений, сетей инженерно-технического обеспечения и транспортных устройств выполняют сплошной толстой основной линией, подземных - штриховой толстой линией толщиной s, иных - сплошной тонкой линией толщиной s/3.
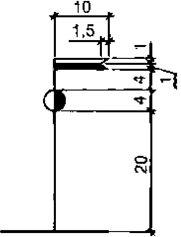
3.4 Элементы генеральных планов и сооружений транспорта, подлежащие сносу, изображают в соответствии с рисунком 1.
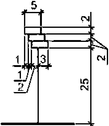
Здания и сооружения, подлежащие реконструкции, изображают в соответствии с рисунком 2.
3.5 Условные графические обозначения и изображения выполняют в масштабе чертежа с учетом рекомендуемых размеров, приведенных в таблицах в миллиметрах.
3.6 Условные графические обозначения проектируемых устройств железнодорожной сигнализации, централизации и блокировки принимают по
ГОСТ 2.749.
3.7 Условные графические обозначения и изображения, примененные на чертежах и не вошедшие в настоящий стандарт, следует пояснять на чертежах.
3.8 Условные обозначения следует выполнять в основном черным цветом. Некоторые условные обозначения или их отдельные элементы допускается выполнять другими цветами цветовой палитры.
Водную поверхность допускается дополнительно выделять заливкой голубым цветом.
Все надписи выполняют черным цветом.
В подлинниках, предназначенных для изготовления черно-белых копий, цветные условные обозначения и их элементы следует выполнять черным цветом.
4 Условные графические обозначения границ территорий
4.1 Условные графические обозначения границ территорий выполняют в соответствии с таблицей 2.
Наименование | Обозначение, размеры, мм |
1 Граница землепользования (землевладения) | |
2 Граница полосы отвода земель для железных и автомобильных дорог | |
3 Граница земельного участка, предоставленного для размещения объекта капитального строительства | |
Примечание - На чертежах, выполняемых с цветными условными обозначениями, проектную красную линию выполняют красным цветом. | |
5 Граница регулирования застройки | |
6 Граница санитарно-защитной зоны | |
7 Граница изменения типа покрытия Примечание - По обе стороны границы указывают сокращенное наименование материала покрытия. | |
Примечание - Буквой s обозначена толщина толстой основной линии по таблице 1, относительно которой выполняется толщина линий условных обозначений, приведенных в таблице 2. |
5 Условные графические обозначения и изображения зданий и сооружений
5.1 Основные условные графические обозначения и изображения проектируемых зданий и сооружений выполняют в соответствии с таблицей 3.
Таблица 3
Наименование | Обозначение и изображение |
1 Здание, сооружение: а) наземное | |
б) подземное | |
в) нависающая часть здания | |
2 Навес | |
3 Проезд, проход в уровне первого этажа здания (сооружения) | |
4 Переход (галерея) | |
5 Вышка, мачта | |
6 Эстакада крановая | |
7 Лестница | |
8 Пандус | |
9 Платформа (с пандусом и лестницей) | |
10 Высокая платформа (рампа) при здании (сооружении) | |
11 Стенка подпорная | |
12 Контрбанкет, контрфорс | |
13 Берегоукрепление, оврагоукрепление Примечание - Вместо многоточия на полке линии-выноски проставляют наименование материала укрепления | |
14 Откос: | |
а) насыпи | |
б) выемки Примечания 1 Штриховку откоса при значительной протяженности показывают участками. 2 Вместо многоточия на полке линии-выноски проставляют наименование материала укрепления и крутизну откоса. | |
15 Ограждение территории, забор | |
16 Ворота, калитка | |
17 Площадка, дорожка, тротуар: | |
| |
б) с булыжным покрытием | |
в) с плиточным покрытием | |
Примечания 1 В случае применения других материалов покрытия используют графическое изображение 17 а, дополняя его полным или сокращенным наименованием материала (согласно 3.1), которое указывают на полке линии-выноски. 2 В условном изображении 17 г для примера показан однобалочный мостовой кран на площадке без покрытия. | |
5.2 Условные графические изображения многосекционных жилых зданий на чертежах в масштабе 1:500 и 1:1000 выполняют, разбивая их на секции и указывая входы.
5.3 Внутреннюю сторону линии контура условного графического изображения здания и сооружения совмещают с координационными осями.
5.4 При выполнении упрощенных изображений зданий и сооружений, приведенных в
1 в,
2,
4 таблицы 2, наличие опор в проектном положении указывают знаком "+". При этом количество опор, ворот и дверей должно соответствовать фактическим данным.
5.5 Условные обозначения зданий и сооружений допускается дополнять следующими цветами:
- проектируемые новые здания - красным цветом;
- реконструируемые здания и сооружения - красным цветом (в том числе линии штриховки согласно
рисунку 2);
- перспективные здания - зеленым цветом.
Условные обозначения зданий и сооружений, подлежащих сносу, дополнительно к обозначению согласно
рисунку 1 допускается выделять заливкой желтым цветом.
Условные обозначения существующих зданий и сооружений выполняют черным цветом.
6 Условные графические обозначения транспортных сооружений и устройств
6.1 Условные графические обозначения и изображения проектируемых транспортных сооружений и устройств на планах выполняют в соответствии с таблицей 4.
Таблица 4
Условные графические обозначения дорог и путей
Наименование | Обозначение и изображение | Размер, мм, для масштаба |
1:500; 1:1000 | 1:2000; 1:5000 |
1 Автомобильная дорога | | - | - |
2 Путь железнодорожный колеи 1520 мм | | - | - |
3 Путь железнодорожный узкой колеи | | - | - |
4 Путь трамвайный | | - | - |
5 Путь метрополитена: а) наземный | | - | - |
б) подземный | | | |
6 Путь скоростного трамвая: | | | |
а) наземный | | - | - |
б) подземный | |  к | |
7 Путь подвесной дороги: | | | |
а) рельсовой | | | |
| |
8 Направление движения транспорта | | |
9 Ворота габаритные: | | | |
а) на автомобильной дороге | | | |
б) на железнодорожном пути | | | |
10 Пикет: | | |
а) железнодорожного пути | | |
б) автомобильной дороги | | | |
11 Пикет неправильный | | | |
12 Уклоноуказатель на железнодорожном пути Примечания 1 Цифры обозначают: отметку головки рельса в точке перелома профиля; уклоны в промилле и соответствующие расстояния в метрах; привязку к пикетам. 2 Знак  наносят в случаях, когда на плане изображено два и более железнодорожных путей для обозначения тех путей, к которым относится уклоноуказатель. | | | |
13 Вершина угла поворота оси трассы железнодорожного пути и автомобильной дороги | | |
14 Начало и конец круговой кривой | | |
15 Начало и конец переходной кривой | | |
16 Указатель километров: | | | |
а) железнодорожных путей | | | |
б) автомобильных дорог Примечание - Для существующих железнодорожных путей и автомобильных дорог заливку указателя километров не выполняют. | | | |
17 Группировка основных путей парка Примечание - Слева от знака группировки указывают наименование парка, справа в числителе - обозначение и количество путей, в знаменателе - наименьшие и наибольшие полезные длины путей. | | | |
18 Буквенные обозначения парков и групп путей: | | | |
а) парк приема | П | - | - |
б) парк отправления | О | - | - |
в) приемо-отправочный парк | ПО | - | - |
г) транзитный парк | ТР | - | - |
д) группировочный парк | ГП | - | - |
е) сортировочный парк | С | - | - |
ж) сортировочно-отправочный парк | СО | - | - |
19 Стрелочный перевод с номером перевода и обозначением центра перевода: | | | |
а) одиночный несимметричный | | |
б) одиночный симметричный | |
в) сдвоенный односторонний | | |
г) сдвоенный разносторонний | | |
д) перекрестный | | | |
| | - | - |
Примечание - В обозначениях 19 а - 19 е показаны нецентрализованные переводы. Для централизованных стрелочных переводов вместо засечки указывают знак "L". | | | |
20 Пересечение путей глухое с обозначением центра пересечения | | - | - |
21 Сплетение путей | | | |
22 Конец рельсового пути: | | |
а) без упора | | |
б) с упором | | |
23 Горка сортировочная | | | |
24 Полугорка сортировочная | | | |
25 Сбрасыватель башмака: | | |
а) усовой | | |
б) клиновой | | |
26 Замедлитель вагонный | | |
27 Круг поворотный | | Изображается упрощенно в масштабе чертежа | |
28 Весы вагонные | | Изображаются упрощенно в масштабе чертежа | |
29 Колонка раздачи горючего и смазочных материалов | | |
30 Кран опробования тормозов | | |
31 Устройство пневмообдувки стрелок | | |
32 Мост, путепровод: | | | |
а) на железной дороге | | | |
б) на автомобильной дороге | | | |
33 Путепровод тоннельного типа: | | | |
а) на железной дороге | | | |
б) на автомобильной дороге | | | |
34 Железнодорожный переезд Примечание - В условном обозначении указывают буквенное обозначение материала настила переезда: А - асфальтобетонный; Б - железобетонный; Д - деревянный; М - металлический (стальными или чугунными плитами); Р - резинокордовый или резиножелезобетонный. | | | |
35 Железнодорожный переезд с автоматическим заградительным устройством | | | |
36 Надземный переход (мост пешеходный) <*> | | - | - |
37 Подземный переход (тоннель пешеходный) <*> | | - | - |
<*> При устройстве сооружения на железнодорожных путях обозначения автомобильных дорог заменяют обозначениями железнодорожных путей. Примечания 1 Указанные в условных обозначениях размеры, номера пикетов, стрелок и другие данные приведены в качестве примера. 2 Буквенные обозначения, указанные в пунктах 3 - 6 и 7 б, проставляют с интервалами не более 100 мм. 3 Условные графические обозначения и изображения железнодорожных путей ( пункты 2 и 3) допускается выполнять следующими цветами: - проектируемые пути - красным цветом; - проектируемые пути по другим проектам и предыдущим разработкам - синим цветом; - пути на перспективу - зеленым цветом. Существующие пути изображают черным цветом. |
6.2 Номер и техническую категорию железнодорожного пути указывают в разрыве условного графического изображения линии пути. Главные станционные пути обозначают римскими цифрами, прочие станционные и внутриплощадочные пути - арабскими цифрами. Размер шрифта для обозначения путей, парков и стрелочных переводов должен быть в 1,5 - 2 раза больше, чем размер шрифта, принятого для размерных чисел на том же чертеже, но не более 5 мм.
Техническую категорию указывают при необходимости римской цифрой в окружности диаметром 10 мм.
6.3 В условных графических обозначениях мостов, путепроводов, путей подвесных дорог расстояния между опорами, размеры опор и другие переменные параметры принимают по фактическим данным.
6.4 Условные графические обозначения и изображения сооружений и устройств на продольных профилях проектируемых железнодорожных путей и автомобильных дорог выполняют в соответствии с таблицей 5.
Таблица 5
Условные графические обозначения и изображения сооружений
и устройств на продольных профилях
Наименование | Обозначение и изображение | Размер, мм |
1 Железнодорожная станция: | | |
а) участковая | | |
б) промежуточная | | |
в) грузовая | | |
г) сортировочная | | |
д) пассажирская | | |
е) промышленная грузовая | | |
ж) промышленная сортировочная | | |
2 Разъезд, обгонный пункт и пост: | | |
а) разъезд | | |
б) обгонный пункт | | |
в) пост | | |
3 Пункт остановочный пассажирский | | |
4 Стрелочный перевод Примечания 1 Направление лучей, образующих угол стрелки, должно соответствовать положению стрелочного перевода в плане (лево- и правостороннее), а вершина угла должна быть направлена в сторону остряков. 2 Рядом с лучами указывают марку крестовины. 3 Слева от выносной линии указывают тип и номер стрелочного перевода. 4 Привязку к пикетам указывают для центра стрелочного перевода. | | |
5 Железнодорожный переезд: | | |
а) неохраняемый | | |
б) охраняемый | | |
в) переустраиваемый Примечание - Рядом с графическим обозначением указывают категорию и ширину переезда. | | |
6 Устройство раздельного пункта: | | |
а) основное депо | | |
б) оборотное депо | | |
в) пункт оборота локомотивов | | |
г) пункт смены локомотивных и поездных бригад | | |
д) вагоноремонтное депо | | |
е) пункт технического осмотра | | |
ж) пункт контроля тормозов | | |
и) пункт поездного водоснабжения | | |
7 Пересечение сетей инженерно-технического обеспечения надземных на высоких опорах: | | |
а) линий электропередачи | | |
б) линий связи и сигнализации | | |
в) трубопроводов различного назначения | | |
8 Пересечение сетей инженерно-технического обеспечения подземных: | | |
а) трубопроводов различного назначения | | |
б) каналов различного назначения | | |
в) кабелей | | |
9 Канава нагорная или водоотводная | | |
10 Дренаж | | |
| | |
12 Репер или марка геодезическая | | |
| | |
14 Пикеты неправильные: | | |
а) на новых линиях | | |
б) на вторых путях Примечание - Цифры на пересечении диагоналей обозначают расстояние между пикетами. | | |
15 Лоток | | |
| | - |
| | - |
18 Труба водопропускная: | | |
а) круглая | | |
б) прямоугольная | | |
19 Мост, путепровод, виадук и эстакада | | |
20 Путепровод над проектируемой дорогой | | |
21 Надземный переход (мост пешеходный) | | |
22 Подземный переход (тоннель пешеходный) | | |
Примечания 1 В условных обозначениях 7 и 8 слева от выносной линии вместо многоточия указывают краткое наименование сети инженерно-технического обеспечения или ее обозначение, а также высоту опоры. Изображение дополняют отметкой уровня. 2 В условных обозначениях 9 - 11 направление стрелки соответствует направлению возрастания километража, а ее наклон вверх обозначает сброс воды влево, вниз - сброс воды вправо. |
6.5 В условных графических обозначениях элементов существующих сооружений и устройств, приведенных в
1 -
3,
5,
13 таблицы 5, заливку не выполняют.
6.6 Размеры изображений, приведенных в
16,
17,
19,
22 таблицы 5, принимают по фактическим размерам проектируемого сооружения. Количество пролетов в изображении моста, путепровода, виадука, эстакады должно соответствовать фактическим данным.
В изображении путепровода, виадука, эстакады, располагаемых на незатопляемых территориях, отметки горизонтов высоких (ГВВ) и меженных (ГМВ) вод не указывают.
7 Условные графические обозначения сетей инженерно-технического обеспечения
7.1 Условные графические обозначения сетей инженерно-технического обеспечения выполняют в соответствии с таблицей 6. Буквенно-цифровые обозначения сетей приведены в качестве примера и на чертежах должны соответствовать проектным.
Таблица 6
Наименование | Обозначение | Размер, мм |
1 Сеть инженерно-технического обеспечения, прокладываемая в коммуникационных сооружениях: | | |
а) на эстакаде | | |
б) в галерее | | То же |
в) в тоннеле, проходном канале | | |
г) в непроходном канале | | |
д) в кабельном канале | | |
2 Сеть инженерно-технического обеспечения, прокладываемая в траншее | | |
3 Сеть инженерно-технического обеспечения надземная: | | |
а) на высоких опорах | | |
б) на низких опорах | | |
в) на опорах по покрытию здания (сооружения) | | |
г) на опорах по стене здания (сооружения) | | |
7.2 Трубопроводную, кабельную или воздушную сеть наносят одной линией, соответствующей оси (трассе) сети, и сопровождают установленными буквенно-цифровыми обозначениями.
Буквенно-цифровые обозначения сетей водоснабжения, канализации, тепловых сетей принимают по
ГОСТ 21.205.
Буквенно-цифровые обозначения силовых и осветительных электрических сетей составляют из прописной буквы "W" и цифр, характеризующих назначение сети или ее параметры.
Буквенно-цифровые обозначения электрических сетей связи, систем управления и информации составляют из прописной буквы "V" и цифр, характеризующих назначение сети или ее параметры.
Буквенно-цифровые обозначения сети наносят в разрывах линии сети с интервалами не более 100 мм, а также вблизи характерных точек (поворотов, пересечений, вводов в здания и сооружения и т.п.).
7.3 Сети, прокладываемые в одной траншее или на одной линии опор, допускается изображать одной линией, указывая виды сетей на полке линии-выноски.
7.4 Сети, прокладываемые в коммуникационных сооружениях, в пределах этих сооружений графически не указывают. Для указания вида и количества сетей приводят буквенно-цифровые обозначения на полках линии-выноски, проведенной от оси сооружения.
7.5 В случаях, когда в проекте все внеплощадочные сети проложены под землей, допускается условно изображать их сплошной линией с соответствующим пояснением.
7.6 Трассу высоковольтной линии электропередачи (ВЛ), резервную или перспективную, изображают тонкой штриховой линией. Границу коридора ВЛ изображают сплошной тонкой линией.
7.7 При большой насыщенности сводного плана сетей инженерно-технического обеспечения условные обозначения сетей допускается дополнять цветами согласно таблице 7.
Наименование сети | Цвет | Образец цвета |
1 Водоснабжение (всех видов) | Синий | |
2 Канализация | Коричневый | |
3 Водосток и дренаж | Коричневый светлый | |
4 Теплосеть | Зеленый | |
5 Паропровод | Зеленый светлый | |
6 Сжатый воздух | Голубой | |
7 Газопровод | Желтый темный | |
8 Электроснабжение | Красный | |
9 Сети (кабели) связи | Фиолетовый | |
10 Коллектор для подземных коммуникаций | Оранжевый | |
8 Условные графические обозначения водоотводных сооружений
Условные графические обозначения водоотводных сооружений выполняют в соответствии с таблицей 8.
Таблица 8
Наименование | Обозначение |
1 Лоток: | |
а) неукрепленный | |
б) укрепленный | |
в) междушпальный | |
2 Канал, канава, кювет: | |
а) неукрепленные | |
б) укрепленные | |
3 Быстроток, перепад | |
4 Дюкер Примечание - Для примера дюкер показан на сети канализации. | |
5 Водоприемный колодец (дождеприемная решетка - щелевой сток) | |
6 Труба водопропускная | |
7 Дренажная сеть | |
9 Условные графические обозначения элементов плана организации рельефа
Условные графические обозначения элементов плана организации рельефа выполняют в соответствии с таблицей 9.
Таблица 9
Наименование | Обозначение | Примечание |
1 Элемент плана земляных масс | | Знак "плюс" (+) обозначает насыпь, "минус" (-) - выемку |
2 Точка перелома и промежуточная точка продольного профиля автомобильных дорог и водоотводных сооружений | | Вместо многоточия указывают отметку точки |
3 Направление проектного уклона рельефа | |
4 Горизонтали проектные | | Проектные горизонтали указывают сплошной тонкой линией толщиной s/3. Проектные горизонтали с отметками, кратными 0,50 м, указывают сплошной тонкой линией толщиной 2/3 s. |
5 Уклоноуказатель (автомобильных дорог, водоотводных сооружений и т.п.) | | Вместо многоточия в верхней части проставляют величину уклона в промилле, в нижней - длину участка в метрах |
6 Точка проектного рельефа | | Вместо многоточия указывают отметку точки |
10 Условные графические обозначения элементов озеленения
Условные графические обозначения элементов озеленения выполняют в соответствии с таблицей 10.
Наименование | Обозначение | Примечание |
1 Дерево | | |
2 Кустарник: | | |
а) обычный (групповой посадки) | | Обозначения растений одного вида могут быть соединены тонкой линией |
б) вьющийся (лианы) | | |
в) в живой изгороди (стриженый) | |
3 Цветник | |
4 Газон | | На чертежах, выполняемых с цветными условными обозначениями, газон обозначают заливкой светло-зеленым цветом |
| Условные знаки для топографических планов масштабов 1:5000, 1:2000, 1:1000, 1:500 (утверждены 25 ноября 1986 г. Главным управлением геодезии и картографии при Совете министров СССР) |
УДК 625:003:006.354 | |
Ключевые слова: условные графические обозначения и изображения, чертежи генеральных планов предприятий, жилищно-гражданских объектов, сооружений транспорта |