Главная // Актуальные документы // ГОСТ (Государственный стандарт)СПРАВКА
Источник публикации
М.: ИПК Издательство стандартов, 2003
Примечание к документу
Документ утратил силу с 01.01.2021 в связи с изданием
Приказа Росстандарта от 18.08.2020 N 500-ст. Взамен введен в действие
ГОСТ 21.204-2020.
Документ включен в
Перечень документов в области стандартизации, в результате применения которых на добровольной основе обеспечивается соблюдение требований Федерального
закона от 30.12.2009 N 384-ФЗ "Технический регламент о безопасности зданий и сооружений" (
Приказ Росстандарта от 02.04.2020 N 687).
Документ включен в
Перечень документов в области стандартизации, в результате применения которых на добровольной основе обеспечивается соблюдение требований Федерального
закона от 30.12.2009 N 384-ФЗ "Технический регламент о безопасности зданий и сооружений" (
Приказ Росстандарта от 17.04.2019 N 831).
Документ включен в
Перечень документов в области стандартизации, в результате применения которых на добровольной основе обеспечивается соблюдение требований Федерального
закона от 30.12.2009 N 384-ФЗ "Технический регламент о безопасности зданий и сооружений" (
Приказ Росстандарта от 30.03.2015 N 365).
Документ включен в
Перечень национальных стандартов, в результате применения которых на добровольной основе обеспечивается соблюдение требований Федерального
закона от 30.12.2009 N 384-ФЗ "Технический регламент о безопасности зданий и сооружений" (
Приказ Ростехрегулирования от 01.06.2010 N 2079).
С 1 июля 2003 года до вступления в силу технических регламентов акты федеральных органов исполнительной власти в сфере технического регулирования носят рекомендательный характер и подлежат обязательному исполнению только в части, соответствующей целям, указанным в
пункте 1 статьи 46 Федерального закона от 27.12.2002 N 184-ФЗ.
Документ
введен в действие с 01.09.1994.
Название документа
"ГОСТ 21.204-93. Межгосударственный стандарт. Система проектной документации для строительства. Условные графические обозначения и изображения элементов генеральных планов и сооружений транспорта"
(введен в действие Постановлением Госстроя России от 05.04.1994 N 18-27)
"ГОСТ 21.204-93. Межгосударственный стандарт. Система проектной документации для строительства. Условные графические обозначения и изображения элементов генеральных планов и сооружений транспорта"
(введен в действие Постановлением Госстроя России от 05.04.1994 N 18-27)
от 5 апреля 1994 г. N 18-27
МЕЖГОСУДАРСТВЕННЫЙ СТАНДАРТ
СИСТЕМА ПРОЕКТНОЙ ДОКУМЕНТАЦИИ ДЛЯ СТРОИТЕЛЬСТВА
УСЛОВНЫЕ ГРАФИЧЕСКИЕ ОБОЗНАЧЕНИЯ И ИЗОБРАЖЕНИЯ
ЭЛЕМЕНТОВ ГЕНЕРАЛЬНЫХ ПЛАНОВ И СООРУЖЕНИЙ ТРАНСПОРТА
System of building design documents. Graphical symbols
and signs of elements of general layouts and transport
ГОСТ 21.204-93
Дата введения
1 сентября 1994 года
Предисловие
1 РАЗРАБОТАН Центральным научно-исследовательским и проектно-экспериментальным институтом по методологии, организации, экономике и автоматизации проектирования (ЦНИИпроект), проектным институтом N 2 (ПИ-2), проектным и научно-исследовательским институтом промышленного транспорта (АО "ПромтрансНИИпроект"), государственным институтом проектирования городов Российской Федерации (Гипрогор)
ВНЕСЕН Госстроем России
2 ПРИНЯТ Межгосударственной научно-технической комиссией по стандартизации и техническому нормированию в строительстве 10 ноября 1993 г.
За принятие проголосовали:
Наименование государства | Наименование органа государственного управления строительством |
Азербайджанская Республика | Госстрой Азербайджанской Республики |
Республика Армения | Госупрархитектуры Республики Армения |
Республика Беларусь | Госстрой Республики Беларусь |
Республика Казахстан | Минстрой Республики Казахстан |
Киргизская Республика | Госстрой Киргизской Республики |
Российская Федерация | Госстрой России |
Республика Таджикистан | Госстрой Республики Таджикистан |
Украина | Минстройархитектуры Украины |
3 ВВЕДЕН в действие с 1 сентября 1994 г. в качестве государственного стандарта Российской Федерации Постановлением Госстроя России от 5 апреля 1994 г. N 18-27
5 ПЕРЕИЗДАНИЕ. Октябрь 2003 г.
Настоящий стандарт устанавливает основные условные графические обозначения и изображения, применяемые на чертежах генеральных планов предприятий, сооружений (в т.ч. сооружений транспорта) и жилищно-гражданских объектов различного назначения.
В настоящем стандарте использованы ссылки на следующие стандарты:
ГОСТ 2.749-84 Единая система конструкторской документации. Элементы и устройства железнодорожной сигнализации, централизации и блокировки
3.1 Проектируемые здания, сооружения, инженерные сети, транспортные устройства, элементы озеленения и благоустройства (далее - элементы генеральных планов и сооружений транспорта) изображают на чертежах с применением условных графических обозначений и упрощенных изображений, установленных настоящим стандартом. Существующие элементы генеральных планов и сооружений транспорта, а также используемые на чертежах условные сокращенные наименования материала покрытий, дорог, отмосток, тротуаров и т.п. выполняют в соответствии с "Условными знаками для топографических планов масштабов 1:5000, 1:1000, 1:500"
[1].
3.2 Изображения проектируемых наземных и надземных зданий, сооружений, инженерных сетей и транспортных устройств выполняют сплошной толстой основной линией, подземных - штриховой толстой линией по
ГОСТ 2.303.
Границу изменения покрытия наносят пунктирной линией, по обе стороны которой указывают сокращенное наименование материала покрытия.
3.3 Элементы генеральных планов и сооружений транспорта, подлежащие разборке или сносу, изображают в соответствии с рисунком 1.
Рисунок 1
Здания и сооружения, подлежащие реконструкции, изображают в соответствии с рисунком 2.
Рисунок 2
3.4 Условные графические обозначения и изображения выполняют в масштабе чертежа с учетом рекомендуемых размеров, приведенных в
таблицах 1 -
8 в миллиметрах.
3.5 Условные графические обозначения проектируемых устройств железнодорожной сигнализации, централизации и блокировки принимают по
ГОСТ 2.749.
3.6 Примененные условные графические обозначения и изображения, не вошедшие в настоящий стандарт, следует пояснять на чертежах.
4. УСЛОВНЫЕ ГРАФИЧЕСКИЕ ОБОЗНАЧЕНИЯ ГРАНИЦ ТЕРРИТОРИЙ
Условные графические обозначения границ территорий выполняют в соответствии с таблицей 1.
Наименование | Обозначение |
1 Граница землепользования (землевладения) | |
2 Граница отвода земель для железных и автомобильных дорог | |
3 Условная граница территории проектируемого предприятия, сооружения, жилищно-гражданского объекта | |
4 "Красная" линия | |
5 Граница регулирования застройки | |
6 Граница зоны санитарной охраны | |
5. УСЛОВНЫЕ ГРАФИЧЕСКИЕ ОБОЗНАЧЕНИЯ И
ИЗОБРАЖЕНИЯ ЗДАНИЙ И СООРУЖЕНИЙ
5.1 Основные условные графические обозначения и изображения проектируемых зданий и сооружений выполняют в соответствии с таблицей 2.
Таблица 2
Наименование | Обозначение и изображение |
| |
а) наземное | |
б) подземное | |
в) нависающая часть здания | |
| |
3 Проезд, проход в уровне первого этажа здания (сооружения) | |
| |
5 Вышка, мачта | |
6 Эстакада крановая | |
7 Высокая платформа (рампа) при здании (сооружении) | |
8 Платформа (с пандусом и лестницей) | |
9 Стенка подпорная | |
10 Контрбанкет, контрфорс | |
11 Берегоукрепление, оврагоукрепление | |
Примечание - Вместо многоточия проставляют наименование материала укрепления. |
12 Откос: | |
а) насыпь | |
б) выемка | |
Примечания 1 Штриховку откоса при значительной протяженности показывают участками. 2 Вместо многоточия проставляют наименование материала укрепления и крутизну откоса |
13 Ограждение территории с воротами | |
14 Площадка, дорожка, тротуар: | |
а) без покрытия | |
б) с булыжным покрытием | |
в) с плиточным покрытием | |
г) с оборудованием | |
Примечания 1 В случае применения других материалов покрытия используют графическое изображение 14а, дополняя его полным или сокращенным наименованием материала (согласно 3.1), которое указывают на полке линии-выноски. 2 В условном изображении 14г для примера показан однобалочный мостовой кран на площадке без покрытия. |
5.2 Условные графические изображения многосекционных жилых зданий на чертежах в масштабе 1:500 и 1:1000 выполняют, разбивая их на секции и указывая входы.
5.3 Внутреннюю сторону линии контура условного графического изображения здания и сооружения совмещают с координационными осями.
5.4 При выполнении упрощенных изображений зданий и сооружений, приведенных в
1в, 2, 4 таблицы 2, наличие опор в проектном положении указывают знаком "+". При этом количество опор, ворот и дверей должно соответствовать фактическим данным.
6. УСЛОВНЫЕ ГРАФИЧЕСКИЕ ОБОЗНАЧЕНИЯ И ИЗОБРАЖЕНИЯ
ТРАНСПОРТНЫХ СООРУЖЕНИЙ И УСТРОЙСТВ
6.1 Условные графические обозначения и изображения проектируемых транспортных сооружений и устройств на планах выполняют в соответствии с таблицей 3.
Таблица 3
Наименование | Обозначение и изображение | Размер, мм |
для М 1:500; М 1:1000 | для М 1:2000; М 1:5000 |
1 Автомобильная дорога | | - | - |
2 Путь железнодорожный колеи 1520 мм | | - | - |
3 Путь железнодорожный узкой колеи | | - | - |
4 Путь трамвайный | | - | - |
5 Путь метрополитена: | | - | - |
а) наземный | | - | - |
б) подземный | | | |
6 Путь скоростного трамвая: | | | |
а) наземный | | - | - |
б) подземный | | | |
7 Путь подвесной дороги: | | - | - |
а) рельсовой | | - | - |
б) канатной | | - | - |
8 Направление движения транспорта | | |
9 Ворота габаритные: | | | |
а) на автомобильной дороге | | | |
б) на железнодорожном пути | | | |
10 Пикет: | | | |
а) железнодорожного пути | | |
б) автомобильной дороги | - | | |
11 Пикет неправильный | | | |
12 Уклоноуказатель на железнодорожном пути | | | |
Примечания 1 Цифры обозначают: отметку головки рельса в точке перелома профиля; уклоны в промилле и соответствующие расстояния в метрах; привязку к пикетам. 2 Знак  наносят в случаях, когда на плане изображено два и более железнодорожных путей для обозначения тех путей, к которым относится уклоноуказатель. |
13 Вершина угла поворота оси трассы железнодорожного пути и автомобильной дороги | | |
14 Начало и конец круговой кривой | | |
15 Начало и конец переходной кривой | | |
16 Указатель километров: | | | |
а) железнодорожных путей | | | |
б) автомобильных дорог | | | |
Примечание - Для существующих железнодорожных путей и автомобильных дорог затушевку указателя километров не выполняют |
17 Группировка основных путей парка | | | |
Примечание - Слева от знака группировки указывают наименование парка, справа в числителе - обозначение и число путей, в знаменателе - наименьшие и наибольшие полезные длины путей. |
18 Парк и группа путей: | | | |
а) парк приема | П | - | - |
б) парк отправления | О | - | - |
в) приемоотправочный парк | ПО | - | - |
г) транзитный парк | ТР | - | - |
д) группировочный парк | ГП | - | - |
е) сортировочный парк | С | - | - |
ж) сортировочно-отправочный парк | СО | - | - |
19 Стрелочный перевод с номером перевода и обозначением центра перевода: | | | |
а) одиночный несимметричный | | | |
б) одиночный симметричный | | | |
в) сдвоенный односторонний | | | |
г) сдвоенный разносторонний | | | |
д) перекрестный | | | |
Примечание - Централизованные стрелочные переводы показывают с заливкой хвостовой части. |
20 Пересечение путей глухое | | - | - |
21 Сплетение путей | | | |
22 Конец рельсового пути: | | | |
а) без упора | | |
б) с упором | | |
23 Сбрасыватель башмака: | | |
а) усовой | | |
б) клиновой | | |
24 Горка сортировочная | | | |
25 Полугорка сортировочная | | | |
26 Круг поворотный | | - | |
27 Весы: | | | |
а) вагонные | - | По типу зданий и сооружений | |
б) автомобильные | По типу зданий и сооружений | - | - |
28 Колонка раздачи ГСМ | | |
29 Кран опробования тормозов | | |
30 Устройство пневмообдувки стрелок | | |
31 Переезд: | | | |
а) с деревянным настилом | - | | |
б) с железобетонным настилом | - | | |
32 Мосты и путепроводы: | | | |
а) на железных дорогах | | | |
б) на автомобильных дорогах | - | | |
33 Путепроводы тоннельного типа: | | | |
а) на железных дорогах | | | |
б) на автомобильных дорогах | - | | |
6.2 Номер и техническую категорию железнодорожного пути указывают в разрыве условного графического изображения линии пути. Главные станционные пути обозначают римскими цифрами, прочие станционные и внутриплощадочные пути - арабскими цифрами.
Размер шрифта для обозначения путей, парков и стрелочных переводов должен быть на один-два номера больше, чем размер шрифта, принятого для размерных чисел на том же чертеже, но не более 5 мм.
Техническую категорию указывают при необходимости римской цифрой в кружке диаметром 10 мм.
6.3 В условных графических обозначениях мостов, путепроводов, путей подвесных дорог расстояния между опорами, размеры опор и др. переменные параметры принимают по фактическим данным.
6.4 Условные графические обозначения и изображения сооружений и устройств на продольных профилях проектируемых железнодорожных путей и автомобильных дорог выполняют в соответствии с таблицей 4.
Таблица 4
Наименование | Обозначение и изображение | Размер, мм |
1 Железнодорожная станция: | | |
а) участковая | | |
б) промежуточная | | |
в) грузовая | | |
г) сортировочная | | |
д) пассажирская | | |
е) промышленная грузовая | | |
ж) промышленная сортировочная | | |
2 Разъезд, обгонный пункт и пост: | | |
а) разъезд | | |
б) обгонный пункт | | |
в) пост | | |
3 Пункт остановочный пассажирский | | |
4 Стрелочный перевод | | |
Примечание - Направление лучей, образующих угол стрелки, должно соответствовать положению стрелочного перевода в плане (лево- и правостороннее), а вершина угла должна быть направлена в сторону остряков. |
| | |
а) неохраняемый | | |
б) охраняемый | | |
в) переустраиваемый | | |
6 Устройство раздельного пункта: | | |
а) основное депо | | |
б) оборотное депо | | |
в) пункт оборота локомотивов | | |
г) пункт смены локомотивных и поездных бригад | | |
д) вагоноремонтное депо | | |
е) пункт технического осмотра | | |
ж) контроль тормозов | | |
| | ИС МЕГАНОРМ: примечание. Нумерация пунктов дана в соответствии с официальным текстом документа. | |
|
и) пункт поездного водоснабжения | | |
7 Пересечение инженерных сетей надземных на высоких опорах: | | |
а) линий электропередачи | | |
б) линий связи и сигнализации | | |
в) трубопроводов различного назначения | | |
8 Пересечение инженерных сетей подземных: | | |
а) трубопроводов различного назначения | | |
б) каналов различного назначения | | |
в) кабелей | | |
Примечание к пунктам 7 и 8 - Слева от выносной линии вместо точек указывают краткое наименование инженерной сети или ее обозначение, а также высоту опоры. Изображение дополняют отметкой уровня. |
9 Канава нагорная или водоотводная | | |
10 Дренаж | | |
11 Сброс воды | | |
Примечание - Направление стрелки соответствует направлению возрастания километража, а ее наклон вверх обозначает сброс воды влево, вниз - сброс воды вправо. |
12 Репер или марка геодезическая | | |
| | |
14 Пикеты неправильные: | | |
а) на новых линиях | | |
б) на вторых путях | | |
Примечание - Цифры на пересечении диагоналей обозначают расстояние между пикетами. |
15 Лоток | | |
| | - |
| | - |
18 Труба водопропускная: | | |
а) круглая | | |
б) прямоугольная | | |
19 Мост, путепровод, виадук и эстакада | | |
20 Путепровод над проектируемой дорогой | | |
21 Мост пешеходный | | |
| | |
В условных графических обозначениях элементов существующих сооружений и устройств, приведенных в
1 -
3, 5, 13 таблицы 4, затушевку не выполняют.
6.5 Размеры изображений, приведенных в
16, 17, 19, 22 таблицы 4, принимают по фактическим размерам проектируемого сооружения. Количество пролетов в изображении моста, путепровода, виадука, эстакады должно соответствовать фактическим данным.
В изображении путепровода, виадука, эстакады, располагаемых на незатопляемых территориях, отметки горизонтов высоких (ГВВ) и меженных (ГМВ) вод не указывают.
7. УСЛОВНЫЕ ГРАФИЧЕСКИЕ ОБОЗНАЧЕНИЯ ИНЖЕНЕРНЫХ СЕТЕЙ
7.1 Условные графические обозначения инженерных сетей выполняют в соответствии с таблицей 5, в которой буквенно-цифровые обозначения приведены в качестве примера и на чертежах должны соответствовать проектным.
Таблица 5
Наименование | Обозначение | Размер, мм |
1 Инженерная сеть, прокладываемая в коммуникационных сооружениях: | | |
а) на эстакаде | | |
б) в галерее | | |
в) в тоннеле, проходном канале | | |
г) в непроходном канале | | |
д) в кабельном канале | | |
2 Инженерная сеть, прокладываемая в траншее | | |
3 Инженерная сеть наземная: | | |
а) на высоких опорах | | |
б) на низких опорах | | |
в) на опорах по покрытию здания (сооружения) | | |
г) на опорах по стене здания (сооружения) | | |
7.2 Трубопроводную, кабельную или воздушную сеть наносят одной линией, соответствующей оси (трассе) сети, и сопровождают установленными буквенно-цифровыми обозначениями.
Буквенно-цифровые обозначения сети наносят в разрывах линии сети с интервалами не более 100 мм, а также вблизи характерных точек (поворотов, пересечений, вводов в здания и сооружения и т.д.).
7.3 Сети, прокладываемые в одной траншее или на одной линии опор, допускается изображать одной линией, указывая виды сетей на полке линии-выноски.
7.4 Сети, прокладываемые в коммуникационных сооружениях, в пределах этих сооружений графически не указывают. Для указания вида и количества сетей приводят буквенно-цифровые обозначения на полке линии-выноски, проведенной от сети сооружения.
7.5 В случаях, когда в проекте все внеплощадочные сети проложены под землей, допускается условно изображать их сплошной линией с соответствующим пояснением.
7.6 Трассу высоковольтной линии электропередачи (ВЛ), резервную или перспективную, изображают тонкой штриховой линией. Границу коридора ВЛ изображают сплошной тонкой линией.
8. УСЛОВНЫЕ ГРАФИЧЕСКИЕ ОБОЗНАЧЕНИЯ
ВОДООТВОДНЫХ СООРУЖЕНИЙ
Условные графические обозначения водоотводных сооружений выполняют в соответствии с таблицей 6.
Таблица 6
Наименование | Обозначение |
1 Лоток: | |
а) неукрепленный | |
б) укрепленный | |
в) междушпальный | |
2 Канал, канава, кювет: | |
а) неукрепленные | |
б) укрепленные | |
3 Быстроток, перепад | |
4 Дюкер | |
Примечание - Для примера дюкер показан на сети канализации. |
5 Водоприемный колодец (дождеприемная решетка - щелевой сток) | |
6 Труба водопропускная | |
7 Дренажная сеть | |
9. УСЛОВНЫЕ ГРАФИЧЕСКИЕ ОБОЗНАЧЕНИЯ
ЭЛЕМЕНТОВ ПЛАНА ОРГАНИЗАЦИИ РЕЛЬЕФА
Условные графические обозначения элементов плана организации рельефа выполняют в соответствии с таблицей 7.
Таблица 7
Наименование | Обозначение |
1 Элемент плана земляных масс | |
Примечание - Знак плюс (+) обозначает насыпь, минус (-) - выемку. |
2 Точка перелома и промежуточная продольного профиля автомобильных дорог и водоотводных сооружений | |
3 Направление проектного уклона рельефа | |
4 Горизонтали проектные | |
5 Уклоноуказатель (автомобильных дорог, водоотводных сооружений и др.) | |
Примечание - Вместо многоточия в верхней части проставляют величину уклона в промилле, в нижней - длину участка в метрах. |
6 Точка проектного рельефа | |
10. УСЛОВНЫЕ ГРАФИЧЕСКИЕ ОБОЗНАЧЕНИЯ
ЭЛЕМЕНТОВ ОЗЕЛЕНЕНИЯ
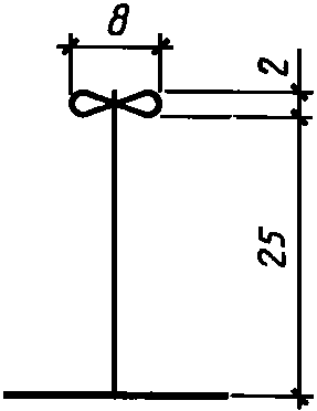
Условные графические обозначения элементов озеленения выполняют в соответствии с таблицей 8.
Наименование | Обозначение |
1 Дерево | |
2 Кустарник: | |
а) обычный | |
б) вьющийся (лианы) | |
в) в живой изгороди (стриженый) | |
3 Цветник | |
4 Газон | |
(справочное)
БИБЛИОГРАФИЯ
| "Условные знаки для топографических планов масштабов 1:5000, 1:2000, 1:1000, 1:500", утвержденные в 1986 г. Главным управлением геодезии и картографии при Совете Министров СССР |