Главная // Актуальные документы // ГОСТ (Государственный стандарт)
СПРАВКА
Источник публикации
М.: ФГБУ "РСТ", 2022
Примечание к документу
Текст данного документа приведен с учетом поправки, опубликованной в "ИУС", N 6, 2022.

Документ введен в действие с 01.09.2022.

Взамен ГОСТ 19804-2012.
Название документа
"ГОСТ 19804-2021. Межгосударственный стандарт. Сваи железобетонные заводского изготовления. Общие технические условия"
(введен в действие Приказом Росстандарта от 16.12.2021 N 1797-ст)


"ГОСТ 19804-2021. Межгосударственный стандарт. Сваи железобетонные заводского изготовления. Общие технические условия"
(введен в действие Приказом Росстандарта от 16.12.2021 N 1797-ст)


Содержание


Введен в действие
Приказом Федерального
агентства по техническому
регулированию и метрологии
от 16 декабря 2021 г. N 1797-ст
МЕЖГОСУДАРСТВЕННЫЙ СТАНДАРТ
СВАИ ЖЕЛЕЗОБЕТОННЫЕ ЗАВОДСКОГО ИЗГОТОВЛЕНИЯ
ОБЩИЕ ТЕХНИЧЕСКИЕ УСЛОВИЯ
Prefabricated reinforced concrete piles.
General specifications
ГОСТ 19804-2021
МКС 91.080.40
Дата введения
1 сентября 2022 года
Предисловие
Цели, основные принципы и общие правила проведения работ по межгосударственной стандартизации установлены ГОСТ 1.0 "Межгосударственная система стандартизации. Основные положения" и ГОСТ 1.2 "Межгосударственная система стандартизации. Стандарты межгосударственные, правила и рекомендации по межгосударственной стандартизации. Правила разработки, принятия, обновления и отмены"
Сведения о стандарте
1 РАЗРАБОТАН Акционерным обществом "Научно-исследовательский центр "Строительство" (АО "НИЦ "Строительство") - Научно-исследовательским, проектно-изыскательским и конструкторско-технологическим институтом оснований и подземных сооружений им. Н.М. Герсеванова (НИИОСП им. Н.М. Герсеванова)
2 ВНЕСЕН Техническим комитетом по стандартизации ТК 465 "Строительство"
3 ПРИНЯТ Межгосударственным советом по стандартизации, метрологии и сертификации (протокол от 9 декабря 2021 г. N 60)
За принятие проголосовали:
Краткое наименование страны по МК (ИСО 3166) 004-97
Код страны по МК (ИСО 3166) 004-97
Сокращенное наименование национального органа по стандартизации
Армения
AM
ЗАО "Национальный орган по стандартизации и метрологии" Республики Армения
Казахстан
KZ
Госстандарт Республики Казахстан
Киргизия
KG
Кыргызстандарт
Россия
RU
Росстандарт
Узбекистан
UZ
Узстандарт
4 Приказом Федерального агентства по техническому регулированию и метрологии от 16 декабря 2021 г. N 1797-ст межгосударственный стандарт ГОСТ 19804-2021 введен в действие в качестве национального стандарта Российской Федерации с 1 сентября 2022 г.
5 ВЗАМЕН ГОСТ 19804-2012
Информация о введении в действие (прекращении действия) настоящего стандарта и изменений к нему на территории указанных выше государств публикуется в указателях национальных стандартов, издаваемых в этих государствах, а также в сети Интернет на сайтах соответствующих национальных органов по стандартизации.
В случае пересмотра, изменения или отмены настоящего стандарта соответствующая информация будет опубликована на официальном интернет-сайте Межгосударственного совета по стандартизации, метрологии и сертификации в каталоге "Межгосударственные стандарты"
1 Область применения
Настоящий стандарт распространяется на железобетонные сваи заводского изготовления и устанавливает общие требования для изготовления железобетонных свай.
2 Нормативные ссылки
В настоящем стандарте использованы нормативные ссылки на следующие межгосударственные стандарты:
ГОСТ 5781 Сталь горячекатаная для армирования железобетонных конструкций. Технические условия
ГОСТ 6727 Проволока из низкоуглеродистой стали холоднотянутая для армирования железобетонных конструкций. Технические условия
ГОСТ 7348 Проволока из углеродистой стали для армирования предварительно напряженных железобетонных конструкций. Технические условия
ГОСТ 8267 Щебень и гравий из плотных горных пород для строительных работ. Технические условия
ГОСТ 8829 Изделия строительные железобетонные и бетонные заводского изготовления. Методы испытаний нагружением. Правила оценки прочности, жесткости и трещиностойкости
ГОСТ 10060 Бетоны. Методы определения морозостойкости
ГОСТ 10180 Бетоны. Методы определения прочности по контрольным образцам
ГОСТ 10922 <*> Арматурные и закладные изделия, их сварные, вязаные и механические соединения для железобетонных конструкций. Общие технические условия
--------------------------------
<*> В Российской Федерации действует ГОСТ Р 57997-2017 "Арматурные и закладные изделия сварные, соединения сварные арматуры и закладных изделий железобетонных конструкций. Общие технические условия".
ГОСТ 12730.0 Бетоны. Общие требования к методам определения плотности, влажности, водопоглощения, пористости и водонепроницаемости
ГОСТ 12730.5 Бетоны. Методы определения водонепроницаемости
ГОСТ 13015 Изделия бетонные и железобетонные для строительства. Общие технические требования. Правила приемки, маркировки, транспортирования и хранения
ГОСТ 13840 Канаты стальные арматурные 1x7. Технические условия
ГОСТ 17624 Бетоны. Ультразвуковой метод определения прочности
ГОСТ 17625 Конструкции и изделия железобетонные. Радиационный метод определения толщины защитного слоя бетона, размеров и расположения арматуры
ГОСТ 18105 Бетоны. Правила контроля и оценки прочности
ГОСТ 22362 Конструкции железобетонные. Методы измерения силы натяжения арматуры
ГОСТ 22690 Бетоны. Определение прочности механическими методами неразрушающего контроля
ГОСТ 22904 Конструкции железобетонные. Магнитный метод определения толщины защитного слоя бетона и расположения арматуры
ГОСТ 23009 Конструкции и изделия бетонные и железобетонные сборные. Условные обозначения (марки)
ГОСТ 26134 Бетоны. Ультразвуковой метод определения морозостойкости
ГОСТ 26433.0 <*> Система обеспечения точности геометрических параметров в строительстве. Правила выполнения измерений. Общие положения
--------------------------------
<*> В Российской Федерации действует ГОСТ Р 58941-2020 "Система обеспечения точности геометрических параметров в строительстве. Правила выполнения измерений. Общие положения".
ГОСТ 26433.1 <**> Система обеспечения точности геометрических параметров в строительстве. Правила выполнения измерений. Элементы заводского изготовления
--------------------------------
<**> В Российской Федерации действует ГОСТ Р 58939-2020 "Система обеспечения точности геометрических параметров в строительстве. Правила выполнения измерений. Элементы заводского изготовления".
ГОСТ 26633 Бетоны тяжелые и мелкозернистые. Технические условия
ГОСТ 34028 Прокат арматурный для железобетонных конструкций. Технические условия
Примечание - При пользовании настоящим стандартом целесообразно проверить действие ссылочных стандартов и классификаторов на официальном интернет-сайте Межгосударственного совета по стандартизации, метрологии и сертификации (www.easc.by) или по указателям национальных стандартов, издаваемым в государствах, указанных в предисловии, или на официальных сайтах соответствующих национальных органов по стандартизации. Если на документ дана недатированная ссылка, то следует использовать документ, действующий на текущий момент, с учетом всех внесенных в него изменений. Если заменен ссылочный документ, на который дана датированная ссылка, то следует использовать указанную версию этого документа. Если после принятия настоящего стандарта в ссылочный документ, на который дана датированная ссылка, внесено изменение, затрагивающее положение, на которое дана ссылка, то это положение применяется без учета данного изменения. Если ссылочный документ отменен без замены, то положение, в котором дана ссылка на него, применяется в части, не затрагивающей эту ссылку.
3 Термины и определения
В настоящем стандарте применен следующий термин с соответствующим определением:
3.1 железобетонная свая заводского изготовления: Конструкция, изготовляемая в заводских условиях из тяжелого или мелкозернистого бетона, предназначенная для погружения в грунт и передачи нагрузки от здания или сооружения на грунтовое основание.
4 Классификация и условные обозначения
4.1 Сваи классифицируются по следующим признакам:
- по типу сечения;
- по типу армирования;
- цельные или составные;
- с наконечником и без него.
4.2 По типу сечения сваи подразделяют на квадратные сплошного сечения, на квадратного сечения с полостью, на полые круглого сечения.
4.3 По типу армирования сваи подразделяют на сваи с ненапрягаемой арматурой и с предварительным напряжением арматуры, с поперечным армированием и без него.
4.4 Сваи подразделяют на следующие типы:
С - квадратного сплошного сечения, цельные и составные;
СП - квадратного сечения с полостью, цельные;
СК - полые круглого сечения диаметром 400 - 800 мм, цельные и составные;
СО - сваи-оболочки диаметром 1000 - 3000 мм, цельные и составные;
СЦ - квадратного сплошного сечения, цельные, без поперечного армирования ствола, с напрягаемой арматурой.
4.5 Сваи обозначают марками в соответствии с требованиями ГОСТ 23009. Марка сваи состоит из буквенно-цифровых групп, разделенных дефисами.
В первой группе указывают обозначение типа сваи, ее длину в дециметрах и размер стороны (диаметр) поперечного сечения в сантиметрах.
Во второй группе указывают: для свай с предварительно напряженной арматурой - класс напрягаемой арматурной стали; для сваи с ненапрягаемой арматурой - порядковый номер варианта армирования в соответствии с рабочими чертежами.
В третьей группе указывают:
- для сваи типа СК или СО - наличие наконечника, обозначаемое строчной буквой "н";
- для составной сваи - тип стыка, обозначаемый строчными буквами: "б" - болтовой стык, "св" - сварной стык, "с" - стаканный стык;
- для свай всех типов (при необходимости) - дополнительные характеристики, отражающие особые условия применения или конструктивные особенности.
Пример условного обозначения (марки) сваи типа С длиной 6000 мм, размером стороны поперечного сечения 350 мм, с напрягаемой арматурной сталью класса А800 (А-V):
С60.35-А800
То же, типа СО длиной 14000 мм, диаметром 1000 мм, третьего варианта армирования, с болтовыми стыками:
СО140.100-3-б
Примечание - Сваи, изготовляемые в соответствии с настоящим стандартом по вновь разрабатываемым сериям и технической документации, классифицируются и им присваиваются условные обозначения (марки) в соответствии с настоящим стандартом и параметрами, принятыми в этой документации.
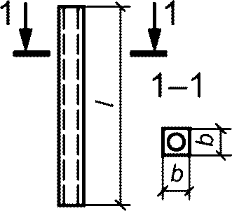
5 Форма и основные размеры
Форма и основные размеры свай приведены в таблице 1.
Таблица 1
Тип и характеристика сваи
Эскиз сваи
Основные размеры сваи, мм
b или d
l
Тип С. Свая квадратного сплошного сечения цельная с ненапрягаемой арматурой
300
3000 - 12000
350
4000 - 16000
400
4000 - 18000
Тип С. Свая квадратного сплошного сечения цельная с напрягаемой арматурой
300
3000 - 15000
350
8000 - 20000
400
13000 - 20000
Тип С. Свая квадратного сплошного сечения составная с ненапрягаемой арматурой
300
14000 - 24000
350
14000 - 28000
400
Тип СП. Свая квадратного сплошного сечения цельная с полостью с ненапрягаемой и напрягаемой арматурой
300
3000 - 12000
400
Тип СК. Свая полая круглого сечения цельная с ненапрягаемой арматурой
400
4000 - 18000
500
600
800
4000 - 12000
Тип СО. Свая-оболочка цельная с ненапрягаемой арматурой
1000
4000 - 12000
1200
1600
Тип СК. Свая полая круглого сечения составная с ненапрягаемой арматурой
400
12000 - 36000 <*>
500
600
800
12000 - 24000 <*>
Тип СО. Свая-оболочка составная с ненапрягаемой арматурой
1000
12000 - 24000 <*>
1200
1600
Тип СК. Свая полая круглого сечения составная с напрягаемой и ненапрягаемой арматурой
400
8000 - 24000 <*>
600
Тип СО. Свая-оболочка составная с напрягаемой и ненапрягаемой арматурой
1200
1200 - 24000 <*>
1600
8000 - 24000 <*>
3000
12000 <*>
Тип СЦ. Свая квадратного сплошного сечения цельная без поперечного армирования ствола с напрягаемой арматурой
300
3000 - 9000
<*> В таблице приведена длина составных свай и свай-оболочек типа СК и СО, состоящих из двух секций. Допускается изготовление свай этих типов из трех и более секций.
Примечания
1 Сваи типов СК и СО изготовляют с наконечником и без него.
2 Допускается изготовлять цельные сваи типа С без острия.
3 Сваи квадратного сплошного сечения допускается изготавливать с технологическим уклоном двух противоположных граней не более 1:15 без изменения площади поперечного сечения и без превышения требований таблицы 3. При этом сваи длиной более 12000 мм следует изготовлять только в разъемных формах.
4 Составные сваи сплошного квадратного сечения состоят из двух элементов. Допускается изготовление составных забивных свай сплошного квадратного сечения из трех и более секций по вновь разрабатываемым сериям и технической документации в соответствии с требованиями настоящего стандарта.
5 Допускается изготовление свай в соответствии с требованиями настоящего стандарта иных форм, размеров и армирования по вновь разрабатываемым сериям и технической документации.
6 Технические требования
6.1 Сваи следует изготовлять в соответствии с требованиями настоящего стандарта, нормативных документов на конкретные виды изделий, технической и технологической документации, утвержденной предприятием-изготовителем.
6.2 Сваи должны соответствовать установленным при проектировании требованиям по трещиностойкости и выдерживать контрольные испытания, указанные в технической документации и рабочих чертежах на эти сваи:
- по показателям фактической прочности бетона в проектном возрасте, передаточной и отпускной (см. 6.3, 6.5, 7.1, 7.2, 8.1);
- по морозостойкости и водонепроницаемости бетона (см. 7.4, 8.4, 8.5);
- к маркам сталей для арматурных и закладных изделий, в том числе для монтажных петель (см. 6.6);
- по защите от коррозии (см. 6.10, 8.7, 8.7.1).
6.3 Сваи следует изготовлять из тяжелого или мелкозернистого бетона по ГОСТ 26633 класса по прочности на сжатие, указанного в технической документации и рабочих чертежах на эти сваи, но не ниже B15.
При опирании свай на скальные и крупнообломочные грунты класс бетона по прочности на сжатие следует принимать не ниже B25 независимо от длины сваи.
При применении бетонов класса по прочности на сжатие выше B40 необходимо изготовить и испытать (включая пробное погружение) опытные образцы свай не менее 3 шт.
6.4 В качестве крупного заполнителя для бетона свай должен применяться фракционированный щебень из естественного камня или гравия, при этом размер фракции должен быть не более 40 мм, а для пустотных свай и свай-оболочек не более 20 мм. Прочность щебня должна соответствовать ГОСТ 8267.
6.5 Передачу усилий обжатия на бетон (отпуск натяжения арматуры) в сваях с напрягаемой арматурой следует производить после достижения бетоном сваи требуемой передаточной прочности.
Нормируемая передаточная прочность бетона должна быть не менее 70% прочности, соответствующей классу бетона сваи по прочности на сжатие.
6.6 Для армирования свай следует применять арматурную сталь следующих видов и классов:
- в качестве ненапрягаемой продольной арматуры <*> - стержневую горячекатаную арматуру периодического профиля класса А400 (А-III) по ГОСТ 5781 марки 25Г2С, стержневую арматуру периодического профиля классов А400, А500 и А600 (способы производства 1 и 2) по ГОСТ 34028;
- в качестве напрягаемой продольной арматуры - стержневую арматуру периодического профиля классов А600 и А800 (способы производства 1 и 2) по ГОСТ 34028, горячекатаную стержневую арматуру классов А600 (А-IV) и А800 (А-V) по ГОСТ 5781; стальные арматурные канаты 1x7 по ГОСТ 13840; высокопрочную проволоку периодического профиля классов Вр1200 - Вр1500 по ГОСТ 7348;
- в качестве конструктивной арматуры (спирали, сетки, хомуты) - холоднотянутую проволоку из низкоуглеродистой стали класса Вр-I по ГОСТ 6727; холоднодеформированную арматуру класса В500С; стержневую арматуру периодического профиля А500 (способы производства 3 и 4) по ГОСТ 34028, стержневую горячекатаную гладкую арматуру класса А240 (А-I) по ГОСТ 5781; стержневую гладкую арматуру класса А240 (способ производства 1) по ГОСТ 34028.
--------------------------------
<*> Для армирования свай допускается в качестве ненапрягаемой арматуры применение арматуры классов А500С и В500С, выпускаемой в Российской Федерации по ГОСТ Р 52544-2006 "Прокат арматурный свариваемый периодического профиля классов А500С и В500С для армирования железобетонных конструкций. Технические условия".
Допускается в качестве ненапрягаемой продольной арматуры применять арматурную сталь класса А240 (А-I) по ГОСТ 5781.
6.7 Значения действительных отклонений напряжений в напрягаемой арматуре не должны превышать предельных, указанных в рабочих чертежах на эти сваи.
6.8 Форма и размеры арматурных и закладных изделий и их положение в сваях должны соответствовать указанным в технической документации и рабочих чертежах на эти сваи.
6.9 Сварные арматурные и закладные изделия должны соответствовать требованиям ГОСТ 10922 (при классах точности свай 5 - 8) и настоящего стандарта.
6.10 На поверхности свай обнажение рабочей и конструктивной арматуры не допускается. Концы напрягаемой арматуры после отпуска натяжения должны быть срезаны заподлицо с торцевой поверхностью сваи.
Значения действительных отклонений толщины защитного слоя бетона до продольной арматуры не должны превышать предельных, мм:
плюс 15, минус 5 - в сваях сплошного квадратного сечения с ненапрягаемой арматурой;
плюс 10, минус 5 - то же, в сваях с напрягаемой арматурой на концевых участках;
плюс 15, минус 5 - то же, в сваях с напрягаемой арматурой в средней части;
+/- 5 - в сваях квадратного сечения с полостью и в сваях-оболочках на концевых участках;
плюс 10, минус 5 - то же, в средней части.
6.11 Требования к качеству бетонных поверхностей и внешнему виду свай (в том числе по ширине раскрытия поверхностных технологических трещин) - по ГОСТ 13015. При этом размеры раковин, местных впадин на бетонной поверхности и околов бетона ребер свай не должны превышать, мм:
- диаметр или наибольший размер раковины .......................... 20;
- глубина впадины ................................................. 10;
- глубина окола бетона ребра ...................................... 20;
- суммарная длина околов бетона на 1 м ребра,
за исключением открытой поверхности трапецеидальных
свай (выравниваемой в процессе вибрирования) ................... 100.
Суммарная длина околов бетона на 1 м ребра открытой поверхности трапецеидальных свай не регламентируется.
Высота наплывов на торцевой поверхности свай должна быть не более 5 мм.
6.12 Значения действительных отклонений от линейных размеров арматурных изделий и от размеров, определяющих положение этих изделий в сваях, не должны превышать предельных, указанных в таблице 2.
Таблица 2
Наименование геометрического параметра
Предельное отклонение, мм
Сваи с ненапрягаемой арматурой
Расстояние от крайнего поперечного стержня (спирали, сетки, хомута) до конца каркаса
+/- 10
Шаг спирали, сеток, хомутов при значении шага, мм:
до 50 включ.
+/- 10
св. 50 до 100 включ.
+/- 15
" 100
+/- 25
Сваи с напрягаемой арматурой
Расстояние от крайней сетки (хомута, витка спирали) до торца сваи
+/- 10
Шаг спирали, сеток хомутов при значении шага, мм:
до 50 включ.
+/- 10
св. 50 до 100 включ.
+/- 25
" 100
+/- 50
6.13 Значения действительных отклонений геометрических параметров свай не должны превышать предельных, указанных в таблице 3.
Таблица 3
Наименование отклонения геометрического параметра сваи
Наименование геометрического параметра сваи
Предельные отклонения, мм
Отклонение от линейного размера
Длина призматической (цилиндрической) части сваи с ненапрягаемой арматурой при длине сваи:
до 8000 включ.
+/- 25
св. 8000 до 16000 включ.
+/- 30
" 16000
+/- 40
То же, свай с напрягаемой арматурой
+/- 50
Размер (наружный диаметр) поперечного сечения сваи, мм:
до 250 включ.
+5, -6
св. 260 до 500 включ.
+20, -8
" 500 " 1000
+25, -10
" 1000 " 1600
+30, -12
" 1600 " 2500
+40, -15
" 2500
+50, -16
Толщина стенки сваи типов СП, СК и СО, мм:
до 120 включ.
+10, -5
св. 120 до 250 включ.
+25, -6
Длина острия или наконечника
+/- 30
Расстояние от центра острия или наконечника до боковой поверхности сваи
15
Расстояние от центра подъемной (монтажной) петли, штыря, втулки и отметки для строповки до концов сваи
50
Отклонение от прямолинейности профиля боковых граней призматической части ствола (направляющих цилиндрической поверхности) сваи на всей длине, мм:
до 8000 включ.
-
+/- 25
св. 8000 до 16000 включ.
-
+/- 30
" 16000
-
+/- 40
Отклонение от перпендикулярности торцевой плоскости:
- в голове сваи и сваи-оболочки
-
0,015 размера стороны (диаметра) поперечного сечения сваи
- в зоне стыка составной сваи сплошного квадратного сечения
-
0,01 размера стороны (диаметра) поперечного сечения сваи
- в зоне стыка составной сваи-оболочки
-
0,005 размера стороны (диаметра) поперечного сечения сваи
6.14 Стыки составных свай и свай-оболочек должны обеспечивать передачу усилий, возникающих при погружении свай в период строительства, и усилий, возникающих во время эксплуатации.
6.15 Стыки составных свай должны быть равнопрочными с телом сваи и иметь надежную защиту от выколов бетона стыка и коррозии металла стыка и сваи.
7 Правила приемки
7.1 Приемка свай - по ГОСТ 13015 и настоящему стандарту. При этом сваи принимают:
- по результатам периодических испытаний - по показателям трещиностойкости свай, морозостойкости, водонепроницаемости и передаточной прочности бетона;
- по результатам приемо-сдаточных испытаний - по показателям отпускной прочности бетона, соответствия арматурных и закладных изделий рабочим чертежам, прочности сварных соединений, точности геометрических параметров, толщины защитного слоя бетона до арматуры, ширины раскрытия технологических трещин, категории бетонной поверхности.
Контролируемые показатели при приемке свай приведены в таблице 4.
Таблица 4
Наименование показателей
Приемо-сдаточные испытания
Периодические испытания
Объем выборки, в шт. и периодичность контроля
Методы контроля
Прочность бетона на сжатие
+
-
100% постоянно
Соответствие рабочим чертежам по геометрическим размерам
+
-
100% постоянно
Внешне-видовые характеристики
+
-
100% постоянно
Трещиностойкость свай
-
+
Не менее 3 шт., не реже одного раза в полгода
Морозостойкость бетона
-
+
Не реже одного раза в год
Водонепроницаемость бетона
-
+
Не реже одного раза в год
Прочность сварных соединений
+
-
100% постоянно
Соответствие диаметра и количества арматурных стержней, канатов или проволок
+
-
100% постоянно
Толщина защитного слоя
+
-
100% постоянно
Натяжение арматуры <*>
+
-
100% постоянно
<*> Для свай с предварительным напряжением арматуры.
Примечание - В настоящей таблице применены следующие условные обозначения:
- "+" - испытания проводятся;
- "-" - испытания не проводятся.
7.2 Периодические испытания свай для контроля их трещиностойкости проводят перед началом массового изготовления свай и в дальнейшем при внесении в них конструктивных изменений и изменений технологии изготовления в соответствии с требованиями ГОСТ 13015.
В процессе серийного производства свай испытания на трещиностойкость проводят не реже одного раза в год.
7.3 Сваи по показателям точности геометрических параметров, толщины защитного слоя бетона до арматуры, категории бетонной поверхности и ширины раскрытия технологических трещин следует принимать по результатам выборочного контроля.
7.4 В документе о качестве свай по ГОСТ 13015 дополнительно должны быть приведены марки бетона по морозостойкости и водонепроницаемости (если эти показатели оговорены в заказе на изготовление свай).
8 Методы контроля
8.1 Прочность бетона сваи определяют по ГОСТ 10180 на серии контрольных образцов, изготовленных из бетонной смеси рабочего состава и хранившихся в условиях, установленных ГОСТ 18105.
При испытании свай методами неразрушающего контроля фактическую, передаточную и отпускную прочность бетона на сжатие следует определять ультразвуковым методом по ГОСТ 17624 или приборами механического действия по ГОСТ 22690, а также другими методами, предусмотренными для испытаний бетона.
8.2 Размеры, отклонения от прямолинейности боковых граней и от перпендикулярности торцевых граней свай, ширину раскрытия поверхностных технологических трещин, размеры раковин, наплывов и околов бетона свай следует проверять методами, установленными ГОСТ 26433.0 и ГОСТ 26433.1.
8.2.1 Положение острия (или наконечника) сваи относительно центра ее поперечного сечения проверяют измерением расстояния между осью острия (наконечника) и двумя стальными пластинами или угольниками, закрепленными струбцинами в нижней прямоугольной части сваи, или при помощи специального кондуктора.
8.3 Испытания свай на трещиностойкость следует проводить нагружением по ГОСТ 8829 или без нагружения (при воздействии только собственного веса сваи) по схемам, установленным стандартами или рабочими чертежами на сваи конкретных типов. Число свай одного типа, отбираемых для испытаний на трещиностойкость, должно быть не менее двух.
8.4 Морозостойкость бетона свай следует контролировать по ГОСТ 10060 или ультразвуковым методом по ГОСТ 26134 на серии образцов, изготовленных из бетонной смеси рабочего состава.
8.5 Водонепроницаемость бетона свай определяют по ГОСТ 12730.0 и ГОСТ 12730.5.
8.6 Контроль сварных арматурных и закладных изделий - по ГОСТ 10922.
8.7 Размеры и положение арматурных и закладных изделий, а также толщину защитного слоя бетона следует определять по ГОСТ 17625 и ГОСТ 22904.
8.7.1 Толщину защитного слоя бетона следует проверять по верхней и двум боковым граням сваи на двух участках, расположенных между подъемными петлями на расстоянии не менее 100 мм от петли вдоль оси сваи, а для свай с ненапрягаемой арматурой и в торце сваи - в местах расположения продольных стержней.
8.8 Силу натяжения арматуры, контролируемую по окончании натяжения, измеряют по ГОСТ 22362.
9 Маркировка, комплектность, транспортирование и хранение
9.1 Маркировка свай - по ГОСТ 23009. Маркировочные надписи и знаки следует наносить на боковые поверхности свай на расстоянии 500 мм от торца или на торце свай.
9.2 Составные сваи поставляют потребителю в комплекте с соединительными изделиями, указанными в стандартах или рабочих чертежах на сваи.
9.3 Транспортирование и хранение свай - по ГОСТ 13015 и настоящему стандарту.
9.3.1 Сваи следует хранить в штабелях горизонтальными рядами с одинаковой ориентацией торцов свай.
9.3.2 Между горизонтальными рядами свай (при складировании и транспортировании) должны быть уложены прокладки, расположенные рядом с подъемными петлями, или, в случае отсутствия петель, в местах, предусмотренных для захвата свай при их транспортировании. При складировании полых круглых свай и свай-оболочек на концах прокладок должны быть укреплены брусья, препятствующие скатыванию свай.
9.3.3 Высота штабеля свай не должна превышать ширину штабеля более чем в два раза и не должна быть более:
- 2,5 м - для свай квадратного сечения;
- четырех рядов - для полых круглых свай диаметром 400 - 600 мм;
- двух рядов - для полых круглых свай диаметром 800 мм и свай-оболочек.
9.3.4 Погрузку и разгрузку свай квадратного сечения следует проводить за подъемные петли.
9.3.5 Подъем свай квадратного сечения на копер следует проводить стропом, закрепленным за сваю у фиксирующего штыря или у верхней подъемной петли, если это допускается требованиями рабочих чертежей на сваи конкретного типа, при этом строповка непосредственно за подъемную петлю или штырь не допускается.
9.3.6 Подъем буроопускных свай для погружения в грунт проводят тросом, продетым в отверстие, образованное металлической втулкой и расположенное на расстоянии 250 мм от верхнего торца сваи.
9.3.7 Погрузку, разгрузку и подъем полых свай круглого сечения и свай-оболочек на копер следует проводить захватами в местах, отмеченных краской, в соответствии со схемами, приведенными в рабочих чертежах на сваи конкретного типа.
УДК 69+624.154.04:006.354
МКС 91.080.40
Ключевые слова: железобетонные сваи, свайный фундамент, свайное основание, ростверк, строительство фундаментов, проектирование фундаментов