Главная // Актуальные документы // ГОСТ (Государственный стандарт)СПРАВКА
Источник публикации
М.: Стандартинформ, 2019
Примечание к документу
Текст данного документа приведен с учетом
поправки, введенной в действие с 23.08.2021, опубликованной в "ИУС", N 1, 2022.
Документ
введен в действие с 01.09.2019.
Название документа
"ГОСТ 12730.5-2018. Межгосударственный стандарт. Бетоны. Методы определения водонепроницаемости"
(введен в действие Приказом Росстандарта от 18.04.2019 N 138-ст)
"ГОСТ 12730.5-2018. Межгосударственный стандарт. Бетоны. Методы определения водонепроницаемости"
(введен в действие Приказом Росстандарта от 18.04.2019 N 138-ст)
агентства по техническому
регулированию и метрологии
от 18 апреля 2019 г. N 138-ст
МЕЖГОСУДАРСТВЕННЫЙ СТАНДАРТ
БЕТОНЫ
МЕТОДЫ ОПРЕДЕЛЕНИЯ ВОДОНЕПРОНИЦАЕМОСТИ
Concretes. Methods for determination of water tightness
ГОСТ 12730.5-2018
Дата введения
1 сентября 2019 года
Цели, основные принципы и общие правила проведения работ по межгосударственной стандартизации установлены
ГОСТ 1.0 "Межгосударственная система стандартизации. Основные положения" и
ГОСТ 1.2 "Межгосударственная система стандартизации. Стандарты межгосударственные, правила и рекомендации по межгосударственной стандартизации. Правила разработки, принятия, обновления и отмены"
1 РАЗРАБОТАН Научно-исследовательским, проектно-конструкторским и технологическим институтом бетона и железобетона им. А.А. Гвоздева (НИИЖБ) - структурным подразделением АО "НИЦ "Строительство"
2 ВНЕСЕН Техническим комитетом по стандартизации ТК 465 "Строительство"
3 ПРИНЯТ Межгосударственным советом по стандартизации, метрологии и сертификации (протокол от 29 ноября 2018 г. N 54)
За принятие проголосовали:
Краткое наименование страны по МК (ИСО 3166) 004-97 | Код страны по МК (ИСО 3166) 004-97 | Сокращенное наименование национального органа по стандартизации |
Азербайджан | AZ | Азстандарт |
Армения | AM | Минэкономики Республики Армения |
Беларусь | BY | Госстандарт Республики Беларусь |
Киргизия | KG | Кыргызстандарт |
Россия | RU | Росстандарт |
Таджикистан | TG | Таджикстандарт |
Узбекистан | UZ | Узстандарт |
4
Приказом Федерального агентства по техническому регулированию и метрологии от 18 апреля 2019 г. N 138-ст межгосударственный стандарт ГОСТ 12730.5-2018 введен в действие в качестве национального стандарта Российской Федерации с 1 сентября 2019 г.
5 Настоящий стандарт разработан с учетом основных нормативных положений европейского стандарта EN 12390.8:2009 "Испытания затвердевшего бетона. Часть 8. Глубина проникновения воды под давлением" ("Testing hardened concrete - Part 8: Depth of penetration of water under pressure", NEQ)
Информация о введении в действие (прекращении действия) настоящего стандарта и изменений к нему на территории указанных выше государств публикуется в указателях национальных стандартов, издаваемых в этих государствах, а также в сети Интернет на сайтах соответствующих национальных органов по стандартизации.
В случае пересмотра, изменения или отмены настоящего стандарта соответствующая информация будет опубликована на официальном интернет-сайте Межгосударственного совета по стандартизации, метрологии и сертификации в каталоге "Межгосударственные стандарты"
Настоящий стандарт распространяется на все виды бетонов на гидравлических вяжущих и устанавливает методы определения водонепроницаемости бетона:
- по мокрому пятну;
- коэффициенту фильтрации;
- глубине проникания воды под давлением;
- воздухопроницаемости.
Определение водонепроницаемости бетона проводят путем испытания контрольных образцов, изготовленных по
ГОСТ 10180, либо отобранных из сборных бетонных и железобетонных изделий или монолитных конструкций по
ГОСТ 28570.
Ускоренные методы определения водонепроницаемости бетона по его воздухопроницаемости могут быть использованы также для определения водонепроницаемости бетона непосредственно в изделиях и конструкциях.
При определении марки по водонепроницаемости бетона базовым методом является метод "мокрого пятна". Результаты определения водонепроницаемости бетона, полученные другими методами, могут быть использованы для оценки марки бетона по водонепроницаемости в соответствии с настоящим стандартом.
Арбитражным методом является метод определения водонепроницаемости по мокрому пятну.
Соотнесение различных методов определения водонепроницаемости бетона приведено в
приложении А.
В настоящем стандарте использованы нормативные ссылки на следующие межгосударственные стандарты:
ГОСТ 166-89 (ИСО 3599-76) Штангенциркули. Технические условия
ГОСТ 9784-75 Стекло органическое светотехническое листовое. Технические условия
ГОСТ 10180-2012 Бетоны. Методы определения прочности по контрольным образцам
ГОСТ 12730.0-78 Бетоны. Общие требования к методам определения плотности, влажности, водопоглощения, пористости и водонепроницаемости
ГОСТ 14791-79 Мастика герметизирующая нетвердеющая строительная. Технические условия
ГОСТ 22685-89 Формы для изготовления контрольных образцов бетона. Технические условия
ГОСТ 23732-2011 Вода для бетонов и строительных растворов. Технические условия
ГОСТ 28570-90 Бетоны. Методы определения прочности по образцам, отобранным из конструкций
Примечание - При пользовании настоящим стандартом целесообразно проверить действие ссылочных стандартов в информационной системе общего пользования - на официальном сайте Федерального агентства по техническому регулированию и метрологии в сети Интернет или по ежегодному информационному указателю "Национальные стандарты", который опубликован по состоянию на 1 января текущего года, и по выпускам ежемесячного информационного указателя "Национальные стандарты" за текущий год. Если ссылочный стандарт заменен (изменен), то при пользовании настоящим стандартом следует руководствоваться заменяющим (измененным) стандартом. Если ссылочный стандарт отменен без замены, то положение, в котором дана ссылка на него, применяется в части, не затрагивающей эту ссылку.
3.1 Общие требования - по
ГОСТ 12730.0 и в соответствии с требованиями настоящего стандарта.
3.2 Высоту контрольных образцов бетона в зависимости от наибольшей крупности зерен заполнителя следует назначать в соответствии с таблицей 1.
Размеры в миллиметрах
Наибольшая крупность зерен заполнителя | Наименьшая высота образца |
5 | 30 |
10 | 50 |
20 | 100 |
40 и выше | 150 |
3.3 Схемы крепления и герметизации образцов бетона в обоймах приведены в
приложении Б.
Примечание - Герметизацию боковой поверхности образцов возможно выполнять нанесением гидроизолирующих покрытий.
3.4 Торцевые поверхности образцов перед испытанием очищают от поверхностной пленки цементного камня и следов посторонних материалов металлической щеткой или другим инструментом.
3.5 Водонепроницаемость бетона определяют испытанием серии из шести образцов.
4 Определение водонепроницаемости по мокрому пятну
4.1 Оборудование и материалы
Для проведения испытаний применяют:
- установку любой конструкции, которая имеет гнезда для крепления образцов
(приложение Б) и обеспечивает возможность подачи воды к нижней торцевой поверхности образцов при возрастающем ее давлении, а также наблюдения за состоянием верхней торцевой поверхности образцов;
- формы для изготовления образцов бетона по
ГОСТ 22685 типа ФК150 и ФЦ150, или образцы-цилиндры диаметром 150 мм, или кубы с ребром 150 мм, полученные по
ГОСТ 28570, или формы и образцы высотой по
таблице 1;
4.2 Подготовка к испытанию
4.2.1 Изготовленные образцы хранят в камере нормального твердения при температуре (20 +/- 2) °C и относительной влажности воздуха (95 +/- 5)%.
4.2.2 Перед испытанием отформованные образцы выдерживают в помещении лаборатории по
ГОСТ 12730.0 в течение 1 сут; образцы, отобранные из конструкций по
ГОСТ 28570, - в течение 3 сут.
4.2.3 Диаметр открытых торцевых поверхностей бетонных образцов-цилиндров должен быть не менее 130 мм.
4.2.4 Определение марки бетона по водонепроницаемости проводят не ранее достижения бетоном проектного возраста.
4.3 Проведение испытания
4.3.1 Образцы в обойме устанавливают в гнезда установки для испытания и закрепляют.
4.3.2 При определении марки бетона по водонепроницаемости давление воды повышают ступенями по 0,2 МПа в течение 1 - 5 мин и выдерживают на каждой ступени в течение времени, указанного в
таблице 2. Испытание проводят до тех пор, пока на верхней торцевой поверхности образца не появятся признаки фильтрации воды в виде капель или мокрого пятна.
Примечание - Под маркой бетона по водонепроницаемости W понимают показатель водонепроницаемости бетона, соответствующий максимальному давлению воды (0,1 МПа), при котором (по визуальной оценке) не происходит фильтрации воды через образец, испытуемый по методу мокрого пятна.
Высота образца, мм | 150 | 100 | 50 | 30 |
Время выдерживания на каждой ступени, давление воды, ч | 16 | 12 | 6 | 4 |
4.3.3 При контроле соответствия фактической марки бетона по водонепроницаемости проектной марке давление воды повышают до значения, соответствующего проектной марке (W = 0,1 МПа), в течение 10 мин и выдерживают при этом давлении в течение времени, указанного в
таблице 2.
4.4 Обработка результатов испытаний
4.4.1 Водонепроницаемость каждого образца оценивают максимальным давлением воды, при котором еще не наблюдалась ее фильтрация через образец.
4.4.2 Водонепроницаемость серии образцов оценивают максимальным давлением воды, при котором не менее чем на четырех из шести образцов не наблюдалась фильтрация воды.
4.4.3 Марку бетона по водонепроницаемости принимают по таблице 3.
Таблица 3
Водонепроницаемость серии образцов, МПа | 0,2 | 0,4 | 0,6 | 0,8 | 1,0 | 1,2 | 1,4 | 1,6 | 1,8 | 2,0 |
Марка бетона по водонепроницаемости | W2 | W4 | W6 | W8 | W10 | W12 | W14 | W16 | W18 | W20 |
4.4.4 Результаты испытаний заносят в журнал, в котором должны быть предусмотрены следующие графы:
- происхождение образцов:
- для образцов, изготовленных по
ГОСТ 10180, - состав бетона, проектные требования по прочности и водонепроницаемости, условия хранения образцов до испытания;
- для образцов-кернов по
ГОСТ 28570 - акт отбора, характеристика участка конструкции, из которой отобраны керны;
- маркировка образцов;
- возраст бетона и дата испытаний;
- значение водонепроницаемости отдельных образцов и серии образцов.
5 Определение водонепроницаемости по коэффициенту фильтрации
5.1 Оборудование и материалы
Для проведения испытаний применяют:
- установку для определения коэффициента фильтрации с максимальным испытательным давлением не менее 2,0 МПа по
приложению В;
- формы цилиндрические (для изготовления образцов бетона) внутренним диаметром 150 мм и высотой 150, 100, 50 и 30 мм;
- сосуд для сбора фильтрата;
5.2 Подготовка к испытанию
5.2.1 Изготовленные образцы хранят в камере нормального твердения по
ГОСТ 10180 при температуре (20 +/- 2) °C и относительной влажности воздуха не менее 95%.
5.2.2 Перед испытанием образцы бетона выдерживают в помещении лаборатории до момента, пока изменение массы образца за 1 сут будет менее 0,1%.
5.2.3 Перед началом испытания образцы должны быть проверены на герметизацию и дефектность путем оценки характера фильтрации через них инертного газа, подаваемого при избыточном давлении от 0,1 до 0,3 МПа к нижнему торцу образца, на верхний торец которого налит слой воды.
При удовлетворительной герметизации боковой поверхности образца в обойме и отсутствии в нем дефектов фильтрацию газа наблюдают в виде равномерно распределенных пузырьков, проходящих через слой воды.
При неудовлетворительной герметизации боковой поверхности образцов в обойме или при наличии в образцах крупных дефектов фильтрацию газа наблюдают в виде обильного местного выделения в дефектных местах.
Дефекты герметизации боковой поверхности устраняют повторной герметизацией образцов. При наличии в образце отдельных крупных фильтрующих каналов образцы бетона заменяют.
5.2.4 Образцы, выбуренные из конструкции с диаметром не менее 50 мм, после герметизации их боковых поверхностей подвергают испытаниям независимо от наличия в них дефектов.
5.2.5 Вода по
ГОСТ 23732, применяемая для испытаний, должна быть предварительно деаэрирована путем кипячения в течение не менее 1 ч. Температура воды в период испытаний - (20 +/- 5) °C.
5.3 Проведение испытаний
5.3.1 В установке одновременно испытывают шесть образцов.
5.3.2 Подъем давления деаэрированной воды проводят ступенями по 0,2 МПа в течение 1 - 5 мин с выдержкой в течение 1 ч на каждой ступени до давления, при котором появляются признаки фильтрации в виде отдельных капель.
5.3.3 Воду (фильтрат), прошедшую через образец, собирают в приемный сосуд.
5.3.4 Измерение массы и объема фильтрата проводят через каждые 30 мин и не менее шести раз на каждом образце.
Примечание - Измерение массы - по нормативному документу <*> государства, проголосовавшего за принятие настоящего стандарта.
--------------------------------
<*> В Российской Федерации - по
ГОСТ Р 53228-2008 "Весы неавтоматического действия. Часть 1. Метрологические и технические требования. Испытания".
5.3.5 При отсутствии фильтрата в виде капель в течение 96 ч количество влаги, проходящей через образец, измеряют путем ее поглощения силикагелем или другим сорбентом в соответствии с
5.3.4.
Силикагель должен быть предварительно высушен и помещен в закрытый сосуд, который герметически присоединяют к патрубку для сбора фильтрата в приемный сосуд.
5.3.6 Допускается оценивать коэффициент фильтрации бетона ускоренным методом, приведенным в
приложении Г.
5.4 Обработка результатов
5.4.1 Объем фильтрата отдельного образца
Q принимают как среднее арифметическое четырех наибольших значений по
5.3.4.
5.4.2 Коэффициент фильтрации Kф, см/с, отдельного образца определяют по формуле

,
где

- коэффициент, учитывающий вязкость воды при различной температуре,

принимают по
таблице 4;
Q - объем фильтрата, см3;

- толщина образца, см;
S - площадь образца, см2;

- время испытания образца, в течение которого измеряют объем фильтрата, с;
p - давление в установке, см водяного столба.
Температура воды, °C | 15 | 20 | 25 |
Коэффициент  | 1,13 | 1,00 | 0,89 |
Примечание - При температуре воды, находящейся в интервале между указанными значениями, в настоящей таблице коэффициент  принимают интерполяцией. |
5.4.3 При испытании выбуренных из конструкций бетонных образцов диаметром менее 150 мм коэффициент фильтрации, рассчитанный по формуле, умножают на поправочный коэффициент Kп, который принимают по таблице 5.
Таблица 5
Диаметр образца, мм | 150 | 130 | 120 | 100 | 80 | 50 |
Поправочный коэффициент Kп | 1,0 | 1,1 | 1,4 | 1,8 | 2,8 | 5,5 |
5.4.4 Для определения коэффициента фильтрации серии из шести образцов коэффициенты фильтрации отдельных образцов этой серии располагают в порядке увеличения их значений и используют среднее арифметическое значение коэффициентов фильтрации двух средних образцов (третьего и четвертого).
5.4.5 Результаты испытания заносят в журнал, в котором должны быть предусмотрены следующие графы:
- происхождение образцов:
- для образцов, изготовленных по
ГОСТ 10180, - состав бетона, проектные требования по прочности и водонепроницаемости, условия хранения образцов до испытания,
- для образцов-кернов по
ГОСТ 28570 - акт отбора, характеристика участка конструкции, из которой отобраны керны;
- дата изготовления образца;
- возраст образца;
- маркировка образцов;
- масса фильтрата;
- коэффициент фильтрации каждого образца и серии образцов.
5.5 По полученным значениям коэффициента фильтрации Kф принимают значения марок бетона по водонепроницаемости в соответствии с таблицей 6.
Коэффициент фильтрации Kф, см/с | Марка бетона по водонепроницаемости W |
Св.  до  | W2 |
"  "  | W4 |
"  "  | W6 |
"  "  | W8 |
"  "  | W10 - B14 |
"  | W16 - B20 |
6 Определение водонепроницаемости по глубине проникания воды под давлением
6.1 Сущность испытания
На торцевую поверхность отформованного по
ГОСТ 10180 цилиндрического образца или образца-керна, отобранного из конструкций по
ГОСТ 28570, с помощью установки для проведения испытания бетона на водонепроницаемость по мокрому пятну передают заданное давление воды, которое поддерживают постоянным в течение определенного времени. После этого образец раскалывают по образующей и по границе между влажной и сухой частями определяют глубину проникания воды, по которой оценивают водонепроницаемость бетона.
6.2 Средства контроля и вспомогательное оборудование:
- установка для проведения испытания образцов на водонепроницаемость по мокрому пятну или коэффициенту фильтрации;
- емкость для хранения образцов;
- проволочная щетка;
- пресс для раскалывания образцов.
6.3 Подготовка и проведение испытания
6.3.1 Изготовляют контрольный образец по
ГОСТ 10180 или
ГОСТ 28570 в форме куба или цилиндра с длиной ребра или диаметром не менее 150 мм. Серия должна состоять из трех образцов. Через 24 ч после изготовления образец вынимают из формы.
6.3.2 Поверхность образца, на которую будет передаваться давление воды, должна быть очищена. При выборе торцевой стороны для подачи давления воды не допускается использовать верхнюю сторону образца, которая была заглажена при укладке бетонной смеси в форму или формовании конструкции (изделия).
6.3.3 Образцы, изготовленные по
ГОСТ 10180, следует хранить в нормальных условиях до достижения проектного возраста, а затем в условиях лаборатории в течение не менее 1 сут; образцы, отобранные из конструкций по
ГОСТ 28570, - не менее 3 сут.
6.3.4 Испытуемые образцы закрепляют на установке.
6.3.4.1 При давлении воды сверху:
- испытуемый образец жестко закрепляют верхней зажимной пластиной;
- открывают вентили для подачи воды и удаления воздуха. Необходимо держать их открытыми до тех пор, пока выходящая вода не будет содержать пузырьки воздуха.
6.3.4.2 При давлении воды на образец снизу:
- образец фиксируют не жестко;
- вентиль воды открывают не полностью таким образом, чтобы вода могла проходить между уплотнителем и испытуемым образцом. Как только выходящая вода не будет содержать пузырьков воздуха, образец жестко закрепляют;
- вентиль полностью открывают для поддержания заданного давления. Фиксируют время;
- давление устанавливают на уровне (0,50 +/- 0,05) МПа и поддерживают в течение (72 +/- 2) ч на постоянном уровне;
- во время проведения испытания через регулярные промежутки времени (от одного до трех раз в день) необходимо осматривать наружные поверхности контрольных образцов. Случаи появления воды или влажных пятен необходимо фиксировать в журнале испытания;
- через 72 ч снимают давление воды, контрольный образец извлекают из зажимного устройства и протирают;
- с помощью пресса образец раскалывают вертикально посредине вдоль образующей;
- в течение 5 - 10 мин (с помощью сушильного шкафа с температурой от 80 °C до 100 °C, феном и др.) просушивают внутренние поверхности расколотых образцов, чтобы отчетливо была видна линия проникания воды в бетон. На внутренней поверхности расколотых образцов отмечают контуры проникновения воды в бетон;
- измеряют наибольшую глубину проникания воды в бетонный образец с точностью до 1 мм на каждой из расколотых половинок образца-цилиндра. Определяют среднее арифметическое значение по двум половинкам для одного образца.
6.4 Обработка результатов
6.4.1 В качестве результата испытания фиксируют максимальную видимую глубину проникания воды в бетон, выраженную в миллиметрах. Находят среднее арифметическое значение по всем трем образцам бетона в серии. Результаты испытания фиксируют в протоколе.
6.4.2 Соотнесение глубины проникания с другими методами определения водонепроницаемости приведено в
приложении А.
6.5 Отчет об испытании
Отчет об испытании должен содержать следующие данные:
а) ссылка на настоящий стандарт;
б) место и дата отбора пробы;
в) обозначение пробы;
г) происхождение образцов:
- для образцов, изготовленных по
ГОСТ 10180, - состав бетона, проектные требования по прочности и водонепроницаемости, условия хранения образцов до испытания;
- образцов-кернов по
ГОСТ 28570: акт отбора, характеристика участка конструкции, из которой отобраны керны;
д) описание образцов;
е) направление воздействия давления воды;
ж) максимальная видимая глубина проникания воды в бетон, выраженная в миллиметрах, для каждого образца и средняя для серии из трех образцов;
и) рассчитанное значение давления проникания;
к) ФИО испытателя.
(справочное)
СООТНЕСЕНИЕ РАЗНЫХ МЕТОДОВ
ОПРЕДЕЛЕНИЯ ВОДОНЕПРОНИЦАЕМОСТИ БЕТОНА
В таблице А.1 представлено соотнесение разных методов определения водонепроницаемости бетона.
Таблица А.1
Метод определения водонепроницаемости | Степень проницаемости бетона |
Нормальная | Пониженная | Низкая | Особо низкая |
Марка бетона по водонепроницаемости W | W2 | W4 | W6 | W8 | W10 - W14 | W16 - W20 |
Коэффициент фильтрации, см/с | Св. 7·10-9 до 2·10-8 | Св. 2·10-9 до 7·10-9 | Св. 6·10-10 до 2·10-9 | Св. 1·10-10 до 6·10-10 | Св. 5·10-11 до 1·10-10 | Менее 5·10-11 |
Глубина проникновения воды под давлением, мм | Более 150 | Более 150 | Св. 60 до 150 | Св. 35 до 60 | Св. 20 до 35 | Менее 20 |
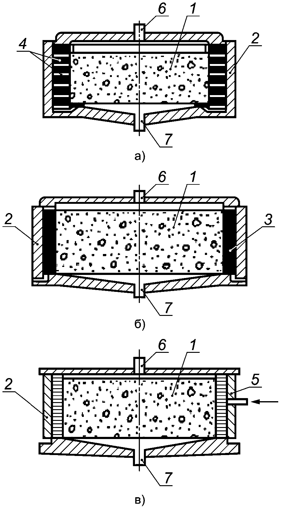
(рекомендуемое)
КРЕПЛЕНИЯ И ГЕРМЕТИЗАЦИИ ОБРАЗЦОВ БЕТОНА В ОБОЙМАХ
Б.1 Способ уплотнения боковой поверхности образца путем обжатия образцов набором чередующихся резиновых и металлических колец или завулканизированной стальной пружиной, резиновым кольцом приведен на
рисунке Б.1, а).
Б.2 Способ уплотнения боковой поверхности образца путем заливки зазора между образцами и обоймой специальными мастиками приведен на
рисунке Б.1, б).
Б.3 Способ уплотнения боковой поверхности образца резиновой полой камерой с избыточным давлением в ней приведен на рисунке Б.1, в).
1 - образец бетона; 2 - испытательная обойма; 3 - мастика;
4 - набор резиновых и металлических колец; 5 - резиновая
полая камера; 6 - съемная крышка для подачи воды;
7 - съемная крышка с патрубком для сбора фильтрата
Примечание - При определении водонепроницаемости методом "мокрого пятна" снимают крышку 7.
(рекомендуемое)
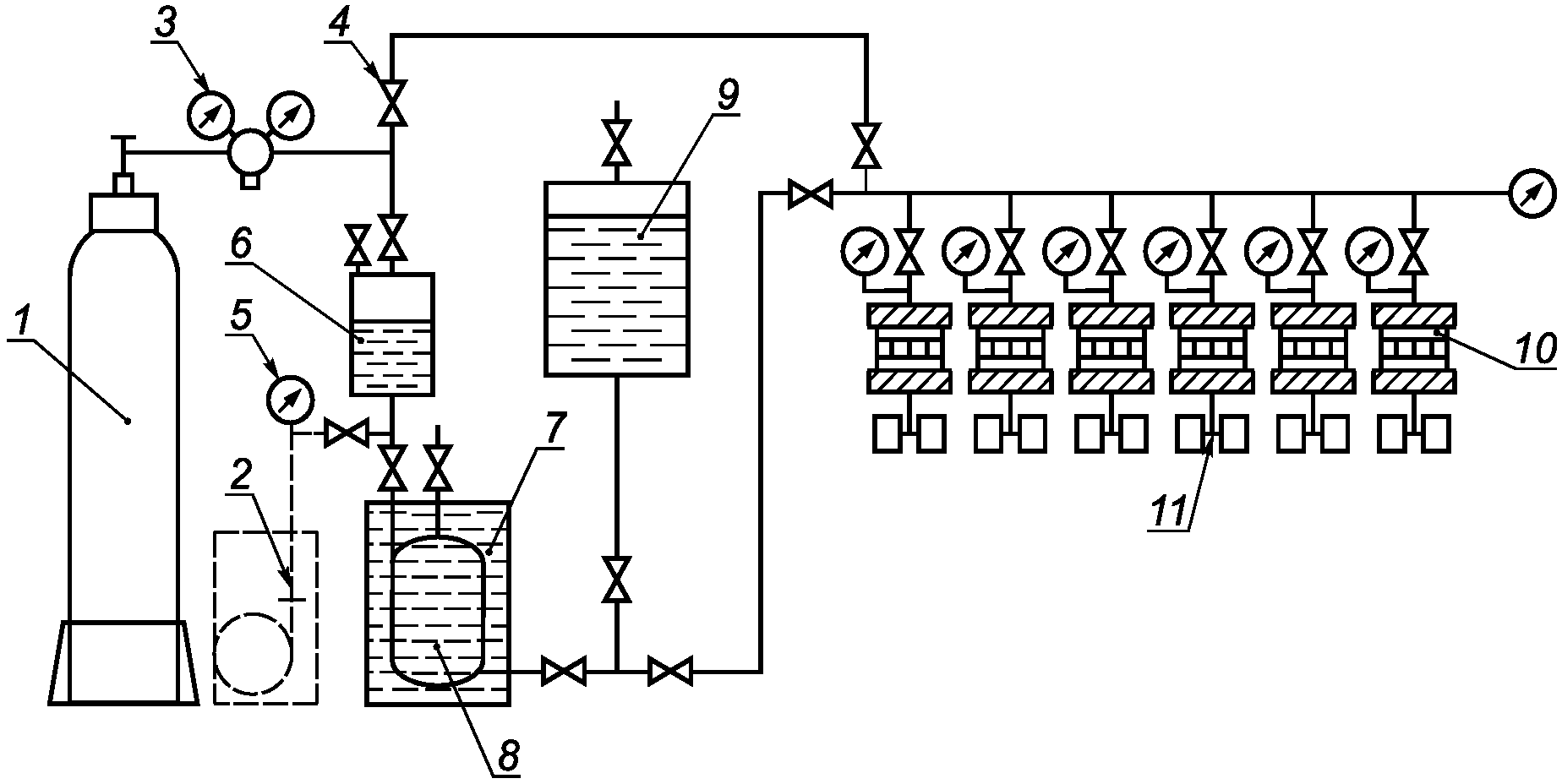
УСТАНОВКИ ДЛЯ ОПРЕДЕЛЕНИЯ КОЭФФИЦИЕНТА ФИЛЬТРАЦИИ
На рисунке В.1 представлена схема установки для определения коэффициента фильтрации.
1 - баллон с газом; 2 - насос; 3 - редуктор; 4 - вентиль;
5 - манометр; 6 - передатчик давления; 7 - емкость с водой;
8 - эластичная емкость с деаэрированной водой; 9 - запасная
емкость с деаэрированной водой; 10 - испытательное гнездо;
11 - измеритель массы фильтрата
Рисунок В.1
(рекомендуемое)
УСКОРЕННЫЙ МЕТОД ОПРЕДЕЛЕНИЯ КОЭФФИЦИЕНТА ФИЛЬТРАЦИИ
Г.1 Минимальный размер ребра бетонных образцов-кубов для испытания должен быть 150 мм.
Г.2 Хранение и подготовка к испытаниям бетонных образцов - в соответствии с
5.2.1 и
5.2.2.
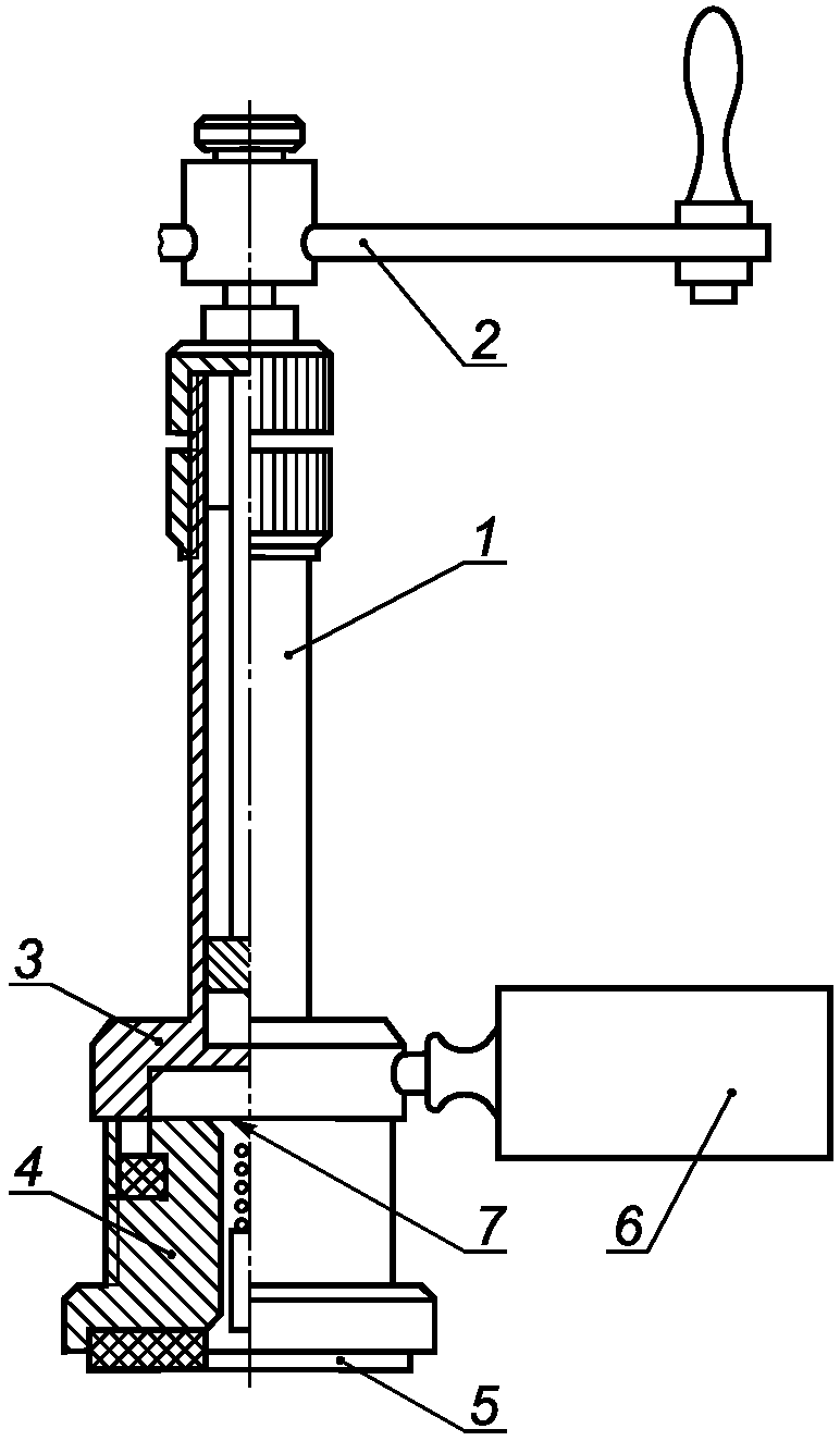
Г.3 Фильтратометр (рисунок Г.1) устанавливают на нижнюю (при формовании) поверхность образца и закрепляют.
1 - гидравлический насос; 2 - ручка насоса;
3 - рабочий цилиндр; 4 - рабочий поршень;
5 - уплотнительная шайба; 6 - манометр; 7 - клапан
Рисунок Г.1 - Схема фильтратометра
Г.4 Давление воды в камере фильтратометра поднимают до 10 МПа вращением ручки насоса и оценивают скорость падения давления.
Г.5 При быстром падении давления и невозможности его поддержания путем вращения ручки насоса испытания прекращают и коэффициент фильтрации бетона принимают более наибольшего значения, указанного в
таблице 6.
Г.6 При медленном падении давления отмечают положение ручки насоса, а время, соответствующее этому моменту, принимают за начало испытания.
Ручкой насоса делают шесть полных оборотов, поддерживая давление в пределах (10 +/- 0,5) МПа, и испытания прекращают. Это время принимают за окончание испытания.
По числу оборотов определяют массу воды, поглощенной бетоном, из расчета, что один полный оборот ручки насоса равен 98,16·10-3 кг.
Г.7 После окончания испытаний фильтратометр снимают с образца, мокрую поверхность протирают ветошью и через 3 мин измеряют диаметр затемненного круга D. Для расчета принимают среднее арифметическое значение шести измерений.
Г.8 Коэффициент фильтрации бетона Kф, см/с, рассчитывают по формуле, приведенной в инструкции по применению фильтратометра.
Г.9 Среднее значение коэффициента фильтрации бетона K
ф определяют по данным шести испытаний в соответствии с требованиями
5.4.4.
(рекомендуемое)
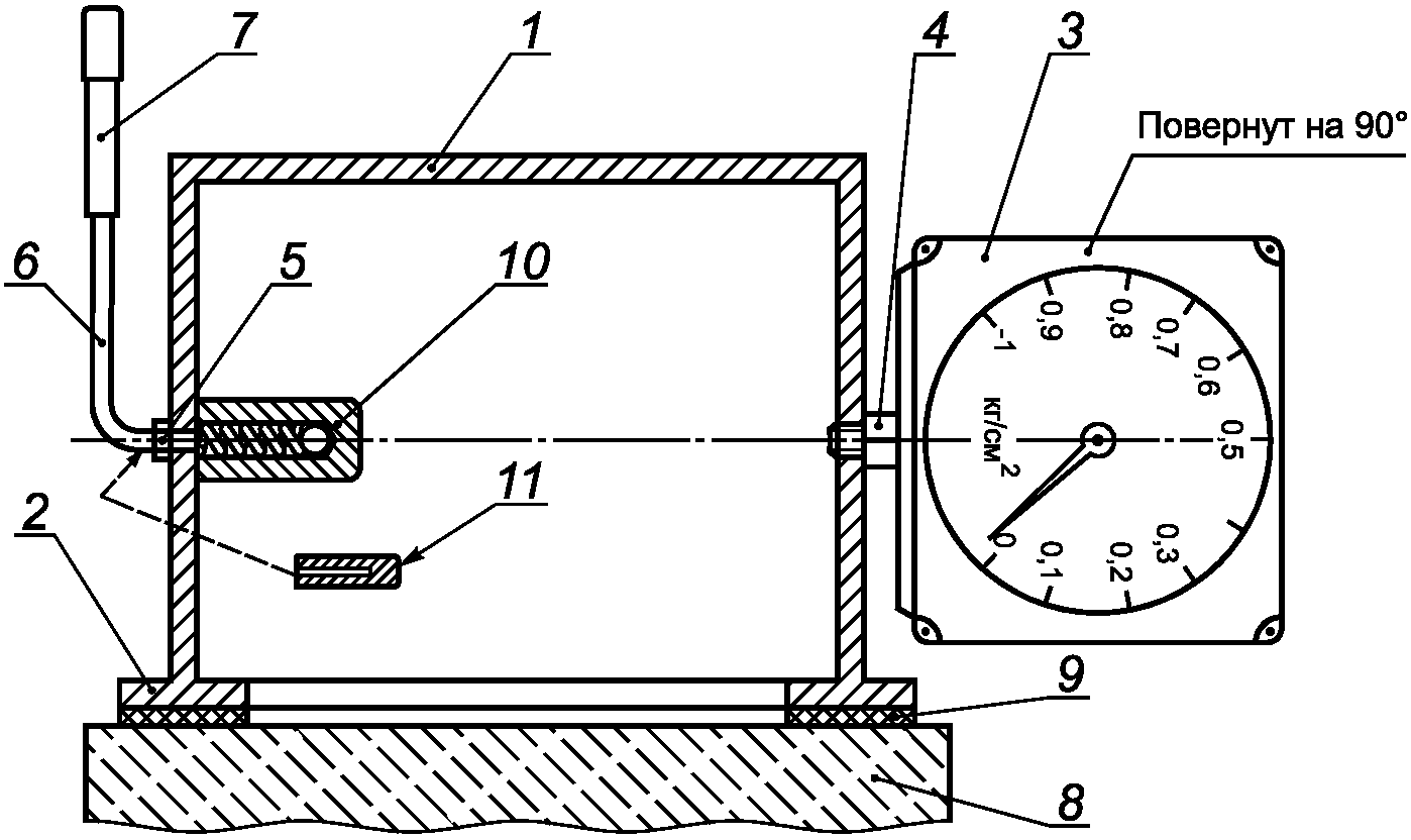
ЭКСПРЕСС-МЕТОД ОПРЕДЕЛЕНИЯ ВОДОНЕПРОНИЦАЕМОСТИ
БЕТОНА ПО ЕГО ВОЗДУХОПРОНИЦАЕМОСТИ
Д.1 Экспресс-метод определения водонепроницаемости бетона основан на наличии экспериментально установленной статистической зависимости между воздухопроницаемостью бетона и его водонепроницаемостью, определенной по мокрому пятну.
В качестве параметра, характеризующего воздухопроницаемость, используют значение времени, за которое давление в камере устройства падает на определенное значение.
Д.2 Схема устройства приведена на рисунке Д.1.
Рисунок Д.1
Устройство представляет собой полую цилиндрическую камеру 1 с выступающим фланцем 2. На боковой поверхности камеры установлены: вакуумметр 3, соединенный с камерой через штуцер 4, и штуцер 5 подвода гибкого шланга 6. Шланг подсоединен к ручному вакуумнасосу 7. На оси штуцера 5 внутри камеры расположен вакуумклапан 10. Штуцер 5 перекрывается при испытаниях заглушкой 11.
Для проведения испытаний устройство устанавливают на поверхности бетонного образца или изделия 8 с помощью липкой герметизирующей мастики 9, накладываемой жгутом на фланце камеры.
Д.3 При проведении испытаний используют секундомер или часы с секундной стрелкой, металлическую щетку или другой абразивный инструмент для очистки торцевых поверхностей образцов или изделий, герметизирующую мастику
(ГОСТ 14791), шпатель или нож для очистки поверхности фланца и образцов от мастики.
Д.4 Подготовка устройства к работе
Д.4.1 Проводят внешний осмотр вакуумметра на отсутствие повреждений стекла, корпуса, уплотнения штуцера и установки стрелки на нуль, а также шланга на отсутствие разрывов и трещин.
Д.4.2 Проводят несколько поступательно-возвратных движений штока вакуумнасоса, чтобы убедиться в плотности прилегания фланца штока к внутренней поверхности цилиндра.
Д.4.3 Проводят визуальный осмотр креплений шланга к штуцеру вакуумнасоса.
Д.4.4 В случае отрицательного заключения по результатам внешнего осмотра производят устранение неисправностей.
Д.4.5 Не реже одного раза в 3 мес, а также после ремонта проводят проверку устройства на герметичность при установке камеры на поверхность воздухонепроницаемого материала (например, лист оргстекла размером 300 x 300 мм) с использованием жгута герметизирующей мастики диаметром не менее 8 мм, уложенного в паз фланца камеры.
Д.4.6 Проверку на герметичность проводят, как указано в Д.4.6.1 -
Д.4.6.4.
Д.4.6.1 Откачав вакуумнасосом воздух из полости камеры до значения 0,075 - 0,08 МПа, снимают со штуцера 5 конец шланга 6 и устанавливают на штуцер 5 заглушку 11. Фиксируют давление по вакуумметру и время по часам.
Д.4.6.2 Устройство можно считать герметичным и готовым к работе, если падение вакуумметрического давления не превышает 0,002 МПа в течение 1 ч.
Д.4.6.3 Снимают устройство с оргстекла и очищают поверхности фланца и оргстекла от герметизирующей мастики. Снимают заглушку.
Д.4.6.4 Мастику упаковывают в полиэтиленовую пленку и хранят в закрытом помещении. Перед употреблением мастику необходимо выдержать при температуре (20 +/- 2) °C не менее 24 ч
(ГОСТ 14791).
Д.5 Проведение измерений и обработка результатов
Д.5.1 Воздухопроницаемость бетона определяют по результатам испытаний серии из шести образцов-кубов с размером ребра 150 мм или цилиндров диаметром 150 мм и высотой не менее 100 мм контролируемого состава бетона или участков конструкций.
Д.5.2 Бетонные образцы, изготовленные по
ГОСТ 10180, должны твердеть в нормальных условиях и перед испытанием должны быть выдержаны в лаборатории в течение 1 сут.
Д.5.3 Испытания бетона конструкций проводят при температуре воздуха от 1 °C до 40 °C. В течение 2 сут до момента испытания поверхность бетона не должна подвергаться воздействию воды или другой жидкости.
Д.5.4 Поверхности, на которых будут проводить испытания, должны быть очищены от поверхностной пленки цементного камня и материалов ухода за свежеуложенным бетоном или вторичной защиты. В зоне контакта фланца камеры с поверхностью бетона не должно быть раковин глубиной более 1 мм и диаметром более 6 мм, а также выступов более 1 мм и видимых трещин (шириной раскрытия более 0,1 мм).
Д.5.5 Фланец камеры не должен выступать за край контролируемой бетонной поверхности.
Д.5.6 Герметизирующую мастику жгутом диаметром 8 мм укладывают на фланец камеры в паз по его средней линии и соединяют концы таким образом, чтобы они перекрывали друг друга.
Д.5.7 Устанавливают камеру фланцем на выбранном и подготовленном участке испытуемого образца или конструкции и прижимают устройство к поверхности, создавая необходимое давление прижатия 0,05 МПа.
Д.5.8 Разрежение в камере создают с помощью вакуумнасоса.
Д.5.8.1 Откачивают воздух из камеры несколькими возвратно-поступательными движениями штока насоса до значений 0,075 - 0,08 МПа.
Д.5.8.2 Быстро снимают конец шланга 6 со штуцера 5 камеры и плотно устанавливают на штуцере 5 заглушку 11.
Д.5.8.3 Наблюдают за показаниями вакуумметра до падения давления до значения Poi = -0,060 МПа.
Д.5.8.4 При падении вакуумметрического давления до начального разрежения Poi = -0,060 МПа засекают время, за которое давление в камере упадет до конечного разрежения Pti = -0,054 МПа.
Д.5.8.5 Аналогично проводят измерения на других образцах или участках конструкций.
Д.5.9 Полученные значения времени ti записывают в порядке их возрастания и вычисляют среднее арифметическое значение времени двух средних образцов (третьего и четвертого) в качестве параметра, характеризующего воздухопроницаемость бетона в серии образцов.
Д.5.10 При текущем производственном контроле водонепроницаемости бетона в изделиях и конструкциях план и нормы контроля нормируемой марки бетона по водонепроницаемости должны быть приведены в проекте производства работ или технологическом регламенте.
Д.5.11 Воздухопроницаемость бетона конструкций рассчитывают как среднеарифметическое значение h во всех проконтролированных участках.
Д.5.12 Марку по водонепроницаемости бетона W определяют по градуировочной таблице по соотношению "время - марка бетона по водонепроницаемости", которая должна быть приведена в инструкции к каждому прибору, по результатам его калибровки (таблица Д.1).
Таблица Д.1
Образец градуировочной таблицы по соотношению
"время - марка бетона по водонепроницаемости"
Диапазон ti, с | 41 - 59 | 60 - 87 | 88 - 126 | 127 - 183 | 184 - 261 | 262 - 387 | 388 - 561 | 562 - 814 | 815 - 1181 | 1182 - 1734 |
Марка бетона по водонепроницаемости W | - | - | - | - | 0 | 2 | 4 | 6 | 8 | 10 |
Примечание - Объем камеры V = 240 см3; ширина фланца камеры - 25 мм; Poi = -0,060 МПа; Pti = -0,054 МПа. |
| | ИС МЕГАНОРМ: примечание. В официальном тексте документа, видимо, допущена опечатка: имеется в виду рисунок Д.2, а не рисунок Г.2. | |
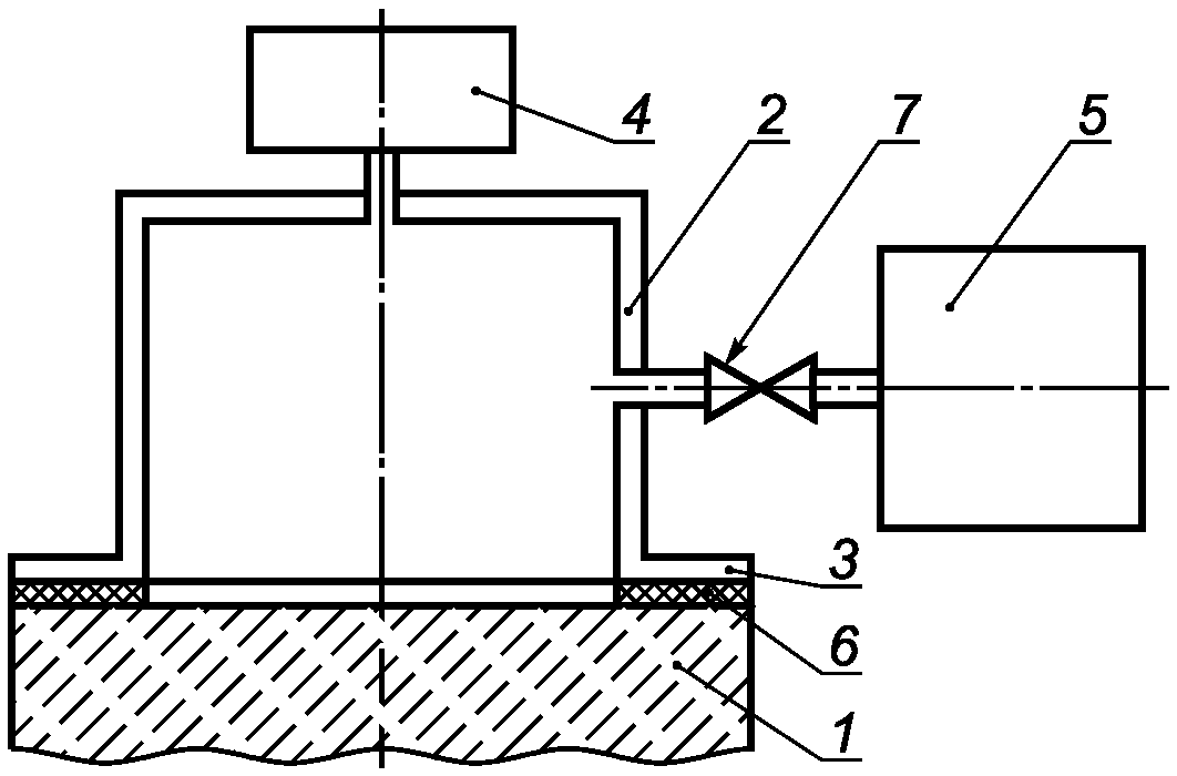
Д.5.13 Допускается применять другие устройства
(рисунок Г.2), отвечающие следующим основным требованиям:
- ширина фланца камеры устройства должна быть не менее 25 мм;
- начальное давление прижатия фланца камеры к поверхности бетона образца должно быть не менее 0,05 МПа;
- начальный уровень вакуумметрического давления, создаваемого внутри камеры, должен быть не менее 0,064 МПа;
- внутренний объем полости камеры устройства должен быть не менее 180 см3;
- при установке и герметизации устройства на поверхности непроницаемого материала (оргстекло по
ГОСТ 9784 и др.) падение вакуумметрического давления не должно превышать 0,002 МПа в течение 1 ч.
1 - бетонный образец; 2 - камера устройства; 3 - фланец
камеры; 4 - вакуумметрический датчик; 5 - вакуумнасос;
6 - герметизирующая мастика; 7 - вентиль
Д.6 Марку бетона по водонепроницаемости принимают по таблице Д.2, а в случае невозможности использования таблицы (по
Д.7.2), - по экспериментально устанавливаемой градуировочной зависимости по
Д.7.3.
Параметр воздухопроницаемости бетона ac, см3/с | Сопротивление бетона прониканию воздуха mc, с/см3 | Марка бетона по водонепроницаемости |
0,325 - 0,224 | 3,1 - 4,5 | W2 |
0,223 - 0,154 | 4,6 - 6,5 | W4 |
0,153 - 0,106 | 6,6 - 9,4 | W6 |
0,105 - 0,0728 | 9,5 - 13,7 | W8 |
0,0727 - 0,0510 | 13,8 - 19,6 | W10 |
0,0509 - 0,0345 | 19,7 - 29,0 | W12 |
0,0344 - 0,0238 | 29,1 - 42,0 | W14 |
0,0237 - 0,0164 | 42,1 - 60,9 | W16 |
0,0163 - 0,0113 | 61,0 - 88,5 | W18 |
0,0112 - 0,0077 | 88,6 - 130,2 | W20 |
Д.6.1 Проверку возможности использования
таблицы Д.2 осуществляют в соответствии с
Д.7, установление градуировочной зависимости - по
Д.8. Проверку возможности использования значений
таблицы Д.2 проводят перед началом применения экспресс-метода и каждый раз при изменении вида бетона.
Д.6.2 При испытании в полости камеры создают разрежение не менее 0,064 МПа и в соответствии с инструкцией по эксплуатации устройства определяют значение параметра воздухопроницаемости бетона ai, см3/с, для каждого образца или обратное ему значение сопротивления бетона прониканию воздуха mi, с/см3.
Д.6.3 Полученные значения ai (mi) образцов бетона записывают в порядке их возрастания и определяют среднее арифметическое значение ac (mc) двух средних образцов (третьего и четвертого) в качестве параметра, характеризующего воздухопроницаемость бетона в серии.
Д.6.4 По
таблице Д.2 или установленной градуировочной зависимости определяют марку бетона по водонепроницаемости W, соответствующую полученному значению
ac или
mc. При этом в качестве марки бетона по водонепроницаемости при использовании градуировочной зависимости принимают значение W, рассчитанное по
формуле (Д.1) или
(Д.2) для данного значения
ac (
mc) и округленное до ближайшего целого четного числа.
Д.7 Проверка возможности использования таблицы Д.2 и установление градуировочной зависимости
Д.7.1 Проверку осуществляют в такой последовательности:
- изготовляют и испытывают одну серию образцов из бетона одного из контролируемых составов;
- определяют значение
ac (
mc) для этой серии образцов и соответствующую ему по
таблице Д.2 марку бетона по водонепроницаемости;
- эту же серию образцов испытывают в соответствии с
разделом 4 и определяют марку бетона по водонепроницаемости по методу "мокрого пятна".
Д.7.2
Таблицу Д.2 допускается использовать, если значение марки бетона по водонепроницаемости W (по мокрому пятну) отличается от полученного по
таблице Д.2 не более чем на одну марку.
Д.7.3 Если требование
Д.7.2 не выполняется (
таблицу Д.2 использовать нельзя), для определения марки бетона по водонепроницаемости используют градуировочную зависимость
ac - W или
mc - W, которую рассчитывают следующим образом:
где b
0 и b
1 - коэффициенты, определяемые по Д.7.4,
Д.7.5.
Д.7.4 Коэффициенты b
0 и b
1 определяют по результатам испытаний серии образцов в соответствии с
Д.7.1 и двух дополнительных серий образцов, также изготовленных и испытанных по
Д.7.1.
При изготовлении образцов одной из указанных серий следует использовать бетонную смесь с водоцементным отношением 0,40 - 0,42, другой - 0,52 - 0,54. Соотношения между заполнителями и между цементом и добавками в этих бетонных смесях должны быть теми же, что и в контролируемом составе.
Д.7.5 Коэффициенты b
0 и b
1 рассчитывают по формулам:

, (Д.3)

, (Д.4)
где acj - значение ac или mc для отдельных серий образцов (ac1, ac2, ac3 или mc1, mc2, mc3);
Wj - значения W для отдельных серий (W1, W2 или W3) марки бетона по водонепроницаемости.
Д.8 Пример установления и использования градуировочной зависимости
Д.8.1 Для установления градуировочной зависимости по
Д.7.1 изготовлены и испытаны основная и две дополнительные серии бетонных образцов. Результаты испытаний приведены в
таблице Д.3. При дальнейшем контроле качества бетонов различных составов, приготовленных из тех же материалов, что и образцы указанных серий, изготовлены и испытаны еще три серии образцов, средние значения параметра воздухопроницаемости которых указаны в
таблице Д.4. Необходимо определить марку бетона по водонепроницаемости для каждой из этих серий.
Д.8.2 Последовательность обработки данных для нахождения коэффициентов b0 и b1 приведена в таблице Д.3.
Индекс серии | ac,j, см3/с | Wj | lgac,j | Wj·lgac,j | (lgac,j)2 |
| 0,048 | 8 | -1,319 | -10,55 | 1,74 |
1д | 0,106 | 2 | -0,975 | -1,95 | 0,95 |
2д | 0,0046 | 22 | -2,337 | -51,41 | 5,46 |
| 0,1586 | 32 | -4,631 | -63,91 | 8,15 |

,

.
Д.8.3 По
уравнению (Д.1) соответствующая градуировочная зависимость имеет вид:
W = -11,67 - 14,47·lgac.
Д.8.4 Подставляя в уравнение по
Д.8.3 значения lg
ac,j для серий 3, 4 и 5, получают значения W
j, приведенные в таблице Д.4. Округляя эти значения до ближайшего четного числа, определяют искомые марки бетонов по водонепроницаемости, указанные в таблице Д.4.
Номер серии | ac,j, см3/с | lgac,j | | W |
3 | 0,083 | -1,081 | 3,9 | 4 |
4 | 0,032 | -1,495 | 9,9 | 10 |
5 | 0,036 | -1,444 | 9,2 | 10 |
[1] | EN 12390.8:2009 | Testing hardened concrete - Part 8: Depth of penetration of water under pressure (Испытания затвердевшего бетона. Часть 8. Глубина проникания воды) |
[2] | ISO 7031 | Concrete Hardened - Determination of The Depth of Penetration of Water Under Pressure (Бетон. Метод определения проницаемости воды под давлением) |