Главная // Актуальные документы // ГОСТ Р (Государственный стандарт)СПРАВКА
Источник публикации
М.: Стандартинформ, 2019
Примечание к документу
Документ
введен в действие с 1 июля 2019 года.
Название документа
"ГОСТ Р 58320-2018. Национальный стандарт Российской Федерации. Электроустановки систем тягового электроснабжения железной дороги постоянного тока. Требования к заземлению"
(утв. Приказом Росстандарта от 18.12.2018 N 1118-ст)
"ГОСТ Р 58320-2018. Национальный стандарт Российской Федерации. Электроустановки систем тягового электроснабжения железной дороги постоянного тока. Требования к заземлению"
(утв. Приказом Росстандарта от 18.12.2018 N 1118-ст)
Утвержден
агентства по техническому
регулированию и метрологии
от 18 декабря 2018 г. N 1118-ст
НАЦИОНАЛЬНЫЙ СТАНДАРТ РОССИЙСКОЙ ФЕДЕРАЦИИ
ЭЛЕКТРОУСТАНОВКИ СИСТЕМ ТЯГОВОГО ЭЛЕКТРОСНАБЖЕНИЯ
ЖЕЛЕЗНОЙ ДОРОГИ ПОСТОЯННОГО ТОКА
ТРЕБОВАНИЯ К ЗАЗЕМЛЕНИЮ
Electrical installations of traction power supply
systems for direct current railway.
Earthing requirements
ГОСТ Р 58320-2018
Дата введения
1 июля 2019 года
1 РАЗРАБОТАН Акционерным обществом "Научно-исследовательский институт железнодорожного транспорта" (АО "ВНИИЖТ")
2 ВНЕСЕН Техническим комитетом по стандартизации ТК 45 "Железнодорожный транспорт"
3 УТВЕРЖДЕН
Приказом Федерального агентства по техническому регулированию и метрологии от 18 декабря 2018 г. N 1118-ст
4 ВВЕДЕН ВПЕРВЫЕ
5 Федеральное агентство по техническому регулированию и метрологии не несет ответственности за патентную чистоту настоящего стандарта. Патентообладатель может заявить о своих правах и направить в национальный орган по стандартизации аргументированное предложение о внесении в настоящий стандарт поправки для указания информации о наличии в стандарте объектов патентного права и патентообладателе
Правила применения настоящего стандарта установлены в статье 26 Федерального закона от 29 июня 2015 г. N 162-ФЗ "О стандартизации в Российской Федерации". Информация об изменениях к настоящему стандарту публикуется в ежегодном (по состоянию на 1 января текущего года) информационном указателе "Национальные стандарты", а официальный текст изменений и поправок -
в ежемесячном информационном указателе "Национальные стандарты". В случае пересмотра (замены) или отмены настоящего стандарта соответствующее уведомление будет опубликовано в ближайшем выпуске ежемесячного информационного указателя "Национальные стандарты". Соответствующая информация, уведомление и тексты размещаются также в информационной системе общего пользования -
на официальном сайте Федерального агентства по техническому регулированию и метрологии в сети Интернет (www.gost.ru)
Настоящий стандарт распространяется на вновь построенные или реконструируемые электроустановки системы тягового железнодорожного электроснабжения постоянного тока и устанавливает требования к их заземлению. Настоящий стандарт также распространяется:
- на электрические сети напряжением до 1000 В и напряжением свыше 1000 В, предназначенные для электроснабжения нетяговых потребителей электроэнергии, проложенные полностью или частично по опорам контактной сети, питающих, отсасывающих и шунтирующих линий;
- искусственные сооружения, по которым проложены электрифицированные железнодорожные пути;
- пункты подключения пассажирских вагонов.
В настоящем стандарте использованы нормативные ссылки на следующие документы:
ГОСТ 9.602 Единая система защиты от коррозии и старения. Сооружения подземные. Общие требования к защите от коррозии
ГОСТ 12.1.030-81 Система стандартов безопасности труда. Электробезопасность. Защитное заземление, зануление
ГОСТ 12.1.038 Система стандартов безопасности труда. Электробезопасность. Предельно допустимые значения напряжений прикосновения и токов
ГОСТ 839 Провода неизолированные для воздушных линий электропередачи. Технические условия
ГОСТ 1516.3 Электрооборудование переменного тока на напряжения от 1 до 750 кВ. Требования к электрической прочности изоляции
ГОСТ 10434 Соединения контактные электрические. Классификация. Общие технические требования
ГОСТ 12393 Арматура контактной сети железной дороги линейная. Общие технические условия
ГОСТ 14312 Контакты электрические. Термины и определения
ГОСТ 17703 Аппараты электрические коммутационные. Основные понятия. Термины и определения
ГОСТ 21130-75 Изделия электротехнические. Зажимы, заземляющие и знаки заземления. Конструкция и размеры
ГОСТ 24291 Электрическая часть электростанции и электрической сети. Термины и определения
ГОСТ 26522 Короткие замыкания в электроустановках. Термины и определения
ГОСТ 30030 Трансформаторы разделительные и безопасные разделительные трансформаторы. Технические требования
ГОСТ 30331.1 (IEC 60364-1:2005) Электроустановки низковольтные. Часть 1. Основные положения, оценка общих характеристик, термины и определения
ГОСТ 32484.1 (EN 14399-1:2005) Болтокомплекты высокопрочные для предварительного натяжения конструкционные. Общие требования
ГОСТ 32895 Электрификация и электроснабжение железных дорог. Термины и определения
ГОСТ 33889 Электросвязь железнодорожная. Термины и определения
ГОСТ 34062-2017 Тяговые подстанции, трансформаторные подстанции и линейные устройства тягового электроснабжения железной дороги. Требования безопасности и методы контроля
ГОСТ Р 12.1.009 Система стандартов безопасности труда. Электробезопасность. Термины и определения
ГОСТ Р 12.4.026 Система стандартов безопасности труда. Цвета сигнальные, знаки безопасности и разметка сигнальная. Назначение и правила применения. Общие технические требования и характеристики. Методы испытаний
ГОСТ Р 50030.2 (МЭК 60947-2:2006) Аппаратура распределения и управления низковольтная. Часть 2. Автоматические выключатели
ГОСТ Р 50571.5.54-2013 (МЭК 60364-5-54:2011) Электроустановки низковольтные. Часть 5-54. Выбор и монтаж электрооборудования. Заземляющие устройства, защитные проводники и защитные проводники уравнивания потенциалов
ГОСТ Р 53431 Автоматика и телемеханика железнодорожная. Термины и определения
ГОСТ Р 55056 Транспорт железнодорожный. Основные понятия. Термины и определения
ГОСТ Р 55602 Аппараты коммутационные для цепи заземления тяговой сети и тяговых подстанций железных дорог. Общие технические условия
ГОСТ Р 57077 Соединения контактные, разборные и разъемные, для соединения заземляющих проводников с рельсом железнодорожного пути. Технические требования и методы испытаний
СП 226.1326000.2014 Электроснабжение нетяговых потребителей. Правила проектирования, строительства и реконструкции
Примечание - При пользовании настоящим стандартом целесообразно проверить действие ссылочных стандартов (сводов правил) в информационной системе общего пользования - на официальном сайте Федерального агентства по техническому регулированию и метрологии в сети Интернет или по ежегодному информационному указателю "Национальные стандарты", который опубликован по состоянию на 1 января текущего года, и по выпускам ежемесячного информационного указателя "Национальные стандарты" за текущий год. Если заменен ссылочный документ, на который дана недатированная ссылка, то рекомендуется использовать действующую версию этого документа с указанным выше годом утверждения (принятия). Если после утверждения настоящего стандарта в ссылочный документ, на который дана датированная ссылка, внесено изменение, затрагивающее положение, на которое дана ссылка, то это положение рекомендуется применять без учета данного изменения. Если ссылочный документ отменен без замены, то положение, в котором дана ссылка на него, рекомендуется применять в части, не затрагивающей эту ссылку. Сведения о действии сводов правил целесообразно проверить в Федеральном информационном фонде стандартов.
В настоящем стандарте применены термины по
ГОСТ Р 53431,
ГОСТ Р 55056,
ГОСТ Р 12.1.009,
ГОСТ 14312,
ГОСТ 17703,
ГОСТ 24291,
ГОСТ 26522,
ГОСТ 27744,
ГОСТ 32895,
ГОСТ 33889 и
ГОСТ Р МЭК 60050-195, а также следующие термины с соответствующими определениями:
3.1 заземление электроустановки (системы тягового электроснабжения) на тяговую рельсовую сеть: Преднамеренное электрическое соединение какой-либо точки электроустановки (системы тягового электроснабжения) с тяговой рельсовой сетью.
3.2 электроустановка системы тягового электроснабжения: Электроустановка, предназначенная для передачи электроэнергии от железнодорожной тяговой подстанции к электроподвижному составу и обратно, или электроустановка, на которую напряжение системы тягового электроснабжения может попасть вследствие электрического контакта, нарушения изоляции или электромагнитной индукции.
3.3 общедоступные места: Посадочные платформы, места посадки и высадки пассажиров, не оборудованные посадочными платформами, переезды и пешеходные переходы в одном уровне с железнодорожными путями, пешеходные мосты.
3.4 глухое заземление (электроустановки системы тягового электроснабжения на тяговую рельсовую сеть): Заземление (электроустановки системы тягового электроснабжения на тяговую рельсовую сеть), при котором в цепи между элементом, подлежащим заземлению, и заземлителем отсутствуют коммутационные аппараты.
4.1 Металлические сооружения или их отдельные конструкции, на которые возможно попадание напряжения системы тягового электроснабжения вследствие нарушения изоляции либо вследствие соприкосновения с проводами, подлежат заземлению на тяговую рельсовую сеть. Для однониточных рельсовых цепей цепь заземления подключают к тяговой рельсовой нити, для двухниточных рельсовых цепей - только к одной, ближней рельсовой нити. На участке, ограниченном изолирующими стыками, запрещается использовать сразу обе рельсовые нити для подключения заземлений. Запрещается соединять электрически связанные объекты с несколькими разнесенными точками рельсовой сети.
К сооружениям или их отдельным конструкциям, на которые возможно попадание напряжения вследствие нарушения изоляции, относятся сооружения или конструкции, имеющие электрический контакт с арматурой изоляторов, на которых подвешены или закреплены провода системы тягового электроснабжения.
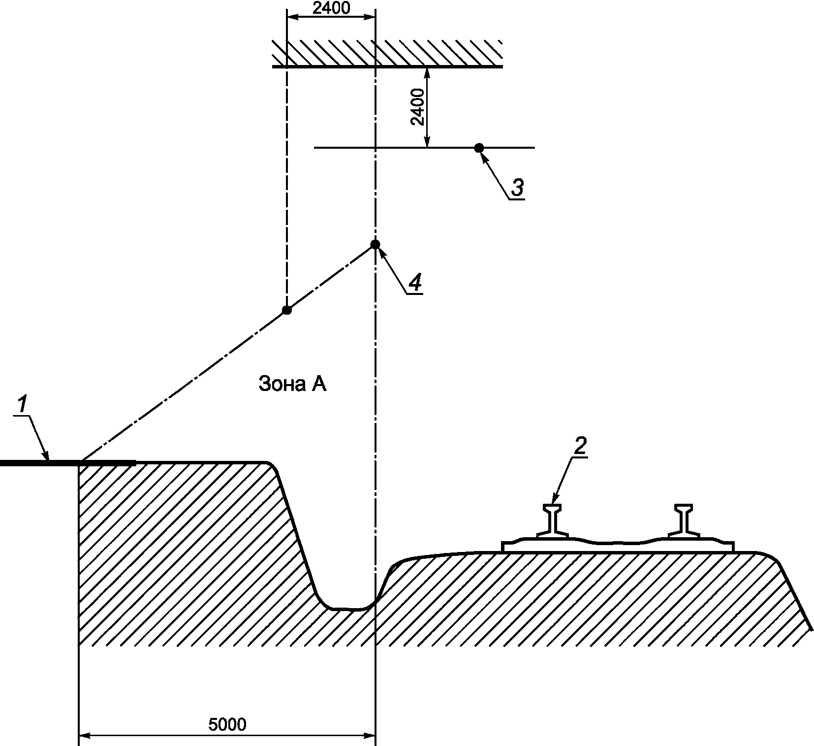
К сооружениям или их отдельным конструкциям, на которые возможно попадание напряжения вследствие соприкосновения с проводами системы тягового электроснабжения, относятся сооружения или конструкции, полностью или частично расположенные в зоне А, показанной на
рисунках 1 и
2.
1 - поверхность земли; 2 - уровень головки рельса;
3 - верхний из проводов (несущий трос, контактный провод,
усиливающий провод, дополнительный провод, провод питающей
линии, провод отсасывающей линии, провод шунтирующей линии,
а также провода линий электропередачи систем
"провод - рельсы", "два провода - рельсы"
и "контактный провод - дополнительный провод - рельсы");
4 - крайний из проводов (несущий трос, контактный
провод, усиливающий провод, дополнительный провод,
провод питающей линии, провод отсасывающей линии,
провод шунтирующей линии, а также провода линий
электропередачи систем "провод - рельсы", "два провода -
рельсы" и "контактный провод - дополнительный
провод - рельсы")
Рисунок 1 - Расположение зоны А
(ограничена пунктирной линией) при уровне
поверхности земли ниже уровня головки рельса
1 - поверхность земли; 2 - уровень головки рельса;
3 - верхний из проводов (несущий трос, контактный провод,
усиливающий провод, дополнительный провод, провод питающей
линии, провод отсасывающей линии, провод шунтирующей линии,
а также провода линий электропередачи систем
"провод - рельсы", "два провода - рельсы" и "контактный
провод - дополнительный провод - рельсы"); 4 - крайний
из проводов (несущий трос, контактный провод,
усиливающий провод, дополнительный провод, провод питающей
линии, провод отсасывающей линии, провод шунтирующей
линии, а также провода линий электропередачи систем
"провод - рельсы", "два провода - рельсы"
и "контактный провод - дополнительный провод - рельсы")
Рисунок 2 - Расположение зоны А
(ограничена пунктирной линией) при уровне
поверхности земли выше уровня головки рельса
Не допускается электрическое соединение металлических сооружений или их отдельных конструкций, подлежащих заземлению на тяговую рельсовую сеть, с какими-либо заземляющими устройствами или системами уравнивания потенциала, не предусмотренными в
разделах 5 -
16.
4.2 Металлические сооружения или их отдельные конструкции, не удовлетворяющие условиям, указанным в
4.1, на тяговую рельсовую сеть не заземляют. Не допускается электрическое соединение с тяговой рельсовой сетью сооружений и их отдельных частей, для которых необходимость такого соединения прямо не предусмотрена в
разделах 5 -
16.
4.3 Тяговая рельсовая сеть должна быть электрически непрерывной от места подключения заземляющего проводника любого из металлических сооружений или их отдельных конструкций, указанных в
4.1, до места подключения отсасывающих линий тяговых подстанций и пунктов преобразования напряжения.
4.4 Каждый участок тяговой рельсовой сети, ограниченный изолирующими стыками, должен обеспечивать двусторонний отвод тока, вызванного нормальной работой системы тягового электроснабжения и короткими замыканиями в этой системе, в смежные или параллельные участки тяговой рельсовой сети. Исключения допускаются при полном отсутствии смежных или параллельных участков тяговой рельсовой сети, в этом случае отвод тока, вызванного нормальной работой системы тягового железнодорожного электроснабжения и короткими замыканиями в этой системе, допускается выполнять односторонним. Схемы отвода тяговых токов выполняют в соответствии с требованиями, утверждаемыми владельцем инфраструктуры.
4.5 Тяговую рельсовую сеть железнодорожных путей, на которых осуществляют слив или налив горючих или легковоспламеняющихся жидкостей, соединяют с тяговой рельсовой сетью смежных или параллельных путей через разъединитель. Разъединитель должен быть оборудован блокировкой с секционным разъединителем контактной сети таким образом, чтобы отключение тяговой рельсовой сети пути, на котором осуществляется слив или налив горючих или легковоспламеняющихся жидкостей, при неотключенной контактной сети того же пути было невозможным.
Во всех остальных случаях в тяговой рельсовой сети и отсасывающих линиях тяговых подстанций и пунктов преобразования напряжения коммутационные аппараты не применяют.
4.6 Требования к тяговой рельсовой сети, обеспечивающие функционирование рельсовых цепей, устанавливают в соответствии с нормативными документами владельца железнодорожной инфраструктуры.
4.7 Требования по защите от коррозии подземных сооружений - по
ГОСТ 9.602.
4.8 При соединении заземляющих проводников с рельсом используют контактные соединения по
ГОСТ Р 57077.
4.9 Заземление на тяговую рельсовую сеть металлических сооружений или их отдельных конструкций, подлежащих, согласно
4.1, заземлению на тяговую рельсовую сеть и расположенных в общедоступных местах, выполняют через диодные заземлители по ГОСТ Р 55602.
Примечание - Случаи, в которых последовательно с диодными заземлителями необходимо также включение искровых промежутков, изложены в
5.3.7,
10.3.1,
11.4,
13.1.7,
13.2.3 и
16.2.2.
5.1 Распределительные устройства и оборудование напряжением свыше 1000 В постоянного тока сети с глухозаземленной или с эффективно заземленной нейтралью
5.1.1 Заземляющие устройства выполняют с соблюдением требований либо к сопротивлению, либо к напряжению прикосновения.
Заземляющее устройство должно быть выполнено таким образом, чтобы при стекании с него тока замыкания на землю напряжение на заземляющем устройстве не превышало 10 кВ. Исключения допускаются для заземляющих устройств, с которых исключен вынос потенциалов за пределы зданий и внешних ограждений электроустановок. Если напряжение на заземляющем устройстве при стекании с него тока замыкания на землю превышает 5 кВ, то предусматривают дополнительные меры по защите изоляции отходящих кабелей связи и телемеханики.
5.1.2 Заземляющее устройство, выполняемое с соблюдением требований к сопротивлению, должно при любых условиях эксплуатации иметь сопротивление не более 0,5 Ом. На территории, занимаемой подлежащим заземлению оборудованием, предусматривают сетку, состоящую из электрически соединенных друг с другом горизонтальных заземлителей - продольных и поперечных.
Продольные заземлители прокладывают вдоль осей электрооборудования со стороны обслуживания на глубине от 0,5 до 0,7 м от поверхности земли и на расстоянии от 0,8 до 1,0 м от фундаментов или оснований оборудования. Допускается увеличение расстояний от фундаментов или оснований оборудования до 1,5 м с прокладкой одного заземлителя для двух рядов оборудования, если стороны обслуживания обращены друг к другу, а расстояние между основаниями или фундаментами двух рядов не превышает 3,0 м.
Поперечные заземлители прокладывают между оборудованием на глубине от 0,5 до 0,7 м от поверхности земли. Расстояние между ними принимают увеличивающимся от периферии к центру сетки заземлителей. При этом первое и последующие расстояния, начиная от периферии, не должны превышать соответственно 4,0; 5,0; 6,0; 7,5; 9,0 и 11,0 м. Размеры ячеек сетки заземлителей, примыкающих к местам присоединения нейтралей силовых трансформаторов и контактов короткозамыкателей к заземляющему устройству, не должны превышать 6 x 6 м.
Крайние продольные и поперечные горизонтальные заземлители располагают по краю территории, занимаемой подлежащим заземлению оборудованием, таким образом, чтобы в совокупности эти электроды образовывали замкнутый контур.
Если контур, образованный крайними продольными и поперечными горизонтальными заземлителями, располагается в пределах внешнего ограждения электроустановки, то у входов и въездов на ее территорию следует выравнивать потенциал путем установки двух вертикальных заземлителей, присоединенных к внешнему горизонтальному заземлителю напротив входов и въездов. Вертикальные заземлители должны быть длиной от 3 до 5 м, а расстояние между ними должно быть равно ширине входа или въезда.
5.1.3 Заземляющее устройство, выполняемое с соблюдением требований к напряжению прикосновения, должно обеспечивать при стекании с него тока замыкания на землю значения напряжения прикосновения, не превышающие установленных
ГОСТ 12.1.038. Если на одно и то же заземляющее устройство заземляют оборудование распределительных устройств разных напряжений, то напряжение прикосновения определяют по наибольшему из значений тока короткого замыкания на землю для каждого из этих распределительных устройств.
При этом сопротивление заземляющего устройства определяют по допустимому напряжению на заземляющем устройстве и току замыкания на землю. При определении значения допустимого напряжения прикосновения в качестве расчетного времени воздействия принимают сумму времени действия защиты и полного времени отключения выключателя. При определении допустимых значений напряжений прикосновения принимают:
- время действия резервной защиты - у мест, где при проведении оперативных переключений могут возникнуть короткие замыкания на конструкции, доступные для прикосновения проводящему переключения персоналу;
- время действия основной защиты - на всей остальной территории.
Примечание - Под основной защитой понимают защиту, предназначенную для действия при коротких замыканиях в пределах защищаемой зоны, со временем меньшим, чем у других установленных на этом элементе защит, имеющих зону действия равную или превышающую длину защищаемой зоны, а под резервной - защиту, предназначенную для резервирования действия основной защиты при коротких замыканиях в пределах защищаемой зоны.
5.1.4 При выборе мест расположения горизонтальных заземлителей, прокладываемых в соответствии с
5.1.2 и
5.1.3, дополнительно руководствуются следующими требованиями:
- каждая подлежащая заземлению единица оборудования должна быть соединена с заземлителем не менее чем двумя заземляющими проводниками, прокладываемыми по разным трассам;
- заземляющие проводники прокладывают на глубине не менее 0,3 м;
- в местах присоединения нейтралей силовых трансформаторов и контактов короткозамыкателей к заземляющему устройству следует располагать как продольный, так и поперечный заземлитель.
5.1.5 Если контур, образованный крайними продольными и поперечными горизонтальными заземлителями, выходит за пределы внешнего ограждения электроустановки, то горизонтальные заземлители, находящиеся вне пределов внешнего ограждения, прокладывают на глубине не менее 1 м, а крайние горизонтальные заземлители располагают таким образом, чтобы форма заземляющего устройства в плане имела вид многоугольника с тупыми или скругленными углами. Все внешнее ограждение должно быть расположено внутри указанного многоугольника.
5.1.6 Если от электроустановки отходят воздушные линии электропередачи напряжением 110 кВ и выше, то внешнее ограждение электроустановки заземляют с помощью вертикальных заземлителей длиной от 2 до 3 м, располагаемых у стоек ограждения по всему ее периметру на расстоянии от 20 до 50 м друг от друга. Исключение составляют ограждения с металлическими стойками и стойками из железобетона, у которых арматура электрически соединена с металлическими звеньями ограждения; у таких ограждений вертикальные заземлители не предусматривают.
Вертикальные заземлители ограды с горизонтальными заземлителями заземляющего устройства не соединяют. Расстояние от ограды до элементов заземляющего устройства, расположенных вдоль нее с внутренней, внешней или с обеих сторон, должно быть не менее 2 м. Выходящие за пределы ограды горизонтальные заземлители, трубы и кабели с металлической оболочкой или броней и другие металлические коммуникации должны быть проложены посередине между стойками ограды на глубине не менее 0,5 м. В местах примыкания внешней ограды к зданиям и сооружениям, а также в местах примыкания к внешней ограде внутренних металлических ограждений предусматривают кирпичные или деревянные вставки длиной не менее 1 м.
Приемники электроэнергии, расположенные на внешней ограде, подключают к сети собственных нужд подстанции через разделительные трансформаторы по
ГОСТ 30030. Данные трансформаторы устанавливать на ограде не допускается. Изоляция электропроводок к этим приемникам электроэнергии должна быть выбрана на расчетное значение напряжения на заземляющем устройстве.
Если от электроустановки не отходят воздушные линии электропередачи напряжением 110 кВ и свыше, то внешнюю ограду электроустановки не заземляют.
5.1.7 Если заземляющее устройство соединено с заземляющим устройством другой электроустановки при помощи кабеля с металлической оболочкой или броней или других металлических связей, то для выравнивания потенциалов вокруг указанной другой электроустановки или здания, в котором она размещена, необходимо соблюдение одного из следующих условий:
а) прокладка в земле на глубине 1 м и на расстоянии 1 м от фундамента здания или от периметра территории, занимаемой оборудованием, заземлителя, соединенного с системой уравнивания потенциалов этого здания или этой территории, а у входов и у въездов в здание - укладка проводников на расстоянии 1 и 2 м от заземлителя на глубине 1 и 1,5 м соответственно и соединение этих проводников с заземлителем. Требование распространяется только на территории тяговых подстанций;
б) использование железобетонных фундаментов в качестве заземлителей, если при этом обеспечивается допустимый уровень выравнивания потенциалов.
При использовании условия, указанного в
перечислении б), оценку возможности использования железобетонных фундаментов промышленных зданий в качестве заземлителей выполняют по ГОСТ 12.1.030-81
(приложение 2).
Выполнение условий, указанных в
перечислениях а) и
б), не требуется, если вокруг зданий имеются асфальтовые отмостки, в том числе у входов и въездов. Если у какого-либо входа (въезда) отмостка отсутствует, то для этого входа (въезда) должно быть выполнено требование по
перечислению а) или
б).
5.1.8 Подключение приемников электроэнергии напряжением до 1000 В, расположенных за пределами заземляющих устройств электроустановок напряжением свыше 1000 В сети с эффективно заземленной нейтралью, к обмоткам трансформаторов, находящихся в пределах указанных заземляющих устройств, выполняют по одному из следующих способов:
а) трансформаторы, находящиеся в пределах заземляющего устройства, применяют с изолированной нейтралью обмотки напряжением до 1000 В, а электрическую сеть между этими трансформаторами и приемниками электроэнергии выполняют с режимом рабочих проводников и заземления IT по
ГОСТ 30331.1 кабелями без токопроводящих брони, оболочки и экрана и (или) воздушной линией электропередачи, в этой сети предусматривают пробивной предохранитель на стороне низшего напряжения трансформатора с изолированной нейтралью, напряжение срабатывания которого не ниже значения напряжения на заземляющем устройстве при стекании с него тока замыкания на землю. Требование распространяется только на территории тяговых подстанций;
б) трансформаторы, находящиеся в пределах заземляющего устройства, применяют с заземлением вывода нейтрали обмотки напряжением до 1000 В. К этой обмотке подключают устанавливаемый в пределах заземляющего устройства разделительный трансформатор по
ГОСТ 30030, а электрическую сеть между вторичной обмоткой разделительного трансформатора и приемниками электроэнергии выполняют с режимом рабочих проводников и заземления IT по
ГОСТ 30331.1, при этом разделительный трансформатор и сеть изолируют на расчетное напряжение на заземляющем устройстве при стекании с него тока замыкания на землю.
При отсутствии возможности выполнить требования
перечисления а) или
б) подключение приемников электроэнергии напряжением до 1000 В, расположенных за пределами заземляющих устройств электроустановок напряжением свыше 1000 В сети с эффективно заземленной нейтралью, к обмоткам трансформаторов, находящихся в пределах указанных заземляющих устройств, не допускается.
Способ, указанный в
перечислении б), применяют также при организации резервирования сети собственных нужд подстанции от электрических сетей, подключенных к трансформаторам, находящимся вне пределов заземляющего устройства этой подстанции.
5.2 Распределительные устройства и оборудование напряжением свыше 1000 В постоянного тока сети с изолированной нейтралью
5.2.1 Заземляющее устройство должно быть выполнено таким образом, чтобы его сопротивление
R, Ом, при прохождении расчетного тока замыкания на землю в любое время года с учетом сопротивления естественных заземлителей удовлетворяло неравенству (1), но было не более 10 Ом

(1)
где I - расчетный ток замыкания на землю, А.
В качестве расчетного тока замыкания на землю принимают наибольшее из значений, определенных для всех возможных в эксплуатации схем электрической сети. При наличии компенсации емкостных токов расчетный ток замыкания на землю принимают:
- ток, равный 125% номинального тока наиболее мощного из этих аппаратов - для заземляющих устройств, к которым присоединены компенсирующие аппараты;
- ток замыкания на землю, проходящий в данной сети при отключении наиболее мощного из компенсирующих аппаратов, - для заземляющих устройств, к которым не присоединены компенсирующие аппараты.
5.2.2 При использовании заземляющего устройства одновременно для электроустановок напряжением до 1000 В с изолированной нейтралью должны быть выполнены требования
5.5.
5.2.3 На подстанциях с высшим напряжением до 10 кВ включительно предусматривают одно общее заземляющее устройство, на которое заземляют:
- нейтрали обмоток напряжением до 1000 В силовых трансформаторов;
- баки или корпусы силовых трансформаторов;
- металлические оболочки и броню кабелей напряжением до 1000 В и напряжением свыше 1000 В;
- открытые проводящие части электроустановок напряжением до 1000 В и напряжением свыше 1000 В;
- сторонние проводящие части.
Вокруг площади, занимаемой подстанцией, на глубине не менее 0,5 м и на расстоянии не более 1 м от края фундамента здания подстанции или от края фундаментов открыто установленного оборудования предусматривают замкнутый горизонтальный заземлитель, присоединенный к заземляющему устройству.
5.3 Распределительные устройства и оборудование напряжением свыше 1000 В постоянного тока
5.3.1 Для распределительных устройств и оборудования напряжением свыше 1000 В постоянного тока предусматривают внутренний контур заземления. На внутренний контур заземления заземляют:
- металлические нетоковедущие части оборудования напряжением свыше 1000 В постоянного тока;
- арматуру изоляторов, на которых закреплены токоведущие части во всех электрических цепях напряжением свыше 1000 В постоянного тока;
- металлические нетоковедущие части оборудования и арматуру изоляторов, на которых закреплены токоведущие части на участке схемы между выводами вентильных обмоток преобразовательных трансформаторов и статических преобразователей.
5.3.2 Внутренний контур заземления должен в плане иметь конфигурацию, близкую к кольцевой с одним разрывом. С каждой стороны от разрыва через обмотки реле земляной защиты к внутреннему контуру заземления следует присоединять заземляющие проводники, ведущие к заземляющему устройству. Заземляющие проводники на расстоянии не более 1 м от реле земляной защиты следует соединять друг с другом перемычкой.
Заземляющие проводники между реле земляной защиты и заземляющим устройством следует прокладывать по разным трассам и присоединять к заземляющему устройству в точках, находящихся на расстоянии не менее 6 м друг от друга.
5.3.3 Перемычка, указанная в
5.3.2, должна находиться в помещении на высоте от уровня пола от 0,3 до 1,9 м, а реле земляной защиты - на высоте от 0,3 до 1,5 м. Перемычка и реле земляной защиты должны быть доступны для осмотра без снятия напряжения с токоведущих частей.
5.3.4 Внутренний контур заземления должен быть изолирован:
- от заземляющего устройства (по всей длине, кроме точек, указанных в
5.3.2);
- отрицательной сборной шины распределительного устройства напряжением свыше 1000 В постоянного тока;
- отсасывающей линии;
- рельсов железнодорожного подъездного пути.
Сопротивление изоляции должно быть не менее 500 Ом.
5.3.5 Внутренний контур заземления, проводники, ведущие к заземляющему устройству, и перемычку, указанную
5.3.2, выполняют из полосовой стали. Минимально допустимую площадь сечения проводников
S, мм
2, вычисляют по формуле

(2)
где IКЗ - максимально возможное значение установившегося тока металлического короткого замыкания на сборных шинах распределительного устройства, А;
t1 - наибольшее из значений полного времени отключения выключателей преобразовательных трансформаторов со стороны сетевой обмотки, с.
Если результат вычислений по
формуле (2) менее 200 мм
2, то принимают
S = 200 мм
2.
Толщина стенки проводника должна быть не менее 4 мм.
Проводники прокладывают открыто вдоль стен, потолков, корпусов электрических аппаратов и металлоконструкций, параллельно полу, стенам или потолку помещения.
5.3.6 Контактные соединения заземляющих проводников между собой, с заземлителем и с перемычкой, указанной в
5.3.2, выполняют по
5.8.6.
5.3.7 Между отсасывающей линией и одним из заземляющих проводников либо перемычкой, указанной в
5.3.2, без каких-либо дополнительных коммутационных аппаратов включают:
- короткозамыкатель, выпускаемый по ГОСТ Р 55602;
- три искровых промежутка по ГОСТ Р 55602, соединенных параллельно.
Неподвижный контакт короткозамыкателя должен быть подключен к отсасывающей линии, а подвижный - к заземляющему устройству.
Параллельно искровым промежуткам включают реле или датчик тока, действующий на включение короткозамыкателя.
Параллельно указанным выше коммутационным аппаратам может быть также включен дренажно-шунтовой заземлитель.
5.3.8 Рельсы железнодорожного подъездного пути тяговой подстанции электрически изолируют от железнодорожных путей иного назначения тремя парами изолирующих стыков - одна у границы территории подстанции, вторая - у места примыкания железнодорожного подъездного пути тяговой подстанции к железнодорожных путям иного назначения, третья - посередине между первой и второй.
5.3.9 Отсасывающую линию тяговой подстанции прокладывают по кратчайшему (по возможности) расстоянию и соединяют со средними точками дроссель-трансформаторов каждого главного пути.
Изоляция отсасывающей линии от земли по электрической прочности должна быть рассчитана на класс напряжения не менее 1000 В. Сопротивление изоляции должно быть не менее 500 кОм.
Место соединения отсасывающей линии со средними точками дроссель-трансформаторов маркируют знаком W08 "Опасность поражения электрическим током" по
ГОСТ Р 12.4.026.
5.4 Распределительные устройства и оборудование напряжением до 1000 В постоянного тока сети с глухозаземленной нейтралью
5.4.1 Выводы нейтралей обмоток напряжением до 1000 В трехфазных силовых трансформаторов и генераторов, а также один из выводов обмоток напряжением до 1000 В однофазных силовых трансформаторов соединяют с заземлителем в одной точке. Заземлитель должен быть расположен на расстоянии не более 2 м от трансформатора или генератора.
5.4.2 Заземлитель выполняют таким образом, чтобы его сопротивление в любое время года не превышало:
а) в трехфазных сетях:
1) при линейном напряжении 220 В - 8 Ом,
2) при линейном напряжении 380 В - 4 Ом;
б) в однофазных сетях напряжением 220 В - 4 Ом.
При удельном сопротивлении грунта

более 100 Ом·м допускается увеличивать указанные нормы в

раз, но не более десятикратного значения.
5.4.3 К распределительным устройствам и оборудованию трансформаторных подстанций, подключенных к линиям электропередачи автоблокировки и продольного электроснабжения, применяют требования
раздела 8.
5.5 Распределительные устройства и оборудование напряжением до 1000 В постоянного тока сети с изолированной нейтралью
Заземляющее устройство должно быть выполнено таким образом, чтобы его сопротивление R, Ом, удовлетворяло неравенству

(3)
где Uпр - напряжение прикосновения, значение которого принимают равным 50 В;
I - полный ток замыкания на землю, А.
При этом сопротивление должно быть не более 4 Ом, а при суммарной мощности трансформаторов и генераторов при параллельной работе до 100 кВ·А - не более 10 Ом.
5.6 Заземляющие устройства в районах с удельным сопротивлением грунта более 500 Ом·
м
5.6.1 Заземляющие устройства электроустановок напряжением свыше 1000 В с глухозаземленной нейтралью в районах с удельным сопротивлением грунта свыше 500 Ом·м, в том числе в районах многолетней мерзлоты, рекомендуется выполнять с соблюдением требований, предъявляемых к напряжению прикосновения.
5.6.2 В скальных структурах горизонтальные заземлители допускается прокладывать на глубине, меньшей чем указано в
5.1.2, но не менее чем 0,15 м. Кроме того, допускается не выполнять требуемые по
5.1.6 вертикальные заземлители у входов и въездов.
5.6.3 При сооружении искусственных заземлителей рекомендуются следующие мероприятия:
- устройство вертикальных заземлителей увеличенной длины, если с глубиной удельное сопротивление грунта снижается, а естественные углубленные заземлители (например, скважины с металлическими обсадными трубами) отсутствуют;
- устройство выносных заземлителей, если вблизи (до 2 км) от электроустановки есть места с меньшим удельным сопротивлением грунта;
- укладка в траншеи вокруг горизонтальных заземлителей в скальных структурах влажного глинистого грунта с последующей трамбовкой и засыпкой щебнем до верха траншеи;
- применение искусственной обработки грунта с целью снижения его удельного сопротивления, если другие способы не могут быть применены или не дают необходимого эффекта.
5.6.4 В районах многолетней мерзлоты, кроме рекомендаций, приведенных в
5.6.3, следует:
- помещать заземлители в непромерзающие водоемы и талые зоны;
- использовать обсадные трубы скважин;
- в дополнение к углубленным заземлителям применять протяженные заземлители на глубине около 0,5 м, предназначенные для работы в летнее время при оттаивании поверхностного слоя земли;
- создавать искусственные талые зоны.
5.6.5 В электроустановках напряжением свыше 1000 В, а также напряжением до 1000 В с изолированной нейтралью для грунта с удельным сопротивлением более 500 Ом·м, если мероприятия, указанные в
5.6.1 -
5.6.4, не позволяют получить приемлемые по экономическим соображениям заземлители, допускается повышать установленные в
5.2.1 значения сопротивлений заземляющих устройств в

раз, где

- эквивалентное удельное сопротивление грунта, Ом·м, но не более десятикратного значения.
5.7 Требования к заземлителям
5.7.1 В качестве естественных заземлителей используют:
- металлические и железобетонные конструкции зданий и сооружений, находящиеся в соприкосновении с землей, в том числе железобетонные фундаменты зданий и сооружений, имеющие защитные гидроизоляционные покрытия в неагрессивных, слабоагрессивных и среднеагрессивных средах;
- металлические трубы водопровода, проложенные в земле;
- обсадные трубы буровых скважин;
- металлические шпунты гидротехнических сооружений, водоводы, закладные части затворов и т.п.;
- другие находящиеся в земле металлические конструкции и сооружения.
5.7.2 Не допускается использовать в качестве естественных заземлителей:
- трубопроводы горючих жидкостей, горючих или взрывоопасных газов и смесей;
- трубопроводы канализации и центрального отопления;
- металлические оболочки и броню кабелей;
- конструкции, выполненные из алюминия и сплавов на его основе.
Не следует использовать в качестве заземлителей железобетонные конструкции зданий и сооружений с предварительно напряженной арматурой. Это ограничение не распространяется на опорные конструкции открытых распределительных устройств.
Возможность использования естественных заземлителей по условию плотности протекающих по ним токов, необходимость сварки арматурных стержней железобетонных фундаментов и конструкций, приварки анкерных болтов стальных колонн к арматурным стержням железобетонных фундаментов, а также возможность использования фундаментов в сильноагрессивных средах определяют расчетом.
5.7.3 Требования к искусственным заземлителям - по ГОСТ Р 50571.5.54-2013
(подраздел 542.2).
5.7.4 Сечение горизонтальных заземлителей в электроустановках напряжением свыше 1000 В выбирают по условию термической стойкости при допустимой температуре нагрева 400 °C в течение времени, не превышающего суммарное время срабатывания защиты и полное время отключения выключателя.
5.7.5 Траншеи, в которых прокладывают горизонтальные заземлители, должны быть заполнены однородным грунтом, не содержащим щебня и строительного мусора.
5.7.6 Горизонтальные заземлители не допускается располагать в местах, где земля подсушивается под действием тепла трубопроводов.
5.8 Требования к заземляющим проводникам
5.8.1 Объединение заземляющих проводников и последовательное соединение подлежащих заземлению единиц оборудования не допускаются.
5.8.2 Сечение заземляющих проводников в электроустановках напряжением свыше 1000 В выбирают по условию термической стойкости при допустимой температуре нагрева 400 °C в течение времени, не превышающего суммарное время срабатывания защиты и полное время отключения выключателя, при наибольшем значении тока, соответствующем:
- однофазному короткому замыканию - в электроустановках с глухозаземленной нейтралью;
- двухфазному короткому замыканию - в электроустановках с изолированной нейтралью.
5.8.3 В электроустановках напряжением свыше 1000 В с изолированной нейтралью проводимость заземляющих проводников площадью сечения до 25 мм2 по меди или равноценном ему из других материалов должна составлять не менее 1/3 проводимости линейных проводников.
5.8.4 В электроустановках напряжением до 1000 В сечение заземляющих проводников выбирают аналогично установленному в
5.9.2 для защитных проводников, а при выборе размеров заземляющих проводников руководствуются
5.7.3.
Прокладка в земле алюминиевых неизолированных проводников не допускается.
5.8.5 В электроустановках напряжением до 1000 В контактные соединения заземляющих проводников с главной заземляющей шиной выполняют разборными.
5.8.6 Контактные соединения заземляющих проводников между собой и с заземлителем выполняют:
а) для стальных проводников - сваркой с длиной нахлеста не менее двойного наибольшего поперечного размера проводника, при этом сварочный шов должен быть выполнен по всему периметру нахлеста;
б) для медных проводников - по
ГОСТ 10434 для 2-го класса соединений.
Контактные соединения располагают в местах, доступных для осмотра.
5.8.7 Требования к цветовой маркировке заземляющих проводников - по ГОСТ 34062-2017
(приложение Г).
Места входа заземляющих проводников в здания маркируют знаком по ГОСТ 21130-75
(раздел 2).
5.8.8 Заземляющие проводники системы молниезащиты выполняют из круглой стали диаметром не менее 12 мм или полосовой стали шириной не менее 30 мм при толщине не менее 4 мм. Радиус изгиба проводников должен быть не менее 150 мм.
Заземляющие проводники системы молниезащиты соединяют с заземлителем подстанции.
5.9 Требования к защитным проводникам в электроустановках напряжением до 1000 В
5.9.1 В качестве защитного проводника используют жилу того же многожильного кабеля, в котором проложены линейные проводники и нейтральный проводник той же электрической цепи. Объединение защитных проводников нескольких электрических цепей в одном кабеле не допускается.
5.9.2 Сечение защитного проводника выбирают:
- равным сечению линейного проводника - при сечении линейного проводника (линейных проводников) до 16 мм2;
- не менее 16 мм2 - при сечении линейного проводника (линейных проводников) от 16 до 35 мм2 включительно;
- не менее половины сечения линейного проводника - при сечении линейного проводника (линейных проводников) свыше 35 мм2.
5.9.3 Требования к контактным соединениям защитных проводников аналогичны установленным в
5.8.6, перечисление б), для заземляющих проводников.
5.9.4 Коммутационные аппараты в защитных проводниках не предусматривают.
6 Посты секционирования и пункты параллельного соединения
6.1.1 На посту секционирования (пункте параллельного соединения) предусматривают:
- внутренний контур заземления;
- заземляющие проводники.
6.1.2 Металлические конструкции мобильного здания поста секционирования (пункта параллельного соединения) изолируют от земли. Электрическая прочность изоляции не нормируется.
6.1.3 К сети собственных нужд постов секционирования и пунктов параллельного соединения не допускается подключение никаких иных приемников электроэнергии.
6.1.4 Металлические оболочки кабелей, заходящих в здание поста секционирования (пункта параллельного соединения), изолируют от внутреннего контура заземления, заземляющих проводников и металлических конструкций мобильного здания. Сопротивление изоляции должно быть не менее 1 МОм.
6.2 Требования к внутреннему контуру заземления
6.2.1 Внутренний контур заземления выполняют из полосовой стали. Минимально допустимую площадь сечения проводников
S, мм
2, вычисляют по формуле

(4)
где IКЗ - максимально возможное значение установившегося тока металлического короткого замыкания на сборных шинах распределительного устройства, А;
t2 - наибольшее значение выдержки времени защиты на присоединении ближайшей тяговой подстанции, с.
Если результат вычислений по
формуле (4) менее 120 мм
2, то принимают
S = 120 мм
2.
Толщина стенки проводника должна быть не менее 4 мм.
Проводники прокладывают открыто вдоль стен, потолков, корпусов электрических аппаратов и металлоконструкций, параллельно полу, стенам или потолку помещения.
6.2.2 Требования к контактным соединениям проводников, образующих внутренний контур заземления, - по
5.8.6.
6.2.3 С внутренним контуром заземления соединяют:
- металлические нетоковедущие части оборудования напряжением свыше 1000 В постоянного тока;
- арматуру изоляторов, на которых закреплены токоведущие части во всех электрических цепях напряжением свыше 1000 В постоянного тока;
- один из выводов обмотки каждого из реле напряжения;
- металлические конструкции мобильного здания поста секционирования (пункта параллельного соединения).
От внутреннего контура заземления изолируют подлежащие заземлению выводы разрядников (ограничителей перенапряжений). Сопротивление изоляции должно быть не менее 1 МОм.
6.2.4 Внутренний контур заземления через обмотку реле земляной защиты и диодный заземлитель по ГОСТ Р 55602 соединяют с заземляющими проводниками.
6.2.5 Требования к расположению реле земляной защиты аналогичны указанным в
5.3.3.
6.3 Требования к заземляющим проводникам
6.3.1 Предусматривают не менее двух заземляющих проводников. Требования к материалу и сечению заземляющих проводников аналогичны указанным в
6.2.1. Требования к контактным соединениям проводников - по
5.8.6.
6.3.2 Заземляющие проводники прокладывают параллельно друг другу, открыто и изолируют от земли.
6.3.3 Заземляющие проводники присоединяют:
а) на участках железных дорог, не оборудованных рельсовыми цепями, - к ближайшему рельсу электрифицированного пути на расстоянии не более 0,2 м друг от друга;
б) на участках железных дорог, оборудованных рельсовыми цепями:
1) если расстояние от поста секционирования (пункта параллельного
соединения) до ближайшего дроссель-трансформатора более 400 м, то
2) если расстояние от поста секционирования (пункта параллельного
соединения) до ближайшего дроссель-трансформатора до 400 м, то к средней
точке дроссель-трансформатора.
7 Пункты преобразования напряжения
7.1.1 На пункте преобразования напряжения предусматривают:
- внутренний контур заземления;
- отсасывающую линию;
- заземляющие проводники.
7.1.2 Металлические конструкции пункта преобразования напряжения изолируют от земли. Электрическая прочность изоляции не нормируется.
7.1.3 К сети собственных нужд пунктов преобразования напряжения не допускается подключение никаких иных приемников электроэнергии.
7.1.4 Металлические оболочки кабелей, заходящих в здание пункта преобразования напряжения, изолируют от внутреннего контура заземления, заземляющих проводников и металлических конструкций мобильного здания. Сопротивление изоляции должно быть не менее 1 МОм.
7.2 Требования к внутреннему контуру заземления
7.2.1 Внутренний контур заземления выполняют из круглой стали диаметром не менее 12 мм или полосовой стали шириной не менее 30 мм при толщине не менее 4 мм. Проводники, образующие внутренний контур заземления, прокладывают открыто вдоль стен, потолков, корпусов электрических аппаратов и металлоконструкций, параллельно полу, стенам или потолку помещения.
У пунктов преобразования напряжения, расположенных на одной площадке с постом секционирования или пунктом параллельного соединения, внутренний контур заземления предусматривают общим с внутренним контуром заземления поста секционирования или пункта параллельного соединения.
7.2.2 Требования к контактным соединениям проводников, образующих внутренний контур заземления, - по
5.8.6.
7.2.3 С внутренним контуром заземления соединяют:
- металлические нетоковедущие части оборудования напряжением свыше 1000 В постоянного тока;
- арматуру изоляторов, на которых закреплены токоведущие части во всех электрических цепях напряжением свыше 1000 В постоянного тока;
- один из выводов обмотки каждого из реле напряжения;
- металлические конструкции мобильного здания пункта преобразования напряжения.
От внутреннего контура заземления изолируют подлежащие заземлению выводы разрядников (ограничителей перенапряжений).
7.2.4 Внутренний контур заземления через обмотку реле земляной защиты соединяют с отсасывающей линией.
7.2.5 Требования к расположению реле земляной защиты аналогичны указанным в
5.3.3.
7.3 Требования к отсасывающей линии
7.3.1 С отсасывающей линией соединяют выводы анодов статических преобразователей.
7.3.2 Требования к прокладке отсасывающей линии и ее соединению с тяговой рельсовой сетью аналогичны указанным в
5.3.9 для тяговых подстанций.
8 Трансформаторные подстанции
8.1 Для распределительных устройств и оборудования напряжением свыше 1000 В постоянного тока трансформаторных подстанций, подключенных к линиям электропередачи автоблокировки и продольного электроснабжения, предусматривают заземляющее устройство. Это заземляющее устройство выполняют таким образом, чтобы его сопротивление в любое время года не превышало:
а) в однофазных сетях напряжением 220 В при мощности трансформатора до 10 кВ·А - 10 Ом;
б) в трехфазных сетях при мощности трансформатора свыше 10 кВ·А:
1) при линейном напряжении 220 В - 8 Ом,
2) при линейном напряжении 380 В - 4 Ом;
в) в однофазных сетях напряжением 220 В при мощности трансформатора свыше 10 кВ·А - 4 Ом.
При удельном сопротивлении грунта

более 100 Ом·м допускается увеличивать указанные нормы в

раз, но не более десятикратного значения.
Заземляющее устройство с тяговой рельсовой сетью не соединяют.
8.2 На заземляющее устройство, указанное в
8.1, заземляют:
- металлические нетоковедущие части оборудования напряжением до 1000 В и напряжением свыше 1000 В;
- арматуру изоляторов, на которых закреплены токоведущие части во всех электрических цепях напряжением свыше 1000 В;
- выводы нейтралей обмоток напряжением до 1000 В трехфазных силовых трансформаторов и один из выводов обмоток напряжением до 1000 В масляных однофазных силовых трансформаторов;
- вывод экрана между обмотками высшего и низшего напряжений сухих однофазных силовых трансформаторов;
- заземляемые выводы первичных обмоток трансформаторов напряжения;
- конструкции мобильного здания трансформаторной подстанции;
- разрядники или ограничители перенапряжений;
- баки или корпусы силовых трансформаторов;
- металлические экраны силовых трансформаторов (при наличии).
Заземляющие проводники выполняют из круглой стали диаметром не менее 12 мм или полосовой стали шириной не менее 30 мм при толщине не менее 4 мм. Радиус изгиба заземляющих проводников должен быть не менее 150 мм.
8.3 Расположенные на опорах контактной сети (в том числе контактной сети переключаемых секций станций стыкования) разъединители, через которые трансформаторная подстанция подключена к линии электропередачи, изолируют от опоры и не заземляют. В тяге привода такого разъединителя предусматривают изолирующую вставку. Вставка должна быть расположена на высоте не менее 3,0 м от поверхности грунта. Привод разъединителя заземляют в порядке, аналогичном установленному в
10.1.4 для приводов разъединителей контактной сети.
8.4 Расположенные на самостоятельных опорах разъединители, через которые трансформаторная подстанция подключена к линии электропередачи, и приводы этих разъединителей заземляют:
а) если самостоятельная опора расположена на расстоянии до 10 м от трансформаторной подстанции, то на заземляющее устройство трансформаторной подстанции;
б) если самостоятельная опора расположена на расстоянии более 10 м от трансформаторной подстанции, то на отдельное заземляющее устройство.
Заземляющее устройство, указанное в
перечислении б), выполняют таким образом, чтобы его сопротивление в любое время года не превышало:
10 Ом ........... при удельном сопротивлении земли до 100 Ом·м;
15 Ом ........... " " " " от 100 до 150 Ом·м;
20 Ом ........... " " " " от 150 до 1000 Ом·м;
30 Ом ........... " " " " свыше 1000 Ом·м.
9 Пункты подключения пассажирских вагонов
9.1.1 На пункте подключения пассажирских вагонов предусматривают:
- главную заземляющую шину;
- заземляющие проводники.
9.1.2 К сети собственных нужд пунктов подключения пассажирских вагонов не допускается подключение никаких иных приемников электроэнергии.
9.1.3 Металлические оболочки кабелей, заходящих в здание пункта подключения пассажирских вагонов, изолируют от главной заземляющей шины, заземляющих проводников и металлических конструкций мобильного здания. Сопротивление изоляции должно быть не менее 1 МОм.
9.1.4 Требования к электрическим соединениям путей отстоя пассажирских вагонов устанавливаются владельцем железнодорожной инфраструктуры.
9.2 Требования к главной заземляющей шине
9.2.1 Главную заземляющую шину выполняют из круглой стали диаметром не менее 12 мм или полосовой стали шириной не менее 30 мм при толщине не менее 4 мм и прокладывают открыто вдоль стен, потолков, корпусов электрических аппаратов и металлоконструкций, параллельно полу, стенам или потолку помещения.
9.2.2 Требования к контактным соединениям проводников, образующих главную заземляющую шину, - по
5.8.6.
9.2.3 С главной заземляющей шиной соединяют:
- металлические нетоковедущие части оборудования напряжением свыше 1000 В постоянного тока;
- арматуру изоляторов, на которых закреплены токоведущие части во всех электрических цепях напряжением свыше 1000 В постоянного тока;
- один из выводов обмотки каждого из реле напряжения;
- подлежащие заземлению выводы разрядников (ограничителей перенапряжений);
- металлические конструкции мобильного здания пункта подключения пассажирских вагонов.
9.2.4 Главную заземляющую шину через диодный заземлитель, выпускаемый по ГОСТ Р 55602, соединяют с заземляющими проводниками.
9.3 Требования к заземляющим проводникам
9.3.1 Предусматривают не менее двух заземляющих проводников. Требования к материалу и сечению заземляющих проводников аналогичны указанным в
9.2.1. Требования к контактным соединениям проводников - по
5.8.6.
9.3.2 Заземляющие проводники прокладывают параллельно друг другу, открыто и изолируют от земли.
9.3.3 Заземляющие проводники присоединяют:
а) на участках железных дорог, не оборудованных рельсовыми цепями, - к ближайшему рельсу электрифицированного пути на расстоянии не более 0,2 м друг от друга;
б) на участках железных дорог, оборудованных рельсовыми цепями:
1) если расстояние от пункта подключения пассажирских вагонов до
ближайшего дроссель-трансформатора более 400 м, то аналогично указанному
2) если расстояние от пункта подключения пассажирских вагонов до
ближайшего дроссель-трансформатора до 400 м, то к средней точке
дроссель-трансформатора.
10 Опоры и конструкции контактной сети
10.1.1 На каждой железобетонной опоре предусматривают заземляющий проводник. С заземляющим проводником соединяют все находящиеся на опоре металлические нетоковедущие части и арматуру изоляторов контактной сети, питающих, отсасывающих и шунтирующих линий, а также линий электропередачи напряжением свыше 1000 В вне зависимости от их назначения.
На металлических опорах заземляющий проводник не предусматривают. Все находящиеся на опоре металлические нетоковедущие части и арматуру изоляторов контактной сети, питающих, отсасывающих и шунтирующих линий, а также линий электропередачи напряжением свыше 1000 В вне зависимости от их назначения соединяют с частями конструкции опоры.
10.1.2 Ригель жесткой поперечины соединяют с заземляющим проводником железобетонной опоры или одной из частей конструкции металлической опоры только с одной стороны ригеля. Если на опоре с одной из сторон ригеля установлен разрядник (ограничитель перенапряжений) или разъединитель контактной сети, то ригель заземляют на этой опоре.
10.1.3 У гибких поперечин заземляют обе опоры.
10.1.4 Если на опоре расположены разъединители, короткозамыкатели, разрядники или ограничители перенапряжений, то дополнительно руководствуются следующими требованиями:
а) металлические нетоковедущие части разъединителей, короткозамыкателей, разрядников и ограничителей перенапряжений, а также приводов разъединителей и короткозамыкателей изолируют от опоры, заземляющего проводника, выполняемого по
10.1.1 -
10.1.3, и троса группового заземления;
б) в дополнение к заземляющему проводнику, выполняемому по
10.1.1 -
10.1.3, предусматривают отдельные заземляющие проводники:
1) один, с которым соединяют все металлические нетоковедущие части,
2) по два отдельных заземляющих проводника на каждый из приводов.
Сопротивление изоляции, указанной в
перечислении а), должно быть не менее 10 кОм.
10.1.5 Если на опоре расположено оборудование, связанное с направляющим проводом поездной радиосвязи, то в дополнение к заземляющим проводникам, выполняемым по
10.1.1 -
10.1.4, предусматривают еще один заземляющий проводник.
10.1.6 Оболочку и броню кабеля дистанционного управления разъединителями с корпусом привода и металлоконструкциями его крепления не соединяют.
10.2 Требования к заземляющим проводникам
10.2.1 Заземляющие проводники выполняют из круглой стали диаметром не менее 12 мм. Заземляющий проводник располагают таким образом, чтобы он не касался поверхности бетона опоры.
10.2.2 В качестве троса группового заземления используют сталеалюминиевые или сталемедные провода по
ГОСТ 839. Сечение троса группового заземления выбирают по условию термической стойкости при допустимой температуре нагрева 400 °C в течение времени, не превышающего суммарное время срабатывания защиты и полное время отключения выключателя, но не менее 70 мм
2.
При креплении троса группового заземления к опоре, которая не заземляется на этот трос, используют изоляторы того же класса, что и изоляторы контактной сети.
Ответвления от троса группового заземления к подлежащим заземлению конструкциям выполняют одинарным проводом того же материала и сечения, что и трос группового заземления. Ответвление от троса группового заземления к тяговой рельсовой сети выполняют двойным проводом того же материала и сечения, что и трос группового заземления.
10.2.3 Длина троса группового заземления не должна превышать:
а) если все опоры в группе железобетонные:
1) 1200 м (2 x 600 м) - при Т-образной схеме,
2) 600 м - при Г-образной схеме;
б) если в группе одна или несколько металлических опор:
1) 600 м (2 x 300 м) - при Т-образной схеме,
2) 300 м - при Г-образной схеме.
Если среди железобетонных опор имеются опоры с оттяжками с изоляцией, расположенной на высоте до 2,5 м, то длина троса группового заземления не должна превышать 300 м.
10.2.4 Для соединения троса группового заземления с ответвлениями используют арматуру по
ГОСТ 12393.
Для соединения троса группового заземления и заземляющих проводников с рельсом используют контактные соединения по
ГОСТ Р 57077.
10.3 Требования к соединению заземляющих проводников и частей конструкции опор с тяговой рельсовой сетью
10.3.1 Заземляющий проводник железобетонной опоры, выполняемый по
10.1.1 -
10.1.3, и одну из частей конструкции металлической опоры соединяют с тяговой рельсовой сетью по одному из следующих вариантов:
а) при групповом заземлении опор, имеющих сопротивление ниже 5 Ом (если заземляют на среднюю точку дроссель-трансформатора) или ниже 6 Ом·км (если заземляют на рельс) - через соединенные последовательно искровой промежуток и диодный заземлитель по ГОСТ Р 55602, независимо от зоны расположения;
б) при групповом заземлении опор, имеющих сопротивление выше указанного в
перечислении а), и расположенных:
1) в анодных и знакопеременных зонах - через диодный заземлитель
по ГОСТ Р 55602,
2) в катодных зонах - через искровой промежуток по ГОСТ Р 55602;
в) при индивидуальном заземлении опор, имеющих сопротивление ниже 10 кОм - через искровой промежуток по ГОСТ Р 55602;
г) при индивидуальном заземлении опор, имеющих сопротивление не ниже 10 кОм и при наличии у железобетонных опор изолирующих втулок в отверстиях для крепления закладных деталей и изолирующих прокладок под хомутами, - наглухо.
Заземляющий проводник, выполняемый по
10.1.4, соединяют с тяговой рельсовой сетью наглухо.
Заземляющий проводник, выполняемый по
10.1.5, с тяговой рельсовой сетью не соединяют и заземляют на самостоятельное заземляющее устройство. В районах вечной мерзлоты и в районах со скальным грунтом допускается заземлять оборудование, связанное с направляющим проводом поездной радиосвязи, на тяговую рельсовую сеть.
10.3.2 При групповом заземлении через искровые промежутки предусматривают по одному искровому промежутку в каждом из двух заземляющих проводников.
10.3.3 Диодные заземлители располагают на высоте от уровня земляного полотна:
- не менее 2,5 м - в общедоступных местах;
- не менее 1,5 м - в местах, не являющихся общедоступными.
Искровые промежутки располагают на высоте не менее 0,5 м от уровня земляного полотна.
10.3.4 Расстояние между местами подключения к тяговой рельсовой сети заземляющих проводников группового заземления опор и заземляющих проводников разрядников или ограничителей перенапряжений должно быть не менее 100 м.
11 Опоры питающих, отсасывающих и шунтирующих линий
11.1 К опорам контактной сети, по которым проложены также участки питающих, отсасывающих или шунтирующих линий, применяют требования
раздела 10 без каких-либо дополнений.
11.2 Промежуточные опоры питающих, отсасывающих или шунтирующих линий, расположенные на расстоянии до 10 м от электрифицированных путей, заземляют аналогично опорам контактной сети как указано в
разделе 10.
Промежуточные опоры питающих, отсасывающих или шунтирующих линий, расположенные на расстоянии более 10 м от электрифицированных путей, заземляют:
- на провода этой линии - при наличии отсасывающей линии;
- на специально прокладываемый трос группового заземления - при отсутствии отсасывающей линии.
Промежуточные опоры, на которых закреплены провода только отсасывающей линии, не заземляют. Для подвешивания проводов отсасывающей линии используют изоляторы того же класса, что и проводов контактной сети.
Требования к заземляющим проводникам аналогичны указанным в
10.2.1.
Требования к материалу и сечению троса группового заземления аналогичны указанным в
10.2.2.
11.3 У металлических промежуточных опор, удаленных от места соединения отсасывающей линии с тяговой рельсовой сетью более чем на 1 км, в дополнение к заземлению по
11.2 предусматривают горизонтальные заземлители по контуру фундамента опоры на глубине 0,3 м и на расстоянии 1,0 м от него.
11.4 Трос группового заземления соединяют со средней точкой дроссель-трансформатора через искровые промежутки по ГОСТ Р 55602.
11.5 Концевые опоры питающих линий со стороны железнодорожных путей заземляют индивидуально аналогично опорам контактной сети как указано в
разделе 10.
11.6 Концевые опоры питающих линий со стороны тяговой подстанции заземляют:
- если сопротивление заземляющего устройства до 0,5 Ом, то на заземляющее устройство тяговой подстанции наглухо;
- если сопротивление заземляющего устройства более 0,5 Ом, то на заземляющее устройство тяговой подстанции через реле земляной защиты, действующее на включение короткозамыкателя тяговой подстанции.
Концевые опоры питающих линий со стороны линейного устройства системы тягового электроснабжения заземляют на его заземляющее устройство наглухо.
11.7 Для заземления металлических нетоковедущих частей разъединителей, короткозамыкателей, разрядников и ограничителей перенапряжений, установленных на опорах питающих, отсасывающих и шунтирующих линий, расположенных на расстоянии более 10 м от электрифицированных путей, предусматривают заземляющие устройства. Эти заземляющие устройства должны быть выполнены так, чтобы их сопротивление в любое время года не превышало 3 Ом.
12 Напольные устройства сигнализации, централизации и блокировки
12.1 Металлические нетоковедущие части напольных устройств сигнализации, централизации и блокировки, расположенных в зоне А, кроме карликовых светофоров, путевых коробок, групповых муфт и стрелочных приводов, заземляют на тяговую рельсовую сеть.
12.2 Металлические нетоковедущие части карликовых светофоров, путевых коробок, групповых муфт и стрелочных приводов с тяговой рельсовой сетью не соединяют и не заземляют.
12.3 Заземляющие проводники устройств, указанных в
12.1, присоединяют:
а) на участках железных дорог, не оборудованных рельсовыми цепями, - к ближайшему рельсу электрифицированного пути не далее 0,2 м друг от друга;
б) на участках железных дорог, оборудованных рельсовыми цепями:
1) если расстояние до ближайшего дроссель-трансформатора более
2) если расстояние до ближайшего дроссель-трансформатора до 40 м,
то к средней точке дроссель-трансформатора.
12.4 В цепь заземляющего проводника металлических нетоковедущих частей светофорных мачт, светофорных мостиков и консолей, а также металлических релейных и батарейных шкафов включают разрядный прибор многократного действия, выпускаемый по нормативным документам, согласованным с владельцем инфраструктуры. Ригель светофорного мостика и лестницу соединяют с заземляющим проводником только со стороны расположения лестницы.
Металлические нетоковедущие части всех остальных напольных устройств сигнализации, централизации и блокировки, указанные в
12.1, заземляют на тяговую рельсовую сеть наглухо. При этом между конструкциями и фундаментами, а также между корпусами шкафов и стойками предусматривают изолирующие элементы.
12.5 Для каждого релейного шкафа, расположенного в зоне А, предусматривают защитный проводник выравнивания потенциала. Этот проводник должен представлять собой замкнутый горизонтальный заземлитель по контуру шкафа на глубине 0,3 м и на расстоянии 1,0 м от него. Корпус шкафа соединяют с защитным проводником выравнивания потенциала в двух местах.
Релейные шкафы, расположенные вне зоны А, на тяговую рельсовую сеть не заземляют, защитный проводник выравнивания потенциала не предусматривают. Такие релейные шкафы оборудуют заземляющими устройствами по требованиям защиты от грозовых и коммутационных перенапряжений и требованиям электробезопасности, устанавливаемым владельцем инфраструктуры.
12.6 Металлические оболочки кабелей должны быть изолированы от корпусов шкафов и металлических элементов конструкции ввода. Сопротивление изоляции должно быть не менее 1 МОм.
13 Искусственные сооружения
13.1.1 Металлические конструкции зданий, мостов, путепроводов, эстакад, пешеходных мостов, посадочных платформ, ограждений, акустических экранов, трубопроводов, тоннелей, светофорных мостиков и консолей, на которые возможно попадание напряжения системы тягового железнодорожного электроснабжения, заземляют на тяговую рельсовую сеть.
Примечание - Критерии определения возможности попадания напряжения системы тягового железнодорожного электроснабжения на металлические конструкции искусственных сооружений приведены в
4.1.
13.1.2 Использование токопроводящих материалов для отделки зданий и сооружений (металлических крыш, фасадов), расположенных в зоне А, не допускается.
Металлические конструкции зданий (крыш, фасадов), расположенные полностью или частично в зоне А, должны быть электрически соединены в единую магистраль заземления по периметру конструкции.
Единая магистраль заземления должна быть заземлена в одной точке заземляющими проводниками по
13.2, которые должны быть присоединены к средней точке дроссель-трансформатора.
13.1.3 Металлические конструкции мостов, путепроводов, эстакад, пешеходных мостов должны быть объединены в единую электрическую цепь двумя биметаллическими проводами по
ГОСТ 839, каждый сечением не менее 95 мм
2.
13.1.4 Единая электрическая цепь должна быть заземлена заземляющими проводниками по
13.2, которые должны быть присоединены к средней точке дроссель-трансформатора.
13.1.5 Каждая из опор металлической эстакады (моста) должна быть заземлена на собственный искусственный заземлитель.
13.1.6 В пределах металлических эстакад, путепроводов, мостов следует:
- металлоконструкции светофоров и релейных шкафов наглухо заземлять на тело конструкции;
- применять дроссель-трансформаторы, путевые ящики, кабельные муфты с корпусами из нетокопроводящих материалов.
13.1.7 Опоры контактной сети должны быть электрически изолированы от эстакады (моста), изоляция должна соответствовать 1-му классу напряжения по
ГОСТ 1516.3, и заземлены групповым способом на тот же дроссель-трансформатор, что и металлоконструкции эстакады, заземляющими проводниками по
13.2.
13.1.8 На железобетонных искусственных сооружениях детали крепления контактной сети, питающих линий, отсасывающих линий и шунтирующих линий изолируют от металлической арматуры железобетона.
13.1.9 Металлические конструкции посадочных платформ должны быть электрически соединены в единую магистраль заземления платформы.
Единая магистраль заземления платформы должна быть заземлена в одной точке заземляющими проводниками по
13.2, которые должны быть присоединены к рельсовой нити или к средней точке дроссель-трансформатора.
13.1.10 Металлические конструкции протяженных объектов (ограждений, акустических экранов, трубопроводов и т.д.), расположенных полностью или частично в зоне А и сближающиеся с железнодорожными путями, оборудованными рельсовыми цепями, электрически разделяют на секции, изолированные друг от друга таким образом, чтобы длина одной секции не превышала длины рельсовой цепи. В качестве изоляции между смежными секциями применяют воздушный зазор шириной в свету не менее 200 мм. Секции не должны иметь металлической связи между собой, а также с рельсами, рельсовыми скреплениями и конструкциями, заземленными на рельс, за исключением заземляющего проводника, выполняемого по
13.1.11.
13.1.11 Требование
13.1.1 к заземлению на тяговую рельсовую сеть применяют к каждой из секций протяженного объекта в отдельности. Заземление выполняют на среднюю точку дроссель-трансформатора.
13.1.12 Металлические конструкции протяженных объектов, расположенные полностью или частично в зоне А и сближающиеся с железнодорожными путями, не оборудованными рельсовыми цепями, не секционируют. Требование
13.1.1 к заземлению на тяговую рельсовую сеть применяют к таким конструкциям в целом.
13.1.13 В пределах тоннелей следует:
- металлоконструкции светофоров и релейных шкафов изолировать от металлоконструкций тоннеля и наглухо заземлять на рельс;
- применять дроссель-трансформаторы, путевые ящики, кабельные муфты с корпусами из нетокопроводящих материалов.
13.2 Требования к заземляющим проводникам
13.2.1 Для каждой из конструкций или их секций, подлежащих, согласно
13.1, заземлению на тяговую рельсовую сеть, предусматривают по два заземляющих проводника. Заземляющие проводники выполняют из круглой стали диаметром не менее 12 мм или полосовой стали шириной не менее 30 мм при толщине не менее 4 мм.
Требования к контактным соединениям проводников - по
5.8.6.
13.2.2 Заземляющие проводники прокладывают параллельно друг другу, открыто и изолируют от конструкции искусственного сооружения.
13.2.3 В разрыв заземляющих проводников включают соединенные последовательно коммутационные аппараты по ГОСТ Р 55602:
- искровые промежутки (по одному в каждый из двух заземляющих проводников);
- диодный заземлитель.
13.3 Требования к соединению заземляющих проводников с тяговой рельсовой сетью
13.3.1 Заземляющие проводники присоединяют:
а) на участках железных дорог, не оборудованных рельсовыми цепями - к ближайшему рельсу электрифицированного пути не далее 0,2 м друг от друга;
б) участках железных дорог, оборудованных рельсовыми цепями - как указано в
13.1.
Заземляющие проводники секции искусственного сооружения, сближающегося с железнодорожными путями, оборудованными рельсовыми цепями, присоединяют к средней точке дроссель-трансформатора.
13.3.2 У каждого из расположенных рядом однопутных мостов, путепроводов или эстакад для соединения, указанного в
13.3.1, используют рельс или дроссель-трансформатор соответствующего пути. При этом:
а) у многопролетных мостов, путепроводов или эстакад, не имеющих металлической связи между пролетными строениями, последние объединяют двойными медными гибкими перемычками сечением не менее 120 мм
2 каждая;
б) пролетные строения разных мостов, путепроводов или эстакад друг с другом не соединяют.
У многопутных мостов для соединения, указанного в
13.4, используют рельс или дроссель-трансформатор одного из путей.
Перемычки, указанные в
перечислении а), крепят к неответственным элементам металлических конструкций мостов, путепроводов или эстакад болтовым соединением с использованием высокопрочных болтокомплектов, выпускаемых по
ГОСТ 32484.1.
13.4 Требования к заземлению электрических сетей напряжением до 1000 В
13.4.1 Если на искусственном сооружении имеется электрическая сеть напряжением до 1000 В с режимом рабочих проводников и заземления TN по
ГОСТ 30331.1, арматура которой не изолирована от металлических конструкций, то нейтраль этой сети соединяют с металлическими конструкциями.
Если на мосту, путепроводе или эстакаде имеется электрическая сеть напряжением до 1000 В с режимом рабочих проводников и заземления IT по
ГОСТ 30331.1, арматура которой не изолирована от металлических конструкций, то сопротивление заземления этих конструкций не должно превышать 10 Ом.
13.4.2 Прокладываемые по мостам, путепроводам и эстакадам трубопроводы и кабели изолируют от металлоконструкций моста, путепровода или эстакады по всей длине прокладками из дерева или полимерных материалов толщиной не менее 15 мм. Для кабелей допускается также применение изготовленных из диэлектрических материалов кабельных каналов, кабельных лотков или труб.
13.4.3 В местах пересечения железнодорожных путепроводов и эстакад снизу контактными сетями трамвая или троллейбуса по всей длине пересекающего участка контактной сети между ней и пролетным строением путепровода предусматривают щит из диэлектрического материала толщиной не менее 50 мм, шириной не менее 1200 мм с бортами по краям, выступающими вниз на 200 мм. Щиты должны выступать за край конструкции путепровода или эстакады не менее чем на 250 мм.
14 Линии электропередачи, прокладываемые по опорам контактной сети, питающих, отсасывающих и шунтирующих линий
14.1 Линии электропередачи напряжением до 1000 В
14.1.1 Кронштейны опор контактной сети, на которых закреплены изоляторы линий электропередачи напряжением до 1000 В, изолируют от опоры, от заземляющего проводника и троса группового заземления. Для таких линий электропередачи применяют:
- изоляторы класса 10 кВ;
- кронштейны со штыревыми изоляторами и ограничителем со стороны опоры.
14.1.2 Повторное заземление нулевого провода не допускается.
14.1.3 Для защиты участков электрических сетей напряжением до 1000 В, проложенных по опорам контактной сети, питающих, отсасывающих и шунтирующих линий, применяют автоматические выключатели по
ГОСТ IEC 60934 или
ГОСТ Р 50030.2:
- в однофазных сетях и в однофазных ответвлениях от трехфазных сетей - однополюсные;
- трехфазных сетях - трехполюсные.
14.2 Линии электропередачи напряжением свыше 1000 В
14.2.1 Кронштейны, на которых закреплены изоляторы линий электропередачи напряжением свыше 1000 В, соединяют с заземляющим проводником или частями конструкции опоры как указано в
10.1.1.
14.2.2 Требования к изоляции проводов линий электропередачи - по СП 226.1326000.2014
(пункт 5.2.7).
14.2.3 В составе защит, действующих на отключение выключателей, через которые в линии электропередачи с изолированной нейтралью подается напряжение, должна быть защита от замыканий на землю. Эту защиту выполняют без выдержки времени.
Примечание - Требования
раздела 14 распространяются на линии электропередачи вне зависимости от их назначения.
15 Устройства наружного освещения
15.1 Металлические корпусы светильников и прожекторов изолируют от частей конструкции опор контактной сети, питающих, отсасывающих и шунтирующих линий, ригелей жестких поперечин путем установки изоляционных траверс. Корпусы светильников и прожекторов не заземляют и соединяют с нулевым проводом электрической сети, к которой подключен светильник или прожектор.
15.2 Прожекторные мачты и порталы наружного освещения, расположенные в зоне А, заземляют на тяговую рельсовую сеть. Если на прожекторной мачте или портале наружного освещения закреплены ригели жестких поперечин, тросы гибких поперечин контактной сети, консоли или кронштейны контактной сети, питающих, отсасывающих или шунтирующих линий, то применяют требования
разделов 10 и
11.
Прожекторные мачты и порталы наружного освещения, расположенные полностью вне зоны А, заземляют на отдельные заземляющие устройства и с тяговой рельсовой сетью не соединяют.
16 Прочие сооружения и устройства
16.1 Аппаратура волноводных линий поездной радиосвязи
Требования к заземлению аппаратуры волноводных линий поездной радиосвязи, расположенных на опорах контактной сети, питающих, отсасывающих и шунтирующих линий - по
10.1.5 и
10.3.1. Требования, обеспечивающие функционирование поездной радиосвязи, - в соответствии с нормативными документами владельца железнодорожной инфраструктуры.
16.2 Воздухопроводы систем пневмоочистки стрелок и пневмопочты
16.2.1 Воздухопроводы открытой прокладки электрически разделяют на секции таким образом, чтобы:
а) часть воздухопровода, расположенная внутри здания, была отделена от части, расположенной вне здания;
б) часть воздухопровода, расположенная в зоне А, была отделена от части, расположенной вне зоны А.
Сопротивление изоляции между секциями, указанными в
перечислениях а) и
б), должно быть не менее 1 МОм.
16.2.2 Каждую из секций воздухопровода, расположенных в зоне А, заземляют на средний вывод дроссель-трансформатора или на рельс через соединенные последовательно искровой промежуток и диодный заземлитель по ГОСТ Р 55602.
Каждую из секций воздухопровода, расположенных вне зоны А, заземляют на заземляющее устройство того сооружения, частью которого является воздухопровод.