Главная // Актуальные документы // ГОСТ Р (Государственный стандарт)
СПРАВКА
Источник публикации
М.: Стандартинформ, 2019
Примечание к документу
Документ введен в действие с 01.04.2020.
Название документа
"ГОСТ Р 58684-2019. Национальный стандарт Российской Федерации. Двери судовые огнестойкие. Общие технические условия"
(утв. и введен в действие Приказом Росстандарта от 26.11.2019 N 1240-ст)

"ГОСТ Р 58684-2019. Национальный стандарт Российской Федерации. Двери судовые огнестойкие. Общие технические условия"
(утв. и введен в действие Приказом Росстандарта от 26.11.2019 N 1240-ст)


Содержание


Утвержден и введен в действие
Приказом Федерального
агентства по техническому
регулированию и метрологии
от 26 ноября 2019 г. N 1240-ст
НАЦИОНАЛЬНЫЙ СТАНДАРТ РОССИЙСКОЙ ФЕДЕРАЦИИ
ДВЕРИ СУДОВЫЕ ОГНЕСТОЙКИЕ
ОБЩИЕ ТЕХНИЧЕСКИЕ УСЛОВИЯ
Ship's fire-resistant doors.
General technical specification
ГОСТ Р 58684-2019
ОКС 47.020.99
Дата введения
1 апреля 2020 года
Предисловие
1 РАЗРАБОТАН Научно-исследовательским институтом стандартизации и сертификации "Лот" Федерального государственного унитарного предприятия "Крыловский государственный научный центр" (НИИ "Лот" ФГУП "Крыловский государственный научный центр")
2 ВНЕСЕН Техническим комитетом по стандартизации ТК 5 "Судостроение"
3 УТВЕРЖДЕН И ВВЕДЕН В ДЕЙСТВИЕ Приказом Федерального агентства по техническому регулированию и метрологии от 26 ноября 2019 г. N 1240-ст
4 ВВЕДЕН ВПЕРВЫЕ
Правила применения настоящего стандарта установлены в статье 26 Федерального закона от 29 июня 2015 г. N 162-ФЗ "О стандартизации в Российской Федерации. Информация об изменениях к настоящему стандарту публикуется в ежегодном (по состоянию на 1 января текущего года) информационном указателе "Национальные стандарты", а официальный текст изменений и поправок - в ежемесячном информационном указателе "Национальные стандарты". В случае пересмотра (замены) или отмены настоящего стандарта соответствующее уведомление будет опубликовано в ближайшем выпуске ежемесячного информационного указателя "Национальные стандарты". Соответствующая информация, уведомление и тексты размещаются также в информационной системе общего пользования - на официальном сайте Федерального агентства по техническому регулированию и метрологии в сети Интернет (www.gost.ru)
1 Область применения
Настоящий стандарт распространяется на огнестойкие двери, устанавливаемые в огнестойких переборках класса "А" судов и плавсредств (далее - суда).
Настоящий стандарт устанавливает классификацию, основные параметры и размеры огнестойких дверей, технические требования к их изготовлению и поставке.
Настоящий стандарт не распространяется на огнестойкие двери для судов с динамическими принципами поддержания.
2 Нормативные ссылки
В настоящем стандарте использованы нормативные ссылки на следующие стандарты:
ГОСТ 2.601 Единая система конструкторской документации. Эксплуатационные документы
ГОСТ 9.014 Единая система защиты от коррозии и старения. Временная противокоррозионная защита изделий. Общие требования
ГОСТ 9.302 (ИСО 1463, ИСО 2064, ИСО 2106, ИСО 2128, ИСО 2177, ИСО 2178, ИСО 2360, ИСО 2361, ИСО 2819, ИСО 3497, ИСО 3543, ИСО 3613, ИСО 3882, ИСО 3892, ИСО 4516, ИСО 4518, ИСО 4522-1, ИСО 4522-2, ИСО 4524-1, ИСО 4524-3, ИСО 4524-5, ИСО 8401) Единая система защиты от коррозии и старения. Покрытия металлические и неметаллические неорганические. Методы контроля
ГОСТ 9.303 Единая система защиты от коррозии и старения. Покрытия металлические и неметаллические неорганические. Общие требования к выбору
ГОСТ 9.401 Единая система защиты от коррозии и старения. Покрытия лакокрасочные. Общие требования и методы ускоренных испытаний на стойкость к воздействию климатических факторов
ГОСТ 26.020 Шрифты для средств измерений и автоматизации. Начертания и основные размеры
ГОСТ 380 Сталь углеродистая обыкновенного качества. Марки
ГОСТ 493 Бронзы безоловянные литейные. Марки
ГОСТ 1050 Металлопродукция из нелегированных конструкционных качественных и специальных сталей. Общие технические условия
ГОСТ 2789 Шероховатость поверхности. Параметры и характеристики
ГОСТ 3242 Соединения сварные. Методы контроля качества
ГОСТ 9109 Грунтовки ФЛ-03К и ФЛ-03Ж. Технические условия
ГОСТ 10877 Масло консервационное К-17. Технические условия
ГОСТ 12707 Грунтовки фосфатирующие. Технические условия
ГОСТ 13837 Динамометры общего назначения. Технические условия
ГОСТ 14192 Маркировка грузов
ГОСТ 14771 Дуговая сварка в защитном газе. Соединения сварные. Основные типы, конструктивные элементы и размеры
ГОСТ 15150 Машины, приборы и другие технические изделия. Исполнения для различных климатических районов. Категории, условия эксплуатации, хранения и транспортирования в части воздействия климатических факторов внешней среды
ГОСТ 30893.1 (ИСО 2768-1) Основные нормы взаимозаменяемости. Общие допуски. Предельные отклонения линейных и угловых размеров с неуказанными допусками
Примечание - При пользовании настоящим стандартом целесообразно проверить действие ссылочных стандартов в информационной системе общего пользования - на официальном сайте Федерального агентства по техническому регулированию и метрологии в сети Интернет или по ежегодно издаваемому информационному указателю "Национальные стандарты", который опубликован по состоянию на 1 января текущего года, и по соответствующим ежемесячно издаваемым информационным указателям, выпущенным в текущем году. Если заменен ссылочный стандарт, на который дана недатированная ссылка, то рекомендуется использовать действующую версию этого стандарта с учетом всех внесенных в данную версию изменений. Если заменен ссылочный стандарт, на который дана датированная ссылка, то рекомендуется использовать версию этого стандарта с указанным выше годом утверждения (принятия). Если после утверждения настоящего стандарта в ссылочный стандарт, на который дана датированная ссылка, внесено изменение, затрагивающее положение, на которое дана ссылка, то это положение рекомендуется применять без учета данного изменения. Если ссылочный стандарт отменен без замены, то положение, в котором дана ссылка на него, рекомендуется применять в части, не затрагивающей эту ссылку.
3 Классификация, основные параметры и размеры
3.1 Внутренние двери, устанавливаемые на судах в переборках класса "А", должны иметь такую изоляцию, чтобы средняя температура на стороне, противоположной огневому воздействию, не повышалась более чем на 140 °C по сравнению с первоначальной, и ни в одной точке, включая любое соединение, температура не повышалась более чем на 180 °C по сравнению с первоначальной в промежутке времени, соответствующем типу двери, согласно требованиям Международной конвенции [1].
Примечание - В зависимости от времени, в течение которого обеспечивается соблюдение указанного перепада температур, дверям присваиваются следующие обозначения: А-60 - в течение 60 мин; А-30 - в течение 30 мин; А-15 - в течение 15 мин; А-0 - в течение 0 мин.
3.2 Судовые огнестойкие двери (далее - двери) классифицируются по типу и конструктивному исполнению.
Двери подразделяют:
- по степени огнестойкости на следующие типы: А-60, А-30, А-15 и А-0;
- по конструктивному исполнению на:
- левое исполнение (Л);
- правое исполнение (П);
- по модификации: с отверстием для прокладки пожарного рукава (Р);
- по количеству створок: одностворчатая (01) или двустворчатая (симметричная (02с) и несимметричная (02н));
- по виду дверной рамы: П-образная (П) и замкнутая (Зм);
- по наличию изоляции: "с изоляцией" (И) и "без изоляции";
- по материалу отделки: "окраска" (О), "пластик" (Пл) и "без отделки";
- по способу закрывания "с замком" (З) и "без замка".
Примечание - В зависимости от направления открывания двери изготовляют левого (Л) и правого (П) исполнений. Исполнение двери называется левым, если при открывании двери на себя петли расположены слева, и правым, если петли расположены справа:\
3.3 Размеры дверей и варианты их конструктивного исполнения (количество створок, размеры в свету, модификация) должны соответствовать указанным в таблице 1 и рисунках А.1 - А.4 (приложение А).
Таблица 1
Одностворчатая дверь
Двустворчатая дверь
симметричная
несимметричная
H x B
H x B
H x B
1650 x 500
1850 x 1200
1850 x 1200
1650 x 600
1850 x 1800
1850 x 1400
1650 x 650
1900 x 1200
1950 x 1200
1650 x 700
1900 x 1800
1950 x 1400
1650 x 750
1950 x 1200
2000 x 1200
1650 x 800
1950 x 1800
2000 x 1400
1650 x 850
2000 x 1200
-
1650 x 900
2000 x 1800
1750 x 600
-
1750 x 650
1750 x 700
1750 x 750
1750 x 800
1750 x 850
1750 x 900
1850 x 600
1850 x 650
1850 x 700
1850 x 750
1850 x 800
1850 x 900
1850 x 1000
1900 x 600
1900 x 700
1900 x 750
1900 x 800
1900 x 900
1950 x 600
1950 x 700
1950 x 750
1950 x 800
1950 x 900
2000 x 600
2000 x 700
2000 x 750
2000 x 800
2000 x 900
Примечание - Двери высотой H = 2000 устанавливают без порога.
Предельные отклонения размеров H и B: +/- IT14/2 по ГОСТ 30893.1, прочих - по действующей технической документации.
3.4 Структура условного обозначения двери
XXXX
Огнестойкая XX x ГОСТ Р
дверь XXXX XX XX (XXX) XXXX X(XX) X X(XX) X 58684
────────────┬─── ──┬── ─┬─ ─┬─ ──┬── ──┬── ──┬── ─┬─ ──┬── ─┬─ ───┬───
Наименование│ │ │ │ │ │ │ │ │ │ │
────────────┘ │ │ │ │ │ │ │ │ │ │
Тип двери: │ │ │ │ │ │ │ │ │ │
А-0; │ │ │ │ │ │ │ │ │ │
А-15; │ │ │ │ │ │ │ │ │ │
А-30; │ │ │ │ │ │ │ │ │ │
А-60 │ │ │ │ │ │ │ │ │ │
───────────────────┘ │ │ │ │ │ │ │ │ │
Исполнение: │ │ │ │ │ │ │ │ │
Л - левое исполнение; │ │ │ │ │ │ │ │ │
П - правое исполнение; │ │ │ │ │ │ │ │ │
Н - открывание наружу; │ │ │ │ │ │ │ │ │
В - открывание внутрь │ │ │ │ │ │ │ │ │
────────────────────────┘ │ │ │ │ │ │ │ │
Модификация: │ │ │ │ │ │ │ │
Р - с отверстием │ │ │ │ │ │ │ │
для прокладки │ │ │ │ │ │ │ │
пожарного рукава │ │ │ │ │ │ │ │
────────────────────────────┘ │ │ │ │ │ │ │
Количество створок: │ │ │ │ │ │ │
01 - одностворчатая; │ │ │ │ │ │ │
02с - двустворчатая, │ │ │ │ │ │ │
симметричная; │ │ │ │ │ │ │
02н - двустворчатая, │ │ │ │ │ │ │
несимметричная │ │ │ │ │ │ │
─────────────────────────────────┘ │ │ │ │ │ │
Размеры в свету │ │ │ │ │ │
───────────────────────────────────────┘ │ │ │ │ │
Вид дверной рамы: │ │ │ │ │
П - П-образная; │ │ │ │ │
Зм - замкнутая │ │ │ │ │
─────────────────────────────────────────────┘ │ │ │ │
Изоляция: │ │ │ │
И - с изоляцией; │ │ │ │
без И - без изоляции │ │ │ │
──────────────────────────────────────────────────┘ │ │ │
Отделка: │ │ │
О - окраска; │ │ │
Пл - пластик; │ │ │
без О и Пл - без отделки │ │ │
───────────────────────────────────────────────────────┘ │ │
Способ закрывания: │ │
З - с замком; │ │
без З - без замка │ │
────────────────────────────────────────────────────────────┘ │
Обозначение настоящего │
стандарта │
──────────────────────────────────────────────────────────────────┘
Пример условного обозначения огнестойкой двери типа А-60, правого исполнения, с открыванием наружу, с отверстием для прокладки пожарного рукава, одностворчатой, с размерами в свету 1850 x 800, с замкнутой рамой, с изоляцией, отделанной пластиком, с замком:
Огнестойкая дверь А-60 ПН Р 01 1850 x 800 Зм И Пл 3 ГОСТ Р 58684-19
Пример условного обозначения огнестойкой двери типа А-30, левого исполнения, с открыванием внутрь, двустворчатой симметричной, с размерами в свету 2000 x 1800, с П-образной рамой, с изоляцией, окрашенной, с замком:
Огнестойкая дверь А-30 ЛВ 02с 2000 x 1800 П И О З ГОСТ Р 58684-19
4 Технические требования
4.1 Двери должны быть изготовлены в соответствии с требованиями настоящего стандарта и действующей технической документации.
4.2 Двери, устанавливаемые на суда с классом Российского морского регистра судоходства (далее - РМРС) и Российского Речного Регистра (далее - РРР), должны соответствовать документам, регламентирующим технические требования к дверям и методам их испытаний:
- Международная конвенция [1];
- Международный кодекс по применению процедур испытания на огнестойкость (Кодекс ПИО) [2];
- правила [3] и [4], с учетом размещения дверей на судне;
- технические регламенты [5] - [7].
4.3 Конструкция двери должна обеспечивать предотвращение прохождения пламени в течение часового стандартного испытания на огнестойкость в соответствии с Международной конвенцией [1].
4.4 Дверное полотно должно быть подвержено стандартному испытанию на огнестойкость в соответствии с методом испытания, оговоренным в части 3 Кодекса ПИО [2].
4.5 Основные детали должны быть изготовлены из материалов, приведенных в таблице 2.
Таблица 2
Наименование детали
Материал
Полотно
Ст3сп ГОСТ 380
Рама
Оси
Ст3сп ГОСТ 380
Втулки
Ст3сп ГОСТ 380
БрАМц9-2 ГОСТ 493
Примечание - В качестве прокладочных и изоляционных материалов рекомендовано применять материалы, которые должны быть испытаны и оценены в соответствии с положениями Кодекса ПИО [2] и одобрены РМРС согласно требованиям части VI правил [3].
4.6 Конструкционные материалы дверного полотна и рамы, а также изоляционный материал должны быть изготовлены из одобренных негорючих материалов в соответствии с частью 1 Кодекса ПИО [2], с 2.1.2.1 части VI правил [3] и требованиями технических регламентов [6] и [7]. Материалы, которые используются в дверях, должны иметь определенные характеристики: быть негорючими, иметь характеристики медленного распространения пламени и не выделять чрезмерное количество дыма и токсичных веществ, в соответствии с 2.1.2.6 части VI правил [3].
Декоративные материалы, используемые для облицовки и отделки дверей (пластик, пленки, краски и прочие отделочные материалы), установленных в жилых, служебных помещениях, постах управления, должны иметь характеристики медленного распространения пламени в соответствии с частью 5 Кодекса ПИО [2], и не выделять чрезмерное количество дыма и токсичных продуктов при пожаре в соответствии с частью 2 Кодекса ПИО [2].
Окраску двери производят по окрасочной ведомости заказа краской под цвет помещения, в котором она устанавливается.
4.7 Сварку деталей следует производить в соответствии с действующими нормативными документами. Конструктивные элементы сварных швов должны соответствовать ГОСТ 14771.
4.8 Поверхности всех деталей дверей должны соответствовать классам чистоты, указанным в действующей технической документации.
Наличие трещин, вмятин, раковин и других дефектов, влияющих на прочность и товарный вид двери, не допускается. Острые кромки должны быть скруглены, сварные швы зачищены.
4.9 Двери должны удовлетворять требованиям климатического исполнения ОМ категории 4 группы условий эксплуатации С по ГОСТ 15150.
4.10 Металлические детали и сборочные единицы должны иметь следующее защитное покрытие:
- грунтовка ФЛ-03К по ГОСТ 9109 - один слой;
- грунтовка ВЛ-023 по ГОСТ 12707 - один слой.
4.11 Покрытие крепежа в соответствии с ГОСТ 9.303.
4.12 Поверхности трения должны быть покрыты смазкой К-17 по ГОСТ 10877.
4.13 При закрытой двери должно обеспечиваться равномерное прилегание кромки рамы к уплотнительной прокладке на полотне. При этом отклонение кромки рамы от середины уплотнительной прокладки не должно быть более +/- 2 мм.
4.14 Усилие открывания и закрывания двери одним человеком не должно быть более 0,157 кН (16 кгс).
4.15 Отклонение действительной массы дверей от теоретической не должно превышать 5%.
4.16 Срок службы дверей - 25 лет со дня сдачи судна в эксплуатацию. Показатели надежности дверей устанавливаются и проверяются, при необходимости, проектантом судна при рассмотрении общих требований о противопожарной защите судна в соответствии с частью VI правил [3] и частью III правил [4], исходя из заданных показателей надежности на противопожарную защиту в целом.
4.17 На полотне двери следует предусмотреть место крепления таблички с наименованием помещения и его номера.
4.18 Двери должны быть специально обработаны и удовлетворять требованиям нормативных документов о порядке проведения дегазации, дезактивации, дезинфекции и дезинсекции.
4.19 В конструкции дверей должна быть обеспечена возможность установки устройства для закрывания дверей (дверного закрывателя). Требования к конструкции и функциональности дверного закрывателя - в соответствии с 2.7.13 части III правил [4].
4.20 Двери, размещенные в выгородках трапов, общественных помещениях и переборках главных вертикальных зон на путях эвакуации, должны быть оборудованы отверстиями для прокладки пожарных рукавов с самозакрывающимся устройством в соответствии с 2.2.4.2 части VI правил [3]. Материал, конструкция и огнестойкость этого устройства должны быть такими же, что и у двери, в которой отверстие выполнено. Отверстие должно быть квадратным со стороной 150 мм при закрытой двери и должно быть расположено в нижней части двери с противоположной стороны от петель двери или, если двери скользящего типа, как можно ближе к стороне открытия (см. рисунки А.1 - А.4, приложение А).
4.21 Двери следует поставлять в сборе в соответствии с требованиями конструкторской документации и с одиночным комплектом запасных частей, инструмента и принадлежностей (ЗИП).
4.22 Ремонтный комплект ЗИП поставляют по отдельному договору. В комплект ЗИП входят: пружина (одна штука на одну дверь) и прокладка (100% на одну дверь).
5 Требования безопасности
5.1 Двери, устанавливаемые на судах, должны соответствовать требованиям Международной конвенции [1], с учетом размещения их на судне.
5.2 Острые кромки дверных проемов и дверей должны быть притуплены, сварные швы зачищены.
5.3 Усилие открывания и закрывания двери не должно быть более 0,157 кН (16 кгс).
6 Правила приемки
6.1 Проверку соответствия дверей требованиям настоящего стандарта осуществляет отдел технического контроля (далее - ОТК) предприятия-изготовителя.
6.2 При приемке ОТК двери подвергают сплошному, выборочному и операционному контролю на соответствие требованиям настоящего стандарта, а также приемо-сдаточным испытаниям.
6.3 Сплошной контроль двери - по 4.12 - 4.14, 8.1.
6.4 Выборочный контроль двери - по 4.15. При этом для проверки массы дверей отбирают 10% изделий от партии в 10 штук, но не менее одного изделия.
6.5 При проведении операционного контроля следует проверять сертификаты на материалы, а также качество сварных швов, шероховатость поверхностей, защитные покрытия.
6.6 Каждая дверь в сборе должна проходить приемо-сдаточные испытания в следующем объеме:
- внешний осмотр - проверяют правильность сборки и внешний вид;
- срабатывание ручки защелки;
- усилие открывания и закрывания двери;
- равномерность прилегания кромки рамы к уплотнительной прокладке при закрытой двери. Проверку производят по графитному или меловому (цветному) отпечатку. Отпечаток должен располагаться на середине уплотнительной прокладки с учетом поля допуска. Допускаются местные разрывы отпечатка длиной не более 40 мм. Общая длина таких разрывов не должна превышать 150 мм на короткой стороне двери и 250 мм на длинной.
6.7 Двери, не отвечающие требованиям 6.6, подлежат браковке.
6.8 Забракованная дверь после замены дефектных деталей допускается к приемо-сдаточным испытаниям повторно. При этом повторные испытания должны быть проведены в полном объеме. Двери, не выдержавшие повторных испытаний, бракуют окончательно.
7 Методы контроля
7.1 Качество материала деталей проверяют по сертификатам или данным лабораторных испытаний и анализа предприятия-изготовителя.
7.2 Контроль внешнего вида, конструкции и комплектности производят внешним осмотром и сличением с чертежами.
7.3 Контроль шероховатости поверхностей деталей производят сравнением с образцами шероховатости по ГОСТ 2789.
7.4 Контроль размеров производят измерительным инструментом.
7.5 Контроль сварных швов - по ГОСТ 3242.
7.6 Контроль покрытий грунтовками - по ГОСТ 9.401.
7.7 Контроль гальванических покрытий - по ГОСТ 9.302.
7.8 Контроль массы производят взвешиванием на весах.
7.9 Проверку работоспособности следует производить в рабочем положении двери.
7.10 Для проведения испытаний дверей применяют:
- испытательный стенд;
- весы с ценой деления не более 0,1 кг;
- динамометр пружинный обычного исполнения, класса точности 2 с ценой деления 0,5 по ГОСТ 13837;
- измерительный инструмент, обеспечивающий требуемую чертежами точность;
- эталоны классов, чистоты обработки поверхностей.
7.11 Проверку усилия открывания и закрывания двери производят на стенде при помощи динамометра.
8 Маркировка, упаковка, хранение и транспортирование
8.1 Маркировка
8.1.1 На каждой двери в соответствии с техническим регламентом [7] в указанном на чертеже месте должна быть нанесена следующая маркировка:
- наименование изделия;
- наименование и адрес изготовителя или товарный знак предприятия-изготовителя;
- обозначение серии или типа;
- серийный номер;
- дата изготовления;
- масса изделия;
- информация об оценке соответствия.
8.1.2 Маркировку следует выполнять ударным способом на глубину 0,5 мм шрифтом 5-Пр5 по ГОСТ 26.020.
8.2 Упаковка
8.2.1 Незагрунтованные поверхности дверей, принятых ОТК, должны быть законсервированы смазкой К-17 по ГОСТ 10877 и в соответствии с ГОСТ 9.014 способом, обеспечивающим сохранность деталей в течение трех лет.
8.2.2 Каждая дверь должна иметь упаковку из:
- полиэтиленовой пленки;
- рубероида;
- деревянного каркаса.
Дверь должна быть раскреплена так, чтобы исключалась возможность ее перемещения.
8.2.3 В каждую упаковку должна быть вложена этикетка, оформленная в соответствии с ГОСТ 2.601.
8.2.4 Маркировка тары - по ГОСТ 14192.
8.3 Хранение и транспортирование
8.3.1 Условия хранения дверей на предприятии-потребителе - по категории С ГОСТ 9.014.
8.3.2 Транспортирование дверей следует осуществлять только в закрытом транспорте по категории С ГОСТ 9.014.
9 Гарантии изготовителя
9.1 Гарантийный срок службы - 5 лет со дня сдачи судна в эксплуатацию.
9.2 Предприятие-изготовитель безвозмездно устраняет в кратчайший технически возможный срок дефекты и неполадки, а также производит замену деталей, вышедших из строя в течение гарантийного срока по причине поломки или преждевременного износа, являющихся следствием применения некачественных материалов или неудовлетворительного изготовления.
9.3 По окончании гарантийного срока, но в пределах установленного стандартом срока службы, за изготовителем сохраняется ответственность за качество двери. Поставка новых деталей или узлов, необходимых для восстановления вышедшей из строя двери, в этом случае производится изготовителем за счет генерального заказчика.
Приложение А
(рекомендуемое)
ПРИМЕРЫ КОНСТРУКТИВНОГО ИСПОЛНЕНИЯ ОГНЕСТОЙКИХ ДВЕРЕЙ
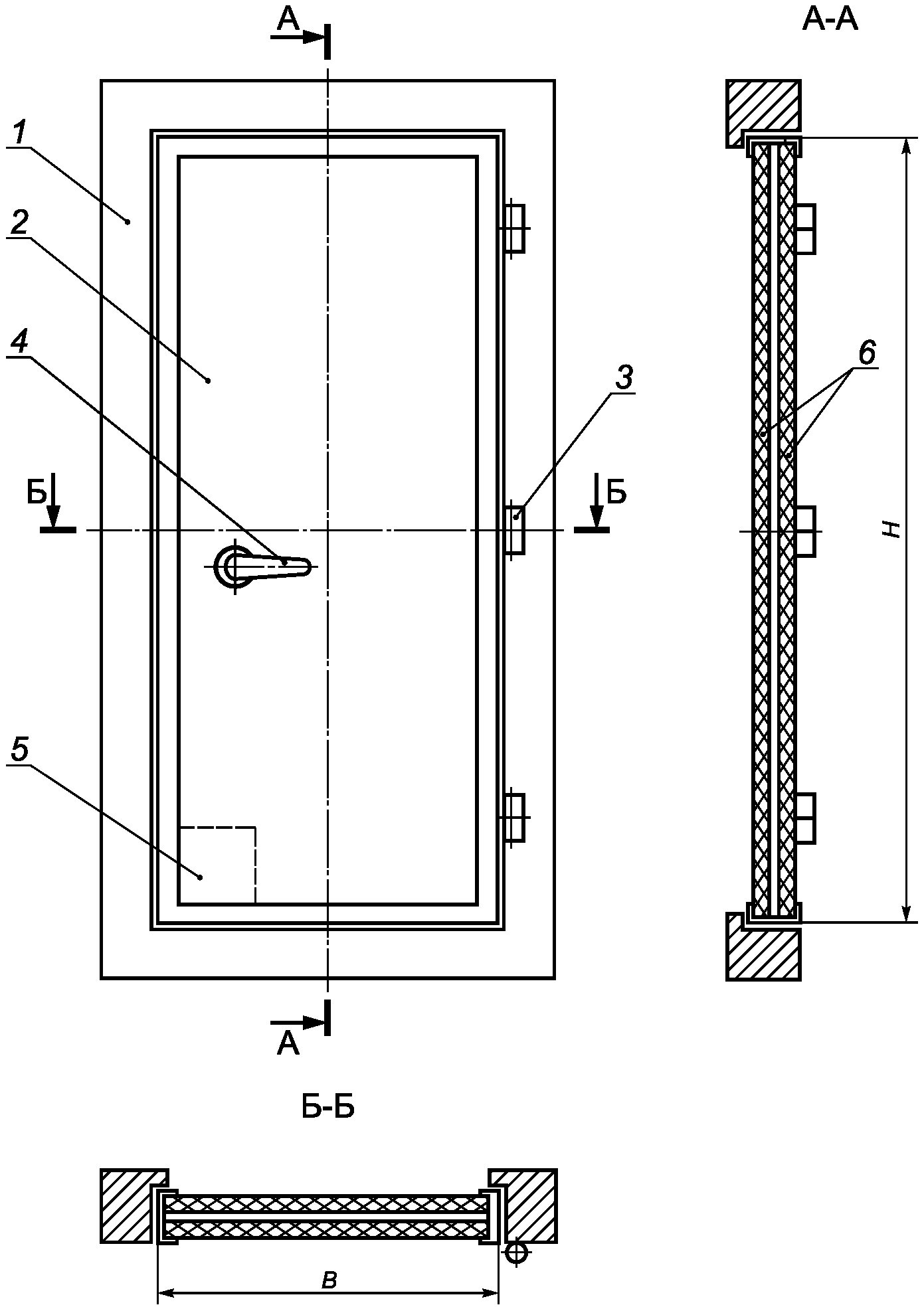
1 - рама; 2 - полотно; 3 - петля; 4 - ручка защелки;
5 - место размещения отверстия для прокладки
пожарного рукава; 6 - изоляция
Рисунок А.1 - Одностворчатая дверь А-60 с изоляцией
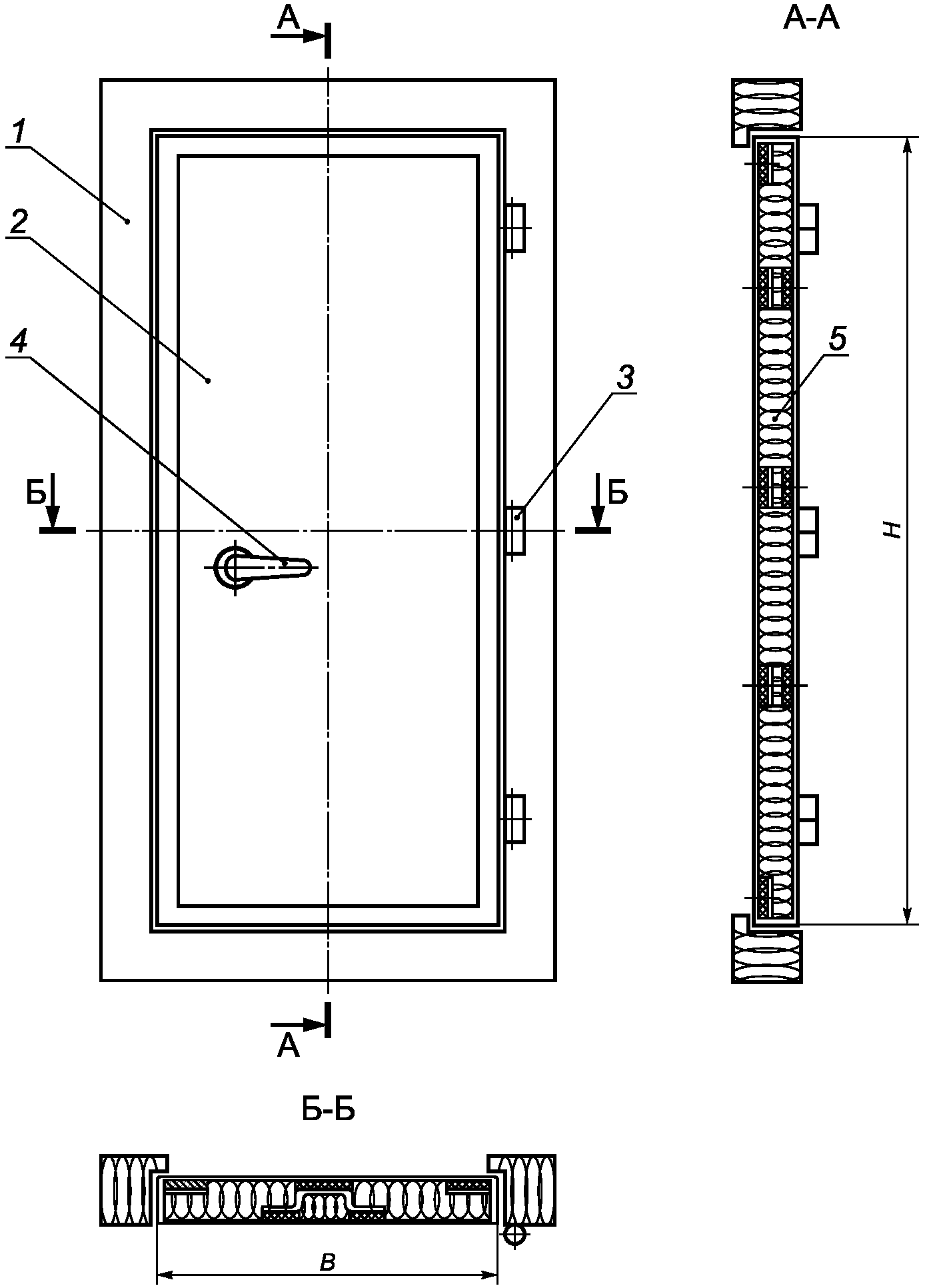
1 - рама; 2 - полотно; 3 - петля;
4 - ручка защелки; 5 - изоляция
Рисунок А.2 - Одностворчатая дверь А-30 с изоляцией
1 - рама; 2 - петля; 3 - полотно; 4 - ручка защелки;
5 - место размещения отверстия для прокладки
пожарного рукава; 6 - изоляция
Рисунок А.3 - Двустворчатая дверь А-30
симметричная с изоляцией
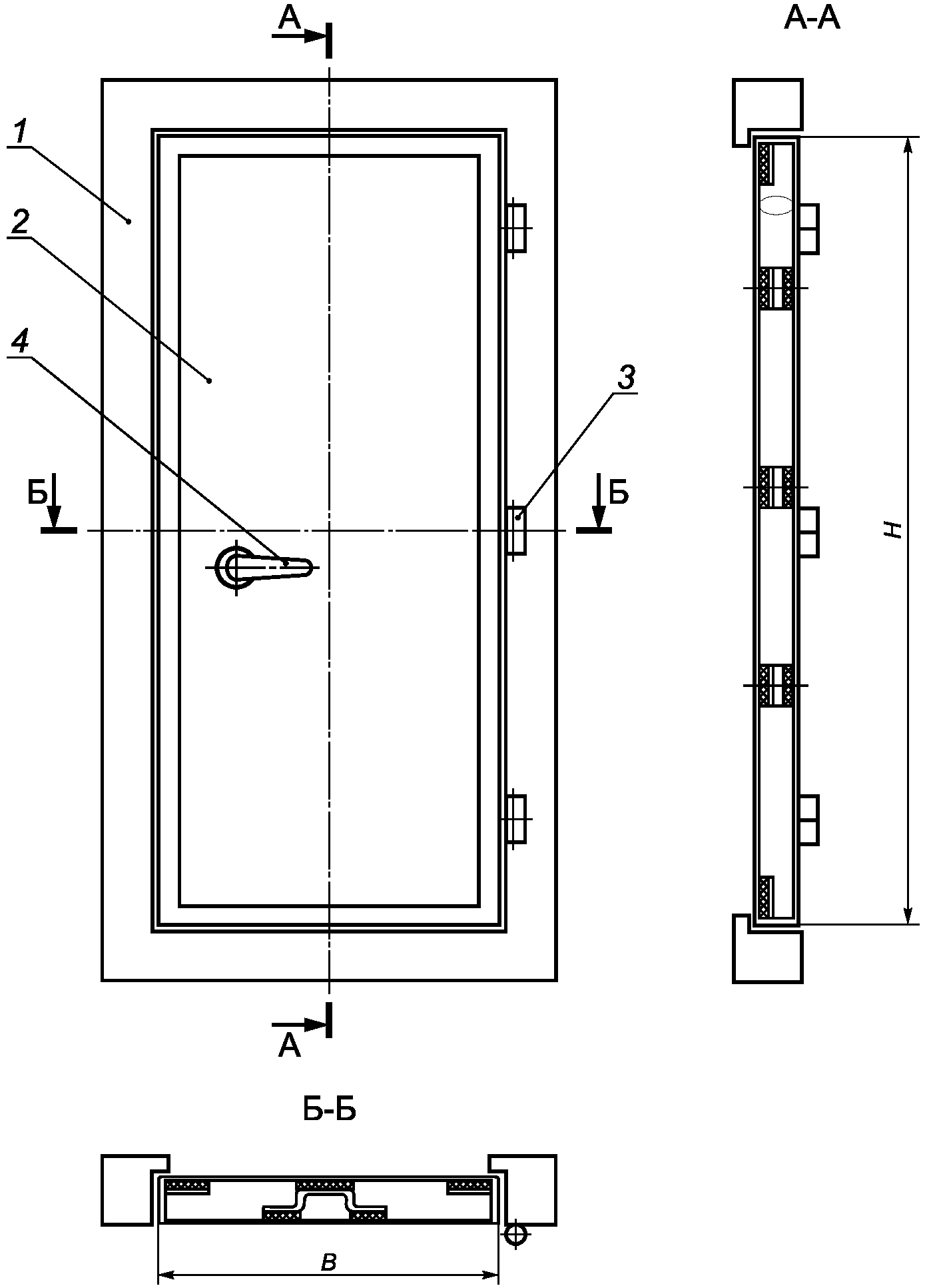
1 - рама; 2 - полотно; 3 - петля; 4 - ручка защелки
Рисунок А.4 - Одностворчатая дверь без изоляции
БИБЛИОГРАФИЯ
[1]
Международная конвенция по охране человеческой жизни на море 1974 года СОЛАС-74 (текст, измененный Протоколом 1988 года к ней, с поправками) (с изменениями на 1 января 2016 года)
[2]
Международный кодекс по применению процедур испытания на огнестойкость, 2010 (принят резолюцией ИМО MSC.307(88))
[3]
НД N 2-020101-114 Правила классификации и постройки морских судов, Российский морской регистр судоходства, 2019
[4]
Правила классификации и постройки судов, Российский Речной Регистр, 2015
[5]
Федеральный закон Российской Федерации "Технический регламент о требованиях пожарной безопасности" от 22.07.2008 N 123-ФЗ
[6]
Технический регламент о безопасности объектов морского транспорта (утвержден постановлением Правительства РФ от 12 августа 2010 г. N 620)
[7]
Технический регламент о безопасности объектов внутреннего водного транспорта (утвержден постановлением Правительства РФ от 12 августа 2010 г. N 623)
УДК 629.5.023.73-033.7:006.354
ОКС 47.020.99
Ключевые слова: двери судовые огнестойкие, общие технические условия, типы, основные параметры, размеры