Главная // Актуальные документы // ГОСТ Р (Государственный стандарт)СПРАВКА
Источник публикации
М.: ФГБУ "РСТ", 2021
Примечание к документу
Документ
введен в действие с 01.01.2022.
Название документа
"ГОСТ Р 59924-2021. Национальный стандарт Российской Федерации. Узлы соединения панелей для деревянного домостроения. Типы, конструкции, технические требования и методы контроля"
(утв. и введен в действие Приказом Росстандарта от 02.12.2021 N 1678-ст)
"ГОСТ Р 59924-2021. Национальный стандарт Российской Федерации. Узлы соединения панелей для деревянного домостроения. Типы, конструкции, технические требования и методы контроля"
(утв. и введен в действие Приказом Росстандарта от 02.12.2021 N 1678-ст)
Утвержден и введен в действие
агентства по техническому
регулированию и метрологии
от 2 декабря 2021 г. N 1678-ст
НАЦИОНАЛЬНЫЙ СТАНДАРТ РОССИЙСКОЙ ФЕДЕРАЦИИ
УЗЛЫ СОЕДИНЕНИЯ ПАНЕЛЕЙ ДЛЯ ДЕРЕВЯННОГО ДОМОСТРОЕНИЯ
ТИПЫ, КОНСТРУКЦИИ, ТЕХНИЧЕСКИЕ ТРЕБОВАНИЯ
И МЕТОДЫ КОНТРОЛЯ
Knots of connection of panels for wooden housing
construction. Types, designs, technical
requirements and control methods
ГОСТ Р 59924-2021
Дата введения
1 января 2022 года
1 РАЗРАБОТАН Обществом с ограниченной ответственностью "Бюро качества ИСО 9000" (ООО "Бюро качества ИСО 9000")
2 ВНЕСЕН Техническим комитетом по стандартизации ТК 465 "Строительство"
3 УТВЕРЖДЕН И ВВЕДЕН В ДЕЙСТВИЕ
Приказом Федерального агентства по техническому регулированию и метрологии от 2 декабря 2021 г. N 1678-ст
4 ВВЕДЕН ВПЕРВЫЕ
Правила применения настоящего стандарта установлены в статье 26 Федерального закона от 29 июня 2015 г. N 162-ФЗ "О стандартизации в Российской Федерации". Информация об изменениях к настоящему стандарту публикуется в ежегодном (по состоянию на 1 января текущего года) информационном указателе "Национальные стандарты", а официальный текст изменений и поправок - в ежемесячном информационном указателе "Национальные стандарты". В случае пересмотра (замены) или отмены настоящего стандарта соответствующее уведомление будет опубликовано в ближайшем выпуске ежемесячного информационного указателя "Национальные стандарты". Соответствующая информация, уведомление и тексты размещаются также в информационной системе общего пользования - на официальном сайте Федерального агентства по техническому регулированию и метрологии в сети Интернет (www.rst.gov.ru)
Целью настоящего стандарта является установление единых требований к узлам соединения панелей деревянного домостроения для промышленно выпускаемых строительных конструкций из древесины.
Стандарт разработан во исполнение Федерального
закона от 30 декабря 2009 г. N 384-ФЗ "Технический регламент о безопасности зданий и сооружений", выполнения требований Федерального
закона от 23 ноября 2009 г. N 261-ФЗ "Об энергосбережении и повышении энергетической эффективности и о внесении изменений в отдельные законодательные акты Российской Федерации", применения единых методов определения эксплуатационных характеристик и методов оценки.
Настоящий стандарт распространяется на узлы соединения панелей, применяемых в деревянном домостроении, и устанавливает типы соединений, их конструкции, технические требования и методы контроля, которые следует учитывать при разработке нормативных документов на конкретные виды панелей.
В настоящем стандарте использованы нормативные ссылки на следующие документы:
ГОСТ 2.052 Единая система конструкторской документации. Электронная модель изделия. Общие положения
ГОСТ 9.303 Единая система защиты от коррозии и старения. Покрытия металлические и неметаллические неорганические. Общие требования к выбору
ГОСТ 15.309 Система разработки и постановки продукции на производство. Испытания и приемка выпускаемой продукции. Основные положения
ГОСТ 427 Линейки измерительные металлические. Технические условия
ГОСТ 2140 Видимые пороки древесины. Классификация, термины и определения, способы измерения
ГОСТ 6449.1 Изделия из древесины и древесных материалов. Поля допусков для линейных размеров и посадки
ГОСТ 7016 Изделия из древесины и древесных материалов. Параметры шероховатости поверхности
ГОСТ 8486 Пиломатериалы хвойных пород. Технические условия
ГОСТ 10354 Пленка полиэтиленовая. Технические условия
ГОСТ 15612 Изделия из древесины и древесных материалов. Методы определения параметров шероховатости поверхности
ГОСТ 15846 Продукция, отправляемая в районы Крайнего Севера и приравненные к ним местности. Упаковка, маркировка, транспортирование и хранение
ГОСТ 16588 (ИСО 4470-81) Пилопродукция и деревянные детали. Методы определения влажности
ГОСТ 20477 Лента полиэтиленовая с липким слоем. Технические условия
ГОСТ 20850 Конструкции деревянные клееные несущие. Общие технические условия
ГОСТ 24297 Верификация закупленной продукции. Организация проведения и методы контроля
ГОСТ 25621 Материалы и изделия полимерные строительные герметизирующие и уплотняющие. Классификация и общие технические требования
ГОСТ 25898 Материалы и изделия строительные. Методы определения паропроницаемости и сопротивления паропроницанию
ГОСТ 26589 Мастики кровельные и гидроизоляционные. Методы испытаний
ГОСТ 30547 Материалы рулонные кровельные и гидроизоляционные. Общие технические условия
ГОСТ 31167 Здания и сооружения. Методы определения воздухопроницаемости ограждающих конструкций в натурных условиях
ГОСТ 33080 Конструкции деревянные. Классы прочности конструкционных пиломатериалов и методы их определения
ГОСТ 33081 Конструкции деревянные клееные несущие. Классы прочности элементов конструкций и методы их определения
ГОСТ 33082 Конструкции деревянные. Методы определения несущей способности узловых соединений
ГОСТ 33120 Конструкции деревянные клееные. Методы определения прочности клеевых соединений
ГОСТ 33795 Древесное сырье, лесоматериалы, полуфабрикаты и изделия из древесины и древесных материалов. Допустимая удельная активность радионуклидов, отбор проб и методы измерения удельной активности радионуклидов
ГОСТ Р ИСО 898-1 Механические свойства крепежных изделий из углеродистых и легированных сталей. Часть 1. Болты, винты и шпильки установленных классов прочности с крупным и мелким шагом резьбы
ГОСТ Р 53340 Приборы геодезические. Общие технические условия
ГОСТ Р 54853 Здания и сооружения. Метод определения сопротивления теплопередаче ограждающих конструкций с помощью теплометра
ГОСТ Р 55658 Панели стеновые с деревянным каркасом. Технические условия
ГОСТ Р 56309 Плиты древесные строительные с ориентированной стружкой (OSB). Технические условия
ГОСТ Р 56623 Контроль неразрушающий. Метод определения сопротивления теплопередаче ограждающих конструкций.
ГОСТ Р 56705 Конструкции деревянные для строительства. Термины и определения
ГОСТ Р 56706 Плиты клееные из пиломатериалов с перекрестным расположением слоев. Технические условия
ГОСТ Р 56710 Соединения на вклеенных стержнях для деревянных конструкций. Технические условия
ГОСТ Р 56711 Соединения нагельного типа для деревянных конструкций. Технические условия
ГОСТ Р 56769 Здания и сооружения. Оценка звукоизоляции воздушного шума
ГОСТ Р 57311 Моделирование информационное в строительстве. Требования к эксплуатационной документации объектов завершенного строительства
Примечание - При пользовании настоящим стандартом целесообразно проверить действие ссылочных документов в информационной системе общего пользования - на официальном сайте Федерального агентства по техническому регулированию и метрологии в сети Интернет или по ежегодному информационному указателю "Национальные стандарты", который опубликован по состоянию на 1 января текущего года, и по выпускам ежемесячного информационного указателя "Национальные стандарты" за текущий год. Если заменен ссылочный документ, на который дана недатированная ссылка, то рекомендуется использовать действующую версию этого документа с учетом всех внесенных в данную версию изменений. Если заменен ссылочный документ, на который дана датированная ссылка, то рекомендуется использовать версию этого документа с указанным выше годом утверждения (принятия). Если после утверждения настоящего стандарта в ссылочный документ, на который дана датированная ссылка, внесено изменение, затрагивающее положение, на которое дана ссылка, то это положение рекомендуется применять без учета данного изменения. Если ссылочный документ отменен без замены, то положение, в котором дана ссылка на него, рекомендуется применять в части, не затрагивающей эту ссылку. Сведения о действии сводов правил целесообразно проверить в Федеральном информационном фонде стандартов.
3.1 собранный узел соединения: Узел соединения, являющийся неотъемлемой частью соединяемых панелей, не требующий при сборке дополнительных крепежных элементов.
3.2 элемент крепления: Крепежная деталь для образования узла соединения.
4 Типы, конструкции и условные обозначения
4.1 Настоящий стандарт рассматривает следующие виды узлов соединения заводской готовности: собранные узлы (П), узлы с установленными элементами соединения (Ч) и узлы в комплекте элементов соединения и крепления панелей (К).
Узлы Ч и К поставляют в разобранном состоянии.
4.2 Узлы соединения панелей имеют следующие типы в зависимости от расположения узлов, эксплуатационной нагрузки и уровня защиты.
4.3 По расположению стыка узла подразделяют:
- на вертикальные узлы (В);
- на горизонтальные узлы (Г);
- на наклонные узлы (мансардные) (М).
4.4 По эксплуатационной нагрузке узлы подразделяют:
- на несущие (Н), воспринимающие нагрузку от других конструктивных элементов здания и внешних воздействий;
- на самонесущие (С), воспринимающие нагрузку от собственного веса.
4.5 По уровню защиты узлы подразделяют:
- на защищенные (З), имеющие тепло, водо-, паро-, звукоизоляцию;
- на неизолированные (Л).
4.6 Условное обозначение (марка) должно содержать: место расположения панелей, эксплуатационную нагрузку, качество защиты.
Пример условного обозначения изделия (марка): узла собранного, вертикального, нагруженного, неизолированного.
П - В - Н - Л
4.7 Типовые узлы соединений панелей для деревянного домостроения приведены в
приложении А.
5.1 Эксплуатационные характеристики
Эксплуатационные характеристики узлов соединения панелей приведены в таблице 1.
Таблица 1
Основные эксплуатационные показатели узлов
соединения панелей
Наименование показателя | Конструкция узла | Допустимое значение |
Прочность узлов, установленных на винтах, дюбелях и болтах | Конструкции с дополнительными средствами крепления | Согласно проектной документации |
Сопротивление теплопередаче Rо | Все конструкции | >= 3,0 м2·°C/Вт |
Эквивалентный уровень звука Cэ | Все конструкции | < 43 дБA |
Коэффициент паропроницаемости Rn | Все конструкции | < 0,06 (м2·ч·Па)/мг |
Предел водопроницаемости Pq | Все конструкции | < 0,2 МПа (2 кгс/см) |
Воздухопроницаемость Ga | Все конструкции | < 0,5 кг/(м3·ч) |
Безопасность. | Все конструкции | |
Выделение в окружающую среду: | | |
- формальдегида, | | <= 0,08 мг/м3 |
- фенола, | | <= 0,01 мг/м3 |
- аммиака. | | <= 0,20 мг/м3 |
Удельная активность Cs-137 | | <= 190 Бк/кг |
5.2 Конструктивные требования
5.2.2 Узлы соединения должны обеспечить жесткое соединение панелей.
5.2.3 Узлы соединения панелей должны иметь характеристики прочности выше, чем конструкция панелей в отдельности.
5.2.4 Узлы соединения не должны вызывать деформацию формы панелей.
5.2.5 Предельные отклонения от номинальных размеров деталей панелей в узлах соединения должны быть не более квалитета
Js10 по
ГОСТ 6449.1.
5.2.6 Требования к поверхности контакта панелей в узле соединения.
5.2.6.1 Шероховатость древесины поверхностей контакта соединяемых панелей, балок и других деталей узлов соединения должна быть не более 300 мкм согласно
ГОСТ 7016.
5.2.6.2 Поверхности контакта должны иметь невымываемое покрытие, защищающее от биологического воздействия, по
ГОСТ 20022.2.
5.2.6.3 Поверхности контакта узлов должны быть очищены от пыли и загрязнений.
5.2.6.4 Поверхности соединения не должны иметь вмятин и сколов.
5.2.7 Средства крепления узлов (комплектующие) соединения панелей
5.2.7.1 Фиксация узлов соединения панелей обеспечивается крепежными элементами.
5.2.7.2 Число и схема расстановки узлов крепления определяется проектной документацией.
5.2.7.3 В случае, когда узел соединения не является неотъемлемой частью панели, на каждую сторону соединения панелей должно быть установлено не менее двух элементов крепления.
5.2.7.4 Панели, снабженные металлическими деталями, выполняющими функции соединительных элементов, изготовляют согласно
ГОСТ 20850.
5.2.7.5 Для фиксации узлов соединения допускается только винтовой крепеж, с установкой в предварительно просверленные отверстия. Диаметр и глубина отверстий определяется изготовителем крепежа.
5.2.8 Уплотнение и герметизация узлов соединения панелей
5.2.8.1 Внутри сечения узлов в специальные пазы устанавливают уплотнители. Ширина паза - не менее 20 мм, глубина паза - не менее 20 мм.
5.2.8.2 Пазы для уплотнителей должны обеспечивать сжатие материала уплотнителя не менее чем на 10%.
5.2.8.3 Пазы для монтажа должны обеспечивать установку уплотнений без щелей.
5.2.8.4 Внешние швы соединения панелей заполняются специальными герметизирующими материалами (мастиками), согласно
ГОСТ 25621, на полимерной основе, устанавливаемыми насухо, и имеющими адгезионную прочность с древесиной не менее 3 МПа. Сечения швов для заполнения герметиками представлены в
приложении Б.
5.2.8.5 Температура герметизирующего материала не должна превышать 45 °C.
5.2.8.6 Условия применения герметизирующего материала должно соответствовать требованиям инструкции производителя этого материала.
5.2.8.7 Внешние швы должны иметь сопротивление паропроницанию наружного водоизоляционного слоя менее 0,25 м·ч·Па/мг.
5.2.8.8 Прочность сцепления герметика с материалом узла панели должна быть не менее 0,4 МПа.
5.2.8.9 Уплотнение узлов соединения панелей внешних стен и перекрытий должно быть сплошным по всей плоскости кромки панели в месте соединения. Соединение торцов уплотняющих прокладок допускается только в ус без зазоров.
5.2.8.10 Уплотнители узлов соединения панелей перегородок устанавливают в два ряда. Расстояние между рядами уплотнителей - не менее 100 мм.
5.2.8.11 Внутренние швы должны иметь сопротивление паропроницанию внутреннего пароизоляционного слоя более 2 м·ч·Па/мг.
5.2.9 Присадочные места, необходимые для установки крепления фурнитуры узлов соединения, и отверстия для установки средств крепления должны быть изготовлены в заводских условиях.
5.2.10 Техническая документация на узлы соединения панелей для деревянного домостроения должна быть компонентом информационного моделирования объектов гражданского строительства и эксплуатации зданий и сооружений и иметь открытые форматы обмена данными с открытой спецификацией согласно
ГОСТ Р 57311.
5.3 Требования к материалам и комплектующим
5.3.1 Древесина, используемая для изготовления узлов соединения
5.3.1.1 Предназначенные для установки узлов соединения кромки панелей должны быть изготовлены из древесины с заданным классом прочности по
ГОСТ 33080.
5.3.1.2 Несущие деревянные элементы конструкций должны соответствовать сорту 1 или 2 по
ГОСТ 8486.
5.3.1.3 Древесина деталей панелей должна иметь влажность, равновесную условиям эксплуатации с допуском +/- 1,0%.
5.3.1.4 Рекомендуется в узлах соединения использовать древесину, имеющую класс прочности С24 и Т24 и выше по
ГОСТ 33080.
Класс прочности клееной древесины должен быть Т24 и выше по
ГОСТ 33081.
5.3.2 Материалы уплотнителей и герметиков узлов соединения
5.3.2.1 Материалы, применяемые для уплотнения, должны иметь рабочую температуру применения в диапазоне от минус 40 °C до плюс 50 °C.
5.3.2.2 Твердость материала уплотнения должна быть не ниже 70 ед. Шора A. Отклонения должны быть в пределах +/- 5 ед. Шора A.
5.3.2.3 Уплотняющие прокладки, применяемые в межпанельных швах (стыках), должны отвечать следующим требованиям, характеризующим их технологические и эксплуатационные свойства:
- сопротивление сжатию прокладок любого сечения при температуре (20 +/- 5) °C - не более 0,25 МПа; минус (20 +/- 5) °C - не более 0,50 МПа;
- остаточная деформация при сжатии на 25% - 50% - не более 10% - 20%, температура хрупкости не ниже минус 40 °C.
5.3.2.4 Плотность материала уплотнителя - не ниже 35 кг/см3. Коэффициент теплопроводности материала уплотнителя не более 0,04 Вт/м·°C.
5.3.2.5 Герметики, применяемые для наружного слоя монтажного шва, должны быть устойчивы к воздействию эксплуатационных температур от плюс 70 °C до минус 30 °C. Для эксплуатации в более жестких условиях необходимо применять материалы в соответствии с проектной документацией.
5.3.2.6 Для герметизации и уплотнения швов узлов соединения панелей применяют полимерные герметизирующие материалы согласно
ГОСТ 25621.
5.3.2.7 Использовать для заделки швов деревянных панелей герметики горячего применения не допускается.
5.3.3 Материалы средств крепления не должны вступать в реакцию с химическими средствами защитных пропитки и покрытия древесины панелей.
5.3.4 Металлические средства крепления
5.3.4.1 Металлические средства крепления в узлах соединения панелей должны иметь антикоррозионное покрытие в соответствии с
ГОСТ 9.303.
5.3.4.2 Металлические средства крепления должны иметь прочность металла не ниже класса 8.8 по
ГОСТ Р ИСО 898-1.
5.3.5 Для изготовления узлов соединения допускается применять древесину отвечающую санитарно-эпидемиологическим требованиям, приведенным в
[1], в части по отсутствию выделений в окружающую среду вредных летучих химических веществ, превышающих норму класса эмиссии E0,5 по
ГОСТ Р 56309.
5.4.1 Рекомендуется на все места установки фурнитуры и средств крепления наклеивать этикетку с маркировкой.
5.4.2 Содержание маркировки:
- наименование продукции;
- наименование страны-изготовителя;
- наименование предприятия-изготовителя и его товарный знак (при наличии);
- марка узла;
- юридический адрес предприятия-изготовителя;
- состав (комплектность);
- обозначение чертежа, в котором указаны технические данные по установке узла крепления соединения панелей;
- обозначение и число устанавливаемых уплотнителей и герметика;
- штриховой код продукции (при наличии).
5.4.3 Место размещения этикетки с маркировкой:
- на собранном узле соединения - 100 - 200 мм от шва;
- на отдельной панели (частично собранном узле соединения) - 100 - 200 м от мест крепления;
- в свободном месте на лицевой стороне упаковки не установленных на панели фурнитуры, креплений, уплотнений, герметиков и отделочных материалов.
5.5.1 Кромки панелей, образующих узлы соединений, должны быть защищены влагонепроницаемой комбинированной упаковкой для транспортирования и хранения.
5.5.2 В качестве упаковки допускается пленка по
ГОСТ 10354 с фиксацией к панелям лентой по
ГОСТ 20477.
5.5.3 Упаковку не установленных на панели фурнитуры, креплений, уплотнений, герметиков и отделочных материалов осуществляют комплектами для каждого узла соединения отдельно.
5.5.4 В случае поставки на экспорт допускается наносить дополнительную маркировку.
5.5.5 Транспортную маркировку на панели с узлами соединения следует наносить на ярлык из долговечного материала. Транспортная маркировка должна содержать: манипуляционные знаки (место строповки), основные, дополнительные и информационные надписи в соответствии с
ГОСТ 14192. Ярлык должен быть прочно закреплен на упаковке.
5.5.6 Упаковку и пакетирование плит с узлами соединения, отправляемых в районы Крайнего Севера и приравненные ним местности, следует выполнять по
ГОСТ 15846.
6 Требования безопасности
6.1 При сборке (монтаже) узлов соединения панелей необходимо выполнять требования согласно
СП 70.13330.2012.
6.2 В случае использования в узлах соединения вклеенных стержней, требования производства и безопасности выполняют в соответствии с
ГОСТ Р 56710.
6.3 Удельная активность цезия-137 материалов для изготовления деталей узлов из древесины, должна быть не выше 190 Бк/кг согласно требованиям, приведенным в
ГОСТ 33795.
6.4 Мощность эффективной дозы гамма-излучения внутри зданий от узлов соединения не должна превышать мощности дозы на открытой местности более чем на 0,2 мкЗв/ч.
7.1 Приемку узлов панелей, собранных в заводских условиях, выполняется в соответствии с
ГОСТ 15.309.
7.2 Приемку узлов проводят путем:
- входного контроля применяемых материалов;
- приемо-сдаточных испытаний панелей;
- периодических испытаний.
Результаты всех видов контроля (испытаний) фиксируют в соответствующих журналах учета.
Завершение работ по сборке узлов соединения панелей оформляют актом освидетельствования скрытых работ и актом их сдачи-приемки.
7.3 Узлы соединения принимают на предприятии-изготовителе партиями не более 20 шт.
7.4 Приемку узлов соединения допускается производить в зависимости от формы поставки потребителю в собранном или разобранном состоянии.
7.5 Узлы соединения принимают путем сплошного контроля с проверкой на соответствие требованиям настоящего стандарта по показателям согласно таблице 2.
Таблица 2
Виды испытаний и контролируемые показатели
Контролируемый показатель | Виды испытаний |
Приемо-сдаточные (сплошной контроль) | Периодические не менее чем 12 месяцев |
Порода | + | + |
Сорт | + | + |
Влажность древесины | + | + |
Класс прочности древесины | + | + |
Геометрические размеры | + | + |
Отклонение от номинальных размеров и формы | + | + |
Шероховатость обработки | + | + |
Наличие маркировки | + | + |
Прочность узлов соединения панелей, собранных на заводе | - | + |
Прочность узлов, установленных на винтах, дюбелях и болтах | - | + |
Прочность сцепления герметика | - | + |
Сопротивление теплопередаче | - | + |
Воздухопроницаемость | - | + |
Водопроницаемость | - | + |
Звукоизоляция | - | + |
Выделение летучих химических веществ | - | + |
Активность Cs-137 | - | + |
Примечание - Знак "+" означает, что испытание проводят, знак "-" - не проводят. |
7.6 При поставке узлов в разобранном состоянии периодические испытания необходимо проводить на собранных узлах.
7.7 Выборочную приемку узлов соединения выполняют по указанию в проектной документации или по требованию потребителя.
7.8 Выборочную приемку прочности узлов соединения проводят в соответствии с
ГОСТ 33082.
7.9 Если при проверке отобранных узлов будет установлено несоответствие хотя бы одного из них требованиям настоящего стандарта, то проводят повторную проверку, для чего от партии отбирают удвоенное число узлов. Если при повторной проверке окажется, что хотя бы один узел не удовлетворяет требованиям настоящего стандарта, то вся партия узлов соединения приемке не подлежит.
7.10 Приемку узлов соединения потребителем допускается осуществлять согласно
ГОСТ 24297.
8.1 Показатели и методы контроля деталей при поставке узлов в разобранном состоянии приведены в таблице 3, в сборе - в
таблице 4.
Таблица 3
Методы контроля показателей узлов при поставке
в разобранном состоянии
Контролируемый показатель | Метод контроля |
Порода | Визуально |
Сорт | |
Влажность древесины | |
Класс прочности деталей из древесины | |
Геометрические размеры | |
Отклонение от номинальных размеров и формы деталей узла | |
Качество защитной обработки | Визуально |
Шероховатость поверхности и наличие трещин | По ГОСТ 15612 или сравнением с образцами-эталонами |
Наличие маркировки | Визуально |
Прочность вклеивания металлических стержней | |
Таблица 4
Методы контроля показателей узлов соединения
в собранном состоянии
Контролируемый показатель | Метод контроля |
Влажность древесины | |
Геометрические размеры | |
Отклонение от номинальных размеров и формы узла | |
Наличие маркировки | Визуально |
Прочность узлов, установленных на винтах, дюбелях и болтах | |
Прочность сцепления герметика с древесиной панелей | |
Сопротивление теплопередаче | |
Звукоизоляция | |
Коэффициент паропроницаемости | |
Предел водопроницаемости | |
Воздухопроницаемость | |
Выделение в окружающую среду летучих химических веществ и удельной активности Cs-137 | |
8.2 Допускается измерять длину лазерными приборами точности не ниже средней по
ГОСТ Р 53340.
8.3 Выделение в окружающую среду летучих химических веществ и удельной активности Cs-137 определяют в испытательной лаборатории по
ГОСТ 33795.
8.4 Контроль наличия и размеров трещин на поверхности панелей проводят:
- набором щупов для измерения ширины щелей;
- линейкой по
ГОСТ 427 для измерения глубины щели по размеру щупа, установленного в щель перпендикулярно к линии соединения плит.
8.5 Типоразмеры, число и прочностные свойства отдельных деталей и полуфабрикатов принимают по данным проектной документации и технической документации поставщика материалов.
8.6 Результаты контроля оформляются документом в открытом формате по
ГОСТ Р 57311 и передаются в базы данных проектировщика и потребителя в соответствии с
ГОСТ 2.052.
8.7 Выделение в окружающую среду летучих химических веществ и удельной активности Cs-137 определяют в испытательной лаборатории по
ГОСТ 33795.
9 Транспортирование и хранение
9.1 Панели с установленными элементами узлов соединения транспортируют всеми видами транспорта в соответствии с правилами перевозки грузов, действующими на данном виде транспорта.
9.2 На панели с установленными узлами соединения наносят транспортную маркировку в соответствии с требованиями
ГОСТ 14192.
9.3 Панели с установленными узлами соединения следует хранить в сухих помещениях с относительной влажностью воздуха в диапазоне 40% - 80%.
9.4 Панели с установленными узлами соединения следует хранить на прокладках. Прокладки устанавливают:
- от почвы - на высоте не ниже 400 мм;
- от пола (в различном исполнении) - 100 мм;
- между транспортными пачками - 100 мм.
Прокладки устанавливают от кромки панели на расстоянии 500 мм, с шагом 1500 мм. Устанавливать прокладку на узел соединения не допускается.
9.5 Транспортирование узлов соединения, не установленных на панели, осуществляется в ящиках, имеющих защиту от внешних атмосферных воздействий. Упаковка, размещение и крепления узлов обеспечиваются в соответствии с требованиями предприятия-изготовителя.
9.6 Транспортирование и хранение плит, отправляемых в районы Крайнего Севера и приравненные к ним местности, следует выполнять по
ГОСТ 15846.
9.7 Во время транспортирования и хранения заводская упаковка не должна нарушаться.
10.1 Предприятие-изготовитель должно гарантировать соответствие конструкций и элементов узлов соединения проекту, требованиям настоящего стандарта, и действующих нормативных документов и технической документации.
10.2 Гарантийный срок указывают в нормативных документах на конкретные узлы соединения панелей, гарантийный срок должен составлять не менее 5 лет, при обеспечении условий хранения.
10.3 Гарантии изготовителя не распространяются на конструкции и элементы, при транспортировании, складировании и/или хранении которых потребителем нарушены требования настоящего стандарта.
10.4 Весь комплект заводской документации на производство плит следует хранить на предприятии-изготовителе в течение не менее 10 лет с момента отгрузки первой серийной партии.
(справочное)
ТИПОВЫЕ УЗЛЫ СОЕДИНЕНИЙ ПАНЕЛЕЙ ДЛЯ ДЕРЕВЯННОГО ДОМОСТРОЕНИЯ
Таблица А.1
Типовые узлы соединений панелей для деревянного домостроения
Конструктивная форма | Тип соединения | Схема монтажа |
1 Вертикальное соединение панелей со стойкой | В, Ц, М, С, Ц | |
2 Горизонтальное соединение панелей стен и перекрытия | Г, Ц, Н, С, Ц | |
3 Горизонтальное соединение панелей стен и перекрытия | Г, Ц, Н, С, Ц | |
4 Горизонтальное соединение панелей стен и перекрытия с креплением пластиной | Г, Н, О, К, Н, О | |
5 Шиповое соединение панелей стен | В, Г, Ц, Н, С, Ц | |
6 Сквозная врезка панели перегородки в панель стены | В, Ц, Н, С, Ц | |
7 Установка панели перегородки с помощью нагеля | В, Ц, О, М, С, К | |
8 Врезка панели перегородки на клиновое соединение | В, Ц, М, С, Ц | |
9 Угловое соединение панелей стен в замок | В, Ц, Н, С, Ц | |
10 Соединение панелей стен в четверть | В, Г, Ц, Н, С, К | |
11 Угловое ступенчатое соединение панелей стен | В, Ц, Н, С, К, Ц | |
12 Установка панели перегородки к стене скрытой фурнитурой | В, Ц, М, С, К | |
13 Вертикальное соединение каркасных панелей со стойкой с помощью нагелей | В, Ц, М, С, К | |
14 Вертикальное соединение каркасных панелей с помощью нагеля | В, Ц, М, С, К | |
(справочное)
СЕЧЕНИЯ ШВОВ ДЛЯ ЗАПОЛНЕНИЯ ГЕРМЕТИКАМИ
Таблица Б.1
Сечения швов для заполнения герметиками
Вид соединения | Сечение шва | Размеры |
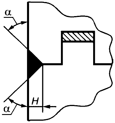
Горизонтальный стык (шов) | | H - не менее 10 мм B - не менее 10 мм  - не менее 45° |
Вертикальный стык (шов) соединения панелей по плоскости | | H - не менее 8 мм  - не более 45° |
Угловой стык (шов) соединения панелей | | H - не менее 10 мм  - не менее 45° |
Б.2 Размеры пазов для установки герметика устанавливают в соответствии с требованиями технической документации изготовителя.
| | Санитарно-эпидемиологические требования к жилым зданиям и помещениям |
УДК 494.1:006.354 | |
Ключевые слова: узлы соединения панелей, деревянное домостроение, технические требования, маркировка, правила приемки, методы испытаний |