Главная // Актуальные документы // ГОСТ Р (Государственный стандарт)
СПРАВКА
Источник публикации
М.: Стандартинформ, 2016
Примечание к документу
Документ введен в действие с 1 мая 2016 года.
Название документа
"ГОСТ Р 56711-2015. Национальный стандарт Российской Федерации. Соединения нагельного типа для деревянных конструкций. Технические условия"
(утв. и введен в действие Приказом Росстандарта от 13.11.2015 N 1795-ст)


"ГОСТ Р 56711-2015. Национальный стандарт Российской Федерации. Соединения нагельного типа для деревянных конструкций. Технические условия"
(утв. и введен в действие Приказом Росстандарта от 13.11.2015 N 1795-ст)


Содержание


Утвержден и введен в действие
Приказом Федерального
агентства по техническому
регулированию и метрологии
от 13 ноября 2015 г. N 1795-ст
НАЦИОНАЛЬНЫЙ СТАНДАРТ РОССИЙСКОЙ ФЕДЕРАЦИИ
СОЕДИНЕНИЯ НАГЕЛЬНОГО ТИПА ДЛЯ ДЕРЕВЯННЫХ КОНСТРУКЦИЙ
ТЕХНИЧЕСКИЕ УСЛОВИЯ
Pin type connection for wooden structures. Specifications
ГОСТ Р 56711-2015
ОКС 91.080.20
ОКПО 53 6660
Дата введения
1 мая 2016 года
Предисловие
1 РАЗРАБОТАН Центральным научно-исследовательским, проектно-конструкторским и технологическим институтом им. В.А. Кучеренко (ЦНИИСК им. В.А. Кучеренко), отделением ОАО "НИЦ "Строительство"
2 ВНЕСЕН Техническим комитетом по стандартизации ТК 465 "Строительство"
3 УТВЕРЖДЕН И ВВЕДЕН В ДЕЙСТВИЕ Приказом Федерального агентства по техническому регулированию и метрологии от 13 ноября 2015 г. N 1795-ст
4 ВВЕДЕН ВПЕРВЫЕ
Правила применения настоящего стандарта установлены в ГОСТ Р 1.0-2012 (раздел 8). Информация об изменениях к настоящему стандарту публикуется в ежегодном (по состоянию на 1 января текущего года) информационном указателе "Национальные стандарты", а официальный текст изменений и поправок - в ежемесячном информационном указателе "Национальные стандарты". В случае пересмотра (замены) или отмены настоящего стандарта соответствующее уведомление будет опубликовано в ближайшем выпуске ежемесячного информационного указателя "Национальные стандарты". Соответствующая информация, уведомление и тексты размещаются также в информационной системе общего пользования - на официальном сайте Федерального агентства по техническому регулированию и метрологии в сети Интернет (www.gost.ru)
1. Область применения
1.1 Настоящий стандарт устанавливает технические требования к соединениям нагельного типа (далее - соединения), используемым для крепления элементов деревянных конструкций, а также устанавливает правила по методам испытаний, приемки готовых соединений и дает рекомендации по их применению.
1.2 Стандарт распространяется на соединения с использованием цилиндрических нагелей из металла, дерева и пластмасс (болты, шпильки, нагели, гвозди, шурупы, глухари, винты и т.п.), работающих преимущественно на сдвиг.
1.3 В настоящем стандарте установлены критерии по оценке соответствия нагельных соединений действующим требованиям, а также оценке их несущей способности и деформативности при действии эксплуатационных нагрузок.
1.4 Данный стандарт не распространяется на соединения, в которых в качестве механических связей используют шпонки, шайбы шпоночного типа, металлические зубчатые пластины (МЗП) и др.
2. Нормативные ссылки
В настоящем стандарте использованы нормативные ссылки на следующие стандарты:
ГОСТ 166-89 (ИСО 3599-76) Штангенциркули. Технические условия
ГОСТ 427-75 Линейки металлические измерительные. Технические условия
ГОСТ 2140-81 Видимые пороки древесины. Классификация, термины и определения, способы измерения
ГОСТ Р ИСО 3951-1-2007 Статистические методы. Процедуры выборочного контроля по количественному признаку. Часть 1. Требования к одноступенчатым планам на основе предела приемлемого качества для контроля последовательных партий по единственной характеристике и единственному AQL
ГОСТ 4028-63 Гвозди строительные. Конструкция и размеры
ГОСТ 6449.4-82 Изделия из древесины и древесных материалов. Допуски расположения осей отверстий для крепежных деталей
ГОСТ 16588-91 (ИСО 4470-80) Пилопродукция и деревянные детали. Методы определения влажности
ГОСТ 24454-80 Пиломатериалы хвойных пород. Размеры
ГОСТ 33080-2014 Конструкции деревянные. Классы прочности конструкционных пиломатериалов и методы их определения
ГОСТ 33081-2014 Конструкции деревянные клееные несущие. Классы прочности элементов конструкций и методы их определения
ГОСТ 33082-2014 Конструкции деревянные. Методы определения несущей способности узловых соединений
СП 64.13330.2011 СНиП II-25-80 Деревянные конструкции
Примечание - При пользовании настоящим стандартом целесообразно проверить действие ссылочных стандартов в информационной системе общего пользования - на официальном сайте Федерального агентства по техническому регулированию и метрологии в сети Интернет или по ежегодному информационному указателю "Национальные стандарты", который опубликован по состоянию на 1 января текущего года, и по выпускам ежемесячного информационного указателя "Национальные стандарты" за текущий год. Если заменен ссылочный стандарт, на который дана недатированная ссылка, то рекомендуется использовать действующую версию этого стандарта с учетом всех внесенных в данную версию изменений. Если заменен ссылочный стандарт, на который дана датированная ссылка, то рекомендуется использовать версию этого стандарта с указанным выше годом утверждения (принятия). Если после утверждения настоящего стандарта в ссылочный стандарт, на который дана датированная ссылка, внесено изменение, затрагивающее положение, на которое дана ссылка, то это положение рекомендуется применять без учета данного изменения. Если ссылочный стандарт отменен без замены, то положение, в котором дана ссылка на него, рекомендуется применять в части, не затрагивающей эту ссылку.
3. Термины и определения
В настоящем стандарте применены следующие термины с соответствующими определениями:
3.1 нагельное соединение: Соединение элементов конструкций, выполненное с использованием цилиндрических или пластинчатых нагелей из различных материалов, плотно установленных в предварительно подготовленные отверстия или прорези и работающих на сдвиг, сопровождающийся изгибом нагеля и смятием древесины.
3.2 несущая способность соединения: Предельные величины усилия (нагрузки) и деформаций, при которых не происходят разрушение или недопустимые деформации соединения.
3.3 деформативность соединения: Зависимость взаимного смещения соединяемых элементов соединения от величины нагрузки.
3.4 нагель: Механическая связь цилиндрической или пластинчатой формы для восприятия сдвигающих усилий.
3.5 цилиндрический нагель: Нагель цилиндрической формы, изготовленный из металла, пластмасс или древесины, - нагель, болт, шпилька, винт, гвоздь.
3.6 пластинчатый нагель: Нагель в виде пластинки, изготовленный из металла, пластмасс или древесины.
3.7 винт: Крепежная деталь, представляющая собой стержень с головкой и спиральной нарезкой, служащий для соединения деталей путем ввинчивания.
3.8 шуруп: Винт со стержнем конической формы и прорезью в головке для завинчивания его в деревянные элементы.
3.9 глухарь: Шуруп большого диаметра с квадратной или шестигранной головкой.
3.10 саморез: Винт, ввинчиваемый непосредственно в деревянный элемент без предварительного сверления.
3.11 гвоздь: Крепежная деталь, представляющая собой стержень, заостренный на одном конце, устанавливаемый в соединяемые элементы путем забивания.
3.12 болт: Крепежная деталь, представляющая собой стержень, имеющий на одном конце головку, а на другом конце - резьбу, на которую навинчивается гайка.
3.13 шпилька: Крепежная деталь, представляющая собой стержень, имеющий на обоих концах резьбу, на которую навинчиваются гайки.
4. Сокращения
В настоящем стандарте приняты сокращения, приведенные в таблице 1.
Таблица 1
Сокращения
Обозначение по настоящему стандарту
Определение
S1
шаг расстановки нагелей вдоль волокон древесины
S2
шаг расстановки рядов нагелей поперек волокон древесины
S3
расстояние оси нагеля от кромки соединяемого элемента
d
диаметр нагеля
c
толщина среднего соединяемого элемента
a
толщина крайнего соединяемого элемента
L
свободная длина образца
P
нагрузка при испытании соединения
5. Общие положения
5.1 Нагельные соединения являются наиболее распространенным видом соединений элементов деревянных конструкций и относятся к соединениям на механических связях.
Они предусматривают использование нагелей в качестве связей сдвига при их работе преимущественно на изгиб, а сами соединения являются безраспорными.
5.2 Для работы нагельных соединений характерна их вязкая податливость, связанная с работой древесины на смятие, что за счет выравнивания напряжений (усилий) в элементах соединений исключает преждевременное их хрупкое разрушение от разрыва или скалывания древесины.
5.3 Основными условиями надежности используемых соединений должны быть контроль качества нагелей и соединяемых элементов, а также применяемые методы их расчета и методы испытаний соединений, подтверждающие результаты расчетов.
5.4 Основными конструктивными размерами соединений, которые должны учитываться при их изготовлении и расчете, являются расчетные размеры нагелей, размеры посадочных отверстий, а также регламентированные схемы их расстановки.
5.5 На практике использования нагельных соединений применяют следующий диапазон размеров нагелей:
- диаметр гладких цилиндрических нагелей и болтов: от 8 до 24 мм;
- диаметр гвоздей: от 2 до 6 мм;
- диаметр винтов, шурупов или саморезов: от 6 до 16 мм;
- диаметр глухарей: от 12 до 20 мм;
- толщина и высота пластинчатых нагелей: соответственно, 12 и 50 мм.
5.6 Посадочные отверстия для гвоздей, а также винтов, шурупов или саморезов диаметром до 6 мм, как правило, не устраивают.
Для гладких цилиндрических нагелей и болтов сверлят отверстия такого же диаметра, как у нагелей, а в отдельных случаях, для увеличения плотности их посадки, диаметр отверстия выбирают на 0,2 - 0,5 мм меньше диаметра нагеля.
5.7 Основные размеры расстановки нагелей: шаг, расстояние между рядами и минимальное расстояние оси нагеля до края соединяемого элемента, как правило, обосновываются экспериментально-теоретическими методами и регламентируются нормами с целью предотвращения преждевременного разрушения соединений при их работе от скалывания или разрыва древесины.
5.8 Конструктивные требования к расстановке нагелей изложены в СП 64.13330.2011 (раздел 7).
5.9 Качество соединений должно быть обеспечено современным уровнем технологии их изготовления и системой приемочного контроля в процессе их производства.
6. Виды нагельных соединений
6.1 В качестве основного вида нагелей в соединениях используют цилиндрические нагели <*>.
--------------------------------
<*> В нагельных соединениях также могут быть использованы пластинчатые нагели. Однако, ввиду их не технологичности и редкого использования в современных условиях, в настоящем стандарте они не рассматриваются.
6.2 Наиболее распространенными соединениями с применением цилиндрических нагелей являются соединения на:
- гладких цилиндрических нагелях - стержнях, болтах, шпильках;
- гвоздях;
- винтах;
- шурупах, саморезах, глухарях.
6.3 Нагели применяют преимущественно для устройства различных видов узловых соединений элементов из цельной древесины хвойных пород, клееной древесины, LVL или перекрестно клееной древесины типа CLT и др. для сплачивания в поперечном направлении элементов конструкций, сращивания элементов в продольном направлении, а также для крепления к таким элементам деталей из металла, фанеры, пластика и других материалов.
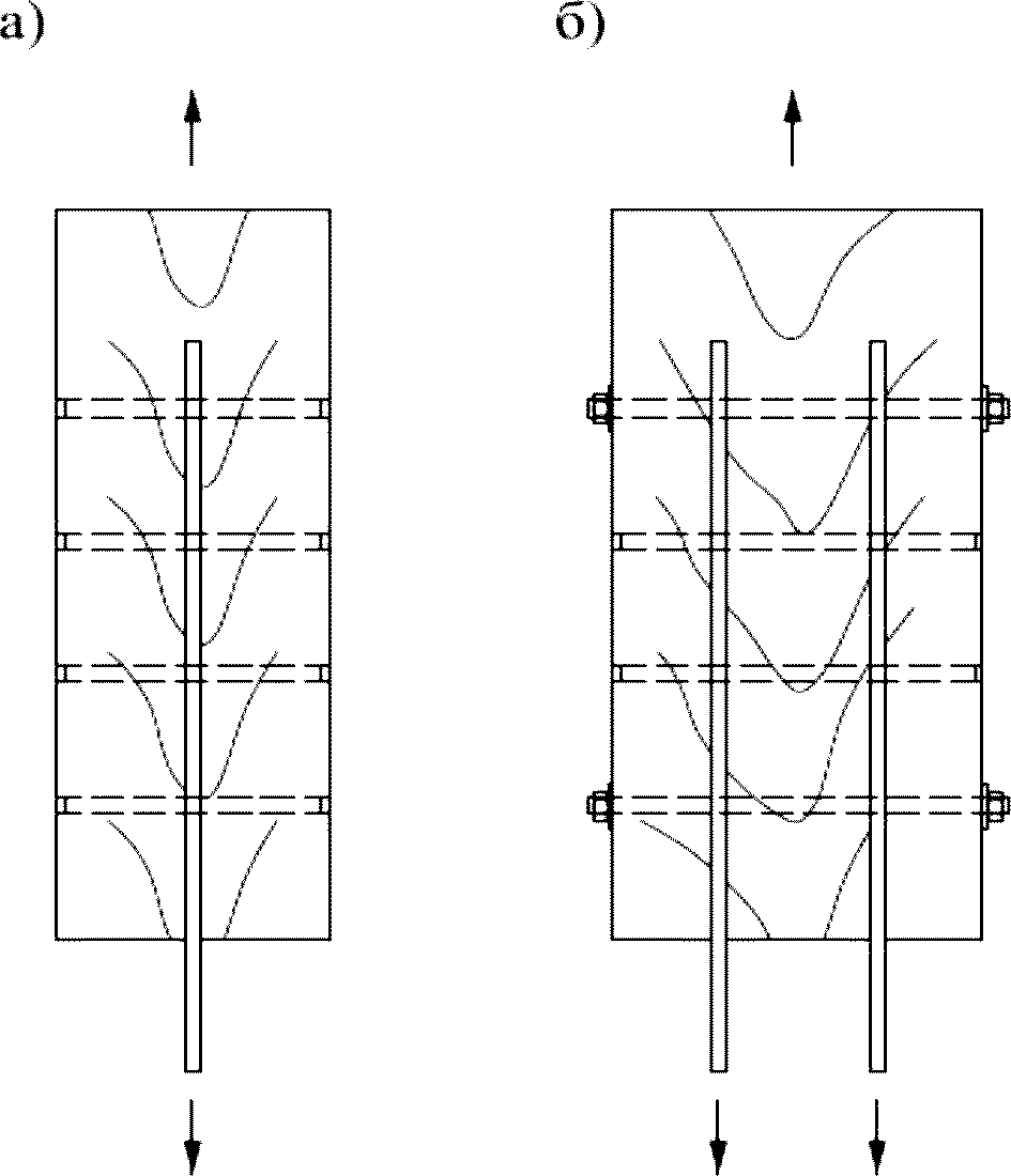
6.4 По характеру действующих усилий и количеству швов сдвига (срезов) между сопрягаемыми элементами различают следующие схемы работы соединений (рисунок 1):
- симметричные - двухсрезные и многосрезные;
- несимметричные - односрезные, двухсрезные и многосрезные.
а) симметричные; б) несимметричные
Рисунок 1 - Виды соединений по конструктивному сочетанию
нагелей и соединяемых деревянных элементов
6.5 Для крепления накладок из различных материалов используют болты, шпильки, винты различных типов и гвозди (рисунок 2), для крепления прокладок - нагели, болты и шпильки (рисунок 3).
а - на болтах и шпильках; б - на глухих цилиндрических
нагелях; в - на глухих цилиндрических нагелях, установленных
в торец клееного элемента
Рисунок 2 - Нагельные соединения с накладками
а - на нагелях; б - на нагелях и шпильках
Рисунок 3 - Нагельные соединения с прокладками
7. Технические требования к соединениям
7.1 Требования к нагелям и соединяемым элементам
7.1.1 В качестве цилиндрических нагелей используют гладкие стержни из стали, стеклопластика, алюминия, твердых пород древесины и др., а также готовые изделия (болты, гвозди, винты, шурупы, шпильки и др.).
Прочностные показатели, размеры и качество стержней и готовых изделий должны соответствовать требованиям действующих стандартов.
7.1.2 Гвозди изготавливают из холоднотянутой проволоки в соответствии с ГОСТ 4028. Также могут быть использованы гвозди с кольцевой и винтовой накаткой.
7.1.3 Винты подразделяются на шурупы, самонарезающие винты (саморезы) и винты, завинчиваемые в предварительно просверленные отверстия. Винты со стержнем конической формы называются шурупами, а шурупы большого диаметра с квадратной или шестигранной головкой - глухарями.
7.1.4 Для изготовления соединений в качестве деревянных элементов следует использовать цельную и многослойную клееную древесину, а также другие массивные изделия (LVL, CLT) и древесные плитные материалы (фанера, ДСП, ДВП, OSB, ЦСП), выпускаемые в соответствии с действующими стандартами.
7.1.5 Качество цельной и многослойной клееной древесины должно соответствовать требованиям ГОСТ 33080 и ГОСТ 33081.
7.2 Требования к несущей способности и деформациям соединений
7.2.1 Для обеспечения несущей способности соединений исходной является расчетная несущая способность нагеля на один шов сплачивания (условного среза), подтвержденная результатами испытаний соединений в соответствии с требованиями настоящего стандарта, регламентированные величины которой установлены действующими нормами проектирования деревянных конструкций.
7.2.2 Несущая способность соединения должна быть определена с учетом напряженного состояния его конструкционных частей (нагелей и соединяемых элементов) при восприятии расчетных нагрузок: изгиба нагеля и смятия элементов, а также физико-механических свойств этих частей: расчетных сопротивлений и предельных деформаций, в зависимости от их вида и материала.
7.2.3 Величина деформаций нагельных соединений при полном использовании их несущей способности не должна превышать 2 мм, а при неполном - пропорциональна действующему на соединение усилию.
7.2.4 При установлении несущей способности и деформативности соединений с использованием методов испытаний по настоящему стандарту должен учитываться фактор длительности действия расчетных нагрузок согласно требованиям ГОСТ 33082.
7.3 Требования к изготовлению соединений
7.3.1 Соединения должны быть изготовлены при строгом соблюдении требований рабочих чертежей.
7.3.2 Основные требования по изготовлению соединений должны обеспечить точность расстановки и плотность посадки нагелей, для чего большинство соединений необходимо изготавливать с применением шаблонов и стяжных болтов.
7.3.3 Влажность древесины соединяемых элементов и используемых деревянных нагелей и пластинок должна соответствовать ожидаемой эксплуатационной равновесной влажности с целью исключения высыхания древесины и ослабления соединений.
8. Методы испытаний соединений
8.1 Испытания проводят в целях:
- определения или уточнения расчетной несущей способности соединения при использовании новых типов нагелей;
- определения или уточнения расчетной несущей способности соединения при использовании новых видов соединяемых элементов;
- проведения контрольных испытаний соединений.
8.2 Испытания соединений также следует проводить при освоении производства, изготовлении соединений новых конструктивных решений, проведении сертификационных испытаний или при периодическом независимом экспертном контроле.
8.3 Испытания соединений должны быть проведены на растяжение, сжатие вдоль и под углом к волокнам древесины по схемам и с соблюдением требований ГОСТ 33082.
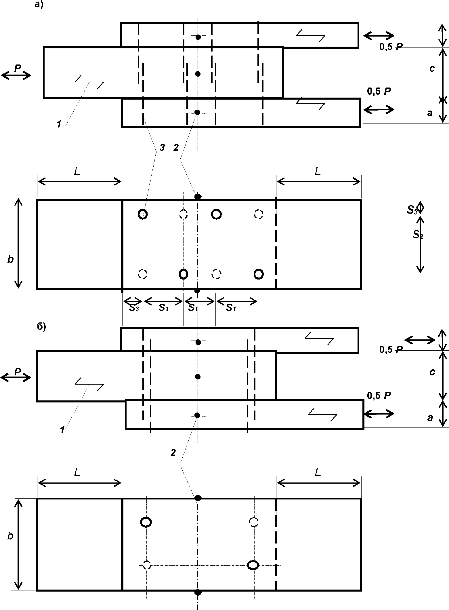
8.4 Виды и размеры образцов для испытаний приведены на рисунках 4 - 6. Размеры S1, S2, S3 по расстановке нагелей должны соответствовать требованиям СП 64.13330.2011 (раздел 7).
а - односрезных нагелей; б - двухсрезных нагелей
1 - направление волокон древесины; 2 - базовые точки
для определения сдвига; 3 - нагели
Рисунок 4 - Образец для испытания соединений при сжатии
(растяжении) вдоль волокон древесины
а - крайних элементов; б - среднего элемента
1 - направление волокон древесины; 2 - базовые точки
для определения сдвига; 3 - нагели
Рисунок 5 - Образец для испытания односрезных соединений
при смятии поперек волокон древесины
а - крайних элементов; б - среднего элемента
1 - направление волокон древесины; 2 - базовые точки
для определения сдвига; 3 - нагели
Рисунок 6 - Образец для испытания двухсрезных соединений
при смятии поперек волокон древесины
Испытания образцов позволяют определить расчетную несущую способность соединений по предельным значениям смятия в крайних и центральном соединяемых элементах или изгибе нагеля для симметричных соединений при одно- или двухсрезной работе нагеля.
8.5 Подготовка образцов, режимы их нагружения и обработка результатов испытаний должны соответствовать требованиям ГОСТ 33082.
9. Методы контроля
9.1 Предприятие-изготовитель обеспечивает и подтверждает качество соединений:
- входным контролем используемых элементов соединений;
- пооперационным контролем параметров элементов на основных технологических операциях;
- приемочным контролем изготовленных соединений.
9.2 Порядок и планы входного контроля элементов и приемочного контроля изготовленных соединений устанавливают в технической документации, а пооперационного контроля - в технологической документации предприятия-изготовителя, утвержденных в установленном порядке.
9.3 Размеры элементов измеряют металлическими линейками по ГОСТ 427, штангенциркулями по ГОСТ 166 с учетом требуемой точности измерений.
9.4 Геометрические размеры деревянных элементов соединений определяют по ГОСТ 24454, влажность - по ГОСТ 16588, пороки древесины - по ГОСТ 2140.
9.5 Точность расстановки нагелей контролируют согласно ГОСТ 6449.4.
9.6 Результаты измерений, оценок, испытаний должны быть оформлены соответствующими документами (протоколами, актами).
10. Правила приемки
10.1 Изготовленные соединения должны быть приняты службой технического контроля предприятия партиями. Партией считается любое количество соединений, оформленное одним документом о качестве.
10.2 Приемку используемых для изготовления соединений деревянных элементов, а также нагелей осуществляют при входном контроле по показателям согласно требованиям стандартов, по которым они изготовлены.
10.3 Приемку соединений осуществляют:
- на соответствие требованиям рабочих чертежей;
- по результатам текущих контрольных испытаний до разрушения выборочного числа образцов соединений, предусмотренных инструкцией системы заводского контроля качества.
Выборочные контрольные испытания соединений следует осуществлять согласно требованиям ГОСТ Р ИСО 3951-1.
11. Указания по применению
11.1 Болтовые соединения применяют со стяжными, растянутыми или изгибаемыми болтами.
Соединения со стяжными болтами служат для плотного соединения отдельных элементов в основном при их поперечном сплачивании. При этом возникают незначительные усилия, расчет болтов не требуется, а их размеры назначаются конструктивно, но диаметром не менее 1/20 общей толщины соединяемых элементов.
Соединения с растянутыми болтами применяют при анкерном креплении конструкций к опорам, при подвеске к конструкциям перекрытий и оборудования в узловых соединениях. При этом болт рассчитывается на растяжение от действующего усилия.
Соединения с изгибаемыми болтами широко применяют в стыках и узлах конструкций для сопротивления взаимным сдвигам соединяемых элементов.
11.2 Гвоздевые соединения являются простыми и доступными и наиболее широко применяются в построечных условиях изготовления деревянных конструкций.
Применяют соединения с так называемыми конструктивными гвоздями для крепления дощатых обшивок и настилов, где действуют минимальные усилия и расчет гвоздей не требуется, а также соединения с выдергиваемыми и изгибаемыми гвоздями с особенностями работы, аналогичными болтовым соединениям.
11.3 Соединения на винтах и шурупах применяют в основном для крепления стальных накладок, обшивок и деталей из различных материалов к основным деревянным элементам. Работать в соединении винты и шурупы могут аналогично рассмотренным выше болтам или гвоздям.
12. Гарантии изготовителя
12.1 Предприятие-изготовитель должно гарантировать соответствие соединений требованиям настоящего стандарта и условиям договора на их поставку.
12.2 Гарантийный срок службы соединений устанавливают в проектной документации на конструкции.
12.3 Условия гарантии качества соединений и гарантийный срок их службы следует вносить в паспорт на конструкции.