Главная // Актуальные документы // ГОСТ Р (Государственный стандарт)СПРАВКА
Источник публикации
М.: ФГБУ "Институт стандартизации", 2023
Примечание к документу
Документ
введен в действие с 01.09.2023.
Название документа
"ГОСТ Р 50571.7.710-2023 (МЭК 60364-7-710:2021). Национальный стандарт Российской Федерации. Электроустановки низковольтные. Часть 7-710. Требования к специальным электроустановкам. Электроустановки медицинских помещений"
(утв. и введен в действие Приказом Росстандарта от 14.06.2023 N 391-ст)
"ГОСТ Р 50571.7.710-2023 (МЭК 60364-7-710:2021). Национальный стандарт Российской Федерации. Электроустановки низковольтные. Часть 7-710. Требования к специальным электроустановкам. Электроустановки медицинских помещений"
(утв. и введен в действие Приказом Росстандарта от 14.06.2023 N 391-ст)
Утвержден и введен в действие
агентства по техническому
регулированию и метрологии
от 14 июня 2023 г. N 391-ст
НАЦИОНАЛЬНЫЙ СТАНДАРТ РОССИЙСКОЙ ФЕДЕРАЦИИ
ЭЛЕКТРОУСТАНОВКИ НИЗКОВОЛЬТНЫЕ
ЧАСТЬ 7-710
ТРЕБОВАНИЯ К СПЕЦИАЛЬНЫМ ЭЛЕКТРОУСТАНОВКАМ.
ЭЛЕКТРОУСТАНОВКИ МЕДИЦИНСКИХ ПОМЕЩЕНИЙ
Low-voltage electrical installations. Part 7-710.
Requirements for special electrical installations.
Electrical installations of medical premises
(IEC 60364-7-710:2021, Low-voltage electrical
installations - Part 7-710: Requirements for special
installations or locations - Medical locations, MOD)
ГОСТ Р 50571.7.710-2023
(МЭК 60364-7-710:2021)
Дата введения
1 сентября 2023 года
1 ПОДГОТОВЛЕН Обществом с ограниченной ответственностью "Ассоциация РЭМ" (ООО "Ассоциация РЭМ") на основе собственного перевода на русский язык англоязычной версии стандарта, указанного в
пункте 4
2 ВНЕСЕН Техническим комитетом по стандартизации ТК 337 "Электроустановки зданий"
3 УТВЕРЖДЕН И ВВЕДЕН В ДЕЙСТВИЕ
Приказом Федерального агентства по техническому регулированию и метрологии от 14 июня 2023 г. N 391-ст
4 Настоящий стандарт является модифицированным по отношению к международному стандарту МЭК 60364-7-710:2021 "Низковольтные электрические установки. Часть 7-710. Требования для специальных установок или размещений. Медицинские помещения" (IEC 60364-7-710:2021 "Low-voltage electrical installations - Part 7-710: Requirements for special installations or locations - Medical locations", MOD) путем изменения отдельных фраз (слов, значений показателей, ссылок), которые выделены в тексте курсивом, а также исключения приложения C.
Наименование настоящего стандарта изменено относительно наименования указанного международного стандарта для приведения в соответствие с ГОСТ Р 1.5-2012
(пункт 3.5).
Сведения о соответствии ссылочных межгосударственных и национальных стандартов международным стандартам, использованным в качестве ссылочных в примененном международном стандарте, приведены в дополнительном
приложении ДА
Правила применения настоящего стандарта установлены в статье 26 Федерального закона от 29 июня 2015 г. N 162-ФЗ "О стандартизации в Российской Федерации". Информация об изменениях к настоящему стандарту публикуется в ежегодном (по состоянию на 1 января текущего года) информационном указателе "Национальные стандарты", а официальный текст изменений и поправок - в ежемесячном информационном указателе "Национальные стандарты". В случае пересмотра (замены) или отмены настоящего стандарта соответствующее уведомление будет опубликовано в ближайшем выпуске ежемесячного информационного указателя "Национальные стандарты". Соответствующая информация, уведомление и тексты размещаются также в информационной системе общего пользования - на официальном сайте Федерального агентства по техническому регулированию и метрологии в сети Интернет (www.rst.gov.ru)
Требования настоящего стандарта применяют совместно с требованиями
ГОСТ 30331.1 и требованиями серии стандартов
ГОСТ Р 50571.
Частные требования настоящего стандарта дополняют, изменяют или заменяют требования
ГОСТ 30331.1, общих частей серии стандартов
ГОСТ Р 50571, действительных на момент публикации настоящего стандарта. Отсутствие ссылки на исключение части или раздела общей части означает, что соответствующие разделы общей части применимы (недатированные ссылки).
Если после выпуска настоящего стандарта опубликованы новые или измененные общие части с измененной нумерацией, то номера разделов, относящихся к общей части в настоящем стандарте, могут больше не соответствовать новейшему изданию общей части. Следует соблюдать датированные ссылки.
Частные требования настоящего стандарта применяют к электрическим установкам в медицинских помещениях (см.
710.3.1 "медицинские организации ...").
Нумерация разделов после 710 согласована с нумерацией в соответствующих частях или разделах
ГОСТ 30331.1, серии стандартов
ГОСТ Р 50571. Отсутствие ссылки на часть или раздел означает, что применимы соответствующие ссылки
ГОСТ 30331.1 и серии стандартов
ГОСТ Р 50571.
Если необходимы требования или пояснения в дополнение к приведенным в
ГОСТ 30331.1, других частях серии стандартов
ГОСТ Р 50571, то нумерация таких пунктов приведена в виде 710.101, 710.102, 710.103 и т.д.
В медицинских помещениях (см.
710.3.1 "медицинские организации ...") пациенты могут соприкасаться с медицинским электрическим оборудованием (ME). Меры по обеспечению безопасности пациентов и медицинского персонала следует усилить по следующим причинам:
i) снижение сопротивления тела, так как кожа зачастую порезана или повреждена;
ii) риски, связанные с потерей питания, особенно электрооборудования жизнеобеспечения;
iii) повышенный риск поражения электрическим током по причине наличия таких жидкостей, как кровь, физиологический раствор и вода (например, для увлажнения).
Для каждого мероприятия и функции в медицинском помещении необходимо учитывать особые требования к безопасности, включая защиту от поражения электрическим током и бесперебойность питания.
Безопасность можно обеспечить посредством применения требований настоящего стандарта, безопасной эксплуатации и технического обслуживания медицинского электрооборудования.
Допустимы изменения требований настоящего стандарта для повышения безопасности и надежности.
710 Медицинские помещения
Частные требования настоящего стандарта применяют к электроустановкам в медицинских зданиях и помещениях в целях обеспечения безопасности пациентов и медицинского персонала. Эти требования распространяются на больницы и клиники или аналогичные здания и помещения (включая аналогичные транспортируемые и мобильные помещения), которые согласно
710.30 также могут включать:
- санатории и поликлиники;
- специальные помещения в домах для престарелых и пансионатах для пожилых людей, где пациентам оказывают медицинскую помощь;
- медицинские центры, поликлиники и отделения, травмпункты;
- другие амбулаторно-поликлинические здания и помещения (производственные, спортивные и др.);
- кабинеты врачебной и стоматологической практики;
- специальные медицинские кабинеты на производственных предприятиях;
- другие помещения, в которых используют медицинское электрооборудование;
- ветеринарные клиники;
- кабинеты в существующих зданиях, когда их перепрофилируют для медицинского применения.
Данный список не является исчерпывающим.
Требования настоящего стандарта не применяют к медицинскому электрическому оборудованию и медицинским электрическим системам.
Примечание - На медицинское электрическое оборудование и медицинские электрические системы распространяется серия стандартов под общим наименованием "Изделия медицинские электрические".
В настоящем стандарте использованы нормативные ссылки на следующие стандарты:
ГОСТ 30331.1 (IEC 60364-1:2005) Электроустановки низковольтные. Часть 1. Основные положения, оценка общих характеристик, термины и определения
ГОСТ 33542-2015 (IEC 60445:2010) Основополагающие принципы и принципы безопасности для интерфейса "человек-машина", выполнение и идентификация. Идентификация выводов электрооборудования, концов проводников и проводников
ГОСТ IEC 60947-6-1 Аппаратура распределения и управления низковольтная. Часть 6-1. Аппаратура многофункциональная. Аппаратура коммутационная переключения
ГОСТ IEC/TS 61000-1-2 Электромагнитная совместимость (ЭМС). Часть 1-2. Общие положения. Методология достижения функциональной безопасности электрических и электронных систем, включая оборудование, в отношении электромагнитных помех
ГОСТ IEC 61000-3-2 Электромагнитная совместимость (ЭМС). Часть 3-2. Нормы. Нормы эмиссии гармонических составляющих тока (оборудование с выходным током не более 16 А на фазу)
ГОСТ IEC 61000-3-3 Электромагнитная совместимость (ЭМС). Часть 3-3. Нормы. Ограничение изменений напряжения, колебаний напряжения и фликера в общественных низковольтных системах электроснабжения для оборудования с номинальным током не более 16 А (в одной фазе), подключаемого к сети электропитания без особых условий
ГОСТ IEC 61000-3-11 Электромагнитная совместимость (ЭМС). Часть 3-11. Нормы. Ограничение изменений напряжения, колебаний напряжения и фликера в общественных низковольтных системах электроснабжения для оборудования с номинальным током не более 75 А при соблюдении особых условий подключения
ГОСТ IEC 61000-3-12 Электромагнитная совместимость (ЭМС). Часть 3-12. Нормы. Нормы гармонических составляющих тока, создаваемых оборудованием, подключаемым к общественным низковольтным системам, с входным током более 16 А, но не более 75 А в одной фазе
ГОСТ IEC 61000-4-3 Электромагнитная совместимость (ЭМС). Часть 4-3. Методы испытаний и измерений. Испытание на устойчивость к излучаемому радиочастотному электромагнитному полю
ГОСТ IEC 61000-4-4 Электромагнитная совместимость (ЭМС). Часть 4-4. Методы испытаний и измерений. Испытание на устойчивость к электрическим быстрым переходным процессам (пачкам)
ГОСТ IEC 61000-4-5 Электромагнитная совместимость (ЭМС). Часть 4-5. Методы испытаний и измерений. Испытание на устойчивость к выбросу напряжения
ГОСТ IEC 61000-4-8 Электромагнитная совместимость. Часть 4-8. Методы испытаний и измерений. Испытания на устойчивость к магнитному полю промышленной частоты
ГОСТ IEC 61000-4-9 Электромагнитная совместимость. Часть 4-9. Методы испытаний и измерений. Испытания на устойчивость к импульсному магнитному полю
ГОСТ IEC 61000-4-10 Электромагнитная совместимость. Часть 4-10. Методы испытаний и измерений. Испытания на устойчивость к колебательному затухающему магнитному полю
ГОСТ IEC 61000-4-12 Электромагнитная совместимость (ЭМС). Часть 4-12. Методы испытаний и измерений. Испытание на устойчивость к звенящей волне
ГОСТ IEC 61000-4-13 Электромагнитная совместимость (ЭМС). Часть 4-13. Методы испытаний и измерений. Воздействие гармоник и интергармоник, включая сигналы, передаваемые по электрическим сетям, на порт электропитания переменного тока. Низкочастотные испытания на помехоустойчивость
ГОСТ IEC 61000-4-14 Электромагнитная совместимость (ЭМС). Часть 4-14. Методы испытаний и измерений. Испытание оборудования с потребляемым током не более 16 А на фазу на устойчивость к колебаниям напряжения
ГОСТ IEC 61000-4-18 Электромагнитная совместимость (ЭМС). Часть 4-18. Методы испытаний и измерений. Испытание на устойчивость к затухающей колебательной волне
ГОСТ IEC 61000-4-20 Электромагнитная совместимость. Часть 4-20. Методы испытаний и измерений. Испытания на помехоэмиссию и помехоустойчивость в TEM-волноводах
ГОСТ IEC 61000-4-27 Электромагнитная совместимость (ЭМС). Часть 4-27. Методы испытаний и измерений. Испытание на устойчивость к несимметрии напряжений для оборудования с потребляемым током не более 16 А на фазу
ГОСТ IEC 61000-4-30 Электромагнитная совместимость (ЭМС). Часть 4-30. Методы испытаний и измерений. Методы измерений качества электрической энергии
ГОСТ IEC 61000-4-31 Электромагнитная совместимость (ЭМС). Часть 4-31. Методы испытаний и измерений. Испытание на устойчивость к широкополосным кондуктивным помехам, воздействующим на порты электропитания переменного тока
ГОСТ IEC 61000-4-34 Электромагнитная совместимость (ЭМС). Часть 4-34. Методы испытаний и измерений. Испытания на устойчивость к провалам, кратковременным прерываниям и изменениям напряжения электропитания оборудования с потребляемым током более 16 А на фазу
ГОСТ IEC 61000-4-39 Электромагнитная совместимость (ЭМС). Часть 4-39. Методы испытаний и измерений. Излучаемые поля в непосредственной близости. Испытание на помехоустойчивость
ГОСТ IEC 61340-4-1 Электростатика. Методы испытаний для прикладных задач. Электрическое сопротивление напольных покрытий и установленных полов
ГОСТ IEC 61340-4-4 Электростатика. Методы испытаний для прикладных задач. Мягкие контейнеры для сыпучих материалов. Классификация по электростатическим свойствам
ГОСТ IEC 61340-4-5 Электростатика. Методы испытаний для прикладных задач. Методы оценки электростатических свойств обуви и напольного покрытия в комбинации с человеком
ГОСТ IEC 61340-4-6 Электростатика. Методы испытаний для прикладных задач. Антистатические браслеты
ГОСТ IEC 61340-4-8 Электростатика. Методы испытаний для прикладных задач. Экранирование электростатического разряда. Пакеты
ГОСТ IEC 61340-5-1 Электростатика. Защита электронных устройств от электростатических явлений. Общие требования
ГОСТ IEC TR 61340-5-2 Электростатика. Защита электронных устройств от электростатических явлений. Руководство по применению
ГОСТ IEC TR 61340-5-5 Электростатика. Защита электронных устройств от электростатических явлений. Требования к упаковке, применяемой в производстве электроники
ГОСТ IEC 61439-1 Устройства комплектные низковольтные распределения и управления. Часть 1. Общие требования
ГОСТ IEC 61439-3 Устройства комплектные низковольтные распределения и управления. Часть 3. Распределительные щиты, предназначенные для управления неквалифицированными лицами
ГОСТ IEC 61439-6 Низковольтные комплектные устройства распределения и управления. Часть 6. Системы сборных шин (шинопроводы)
ГОСТ Р 50571.4.41-2022/МЭК 60364-4-41:2017 Электроустановки низковольтные. Часть 4-41. Защита для обеспечения безопасности. Защита от поражения электрическим током
ГОСТ Р 50571.5.52/МЭК 60364-5-52:2009 Электроустановки низковольтные. Часть 5-52. Выбор и монтаж электрооборудования. Электропроводки
ГОСТ Р 50571.5.56/МЭК 60364-5-56:2009 Электроустановки низковольтные. Часть 5-56. Выбор и монтаж электрооборудования. Системы обеспечения безопасности
ГОСТ Р 50571.16/МЭК 60364-6:2016 Электроустановки низковольтные. Часть 6. Испытания
ГОСТ Р 53987 (ИСО 8528-1:2005) Электроагрегаты генераторные переменного тока с приводом от двигателя внутреннего сгорания. Часть 1. Применение, технические характеристики и параметры
ГОСТ Р МЭК 60601-1-2022 Изделия медицинские электрические. Часть 1. Общие требования безопасности с учетом основных функциональных характеристик
Примечание - При пользовании настоящим стандартом целесообразно проверить действие ссылочных стандартов в информационной системе общего пользования - на официальном сайте Федерального агентства по техническому регулированию и метрологии в сети Интернет или по ежегодному информационному указателю "Национальные стандарты", который опубликован по состоянию на 1 января текущего года, и по выпускам ежемесячного информационного указателя "Национальные стандарты" за текущий год. Если заменен ссылочный стандарт, на который дана недатированная ссылка, то рекомендуется использовать версию этого стандарта с учетом всех внесенных в данную версию изменений. Если заменен ссылочный стандарт, на который дана датированная ссылка, то рекомендуется использовать версию этого стандарта с указанным выше годом утверждения (принятия). Если после утверждения настоящего стандарта в ссылочный стандарт, на который дана датированная ссылка, внесено изменение, затрагивающее положение, на которое дана ссылка, то это положение рекомендуется применять без учета данного изменения. Если ссылочный стандарт отменен без замены, то положение, в котором дана ссылка на него, рекомендуется применять в части, не затрагивающей эту ссылку.
710.3 Термины и определения
В настоящем стандарте применены термины по
ГОСТ 30331.1, а также следующие термины с соответствующими определениями:
710.3.1
медицинское помещение (medical location): Помещение, предназначенное для целей диагностики, лечения, контроля и ухода за пациентами.
710.3.2
пациент (patient): Живое существо (человек или животное), подвергающееся медицинскому обследованию или лечению. Примечание - Пациент может быть оператором. |
710.3.3 медицинское электрическое оборудование; ME оборудование (medical electrical equipment, ME equipment): Электрическое оборудование, имеющее рабочую часть или передающее энергию пациенту или от него или обнаруживающее такую передачу энергии пациенту или от него и которое:
a) снабжено не более чем одним присоединением к специальной питающей цепи и
b) предназначенное производителем для использования в целях диагностики, лечения или контроля пациента, либо для компенсации или облегчения болезни, травмы или инвалидности.
Примечание - ME оборудование включает в себя принадлежности, определенные производителем в качестве необходимых для обеспечения его нормального использования.
710.3.4
рабочая часть (applied part): Часть ME оборудования, которая при нормальном использовании обязательно вступает в физический контакт с пациентом, чтобы ME оборудование или ME система могли выполнять свои функции. [ Адаптировано из ГОСТ Р МЭК 60601-1-2022, пункт 3.8] |
710.3.5
медицинская электрическая система; ME система (medical electrical system, ME system): Совокупность электрооборудования, указанная изготовителем, в которой по крайней мере одно изделие является ME оборудованием, соединенным с остальным электрооборудованием посредством функционального соединения или нескольких штепсельных розеток. [ Адаптировано из ГОСТ Р МЭК 60601-1-2022, пункт 3.64] |
710.3.6
среда пациента (patient environment): Любое пространство, в котором может возникнуть преднамеренный или непреднамеренный контакт пациента с частями ME оборудования или ME системы или между пациентом и другими лицами, касающимися частей ME оборудования или ME системы. |
Примечания
2 Определение применимо, если положение пациента зафиксировано.
710.3.7 группа 0 (group 0): Медицинское помещение, в котором не предполагается применять ME оборудование или ME системы.
710.3.8 группа 1 (group 1): Медицинское помещение, в котором ME оборудование или ME системы предназначены для наружного или инвазивного использования на любой части тела пациента и в котором прекращение электрического питания, например для защиты от поражения электрическим током, не представляет риска для безопасности пациента.
710.3.9 группа 2 (group 2): Медицинское помещение, в котором ME оборудование или ME системы предназначены для интрузивного, внешнего или инвазивного использования на любой части тела пациента и в котором прекращение электрического питания, например для защиты от поражения электрическим током, представляет риск для безопасности пациента.
710.3.10 медицинская система IT (medical IT system): Электрическая система IT, отвечающая всем специфическим дополнительным требованиям медицинских помещений группы 2.
Примечание - Отражены все специфические требования к медицинским помещениям группы 2.
710.3.11 главный распределительный щит (main distribution board): Распределительный щит, который выполняет все функции основного распределения электроэнергии в подключенной к нему питаемой области и в котором измеряется напряжение для включения системы электрического питания для системы безопасности.
710.3.12
электрический источник питания для систем безопасности (electric source for safety services): Электрический источник питания, предназначенный для использования в качестве части системы электрического питания для систем безопасности. |
710.3.13
медицинское устройство контроля изоляции; МЕД-УКИ (medical insulation monitoring device, MED-IMD): Специальное устройство контроля изоляции (УКИ), предназначенное для контроля медицинских систем IT. |
710.3.14
система определения места повреждения изоляции; IFLS (insulation fault location system, IFLS): Устройство или комбинация устройств, используемых для определения места повреждения изоляции в системах IT, где систему определения места повреждения изоляции применяют в дополнение к устройству контроля изоляции и используют для определения места повреждения изоляции. Примечание - IFLS вводит ток обнаружения между электрической системой и землей. |
710.3.15
система бесперебойного энергоснабжения; UPS (uninterruptible power system, UPS): Комбинация преобразователей, переключателей и устройств накопления электроэнергии (например, аккумуляторы), представляющих собой систему питания для обеспечения непрерывного энергоснабжения нагрузки в случае энергоснабжения питания. Примечание - Непрерывность питания потребителя обеспечена, если напряжение и частота находятся в пределах номинальных диапазонов допустимых отклонений в установившемся и переходном режимах, а искажения и прерывания - в пределах, указанных для выходного порта. Прерывание основного питания происходит, если напряжение и частота выходят за пределы номинальных диапазонов допустимых отклонений в установившемся и переходном режимах, либо если искажения или прерывания выходят за пределы, указанные для UPS. |
710.3.16
медицинская организация: Юридическое лицо независимо от организационно-правовой формы, осуществляющее в качестве основного (уставного) вида деятельности медицинскую деятельность на основании лицензии, предоставленной в порядке, установленном законодательством Российской Федерации о лицензировании отдельных видов деятельности. |
710.30 Оценка общих характеристик
Добавить:
Проектировщик совместно с медицинским персоналом и лицами, ответственными за медицинскую безопасность, должен рассмотреть влияние, оказываемое прерыванием электрического питания на ME оборудование или ME системы, включая:
- продолжительность прерывания (отказа) электрического питания;
- влияние любого прерывания питания на лечение, контроль или обследование, в том числе если повторение какой-либо процедуры опасно для пациента или результаты исследования невозможно повторить.
Следует провести комплексную оценку для определения надлежащих требований к электрическому питанию ME оборудования, ME систем и вспомогательного электрического оборудования, которое предполагается использовать.
Установив такие требования, следует определить надлежащий класс медицинского помещения. Для определения размеров медицинского помещения следует рассмотреть все возможные положения пациента.
Если в результате оценки заданное помещение попадает как в группу 1, так и в группу 2, то помещение должно быть отнесено к группе 2.
Примечания
2 Руководство по присвоению номера группы и классификации систем электрического питания для систем безопасности для медицинских помещений приведено в
приложении A.
710.31 Назначение, источники питания и структура
710.312.2 Типы заземления системы
Добавить:
Электроустановки медицинских организаций запрещено выполнять с типом заземления системы TN-C.
710.313 Источники питания
710.313.1 Общие требования
Добавить:
710.313.1.101 Источники питания для систем электрического питания для систем безопасности и резервных систем в медицинских помещениях группы 1 и группы 2
В медицинских помещениях группы 1 и группы 2 система распределения должна быть спроектирована и установлена так, чтобы облегчить автоматическое переключение или автоматическое переключение электрооборудования с основной распределительной сети на источник электрического питания для систем безопасности, питающий основных потребителей (см.
ГОСТ Р 50571.5.56). Следует учитывать всех основных медицинских потребителей, а также пользователей, не имеющих отношение к медицине.
Также необходимо принимать во внимание пусковой ток любого подключенного электрооборудования.
Примечание - Это также может быть применимо к медицинским помещениям группы 0.
710.313.1.102 Источники питания для медицинских помещений группы 2
Полное прерывание питания должно быть предотвращено в случае одиночного повреждения в источнике питания. Это может быть достигнуто посредством:
- наличия двух независимых линий питания и (или):
- UPS в той же противопожарной секции для питания медицинской системы IT или
- UPS, обеспечивающей питанием несколько помещений группы 2.
710.314 Разделение электроустановки
Добавить:
710.314.101
Конечные цепи для ME оборудования и ME систем должны быть предназначены исключительно для такого электрооборудования.
710.41 Защита для обеспечения безопасности. Защита от поражения электрическим током
710.410.3 Общие положения
710.410.3.5
Замена:
Запрещено применять следующие меры предосторожности: "барьеры" и "расположение вне зоны досягаемости рукой".
710.410.3.6
Замена:
Запрещено применять следующие меры защиты: "непроводящее размещение", "защита посредством местного уравнивания потенциалов, не связанного с землей" и "электрическое разделение при питании нескольких электроприемников".
710.411 Мера защиты: автоматическое отключение питания
710.411.3 Требования к защите при повреждении
710.411.3.2 Автоматическое отключение при замыкании на землю
Замена:
В медицинских помещениях группы 1 и группы 2, в которых отключение источника питания не представляется возможным обеспечить с помощью устройства защиты от сверхтока в соответствии с
ГОСТ Р 50571.4.41-2022 (411.3.2) или посредством устройства дифференциального тока (УДТ), применяют нижеприведенное.
Для систем IT, TN и TT допустимое напряжение прикосновения UL не должно превышать 25 В переменного тока (UL <= 25 В переменного тока) или 60 В постоянного тока (UL <= 60 В постоянного тока).
В системах TN посредством дополнительного уравнивания потенциалов можно поддерживать 25 В переменного тока (UL <= 25 В переменного тока) или 60 В постоянного тока (UL <= 60 В постоянного тока).
Запрещено применять меры предосторожности, указанные в
ГОСТ Р 50571.4.41-2022 (приложение D).
710.411.3.3 Дополнительные требования к штепсельным розеткам и питанию передвижного электрооборудования, используемого вне здания
Добавить:
Если используют медицинскую систему IT, запрещено применять дополнительную защиту посредством УДТ.
710.411.4 Системы TN
710.411.4.5
Добавить:
В медицинских помещениях групп 1 и 2 защита посредством УДТ для цепей TN должна соответствовать
ГОСТ Р 50571.4.41-2022 (411.3.2).
710.411.5 Система TT
710.411.5.2
Добавить:
В медицинских помещениях групп 1 и 2 защита посредством УДТ для цепей TT должна соответствовать
ГОСТ Р 50571.4.41-2022 (411.3.2).
Добавить:
710.411.6.1.101 Медицинские системы IT
В медицинских помещениях группы 2 для конечных цепей следует использовать медицинскую систему IT в соответствии с требованиями
710.411.6.3.101 и
710.512.1.101 и в том случае, если такие конечные цепи подключены к ME оборудованию или ME системе, расположенной в среде пациента. Допускаются исключения для следующих конечных цепей:
- для электрооборудования с номинальной мощностью более 5 кВ·А;
- рентгеновского оборудования;
- питания двигателей стационарных операционных столов.
В медицинских помещениях группы 2 питание конечных цепей для штепсельных розеток для ME оборудования и ME систем, используемых для жизнеобеспечения пациента, не должно автоматически отключаться при первом замыкании на землю.
710.411.6.3.101 Медицинское устройство контроля изоляции
Медицинская система IT должна быть оборудована медицинским устройством контроля изоляции (МЕД-УКИ) (см.
[1] приложения A и B).
Примечание - В дополнение к информации, предоставляемой дистанционным предупреждением о повреждении изоляции, могут постоянно отображаться следующие события с возможностью передачи всей информации техническому персоналу:
- состояние линий, питающих медицинские помещения группы 2;
- срабатывание автоматического выключателя;
- другие нарушения, которые имеют существенное значение для работы медицинского помещения;
- неисправности систем связи.
В медицинском помещении должно быть предусмотрено нестираемое и легко читаемое письменное объяснение значения каждого типа сигнала, тревоги и процедуры, которым необходимо следовать в случае первого замыкания на землю.
Для трансформаторов, питающих медицинские системы IT, следует применять контроль состояний перегрузки и перегрева (см.
[4]).
В медицинской системе IT рекомендуется использовать IFLS.
Если установлена система определения места повреждения изоляции, она должна соответствовать установленным требованиям (см. приложение A
[2]).
Примечание - IFLS упрощает обнаружение мест повреждений, особенно в случае периодических повреждений.
710.414 Мера защиты: сверхнизкое напряжение, обеспечиваемое системами БСНН и ЗСНН
710.414.1 Общие положения
Добавить:
710.414.1.101 Если цепи системы безопасного сверхнизкого напряжения (БСНН) и (или) системы защитного сверхнизкого напряжения (ЗСНН) используют в медицинских помещениях группы 1 и группы 2, номинальное напряжение, подаваемое на электроприемники, не должно превышать 25 В переменного тока (среднеквадратичное значение) или 60 В постоянного тока (без пульсаций). Следует обеспечить защиту посредством основной изоляции частей, находящихся под напряжением, в соответствии с
ГОСТ Р 50571.4.41-2022 (A.1) или посредством ограждений или оболочек согласно
ГОСТ Р 50571.4.41-2022 (A.2).
Примечание - Отсутствие пульсаций условно определяют как среднеквадратичное значение пульсаций напряжения не более 10% от составляющей постоянного тока.
710.414.4 Требования к цепям БСНН и ЗСНН
710.414.4.1
Добавить:
В медицинских помещениях группы 1 и группы 2, в которых используют систему ЗСНН, открытые проводящие части электрооборудования следует присоединять к шине уравнивания потенциалов посредством защитных проводников уравнивания потенциалов.
710.415 Дополнительная защита
710.415.2 Дополнительная защита: дополнительное защитное уравнивание потенциалов
Добавить:
Каждое медицинское помещение группы 1 или 2 должно быть оборудовано системой дополнительного уравнивания потенциалов, а защитные проводники дополнительного уравнивания потенциалов должны быть присоединены к шине уравнивания потенциалов с целью уравнивания разности потенциалов между следующими частями, расположенными внутри среды пациента:
- сторонними проводящими частями, за исключением тех случаев, когда их следует изолировать от земли;
- экранами для защиты от электрических помех, если они установлены;
- проводящими напольными решетками, сетками и лентами, включая те, которые применяют для статической защиты, если они установлены;
- металлическими экранами разделительных трансформаторов, экранами кабелей и т.д. через прямое соединение с защитным заземляющим проводником.
Проводящие части, которые должны быть изолированы от земли, запрещено присоединять к системе дополнительного уравнивания потенциалов.
Точки присоединения к системе дополнительного уравнивания потенциалов для подключения ME оборудования должны быть доступны в помещениях группы 2 и учтены в помещениях группы 1.
В медицинских помещениях группы 1 и группы 2 сопротивление между одновременно доступными открытыми проводящими частями, включая зажимы защитных проводников штепсельных розеток и стационарного электрооборудования, сторонними проводящими частями и точками уравнивания потенциалов, должно быть равным значению, соответствующему требованиям
710.411.3.2.5, и не должно превышать 0,2 Ом.
Примечание - Предел 0,2 Ом основан на использовании автоматического выключателя с типом мгновенного расцепления B и номинальным током 25 А для достижения условного напряжения прикосновения 25 В переменного тока.
В нормативных документах могут быть установлены другие значения.
710.415.2.103
Шину уравнивания потенциалов следует располагать внутри или поблизости от каждого медицинского помещения группы 1 и группы 2. Соединения следует размещать таким образом, чтобы они были доступны, маркированы, видимы и чтобы их можно было удобно рассоединять по отдельности.
710.42 Защита для обеспечения безопасности. Защита от тепловых воздействий
710.421 Защита от пожара, вызванного электрическим оборудованием
710.421.1 Общие положения
Добавить:
710.421.7.101
Устройства защиты при дуговом пробое (УЗДП) не допускается использовать в цепях, питаемых системами IT, указанными как медицинские системы IT в
710.411.6.
В цепях, не питаемых медицинскими системами IT, любое использование УЗДП должно подлежать оценке риска.
Примечание - Пожарные инспекторы, проектировщики, архитекторы и заинтересованные стороны могут участвовать в оценках риска.
Следует соблюдать действующее законодательство.
710.44 Защита для обеспечения безопасности. Защита от резких отклонений напряжения и электромагнитных возмущений
710.444 Меры защиты от электромагнитных воздействий
710.444.1 Общие положения
Добавить:
Особое внимание следует уделять электромагнитным возмущениям и электромагнитной совместимости. Дополнительная информация изложена в
приложении B.
| | ИС МЕГАНОРМ: примечание. В официальном тексте документа, видимо, допущена опечатка: имеется в виду ГОСТ IEC TR 61340-5-5, а не ГОСТ TR IEC 61340-5-5. | |
710.51 Выбор и монтаж электрического оборудования. Общие правила
Добавить:
710.51.101 Распределительные щиты
710.51.101.1 Общие положения
Для общего питания и электрического питания систем безопасности должны быть предусмотрены отдельные распределительные щиты.
710.51.101.2 Медицинские помещения группы 2
Распределительные щиты для медицинских помещений группы 2 следует монтировать в непосредственной близости от обслуживаемых ими помещений и снабжать четкой маркировкой. Распределительные щиты необходимо монтировать за пределами медицинских помещений группы 2 и надежно защищать от несанкционированного доступа.
Медицинский распределительный щит IT следует располагать в пределах 25 м от обслуживаемой зоны и при этом учитывать токи утечки.
Примечание - Требование относительно расстояния 25 м связано с возможным емкостным током утечки.
Рекомендуемые минимальные расстояния от разделительных трансформаторов медицинской системы IT до электрооборудования, используемого в среде пациента, приведены в
приложении B.
Распределительный щит должен быть легкодоступен для обеспечения технического обслуживания и расположен на том же уровне и в том же пожарном отсеке, что и электрооборудование, которое он питает.
Примечание - Распределительный щит для медицинских помещений представляет собой щит, который выполняет функции питания подключенной к нему зоны медицинского помещения и в котором контролируется основное напряжение питания для выполнения переключения на систему электрического питания для систем безопасности в соответствии с
710.313.1.101 и
710.313.1.102.
710.51.102 Электрические рабочие зоны
Если в помещении предусмотрены электрические рабочие зоны, то в их отношении действуют нормативные документы. Если нормативные документы отсутствуют, то следующие устройства, при их наличии, должны быть размещены в отдельной закрытой электрической рабочей зоне:
- главный трансформатор;
- распределительные устройства с номинальным напряжением более 1 кВ;
- главный распределительный щит для общего питания, включая вспомогательный распределительный щит для данной секции этажа, коррекции коэффициента мощности и фильтрации гармоник;
- главный распределительный щит системы электрического питания для систем безопасности, включая вспомогательный распределительный щит данной секции этажа;
- стационарная генераторная установка для системы электрического питания для системы безопасности;
- центральные аккумуляторы для системы электрического питания для системы безопасности, если в связи с типом конструкции требуется размещение в закрытой электрической рабочей зоне, а также преобразователи и шкафы управления системой дополнительного электрического питания для систем безопасности.
710.512 Условия эксплуатации и внешние воздействия
710.512.1 Условия эксплуатации
Добавить:
710.512.1.101 Разделительный трансформатор для медицинских систем IT
Разделительные трансформаторы должны соответствовать установленным положениям (см.
[4]) и отвечать нижеприведенным требованиям.
Для питания электрооборудования каждой медицинской системы IT следует использовать не менее одного однофазного трансформатора. Номинальная выходная мощность должна быть не менее 0,5 кВ·А и ограничена 10 кВ·А. Если для питания электрооборудования в одном медицинском помещении требуется несколько трансформаторов, их запрещено подключать параллельно.
Если в соответствии с нормативными документами разрешено применение трехфазного трансформатора для питания однофазного электрооборудования, конструкция или способ подключения должны быть такими, чтобы напряжение на стороне нагрузки не превышало 250 В даже в случае несбалансированной нагрузки и других возможных повреждений на первичной стороне. В таких условиях допустимы трехфазные трансформаторы, вторичные обмотки которых соединены звездой или треугольником.
Если от системы IT требуется питание трехфазного электрооборудования, для этих целей следует предусмотреть отдельный трехфазный трансформатор.
Примечание - Выбор разделительного трансформатора для медицинских систем IT с напряжением короткого замыкания, подходящим для защиты от перегрузки первичной стороны и конечных цепей, пригоден для проектирования медицинской системы IT.
710.512.2 Внешние воздействия
Добавить:
710.512.2.101 Риск взрыва
Если существует вероятность возникновения опасных условий, следует предусмотреть дополнительные меры предосторожности.
Электрические устройства (штепсельные розетки и выключатели), установленные поблизости от любых выпусков медицинских окисляющих или горючих газов, следует располагать на расстоянии не менее 0,2 м от выпуска (расстояние между центрами), чтобы свести к минимуму риск воспламенения горючих газов.
Примечание - Устройства медицинского снабжения см.
[5].
710.514.3 Идентификация нейтральных и защитных проводников
Добавить:
710.514.3.101 Защитные проводники уравнивания потенциалов для дополнительного уравнивания потенциалов должны быть обозначены желто-зеленой комбинацией, как минимум, в местах соединений.
Примечание - Требования к цветовой идентификации защитных проводников приведены в ГОСТ 33542-2015 (раздел 6).
710.514.5 Схемы
Добавить:
710.514.5.101 Схемы и документация
Пользователю следует предоставить планы электрической установки вместе с пояснениями, чертежами, электрическими схемами и их изменения. Такие документы должны включать в себя:
- однолинейные общие схемы распределительных цепей нормального (основного) питания и схемы системы электрического питания систем безопасности в однолинейном представлении. Эти схемы должны содержать информацию о расположении всех распределительных щитов;
- все схемы главного распределительного щита, на которых показаны коммутационная аппаратура и аппаратура управления и распределительные щиты в однолинейном представлении;
- строительные чертежи;
- принципиальные схемы управления;
- документацию, подтверждающую соответствие требованиям стандартов (например,
710.411);
- список потребителей, постоянно подключенных к системе электрического питания для систем безопасности, с указанием номинальных токов, а в случае потребителя с электродвигателями, пусковых токов;
- список настроек автоматических выключателей;
- функциональное описание эксплуатации электрических источников питания для систем безопасности и системы электрического питания для систем безопасности.
710.514.5.102 Инструкции по эксплуатации
Должны быть предоставлены инструкции по эксплуатации и техническому обслуживанию электрической установки. Документы должны включать в себя:
- инструкции по эксплуатации, осмотру, испытанию и техническому обслуживанию аккумуляторных батарей и системы электрического питания для систем безопасности, включая автоматическое переключение или автоматическое переключение электрооборудования;
- журнал учета всех испытаний и визуальных осмотров;
- информацию о визуальных осмотрах.
710.52 Выбор и монтаж электрического оборудования. Электропроводки
710.520.4 Общие положения
Добавить:
Любая электропроводка в медицинских помещениях группы 2 должна быть исключительно для использования электрооборудования и соответствующих принадлежностей в этом помещении.
710.53 Выбор и монтаж электрического оборудования. Устройства защиты для обеспечения безопасности, разъединения, коммутации, управления и контроля
710.531 Оборудование для защиты от поражения электрическим током
710.531.2 Устройства для автоматического отключения питания
710.531.2.2 Устройства защиты от сверхтоков
710.531.2.2.3 Система IT
Добавить:
710.531.2.2.3.101 Медицинские системы IT
Устройства защиты от сверхтоков можно использовать только для защиты от короткого замыкания на первичной стороне разделительного трансформатора для медицинских систем IT.
Защиту от перегрузки запрещено устанавливать во вторичной цепи разделительного трансформатора для медицинских систем IT.
Для каждой конечной цепи следует использовать защиту от сверхтока в случае короткого замыкания или перегрузки.
В каждой конечной однофазной цепи должен быть установлен двухполюсный автоматический выключатель.
710.531.2.3 Устройства дифференциального тока
710.531.2.3.3 Типы устройств дифференциального тока
Добавить:
710.531.2.3.3.101 Выбор устройств дифференциального тока в медицинских помещениях
В медицинских помещениях группы 1 и группы 2, где требуются устройства дифференциального тока (УДТ), которые следует выбирать в зависимости от возможного тока замыкания на землю. Запрещено использовать УДТ типа AC.
В медицинских помещениях группы 1 допускается применение УДТ в конечных цепях, защищенных устройствами защиты от сверхтоков с номинальными токами более 32 А.
Следует рассмотреть возможность ограничения числа штепсельных розеток в одной конечной цепи, чтобы снизить вероятность нежелательного срабатывания УДТ при одновременном использовании нескольких единиц электрооборудования.
Если УДТ используют в медицинских помещениях группы 2, каждое отдельное ME оборудование или ME система должны быть защищены отдельным УДТ.
Следует рассмотреть и задокументировать удобство и процедуру повторного включения любого УДТ.
710.531.7 Устройства контроля
Добавить как абзац:
В медицинских системах IT изоляцию следует контролировать посредством МЕД-УКИ (см.
[1], приложения A и B). МЕД-УКИ следует установить в распределительном щите медицинской системы IT
710.535 Согласование защитных устройств
710.535.1 Селективность между устройствами защиты от сверхтоков
Добавить:
710.535.1.101 Селективность между устройствами защиты от сверхтоков медицинских помещений группы 2
Для выполнения требований по непрерывному питанию медицинских помещений группы 2 должна быть обеспечена полная селективность по любому ожидаемому сверхтоку. В случае короткого замыкания в конечной цепи входные цепи вышестоящего распределительного щита не должны отключаться.
710.536 Разъединение и коммутация
Добавить:
710.536.101 Автоматическое переключение или автоматическое переключение оборудования
В медицинских организациях, где установлено оборудование для автоматического включения резерва или автоматического переключения, применяют нижеприведенные правила.
Оборудование автоматического переключения или автоматического переключения оборудования должно соответствовать требованиям
ГОСТ IEC 60947-6-1.
Электропроводка между коммутационной аппаратурой автоматического переключения и последующим устройством защиты от сверхтока должна быть выполнена таким образом, чтобы исключить короткое замыкание и замыкание на землю.
Коммутационную аппаратуру автоматического переключения следует установить таким образом, чтобы поддерживать безопасное разделение между цепями питания.
Должны быть рассмотрены меры, обеспечивающие техническое обслуживание коммутационной аппаратуры автоматического переключения, например можно применить обход.
710.537.1 Общие положения
710.537.1.3 Выбор мониторов дифференциального тока (МДТ)
Добавить:
710.537.1.3.101 Выбор МДТ в медицинских помещениях группы 1 и группы 2
В медицинских помещениях группы 1 и группы 2 рекомендуется использовать МДТ установленного образца (см.
[6]). Пользователи и технический персонал должны быть проинформированы о любом значительном ухудшении состояния изоляции. При использовании в медицинских помещениях группы 2 рекомендовано применение требований
710.411.6.3.101 к звуковой и визуальной сигнализациям.
Если используют МДТ, его тип следует выбрать в соответствии с возможным током замыкания на землю, например тип A или тип B.
710.55 Выбор и монтаж электрического оборудования. Другое электрооборудование
Добавить:
710.55.101 Штепсельные розетки в медицинских помещениях группы 2
710.55.101.1 Штепсельные розетки в медицинских системах IT
В медицинских системах IT следует устанавливать сигнальную лампу или дисплей для индикации наличия питания в каждой конечной цепи, питающей штепсельные розетки, предназначенные для ME оборудования.
Примечание - Если штепсельные розетки снабжены индикаторными лампами наличия питания, предпочтительно, чтобы они излучали зеленый свет.
Штепсельные розетки с выключателями запрещено использовать для медицинских систем IT.
Конфигурация штепсельных розеток должна быть следующей:
- индивидуальная штепсельная розетка, питаемая отдельной защищенной цепью, или
- несколько штепсельных розеток, питаемых отдельно как минимум от двух конечных цепей, но не более шести штепсельных розеток на конечную цепь.
710.55.101.2 Системы TN-S или TT
Штепсельные розетки для систем TN-S или TT должны:
- быть несовместимыми со штепсельными розетками, используемыми для медицинских систем IT, или
- иметь четкую и постоянную маркировку, например цветовую маркировку.
710.559 Светильники и осветительные установки
Добавить:
710.559.101 Цепи освещения
В медицинских помещениях группы 1 и группы 2 следует предусмотреть не менее двух цепей освещения как минимум от двух различных источников питания.
Время переключения и уровень освещенности следует учитывать и привести в соответствие с требованиями нормативных документов.
710.56 Выбор и монтаж электрического оборудования. Системы безопасности
710.560.4 Классификация
Замена:
Классификация системы электрического питания для систем безопасности медицинских помещений следующая:
- класс A - без прерывания: автоматическая система питания, способная обеспечить непрерывное питание в заданных условиях в течение переходного периода;
- класс C - кратковременное прерывание: автоматическая система питания доступна в течение 0,5 с;
- класс E - среднее прерывание: автоматическая система питания доступна в течение 15 с;
- класс F - длительное прерывание: автоматическая система питания доступна более чем через 15 с.
Системы электрического питания для систем безопасности, предусмотренные для медицинских помещений, имеющих разную классификацию, должны соответствовать классификации, обеспечивающей наивысшую надежность питания.
710.560.5 Общие положения
Добавить:
710.560.5.101 В медицинских помещениях требуется система электрического питания для систем безопасности, которая в соответствии с настоящим стандартом обеспечивает подачу питания в течение заданного времени переключения на электроустановки, которые должны функционировать в случае отказа общей системы питания.
Электрический источник питания для систем безопасности должен автоматически начать подавать питание, если напряжение одного или нескольких вводных линейных проводов главного распределительного щита здания от основного источника питания стало ниже 85% номинального напряжения в течение более 0,5 с.
В медицинских помещениях группы 1 за пределами больниц или аналогичных зданий и помещений может отсутствовать необходимость в установке какого-либо электрического источника питания для систем безопасности, если прерывание питания не представляет угрозу для безопасности.
Следует предусмотреть процедуры периодической проверки, планового технического обслуживания, а также возможные аварийные отказы электрических источников питания для систем безопасности и систем электрического питания для систем безопасности.
710.560.6 Электрические источники питания для систем безопасности
Добавить:
710.560.6.101 В случае отказа общего источника электрического питания электрический источник питания для систем безопасности должен быть включен для питания электрооборудования, указанного в
710.560.6.103.1,
710.560.6.103.2 и
710.560.6.103.3, электрической энергией в течение определенного периода и предварительно заданного времени переключения.
Примечание - Дополнительная информация о соединительных кабелях между отдельными компонентами и узлами электрического источника питания для систем безопасности приведена в
ГОСТ Р 50571.5.52.
710.560.6.102 Штепсельные розетки, питаемые от электрического источника питания для систем безопасности, также должны быть легко идентифицируемы в соответствии с классификацией их систем безопасности, например по цветовому обозначению или маркировке.
Примечание - Можно применять дополнительные требования.
710.560.6.103 Подробные требования к электрическому источнику питания для систем безопасности
710.560.6.103.1 Время переключения менее или равно 0,5 с
Если напряжение на распределительном щите стало ниже 85% номинального напряжения, электрический источник питания для систем безопасности, обеспечивающий электрическое питание в течение не менее 3 ч, следует использовать:
- для освещения операционных столов;
- ME оборудования и ME систем, содержащих источники света или электрооборудование, необходимое для процедуры. Например, таким оборудованием могут быть эндоскопы и основное оборудование, такое как мониторы;
- важного ME оборудования и ME систем жизнеобеспечения.
Примечание - В результате оценки согласно
710.30 можно идентифицировать другое электрооборудование, которое необходимо подключить к электрическому источнику питания для систем безопасности с указанными выше требованиями.
Источник питания должен подключиться автоматически в течение времени переключения не более 0,5 с.
Продолжительность 3 ч может быть сокращена до 1 ч, если установлен независимый электрический источник питания для систем безопасности в соответствии с 710.560.6.103.2.
710.560.6.103.2 Время переключения менее или равно 15 с
ME оборудование и ME системы, не подключенные к электрическому источнику питания для систем безопасности в соответствии с
710.560.6.103.1 и при способах применения согласно
710.560.9, должны автоматически в течение 15 с подключаться к электрическому источнику питания для систем безопасности, который способен поддерживать питание не менее 24 ч, если напряжение одного или нескольких линейных проводников в главном распределительном щите электрического источника питания для систем безопасности стало ниже 85% номинального напряжения в течение более 3 с.
Продолжительность 24 ч может быть сокращена до минимума 3 ч, если это позволяют медицинские требования и использование помещения, включая любое лечение, и если здание можно эвакуировать за время в пределах трехчасового периода.
710.560.6.103.3 Время переключения более 15 с
Электрооборудование, не указанное в
710.560.6.103.1 и
710.560.6.103.2, которое необходимо для обеспечения медицинской деятельности или оказания эквивалентных услуг, следует автоматически (или вручную) подключать к электрическому источнику питания для систем безопасности, который может поддерживать питание в течение не менее 24 ч. К такому электрооборудованию относят, например:
- стерилизационное оборудование;
- технические системы здания, включающие в себя системы кондиционирования, отопления, вентиляции и систему удаления отходов;
- холодильное оборудование;
- оборудование для общественного питания;
- зарядные устройства для аккумуляторных батарей;
- пожарный лифт или лифт для лежачих больных.
Оценка риска может привести к продлению этого 24-часового периода.
710.560.6.104 Дополнительные требования к электрическим источникам питания для систем безопасности медицинских помещений группы 1 и группы 2
Дополнительный главный внешний источник питания, например независимый обычный источник питания, не считают электрическим источником питания для систем безопасности.
Примечание - Блочные электростанции с поршневыми двигателями внутреннего сгорания используют в качестве электрического источника питания для систем безопасности в соответствии с
ГОСТ Р 53987. Номинальные значения подаваемой мощности для технических условий основной мощности (PRP) приведены в
[7] (14.3.3).
710.560.6.1
Добавить:
Первичные элементы (батареи) запрещено использовать в качестве электрического источника питания для систем безопасности.
710.560.6.11
Добавить:
Если используют UPS, должна быть:
f) возможность запустить UPS без наличия какого-либо источника питания на входе.
710.560.6.13
Добавить:
Наличие (готовность к работе) электрического источника питания для систем безопасности следует контролировать и указывать в подходящем месте.
710.560.9 Применение аварийного освещения
Добавить:
710.560.9.101 Аварийное освещение
В случае неисправности основного источника питания время переключения электрического источника питания для систем безопасности не должно превышать 15 с. Необходимая минимальная освещенность должна соответствовать установленным требованиям и должна быть обеспечена в следующих помещениях:
- помещениях для коммутационной аппаратуры и аппаратуры управления аварийными генераторными установками и главными распределительными щитами основного питания и системы электрического питания для систем безопасности;
- помещениях, предназначенных для важнейших услуг. В каждом таком помещении должен быть как минимум один светильник, запитанный от электрического источника питания для систем безопасности;
- помещениях расположения центральных систем пожарной сигнализации и контроля;
- кабинетах медицинских помещений группы 1. В каждом таком кабинете должен быть, как минимум, один светильник, запитанный от электрического источника питания для систем безопасности.
В медицинских помещениях группы 1 за пределами больниц или аналогичных зданий и помещений может отсутствовать необходимость монтировать систему электрического питания для аварийного освещения и аварийного эвакуационного освещения, если сбой в питании не препятствует окончанию процедуры и безопасной эвакуации из помещения;
- кабинетах медицинских помещений группы 2. Не менее 50% светильников должно быть запитано от электрического источника питания для систем безопасности.
Если применяют селективную защиту посредством отключения питания, она должна быть устроена таким образом, чтобы защитное оборудование не отключало все цепи освещения кабинета или пути эвакуации.
Примечание - Согласно нормативным документам может потребоваться более короткое время переключения.
710.6.4 Первичная проверка
Добавить:
710.6.4.101 Первичную проверку следует проводить в соответствии с требованиями нормативных документов. Если нормативные документы отсутствуют, рекомендуется провести нижеследующие проверки и испытания.
Испытания, указанные в перечислениях с a) по
h) дополнительно к требованиям
ГОСТ Р 50571.16, должны быть проведены и зарегистрированы как до ввода в эксплуатацию, так и после реконструкции или ремонта, а также перед повторным вводом в эксплуатацию:
a) проверка работоспособности переключающих устройств в соответствии с инструкциями изготовителя;
b) проверка работоспособности МЕД-УКИ и систем контроля перегрузок медицинских систем IT и систем звуковой и визуальной сигнализаций в соответствии с рекомендациями производителя;
c) измерения, подтверждающие соответствие системы дополнительного уравнивания потенциалов требованиям
710.415.2.101 и
710.415.2.102;
d) проверка целостности средств для уравнивания потенциалов, требуемых
710.415.2.101;
e) проверка целостности средств системы электрического питания для систем безопасности, требуемых
710.56;
f) математическая проверка соответствия селективности системы электрического питания для систем безопасности в части проектной документации и расчета;
g) математическая проверка применяемых мер защиты на соответствие требованиям к медицинским помещениям группы 1 и группы 2 с учетом требований
710.535.1;
h) визуальная проверка соответствия маркировки номинальных характеристик разделительного трансформатора требованиям
710.512.1.101 и конструкторской документации.
710.6.5 Периодическая проверка
Добавить:
710.6.5.101
Примечание - Процедуры периодического осмотра обычно выполняют в тесном сотрудничестве с медицинским персоналом, чтобы свести к минимуму риск для пациентов.
Процедуры периодической проверки следует выполнять в соответствии с нормативными документами.
Рекомендуется выполнить нижеприведенные процедуры:
a) проверка работоспособности переключающих устройств - в соответствии с инструкциями изготовителя и не реже одного раза в 12 мес;
b) проверка работоспособности МЕД-УКИ, системы контроля перегрузок медицинских систем IT и систем звуковой и визуальной сигнализаций - не реже одного раза в 12 мес;
c) измерение для проверки системы дополнительного уравнивания потенциалов - не реже одного раза в 36 мес;
d) проверка целостности средств, необходимых для уравнивания потенциалов, - не реже одного раза в 36 мес;
e) ежемесячная проверка работоспособности системы электрического питания для систем безопасности в соответствии с инструкциями изготовителя:
1) для UPS и двигателей внутреннего сгорания - не менее 80% номинальной мощности,
2) аккумуляторы - не менее 15 мин,
3) двигатели внутреннего сгорания - не менее 60 мин.
Перед испытанием резервных генераторов, работающих параллельно с электрической сетью, необходимо провести оценку рисков;
f) ежегодная проверка работоспособности системы электрического питания для систем безопасности - в соответствии с инструкциями изготовителя:
1) для UPS и двигателей внутреннего сгорания - не менее 80% номинальной мощности,
2) аккумуляторы - проверка емкости в течение не менее 15 мин,
3) двигатели внутреннего сгорания до достижения номинальной рабочей температуры - испытание на выносливость не менее 120 мин,
4) проверка генераторов в автономном режиме - не реже одного раза в 12 мес.
Перед испытанием резервных генераторов, работающих параллельно с электрической сетью, необходимо провести оценку рисков;
g) проверка срабатывания УДТ при номинальном отключающем дифференциальном токе

- по инструкции изготовителя и не реже одного раза в 12 мес;
h) визуальный осмотр, проверка работоспособности и измерения электрической установки, особенно для проверки защиты от поражения электрическим током, в том числе настройки регулируемых защитных устройств, - не реже одного раза в 12 мес;
i) проверка работоспособности светильников указателей выхода, путей эвакуации, мест установки коммутационной аппаратуры и аппаратуры управления: каждые 12 мес.
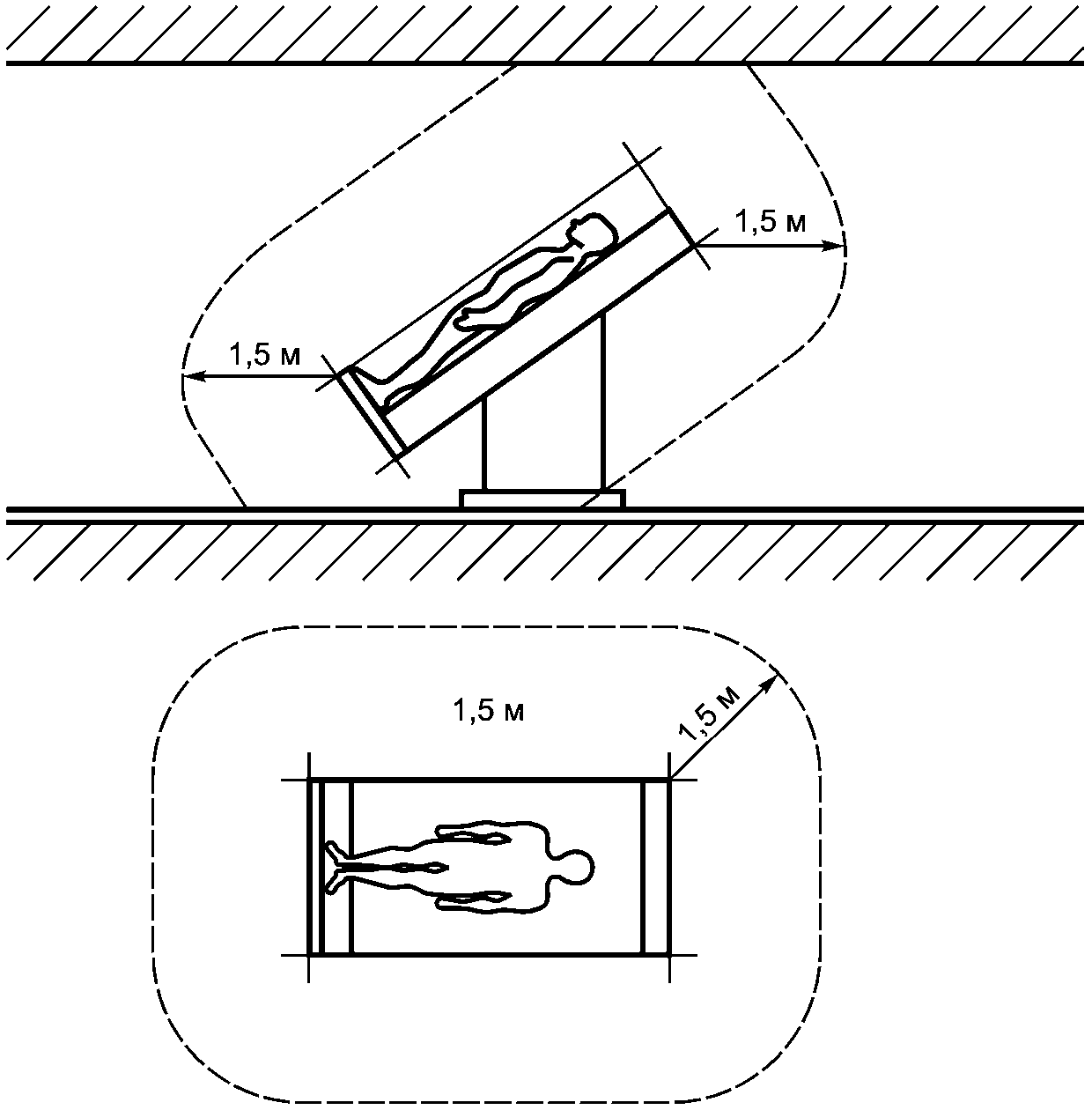
Примечание - Размеры демонстрируют минимальную протяженность среды пациента в свободном пространстве (
см. ГОСТ Р МЭК 60601-1-2022, рисунок A.9).
Рисунок 710.1 - Пример среды пациента
(справочное)
ПРИМЕРЫ ПРИСВОЕНИЯ ГРУППОВЫХ НОМЕРОВ И КЛАССИФИКАЦИИ
СИСТЕМЫ ЭЛЕКТРИЧЕСКОГО ПИТАНИЯ ДЛЯ СИСТЕМ
БЕЗОПАСНОСТИ МЕДИЦИНСКИХ ПОМЕЩЕНИЙ
Перечисление медицинских помещений в соответствии с их классификацией по группам в некоторой степени условно, поскольку функции каждого кабинета могут различаться как в разных странах, так и в пределах одной страны. Приведенные в таблице A.710.1 примеры представлены только для ознакомления.
Таблица A.710.1
Перечень медицинских помещений
с их классификацией по группам (рекомендация)
Медицинское помещение | Группа | Классификация |
0 | 1 | 2 | Класс C < 0,5 с | Класс E > 0,5 с >= 15 с |
1 Массажный кабинет | x | x | - | - | x |
2 Больничные палаты | - | x | - | - | x |
3 Родильная палата | - | x | - | | x |
4 Помещение для проведения ЭКГ, ЭЭГ, ЭГГ | - | x | - | - | x |
5 Эндоскопический кабинет | - | | - | x | |
6 Процедурный кабинет | - | x | - | x | x |
7 Урологический кабинет | - | | - | x | |
8 Радиологический диагностический и терапевтический кабинеты | - | x | - | - | x |
9 Гидротерапевтический кабинет | - | x | - | - | x |
10 Физиотерапевтический кабинет | - | x | - | - | x |
11 Анестезиологический кабинет | - | - | x | | x |
12 Операционная | - | - | x | | x |
13 Кабинет для подготовки к операциям | - | - | x | | x |
14 Травматологический кабинет | - | - | x | | x |
15 Послеоперационная палата | - | - | x | | x |
16 Кабинет для введения сердечных катетеров | - | - | x | | x |
17 Кабинет интенсивной терапии | - | - | x | | x |
18 Кабинет для ангиографии | - | - | x | | x |
19 Кабинет гемодиализа | - | x | | | x |
20 Кабинет для магниторезонансной томографии (МРТ) | - | x | x | x | x |
21 Кабинет для радиационной терапии | - | x | | | x |
22 Кабинет для недоношенных детей | - | - | x | | x |
23 Отделение промежуточной помощи (IMCU) | - | - | x | x | x |
<a> Для ME оборудования жизнеобеспечения и специальных светильников, например операционных и процедурных ламп, время переключения 0,5 с или менее. |
(справочное)
РУКОВОДСТВО ПО ЭЛЕКТРОМАГНИТНЫМ ПОМЕХАМ
| | ИС МЕГАНОРМ: примечание. В официальном тексте документа, видимо, допущена опечатка: имеется в виду ГОСТ IEC/TS 61000-1-2, а не ГОСТ IEC 61000-1-2. | |
Следующие значения могут быть устаревшими и подлежат обновлению посредством соответствующих частей в
ГОСТ IEC 61000-1-2,
ГОСТ IEC 61000-3-2,
ГОСТ IEC 61000-3-3,
ГОСТ IEC 61000-3-11,
ГОСТ IEC 61000-3-12,
ГОСТ IEC 61000-4-3 -
ГОСТ IEC 61000-4-5,
ГОСТ IEC 61000-4-8 -
ГОСТ IEC 61000-4-10,
ГОСТ IEC 61000-4-12 -
ГОСТ IEC 61000-4-14,
ГОСТ IEC 61000-4-18,
ГОСТ IEC 61000-4-20,
ГОСТ IEC 61000-4-27,
ГОСТ IEC 61000-4-30,
ГОСТ IEC 61000-4-31,
ГОСТ IEC 61000-4-34,
ГОСТ IEC 61000-4-39. Некоторое оборудование более чувствительно к электромагнитным помехам (ЭМП), поэтому пределы электромагнитных помех для медицинского оборудования должны соответствовать рекомендациям производителя.
Помехи не ожидаются, если магнитная индукция B при частоте 50 Гц не превышает следующих значений в положении пациента:
Btt = 0,1 мкТл для электромиограммы (ЭМГ);
Btt = 0,2 мкТл для электроэнцефалограммы (ЭЭГ);
Btt = 0,4 мкТл для электрокардиограммы (ЭКГ).
Как правило, эти предельные значения не превышаются при соблюдении следующих минимальных расстояний во всех направлениях между электрическим оборудованием, которое может вызывать магнитные помехи, и местами обследования пациентов:
a) при использовании индуктивного электрооборудования большой мощности обычно достаточно расстояния 6 м.
Примеры такого электрооборудования:
- трансформатор энергетической установки, например системы IT;
- стационарно установленные электродвигатели, особенно электродвигатели с номинальной выходной мощностью более 3 кВт;
b) между многожильными кабелями и линиями энергетической установки и защищаемыми позициями пациентов в соответствии с данными, приведенными в таблице B.710.1.
Таблица B.710.1
Минимальные расстояния
Поперечное сечение проводника, мм2 | Минимальное расстояние, м |
От 10 до 70 | 3 |
От 95 до 185 | 6 |
Более 185 | 9 |
В случае одиночных проводников могут потребоваться большие расстояния. При необходимости проверки соблюдения предельных значений рекомендуется привлекать специалистов.
Дополнительными мерами по снижению последствий могут быть:
- пассивное (электрическое) защитное экранирование источников электромагнитных полей;
- пассивное (электрическое) защитное экранирование медицинских помещений с особыми требованиями к электромагнитной совместимости (ЭМС);
- использование систем активной компенсации;
- использование электрооборудования с пониженной чувствительностью к внешним электромагнитным полям.
(справочное)
СВЕДЕНИЯ О СООТВЕТСТВИИ ССЫЛОЧНЫХ НАЦИОНАЛЬНЫХ
И МЕЖГОСУДАРСТВЕННЫХ СТАНДАРТОВ МЕЖДУНАРОДНЫМ СТАНДАРТАМ,
ИСПОЛЬЗОВАННЫМ В КАЧЕСТВЕ ССЫЛОЧНЫХ
В ПРИМЕНЕННОМ МЕЖДУНАРОДНОМ СТАНДАРТЕ
Таблица ДА.1
Обозначение ссылочного национального, межгосударственного стандарта | Степень соответствия | Обозначение и наименование ссылочного международного стандарта |
(IEC 60364-1:2005) | MOD | IEC 60364-1:2005 "Низковольтные электрические установки. Часть 1. Основополагающие принципы, оценка основных характеристик, определения" |
| IDT | IEC 60947-6-1:2013 "Низковольтная коммутационная аппаратура и аппаратура управления. Часть 6-1. Многофункциональное оборудование. Коммутационное оборудование переключения" |
МЭК 60364-4-41:2017 | IDT | IEC 60364-4-41:2017 "Низковольтные электрические установки. Часть 4-41. Защита для безопасности. Защита от поражения электрическим током" |
МЭК 60364-5-52:2009 | IDT | IEC 60364-5-52:2009 "Низковольтные электрические установки. Часть 5-52. Выбор и монтаж электрического оборудования. Системы электропроводок" |
МЭК 60364-5-56:2009 | IDT | IEC 60364-5-56:2009 "Низковольтные электрические установки. Часть 5-56. Выбор и монтаж электрического оборудования. Системы безопасности" |
МЭК 60364-6:2016 | IDT | IEC 60364-6:2016 "Низковольтные электрические установки. Часть 6. Проверка" |
Примечание - В настоящей таблице использованы следующие условные обозначения степени соответствия стандартов: - IDT - идентичные стандарты; - MOD - модифицированные стандарты. |
| МЭК 61557-8:2014 | Электрическая безопасность в низковольтных системах распределения до 1000 В переменного тока и 1500 В постоянного тока включительно. Оборудование для испытания, измерения или контроля защитных мер. Часть 8. Устройства контроля изоляции для систем IT |
(IEC 61557-8:2014) | (Electrical safety in low voltage distribution systems up to 1000 V a.c. and 1500 V d.c. - Equipment for testing, measuring or monitoring of protective measures - Part 8: Insulation monitoring devices for IT systems) |
| МЭК 61557-9:2014 | Электрическая безопасность в низковольтных системах распределения до 1000 В переменного тока и 1500 В постоянного тока включительно. Оборудование для испытания, измерения или контроля защитных мер. Часть 9. Оборудование для определения места повреждения изоляции в системах IT |
(IEC 61557-9:2014) | (Electrical safety in low voltage distribution systems up to 1000 V a.c. and 1500 V d.c. - Equipment for testing, measuring or monitoring of protective measures - Part 9: Equipment for insulation fault location in IT systems) |
| Федеральный закон от 21 ноября 2011 г. N 323-ФЗ "Об основах охраны здоровья граждан в Российской Федерации" |
| МЭК 61558-2-15:2022 | Безопасность трансформаторов, реакторов, блоков питания и их комбинаций. Часть 2-15. Частные требования и испытания разделительных трансформаторов для питания медицинских помещений |
(IEC 61558-2-15:2022) | (Safety of transformers, reactors, power supply units and combinations thereof - Part 2-15: Particular requirements and tests for isolating transformers for medical IT systems for the supply of medical locations) |
| ИСО 11197:2019 | Блоки питания для медицинского оборудования |
(ISO 11197:2019) | (Medical supply units) |
| МЭК 62020-1:2020 | Электрические аксессуары. Мониторы дифференциального тока (МДТ). Часть 1. МДТ для бытового и подобного использований |
(IEC 62020-1:2020) | (Electrical accessories - Residual current monitors (RCMs) - Part 1: RCMs for household and similar uses) |
| ИСО 8528-1:2018 | Электроагрегаты генераторные переменного тока с приводом от двигателя внутреннего сгорания. Часть 1. Применение, технические характеристики и параметры |
(ISO 8528-1:2018) | (Reciprocating internal combustion engine driven alternating current generating sets - Part 1: Application, ratings and performance) |
УДК 696:006.354 | |
Ключевые слова: БСНН, ЗСНН, автоматическое отключение питания, защита от поражения электрическим током, источник питания, конечная цепь, медицинская система IT, медицинская электрическая система, медицинское помещение, медицинское электрическое оборудование, пациент, система бесперебойного питания, среда пациента, устройство дифференциального тока, устройство защиты от сверхтока, электрический источник питания для систем безопасности, электроустановка |