Главная // Актуальные документы // ГОСТ (Государственный стандарт)СПРАВКА
Источник публикации
М.: Стандартинформ, 2019
Примечание к документу
Документ
введен в действие с 01.08.2019.
Название документа
"ГОСТ IEC 61340-4-6-2019. Межгосударственный стандарт. Электростатика. Методы испытаний для прикладных задач. Антистатические браслеты"
(введен в действие Приказом Росстандарта от 14.05.2019 N 184-ст)
"ГОСТ IEC 61340-4-6-2019. Межгосударственный стандарт. Электростатика. Методы испытаний для прикладных задач. Антистатические браслеты"
(введен в действие Приказом Росстандарта от 14.05.2019 N 184-ст)
агентства по техническому
регулированию и метрологии
от 14 мая 2019 г. N 184-ст
МЕЖГОСУДАРСТВЕННЫЙ СТАНДАРТ
ЭЛЕКТРОСТАТИКА
МЕТОДЫ ИСПЫТАНИЙ ДЛЯ ПРИКЛАДНЫХ ЗАДАЧ
АНТИСТАТИЧЕСКИЕ БРАСЛЕТЫ
Electrostatics. Standard test methods
for specific applications. Wrist straps
(IEC 61340-4-6:2015, Electrostatics - Part 4-6: Standard
test methods for specific applications - Wrist straps, IDT)
ГОСТ IEC 61340-4-6-2019
Дата введения
1 августа 2019 года
Цели, основные принципы и общие правила проведения работ по межгосударственной стандартизации установлены
ГОСТ 1.0 "Межгосударственная система стандартизации. Основные положения" и
ГОСТ 1.2 "Межгосударственная система стандартизации. Стандарты межгосударственные, правила и рекомендации по межгосударственной стандартизации. Правила разработки, принятия, обновления и отмены"
1 ПОДГОТОВЛЕН Акционерным обществом "Научно-производственная фирма "Диполь" (АО "НПФ Диполь") на основе собственного перевода на русский язык англоязычной версии стандарта, указанного в
пункте 5
2 ВНЕСЕН Федеральным агентством по техническому регулированию и метрологии
3 ПРИНЯТ Межгосударственным советом по стандартизации, метрологии и сертификации (протокол от 28 февраля 2019 г. N 116-П)
За принятие проголосовали:
Краткое наименование страны по МК (ИСО 3166) 004-97 | Код страны по МК (ИСО 3166) 004-97 | Сокращенное наименование национального органа по стандартизации |
Беларусь | BY | Госстандарт Республики Беларусь |
Киргизия | KG | Кыргызстандарт |
Россия | RU | Росстандарт |
Таджикистан | TJ | Таджикстандарт |
Узбекистан | UZ | Узстандарт |
4
Приказом Федерального агентства по техническому регулированию и метрологии от 14 мая 2019 г. N 184-ст межгосударственный стандарт ГОСТ IEC 61340-4-6-2019 введен в действие в качестве национального стандарта Российской Федерации с 1 августа 2019 г.
5 Настоящий стандарт идентичен международному стандарту IEC 61340-4-6:2015 "Электростатика. Часть 4-6. Стандартные методы испытаний для специальных случаев применения. Антистатические браслеты" ("Electrostatics - Part 4-6: Standard test methods for specific applications - Wrist straps", IDT).
Международный стандарт разработан техническим комитетом по стандартизации IEC/TC 101 "Electrostatics".
Наименование настоящего стандарта изменено относительно наименования указанного международного стандарта для приведения в соответствие с ГОСТ 1.5-2001
(подраздел 3.6)
6 ВВЕДЕН ВПЕРВЫЕ
Информация о введении в действие (прекращении действия) настоящего стандарта и изменений к нему на территории указанных выше государств публикуется в указателях национальных стандартов, издаваемых в этих государствах, а также в сети Интернет на сайтах соответствующих национальных органов по стандартизации.
В случае пересмотра, изменения или отмены настоящего стандарта соответствующая информация будет опубликована на официальном интернет-сайте Межгосударственного совета по стандартизации, метрологии и сертификации в каталоге "Межгосударственные стандарты"
Настоящий стандарт устанавливает методы оценки электрических и механических характеристик антистатических браслетов, используемых в программе ЭСР-управления. Браслеты предназначены для подключения пользователя к цепи заземления и предотвращения накопления на его теле электростатического заряда, достаточного для повреждения чувствительных к статическому электричеству компонентов и сборок.
Стандарт содержит методы испытаний и предельные значения величин для испытаний в целях подтверждения соответствия, приемочных и функциональных испытаний.
Настоящий стандарт содержит описание электрических и механических испытаний, устанавливает предельные значения характеристик при испытаниях в целях подтверждения соответствия, приемочных испытаниях и периодических проверках соответствия антистатических браслетов.
Примечание - Все значения характеристик признаются номинальными за исключением случаев, когда это оговорено особо.
Стандарт распространяется на испытания антистатических браслетов и их систем, используемых при работе с чувствительными к статическому электричеству компонентами, сборками и приборами.
Стандарт не распространяется на испытания постоянно действующих систем контроля.
В настоящем стандарте применены следующие термины с соответствующими определениями.
2.1 антистатический браслет (wrist strap): Устройство, состоящее из манжеты и шнура заземления, способное обеспечить электрическое соединение кожи человека и точки заземления.
2.2 антистатическая браслетная система (wrist strap system): Правильно надетый на человека браслет, обеспечивающий заземление цепочки "человек - манжета - шнур заземления".
2.3 манжета (band): Носимая на запястье часть антистатического браслета.
Примечание 1 - Манжета обеспечивает электрический контакт с кожей человека.
2.4 шнур заземления (ground cord): Часть браслета, обеспечивающая соединение манжеты и цепи заземления и предоставляющая пользователю браслета свободу движений.
2.5 испытания в целях подтверждения соответствия (evaluation testing): Испытания браслета, определяющие его электрические и механические свойства.
Примечание 1 - Протокол испытания содержит значения характеристик, полученные при лабораторных измерениях.
2.6 приемочные испытания (acceptance testing): Испытания, подтверждающие правильность маркировки и электрических характеристик браслетов при их приемке.
Примечание 1 - Протокол приемочных испытаний содержит записи о проверке внешнего вида, значениях измеряемых величин или отметки "годен"/"не годен".
2.7 периодическая проверка соответствия (periodic verification testing): Испытания в условиях использования, подтверждающие электрическую функциональность браслета.
Примечание 1 - Результат представляется в виде "годен"/"не годен".
2.8 ограничительное сопротивление (current-limiting resistance): Величина сопротивления, последовательно соединенного с заземленным браслетом.
Примечание 1 - Данное сопротивление ограничивает электрический ток, который может пройти по шнуру в случае случайного контакта человека с электрическим потенциалом.
2.9 диапазон сопротивления (resistance range): Определяемые пользователем пределы значений сопротивления браслета или его системы.
2.10 разгрузка натяжения (strain relief): Конструктивный элемент, предотвращающий преждевременный выход из строя соединений шнура заземления.
2.11 усилие рассоединения (breakaway force): Сила, требуемая для разъединения шнура заземления и манжеты браслета.
3 Виды испытаний и предельные значения характеристик
Настоящий стандарт устанавливает различные методы испытаний браслетов. Таблицы 1 -
3 детализируют эти методы с соответствующими предельными значениями контролируемых параметров и содержат ссылки на пункты методов испытаний. Указанные методы применяются для различных целей. Испытания в целях подтверждения соответствия - это лабораторные испытания, приведенные с целью определения характеристик браслетов и сравнения их между собой. Приемочные испытания выполняются с целью определения свойств новой продукции. Периодическая проверка соответствия или работоспособности - это проверка электропроводности браслетов. Ее проводят на определяемой пользователем регулярной основе для подтверждения эффективности работы браслетов.
Таблица 1
Испытания в целях подтверждения соответствия
Электрические характеристики | Предельное значение | Метод испытания |
Электропроводность и сопротивление браслета | < 5 МОм или определенное пользователем значение | |
Сопротивление манжеты: | | |
внутренняя сторона | <= 100 кОм или определенное пользователем значение |
внешняя сторона | > 10 МОм |
Размер манжеты | | |
Усилие рассоединения | 4.4 - 22.6 Н | |
Механическая целостность соединения заземляющего провода и разъема | Более 22,6 Н и Более 66% прочности на разрыв заземляющего провода | |
Растяжимость шнура заземления | Установленные изготовителем величина удлинения без потери электропроводности | |
Стойкость к изгибу | >= 16.000 циклов | |
Маркировка | Предельное значение | Метод испытания |
Идентификация производителя | Логотип и/или название | |
Идентификация нестандартной величины сопротивления | Не удаляемый знак или указанное значение | |
Таблица 2
Приемочные испытания
Электрическая характеристика | Предельное значение | Метод испытания |
Сопротивление браслета | < 5 МОм или определенное пользователем значение | |
Маркировка | Предельное значение | Метод испытания |
Идентификация производителя | Логотип и/или название | |
Идентификация нестандартной величины сопротивления | Не удаляемый знак или указанное значение | |
Таблица 3
Периодические проверки соответствия
Электрическая характеристика | Предельное значение | Метод испытания |
Электропроводность системы браслета (при использовании) | <= 35 МОм или определенное пользователем значение <a> | |
<a> Пользователь определяет нижний предел сопротивления, необходимый для обеспечения безопасности или других требований. |
Испытания следует проводить в лабораторных условиях с определенными климатическими условиями окружающей среды. Температура и относительная влажность во время испытаний должны быть проконтролированы и занесены в протокол испытаний. В случае разногласий относительно результатов испытаний, значения климатических факторов окружающей среды должны соответствовать (25 +/- 10) °C для температуры и (12 +/- 3)% для относительной влажности.
Примечание - Условия окружающей среды не оказывают значительного влияния на результаты испытаний.
4.1 Применение методов испытаний
Применение нижеуказанных методов испытаний - в соответствии с
таблицами 1 -
3.
ВНИМАНИЕ: Процедуры испытаний, описанные в настоящем стандарте, могут представлять опасность поражения электрическим током. Необходимо принимать меры по электробезопасности и выполнению инструкций по заземлению используемого оборудования.
4.2 Контроль электропроводности и сопротивления браслета
4.2.1 Назначение испытания
При данном испытании измеряется значение ограничивающего электрический ток сопротивления и проверяется электропроводность между отдельными элементами браслета.
Для испытаний необходимо следующее оборудование:
- стенд для испытания манжет (см.
рисунок 1), состоящий из изолирующей подставки и двух металлических цилиндров диаметром (25,0 +/- 0,5) мм, один из которых закреплен на подставке над другим. Нижний цилиндр массой (0,11 +/- 0,01) кг закрепляется в щелевом отверстии подставки со свободным вертикальным ходом;
- омметр или другой прибор (приборы), позволяющий измерить сопротивление в диапазоне от 50 кОм до 100 МОм при испытательном напряжении в диапазоне от 7 до 100 В постоянного тока разомкнутой цепи;
- шесть образцов испытываемых браслетов.
1 - неподвижный металлический цилиндр диаметром
(25,0 +/- 0,5) мм; 2 - гнездо штекера типа "банан";
3 - подвижный металлический цилиндр диаметром
(25,0 +/- 0,5) мм; 4 - изолирующая подставка;
5 - омметр; 6 - манжета
Рисунок 1 - Оборудование для измерения
сопротивления браслета
4.2.3 Процедура испытания
Используя стенд для испытания, изображенный на
рисунке 1, не выворачивая манжету, надевают ее на цилиндры так, чтобы разъем для шнура заземления оказался с правой стороны, посередине между цилиндрами и параллельно им. Создайте натяжение манжеты, опустив незакрепленный цилиндр массой 0,11 кг.
Подсоединяют шнур заземления к манжете.
Подсоединяют омметр к верхнему цилиндру и к разъему шнура заземления. Измеряют и записывают значение сопротивления.
Проводят испытания шести образцов антистатических браслетов.
4.2.4 Протокол испытания
Вносят полученные значения сопротивления каждого антистатического браслета в протокол испытаний.
4.3 Контроль сопротивления манжеты
4.3.1 Назначение испытания
При данном испытании определяют сопротивление внутренней и внешней сторон манжеты.
4.3.2 Оборудование
Оборудование согласно
4.2.2.
4.3.3 Процедура испытания (сопротивления внутренней стороны манжеты)
Используя стенд для испытания, изображенный на
рисунке 1, не выворачивая манжету, надевают ее на цилиндры так, чтобы разъем для шнура заземления оказался с правой стороны, посередине между цилиндрами и параллельно им. Создают натяжение манжеты, опустив незакрепленный цилиндр массой 0,11 кг.
Подсоединяют омметр к верхнему цилиндру и к разъему манжеты для шнура заземления. Измеряют и записывают значение сопротивления.
Проводят испытания шести образцов манжет.
4.3.4 Процедура испытания (сопротивления внешней стороны манжеты)
Используя стенд для испытания манжет, изображенный на
рисунке 1, выворачивают манжету и надевают ее на цилиндры так, чтобы разъем для шнура заземления оказался с правой стороны, посередине между цилиндрами и параллельно им. Создайте натяжение манжеты, опустив незакрепленный цилиндр массой 0,11 кг.
Подсоединяют омметр к верхнему цилиндру и к разъему манжеты для шнура заземления. Измеряют и записывают значение сопротивления.
Проводят испытания шести образцов манжет.
4.3.5 Протокол испытания
Полученные значения сопротивления внутренних и внешних сторон каждой манжеты вносят в протокол испытаний.
4.4 Требования к размеру манжеты
4.4.1 Назначение испытания
Размеры манжет определяются их способностью насаживаться на цилиндры определенных размеров. Способность манжеты растягиваться при надевании на руку и стягиваться до полного контакта с запястьем определяется насаживанием его на соответствующие данному размеру цилиндры большого и малого диаметра.
Примечание - Манжета стягивается правильно, когда она прилегает к запястью достаточно плотно для поддержания электрического контакта в нормальных условиях использования, но не вызывает дискомфорт и не травмирует пользователя.
4.4.2 Оборудование
Для испытания необходимы четыре цилиндра следующих диаметров:
- цилиндр внешнего диаметра (4,3 +/- 0,1) см;
- цилиндр внешнего диаметра (5,3 +/- 0,1) см;
- цилиндр внешнего диаметра (8,25 +/- 0,10) см;
- цилиндр внешнего диаметра (8,9 +/- 0,1) см.
4.4.3 Саморегулирующиеся манжеты
Саморегулирующиеся металлические или тканевые манжеты большого размера должны плотно облегать цилиндр диаметром 5,3 см и легко надеваться на цилиндр диаметром 8,9 см.
Саморегулирующиеся металлические или тканевые манжеты малого размера должны плотно облегать цилиндр диаметром 4,3 см и легко надеваться на цилиндр диаметром 8,25 см.
4.4.4 Универсальные манжеты
Универсальные манжеты должны плотно облегать цилиндр диаметром 4,3 см и легко надеваться на цилиндр диаметром 8,9 см.
4.5.1 Назначение испытания
Для обеспечения безопасности персонала, шнур заземления должен отсоединяться от манжеты при экстремальной ситуации. Однако шнур заземления должен оставаться подключенным во время применения по назначению. Усилие рассоединения шнура заземления и манжеты измеряется следующим методом.
4.5.2 Измерение усилия рассоединения
При стандартном соединении шнура заземления и манжеты, при закреплении манжеты на испытательном стенде или рукой, для их рассоединения к шнуру заземления должно быть приложено усилие от 4,4 до 22,6 Н. При этом перпендикулярно контактной площадке должно произойти рассоединение шнура заземления и манжеты.
Исходя из различий типов антистатических браслетов, невозможно детально описать испытание. Тем не менее, пользователи настоящего стандарта должны адаптировать метод испытания для используемого типа браслета и должны, по возможности, подробно описать процедуру в протоколе испытаний. Различия процедур испытаний могут иметь большое значение, когда результаты испытаний близки к допускаемым пределам.
4.6 Целостность соединения
4.6.1 Назначение испытания
Прочность провода, используемого в качестве шнура заземления, определяется его прочностью на разрыв. При испытании измеряют прочность механического соединения между шнуром заземления и оконечным разъемом заземления, между шнуром заземления и оконечным разъемом соединения с манжетой.
4.6.2 Оборудование
Для проведения испытаний необходимо следующее оборудование:
- разрывная машина со скоростью перемещения не менее 6,35 см/мин;
- зажимы (захваты) разрывной машины;
- диаграммный самописец или регистратор данных.
Из-за различий типов антистатических браслетов, невозможно детально описать испытание. Тем не менее, пользователи настоящего стандарта должны адаптировать метод испытания для используемого типа браслета и должны, по возможности, подробно описать процедуру и включить следующую информацию в протокол испытаний: тип зажимов, сила сжатия и длина проводов между зажимами, диапазон растяжения. Различия процедур испытаний могут иметь большое значение, когда результаты испытаний близки к допускаемым пределам.
4.6.3 Процедура испытания
4.6.3.1 Основные положения
Используя разрывную машину и диаграммный самописец или регистратор данных измеряют и записывают предел прочности на разрыв шнура заземления, прочность соединения шнура заземления с оконечным разъемом заземления, прочность соединения шнура заземления с оконечным разъемом манжеты. Затем проводят испытания шести заземляющих шнуров.
Описанное выше испытание является испытанием на отказ, поэтому необходимо иметь достаточное количество образцов, чтобы выполнить оценку.
4.6.3.2 Прочность на разрыв заземляющего шнура
При испытании шнур заземления закрепляется на разрывной машине зажимами, которые крепятся по краям прочной части провода (не включающей концы шнура). Разрывную машину включают и провод растягивают до предела прочности.
4.6.3.3 Прочность на отрыв оконечных разъемов заземляющего шнура
Испытуемый шнур заземления закрепляют на разрывной машине таким образом, что один зажим присоединяют к проводу, а второй - к оконечному разъему шнура. При включении разрывной машины провод растягивается до предела прочности или отрыва оконечного разъема от провода.
Провод, используемый в
4.6.3.2, может быть использован в данном испытании, если его длина позволяет закрепить его на разрывной машине.
4.6.4 Протокол испытания
В протокол испытаний заносят усилие прочности на разрыв самого провода и прочности на отрыв обоих оконечных разъемов шнура. Процентное соотношение прочности на отрыв оконечных разъемов к прочности провода вычисляют по формуле

(1)
4.7 Растяжимость шнура заземления
4.7.1 Назначение испытания
Растягивающийся шнур заземления должен растягиваться до указанной производителем длины (обычно 1,5 или 3,0 м) без стягивания манжеты с запястья с условием, что измеренная согласно
4.11 электропроводимость, не нарушается.
4.7.2 Процедура
При использовании системы браслета и испытании, описанном в
4.11, установите расстояние между манжетой и специализированным устройством контроля или омметром на указанную производителем величину.
Это испытание может проводиться двумя людьми, чтобы предотвратить падение оборудования, используемого для измерения электрических характеристик антистатической браслетной системы.
4.8 Испытание на стойкость к изгибу
4.8.1 Назначение испытания
При испытании на изгиб определяют стойкость к изгибам растягивающегося шнура заземления.
4.8.2 Оборудование
Для проведения испытания необходимо следующее оборудование:
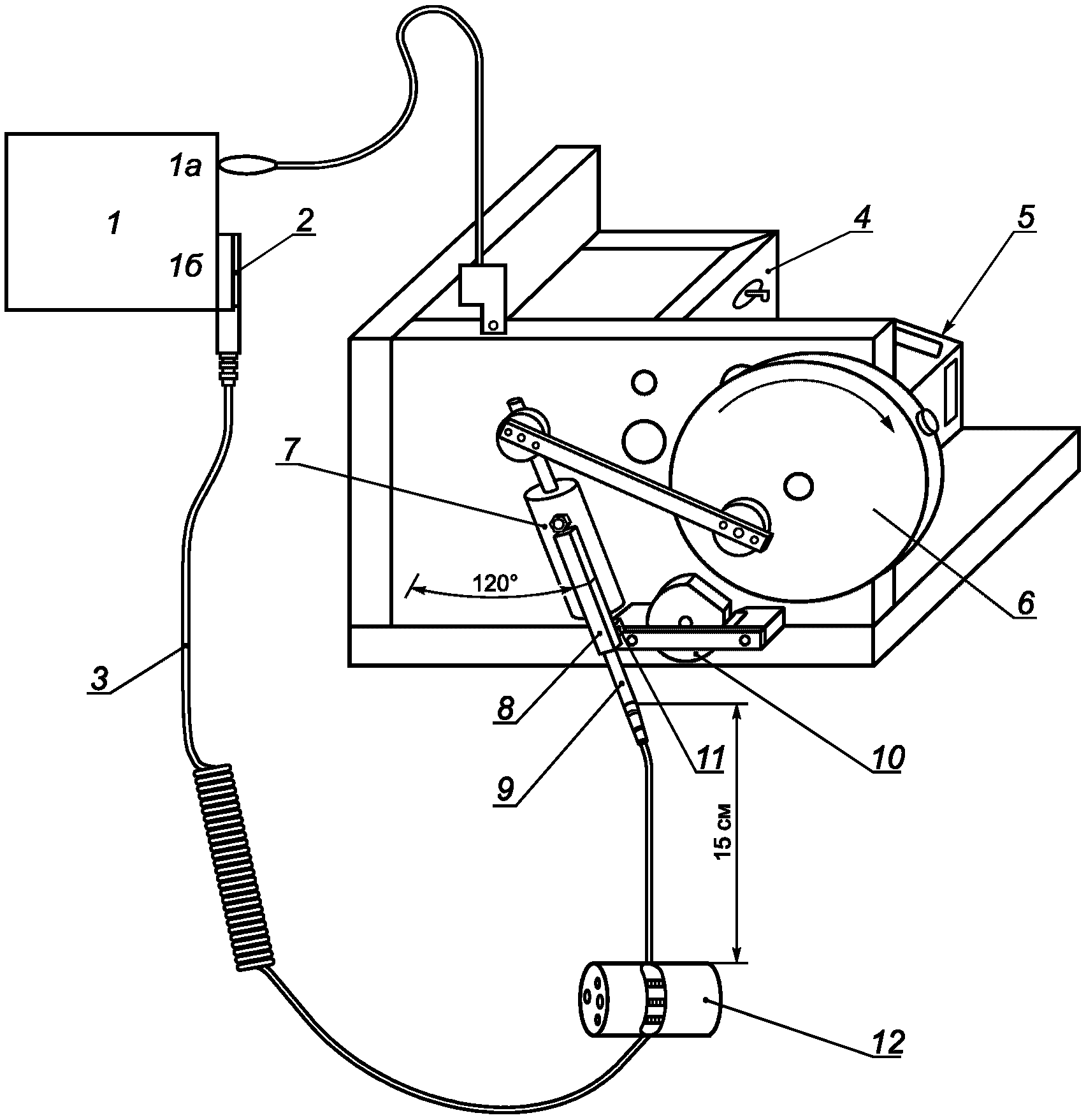
- механический тестер гибкости шнура заземления: устройство, вращающее нагружающий механизм по дуге 120° +/- 5° с примерной скоростью 2000 циклов/ч (см.
рисунок 2);
Примечание 1 - Допускается использовать оборудование для измерения гибкости шнура, изготовленное для испытания более чем одного провода одновременно. Конструкции некоторых тестеров могут испытывать оба конца провода или несколько проводов заземления одновременно.
Примечание 2 - Провода заземления присоединяются к нагружающему механизму, имитирующему соединение с манжетой и заземлением (штекера "банан").
- груз массой (0,45 +/- 0,1) кг;
- омметр или другой прибор(ы), позволяющий измерить сопротивление в диапазоне от 50 кОм до 100 МОм при испытательном напряжении в диапазоне от 7 до 100 В постоянного тока разомкнутой цепи.
1 - омметр, от 7 до 100 В, постоянного тока разомкнутой
цепи; 1а - отрицательный разъем; 1б - положительный разъем;
2 - разъем "кнопка" для подключения манжеты; 3 - шнур
заземления; 4 - устройство для отключения и контроля стенда;
5 - электропривод; 6 - вращающийся диск; 7 - нагружающий
механизм; 8 - фиксирующее крепление; 9 - разъем типа
(0,45 +/- 0,1) кг, жестко прикрепленный к проводу
заземления, приблизительно в 15 см от конца провода
Примечание 1 - На рисунке показаны испытания при соединении оконечного разъема типа "банан", испытания повторяются при соединении оконечного разъема типа "кнопка".
Примечание 2 - Один цикл соответствует одному обороту вращающегося диска.
Рисунок 2 - Оборудование для измерения
гибкости заземляющего провода
4.8.3 Процедура испытания
Один конец шнура заземления соединяют с нагружающим механизмом, а другой - со свободно висящим грузом массой 0,45 кг. Кабель измерения сопротивления соединяют с соединенной с грузом стороной шнура заземления.
Запускают тестер гибкости.
Испытания повторяют для шести шнуров заземления, соединенных с нагружающим механизмом оконечным разъемом манжеты, и для шести заземляющих проводов, соединенных с нагружающим механизмом оконечным разъемом заземления.
4.8.4 Протокол испытания
Шнур заземления признается неисправным, если общее сопротивление цепи превышает установленное пользователем значение, а также при наличии видимых механических повреждений в оболочке провода или в разгрузке натяжения. Каждый провод должен выдержать минимально 8000 циклов, в среднем каждое типовое испытание должно включать минимум 16000 циклов.
4.9 Идентификация изготовителя
На видном месте антистатических браслетов должно быть вытиснено, нарисовано или иным не удаляемым способом нанесено название или логотип производителя.
4.10 Идентификация нестандартной величины сопротивления
Браслеты с нестандартным сопротивлением, т.е. отличающимся от 1 МОм +/- 20% должны быть идентифицированы с помощью нанесения заметного знака или указания значения сопротивления на шнуре заземления или другой части антистатической браслетной системы, которая содержит сопротивление (обычно шнур заземления).
4.11 Контроль сопротивления браслета
4.11.1 Назначение испытаний
При испытании определяют сопротивление браслета.
4.11.2 Оборудование
Для проведения испытаний необходимо следующее оборудование:
- омметр или другой прибор(ы), позволяющий измерить сопротивление в диапазоне от 50 кОм до 100 МОм при испытательном напряжении в диапазоне от 7 до 100 В постоянного тока разомкнутой цепи.
4.11.3 Процедура испытания
Манжету присоединяют к шнуру заземления. Подсоедините другой конец шнура заземления к разъему омметра (обычно с помощью разъема типа "крокодил"). Положите манжету на изолированную поверхность, контактирующей с кожей поверхностью манжеты наружу.
Для манжет с металлической контактной площадкой соединяют контактную площадку с другим контактом омметра, прижимая его рукой.
Для манжет без металлической контактной площадки увеличивают контакт омметра, используя размещение металлического диска (проводящей монеты или другого диска, диаметром 12 мм) на внутренней поверхности манжеты, и соединяют диск с другим контактом омметра, прижимая его рукой. Измеряют сопротивление браслета. Повторяют измерения для всех шести браслетов.
4.11.4 Протокол испытания
Полученные значения сопротивлений для каждого браслета вносят в протокол испытаний. Обособленные ограничивающие сопротивления должны располагаться вблизи соединения заземляющего провода и манжеты.
4.12 Контроль электропроводности антистатической браслетной системы
4.12.1 Назначение испытания
При проверке сопротивления цепи антистатической браслетной системы используют специальное устройство контроля или омметр. Измерения должны проводиться, когда браслет надет на запястье пользователя. При данном измерении сопротивления цепи также учитывают сопротивление человека.
4.12.2 Оборудование
Для испытания необходимо следующее оборудование:
- омметр или специальное устройство контроля браслета, позволяющие измерить сопротивление в диапазоне от 50 кОм до 100 МОм при испытательном напряжении в диапазоне от 7 до 100 В постоянного тока разомкнутой цепи, при значении силы тока не более 0,05 А;
- стальной цилиндр длиной (15,0 +/- 0,1) см и диаметром (2,5 +/- 0,1) см (см. рисунок 3).
1 - манжета; 2 - ручной стальной цилиндр;
3 - омметр; 4 - разъем омметра; 5 - провод заземления;
6 - специализированное устройство контроля;
7 - контактная площадка
Рисунок 3 - Измерение сопротивления системы браслета
4.12.3 Процедура испытания (с омметром)
Надевают манжету, подсоединяют к ней один разъем шнура заземления, другой разъем шнура подсоединяют к общему (-) разъему омметра. Соединяют стальной цилиндр с положительным (+) разъемом омметра. Крепко берут цилиндр рукой, на которую надета манжета. Измеряют и записывают сопротивление системы браслета (см.
рисунок 3а).
4.12.4 Процедура испытания (со специальным устройством контроля)
Надевают манжету, подсоединяют к ней один разъем шнура заземления, другой разъем шнура подсоединяют к специальному устройству контроля браслета. Дотрагиваются до пластины устройства контроля рукой, на которой надета манжета, активируют проверку согласно инструкциям производителя. Записывают показание "годен" или "не годен" (см.
рисунок 3б).
4.12.5 Протокол испытания
При использовании специального устройства контроля необходимо определить уровень сопротивления, соответствующий значениям "годен" и "не годен", чтобы удостовериться, что требования конечных пользователей учтены при персональном заземлении через систему браслета. Тогда, значение "годен", индицируемое специализируемым устройством контроля, означает, что антистатическая браслетная система пригодна к использованию.
Показания менее или равные 35 МОм или равные другому значению, входящему в установленные пользователем пределы, означают, что антистатическая браслетная система пригодна к использованию.
[1] | IEC 61340-5-1, | Electrostatics - Part 5-1: Protection of electronic electrostatic phenomena - General requirements (Электростатика - Часть 5.1. Защита электронных устройств от электростатических явлений - Общие требования) |
[2] | IEC TR 61340-5-2, | Electrostatics - Part 5-2: Protection of electronic electrostatic phenomena - User guide (Электростатика - Часть 5-2. Защита электронных устройств от электростатических явлений - Руководство по использованию) |
[3] | ANSI/ESD S1.1:2006, | Wrist straps (Антистатические браслеты) |
УДК 621.316.9:006.354 | |
Ключевые слова: электростатика, методы испытаний, антистатический браслет, электростатический разряд |