Скачать ГОСТ 28042-89 Плиты покрытий железобетонные для зданий предприятий. Технические условия

Дата актуализации: 01.01.2021

ГОСТ 28042-89

Плиты покрытий железобетонные для зданий предприятий. Технические условия

Обозначение: ГОСТ 28042-89
Обозначение англ: GOST 28042-89
Статус:заменен
Название рус.:Плиты покрытий железобетонные для зданий предприятий. Технические условия
Название англ.:Reinforced concrete roofings for enterprises buildings. Specifications
Дата добавления в базу:01.09.2013
Дата актуализации:01.01.2021
Дата введения:01.01.1990
Дата окончания срока действия:01.01.2015
Область применения:Стандарт распространяется на железобетонные ребристые и плоские плиты, изготовляемые из тяжелого или конструкционного легкого бетона и предназначенные для несущей основы кровли зданий предприятий всех отраслей промышленности и народного хозяйства за исключением зданий гражданского строительства (жилых и общественных). Плиты применяют в соответствии с указаниями рабочих чертежей или стандартов на эти плиты.
Оглавление:1 Технические требования
2 Приемка
3 Методы контроля
4 Транспортирование и хранение
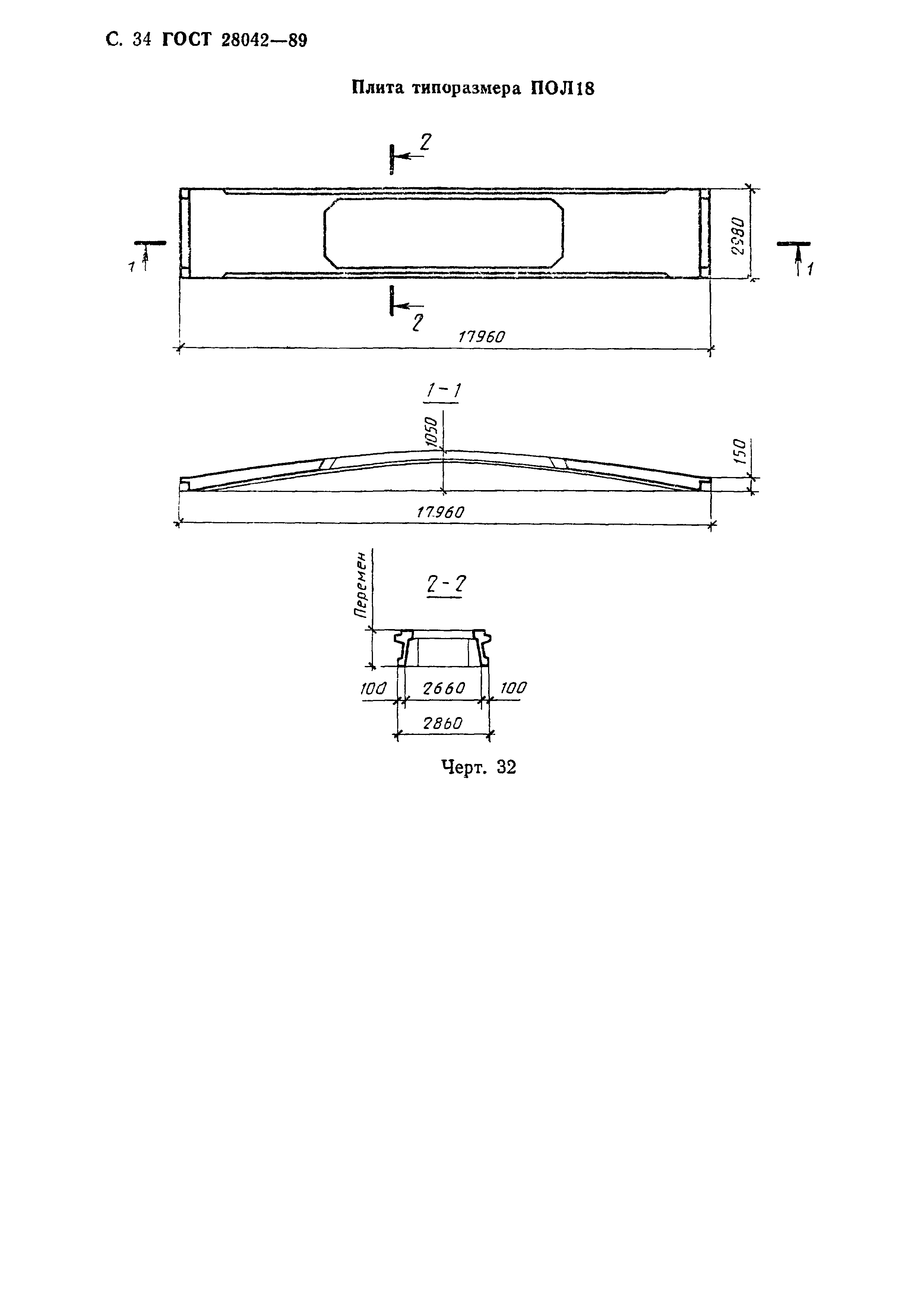
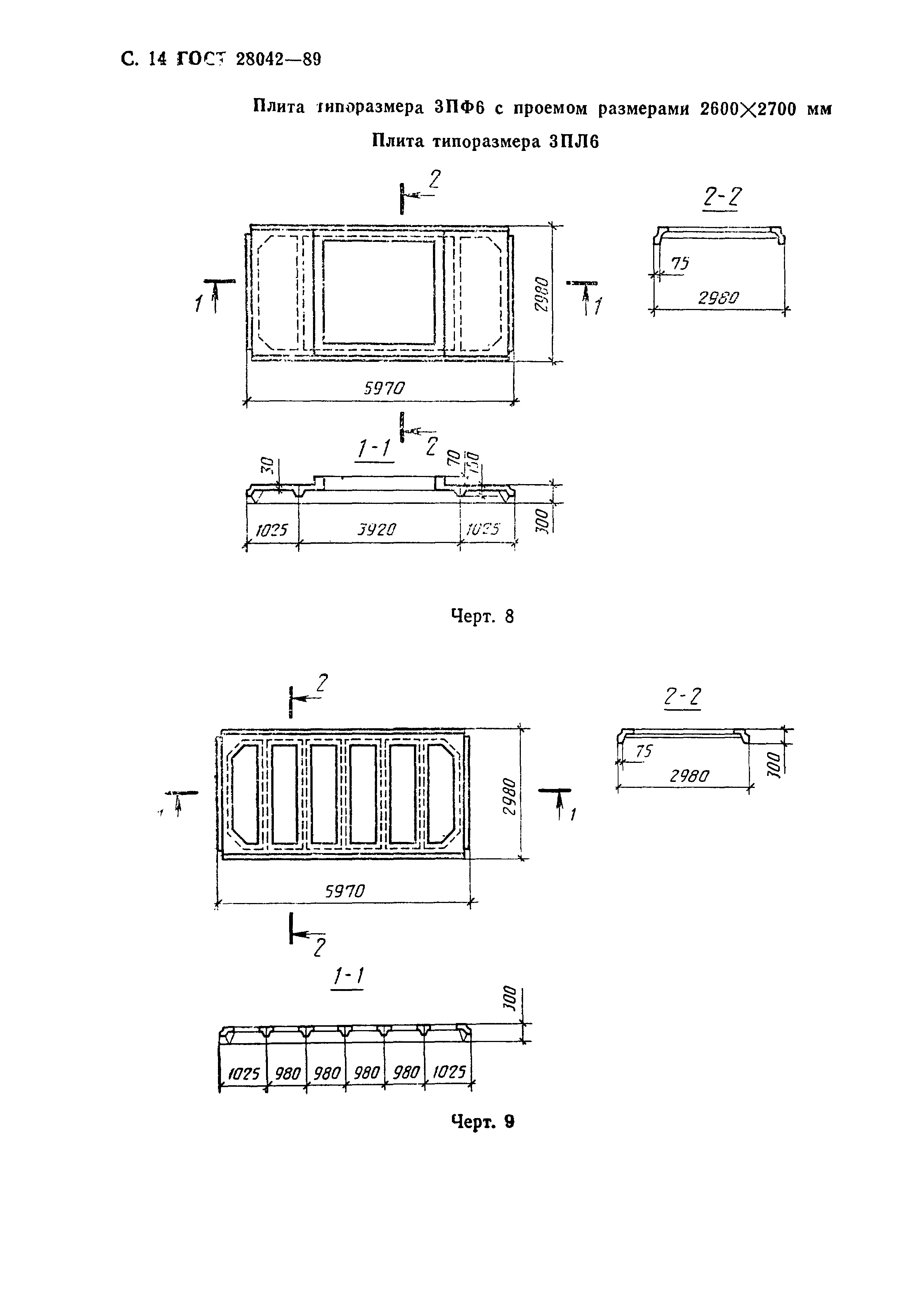
Приложение (обязательное) Форма и основные размеры плит
Разработан: ЦНИИпромзданий
Утверждён:27.02.1989 Государственный комитет Совета Министров СССР по делам строительства (34)
Издан: Издательство стандартов (1989 г. )
Список изменений:
Нормативные ссылки:
ГОСТ 28042-89ГОСТ 28042-89ГОСТ 28042-89ГОСТ 28042-89ГОСТ 28042-89ГОСТ 28042-89ГОСТ 28042-89ГОСТ 28042-89ГОСТ 28042-89ГОСТ 28042-89ГОСТ 28042-89ГОСТ 28042-89ГОСТ 28042-89ГОСТ 28042-89ГОСТ 28042-89ГОСТ 28042-89ГОСТ 28042-89ГОСТ 28042-89ГОСТ 28042-89ГОСТ 28042-89ГОСТ 28042-89ГОСТ 28042-89ГОСТ 28042-89ГОСТ 28042-89ГОСТ 28042-89ГОСТ 28042-89ГОСТ 28042-89ГОСТ 28042-89ГОСТ 28042-89ГОСТ 28042-89ГОСТ 28042-89ГОСТ 28042-89ГОСТ 28042-89ГОСТ 28042-89ГОСТ 28042-89ГОСТ 28042-89ГОСТ 28042-89ГОСТ 28042-89ГОСТ 28042-89ГОСТ 28042-89ГОСТ 28042-89ГОСТ 28042-89ГОСТ 28042-89ГОСТ 28042-89ГОСТ 28042-89ГОСТ 28042-89ГОСТ 28042-89ГОСТ 28042-89

Текстовое изменение Поправка

ПоправкаПоправкаПоправкаПоправкаПоправкаПоправкаПоправка

Текстовое изменение Поправка

Поправка